КАЛИФОРНИЯ
Положение 65, Предупреждение
Лица, использующие данное вещество, должны иметь в виду, что, согласно информации, имеющейся в распоряжении компетентных органов штата Калифорния, оно содержит химическое соединение (соединения), отнесенные к категории канцерогенных, способных вызвать врождённые пороки и оказывающих вредное воздействие на репродуктивную систему человека.
![]() |
Предупреждающие наклейки и инструкции по технике безопасности должны быть хорошо видны оператору и установлены во всех местах потенциальной опасности. При отсутствии или повреждении наклейки следует установить новую наклейку. |


Прикосновение движущимся частям может привести к травме.
Следите за тем, чтобы пальцы, руки и одежда находились на безопасном расстоянии от движущихся частей.
Никогда не пытайтесь управлять навесным орудием при работающем двигателе.
Припаркуйте машину на ровной поверхности, включите стояночный тормоз (при наличии) и опустите стрелы погрузчика.
Выключите двигатель и извлеките ключ из замка зажигания.
Если на узле ограждения установлен удлинитель предохранительной штанги, снимите его.

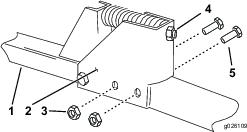
Установите удлиняющую штангу устройства очистки траншеи (поставляется со стрелой) на конец защитного ограждения в сборе и закрепите ее с помощью 2 болтов и контргаек.

Установите монтажный кронштейн устройства очистки траншеи на конец удлиняющей штанги устройства очистки траншеи и закрепите его с помощью 2 болтов и 2 контргаек.

Отрегулируйте устройство очистки траншеи таким образом, чтобы его лопасть находилась в пределах от 3,8 до 6,35 см от зубьев траншеекопателя. Для регулировки устройства очистки траншеи ослабьте или затяните регулировочную гайку по мере необходимости (Рисунок 3).
Перед транспортировкой траншеекопателя с установленным устройством очистки траншеи выполните следующие действия:
Припаркуйте машину на ровной поверхности, включите стояночный тормоз (при наличии) и опустите стрелы погрузчика.
Выключите двигатель и извлеките ключ из замка зажигания.
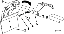
Снимите шплинт и шплинт, хранящийся в штанге устройства очистки траншеи.
Переместите устройство очистки траншеи назад насколько возможно (Рисунок 4).

Вставьте штифт в сдвижную часть и штангу устройства очистки траншеи и закрепите его шплинтом (Рисунок 4).
Скребок (Рисунок 4), установленный на устройстве очистки траншеи, должен соответствовать ширине цепи траншеекопателя. Для замены скребка, установленного на устройстве очистки траншеи, отверните 2 болта и 2 гайки крепления скребка, затем установите новый скребок на это место.
Note: Скребки немного уже, чем цепи, с которыми они соединены. Например, 6-дюймовый скребок фактически имеет ширину 5½ дюйма, но предназначен для использования с 6-дюймовой цепью траншеекопателя.