CALIFORNIA
Avvertenza norma "Proposition 65"
L'utilizzo del presente prodotto potrebbe esporre a sostanze chimiche che nello Stato della California sono considerate cancerogene e causa di anomalie congenite o di altre problematiche della riproduzione.
![]() |
Gli adesivi di sicurezza e di istruzione sono chiaramente visibili e sono affissi accanto a zone particolarmente pericolose. Sostituite eventuali adesivi danneggiati o mancanti. |


Il contatto con parti in movimento può causare infortuni.
Tenete dita, mani e indumenti lontano dalle parti in movimento.
Non manipolate l'attrezzo quando il motore gira.
Parcheggiate la macchina su terreno pianeggiante, inserite il freno di stazionamento (se presente) e abbassate i bracci caricatori.
Spegnete il motore e togliete la chiave.
Se sul gruppo della barra è installata una prolunga della barra di sicurezza, rimuovetela.

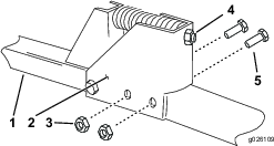
Montate la prolunga del raschiatore (fornito insieme alla barra) sull'estremità del gruppo barra di sicurezza e fissatela utilizzando i 2 bulloni e dadi di bloccaggio.

Installate la staffa di montaggio del raschiatore sull'estremità della barra di prolunga del raschiatore, quindi fissatela utilizzando 2 bulloni e 2 dadi.

Regolate il raschiatore in modo che la relativa pala sia entro 3,8–6,35 cm dai denti della catenaria. Per regolare il raschiatore, allentate o serrate il dado di regolazione quanto necessario (Figura 3).
Prima di trasportare la catenaria con il raschiatore fissato, completate la seguente procedura:
Parcheggiate la macchina su terreno pianeggiante, inserite il freno di stazionamento (se presente) e abbassate i bracci caricatori.
Spegnete il motore e togliete la chiave.
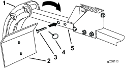
Rimuovete la coppiglia, anche quella situata nella barra del raschiatore.
Fate arretrare il raschiatore il più possibile (Figura 4).

Installate il perno con testa attraverso la barra e lo scorrimento del raschiatore, fissandolo con la coppiglia (Figura 4).
Il raschietto (Figura 4) installato sul raschiatore deve corrispondere alla larghezza della catena della catenaria. Per sostituire il raschietto sul raschiatore, rimuovete i 2 bulloni e 2 dadi che lo fissano, quindi installate il raschietto nuovo in posizione.
Note: I raschietti sono leggermente più piccoli delle catene a cui devono essere accoppiati. Per esempio, il raschietto da 15 cm in effetti è largo 14 cm, ma deve essere utilizzato con la catena della catenaria da 15 cm.