| Интервал на техническо обслужване | Процедура по поддръжка |
|---|---|
| Преди всяка употреба или ежедневно |
|
Тази роторна косачка за тревни площи, управлявана от ходещ оператор, е предназначена за употреба от собственици на имоти. Косачката е предназначена основно за косене на добре поддържани тревни площи в жилищни райони. Използването на продукта за цели, различни от неговото предназначение, може да бъде опасно за Вас и за лица в близост до Вас.
Прочетете внимателно представената тук информация, за да научите как да работите и да поддържате правилно изделието и да избягвате наранявания и повреди. Отговорността за правилната и безопасна работа с изделието е изцяло Ваша.
Посетете www.Toro.com за допълнителна информация, включително съвети за безопасна работа, учебни материали, информация за аксесоари, помощ при намиране на дилър, или за регистриране на продукта.
Във всички случаи, когато се нуждаете от сервизно обслужване, от оригинални резервни части на Тoro или от допълнителна информация, свържете се с упълномощен за сервизно обслужване дилър на Тoro или с Центъра за обслужване на клиентите на Тoro, като не забравите да укажете модела и серийните номера на Вашия продукт. Фигура 1 идентифицира мястото на данните за модела и серийните номера на продукта. Запишете номерата в предвиденото за целта място.
Important: За достъп до данни за гаранцията, резервни части и друга информация за продукта може да сканирате с Вашето мобилно устройство QR кода (ако има) върху стикера със серийния номер

Предупредителният символ за опасност (Фигура 2), показан както в това ръководство, така и върху машината, идентифицира важни съобщения за безопасност, които трябва да бъдат спазени за избягване на злополуки.

Предупредителният символ за опасност се появява над информацията, която предупреждава за необезопасени действия или ситуации и е последван от думите ОПАСНОСТ, ПРЕДУПРЕЖДЕНИЕ или ВНИМАНИЕ.
ОПАСНОСТ указва непосредствена опасна ситуация, която, ако не бъде избегната, ще доведе до смърт или тежко телесно увреждане.
ПРЕДУПРЕЖДЕНИЕ указва възможна опасна ситуация, която, ако не бъде избегната, може да доведе до смърт или тежко телесно увреждане.
ВНИМАНИЕ указва възможна опасна ситуация, която, ако не бъде избегната, може да доведе до леко или средно телесно увреждане.
Това ръководство използва две други думи за привличане на вниманието към определена информация. Важно привлича вниманието върху специална техническа информация и Забележка, която набляга на общата информация, заслужаваща специално внимание.
Настоящият продукт отговаря на всички действащи европейски директиви. За подробна информация, моля, вижте Декларацията за съответствие (ДЗС) на конкретния продукт.
Общ или полезен въртящ момент: Общият или полезният въртящ момент на този двигател са определени по лабораторен път от производителя на двигателя в съответствие с Дружеството на автомобилните инженери (ДАИ) J1940 или J2723. При конфигурирането на машината в съответствие с изискванията за безопасност, емисии и експлоатация, действителният въртящ момент на двигателя за този клас косачки ще бъде значително по-малък. Моля, направете справка с информацията от производителя на двигателя, доставена с машината.
Не манипулирайте или забранявайте действието на устройствата за безопасност и проверявайте редовно правилното им функциониране. Не правете опити да регулирате или манипулирате управлението на оборотите, тъй като това може да предизвика опасни работни условия, причина за възможни наранявания.
Продуктът може да отреже крайници и да изхвърля предмети. Винаги спазвайте всички инструкции за безопасност за предотвратяване на сериозно нараняване или смърт.
Прочетете, изяснете си и спазвайте инструкциите и предупрежденията в това Ръководство за експлоатация и върху машината и приставките, преди да стартирате двигателя.
Не поставяйте ръцете или краката си в близост до движещите се части или под машината. Стойте далеч от всеки отвор за разтоварване.
Не работете с машината, без да са поставени на място всички предпазители и без другите защитни устройства за безопасност в машината да функционират правилно.
Дръжте страничните лица и децата далеч от работния участък. Не допускайте деца да работят с машината. Разрешавайте само на отговорни, обучени, запознати с инструкциите и физически способни лица да работят с машината.
Преди обслужване, зареждане с гориво или отстраняване на задръстване, спрете машината, изключете двигателя и изчакайте всички подвижни части да спрат.
Неправилната
употреба или поддръжка
на тази машина може
да доведе до наранявания.
За намаляване на
потенциалната
опасност от нараняване,
спазвайте следните
инструкции за безопасност
и винаги обръщайте
внимание на предупредителния
символ за опасност
, който
означава Внимание“, Предупреждение“
или Опасност“
– инструкции, свързани
с личната безопасност.
Неспазването на
тези инструкции
може да доведе
до нараняване или
смърт.
![]() |
Етикетите с предупреждения и инструкции за безопасност са лесно видими за оператора и са разположени в близост до всеки потенциално опасен участък. Заменяйте повредените или липсващи стикери. |




Important: Свалете и изхвърлете защитното найлоново покритие, което предпазва двигателя, както и всички други пластмасови части или опаковки от машината.
Неправилното сглобяване и разгъване на дръжката може да повреди кабелите, което да доведе до възникване на опасни работни условия.
Внимавайте да не повредите кабелите при монтиране и разгъване на ръкохватката.
Уверете се, че кабелите са прокарани извън ръкохватката.
Ако повредите някой кабел, се свържете с упълномощен за сервизна дейност дилър.


Important: За безопасно и лесно стартиране на двигателя при всяко използване на машината, монтирайте въженцето за ръчно стартиране във водача на въженцето.

Important: Ако нивото на маслото в двигателя е прекалено ниско или прекалено високо и Вие стартирате двигателя, той може да се повреди.




| Модел | Тегло | Дължина | Широчина | Височина |
| 21693 | 38 kg | 164 см | 58 см | 106 см |
| (84 lb) |
Налични са одобрени от Toro приставки и аксесоари за използване с машината, за да се подобрят и разширят възможностите й. Свържете се с упълномощен дилър за сервизно обслужване или дистрибутор на Toro или посетете www.Toro.com за списък с всички одобрени приставки и аксесоари.
За гарантиране на оптимална работа и непрекъснато сертифициране на машината за безопасност, използвайте само оригинални резервни части и принадлежности от Toro. Резервни части и принадлежности, произведени от други производители, могат да бъдат опасни, а тяхната употреба може да анулира гаранцията на продукта.
Note: Определете лявата и дясната страни на машината спрямо нормалното работно положение.
Винаги спирайте машината, изчаквайте всички движещи се части да спрат и давайте възможност на машината да изстине, преди да я регулирате, обслужвате, почиствате или съхранявате.
Запознайте се с начините за безопасна експлоатация на оборудването, органите за управление на оператора и предупредителните обозначения за безопасност.
Проверете дали всички предпазители и устройства за безопасност, като дефлектори или кошове за трева, са на местата си и работят правилно.
Винаги инспектирайте машината, за да се уверите, че ножовете и болтовете на ножовете не са износени или повредени.
Проверете участъка, в който ще използвате машината, и отстранете всички обекти, които може да пречат на работата на машината или да бъдат изхвърлени от нея.
Контакт с задвижван режещ нож причинява тежко нараняване. На пъхайте пръстите си под корпуса.
Горивото е изключително запалимо и силно експлозивно. Пожар или експлозия на гориво може да предизвика изгаряния на Вас или други лица и да причини щети на имущество.
За да предотвратите възпламеняването на горивото от статичен заряд, преди зареждане поставете контейнера и/или машината директно върху земята, а не в превозно средство или върху някакъв друг предмет.
Зареждайте резервоара за гориво навън, на открито, когато двигателят е изключен и студен. Избършете всякакво разлято гориво.
Когато пушите или се намирате в близост до открит пламък или искри, не боравете с гориво.
Не сваляйте капачката за гориво и не доливайте гориво в резервоара, докато двигателят работи или е горещ.
Ако разлеете гориво, не опитвайте да стартирате двигателя. Избягвайте създаване на източник на запалване, докато не се разпръснат изпаренията от горивото.
Съхранявайте горивото в одобрен за целта съд за гориво и далеч от досег с деца.
Горивото е вредно за здравето и може да има фатални последствия при поглъщане. Излагане на парите му продължително време може да предизвика сериозно увреждане или заболяване.
Избягвайте да вдишвате парите дълго време.
Дръжте ръцете си далеч от дюзата и отвора на резервоара за гориво.
Дръжте горивото далеч от кожата и очите си.
| Вид | Безоловен бензин |
| Минимално октаново число | 87 (САЩ) или 91 (октаново число по метода на изследването; извън САЩ) |
| Етанол | Не повече от 10 обемни% |
| Метанол | Няма |
| MTBE (метил-третичен-бутил-етер) | По-малко от 15 обемни% |
| Масло | Не добавяйте към горивото |
Използвайте само чисто, свежо (не по-старо от 30 дни) гориво от надежден източник.
Important: За да намалите възможните проблеми, добавете необходимото количество стабилизатор/добавка за горивото съгласно насоките на производителя на стабилизатора/добавката за гориво.
Вижте ръководството за притежателя на двигателя за допълнителна информация.
Напълнете горивния резервоар, както е показано в Фигура 10.

| Интервал на техническо обслужване | Процедура по поддръжка |
|---|---|
| Преди всяка употреба или ежедневно |
|
Important: Ако нивото на маслото в картера е прекалено ниско или прекалено високо, и двигателят работи, така той може да се повреди.

Можете да повдигате или спускате горната ръкохватка до удобно за Вас положение.
Завъртете блокировката на ръкохватката, преместете ръкохватката в 1 от 2 положения, и я заключете в това положение (Фигура 12).

Ако двигателят е работил, ауспухът ще е горещ и може да Ви изгори.
Не се доближавайте до горещ ауспух.
Регулирайте височината на косене до постигане на желаната от вас височина. Регулирайте всичките колела на една и съща височина (Фигура 13).

Носете подходящо облекло, включително защита за очите, дълги панталони, стабилни, устойчиви на хлъзгане обувки и защита за слуха. Вържете дългата коса отзад и не носете свободни дрехи или бижута.
Заостряйте вниманието си, когато работите с машината. Не се ангажирайте с дейности, които ще Ви разсейват, в противен случай може да възникне телесно нараняване или имуществени щети.
Не работете с машината, когато сте болни, уморени или под въздействието на алкохол или лекарства/опиати.
Ножът е остър; контактът с него може да доведе до тежки телесни наранявания. Преди да напуснете мястото на оператора, изгасете двигателя и изчакайте спирането на всички движещи се части.
Когато освободите лостчето за контрол на ножа, двигателят трябва да изгасне и ножът трябва да спре в рамките на 3 секунди. Ако това не стане, веднага преустановете работа с машината и се свържете с упълномощен за сервизно обслужване дилър.
Дръжте страничните лица извън работния участък. Дръжте малките деца извън от работния участък и под надзора на отговорен възрастен, който не е зает да работи с машината. Спирайте машината, ако някой навлезе в зоната.
Винаги поглеждайте надолу и назад, преди да се придвижите на заден ход.
Работете с машината само при добра видимост и при добри климатични условия. Не работете с машината, когато има риск от светкавици.
Ако се подхлъзнете по мокри трева и листа и се докоснете до ножа, това може да доведе до сериозни телесни наранявания. Избягвайте да косите трева при мокри условия.
Бъдете много внимателни, когато се приближавате към завои без видимост, храсти, дървета или други обекти, затрудняващи видимостта.
Не насочвайте изхвърляния материал срещу хора. Избягвайте да насочвате изхвърляния материал срещу стена или препятствия; той може да рикошира към Вас. Спирайте режещия нож(ове), когато пресичате повърхности с чакъл.
Внимавайте за дупки, коловози, издатини, камъни или други скрити опасности. При работа по неравен терен може да загубите равновесие или да политнете.
Ако машината се удари в някакъв предмет или започне да вибрира, незабавно изгасете двигателя, изчакайте спирането на всички движещи се части и откачете кабела от свещта, преди да проверите машината за повреди. Преди да възобновите работа, извършете необходимите ремонти.
Преди да напуснете работната си позиция, спрете двигателя и изчакайте всички движещи се части да спрат.
Ако двигателят е работил, той ще е горещ и може сериозно да Ви изгори. Не се доближавайте до горещия двигател.
Пускайте двигателя само в места с добра вентилация. Отработените газове от двигателя съдържат въглероден оксид, който е без мирис, но може да ви убие.
Проверявайте често компонентите на коша за трева и улея за изхвърляне за износване или влошаване на състоянието, и в случай на нужда ги сменяйте с оригинални части от Toro.
Косете по дължината на склоновете, никога надолу или нагоре. Бъдете много внимателни, когато променяте посоката по време на работа на склон.
Не косете по много стръмни наклони. Неравен терен може да причини злополука вследствие на подхлъзване и падане.
Косете с повишено внимание в близост до свлачища, канавки или насипи.

Note: Ако след няколко опита машината не започне да функционира, свържете се с упълномощен за сервизно обслужване дилър.
За задействане на самоходното задвижване, повървете с ръце върху горната ръкохватка и лакти отстрани на тялото си, така машината ще поддържа автоматично скоростта Ви (Фигура 15).

Note: Ако след привеждане в самоходен режим машината не се движи безпрепятствено назад, спрете да вървите, поставете ръцете си на място и осигурете на машината възможност да се придвижи няколко сантиметра напред, за да изключите колесното задвижване. Може също така да се опитате да бръкнете под горната ръкохватка към металната ръкохватка и да избутате машината няколко сантиметра напред. Ако машината все още не се движи назад както трябва, свържете се с упълномощен за сервизно обслужване дилър.
| Интервал на техническо обслужване | Процедура по поддръжка |
|---|---|
| Преди всяка употреба или ежедневно |
|
За да изгасите двигателя, пуснете лостчето за контрол на ножа.
Important: Когато пуснете лостчето за контрол на ножа, както двигателят, така и ножът трябва да спрат в рамките на 3 секунди. Ако те не спират по подходящия начин, веднага преустановете работа с машината и се свържете с упълномощен за сервизно обслужване дилър.
Вашата машина се доставя от завода, готова за рециклиране на отпадните отрезки от трева и листа обратно в тревната площ.
Ако кошът за трева е сложен на машината, свалете го, преди да рециклирате отпадните отрезки. Вижте Демонтаж на коша за трева.
Когато искате да съберете отпадните отрезки от трева и листа от тревната площ, използвайте коша за трева.
Note: По подразбиране тази машина е оборудвана с острие за рециклиране за подобрено рециклиране, като включва и опционално острие за опаковане в пликове за подобрено опаковане. Преди събиране на тревата, монтирайте острието за събиране – вижте Смяна на нож.
Един износен кош за трева може да допусне изхвърлянето на малки камъни и други подобни частици към Вас или към страничен наблюдател, в резултат на което да се получат сериозни телесни наранявания, а даже и смъртни случаи.
Проверявайте често коша за трева. Ако е повреден, монтирайте нов резервен кош от Toro.
Ножовете са остри; контактът с тях може да доведе до тежки телесни наранявания.
Преди да напуснете мястото на оператора, изключете машината и изчакайте спирането на всички движещи се части.
Изключете машината и изчакайте спирането на всички движещи се части.
Вдигнете и задръжте задния дефлектор (A на Фигура 16).
Свалете запушалката за задно разтоварване, като натиснете ключалката с палеца си и издърпате запушалката от машината (B и C на Фигура 16).
Монтирайте прътовете за коша в прорезите при основата на ръкохватката и разклатете коша назад и напред, за да се гарантира, че прътовете са наместени в долната част на двата прореза (D на Фигура 16).
Спускайте задния дефлектор, докато се разположи върху коша за трева.

Машината може да изхвърля отрязана трева и други предмети през отвор в корпуса на машината. Предмети, изхвърлени с голяма сила, застрашават с тежко нараняване или смърт Вас или намиращите се в близост лица.
Никога не изваждайте коша за трева и след това стартирайте двигателя, без да е поставена запушалката за разтоварване на машината.
Никога не отваряйте задния дефлектор на машината, докато машината работи.
Проверете участъка, в който ще използвате машината, и отстранете всички обекти, които тя може да изхвърли.
Избягвайте удрянето на ножа по твърди обекти. Никога не косете умишлено над какъвто и да е обект.
Ако машината се удари в някакъв предмет или започне да вибрира, незабавно изгасете двигателя, изчакайте спирането на всички движещи се части и откачете кабела от свещта, преди да проверите машината за повреди.
За получаване на възможно най-добри резултати, преди началото на сезона за косене монтирайте нов нож от Toro.
Косете само до една трета от ножа за трева. Не косете под настройка от 51 мм, освен ако тревата е рядка или през късна есен, когато растежът на тревата е забавен.
За да постигнете най-добър външен вид на тревната си площ, при косене на трева с височина над 15 см, косете при настройка за най-голяма височина на косене и ходете бавно; след това косете отново на по-ниска степен на настройка. Ако тревата е много дълга, машината може да се задръсти и двигателят да се задави.
Мокрите треви и листа имат склонност да се групират на места из двора и могат да задръстят машината или да задавят двигателя. Избягвайте да косите трева при мокри условия.
Бъдете нащрек за потенциална опасност при много сухи условия, следвайте всички местни предупреждения за пожар и пазете машината от суха трева и листна маса.
Сменяйте посоката на косене. Това помага за разпръскването на отпадните отрезки по тревната площ за равномерното ѝ наторяване.
Ако външният вид на окосената тревна площ е незадоволителен, опитайте някой от следните подходи:
Сменете ножа или го занесете да Ви го наточат.
При косене ходете бавно.
Повдигнете височината на косене на машината си.
Косете тревата по-често.
Припокривайте полосите на тревните откоси, вместо да окосявате една пълна полоса на всеки ход.
След като окосите тревната площ, се убедете, че половината от нея се показва през капака за косене на листа. Може да се наложи да направите още един преход по листата.
Ако по тревната площ има над 13 см листа, косете с по-голяма височина на косене, и след това с желаната височина на косене.
Забавете скоростта си на косене, ако машината не коси достатъчно прецизно листата.
Винаги спирайте машината, изчаквайте всички движещи се части да спрат и давайте възможност на машината да изстине, преди да я регулирате, обслужвате, почиствате или съхранявате.
За предотвратяване на пожар, почиствайте машината от треви и отломки. Почистете разливанията на масло или гориво.
Никога не съхранявайте машината или контейнер за гориво на места с открит пламък, искри или където има индикаторни лампи от типа на използваните в бойлери или други уреди.
Проявете внимание, когато натоварвате или разтоварвате машината.
Закрепете машината против преобръщане.
| Интервал на техническо обслужване | Процедура по поддръжка |
|---|---|
| След всяка употреба |
|
За най-добри резултати почиствайте под машината скоро след завършване на косенето.
Спуснете машината до положението за най-ниско косене.
Преместете машината на хоризонтална повърхност с настилка.
При работещ двигател и със задействан нож, напръскайте със струя вода пред дясното задно колело (Фигура 17).
Note: Водата ще се разпръсне по пътя на ножа и ще почисти окосената трева.

След като почистите окосената трева, спрете водата и преместете машината на сухо място.
Стартирайте мотора и го оставете да работи няколко минути, за да изсуши пространството под машината и да предотврати появата на ръжда.
Преди да съхранявате машината в затворено пространство, изгасете двигателя, извадете бутона за електрическото стартиране (ако има) и оставете машината да изстине.
Поставете машината във вертикално прибрано положение; вижте Съхраняване на машината във вертикално прибрано положение.
Отмийте отпадните отрезки под машината.
Неправилното разгъване и прибиране на ръкохватката може да повреди кабелите, което да доведе до възникване на опасни работни условия.
При прибиране и разгъване на ръкохватката не повреждайте кабелите.
Ако повредите някой кабел, се свържете с упълномощен за сервизна дейност дилър.
Придържайте ръкохватката, когато освобождавате блокировките й, за да не си прищипете ръцете.
Освобождавайте блокировките на ръкохватката, докато горната ръкохватка започне да се движи свободно (A на Фигура 18)
Сгънете ръкохватката напред в крайното й предно положение (B на Фигура 18).
Important: Докато сгъвате ръкохватката, прекарайте кабелите от външната страна на блокировките й.

За да изкарате ръкохватката, вижте Сглобяване и разглобяване на ръкохватката.
За да намалите пространството за съхранение, по време на сезона за косене или извън него, можете да съхранявате машината във вертикално положение.
Горивото е изключително запалимо и експлозивно. Пожар или експлозия на горивото могат да причинят изгаряне както на Вас, така и други хора.
Съхраняване на машината във вертикално положение, когато в резервоара има твърде много гориво, може да доведе до изтичане на гориво от резервоара. Горивото е изключително запалимо и експлозивно. Пожар или експлозия на горивото могат да причинят изгаряне както на Вас, така и други хора.
Съхранявайте машината във вертикално положение само когато нивото на горивото в резервоара за гориво не е по-високо от препоръчаното в настоящото Ръководство за експлоатация.
Не съхранявайте машината в положение, което е извън вертикалното (90°) положение; в противен случай горивото може да изтече от резервоара.
Не транспортирайте машината във вертикално прибрано положение.
Не се опитвайте да стартирате машината, докато е във вертикално прибрано положение.
Не се опитвайте да съхранявате машина с гориво и масло във вертикално прибрано положение. Тази позиция не е предназначена за тази цел.
Неправилното разгъване и прибиране на ръкохватката може да повреди кабелите, което да доведе до възникване на опасни работни условия.
При прибиране и разгъване на ръкохватката не повреждайте кабелите.
Ако повредите някой кабел, се свържете с упълномощен за сервизна дейност дилър.
Уверете се, че нивото на горивото в резервоара не надвишава препоръчаното от производителя на двигателя; вижте табелката на производителя на двигателя (Фигура 19).
Note: Ако нивото на горивото в резервоара е твърде високо, източете гориво от резервоара в одобрен контейнер, докато нивото достигне или спадне под нивото, препоръчано от производителя на двигателя.

Уверете се, че настройката за височината на рязане на машината е 92 мм или по-ниска. Ако това не е така, понижете я; вижте Регулиране на височината на косене.
Освободете ключалките на ръкохватката (Фигура 20).

Сгънете ръкохватката докрай напред (Фигура 20).
Important: Докато сгъвате ръкохватката, прекарайте кабелите от външната страна на главите й.
Задействайте блокировките на ръкохватката.
Вдигнете предната част на машината за ръкохватката и я преместете в мястото за съхранение (Фигура 21).

| Интервал на техническо обслужване | Процедура по поддръжка |
|---|---|
| След първите 5 часа |
|
| Преди всяка употреба или ежедневно |
|
| След всяка употреба |
|
| На всеки 25 часа |
|
| Годишно |
|
| Годишно или преди съхранение |
|
Important: Вижте ръководството за Вашия двигател за допълнителна информация относно процедурите по поддръжка.
Винаги спирайте машината, изчаквайте всички движещи се части да спрат и давайте възможност на машината да изстине, преди да я регулирате, обслужвате, почиствате или съхранявате.
Преди изпълнение на каквито и да било процедури по поддръжка на машината, първо откачете кабела на свещта.
Носете ръкавици и защита за очите при обслужването на машината.
Ножът е остър; контактът с него може да доведе до тежки телесни наранявания. При сервизното обслужване на ножа носете ръкавици. Не ремонтирайте или променяйте ножа (ножовете).
Никога не променяйте функционирането на устройствата за безопасност. Проверявайте редовно правилното им функциониране.
Наклоняването на машината може да предизвика изтичане на гориво. Горивото е лесно запалимо и експлозивно, и може да причини телесни наранявания. Работете с машината, докато бензинът свърши или го източете с ръчна помпа, но никога с фуния.
За гарантиране на оптимална работа и непрекъсната сертификация на машината за безопасност, използвайте само оригинални резервни части и принадлежности от Toro. Резервни части и принадлежности, произведени от други производители, могат да бъдат опасни, а тяхната употреба може да анулира гаранцията на продукта.
Спрете двигателя и изчакайте спирането на всички движещи се части.
Откачете кабела на запалителната свещ от свещта (Фигура 22).

След изпълнение на процедурите по поддръжка, свържете кабела на запалителната свещ към свещта.
Important: Преди накланяне на машината за смяна на маслото или смяна на ножа, осигурете възможност на резервоара за горивото да се изпразни в условия на нормална работа. Ако се налага да наклоните машината преди изчерпване на горивото, изкарайте горивото с помощта на ръчна помпа за гориво. Винаги накланяйте машината настрани, така че маслоизмервателната щека да сочи надолу.
| Интервал на техническо обслужване | Процедура по поддръжка |
|---|---|
| На всеки 25 часа |
|
| Годишно |
|
Освободете щипката на капака на въздушния филтър (Фигура 23).

Свалете въздушния филтър (Фигура 23).
Проверете въздушния филтър.
Note: Ако въздушният филтър е силно замърсен, сменете го с нов филтър. Ако е само слабо замърсен, леко почукайте въздушния филтър на твърда повърхност, за да се освободят отпадъците.
Монтирайте въздушния филтър.
Използвайте щипката, за да монтирате въздушния филтър.
| Интервал на техническо обслужване | Процедура по поддръжка |
|---|---|
| След първите 5 часа |
|
| Годишно |
|
Note: Преди да смените маслото на двигателя, го оставете да поработи малко, за да загрее маслото. Топлото масло тече по-добре и отнася повече от замърсителите в него.
| Количество на двигателното масло | 0,44 л* |
| Вискозитет на маслото | SAE 30 или SAE 10W-30 с миеща присадка |
| API категория на обслужване | SJ или по-висока |
*Има остатъчно масло в картера, след като източите маслото. Не наливайте целия обем масло в картера. Напълнете картера с масло съгласно указанията в следните стъпки.
Преместете машината на хоризонтална повърхност.
Извадете маслоизмервателната щека, като завъртите капачето обратно на часовниковата стрелка и го издърпате навън (Фигура 24).

Накланяйте машината настрани, (така че въздушният филтър да е отгоре), за да източите отработеното масло през тръбата за пълнене с масло (Фигура 24).

След източването на отработеното масло върнете машината в работно положение.
Внимателно налейте около ¾ от вместимостта на картера с масло през тръбата за пълнене с масло.
Изчакайте 3 минути, докато маслото се установи в двигателя.
Избършете маслоизмервателната щека с чиста кърпа.
Вкарайте маслоизмервателната щека в тръбата за пълнене с масло, но не я завивайте докрай, след което я извадете.
Отчетете нивото на маслото по маслоизмервателната щека.
Ако нивото на маслото по маслоизмервателната щека е прекалено ниско, внимателно добавете малко масло през тръбата за пълнене, изчакайте 3 минути и след това повтаряйте стъпки 8 до 10 до достигане на правилното ниво на маслото по маслоизмервателната щека.
Ако нивото на маслото по маслоизмервателната щека е прекалено високо, източете излишното масло до достигане на правилното ниво по маслоизмервателната щека.
Important: Ако нивото на маслото в двигателя е прекалено ниско или прекалено високо и Вие стартирате двигателя, той може да се повреди.
Поставете здраво маслоизмервателната щека в тръбата за пълнене.
Рециклирайте отработеното масло по подходящ начин.
| Интервал на техническо обслужване | Процедура по поддръжка |
|---|---|
| Годишно |
|
Important: За правилния монтаж на ножа ще се нуждаете от динамометричен ключ. Ако нямате такъв ключ или не се чувствате подготвени за изпълнението на подобна процедура, свържете се с упълномощен за сервизно обслужване дилър.
При всяко свършване на горивото проверявайте ножа. Ако той е повреден или по него има пукнатини, сменете го веднага. Ако ръбът на ножа е затъпен или нащърбен, уредете да бъде заточен, или го сменете.
Ножът е остър; контактът с него може да доведе до тежки телесни наранявания.
При сервизното обслужване на ножа носете ръкавици.
Накланяйте машината настрани, така че въздушният филтър да сочи нагоре.
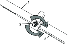
За стабилното фиксиране на ножа използвайте дървено трупче (Фигура 26).

Свалете ножа и съхранете всички монтажни елементи (Фигура 26).
Поставете новия нож и всички монтажни елементи (Фигура 27).

Important: Позиционирайте закривените краища на ножа така, че да сочат към корпуса на машината.
За затягането на болта на ножа до 88 N∙m използвайте динамометричен ключ.
Във всеки случай на монтаж на ново жило за самоходно придвижване или ако самоходното придвижване се нуждае от пренастройване, регулирайте самоходното придвижване.
Въртете гайката за регулиране обратно на часовниковата стрелка, за да разхлабите и да може да се настройва жилото (Фигура 28).

Регулирайте обтягането на жилото (Фигура 28), като го издърпате назад или го избутате напред и фиксирате това положение.
Note: Избутайте жилото напред към мотора, за да увеличите сцеплението, издърпайте жилото от мотора, за да намалите сцеплението.
Въртете гайката за регулиране по часовниковата стрелка, за да фиксирате направената регулировка.
Note: Затегнете здраво гайката с глух или отворен ключ.
Съхранявайте машината на хладно, чисто и сухо място.
Винаги спирайте машината, изчаквайте всички движещи се части да спрат и дайте възможност на машината да изстине, преди да я регулирате, обслужвате, почиствате или съхранявате.
При последното презареждане с гориво през годината, добавете стабилизатор на гориво (напр. Toro Premium Fuel Treatment) към горивото, съгласно указанията на етикета.
Изхвърлете неизползваното гориво по правилния начин. Рециклирайте го в съответствие с местните разпоредби или го използвайте за автомобила си.
Important: Старото гориво в резервоара е основна причина за трудно стартиране. Не съхранявайте горивото без стабилизатор на гориво за повече от 30 дни и не съхранявайте стабилизатора на гориво по-дълго от препоръчаното от производителя време.
Оставете машината да работи, докато двигателят ѝ спре поради липса на гориво.
Стартирайте двигателя отново и го оставете да работи, докато изгасне сам. Когато вече не може да стартирате двигателя, той ще е достатъчно сух.
Откачете кабела от запалителната свещ и го поставете върху ограничителния палец (ако има такъв).
Свалете свещта, добавете 30 мл двигателно масло през отвора на свещта и неколкократно дръпнете бавно въженцето за ръчно стартиране, за да разпределите равномерно маслото в цилиндъра и да предотвратите възникването на корозия през мъртвия сезон.
Поставете запалителната свещ в хлабаво положение.
Затегнете всички гайки, болтове и винтове.
Проверете и притегнете всички крепежи.
Свалете запалителната свещ и завъртете двигателя бързо, като издърпате ръкохватката за ръчно стартиране, за да издухате излишното масло от цилиндъра.
Монтирайте свещта обратно и я затегнете с динамометричен ключ до 20 N∙m.
Изпълнете необходимите процедури за обслужване; вижте .
Проверете нивото на маслото на двигателя; вижте Проверка на нивото на маслото на двигателя.
Напълнете резервоара за гориво с ново гориво; вижте Зареждане на резервоара за гориво.
Свържете кабела към свещта.