| Vedlikeholdsintervall | Vedlikeholdsprosedyre |
|---|---|
| For hver bruk eller daglig |
|
Denne gressklipperen av skyvemodell med roterende kniver er beregnet for privat bruk. Den er hovedsakelig beregnet på å klippe gress på godt vedlikeholdte plener på private eiendommer. Hvis du bruker dette produktet til andre formål enn det er beregnet på, kan du utsette deg selv eller andre for fare.
Les denne håndboken nøye, slik at du lærer å bruke og vedlikeholde produktet på riktig måte og unngår person- eller produktskade. Du har ansvar for å bruke produktet på en riktig og sikker måte.
Gå til www.Toro.com for mer informasjon, inkludert sikkerhetstips, opplæringsmateriale og informasjon om tilbehør, hjelp til å finne en forhandler eller for å registrere produktet ditt.
Hvis maskinen må repareres, eller du trenger service, originale Toro-deler eller mer informasjon, kan du kontakte et autorisert forhandlerverksted eller Toros kundeserviceavdeling. Ha modell- og serienummer for hånden når du tar kontakt. Figur 1 viser hvor på produktet modell- og serienumrene er plassert. Skriv inn numrene i de tomme feltene.
Important: Du kan skanne QR-koden på serienummermerket (hvis det finnes) med en mobil enhet for å få tilgang til garantien, deler og annen produktinformasjon

Dette sikkerhetsvarselssymbolet (Figur 2) som vises i denne håndboken og på maskinen, identifiserer viktige sikkerhetsmeldinger som du må følge for å unngå ulykker.

Sikkerhetsvarselssymbolet vises over informasjon som varsler deg om usikre handlinger eller situasjoner, og følges av ordet FARE, ADVARSEL eller FORSIKTIG.
FARE indikerer en overhengende faresituasjon som, hvis den ikke unngås, vil resultere i død eller alvorlig personskade.
ADVARSEL indikerer en potensielt farlig situasjon som, hvis den ikke unngås, kan resultere i død eller alvorlig personskade.
FORSIKTIG indikerer en potensielt farlig situasjon som, hvis den ikke unngås, kan føre til mindre eller moderat personskade.
Denne brukerhåndboken bruker i tillegg to ord til for å utheve informasjon. Viktig gjør oppmerksom på spesiell mekanisk informasjon og Obs henviser til generell informasjon som det er verdt å huske på.
Dette produktet er i samsvar med alle relevante europeiske direktiver. Se eget samsvarserklæringsskjema for produktet for detaljert informasjon.
Nettomoment: Motorens brutto- eller nettomoment ble beregnet i et laboratorium av motorprodusenten i overensstemmelse med Society of Automotive Engineers (SAE) J1940 eller J2723. Når den er konfigurert til å overholde sikkerhets-, utslipps- og driftskrav, vil det faktiske dreiemomentet for motorer for gressklipper i denne klassen være betydelig lavere. Se motorprodusentens informasjon som følger med maskinen.
Sikkerhetsanordninger på maskinen skal ikke tukles med eller deaktiveres, og riktig drift må sjekkes regelmessig. Ikke prøv å justere eller tukle med motorhastighetskontrollen, da dette kan utgjøre en usikker driftstilstand, som kan føre til personskader.
Dette produktet kan amputere hender og føtter og slynge gjenstander opp i luften. Følg alltid alle sikkerhetsinstruksjoner for å unngå alvorlige personskader eller dødsulykker.
Les, forstå og følg instruksjonene og advarslene i denne brukerhåndboken og på maskinen og utstyret før du starter motoren.
Hold hender og føtter borte fra roterende deler på maskinen. Hold deg unna alle utmatingsåpninger.
Bruk aldri maskinen uten at alle verneplater og andre sikkerhetsanordninger sitter på plass og fungerer som tiltenkt.
Hold tilskuere og barn borte fra arbeidsområdet. Ikke la barn bruke maskinen. Maskinen skal kun brukes av ansvarlige personer som har opplæring, er kjent med instruksjonene og er fysisk i stand til å bruke den.
Stopp maskinen, slå av motoren og vent til alle bevegelige deler har stanset før du utfører service, fylling, eller fjerner materiale fra maskinen.
Feilaktig bruk og vedlikehold av maskinen kan føre til
personskade. For å redusere muligheten for skader må du
følge disse sikkerhetsinstruksjonene og alltid være oppmerksom
på sikkerhetsalarmsymbolet (
), som betyr Forsiktig, Advarsel eller Fare –
personsikkerhetsinstruks. Hvis ikke disse instruksjonene tas hensyn
til, kan det føre til alvorlige personskader eller dødsfall.
![]() |
Sikkerhetsmerker og -instruksjoner er lett synlige for føreren og er plassert i nærheten av alle områder som representerer en potensiell fare. Bytt ut alle merker som er ødelagte eller mangler. |




Important: Fjern og kast plasten som beskytter motoren og eventuelt annet plast- eller innpakningsmateriale på maskinen.
Hvis man setter sammen og folder ut håndtaket på feil måte, kan dette føre til skade på ledningene, noe som igjen kan utgjøre en usikker driftstilstand.
Pass på at du ikke skader ledningene når du setter sammen og folder ut håndtaket.
Kontroller at kablene ledes på utsiden av håndtaket.
Hvis en ledning blir skadet, kontakter du et autorisert forhandlerverksted.


Important: Monter tilbakespolingsstartersnoren i snorføreren for å starte motoren sikkert og på en enkelt måte hver gang du bruker maskinen.

Important: Hvis oljenivået i motoren er for lavt eller for høyt, og du kjører motoren, kan dette føre til skade på motoren.




| Modell | Vekt | Lengde | Bredde | Høyde |
| 21693 | 38 kg | 164 cm | 58 cm | 106 cm |
Et utvalg av Toro-godkjent tilbehør som kan brukes sammen med maskinen for å forbedre og utvide dens funksjoner er tilgjengelig. Ta kontakt med din autoriserte serviceforhandler eller autoriserte Toro-forhandler, eller gå til www.Toro.com for å få en liste over godkjent tilbehør og utstyr.
For å oppnå optimal ytelse og holde maskinen i sikkerhetsgodkjent stand må du bare bruke originale Toro-reservedeler og -tilbehør. Reservedeler og tilbehør som er laget av andre produsenter, kan være farlige, og bruken av disse kan føre til at garantien blir ugyldig.
Note: Angi hva som er høyre og venstre side på maskinen ved å stå i normal arbeidsstilling.
Slå av maskinen, vent til alle bevegelige deler har stoppet og la maskinen kjøle seg ned før du justerer, utfører service på, rengjør eller setter maskinen til oppbevaring.
Gjør deg kjent med sikker bruk av utstyret, driftskontrollene og sikkerhetssymbolene.
Kontroller at alle vern og sikkerhetsanordninger, som avledere og/eller gressoppsamlere, er på plass og fungerer korrekt.
Undersøk alltid maskinen for å sikre at knivene og knivboltene er fri for skader og slitasje.
Undersøk området hvor du skal bruke maskinen, og fjern alle gjenstander som kan komme i veien for bruken av maskinen eller slynges ut av maskinen.
Kontakt med kniv i bevegelse vil føre til alvorlige skader. Ikke plasser fingrene under huset.
Drivstoff er meget brannfarlig og svært eksplosivt. Brann eller eksplosjon forårsaket av drivstoff kan påføre deg og andre brannskader samt ødelegge eiendom.
Når du fyller tanken, må drivstoffkannen og/eller maskinen være plassert direkte på bakken og ikke i et kjøretøy eller på en gjenstand, for å hindre at statisk elektrisitet antenner drivstoffet.
Fyll opp drivstofftanken utendørs på et åpent område når motoren er nedkjølt. Tørk opp eventuelt drivstoffsøl.
Ikke håndter drivstoff når du røyker eller er i nærheten av åpen ild eller gnister.
Ikke ta lokket av drivstofftanken eller fyll på drivstofftanken mens motoren går eller er varm.
Ikke prøv å starte motoren hvis du har sølt drivstoff. Unngå antenningskilder til all drivstoffdamp er forsvunnet.
Drivstoff må oppbevares på en godkjent kanne, utenfor barns rekkevidde.
Drivstoff kan føre til skader eller dødsfall hvis det svelges. Hvis du utsettes for damp fra drivstoff over lengre tid, kan dette føre til alvorlig skade og sykdom.
Unngå innånding av damp fra drivstoff over lengre tid.
Hold hendene og ansiktet unna dysen og drivstofftankåpningen.
Hold drivstoffet unna øyne og hud.
| Type | Blyfri bensin |
| Minimum oktankvalitet | 87 (USA) eller 91 (forskningsoktan; utenfor USA) |
| Etanol | Ikke mer enn 10 % i volum |
| Metanol | Ingen |
| MTBE (metyltertiærbutyleter) | Mindre enn 15 % i volum |
| Olje | Ikke tilsett olje i drivstoffet |
Bruk kun rent, ferskt (mindre enn 30 dager gammelt) drivstoff fra en pålitelig kilde.
Important: For å redusere oppstartsproblemer kan drivstoffstabiliserings-/kondisjoneringsmiddel tilsettes i ferskt drivstoff, som anvist av produsenten for drivstoffstabiliserings-/kondisjoneringsmiddelet.
Se brukerhåndboken for motoren for mer informasjon.
Fyll drivstofftanken som vist i Figur 10.

| Vedlikeholdsintervall | Vedlikeholdsprosedyre |
|---|---|
| For hver bruk eller daglig |
|
Important: Hvis oljenivået i veivhuset er for lavt eller for høyt, og du kjører motoren, kan dette føre til skade på motoren.

Du kan heve eller senke håndtaket til en stilling som er komfortabel for deg.
Roter håndtakslåsen, beveg håndtaket til én av to posisjoner, og lås håndtaket i posisjon (Figur 12).

Hvis motoren er varm, vil lyddemperen være varm og kan forårsake brannsår.
Ikke berør den varme lyddemperen.
Juster klippehøyden som ønsket. Still alle hjulene til samme klippehøyde (Figur 13).

Ha på deg passende klær, inkludert vernebriller, vernebukser, sklisikkert og kraftig fottøy og hørselsvern. Sett opp langt hår, og ikke bruk løstsittende klær eller fritthengende smykker.
Vær alltid fokusert på oppgaven når du bruker maskinen. Ikke delta i aktiviteter som forårsaker distraksjoner, da dette kan føre til personskade eller materiell skade.
Ikke bruk maskinen når du er syk, trett eller påvirket av alkohol eller andre rusmidler.
Kniven er skarp, kontakt med kniven kan føre til personskader. Før du forlater førersetet, må du stanse motoren og vente til alle bevegelige deler står stille.
Når du slipper knivkontrollbøylen, skal motoren slå seg av og knivene stanse innen tre sekunder. Hvis de ikke stopper som de skal, skal du umiddelbart slutte å bruke maskinen. Kontakt en autorisert serviceforhandler.
Hold andre personer borte fra arbeidsområdet. Hold små barn borte fra arbeidsområdet og under oppsyn av en ansvarlig voksen som ikke kjører maskinen. Stopp maskinen hvis noen kommer inn på området.
Se alltid bakover og ned du før du flytter maskinen i revers.
Maskinen skal kun brukes under forhold med god sikt og egnede værforhold. Ikke bruk maskinen hvis det er fare for lynnedslag.
Vått gress eller løv kan føre til alvorlig personskade hvis du mister fotfestet og kommer i kontakt med kniven. Unngå klipping i våte forhold.
Vær spesielt forsiktig når du nærmer deg hjørner, busker, trær eller andre objekter som kan hindre sikten din.
Ikke la materiale kastes ut direkte mot noen. Unngå å la materiale kastes ut mot en vegg eller en hindring, da det kan sprette tilbake og treffe deg. Stopp kniven(e) når du krysser grusbelagte overflater.
Vær oppmerksom på hull, steiner eller andre skjulte objekter. Ujevnt terreng kan føre til at du mister balansen eller fotfeste.
Hvis maskinen treffer en gjenstand eller begynner å vibrere, slå av motoren øyeblikkelig, vent til alle deler i bevegelse har stoppet, og koble kabelen fra tennpluggen før du undersøker maskinen for skade. Foreta alle nødvendige reparasjoner før du gjenopptar bruk.
Før du forlater førersetet, må du stanse motoren og vente til alle bevegelige deler står stille.
Hvis motoren har vært i drift, vil den være varm og kan forårsake alvorlige brannsår. Ikke berør den varme motoren.
Kjør motoren kun i godt ventilerte rom. Eksosgasser inneholder karbonmonoksid, som er en dødelig gift uten lukt.
Kontroller gressoppsamlingskomponentene og utslippssjakten regelmessig, og skift dem ut med ekte Toro-deler når det er nødvendig.
Klipp på tvers av bakker, aldri oppover og nedover. Vær ytterst forsiktig når du forandrer retning i skråninger.
Klipp ikke i overdrevent bratte skråninger. Dårlig fotfeste kan føre til at du glir og faller.
Vær forsiktig når du klipper gress i nærheten av kanter, grøfter eller voller.

Note: Hvis maskinen ikke starter, ta kontakt med et autorisert forhandlerverksted.
For å bruke selvdriften, gå bare fremover med hendene plassert på det øvre håndtaket og albuene ved siden, og maskinen vil automatisk holde samme fart som deg (Figur 15).

Note: Hvis maskinen ikke ruller uhindret bakover etter selvdrift, slutt å gå, hold hendene på plass og la maskinen rulle noen centimeter frem for å deaktivere hjuldriften. Du kan også prøve å gripe rett under det øvre håndtaket på metallhåndtaket og skyve gressklipperen frem noen centimeter. Hvis maskinen fremdeles ikke ruller lett bakover, kontakt en autorisert serviceforhandler.
| Vedlikeholdsintervall | Vedlikeholdsprosedyre |
|---|---|
| For hver bruk eller daglig |
|
Frigjør knivkontrollbøylen for å slå av motoren.
Important: Når du slipper knivkontrollbøylen skal både motoren og kniven stanse innen tre sekunder. Hvis de ikke stopper som de skal, skal du umiddelbart slutte å bruke maskinen. Kontakt en autorisert serviceforhandler.
Maskinen leveres klar til å resirkulere gress- og løvrester tilbake i plenen.
Fjern gressposen, hvis den er på maskinen, før du resirkulerer gress- og løvrester. Se Fjerne gressposen.
Bruk gressposen når du vil samle opp gress- og løvrester fra plenen.
Note: Som standard er denne maskinen utstyrt med en resirkuleringskniv for forbedret resirkulering. Den inkluderer også en valgfri oppsamlingskniv for forbedret oppsamling. Monter oppsamlingskniven før du samler opp. Se Skift ut kniven.
Hvis gressposen er slitt kan småsteiner eller liknende gjenstander kastes mot deg eller andre i nærheten, og føre til alvorlige personskader eller en dødsulykke.
Kontroller gressposen ofte. Skift den ut med en ny Toro-reservepose, hvis den er skadet.
Knivene er skarpe, kontakt med kniver kan føre til personskader.
Før du forlater førersetet, må du stanse maskinen og vente til alle bevegelige deler står stille.
Slå av maskinen, og vent til alle bevegelige deler har stanset.
Løft og hold oppe den bakre avlederen (A av Figur 16).
Fjern den bakre utslippspluggen ved å trykke inn låsen med tommelen og trekke pluggen ut av maskinen (B og C av Figur 16).
Monter posestangen i hakkene på bunnen av håndtaket, og vugg posen frem og tilbake for å sjekke at stangen sitter godt på bunnen av begge hakkene. Se (D av Figur 16).
Senk den bakre avlederen til den hviler på gressposen.

Maskinen kan slynge ut gress og andre gjenstander gjennom åpninger i gressklipperhuset. Gjenstander som slynges ut med nok kraft, kan påføre både deg og andre i nærheten alvorlige eller dødelige skader.
Ikke fjern gressposen og start maskinen uten at utslippspluggen er montert på maskinen.
Ikke lukk opp den bakre avlederen på maskinen mens den er på.
Undersøk området der du skal bruke maskinen, og fjern alle gjenstander som kan slynges ut av maskinen.
La ikke kniven treffe harde gjenstander. Klipp aldri over en gjenstand med overlegg.
Hvis maskinen treffer en gjenstand eller begynner å vibrere, slå av motoren øyeblikkelig, vent til alle bevegelige deler har stoppet og koble kabelen fra tennpluggen før du undersøker maskinen for skade.
For best mulig resultat kan du montere en ny Toro-kniv før klippesesongen begynner eller ved behov.
Klipp kun av ca. en tredjedel av gresstrået av gangen. Ikke klipp lavere enn innstillingen på 51 mm med mindre gresset er glissent eller det er sent på høsten og gresset vokser saktere.
Når du klipper gress som er mer enn 15 cm høyt, klipp først på den høyeste klippehøydeinnstillingen og ved lavere hastighet, og klipp så en gang til på en lavere innstilling for å oppnå best mulig utseende på gressplenen. Hvis gresset er for langt, kan maskinen bli tettet og motoren stanse.
Vått gress og løv har en tendens til å klumpe seg på bakken og kan føre til at maskinen tilstoppes eller at motoren stanser. Unngå klipping i våte forhold.
Vær oppmerksom på brannfare ved svært tørre forhold, følg alle lokale brannvarsler og hold maskinen fri for tørt gress og løvrester.
Veksle klipperetningen. På denne måten spres gress- og løvrestene jevnere på plenen.
Hvis den ferdig klipte gressplenen ikke ser bra ut, kan du prøve én gang til og gjøre følgende:
Skift ut kniven eller bryn den.
Gå saktere mens du klipper.
Hev klippehøydeinnstillingen på maskinen.
Klipp gresset oftere.
Overlapp skårganger i stedet for å klippe en hel skårgang hver gang.
Når du har klippet plenen, kontroller at halvparten av gresset vises gjennom lavet med klippet løv. Det kan være nødvendig å gå over løvet mer enn én gang.
Hvis det er mer enn 13 cm med løv på plenen, bruk en høyere klippehøyde og deretter i ønsket klippehøyde.
Reduser klippehastigheten hvis maskinen ikke klipper løvene fint nok.
Slå av maskinen, vent til alle bevegelige deler har stoppet og la maskinen kjøle seg ned før du justerer, utfører service på, rengjør eller setter maskinen til oppbevaring.
Fjern gress og rusk fra maskinen for å unngå at det begynner å brenne. Tørk opp eventuelt olje- eller drivstoffsøl.
Oppbevar aldri maskinen eller bensinkannen hvor det er åpen ild, gnist eller kontrollampe, som på en varmtvannstank eller andre apparater.
Vær forsiktig når du laster maskinen av eller på en lastebil eller tilhenger.
Fest maskinen slik at den ikke ruller.
| Vedlikeholdsintervall | Vedlikeholdsprosedyre |
|---|---|
| Etter hver bruk |
|
For best mulig resultat bør du rengjøre under maskinen like etter at du er ferdig med å klippe gresset.
Senk maskinen til laveste klippehøydeinnstilling.
Flytt maskinen til en jevn, belagt overflate.
Mens motoren går og kniven er aktivert, rett en vannstråle foran høyre bakhjul (Figur 17).
Note: Vannet vil sprute inn i knivens bane, slik at gressrester spyles bort.

Når det ikke kommer ut flere gressrester, stopp vannet og flytt maskinen til et tørt område.
Start motoren og la den gå i et par minutter for å tørke maskinens underside for å forhindre rustdannelse.
Slå av motoren, fjern elektrisk start-knappen (hvis utstyrt) og vent til maskinen er nedkjølt, før den settes på et lukket sted.
Plasser håndtaket i vertikal stilling. Se Oppbevare maskinen i vertikal oppbevaringsstilling.
Vask bort gressrestene fra undersiden av maskinen.
Hvis man folder sammen eller ut håndtaket på feil måte, kan dette føre til skade på ledningene, noe som igjen kan utgjøre en usikker driftstilstand.
Pass på at du ikke skader ledningene når du folder sammen eller ut håndtaket.
Hvis en ledning blir skadet kontakter du et autorisert forhandlerverksted.
Hold håndtaket mens du deaktiverer håndtakslåsene for å unngå at du klemmer hendene.
Løsne håndtakslåsene til du kan flytte det øvre håndtaket fritt (A i Figur 18)
Fold håndtaket fram til helt fremste stilling (B i Figur 18).
Important: Før ledningene på utsiden av håndtakslåsene når du folder sammen håndtaket.

Fold ut håndtaket. Se Sette sammen og folde ut håndtaket.
Du kan oppbevare maskinen i vertikal stilling i eller utenom klippesesongen for å bruke minst mulig oppbevaringsplass.
Drivstoff er meget brannfarlig og eksplosivt. Brann eller eksplosjon forårsaket av drivstoff kan påføre deg og andre brannskader.
Hvis maskinen oppbevares i vertikal stilling når det er for mye drivstoff i drivstofftanken, kan det lekke ut drivstoff fra tanken. Drivstoff er meget brannfarlig og eksplosivt. Brann eller eksplosjon forårsaket av drivstoff kan påføre deg og andre brannskader.
Maskinen skal kun oppbevares i vertikal stilling når bensinnivået i drivstofftanken ikke er høyere enn det som er anbefalt i denne brukerhåndboken.
Ikke oppbevar maskinen i en stilling med større vinkel enn 90° (vertikal stilling), da dette kan medføre at det lekker drivstoff fra drivstofftanken.
Ikke transporter maskinen i vertikal oppbevaringsstilling.
Ikke forsøk å starte maskinen mens den er i vertikal oppbevaringsstilling.
Ikke forsøk å oppbevare en maskin med drivstoff og olje i vertikal oppbevaringsstilling, hvis den ikke er beregnet på dette.
Hvis man folder sammen eller ut håndtaket på feil måte, kan dette føre til skade på ledningene, noe som igjen kan utgjøre en usikker driftstilstand.
Pass på at du ikke skader ledningene når du folder sammen eller ut håndtaket.
Hvis en ledning blir skadet kontakter du et autorisert forhandlerverksted.
Påse at drivstoffnivået i drivstofftanken ikke er høyere enn det som er anbefalt av motorprodusenten. Se motorprodusentens merke på motoren (Figur 19).
Note: Hvis drivstoffnivået i drivstofftanken er for høyt, kan du tappe drivstoff fra drivstofftanken til en godkjent drivstoffbeholder til nivået er likt eller lavere enn det som anbefales av motorprodusenten.

Påse at klippehøydeinnstillingen på maskinen er 92 mm eller lavere. Hvis den ikke er det, må den senkes. Se Justere klippehøyden.
Deaktiver håndtakslåsene (Figur 20).

Fold håndtaket helt fram (Figur 20).
Important: Før ledningene på utsiden av håndtaksknottene når du folder sammen håndtaket.
Aktiver håndtakslåsene.
Hev den fremre delen av maskinen ved hjelp av håndtaket, og flytt den til en oppbevaringsplass (Figur 21).

| Vedlikeholdsintervall | Vedlikeholdsprosedyre |
|---|---|
| Etter de 5 første timene |
|
| For hver bruk eller daglig |
|
| Etter hver bruk |
|
| Hver 25. driftstime |
|
| Årlig |
|
| Årlig eller før lagring |
|
Important: Hvis du vil ha mer informasjon om vedlikeholdsprosedyrer, ser du i håndboken for motoren.
Slå av maskinen, vent til alle bevegelige deler har stoppet og la maskinen kjøle seg ned før du justerer, utfører service på, rengjør eller setter maskinen til oppbevaring.
Koble fra tennpluggledningen fra tennpluggen før du utfører vedlikeholdsprosedyrer.
Bruk hansker og vernebriller når du vedlikeholder maskinen.
Kniven er skarp, kontakt med kniven kan føre til personskader. Bruk hansker når du utfører service på kniven. Kniven(e) skal ikke repareres eller modifiseres.
Du må aldri fingre med sikkerhetsenhetene. Kontroller regelmessig at de virker tilfredsstillende.
Når du vender maskinen på siden kan drivstoffet lekke ut. Drivstoff er meget brannfarlig og eksplosivt, og kan føre til personskader. Kjør motoren tom eller fjern bensinen med en håndpumpe, sug den aldri opp med hevert.
For å oppnå optimal ytelse for maskinen skal det kun brukes ekte Toro-reservedeler og -tilbehør. Reservedeler og tilbehør som er laget av andre produsenter, kan være farlige, og bruken av disse kan føre til at garantien blir ugyldig.
Slå av motoren, og vent til alle bevegelige deler har stanset.
Koble tennpluggledningen fra tennpluggen (Figur 22).

Når du har utført vedlikeholdsprosedyrer, koble tennpluggledningen til tennpluggen.
Important: Før du vender maskinen på siden for å skifte olje eller kniv, la drivstofftanken kjøre tom gjennom normal bruk. Hvis du må vende maskinen på siden før den har gått tom for drivstoff, bruk en hånddrevet drivstoffpumpe til å tømme drivstoffet. Vend alltid maskinen over på siden med peilestaven ned.
| Vedlikeholdsintervall | Vedlikeholdsprosedyre |
|---|---|
| Hver 25. driftstime |
|
| Årlig |
|
| Vedlikeholdsintervall | Vedlikeholdsprosedyre |
|---|---|
| Etter de 5 første timene |
|
| Årlig |
|
Note: La motoren gå i noen minutter for å varme opp oljen før du skifter den. Varm olje flyter bedre og bærer med seg flere urenheter.
| Motoroljekapasitet | 0,44 l* |
| Oljeviskositet | SAE 30 eller SAE 10W-30 rensende olje |
| API-serviceklassifikasjon | SJ eller høyere |
*Det er restolje i veivhuset etter at du har tappet oljen. Ikke hell hele oljekapasiteten i veivhuset. Fyll veivhuset med olje som anvist i følgende trinn.
Flytt maskinen til en jevn flate.
Fjern peilestaven ved å vri lokket mot venstre og trekke den ut (Figur 24).

Vend gressklipperen over på siden (slik at luftfilteret vender opp) for å tømme den brukte oljen fra oljefyllingsrøret (Figur 24).

Etter at den brukte oljen er tappet ut, sett maskinen tilbake i driftsstilling.
Hell forsiktig olje i oljepåfyllingsrøret til motoren er ¾ full.
Vent i tre minutter til oljen stabiliseres i motoren.
Tørk av peilestaven med en ren fille.
Sett peilestaven inn i oljepåfyllingsrøret uten å skru den inn, og trekk den ut igjen.
Les av oljenivået på peilestaven.
Hvis oljenivået er for lavt, fyll forsiktig på litt olje i oljepåfyllingsrøret, vent i tre minutter, og gjenta så trinn 8 til og med 10, til oljenivået på peilestaven er på riktig nivå.
Hvis oljenivået på peilestaven er for høyt, må du tappe av olje helt til oljenivået på peilestaven er på riktig nivå.
Important: Hvis oljenivået i motoren er for lavt eller for høyt, og du kjører motoren, kan dette føre til skade på motoren.
Sett peilestaven godt inn i oljepåfyllingsrøret.
Resirkuler den brukte oljen på korrekt måte.
| Vedlikeholdsintervall | Vedlikeholdsprosedyre |
|---|---|
| Årlig |
|
Important: Du trenger en momentnøkkel for å montere kniven korrekt. Hvis du ikke har en momentnøkkel, eller ikke føler deg kompetent til å utføre prosedyren, kontakt en autorisert serviceforhandler.
Kontroller kniven hver gang gressklipperen går tom for drivstoff. Hvis kniven er skadet eller sprukket, må den skiftes ut omgående. Hvis kniveggen er sløv eller har hakk, skal den brynes og balanseres eller skiftes ut.
Kniven er skarp, kontakt med kniven kan føre til personskader.
Bruk hansker når du utfører service på kniven.
Vend maskinen over på siden med luftfilteret opp.
Bruk en treblokk til å holde kniven fast (Figur 26).

Fjern kniven, behold alle monteringsdeler (Figur 26).
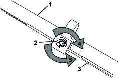
Monter den nye kniven og alle monteringsdeler (Figur 27).

Important: Plasser knivens bueformede ender slik at de peker mot maskinhuset.
Stram knivbolten med en momentnøkkel til 88 Nm.
Når du monterer en ny selvdriftskabel eller hvis selvdriftsdrevet er feiljustert, juster selvdriften.
Skru justeringsmutteren mot klokken for å løsne kabeljusteringen (Figur 28).

Juster strammingen på kabelen (Figur 28) ved å trekke den utover eller skyve den forover, og holde den stillingen.
Note: Skyv kabelen mot motoren for å øke friksjonen, og trekk kabelen bort fra motoren for senke friksjonen.
Skru justeringsmutteren med klokken for å stramme kabeljusteringen.
Note: Stram mutteren med en pipenøkkel eller skrunøkkel.
Maskinen må oppbevares på et kjølig, rent og tørt sted.
Slå av maskinen, vent til alle bevegelige deler har stoppet og la maskinen kjøle seg ned før du justerer, utfører service på, rengjør eller setter maskinen til oppbevaring.
Når du for siste gang for sesongen heller på mer drivstoff, tilsett stabiliseringsmiddel (for eksempel Toro Premium Fuel Treatment) i drivstoffet som angitt på etiketten.
Drivstoff kasseres i henhold til lokale forskrifter. Resirkuler i samsvar med lokale forskrifter, eller bruk drivstoffet i bilen din.
Important: Gammelt drivstoff i drivstofftanken er den viktigste årsaken til at det kan være vanskelig å starte. Ikke oppbevar drivstoff uten drivstoffstabilisator mer enn 30 dager, og ikke lagre stabilisert drivstoff lenger enn anbefalt av produsenten for drivstoffstabiliseringsmiddel.
Kjør maskinen til den går tom for drivstoff.
Start motoren igjen, og kjør den til den stopper. Når du ikke lenger kan starte motoren, er den tilstrekkelig tom for drivstoff.
Frakoble ledningen fra tennpluggen og koble den til oppbevaringsspolen (hvis utstyrt med).
Ta ut tennpluggen, hell 30 ml motorolje gjennom tennplugghullet, og dra sakte i startsnoren flere ganger for å fordele oljen gjennom sylinderen, for å hindre korrosjon i sylinderen mellom sesongene.
Monter tennpluggen løst.
Stram alle løse skruer, bolter og muttere.
Kontroller og stram alle fester.
Fjern tennpluggen og roter motoren hurtig ved å trekke i tilbakespolingshåndtaket for å blåse ut overflødig olje fra sylinderen.
Monter tennpluggen, og trekk den til med et moment på 20 N·m.
Utfør de vedlikeholdsprosedyrene. Se .
Kontroller motoroljenivået. Se Kontrollere motoroljenivået.
Fyll drivstofftanken med ferskt drivstoff. Se Fylle tanken.
Koble ledningen til tennpluggen.