| 유지보수 서비스 간격 | 유지보수 절차 |
|---|---|
| 매번 사용하기 전 또는 매일 |
|
본 장비는 잔디 살포용 차량이며 전문 작업자가 상업용으로 사용해야 합니다. 주로 공원, 골프 코스, 경기장, 상업지 등의 관리가 잘 된 잔디에서 살포 작업을 하도록 설계되었습니다.
이 장비는 주로 비포장 도로에서 사용되며 공도에서 운전할 때 사용하지 않습니다. 이 제품을 지정되지 않은 용도로 사용하면 작업자나 주변 사람들이 위험해질 수 있습니다.
이 정보를 주의 깊게 읽고 제품을 제대로 조작 및 유지관리하는 방법과 부상 및 제품 손상을 방지하는 방법에 대해 익히십시오. 사용자는 제품을 제대로 안전하게 조작해야 할 책임이 있습니다.
안전 요령, 교육 자료, 액세서리 정보 등의 자세한 정보를 찾거나 판매점 위치를 찾거나 제품을 등록하는 경우 www.Toro.com을 방문하십시오.
서비스, Toro 순정 부품 또는 추가 정보가 필요하면 지정 서비스점 또는 Toro 고객 서비스에 연락하여 제품의 모델 번호와 일련 번호를 알려 주십시오. 그림 1은 제품의 모델 번호와 일련번호의 위치를 보여 줍니다. 마련된 빈칸에 이 번호를 적어 두십시오.
Important: 모바일 기기에서는 일련번호 데칼(장착한 경우)의 QR 코드를 스캔하여 보증, 부품 및 기타 제품 정보에 액세스할 수 있습니다.

본 설명서는 잠재적인 위험에 대해 설명하고 있으며, 권장 예방 조치를 따르지 않을 경우 심각한 부상이나 사망을 초래할 수 있는 위험에 대해서는 안전 경고 기호(그림 2)로 표시합니다.

본 설명서에서는 2가지 단어를 사용하여 정보를 강조합니다. 중요는 특별한 기계적 정보에 대한 주의를 환기시키며 참고는 특별한 주의를 기울일 필요가 있는 일반 정보를 강조합니다.
이 제품은 모든 관련 유럽 지침을 준수합니다. 자세한 내용은 별도로 제공된 제품별 적합성 선언서(Declaration of Conformity, DOC)를 참조하십시오.
Section 4442에 정의되어 있는 스파크 방지 머플러가 엔진에 장착되어 있고 정상적으로 유지관리하는 경우 또는 엔진이 화재를 방지할 수 있도록 구성, 장착 및 유지관리되는 경우 외에는, 산림, 덤불 또는 목초 지대에서 엔진을 사용하거나 작동하는 것은 캘리포니아 Public Resource Code Section 4442 또는 4443 위반입니다.
동봉된 엔진 사용 설명서는 미국 환경 보호국(EPA) 및 배기 시스템, 유지보수 및 보증에 대한 캘리포니아 배기가스 관리 규정에 대해 알려드리기 위한 것입니다. 교체 부품은 엔진 제조사를 통해 주문할 수 있습니다.
캘리포니아
Proposition 65 경고
본 제품의 엔진에서 나오는 배기가스에는 캘리포니아 주에서 암, 선천성 기형 및 기타 생식 기능 장애를 일으키는 것으로 알려진 화학 물질이 들어 있습니다.
배터리 포스트, 터미널 및 관련 액세서리에는 캘리포니아 주에서 암과 생식 기능 장애를 일으키는 것으로 알려진 납과 납 화합물, 화학 물질이 들어 있습니다. 취급 후에는 손을 씻으십시오.
본 제품의 사용으로 캘리포니아 주에서 암, 선천성 기형 및 기타 생식 기능 장애를 일으키는 것으로 알려진 화학 물질이 들어 있습니다.
이 제품으로 인해 사람이 다칠 수 있습니다. 항상 모든 안전 지침을 준수하여 중상을 방지하십시오.
엔진을 시동하기 전에 이 사용 설명서의 내용을 읽고 숙지하십시오.
장비를 작동하는 동안에는 온전히 주의를 기울이십시오. 주의력을 산만하게 하는 활동을 하면, 부상 또는 재산 피해가 발생할 수 있습니다.
화학물질 접촉으로부터 보호하기 위해 적절한 개인보호장비(PPE)를 착용하십시오. 스프레이어 시스템에 사용되는 화학물질은 위험하고 유독할 수 있습니다.
장비의 움직이는 부품 근처에 손이나 발을 두지 마십시오.
모든 보호 장치 및 기타 안전 보호 장치가 제자리에 장착되어 제대로 작동하지 않는 상태에서는 장비를 운전하지 마십시오.
스프레이어 노즐과 스프레이 드리프트 배출 구역에 가까이 가지 마십시오. 주변 사람들과 아이들은 작업 공간에 들어오지 못하게 하십시오.
절대로 아이들이 장비를 작동하게 하지 마십시오.
장비를 평평한 곳에 주차하고, 주차 브레이크를 걸고, 엔진을 끕니다. 그 다음에 키를 빼고(장착된 경우) 모든 움직임이 멈출 때까지 기다려 운전석에서 떠납니다. 장비가 식은 후에 장비를 조정, 정비, 청소 또는 보관하십시오.
이 장비를 잘못 사용하거나 정비하면 사람이 다치는 사고가 생길 수 있습니다. 부상 위험을 줄이려면 여기에 나와
있는 안전 지침을 따르고 주의, 경고 또는 위험과 같은 개인 안전 지침을 의미하는 안전 경고 기호(
)에 항상 주의를 기울이십시오. 이 지침을
따르지 않을 경우 사람이 다치거나 사망하는 사고가 발생할 수 있습니다.
본 설명서가 본 장비에 적용된 모든 부착 장치를 다루지는 않습니다. 추가적인 안전 지침은 각 부착 장치에 동봉된 사용 설명서를 참조하십시오.
![]() |
안전 문구 데칼과 지침은 작업자의 눈에 쉽게 보이며 잠재적인 위험이 있는 모든 부분에 부착되어 있습니다. 손상되거나 유실된 데칼은 교체하십시오. |





























Note: 정상 운전 위치에서 장비의 좌측과 우측을 판단하십시오.
Note: 살포 제어 시스템에 대한 질문이 있거나 추가 정보가 필요하면 시스템과 함께 제공된 사용 설명서를 참조하십시오.
Important: 본 스프레이어는 스프레이 노즐과 함께 판매되지 않습니다.스프레이어를 사용하려면 노즐을 구입하여 장착해야 합니다. 사용 가능한 부품 키트 및 액세서리는 Toro 공식 판매 대리점에 문의하십시오. 노즐을 설치한 다음 스프레이어를 처음 사용하기 전에 1개 이상의 섹션을 끄고 다른 부품과 같은 압력 및 시용량을 유지하도록 섹션 바이패스 밸브를 조정하십시오. 섹션 바이패스 밸브 조정을 참조하십시오.
이 절차를 수행하는 데 필요한 부품:
| 신속 분리 피팅 | 1 |
Note: 이 절차를 완료하려면 1 인치 수나사 공인 파이프 스레드(NPT)가 있는 호스 한 개와 PTFE 나사산 씰런트가 필요합니다.
주차 브레이크를 걸고 엔진의 시동을 건 다음 스로틀을 공회전으로 설정합니다.
처음으로 상단 크래들 튜브에 닿을 때까지 좌측 또는 우측 외부 붐을 천천히 위로 올립니다.
처음으로 크래들에 닿을 때까지 다른 외부 붐을 천천히 위로 올립니다.
외부 붐의 상단 튜브에 있는 슬라이드 블록이 크래들에 닿는 상단 크래들 튜브 영역을 찾습니다.
Note: 블록이 상단 크래들 튜브의 굽은 부위에 있는 크래들에 닿는다면 크래들이 올바르게 조정된 것입니다(그림 5).

그림 6, 그림 7, 또는 그림 8와 같이 상단 크래들 튜브가 슬라이드 블록과 일치하지 않는다면, 크래들 위치를 조정하십시오. 크래들을 외부 붐과 정렬을 참조하십시오.



양쪽 외부 붐을 내리고, 엔진을 멈추고 키를 뺀 다음, 움직이는 모든 부품이 멈출 때까지 기다립니다.
장비에 CE 키트를 설치합니다. Multi Pro 5800 CE 키트 설치 지침을 참조하십시오.



트랙션 페달은 장비의 움직임을 제어하여 전진 및 후진시킵니다(그림 13). 오른쪽 발의 발가락이나 뒤꿈치로 페달 상단을 밟으면 전진하고, 페달 하단을 밟으면 후진합니다. 페달을 놓으면 장비 속도가 줄고 정지합니다.
Important: FORWARD(전진) 및 REVERSE(후진) 위치로 변경하기 전에 스프레이어를 정지시켜야 합니다.
Note: 양방향으로 페달을 더 많이 밟으면 스프레이어가 더 빨리 갑니다. 최고 속도로 전진하려면 스로틀 레버를 FAST(고속) 위치로 놓고 전진 방향으로 트랙션 페달을 밟으십시오.
Note: 무거운 적재물을 운송하거나 언덕을 오를 때 최고의 출력을 얻으려면 트랙션 페달을 약간 밟으면서 스로틀을 FAST(고속) 위치에 놓아서 엔진을 고속으로 유지하십시오. 엔진 속도가 줄어들면 트랙션 페달을 쌀짝 놓으면 엔진 속도가 증가합니다.

브레이크 페달을 사용하여 장비를 세우거나 속도를 줄일 수 있습니다(그림 13).
불량하거나 마모된 브레이크가 달린 스프레이어를 조정하면 장비의 제어력을 상실하여 운전자나 주변 사람이 심각한 부상을 당하거나 인명 사고가 발생할 수 있습니다.
스프레이어를 작동하기 전에 항상 브레이크를 점검하고 적절하게 조정하고 수리하십시오.
주차 브레이크는 브레이크 페달 왼쪽에 있습니다(그림 13). 스프레이어가 사고로 움직이는 것을 막기 위해 운전석을 떠날 때에는 주차 브레이크를 채우십시오. 주차 브레이크를 채우려면 브레이크 페달을 밟은 상태에서 주차 브레이크를 밟으십시오. 브레이크를 풀려면 브레이크 페달을 밟으십시오. 가파른 곳에 스프레이어를 주차하는 경우 주차 브레이크를 채우고 바퀴의 내리막길 쪽에 굄목을 끼우십시오.
시동 스위치는 엔진의 시동을 걸고 정지할 때 사용됩니다(그림 12). 스위치에는 OFF(끄기), ON/PREHEAT(켜기/예열) 및 START(시동)의 3개 위치가 있습니다.
속도 잠금 스위치는 스위치가 설정된 트랙션 페달의 위치를 고정합니다(그림 14). 스위치를 잠그면 장비가 평지를 달릴 때 스프레이어가 일정한 속도를 유지합니다.

스로틀 레버는 좌석 사이의 제어판에 있으며 스로틀은 엔진 속도를 조정하는 데 사용됩니다(그림 14). 레버를 앞으로 밀면 엔전 속도가 증가하고 뒤로 당기면 엔진 속도가 감소합니다.
작업등을 켜고 끕니다(그림 12). 앞으로 누르면 작업등이 켜지고 뒤로 누르면 꺼집니다.
연료 게이지는 장비의 대시보드에 있으며 게이지는 탱크의 연료 레벨을 표시합니다(그림 12).
2-소켓 USB 전원 포트는 팔걸이 뒤에 있습니다(그림 15).


압력 게이지는 대시보드에 있습니다(그림 16). 이 게이지는 스프레이 시스템의 오일 압력(kPa)을 표시합니다.
살포 모드 스위치를 사용하여 시용량 모드(폐쇄 루프)와 수동 모드(열린 루프)를 변경합니다.
시용량 스위치는 스티어링 휠 오른쪽 대시보드에 있습니다(그림 16). 시용량 스위치를 사용하여 수동 모드에서 스프레이어를 작동할 때 스프레이 펌프 속도를 제어합니다. 스위치를 앞으로 누르면 시용량(압력)이 증가하고 뒤로 누르면 시용량(압력)이 감소합니다.
스프레이 펌프 스위치는 좌석 오른쪽 중앙 콘솔에 있습니다(그림 16). 앞을 누르면 스프레이 펌프를 가동하고 뒤를 누르면 펌프를 정지시킵니다. 스위치를 켜면 스위치 불이 켜집니다.
Important: 펌프 드라이브의 손상을 방지하기 위해 엔진이 저속 공회전 상태에 있을 때에만 스프레이 펌프 스위치를 작동하십시오.
붐 섹션 올림 스위치는 좌석 오른쪽 중앙 콘솔에 있으며 좌측 붐 섹션과 우측 붐 섹션을 올리고 내리는 데 사용됩니다(그림 16).
마스터 섹션 스위치는 장비의 중앙 콘솔에 있습니다. 이 스위치로 살포 작업을 시작하거나 정지합니다. 스위치를 눌러 스프레이 시스템을 가동합니다(그림 16).
팔걸이 앞 중앙 콘솔에 3개의 섹션 스위치가 있습니다(그림 16). 각 스위치 앞을 누르면 해당 섹션을 작동시키고 뒤를 누르면 끕니다. 스위치 ON(켜짐) 위치에 있을 때 InfoCenter 상단에 아이콘이 표시됩니다.
Note: 마스터 섹션 스위치가 ON(켜짐) 위치에 있을 때에만 이 스위치가 스프레이 시스템에 작동합니다.
교반 스위치는 좌석 오른쪽 중앙 콘솔에 있습니다(그림 16). 스위치의 앞을 누르면 탱크의 교반을 시작하고 뒤를 누르면 교반을 정지시킵니다. 스위치를 켜면 스위치 불이 켜집니다. 교반 기능을 사용하려면 스프레이어 시스템 펌프를 작동하고 엔진을 저속 공회전으로 작동해야 합니다.
교반 기능이 켜져 있을 때 교반 바이패스 밸브는 오일 흐름을 스프레이어 시스템 펌프로 돌립니다(그림 17). 교반 바이패스 밸브는 교반 밸브 위에 있습니다. 교반 작업을 켜고 끌 때 압력을 일정하게 유지하도록 바이패스 밸브를 조정할 수 있습니다. 교반 바이패스 밸브 보정을 참조하십시오.

InfoCenter 시스템이 사용하는 유량계는 시용량 모드에서 살포 작업을 할 때 액체의 유속을 측정합니다(그림 17).
교반 스로틀 밸브는 메인 탱크에서 교반 노즐로 흐르는 유속을 제어하는 수동 조작 볼 밸브입니다. 높은 시용량이 필요할 때 운전자는 이 밸브를 통해 메인 탱크의 스프레이어 시스템 압력을 제어할 수 있습니다. 교반 스로틀 밸브는 펌프 위에 있습니다(그림 18).

섹션 바이패스 밸브는 섹션 밸브의 스프레이어 시스템 압력을 조정하여 스프레이 섹션이 얼마나 켜졌는지에 상관없이 스프레이 섹션에 대한 스프레이어 압력을 일정하게 유지합니다(그림 19).
Note: 수동 모드(열린 루프)에서 살포 작업을 할 때에만 바이패스 밸브를 사용하십시오.

섹션 바이패스 차단 밸브를 사용하여 수동 모드(열린 루프)에서 살포 작업을 할 때 섹션 바이패스 밸브에서 탱크로 흐르는 유속을 제어합니다. 그림 19을 참조하십시오.
Note: 시용량 모드(폐쇄 루프)에서 살포 작업을 할 때 섹션 바이패스 차단 밸브를 닫습니다.
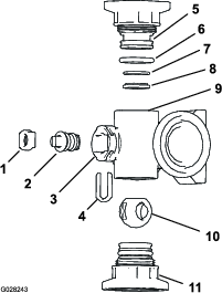
탱크 커버 앞쪽에 나사산 피팅, 90도 가시 피팅, 짧은 호스가 장착된 호스 콘센트가 있으며 탱크 구멍을 향하고 있습니다. 이 콘센트에 용수 호스를 연결하여 탱크의 화학약품에 호스를 접촉하지 않고 용수를 탱크에 충전할 수 있습니다.
Important: 긴 호스를 사용하여 탱크 액체에 접촉하지 마십시오. 호스 끝에서 최상위 수면까지의 거리는 현지 규정 한도 내에 속해야 합니다.

탱크 커버는 탱크 상단 중앙에 있습니다. 커버를 열려면 엔진을 끄고, 커버 앞쪽을 좌측으로 돌려서 흔들어서 엽니다. 내부의 스트레이너를 분리해서 청소할 수 있습니다. 탱크를 밀봉하려면 커버를 닫고 앞쪽을 우측으로 돌립니다.
InfoCenter의 LED 디스플레이 하단에 있는 5개의 버튼을 사용하여 메뉴를 검색하고, 데이터를 입력하고, 기능을 변경할 수 있습니다.

Note: 사양과 설계는 통보 없이 변경될 수 있습니다.
| 설명 | 규격 |
|---|---|
| 기본 중량 | 1307 kg |
| 표준 스프레이 시스템 중량, 빈 탱크, 운전자 체중 제외 | 1307 kg |
| 표준 스프레이 시스템 중량, 가득 찬 탱크, 운전자 체중 제외 | 2499 kg |
| 최대 차량 총 중량(GVW)(평지) | 3023 kg |
| 탱크 용량 | 1135.6 L |
| X자 위치에 보관된 표준 스프레이 시스템을 장착한 장비의 전폭 | 226 cm |
| 설명 | 규격 |
|---|---|
| 표준 스프레이 시스템을 장착한 장비의 전폭 | 391 cm |
| X자 위치에 보관된 섹션 상단에 대해 표준 스프레이 시스템을 장착한 장비의 전폭 | 442 cm |
| 표준 스프레이 시스템을 장착한 장비의 전고 | 146 cm |
| X자 위치에 보관된 섹션 상단에 대해 표준 스프레이 시스템을 장착한 장비의 전고 | 231 cm |
| 지상고 | 18.4 cm |
| 휠 베이스 | 198 cm |
Toro가 승인한 부착 장치와 액세서리를 사용하여 장비의 성능을 확장하거나 향상시킬 수 있습니다. Toro 공식 판매 대리점에 문의하십시오.
장비를 최적 성능으로 사용하거나 안전 인증을 계속 보장 받으려면 순정 Toro 교체 부품과 액세서리만 사용하십시오. 다른 제조사에서 만든 교체 부품 및 액세서리는 위험할 수 있으며, 그러한 제품을 사용하면 제품 보증이 무효가 될 수 있습니다.
Note: 정상 운전 위치에서 장비의 좌측과 우측을 판단하십시오.
| 유지보수 서비스 간격 | 유지보수 절차 |
|---|---|
| 매번 사용하기 전 또는 매일 |
|
아이들이나 교육받지 않은 사람이 장비를 운전하거나 정비하는 것은 절대로 허용하지 마십시오. 현지 규정에 의해 작업자의 나이가 제한될 수 있습니다. 소유자는 모든 작업자 및 기술자를 교육할 책임이 있습니다.
장비 안전 운전, 작업자 제어 장치 및 안전 표시를 잘 알아 두십시오.
엔진을 끄고 키를 뺀 다음(꽂혀 있는 경우) 모든 움직임이 멈출 때까지 기다려 운전석에서 내리십시오. 장비가 식은 후에 장비를 조정, 정비, 청소 또는 보관하십시오.
장비를 정지하고 엔진을 신속하게 멈추는 방법을 숙지하십시오.
작업자 감지 제어 장치, 안전 스위치 및 가드가 제대로 부착되어 작동하고 있는지 확인하십시오. 이들 장치가 제대로 작동하지 않으면 운전하지 마십시오.
장비가 제대로 기능하지 않거나 손상된 경우, 장비를 사용하지 마십시오. 장비 또는 부착 장치를 작동하기 전에 문제를 해결하십시오.
운전석 및 탑승석을 깨끗히 청소하여 잔여 화학약품 및 잔해가 쌓이지 않도록 하십시오.
시스템에 압력을 가하기 전에 모든 오일 라인 커넥터가 단단히 조여져 있고 모든 호스가 양호한 상태인지 확인하십시오.
연료를 다룰 때에는 특히 주의하십시오. 가연성이 있고 증기가 폭발할 수 있기 때문입니다.
일반 담배, 시가, 파이프 담배 및 그 밖의 점화원을 모두 제거하십시오.
승인된 연료 용기만 사용하십시오.
엔진이 작동 중이거나 뜨거운 상태에서 연료 캡을 제거하거나 연료 탱크에 급유하지 마십시오.
밀폐된 공간에서는 연료를 추가하거나 비우지 마십시오.
온수기나 기타 기구 등 노출된 화염, 불꽃, 점화용 불씨 등이 있는 곳에는 장비나 연료통을 보관하지 마십시오.
연료를 엎질렀을 때에는 엔진을 시동하지 말고 연료 증기가 사라질 때까지 발화원이 생기지 않도록 하십시오.
스프레이어 시스템에 사용되는 화학물질은 운전자, 주변 사람 및 동물에 유해하거나 유독할 수 있고 식물, 토양 및 기타 재산을 손상시킬 수 있습니다.
모든 화학물질에 대한 정보를 숙독하십시오. 이 정보가 없으면 스프레이어 작동 또는 작업을 수행하지 마십시오.
스프레이어 시스템을 가동하기 전에 약품을 중화하고 화학물질 제조사의 권장 사항에 따라 3중으로 세척하고 모든 밸브를 3회 세척하십시오.
주변에 깨끗한 물과 비누를 준비하고 화학물질과 접촉하면 즉시 씻어 내십시오.
사용하는 모든 화학물질의 화학물질 경고 라벨 및 안전보건자료(SDS)를 주의하여 읽고 화학물질 제조사의 권고 사항에 따라 자신을 보호하십시오.
화학물질을 취급할 때 신체를 보호하십시오. 화학물질 접촉으로부터 보호하기 위해 다음과 같은 적절한 개인보호장비(PPE)를 착용하십시오.
보안경, 고글 및/또는 안면 보호구
내화학성 작업복
마스크 또는 필터 마스크
내화학성 장갑
고무 부츠 또는 기타 견고한 작업화
갈아입을 깨끗한 옷, 비누, 청소용 일회용 타월
화학물질을 사용하거나 취급하기 전에 적절한 교육을 받으십시오.
올바른 화학물질을 사용하여 작업하십시오.
안전한 화학물질 사용에 대한 화학물질 제조사의 지침을 따르십시오. 권장하는 시스템 살포 압력을 초과하지 마십시오.
사람, 특히 어린이 또는 애완 동물이 있을 때 장비에 약품을 보충하거나, 장비를 보정하거나 청소하지 마십시오.
통기가 잘 되는 곳에서 화학물질을 취급하십시오.
화학물질 주변에서 작업을 할 때, 음식을 먹거나 음료수를 마시거나 흡연을 마지 마십시오.
스프레이 노즐을 불어서 또는 입에 넣어서 청소하지 마십시오.
항상 화학물질 작업을 마친 후 최대한 빨리 손 및 노출 부위를 씻으십시오.
화학물질을 원래의 포장에 넣고 안전한 장소에 보관하십시오.
화학물질 제조사 및 현지 규정에 따라 미사용 화학물질 및 화학물질 용기를 적절하게 폐기하십시오.
화학물질 및 가스는 유해합니다. 탱크 안으로 들어가거나, 머리를 개구 위에 두거나 개구 안으로 넣지 마십시오.
화학물질 살포 또는 분사에 대한 모든 지역, 주, 연방 규정을 준수하십시오.
스프레이어를 작동하기 전에 다음 항목을 매일 점검하십시오.
타이어 공기압을 점검합니다.
Note: 이 장비의 타이어는 자동차 타이어와 다릅니다. 잔디 압착 및 손상을 최소화하기 위해 더 적은 공기압이 필요합니다.
모든 오일 레벨을 점검하고 레벨이 낮으면 적절한 양의 지정 오일을 첨가하십시오.
브레이크 페달의 작동을 확인하십시오.
조명이 켜지는지 점검하십시오.
스티어링 휠을 좌우로 돌려 스티어링의 반응을 확인하십시오.
엔진을 정지한 상태에서 오일 누출, 느슨한 부품, 기타 눈에 띄는 고장이 있는지 확인하십시오.
상기 점검 항목 중 문제를 발견하면 스프레이어 작업을 나가기 전에 정비사나 감독관에게 알리십시오. 감독관이 다른 항목의 일상 점검을 요청할 수 있으므로 어떤 항목을 점검해야 하는지 확인하십시오.
엔진 오일 레벨, 냉각 시스템, 유압 시스템을 확인하십시오.
| 유지보수 서비스 간격 | 유지보수 절차 |
|---|---|
| 매번 사용하기 전 또는 매일 |
|
타이어 공기압이 적절한 수준인지 확인하십시오. 타이어 공기압을 1.38 bar까지 보충하십시오.
Note: 또한, 타이어의 마모 또는 손상을 점검하십시오.
| 유지보수 서비스 간격 | 유지보수 절차 |
|---|---|
| 매번 사용하기 전 또는 매일 |
|
스프레이어를 시동하기 전에 브레이크 페달을 가볍게 밟습니다. 저항을 느낄 때까지 브레이크 페달의 유격이 2.5 cm 이상이면 브레이크를 조정하십시오. 브레이크 조정을 참조하십시오.
불량하거나 마모된 브레이크가 달린 스프레이어를 조정하면 장비의 제어력을 상실하여 운전자나 주변 사람이 심각한 부상을 당하거나 인명 사고가 발생할 수 있습니다.
스프레이어를 작동하기 전에 항상 브레이크를 점검하고 적절하게 조정하고 수리하십시오.
| 석유 연료 | 옥탄가 87 이상 등급((R+M)/2 등급 평가법)의 무연 휘발유를 사용하십시오. |
| 에탄올 혼합 연료 | 체적당 최대 10% 에탄올(가소홀) 또는 15% MTBE(메틸 t-부틸 에테르)를 혼합한 무연 휘발유를 사용하십시오. 에탄올과 MTBE는 동일한 물질이 아닙니다. |
| 체적당 15% 에탄올(E15)이 포함된 휘발유는 사용하도록 승인되지 않았습니다. E15(15% 에탄올 함유), E20(20% 에탄올 함유), E85(85% 에탄올 함유) 등과 같이 체적당 에탄올이 10% 이상 함유된 휘발유는 절대로 사용하지 마십시오. 승인되지 않은 휘발유를 사용하면 성능 문제 및/또는 엔진 손상의 원인이 될 수 있으며 이러한 엔진 손상은 보증 수리를 받을 수 없습니다. |
Important: 최상의 결과를 얻으려면 깨끗하고 신선한 연료(30일 미만)만 사용하십시오.
메탄올을 함유한 휘발유는 사용하지 마십시오.
겨울철에 연료 탱크나 연료통에 연료를 보관하지 마십시오(단, 연료 안정제를 사용한 경우는 예외임).
오일을 휘발유에 첨가하지 마십시오.
연료 탱크 용량: 약 45 L
평평한 곳에 장비를 주차하고, 주차 브레이크를 걸고, 스프레이 펌프를 정지시키고, 엔진을 끄고, 키를 빼고, 엔진을 냉각시킵니다.
연료 탱크 캡 주변을 청소합니다(그림 22).

연료 탱크 캡을 분리합니다.
탱크 상단 약 2.5 cm 아래까지 탱크를 채웁니다(주입구 하단).
Note: 탱크의 이 공간은 연료가 팽창하는 데 필요합니다. 연료 탱크에 과다하게 주유하지 마십시오.
연료 탱크 캡을 탱크에 단단히 고정합니다.
흘렸을 수 있는 연료가 있으면 모두 닦아 냅니다.
Note: Toro 공식 판매 대리점이 제공하는 노즐 선택 가이드를 참조하십시오.
터릿 본체에는 최대 3개의 다른 노즐을 장착할 수 있습니다. 원하는 노즐을 선택하려면 다음 절차를 수행하십시오.
스프레이어를 평지에 정차하고, 엔진을 끄고, 키를 빼고 주차 브레이크를 겁니다.
마스터 섹션 스위치를 OFF(끄기) 위치로 돌리고 스프레이 펌프 스위치를 OFF(끄기) 위치에 놓습니다.
정확한 노즐 방향으로 노즐 터릿을 돌립니다.
시용량 모드에서 장비를 작동할 때 유속 보정을 수행합니다. ExcelaRate 스프레이 시스템이 장착된 Multi Pro 5800-D 및 5800-G 잔디 스프레이어에 대한 소프트웨어 가이드를 참조하십시오.
표준 장비: 50 메시 흡입 필터(청색)
흡입 필터 표를 사용하여 물과 동등한 점도를 가진 화학물질 또는 용액을 바탕으로 사용하는 스프레이 노즐의 스크린 메시를 구분하십시오.
| 스프레이 노즐 컬러 코드(유속) | 스크린 메시 크기* | 필터 컬러 코드 |
|---|---|---|
| 노란색(0.2 gpm) | 50 | 파란색 |
| 빨간색(0.4 gpm) | 50 | 파란색 |
| 갈색(0.5 gpm) | 50(또는 30) | 파란색(또는 녹색) |
| 회색(0.6 gpm) | 30 | 녹색 |
| 흰색(0.8 gpm) | 30 | 녹색 |
| 파란색(1.0 gpm) | 30 | 녹색 |
| 녹색(1.5 gpm) | 30 | 녹색 |
| *이 표에 있는 흡입 필터의 메시 크기는 물과 동일한 점도를 가진 살포 화학물질 또는 용액을 바탕으로 합니다. | ||
Important: 습식 분말을 포함하는 더 짙은(진한) 점도의 화학약품을 살포할 경우, 옵션인 흡입 필터용으로 더 굵은 스크린 메시를 사용해야 합니다. 그림 23을 참조하십시오.

고속으로 살포할 경우, 더 굵은 흡입 필터 메시(옵션)를 사용하는 것이 좋습니다. 그림 24를 참조하십시오.

사용 가능한 스크린 크기:
표준 장비: 50 메시 흡입 필터(청색)
압력 필터표를 사용하여 물과 동등한 점도를 가진 화학물질 또는 용액을 바탕으로 사용하는 스프레이 노즐의 스크린 메시를 구분하십시오.
| 스프레이 노즐 컬러 코드(유속) | 스크린 메시 크기* | 필터 컬러 코드 |
|---|---|---|
| 저점도 화학물질이나 용액 또는 저속 살포를 위해 필요한 경우 | 100 | 녹색 |
| 노란색(0.2 gpm) | 80 | 노란색 |
| 빨간색(0.4 gpm) | 50 | 파란색 |
| 갈색(0.5 gpm) | 50 | 파란색 |
| 회색(0.6 gpm) | 50 | 파란색 |
| 흰색(0.8 gpm) | 50 | 파란색 |
| 파란색(1.0 gpm) | 50 | 파란색 |
| 녹색(1.5 gpm) | 50 | 파란색 |
| 고점도 화학물질이나 용액 또는 고속 살포를 위해 필요한 경우 | 30 | 빨간색 |
| 고점도 화학물질이나 용액 또는 고속 살포를 위해 필요한 경우 | 16 | 갈색 |
| *이 표에 있는 압력 필터의 메시 크기는 물과 동일한 점도를 가진 살포 화학물질 또는 용액을 바탕으로 합니다. | ||
Important: 습식 분말을 포함하는 더 높은(진한) 점도의 화학약품을 살포할 경우, 옵션인 압력 필터용으로 더 굵은 스크린 메시를 사용해야 합니다. 그림 25을 참조하십시오.

고속으로 살포할 경우, 더 굵은 압력 필터 메시(옵션)를 사용하는 것이 좋습니다. 그림 26를 참조하십시오.

Note: 스프레이 노즐 팁을 보호하고 제품 수명을 늘리기 위해 노즐 팁 필터(옵션)를 사용합니다.
노즐 팁 필터 표를 사용하여 물과 동등한 점도를 가진 화학물질 또는 용액을 바탕으로 사용하는 스프레이 노즐의 스크린 메시를 구분하십시오.
| 스프레이 노즐 컬러 코드(유속) | 필터 메시 크기* | 필터 컬러 코드 |
|---|---|---|
| 노란색(0.2 gpm) | 100 | 녹색 |
| 빨간색(0.4 gpm) | 50 | 파란색 |
| 갈색(0.5 gpm) | 50 | 파란색 |
| 회색(0.6 gpm) | 50 | 파란색 |
| 흰색(0.8 gpm) | 50 | 파란색 |
| 파란색(1.0 gpm) | 50 | 파란색 |
| 녹색(1.5 gpm) | 50 | 파란색 |
| *이 표에 있는 노즐 필터의 메시 크기는 물과 동일한 점도를 가진 살포 화학물질 또는 용액을 바탕으로 합니다. | ||
Important: 습식 분말을 포함하는 더 높은(진한) 점도의 화학약품을 살포할 경우, 옵션인 팁 필터용으로 더 굵은 스크린 메시를 사용해야 합니다. 그림 27을 참조하십시오.

고속으로 살포할 경우, 더 굵은 팁 필터 메시를 사용하는 것이 좋습니다. 그림 28을 참조하십시오.

최적의 혼합 및 탱크 외부 청결을 위해 화학약품 예비 혼합 키트(옵션)를 장착하십시오.
Important: 가능하면 스프레이 탱크에 재생 용수(회색 용수)를 사용하지 마십시오.
Important: 사용하는 화학약품이 Viton™과 호환되는지 확인하십시오(제조사 라벨을 참조하십시오. 호환하지 않을 경우 명시됩니다). Viton과 호환되지 않는 화학약품을 사용하면 스프레이어 O-링의 품질을 저하시켜 누출을 유발할 수 있습니다.
Important: 탱크 용량 표시는 참조용이며 정확한 수치로 간주할 수 없습니다.
장비를 평지에 정차하고, 엔진을 끄고, 키를 뺀 다음 주차 브레이크를 겁니다.
화학물질 제조사의 지침에 따라 사용하는 화학물질의 양을 혼합하는 데 필요한 물의 양을 결정합니다.
스프레이 탱크의 탱크 커버를 엽니다.
Note: 탱크 커버는 탱크 상단 중앙에 있습니다. 커버를 열려면 커버 앞쪽을 반시계 방향으로 돌리고 흔들어서 여십시오. 탱크 커버 아래의 스트레이너를 분리해서 청소할 수 있습니다.
주입 호스를 역류 차단 주입 콘센트에 있는 신속 분리 피팅에 조립합니다.
스프레이 탱크에 필요한 물의 ¾를 채웁니다(그림 30).
Important: 항상 스프레이 탱크에 신선하고 깨끗한 용수를 사용하십시오. 빈 탱크에 농축액을 붓지 마십시오.

엔진의 시동을 걸고, 주차 브레이크를 채우고, 스프레이 펌프 스위치를 ON(켜짐) 위치로 돌린 다음 스로틀 레버를 HIGH IDLE(고속 공회전)으로 이동합니다.
교반 스위치를 ON(켜짐) 위치로 돌립니다.
Important: 습식 분말을 Toro 스프레이 시스템에 넣기 전에 적절한 용기에서 분말을 충분한 용수와 섞어 자유 유동 슬러리로 만듭니다. 미리 섞지 않으면 화학물질 침전물이 탱크 바닥에 쌓여 교반의 품질을 저하시키고, 필터를 막으며, 부적절한 시용량을 만듭니다.Toro는 본 장비에 대해 승인된 이덕터 키트를 사용할 것을 권장합니다. 자세한 내용은 Toro 공식 판매 대리점에 문의하십시오.
화학물질 제조사가 지시한 대로 탱크에 적절한 양의 화학 농축액을 첨가합니다.
탱크에 나머지 용수를 붓고, 필터 호스를 제거하고 탱크 커버를 닫습니다.
Note: 탱크를 밀봉하려면 커버를 닫고 앞쪽을 시계 방향으로 돌립니다.
Important: 탱크를 처음 채운 다음 탱크 스트랩이 움직이는지 확인하십시오. 필요하면 조이십시오.
Important: 시용량 모드를 사용하는 경우 섹션 바이패스 밸브를 닫힌 위치로 놓아야 합니다.
Important: 가능하면 스프레이 탱크에 재생 용수(회색 용수)를 사용하지 마십시오.
스프레이어를 처음 사용하기 전에, 노즐을 변경한 후, 필요 시 스프레이어 유속, 속도를 보정하고 섹션 바이패스를 설정합니다.
Important: 넓은 평지에서 이 절차를 수행하십시오.
스프레이 탱크를 깨끗한 물로 채웁니다.
스프레이 섹션을 내립니다.
주차 브레이크를 겁니다.
스프레이 제어 스위치를 수동으로 놓습니다.
3개의 섹션 스위치를 ON(켜짐) 위치로 돌리고, 마스터 섹션 스위치는 OFF(꺼짐) 위치에 놓습니다.
키 스위치를 ON(켜짐) 위치로 돌리고 전조등을 켭니다.
InfoCenter에서 Calibration(보정) 화면을 검색하고, Test Speed(속도 테스트)를 선택합니다. ExcelaRate 스프레이 시스템을 장착한 Multi Pro 5800-D 및 5800-G 잔디 스프레이어용 소프트웨어 가이드에 있는 속도 테스트 시뮬레이션을 참조하십시오.
버튼 3 또는 4를 눌러서 시뮬레이션 속도를 5.6 km/h로 올리거나 내립니다.
버튼 4를 눌러 속도 테스트 시뮬레이션을 ON(켜짐)합니다.
버튼 5를 눌러 TEST SPEED(속도 테스트) 화면을 종료합니다.
시용량 스위치를 사용하여 다음 표에 따라 시용량을 조정합니다.
| 노즐 컬러 | SI(미터법) | 영국식 | 잔디 |
| 노란색 | 159 L/ha | 17 gpa | 0.39 gpk |
| 빨간색 | 319 L/ha | 34 gpa | 0.78 gpk |
| 갈색 | 394 L/ha | 42 gpa | 0.96 gpk |
| 회색 | 478 L/ha | 51 gpa | 1.17 gpk |
| 흰색 | 637 L/ha | 68 gpa | 1.56 gpk |
| 파란색 | 796 L/ha | 85 gpa | 1.95 gpk |
| 녹색 | 1,190 L/ha | 127 gpa | 2.91 gpk |
표시된 속도가 표에 명시된 이전 레벨이 될 때까지 좌측 섹션 스위치를 끄고 섹션 바이패스 노브(그림 32)를 조정합니다.
Note: 바이패스 노브 및 니들의 숫자는 참조용입니다.

좌측 섹션 스위치를 켜고 우측 섹션 스위치를 끕니다.
표에 명시된 이전 레벨이 될 때까지 우측 섹션 바이패스 노브(그림 32)를 조정합니다.
우측 섹션 스위치를 켜고 중앙 섹션 스위치를 끕니다.
표에 명시된 이전 레벨이 될 때까지 중앙 섹션 바이패스 노브(그림 32)를 조정합니다.
마스터 섹션 스위치를 끕니다.
스프레이 펌프를 끕니다.
| 유지보수 서비스 간격 | 유지보수 절차 |
|---|---|
| 매년 |
|
Important: 가능하면 스프레이 탱크에 재생 용수(회색 용수)를 사용하지 마십시오.
넓은 평지에서 이 절차를 수행하십시오.
스프레이 탱크의 절반을 깨끗한 물로 채웁니다.
교반 제어 밸브가 열렸는지 확인하십시오.
Note: 조정되었다면 이 절차를 위해 완전히 개방합니다.
주차 브레이크를 걸고 엔진의 시동을 겁니다.
스프레이어 모드 버튼을 수동 모드로 놓습니다. 수동 모드로 살포하기를 참조하십시오.
스프레이 펌프 스위치 및 교반 스위치를 ON(켜짐) 위치로 놓습니다.
마스터 섹션 스위치를 OFF(꺼짐) 위치로 돌립니다.
스로틀 레버를 FAST(고속) 위치로 이동합니다.
시용량 스위치를 이용하여 스프레이어 시스템 압력을 6.89 bar로 조정합니다.
교반 스위치를 OFF(꺼짐) 위치로 놓고 압력 게이지를 읽습니다.
압력 게이지가 689 kPa이면 교반 바이패스 밸브가 적절하게 보정된 것입니다.
압력 게이지 수치가 다르면 다음 단계를 계속 진행하십시오.
게이지에 표시된 스프레이어 시스템 압력이 689 kPa이 될 때까지 교반 밸브 후면의 교반 바이패스 밸브(그림 34)를 조정합니다.

스프레이 펌프 스위치를 OFF(꺼짐) 위치로 돌립니다.
스로틀 레버를 IDLE/SLOW(저속 공회전)로 이동하고 키 스위치를 OFF(꺼짐) 위치로 돌립니다.
스프레이 펌프는 좌측 탱크 후면 근방에 있습니다(그림 35).

소유자/작업자는 사람이 다치거나 재산이 손상되는 사고를 막을 수 있으며, 이에 대해 책임이 있습니다.
보안경, 긴 바지, 잘 미끄러지지 않는 튼튼한 신발 및 청력 보호구를 포함하여, 적절한 의복을 착용하십시오. 긴 머리는 뒤로 묶고 헐렁한 옷이나 보석류는 착용하지 마십시오.
화학물질 안전자료에서 지시한 대로 적절한 개인보호장비를 착용하십시오.
장비를 작동하는 동안에는 온전히 주의를 기울이십시오. 주의력을 산만하게 하는 활동을 하면, 부상 또는 재산 피해가 발생할 수 있습니다.
아프거나 지친 상태, 또는 음주나 약물 복용 후에는 장비를 운전하지 마십시오.
장비에 1명 이상의 승객을 태우지 마십시오. 탑승자는 지정된 좌석에 앉아야 합니다.
시야가 잘 보이는 곳에서만 장비를 운전하고 움푹 패인 곳이나 숨은 위험 요소를 피하십시오.
엔진의 시동을 걸기 전에 운전석에 착석하고, 트랙션 페달을 NEUTRAL(중립) 위치에 놓은 다음 주차 브레이크를 체결하십시오.
장비가 움직이는 경우 항상 자리에 앉아 있으십시오. 최대한 손을 스티어링 휠 위에 놓고, 항상 팔과 다리를 운전석 내에 두십시오.
사각 지대, 관목, 나무 또는 그 외의 시야를 방해하는 물체에 접근할 때에는 주의하십시오.
후진할 때는 후방을 주시하고 아무도 없는지 확인하십시오. 천천히 후진하십시오.
사람, 특히 어린이나 애완동물이 근처에 있으면 절대로 살포 작업을 하지 마십시오.
급경사면, 배수로, 둑 등의 근처에서는 장비를 작동하지 마십시오. 바퀴가 가장자리를 넘어가거나 가장자리가 함몰하면 장비가 갑자기 뒤집힐 수 있습니다.
거친 지형에서, 고르지 못한 지면에서 그리고 연석, 웅덩이 및 기타 지형이 갑자기 바뀌는 장소 근처에서 작동하는 경우 속도를 줄이십시오. 적재물이 움직여서 장비가 불안정해질 수 있습니다.
장비가 물건을 치거나, 장비의 진동이 비정상적인 경우, 장비를 멈추고, 엔진을 끄고, 키를 빼고, 주차 브레이크를 건 다음 손상이 있는지 검사하십시오. 다시 작동하기 전에 필요한 모든 수리를 시행하십시오.
방향을 바꾸거나 장비를 가지고 차도나 인도를 건널 때에는 속도를 줄이고 주의를 기울이십시오. 항상 다른 차량에 양보하십시오.
장비를 젖은 지면에서 운전하거나, 악천후, 고속 또는 짐을 완전히 실은 뒤 운전할 때는 특별히 주의하십시오. 이러한 경우 정지 시간과 거리가 늘어납니다.
엔진이 작동 중이거나 엔진이 꺼진 지 얼마 되지 않았을 때에는 엔진이나 머플러를 건드리지 마십시오. 부품 부위가 뜨거워 화상을 입을 수 있습니다.
운전석을 떠나기 전에 다음 절차를 수행하십시오.
평평한 곳에 장비를 주차합니다.
트랙션 페달을 NEUTRAL(중립) 위치로 이동합니다.
스프레이 펌프를 끕니다.
주차 브레이크를 체결합니다.
엔진을 끄고 키를 뺍니다(꽂혀 있는 경우).
모든 움직임이 멈출 때까지 기다립니다.
배기 가스가 갇혀 있는 공간에서는 엔진을 작동하지 마십시오.
번개가 칠 위험이 있는 상태에서는 장비를 운전하지 마십시오.
Toro가 승인한 액세서리 및 부착 장치를 사용하십시오.
Note: 본 사용 설명서가 다루는 각 장비에 Toro가 장착한 캡이 바로 ROPS(전복방지 구조)입니다.
장비에서 ROPS를 제거하지 마십시오.
안전 벨트를 착용하고 비상 시 빨리 풀 수 있도록 하십시오. 항상 안전 벨트를 착용하십시오.
머리 위의 장애물을 주의 깊게 확인하고 닿지 않게 하십시오.
손상 여부를 주기적으로 철저하게 검사하고 모든 장착 패스너를 단단히 조여 ROPS를 안전하게 작동하는 상태로 관리하십시오.
필요한 경우 안전 벨트(들)을 정비하고 청소하십시오.
손상된 ROPS 구성품을 교체하십시오. 수리 또는 개조하지 마십시오.
통제력을 잃거나 뒤집혀서 심하게 다치거나 사망하는 사고는 주로 비탈길에서 일어납니다. 작업자는 경사로 작업을 안전하게 할 책임이 있습니다. 비탈길에서 장비를 운전할 때에는 특별히 주의해야 합니다.
경사로에서 장비를 작동하기 위하여 아래에 나오는 경사로 지침을 검토하고 해당 시점에 해당 작업 장에서 장비를 작동할 수 있는지 판단하십시오. 지형이 바뀌면 장비의 경사로 운전에 변화가 생길 수 있습니다.
현장 측량을 포함하여 경사로가 장비 운전에 안전한지 판단하십시오. 측량할 때 항상 상식과 좋은 판단력을 사용하십시오.
경사로에서는 장비를 시동하거나 정지하거나 회전하지 마십시오. 경사로를 오르고 내리십시오. 속도나 방향을 갑자기 변경하지 마십시오. 장비를 회전해야 할 경우, 내리막 쪽으로 천천히 조금씩 회전하십시오. 장비를 후진할 때 주의하십시오.
견인, 조향 또는 안전성에 문제가 있으면 장비를 운전하지 마십시오.
배수로, 파인 부분, 바퀴 자국, 융기, 돌, 그 밖의 숨겨진 물체 등 장애물이 있으면 제거하거나 표시하십시오. 잔디가 길어서 장애물이 보이지 않을 수 있습니다. 지형이 고르지 않으면 장비가 뒤집힐 수 있습니다.
젖은 표면에서 장비를 작동하거나 경사로를 가로지르거나 내리막에서 장비를 작동하면 장비가 구동력을 잃게 될 수 있다는 점에 유의하십시오. 휠이 구동력을 잃으면 미끄러져 제동이 되지 않고 스티어링도 되지 않을 수 있습니다.
급경사로, 배수로, 둑, 물웅덩이 또는 기타 위험 요소 근처에서 장비를 작동할 때 매우 주의하십시오. 바퀴가 가장자리를 넘어가거나 가장자리가 함몰하면 장비가 갑자기 뒤집힐 수 있습니다. 장비와 위험 요소 사이에 안전 영역을 정하십시오.
부착 장치가 달린 장비를 운전할 때 특히 주의하십시오. 장비 안정성에 영향을 미칠 수 있습니다.
언덕을 오르면서 엔진의 시동이 꺼지거나 모멘텀을 잃었을 때 브레이크를 서서히 밟고 언덕 아래로 서서히 똑바로 후진하십시오.
장비를 경사로 아래로 운전할 때 항상 변속 기어(해당하는 경우)를 채우십시오.
기울어진 상태에서 장비를 주차하지 마십시오.
장비를 운전할 때 탱크 내부의 중량이 변할 수 있습니다. 조종력을 유지하고 부상을 방지하기 위해 다음 지침을 따르십시오.
무거운 적재물을 운반할 때 속도를 줄이고 충분한 제동 거리를 확보하십시오. 브레이크를 갑자기 밟지 마십시오. 경사로에서 특히 주의하십시오.
회전하거나, 경사로를 오르거나 내릴 때, 속도를 갑자기 변경할 때, 거친 지면에서 운전할 때 액체 중량이 이동할 수 있습니다. 중량이 이동하면 장비가 넘어질 수 있습니다.
운전석에 앉아서 트랙션 페달에서 발을 뗍니다.
다음 제어장치가 설정되었는지 확인합니다.
주차 브레이크가 걸려 있습니다.
트랙션 페달이 NEUTRAL(중립) 위치에 있습니다.
스프레이 펌프의 스위치를 껐습니다.
스로틀이 SLOW(저속) 위치에 있습니다.
키를 START(시동) 위치로 돌립니다.
엔진을 15초 이상 크랭킹하지 마십시오.
엔진이 시동되면 키를 놓습니다.
엔진이 예열될 때까지 IDLE(공회전) 속도 또는 부분 스로틀로 엔진을 가동합니다.
주차 브레이크를 풀고 트랙션 페달을 앞으로 밟아서 장비를 전진시키거나, 페달의 뒤를 밟아서 장비를 후진시킵니다.
Important: FORWARD(전진) 및 REVERSE(후진) 위치로 변경하기 전에 스프레이어를 정지시켜야 합니다.
장비를 천천히 멈추고 트랙션 페달을 놓습니다.
Note: 트랙션 페달을 NEUTRAL(중립) 위치로 돌립니다.
빠르게 멈추려면 브레이크 페달을 밟습니다.
Note: 장비가 멈추는 거리를 스프레이어 탱크 적재물 및 장비의 지면 속도에 따라 달라집니다.
지면 속도 잠금 스위치를 누를 때 트랙션 페달에 발을 올리지 않으면 견인 장치가 갑자기 멈춰 조종력을 잃을 수 있으며 운전자 및 주변 사람이 부상을 당할 수 있습니다.
지면 속도 잠금 스위치를 분리할 때 트랙션 페달에 발을 올려 두십시오.
스프레이 펌프 스위치를 ON(켜짐) 위치에 돌려 스프레이 펌프를 시동합니다. 스프레이 펌프 스위치를 참조하십시오.
전방으로 운전하고 원하는 속도로 달립니다. 장비 운전을 참조하십시오.
Note: 11 km/h 이하로 장비를 운전하려면 지면 속도 잠금장치를 설정합니다.
지면 속도 잠금 스위치 상단을 누릅니다.
Note: 스위치 불이 켜집니다.
트랙션 페달에서 발을 뗍니다.
Note: 스프레이어는 설정한 속도를 유지합니다.
지면 속도 잠금장치 스위치를 해제하려면 발을 트랙션 페달에 놓고 스위치 하단을 누르거나, 발을 트랙션 페달에서 떼고 주차 브레이크를 밟습니다.
Note: 스위치 불이 꺼지고 견인 제어장치가 트랙션 페달로 돌아갑니다.
모든 제어장치를 NEUTRAL(중립) 위치로 이동합니다.
브레이크를 밟아 스프레이어를 정지시킵니다.
주차 브레이크를 겁니다.
스로틀 레버를 IDLE/SLOW(공회전/저속) 위치로 이동합니다.
키를 OFF(꺼짐) 위치로 돌립니다.
스위치에서 키를 빼서 다른 사람이 엔진의 시동을 실수로 걸지 않도록 합니다.
엔진이 안전 작동 한계를 벗어나 작동 중일 때 InfoCenter에 표시되는 엔진 메시지에는 두 가지 범주가 있습니다.
엔진 주의 메시지
엔진 정지 메시지
Note: 엔진 주의 및 엔진 정지 경보를 울리게 하려면 InfoCenter 오디오 음소거 옵션을 ON(켜짐)으로 설정해야 합니다. ExcelaRate 스프레이 시스템을 장착한 Multi Pro 5800-D 및 5800-G Turf 스프레이어는 소프트웨어 설명서의 오디오 표시기 음소거를 참조하십시오.
Note: 홈 화면의 오른쪽 상단 모서리에 있는 기호
, 엔진 주의 메시지 또는 엔진 정지 메시지는 엔진에 고장이 발생했음을 나타냅니다.
InfoCenter에 엔진 주의 메시지가 표시되면 살포 작업을 중단하고 장비를 정비 시설로 옮겨야 합니다. 주의 화면의 예는 다음과 같습니다.
InfoCenter에 엔진 정지 메시지가 표시되면 운전자는 즉시 장비를 주차하고 엔진을 정지시켜야 합니다. 주의 화면의 예는 다음과 같습니다.
Important: 정지 메시지가 표시될 때 엔진을 계속 작동시켜면 엔진이 손상됩니다.
스프레이어를 작동하려면 스프레이어 탱크를 채우고, 혼합 제품을 현장에 뿌린 다음 탱크와 스프레이 시스템을 청소하십시오. 스프레이어 손상을 방지하기 위해 이 3단계를 연속적으로 완료해야 합니다. 예를 들어, 밤에 스프레이어 탱크에 화학물질을 첨가하여 섞고 아침에 살포하지 마십시오. 화학약품이 분리되어 스프레이어 부품이 손상될 수 있습니다.
화학물질은 유해하며 신체 부상을 유발할 수 있습니다.
화학물질을 취급하기 전에 화학물질 라벨의 지침을 숙독하고 제조사의 모든 권장 사항 및 주의 사항을 따르십시오.
화학물질이 피부에 닿지 않게 하십시오. 피부와 접촉하면 비누와 깨끗한 물로 접촉 부위를 철저히 씻으십시오.
화학물질 제조사의 지침에 따라 적절한 개인보호장비(PPE)를 착용하십시오.
Multi Pro® 스프레이어는 특히 높은 내구성을 지니도록 설계되어 오랜 스프레이어 수명을 보장합니다. 다양한 현장에서 스프레이어가 정상적으로 작동하도록 다양한 소재를 채택했습니다. 현재 모든 응용 분야에 적합한 하나의 소재는 없습니다.
어떤 화학물질은 다른 것보다 더 강하고 각 화학물질은 다양한 소재에 다르게 반응합니다. 어떤 농축액(예: 젖은 파우더, 목탄액)은 마모성이 더 강하여 마모 속도가 빨라집니다. 스프레이어 수명을 높일 수 있는 제제가 있다면 대체 제제를 사용하십시오.
살포 작업 후에는 항상 스프레이어 및 스프레이 시스템을 청소하십시오. 청소를 해야만 스프레이어를 문제 없이 오래 쓸 수 있습니다.
Note: 살포 제어 시스템에 대한 질문이 있거나 추가 정보가 필요하면 시스템과 함께 제공된 사용 설명서를 참조하십시오.
다음 정보는 ExcelaRate 스프레이 시스템을 장착한 Multi Pro 5800-D 및 5800-G 잔디 스프레이어에 대한 소프트웨어 가이드를 참조하십시오.
작동 전
InfoCenter 홈 화면
메인 메뉴 화면
메인 메뉴 하위 화면
서비스 화면
진단 화면
정보 화면
작동 중
작업 정보 입력
InfoCenter 살포 구역 화면
InfoCenter 알림
다음 절차는 ExcelaRate 스프레이 시스템을 장착한 Multi Pro 5800-D 및 5800-G 잔디 스프레이어에 대한 소프트웨어 가이드를 참조하십시오.
Important: 제품이 잘 혼합되도록 유지하고 탱크에 액체가 있을 때에만 교반 기능을 사용하십시오.
스프레이 시스템이 선택한 스프레이 노즐에 대해 보정되었는지 확인합니다. ExcelaRate 스프레이 시스템을 장착한 Multi Pro 5800-D 및 5800-G 잔디 스프레이어에 대한 소프트웨어 가이드를 참조하십시오.
섹션 바이패스 차단 밸브용 노브를 닫힌 위치로 돌립니다(그림 42).

스프레이어 모드 버튼을 시용량 모드로 설정합니다(그림 43).

스프레이어를 살포할 잔디 구역으로 이동합니다.
각 작업 구역에 때한 살포 구역과 살포 용량 데이터를 수집한다면 하위 구역(하위 구역 1~20) 화면을 선택하여 개별 구역과 용량 정보를 기록합니다. ExcelaRate 스프레이 시스템을 장착한 Multi Pro 5800-D 및 5800-G 잔디 스프레이어에 대한 소프트웨어 가이드에서 하위 구역 화면 사용을 참조하십시오.
Note: 다양한 작업장을 이용한다면 다른 하위 구역 화면을 선택해서 개별 구역 및 용량 정보를 선택해야 합니다.
시용량을 용량 1과 용량 2 사이에서 변경하려면 InfoCenter 홈 화면에서 버튼 1과 2를 동시에 누르고 용량 1을 선택하거나 버튼 4 및 5를 동시에 눌러서 용량 2를 선택합니다. ExcelaRate 스프레이 시스템을 장착한 Multi Pro 5800-D 및 5800-G 잔디 스프레이어에 대한 소프트웨어 가이드를 참조하십시오.
스프레이 섹션 스위치를 ON(켜짐) 위치로 돌립니다(그림 44).

교반 스위치 및 스프레이 펌프 스위치를 ON(켜짐) 위치로 놓습니다(그림 45).

스로틀을 FAST(고속) 위치로 이동합니다(그림 45).
원하는 속도로 운전한 다음 마스터 섹션 스위치를 ON(켜짐) 위치에 놓고 살포를 시작합니다(그림 44).
Note: 마스터 섹션 스위치를 사용해서 선택한 스프레이 섹션에 화학약품을 전달하고 정지합니다.
살포를 마치면 마스터 섹션 스위치를 OFF(꺼짐) 위치에 놓고 모든 스프레이 섹션을 끈 다음 스프레이 펌프 스위치를 OFF(꺼짐) 위치에 놓습니다.
Note: 외부 스프레이 섹션을 이동 위치로 올리고 스프레이어를 청소 구역으로 운전합니다.
Important: 스프레이어를 하나의 살포 구역에서 다른 구역으로 이동하거나, 보관 또는 청소 구역으로 이동할 때 항상 섹션 운송 크래들을 완전히 이동하여 “X”자 이동 위치를 만들도록 붐 섹션을 올린 다음 리프트 실린더를 완전히 접으십시오.
Note: 스프레이 펌프를 켠 상태에서 다음 절차를 진행합니다. 시용량 모드에서 살포하기의 그림 45을 참조하십시오.
스프레이어 시스템이 선택한 스프레이 노즐에 대해 조정되었는지 확인하십시오. 노즐 선택을 참조하십시오.
스프레이어 모드 버튼을 수동 모드로 놓습니다(그림 46).

마스터 섹션 스위치를 OFF(꺼짐) 위치로 돌립니다. 시용량 모드에서 살포하기의 그림 44을 참조하십시오.
스로틀을 살포하기 원하는 엔진 속도로 조정합니다. 시용량 모드에서 살포하기의 그림 45을 참조하십시오.
살포 구역으로 운전합니다.
섹션을 정위치로 내립니다.
필요시 개별 섹션 스위치를 ON(켜짐) 위치로 돌립니다. 시용량 모드에서 살포하기의 그림 44을 참조하십시오.
스프레이어와 함께 제공된 노즐 선택 가이드에 표시된 대로 시용량 스위치를 사용해서 원하는 스프레이 압력을 달성합니다(그림 47).

원하는 속도로 운전한 다음 마스터 섹션 스위치를 ON(켜짐) 위치에 놓고 살포를 시작합니다. 시용량 모드에서 살포하기의 그림 44을 참조하십시오.
Note: 탱크가 거의 비워지면 교반으로 탱크에 거품이 생길 수 있습니다. 이 경우, 교반 스위치를 OFF(꺼짐) 위치로 놓으십시오. 또는, 탱크에 방포제를 첨가할 수 있습니다.
살포를 마치면 마스터 섹션 스위치를 OFF(꺼짐) 위치에 놓고 모든 섹션을 끈 다음 스프레이 펌프 스위치를 OFF(꺼짐) 위치에 놓습니다.
Note: 섹션을 이동 위치로 돌리고 스프레이어를 청소 구역으로 운전합니다.
Important: 스프레이어를 하나의 살포 구역에서 다른 구역으로 이동하거나, 보관 또는 청소 구역으로 이동할 때 항상 섹션 운송 크래들을 완전히 이동하여 “X”자 이동 위치를 만들도록 섹션을 올린 다음 섹션 실린더를 완전히 접으십시오.
Important: 이 절차를 완료하기 위해 눈금 캐치 컨테이너(0.01 mL 눈금을 지닌 컨테이너 선호) 및 스톱와치를 준비해야 합니다.
Important: 가능하면 스프레이 탱크에 재생 용수(회색 용수)를 사용하지 마십시오.
스프레이어 탱크가 깨끗한지 확인합니다. 스프레이어 시스템 세척를 확인하십시오.
깨끗한 용수 568 L 이상을 스프레이어 탱크를 채웁니다. 탱크 채우기를 참조하십시오.
테스트하려면 노즐이 활성화된 위치(아래쪽)에 있는지 확인합니다.
장비가 시용량 모드에서 작동하는 경우, 섹션 바이패스 차단 밸브용 노브가 닫힌 위치인지 확인합니다(그림 48).

장비를 시용량 모드에서 작동하는 경우, 섹션 바이패스 차단 밸브용 노브가 닫혔는지 확인하십시오(그림 48).
주차 브레이크를 걸고 엔진의 시동을 겁니다.
Note: 엔진을 10분 동안 예열하십시오.
시용량 모드에서 장비를 작동할 때 속도 테스트 사용 절차를 수행합니다. ExcelaRate 스프레이 시스템이 장착된 Multi Pro 5800-D 및 5800-G 잔디 스프레이어에 대한 소프트웨어 가이드를 참조하십시오.
Note: 시뮬레이션 테스트 속도를 4 km/h에서 14 km/h로 설정하십시오.
테스트하려면 섹션에 대한 스프레이 섹션 스위치를 ON(켜짐) 위치로 놓습니다.
스로틀을 FAST(고속) 위치로 이동합니다.
마스터 섹션 스위치를 ON(켜짐) 위치로 돌립니다.
활성화된 스프레이 노즐 중 1개에 대해 15초 캐치 테스트를 진행합니다.

마스터 섹션 스위치를 차단하고, 스로틀을 저속 위치에 놓고, 스프레이 펌프를 끈 다음 엔진을 정지합니다.
눈금 용기를 평평한 곳에 두고 액체 용량을 기록합니다(그림 50).
Important: 눈금 용기를 읽을 때 용기를 평평한 곳에 두어야 합니다.
Important: 눈금 용기를 읽을 때 눈금 용기에 담긴 액체 표면 곡선의 가장 낮은 부위에서 액체 용량을 읽어야 합니다.
Important: 눈금 용기의 액체 용량을 잘못 읽으면 스프레이어 보정의 정확성에 부정적인 영향을 미칠 수 있습니다.

15초 캐치 테스트 표에 있는 노즐 용량과 눈금 용기의 물 용량을 비교합니다.
| 노즐 컬러 | 15초 동안 수집한 ml | 15초 동안 수집한 온스 |
|---|---|---|
| 노란색 | 189 | 6.4 |
| 빨간색 | 378 | 12.8 |
| 갈색 | 473 | 16.0 |
| 회색 | 567 | 19.2 |
| 흰색 | 757 | 25.6 |
| 파란색 | 946 | 32.0 |
| 녹색 | 1,419 | 48.0 |
캐치 눈금 용기의 액체 레벨이 15초 캐치 테스트 표의 노즐 용량보다 7.4 ml 이상 또는 이하이면 다음 중 하나를 수행합니다.
유속 보정을 수행하거나, 마모된 노즐을 교체하고 유속 보정을 수행하십시오. ExcelaRate 스프레이 시스템이 장착된 Multi Pro 5800-D 및 5800-G 잔디 스프레이어에 대한 소프트웨어 가이드의 유속 보정 절차를 참조하십시오.
교반 바이패스 밸브를 보정하거나 마모된 노즐을 교체하고, 교반 바이패스 밸브를 보정하십시오. 교반 바이패스 밸브 보정을 참조하십시오.
스프레이어 제어판의 붐 섹션 리프트 스위치를 사용하면 운전석을 떠나지 않고 이동 위치 및 살포 위치 사이에서 외부 스프레이 섹션을 이동할 수 있습니다. 가능하면 스프레이 섹션 위치를 변경하기 전에 장비를 멈추십시오.
다음 단계를 통해 외부 스프레이 섹션을 살포 위치로 이동합니다.
장비를 평지에 주차합니다.
붐 섹션 리프트 스위치를 사용해서 외부 섹션을 내립니다.
Note: 외부 스프레이 섹션이 확장된 살포 위치로 완전히 도달할 때까지 기다립니다.
스프레이어 작업을 완료한 후 다음 절차를 통해 외부 스프레이 섹션을 이동 위치로 접습니다.
Important: 장비에 드리프트 감소 붐 보호 키트, 초음파 붐 레벨링 키트, 또는 두 개가 모두 설치되어 있으면 한 번에 하나씩 외부 스프레이 섹션을 이동 위치로 이동합니다.보호 키트 또는 레벨링 키트가 달린 외부 스프레이 섹션을 한 번에 이동하면 보호대, 센서 또는 두 개 모두 손상될 수 있습니다.
장비를 평지에 주차합니다.
붐 섹션 리프트 스위치를 사용해서 외부 스프레이 섹션을 올려 "X"자 이동 위치가 되도록 붐 섹션 이동 크래들을 완전히 이동하고 리프트 실린더를 완전히 접습니다.
Important: 외부 스프레이 섹션이 원하는 위치에 놓이면 붐 섹션 리프트 스위치를 해제하십시오. 장비가 정지한 상태에서 액추에이터를 가동하면 리프트 실린더 및/또는 유압 부품이 손상될 수 있습니다.
Important: 스프레이 섹션이 운송 위치에 놓여 있을 때 머리 위의 낮은 물체에 닿지 않도록 하십시오, 그러한 물체에 닿으면 스프레이 섹션이 손상될 수 있습니다.
Important: 붐 이동 크래들을 통한 "X"자 이동 위치 외에 배치한 상태에서 이동하면 스프레이 섹션이 손상될 수 있습니다.

Important: 리프트 실린더의 손상을 막기 위해 장비를 이동하기 전에 액추에이터를 완전히 접어야 합니다.
Important: 스프레이어를 정지 모드에서 작동할 때 엔진, 라디에이터 및 머플러의 열이 잔디에 손상을 입힐 수 있습니다. 정지 모드에는 탱크 교반, 스프레이 건을 통한 수동 살포, 자주식 붐 사용 등이 포함됩니다.
다음 예방 조치를 취하십시오.
잔디가 더 많은 스트레스를 받을 수 있으므로 날씨가 매우 덮거나 건조할 때 정지 모드 살포 작업을 피하십시오.
정지 모드 살포 작업 중 잔디 위에 주차하지 마십시오. 가능하면 카트 경로에 주차하십시오.
특정 잔디 구역에서 장비가 가동하는 시간을 최소화하십시오. 시간과 온도가 모두 잔디의 손상 정도를 결정합니다.
엔진을 가능한 한 저속으로 운전하여 원하는 압력 및 유속을 달성하십시오. 저속으로 운전하면 열 발생 및 냉각팬의 공기 속도를 줄입니다.
엔진 구획의 열기가 차량 아래로 빠져나오는 대신에 좌석 어셈블리를 들어 올려 위로 배출하십시오.
이전에 살포한 구역이 겹치지 않게 하십시오.
막힌 노즐이 있는지 주의하십시오. 닳거나 손상된 노즐을 모두 교체하십시오.
스프레이어를 정지하기 전에 마스터 섹션 스위치를 사용하여 살포를 중단하십시오. 스프레이어가 정지하면 엔진 스로틀 제어장치를 통해 교반 작동을 계속하도록 엔진 속도를 유지합니다.
스프레이 섹션을 돌릴 때 스프레이어를 움직이면 더 좋은 결과를 얻을 수 있습니다.
살포 작업을 할 때 노즐이 막히면 다음 절차를 통해 노즐을 청소하십시오.
스프레이어를 평지에 정차하고, 엔진을 끄고 주차 브레이크를 체결합니다.
마스터 섹션 스위치를 OFF(꺼짐) 위치로 설정한 다음 스프레이어 펌프 스위치를 OFF(꺼짐) 위치로 설정합니다.
막힌 노즐을 제거하고 스프레이 물통과 칫솔을 사용해서 청소합니다.
노즐을 장착합니다.
운전석을 떠나기 전에 다음 절차를 수행하십시오.
평평한 곳에 장비를 주차합니다.
트랙션 페달을 NEUTRAL(중립) 위치로 이동합니다.
스프레이 펌프를 끕니다.
주차 브레이크를 체결합니다.
엔진을 끄고 키를 뺍니다(꽂혀 있는 경우).
모든 움직임이 멈출 때까지 기다립니다.
장비가 식은 후에 장비를 조정, 정비, 청소 또는 보관하십시오.
작업일에 장비의 작동을 마친 후 장비 외부의 모든 화학약품 잔류물을 세척하고 화학물질 제조사의 권장 사항에 따라 장비를 중화시키고 3중으로 세척한 다음 모든 밸브를 3회 순환시킵니다. 화학물질 안전자료를 참조하십시오.
장비를 밀폐된 곳에 보관하기 전에 엔진을 식히십시오.
노출된 화염, 불꽃, 온수기나 기타 기구의 점화용 불씨가 있는 곳에는 절대로 장비나 연료통을 보관하지 마십시오.
장비의 모든 부품을 양호한 작동 상태로 관리하고 모든 하드웨어를 조여진 상태로 관리하십시오.
닳거나 손상되거나 없는 데칼은 교체하십시오.
필요 시 물만 사용하거나 연성 세제를 사용하여 장비를 세척하십시오. 장비를 세척할 때 헝겊을 사용할 수도 있습니다.
Important: 소금기가 있는 물이나 재생된 물을 사용하여 장비를 청소하지 마십시오.
Note: 압력 세척 장비를 사용하여 장비를 세척하지 마십시오. 압력 세척 장비는 전기 시스템을 손상 시키거나 중요한 데칼이 느슨해지게 하거나 꼭 필요한 그리스를 마찰 지점에서 씻어낼 수 있습니다. 제어판, 엔진, 배터리 등의 근처에서는 물을 과도하게 사용하지 마십시오.
Important: 엔진 작동 중에 장비를 세척하지 마십시오. 엔진 작동 중에 장비를 세척하면 엔진 내부가 손상될 수 있습니다.
스프레이어를 정지시키고, 주차 브레이크를 걸고, 엔진을 끈 다음 키를 뺍니다.
장비의 좌측 후방 펜더에 있는 탱크 드레인 밸브를 찾습니다(그림 52).
Note: 드레인 밸브는 좌측 후반 펜더에 장착된 드레인 밸브 브래킷에 부착되어 있습니다.

밸브의 장착 스터드가 드레인 밸브 브래킷의 슬롯에서 떨어질 때까지 밸브를 들어 올린 다음 밸브를 뒤로 이동합니다(그림 53A).

배수통을 향해 밸브 끝을 맞추고 밸브 핸들을 열린 위치로 돌립니다(그림 53B).
탱크를 완전히 비웠으면 드레인 밸브 핸들을 닫힌 위치로 돌리고 밸브를 드레인 밸브 브래킷에 조립니다(그림 53B 및 그림 53A).
Important: 현지 규정 및 제조사의 지침에 따라 스프레이어 탱크 화학약품을 폐기합니다.
| 유지보수 서비스 간격 | 유지보수 절차 |
|---|---|
| 매번 사용 후 |
|
Important: 스프레이어를 청소할 때 깨끗한 용수만을 사용하십시오.
Important: 장착된 스프레이 시스템 부착 장치를 포함하여 사용 후 즉시 스프레이 시스템을 항상 비우고 세척해야 합니다. 스프레이어를 세척 및 청소하지 않으면 화학약품이 말라서 라인, 필터, 밸브, 노즐 본체, 펌프, 및 기타 부품이 막힐 수 있습니다.
Toro는 본 장비에 대해 승인된 청소 세척 키트를 사용할 것을 권장합니다. 자세한 내용은 Toro 공식 판매 대리점에 문의하십시오.
Note: 다음의 권장 사항 및 지침은 Toro 세척 키트를 장착하지 않았다는 가정에 따릅니다.
모든 살포 작업 후에 스프레이 시스템 및 기타 장착된 스프레이 액세서리를 청소합니다. 스프레이 시스템을 적절하기 청소하려면 다음 절차를 수행하십시오.
세척 과정을 3번 반복하십시오.
화학물질 제조사가 권장하는 세제 및 중화제를 사용하십시오.
최종 헹굼에는 깨끗한 물을 사용하십시오(세제 또는 중화제 아님).
깨끗한 물을 탱크에 190 L 이상 채우고 뚜껑을 닫습니다.
Note: 필요시 물에 세제/중화제를 탈 수 있습니다. 최종 세척 과정에는 깨끗한 용수만 사용하십시오.
외부 스프레이 섹션을 살포 위치로 내립니다.
엔진의 시동을 걸고, 스프레이 펌프 스위치를 ON(켜짐) 위치에 놓은 다음 스로틀 레버를 고속 엔진으로 이동합니다.
교반 스위치를 ON(켜짐) 위치로 돌립니다.
시용량 스위치를 사용하여 압력을 높은 값으로 증가시킵니다.
개별 섹션 스위치 및 마스터 섹션 스위치를 ON(켜짐) 위치로 설정합니다.
살포가 올바르게 되는지 모든 노즐을 점검합니다.
탱크의 모든 물을 노즐로 살포합니다.
마스터 섹션 스위치를 OFF(꺼짐) 위치에 놓고, 교반 스위치 및 스프레이 펌프 스위치를 OFF(꺼짐) 위치에 놓은 다음 엔진을 정지시킵니다.
1~9 단계를 2번 이상 반복하여 스프레이 시스템을 완전히 세척합니다.
Important: 항상 3번의 세척 주기를 통해 스프레이 시스템 및 스프레이 액세서리를 완전히 세척하여 시스템 손상을 방지하십시오.
| 유지보수 서비스 간격 | 유지보수 절차 |
|---|---|
| 매번 사용하기 전 또는 매일 |
|
평지에 장비를 주차하고, 주차 브레이크를 체결하고, 펌프를 끄고, 엔진을 끄고 키를 뺍니다.
스프레이어 탱크 상단에서 필터 하우징의 대형 호스에 부착된 호스 피팅을 고정하는 리테이너를 제거합니다(그림 54).

호스 및 호스 피팅을 필터 하우징에서 제거합니다(그림 54).
탱크 필터 하우징에서 흡입 스트레이너를 잡아당깁니다(그림 55).

깨끗한 물로 흡입 필터를 세척합니다.
Important: 필터가 손상되었거나 세척할 수 없으면 교체하십시오.
필터가 완전히 안착되지 않았다면 흡입 필터를 필터 하우징에 삽입합니다.
호스와 호스 피팅을 탱크 상단의 필터 하우징에 정렬하고 2 단계에서 제거한 리테이너에 피팅과 하우징을 고정합니다.
| 유지보수 서비스 간격 | 유지보수 절차 |
|---|---|
| 매번 사용하기 전 또는 매일 |
|
평지에 장비를 주차하고, 주차 브레이크를 체결하고, 스프레이어 펌프를 끄고, 엔진을 끄고 키를 뺍니다.
압력 필터 아래에 드레인 팬을 맞춰 놓습니다(그림 56).

드레인 캡을 반시계 방향으로 돌리고 압력 필터 통에서 분리합니다(그림 56).
Note: 통을 완전히 비웁니다.
통을 반시계 방향으로 돌려서 필터 헤드를 제거합니다(그림 56).
압력 필터 엘리먼트를 제거합니다(그림 56).
깨끗한 물로 압력 필터 엘리먼트를 세척합니다.
Important: 필터가 손상되었거나 세척할 수 없으면 교체하십시오.
배출 플러그용 개스킷(통 내부) 및 통의 개스킷(필터 헤드 내부)이 손상되었거나 마모되었는지 검사합니다(그림 56).
Important: 플러그와 통의 개스킷이 손상되었거나 마모되었으면 교체하십시오.
압력 필터 엘리먼트를 필터 헤드에 장착합니다(그림 56).
Note: 필터 엘리먼트를 필터 헤드에 견고하게 안착시키십시오.
통을 필터 헤드에 장착하고 손으로 조입니다(그림 56).
드레인 캡을 통 바닥의 피팅에 조립하고 손으로 캡을 조입니다(그림 56).
| 유지보수 서비스 간격 | 유지보수 절차 |
|---|---|
| 매번 사용 후 |
|
컨디셔너 규격: 부식 방지제 함유 프로필렌 글리콜 "무독성 RV 부동액"
Important: 부식 방지제 함유 프로필렌 글리콜만 사용하십시오. 재활용 프로필렌 글리콜을 사용하지 마십시오. 에틸렌 글리콜 베이스 부동액을 사용하지 마십시오.수용성 알코올(메탄올, 에탄올 또는 이소프로판올) 또는 염수 함유 프로필렌 글리콜을 사용하지 마십시오.
평지로 장비를 이동하고, 주차 브레이크를 체결하고, 엔진을 끄고 키를 뺍니다.
다음과 같이 탱크에 컨디셔너를 첨가합니다.
(예혼합) 프로필렌 글리콜 RV 부동액 사용—탱크에 프로필렌 글리콜 RV 부동액을 10 갤런 첨가합니다.
농축된 프로필렌 글리콜 RV 부동액을 사용할 경우, 다음 절차를 수행합니다.
프로필렌 글리콜 RV 부동액 혼합물 10 갤런 및 용수를 스프레이어 탱크에 첨가합니다. 최소 -45°C 등급 농축액에 대한 제조사의 지침에 따라 부동액 혼합물을 준비합니다.
Important: 스프레이어를 청소할 때 깨끗한 용수만을 사용하십시오.
엔진을 시동하고 스프레이 펌프 스위치를 ON(켜짐) 위치로 설정합니다.
가속 페달을 밟고 엔진 속도를 높입니다.
교반 스위치를 ON(켜짐) 위치로 설정합니다.
컨디셔너 및 수용액을 3분 이상 순환시킵니다.
권장 도구: 투명한 캐치 용기
장비를 드레인 패드 구역으로 이동하고 주차 브레이크를 체결합니다.
외부 붐 섹션을 내립니다.
좌측, 중앙, 우측 섹션 스위치, 및 마스터 섹션 스위치를 ON(켜짐) 위치로 설정합니다.
스프레이 시스템을 살포하여 노즐을 통해 컨디셔너를 배출합니다.
Note: 프로필렌 글리콜 RV 부동액의 색깔은 대부분 핑크색입니다. 캐치 용기로 여러 개의 노즐에서 스프레이어 배출액을 샘플 채취합니다.
마스터 섹션 스위치, 3개의 섹션 스위치, 교반 스위치, 스프레이 펌프 스위치 및 엔진을 닫고 끕니다.
비상 상황 시 견인 밸브를 열고 스프레이어를 단거리 견인할 수 있습니다. 그러나 이를 표준 절차로 간주하면 안 됩니다.
고속으로 견인하면 조향 조종력을 잃을 수 있으며 부상을 당할 수 있습니다.
4.8 kph 이상으로 스프레이어를 견인하지 마십시오.
2명의 작업자가 스프레이어를 견인해야 합니다. 장비가 장거리를 이동해야 할 경우 트럭이나 트레일러로 운송해야 합니다. 장비 운반을 참조하십시오.
배기 시스템을 완전히 식힙니다.
언더캐리지 슈라우드를 제거합니다. 엔진 접근를 참조하십시오.
견인 밸브를 한 방향으로 90° 돌려서 견인 밸브를 엽니다(그림 60).

Important: 스프레이어를 견인하기 전에 견인 밸브를 열면 변속기가 손상될 수 있습니다.
견인 라인을 프레임에 부착합니다. 전방 및 후방 견인 개소를 참조하십시오(그림 61 및 그림 62).


주차 브레이크를 풉니다.
4.8 kph 이하로 스프레이어를 견인합니다.
견인을 마치면 견인 밸브를 닫고 7~11 N∙m 토크로 조입니다.
Important: 장비를 작동하기 전에 언더캐리지 슈라우드를 설치하십시오. 엔진 접근를 참조하십시오.
Note: www.Toro.com을 방문하여 홈 페이지의 Manual(설명서) 링크를 이용해 자신의 장비를 검색하여 전기나 유압 도면 무료 사본을 다운로드하십시오.
Important: 추가 유지보수 절차는 엔진 사용 설명서를 참조하십시오.
Note: 정상 운전 위치에서 장비의 좌측과 우측을 판단하십시오.
운전석을 떠나기 전에 다음 절차를 수행하십시오.
평평한 곳에 장비를 주차합니다.
트랙션 페달을 NEUTRAL(중립) 위치로 이동합니다.
주차 브레이크를 겁니다.
엔진을 끄고 키를 뺍니다(꽂혀 있는 경우).
모든 움직임이 멈출 때까지 기다립니다.
장비를 관리하기 전에 장비 구성 부품을 식히십시오.
자격이 있는 공인 기술자만이 장비를 유지보수, 수리, 조정 또는 검사해야 합니다.
유지보수를 수행하기 전에 스프레이어를 완전히 청소하고 세척하십시오. 화학물질 안전자료를 참조하십시오.
스프레이어 시스템에 사용되는 화학물질은 운전자, 주변 사람, 동물, 식물, 토양 등에 유해하거나 유독할 수 있습니다.
사용하는 모든 화학물질에 대해 화학물질 경고 라벨 및 안전보건자료(SDS)를 주의 깊게 읽고 화학물질 제조사의 권고 사항에 따라 자신을 보호하십시오.
화학물질 근방에 있을 때에는 항상 피부를 보호하십시오. 화학물질 접촉으로부터 보호하기 위해 다음과 같은 적절한 개인보호장비(PPE)를 착용하십시오.
보안경, 고글 및/또는 안면 보호구
내화학성 작업복
마스크 또는 필터 마스크
내화학성 장갑
고무 부츠 또는 기타 견고한 작업화
갈아입을 깨끗한 옷, 비누, 청소용 일회용 타월
화학물질 안전자료가 없으면 스프레이어 작업을 진행하지 마십시오!
사람, 특히 어린이 또는 애완 동물이 있을 때 장비에 약품을 보충하거나, 장비를 보정하거나 청소하지 마십시오.
통기가 잘 되는 곳에서 화학물질을 취급하십시오.
특히 스프레이 탱크를 채울 때 깨끗한 물을 준비하십시오.
화학물질 주변에서 작업을 할 때, 음식을 먹거나 음료수를 마시거나 흡연을 마지 마십시오.
스프레이 노즐을 불어서 또는 입에 넣어서 청소하지 마십시오.
항상 화학물질 작업을 마친 후 최대한 빨리 손 및 노출 부위를 씻으십시오.
화학물질 및 가스는 유해합니다. 탱크 안으로 들어가거나, 머리를 개구 위에 두거나 개구 안으로 넣지 마십시오.
전체 장비의 양호한 작동 상태를 보장하려면 모든 하드웨어를 적절하게 고정하십시오.
화재 가능성을 줄이려면, 엔진 공간에 과도한 그리스, 화학물질, 잔디, 나뭇잎 및 이물질이 쌓이지 않게 하십시오.
엔진을 작동하여 유지관리 조정 작업을 수행해야 하는 경우에는 손, 발, 옷 및 기타 신체 부위가 엔진 및 움직이는 부품에 닿지 않게 하십시오. 사람이 장비에서 멀리 있도록 하십시오.
장비의 속도계를 조정하지 마십시오. 제품의 안전과 정확성을 보장하려면 Toro 공식 판매 대리점에 지면 속도를 확인해 달라고 요청하십시오.
장비를 수리해야 하거나 기술적 도움이 필요하면 Toro 공식 판매 대리점에 연락하십시오.
이 장비를 어떤 식으로든 개조하면 장비의 작동, 성능, 내구성 또는 가용성에 영향을 미칠 수 있으며, 사람이 다치거나 사망하는 사고가 생길 수도 있습니다. 장비를 개조하여 사용하면 제품 보증이 무효화될 수 있습니다.
장비 아래에서 작업할 때마다 잭 스탠드로 장비를 지지하십시오.
에너지가 축적된 부품의 압력을 조심스럽게 해제하십시오.
| 유지보수 서비스 간격 | 유지보수 절차 |
|---|---|
| 처음 8시간 후 |
|
| 처음 50시간 후 |
|
| 처음 200시간 후 |
|
| 매번 사용하기 전 또는 매일 |
|
| 매번 사용 후 |
|
| 매 50시간 |
|
| 매 100시간 |
|
| 매 200시간 |
|
| 매 400시간 |
|
| 매 800시간 |
|
| 매 1,000시간 |
|
| 매 2,000시간 |
|
| 매년 |
|
이 페이지를 복사하여 사용하십시오.
|
유지보수 점검 항목 |
주 시작 날짜: |
||||||
|---|---|---|---|---|---|---|---|
|
월요일 |
화요일 |
수요일 |
목요일 |
금요일 |
토요일 |
일요일 |
|
|
브레이크 및 주차 브레이크 작동 점검. | |||||||
|
중립 차단 스위치 작동 점검. | |||||||
|
연료량 확인. | |||||||
|
엔진 오일량 점검. | |||||||
|
유압 오일의 레벨 점검. | |||||||
|
냉각수 렐벨 점검. | |||||||
|
에어 필터 검사. | |||||||
|
라디에이터 및 오일 쿨러의 잔해 검사. | |||||||
|
엔진 소음 이상 점검. | |||||||
|
엔진 작동 소음 이상 점검. | |||||||
|
타이어 공기압 점검. | |||||||
|
오일 누출 점검. | |||||||
|
손상, 뒤틀림, 마모가 있는지 모든 유압 및 오일 호스 점검. | |||||||
|
계기 작동 점검. | |||||||
|
가속 페달 작동 점검. | |||||||
|
흡입 스트레이너 청소. | |||||||
|
모든 구리스 피팅의 윤활 처리1 | |||||||
|
장비 세척. | |||||||
|
벗겨진 페인트 복원. | |||||||
1 표시된 주기와 상관없이 매번 세척 후 즉시 시행
| 검사자: | ||
| 항목 | 날짜 | 정보 |
| 1 | ||
| 2 | ||
| 3 | ||
| 4 | ||
| 5 | ||
| 6 | ||
| 7 | ||
| 8 | ||
| 9 | ||
| 10 | ||
시동 스위치에 키를 꽂아 두면 누군가 우발적으로 엔진을 작동시켜 운전자나 주변에 있는 사람에게 중상을 입힐 수 있습니다.
유지보수 작업을 하기 전에 시동 스위치에서 키를 빼십시오.
정기 유지보수 및/또는 엔진 진단을 위해 엔진을 작동시킬 때, 잭 스탠드로 후방 차축을 지지한 상태에서 스프레이어 후방 휠이 지상 25 mm 위에 떠 있게 하십시오.
잭 위에 놓인 스프레이어는 불안정하며 잭에서 미끄러져 아래의 작업자가 부상을 입을 수 있습니다.
항상 스프레이어를 떠나기 전에 시동 스위치에서 키를 빼십시오.
잭에 스프레이어를 올려놓을 경우 타이어를 굄목으로 지지하십시오.
잭 스탠드로 장비를 지지하십시오.
스프레이어 전방의 재킹 위치는 전방 차축 아래, 판 스프링 바로 아래입니다(그림 63).

스프레이어 후방 재킹 위치는 붐 지지대가 있는 후방입니다(그림 64).

주차 브레이크를 걸고, 스프레이 펌프를 끄고, 엔진을 정지시킨 다음 키를 뺍니다.
장비의 전방 및 후방을 들어 올리고 잭 스탠드로 지지합니다. 스프레이어 올리기를 참조하십시오.
섀시에 전면 전방 히트 실드를 고정하는 6개의 육각 볼트 및 6개의 와셔를 제거하고 히트 실드를 분리합니다(그림 65).
Note: 전방 히트실드 설치의 설치 절차를 위해 볼트, 와셔 및 히트 실드를 보관하십시오.

전방 히트 실드의 후방 플랜지를 후방 히트 실드의 전방 플랜지 위로 정렬합니다(그림 66).

전방 히트 실드의 구멍을 섀시의 나사산 구멍과 정렬합니다(그림 66).
전방 히트실드 분리의 3단계에서 제거한 6개의 육각 볼트 및 6개의 와셔(그림 66)로 장비에 전방 히트 실드를 조입니다.
1978~2542 N∙cm 토크로 볼트를 조입니다.
잭 스탠드를 치우고 장비를 내립니다.
언더캐리지 슈라우드 후방을 장비 섀시에 고정하는 5개의 플랜지 헤드 볼트(5/16 x 7/8 인치) 및 5개의 와셔(5/16 인치)를 제거합니다(그림 67).
Note: 언더캐리지 슈라우드 설치의 5 단계의 설치 작업을 위해 플랜지 헤드 볼트 및 와셔를 보관하십시오.


언더캐리지 슈라우드의 장착 탭을 장비의 엔진 마운트 브래킷에 고정하는 볼트 및 캐리지 볼트에서 4개의 플랜지 록너트(5/16 인치)를 제거합니다(그림 68).
Note: 장비에서 볼트를 제거하지 마십시오. 언더캐리지 슈라우드 설치의 3 단계의 설치를 위해 플랜지 록너트를 보관하십시오.

언더캐리지 슈라우드를 엔진 마운트 브래킷에 고정하는 볼트에서 장착 탭을 분리합니다.
언더캐리지 슈라우드를 장비의 바닥 섀시에 정렬합니다. 언더캐리지 슈라우드 분리의 그림 68을 참조하십시오.
장비의 엔진 마운트 브래킷에 있는 볼트 및 캐리지 볼트 위로 언더캐리지 슈라우드의 장착 탭을 가져갑니다. 언더캐리지 슈라우드 분리의 그림 68을 참조하십시오.
언더캐리지 슈라우드 분리의 2단계에서 제거한 4개의 플랜지 록너트(5/16 인치)로 언더캐리지 슈라우드를 엔진 마운트 브래킷 및 볼트를 조립합니다(그림 68).
언더캐리지 슈라우드 후방에 있는 구멍을 섀시 구멍과 정렬합니다. 언더캐리지 슈라우드 분리의 그림 67를 참조하십시오.
언더캐리지 슈라우드 분리의 1단계에서 제거한 5개의 플랜지 헤드 볼트(5/16 x 7/8 인치) 및 5개의 와셔(5/16 인치)로 언더캐리지 슈라우드 후방을 섀시에 조립합니다(그림 67).
1129~1582 N∙cm 토크로 너트 및 볼트를 조입니다.
좌석 베이스 액세스 패널 구멍을 좌석 베이스 구멍과 정렬합니다(그림 69).
좌석 베이스 액세스 패널 분리의 1단계에서 제거한 2개의 플랜지 헤드 볼트로 좌석 베이스 액세스 패널을 좌석 베이스에 조립합니다(그림 69).
1975~2542 N∙cm 토크로 볼트를 조입니다.
| 유지보수 서비스 간격 | 유지보수 절차 |
|---|---|
| 매 50시간 |
|
그리스 유형: 리튬 그리스 2호. Toro 지정 판매 대리점에서 Toro 프리미엄 다목적 그리스를 구할 수 있습니다.
스티어링 실린더—각 실린더 로드 끝에 있는 2개의 구리스 피팅
스티어링 로드—각 로드 끝에 있는 2개의 구리스 피팅
스핀들 피벗—각 장비 측면에 있는 2개의 구리스 피팅
삐져나온 그리스를 닦아냅니다.
Note: 그림 71에 구리스 피팅 위치가 표시되어 있습니다.


| 유지보수 서비스 간격 | 유지보수 절차 |
|---|---|
| 매 100시간 |
|
Important: 붐 힌지를 물로 세척한 경우, 힌지 어셈블리에 있는 모든 물과 잔해를 없앤 다음 새 그리스를 도포하십시오.
그리스 유형: 리튬 그리스 2호.
구리스 피팅을 깨끗하게 닦아내어, 이물질이 베어링이나 부싱에 밀려 들어가지 못하게 합니다.
각 피팅의 베어링 및 부싱으로 그리스를 펌핑합니다(그림 73).

삐져나온 그리스를 닦아냅니다.
각 붐 피벗에 대해 이 절차를 반복합니다.
| 유지보수 서비스 간격 | 유지보수 절차 |
|---|---|
| 매 400시간 |
|
그리스 유형: 리튬 그리스 2호.
외부 스프레이 섹션을 살포 위치로 내립니다.
클레비스 핀에서 헤어핀을 뺍니다(그림 74).
섹션을 들어 올리고, 클레비스 핀을 분리한 다음 섹션을 바닥으로 서서히 내립니다(그림 74).
클레비스 핀의 손상을 검사하고 필요 시 교체합니다.

로드 말단 베어링을 돌리고 베어링에 그리스를 칠합니다(그림 75).
Note: 삐져나온 그리스를 닦아냅니다.

스프레이 섹션을 들어 올리고 피벗과 액추에이터 로드를 정렬합니다.
스프레이 섹션을 지지하면서 붐 피벗과 액추에이터 로드를 통해 클레비스 핀을 삽입합니다(그림 74).
핀을 제자리에 두고 스프레이 섹션을 놓고 이전에 제거한 헤어핀으로 클레비스 핀을 고정합니다.
장비의 다른 측면에서 액추에이터 로드 베어링에 대해 2~8 단계를 반복합니다.
오일을 점검하거나 크랭크케이스에 오일을 보충하기 전에 엔진을 끄십시오.
| 유지보수 서비스 간격 | 유지보수 절차 |
|---|---|
| 매번 사용하기 전 또는 매일 |
|
주차 브레이크를 걸고, 스프레이 펌프를 끄고, 엔진을 정지시킨 다음 키를 뺍니다.
탑승석을 앞으로 기울이고 받침대를 받침대 가이드 슬롯의 디텐트에 정렬합니다.
먼지 캡 및 에어 클리너 본체를 청소합니다(그림 76).

에어 클리너 본체가 손상되면 공기가 샐 수 있으니 이를 점검하십시오(그림 76).
Note: 먼지 캡 및 에어 클리너 본체가 손상되었으면 교체하십시오.
먼지 밸브를 잡아 빼고 때, 먼지 및 잔해를 청소합니다(그림 76).
먼지 캡을 에어 클리너 본체에 고정하는 2개의 래치를 풉니다.
에어 필터 엘리먼트에 먼지, 때 및 잔해가 많이 쌓였는지 점검합니다(그림 76).
Note: 더러워진 에어 필터 엘리먼트를 청소하지 마십시오. 그 대신 에어 필터 엘리먼트를 교환하십시오.
에어 클리너 본체에 먼지 캡을 설치하고 2개의 래치로 캡을 고정합니다(그림 76).
Note: 끝에서 봤을 때 먼지 밸브가 5시에서 7시 방향에 있어야 합니다.
탑승석을 다시 내립니다.
| 유지보수 서비스 간격 | 유지보수 절차 |
|---|---|
| 매 100시간 |
|
새 필터를 설치할 경우, 새 에어 필터 엘리먼트에 대해 필터의 밀봉 말단을 포함하여 운송 중 손상되었는지 검사하십시오.
Important: 손상된 필터는 설치하지 마십시오.
먼지 캡 및 에어 클리너 본체를 청소합니다(그림 76).
냉각수 오버플로 탱크를 위로 올리고 탱크 지지 브래킷을 제거합니다(그림 77).

먼지 캡을 에어 클리너 본체에 고정하는 2개의 래치를 풉니다(그림 77).
이전 필터 엘리먼트를 에어 클리너 본체에서 조심스럽게 밀어내서 먼지 떨어짐을 줄입니다.
Note: 에어 클리너 본체 쪽으로 필터 엘리먼트를 치지 마십시오.
에어 필터 엘리먼트를 에어 클리너 본체에 삽입합니다(그림 77).
Note: 필터를 설치할 때 필터 엘리먼트의 바깥쪽 가장자리를 눌러 필터가 에어 클리너 본체에 적절하게 안착되었는지 확인하십시오. 필터 가운데 부분은 변형될 수 있으므로 누르지 마십시오.
에어 클리너 본체에 커버를 설치하고 2개의 래치로 커버를 고정합니다(그림 77).
Note: 끝에서 봤을 때 먼지 밸브가 5시에서 7시 방향에 있어야 합니다(그림 77).
냉각수 오버플로 탱크를 탱크 지지 브래킷에 맞추고 탱크를 견고하게 안착시킵니다(그림 77).
Important: 그림 77와 같이 압력 릴리프 호스가 전방 아래로 놓였으며 탱크 통기 호스가 후방으로 놓였는지 확인하십시오.
탑승석을 다시 내립니다.
오일 유형: API 서비스 등급 SL 이상
오일 점도: 아래의 엔진 오일 점도표를 참조하십시오.
| 상온 범위 | 오일 점도 |
| 25°C 이상 | SAE30, SAE10W-30, 또는 SAE15W-40 |
| 0°C ~ 25°C | SAE20 또는 SAE10W-30 |
| 0°C ~ 20°C | SAE10W 또는 SAE10W-30 |
판매 대리점을 통해 점도가 15W40 또는 10W30인 Toro 프리미엄 엔진 오일을 구입할 수 있습니다. 부품 번호는 부품 카탈로그를 참조하십시오.
| 유지보수 서비스 간격 | 유지보수 절차 |
|---|---|
| 매번 사용하기 전 또는 매일 |
|
Note: 엔진 오일을 점검하기에 가장 좋은 시간은 일과 시작 전 엔진이 식어 있을 때입니다. 엔진이 작동되었다면 점검하기 최소 10분 전에 오일이 기름통으로 다시 빠져나가도록 하십시오.
크랭크케이스에 오일이 담긴 상태에서 엔진을 선적하지만, 엔진을 첫 시동하기 전이나 작동한 후 오일량을 확인해야 합니다.
평평한 곳에 장비를 주차합니다.
탑승석 아래에 있는 계량봉을 제거하고 깨끗한 헝겊으로 닦습니다(그림 78).
Note: 튜브에 계량봉을 넣고 완전히 안착시키십시오. 계량봉을 빼내서 오일 레벨을 확인하십시오.


오일 레벨이 낮으면 밸브 커버에서 주입구 캡을 제거한 다음 주입구로 오일을 보충하여 오일 레벨이 계량봉의 Full 표시까지 올라가도록 합니다(그림 78).
Note: 보충 중 오일을 천천히 붓고 레벨을 자주 확인하십시오. 오일을 과도하게 보충하지 마십시오.
오일 주입구 캡을 장착합니다(그림 78).
계량봉을 제자리에 끼웁니다(그림 78).
| 유지보수 서비스 간격 | 유지보수 절차 |
|---|---|
| 처음 50시간 후 |
|
| 매 200시간 |
|
전방 히트 실드를 분리합니다. 전방 히트실드 분리를 참조하십시오.
좌석을 올립니다.
스프레이어를 작동한 뒤 좌석 아래 부품이 뜨거워집니다. 뜨거운 부품을 만지면 화상을 입을 수 있습니다.
유지보수 작업을 수행하거나 후드 아래 부품을 만지기 전에 스프레이어를 식히십시오.
엔진 오일 필터 아래에 드레인 팬을 맞춰 놓습니다(그림 79).

기존 오일 필터를 제거합니다(그림 79).
Note: 사용한 오일 필터는 공인 재활용 센터에서 폐기합니다.
헝겊으로 엔진의 오일 필터 어댑터 표면을 깨끗하게 닦습니다.
오일 필터에 지정된 오일을 채웁니다.
Note: 필터 엘리먼트가 오일로 적셔지도록 하십시오.
교환 오일 필터의 고무 개스킷에 지정 오일을 얇게 바릅니다.
오일 필터를 필터 어댑터에 설치하고, 고무 개스킷이 필터 어댑터에 닿을 때까지 오일 필터를 시계 방향으로 돌린 다음 필터를 1/2 바퀴 더 돌려 조입니다(그림 79).
Note: 오일 필터를 과도하게 조이지 마십시오.
흘린 오일을 닦아냅니다.
필터 포함 5.1 L. 엔진 오일 규격을(를) 참조하십시오.
| 유지보수 서비스 간격 | 유지보수 절차 |
|---|---|
| 처음 50시간 후 |
|
| 매 200시간 |
|
드레인 플러그 아래에 드레인 팬을 맞춰 놓습니다(그림 79).
드레인 플러그(그림 79)를 분리하고 오일이 완전히 배출되게 합니다.
Note: 드레인 플러그 씰이 마모되거나 손상되었는지 점검하고 씰이 마모되거나 손상된 경우 씰을 교체하십시오.
Note: 사용한 오일은 공인 재활용 센터에서 폐기합니다.
드레인 플러그를 엔진 오일 팬의 드레인 포트에 설치하고 33~37 N∙m 토크로 플러그를 조입니다.
탑승석을 앞으로 기울이고 받침대를 받침대 가이드 슬롯의 디텐트에 정렬합니다.
엔진 밸브 커버의 주입구에서 오일 주입구 캡을 제거하고 주입구로 약 80%의 지정 오일을 천천히 보충합니다(그림 80).

계량봉을 빼내서 엔진의 오일 레벨을 확인합니다(그림 80).
오일량이 계량봉의 Full 표시에 도달할 때까지 지정 오일을 추가적으로 보충합니다(그림 80).
Important: 엔진에 오일을 과도하게 주입하면 엔진이 손상될 수 있습니다.
오일 주입구 캡을 주입구 넥에 장착하고 계량봉을 계량봉 튜브에 장착합니다(그림 80).
엔진을 시동하고 오일에 누출이 있는지 점검합니다.
엔진을 끄고 2~3분간 기다린 후 계량봉을 제거하고 엔진의 오일 레벨을 점검합니다.
Note: 필요한 경우 오일 주입구 캡을 분리하고 지정된 오일을 보충하여 오일 레벨을 계량봉의 Full 표시까지 오도록 한 다음 오일 주입구 캡을 장착합니다.
계량봉, 엔진 가열 실드를 장착하고 시트를 아래로 기울입니다.
| 유지보수 서비스 간격 | 유지보수 절차 |
|---|---|
| 매 1,000시간 |
|
| 유지보수 서비스 간격 | 유지보수 절차 |
|---|---|
| 매 400시간 |
|
엔진 사용 설명서에 명시된 모든 연간 유지보수 절차를 수행하십시오.
특정 환경에서 연료와 연료 증기는 가연성이 매우 높고 폭발성이 있습니다. 연료로 인한 화재나 폭발은 자신과 타인에게 화상을 입힐 수 있으며 재산상의 피해를 초래할 수도 있습니다.
엔진을 끄고, 식힌 후 야외의 열린 공간에서 탱크의 연료를 주입하십시오. 흘린 연료를 닦습니다.
연료 탱크를 완전히 가득 채우지 마십시오. 연료 탱크에 연료를 추가하여 레벨이 연료 주입구 하단에서 25 mm가 되게 하십시오. 탱크 내의 이 빈 공간은 연료가 팽창하는 데 필요합니다.
연료를 취급할 때 절대 담배를 피워서는 안 되며, 화염이 있는 곳이나 불꽃으로 인해 연료 가스에 불이 붙을 수 있는 곳에서 멀리 떨어지십시오.
연료는 깨끗하고 안전 승인을 받은 연료 용기에 보관하고 캡은 닫아 두십시오.
| 유지보수 서비스 간격 | 유지보수 절차 |
|---|---|
| 처음 50시간 후 |
|
| 매 400시간 |
|
라인 및 피팅에 변질, 손상된 부분이나 느슨한 연결 부위가 있는지 검사합니다.
Note: 연료가 누출된 부분이 있다면 장비를 작동하기 전에 연료 부품을 수리하십시오.
연료 필터를 정비하거나 엔진에 연료가 소진된 후 엔진이 시동되지 않는 경우 이 절차를 사용하십시오.
연료 탱크에 연료가 1/2 정도 차 있는지 확인합니다.
키를 스타터 스위치에 꽂고 ON(켜짐) 위치로 돌립니다.
키를 OFF(꺼짐) 위치로 돌립니다.
엔진을 시동해 보십시오.
엔진이 시동되지 않으면 2 및 3 단계를 여러 번 반복한 다음 엔진을 시동해 보십시오.
Note: 엔진이 시동될 때까지 5 단계를 반복하십시오.
| 유지보수 서비스 간격 | 유지보수 절차 |
|---|---|
| 매 400시간 |
|
주차 브레이크를 걸고, 스프레이 펌프를 끄고, 엔진을 정지시킨 다음 키를 뺍니다.
연료 탱크에서 연료 탱크 상단의 커버를 고정하는 4개의 나사(#10 x 3/4 인치)를 제거하고 커버를 분리합니다(그림 82).

연료 펌프/전송 장치의 2핀 커넥터에서 장비 와이어링 하니스의 2소켓 커넥터를 분리하고, 연료 펌프/전송 장치의 2소켓 커넥터에서 장비 와이어링 하니스의 2핀 커넥터를 분리합니다(그림 86).

연료 호스 커플링의 잠금 슬리브를 연료 펌프/전송 장치의 피팅에서 밀어 꺼내고 피팅에서 커플링과 호스를 제거합니다(그림 86).
Note: 호스 커플링 또는 연료 펌프 피팅에서 흘러나오는 연료를 모두 청소합니다.
연료 펌프/전송 장치의 너트를 시계 반대 방향으로 돌리고 너트 및 씰을 분리합니다(그림 86).
연료 펌프/전송 장치를 연료 탱크 넥 밖으로 조심스럽게 들어 올린 다음 돌리십시오(그림 87).
Important: 연료 펌프/전송 장치를 취급할 때 전송 장치의 플로트 암을 손상시키지 않도록 주의하십시오.

플로트 암과 픽업 튜브를 함께 지지하면서 플로트 및 연료 필터를 연료 탱크의 개구부에 밀어 넣습니다(그림 87).
Important: 플로트 및 필터의 롱 레그가 탱크 앞을 향하고 연료 펌프 상단의 피팅이 장비의 중심선에 대해 90°인지 확인합니다.
씰 및 너트를 연료 펌프/전송 장치 위에서 연료 탱크의 넥에 장착하고 너트를 손으로 조여 줍니다(그림 87).
연료 호스의 커플링을 연료 펌프의 피팅에 연결합니다(그림 87).
Note: 연료 호스 커플링의 잠금 슬리브가 커플링을 펌프 피팅에 고정하는지 확인하십시오.
장비 와이어링 하니스의 2소켓 커넥터를 연료 펌프/전송 장치의 2핀 커넥터에 연결하고, 장비 와이어링 하니스의 2핀 커넥터를 연료 펌프/전송 장치의 2소켓 커넥터에 연결합니다(그림 87).
스타터 스위치를 ON(켜짐) 위치로 돌리고 연료 호스 커플링에서 누출 여부를 점검하십시오.
Note: 커플링에 누출이 있는 경우, 스타터 스위치를 OFF(꺼짐) 위치로 돌리고 키를 제거한 다음 커플링을 제거하고 커플링 및 피팅에 먼지나 손상 여부를 점검하고 호스 및 커플링을 피팅 위에 설치하십시오.
Note: 다음 단계를 진행하기 전에 연료 누출을 모두 수리하십시오.
연료 펌프 커버 제거의 2 단계에서 제거한 4개의 나사(#10 x 3/4 인치)로 커버를 탱크에 조립합니다(그림 89).

113 N∙cm 토크로 나사를 조입니다.
| 유지보수 서비스 간격 | 유지보수 절차 |
|---|---|
| 매 400시간 |
|
연료 시스템이 오염되었거나 장비를 오래 보관하려면 연료 탱크를 비우고 청소하십시오. 연료 탱크를 청소할 때 신선하고 깨끗한 연료를 사용해서 탱크를 세척하십시오.
사이펀 펌프를 사용하여 탱크의 연료를 승인된 연료 용기로 옮깁니다. 주입구를 통해 연료 용기로 탱크의 나머지 연료를 주입하기 전에 장비에서 연료를 옮깁니다.
Note: 연료 탱크를 제거하기로 결정한 경우, 연료 펌프 및 이송 장치에서 연료 호스 및 전기 커넥터를 분리해야 합니다. 연료 펌프 및 전송 장치를 분리합니다.을 참조하십시오.
필요 시 신선하고 깨끗한 연료로 탱크를 씻어냅니다.
연료 필터를 교체합니다. 연료 필터 교체를 참조하십시오.
1단계에서 제거한 탱크를 장착합니다.
Note: 연료 탱크를 제거한 경우, 연료 펌프 및 이송 장치에 연료 호스 및 전기 커넥터를 연결해야 합니다. 연료 펌프 및 전송 장치를 설치합니다.을 참조하십시오.
신선하고 깨끗한 연료를 탱크에 채웁니다.
장비를 수리하기 전에 배터리 연결을 해제하십시오. 먼저 음극 단자의 연결을 해제한 다음 양극 단자의 연결을 해제하십시오. 먼저 양극 단자를 연결한 다음 음극 단자를 마지막으로 연결하십시오.
불똥이나 화염이 없으며 통풍이 잘 되는 개방된 곳에서 배터리를 충전하십시오. 충전기를 배터리에 연결하거나 연결 해제하기 전에 충전기 플러그를 뽑으십시오.
보호복을 입고 절연된 도구를 사용하십시오.
전기 시스템의 퓨즈 블록은 운전석 아래에 있습니다(그림 93).

| 유지보수 서비스 간격 | 유지보수 절차 |
|---|---|
| 매 50시간 |
|
항상 배터리를 깨끗하고 완전히 충전된 상태로 유지하십시오. 종이 타월로 배터리 및 배터리 박스를 청소하십시오. 배터리 단자가 부식되면 물과 베이킹 소다를 4대 1로 섞은 용액으로 청소하십시오. 배터리 단자에 가볍게 그리스를 칠해 부식을 방지하십시오.
전압: 12 V, 690 콜드 크랭킹 암페어, @-18°C
평평한 곳에 스프레이어를 주차하고, 주차 브레이크를 걸고, 스프레이 펌프를 정지시키고, 엔진을 끈 다음 키를 뺍니다.
배터리 커버를 분리하고 배터리 포스트에서 음극 접지 케이블(검은색)을 분리합니다(그림 94).

배터리 케이블 배선이 잘못되면 스프레이어 및 케이블을 손상시켜 스파크가 발생할 수 있습니다. 불꽃이 튀면 배터리 가스가 폭발하여 부상을 당할 수 있습니다.
항상 음극(검은색) 배터리 케이블을 분리한 다음 양극(적색) 케이블을 분리하십시오.
항상 양극(적색) 배터리 케이블을 연결한 다음 음극(검은색) 케이블을 연결하십시오.
배터리 단자 또는 금속 공구는 금속 스프레이어 부품에 합선을 일으켜 불꽃이 발생할 수 있습니다. 불꽃이 튀면 배터리 가스가 폭발하여 부상을 당할 수 있습니다.
배터리를 제거하거나 장착할 때 배터리 단자가 스프레이어의 금속 부품에 접촉하지 않도록 하십시오.
금속 공구가 배터리 단자와 스프레이어의 금속 부품 사이에서 합선을 유발하지 않도록 하십시오.
배터리 스트랩을 제자리에 끼워 배터리를 보호하십시오.
배터리 포스트에서 양극(적색) 케이블을 분리합니다.
배터리를 분리합니다.
배터리를 배터리 박스에 놓아 배터리 포스트가 스프레이어에서 멀어지도록 합니다.
볼트와 너트를 사용해서 양극 케이블(적색)을 양극(+) 배터리 포스트에, 음극 케이블(검은색)을 음극(-) 배터리 포스트에 연결합니다.
배터리 양극 포스트 너머로 절연체 부츠를 밀어 냅니다.
배터리 커버를 설치하고 이전에 제거한 스트랩으로 고정합니다(그림 94).
Important: 항상 배터리 리테이너를 제자리에 끼워 배터리를 보호하고 고정하십시오.
장비를 30일 이상 보관할 경우, 배터리를 분리하여 완전히 충전하십시오. 그리고 선반 또는 장비에 보관하십시오. 배터리를 장비에 보관할 경우 배터리 케이블을 분리하십시오. 배터리의 빠른 방전을 방지하기 위해 차가운 환경에서 배터리를 보관하십시오. 배터리가 어는 것을 방지하기 위해 완전히 충전하십시오.
| 유지보수 서비스 간격 | 유지보수 절차 |
|---|---|
| 처음 8시간 후 |
|
| 처음 200시간 후 |
|
| 매 100시간 |
|
| 매 400시간 |
|
프론트 휠의 러그 너트에 75~102 N∙m의 토크를 가하고 후방 휠의 러그 너트에 95~122 N∙m의 토크를 가합니다.
연석에 부딪치는 등의 사고가 발생하면 타이어 또는 림이 손상될 수 있으며 휠 얼라인먼트가 틀어지므로 사고 후 타이어 상태를 점검하십시오.
SAE 85W-140 기어 오일
| 유지보수 서비스 간격 | 유지보수 절차 |
|---|---|
| 매 400시간 |
|

장비를 평지에 주차하고, 주입 플러그가 최고 높은 위치(12시 방향)에 있고 드레인 플러그가 최고 낮은 위치(6시 방향)에 있도록 휠을 배치합니다(그림 96).

체크 플러그를 제거합니다(그림 53).
체크 플러그 구멍의 나사산 하단에서 오일 레벨을 볼 수 있습니다.

체크 플러그의 O-링에 손상 부위가 있는지 확인합니다.
O-링이 손상된 경우 교환합니다.
오일 레벨이 낮으면, 주입 플러그를 제거하고 오일가 체크 플러그 구멍으로 흐를 때까지 지정 오일을 보충합니다(그림 98). 유성 기어 드라이브 오일 규격을 참조하십시오.

주입 플러그의 O-링에 손상 부위가 있는지 확인합니다.
O-링이 손상된 경우 교환합니다.
주입 플러그 및 체크 플러그를 설치합니다(그림 98).
장비의 다른 측면에서 유성 기어 드라이브에 대해 1~6 단계를 반복합니다.
| 유지보수 서비스 간격 | 유지보수 절차 |
|---|---|
| 처음 50시간 후 |
|
| 매 800시간 |
|
장비를 평지에 주차하고, 주입 플러그가 최고 높은 위치(12시 방향)에 있고 드레인 플러그가 최고 낮은 위치(6시 방향)에 있도록 바퀴를 배치합니다. 유성 기어 드라이브 오일 점검의 그림 96을 참조하십시오.
유성 기어 드라이브의 허브 아래에 드레인 팬을 놓고, 드레인 플러그, 주입 플러그 및 체크 플러그를 제거하여 오일를 완전히 배출하십시오(그림 99).

드레인 및 주입 플러그에 금속 부스러기가 있는지 검사합니다.
드레인 및 주입 플러그가 금속 부스러기로 덮인 경우 유성 기어 드라이브를 수리합니다.
드레인 플러그, 주입 플러그 및 체크 플러그의 O-링에 손상이 있는지 점검합니다.
O-링이 손상된 경우 교환합니다.
드레인 플러그를 장착합니다.
브레이크 하우징 아래에 드레인 팬을 놓고 드레인 플러그를 제거하여 오일가 완전히 배출되도록 합니다(그림 100).

브레이크 하우징에 드레인 플러그를 장착합니다.
0.62 L, 유성 기어 드라이브 오일 규격을 참조하십시오.
주입 플러그 구멍을 통해 지정된 기어 오일을 서서히 보충합니다. 유성 기어 드라이브 오일 점검의 그림 98을 참조하십시오.
체크 플러그 구멍의 나사산 하단에서 오일 레벨을 볼 수 있습니다.
Important: 지정 오일 용량을 보충하기 전에 유성 기어 드라이브에 오일이 가득 찬 경우 1시간 동안 기다리거나, 플러그를 설치한 다음 장비가 약 3 m 이동하여 오일이 브레이크 시스템에 분산되도록 하십시오. 그런 다음 플러그를 빼고 남은 오일을 채우십시오.
오일이 가라앉도록 10분 정도 기다린 다음 오일 레벨을 확인하고, 필요 시 체크 플러그 구멍의 나사산 하단 레벨까지 올라오도록 오일을 보충합니다.
주입 플러그 및 체크 플러그를 설치합니다. 유성 기어 드라이브 오일 점검의 그림 98을 참조하십시오.
장비의 다른 측면에서 유성 기어 드라이브에 대해 유성 기어 드라이브 오일 배출 및 유성 기어 드라이브에 오일 주입의 절차를 반복합니다.
| 유지보수 서비스 간격 | 유지보수 절차 |
|---|---|
| 매 200시간 |
|
타이어의 전방 중심선과 타이어의 후방 중심선 사이에 0~3 mm 간격이 있어야 합니다.
모든 타이어를 점검하고 공기를 주입합니다. 타이어 공기압 점검을 참조하십시오.
프론트 타이어 앞뒤 차축 높이에서 프론트 타이어 두 개 사이의 거리를 측정합니다(그림 101).
Note: 타이어 앞쪽 사이의 거리가 프론트 타이어 뒤쪽 사이의 거리보다 0~3 mm 짧아야 합니다.

측정치가 지정 범위 내에 있지 않으면 타이 로드 양쪽 끝에 있는 잼 너트를 풉니다(그림 102).

타이 로드를 돌려서 타이어 앞쪽을 안쪽 또는 바깥쪽으로 움직입니다.
올바르게 조정된 경우 타이 로드 잼 너트를 조입니다.
스티어링 휠이 양방향에서 같은 정도로 회전해야 합니다.
엔진 냉각수를 삼키면 중독될 수 있습니다. 어린이와 애완동물이 가까이하지 않도록 하십시오.
압력이 가해진 뜨거운 냉각수가 방출되거나 뜨거운 라디에이터 및 주변 부품을 건드리면 심한 화상을 입을 수 있습니다.
엔진을 끈 후 15분 이상 냉각시킨 다음에 라디에이터 캡을 여십시오.
라디에이터 캡을 열 때에는 헝겊을 사용하고 증기가 빠져나가도록 천천히 캡을 여십시오.
커버를 제자리에 장착하지 않고 장비를 작동하지 마십시오.
회전 팬 및 구동 벨트에 손가락, 손 및 옷이 걸리게 하지 마십시오.
공장 출하 시 냉각수 탱크에는 물과 에틸렌 글리콜 기반 수명 연장 냉각수 50/50 혼합액이 채워져 있습니다. 엔진을 처음 시동하기 전에 냉각수 레벨을 점검하고, 그 후 매일 점검하십시오. 냉각수 레벨 점검을 참조하십시오.
다음과 같은 상업적으로 사용 가능한 냉각수 또는 장기 사용 냉각수 사양을 충족하는 다른 제조업체 제품:
|
Ford (Motorcraft™) |
WSS-M97B44-D |
|
FCA—Chrysler (Mopar™) |
MS-12106 |
|
General Motors (AC Delco™) |
GM6277M (Dex-Cool™) |
|
GMW 3420 |
|
|
Volkswagen |
G12 |
|
G12+ |
|
|
G12++ |
|
|
기술 표준 ASTM D3306 또는 D4985, SAE J1034, J814, 또는 1941을 충족하는 냉각수. |
|
|
Important: 냉각수 색깔로 기존 냉각수(IAT) 및 수명 연장 냉각수(OAT) 유형의 차이점을 식별하지 마십시오.냉각수 제조업체는 수명 연장 냉각수(OAT)를 적색, 분홍색, 주황색, 노란색, 청색, 청록색, 보라색, 녹색 중 하나로 염색할 수 있습니다. |
|
|
에틸렌 글리콜 냉각수 유형 |
부식 방지 유형 |
정비 간격 |
|
수명 연장 부동액 |
유기산 기술(OAT) |
5년 |
|
기존 부동액(녹색) |
비유기산 기술(IAT) |
2년 |
Note: 장비에 냉각수를 보충할 때, 기존(IAT) 부동액을 수명 연장(OAT) 부동액과 혼합해도 냉각 시스템이 손상되지 않습니다. 그러나 부동액 유형을 혼합하면 OAT 제품의 장기 사용/수명 연장 속성이 저하될 수 있습니다.
Important: 기존(IAT) 및 수명 연장(OAT) 냉각수의 혼합액에 대한 정비 간격은 짧은 정비 간격의 냉각수를 따릅니다. 즉, 2년입니다.
| 유지보수 서비스 간격 | 유지보수 절차 |
|---|---|
| 매번 사용하기 전 또는 매일 |
|
엔진이 작동하고 있을 경우 냉각수가 뜨거우며 압력이 존재할 수 있습니다. 냉각수가 뜨거운 상태에서 라디에이터 캡을 열면 냉각수가 분출되어 작업자나 주변 사람에게 심각한 화상을 입힐 수 있습니다.
라디에이터 캡을 열기 전에 15분 이상 엔진을 식히십시오.
Important: 엔진이 완전히 식기 전에 과열된 엔진에 냉각수를 보충하지 마십시오. 과열된 엔진에 냉각수를 보충하면 엔진 블록에 균열이 있을 수 있습니다.
평평한 곳에 스프레이어를 주차합니다.
주차 브레이크를 걸고, 스프레이 펌프를 끄고, 엔진을 정지시킨 다음 키를 뺍니다.
라디에이터 캡과 팽창 탱크 캡을 조심스럽게 엽니다(그림 103).

라디에이터 및 팽창 탱크의 냉각수 레벨을 확인합니다.
Note: 주입구 상단까지 라디에이터에 냉각수를 보충하고 팽창 탱크의 Full 표시까지 탱크를 채웁니다(그림 103).
냉각수 레벨이 낮으면, 팽창 탱크 캡 및 라디에이터 캡을 제거하고 팽창 탱크의 Full 표시까지, 그리고 라디에이터 주입구 상단까지 냉각수를 보충합니다(그림 103).
Important: 팽창 탱크를 과도하게 채우지 마십시오.
Important: 물이나 알코올/메탄올 기반 냉각수를 사용하지 마십시오.
라디에이터 캡과 팽창 탱크 캡을 장착합니다(그림 103).
5.5 L, 냉각수 규격을 참조하십시오.
| 유지보수 서비스 간격 | 유지보수 절차 |
|---|---|
| 매 400시간 |
|
사용자 준비 장비: 휴대용 냉각수 온도계
평평한 곳에 스프레이어를 주차하고, 주차 브레이크를 걸고, 스프레이 펌프를 정지시키고, 엔진을 끈 다음 키를 뺍니다.
엔진이 식을 때까지 기다린 다음 라디에이터 캡을 분리합니다(그림 103).
라디에이터 아래에 큰 드레인 팬을 놓습니다.
드레인 밸브를 열고 냉각수를 팬으로 배출합니다(그림 104).

드레인 밸브를 닫습니다(그림 104).
라디에이터 캡을 분리합니다(그림 103).
캡의 밀봉 표면에서 약 2.5 cm 아래까지 라디에이터에 냉각수를 천천히 채웁니다.
Note: 엔진 및 시스템 라인을 채울 정도의 충분한 냉각수를 사용하십시오. 엔진을 예열할 때 넘치지 않으면서 냉각수가 퍼질 수 있습니다.
라디에이터 캡을 느슨하게 한 상태에서 엔진의 시동을 겁니다(그림 103).
온도 조절 장치가 열릴 때까지 엔진을 예열합니다.
Note: 휴대용 온도계의 냉각수 온도가 79°~88°C 사이일 때 온도 조절 장치가 열려야 합니다.
냉각수가 예열되면 캡의 밀봉 표면까지 냉각수 레벨을 맞추고 캡을 조입니다(그림 103).
팽창 탱크 캡을 열고 탱크에 냉각수를 Cold 레벨까지 채웁니다(그림 103).
엔진을 몇 번 켰다 끈 후 냉각수 레벨을 확인합니다.
Note: 필요 시 냉각수를 라디에이터와 팽창 탱크에 보충합니다.
저항을 느낄 때까지 브레이크 페달의 유격이 2.5 cm 이상이면 다음과 같이 브레이크를 조정하십시오.
평평한 곳에 장비를 주차하고, 스프레이 펌프를 정지시키고, 엔진을 끈 다음 키를 뺍니다.
주차 브레이크를 겁니다.
장비가 움직이는 것을 방지하기 위해 바퀴를 굄목으로 지지합니다.
주차 브레이크를 풉니다.
스프레이어 전방 말단 아래에서 브레이크 케이블의 전방 잼 너트를 느슨하게 합니다(그림 105).

저항이 느껴지기 전까지 브레이크 페달이 1~2 cm 사이에서 움직이도록 후방 잼 너트를 동일하게 조입니다(그림 105).
Important: 전방 너트 전면에 있는 브레이크 케이블의 나사산 말단이 같은 길이가 되도록 양쪽 후방 너트를 동일하게 조입니다.
전방 잼 너트를 조입니다.
| 유지보수 서비스 간격 | 유지보수 절차 |
|---|---|
| 처음 8시간 후 |
|
| 매 100시간 |
|
알터네이터/냉각 팬 벨트의 상태와 장력을 점검합니다. 필요 시 벨트를 교체합니다.
평평한 곳에 스프레이어를 주차하고, 주차 브레이크를 걸고, 스프레이 펌프를 정지시키고, 엔진을 끈 다음 키를 뺍니다.
10 kg의 힘으로 알터네이터 및 크랭크 샤프트 풀리 사이의 중간 지점을 눌러서 알터네이터 벨트의 장력을 검사합니다.
Note: 벨트는 10~12 mm 사이에서 휘어야 합니다. 벨트가 너무 많이 휘면 3 단계를 진행하십시오. 벨트 장력이 정확하면 나머지 절차를 생략하고 스프레이어 작업을 재개할 수 있습니다.
알터네이터의 피벗 포인트에 있는 볼트를 풉니다. 알터네이터를 긴 구멍이 있는 브레이스에 고정하는 볼트를 풉니다(그림 106).

알터네이터와 엔진 사이에 프라이 바를 넣고 알터네이터 외부를 조심스럽게 비틉니다.
장력이 적절해지면 알터네이터 및 볼트를 조여서 조정값을 고정합니다.
록너트를 조여 조정값을 고정합니다.
유압 오일이 피부에 침투하면 즉시 의학적 치료를 받으십시오. 주입된 오일은 몇 시간 내에 의사가 수술 방식으로 제거해야 합니다.
작업을 하는 경우 먼저 유압 시스템의 모든 압력을 배출하십시오.
모든 유압 오일 호스 및 라인의 상태가 양호하고 모든 유압 연결부 및 피팅이 단단히 조여 있는지 확인한 후에 유압 시스템에 압력을 가하십시오.
고압의 유압 오일이 분출되는 핀 홀 누출 부위나 노즐에 손이나 신체 부위가 닿지 않게 하십시오.
유압 오일 누출 지점은 판지나 종이를 사용하여 찾으십시오.
출고 시 유압 오일 탱크는 고품질 유압 오일로 채워져 있습니다. 엔진을 처음 시동하기 전, 그리고 그 후에는 매일 유압 오일량을 점검하십시오. 유압 오일 점검을 참조하십시오.
권장 유압 오일: Toro PX 수명 연장 유압 오일. 19 L들이 통이나 208 L들이 드럼으로 구입할 수 있습니다.
Note: 권장 교체 오일을 사용하는 장비는 오일과 필터를 교체해야 하는 빈도가 적습니다.
대체 유압 오일: Toro PX 수명 연장 유압 오일을 구할 수 없는 경우, 다음 모든 물질 속성에 대해 명시된 범위 내이며 산업 표준을 충족하는 규격의 기존에 사용하던 다른 석유계 유압 오일을 사용할 수 있습니다. 합성유는 사용하지 마십시오. 적절한 제품을 알아보려면 오일 판매 대리점에 문의하십시오.
Note: Toro는 부적절한 대체 제품으로 인해 발생하는 손상에 대해 책임지지 않습니다. 따라서 권장 제품을 보증하는 유명 제조사의 제품만 사용하십시오.
| 물질 속성: | ||
| 점도, ASTM D445 | cSt @ 40°C 44~48 | |
| 점도 지수 ASTM D2270 | 140 이상 | |
| 유동점, ASTM D97 | -37°C ~ -45°C | |
| 업계 표준: | Eaton Vickers 694(I-286-S, M-2950-S/35VQ25 또는 M-2952-S) | |
Note: 많은 유압 오일이 거의 무색이어서 누출 여부를 알기 어렵습니다. 유압 오일용 붉은색 첨가제는 20 ml 들이 병으로 판매됩니다. 한 병이면 유압 오일 15~22 L에 충분히 사용할 수 있습니다. Toro 공식 판매 대리점에서 부품 번호가 44-2500인 부품을 주문하십시오.
Important: Toro 프리미엄 합성 생분해성 유압 오일은 Toro에서 승인한 유일한 합성 생분해성 오일입니다. 이 유압 오일은 Toro 유압 시스템에 사용되는 엘라스토머와 호환이 가능하며, 다양한 온도 조건에 적합합니다. 이 유압 오일은 기존의 광유와도 호환이 가능하지만, 최고의 생분해성과 성능을 내기 위해서는 유압 시스템에서 기존 오일을 완전히 씻어내야 합니다. 이 오일은 Toro 공식 판매 대리점에서 19 L들이 통이나 208 L들이 드럼으로 구입하실 수 있습니다.
| 유지보수 서비스 간격 | 유지보수 절차 |
|---|---|
| 매번 사용하기 전 또는 매일 |
|
Important: 오일이 오염되면, Toro 공식 판매 대리점에 연락하여 시스템을 세척하십시오.오염된 오일은 깨끗한 오일에 비해 우윳빛이나 검게 보입니다.
평평한 곳에 스프레이어를 주차하고, 주차 브레이크를 걸고, 스프레이 펌프를 정지시키고, 엔진을 끈 다음 키를 뺍니다.
유압 오일 탱크 계량봉 주위를 청소하고 계량봉을 분리합니다(그림 107).

Important: 오일을 점검할 때 구멍 안으로 먼지나 기타 오염 물질이 들어가지 않도록 조심하십시오.
헝겊으로 계량봉을 깨끗히 닦고 탱크에서 완전히 교체합니다.
주입구에서 계량봉을 분리하고 오일 레벨을 확인합니다(그림 108).
Note: 오일이 차가울 때 오일 레벨은 계량봉 하부 표시에 놓여야 합니다.

오일량이 낮으면 레벨이 하단 표시에 도달할 때까지 지정된 유압 오일을 탱크에 보충합니다. 유압 오일 규격을 참조하십시오.
계량봉 캡을 탱크에 장착하고 고정합니다.
| 유지보수 서비스 간격 | 유지보수 절차 |
|---|---|
| 매 800시간 |
|
| 매 1,000시간 |
|
뜨거운 유압 오일로 인해 심각한 화상을 입을 수 있습니다.
유압 시스템의 유지보수 작업을 수행하기 전에 유압 오일을 식히십시오.
Important: 다른 필터를 사용하면 일부 부품의 보증이 무효화될 수 있습니다.
교환용 Toro 필터를 사용하십시오(정확한 부품 번호는 부품 설명서를 참조하십시오).
평평한 곳에 스프레이어를 주차하고, 주차 브레이크를 걸고, 스프레이 펌프를 정지시키고, 엔진을 끈 다음 키를 뺍니다.
장비에 있는 2개의 유압 필터를 찾습니다(그림 109 및 그림 110).
Note: 1개의 필터는 유압 오일 탱크 아래에 있으며 다른 필터는 장비 후면의 프레임에 있습니다.
전방 필터—유압 탱크 아래.

후방 필터—장비 프레임에 있음.

필터 장착 부위를 청소합니다.
필터 아래에 드레인 팬을 놓습니다.
필터를 분리합니다.
사용한 필터는 공인 재활용 센터에서 폐기합니다.
깨끗한 유압 오일로 새 필터 개스킷을 윤활 처리합니다. 유압 오일 점검을 참조하십시오.
헝겊으로 필터 장착 부위를 깨끗히 청소합니다.
개스킷이 장착 플레이트와 닿을 때까지 필터를 돌려서 끼우고 필터를 추가로 1/2 바퀴 조입니다.
엔진의 시동을 걸고, 스로틀을 고속 공회전에 놓고, 엔진을 3~5분 동안 가동시켜 유압 시스템에서 공기를 빼냅니다.
엔진을 정지시키고 유압 오일 레벨과 누출을 확인합니다. 유압 오일 점검을 참조하십시오.
54 L, 유압 오일 규격을 참조하십시오.
| 유지보수 서비스 간격 | 유지보수 절차 |
|---|---|
| 매 800시간 |
|
| 매 2,000시간 |
|
뜨거운 유압 오일로 인해 심각한 화상을 입을 수 있습니다.
유압 시스템의 유지보수 작업을 수행하기 전에 유압 오일을 식히십시오.
Important: 다른 오일을 사용하면 일부 부품의 보증이 무효화될 수 있습니다.
유압 오일 필터를 교체합니다. 유압 필터 교체를 참조하십시오.
유압 오일 탱크 하부에 있는 유압 호스 피팅 주변을 청소합니다(그림 111).

유압 탱크 피팅 아래에 큰 드레인 팬을 놓습니다.
탱크의 호스 피팅을 제거하고 오일을 팬으로 배출합니다(그림 111).
사용한 오일은 공인 재활용 센터에서 폐기합니다.
탱크에 호스와 피팅을 설치하고 단단히 조입니다.
약 53 L의 지정된 유압 오일 또는 동종품을 유압 오일 탱크에 채웁니다. 유압 오일 규격을 참조하십시오.
엔진의 시동을 걸고, 스로틀을 고속 공회전에 놓고, 엔진을 3~5분 동안 가동시켜 유압 시스템에서 공기를 빼냅니다.
엔진을 정지시키고 유압 오일 레벨과 누출을 확인합니다. 유압 오일 점검을 참조하십시오.
| 유지보수 서비스 간격 | 유지보수 절차 |
|---|---|
| 매 200시간 |
|
| 매 400시간 |
|
깨진 부위, 누수 또는 기타 손상된 곳이 없는지 스프레이 시스템의 호스를 검사하십시오. 또한, 연결 부위 및 피팅의 손상이 없는지 검사하십시오. 손상된 경우 호스 및 피팅을 교환하십시오.
| 유지보수 서비스 간격 | 유지보수 절차 |
|---|---|
| 매 400시간 |
|
Note: 작업에 필요한 적절한 흡입 필터 메시 크기를 결정합니다. 흡입 필터 선택을 참조하십시오.
평지에 장비를 주차하고, 주차 브레이크를 체결하고, 펌프를 끄고, 엔진을 끄고 키를 뺍니다.
스프레이어 탱크 상단에서 필터 하우징의 대형 호스에 부착된 호스 피팅을 고정하는 리테이너를 제거합니다(그림 112).

호스 및 호스 피팅을 필터 하우징에서 제거합니다(그림 112).
탱크의 필터 하우징에서 기존 흡입 필터를 제거합니다(그림 113).
Note: 기존 필터를 폐기합니다.

필터 하우징에 새 흡입 필터를 장착합니다.
Note: 필터를 완전히 안착시키십시오.
호스와 호스 피팅을 탱크 상단의 필터 하우징에 정렬하고 2 단계에서 제거한 리테이너에 피팅과 하우징을 고정합니다.
| 유지보수 서비스 간격 | 유지보수 절차 |
|---|---|
| 매 400시간 |
|
평평한 곳으로 장비를 이동시키고, 스프레이 펌프를 끄고, 엔진을 정지시킨 다음 키를 뺍니다.
압력 필터 아래에 드레인 팬을 맞춰 놓습니다(그림 114).

배출 플러그를 반시계 방향으로 돌리고 압력 필터 통에서 분리합니다(그림 114).
Note: 통을 완전히 비웁니다.
통을 반시계 방향으로 돌려서 필터 헤드에서 분리합니다(그림 114).
기존 압력 필터 엘리먼트를 분리합니다(그림 114).
Note: 기존 필터를 폐기합니다.
드레인 플러그용 O-링(통 내부) 및 통의 O-링(필터 헤드 내부)이 손상되었거나 마모되었는지 검사합니다(그림 114).
Note: 플러그와 통의 O-링이 손상되었거나 마모되었으면 교체하십시오.
새 압력 필터 엘리먼트를 필터 헤드에 삽입합니다(그림 114).
Note: 필터 엘리먼트를 필터 헤드에 견고하게 안착시키십시오.
통을 필터 헤드에 장착하고 손으로 조입니다(그림 114).
플러그를 통에 장착하고 손으로 조입니다(그림 114).
Note: 작업에 필요한 적절한 노즐 필터 메시 크기를 결정합니다. 노즐 팁 필터 선택(옵션)을 참조하십시오.
주차 브레이크를 걸고 엔진의 시동을 건 다음 스로틀을 공회전으로 설정합니다.
상단 크래들 튜브에 근접할 때까지 좌측 또는 우측 외부 붐을 천천히 위로 올립니다.
하단 크래들 튜브를 고정하는 고정 나사 2개를 풉니다(그림 116).

크래들 튜브의 굽은 부위가 외부 붐의 상단 튜브에 있는 슬라이드 블록과 일치할 때까지 크래들 어셈블리를 돌립니다(그림 117).

19.78~25.42 N∙m 토크로 고정 나사 2개를 조입니다.
외부 붐을 내립니다.
처음으로 크래들에 닿을 때까지 다른 외부 붐을 천천히 위로 올립니다.
상단 크래들 튜브가 슬라이드 블록과 일치하지 않는다면 2~7 단계를 반복하십시오.
Note: 블록은 상단 크래들 튜브의 굽은 부위에서 크래들과 닿아야 합니다(그림 117).
외부 붐을 완전히 올리고, 엔진을 멈추고 키를 뺀 다음, 움직이는 모든 부품이 멈출 때까지 기다립니다.
다음 절차를 통해 중앙 붐의 액추에이터를 조정하여 좌측 및 우측 붐의 높이를 맞출 수 있습니다.
붐을 살포 위치까지 확장합니다.
피벗 핀에서 코터 핀을 제거합니다(그림 118).

붐을 들어 올리고 핀을 분리한 다음(그림 118) 붐을 지면으로 서서히 내립니다.
핀의 손상을 검사하고 필요 시 교체합니다.
렌치를 사용하여 로드의 플랫에 액추에이터 로드를 고정한 다음 잼 너트를 풉니다(그림 119).

액추에이터 로드의 로드 단부를 돌려 확장 액추에이터를 원하는 위치로 늘리거나 줄입니다(그림 119).
Note: 붐에 로드를 조립하려면 로드 단부를 절반 정도 돌리거나 완전히 돌려야 합니다.
잼 너트를 조여서 액추에이터 및 로드 단부를 고정합니다.
붐을 들어 올리고 피벗과 액추에이터 로드를 정렬합니다.
붐을 지지하면서 붐 피벗과 로드 단부를 통해 클레비스 핀을 삽입합니다(그림 118).
핀을 삽입한 뒤 붐을 놓고 기존에 제거한 코터로 핀을 고정합니다.
필요한 경우 다른 액추에이터 로드에 대해 위의 절차를 반복합니다.
| 유지보수 서비스 간격 | 유지보수 절차 |
|---|---|
| 매 400시간 |
|
평지에 장비를 주차하고, 주차 브레이크를 체결하고, 펌프를 끄고, 엔진을 끄고 키를 뺍니다.
외부 붐 섹션을 살포 위치까지 확장하고 스탠드나 스트랩을 사용하여 붐 섹션을 지지하고 장비를 들어 올립니다.
피벗 핀을 고정하는 볼트와 너트를 제거하고 핀을 분리합니다(그림 120).

중앙 프레임의 엔드 채널에서 붐과 피벗 브래킷 어셈블리를 제거하고 나일론 부싱에 접근합니다.
피벗 브래킷 전방 및 후방에서 나일론 부싱을 분리하고 검사합니다(그림 120).
Note: 닳거나 손상된 부싱은 교체하십시오.
소량의 오일로 나일론 부싱을 윤활 처리하고 부싱을 피벗 브래킷에 끼웁니다(그림 120).
피벗 브래킷 구멍과 엔드 채널 구멍을 맞춥니다(그림 120).
피벗 핀을 끼우고 3 단계에서 제거한 플랜지 볼트와 플랜지 록너트로 고정합니다.
나머지 외부 붐 섹션에 대해 2~8 단계를 반복합니다.
| 유지보수 서비스 간격 | 유지보수 절차 |
|---|---|
| 매 400시간 |
|
Note: 다음 장비의 부품은 결함이 발견되지 않아도 사용 과정에서 소모되는 부품이며 본 장비의 보증이 적용되지 않습니다.
다음 펌프 내부 부품이 손상된 경우 Toro 공식 판매 대리점에 문의하십시오.
펌프 다이어프램
펌프 체크 밸브 어셈블리
필요 시 부품을 교체하십시오.
필요 시 물만 사용하거나 연성 세제를 사용하여 장비를 세척하십시오. 장비를 세척할 때 헝겊을 사용할 수도 있습니다.
Important: 소금기가 있는 물이나 재생된 물을 사용하여 장비를 청소하지 마십시오.
Note: 압력 세척 장비를 사용하여 장비를 세척하지 마십시오. 압력 세척 장비는 전기 시스템을 손상 시키거나 중요한 데칼이 느슨해지게 하거나 꼭 필요한 그리스를 마찰 지점에서 씻어낼 수 있습니다. 제어판, 엔진, 배터리 등의 근처에서는 물을 과도하게 사용하지 마십시오.
Important: 엔진 작동 중에 장비를 세척하지 마십시오. 엔진 작동 중에 장비를 세척하면 엔진 내부가 손상될 수 있습니다.
| 유지보수 서비스 간격 | 유지보수 절차 |
|---|---|
| 매 200시간 |
|
Important: 엔진이 손상될 수 있으므로 뜨거운 엔진 부위에 물을 뿌리지 마십시오.
평평한 곳에 스프레이어를 주차하고, 주차 브레이크를 걸고, 스프레이 펌프를 정지시키고, 엔진을 끈 다음 키를 뺍니다.
운전석 및 탑승석을 앞으로 기울이고 받침대를 받침대 가이드 슬롯의 디텐트에 정렬합니다.
냉각 시스템을 식힙니다.
좌석 베이스 액세스 커버를 제거합니다. 좌석 베이스 액세스 패널 분리를 참조하십시오.
부드러운 브러시와 저압 압축 공기를 사용하여 라디에이터 핀을 청소합니다.
Note: 필요 시 라디에이터 핀을 더 자주 청소하십시오. 모든 냉각수 호스를 점검하고 닳았거나, 누수가 있거나, 손상된 호스를 교체하십시오.
운전석 및 탑승석을 내립니다.
좌석 베이스 액세스 커버를 장착합니다. 좌석 베이스 액세스 패널 설치를 참조하십시오.
| 유지보수 서비스 간격 | 유지보수 절차 |
|---|---|
| 매 200시간 |
|
전체 살포 시스템을 완전히 세척하고 비웁니다.
스프레이어의 유량계를 제거하고 깨끗한 물로 세척합니다.
업스트림 측의 리테이너 링을 제거합니다(그림 121).

터빈 및 터빈 허브를 청소하여 금속 찌꺼기 및 젖은 파우더를 제거합니다.
터빈 블레이드의 마모 상태를 검사합니다.
Note: 손으로 터빈을 잡고 회전시키십시오. 조금 끌리면서 자유롭게 회전해야 합니다. 그렇지 않으면 교체하십시오.
유량계를 조립합니다.
저압(0.5 bar) 공기 분사를 사용해서 터빈이 자유롭게 회전하는지 확인합니다.
Note: 터빈이 자유롭게 회전하지 않으면 자유롭게 회전할 때까지 터빈 허브 바닥에 있는 육각 스터드를 1/16 바퀴 푸십시오.
교반 밸브를 청소하려면 다음 섹션을 참조하십시오.
3개의 섹션 밸브를 청소하려면 다음 섹션을 참조하십시오.
평평한 곳에 스프레이어를 주차하고, 주차 브레이크를 걸고, 스프레이 펌프를 정지시키고, 엔진을 끈 다음 키를 뺍니다.
섹션 밸브 또는 교반 밸브에 대해 액추에이터를 매니폴드 밸브에 고정하는 리테이너를 제거합니다(그림 122).
Note: 2개의 리테이너 레그를 꽉 쥐고 아래로 당기십시오.
Note: 밸브 액추에이터 설치의 설치를 위해 액추에이터 및 리테이너를 보관하십시오.

매니폴드 밸브에서 액추에이터를 분리합니다.
교반 호스용 신속 연결 커플러를 교반 밸브용 매니폴드에 고정하는 신속 연결 핀을 제거합니다(그림 123).

교반 밸브 매니폴드를 압력 필터 헤드 및 커플링 어댑터의 플랜지에 고정하는 3개의 플랜지 클램프를 제거합니다(그림 123).
교반 밸브 매니폴드를 밸브 지지대에 고정하는 2개의 플랜지 헤드 볼트(¼ x ¾ 인치) 및 2개의 플랜지 록너트(¼ 인치)를 제거합니다(그림 124).

장비에서 교반 밸브 매니폴드와 개스킷을 분리합니다(그림 124).
Note: 필요 시 압력 필터 헤드용 장착 하드웨어를 풀어서 공간을 만드십시오.
Note: 교반 매니폴드 밸브 설치의 설치를 위해 플랜지 클램프, 개스킷 및 신속 연결 핀을 보관하십시오.
흡입 바이패스 밸브용 신속 연결 커플러를 흡입 매니폴드 밸브에 고정하는 신속 연결 핀을 제거합니다(그림 125).

섹션 공급 호스용 신속 연결 커플러를 교반 매니폴드 밸브의 신속 연결 피팅에 고정하는 신속 연결 핀을 제거합니다(그림 125).
섹션 매니폴드 밸브를 인접 부품의 플랜지에 고정하는 2개의 플랜지 클램프를 제거합니다(그림 126).

섹션 밸브 매니폴드 좌우측에서 섹션 밸브 매니폴드를 밸브 지지대에 고정하는 2개의 플랜지 헤드 볼트(¼ x ¾ 인치) 및 2개의 플랜지 록너트(¼ 인치)를 제거합니다(그림 127).

섹션 밸브 매니폴드와 개스킷을 아래로 이동하여 섹션 바이패스 밸브를 떨어지게 한 다음 장비에서 분리합니다(그림 127).
Note: 필요 시 좌측 또는 우측 섹션 필터 매니폴드용 장착 하드웨어를 풀어서 공간을 만드십시오.
Note: 흡입 매니폴드 밸브 설치의 설치를 위해 플랜지 클램프, 개스킷 및 신속 연결 핀을 보관하십시오.
사용자 준비 재료: 투명한 실리콘 그리스.
Important: 밸브를 조립할 때에만 실리콘 그리스를 사용하십시오.
아웃렛 피팅 O-링(섹션 밸브 매니폴드만 해당), 엔드 캡 O-링, 백 시팅 O-링 및 볼 시트의 상태를 검사하여 손상 또는 마모가 없는지 확인합니다(그림 129 및 그림 130).
Note: 손상되거나 마모된 O-링 또는 시트를 교체합니다.
매니폴드에 밸브 스템 및 시트를 장착하고 스템 리테이너로 스템 및 시트를 고정합니다(그림 129 및 그림 130).
엔드 캡 피팅의 플랜지가 매니폴드 본체에 닿을 때까지 매니폴드 본체에 엔디 캡 피팅 어셈블리를 장착한 다음(그림 129 및 그림 130) 엔드 캡 피팅을 ⅛~ ¼ 바퀴 더 돌립니다.
Note: 엔드 캡 피팅을 손상시키지 않도록 주의하십시오.
볼을 밸브 본체에 끼웁니다(그림 131).
Note: 밸브 스템을 볼 드라이브 슬롯 내부에 맞춰야 합니다. 밸브 스템이 맞지 않으면 볼 위치를 조정하십시오(그림 131).

밸브 스템 어셈블리를 돌려서 밸브를 닫습니다(그림 128B).
다른 엔드 캡 피팅 어셈블리에 대해 4~5 단계를 반복합니다.
흡입 매니폴드 밸브 분리 단계에서 제거한 2개의 개스킷을 섹션 밸브 매니폴드의 플랜지에 맞춥니다(그림 132).
Note: 필요 시 좌측 또는 우측 섹션 필터 매니폴드용 장착 하드웨어를 풀어서 공간을 만드십시오.

다른 섹션 밸브 및/또는 커플링 어댑터 사이의 섹션 밸브 매니폴드 플랜지를 정렬합니다(그림 132).
신속 연결 핀으로 섹션 밸브 매니폴드의 신속 연결 피팅을 섹션 바이패스 밸브의 신속 연결 소켓에 조립합니다(그림 132 및 그림 133).

흡입 매니폴드 밸브 분리에서 제거한 플랜지 클램프를 섹션 밸브 매니폴드의 플랜지 및 다른 섹션 밸브 및/또는 커플링 어댑터 플랜지에 느슨하게 조립합니다(그림 134).

좌우측 섹션 밸브 매니폴드에 대해 흡입 매니폴드 밸브 분리에서 제거한 2개의 플랜지 헤드 볼트(¼ x ¾ 인치) 및 2개의 플랜지 록너트(¼ 인치)로 섹션 밸브 매니폴드를 밸브 지지대에 조립합니다(그림 132).
19.78~25.42 N∙m 토크로 플랜지 헤드 볼트 및 플랜지 록너트를 조입니다.
손으로 2개의 플랜지 클램프를 조입니다(그림 134).
신속 연결 핀으로 섹션 호스의 신속 연결 커플러를 섹션 밸브 매니폴드의 신속 연결 피팅에 조립합니다(그림 133).
좌우측 섹션 밸브 매니폴드의 장착 하드웨어를 느슨하게 했다면 19.78~25.42 N∙m 토크로 너트와 볼트를 조입니다.
교반 밸브 매니폴드의 플랜지 및 3개의 플랜지를 교반 바이패스 밸브, 압력 필터 헤드, 커플링 어댑터의 플랜지와 정렬합니다(그림 135 및 그림 136).
Note: 필요 시 압력 필터 헤드용 장착 하드웨어를 풀어서 공간을 만드십시오.


교반 매니폴드 밸브 분리에서 제거한 3개의 플랜지 클램프로 교반 밸브 매니폴드를 교반 바이패스 밸브, 압력 필터 헤드, 커플링 어댑터에 느슨하게 고정합니다(그림 136).
교반 매니폴드 밸브 분리에서 제거한 2개의 플랜지 헤드 볼트(¼ x ¾ 인치) 및 2개의 플랜지 록너트(¼ 인치)로 교반 밸브 매니폴드를 밸브 지지대에 조립합니다.
19.78~25.42 N∙m 토크로 플랜지 헤드 볼트 및 플랜지 록너트를 조입니다.
손으로 3개의 플랜지 클램프를 조입니다(그림 136).
신속 연결 핀으로 교반 호스의 신속 연결 커플러를 교반 밸브 매니폴드의 신속 연결 피팅에 조립합니다(그림 136).
압력 필터 헤드의 장착 하드웨어를 느슨하게 했다면 19.78~25.42 N∙m 토크로 너트와 볼트를 조입니다.
액추에이터를 매니폴드 밸브와 정렬합니다(그림 122).
밸브 액추에이터 분리의 2 단계에서 제거한 리테이너로 액추에이터 및 밸브를 고정합니다.
운전석을 떠나기 전에 다음 절차를 수행하십시오.
장비를 평지에 주차합니다.
스프레이 펌프를 끕니다.
주차 브레이크를 체결합니다.
엔진을 끄고 키를 뺍니다(꽂혀 있는 경우).
모든 움직임이 멈출 때까지 기다립니다.
장비가 식은 후에 장비를 조정, 정비, 청소 또는 보관하십시오.
온수기나 기타 기구 등 노출된 화염, 불꽃, 점화용 불씨 등이 있는 곳에는 장비나 연료통을 보관하지 마십시오.
다음 절차를 수행하십시오.
Important: 소금기가 있는 물이나 재생된 물을 사용하여 장비를 청소하지 마십시오.
평평한 곳에 장비를 주차하고, 주차 브레이크를 걸고, 스프레이 펌프 및 엔진을 끕니다. 그 다음에 키를 빼고 모든 움직임이 멈출 때까지 기다려 장비에서 내립니다.
엔진의 실린더 헤드 핀과 블로어 하우징 외부 등 전체 장비에서 이물질과 때를 청소합니다.
Important: 연성 세제와 물로 기계를 세척할 수 있습니다. 장비를 세척할 때 고압수를 사용하지 마십시오. 압력 세척 장비를 사용하면 전기 시스템을 손상시키거나, 마찰 개소에서 필요한 그리스를 씻어낼 수 있습니다. 특히 제어판, 조명등, 엔진 및 배터리 근방에서 과도한 물을 사용하지 마십시오.
스프레이 펌프를 몇 분 정도 작동시켜 RV 부동액이 스프레이 시스템 및 기타 설치된 스프레이 액세서리에 완전히 순환하도록 합니다.
좌측, 중앙, 우측 섹션 스위치를 ON(켜짐) 위치로 돌립니다.
마스터 섹션 스위치를 ON(켜짐) 위치로 돌리고 다음 사항을 확인합니다.
분리된 압력 게이지 튜브 말단에서 RV 부동액이 흐르는지 확인하십시오.
RV 부동액이 나올 때까지 노즐로 살포하십시오.
마스터 섹션 스위치를 OFF(꺼짐) 위치로 돌립니다.
펌프 스위치를 OFF(꺼짐) 위치로 돌립니다.
붐 섹션 리프트 스위치를 사용해서 외부 붐 섹션을 올립니다.
붐 섹션을 올려 “X”자 이동 위치가 되도록 붐 이동 크래들을 완전히 이동하고 리프트 실린더를 완전히 접습니다.
Note: 액추에이터 로드의 손상을 막으려면 리프트 실린더를 완전히 접어야 합니다.
엔진을 끕니다.
스프레이어 탱크를 최대한 완전히 비웁니다.
단기 보관에 명시된 다음 절차를 수행하십시오.
또한, 다음 절차를 수행하십시오.
타이어 공기압을 점검합니다. 타이어 공기압 점검을 참조하십시오.
브레이크를 점검합니다. 브레이크 조정을 참조하십시오.
모든 볼트, 너트 및 나사를 점검하고 조입니다.
Note: 마모되거나 손상된 부품이 있으면 수리하거나 교체하십시오.
긁히거나 벗겨진 금속 표면에 페인트를 칠합니다(페인트는 Toro 공식 판매 대리점에서 구할 수 있음).
교반 밸브 및 3개의 섹션 밸브를 청소합니다. 교반 및 섹션 밸브 청소를 참조하십시오.
스프레이어에 그리스를 바릅니다. 스프레이 펌프 윤활을 참조하십시오.
모든 스프레이 호스의 상태를 점검합니다.
Note: 마모되거나 손상된 호스가 있으면 모두 교체하십시오.
모든 호스 클램프 및 피팅을 조입니다.
에어 클리너를 정비합니다. 에어 클리너 점검를 참조하십시오.
엔진 오일 필터 및 오일을 교환합니다. 엔진 오일 필터 교환 및 엔진 오일 교환을 참조하십시오.
연료 탱크를 비웁니다. 연료 탱크 비우기를 참조하십시오.
제조사 지침에 따라 연료 안정제를 함유한 연료를 준비하고 연료 탱크에 보충합니다.
엔진을 시동하고 5분간 공회전 속도로 가동합니다.
엔진을 끕니다.
모든 연료 시스템 피팅을 고정합니다.
시동 스위치에서 키를 빼고 어린이 손이 닿지 않는 안전한 장소에 키를 보관합니다.
장비를 커버를 씌워 보호하고 깨끗하게 유지합니다.
| Problem | Possible Cause | Corrective Action |
|---|---|---|
| 시동 장치가 엔진을 회전시키지 못합니다. |
|
|
| 엔진이 작동하지만 시동이 걸리지 않습니다. |
|
|
| 엔진이 시동되지만 계속 작동하지 않습니다. |
|
|
| 엔진이 작동하지만 노킹이 생기거나 오작동합니다. |
|
|
| 엔진이 공회전하지 않습니다. |
|
|
| 엔진이 과열됩니다. |
|
|
| 엔진 출력이 없습니다. |
|
|
| 비정상적인 진동이나 소음이 발생합니다. |
|
|
| 엔진이 고착되거나 정지하여 장비가 작동하지 않거나 양방향으로 느리게 움직입니다. |
|
|
| 장비가 양방향으로 움직이지 않습니다. |
|
|
| Problem | Possible Cause | Corrective Action |
|---|---|---|
| 스프레이 섹션이 살포 작동을 하지 않습니다. |
|
|
| 스프레이 섹션이 켜지지 않습니다. |
|
|
| 스프레이 섹션 밸브에 누출이 있습니다. |
|
|
| 스프레이 섹션을 작동할 때 압력이 하강합니다. |
|
|
| 섹션 스위치를 껐는데도 스프레이 노즐에서 액체가 떨어집니다. |
|
|
| 살포 작업 중 스프레이어 압력이 떨어집니다. |
|
|
