| Huoltoväli | Huoltotoimenpide |
|---|---|
| Aina ennen käyttöä tai päivittäin |
|
Tämä kone on ammattimaiseen kaupalliseen käyttöön tarkoitettu ruiskutuslaite. Se on tarkoitettu pääasiassa puistojen, golfkenttien, urheilukenttien ja kaupallisten kiinteistöjen viheralueiden ruiskutukseen.
Tämä kone on tarkoitettu ensisijaisesti maastokäyttöön, ei laajamittaiseen ajoon julkisilla teillä. Tuotteen käyttäminen muuhun kuin sen aiottuun käyttötarkoitukseen voi olla vaarallista käyttäjälle ja sivullisille.
Lue nämä tiedot huolellisesti, jotta opit käyttämään ja huoltamaan laitetta asianmukaisesti sekä välttämään tapaturmia ja laitevaurioita. Olet itse vastuussa tuotteen asianmukaisesta ja turvallisesta käytöstä.
Osoitteessa www.Toro.com on lisätietoja, jos tarvitset esimerkiksi turvallisuuteen liittyviä vinkkejä, käyttökoulutukseen liittyviä materiaaleja, tietoja lisävarusteista tai lähimmästä jälleenmyyjästä tai jos haluat rekisteröidä tuotteesi.
Aina kun tarvitset huoltoa, alkuperäisiä Toro-varaosia tai lisätietoja, ota yhteys valtuutettuun huoltoliikkeeseen tai Toron asiakaspalveluun. Ota tällöin tuotteesi malli- ja sarjanumerot valmiiksi esiin. Kuva 1 näyttää laitteen malli- ja sarjanumeron sijainnin. Kirjoita numerot annettuun tilaan.
Important: Skannaa sarjanumerokilvessä (jos varusteena) oleva QR-koodi mobiililaitteella, niin saat tuotetietoja sekä takuu- ja varaosatietoja.

Tässä käyttöoppaassa esiintyvä varoitusmerkintä (Kuva 2) ilmaisee vaaratilannetta, josta saattaa olla seurauksena vakava tapaturma tai jopa kuolema, jos suositellut varotoimenpiteet laiminlyödään.

Tässä käyttöoppaassa käytetään kahta termiä tietojen korostamiseksi. Tärkeää kiinnittää huomiota mekaanisiin erikoistietoihin ja Huomautus korostaa erityishuomion ansaitsevia yleistietoja.
Tämä tuote on asianmukaisten eurooppalaisten direktiivien mukainen. Lisätietoja on erillisessä tuotekohtaisessa vaatimustenmukaisuusvakuutuksessa.
Kalifornian laki (California Public Resource Code, pykälät 4442 ja 4443) kieltää tämän moottorin käytön metsä-, pensaikko- tai ruohopeitteisillä mailla, jos moottoria ei ole varustettu pykälässä 4442 mainitulla hyvässä käyttökunnossa pidetyllä kipinänsammuttimella tai jos moottoria ei ole suojattu, varustettu ja huollettu palovaaran ehkäisemiseksi.
Mukana toimitettavassa moottorin käyttöoppaassa on Yhdysvaltojen ympäristönsuojeluelimeen EPA:han (Environmental Protection Agency) ja Kalifornian päästöjärjestelmien päästöjen valvontasääntöihin sekä kunnossapitoon ja takuuseen liittyviä tietoja. Käyttöoppaita voi tilata moottorin valmistajalta.
KALIFORNIA
Lakiesityksen 65 mukainen varoitus
Tämän tuotteen moottorin tuottamat pakokaasut sisältävät kemikaaleja, jotka Kalifornian osavaltion tietojen mukaan aiheuttavat syöpää, synnynnäisiä epämuodostumia tai muuta lisääntymiseen liittyvää haittaa.
Akun liitännät, navat ja niihin liittyvät lisävarusteet sisältävät lyijyä ja lyijy-yhdisteitä, joiden tiedetään aiheuttavan syöpää ja haittaavan lisääntymistä. Pese kädet, kun olet käsitellyt näitä osia.
Tämän tuotteen käyttäminen voi altistaa kemikaaleille, jotka Kalifornian osavaltion tietojen mukaan aiheuttavat syöpää, synnynnäisiä epämuodostumia tai muuta lisääntymiseen liittyvää haittaa.
Tämä tuote voi aiheuttaa henkilövahingon. Noudata aina kaikkia turvallisuusohjeita, jotta vakavilta loukkaantumisilta vältytään.
Lue ja sisäistä tämän käyttöoppaan sisältö ennen moottorin käynnistämistä.
Koneen käyttö vaatii käyttäjän täyden huomion. Jos käyttäjän huomio keskittyy muualle, saattaa seurata henkilö- tai omaisuusvahinko.
Suojaa itsesi kemikaaleilta käyttämällä asianmukaisia henkilönsuojaimia. Ruiskutusjärjestelmässä käytetyt kemikaalit voivat olla vaarallisia ja myrkyllisiä.
Älä laita käsiä tai jalkoja koneen liikkuvien osien lähelle.
Älä käytä konetta ilman paikallaan olevia ja toimivia suojuksia ja muita suojalaitteita.
Pysy etäällä suutinten ruiskutusalueista ja ruiskutuksen kulkeumasta. Älä päästä sivullisia tai lapsia käyttöalueelle.
Älä koskaan anna lasten käyttää konetta.
Pysäköi kone tasaiselle alustalle, kytke seisontajarru, sammuta moottori, irrota virta-avain (jos varusteena) ja odota, että kaikki liikkuvat osat ovat pysähtyneet, ennen kuin poistut käyttäjän paikalta. Koneen on annettava jäähtyä ennen sen säätöä, huoltoa, puhdistusta tai varastointia.
Laitteen asiaton käyttö tai huolto voi aiheuttaa tapaturman.
Vähennä loukkaantumisriskiä noudattamalla näitä
turvallisuusohjeita ja huomioimalla aina varoitusmerkki
, joka tarkoittaa varoitusta,
vaaraa tai hengenvaaraa – henkilöturvallisuusohjeet. Ohjeiden
noudattamatta jättäminen saattaa johtaa henkilövahinkoon
tai kuolemaan.
Kaikkia tähän koneeseen soveltuvia lisälaitteita ei käsitellä tässä käyttöoppaassa. Katso lisää turvallisuusohjeita kunkin lisälaitteen omasta käyttöoppaasta.
![]() |
Turva- ja ohjetarrat on sijoitettu hyvin näkyville paikoille mahdollisten vaara-alueiden lähettyville. Korvaa vioittuneet tai kadonneet tarrat uusilla. |





























Note: Koneen vasen ja oikea puoli määritellään normaalista käyttöasennosta käsin.
Note: Jos sinulla on kysyttävää tai jos tarvitset lisätietoa ruiskutusohjausjärjestelmästä, tutustu järjestelmän mukana toimitettuun käyttöoppaaseen.
Important: Tämä ruiskutuslaite myydään ilman ruiskusuuttimia.Ruiskuttimen käyttöä varten on hankittava ja asennettava suuttimet. Lisätietoja saatavilla olevista puomiosista ja lisävarusteista saa valtuutetulta Toro-jälleenmyyjältä. Suuttimien asennuksen jälkeen ja ennen ruiskutuslaitteen ensimmäistä käyttökertaa puomiosan ohitusventtiilejä on säädettävä siten, että kaikkien puomiosien paine ja ruiskutustasot pysyvät samoina, kun yksi tai useampi puomiosa kytketään pois käytöstä. Katso Puomiosien ohitusventtiilien säätö.
Vaiheeseen tarvittavat osat:
| Pikaliitin | 1 |
Note: Toimenpiteen suorittamiseen tarvitaan yhden tuuman NPT-urosliittimellä varustettu letku ja PTFE-kierretiivistettä.
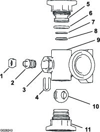
Irrota säiliön kannen oikealta etupuolelta kaksi sokkaa, jotka kiinnittävät takaiskuventtiililiittimessä olevia pikaliitännän salpoja (Kuva 3).

Avaa salvat kääntämällä niitä, jotta pikaliitin voidaan irrottaa pikaliitännästä (Kuva 3).
Irrota pikaliitin pikaliitännästä (Kuva 3).
Sulje salvat ja asenna sokat pikaliitännän laippoihin (Kuva 3).
Levitä PTFE-kierretiivistettä (Kuva 4) täyttöletkun liittimen kierteisiin (yksi tuuma, NPT).

Kierrä pikaliitäntä täyttöletkuun ja kiristä käsin (Kuva 4).
Kytke seisontajarru, käynnistä moottori ja siirrä kaasu joutokäynnille.
Nosta vasemman- tai oikeanpuoleista taittopuomia hitaasti, kunnes se koskettaa ylempää telineputkea.
Nosta toista taittopuomia hitaasti, kunnes se koskettaa telinettä.
Tarkkaile ylemmän telineputken aluetta, jossa taittopuomin putken yläosan liukukappaleet osuvat telineisiin.
Note: Teline on säädetty oikein, kun liukukappaleet koskettavat telinettä ylemmän telineputken mutkan kohdalla (Kuva 5).

Jos jompikumpi ylempi telineputki ei ole liukukappaleen kohdalla kuvien mukaisesti (Kuva 6, Kuva 7 tai Kuva 8), säädä telineen asentoa. Katso kohta Telineiden kohdistus taittopuomeihin.



Laske molemmat taittopuomit alas, sammuta moottori, irrota avain ja odota, että liikkuvat osat pysähtyvät.
Asenna CE-varustesarja koneeseen. Lisätietoja on Multi Pro 5800:n CE-varustesarjan asennusohjeissa.



Ajopolkimella (Kuva 13) ohjataan koneen liikkumista eteen- ja taaksepäin. Käytä poljinta oikean jalan varpailla tai kantapäällä. Kun haluat liikuttaa konetta eteenpäin, paina polkimen yläosaa. Kun haluat liikuttaa konetta taaksepäin, paina polkimen alaosaa. Polkimen vapauttaminen hidastaa vauhtia ja pysäyttää koneen.
Important: Ruiskutuslaitteen on annettava pysähtyä ennen suunnan vaihtamista (ETEENPäIN ja PERUUTUS).
Note: Mitä pidemmälle poljinta painetaan, sitä nopeammin ruiskutuslaite liikkuu valittuun suuntaan. Suurin mahdollinen nopeus eteenpäin saavutetaan asettamalla kaasuvipu NOPEALLE ja painamalla ajopoljin kokonaan eteen.
Note: Jos haluat enimmäistehon raskaalla kuormalla tai mäkeä ylöspäin ajettaessa, säädä kaasu NOPEALLE ja paina ajopoljinta kevyesti, jotta moottorin nopeus pysyy korkealla. Jos moottorin nopeus alkaa laskea, vapauta ajopoljinta hieman, jotta moottorin nopeus nousee.

Jarrun avulla kone voidaan pysäyttää tai sen vauhtia hidastaa (Kuva 13).
Ruiskutuslaitteen käyttö jarrujen ollessa huonosti säädetyt tai kuluneet voi aiheuttaa hallinnan menetyksen, mikä voi johtaa käyttäjän tai sivullisen loukkaantumiseen tai kuolemaan.
Tarkasta jarrut aina ennen ruiskutuslaitteen käyttöä ja varmista, että ne on säädetty oikein ja huollettu.
Seisontajarru on poljin jarrupolkimen vasemmalla puolella (Kuva 13). Kytke seisontajarru aina, kun poistut istuimelta, jotta ruiskutuslaite ei pääse liikkumaan tahattomasti. Seisontajarru kytketään pitämällä jarrupoljinta painettuna ja painamalla samalla seisontajarrun poljinta. Seisontajarru vapautetaan painamalla jarrupoljinta ja vapauttamalla se. Jos ruiskutuslaite pysäköidään jyrkkään paikkaan, kytke seisontajarru ja aseta pyörien taakse kiilat alamäen suuntaan.
Moottori käynnistetään ja sammutetaan virtalukosta (Kuva 12). Siinä on kolme asentoa: PYSäYTYS, KäYNNISSä/ESILäMMITYS ja KäYNNISTYS.
Nopeuden lukituskytkin lukitsee ajopolkimen senhetkiseen asentoon (Kuva 14). Näin voidaan varmistaa, että ruiskutuslaitteen nopeus pysyy vakiona ajettaessa tasaisella alustalla.

Ohjauspaneelissa istuinten välissä (Kuva 14) olevalla kaasuvivulla säädetään moottorin nopeutta. Lisää moottorin nopeutta työntämällä vipua eteenpäin ja vähennä moottorin nopeutta vetämällä vipua taaksepäin.
Työvaloihin kytketään virta kytkimestä (Kuva 12). Valot kytketään painamalla kytkintä eteenpäin ja sammutetaan painamalla kytkintä taaksepäin.
Polttoainemittari sijaitsee koneen kojelaudassa ja näyttää polttoaineen määrän säiliössä (Kuva 12).
Kaksiosainen USB-pistorasia sijaitsee käsinojan takaosassa (Kuva 15).


Painemittari (Kuva 16) sijaitsee kojelaudassa. Tämä mittari näyttää ruiskutusjärjestelmän nestepaineen psi- ja kPa-yksikköinä.
Ruiskutustilan kytkimellä voidaan vaihtaa ruiskutusmäärätilan (suljettu piiri) ja manuaalisen tilan (avoin piiri) välillä.
Ruiskutustason säädin sijaitsee kojelaudassa ohjauspyörän oikealla puolella (Kuva 16). Ruiskutusmäärän kytkimellä ohjataan ruiskutuspumpun nopeutta, kun ruiskutuslaitetta käytetään manuaalisessa tilassa. Ruiskutusmäärää (painetta) voidaan lisätä pitämällä kytkintä eteenpäin painettuna ja vähentää pitämällä kytkintä taaksepäin painettuna.
Ruiskutuspumpun kytkin sijaitsee keskikonsolissa istuimen oikealla puolella (Kuva 16). Ruiskutuspumppu kytketään käyttöön painamalla kytkin eteen ja pois käytöstä painamalla kytkin taakse. Kun kytkin on käytössä, kytkimen valo syttyy.
Important: Kytke ruiskutuspumpun kytkin vain moottorin ollessa ALHAISELLA JOUTOKäYNTINOPEUDELLA, jotta pumpun käyttö ei vaurioidu.
Puomiosien nostokytkimet sijaitsevat keskikonsolissa istuimen oikealla puolella, ja niillä nostetaan tai lasketaan vasenta ja oikeaa puomiosaa (Kuva 16).
Puomiosien pääkytkin sijaitsee koneen keskikonsolissa. Kytkimen avulla ruiskutustoiminnon käyttö voidaan aloittaa ja lopettaa. Ruiskutusjärjestelmä otetaan käyttöön ja poistetaan käytöstä kytkintä painamalla (Kuva 16).
Puomiosien kolme kytkintä sijaitsevat keskikonsolissa käsinojan etuosassa (Kuva 16). Kutakin kytkintä eteenpäin painamalla kyseinen puomiosa kytketään päälle ja taaksepäin painamalla kyseinen puomiosa kytketään pois päältä. Kun kytkin on PääLLä-asennossa, tietokeskuksen yläosaan ilmestyy kuvake.
Note: Nämä kytkimet vaikuttavat ruiskutusjärjestelmään ainoastaan silloin, kun puomiosien pääkytkin on PääLLä-asennossa.
Säiliön kierron kytkin sijaitsee keskikonsolissa istuimen oikealla puolella (Kuva 16). Säiliön kierto kytketään käyttöön painamalla kytkin eteen ja pois käytöstä painamalla kytkin taakse. Kun kytkin on käytössä, kytkimen valo syttyy. Jotta säiliön kiertoa voidaan käyttää, ruiskutusjärjestelmän pumpun on oltava käynnissä ja moottorin täytyy käydä alhaista joutokäyntinopeutta korkeammilla kierroksilla.
Säiliön kierron ohitusventtiili ohjaa nestevirran ruiskutusjärjestelmän pumppuun, kun säiliön kiertotoiminto kytketään pois käytöstä (Kuva 17). Säiliön kierron ohitusventtiili sijaitsee säiliön kierron venttiilin yläpuolella. Ohitusventtiiliä säätämällä voidaan varmistaa, että paine pysyy samana kytkettäessä säiliön kiertoa käyttöön ja pois käytöstä. Katso kohta Säiliön kierron ohitusventtiilin säätö.

Virtausmittari mittaa nesteen virtausmäärän tietokeskusjärjestelmälle ja kun ruiskutusmäärätila on käytössä (Kuva 17).
Säiliön kierron kuristusventtiili on manuaalikäyttöinen kuulaventtiili, joka säätelee virtausta säiliön kierron suuttimiin pääsäiliössä. Tällä venttiilillä voidaan hallita ruiskutusjärjestelmän painetta pääsäiliön kierron suuttimissa, kun tarvitaan suurempia ruiskutusmääriä. Säiliön kierron kuristusventtiili sijaitsee pumpun yläpuolella (Kuva 18).

Puomiosien ohitusventtiileillä voi säätää puomiosien venttiileihin kohdistuvaa ruiskutusjärjestelmän painetta, jotta ruiskutusosien paine pysyisi tasaisena käytettävien ruiskutusosien määrästä riippumatta (Kuva 19).
Note: Ohitusventtiilejä tulee käyttää vain manuaalisessa tilassa (avoin piiri) ruiskutettaessa.

Puomiosien ohituksen sulkuventtiilillä ohjataan nesteenvirtausta puomiosien ohitusventtiileistä säiliöön, kun ruiskutetaan manuaalisessa tilassa (avoin piiri) (Kuva 19).
Note: Sulje puomiosien ohituksen sulkuventtiili ruiskutusmäärätilassa (suljettu piiri) ruiskutettaessa.
Säiliön kannen edessä on letkuliitin, jossa on kierreliitin, 90 asteen letkuliitin ja lyhyt letku, joka voidaan ohjata säiliön aukkoa kohti. Tähän liittimeen voidaan kiinnittää vesiletku, jolloin säiliö voidaan täyttää vedellä likaamatta letkua säiliön kemikaaleilla.
Important: Älä pidennä letkua siten, että se pääsee kosketuksiin säiliön nesteiden kanssa. Etäisyyden letkun päästä veden ylimpään tasoon on oltava paikallisten määräysten mukainen.

Säiliön kansi sijaitsee säiliön yläosan keskellä. Jos haluat avata kannen, sammuta moottori, käännä kannen etupuoliskoa vasemmalle ja avaa kansi. Sisällä oleva sihti voidaan irrottaa puhdistamista varten. Säiliö suljetaan asettamalla kansi paikalleen ja kiertämällä etupuoliskoa oikealle.
Tietokeskusta ohjataan viidellä LED-näytön alla olevalla painikkeella, joilla voidaan siirtyä valikoissa, syöttää tietoja ja vaihtaa toimintoja.

Note: Ominaisuuksia ja rakennetta voidaan muuttaa ilmoittamatta.
| Kuvaus | Mitta |
|---|---|
| Omapaino | 1 307 kg |
| Paino vakioruiskutusjärjestelmän kanssa, tyhjänä, ilman käyttäjää | 1 307 kg |
| Paino vakioruiskutusjärjestelmän kanssa, täynnä, ilman käyttäjää | 2 499 kg |
| Ajoneuvon maksimikokonaispaino (tasaisella alustalla) | 3 023 kg |
| Säiliön tilavuus | 1 135,6 litraa |
| Ajoneuvon kokonaisleveys vakioruiskutusjärjestelmän kanssa, kun puomiosat ovat X-asennossa | 226 cm |
| Kuvaus | Mitta |
|---|---|
| Kokonaispituus vakioruiskutusjärjestelmän kanssa | 391 cm |
| Ajoneuvon kokonaispituus puomiosien yläreunaan vakioruiskutusjärjestelmän kanssa, kun puomiosat ovat X-asennossa | 442 cm |
| Kokonaiskorkeus vakioruiskutusjärjestelmän kanssa | 146 cm |
| Ajoneuvon kokonaiskorkeus puomiosien yläreunaan vakioruiskutusjärjestelmän kanssa, kun puomiosat ovat X-asennossa | 231 cm |
| Maavara | 18,4 cm |
| Akseliväli | 198 cm |
Koneeseen on saatavana valikoima Toron hyväksymiä lisälaitteita ja -varusteita, joiden avulla voidaan parantaa ja laajentaa sen ominaisuuksia. Ota yhteys valtuutettuun Toro-jälleenmyyjään.
Käytä vain aitoja Toro-varaosia ja -lisävarusteita, jotta kone toimisi parhaalla mahdollisella tavalla ja sen turvasertifiointi pysyisi voimassa. Muiden valmistajien varaosat ja lisävarusteet voivat osoittautua vaarallisiksi, ja niiden käyttö voi johtaa tuotteen takuun raukeamiseen.
Note: Koneen vasen ja oikea puoli määritellään normaalista käyttöasennosta käsin.
| Huoltoväli | Huoltotoimenpide |
|---|---|
| Aina ennen käyttöä tai päivittäin |
|
Älä anna lasten tai kouluttamattomien henkilöiden käyttää tai huoltaa laitetta. Paikalliset säännökset saattavat asettaa rajoituksia käyttäjän iälle. Omistaja vastaa käyttäjien ja mekaanikkojen koulutuksesta.
Tutustu laitteen turvallisen käytön ohjeisiin, ohjauslaitteisiin ja turvamerkintöihin.
Sammuta moottori, irrota virta-avain (jos on) ja odota, että kaikki liikkuvat osat pysähtyvät, ennen kuin poistut käyttäjän paikalta. Anna koneen jäähtyä ennen säätöä, huoltoa, puhdistusta tai varastointia.
Selvitä, kuinka koneen saa pysäytettyä ja moottorin sammutettua nopeasti.
Tarkista, että käyttäjän pitokytkimet, turvakytkimet ja suojukset ovat paikoillaan ja toimivat oikein. Älä käytä konetta, mikäli ne eivät toimi kunnolla.
Jos kone ei toimi oikein tai jos se on vahingoittunut jollain tavalla, älä käytä konetta. Korjaa ongelma ennen kuin käytät konetta tai lisälaitetta.
Varmista, että käyttäjän ja matkustajan alue ovat puhtaita ja että niissä ei ole kemikaalijäämiä tai roskia.
Varmista ennen järjestelmän paineen lisäämistä, että kaikki nesteputkien liittimet ovat tiukalla ja kaikki letkut ovat hyvässä kunnossa.
Käsittele polttoainetta erittäin varovasti. Se on tulenarkaa, ja höyryt räjähtävät herkästi.
Sammuta savukkeet, sikarit, piiput ja muut sytytyslähteet.
Käytä vain hyväksyttyä polttoaineastiaa.
Älä irrota polttoainesäiliön korkkia tai täytä polttoainesäiliötä moottorin ollessa käynnissä tai kuuma.
Älä lisää tai tyhjennä polttoainetta suljetussa tilassa.
Älä säilytä konetta tai polttoainesäiliötä tilassa, jossa on avotuli, kipinöitä tai varmistusliekki (esimerkiksi vedenlämmitin tai muu vastaava laite).
Jos polttoainetta roiskuu, älä yritä käynnistää moottoria. Vältä luomasta minkäänlaisia kipinälähteitä, ennen kuin polttoainehöyryt ovat hälvenneet.
Ruiskutusjärjestelmässä käytetyt kemikaalit voivat olla vaarallisia ja myrkyllisiä sinulle, sivullisille ja eläimille, ja ne voivat vahingoittaa kasveja, maaperää ja muuta ympäristöä.
Lue kunkin kemikaalin tiedot. Älä käytä tai huolla ruiskutuslaitetta, jos näitä tietoja ei ole käytettävissä.
Varmista ennen ruiskutusjärjestelmän parissa työskentelyä, että järjestelmä on huuhdeltu kolme kertaa ja neutraloitu kemikaalin valmistajan suositusten mukaisesti ja että kaikki venttiilit ovat käyneet läpi kolme jaksoa.
Varmista, että lähettyvillä on riittävästi puhdasta vettä ja saippuaa ja pese heti pois kaikki iholle joutuneet kemikaalit.
Tutustu huolellisesti kaikkien käytettyjen kemikaalien varoitusmerkintöihin ja käyttöturvallisuustiedotteisiin ja suojaudu kemikaalin valmistajan suositusten mukaisesti.
Suojaa kehosi aina, kun käytät kemikaaleja. Suojaa itsesi kemikaaleilta käyttämällä asianmukaisia henkilönsuojaimia:
suojalasit ja/tai kasvonsuojus
kemikaaleilta suojaava puku
hengityssuojain tai suodatinsuojain
kemikaaleja kestävät käsineet
kumisaappaat tai muut tukevat kengät
puhtaat vaihtovaatteet, saippuaa ja kertakäyttöisiä pyyhkeitä puhdistusta varten
Hanki riittävästi tietoa ennen kemikaalien käyttöä ja käsittelyä.
Käytä työhön sopivaa kemikaalia.
Noudata kemikaalin valmistajan ohjeita kemikaalin turvallisesta käytöstä. Älä ylitä suositeltua järjestelmän käyttöpainetta.
Älä täytä, kalibroi tai puhdista konetta, jos alueella on ihmisiä (etenkin lapsia) tai lemmikkejä.
Käsittele kemikaaleja hyvin tuuletetussa tilassa.
Älä syö, juo äläkä tupakoi, kun työskentelet kemikaalien lähettyvillä.
Älä puhdista ruiskutussuuttimia puhaltamalla niihin tai laittamalla niitä suuhun.
Pese kätesi ja muut paljaat kohdat mahdollisimman pian kemikaalien parissa työskentelyn jälkeen.
Säilytä kemikaaleja niiden alkuperäisissä pakkauksissaan turvallisessa paikassa.
Hävitä käyttämättömät kemikaalit ja kemikaaliastiat kemikaalin valmistajan ohjeiden ja paikallisten säännösten mukaan.
Kemikaalit ja höyryt ovat vaarallisia. Älä työnnä mitään ruumiinosia säiliöön äläkä pidä päätäsi säiliön aukon lähettyvillä.
Noudata kaikkia kemikaalien levitystä ja ruiskutusta koskevia paikallisia ja kansallisia määräyksiä.
Tarkista seuraavat kohdat aina päivän alussa, ennen kuin ryhdyt käyttämään ruiskutuslaitetta:
Tarkista rengaspaine.
Note: Tämän koneen renkaat eroavat auton renkaista; käytettävä rengaspaine on alhaisempi, jotta nurmi painuu vähemmän ja vauriot jäävät vähäisemmiksi.
Tarkista kaikki nestemäärät. Jos jonkin nesteen määrä on alhainen, lisää nestettä sopiva määrä.
Tarkista jarrupolkimen toiminta.
Tarkista valojen toiminta.
Tarkista ohjauksen toiminta kääntämällä ohjauspyörää vasemmalle ja oikealle.
Sammuta moottori ja tarkasta, onko öljyvuotoja, irtonaisia osia tai muita näkyviä ongelmia.
Jos jokin yllämainituista kohdista ei ole kunnossa, kerro siitä mekaanikolle tai työnvalvojalle, ennen kuin ryhdyt käyttämään ruiskutuslaitetta. Työnvalvoja voi edellyttää, että tarkistat muitakin kohtia päivittäin, joten ota selvää vastuullasi olevista tarkistuksista.
Tarkista moottoriöljyn määrä, jäähdytysjärjestelmä ja hydraulijärjestelmä.
| Huoltoväli | Huoltotoimenpide |
|---|---|
| Aina ennen käyttöä tai päivittäin |
|
Varmista oikea rengaspaine. Täytä renkaat paineeseen 1,38 bar.
Note: Tarkista myös, etteivät renkaat ole kuluneet tai vaurioituneet.
| Huoltoväli | Huoltotoimenpide |
|---|---|
| Aina ennen käyttöä tai päivittäin |
|
Paina jarrupoljinta kevyesti ennen ruiskutuslaitteen käynnistystä. Jos jarrupoljin liikkuu enemmän kuin 2,5 cm ennen kuin vastus tuntuu, jarrut on säädettävä. Katso kohta Jarrujen säätö.
Ruiskutuslaitteen käyttö jarrujen ollessa huonosti säädetyt tai kuluneet voi aiheuttaa hallinnan menetyksen, mikä voi johtaa käyttäjän tai sivullisen loukkaantumiseen tai kuolemaan.
Tarkasta jarrut aina ennen ruiskutuslaitteen käyttöä ja varmista, että ne on säädetty oikein ja huollettu.
| Öljypohjainen polttoaine | Käytä lyijytöntä bensiiniä, jonka tieoktaaniluku (pumppuoktaaniluku) on vähintään 87 (RON + MON / 2). |
| Etanolia sisältävä polttoaine | Enintään 10 % etanolia (bensiinin ja etanolin seosta) tai 15 % MTBE:tä (metyyli-tertiääri-butyylieetteriä) sisältävää polttoainetta voidaan käyttää. Etanoli ja MTBE eivät ole sama asia. |
| Bensiiniä, jonka tilavuudesta enemmän kuin 15 % (E15) on etanolia, ei ole hyväksytty käyttöön. Älä käytä bensiiniä, jonka tilavuudesta enemmän kuin 10 % on etanolia (kuten 15 % etanolia sisältävä E15, 20 % etanolia sisältävä E20 tai enintään 85 % etanolia sisältävä E85). Muun kuin hyväksytyn bensiinin käyttö voi aiheuttaa toimintaongelmia ja/tai moottorivaurioita, joita takuu ei ehkä kata. |
Important: Moottori toimii parhaiten, kun käytetään vain puhdasta ja uutta, alle 30 päivää vanhaa polttoainetta.
Metanolia sisältävää bensiiniä ei saa käyttää.
Älä säilytä polttoainetta talven yli polttoainesäiliössä tai -astioissa, ellei polttoaineeseen ole lisätty stabilointiainetta.
Bensiiniin ei saa lisätä öljyä.
Polttoainesäiliön tilavuus: noin 45 l.
Pysäköi kone tasaiselle alustalle, kytke seisontajarru, sammuta ruiskutuspumppu, sammuta moottori, irrota virta-avain ja anna moottorin jäähtyä.
Puhdista polttoainesäiliön korkin ympäristö (Kuva 22).

Irrota polttoainesäiliön korkki.
Täytä säiliö noin 2,5 cm säiliön yläreunan alapuolelle (täyttökaulan alareunaan).
Note: Säiliöön jäävä ilmatila sallii polttoaineen laajenemisen. Älä ylitäytä säiliötä.
Asenna polttoainesäiliön korkki säiliöön huolellisesti.
Pyyhi läikkynyt polttoaine pois.
Note: Katso lisätietoja suuttimen valintaoppaasta, joka on saatavana valtuutetulta Toro-jälleenmyyjältä.
Suutinrunkoihin voidaan liittää enintään kolme erilaista suutinta. Valitse haluttu suutin seuraavasti:
Pysäytä ruiskutuslaite tasaiselle alustalle, sammuta moottori, irrota virta-avain ja kytke seisontajarru.
Aseta puomiosien pääkytkin POIS-asentoon ja aseta ruiskutuspumpun kytkin POIS-asentoon.
Kierrä suuttimien kannatinta jompaankumpaan suuntaan oikean suuttimen mukaisesti.
Ruiskutusmäärätilassa käytettävät koneet: Suorita virtauksen säätö. Lisätietoa on ExcelaRate-ruiskutusjärjestelmällä varustettujen Multi Pro 5800-D- ja 5800-G -ruiskutuslaitteiden ohjelmisto-oppaassa.
Vakiovaruste: imusuodatin, silmäkoko 50 (sininen)
Selvitä imusuodatintaulukosta käytettäviin ruiskutussuuttimiin sopiva sihdin silmäkoko, joka perustuu kemikaaleihin ja liuoksiin, joiden viskositeetti on sama kuin vedellä.
| Ruiskutussuuttimen värikoodi (virtausnopeus) | Sihdin silmäkoko* | Suodattimen värikoodi |
|---|---|---|
| Keltainen (0,8 l/min) | 50 | Sininen |
| Punainen (1,5 l/min) | 50 | Sininen |
| Ruskea (1,9 l/min) | 50 (tai 30) | Sininen (tai vihreä) |
| Harmaa (2,3 l/min) | 30 | Vihreä |
| Valkoinen (3,0 l/min) | 30 | Vihreä |
| Sininen (3,8 l/min) | 30 | Vihreä |
| Vihreä (5,7 l/min) | 30 | Vihreä |
| *Tämän taulukon imusuodattimien silmäkoot perustuvat ruiskutettaviin kemikaaleihin ja liuoksiin, joiden viskositeetti on sama kuin vedellä. | ||
Important: Kun ruiskutat suuremman viskositeetin (paksumpia) kemikaaleja tai kostutettavia jauheita sisältäviä liuoksia, saatat tarvita karkeamman sihdin lisävarusteena saatavalle imusuodattimelle. Katso Kuva 23.

Jos ruiskutusmäärä on suurempi, harkitse lisävarusteena saatavan karkeamman imusuodattimen sihdin käyttämistä. Katso Kuva 24.

Saatavilla olevia sihtikokoja:
Vakiovaruste: imusuodatin, silmäkoko 50 (sininen)
Selvitä painesuodatintaulukosta käytettäviin ruiskutussuuttimiin sopiva sihdin silmäkoko, joka perustuu kemikaaleihin ja liuoksiin, joiden viskositeetti on sama kuin vedellä.
| Ruiskutussuuttimen värikoodi (virtausnopeus) | Sihdin silmäkoko* | Suodattimen värikoodi |
|---|---|---|
| Tarpeen mukaan pienemmän viskositeetin kemikaaleille tai liuoksille tai pienemmille ruiskutusmäärille | 100 | Vihreä |
| Keltainen (0,8 l/min) | 80 | Keltainen |
| Punainen (1,5 l/min) | 50 | Sininen |
| Ruskea (1,9 l/min) | 50 | Sininen |
| Harmaa (2,3 l/min) | 50 | Sininen |
| Valkoinen (3,0 l/min) | 50 | Sininen |
| Sininen (3,8 l/min) | 50 | Sininen |
| Vihreä (5,7 l/min) | 50 | Sininen |
| Tarpeen mukaan suuremman viskositeetin kemikaaleille tai liuoksille tai suuremmille ruiskutusmäärille | 30 | Punainen |
| Tarpeen mukaan suuremman viskositeetin kemikaaleille tai liuoksille tai suuremmille ruiskutusmäärille | 16 | Ruskea |
| *Tämän taulukon painesuodattimien silmäkoot perustuvat ruiskutettaviin kemikaaleihin ja liuoksiin, joiden viskositeetti on sama kuin vedellä. | ||
Important: Kun ruiskutat suuremman viskositeetin (paksumpia) kemikaaleja tai kostutettavia jauheita sisältäviä liuoksia, saatat tarvita karkeamman sihdin lisävarusteena saatavalle painesuodattimelle. Katso Kuva 25.

Jos ruiskutusmäärä on suurempi, harkitse lisävarusteena saatavan karkeamman painesuodattimen sihdin käyttämistä. Katso Kuva 26.

Note: Suojaa suutinkappaletta ja lisää sen käyttöikää käyttämällä lisävarusteena saatavaa suutinkappaleen suodatinta.
Selvitä suutinkappaleen suodatintaulukosta käytettäviin ruiskutussuuttimiin sopiva sihdin silmäkoko, joka perustuu kemikaaleihin ja liuoksiin, joiden viskositeetti on sama kuin vedellä.
| Ruiskutussuuttimen värikoodi (virtausnopeus) | Sihdin silmäkoko* | Suodattimen värikoodi |
|---|---|---|
| Keltainen (0,8 l/min) | 100 | Vihreä |
| Punainen (1,5 l/min) | 50 | Sininen |
| Ruskea (1,9 l/min) | 50 | Sininen |
| Harmaa (2,3 l/min) | 50 | Sininen |
| Valkoinen (3,0 l/min) | 50 | Sininen |
| Sininen (3,8 l/min) | 50 | Sininen |
| Vihreä (5,7 l/min) | 50 | Sininen |
| *Tämän taulukon suutinkappaleiden suodattimien silmäkoot perustuvat ruiskutettaviin kemikaaleihin ja liuoksiin, joiden viskositeetti on sama kuin vedellä. | ||
Important: Kun ruiskutat suuremman viskositeetin (paksumpia) kemikaaleja tai kostutettavia jauheita sisältäviä liuoksia, saatat tarvita karkeamman sihdin lisävarusteena saatavalle suutinkappaleen suodattimelle. Katso Kuva 27.

Jos ruiskutusmäärä on suurempi, harkitse lisävarusteena saatavan karkeamman suutinkappaleen suodattimen sihdin käyttämistä. Katso Kuva 28.

Important: Älä käytä puhdasvesisäiliössä kierrätettyä vettä (harmaavettä).
Note: Puhdasvesisäiliön vedellä voit pestä kemikaalit pois iholta, silmistä tai muilta pinnoilta, mikäli kemikaaleja joutuu vahingossa kosketuksiin kehon kanssa.
Täytä puhdasvesisäiliö aina puhtaalla vedellä ennen kemikaalien käsittelyä tai sekoittamista.
Kun haluat täyttää säiliön, irrota säiliön yläosassa oleva korkki, täytä säiliö puhtaalla vedellä ja asenna korkki takaisin paikalleen (Kuva 29).
Avaa puhdasvesisäiliön tulppa kääntämällä tulpan vipua (Kuva 29).

Optimaalinen sekoitus ja säiliön ulkoinen puhtaus saavutetaan asentamalla lisävarusteena saatava kemikaalien esisekoitussarja.
Important: Jos suinkin mahdollista, älä käytä ruiskutussäiliössä kierrätettyä vettä (harmaavettä).
Important: Varmista, että käytettävät kemikaalit ovat yhteensopivia Vitonin™ kanssa. Valmistajan etiketissä pitäisi olla maininta, mikäli kemikaali ei ole yhteensopiva Vitonin kanssa. Vitonin kanssa yhteensopimattomat kemikaalit huonontavat ruiskutuslaitteen O-rengastiivisteitä, mikä aiheuttaa vuotoja.
Important: Säiliön tilavuusmerkinnät ovat viitteelliset, eikä niiden tarkkuus riitä säätöön.
Pysäytä kone tasaiselle alustalle, sammuta moottori, irrota virta-avain ja kytke seisontajarru.
Laske kemikaalin valmistajan ohjeiden mukaan vesimäärä, joka tarvitaan halutun kemikaalimäärän sekoittamiseen.
Avaa ruiskutussäiliön kansi.
Note: Säiliön kansi sijaitsee säiliön yläosan keskellä. Avaa se kääntämällä kannen etupuoliskoa vastapäivään ja avaa kansi. Säiliön kannen alla oleva sihti voidaan irrottaa puhdistamista varten.
Asenna täyttöletku takaiskuventtiililiittimessä olevaan pikaliittimeen.
Lisää 3/4 tarvittavasta vedestä ruiskutussäiliöön (Kuva 30).
Important: Käytä aina puhdasta ja tuoretta vettä ruiskutussäiliöön. Älä kaada kemikaalitiivistettä tyhjään säiliöön.

Käynnistä moottori, kytke seisontajarru, aseta ruiskutuspumpun kytkin PääLLä-asentoon ja siirrä kaasuvipu KORKEALLE JOUTOKäYNNILLE.
Aseta säiliön kierron kytkin PääLLä-ASENTOON.
Important: Ennen kuin lisäät ruiskutejauheita Toro-ruiskutusjärjestelmään, sekoita jauheet sopivassa astiassa riittävään määrään raikasta vettä, jotta muodostuu vapaasti juokseva liete. Jos tätä ohjetta ei noudateta, säiliön pohjalle voi kertyä kemikaalijäämiä, kierto voi huonontua, suodattimet voivat tukkeutua ja ruiskutusmäärät voivat olla virheellisiä.Toro suosittelee hyväksytyn suihkupumppusarjan käyttöä tässä koneessa. Lisätietoja saa valtuutetulta Toro-jälleenmyyjältä.
Lisää kemikaalin valmistajan ohjeiden mukainen määrä kemikaalitiivistettä.
Lisää loput vedestä säiliöön, irrota täyttöletku ja sulje säiliön kansi.
Note: Säiliö suljetaan asettamalla kansi paikalleen ja kiertämällä etupuoliskoa myötäpäivään.
Important: Säiliön ensimmäisen täyttökerran jälkeen tarkasta säiliön kiinnitysliuskat välysten varalta. Kiristä tarvittaessa.
| Huoltoväli | Huoltotoimenpide |
|---|---|
| Aina ennen käyttöä tai päivittäin |
|
Important: Säiliön kiinnitysliuskojen kiinnikkeiden liiallinen kiristäminen saattaa johtaa säiliön ja liuskojen vääntymiseen ja vaurioihin.
Important: Jos suinkin mahdollista, älä käytä ruiskutussäiliössä kierrätettyä vettä (harmaavettä).
Täytä pääsäiliö vedellä.
Tarkista, esiintyykö liuskojen ja säiliön välillä liikettä (Kuva 31).

Jos liuskat ovat löysällä, kiristä liuskojen yläpään laippalukkomuttereita ja pultteja, kunnes liuskat ovat tiukasti kiinni säiliössä (Kuva 31).
Note: Älä kiristä säiliön kiinnitysliuskojen kiinnikkeitä liikaa.
Important: Ruiskutusmäärätilassa puomiosien ohitusventtiilien on oltava Kiinni-asennossa.
Important: Jos suinkin mahdollista, älä käytä ruiskutussäiliössä kierrätettyä vettä (harmaavettä).
Säädä ruiskutusta, ruiskutusnopeutta ja puomiosien ohitusventtiilejä ennen ruiskutuslaitteen ensimmäistä käyttöä, suuttimien vaihdon yhteydessä ja tarpeen mukaan.
Important: Etsi avoin ja tasainen alue, jolla tämän toimenpiteen voi suorittaa.
Täytä ruiskutussäiliö puoleenväliin asti puhtaalla vedellä.
Laske ruiskutusosat.
Kytke seisontajarru.
Aseta ruiskutuksen hallinnan kytkin manuaaliseen tilaan.
Aseta kolmen puomiosan kytkimet PääLLä-asentoon, mutta jätä puomiosien pääkytkin POIS-asentoon.
Aseta ruiskutuspumpun kytkin PääLLä-asentoon ja käynnistä säiliön kierto.
Siirry tietokeskuksen Calibration (Säätö) -näyttöön ja valitse Test Speed (Testinopeus). Lisätietoa on ExcelaRate-ruiskutusjärjestelmällä varustettujen Multi Pro 5800-D- ja 5800-G -ruiskutuslaitteiden ohjelmisto-oppaan kohdassa Simulating a Test Speed (Testinopeuden simulointi).
Säädä simuloiduksi nopeudeksi 5,6 km/h painamalla painiketta 3 tai 4.
Testinopeuden simulointi voidaan OTTAA KäYTTööN painikkeella 4.
Tallenna TESTINOPEUS ja poistu sen näytöstä painamalla painiketta 5.
Säädä ruiskutusmäärä ruiskutusmäärän kytkimellä seuraavan taulukon mukaisesti.
| Suuttimen väri | SI (metrijärjestelmä) | Englantilainen | Turf |
| Keltainen | 159 l/ha | 17 gal./eek. | 0,39 gal./1000 neliöj. |
| Punainen | 319 l/ha | 34 gal./eek. | 0,78 gal./1000 neliöj. |
| Ruskea | 394 l/ha | 42 gal./eek. | 0,96 gal./1000 neliöj. |
| Harmaa | 478 l/ha | 51 gal./eek. | 1,17 gal./1000 neliöj. |
| Valkoinen | 637 l/ha | 68 gal./eek. | 1,56 gal./1000 neliöj. |
| Sininen | 796 l/ha | 85 gal./eek. | 1,95 gal./1000 neliöj. |
| Vihreä | 1 190 l/ha | 127 gal./eek. | 2,91 gal./1000 neliöj. |
Aseta vasemman puomiosan kytkin Pois-asentoon ja säädä puomiosan ohitusnuppia (Kuva 32), kunnes näytetty määrä on edellisellä tasolla taulukon mukaisesti.
Note: Ohitusnupin ja osoittimen numeroidut ilmaisimet on tarkoitettu vain viitteeksi.

Aseta vasemman puomiosan kytkin Päällä-asentoon ja aseta oikean puomiosan kytkin Pois-asentoon.
Säädä oikean puomiosan ohitusnuppia (Kuva 32), kunnes näytetty määrä on edellisellä tasolla taulukon mukaisesti.
Aseta oikean puomiosan kytkin Päällä-asentoon ja aseta keskimmäisen puomiosan kytkin Pois-asentoon.
Säädä keskimmäisen puomiosan ohitusnuppia (Kuva 32), kunnes näytetty määrä on edellisellä tasolla taulukon mukaisesti.
Aseta puomiosien pääkytkin Pois-asentoon.
Sammuta ruiskutuspumppu.
| Huoltoväli | Huoltotoimenpide |
|---|---|
| Vuosittain |
|
Important: Jos suinkin mahdollista, älä käytä ruiskutussäiliössä kierrätettyä vettä (harmaavettä).
Etsi avoin ja tasainen alue, jolla tämän toimenpiteen voi suorittaa.
Täytä ruiskutussäiliö puoleenväliin asti puhtaalla vedellä.
Varmista, että säiliön kierron säädinventtiili on auki.
Note: Jos sitä on säädetty, avaa se kokonaan tällä kertaa.
Kytke seisontajarru ja käynnistä moottori.
Aseta ruiskutustilan kytkin manuaaliseen tilaan. Katso kohta Ruiskutus manuaalisessa tilassa.
Aseta ruiskutuspumpun kytkin ja säiliön kierron kytkin PääLLä-asentoon.
Aseta puomiosien pääkytkin POIS-asentoon.
Siirrä kaasuvipu NOPEA-asentoon.
Säädä ruiskutusjärjestelmän paineeksi 6,89 bar ruiskutusmäärän kytkimellä.
Aseta säiliön kierron kytkin POIS-asentoon ja tarkasta painemittari.
Jos painemittarin lukema on 6,89 bar, säiliön kierron ohitusventtiili on säädetty oikein.
Jos painemittari näyttää eri lukeman, siirry seuraavaan vaiheeseen.
Säädä säiliön kierron ohitusventtiiliä (Kuva 34), joka on säiliön kierron venttiilin takaosassa, kunnes ruiskutusjärjestelmän painelukema mittarissa on 6,89 bar.

Siirrä ruiskutuspumpun kytkin POIS-asentoon.
Siirrä kaasuvipu JOUTOKäYNTI/HIDAS-asentoon ja käännä virtakytkin PYSäYTYS-asentoon.
Ruiskutuspumppu sijaitsee säiliön takaosassa vasemmalla puolella (Kuva 35).

Omistaja ja käyttäjä voivat estää loukkaantumisia tai omaisuusvahinkoja aiheuttavat tapaturmat ja ovat siksi vastuussa niistä.
Pukeudu asianmukaisesti. Käytä silmäsuojaimia, pitkiä housuja, tukevia liukastumisen estäviä kenkiä ja kuulosuojaimia. Älä käytä löysiä vaatteita tai roikkuvia koruja, ja kiinnitä pitkät hiukset.
Käytä asianmukaisia henkilösuojaimia Kemikaaliturvallisuus-kohdan ohjeiden mukaisesti.
Koneen käyttö vaatii käyttäjän täyden huomion. Jos käyttäjän huomio keskittyy muualle, saattaa seurata henkilö- tai omaisuusvahinko.
Älä käytä konetta sairaana, väsyneenä tai alkoholin tai huumausaineiden vaikutuksen alaisena.
Koneessa saa kuljettaa enintään yhtä matkustajaa. Matkustajan on istuttava hänelle tarkoitetulla istumapaikalla.
Käytä konetta vain, kun näkyvyys on hyvä. Vältä kuoppia ja piileviä vaaroja.
Varmista ennen moottorin käynnistämistä, että olet käyttäjän paikalla, että ajopoljin on VAPAA-asennossa ja että seisontajarru on kytketty.
Istu aina koneen ollessa liikkeessä. Pidä molemmat kädet ohjauspyörällä aina kun mahdollista, ja pidä kätesi ja jalkasi aina ohjaamon sisäpuolella.
Ole varovainen lähestyessäsi kulmia, joissa on huono näkyvyys, pensaita, puita tai muita näköesteitä.
Katso ennen peruuttamista taaksesi ja varmista, että takanasi ei ole ketään. Peruuta hitaasti.
Älä ruiskuta, kun lähistöllä on ihmisiä (varsinkin lapsia) tai lemmikkieläimiä.
Älä käytä konetta pudotusten, ojien tai vallien lähettyvillä. Kone voi kaatua yllättäen, jos pyörä menee reunan yli tai jos reuna sortuu.
Vähennä nopeutta, kun käytät ajoneuvoa karkealla maaperällä, epätasaisella alustalla, lähellä reunakiviä, kuoppia ja muita äkkinäisiä maaperän muutoksia. Kuorma voi siirtyä, mikä heikentää koneen vakautta.
Jos kone osuu esteeseen tai tärisee epätavallisesti, pysäytä kone, sammuta moottori, irrota virta-avain, kytke seisontajarru ja tarkasta terät vahinkojen varalta. Suorita tarvittavat korjaukset ennen käytön jatkamista.
Hidasta ja ole varovainen kääntyessäsi koneella ja ylittäessäsi teitä ja jalkakäytäviä. Anna muille aina etuajo-oikeus.
Aja erityisen varovaisesti märillä alustoilla, huonolla ilmalla, suurilla nopeuksilla ja täydellä kuormalla. Pysähtymiseen tarvittava aika ja matka kasvavat näissä olosuhteissa.
Älä koske moottoriin tai äänenvaimentimeen moottorin ollessa käynnissä tai heti sen sammuttamisen jälkeen. Kuumat pinnat voivat aiheuttaa palovammoja.
Ennen käyttäjän paikalta poistumista:
Pysäköi kone tasaiselle alustalle.
Siirrä ajopoljin VAPAA-asentoon.
Sammuta ruiskutuspumppu.
Kytke seisontajarru.
Sammuta moottori ja irrota virta-avain (jos on).
Odota, että kaikki liikkuvat osat ovat pysähtyneet.
Älä koskaan käytä moottoria tilassa, johon voi kertyä pakokaasuja.
Älä käytä konetta ukonilman aikana.
Käytä vain Toron hyväksymiä lisälaitteita ja -varusteita.
Note: Kaikissa tämän käyttöoppaan käsittelemissä koneissa Toron asentama ohjaamo on kaatumissuojausjärjestelmä.
Älä irrota kaatumissuojausjärjestelmää koneesta.
Kiinnitä turvavyö ja varmista, että se on nopeasti avattavissa hätätilanteessa. Käytä aina turvavyötä.
Tarkista vapaa alikulkukorkeus ja varo osumasta esteisiin.
Pidä kaatumissuojausjärjestelmä turvallisessa käyttökunnossa tarkistamalla se vaurioiden varalta säännöllisesti ja pitämällä kaikki kiinnittimet tiukalla.
Huolla ja puhdista turvavyöt tarpeen mukaan.
Vaihda kaikki vialliset kaatumissuojausjärjestelmän osat. Älä korjaa tai muuta sitä.
Rinteissä on huomattava koneen hallinnan menettämisen ja kaatumisen vaara. Tällaiset onnettomuudet voivat aiheuttaa vakavan tapaturman tai kuoleman. Käyttäjä on vastuussa turvallisesta käytöstä rinteissä. Koneen käyttö rinteissä edellyttää erityistä huolellisuutta.
Tutustu seuraaviin ohjeisiin koneen käytöstä rinteissä ja selvitä, voidaanko konetta käyttää kyseisellä paikalla ja vallitsevissa olosuhteissa. Maaston muutokset voivat vaikuttaa koneen käyttöön rinteissä.
Käyttäjän on arvioitava käyttöpaikan olosuhteet ja määritettävä niiden perusteella, onko rinne turvallinen koneen käyttöön. Tämä tarkastus on tehtävä huolellisesti ja harkiten.
Vältä koneen käynnistämistä, pysäyttämistä tai kääntämistä rinteissä. Aja rinteet ylös ja alas. Vältä nopeuden tai suunnan äkillistä muuttamista. Jos kääntyminen on välttämätöntä, käänny hitaasti ja vähän kerrallaan alamäkeen, jos mahdollista. Ole varovainen, kun peruutat konetta.
Älä käytä konetta, jos olet epävarma pidosta, kääntyvyydestä tai vakaudesta.
Poista tai merkitse esteet, kuten ojat, kuopat, urat, töyssyt, kivet tai muut piilevät vaarat. Korkea ruoho voi peittää esteet. Maaston epätasaisuudet voivat kaataa koneen.
Huomaa, että koneen käyttö märillä pinnoilla, poikittain rinteissä tai alamäessä saattaa johtaa koneen pidon menettämiseen. Pidon menetys pyörissä saattaa aiheuttaa luisumisen sekä jarrujen ja ohjauksen hallinnan menetyksen.
Käytä konetta erityisen varovasti pudotusten, ojien, vallien, vesiesteiden tai muiden vaarojen lähellä. Kone voi kaatua yllättäen, jos pyörä menee reunan yli tai jos reuna sortuu. Määritä suoja-alue koneen ja mahdollisen vaaran välille.
Ole erityisen varovainen, kun käytät lisälaitteita, sillä ne voivat heikentää laitteen vakautta.
Jos moottori sammuu tai ajoneuvo alkaa vieriä alaspäin ylämäkeen ajettaessa, paina jarrua vähän kerrallaan ja peruuta mäki hitaasti suoraan alaspäin.
Pidä vaihde kytkettynä aina (soveltuessa), kun ajat rinnettä alas.
Älä pysäköi laitetta rinteeseen.
Säiliön sisältämän materiaalin paino voi vaikuttaa koneen käsiteltävyyteen. Noudata seuraavia ohjeita, jotta hallittavuus säilyy ja tapaturmat voidaan välttää.
Kun käytössä on raskas kuorma, vähennä nopeutta ja jätä riittävä jarrutusetäisyys. Älä tee äkkijarrutuksia. Ole erityisen varovainen kaltevilla pinnoilla.
Nestekuormat siirtyvät erityisesti käännyttäessä, ajettaessa ylä- tai alamäkeen, äkkinäisissä nopeuden muutoksissa tai ajettaessa epätasaisella maaperällä. Kun kuorma siirtyy, laite voi kaatua.
Istuudu käyttäjän istuimelle ja pidä jalka pois ajopolkimelta.
Varmista seuraavat:
Seisontajarru on kytketty.
Ajopoljin on VAPAA-asennossa.
Ruiskutuspumppu on sammutettu.
Kaasuvipu on HIDAS-asennossa.
Käännä virta-avain KäYNNISTYS-asentoon.
Käynnistä moottoria korkeintaan 15 sekunnin ajan.
Vapauta avain, kun moottori käynnistyy.
Anna moottorin käydä JOUTOKäYNNILLä tai vähäisellä kaasulla, kunnes se lämpenee.
Vapauta seisontajarru ja aja konetta eteenpäin painamalla ajopoljinta eteenpäin ja peruuta painamalla poljinta taaksepäin.
Important: Ruiskutuslaitteen on annettava pysähtyä ennen suunnan vaihtamista.
Ajopolkimen vapauttaminen pysäyttää koneen hitaasti.
Note: Ajopoljin palautuu VAPAA-asentoon.
Jos haluat pysähtyä nopeasti, paina jarrupoljinta.
Note: Koneen pysähtymismatka voi vaihdella ruiskutuslaitteen säiliön kuorman ja koneen ajonopeuden mukaan.
Jos ajonopeuden lukituskytkintä painetaan, kun jalka ei ole ajopolkimella, ajoyksikkö saattaa pysähtyä äkillisesti ja aiheuttaa hallinnanmenetyksen. Tästä voi seurata kuljettajan tai sivullisten loukkaantuminen.
Jalka on pidettävä ajopolkimella, kun ajonopeuden lukituskytkin poistetaan käytöstä.
Käynnistä ruiskutuspumppu asettamalla ruiskutuspumpun kytkin PääLLä-asentoon. Katso kohta Ruiskutuspumpun kytkin.
Aja eteenpäin ja kiihdytä haluttuun ajonopeuteen. Katso kohta Koneella ajo.
Note: Koneen ajonopeuden on oltava alle 11 km/h, jotta ajonopeuden lukituskytkin voidaan asettaa.
Paina ajonopeuden lukituskytkimen yläosaa.
Note: Kytkimessä oleva merkkivalo syttyy.
Ota jalka pois ajopolkimelta.
Note: Ruiskutuslaite ylläpitää määritetyn nopeuden.
Vapauta ajonopeuden lukituskytkin joko asettamalla jalka ajopolkimelle ja painamalla kytkimen alaosaa tai nostamalla jalka pois ajopolkimelta ja painamalla jarrupoljinta.
Note: Kytkimen valo sammuu, ja ajonopeutta voidaan nyt hallita ajopolkimella.
Siirrä kaikki ohjaimet VAPAALLE.
Pysäytä ruiskutuslaite painamalla jarrua.
Kytke seisontajarru.
Siirrä kaasuvipu JOUTOKäYNTI/HIDAS-asentoon.
Käännä avain PYSäYTYS-asentoon.
Irrota avain virtalukosta, jotta moottoria ei voida käynnistää vahingossa.
Tietokeskuksessa näytetään kahden tyyppisiä moottorin viestejä, jos moottorin käynti on turvallisen alueen ulkopuolella:
Moottorin ilmoitusviestit
Moottorin pysäytysviestit
Note: Tietokeskuksessa on määritettävä äänen mykistysvaihtoehdoksi PääLLä, jotta moottorin ilmoitus- ja pysäytysviestit kuuluvat. Lisätietoja on ExcelaRate-ruiskutusjärjestelmällä varustettujen Multi Pro 5800-D- ja 5800-G -ruiskutuslaitteiden ohjelmisto-oppaan kohdassa Muting the Audio Indicator (Ääni-ilmaisimen mykistys).
Note: Alkunäytön oikeassa yläkulmassa oleva symboli
, moottorin ilmoitusviesti
tai moottorin pysäytysviesti ilmaisevat, että moottorissa
on aktiivinen vika.
Jos tietokeskuksessa näkyy moottorin ilmoitusviesti, lopeta ruiskutus ja aja kone huoltokeskukseen. Seuraavassa on esimerkkejä ilmoitusnäytöistä:
Kun moottorin ohjausyksikkö havaitsee ilmoitustason vian, moottorin ilmoitusten ilmaisin tulee näkyviin (Kuva 36).

Lopeta ruiskutus ja aja kone huoltokeskukseen.
Note: Aktiivisen vian viesti tulee näkyviin (Kuva 37).

Tarkastele aktiivisten vikojen luetteloa painikkeilla 1–5 (Kuva 38).
Siirry luettelossa ylös- ja alaspäin painikkeilla 1 ja 2.
Mykistä äänihälytys painikkeella 3.

Poistu aktiivisten vikojen luettelosta ja palaa alkunäyttöön painikkeella 5 (Kuva 39).

Jos tietokeskuksessa näkyy moottorin pysäytysviesti, käyttäjän on pysäytettävä kone välittömästi ja sammutettava moottori. Seuraavassa on esimerkkejä ilmoitusnäytöistä:
Important: Moottorin käytön jatkaminen pysäytysviestin ollessa näkyvissä vaurioittaa moottoria.
Kun moottorin ohjausyksikkö havaitsee vakavan tason vian, moottorin pysäytyksen ilmaisin tulee näkyviin (Kuva 40).

Pysäytä kone välittömästi ja sammuta moottori.
Aktiivisen vian viesti tulee seuraavaksi näkyviin (Kuva 41).

Tarkastele aktiivisten vikojen luetteloa painikkeilla 1–5. Katso Kuva 38 kohdassa Moottorin ilmoitusviestit.
Siirry luettelossa ylös- ja alaspäin painikkeilla 1 ja 2.
Mykistä äänihälytys painikkeella 3.
Poistu aktiivisten vikojen luettelosta ja palaa alkunäyttöön painikkeella 5. Katso Kuva 39 kohdassa Moottorin ilmoitusviestit.
Ruiskutuslaitetta käytetään täyttämällä ruiskutussäiliö, levittämällä tuotesekoitusta työskentelyalueelle ja puhdistamalla säiliö ja ruiskutusjärjestelmä. Suorita kaikki kolme vaihetta peräkkäin, jotta ruiskutuslaite ei vaurioidu. Kemikaaleja ei esimerkiksi saa sekoittaa ja lisätä ruiskutussäiliöön illalla ja suihkuttaa aamulla. Tällöin seurauksena on kemikaalien rikastuminen ja mahdollisesti ruiskutuslaitteen osien vaurioituminen.
Kemikaalit ovat vaarallisia ja saattavat aiheuttaa henkilövahinkoja.
Lue kemikaalien etikettien ohjeet huolellisesti ennen käyttöä ja noudata kaikkia valmistajan suosituksia ja varoituksia.
Vältä kemikaalien joutumista iholle. Jos kemikaaleja joutuu iholle, pese kyseinen kohta huolellisesti saippualla ja puhtaalla vedellä.
Käytä asianmukaisia henkilösuojaimia kemikaalin valmistajan antamien ohjeiden mukaan.
Multi Pro® -ruiskutuslaite on suunniteltu erityisesti kestävyyttä ja pitkää käyttöikää silmällä pitäen. Tämän tavoitteen saavuttamiseksi ruiskutuslaitteen eri osiin on tarkoituksella valittu erilaisia materiaaleja. Valitettavasti ei ole olemassa sellaisia materiaaleja, jotka soveltuisivat kaikkiin mahdollisiin käyttötilanteisiin.
Jotkin kemikaalit ovat voimakkaampia kuin toiset, ja kukin kemikaali reagoi eri tavalla eri materiaalien kanssa. Jotkin koostumukset (esim. ruiskutejauheet, hiili) ovat erityisen hankaavia ja aiheuttavat nopeampaa kulumista. Jos kemikaalia on saatavana ruiskutuslaitteen käyttöikää pidentävänä vaihtoehtoisena valmisteena, käytä sitä.
Puhdista ruiskutuslaite ja ruiskutusjärjestelmä huolellisesti jokaisen käyttökerran jälkeen. Tällä toimenpiteellä varmistetaan ruiskutuslaitteen pitkä ja ongelmaton käyttöikä.
Note: Jos sinulla on kysyttävää tai jos tarvitset lisätietoa ruiskutusohjausjärjestelmästä, tutustu järjestelmän mukana toimitettuun käyttöoppaaseen.
ExcelaRate-ruiskutusjärjestelmällä varustettujen Multi Pro 5800-D- ja 5800-G -ruiskutuslaitteiden ohjelmisto-oppaassa on lisätietoja seuraavista:
Ennen käyttöä
Tietokeskuksen alkunäyttö
Päävalikko
Päävalikon alivalikot
Huoltonäytöt
Diagnostiikkanäytöt
Tietoja-näytöt
Käytön aikana
Työtietojen syöttäminen
Tietokeskuksen ruiskutusaluenäytöt
Tietokeskuksen ilmoitukset
ExcelaRate-ruiskutusjärjestelmällä varustettujen Multi Pro 5800-D- ja 5800-G -ruiskutuslaitteiden ohjelmisto-oppaassa on lisätietoja seuraavista toimenpiteistä:
Important: Jotta tuote pysyisi hyvin sekoitettuna, käytä säiliön kiertoa aina, kun säiliössä on liuosta.
Varmista, että ruiskutusjärjestelmä on säädetty valittujen aktiivisten ruiskutussuuttimien mukaan. Lisätietoa on ExcelaRate-ruiskutusjärjestelmällä varustettujen Multi Pro 5800-D- ja 5800-G -ruiskutuslaitteiden ohjelmisto-oppaassa.
Käännä puomiosien ohituksen sulkuventtiilin nuppi suljettuun asentoon (Kuva 42).

Aseta ruiskutustilan kytkin ruiskutusmäärätilaan (Kuva 43).

Siirrä ruiskutuslaite ruiskutettavalle nurmialueelle.
Jos haluat kerätä tietoa eri työalueiden ruiskutetuista alueista ja ruiskutusmääristä, yksittäiset alue- ja määrätiedot voidaan tallentaa valitsemalla jokin osa-aluenäytöistä (osa-alueet 1–20). Lisätietoa on ExcelaRate-ruiskutusjärjestelmällä varustettujen Multi Pro 5800-D- ja 5800-G -ruiskutuslaitteiden ohjelmisto-oppaan kohdassa Using the Sub-Area Screen (Osa-aluenäytön käyttö).
Note: Toiselle työalueelle siirryttäessä on valittava toinen osa-aluenäyttö yksittäisten alue- ja määrätietojen tallennusta varten.
Aktiivista määrää voi vaihtaa määrän 1 ja määrän 2 välillä tietokeskuksen alkunäytöstä. Valitse MääRä 1 painamalla painikkeita 1 ja 2 samanaikaisesti tai valitse MääRä 2 painamalla painikkeita 4 ja 5 samanaikaisesti. Lisätietoa on ExcelaRate-ruiskutusjärjestelmällä varustettujen Multi Pro 5800-D- ja Multi Pro 5800-G -ruiskutuslaitteiden ohjelmisto-oppaassa.
Aseta ruiskutuslaitteen puomiosien kytkimet PääLLä-asentoon (Kuva 44).

Aseta säiliön kierron kytkin ja ruiskutuspumpun kytkin PääLLä-asentoon (Kuva 45).

Siirrä kaasuvipu NOPEA-asentoon (Kuva 45).
Aja halutulla nopeudella ja aloita ruiskutus asettamalla puomiosien pääkytkin PääLLä-asentoon (Kuva 44).
Note: Aloita ja lopeta kemikaalien virtaus valittuihin ruiskutusosiin puomiosien pääkytkimellä.
Kun olet lopettanut ruiskuttamisen, kytke kaikki ruiskutusosat pois käytöstä kääntämällä puomiosien pääkytkin POIS-asentoon. Käännä sen jälkeen ruiskutuspumpun kytkin POIS-asentoon.
Note: Nosta ulommat ruiskutusosat kuljetusasentoon ja aja ruiskutuslaite puhdistusalueelle.
Important: Kun siirrät ruiskutuslaitteen ruiskutusalueelta toiselle tai varastointi- tai puhdistusalueelle, nosta puomiosia, kunnes ne ovat siirtyneet kokonaan X-kirjaimen muotoiseen kuljetusasentoon puomiosien kuljetustelineeseen ja nostosylinterit ovat vetäytyneet kokonaan sisään.
Note: Tämä toimenpide edellyttää, että ruiskutuspumppu on käynnistetty. Katso Kuva 45 kohdassa Ruiskuttaminen ruiskutusmäärätilassa.
Varmista, että ruiskutusjärjestelmä on säädetty valittuja aktiivisia ruiskutussuuttimia varten. Katso kohta Suuttimen valinta.
Aseta ruiskutustilan kytkin manuaaliseen tilaan (Kuva 46).

Aseta puomiosien pääkytkin POIS-asentoon. Katso Kuva 44 kohdassa Ruiskuttaminen ruiskutusmäärätilassa.
Siirrä kaasuvipu haluttuun moottorin käyntinopeuteen ruiskutusta varten. Katso Kuva 45 kohdassa Ruiskuttaminen ruiskutusmäärätilassa.
Aja ruiskutuspaikalle.
Laske puomiosat paikoilleen.
Aseta yksittäisten puomiosien kytkimet tarvittaessa PääLLä-asentoon. Katso Kuva 44 kohdassa Ruiskuttaminen ruiskutusmäärätilassa.
Säädä ruiskutuspaine halutuksi ruiskutusmäärän kytkimellä. Katso lisätietoja ruiskutuslaitteen mukana toimitetusta suuttimen valintaoppaasta (Kuva 47).

Aja halutulla nopeudella ja aloita ruiskutus asettamalla puomiosien pääkytkin PääLLä-asentoon. Katso Kuva 44 kohdassa Ruiskuttaminen ruiskutusmäärätilassa.
Note: Kun säiliö on melkein tyhjä, kierto saattaa aiheuttaa vaahtoamista säiliössä. Käännä säiliön kierron kytkin POIS-asentoon tässä tapauksessa. Vaihtoehtoisesti säiliöön voidaan lisätä vaahtoamisen estoon tarkoitettua ainetta.
Kun olet lopettanut ruiskuttamisen, kytke kaikki puomiosat pois käytöstä kääntämällä puomiosien pääkytkin POIS-asentoon. Käännä sen jälkeen ruiskutuspumpun kytkin POIS-asentoon.
Note: Palauta puomiosat kuljetusasentoon ja aja ruiskutuslaite puhdistusalueelle.
Important: Kun siirrät ruiskutuslaitteen ruiskutusalueelta toiselle tai varastointi- tai puhdistusalueelle, nosta puomiosia, kunnes ne ovat siirtyneet kokonaan X-kirjaimen muotoiseen kuljetusasentoon puomiosien kuljetustelineeseen ja puomiosien sylinterit ovat vetäytyneet kokonaan sisään.
Important: Tätä toimenpidettä varten tarvitaan asteikolla varustettu astia (suositus on 0,01 ml:n asteikko) ja sekuntikello.
Important: Jos suinkin mahdollista, älä käytä ruiskutussäiliössä kierrätettyä vettä (harmaavettä).
Varmista, että ruiskutuslaitteen säiliö on puhdas. Katso kohta Ruiskutusjärjestelmän puhdistus.
Lisää ruiskutuslaitteen säiliöön vähintään 568 litraa puhdasta vettä. Katso kohta Säiliöiden täyttö.
Varmista, että testattavat suuttimet ovat aktiivisessa ruiskutusasennossa (alhaalla).
Ruiskutusmäärätilassa käytettävät koneet: varmista, että puomiosien ohituksen sulkuventtiilin nuppi on suljetussa asennossa (Kuva 48).

Ruiskutusmäärätilassa käytettävät koneet: varmista, että puomiosien ohituksen sulkuventtiili on suljettu (Kuva 48).
Kytke seisontajarru ja käynnistä moottori.
Note: Anna moottorin lämmetä 10 minuutin ajan.
Ruiskutusmäärätilassa käytettävät koneet: Suorita Using the Test Speed (Testinopeuden käyttö) -kohdan vaiheet. Lisätietoa on ExcelaRate-ruiskutusjärjestelmällä varustettujen Multi Pro 5800-D- ja 5800-G -ruiskutuslaitteiden ohjelmisto-oppaassa.
Note: Aseta simuloiduksi testinopeudeksi 4–14 km/h.
Aseta testattavien ruiskutusosien kytkimet PääLLä-asentoon.
Siirrä kaasuvipu NOPEA-asentoon.
Aseta puomiosien pääkytkin PääLLä-asentoon.
Tee 15 sekunnin keräystesti yhdestä aktiivisesta ruiskutussuuttimesta.

Aseta puomiosien pääkytkin Pois-asentoon ja kaasu hitaalle ja sammuta ruiskutuspumppu ja moottori.
Aseta asteikollinen astia tasaiselle alustalle ja tarkasta nesteen määrä (Kuva 50).
Important: Asteikollisen astian on oltava tasaisella alustalla nesteen määrää tarkastettaessa.
Important: Katso asteikollisessa astiassa olevan nesteen määrä nesteen pinnan pituusleikkauksen alhaisimmasta kohdasta.
Important: Pienetkin virheet asteikollisen astian nesteen määrää tarkastettaessa vaikuttavat olennaisesti ruiskutuslaitteen säätötarkkuuteen.

Vertaa asteikollisessa astiassa olevan veden määrää suuttimen määrään 15 sekunnin keräystestin taulukossa.
| Suuttimen väri | Kertymä millilitroina 15 sekunnin aikana | Kertymä unsseina 15 sekunnin aikana |
|---|---|---|
| Keltainen | 189 | 6,4 |
| Punainen | 378 | 12,8 |
| Ruskea | 473 | 16,0 |
| Harmaa | 567 | 19,2 |
| Valkoinen | 757 | 25,6 |
| Sininen | 946 | 32,0 |
| Vihreä | 1 419 | 48,0 |
Jos nesteen määrä asteikolla varustetussa keräysastiassa on 7,4 ml enemmän tai vähemmän kuin suuttimen määrä 15 sekunnin keräystestin taulukossa, suorita yksi seuraavista:
Säädä virtausta tai vaihda kuluneet suuttimet ja säädä virtausta. Lisätietoa on ExcelaRate-ruiskutusjärjestelmällä varustettujen Multi Pro 5800-D- ja 5800-G -ruiskutuslaitteiden ohjelmisto-oppaan virtauksen säätötoimenpiteessä.
Säädä säiliön kierron ohitusventtiili tai vaihda kuluneet suuttimet ja säädä säiliön kierron ohitusventtiili. Katso kohta Säiliön kierron ohitusventtiilin säätö.
Ruiskutuslaitteen ohjauspaneelissa olevilla puomiosien nostokytkimillä voidaan siirtää ulommat ruiskutusosat kuljetusasennosta ruiskutusasentoon poistumatta käyttäjän istuimelta. Pysäytä kone ennen ruiskutusosien asennon vaihtoa, jos mahdollista.
Siirrä ulommat ruiskutusosat ruiskutusasentoon suorittamalla seuraavat vaiheet:
Pysäköi kone tasaiselle alustalle.
Laske ulommat osat puomiosien nostokytkimillä.
Note: Odota, kunnes ulommat ruiskutusosat ovat avautuneet kokonaan ruiskutusasentoon.
Suorita ruiskutus ja vedä ulommat ruiskutusosat sitten sisään kuljetusasentoon suorittamalla seuraavat vaiheet:
Important: Jos koneeseen on asennettu kulkeuman vähennyksen puomisuojussarja, Ultra Sonic Boom -tasaussarja tai molemmat, siirrä ulommat ruiskutusosat kuljetusasentoon yksi kerrallaan.Jos suojussarja tai tasaussarja on asennettu ja molempia ulompia ruiskutusosia siirretään samaan aikaan, suojukset ja anturit saattavat vaurioitua.
Pysäköi kone tasaiselle alustalle.
Nosta ulompia ruiskutusosia puomiosien nostokytkimillä, kunnes ne ovat siirtyneet kokonaan X-kirjaimen muotoiseen kuljetusasentoon puomien kuljetustelineeseen ja nostosylinterit ovat vetäytyneet kokonaan sisään.
Important: Vapauta puomiosien nostokytkin/-kytkimet, kun ulommat ruiskutusosat ovat saavuttaneet halutun asennon. Ohjainten käyttö mekaanisten rajoittimien vastaisesti saattaa vaurioittaa nostosylintereitä ja/tai muita hydraulikomponentteja.
Important: Varmista, että kuljetusasennossa olevat ruiskutusosat eivät osu matalalla oleviin esteisiin, jotta ruiskutusosat eivät vaurioidu.
Important: Ruiskutusosat voivat vahingoittua, jos niitä kuljetetaan missä tahansa muussa asennossa kuin X-kirjaimen muotoisessa kuljetusasennossa puomien kuljetustelineessä.

Important: Varmista ennen koneen kuljetusta, että ohjaimet ovat vetäytyneet kokonaan sisään, jotta puomin nostosylinteri ei vaurioidu.
Important: Joissain olosuhteissa moottorista, jäähdyttimestä ja äänenvaimentimesta säteilevä kuumuus saattaa vaurioittaa nurmea, kun ruiskutuslaitetta käytetään paikallaan. Paikallaan käyttöä ovat esimerkiksi säiliön kierto, käsiruiskutus tai kävelypuomin käyttö.
Noudata seuraavia varotoimenpiteitä:
Vältä paikallaan ruiskutusta silloin, kun olosuhteet ovat hyvin kuumat ja/tai kuivat, koska nurmi voi tällöin olla herkempi vaurioille.
Vältä seisottamista nurmella paikallaan ruiskutuksen aikana. Seisota aina ajoreitillä, mikäli mahdollista.
Minimoi aika, jonka laite on nurmella käynnissä samassa kohdassa. Ruohon vaurioitumiseen vaikuttavat sekä aika että lämpötila.
Aseta moottorin nopeus alhaisimmaksi mahdolliseksi, jolla saavutetaan haluttu paine ja virtaus. Tämä minimoi kehittyvän lämmön ja tuulettimen ilmavirran nopeuden.
Anna lämmön poistua ylöspäin moottoritilasta kohottamalla istuinkokoonpanoja paikallaan käytön aikana niin, että lämpö ei joudu poistumaan ajoneuvon alta.
Älä ruiskuta osittain aiemmin ruiskuttamillesi alueille.
Tarkkaile suuttimien mahdollista tukkeutumista. Vaihda kuluneet tai vaurioituneet suuttimet.
Lopeta ruiskutus puomiosien pääkytkimellä, ennen kuin pysäytät ruiskutuslaitteen. Kun ruiskutuslaite on pysähtynyt, pidä moottorin kierrosluku tarpeeksi korkeana kaasuvivun avulla, jotta säiliön kierto jatkuisi.
Paremmat tulokset saadaan, jos ruiskutuslaite on liikkeessä, kun ruiskutusosat kytketään päälle.
Jos suutin tukkeutuu ruiskutuksen aikana, puhdista suutin seuraavasti:
Pysäköi ruiskutuslaite tasaiselle alustalle, sammuta moottori ja kytke seisontajarru.
Aseta puomiosien pääkytkin POIS-asentoon ja aseta sitten ruiskutuspumpun kytkin POIS-asentoon.
Irrota tukkeutunut suutin ja puhdista se vedellä täytetyllä suihkepullolla ja hammasharjalla.
Asenna suutin paikalleen.
Ennen käyttäjän paikalta poistumista:
Pysäköi kone tasaiselle alustalle.
Siirrä ajopoljin VAPAA-asentoon.
Sammuta ruiskutuspumppu.
Kytke seisontajarru.
Sammuta moottori ja irrota virta-avain (jos on).
Odota, että kaikki liikkuvat osat ovat pysähtyneet.
Koneen on annettava jäähtyä ennen sen säätöä, huoltoa, puhdistusta tai varastointia.
Kun olet lopettanut päivän työt koneella, pese kaikki koneen ulkopuolella olevat kemikaalijäämät ja varmista, että järjestelmä on huuhdeltu kolme kertaa ja neutraloitu kemikaalin valmistajan suositusten mukaisesti ja että kaikki venttiilit ovat käyneet läpi kolme jaksoa. Katso kohta Kemikaaliturvallisuus.
Anna moottorin jäähtyä, ennen kuin varastoit laitteen suljettuun tilaan.
Älä säilytä konetta tai polttoainesäiliötä tilassa, jossa on avotuli, kipinöitä tai varmistusliekki (esimerkiksi vedenlämmitin tai muu vastaava laite).
Pidä kaikki koneen osat hyvässä kunnossa ja kaikki kiinnitykset tiukalla.
Vaihda kaikki kuluneet, vaurioituneet tai puuttuvat tarrat.
Käytä koneen pesuun pelkkää vettä tai lisää veteen mietoa pesuainetta tarvittaessa. Koneen voi pestä rievulla.
Important: Älä puhdista konetta suolapitoisella tai kierrätetyllä vedellä.
Note: Älä pese konetta painepesurilla. Painepesu voi vahingoittaa sähköjärjestelmää, irrottaa tärkeitä tarroja tai huuhtoa pois tarpeellisen rasvan kitkakohdista. Älä käytä liian paljon vettä kojetaulun, moottorin ja akun läheisyydessä.
Important: Älä pese konetta moottorin ollessa käynnissä. Koneen peseminen moottorin käydessä voi vaurioittaa moottorin sisäosia.
Pysäytä ruiskutuskone, kytke seisontajarru, sammuta moottori ja irrota virta-avain.
Etsi säiliön tyhjennysventtiili koneen vasemmasta takalokasuojasta (Kuva 52).
Note: Tyhjennysventtiili on kiinnitetty vasempaan takalokasuojaan asennettuun tyhjennysventtiilin kannattimeen.

Nosta venttiiliä, kunnes sen asennustapit irtoavat tyhjennysventtiilin kannattimen aukoista, ja siirrä venttiiliä taaksepäin (Kuva 53A).

Kohdista venttiilin pää tyhjennysastiaan ja käännä venttiilin kahva Auki-asentoon (Kuva 53B).
Kun säiliö on täysin tyhjentynyt, käännä tyhjennysventtiilin kahva Kiinni-asentoon ja asenna venttiili tyhjennysventtiilin kannattimeen (Kuva 53B ja Kuva 53A).
Important: Hävitä ruiskutussäiliön kemikaalit paikallisten säännösten ja valmistajan ohjeiden mukaan.
| Huoltoväli | Huoltotoimenpide |
|---|---|
| Jokaisen käytön jälkeen |
|
Important: Käytä ruiskutuslaitteen puhdistamiseen vain puhdasta vettä.
Important: Ruiskutuslaite täytyy jokaisen käyttökerran jälkeen välittömästi tyhjentää ja huuhdella, mukaan lukien asennetut ruiskutusjärjestelmän lisälaitteet. Ruiskutuslaitteen puhdistamatta ja huuhtelematta jättäminen voi johtaa siihen, että kemikaalit kerääntyvät ja kuivuvat ja tukkivat putket, venttiilit, suutinrungot, pumpun ja muut komponentit.
Toro suosittelee hyväksytyn puhdistushuuhtelusarjan käyttöä tässä koneessa. Lisätietoja saa valtuutetulta Toro-jälleenmyyjältä.
Note: Seuraavissa suosituksissa ja ohjeissa oletetaan, että Toron huuhtelusarjaa ei ole asennettu.
Puhdista ruiskutusjärjestelmä ja asennetut ruiskutuslisälaitteet jokaisen ruiskutuskerran jälkeen. Puhdista ruiskutusjärjestelmä asianmukaisesti seuraavalla tavalla:
Suorita kolme erillistä huuhtelusykliä.
Käytä kemikaalien valmistajien suosittelemia puhdistus- ja neutralointiaineita.
Käytä viimeisessä huuhtelussa puhdasta vettä ilman puhdistus- tai neutralointiaineita.
Lisää säiliöön vähintään 190 litraa puhdasta vettä ja sulje kansi.
Note: Vedessä voi tarvittaessa käyttää puhdistus-/neutralointiainetta. Käytä viimeisessä huuhtelussa ainoastaan puhdasta, kirkasta vettä.
Laske ulommat ruiskutusosat alas ruiskutusasentoon.
Käynnistä moottori, aseta pumpun kytkin PääLLä-asentoon ja siirrä kaasuvipu suurelle moottorin nopeudelle.
Aseta säiliön kierron kytkin PääLLä-ASENTOON.
Nosta paine korkeaan asetukseen ruiskutusmäärän kytkimellä.
Aseta yksittäisten puomiosien kytkimet ja puomiosien pääkytkin PääLLä-asentoon.
Varmista, että kaikki suuttimet ruiskuttavat oikein.
Anna kaiken säiliössä olevan veden ruiskuta suuttimien läpi.
Aseta puomiosien pääkytkin POIS-asentoon, aseta säiliön kierron kytkin ja ruiskutuspumpun kytkin POIS-asentoon ja sammuta moottori.
Toista vaiheet 1–9 ainakin kahdesti, jotta ruiskutusjärjestelmä puhdistuu täysin.
Important: Huuhtelusykli on aina suoritettava kolme kertaa, jotta ruiskutusjärjestelmä ja ruiskutuslisälaitteet puhdistuvat täysin eivätkä vahingoitu.
Puhdista imusuodatin ja painesuodatin. Katso ohjeet kohdista Imusuodattimen puhdistus ja Painesuodattimen puhdistus.
Important: Jos käytit ruiskutejauheita, puhdista sihti jokaisen säiliöllisen jälkeen.
Huuhtele ruiskutuslaitteen ulkopinnat puhtaalla vedellä puutarhaletkua käyttäen.
Irrota suuttimet ja puhdista ne käsin.
Note: Vaihda kuluneet tai vahingoittuneet suuttimet.
Note: Jos koneessasi on lisävarusteena saatavia suutinsuodattimia, puhdista ne ennen suutinten asentamista. Katso Suuttimen suodattimen puhdistus.
| Huoltoväli | Huoltotoimenpide |
|---|---|
| Aina ennen käyttöä tai päivittäin |
|
Pysäköi kone tasaiselle alustalle, kytke seisontajarru, kytke pumppu pois käytöstä, sammuta moottori ja irrota virta-avain.
Irrota ruiskutuslaitteen säiliön yläosassa oleva kiinnike, joka kiinnittää letkun liittimen suodattimen kotelosta tulevaan isoon letkuun (Kuva 54).

Irrota letku ja letkun liitin suodattimen kotelosta (Kuva 54).
Vedä imuputken sihti ulos säiliössä olevasta suodattimen kotelosta (Kuva 55).

Puhdista imusuodatin puhtaalla vedellä.
Important: Suodatin tulee vaihtaa, jos se on vaurioitunut tai jos sitä ei voida puhdistaa.
Aseta imusuodatin suodattimen koteloon niin, että se on kokonaan paikallaan.
Kohdista letku ja letkun liitin suodattimen koteloon säiliön yläosassa ja kiinnitä liitin ja kotelo kiinnikkeellä, joka irrotettiin vaiheessa 2.
| Huoltoväli | Huoltotoimenpide |
|---|---|
| Aina ennen käyttöä tai päivittäin |
|
Pysäköi kone tasaiselle alustalle, kytke seisontajarru, kytke ruiskutuspumppu pois käytöstä, sammuta moottori ja irrota virta-avain.
Aseta tyhjennysastia painesuodattimen alle (Kuva 56).

Kierrä tyhjennyskorkkia vastapäivään ja irrota se painesuodattimen kammiosta (Kuva 56).
Note: Anna kammion tyhjentyä kokonaan.
Kierrä kammiota vastapäivään ja irrota suodatinpää (Kuva 56).
Irrota painesuodatinpanos (Kuva 56).
Puhdista painesuodatinpanos puhtaalla vedellä.
Important: Suodatin tulee vaihtaa, jos se on vaurioitunut tai jos sitä ei voida puhdistaa.
Tarkista, etteivät tyhjennystulpan tiiviste (sijaitsee kammion sisällä) ja kammion tiiviste (sijaitsee suodatinpään sisällä) ole vaurioituneet tai kuluneet (Kuva 56).
Important: Jos tulpan tai kammion tiiviste on vaurioitunut, vaihda tiiviste.
Asenna painesuodatinpanos suodatinpäähän (Kuva 56).
Note: Varmista, että suodatinpanos asettuu kunnolla paikalleen suodatinpäähän.
Asenna kammio suodatinpäähän ja kiristä käsin (Kuva 56).
Kiinnitä tyhjennyskorkki kammion pohjassa olevaan liittimeen ja kiristä korkki käsin (Kuva 56).
Pysäköi kone tasaiselle alustalle, kytke seisontajarru, kytke ruiskutuspumppu pois käytöstä, sammuta moottori ja irrota virta-avain.
Irrota suutin ruiskukannattimesta (Kuva 57).

Irrota suuttimen suodatin (Kuva 57).
Puhdista suuttimen suodatin puhtaalla vedellä.
Important: Suodatin tulee vaihtaa, jos se on vaurioitunut tai jos sitä ei voida puhdistaa.
Asenna suuttimen suodatin (Kuva 57).
Note: Varmista, että suodatin on kokonaan paikallaan.
Asenna suutin ruiskukannattimeen (Kuva 57).
| Huoltoväli | Huoltotoimenpide |
|---|---|
| Jokaisen käytön jälkeen |
|
Lisäaineen määritys: propeeniglykoli, "myrkytön jäänestoaine", joka ehkäisee ruostetta
Important: Käytä vain ruostetta ehkäisevää propeeniglykolia. Älä käytä kierrätettyä propeeniglykolia. Älä käytä etyleeniglykolipohjaisia jäänestoainetta.Älä käytä propyleeniglykolia, johon on lisätty liukoisia alkoholeja (metanolia, etanolia tai isopropanolia) tai suolaliuoksia.
Siirrä kone tasaiselle alustalle, kytke seisontajarru, sammuta moottori ja irrota virta-avain.
Lisää lisäainetta säiliöön seuraavasti:
Käyttövalmis (valmiiksi sekoitettu) propeeniglykolijäänestoaine: lisää säiliöön 38 litraa propeeniglykolijäänestoainetta.
Toimi propeeniglykolijäänestoaineen tiivisteen kanssa seuraavasti:
Lisää ruiskutussäiliöön 38 litraa propeeniglykolipohjaisen jäänestoainetiivisteen ja veden sekoitusta. Noudata jäänestoaineen valmistajan ohjeita niin, että tuloksena oleva liuos soveltuu -45 °C:een tai kylmempään.
Important: Käytä ruiskutuslaitteen puhdistamiseen vain puhdasta vettä.
Käynnistä moottori ja aseta ruiskutuspumpun kytkin PääLLä-asentoon.
Kasvata moottorin nopeutta painamalla kaasupoljinta.
Aseta säiliön kierron kytkin PääLLä-ASENTOON.
Anna lisäaineen ja veden liuoksen kiertää kolme minuuttia tai pidempään.
Suositeltu työkalu: kirkas keräysastia.
Siirrä kone tyhjennysalueelle ja kytke seisontajarru päälle.
Laske ulommat puomiosat alas.
Aseta vasemman, keskimmäisen ja oikean puomiosan kytkimet sekä puomiosien pääkytkin PääLLä-asentoon.
Anna ruiskutusjärjestelmän ruiskuttaa, kunnes lisäaine poistuu suutinten kautta.
Note: Propeeniglykolijäänestoaine on yleensä vaaleanpunaista. Ota keräysastialla näytteet ruiskun poistamasta aineesta useiden ruiskujen kohdalla.
Kytke puomiosien pääkytkin, kolme puomiosien kytkintä, säiliön kierron kytkin, ruiskutuspumpun kytkin ja moottori pois päältä.
Kun konetta siirretään pitkiä etäisyyksiä, käytä perävaunua tai kuorma-autoa.
Hätätapauksessa ruiskutuslaitetta voidaan hinata lyhyitä matkoja, kun hinausventtiili avataan. Sitä ei kuitenkaan suositella tavanomaiseksi käytännöksi.
Hinaaminen liian kovalla nopeudella voi heikentää ohjattavuutta, mistä voi olla seurauksena henkilövahinko.
Ruiskutuslaitteen hinausnopeus saa olla korkeintaan 4,8 km/h.
Hinaamiseen tarvitaan kaksi henkilöä. Jos laitetta on siirrettävä pidempi matka, kuljeta se kuorma-autolla tai perävaunulla. Katso Koneen kuljetus.
Anna pakokaasujärjestelmän jäähtyä täysin.
Irrota alustan suojus. Katso kohta Moottoriin pääsy.
Avaa hinausventtiili (Kuva 60) kääntämällä sitä 90 astetta jompaankumpaan suuntaan.

Important: Jos hinausventtiiliä ei avata ennen ruiskutuslaitteen hinaamista, vaihteisto vaurioituu.
Kiinnitä hinausköysi runkoon. Katso etu- ja takahinauspisteet (Kuva 61 ja Kuva 62).


Vapauta seisontajarru.
Ruiskutuslaitteen hinausnopeus saa olla korkeintaan 4,8 km/h.
Sulje hinausventtiili hinauksen päätteeksi ja kiristä se momenttiin 7–11 N·m.
Important: Asenna alustan suojus paikalleen ennen koneen ottamista uudelleen käyttöön. Katso kohta Moottoriin pääsy.
Note: Kytkentä- ja hydraulikaavion voi tarvittaessa ladata maksuttomasti osoitteesta www.Toro.com etsimällä oman koneen kotisivulla olevasta opaslinkistä.
Important: Lisää huoltotoimenpiteitä on moottorin käyttöoppaassa.
Note: Koneen vasen ja oikea puoli määritellään normaalista käyttöasennosta käsin.
Ennen käyttäjän paikalta poistumista:
Pysäköi kone tasaiselle alustalle.
Siirrä ajopoljin VAPAA-asentoon.
Kytke seisontajarru.
Sammuta moottori ja irrota virta-avain (jos on).
Odota, että kaikki liikkuvat osat ovat pysähtyneet.
Anna koneen osien jäähtyä ennen huoltoa.
Vain pätevä ja valtuutettu henkilöstö saa kunnostaa, korjata, säätää ja tarkistaa laitteen.
Puhdista ja huuhtele ruiskutuslaite huolellisesti ennen huoltoa. Katso kohta Kemikaaliturvallisuus.
Ruiskutusjärjestelmässä käytetyt kemikaalit voivat olla vaarallisia tai myrkyllisiä käyttäjälle, sivullisille, eläimille, kasveille, maaperälle tai muulle ympäristölle.
Tutustu huolellisesti kaikkien käytettyjen kemikaalien varoitusmerkintöihin ja käyttöturvallisuustiedotteisiin ja suojaudu kemikaalin valmistajan suositusten mukaisesti.
Suojaa ihosi aina, kun olet kemikaalien lähettyvillä. Suojaa itsesi kemikaaleilta käyttämällä asianmukaisia henkilönsuojaimia:
suojalasit ja/tai kasvonsuojus
kemikaaleilta suojaava puku
hengityssuojain tai suodatinsuojain
kemikaaleja kestävät käsineet
kumisaappaat tai muut tukevat kengät
puhtaat vaihtovaatteet, saippuaa ja kertakäyttöisiä pyyhkeitä puhdistusta varten
Älä käytä tai huolla ruiskutuslaitetta, jos kemikaalin turvallisuustietoja ei ole käytettävissä.
Älä täytä, kalibroi tai puhdista konetta, jos alueella on ihmisiä (etenkin lapsia) tai lemmikkejä.
Käsittele kemikaaleja hyvin tuuletetussa tilassa.
Pidä puhdasta vettä lähettyvillä etenkin, kun täytät ruiskutussäiliötä.
Älä syö, juo äläkä tupakoi, kun työskentelet kemikaalien lähettyvillä.
Älä puhdista ruiskutussuuttimia puhaltamalla niihin tai laittamalla niitä suuhun.
Pese kätesi ja muut paljaat kohdat mahdollisimman pian kemikaalien parissa työskentelyn jälkeen.
Kemikaalit ja höyryt ovat vaarallisia. Älä työnnä mitään ruumiinosia säiliöön äläkä pidä päätäsi säiliön aukon lähettyvillä.
Pidä kaikki kiinnitykset tiukalla, jotta koko kone pysyy hyvässä kunnossa.
Palovaara pienenee, kun moottoritila pidetään puhtaana liiallisesta rasvasta, kemikaaleista, ruohosta, lehdistä ja liasta.
Jos moottorin on oltava käynnissä huoltosäädön aikana, pidä kädet, jalat, vaatteet ja kaikki kehon osat kaukana moottorista ja liikkuvista osista. Älä päästä ulkopuolisia lähelle.
Älä säädä koneen ajonopeutta. Turvallisuus- ja tarkkuussyistä johtuen kannattaa antaa valtuutetun Toro-jälleenmyyjän tarkistaa ajonopeus.
Jos kone vaatii suurempaa korjausta tai jos tarvitset teknisiä neuvoja, ota yhteyttä valtuutettuun Toro-jälleenmyyjään.
Koneen muuttaminen miten tahansa voi vaikuttaa sen toimintaan, suorituskykyyn, kestävyyteen tai käyttöön, mikä voi aiheuttaa tapaturman tai kuoleman. Tämän johdosta ajoneuvon takuu voi raueta.
Tue kone pukkien varaan aina koneen alla työskenneltäessä.
Vapauta paine varovasti osista, joihin on varastoitunut energiaa.
| Huoltoväli | Huoltotoimenpide |
|---|---|
| 8 ensimmäisen käyttötunnin jälkeen |
|
| 50 ensimmäisen käyttötunnin jälkeen |
|
| 200 ensimmäisen käyttötunnin jälkeen |
|
| Aina ennen käyttöä tai päivittäin |
|
| Jokaisen käytön jälkeen |
|
| 50 käyttötunnin välein |
|
| 100 käyttötunnin välein |
|
| 200 käyttötunnin välein |
|
| 400 käyttötunnin välein |
|
| 800 käyttötunnin välein |
|
| 1000 käyttötunnin välein |
|
| 2000 käyttötunnin välein |
|
| Vuosittain |
|
Ota tästä sivusta kopioita.
|
Tarkistettavat kohdat |
Viikolle: |
||||||
|---|---|---|---|---|---|---|---|
|
Maanantai |
Tiistai |
Keskiviikko |
Torstai |
Perjantai |
Lauantai |
Sunnuntai |
|
|
Tarkista jarrujen ja seisontajarrun toiminta. | |||||||
|
Tarkista vapaan vaihteen lukituskytkimen toiminta. | |||||||
|
Tarkista polttoaineen määrä. | |||||||
|
Tarkista moottoriöljyn määrä. | |||||||
|
Tarkista hydraulinesteen määrä. | |||||||
|
Tarkista jäähdytysnesteen määrä. | |||||||
|
Tarkista ilmansuodatin. | |||||||
|
Tarkista, ettei jäähdyttimessä ja öljynlauhduttimessa ole roskia. | |||||||
|
Tarkista, kuuluuko moottorista epätavallisia ääniä. | |||||||
|
Tarkista, kuuluuko epätavallisia käyntiääniä. | |||||||
|
Tarkista rengaspaine. | |||||||
|
Tarkista nestevuodot. | |||||||
|
Tarkasta kaikki hydrauli- ja nesteletkut ja varmista, ettei niissä ole vaurioita, kiertymiä tai kulumisen merkkejä. | |||||||
|
Tarkista mittareiden toiminta. | |||||||
|
Tarkista kaasupolkimen toiminta. | |||||||
|
Puhdista imuputken sihti. | |||||||
|
Voitele kaikki rasvanipat.1 | |||||||
|
Pese kone. | |||||||
|
Korjaa maalipinnan vauriot. | |||||||
1Välittömästi jokaisen pesun jälkeen luettelon mukaisesta huoltovälistä huolimatta
| Tarkastuksen suoritti: | ||
| Vika | Päivämäärä | Huomio |
| 1 | ||
| 2 | ||
| 3 | ||
| 4 | ||
| 5 | ||
| 6 | ||
| 7 | ||
| 8 | ||
| 9 | ||
| 10 | ||
Jos jätät avaimen virtakytkimeen, joku voi vahingossa käynnistää moottorin ja vahingoittaa vakavasti lähellä olijoita.
Irrota avain virtakytkimestä ennen huoltoa.
Aina kun moottoria käytetään kunnossapitoa ja/tai moottorin vianmääritystä varten, ruiskutuslaitteen takapyörät on nostettava 25 mm irti maasta asettamalla akselipukit taka-akselin tueksi.
Pukilla oleva ruiskutuslaite voi olla epävakaa ja pudota ja vahingoittaa siten ruiskutuslaitteen alla olevaa henkilöä.
Poista aina virta-avain virtakytkimestä ennen kuin nouset pois ruiskutuslaitteelta.
Aseta pyöriin vierimisen estävät kiilat, kun ruiskutuslaite on nostettu tunkeille.
Tue kone pukkien avulla.
Ruiskutuslaitteen etunostopiste on etuakselin alapuolella suoraan lehtijousien alla (Kuva 63).

Ruiskutuslaitteen takanostopiste sijaitsee takaosassa puomitukien kohdalla (Kuva 64).

Kytke seisontajarru, kytke ruiskutuspumppu pois käytöstä, sammuta moottori ja irrota virta-avain.
Nosta koneen etu- ja takaosa ja tue ne akselipukeilla; katso Ruiskutuslaitteen nosto.
Irrota kuusi kuusiokantapulttia ja kuusi aluslaattaa, joilla etulämpösuojus on kiinnitetty alustaan, ja irrota suojus (Kuva 65).
Note: Säilytä pultit, aluslaatat ja lämpösuojus asennusta varten kohdassa Etulämpösuojuksen asennus.

Kohdista etulämpösuojuksen takalaippa takalämpösuojuksen etulaipan päälle (Kuva 66).

Kohdista etulämpösuojuksen reiät alustassa oleviin kierteisiin reikiin (Kuva 66).
Kiinnitä etulämpösuojus koneeseen kuudella kuusiokantapultilla ja kuudella aluslaatalla (Kuva 66), jotka irrotettiin kohdan Etulämpösuojuksen irrotus vaiheessa 3.
Kiristä pultit momenttiin 19,78 – 25,42 N·m.
Poista pukit ja laske kone.
Irrota viisi laippakantapulttia (5/16 × ⅞ tuumaa) ja viisi aluslaattaa (5/16 tuumaa), joilla alustan suojuksen takaosa on kiinnitetty koneen alustaan (Kuva 67).
Note: Säilytä laippakantapultit ja aluslaatat kohdan Alustan suojuksen asennus vaiheessa 5 tehtävää asennusta varten.


Irrota neljä laippalukkomutteria (5/16 tuumaa) pulteista ja lukkopultista, joilla alustan suojuksen kiinnityskielekkeet on kiinnitetty koneen moottorin asennuskannattimiin (Kuva 68).
Note: Älä irrota pultteja koneesta. Säilytä laippalukkomutterit kohdan Alustan suojuksen asennus vaiheessa 3 tehtävää asennusta varten.

Irrota kiinnityskielekkeet pulteista, joilla alustan suojus on kiinnitetty moottorin asennuskannattimiin.
Kohdista alustan suojus koneen alustan alle. Katso Kuva 68 kohdassa Alustan suojuksen irrotus.
Kiinnitä alustan suojuksen kiinnityskielekkeet koneen moottorin asennuskannattimien pultteihin ja lukkopulttiin. Katso Kuva 68 kohdassa Alustan suojuksen irrotus.
Kiinnitä alustan suojus moottorin asennuskannattimiin ja pultteihin (Kuva 68) neljällä laippalukkomutterilla (5/16 tuumaa), jotka irrotettiin kohdan Alustan suojuksen irrotus vaiheessa 2.
Kohdista alustan suojuksen takaosan reiät alustan reikiin. Katso Kuva 67 kohdassa Alustan suojuksen irrotus.
Kiinnitä alustan suojuksen takaosa alustaan (Kuva 67) viidellä laippakantapultilla (5/16 × ⅞ tuumaa) ja viidellä aluslaatalla (5/16 tuumaa), jotka irrotettiin kohdan Alustan suojuksen irrotus vaiheessa 1.
Kiristä mutterit ja pultit momenttiin 11,29 – 15,82 N·m.
Kohdista istuimen jalustan huoltopaneelin reiät istuimen jalustan reikiin (Kuva 69).
Kiinnitä istuimen jalustan huoltopaneeli istuimen jalustaan kahdella laippakantapultilla (Kuva 69), jotka irrotettiin kohdan Istuimen jalustan huoltopaneelin irrotus vaiheessa 1.
Kiristä pultit momenttiin 19,75 – 25,42 N·m.
| Huoltoväli | Huoltotoimenpide |
|---|---|
| 50 käyttötunnin välein |
|
Rasvatyyppi: litiumrasva nro 2. Toro Premium All Purpose Grease -rasvaa on saatavilla valtuutetulta Toro-jälleenmyyjältä.
Ohjaussylinteri: kaksi rasvanippaa sylinterin tangon kummassakin päässä
Yhdystanko: kaksi rasvanippaa tangon kummassakin päässä
Karatappi: kaksi rasvanippaa koneen kummallakin puolella
Pyyhi liika rasva pois.
Note: Rasvanippojen sijainnit: Kuva 71.


| Huoltoväli | Huoltotoimenpide |
|---|---|
| 100 käyttötunnin välein |
|
Important: Jos puomien saranat pestään vedellä, kaikki vesi ja roskat on poistettava saranakokoonpanosta ja saranoihin on lisättävä rasvaa.
Rasvatyyppi: litiumrasva nro 2.
Pyyhi rasvanipat puhtaaksi, ettei epäpuhtauksia pääse laakeriin tai holkkiin.
Pumppaa laakeriin tai holkkiin rasvaa kunkin nipan kohdalla, (Kuva 73).

Pyyhi pois ylimääräinen rasva.
Toista vaiheet kunkin puomin nivelen kohdalla.
| Huoltoväli | Huoltotoimenpide |
|---|---|
| 400 käyttötunnin välein |
|
Rasvatyyppi: litiumrasva nro 2.
Laske ulommat ruiskutusosat alas ruiskutusasentoon.
Irrota sokka liitintapista (Kuva 74).
Nosta ruiskutusosa, irrota liitintappi ja laske ruiskutusosa sitten varovasti maahan (Kuva 74).
Tarkasta liitintappi vaurioiden varalta ja vaihda se tarvittaessa.

Käännä tangon päässä oleva laakeri ja lisää laakeriin rasvaa (Kuva 75).
Note: Pyyhi liika rasva pois.

Aseta nivel ja ohjausvarsi kohdakkain nostamalla ruiskutusosa.
Tue ruiskutusosaa ja työnnä liitintappi sekä puomin nivelen että ohjausvarren läpi (Kuva 74).
Kun tappi on paikallaan, vapauta ruiskutusosa ja varmista liitintappi aikaisemmin irrotetulla sokalla.
Toista vaiheet 2–8 ohjausvarren laakereiden kohdalla koneen toisella puolella.
Moottori on sammutettava ennen öljyn tarkistusta tai lisäystä kampikammioon.
| Huoltoväli | Huoltotoimenpide |
|---|---|
| Aina ennen käyttöä tai päivittäin |
|
Kytke seisontajarru, kytke ruiskutuspumppu pois käytöstä, sammuta moottori ja irrota virta-avain.
Kallista matkustajan istuinta eteenpäin ja aseta kannatintanko sen ohjauslovessa olevaan pidättimeen.
Puhdista pölysuojus ja ilmanpuhdistimen runko (Kuva 76).

Tarkista, ettei ilmanpuhdistimen rungossa ole vaurioita, jotka voivat aiheuttaa ilmavuodon (Kuva 76).
Note: Vaihda pölysuojus ja ilmanpuhdistimen runko, jos jompikumpi on vaurioitunut.
Puhdista pölynestoventtiilistä lika, pöly ja epäpuhtaudet puristamalla sitä (Kuva 76).
Löysää kaksi salpaa, joilla pölysuojus on kiinni ilmanpuhdistimen rungossa.
Tarkista, ettei ilmansuodatinpanokseen ole kertynyt liikaa pölyä, likaa tai epäpuhtauksia (Kuva 76).
Note: Jos ilmansuodatinpanos on likainen, älä puhdista sitä vaan vaihda se.
Asenna pölysuojus ilmanpuhdistimen runkoon ja kiinnitä se kahdella salvalla (Kuva 76).
Note: Varmista, että pölynestoventtiili kohdistuu kello 5–7:n asentoon päästä katsottuna.
Laske matkustajan istuin alas.
| Huoltoväli | Huoltotoimenpide |
|---|---|
| 100 käyttötunnin välein |
|
Jos asennat uutta suodatinta, tarkista, ettei uusi ilmansuodatinpanos ole vaurioitunut kuljetuksen aikana. Tarkista myös suodattimen tiivistetty pää.
Important: Älä asenna viallista suodatinta.
Puhdista pölysuojus ja ilmanpuhdistimen runko (Kuva 76).
Nosta jäähdytysnesteen ylivuotosäiliö ylös ja irti säiliön tukikannattimesta (Kuva 77).

Löysää kaksi salpaa, joilla pölysuojus on kiinni ilmanpuhdistimen rungossa (Kuva 77).
Liu’uta vanha ilmansuodatinpanos irti ilmanpuhdistimen rungosta varovasti, jotta pölyä irtoaa vähemmän.
Note: Älä kolhi ilmansuodatinpanosta ilmanpuhdistimen runkoa vasten.
Pyyhi pölysuojuksen sisäpuoli, ilmanpuhdistimen runko ja pölynestoventtiili puhtaaksi kostealla liinalla (Kuva 76 ja Kuva 77).
Aseta ilmansuodatinpanos ilmansuodattimen runkoon (Kuva 77).
Note: Varmista, että suodatin asettuu kunnolla ilmanpuhdistimen runkoon painamalla ilmansuodatinpanoksen ulkoreunaa asennuksen aikana. Älä paina suodattimen joustavaa keskikohtaa.
Asenna suojus ilmanpuhdistimen runkoon ja kiinnitä se kahdella salvalla (Kuva 77).
Note: Varmista, että pölysuojus on kohdistettu kello 5–7:n asentoon päästä katsottuna (Kuva 77).
Kohdista jäähdytysnesteen ylivuotosäiliö säiliön tukikannattimeen ja varmista, että se asettuu kunnolla paikalleen (Kuva 77).
Important: Varmista, että ylipaineletku kulkee alas ja eteenpäin ja säiliön ilmaletku kulkee taaksepäin kuvan mukaisesti (Kuva 77).
Laske matkustajan istuin alas.
Öljytyyppi: API-huoltoluokitus SL tai korkeampi.
Öljyn viskositeetti: katso alla olevasta öljyn viskositeettitaulukosta.
| Ympäristön lämpötila-alue | Öljyn viskositeetti |
| Yli 25 °C | SAE30, SAE10W-30 tai SAE15W-40 |
| 0–25 °C | SAE20 tai SAE10W-30 |
| 0–20 °C | SAE10W tai SAE10W-30 |
Toro Premium -moottoriöljyä on saatavana jälleenmyyjältä (viskositeetti 15W-40 tai 10W-30). Katso osanumerot osaluettelosta.
| Huoltoväli | Huoltotoimenpide |
|---|---|
| Aina ennen käyttöä tai päivittäin |
|
Note: Paras aika tarkistaa moottoriöljy on moottorin ollessa viileä ennen päivän ensimmäistä käynnistystä. Jos moottori on ollut käynnissä, anna öljyn valua takaisin öljypohjaan ainakin 10 minuutin ajan ennen tarkistusta.
Moottori toimitetaan kampikammio öljyllä täytettynä. Öljymäärä on kuitenkin tarkistettava ennen moottorin ensimmäistä käynnistystä ja käytön jälkeen.
Pysäköi kone tasaiselle alustalle.
Irrota matkustajan istuimen alla oleva mittatikku ja pyyhi se puhtaalla liinalla (Kuva 78).
Note: Laita mittatikku putkeen ja tarkista, että se asettuu kunnolla paikalleen. Irrota mittatikku ja tarkista öljymäärä.


Jos öljyä on vähän, irrota täyttöaukon korkki venttiilikopasta (Kuva 78) ja kaada öljyä täyttökaulaan, kunnes öljyä on mittatikun Full-merkkiin saakka.
Note: Lisää öljyä hitaasti ja tarkista määrä useamman kerran täyttämisen aikana. Älä täytä liikaa.
Asenna öljyntäyttökorkki (Kuva 78).
Asenna mittatikku tukevasti paikalleen (Kuva 78).
| Huoltoväli | Huoltotoimenpide |
|---|---|
| 50 ensimmäisen käyttötunnin jälkeen |
|
| 200 käyttötunnin välein |
|
Irrota etulämpösuojus; katso Etulämpösuojuksen irrotus.
Nosta istuimet.
Istuimen alapuolella olevat osat ovat kuumia, jos ruiskutuslaite on ollut käynnissä. Kuumien osien koskettaminen saattaa aiheuttaa palovammoja.
Anna ruiskutuslaitteen jäähtyä, ennen kuin suoritat huoltotoimenpiteitä tai kosketat konepellin alla olevia osia.
Aseta tyhjennysastia moottorin öljynsuodattimen alle (Kuva 79).

Irrota vanha öljynsuodatin (Kuva 79).
Note: Toimita käytetty öljynsuodatin valtuutetun jälleenkäsittelylaitoksen hävitettäväksi.
Pyyhi moottorin öljynsuodattimen istukan pinta puhtaaksi liinalla.
Täytä öljynsuodatin määritysten mukaisella öljyllä.
Note: Kyllästä suodatinpanos öljyllä.
Sivele ohut kerros määritysten mukaista öljyä uuden öljynsuodattimen kumitiivisteelle.
Asenna öljynsuodatin suodattimen istukkaan ja kierrä öljynsuodatinta myötäpäivään, kunnes kumitiiviste koskettaa suodattimen istukkaa. Kiristä sitten suodatinta vielä ½ kierrosta (Kuva 79).
Note: Älä kiristä öljynsuodatinta liikaa.
Pyyhi pois kaikki ylimääräinen öljy.
5,1 l suodattimen kanssa. Katso kohta Moottoriöljyn tekniset tiedot.
| Huoltoväli | Huoltotoimenpide |
|---|---|
| 50 ensimmäisen käyttötunnin jälkeen |
|
| 200 käyttötunnin välein |
|
Aseta tyhjennysastia tyhjennystulpan alle (Kuva 79).
Irrota tyhjennystulppa (Kuva 79) ja anna kaiken öljyn valua pois.
Note: Tarkista, ettei tyhjennystulpan tiiviste ole kulunut tai vaurioitunut. Vaihda tiiviste, jos se on kulunut tai vaurioitunut.
Note: Toimita käytetty öljy valtuutetun jälleenkäsittelylaitoksen hävitettäväksi.
Asenna tyhjennystulppa moottorin öljypohjan tyhjennysaukkoon ja kiristä tulppa momenttiin 33–37 N·m.
Kallista matkustajan istuinta eteenpäin ja aseta kannatintanko sen ohjauslovessa olevaan pidättimeen.
Irrota öljyntäyttökorkki moottorin venttiilikopan täyttökaulasta (Kuva 80) ja kaada hitaasti noin 80 % määritetystä öljymäärästä täyttökaulaan.

Irrota mittatikku ja tarkista moottorin öljymäärä (Kuva 80).
Lisää öljyä hitaasti mittatikun täysi-merkkiin saakka (Kuva 80).
Important: Moottorin täyttäminen liian täyteen öljyä voi vaurioittaa moottoria.
Asenna öljyntäyttökorkki täyttökaulaan ja asenna mittatikku mittatikun putkeen (Kuva 80).
Käynnistä moottori ja tarkista, että järjestelmässä ei ole vuotoja.
Sammuta moottori, odota 2–3 minuuttia, irrota mittatikku ja tarkista moottoriöljyn taso.
Note: Irrota tarvittaessa öljyntäyttökorkki, lisää määrityksen mukaista öljyä mittatikun täysi-merkkiin saakka ja asenna öljyntäyttökorkki.
Asenna mittatikku ja moottorin lämpösuojus ja kallista istuimet alas.
| Huoltoväli | Huoltotoimenpide |
|---|---|
| 1000 käyttötunnin välein |
|
Kallista kuljettajan istuinta eteenpäin ja aseta kannatintanko sen ohjauslovessa olevaan pidättimeen.
Irrota PCV-venttiili venttiilikopan liitännästä (Kuva 81).
Note: Älä irrota letkua PCV-venttiilistä.

Ravista PCV-venttiiliä.
Note: Jos venttiilin sisäinen rajoitin kalisee, PCV-venttiili voidaan huoltaa. Jos sisäinen rajoitin ei ole riittävän löysä kalisemaan ravistettaessa, vaihda PCV-venttiili (Kuva 81).
Asenna PCV-venttiili niin, että se on kokonaan kiinni venttiilikopan liitännän tiivisteessä (Kuva 81).
Laske käyttäjän istuin.
| Huoltoväli | Huoltotoimenpide |
|---|---|
| 400 käyttötunnin välein |
|
Tee kaikki moottorin käyttöoppaassa mainitut vuosittaiset huoltotoimenpiteet.
Tietyissä olosuhteissa polttoaine ja polttoainehöyryt ovat erittäin tulenarkoja ja räjähdysherkkiä. Polttoaineen aiheuttamasta tulipalosta tai räjähdyksestä voi olla seurauksena palovammoja ja omaisuusvahinkoja.
Täytä säiliö suppilon avulla ulkona tai avoimessa tilassa, kun moottori on sammutettu ja jäähtynyt. Pyyhi läikkynyt polttoaine pois.
Polttoainesäiliötä ei saa täyttää aivan täyteen. Lisää polttoainetta säiliöön, kunnes pinta on 25 mm täyttökaulan alareunan alapuolella. Säiliöön jäävä tyhjä tila antaa polttoaineen laajentua.
Älä tupakoi polttoainetta käsitellessäsi ja pysy kaukana avotulesta tai paikoista, joissa kipinä voi sytyttää polttoainehöyryt.
Säilytä polttoaine puhtaassa, turvallisuushyväksytyssä polttoainesäiliössä. Pidä korkki suljettuna.
| Huoltoväli | Huoltotoimenpide |
|---|---|
| 50 ensimmäisen käyttötunnin jälkeen |
|
| 400 käyttötunnin välein |
|
Tarkista, ettei letkuissa ja liittimissä ole kulumia, vaurioita tai löysiä liitäntöjä.
Note: Jos huomaat polttoainevuotoja, korjaa polttoainekomponentit ennen koneen käyttöä.
Suorita tämä toimenpide, kun polttoainesuodatin on huollettu tai jos moottorista on loppunut polttoaine eikä moottori käynnisty.
Varmista, että polttoainesäiliö on puolillaan polttoainetta.
Aseta avain virtakytkimeen ja käännä se PääLLä-ASENTOON.
Käännä avain PYSäYTYS-asentoon.
Yritä käynnistää moottori.
Jos moottori ei käynnisty, toista vaiheet 2 ja 3 useita kertoja ja yritä sitten käynnistää moottori.
Note: Toista vaihe 5, kunnes moottori käynnistyy.
| Huoltoväli | Huoltotoimenpide |
|---|---|
| 400 käyttötunnin välein |
|
Kytke seisontajarru, pysäytä ruiskutuspumppu, sammuta moottori ja irrota virta-avain.
Irrota neljä ruuvia (#10 × ¾ tuumaa), joilla suojus on kiinnitetty polttoainesäiliön yläosaan, ja irrota suojus (Kuva 82).

Kytke seisontajarru, pysäytä ruiskutuspumppu, sammuta moottori ja irrota virta-avain.
Irrota neljä ruuvia (#10 × ¾ tuumaa), joilla hiilisäiliön kannatin on kiinnitetty polttoainesäiliön yläosaan (Kuva 83).

Löysää kaksi letkunkiristintä, joilla letkut on kiinnitetty hiilisäiliön liitäntöihin (Kuva 84).

Irrota letkut liitännöistä (Kuva 85).

Irrota letkunkiristimet letkuista (Kuva 85).
Irrota hiilisäiliö polttoainesäiliöstä (Kuva 85).
Irrota koneen johdinsarjan 2-istukkainen liitin polttoainepumpun/tunnistimen 2-nastaisesta liittimestä. Irrota koneen johdinsarjan 2-nastainen liitin polttoainepumpun/tunnistimen 2-istukkaisesta liittimestä (Kuva 86).

Liu’uta polttoaineletkun kytkentäkappaleen lukitusholkki pois polttoainepumpun/tunnistimen liitännästä ja irrota kytkentäkappale ja letku liitännästä (Kuva 86).
Note: Pyyhi kaikki polttoaine, joka virtaa letkun kytkentäkappaleesta tai polttoainepumpun liitännästä.
Kierrä polttoainepumpun/tunnistimen mutteria vastapäivään ja irrota mutteri ja tiiviste (Kuva 86)
Nosta ja kierrä polttoainepumppu/tunnistin varovasti ulos polttoainesäiliön kaulasta (Kuva 87).
Important: Ole varovainen käsitellessäsi polttoainepumppua/tunnistinta, jotta tunnistimen uimurin varsi ei vahingoitu.

Irrota polttoainesuodattimen polttoaineputki polttoainepumpun liitännästä (Kuva 88).
Note: Hävitä polttoainesuodatin.

Kohdista uuden polttoainesuodattimen polttoaineputki polttoainepumpun liitäntään (Kuva 88).
Kohdista polttoainesuodattimen pitkä jalka uimurin kanssa, kun uimurin varsi on tyhjä-asennossa (Kuva 88).
Työnnä polttoainepumpun liitäntää polttoaineputkeen, kunnes liitäntä on kokonaan paikallaan (Kuva 88).
Tue uimurin vartta ja polttoaineputkea yhteen ja ujuta uimuri ja polttoainesuodatin polttoainesäiliön aukkoon (Kuva 87).
Important: Varmista, että uimuri ja suodattimen pitkä jalka osoittavat säiliössä eteenpäin ja että polttoainepumpun yläosassa sijaitseva liitäntä osoittaa 90° koneen keskilinjaa kohti.
Asenna polttoainepumppu/tunnistin säiliön aukkoon (Kuva 87 ja Kuva 88).
Asenna tiiviste ja mutteri polttoainepumpun/tunnistimen päälle ja polttoainesäiliön kaulaan ja kiristä mutteri käsin (Kuva 87).
Liitä polttoaineletkun kytkentäkappale polttoainepumpun liitäntään (Kuva 87).
Note: Varmista, että polttoaineletkun kytkentäkappaleen lukitusholkki kiinnittää kytkentäkappaleen pumpun liitäntään.
Kytke koneen johdinsarjan 2-istukkainen liitin polttoainepumpun/tunnistimen 2-nastaiseen liittimeen. Kytke koneen johdinsarjan 2-nastainen liitin polttoainepumpun/tunnistimen 2-istukkaiseen liittimeen (Kuva 87).
Käännä virtakytkin KäYNNISSä-asentoon ja tarkasta polttoaineletkun kytkentäkappale vuotojen varalta.
Note: Jos kytkentäkappale vuotaa, käännä virtakytkin PYSäYTYS-asentoon, irrota virta-avain, irrota kytkentäkappale ja tarkasta se ja liitäntä lian ja vaurioiden varalta. Asenna sitten letku ja kytkentäkappale liitäntään.
Note: Korjaa mahdolliset polttoainevuodot ennen seuraavaan vaiheeseen siirtymistä.
Kiinnitä suojus säiliöön (Kuva 89) neljällä ruuvilla (#10 × ¾ tuumaa), jotka irrotettiin kohdan Polttoainepumpun kannen irrotus vaiheessa 2.

Kiristä ruuvit momenttiin 1,13 N·m.
Vie polttoainesäiliön letkut hiilisäiliön kannattimen läpivientisuojusten läpi (Kuva 90).

Asenna letkunkiristimet letkujen päälle (Kuva 90).
Liitä letkut hiilisäiliön liitäntöihin (Kuva 90).
Kiinnitä letkut liitäntöihin kiristimillä (Kuva 91)

Kohdista hiilisäiliön kannattimen reiät polttoainesäiliön reikiin (Kuva 92).

Kiinnitä kannatin säiliöön (Kuva 92) neljällä ruuvilla (#10 × ¾ tuumaa).
Kiristä ruuvit momenttiin 1,13 N·m.
| Huoltoväli | Huoltotoimenpide |
|---|---|
| 400 käyttötunnin välein |
|
Tyhjennä ja puhdista polttoainesäiliö, jos polttoainejärjestelmä likaantuu tai kone on tarkoitus varastoida pitkäksi aikaa. Kun puhdistat polttoainesäiliötä, huuhtele se tuoreella, puhtaalla polttoaineella.
Siirrä polttoaine säiliöstä hyväksyttyyn polttoaineastiaan lappopumpulla. Siirrä polttoaine koneesta ennen kuin kaadat säiliössä mahdollisesti jäljellä olevan polttoaineen täyttösuuttimen läpi polttoaineastiaan.
Note: Jos polttoainesäiliö päätetään irrottaa, polttoaineletku ja sähköliittimet on irrotettava polttoainepumpusta ja tunnistimesta. Katso kohta Polttoainepumpun ja tunnistimen irrotus.
Huuhtele säiliö tarvittaessa tuoreella, puhtaalla polttoaineella.
Vaihda polttoainesuodattimet. Katso kohta Polttoainesuodattimen vaihto.
Asenna säiliö, jos se irrotettiin vaiheessa 1.
Note: Jos polttoainesäiliö irrotettiin, polttoaineletku ja sähköliittimet on kytkettävä polttoainepumppuun ja tunnistimeen. Katso kohta Polttoainepumpun ja tunnistimen asennus.
Täytä säiliö tuoreella, puhtaalla polttoaineella.
Irrota akun kytkennät ennen kuin korjaat konetta. Irrota kaapeli ensin miinusnavasta ja vasta sitten plusnavasta. Kytke ensin plusnavan akkukenkä ja vasta sitten miinusnavan akkukenkä.
Lataa akku avoimessa tilassa, jossa on hyvä ilmanvaihto, kaukana kipinöistä ja avotulesta. Irrota laturin virtajohto ennen kuin kytket laturin akkuun tai irrotat sen akusta.
Käytä suojavaatetusta ja eristettyjä työkaluja.
Sähköjärjestelmän sulakerasia sijaitsee käyttäjän istuimen alla (Kuva 93).

| Huoltoväli | Huoltotoimenpide |
|---|---|
| 50 käyttötunnin välein |
|
Pidä akku aina puhtaana ja täysin ladattuna. Puhdista akku ja akkukotelo paperipyyhkeellä. Jos akun navat ovat syöpyneet, puhdista ne liuoksella, jossa on neljä osaa vettä ja yksi osa ruokasoodaa. Sivele akun napoihin ohut rasvakerros, jotta ne eivät syöpyisi.
Jännite: 12 V, kylmäkäynnistysteho 690 A lämpötilassa –18° C.
Pysäköi ruiskutuslaite tasaiselle alustalle, kytke seisontajarru, kytke ruiskutuspumppu pois käytöstä, sammuta moottori ja irrota virta-avain.
Poista akkukotelo ja irrota negatiivinen (musta) maakaapeli akun navasta (Kuva 94).

Akun kaapeleiden virheellinen kytkentä voi vahingoittaa ruiskutuslaitetta ja kaapeleita sekä aiheuttaa kipinöitä. Kipinät voivat saada akun kaasut räjähtämään ja aiheuttaa siten henkilövahingon.
Irrota aina akun miinuskaapeli (musta) ennen pluskaapelin (punainen) irrottamista.
Kytke aina akun pluskaapeli (punainen) ennen miinuskaapelia (musta).
Akun navat tai metallityökalut voivat aiheuttaa oikosulun koskettaessaan metalliosia, mistä voi seurata kipinöitä. Kipinät voivat saada akun kaasut räjähtämään ja aiheuttaa siten henkilövahingon.
Kun irrotat tai asennat akun, älä anna akun napojen koskettaa ruiskutuslaitteen metalliosia.
Älä anna metallityökalujen aiheuttaa oikosulkua akun napojen ja ruiskutuslaitteen metalliosien välille.
Pidä akun hihna aina paikallaan suojaamassa ja kiinnittämässä akkua.
Irrota positiivinen (punainen) kaapeli akun navasta.
Irrota akku.
Aseta akku akkukoteloon siten, että akun navat ovat etäällä ruiskutuslaitteesta.
Kytke pluskaapeli (punainen) akun plusnapaan (+) ja miinuskaapeli (musta) akun miinusnapaan (–) pulttien ja mutterien avulla.
Vedä eristesuojus akun plusnavan päälle.
Asenna akun suojus ja kiinnitä se aiemmin irrotetulla hihnalla (Kuva 94).
Important: Pidä akun pidike aina paikallaan suojaamassa ja kiinnittämässä akkua.
Important: Pidä akku aina täysin ladattuna. Tämä on erityisen tärkeää siksi, että näin ehkäistään akun vahingoittuminen, kun lämpötila on alle 0 °C.
Irrota akku alustasta. Katso kohta Akun irrotus.
Kytke 3–4 A:n akkulaturi akun napoihin ja lataa akkua 3–4 A:n virralla 4–8 tunnin ajan (12 V).
Important: Älä lataa akkua liikaa.
Asenna akku alustaan. Katso kohta Akun asennus.
Jos kone varastoidaan yli 30 päivän ajaksi, irrota akku ja lataa se täyteen. Säilytä sitä hyllyllä tai koneessa. Irrota akkukaapelit, jos säilytät akkua koneessa. Varastoi akku viileään tilaan, jotta sen lataus purkautuu mahdollisimman hitaasti. Varmista, että akku on ladattu täyteen, jotta se ei jäädy.
| Huoltoväli | Huoltotoimenpide |
|---|---|
| 8 ensimmäisen käyttötunnin jälkeen |
|
| 200 ensimmäisen käyttötunnin jälkeen |
|
| 100 käyttötunnin välein |
|
| 400 käyttötunnin välein |
|
Kiristä etupyörien mutterit momenttiin 75–102 N·m ja takapyörien mutterit momenttiin 95–122 N·m.
Reunakiveykseen tai vastaavaan osuminen voi vaurioittaa rengasta tai vannetta ja vioittaa pyörien suuntausta, joten tarkista renkaiden kunto pienenkin onnettomuuden jälkeen.
SAE 85W-140 -vaihteistovoiteluaine
| Huoltoväli | Huoltotoimenpide |
|---|---|
| 400 käyttötunnin välein |
|

Tarkista, että kone on tasaisella alustalla. Aseta pyörä siten, että täyttötulppa on ylimmässä (kello 12:n) asennossa ja tyhjennystulppa alimmassa (kello kuuden) asennossa (Kuva 96).

Irrota tarkistustulppa (Kuva 53).
Voiteluaineen tason pitäisi näkyä tarkistustulpan aukon kierteiden alareunassa.

Tarkista tarkistustulpan O-renkaat vaurioiden varalta.
Vaihda O-rengas, jos se on vaurioitunut.
Jos voiteluainetta on vähän, irrota täyttötulppa ja lisää määrityksen mukaista voiteluainetta, kunnes sitä alkaa valua ulos tarkistustulpan aukosta (Kuva 98). Katso kohta Planeettapyörästön voiteluaineen tiedot.

Tarkista täyttötulpan O-renkaat vaurioiden varalta.
Vaihda O-rengas, jos se on vaurioitunut.
Asenna täyttötulppa ja tarkistustulppa (Kuva 98).
Toista vaiheet 1–6 koneen toisella puolella olevalle planeettapyörästölle.
| Huoltoväli | Huoltotoimenpide |
|---|---|
| 50 ensimmäisen käyttötunnin jälkeen |
|
| 800 käyttötunnin välein |
|
Tarkista, että kone on tasaisella alustalla. Aseta pyörä siten, että täyttötulppa on ylimmässä (kello 12:n) asennossa ja tyhjennystulppa alimmassa (kello kuuden) asennossa. Katso Kuva 96 kohdassa Planeettapyörästön voiteluaineen tarkistus.
Aseta tyhjennysastia planeettapyörästön keskiön alle, irrota tyhjennystulppa, täyttötulppa ja tarkistustulppa ja valuta voiteluaine kokonaan pois (Kuva 99).

Tarkista tyhjennys- ja täyttötulppa metallilastujen varalta.
Jos tyhjennys- ja täyttötulppa ovat metallilastujen peitossa, korjaa planeettapyörästö.
Tarkista tyhjennystulpan, täyttötulpan ja tarkistustulpan O-renkaat vaurioiden varalta.
Vaihda vaurioituneet O-renkaat.
Asenna tyhjennystulppa.
Aseta tyhjennysastia jarrurummun alle, irrota tyhjennystulppa ja valuta voiteluaine kokonaan pois (Kuva 100).

Asenna tyhjennystulppa jarrurumpuun.
0,62 l. Katso kohta Planeettapyörästön voiteluaineen tiedot.
Lisää määritysten mukaista vaihteistovoiteluainetta hitaasti täyttöaukkoon. Katso Kuva 98 kohdassa Planeettapyörästön voiteluaineen tarkistus.
Voiteluaineen tason pitäisi näkyä tarkistustulpan aukon kierteiden alareunassa.
Important: Jos planeettapyörästö täyttyy ennen kuin voiteluainetta on lisätty määritysten mukainen määrä, odota yksi tunti tai asenna tulpat ja liikuta konetta noin kolme metriä, jotta voiteluaine leviää jarrujärjestelmään. Irrota sitten tulpat ja lisää jäljellä oleva voiteluaine.
Anna voiteluaineen tason asettua kymmenen minuutin ajan, tarkista se ja lisää tarvittaessa voiteluainetta, jotta voiteluaineen taso nousee tarkistustulpan aukon kierteiden alareunaan.
Asenna täyttötulppa ja tarkistustulppa. Katso Kuva 98 kohdassa Planeettapyörästön voiteluaineen tarkistus.
Toista vaiheet Planeettapyörästön voiteluaineen tyhjennys ja Planeettapyörästön täyttäminen voiteluaineella koneen toisella puolella olevalle planeettapyörästölle.
| Huoltoväli | Huoltotoimenpide |
|---|---|
| 200 käyttötunnin välein |
|
Renkaiden etu- ja takaosan keskilinjojen välissä on oltava 0–3 mm tilaa.
Tarkista ja täytä kaikki renkaat. Katso kohta Rengaspaineen tarkistus.
Mittaa eturenkaiden välinen etäisyys akselin korkeudelta eturenkaiden edestä ja takaa (Kuva 101).
Note: Renkaiden etuosan välin pitäisi olla 0–3 mm pienempi kuin eturenkaiden takaosan välin.

Jos mittaustulos ei ole määritetyllä alueella, löysää raidetangon molemmissa päissä olevia vastamuttereita (Kuva 102).

Pyöritä raidetankoa, jolloin renkaiden etupuoli liikkuu sisään- tai ulospäin.
Kiristä raidetangon vastamutterit, kun säätö on oikea.
Varmista, että ohjauspyörä kääntyy saman verran molempiin suuntiin.
Jäähdytysneste on myrkyllistä. Pidä poissa lasten ja lemmikkieläinten ulottuvilta.
Paineella suihkuava kuuma jäähdytysneste, kuuma jäähdytin ja sitä ympäröivät osat voivat aiheuttaa vakavia palovammoja.
Anna moottorin jäähtyä ainakin 15 minuuttia ennen jäähdyttimen korkin irrottamista.
Käytä korkkia käsitellessäsi liinaa ja aukaise korkki hitaasti, jotta paine pääsee pois.
Älä käytä konetta, jos suojukset eivät ole paikoillaan.
Pidä sormet, kädet ja vaatteet etäällä pyörivästä tuulettimesta ja käyttöhihnasta.
Jäähdytysnestesäiliö täytetään tehtaalla veden ja etyleeniglykolipohjaisen käyttöikää pidentävän jäähdytysnesteen seoksella (seossuhde 50:50). Tarkista jäähdytysnesteen määrä ennen moottorin ensimmäistä käynnistystä ja sen jälkeen päivittäin. Katso kohta Jäähdytysnesteen määrän tarkistus.
Seuraavat kaupallisesti saatavat jäähdytysnesteet tai valmistajan määrittämät vastaavat tuotteet vastaavat käyttöikää pidentävän jäähdytysnesteen vaatimuksia:
|
Ford (Motorcraft™) |
WSS-M97B44-D |
|
FCA – Chrysler (Mopar™) |
MS-12106 |
|
General Motors (AC Delco™) |
GM6277M (Dex-Cool™) |
|
GMW 3420 |
|
|
Volkswagen |
G12 |
|
G12+ |
|
|
G12++ |
|
|
Jäähdytysnesteet, jotka ovat teknisten standardien ASTM D3306 tai D4985 tai SAE J1034, J814 tai 1941 mukaisia. |
|
|
Important: Älä yritä erottaa tavallista (IAT) ja pitkän käyttöiän (OAT) jäähdytysnestetyyppiä toisistaan värin perusteella.Jäähdytysnestevalmistajat voivat värjätä pitkän käyttöiän jäähdytysnestettä (OAT) joillakin seuraavista väreistä: punainen, vaaleanpunainen, oranssi, keltainen, sininen, sinivihreä, violetti ja vihreä. |
|
|
Etyleeniglykolijäähdytysnesteen tyyppi |
Korroosionestoaineen tyyppi |
Huoltoväli |
|
Käyttöikää pidentävät jäätymisenestoaineet |
Orgaaninen happotekniikka (OAT) |
5 vuotta |
|
Perinteinen jäätymisenestoaine (vihreä) |
Epäorgaaninen happotekniikka (IAT) |
2 vuotta |
Note: Kun koneeseen lisätään jäähdytysnestettä, jäähdytysjärjestelmä ei vaurioidu, jos tavallista jäätymisenestoainetta (IAT) sekoitetaan pitkän käyttöiän jäätymisenestoaineeseen (OAT). Jäätymisenestoainetyyppien sekoittaminen kuitenkin heikentää OAT-koostumuksen käyttöikää pidentävää ominaisuutta.
Important: Tavallisen (IAT) ja pitkän käyttöiän (OAT) jäähdytysnesteseoksen huoltoväli – missä tahansa seossuhteessa – on yhtä pitkä kuin lyhimmän huoltovälin jäähdytysnesteellä, eli 2 vuotta.
| Huoltoväli | Huoltotoimenpide |
|---|---|
| Aina ennen käyttöä tai päivittäin |
|
Jos moottori on juuri sammutettu, jäähdytysneste saattaa olla kuumaa ja paineenalaista. Jos jäähdyttimen korkki avataan jäähdytysnesteen ollessa kuumaa, nestettä saattaa ruiskuta ulos, mikä voi aiheuttaa vakavia palovammoja lähellä oleville.
Anna moottorin jäähtyä ainakin 15 minuuttia ennen jäähdyttimen korkin avaamista.
Important: Älä lisää jäähdytysnestettä ylikuumenneeseen moottoriin, ennen kuin moottori on jäähtynyt täysin. Jäähdytysnesteen lisääminen ylikuumenneeseen moottoriin saattaa aiheuttaa halkeaman moottorilohkoon.
Pysäköi ruiskutuslaite tasaiselle alustalle.
Kytke seisontajarru, kytke ruiskutuspumppu pois käytöstä, sammuta moottori ja irrota virta-avain.
Irrota varovasti jäähdyttimen korkki ja paisuntasäiliön korkki (Kuva 103).

Tarkista jäähdytysnesteen määrä jäähdyttimessä ja paisuntasäiliössä.
Note: Jäähdytysnestettä on oltava jäähdyttimen täyttökaulan yläreunaan saakka ja paisuntasäiliön Full-merkkiin saakka (Kuva 103).
Jos jäähdytysnestettä on vähän, irrota paisuntasäiliön korkki ja jäähdyttimen korkki ja täytä paisuntasäiliö Full-merkkiin asti ja jäähdytin täyttökaulan yläreunaan asti (Kuva 103).
Important: Älä täytä paisuntasäiliötä liian täyteen.
Important: Älä käytä pelkkää vettä tai alkoholi-/metanolipohjaista jäähdytysainetta.
Asenna jäähdyttimen korkki ja paisuntasäiliön korkki (Kuva 103).
5,5 l. Katso kohta Jäähdytysnesteen tiedot.
| Huoltoväli | Huoltotoimenpide |
|---|---|
| 400 käyttötunnin välein |
|
Omistajan hankkima varuste: käsikäyttöinen jäähdytysnesteen lämpömittari
Pysäköi ruiskutuslaite tasaiselle alustalle, kytke seisontajarru, kytke ruiskutuspumppu pois käytöstä, sammuta moottori ja irrota virta-avain.
Odota, kunnes moottori on jäähtynyt, ja irrota jäähdyttimen korkki (Kuva 103).
Aseta iso tyhjennysastia jäähdyttimen alle.
Avaa tyhjennysventtiili ja valuta jäähdytysneste astiaan (Kuva 104).

Sulje tyhjennysventtiili (Kuva 104).
Irrota jäähdyttimen korkki (Kuva 103).
Täytä jäähdytin hitaasti jäähdytysnesteellä noin 2,5 cm korkin tiivistepinnan alapuolelle.
Note: Käytä tarpeeksi jäähdytysnestettä, jotta moottori ja järjestelmän letkut täyttyvät. Näin jäähdytysnesteellä on tilaa laajentua niin, että se ei vuoda yli moottorin lämmetessä.
Asenna korkki löysästi jäähdyttimeen ja käynnistä moottori (Kuva 103).
Anna moottorin lämmetä, kunnes termostaatti avautuu.
Note: Moottorin termostaatin pitäisi avautua, kun käsikäyttöinen jäähdytysnesteen lämpömittari ilmaisee, että jäähdytysnesteen lämpötila on 79–88 °C.
Kun jäähdytysneste on lämmennyt, lisää nestettä korkin tiivistyspintaan asti ja kiristä korkki (Kuva 103).
Avaa paisuntasäiliön korkki ja täytä säiliö jäähdytysnesteellä Kylmä-tasoon asti (Kuva 103).
Tarkista jäähdytysnesteen tasot usean käynnistyksen ja sammutuksen jälkeen.
Note: Lisää tarvittaessa jäähdytysnestettä jäähdyttimeen ja paisuntasäiliöön.
Jos jarrupoljin liikkuu enemmän kuin 2,5 cm ennen kuin vastus tuntuu, säädä jarruja seuraavalla tavalla:
Pysäköi ruiskutuslaite tasaiselle alustalle, kytke ruiskutuspumppu pois käytöstä, sammuta moottori ja irrota virta-avain.
Kytke seisontajarru.
Kiilaa pyörät, ettei kone pääse vierimään.
Vapauta seisontajarru.
Löysää ruiskutuslaitteen etupään alla olevien jarruvaijereiden etummaisia vastamuttereita (Kuva 105).

Kiristä takimmaisia vastamuttereita yhtä paljon, kunnes jarrupoljin liikkuu 1–2 cm, ennen kuin vastus tuntuu (Kuva 105).
Important: Kiristä kumpaakin taemmista muttereista yhtä paljon, jotta jarruvaijereiden kierteiset päät etumaisten muttereiden edessä ovat yhtä pitkät.
Kiristä etummaiset vastamutterit.
| Huoltoväli | Huoltotoimenpide |
|---|---|
| 8 ensimmäisen käyttötunnin jälkeen |
|
| 100 käyttötunnin välein |
|
Tarkista laturin ja tuulettimen hihnan kunto ja kireys. Vaihda hihna tarpeen vaatiessa.
Pysäköi ruiskutuslaite tasaiselle alustalle, kytke seisontajarru, kytke ruiskutuspumppu pois käytöstä, sammuta moottori ja irrota virta-avain.
Tarkista laturin hihnan kireys painamalla hihnaa laturin ja kampiakselin hihnapyörien puolivälistä 10 kg:n voimalla.
Note: Hihnan tulisi painua 10–12 mm. Jos hihna painuu liikaa, siirry kohtaan 3. Jos hihnan kireys on oikea, voit ohittaa tämän toimenpiteen jäljellä olevat vaiheet ja jatkaa ruiskutuslaitteen käyttöä.
Löysää laturin nivelkohdassa olevaa pulttia sekä pulttia, jolla laturi on kiinnitetty uritettuun kannattimeen (Kuva 106).

Aseta vääntörauta laturin ja moottorin väliin ja väännä laturia varovasti ulospäin.
Kun kireys on oikea, kiristä laturin ja kannattimen pultit.
Lukitse säätö kiristämällä lukkomutteri.
Jos nestettä pääsee ihon alle, hakeudu välittömästi lääkäriin. Lääkärin on poistettava neste kirurgisesti muutaman tunnin sisällä.
Poista varovasti paine hydraulijärjestelmästä, ennen kuin huollat sitä.
Varmista, että kaikki hydrauliletkut ja -putket ovat hyvässä kunnossa ja että kaikki hydrauliliitokset ja -liittimet ovat tiukalla, ennen kuin lisäät hydraulijärjestelmän painetta.
Pidä keho ja kädet kaukana vuotavista rei’istä ja suuttimista, joista suihkuaa korkeapaineista hydraulinestettä.
Etsi hydraulinestevuotoja pahvin tai paperin avulla.
Säiliö on täytetty tehtaalla korkealaatuisella hydraulinesteellä. Tarkista hydraulinesteen taso ennen moottorin ensimmäistä käynnistystä ja sen jälkeen päivittäin. Katso kohta Hydraulinesteen tarkistus.
Suositettu hydraulineste: Toro PX Extended Life Hydraulic Fluid, saatavana 19 litran astioissa tai 208 litran tynnyreissä.
Note: Kun koneessa käytetään suosituksen mukaista nestettä, nesteen ja suodattimien vaihtovälit pitenevät.
Vaihtoehtoiset hydraulinesteet: Jos Toro PX Extended Life Hydraulic Fluid -nestettä ei ole saatavana, voidaan käyttää muita tavallisia öljypohjaisia hydraulinesteitä, jotka täyttävät kaikki jäljempänä luetellut vaatimukset (ominaisuudet ja standardit). Älä käytä synteettistä nestettä. Pyydä voiteluaineiden jälleenmyyjältä neuvoja sopivan tuotteen valitsemiseen.
Note: Toro ei vastaa vääränlaisten nesteiden käytöstä aiheutuneista vaurioista, joten käytä vain sellaisten tunnettujen valmistajien tuotteita, joiden luokituksiin voi luottaa.
| Ominaisuudet: | ||
| Viskositeetti, ASTM D445 | cSt / 40 °C 44–48 | |
| Viskositeetti-indeksi, ASTM D2270 | 140 tai korkeampi | |
| Jähmepiste, ASTM D97 | –37 °C–45 °C | |
| Standardit: | Eaton Vickers 694 (I-286-S, M-2950-S/35VQ25 tai M-2952-S) | |
Note: Monet hydraulinesteet ovat lähes värittömiä, mikä vaikeuttaa vuotojen toteamista. Hydraulinesteelle tarkoitettua punaista värilisäainetta on saatavana 20 ml:n pulloissa. Yksi pullo riittää 15–22 litralle hydraulinestettä. Tilaa valtuutetulta Toro-jälleenmyyjältäsi (osanro 44-2500).
Important: Toro Premium Synthetic Biodegradable Hydraulic Fluid on ainoa Toron hyväksymä luonnossa hajoava synteettinen neste. Neste on yhteensopiva Toro-hydraulijärjestelmissä käytettyjen elastomeerien kanssa, ja sitä voidaan käyttää useissa lämpötiloissa. Neste on yhteensopiva perinteisten mineraaliöljyjen kanssa, mutta paras mahdollinen luonnossa hajoavuus ja suorituskyky saavutetaan huuhtelemalla perinteinen neste perusteellisesti pois hydraulijärjestelmästä. Öljyä on saatavana 19 litran astioissa tai 208 litran tynnyreissä valtuutetulta Toro-jälleenmyyjältä.
| Huoltoväli | Huoltotoimenpide |
|---|---|
| Aina ennen käyttöä tai päivittäin |
|
Important: Jos neste saastuu, ota yhteys valtuutettuun Toro-jälleenmyyjään, sillä koko järjestelmä on huuhdeltava.Saastunut neste näyttää maitomaiselta tai mustalta puhtaaseen nesteeseen verrattuna.
Pysäköi ruiskutuslaite tasaiselle alustalle, kytke seisontajarru, kytke ruiskutuspumppu pois käytöstä, sammuta moottori ja irrota virta-avain.
Puhdista hydraulinestesäiliön mittatikun korkkia ympäröivä alue ja irrota korkki (Kuva 107).

Important: Varo erityisesti, ettei aukkoon pääse epäpuhtauksia, kun tarkistat nesteen.
Pyyhi mittatikku puhtaalla liinalla ja aseta se kokonaan säiliöön.
Vedä mittatikku ulos täyttökaulasta ja tarkista nesteen taso (Kuva 108).
Note: Nesteen tason on oltava mittatikun alamerkin kohdalla, kun neste on kylmää.

Jos neste on vähissä, lisää säiliöön määritettyä hydraulinestettä, kunnes alamerkki saavutetaan. Katso kohta Hydraulinesteen laatuvaatimukset.
Asenna mittatikku säiliöön ja kiinnitä se.
| Huoltoväli | Huoltotoimenpide |
|---|---|
| 800 käyttötunnin välein |
|
| 1000 käyttötunnin välein |
|
Kuuma hydraulineste saattaa aiheuttaa vakavia palovammoja.
Anna hydraulinesteen jäähtyä, ennen kuin teet mitään hydraulijärjestelmän huoltotöitä.
Important: Muiden suodattimien käyttö saattaa mitätöidä joidenkin osien takuun.
Käytä Toro-vaihtosuodatinta (oikea osanumero on varaosaoppaassa).
Pysäköi ruiskutuslaite tasaiselle alustalle, kytke seisontajarru, kytke ruiskutuspumppu pois käytöstä, sammuta moottori ja irrota virta-avain.
Etsi koneen kaksi hydraulisuodatinta (Kuva 109, jaKuva 110).
Note: Yksi suodatin sijaitsee hydraulinestesäiliön alapuolella ja toinen koneen takaosassa rungossa.
Etusuodatin, hydraulisäiliön alapuolella

Takasuodatin, koneen rungossa

Puhdista suodattimen kiinnitysalueen ympäristö.
Aseta tyhjennysastia suodattimen alle.
Irrota suodatin.
Toimita käytetty suodatin valtuutetun jälleenkäsittelylaitoksen hävitettäväksi.
Voitele uusi suodattimen tiiviste puhtaalla hydraulinesteellä. Katso kohta Hydraulinesteen tarkistus.
Pyyhi suodattimen kiinnitysalue puhtaaksi rievulla.
Kierrä suodatinta, kunnes tiiviste koskettaa asennuslevyä. Kiristä sitten vielä puoli kierrosta.
Käynnistä moottori, siirrä kaasuvipu nopealle joutokäynnille ja anna moottorin käydä 3–5 minuuttia, jotta kaikki ilma purkautuu hydraulijärjestelmästä.
Sammuta moottori ja tarkista hydraulinesteen taso ja mahdolliset vuodot. Katso kohta Hydraulinesteen tarkistus.
54 l. Katso kohta Hydraulinesteen laatuvaatimukset.
| Huoltoväli | Huoltotoimenpide |
|---|---|
| 800 käyttötunnin välein |
|
| 2000 käyttötunnin välein |
|
Kuuma hydraulineste saattaa aiheuttaa vakavia palovammoja.
Anna hydraulinesteen jäähtyä, ennen kuin teet mitään hydraulijärjestelmän huoltotöitä.
Important: Muiden nesteiden käyttö saattaa mitätöidä joidenkin osien takuun.
Vaihda hydraulinesteen suodattimet. Katso kohta Hydraulisuodattimien vaihto.
Puhdista hydrauliletkun kiinnikettä ympäröivä alue hydraulinestesäiliön pohjassa (Kuva 111).

Aseta suuri tyhjennysastia hydraulisäiliön kiinnikkeiden alle.
Irrota letkukiinnike säiliöstä ja valuta neste astiaan (Kuva 111).
Toimita käytetty öljy valtuutetun jälleenkäsittelylaitoksen hävitettäväksi.
Asenna letku ja kiinnike säiliöön ja kiristä tiukkaan.
Täytä hydraulisäiliö noin 53 litralla määritettyä hydraulinestettä tai vastaavaa. Katso kohta Hydraulinesteen laatuvaatimukset.
Käynnistä moottori, siirrä kaasuvipu nopealle joutokäynnille ja anna moottorin käydä 3–5 minuuttia, jotta kaikki ilma purkautuu hydraulijärjestelmästä.
Sammuta moottori ja tarkista hydraulinesteen taso ja mahdolliset vuodot. Katso kohta Hydraulinesteen tarkistus.
| Huoltoväli | Huoltotoimenpide |
|---|---|
| 200 käyttötunnin välein |
|
| 400 käyttötunnin välein |
|
Tarkasta kaikki ruiskutusjärjestelmän letkut halkeamien, vuotojen ja muiden vaurioiden varalta. Tarkasta samalla liitokset ja kiinnitykset vastaavien vaurioiden varalta. Vaihda kaikki vaurioituneet letkut ja kiinnikkeet.
| Huoltoväli | Huoltotoimenpide |
|---|---|
| 400 käyttötunnin välein |
|
Note: Määritä työhön sopiva imusuodattimen silmäkoko kohdan Imusuodattimen valinta avulla.
Pysäköi kone tasaiselle alustalle, kytke seisontajarru, kytke pumppu pois käytöstä, sammuta moottori ja irrota virta-avain.
Irrota ruiskutuslaitteen säiliön yläosassa oleva kiinnike, joka kiinnittää letkun liittimen suodattimen kotelosta tulevaan isoon letkuun (Kuva 112).

Irrota letku ja letkun liitin suodattimen kotelosta (Kuva 112).
Irrota vanha imusuodatin säiliössä olevasta suodattimen kotelosta (Kuva 113).
Note: Hävitä vanha suodatin.

Asenna uusi imusuodatin suodattimen koteloon.
Note: Varmista, että suodatin on kokonaan paikallaan.
Kohdista letku ja letkun liitin suodattimen koteloon säiliön yläosassa ja kiinnitä liitin ja kotelo kiinnikkeellä, joka irrotettiin vaiheessa 2.
| Huoltoväli | Huoltotoimenpide |
|---|---|
| 400 käyttötunnin välein |
|
Siirrä kone vaakasuoralle alustalle, kytke ruiskutuspumppu pois käytöstä, sammuta moottori ja irrota virta-avain.
Aseta tyhjennysastia painesuodattimen alle (Kuva 114).

Kierrä tyhjennystulppaa vastapäivään ja irrota se painesuodattimen kammiosta (Kuva 114).
Note: Anna kammion tyhjentyä kokonaan.
Kierrä kammiota vastapäivään ja irrota se suodatinpäästä (Kuva 114).
Irrota vanha painesuodatinpanos (Kuva 114).
Note: Hävitä vanha suodatin.
Tarkista, etteivät tyhjennystulpan O-rengas (sijaitsee kammion sisällä) ja kammion O-rengas (sijaitsee suodatinpään sisällä) ole vaurioituneet tai kuluneet (Kuva 114).
Note: Jos tulpan tai kammion O-rengas on vaurioitunut, vaihda rengas.
Asenna uusi painesuodatinpanos suodatinpäähän (Kuva 114).
Note: Varmista, että suodatinpanos asettuu kunnolla paikalleen suodatinpäähän.
Asenna kammio suodatinpäähän ja kiristä käsin (Kuva 114).
Asenna tulppa kammioon ja kiristä se käsin (Kuva 114).
Note: Määritä työhön sopiva suuttimen suodattimen sihtikoko kohdan Suutinkappaleen suodattimen valinta (lisävaruste) avulla.
Pysäköi kone tasaiselle alustalle, kytke seisontajarru, kytke ruiskutuspumppu pois käytöstä, sammuta moottori ja irrota virta-avain.
Irrota suutin ruiskukannattimesta (Kuva 115).

Irrota vanha suuttimen suodatin (Kuva 115).
Note: Hävitä vanha suodatin.
Asenna uusi suuttimen suodatin (Kuva 115).
Note: Varmista, että suodatin on kokonaan paikallaan.
Asenna suutin ruiskukannattimeen (Kuva 115).
Kytke seisontajarru, käynnistä moottori ja siirrä kaasu joutokäynnille.
Nosta vasemman- tai oikeanpuoleista taittopuomia hitaasti, kunnes se on lähellä ylempää telineputkea.
Löysää kahta kiristysruuvia, joilla alempi telineputki on kiinnitetty (Kuva 116).

Kierrä telinekokoonpanoa, kunnes telineputken mutka on taittopuomin putken yläosan liukukappaleen kohdalla (Kuva 117).

Kiristä kaksi kiristysruuvia momenttiin 19,78 – 25,42 N·m.
Laske ulommat puomit alas.
Nosta toista taittopuomia hitaasti, kunnes se koskettaa telinettä.
Jos jompikumpi ylempi telineputki ei ole säädetty oikein liukukappaleiden kohdalle, toista vaiheet 2–7.
Note: Liukukappaleiden on kosketettava telinettä ylemmän telineputken mutkan kohdalla (Kuva 117).
Nosta taittopuomit kokonaan ylös, sammuta moottori, irrota avain ja odota, että kaikki liikkuvat osat pysähtyvät.
Keskipuomin ohjaimia voidaan säätää pitämään vasen ja oikea puomi tasassa seuraavasti.
Avaa puomit ruiskutusasentoon.
Irrota sokka saranatapista (Kuva 118).

Nosta puomia ja irrota tappi (Kuva 118). Laske puomi sitten varovasti maahan.
Tarkasta tappi vaurioiden varalta ja vaihda se tarvittaessa.
Pidä ohjausvarren tasaisesta osasta kiinni jakoavaimella ja löysää sitten vastamutteria (Kuva 119).

Lyhennä tai pidennä laajennettu ohjausvarsi haluttuun pituuteen kääntämällä tangon päätä ohjausvarressa (Kuva 119).
Note: Tangon päätä on käännettävä puolikkaita tai kokonaisia kierroksia, jotta varsi voidaan asentaa puomiin.
Kiinnitä ohjausvarsi ja tangon pää kiristämällä vastamutteri.
Aseta nivel ja ohjausvarsi kohdakkain nostamalla puomia.
Pitele puomia ja työnnä tappi sekä puomin nivelen että tangon pään läpi (Kuva 118).
Kun tappi on paikallaan, vapauta puomi ja varmista tappi aikaisemmin irrotetulla sokalla.
Toista toimenpide tarvittaessa toiselle ohjausvarrelle.
| Huoltoväli | Huoltotoimenpide |
|---|---|
| 400 käyttötunnin välein |
|
Pysäköi kone tasaiselle alustalle, kytke seisontajarru, kytke pumppu pois käytöstä, sammuta moottori ja irrota virta-avain.
Avaa ulommat puomiosat ruiskutusasentoon ja tue ne pukeilla tai hihnoilla ja nostolaitteella.
Irrota pultti ja mutteri, joilla saranatappi on kiinni, ja irrota tappi (Kuva 120).

Irrota puomi ja kääntökannatin keskirungon päätykanavasta, jotta pääset käsiksi nailonholkkeihin.
Irrota ja tarkasta nailonholkit kääntökannattimen etu- ja takaosista (Kuva 120).
Note: Vaihda kuluneet tai vaurioituneet holkit.
Voitele nailonholkit pienellä määrällä öljyä ja asenna ne kääntökannattimeen (Kuva 120).
Kohdista kääntökannattimen reiät päätykanavan reikiin (Kuva 120).
Asenna saranatappi ja kiinnitä se paikalleen vaiheessa 3 irrotetulla laippapultilla ja laippalukkomutterilla.
Toista vaiheet 2–8 toisen ulomman puomiosan kohdalla.
| Huoltoväli | Huoltotoimenpide |
|---|---|
| 400 käyttötunnin välein |
|
Note: Seuraavat laitteen osat katsotaan kuluviksi osiksi, ellei niitä havaita viallisiksi. Ne eivät kuulu laitteen takuun piiriin.
Valtuutetun Toro-jälleenmyyjän on tarkastettava seuraavat pumpun sisäosat vaurioiden varalta:
Pumpun kalvot
Pumpun sulkuventtiilikokoonpanot
Vaihda osat tarpeen vaatiessa.
Käytä koneen pesuun pelkkää vettä tai lisää veteen mietoa pesuainetta tarvittaessa. Koneen voi pestä rievulla.
Important: Älä puhdista konetta suolapitoisella tai kierrätetyllä vedellä.
Note: Älä pese konetta painepesurilla. Painepesu voi vahingoittaa sähköjärjestelmää, irrottaa tärkeitä tarroja tai huuhtoa pois tarpeellisen rasvan kitkakohdista. Älä käytä liian paljon vettä kojetaulun, moottorin ja akun läheisyydessä.
Important: Älä pese konetta moottorin ollessa käynnissä. Koneen peseminen moottorin käydessä voi vaurioittaa moottorin sisäosia.
| Huoltoväli | Huoltotoimenpide |
|---|---|
| 200 käyttötunnin välein |
|
Important: Älä ruiskuta vettä kuumaan moottoritilaan, sillä tämä saattaa vaurioittaa moottoria.
Pysäköi ruiskutuslaite tasaiselle alustalle, kytke seisontajarru, kytke ruiskutuspumppu pois käytöstä, sammuta moottori ja irrota virta-avain.
Kallista kuljettajan ja matkustajan istuimia eteenpäin ja aseta kannatintanko sen ohjauslovessa olevaan pidättimeen.
Anna jäähdytysjärjestelmän jäähtyä.
Irrota istuimen jalustan huoltopaneeli; katso Istuimen jalustan huoltopaneelin irrotus.
Puhdista jäähdyttimen rivat pehmeällä harjalla ja matalapaineisella paineilmalla.
Note: Puhdista jäähdyttimen rivat tarvittaessa useammin. Tarkista kaikki jäähdytysletkut ja vaihda kaikki kuluneet, vuotavat tai vaurioituneet letkut.
Laske kuljettajan ja matkustajan istuimet.
Asenna istuimen jalustan huoltopaneeli; katso Istuimen jalustan huoltopaneelin asennus.
| Huoltoväli | Huoltotoimenpide |
|---|---|
| 200 käyttötunnin välein |
|
Huuhtele ja tyhjennä koko ruiskutusjärjestelmä perusteellisesti.
Irrota virtausmittari ruiskutuslaitteesta ja huuhtele se puhtaalla vedellä.
Irrota pidätinrengas sisääntulopuolelta (Kuva 121).

Puhdista turbiini ja turbiinin napa metallilastuista ja ruiskutejauheesta.
Tarkista turbiinin siivet kulumien varalta.
Note: Pidä turbiinia kädessä ja pyöritä sitä. Sen pitäisi pyöriä vapaasti ilman huomattavaa vastusta. Jos se ei pyöri vapaasti, vaihda se.
Asenna virtausmittari.
Käytä ilmasuutinta alhaisella paineella (0,34 bar) ja varmista, että turbiini pyörii vapaasti.
Note: Jos se ei pyöri vapaasti, löysää turbiinin navan pohjassa olevaa kuusiotappia 1/16 kierrosta, kunnes turbiini pyörii vapaasti.
Katso ohjeet säiliön kierron venttiilin puhdistamiseen seuraavista kohdista:
Katso ohjeet puomiosien venttiilien puhdistamiseen seuraavista kohdista:
Pysäköi ruiskutuslaite tasaiselle alustalle, kytke seisontajarru, kytke ruiskutuspumppu pois käytöstä, sammuta moottori ja irrota virta-avain.
Irrota kiinnike, jolla ohjain on kiinnitetty puomiosan venttiilin tai säiliön kierron venttiilin jakoputkeen (Kuva 122).
Note: Purista kiinnikkeen tappeja yhteen ja työnnä sitä samalla alas.
Note: Säilytä ohjain ja kiinnike asennusta varten kohdassa Venttiilin ohjaimen asennus.

Irrota ohjain venttiilin jakoputkesta.
Irrota pikaliitintappi, jolla säiliön kierron letkun pikaliitin on kiinnitetty säiliön kierron venttiilin jakoputkeen (Kuva 123).

Irrota kolme laippakiristintä, joilla säiliön kierron venttiilin jakoputki on kiinnitetty painesuodattimen pään ja liitännän sovittimen laippoihin (Kuva 123.)
Irrota kaksi laippakantapulttia (¼ × ¾ tuumaa) ja kaksi laippalukkomutteria (¼ tuumaa), joilla säiliön kierron venttiilin jakoputki on kiinnitetty venttiilin tukeen (Kuva 124).

Irrota säiliön kierron venttiilin jakoputki ja tiivisteet koneesta (Kuva 124).
Note: Saat tarvittaessa lisää tilaa löysäämällä painesuodattimen pään kiinnitysosia.
Note: Säilytä laippakiristimet, tiivisteet ja pikaliitintapit kohdassa Säiliön kierron venttiilin jakoputken asennus tehtävää asennusta varten.
Irrota pikaliitintappi, jolla puomiosan ohitusventtiilin pikaliitin on kiinnitetty puomiosan venttiilin jakoputkeen (Kuva 125).

Irrota pikaliitintappi, jolla puomiosan syöttöletkun pikaliitin on kiinnitetty puomiosan venttiilin jakoputken pikaliitäntään (Kuva 125).
Irrota kaksi laippakiristintä, joilla puomiosan venttiilin jakoputki on kiinnitetty viereisten osien laippoihin (Kuva 126).

Vasemman tai oikean puomiosan venttiilin jakoputket: irrota kaksi laippakantapulttia (¼ × ¾ tuumaa) ja kaksi laippalukkomutteria (¼ tuumaa), joilla puomiosan venttiilin jakoputki on kiinnitetty venttiilin tukeen (Kuva 127).

Siirrä puomiosan venttiilin jakoputki ja tiivisteet alas puomiosan ohitusventtiilin edestä ja sitten pois koneesta (Kuva 127).
Note: Saat tarvittaessa lisää tilaa löysäämällä vasemman tai oikean puomiosan venttiilin jakoputken kiinnitysosia.
Note: Säilytä laippakiristimet, tiivisteet ja pikaliitintapit kohdassa Puomiosan venttiilin jakoputken asennus tehtävää asennusta varten.
Aseta venttiilinvarsi kiinni-asentoon (ruutu B, Kuva 128).

Irrota päätysuojuksen liitinkokoonpanot jakoputken rungon molemmista päistä (Kuva 129 ja Kuva 130).


Käännä venttiilinvartta niin, että kuula on auki-asennossa (Kuva 128 A).
Note: Kun venttiilinvarsi on linjassa venttiilin virtauksen kanssa, kuula liukuu ulos.
Irrota varren kiinnike jakoputken varren portissa olevista koloista (Kuva 129 ja Kuva 130).
Irrota varren kiinnike ja venttiilinvarren istukka jakoputkesta (Kuva 129 ja Kuva 130).
Vedä venttiilinvarsikokoonpano ulos jakoputken rungosta (Kuva 129 ja Kuva 130).
Puhdista jakoputken sisäpuoli ja kuulaventtiilin ulkopuoli, venttiilinvarsikokoonpano, venttiilinvarren pidike ja päätyliittimet.
Käyttäjälle toimitettavat varusteet: kirkas silikonirasva.
Important: Käytä jatkoputken kokoamisessa vain silikonirasvaa.
Tarkista, että lähtöliittimen O-renkaat (vain puomiosan venttiilin jakoputkessa), päätysuojuksen O-renkaat, istukan O-renkaan tukirenkaat tai kuulan istukka eivät ole vaurioituneet tai kuluneet (Kuva 129 ja Kuva 130).
Note: Vaihda kaikki vaurioituneet tai kuluneet O-renkaat.
Levitä silikonirasvaa venttiilinvarteen ja aseta se venttiilinvarren istukkaan (Kuva 129 ja Kuva 130).
Asenna venttiilinvarsi ja istukka jakoputkeen ja kiinnitä ne varren kiinnikkeellä (Kuva 129 ja Kuva 130).
Varmista, että istukan O-renkaan tukirengas ja kuulan istukka ovat kohdallaan ja asettuvat kunnolla päätysuojuksen liittimeen (Kuva 129 ja Kuva 130)
Asenna päätysuojuksen liitinkokoonpano jakoputken runkoon niin, että päätysuojuksen liittimen laippa koskettaa jakoputken runkoa (Kuva 129 ja Kuva 130). Käännä sen jälkeen päätysuojuksen liitintä vielä ⅛–¼ kierrosta.
Note: Varo vahingoittamasta liittimen päätä.
Aseta kuula venttiilin runkoon (Kuva 131).
Note: Venttiilinvarren pitäisi sopia kuulan aukkoon. Jos venttiilinvarsi ei sovi, säädä kuulan asentoa (Kuva 131).

Käännä venttiilinvarsikokoonpanoa niin, että venttiili on kiinni-asennossa (Kuva 128 B).
Toista vaiheet 4 ja 5 toisen päätysuojuksen liitinkokoonpanon kohdalla.
Kohdista vaiheessa Puomiosan venttiilin jakoputken irrotus irrotetut kaksi tiivistettä puomiosien venttiilin jakoputken laippoihin (Kuva 132).
Note: Saat tarvittaessa lisää tilaa löysäämällä vasemman tai oikean puomiosan venttiilin jakoputken kiinnitysosia.

Kohdista puomiosan venttiilin jakoputken laippa muiden puomiosien venttiilien ja/tai liitännän sovittimen laippojen väliin (Kuva 132).
Kiinnitä puomiosan ohitusventtiilin pikaliitin puomiosan venttiilin jakoputken pikaliitäntään pikaliitintapilla (Kuva 132 ja Kuva 133).

Asenna vaiheessa Puomiosan venttiilin jakoputken irrotus irrotetut laippakiristimet löysästi puomiosan venttiilin jakoputken laippoihin ja muiden puomiosien venttiilien ja/tai liitännän sovittimen laippoihin (Kuva 134).

Vasemman tai oikean puomiosan venttiilin jakoputket: asenna puomiosan venttiilin jakoputki venttiilin tukeen (Kuva 132) kahdella laippakantapultilla (¼ × ¾ tuumaa) ja kahdella laippalukkomutterilla (¼ tuumaa), jotka irrotettiin vaiheessa Puomiosan venttiilin jakoputken irrotus.
Kiristä laippakantapultit ja laippalukkomutterit momenttiin 1 978 – 2 542 N·cm.
Kiristä kaksi laippakiristintä käsin (Kuva 134).
Kiinnitä puomiosan letkun pikaliitin puomiosan venttiilin jakoputken pikaliitäntään pikaliitintapilla (Kuva 133).
Jos löysäsit vasemman tai oikean puomiosan venttiilin jakoputken kiinnitysosia, kiristä mutteri ja pultti momenttiin 1 978 – 2 542 N·cm.
Kohdista säiliön kierron venttiilin jakoputken laippa ja kolme tiivistettä säiliön kierron ohitusventtiilin, painesuodattimen pään ja liitännän sovittimen laippoihin (Kuva 135 ja Kuva 136).
Note: Saat tarvittaessa lisää tilaa löysäämällä painesuodattimen pään kiinnitysosia.


Kiinnitä säiliön kierron venttiilin jakoputki löysästi säiliön kierron ohitusventtiiliin, painesuodattimen päähän ja liitännän sovittimeen (Kuva 136) kolmella vaiheessa Säiliön kierron venttiilin jakoputken irrotus irrotetulla laippakiristimellä.
Kiinnitä säiliön kierron venttiilin jakoputki venttiilin tukeen kahdella kohdassa Säiliön kierron venttiilin jakoputken irrotus irrotetulla laippakantapultilla (¼ × ¾ tuumaa) ja kahdella laippalukkomutterilla (¼ tuumaa).
Kiristä laippakantapultit ja laippalukkomutterit momenttiin 1 978 – 2 542 N·cm.
Kiristä kolme laippakiristintä käsin (Kuva 136).
Kiinnitä säiliön kierron letkun pikaliitin säiliön kierron venttiilin jakoputken pikaliitäntään pikaliitintapilla (Kuva 136).
Jos löysäsit painesuodattimen pään kiinnitysosia, kiristä mutteri ja pultti momenttiin 19,8–25,4 N·m.
Kohdista ohjain venttiilin jakoputkeen (Kuva 122).
Kiinnitä ohjain ja venttiili kiinnikkeellä, joka irrotettiin kohdan 2 vaiheessa Venttiilin ohjaimen irrottaminen.
Ennen käyttäjän paikalta poistumista:
Pysäköi kone tasaiselle alustalle.
Sammuta ruiskutuspumppu.
Kytke seisontajarru.
Sammuta moottori ja irrota virta-avain (jos on).
Odota, että kaikki liikkuvat osat ovat pysähtyneet.
Koneen on annettava jäähtyä ennen sen säätöä, huoltoa, puhdistusta tai varastointia.
Älä säilytä konetta tai polttoainesäiliötä tilassa, jossa on avotuli, kipinöitä tai varmistusliekki (esimerkiksi vedenlämmitin tai muu vastaava laite).
Suorita seuraavat toimenpiteet:
Important: Älä puhdista konetta suolapitoisella tai kierrätetyllä vedellä.
Pysäköi kone tasaiselle alustalle, kytke seisontajarru, kytke ruiskutuspumppu pois käytöstä, sammuta moottori, irrota virta-avain ja odota, että kaikki liikkuvat osat ovat pysähtyneet, ennen kuin poistut koneen luota.
Puhdista lika ja rasva koko koneesta, myös moottorin sylinterinkannen rivoista ja tuulettimen kotelosta.
Important: Laite voidaan pestä miedolla pesuaineella ja vedellä. Älä pese konetta painepesurilla. Painepesu voi vahingoittaa sähköjärjestelmää tai huuhtoa pois tarpeellisen rasvan kitkakohdista. Älä käytä liian paljon vettä etenkään kojetaulun, valojen, moottorin ja akun läheisyydessä.
Siirrä kone tyhjennysalueelle, kytke seisontajarru, sammuta ruiskutuspumppu, sammuta moottori, irrota virta-avain ja odota, että kaikki liikkuvat osat ovat pysähtyneet, ennen kuin poistut käyttäjän paikalta.
Tyhjennä puhdasvesisäiliö ja jätä säiliön tulppa auki.
Tyhjennä ruiskutussäiliö niin hyvin kuin mahdollista.
Valmista ruostetta ehkäisevää alkoholitonta jäänestoainetta. Katso kohta Lisäaineen valmistelu.
Irrota putki painemittarin takaosasta ja aseta putken pää astiaan (Kuva 137).

Käynnistä moottori ja laske ulommat puomiosat.
Pidä ruiskutuspumppua käynnissä muutaman minuutin ajan, jotta jäänestoaine pääsee kiertämään koko ruiskutusjärjestelmään ja asennettuihin ruiskutuslisälaitteisiin.
Aseta vasemman, keskimmäisen ja oikean puomiosan kytkimet PääLLä-asentoon.
Aseta puomiosien pääkytkin PääLLä-asentoon ja suorita seuraavat toimet:
Varmista, että jäänestoaine virtaa painemittarin putken irrotetusta päästä.
Ruiskuta suuttimesta, kunnes jäänestoainetta näkyy.
Aseta puomiosien pääkytkin POIS-asentoon.
Siirrä pumpun kytkin POIS-asentoon.
Nosta ulommat puomiosat puomiosien nostokytkimillä.
Nosta puomiosia, kunnes ne ovat siirtyneet kokonaan X-kirjaimen muotoiseen kuljetusasentoon puomien kuljetustelineeseen ja nostosylinterit ovat vetäytyneet kokonaan sisään.
Note: Varmista, että nostosylinterit ovat vetäytyneet kokonaan sisään, jotta ohjausvarsi ei vahingoitu.
Sammuta moottori.
Tyhjennä ruiskutussäiliö niin hyvin kuin mahdollista.
Suorita seuraavat kohdan Lyhytaikainen varastointi toimenpiteet:
Suorita lisäksi seuraavat toimenpiteet:
Tarkista rengaspaine. Katso Rengaspaineen tarkistus.
Tarkista jarrut. Katso kohta Jarrujen säätö.
Tarkista ja kiristä kaikki pultit, mutterit ja ruuvit.
Note: Korjaa tai vaihda kaikki kuluneet tai vaurioituneet osat.
Maalaa kaikki naarmuuntuneet tai lohkeilleet metallipinnat (maalia on saatavana valtuutetulta Toro-jälleenmyyjältä).
Puhdista säiliön kierron venttiili ja kolme puomiosan venttiiliä; katso Säiliön kierron venttiilin ja puomiosien venttiilien puhdistaminen.
Voitele ruiskutuslaite. Katso kohta Ruiskutuspumpun voitelu.
Tarkista kaikkien ruiskuletkujen kunto.
Note: Vaihda kaikki kuluneet tai vaurioituneet letkut.
Kiristä kaikki letkunkiristimet ja liittimet.
Huolla ilmanpuhdistin. Katso kohta Ilmanpuhdistimen tarkastus.
Vaihda moottorin öljynsuodatin ja öljy. Katso kohta Moottorin öljynsuodattimen vaihto ja Moottoriöljyn vaihto.
Tyhjennä polttoainesäiliö. Katso kohta Polttoainesäiliön tyhjennys.
Lisää polttoaineeseen stabilointiainetta valmistajan ohjeiden mukaan ja lisää se polttoainesäiliöön.
Käynnistä moottori ja käytä sitä joutokäynnillä viiden minuutin ajan.
Sammuta moottori.
Varmista kaikki polttoainejärjestelmän liitännät.
Siirrä kone puhtaaseen, kuivaan varastotilaan.
Irrota akku alustasta. Katso kohta Akun irrotus.
Note: Älä kytke akkukaapeleita akun napoihin varastoinnin ajaksi.
Tarkista akkunesteen määrä.
Lataa akku täyteen. Katso kohta Akun lataus.
Important: Akun on oltava täyteen ladattu, jotta se ei jäädy ja vaurioidu alle 0 °C:n lämpötilassa. Täysin ladattu akku säilyttää latauksen noin 50 päivää alle 4 °C:n lämpötilassa. Jos lämpötila on yli 4 °C, tarkista akkunesteen määrä ja lataa akku 30 päivän välein.
Irrota avain virtakytkimestä ja säilytä sitä turvallisessa paikassa lasten ulottumattomissa.
Peitä kone, jotta se pysyy suojassa ja puhtaana.
Aseta painemittarin putki painemittarin takaosassa olevaan putken kytkentäkappaleeseen (Kuva 138).

Sulje puhdasvesisäiliön tulppa.
Lisää polttoainetta polttoainesäiliöön.
Lataa akku täyteen. Katso kohta Akun lataus.
Asenna akku alustaan. Katso kohta Akun asennus.
| Problem | Possible Cause | Corrective Action |
|---|---|---|
| Käynnistin ei pyöritä moottoria. |
|
|
| Moottori pyörii, mutta ei käynnisty. |
|
|
| Moottori käynnistyy, mutta sammuu. |
|
|
| Moottori käy, mutta se nakuttaa tai käy katkonaisesti. |
|
|
| Moottori ei käy joutokäynnillä. |
|
|
| Moottori ylikuumenee. |
|
|
| Moottori menettää tehoaan. |
|
|
| Epänormaali värinä tai ääni. |
|
|
| Kone ei toimi tai toimii hitaasti jompaankumpaan suuntaan, koska moottori jumiutuu tai sammuu. |
|
|
| Kone ei toimi kumpaankaan suuntaan. |
|
|
| Problem | Possible Cause | Corrective Action |
|---|---|---|
| Jokin ruiskutusosa ei ruiskuta. |
|
|
| Jokin ruiskutusosa ei kytkeydy pois käytöstä. |
|
|
| Jokin ruiskutusosan venttiili vuotaa. |
|
|
| Paine alenee, kun ruiskutusosa kytketään päälle. |
|
|
| Ruiskusuuttimet vuotavat, kun puomiosien kytkimet kytketään pois. |
|
|
| Ruiskutusjärjestelmän paine laskee ruiskutuksen aikana. |
|
|
