| Khoảng thời gian Dịch vụ Bảo trì | Quy trình Bảo trì |
|---|---|
| Trước mỗi lần sử dụng hoặc hàng ngày |
|
Máy này là máy phun tưới cỏ chuyên dụng, nhằm mục đích hỗ trợ nhân viên vận hành chuyên nghiệp của công ty sử dụng trong các ứng dụng thương mại. Máy chủ yếu được thiết kế để phun xịt trên những bãi cỏ được bảo dưỡng tốt trong công viên, sân gôn, sân thể thao và trên các khu đất thương mại.
Máy được thiết kế chủ yếu để sử dụng trên các địa hình và không phục vụ cho cả mục đích lái xe trên đường công cộng. Việc sử dụng sản phẩm này cho các mục đích khác với mục đích sử dụng ban đầu có thể gây nguy hiểm cho bạn và những người xung quanh.
Vui lòng đọc kỹ thông tin này để hiểu cách vận hành và bảo trì sản phẩm đúng cách, cũng như để tránh gây thương tích và làm hư hỏng sản phẩm. Bạn là người chịu trách nhiệm vận hành sản phẩm đúng cách và an toàn.
Hãy truy cập www.Toro.com để biết thêm thông tin, bao gồm những lời khuyên về an toàn, tài liệu đào tạo, thông tin về phụ kiện, trợ giúp tìm đại lý hoặc đăng ký sản phẩm của bạn.
Bất cứ khi nào bạn cần dịch vụ, phụ tùng Toro chính hãng hoặc thông tin bổ sung, vui lòng chuẩn bị sẵn mẫu máy, số sê-ri của sản phẩm và liên hệ với Đại lý Dịch vụ được Ủy quyền hoặc Dịch vụ Khách hàng của Toro. Hình 1 xác định vị trí của mẫu máy và số sê-ri trên sản phẩm. Hãy viết các số vào khoảng trống cho sẵn.
Important: Bạn có thể quét mã QR trên nhãn ghi số sê-ri (nếu được trang bị) bằng thiết bị di động của mình để truy cập thông tin về bảo hành, phụ tùng và các sản phẩm khác.

Hướng dẫn sử dụng này xác định các nguy cơ tiềm ẩn và có chứa các thông báo an toàn được xác định bằng ký hiệu cảnh báo an toàn (Hình 2), báo hiệu nguy cơ có thể gây thương tích nghiêm trọng hoặc gây tử vong nếu bạn không tuân theo các biện pháp phòng ngừa được khuyến nghị.

Hướng dẫn sử dụng này sử dụng 2 cụm từ để nêu bật thông tin. Các chú ý quan trọng về thông tin cơ học đặc biệt và Lưu ý đều nhấn mạnh thông tin chung mà bạn cần đặc biệt lưu tâm.
Sản phẩm này tuân thủ tất cả các chỉ thị liên quan của Châu Âu; để biết thông tin chi tiết, vui lòng xem tờ Tuyên bố Tuân thủ (DOC) dành riêng cho sản phẩm.
Việc sử dụng hoặc vận hành máy này trên bất kỳ vùng đất có rừng cây, bụi rậm hoặc cỏ bao phủ nào là hành vi vi phạm Mục 4442 hoặc 4443 của Bộ luật Tài nguyên Công California, nếu máy không được trang bị bộ ngăn tia lửa, theo định nghĩa ở Mục 4442, được duy trì trong trạng thái hoạt động hiệu quả hoặc máy không được chế tạo, trang bị và bảo trì giúp phòng ngừa hỏa hoạn.
Hướng dẫn sử dụng máy đính kèm cung cấp thông tin liên quan đến Cơ quan Bảo vệ Môi trường (EPA) của Hoa Kỳ và Quy định Kiểm soát Khí thải của California về các hệ thống khí thải, bảo trì và bảo hành. Bạn có thể đặt hàng các phụ tùng thay thế từ nhà sản xuất máy.
CALIFORNIA
Cảnh báo theo Dự luật 65
Khói thải động cơ từ sản phẩm này chứa các hóa chất được Tiểu bang California xem là nguyên nhân gây ung thư, dị tật bẩm sinh hoặc gây hại cho hệ sinh sản.
Cọc bình ắc quy, thiết bị đầu cuối và phụ kiện liên quan đến ắc quy có chứa chì và các hợp chất của chì, các hóa chất được Tiểu bang California xem là nguyên nhân gây ra ung thư và gây hại cho hệ sinh sản. Rửa tay sau khi xử lý.
Việc sử dụng sản phẩm này có thể dẫn đến tình trạng phơi nhiễm với hóa chất được Tiểu Bang California xem là nguyên nhân gây ung thư, dị tật bẩm sinh hoặc gây hại cho hệ sinh sản.
Sản phẩm này có thể gây thương tích cá nhân. Vui lòng luôn tuân thủ tất cả các hướng dẫn an toàn để tránh gây thương tích cá nhân nghiêm trọng.
Đọc và hiểu nội dung của Hướng dẫn Vận hành này trước khi khởi động máy.
Tập trung cao độ trong khi vận hành máy. Tránh bị phân tâm vào bất kỳ hoạt động nào khác; nếu không, bạn có thể gây thương tích cho bản thân hoặc gây thiệt hại về tài sản.
Sử dụng thiết bị bảo hộ cá nhân (PPE) phù hợp để tránh tiếp xúc với hóa chất. Các hóa chất được sử dụng trong hệ thống phun tưới có thể nguy hiểm và độc hại.
Không để tay hoặc chân của bạn gần các bộ phận đang chuyển động của máy.
Không vận hành máy khi tất cả các bộ phận bảo vệ và các thiết bị bảo vệ an toàn khác không ở đúng vị trí và không hoạt động trên máy.
Tránh xa các khu vực xả của mắt phun và phun trôi thành mảng. Không để những người xung quanh và trẻ em lại gần khu vực vận hành.
Tuyệt đối không để trẻ em vận hành máy.
Đỗ máy trên bề mặt phẳng, bật phanh đỗ, tắt động cơ, rút chìa khóa (nếu được trang bị), và chờ cho máy dừng tất cả mọi chuyển động trước khi rời khỏi vị trí của người vận hành. Để máy nguội trước khi điều chỉnh, bảo dưỡng, vệ sinh hoặc cất giữ.
Việc sử dụng hoặc bảo trì máy không đúng
cách có thể dẫn đến thương tích. Để
giảm nguy cơ thương tích, hãy tuân thủ hướng dẫn
an toàn này và luôn chú ý
đến ký hiệu cảnh báo an toàn
, cụ thể là Thận
trọng, Cảnh báo hoặc Nguy hiểm - hướng dẫn an toàn cá
nhân. Việc không tuân thủ hướng dẫn này có
thể dẫn đến thương tích cá nhân hoặc tử
vong.
Không phải tất cả các bộ gá tương thích với máy đều được đề cập trong hướng dẫn này. Tham khảo hướng dẫn vận hành được cung cấp cùng với mỗi bộ gá để biết thêm hướng dẫn an toàn.
![]() |
Người vận hành có thể dễ dàng nhìn thấy các nhãn mác và hướng dẫn an toàn được đặt gần bất kỳ khu vực nào có thể xảy ra nguy hiểm. Hãy thay thế bất kỳ nhãn mác nào bị hỏng hoặc bị thiếu. |





























Note: Xác định các mặt bên trái và bên phải của máy từ vị trí vận hành bình thường.
Note: Nếu bạn có thắc mắc hoặc cần thêm thông tin liên quan đến hệ thống điều khiển phun tưới, hãy xem Hướng dẫn Vận hành được cấp kèm với hệ thống.
Important: Máy phun này được bán không kèm theo mắt phun.Để sử dụng máy phun tưới, bạn phải tập hợp và lắp các mắt phun. Liên hệ với nhà phân phối Toro được ủy quyền của bạn để biết thông tin về các phụ kiện và bộ công cụ dùng được cho từng phân đoạn. Sau khi lắp các mắt phun và trước khi sử dụng máy phun lần đầu tiên, hãy điều chỉnh các van rẽ nhánh của từng phân đoạn sao cho khi bạn tắt 1 hoặc nhiều phân đoạn thì áp suất và lượng phun tưới vẫn giữ nguyên cho tất cả các phân đoạn. Tham khảo Điều chỉnh các Van Rẽ nhánh Phân đoạn.
Các bộ phận cần thiết cho quy trình này:
| Ống nối ngắt kết nối nhanh | 1 |
Note: Để hoàn tất quy trình này, bạn sẽ cần cung cấp một ống mềm có ống nối ren ống chuẩn quốc gia (NPT) bên ngoài 1 inch và chất bịt kín ren PTFE.
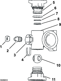
Ở bên phải phía trước của nắp bình, hãy tháo 2 kẹp ghim đang siết chặt các chốt của khớp nối ngắt kết nối nhanh dành cho bình nạp chống siphong (Hình 3).

Xoay các chốt mở để mở khóa ống nối ngắt kết nối nhanh khỏi khớp nối ngắt kết nối nhanh (Hình 3).
Tháo ống nối ngắt kết nối nhanh khỏi khớp nối ngắt kết nối nhanh (Hình 3).
Đóng các chốt lại và lắp các kẹp ghim vào mặt bích của khớp nối ngắt kết nối nhanh (Hình 3).
Bôi chất bịt kín ren PTFE (Hình 4) vào ren của ống nối ống nạp (1 inch—ren ống chuẩn quốc gia).

Luồn khớp nối ngắt kết nối nhanh vào ống nạp và vặn chặt bằng tay (Hình 4).
Bật phanh đỗ, khởi động động cơ và cài đặt van tiết lưu về chạy rỗi.
Từ từ nâng giàn bên ngoài ở bên trái hoặc bên phải cho đến khi tiếp xúc với ống giá đỡ phía trên lần đầu tiên.
Từ từ nâng giàn bên ngoài khác cho đến khi tiếp xúc với giá đỡ lần đầu tiên.
Xem xét khu vực trên ống giá đỡ phía trên có các khối trượt trên ống trên cùng của giàn bên ngoài tiếp xúc với giá đỡ.
Note: Giá đỡ được điều chỉnh chính xác khi các khối tiếp xúc với giá đỡ tại chỗ uốn cong của ống giá đỡ phía trên (Hình 5).

Nếu một trong hai ống giá đỡ phía trên bị lệch so với khối trượt như được minh họa trong Hình 6, Hình 7 hoặc Hình 8, hãy điều chỉnh vị trí giá đỡ; tham khảo Căn chỉnh Giá đỡ với Giàn Bên ngoài.



Hạ cả hai giàn bên ngoài, tắt động cơ, rút chìa khóa và chờ các bộ phận đang chuyển động dừng lại.
Lắp đặt bộ CE cho máy của bạn; tham khảo Hướng dẫn Lắp đặt Bộ Multi Pro 5800 CE.



Bàn đạp kéo (Hình 13) điều khiển chuyển động tiến và lùi của máy. Sử dụng ngón chân hoặc gót chân phải của bạn, nhấn vào phần trên cùng của bàn đạp để di chuyển tiến hoặc phần dưới cùng của bàn đạp để di chuyển lùi. Nhả bàn đạp để giảm tốc độ và dừng máy.
Important: Đảm bảo bạn cho phép máy phun tưới dừng lại trước khi chuyển đổi giữa các vị trí TIếN và LùI.
Note: Bạn nhấn bàn đạp càng xa theo một trong hai hướng, máy phun tưới càng di chuyển nhanh hơn. Để đạt được tốc độ tiến tối đa, hãy đặt cần tiết lưu đến vị trí NHANH và nhấn hết bàn đạp kéo về phía trước hoàn toàn.
Note: Để đạt được công suất tối đa khi tải nặng hoặc khi lên dốc, hãy di chuyển van tiết lưu ở vị trí NHANH đồng thời nhấn nhẹ bàn đạp kéo để giữ cho tốc độ động cơ ở mức cao. Khi tốc độ động cơ bắt đầu giảm, nhả nhẹ bàn đạp để tốc độ động cơ tăng lên.

Sử dụng bàn đạp phanh để dừng hoặc giảm tốc độ máy (Hình 13).
Nếu bạn vận hành máy phun tưới có hệ thống phanh đã điều chỉnh kém hoặc đã mòn, bạn có thể mất khả năng kiểm soát máy phun tưới, dẫn đến gây thương tích nghiêm trọng hoặc tử vong cho bạn hoặc những người xung quanh.
Luôn kiểm tra hệ thống phanh trước khi vận hành máy phun tưới và giữ cho chúng được điều chỉnh và sửa chữa phù hợp.
Phanh đỗ là bàn đạp ở bên trái bàn đạp phanh (Hình 13). Bật phanh đỗ bất cứ khi nào bạn rời khỏi ghế để ngăn bình phun tưới vô tình di chuyển. Để bật phanh đỗ, nhấn bàn đạp phanh và trong khi giữ phanh, nhấn bàn đạp phanh đỗ. Để tắt, nhấn và nhả bàn đạp phanh. Nếu máy phun đang đỗ ở mặt dốc, hãy sử dụng phanh đỗ và đặt các bộ chèn của bánh xe ở trên phía xuống dốc.
Công tắc khóa điện (Hình 12), được sử dụng để khởi động và tắt động cơ, và công tắc có 3 vị trí: TắT, BậT/LàM NóNG TRướC và KHởI độNG.
Công tắc khóa tốc độ sẽ khóa vị trí của bàn đạp kéo khi công tắc được đặt (Hình 14). Điều này đảm bảo máy phun tưới di chuyển với tốc độ không đổi trong khi lái máy trên mặt đất bằng phẳng.

Cần tiết lưu nằm trên bảng điều khiển giữa các ghế (Hình 14), và van tiết lưu được sử dụng để điều khiển tốc độ động cơ. Đẩy cần về phía trước để tăng tốc độ động cơ và kéo cần về phía sau để giảm tốc độ động cơ.
Chuyển đổi công tắc để vận hành đèn làm việc (Hình 12). Đẩy về phía trước để bật đèn và đẩy về phía sau để tắt đèn.
Đồng hồ đo nhiên liệu nằm trên bảng điều khiển của máy và đồng hồ hiển thị mức nhiên liệu trong bình (Hình 12).
Cổng nguồn USB có 2 ổ cắm nằm ở phía sau của tựa tay (Hình 15).


Áp kế (Hình 16) nằm trên bảng điều khiển. Đồng hồ đo này hiển thị áp suất của chất lỏng trong hệ thống phun tưới tính bằng psi và kPa.
Sử dụng công tắc chế độ phun tưới để thay đổi giữa chế độ tỷ lệ ứng dụng (vòng lặp kín) và chế độ thủ công (vòng lặp hở).
Công tắc tỷ lệ ứng dụng nằm trên bảng điều khiển ở bên phải của tay lái (Hình 16). Sử dụng công tắc tỷ lệ ứng dụng để điều khiển tốc độ bơm phun tưới khi vận hành máy phun ở chế độ thủ công. Nhấn và giữ công tắc về phía trước để tăng tỷ lệ ứng dụng (áp suất), hoặc nhấn và giữ công tắc về phía sau để giảm tỷ lệ ứng dụng (áp suất).
Công tắc bơm phun tưới nằm trên bảng điều khiển trung tâm ở bên phải của ghế (Hình 16). Chuyển đổi công tắc này về phía trước để chạy máy bơm phun tưới hoặc về phía sau để dừng máy bơm. Khi bật công tắc, đèn trên công tắc sẽ phát sáng.
Important: Chỉ bật công tắc bơm phun tưới khi động cơ ở vị trí CHạY RỗI THấP để tránh làm hỏng hệ thống truyền động của máy bơm.
Công tắc nâng phân đoạn giàn được đặt trên bảng điều khiển trung tâm ở bên phải của ghế và được sử dụng để nâng hoặc hạ phân đoạn giàn bên trái và bên phải (Hình 16).
Công tắc phân đoạn chính được đặt trên bảng điều khiển trung tâm của máy. Công tắc cho phép bạn khởi động hoặc dừng hoạt động phun. Nhấn công tắc để bật hoặc tắt hệ thống phun tưới (Hình 16).
3 công tắc phân đoạn được đặt trên bảng điều khiển trung tâm ở phía trước của tựa tay (Hình 16). Chuyển đổi từng công tắc về phía trước để bật phân đoạn tương ứng và chuyển đổi về phía sau để tắt. Khi công tắc ở vị trí BậT, một biểu tượng sẽ xuất hiện ở trên cùng của InfoCenter.
Note: Những công tắc này chỉ ảnh hưởng đến hệ thống phun tưới khi công tắc phân đoạn chính ở vị trí BậT.
Công tắc khuấy trộn nằm trên bảng điều khiển trung tâm ở bên phải của ghế (Hình 16). Chuyển đổi công tắc này về phía trước để bật khuấy trộn trong bình hoặc về phía sau để dừng khuấy trộn. Khi bật công tắc, đèn trên công tắc sẽ phát sáng. Để vận hành chức năng khuấy trộn, bạn phải chạy máy bơm của hệ thống phun tưới và bạn phải chạy động cơ ở chế độ chạy rỗi thấp.
Van rẽ nhánh khuấy trộn chuyển hướng dòng chất lỏng đến máy bơm của hệ thống phun tưới khi bạn tắt chức năng khuấy trộn (Hình 17). Van rẽ nhánh khuấy trộn nằm ở trên van khuấy trộn. Bạn có thể điều chỉnh van rẽ nhánh để đảm bảo áp suất luôn không đổi khi bật hoặc tắt chu trình khuấy trộn; tham khảo Hiệu chuẩn Van Rẽ nhánh Khuấy trộn.

Đồng hồ đo lưu lượng đo tốc độ dòng chảy của chất lỏng để hệ thống InfoCenter sử dụng và khi phun tưới ở chế độ tỷ lệ ứng dụng (Hình 17).
Van tiết lưu khuấy trộn là van bi vận hành bằng tay để điều khiển dòng chảy đến các mắt phun khuấy trộn trong bình chính. Van này cho phép bạn điều khiển áp suất của hệ thống phun tưới tại các mắt phun khuấy trộn của bình chính khi cần có tỷ lệ ứng dụng lớn hơn. Van tiết lưu khuấy trộn nằm phía trên máy bơm (Hình 18).

Các van rẽ nhánh phân đoạn được sử dụng để điều chỉnh áp suất của hệ thống phun tưới đến các van phân đoạn để đảm bảo áp suất của máy phun tưới đến phân đoạn phun tưới luôn không đổi bất kể có bao nhiêu phân đoạn phun được bật (Hình 19).
Note: Chỉ sử dụng các van rẽ nhánh khi phun tưới ở chế độ thủ công (vòng lặp hở).

Sử dụng van ngắt rẽ nhánh từng phân đoạn để điều khiển dòng chảy chất lỏng từ van rẽ nhánh phân đoạn vào bình khi phun tưới ở chế độ thủ công (vòng lặp hở); tham khảo Hình 19.
Note: Đóng van rẽ nhánh phân đoạn khi phun tưới ở chế độ tỷ lệ ứng dụng (vòng lặp kín).
Ở phía trước của nắp bình là bình nạp có ồng mềm và ống nối ren, ống nối có ngạnh 90 độ và ống mềm ngắn, bạn có thể hướng về phía miệng bình. Bình nạp này cho phép bạn kết nối với ống dẫn nước và đổ đầy nước vào bình mà không làm nhiễm bẩn ống mềm bằng các hóa chất trong bình.
Important: Không kéo dài ống mềm để tiếp xúc với chất lỏng trong bình. Khoảng cách từ đầu ống mềm đến mực nước cao nhất phải nằm trong giới hạn quy định của địa phương.

Nắp bình nằm ở trung tâm, phía trên cùng của bình. Để mở nắp, hãy tắt động cơ, xoay nửa trước của nắp sang trái và xoay nắp để mở. Bạn có thể tháo bộ lọc bên trong để vệ sinh. Để bịt kín bình, hãy đóng nắp và xoay nửa trước sang phải.
Điều khiển của InfoCenter sử dụng 5 nút ở bên dưới màn hình LED để điều hướng menu, nhập dữ liệu và thay đổi chức năng.

Note: Thông số kỹ thuật và thiết kế có thể được thay đổi mà không cần phải thông báo.
| Mô tả | Số đo |
|---|---|
| Trọng lượng cơ bản | 1307 kg (2.882 lb) |
| Trọng lượng với hệ thống phun tiêu chuẩn, rỗng, không có người vận hành | 1307 kg (2.882 lb) |
| Trọng lượng với hệ thống phun tiêu chuẩn, đầy đủ, không có người vận hành | 2499 kg (5.510 lb) |
| Tổng trọng lượng tối đa của xe (GVW) (trên mặt đất bằng phẳng) | 3023 kg (6.665 lb) |
| Dung tích bình | 1135,6 L |
| Tổng chiều rộng với các phân đoạn của hệ thống phun tiêu chuẩn được bảo quản ở vị trí X | 226 cm |
| Mô tả | Số đo |
|---|---|
| Tổng chiều dài với hệ thống phun tiêu chuẩn | 391 cm (154 inches) |
| Tổng chiều dài với hệ thống phun tiêu chuẩn đến mặt trên của các phân đoạn được bảo quản ở vị trí X | 442 cm (174 inches) |
| Tổng chiều cao với hệ thống phun tiêu chuẩn | 146 cm (57,5 inches) |
| Tổng chiều cao với hệ thống phun tiêu chuẩn đến mặt trên của các phân đoạn được bảo quản ở vị trí X | 231 cm (91 inches) |
| Khoảng sáng gầm | 18,4 cm (7,25 inches) |
| Khoảng cách giữa hai trục trước và sau | 198 cm (78 inches) |
Lựa chọn bộ gá và phụ kiện đã được Toro phê duyệt và có sẵn để sử dụng với máy nhằm nâng cao và mở rộng khả năng của máy. Liên hệ với nhà phân phối Toro được ủy quyền của bạn.
Để đảm bảo hiệu suất tối ưu và tiếp tục được chứng nhận an toàn cho máy, chỉ sử dụng các phụ tùng và phụ kiện thay thế chính hãng của Toro. Các phụ kiện và phụ tùng thay thế do các nhà sản xuất khác sản xuất có thể gây nguy hiểm và việc sử dụng chúng có thể làm mất hiệu lực bảo hành của sản phẩm.
Note: Xác định các mặt bên trái và bên phải của máy từ vị trí vận hành bình thường.
| Khoảng thời gian Dịch vụ Bảo trì | Quy trình Bảo trì |
|---|---|
| Trước mỗi lần sử dụng hoặc hàng ngày |
|
Tuyệt đối không cho phép trẻ em hoặc người chưa được đào tạo thực hiện việc vận hành hoặc bảo trì máy. Quy định địa phương có thể hạn chế độ tuổi của người vận hành. Chủ sở hữu chịu trách nhiệm đào tạo tất cả các nhân viên vận hành và thợ máy.
Làm quen với cách vận hành thiết bị an toàn, các biện pháp kiểm soát áp dụng đối với người vận hành và biển báo an toàn.
Tắt động cơ, rút chìa khóa (nếu được trang bị) và chờ cho tất cả chuyển động dừng lại trước khi rời khỏi vị trí của người vận hành, để máy nguội trước khi điều chỉnh, sửa chữa, vệ sinh hoặc cất giữ.
Biết cách dừng máy và tắt động cơ nhanh chóng.
Kiểm tra nút điều khiển khi có mặt người vận hành, công tắc an toàn và các bộ phận bảo vệ đã được gắn và hoạt động bình thường chưa. Không vận hành máy trừ khi chúng hoạt động bình thường.
Nếu máy không hoạt động chính xác hoặc có bất kỳ hư hỏng nào, thì không được sử dụng máy. Khắc phục sự cố trước khi vận hành máy hoặc bộ gá.
Đảm bảo các khu vực của người vận hành và người đi cùng luôn được giữ gìn sạch sẽ và không có hóa chất còn sót lại và mảnh vụn tích tụ.
Đảm bảo tất cả các đầu nối đường dẫn chất lỏng đều siết chặt và tất cả các ống mềm đều ở tình trạng tốt trước khi tạo áp suất cho hệ thống.
Cần hết sức cẩn thận khi xử lý nhiên liệu. Nhiên liệu dễ cháy và hơi nhiên liệu dễ gây nổ.
Dập tắt tất cả thuốc lá, xì gà, tẩu thuốc và các nguồn phát lửa khác.
Chỉ sử dụng bình chứa nhiên liệu đã được phê duyệt.
Không tháo nắp nhiên liệu hoặc đổ vào bình nhiên liệu khi động cơ đang chạy hoặc đang nóng.
Không đổ thêm hoặc xả nhiên liệu trong không gian kín.
Không cất giữ máy hoặc bình chứa nhiên liệu ở nơi có lửa trần, tia lửa hoặc đèn đánh lửa, chẳng hạn như trên máy nước nóng hoặc thiết bị khác.
Nếu bạn đổ tràn nhiên liệu, đừng cố khởi động động cơ; tránh tạo ra bất kỳ nguồn phát lửa nào cho đến khi hơi nhiên liệu tan hết.
Các chất hóa học được sử dụng trong hệ thống phun tưới có thể gây nguy hiểm và độc hại đối với bạn, người xung quanh, động vật, và có thể gây tổn hại tới thực vật, đất đai và tài sản khác.
Đọc thông tin về từng loại hóa chất. Hãy từ chối vận hành hoặc thao tác với máy phun tưới nếu không có thông tin này.
Trước khi làm việc trên hệ thống máy phun, hãy đảm bảo hệ thống này đã được trung hòa và rửa ba lần theo khuyến nghị của (những) nhà sản xuất hóa chất và tất cả các van đã được tuần hoàn 3 lần.
Hãy kiểm tra để đảm bảo rằng có đủ nguồn cấp nước sạch và xà phòng ở gần đó và ngay lập tức rửa sạch khi bạn tiếp xúc với hóa chất.
Hãy đọc kỹ và tuân theo các nhãn cảnh báo hóa chất và bảng dữ liệu an toàn (SDSs) dành cho các loại hóa chất được sử dụng và bảo vệ bản thân theo khuyến nghị của nhà sản xuất hóa chất.
Luôn bảo vệ cơ thể khi sử dụng hóa chất. Sử dụng thiết bị bảo hộ cá nhân (PPE) phù hợp để tránh tiếp xúc với hóa chất, chẳng hạn như sau:
kính an toàn, kính bảo hộ và/hoặc tấm che mặt
quần áo chống hóa chất
mặt nạ phòng độc hoặc mặt nạ lọc
găng tay chống hóa chất
ủng cao su hoặc giày dép quan trọng khác
thay quần áo sạch, xà phòng và khăn dùng một lần để dọn dẹp
Cần được đào tạo phù hợp trước khi sử dụng hoặc xử lý hóa chất.
Sử dụng đúng hóa chất cho công việc.
Hãy làm theo hướng dẫn của nhà sản xuất hóa chất để sử dụng hóa chất an toàn. Không vượt quá áp suất phun khuyến nghị của hệ thống.
Không đổ đầy, hiệu chuẩn hoặc vệ sinh máy khi có người, đặc biệt là trẻ em, hoặc vật nuôi ở trong khu vực.
Xử lý hóa chất trong khu vực được thông gió tốt.
Không ăn, uống hoặc hút thuốc khi đang làm việc gần hóa chất.
Không làm sạch mắt phun tưới bằng cách thổi qua chúng hoặc đặt mắt phun vào miệng.
Luôn rửa sạch tay và các khu vực tiếp xúc khác sớm nhất có thể sau khi làm việc với hóa chất.
Giữ hóa chất trong bao bì sản phẩm ban đầu và bảo quản ở nơi an toàn.
Thải bỏ hóa chất và bình chứa hóa chất không sử dụng đúng cách theo hướng dẫn của nhà sản xuất hóa chất và các quy chuẩn địa phương.
Hóa chất và hơi rất nguy hiểm; tuyệt đối không được vào bình hoặc đưa đầu lên trên hay vào trong lỗ mở của bình.
Tuân thủ tất cả các quy định của địa phương, tiểu bang và liên bang về quá trình rải hoặc phun hóa chất.
Kiểm tra các mục sau đây mỗi khi bạn bắt đầu sử dụng máy phun tưới trong ngày:
Kiểm tra áp suất khí trong lốp xe.
Note: Các lốp của loại máy này khác với lốp xe hơi; chúng cần ít áp suất khí hơn để giảm thiểu độ nén lớp cỏ và giảm gây hư hỏng lớp cỏ.
Kiểm tra tất cả các mức chất lỏng và đổ thêm lượng chất lỏng quy định phù hợp, nếu thấy bất kỳ mức nào ở mức thấp.
Kiểm tra hoạt động của bàn đạp phanh.
Kiểm tra xem đèn có hoạt động không.
Xoay tay lái sang trái và phải để kiểm tra phản ứng lái.
Khi động cơ đã tắt, hãy kiểm tra xem có rò rỉ dầu, bộ phận bị lỏng và bất kỳ trục trặc đáng chú ý nào khác không.
Nếu bất kỳ mục nào nêu trên không chính xác, hãy thông báo cho thợ máy hoặc kiểm tra cùng với người giám sát trước khi mang máy phun tưới ra ngoài trong suốt cả ngày. Người giám sát có thể muốn bạn kiểm tra các mục khác hàng ngày, vì vậy hãy hỏi xem bạn sẽ chịu trách nhiệm thực hiện những thao tác kiểm tra nào.
Kiểm tra mức dầu động cơ, hệ thống làm mát và hệ thống thủy lực.
| Khoảng thời gian Dịch vụ Bảo trì | Quy trình Bảo trì |
|---|---|
| Trước mỗi lần sử dụng hoặc hàng ngày |
|
Kiểm tra áp suất khí của lốp xe để đảm bảo mức phù hợp. Bơm lốp đến 1,38 bar (20 psi).
Note: Ngoài ra, hãy kiểm tra lốp xe xem có bị mòn hoặc hư hỏng hay không.
| Khoảng thời gian Dịch vụ Bảo trì | Quy trình Bảo trì |
|---|---|
| Trước mỗi lần sử dụng hoặc hàng ngày |
|
Trước khi khởi động máy phun tưới, nhấn nhẹ bàn đạp phanh. Nếu bàn đạp di chuyển hơn 2,5 cm trước khi bạn cảm thấy lực cản, hãy điều chỉnh phanh; tham khảo Điều chỉnh Phanh.
Nếu bạn vận hành máy phun tưới có hệ thống phanh đã điều chỉnh kém hoặc đã mòn, bạn có thể mất khả năng kiểm soát máy phun tưới, dẫn đến gây thương tích nghiêm trọng hoặc tử vong cho bạn hoặc những người xung quanh.
Luôn kiểm tra hệ thống phanh trước khi vận hành máy phun tưới và giữ cho chúng được điều chỉnh và sửa chữa phù hợp.
| Nhiên liệu dầu mỏ | Sử dụng xăng không pha chì có chỉ số octan từ 87 trở lên (phương pháp ghi chỉ số (R+M)/2). |
| Nhiên liệu pha trộn ethanol | Có thể sử dụng hỗn hợp xăng không pha chì với tối đa 10% etanol (gasohol) hoặc 15% MTBE (ete metyl butyl bậc ba) theo thể tích đều được chấp nhận. Etanol và MTBE không giống nhau. |
| Xăng có 15% etanol (E15) theo thể tích không được phê duyệt sử dụng. Tuyệt đối không sử dụng xăng có chứa hơn 10% etanol theo thể tích, chẳng hạn như E15 (chứa 15% etanol), E20 (chứa 20% etanol), hoặc E85 (chứa tới 85% etanol). Sử dụng xăng không được phê duyệt có thể gây ra các vấn đề về hiệu suất và/hoặc hư hỏng động cơ, những lỗi này không được bảo hành. |
Important: Để có kết quả tốt nhất, chỉ sử dụng nhiên liệu sạch, mới (dưới 30 ngày tuổi).
Không sử dụng xăng có chứa metanol.
Không dự trữ nhiên liệu trong bình nhiên liệu hoặc bình chứa nhiên liệu trong mùa đông trừ khi bạn sử dụng chất ổn định nhiên liệu.
Không đổ thêm dầu vào xăng.
Dung tích bình nhiên liệu: khoảng 45 L.
Đỗ máy trên bề mặt phẳng, bật phanh đỗ, tắt bơm phun tưới, tắt động cơ, rút chìa khóa và để động cơ nguội.
Làm sạch khu vực xung quanh nắp bình nhiên liệu (Hình 22).

Tháo nắp bình nhiên liệu.
Đổ đầy bình đến cách mặt trên cùng của bình (đáy cổ bình nạp) khoảng 2,5 cm.
Note: Không gian không khí này trong bình cho phép nhiên liệu giãn nở. Không đổ quá đầy bình.
Lắp chặt nắp bình nhiên liệu vào bình.
Lau sạch bất kỳ nhiên liệu nào có thể đã bị tràn.
Note: Tham khảo hướng dẫn chọn mắt phun có sẵn thông qua nhà phân phối Toro được ủy quyền của bạn.
Các thân vòi phun có thể phù hợp với tới 3 loại mắt phun khác nhau. Để chọn mắt phun mong muốn, hãy thực hiện như sau:
Dừng máy phun trên bề mặt bằng phẳng, tắt động cơ, rút chìa khóa và bật phanh đỗ.
Đặt công tắc phân đoạn chính sang vị trí TắTvà đặt công tắc máy bơm phun sang vị trí TắT.
Xoay thân vòi phun của các mắt phun theo một trong hai hướng đến đúng mắt phun.
Đối với các máy vận hành ở chế độ tỷ lệ ứng dụng, hãy thực hiện hiệu chỉnh dòng chảy; tham khảo Hướng dẫn Phần mềm dành cho máy phun tưới cỏ Multi Pro 5800-D và 5800-G với hệ thống phun tưới ExcelaRate.
Thiết bị Tiêu chuẩn: Bộ lọc hút mắt lưới 50 (màu xanh dương)
Sử dụng bảng bộ lọc hút để nhận biết mắt lưới màn của mắt phun bạn đang sử dụng dựa trên các sản phẩm hoặc dung dịch hóa chất có độ nhớt tương đương với nước.
| Mã Màu Mắt phun (lưu lượng) | Kích thước Mắt lưới của Màn* | Mã Màu Bộ lọc |
|---|---|---|
| Màu vàng (0,2 gpm) | 50 | Màu xanh dương |
| Màu đỏ (0,4 gpm) | 50 | Màu xanh dương |
| Màu nâu (0,5 gpm) | 50 (hoặc 30) | Màu xanh dương (hoặc xanh lá) |
| Màu xám (0,6 gpm) | 30 | Màu xanh lá |
| Màu trắng (0,8 gpm) | 30 | Màu xanh lá |
| Màu xanh dương (1,0 gpm) | 30 | Màu xanh lá |
| Màu xanh lá (1,5 gpm) | 30 | Màu xanh lá |
| *Kích thước mắt lưới của các bộ lọc hút trong bảng này dựa trên hóa chất hoặc dung dịch phun tưới có độ nhớt tương đương với nước. | ||
Important: Khi bạn phun các sản phẩm hoặc dung dịch hóa chất có độ nhớt cao hơn (đặc hơn) bằng bột thấm ướt, bạn sẽ cần sử dụng mắt lưới thô hơn của màn dành cho bộ lọc hút tùy chọn; tham khảo Hình 23.

Khi phun lượng phun tưới cao hơn, hãy cân nhắc sử dụng bộ lọc hút tùy chọn mắt lưới thô hơn; tham khảo Hình 24.

Các kích thước màn có sẵn bao gồm:
Thiết bị Tiêu chuẩn: Bộ lọc hút mắt lưới 50 (màu xanh dương)
Sử dụng bảng bộ lọc áp suất để nhận biết mắt lưới của màn cho mắt phun bạn đang sử dụng dựa trên các sản phẩm hoặc dung dịch hóa chất có độ nhớt tương đương với nước.
| Mã Màu Mắt phun (lưu lượng) | Kích thước Mắt lưới của Màn* | Mã Màu Bộ lọc |
|---|---|---|
| Theo yêu cầu đối với hóa chất hoặc dung dịch có độ nhớt thấp hoặc lượng phun tưới thấp | 100 | Màu xanh lá |
| Màu vàng (0,2 gpm) | 80 | Màu vàng |
| Màu đỏ (0,4 gpm) | 50 | Màu xanh dương |
| Màu nâu (0,5 gpm) | 50 | Màu xanh dương |
| Màu xám (0,6 gpm) | 50 | Màu xanh dương |
| Màu trắng (0,8 gpm) | 50 | Màu xanh dương |
| Màu xanh dương (1,0 gpm) | 50 | Màu xanh dương |
| Màu xanh lá (1,5 gpm) | 50 | Màu xanh dương |
| Theo yêu cầu đối với hóa chất hoặc dung dịch có độ nhớt cao hoặc lượng phun lớn | 30 | Màu đỏ |
| Theo yêu cầu đối với hóa chất hoặc dung dịch có độ nhớt cao hoặc lượng phun lớn | 16 | Màu nâu |
| * Kích thước mắt lưới của các bộ lọc áp suất trong bảng này dựa trên hóa chất hoặc dung dịch phun tưới có độ nhớt tương đương với nước. | ||
Important: Khi bạn phun các sản phẩm hoặc dung dịch hóa chất có độ nhớt cao hơn (đặc hơn) bằng bột thấm ướt, bạn sẽ cần sử dụng mắt lưới thô hơn của màn dành cho bộ lọc áp suất tùy chọn; tham khảo Hình 25.

Khi phun lượng phun tưới cao hơn, hãy cân nhắc sử dụng bộ lọc áp suất tùy chọn mắt lưới thô hơn; tham khảo Hình 26.

Note: Việc sử dụng bộ lọc đầu mắt phun tùy chọn để bảo vệ và tăng tuổi thọ sử dụng của đầu mắt phun.
Sử dụng bảng bộ lọc đầu mắt phun để nhận biết mắt lưới của màn cho mắt phun bạn đang sử dụng dựa trên các sản phẩm hoặc dung dịch hóa chất có độ nhớt tương đương với nước.
| Mã Màu Mắt phun (lưu lượng) | Kích thước Mắt lưới Bộ lọc* | Mã Màu Bộ lọc |
|---|---|---|
| Màu vàng (0,2 gpm) | 100 | Màu xanh lá |
| Màu đỏ (0,4 gpm) | 50 | Màu xanh dương |
| Màu nâu (0,5 gpm) | 50 | Màu xanh dương |
| Màu xám (0,6 gpm) | 50 | Màu xanh dương |
| Màu trắng (0,8 gpm) | 50 | Màu xanh dương |
| Màu xanh dương (1,0 gpm) | 50 | Màu xanh dương |
| Màu xanh lá (1,5 gpm) | 50 | Màu xanh dương |
| * Kích thước mắt lưới của các bộ lọc mắt phun trong bảng này dựa trên hóa chất hoặc dung dịch phun tưới có độ nhớt tương đương với nước. | ||
Important: Khi bạn phun các sản phẩm hoặc dung dịch hóa chất có độ nhớt cao hơn (đặc hơn) bằng bột thấm ướt, bạn sẽ cần sử dụng mắt lưới thô hơn của màn dành cho bộ lọc mắt phun tùy chọn; tham khảo Hình 27.

Khi bạn phun với lượng phun tưới cao hơn, hãy cân nhắc sử dụng bộ lọc đầu mắt phun mắt lưới thô hơn; tham khảo Hình 28.

Important: Không sử dụng nước tuần hoàn (nước xám) trong bình nước sạch.
Note: Khi vô tình bị tiếp xúc, bình nước sạch được sử dụng để cung cấp nguồn nước sạch giúp rửa hóa chất khỏi da, mắt hoặc các bề mặt khác.
Luôn đổ đầy nước sạch vào bình nước sạch trước khi xử lý hoặc trộn mọi loại hóa chất.
Để đổ đầy bình, hãy mở nắp ở phía trên của bình, đổ đầy nước sạch vào bình và lắp nắp (Hình 29).
Để mở đầu vòi bình nước sạch, hãy xoay cần trên đầu vòi (Hình 29).

Lắp Bộ Trộn sẵn Hóa chất tùy chọn để trộn tối ưu và làm sạch bình bên ngoài.
Important: Không sử dụng nước tuần hoàn (nước xám) trong bình phun tưới khi có thể.
Important: Đảm bảo hóa chất bạn sử dụng có khả năng tương thích với Viton™ (xem nhãn của nhà sản xuất; nhãn phải chỉ thị nếu không tương thích). Sử dụng hóa chất không tương thích với Viton sẽ làm thoái hóa các gioăng tròn trong máy phun, gây rò rỉ.
Important: Các vạch biểu thị thể tích bình chỉ mang tính tham khảo và không thể được xem là vạch chính xác để hiệu chuẩn.
Dừng máy trên bề mặt bằng phẳng, tắt động cơ, rút chìa khóa và bật phanh đỗ.
Xác định lượng nước cần thiết để trộn lượng hóa chất cần thiết theo quy định của nhà sản xuất hóa chất.
Mở nắp bình trên bình phun tưới.
Note: Nắp bình nằm ở trung tâm phần trên cùng của bình. Để mở nắp, hãy xoay nửa trước của nắp ngược chiều kim đồng hồ rồi lay nắp để mở. Bạn có thể tháo bộ lọc dưới nắp bình và làm sạch bộ lọc.
Lắp ống nạp vào ống nối ngắt kết nối nhanh của bình nạp chống siphong.
Đổ thêm ¾ lượng nước cần thiết vào bình phun tưới (Hình 30).
Important: Luôn sử dụng nước ngọt sạch trong bình phun tưới. Không đổ chất cô đặc vào bình trống.

Khởi động động cơ, bật phanh đỗ, đặt công tắc bơm phun tưới sang vị trí BậT và di chuyển cần tiết lưu đến CHạY RỗI CAO.
Đặt công tắc khuấy trộn đến vị trí BậT.
Important: Trước khi đưa bột thấm ướt vào bất kỳ Hệ thống Phun tưới Toro nào, hãy trộn bột trong một bình chứa phù hợp bằng lượng nước ngọt vừa đủ để tạo ra hỗn hợp sền sệt chảy tự do. Nếu không làm như vậy có thể dẫn đến hóa chất lắng đọng ở dưới đáy bình, khuấy trộn bị xuống cấp, gây tắc bộ lọc và tỷ lệ ứng dụng không phù hợp.Toro khuyên bạn nên sử dụng Bộ Máy trộn đã được phê duyệt cho loại máy này. Liên hệ với nhà phân phối Toro được ủy quyền của bạn để biết thêm thông tin.
Đổ thêm lượng hóa chất cô đặc phù hợp vào bình theo chỉ dẫn của nhà sản xuất hóa chất.
Đổ thêm phần nước còn lại vào bình, tháo ống nạp và đóng nắp bình.
Note: Để bịt kín bình, hãy đóng nắp và xoay nửa trước theo chiều kim đồng hồ.
Important: Sau khi đổ đầy bình lần đầu tiên, hãy kiểm tra các dây đeo của bình có bị dịch chuyển không. Siết chặt khi cần thiết.
| Khoảng thời gian Dịch vụ Bảo trì | Quy trình Bảo trì |
|---|---|
| Trước mỗi lần sử dụng hoặc hàng ngày |
|
Important: Siết chặt chốt hãm dây đeo của bình quá mức có thể dẫn đến bình và dây đeo biến dạng và hư hỏng.
Important: Không sử dụng nước tuần hoàn (nước xám) trong bình phun tưới khi có thể.
Đổ đầy nước vào bình chính.
Kiểm tra xem có bất kỳ chuyển động nào giữa dây đeo của bình và bình không (Hình 31).

Nếu lắp lỏng dây đai vào bình, hãy siết chặt êcu hãm mặt bích và bu lông ở đầu dây đai cho đến khi dây đai bằng phẳng với bề mặt của bình (Hình 31).
Note: Không siết phần cứng của dây đai bình quá chặt.
Important: Khi vận hành ở chế độ tỷ lệ ứng dụng, bạn phải đặt van rẽ nhánh phân đoạn ở vị trí đóng.
Important: Không sử dụng nước tuần hoàn (nước xám) trong bình phun tưới khi có thể.
Trước khi sử dụng máy phun lần đầu tiên, bất cứ khi nào bạn thay đổi mắt phun, hoặc khi cần, hãy hiệu chuẩn dòng chảy, tốc độ của máy phun tưới, cài đặt rẽ nhánh phân đoạn.
Important: Chọn một khu vực bằng phẳng, thông thoáng để thực hiện quy trình này.
Đổ nước sạch vào nửa bình phun.
Hạ các phân đoạn phun tưới.
Bật phanh đỗ.
Đặt công tắc điều khiển phun tưới ở chế độ thủ công.
Đặt 3 công tắc phân đoạn ở vị trí BậT, nhưng để công tắc phân đoạn chính ở vị trí TắT.
Đặt công tắc bơm phun tưới ở vị trí BậT và bật khuấy trộn.
Trên InfoCenter, điều hướng đến màn hình Hiệu chuẩn và chọn Tốc độ Kiểm tra; tham khảo Mô phỏng Tốc độ Kiểm tra trong Hướng dẫn Phần mềm dành cho máy phun tưới cỏ Multi Pro 5800-D và 5800-G có hệ thống phun tưới ExcelaRate.
Nhấn nút 3 hoặc 4 để tăng hoặc giảm tốc độ mô phỏng xuống 5,6 km/h.
Nhấn nút 4 để BậT mô phỏng tốc độ kiểm tra.
Nhấn nút 5 để lưu và thoát khỏi màn hình TốC độ KIểM TRA.
Sử dụng công tắc lượng phun tưới, điều chỉnh lượng phun tưới theo bảng sau đây.
| Màu Mắt phun | SI (Hệ mét) | Hệ Anh | Mặt cỏ |
| Màu vàng | 159 L/ha | 17 gpa | 0,39 gpk |
| Màu đỏ | 319 L/ha | 34 gpa | 0,78 gpk |
| Màu nâu | 394 L/ha | 42 gpa | 0,96 gpk |
| Màu xám | 478 L/ha | 51 gpa | 1,17 gpk |
| Màu trắng | 637 L/ha | 68 gpa | 1,56 gpk |
| Màu xanh dương | 796 L/ha | 85 gpa | 1,95 gpk |
| Màu xanh lá | 1.190 L/ha | 127 gpa | 2,91 gpk |
Tắt công tắc phân đoạn bên trái và điều chỉnh núm rẽ nhánh phân đoạn (Hình 32) cho đến khi tỷ lệ hiển thị ở mức trước đó theo bảng.
Note: Các chỉ số được đánh số trên núm và kim rẽ nhánh chỉ mang tính chất tham khảo.

Bật công tắc phân đoạn bên trái và tắt công tắc phân đoạn bên phải.
Điều chỉnh núm rẽ nhánh phân đoạn bên phải (Hình 32) cho đến khi tỷ lệ hiển thị ở mức trước đó theo bảng.
Bật công tắc phân đoạn bên phải và tắt công tắc phân đoạn trung tâm.
Điều chỉnh núm rẽ nhánh phân đoạn trung tâm (Hình 32) cho đến khi tỷ lệ hiển thị ở mức trước đó theo bảng.
Tắt công tắc phân đoạn chính.
Tắt máy bơm phun.
| Khoảng thời gian Dịch vụ Bảo trì | Quy trình Bảo trì |
|---|---|
| Hàng năm |
|
Important: Không sử dụng nước tuần hoàn (nước xám) trong bình phun tưới khi có thể.
Chọn một khu vực bằng phẳng, thông thoáng để thực hiện quy trình này.
Đổ nước sạch đầy một nửa bình phun tưới.
Xác minh van điều khiển khuấy trộn đang mở.
Note: Nếu lúc này van đã bị điều chỉnh thì hãy mở van hoàn toàn.
Bật phanh đỗ và khởi động động cơ.
Đặt nút chế độ máy phun tưới ở Chế độ Thủ công; tham khảo Phun tưới ở Chế độ Thủ công.
Đặt công tắc bơm phun tưới và công tắc khuấy trộn ở vị trí BậT.
Xoay công tắc phân đoạn chính sang vị trí TắT.
Di chuyển cần tiết lưu sang vị trí NHANH.
Sử dụng công tắc tỷ lệ ứng dụng để điều chỉnh áp suất của hệ thống phun tưới đến 6,89 bar (100 psi).
Xoay công tắc khuấy trộn sang vị trí TắT và đọc áp kế.
Nếu chỉ số trên áp kế là 6,89 bar (100 psi) thì van rẽ nhánh khuấy trộn đã được hiệu chuẩn phù hợp.
Nếu chỉ số trên áp kế khác thì hãy tiếp tục bước tiếp theo.
Điều chỉnh van rẽ nhánh khuấy trộn (Hình 34) trên mặt sau của van khuấy trộn cho đến khi chỉ số áp suất của hệ thống máy phun tưới là 6,89 bar (100 psi).

Xoay công tắc bơm phun tưới sang vị trí TắT.
Di chuyển cần tiết lưu đến vị trí CHạY RỗI/CHậM và xoay công tắc chìa khóa sang vị trí TắT.
Bơm phun tưới nằm gần phía sau bình ở phía bên trái (Hình 35).

Chủ sở hữu/người vận hành có thể ngăn chặn và chịu trách nhiệm về những tai nạn có thể gây thương tích cá nhân hoặc thiệt hại về tài sản.
Mặc quần áo phù hợp, bao gồm bảo vệ mắt; quần dài; giày dép chắc chắn, chống trơn trượt; và bảo vệ thính giác. Buộc tóc dài lại và không mặc quần áo rộng hoặc đeo trang sức lỏng lẻo.
Mang thiết bị bảo hộ cá nhân phù hợp theo chỉ dẫn trong An toàn Hóa chất.
Tập trung cao độ trong khi vận hành máy. Tránh bị phân tâm vào bất kỳ hoạt động nào khác; nếu không, bạn có thể gây thương tích cho bản thân hoặc gây thiệt hại về tài sản.
Không vận hành máy khi bị ốm, mệt mỏi hoặc đang chịu ảnh hưởng của các chất có cồn, chất gây nghiện.
Không chở quá 1 người trên máy; người đi cùng chỉ nên ngồi ở vị trí ghế quy định.
Chỉ vận hành máy trong điều kiện có tầm nhìn tốt. Tránh các hố hoặc nguy cơ tiềm ẩn.
Trước khi bạn khởi động động cơ, hãy đảm bảo bạn đang ở vị trí vận hành, bàn đạp kéo nằm ở vị trí Số MO và phanh đỗ đã được bật.
Giữ nguyên vị trí khi máy còn chuyển động. Giữ cả hai tay trên tay lái bất cứ khi nào có thể, và luôn để tay và chân của bạn trong khoang vận hành.
Cẩn thận khi đến gần góc khuất, bụi rậm, cây cối hoặc các vật thể khác có thể che khuất tầm nhìn của bạn.
Trước khi lùi, hãy nhìn về phía sau và đảm bảo không có ai ở phía sau bạn. Lùi xe từ từ.
Không được phun tưới khi có người, đặc biệt là trẻ em, hoặc vật nuôi ở gần đó.
Không vận hành máy gần các dốc thẳng đứng, hào hoặc bờ kè. Máy có thể lật úp đột ngột nếu một bánh xe đi qua mép hoặc nếu mép bị lún.
Giảm tốc độ khi vận hành trên địa hình gồ ghề, mặt đất không bằng phẳng, gần lề đường, hố và các địa hình thay đổi đột ngột khác. Tải có thể xê dịch khiến máy hoạt động không ổn định.
Dừng máy, tắt động cơ, rút chìa khóa, bật phanh đỗ và kiểm tra hư hỏng sau khi va phải vật thể hoặc nếu có rung động bất thường trong máy. Thực hiện tất cả các sửa chữa cần thiết trước khi vận hành trở lại.
Giảm tốc độ và thận trọng khi lái máy rẽ và băng qua đường và vỉa hè. Luôn nhường quyền ưu tiên qua đường.
Cần hết sức thận trọng khi vận hành máy trên bề mặt ướt, trong điều kiện thời tiết bất lợi, ở tốc độ cao hoặc với bình đầy tải. Thời gian dừng và khoảng cách sẽ tăng lên trong điều kiện này.
Không chạm vào động cơ hoặc bộ tiêu âm khi động cơ đang chạy hoặc ngay sau khi động cơ đã tắt. Những khu vực này có thể nóng tới mức gây bỏng.
Trước khi bạn rời khỏi vị trí của người vận hành, hãy thực hiện các bước sau:
Đỗ máy trên bề mặt bằng phẳng.
Di chuyển bàn đạp kéo đến vị trí Số MO.
Tắt máy bơm phun.
Bật phanh đỗ.
Tắt động cơ và rút chìa khóa (nếu được trang bị).
Chờ cho tất cả chuyển động dừng lại.
Tuyệt đối không chạy động cơ ở không gian khép kín nơi khí thải không thoát ra được.
Không vận hành máy khi có nguy cơ bị sét đánh.
Chỉ sử dụng phụ kiện và bộ gá đã được Toro phê duyệt.
Note: Đối với mỗi máy được đề cập trong Hướng dẫn Vận hành này, buồng lái do Toro lắp đặt là loại ROPS.
Không tháo ROPS ra khỏi máy.
Thắt dây đai an toàn và đảm bảo bạn có thể tháo dây nhanh chóng trong trường hợp khẩn cấp. Luôn luôn đeo dây đai an toàn của bạn.
Kiểm tra cẩn thận các vật cản trên cao và không tiếp xúc với chúng.
Giữ ROPS ở tình trạng hoạt động an toàn bằng cách kiểm tra kỹ lưỡng định kỳ xem có hư hỏng gì không và giữ chặt tất cả các chốt hãm gắn.
Bảo trì và làm sạch (các) dây đai an toàn khi cần thiết.
Thay thế các bộ phận ROPS bị hỏng. Không sửa chữa hoặc thay đổi các bộ phận này.
Dốc là yếu tố chính liên quan đến tai nạn mất kiểm soát và lật xe, có thể dẫn đến chấn thương nặng hoặc tử vong. Bạn là người chịu trách nhiệm vận hành an toàn trên dốc. Cần phải hết sức thận trọng khi vận hành máy trên bất kỳ độ dốc nào.
Xem lại hướng dẫn về độ dốc được liệt kê dưới đây để vận hành máy trên dốc và để xác định xem bạn có thể vận hành máy trong điều kiện vào ngày hôm đó và tại địa điểm làm việc đó hay không. Việc thay đổi về địa hình có thể dẫn đến thay đổi vận hành của máy trên dốc.
Xác định xem độ dốc có an toàn cho vận hành máy hay không, bao gồm khảo sát địa điểm. Luôn luôn suy xét dựa trên kinh nghiệm và đưa ra đánh giá hợp lý khi thực hiện khảo sát này.
Tránh khởi động, dừng hoặc quay máy trên đường dốc. Đi lên và xuống dốc. Tránh thay đổi tốc độ hoặc phương hướng đột ngột. Nếu bạn phải quay đầu máy, hãy chuyển hướng từ từ và dần dần xuống dốc, nếu có thể. Cẩn thận khi lùi máy.
Không vận hành máy khi bạn không chắc chắn về lực kéo, hệ thống lái hoặc độ ổn định.
Loại bỏ hoặc đánh dấu vật cản như mương, hố, đường lún, chỗ lồi, đá hoặc các nguy cơ tiềm ẩn khác. Cỏ cao có thể che khuất vật cản. Địa hình không bằng phẳng có thể làm lật máy.
Lưu ý rằng việc vận hành máy trên bề mặt ướt, ngang dốc hoặc xuống dốc có thể làm mất lực kéo của máy. Mất lực kéo đến các bánh xe có thể dẫn đến trượt, mất phanh và mất lái.
Cần hết sức thận trọng khi vận hành máy gần dốc thẳng đứng, mương, bờ kè, nguy cơ có nước hoặc các mối nguy hiểm khác. Máy có thể đột ngột ngã lăn nếu một bánh xe đi qua mép hoặc mép bị lún. Thiết lập khu vực an toàn giữa máy và mọi mối nguy hiểm.
Hết sức cẩn thận khi vận hành máy có bộ gá; chúng có thể ảnh hưởng đến độ ổn định của máy.
Nếu động cơ bị dừng hoặc bạn bắt đầu mất đà khi đang leo dốc, hãy từ từ sử dụng phanh và từ từ lùi thẳng xuống dốc.
Luôn giữ bộ phận truyền động ở vị trí gài số (nếu có thể) khi bạn lái máy xuống dốc.
Không đỗ máy trên bề mặt nghiêng.
Trọng lượng của chất liệu trong bình có thể thay đổi khả năng xử lý của máy. Để tránh mất kiểm soát và gây thương tích cá nhân, hãy làm theo các hướng dẫn sau:
Khi vận hành với tải trọng nặng, hãy giảm tốc độ và dành đủ khoảng cách để phanh. Không sử dụng phanh đột ngột. Thận trọng hơn khi đi trên dốc.
Tải trọng chất lỏng thay đổi, đặc biệt là khi rẽ, lên hoặc xuống dốc, thay đổi tốc độ đột ngột hoặc khi lái xe trên bề mặt gồ ghề. Thay đổi tải trọng có thể khiến máy bị lật.
Ngồi trên ghế của người vận hành và không để chân lại gần bàn đạp kéo.
Đảm bảo các nút điều khiển sau được cài đặt:
Đang bật phanh đỗ.
Bàn đạp kéo ở vị trí Số MO.
Máy bơm phun tưới đã tắt.
Van tiết lưu ở vị trí CHậM.
Xoay chìa khóa về vị trí KHởI độNG.
Quay động cơ không quá 15 giây.
Nhả chìa khóa ra khi động cơ khởi động.
Chạy động cơ ở tốc độ CHạY RỗI hoặc chạy van tiết lưu bán phần cho đến khi động cơ nóng lên.
Nhả phanh đỗ và nhấn bàn đạp kéo về phía trước để lái máy tiến hoặc nhấn bàn đạp về phía sau để lái máy lùi.
Important: Đảm bảo bạn cho phép máy phun tưới dừng lại trước khi chuyển đổi giữa các vị trí TIếN và LùI.
Để dừng máy từ từ, nhả bàn đạp kéo.
Note: Bàn đạp kéo trở về vị trí Số MO.
Để dừng nhanh, nhấn bàn đạp phanh.
Note: Khoảng cách dừng của máy có thể khác nhau tùy thuộc vào tải trọng bình phun tưới và tốc độ trên mặt đất của máy.
Nếu bạn nhấn công tắc khóa tốc độ trên mặt đất và không đặt chân lên bàn đạp kéo, bộ kéo có thể dừng đột ngột và khiến bạn mất kiểm soát, có thể làm bạn hoặc những người xung quanh bị chấn thương.
Đảm bảo bạn đã đặt chân lên bàn đạp kéo khi tắt công tắc khóa tốc độ trên mặt đất.
Khởi động bơm phun tưới bằng cách nhấn công tắc bơm phun tưới sang vị trí BậT; tham khảo Công tắc Bơm Phun tưới.
Lái về phía trước và đạt được tốc độ trên mặt đất theo mong muốn; tham khảo Điều khiển Máy.
Note: Bạn phải lái máy thấp hơn 11 km/h để cài đặt khóa tốc độ trên mặt đất.
Nhấn phần trên cùng của công tắc khóa tốc độ trên mặt đất.
Note: Đèn trên công tắc phát sáng.
Nhấc chân ra khỏi bàn đạp kéo.
Note: Máy phun tưới duy trì ở tốc độ mà bạn đã đặt.
Để nhả công tắc khóa tốc độ trên mặt đất, hãy đặt chân của bạn lên bàn đạp kéo và nhấn vào phần dưới cùng của công tắc hoặc nhấc chân ra khỏi bàn đạp kéo và nhấn bàn đạp phanh.
Note: Đèn trên công tắc tắt và hệ thống điều khiển lực kéo quay trở lại bàn đạp kéo.
Di chuyển tất cả các nút điều khiển sang vị trí Số MO.
Nhấn phanh để dừng máy phun tưới.
Bật phanh đỗ.
Di chuyển cần tiết lưu đến vị trí CHạY RỗI/CHậM.
Xoay chìa khóa về vị trí TắT.
Rút chìa khóa ra khỏi công tắc để tránh có người vô tình khởi động động cơ.
Có 2 loại thông báo về động cơ hiển thị trên InfoCenter khi động cơ đang chạy ngoài giới hạn vận hành an toàn:
Thông báo lời khuyên về động cơ
Thông báo dừng động cơ
Note: Bạn phải đặt tùy chọn tắt âm thanh trong InfoCenter thành BậT để cảnh báo lời khuyên về động cơ và dừng động cơ phát ra âm thanh; tham khảo Tắt tiếng Chỉ số Âm thanh trong Hướng dẫn Phần mềm dành cho máy phun tưới cỏ Multi Pro 5800-D và 5800-G có hệ thống phun tưới ExcelaRate.
Note: Biểu tượng
ở góc trên cùng bên phải của màn
hình trang chủ, thông báo lời khuyên về
động cơ hoặc thông báo dừng động cơ cho
biết có lỗi đang hoạt động đối với động
cơ.
Nếu thông báo lời khuyên về động cơ hiển thị trong InfoCenter, bạn nên ngừng hoạt động phun tưới và lái máy đến cơ sở bảo trì. Ví dụ về các màn hình lời khuyên như sau:
Khi bộ điều khiển động cơ (ECU) phát hiện thấy lỗi về mức độ lời khuyên, chỉ số lời khuyên về động cơ sẽ hiển thị (Hình 36).

Ngừng hoạt động phun tưới và lái máy đến cơ sở bảo trì.
Note: Thông báo về Lỗi đang hoạt động hiển thị (Hình 37).

Nhấn nút 1 đến 5 để xem danh sách lỗi đang hoạt động (Hình 38).
Nhấn nút 1 hoặc 2 để điều hướng danh sách lên hoặc xuống.
Nhấn nút 3 để tắt tiếng cảnh báo âm thanh.

Nhấn nút 5 để thoát khỏi danh sách lỗi đang hoạt động và quay lại màn hình trang chủ (Hình 39).

Khi thông báo dừng động cơ hiển thị trong InfoCenter, người vận hành phải ngay lập tức đỗ máy và tắt động cơ. Ví dụ về các màn hình lời khuyên như sau:
Important: Tiếp tục vận hành động cơ khi thông báo dừng hiển thị sẽ dẫn đến hư hỏng động cơ.
Khi bộ điều khiển động cơ (ECU) phát hiện thấy lỗi ở mức độ nghiêm trọng, chỉ số dừng động cơ sẽ hiển thị (Hình 40).

Đỗ máy ngay lập tức và tắt động cơ.
Thông báo về Lỗi đang hoạt động sẽ hiển thị tiếp theo (Hình 41).

Nhấn nút 1 đến 5 để xem danh sách lỗi đang hoạt động; tham khảo Hình 38 trong Thông báo Lời khuyên về Động cơ.
Nhấn nút 1 hoặc 2 để điều hướng danh sách lên hoặc xuống.
Nhấn nút 3 để tắt tiếng cảnh báo âm thanh.
Nhấn nút 5 để thoát khỏi danh sách lỗi đang hoạt động và quay lại màn hình trang chủ; tham khảo Hình 39 trong Thông báo Lời khuyên về Động cơ.
Để vận hành máy phun tưới: đổ đầy bình phun, đổ hỗn hợp sản phẩm vào địa điểm làm việc, vệ sinh bình và hệ thống phun tưới. Bạn phải thực hiện liên tiếp cả 3 bước này để tránh làm hỏng máy phun tưới. Ví dụ: không được pha và đổ thêm hóa chất vào bình phun tưới vào ban đêm rồi sáng hôm sau mới phun. Điều này dẫn đến các hóa chất phân tách và có thể làm hỏng các bộ phận của máy phun.
Các hóa chất nguy hiểm và có thể gây ra thương tích cá nhân.
Hãy đọc hướng dẫn trên các nhãn hóa chất trước khi xử lý hóa chất và phải tuân theo mọi khuyến nghị và biện pháp phòng ngừa của nhà sản xuất.
Không được để hóa chất tiếp xúc với da. Nếu xảy ra tiếp xúc, hãy rửa kỹ khu vực bị ảnh hưởng bằng xà phòng và nước sạch.
Mang thiết bị bảo hộ cá nhân (PPE) phù hợp theo hướng dẫn của nhà sản xuất hóa chất.
Máy phun tưới Multi Pro® được thiết kế đặc biệt với độ bền cao, giúp kéo dài tuổi thọ của máy phun. Các vật liệu khác nhau đã được chọn vì những lý do cụ thể tại các vị trí khác nhau trên máy phun của bạn để đáp ứng mục tiêu này. Thật không may, không có vật liệu đơn lẻ nào là hoàn hảo cho tất cả các ứng dụng có thể dự đoán trước.
Một số hóa chất mạnh hơn những hóa chất khác và mỗi hóa chất lại tương tác khác nhau với các vật liệu khác nhau. Một số chất nhất quán (ví dụ: bột thấm ướt, than củi) dễ ăn mòn hơn và dẫn đến tỷ lệ ăn mòn cao hơn. Nếu một hóa chất có sẵn trong công thức giúp tuổi thọ máy phun, hãy sử dụng công thức thay thế này.
Như mọi khi, hãy nhớ làm sạch máy phun và hệ thống phun thật kỹ sau mỗi lần phun. Điều này đảm bảo máy phun của bạn có thời hạn sử dụng lâu dài và không gặp sự cố.
Note: Nếu bạn có thắc mắc hoặc cần thêm thông tin liên quan đến hệ thống điều khiển phun tưới, hãy xem Hướng dẫn Vận hành được cấp kèm với hệ thống.
Tham khảo Hướng dẫn Phần mềm dành cho máy phun tưới cỏ Multi Pro 5800-D và 5800-G có hệ thống phun tưới ExcelaRate để biết thông tin sau:
Trước khi Vận hành
Màn hình trang chủ trên InfoCenter
Màn hình menu chính
Màn hình phụ của menu chính
Màn hình dịch vụ
Màn hình chẩn đoán
Màn hình Giới thiệu
Trong khi Vận hành
Nhập thông tin hoạt động
Màn hình khu vực phun trên InfoCenter
Lời khuyên trên InfoCenter
Tham khảo Hướng dẫn Phần mềm dành cho máy phun tưới cỏ Multi Pro 5800-D và 5800-G có hệ thống phun tưới ExcelaRate để biết thông tin về các quy trình sau:
Important: Để đảm bảo sản phẩm vẫn được trộn đều, hãy sử dụng tính năng khuấy trộn bất cứ khi nào bạn có dung dịch trong bình.
Đảm bảo hệ thống phun được hiệu chuẩn đối với các mắt phun tưới đang hoạt động mà bạn đã chọn; Tham khảo Hướng dẫn Phần mềm dành cho cho máy phun tưới cỏ Multi Pro 5800-D và 5800-G có hệ thống phun tưới ExcelaRate.
Xoay núm của van ngắt rẽ nhánh từng phân đoạn sang vị trí đóng (Hình 42).

Đặt nút chế độ máy phun tưới thành Chế độ Tỷ lệ Ứng dụng (Hình 43).

Di chuyển máy phun đến khu vực cỏ mà bạn đang phun tưới.
Nếu bạn đang thu thập dữ liệu về khu vực được phun và thể tích được phun cho từng địa điểm làm việc, hãy chọn một màn hình khu vực phụ (khu vực phụ từ 1 đến 20) để ghi lại thông tin về khu vực và thể tích riêng lẻ; tham khảo Sử dụng Màn hình Khu vực Phụ trong Hướng dẫn Phần mềm dành cho máy phun tưới cỏ Multi Pro 5800-D và 5800-G có hệ thống phun tưới ExcelaRate.
Note: Khi bạn chuyển đến một địa điểm làm việc khác, bạn cần chọn một màn hình khu vực phụ khác để ghi lại thông tin về khu vực và thể tích riêng lẻ.
Nếu bạn cần chuyển đổi tỷ lệ đang hoạt động giữa giá trị tỷ lệ 1 và giá trị tỷ lệ 2, từ màn hình trang chủ trên InfoCenter, hãy nhấn đồng thời các nút 1 và 2 để chọn Tỷ Lệ 1 hoặc nhấn đồng thời các nút 4 và 5 để chọn Tỷ Lệ 2; Tham khảo Hướng dẫn Phần mềm dành cho máy phun tưới cỏ Multi Pro 5800-D và 5800-G có hệ thống phun tưới ExcelaRate.
Đặt (các) công tắc phân đoạn phun ở vị trí BậT (Hình 44).

Đặt công tắc khuấy trộn và công tắc bơm phun tưới ở vị trí BậT (Hình 45).

Đặt van tiết lưu ở vị trí NHANH (Hình 45).
Lái xe ở tốc độ mong muốn, sau đó đặt công tắc phân đoạn chính sang vị trí BậT để bắt đầu phun (Hình 44).
Note: Sử dụng công tắc phân đoạn chính để khởi động và dừng dòng chảy hóa chất đến các phân đoạn phun đã chọn.
Khi phun xong, đặt công tắc phân đoạn chính đến vị trí TắT để tắt tất cả các phân đoạn phun, sau đó đặt công tắc bơm phun tưới đến vị trí TắT.
Note: Nâng các phân đoạn phun tưới bên ngoài đến vị trí vận chuyển và lái máy phun đến khu vực làm sạch.
Important: Luôn nâng các phân đoạn giàn cho đến khi chúng di chuyển hoàn toàn vào giá đỡ vận chuyển phân đoạn tạo thành vị trí vận chuyển “X” và các xilanh nâng được rút lại hoàn toàn bất cứ khi nào bạn di chuyển máy phun từ khu vực phun này sang khu vực phun khác hoặc di chuyển đến khu vực cất giữ hoặc làm sạch.
Note: Quy trình này giả định rằng bơm phun tưới đang bật; tham khảo Hình 45 trong Phun tưới ở Chế độ Tỷ lệ Ứng dụng.
Đảm bảo hệ thống phun tưới được điều chỉnh cho các mắt phun tưới đang hoạt động mà bạn đã chọn; tham khảo Chọn một Mắt phun.
Đặt nút chế độ phun tưới thành Chế độ Thủ công (Hình 46).

Đặt công tắc phân đoạn chính sang vị trí TắT; tham khảo Hình 44 trong Phun tưới ở Chế độ Tỷ lệ Ứng dụng.
Điều chỉnh van tiết lưu đến tốc độ động cơ mong muốn để phun tưới; tham khảo Hình 45 trong Phun tưới ở Chế độ Tỷ lệ Ứng dụng.
Lái xe đến vị trí phun tưới.
Hạ các phân đoạn vào đúng vị trí.
Đặt các công tắc phân đoạn riêng lẻ, nếu cần, ở vị trí BậT; tham khảo Hình 44 trong Phun tưới ở Chế độ Tỷ lệ Ứng dụng.
Sử dụng công tắc tỷ lệ ứng dụng để đạt được áp suất phun mong muốn như được chỉ báo trong hướng dẫn lựa chọn mắt phun đi kèm với máy phun (Hình 47).

Lái xe ở tốc độ mong muốn, sau đó đặt công tắc phân đoạn chính sang vị trí BậT để bắt đầu phun; tham khảo Hình 44 trong Phun tưới ở Chế độ Tỷ lệ Ứng dụng.
Note: Khi bình gần cạn, khuấy trộn có thể gây ra bọt trong bình. Trong trường hợp này, xoay công tắc khuấy trộn sang vị trí TắT. Ngoài ra, bạn có thể thêm chất chống tạo bọt vào bình.
Khi bạn phun xong, đặt công tắc phân đoạn chính đến vị trí TắT để tắt tất cả các phân đoạn, sau đó đặt công tắc bơm phun tưới đến vị trí TắT.
Note: Đưa các phân đoạn trở lại vị trí vận chuyển và lái máy phun đến khu vực làm sạch.
Important: Luôn nâng các phân đoạn cho đến khi chúng di chuyển hoàn toàn vào giá đỡ vận chuyển phân đoạn tạo thành vị trí vận chuyển “X” và các xilanh phân đoạn được rút lại hoàn toàn bất cứ khi nào bạn di chuyển máy phun từ khu vực phun này sang khu vực phun khác hoặc di chuyển đến khu vực cất giữ hoặc làm sạch.
Important: Bạn sẽ cần cung cấp bình hứng có chia vạch (ưu tiên bình có chia vạch theo gia số 0,01 ml) và đồng hồ bấm giây để hoàn tất quy trình này.
Important: Không sử dụng nước tuần hoàn (nước xám) trong bình phun tưới khi có thể.
Đảm bảo bình phun tưới sạch sẽ; tham khảo Làm sạch Hệ thống Máy phun.
Đổ đầy bình phun với ít nhất 568 L nước ngọt; tham khảo Đổ đầy Bình.
Đảm bảo các mắt phun mà bạn định kiểm tra ở vị trí phun tưới (xuống) đang hoạt động.
Đối với các máy vận hành ở chế độ tỷ lệ ứng dụng, hãy đảm bảo núm của van ngắt rẽ nhánh từng phân đoạn ở vị trí đóng (Hình 48).

Đối với các máy vận hành ở chế độ tỷ lệ ứng dụng, hãy đảm bảo van ngắt rẽ nhánh từng phân đoạn ở vị trí đóng (Hình 48).
Bật phanh đỗ và khởi động động cơ.
Note: Để động cơ nóng lên trong 10 phút.
Đối với các máy vận hành ở chế độ tỷ lệ ứng dụng, hãy thực hiện các bước trong Sử dụng Tốc độ Kiểm tra; tham khảo Hướng dẫn Phần mềm dành cho máy phun tưới cỏ Multi Pro 5800-D và 5800-G có hệ thống phun tưới ExcelaRate.
Note: Đặt tốc độ kiểm tra mô phỏng trong khoảng từ 4 km/h đến 14 km/h.
Đặt (các) công tắc phân đoạn phun ở vị trí BậT dành cho (các) phân đoạn mà bạn đang kiểm tra.
Đặt van tiết lưu ở vị trí NHANH.
Đặt công tắc phân đoạn chính sang vị trí BậT.
Thực hiện kiểm tra hứng 15 giây tại 1 trong các mắt phun tưới đang hoạt động.

Tắt công tắc phân đoạn chính, đặt van tiết lưu ở vị trí chậm, tắt bơm phun tưới và tắt động cơ.
Đặt bình có chia vạch ở trên bề mặt bằng phẳng và ghi lại thể tích chất lỏng (Hình 50).
Important: Khi bạn đang đọc bình có chia vạch, bạn phải đặt bình ở trên bề mặt bằng phẳng.
Important: Khi bạn đang đọc bình có chia vạch, hãy đọc thể tích chất lỏng trong bình có chia vạch tại điểm thấp nhất của đường cong bề mặt chất lỏng.
Important: Các lỗi nhỏ khi đọc thể tích chất lỏng trong bình có chia vạch sẽ ảnh hưởng đáng kể đến độ chính xác khi hiệu chuẩn máy phun tưới.

So sánh thể tích nước trong bình có chia vạch với thể tích mắt phun trong bảng kiểm tra hứng 15 giây.
| Màu Mắt phun | Mililit thu được trong 15 giây | Ounce thu được trong 15 giây |
|---|---|---|
| Màu vàng | 189 | 6,4 |
| Màu đỏ | 378 | 12,8 |
| Màu nâu | 473 | 16,0 |
| Màu xám | 567 | 19,2 |
| Màu trắng | 757 | 25,6 |
| Màu xanh dương | 946 | 32,0 |
| Màu xanh lá | 1.419 | 48,0 |
Nếu mức chất lỏng trong bình hứng có chia vạch cao hơn hoặc thấp hơn 7,4 ml so với thể tích mắt phun trong bảng kiểm tra hứng 15 giây, hãy thực hiện 1 trong các thao tác sau:
Thực hiện hiệu chuẩn dòng chảy, hoặc thay các mắt phun bị mòn và thực hiện hiệu chuẩn dòng chảy; tham khảo quy trình hiệu chuẩn dòng chảy trong Hướng dẫn Phần mềm dành cho máy phun tưới cỏ Multi Pro 5800-D và 5800-G có hệ thống phun tưới ExcelaRate.
Hiệu chuẩn van rẽ nhánh khuấy trộn, hoặc thay các mắt phun bị mòn và hiệu chuẩn van rẽ nhánh khuấy trộn; tham khảo Hiệu chuẩn Van Rẽ nhánh Khuấy trộn.
Công tắc nâng phân đoạn cần trên bảng điều khiển của máy phun cho phép bạn di chuyển các phân đoạn phun bên ngoài ở giữa vị trí vận chuyển và vị trí phun tưới mà không cần rời khỏi ghế của người vận hành. Bất cứ khi nào có thể, hãy dừng máy trước khi thay đổi vị trí phân đoạn phun tưới.
Thực hiện các bước sau để di chuyển các phân đoạn phun tưới bên ngoài đến vị trí phun tưới:
Đỗ máy trên bề mặt bằng phẳng.
Sử dụng các công tắc nâng phân đoạn giàn để hạ các phân đoạn bên ngoài.
Note: Chờ cho đến khi các phân đoạn phun tưới bên ngoài đạt đến vị trí phun tưới mở rộng đầy đủ.
Hoàn thành công việc của máy phun, sau đó thực hiện các bước sau để rút lại các phân đoạn phun tưới bên ngoài vào vị trí vận chuyển:
Important: Nếu máy của bạn đã lắp đặt Bộ Tấm che Giàn Giảm Trôi, Bộ Cân bằng Giàn Siêu âm hoặc cả hai, hãy di chuyển các phân đoạn phun tưới bên ngoài đến vị trí vận chuyển cùng một lúc.Di chuyển cả hai phân đoạn phun tưới bên ngoài cùng lúc với bộ tấm che hoặc bộ cân bằng được lắp đặt sẽ có thể làm hỏng các tấm che, cảm biến hoặc cả hai.
Đỗ máy trên bề mặt bằng phẳng.
Sử dụng các công tắc nâng phân đoạn giàn để nâng các phân đoạn phun tưới bên ngoài, cho đến khi chúng di chuyển hoàn toàn vào giá nôi vận chuyển phân đoạn giàn tạo thành vị trí vận chuyển “X”, và rút lại hoàn toàn xilanh nâng.
Important: Nhả (các) công tắc nâng phân đoạn giàn ngay khi các phân đoạn phun tưới bên ngoài đã đạt đến vị trí mong muốn. Chạy các bộ khởi động chống lại các điểm dừng cơ học có thể làm hỏng xilanh nâng và/hoặc các bộ phận thủy lực khác.
Important: Đảm bảo các phần phun không tiếp xúc với bất kỳ vật thể thấp nào ở trên cao khi ở vị trí vận chuyển, điều này có thể làm hỏng các phần phun.
Important: Các phân đoạn phun tưới có thể bị hỏng khi vận chuyển chúng ở vị trí bất kỳ khác với vị trí vận chuyển “X” khi sử dụng giá đỡ vận chuyển giàn.

Important: Để tránh làm hỏng xi lanh nâng, hãy đảm bảo bộ khởi động được rút lại hoàn toàn trước khi vận chuyển máy.
Important: Trong một số điều kiện, nhiệt độ từ động cơ, bộ tản nhiệt và bộ giảm âm có thể làm hỏng cỏ khi vận hành máy phun tưới ở chế độ cố định. Các chế độ cố định gồm có cơ chế trộn bình, phun tay bằng súng phun tưới hoặc sử dụng giàn đẩy đi bộ.
Sử dụng các biện pháp phòng ngừa sau:
Tránh phun cố định trong điều kiện rất nóng và/hoặc khô vì cỏ có thể phải chịu nhiều áp lực hơn trong những giai đoạn này.
Tránh đỗ xe trên sân cỏ trong khi đang phun tưới cố định. Đỗ xe trên đường dành cho xe điện bất cứ khi nào có thể.
Giảm thiểu thời gian máy chạy trên các khu vực cỏ cụ thể. Cả thời gian và nhiệt độ đều sẽ ảnh hưởng đến mức độ hư hại của cỏ.
Thiết đặt tốc độ động cơ thấp nhất có thể để đạt được áp suất và lưu lượng mong muốn. Điều này làm giảm thiểu nhiệt sinh ra cũng như vận tốc không khí từ quạt làm mát.
Để nhiệt thoát ra về phía trên từ khoang động cơ bằng cách nâng cao các cụm ghế ngồi trong quá trình vận hành cố định thay vì bị đẩy ra bên dưới gầm xe.
Không chồng lấn các khu vực mà bạn đã phun tưới trước đó.
Để ý các mắt phun đã bịt kín. Thay tất cả các mắt phun bị mòn hoặc bị hỏng.
Sử dụng công tắc phân đoạn chính để dừng dòng phun tưới trước khi dừng máy phun. Ngay khi dừng lại, hãy sử dụng điều khiển van tiết lưu của động cơ để giữ tốc độ động cơ tăng lên để tính năng khuấy trộn tiếp tục hoạt động.
Bạn sẽ thu được kết quả tốt hơn nếu máy phun đang di chuyển khi bạn bật các phân đoạn phun tưới.
Nếu mắt phun bị tắc trong khi bạn đang phun, hãy làm sạch mắt phun như sau:
Dừng máy phun trên bề mặt bằng phẳng, tắt động cơ và bật phanh đỗ.
Đặt công tắc phân đoạn chính sang vị trí TắTrồi đặt công tắc máy bơm phun sang vị trí TắT.
Tháo mắt phun bị tắc và làm sạch bằng bình phun nước và bàn chải đánh răng.
Lắp mắt phun.
Trước khi bạn rời khỏi vị trí của người vận hành, hãy thực hiện các bước sau:
Đỗ máy trên bề mặt bằng phẳng.
Di chuyển bàn đạp kéo đến vị trí Số MO.
Tắt máy bơm phun.
Bật phanh đỗ.
Tắt động cơ và rút chìa khóa (nếu được trang bị).
Chờ cho tất cả chuyển động dừng lại.
Để máy nguội trước khi điều chỉnh, bảo dưỡng, vệ sinh hoặc cất giữ.
Hàng ngày sau khi vận hành máy xong, hãy rửa sạch tất cả hóa chất còn sót lại bên ngoài máy, đảm bảo trung hòa hệ thống và rửa ba lần theo khuyến nghị của (các) nhà sản xuất hóa chất cũng như tuần hoàn tất cả các van 3 lần; tham khảo An toàn Hóa chất.
Để máy nguội trước khi bảo quản máy trong bất kỳ lớp vỏ nào.
Không được cất giữ máy hoặc bình chứa nhiên liệu ở nơi có ngọn lửa trần, tia lửa hoặc đèn đánh lửa, chẳng hạn như trên máy nước nóng hoặc thiết bị khác.
Duy trì tất cả các bộ phận của máy ở tình trạng hoạt động tốt và cố định chặt tất cả phụ kiện.
Thay tất cả các nhãn mác bị mòn, hư hỏng hoặc còn thiếu.
Rửa máy chỉ bằng nước hoặc bằng chất tẩy rửa nhẹ, nếu cần. Bạn có thể sử dụng giẻ khi rửa máy.
Important: Không sử dụng nước lợ hoặc nước tuần hoàn để làm sạch máy.
Note: Không sử dụng thiết bị rửa chạy điện để rửa máy. Thiết bị rửa chạy điện có thể làm hỏng hệ thống điện, làm lỏng nhãn mác quan trọng, hoặc rửa trôi dầu mỡ cần thiết tại các điểm ma sát. Tránh sử dụng quá nhiều nước gần bảng điều khiển, động cơ và ắc quy.
Important: Không rửa máy khi động cơ đang chạy. Rửa máy khi động cơ đang chạy có thể dẫn đến làm hỏng động cơ bên trong.
Dừng máy phun, bật phanh đỗ, tắt động cơ và rút chìa khóa.
Xác định vị trí van xả của bình ở chắn bùn phía sau bên trái của máy (Hình 52).
Note: Van xả được gắn vào giá đỡ van xả được gắn ở chắn bùn phía sau bên trái.

Nhấc van cho đến khi các chốt ren gắn của van thoát khỏi các khe trong giá đỡ van xả và di chuyển van về phía sau (Hình 53A).

Căn chỉnh đầu van với hộp chứa xả và xoay tay cầm của van đến vị trí mở (Hình 53B).
Khi bình đã xả hết, xoay tay cầm của van xả đến vị trí đóng và lắp van vào giá đỡ van xả (Hình 53B và Hình 53A).
Important: Thải bỏ hóa chất trong bình phun theo quy định của địa phương và hướng dẫn của nhà sản xuất chất đó.
| Khoảng thời gian Dịch vụ Bảo trì | Quy trình Bảo trì |
|---|---|
| Sau mỗi lần sử dụng |
|
Important: Chỉ sử dụng nước sạch khi làm sạch máy phun.
Important: Bạn phải luôn xả và dội sạch máy phun, bao gồm mọi phụ kiện đã lắp đặt của hệ thống phun tưới ngay sau mỗi lần sử dụng. Việc không dội sạch và làm sạch máy phun có thể khiến hóa chất bị khô và tắc nghẽn trong tuyến ống, bộ lọc, van, thân mắt phun, máy bơm và các bộ phận khác.
Toro khuyên bạn nên sử dụng Bộ Rửa Sạch đã được phê duyệt cho loại máy này. Liên hệ với nhà phân phối Toro được ủy quyền của bạn để biết thêm thông tin.
Note: Các khuyến nghị và hướng dẫn sau đây giả định rằng chưa lắp đặt Bộ công cụ Rửa Toro.
Làm sạch hệ thống phun tưới và mọi phụ kiện phun tưới đã lắp đặt sau mỗi đợt phun tưới. Để làm sạch hệ thống phun đúng cách, hãy thực hiện như sau:
Hoàn thành 3 chu trình rửa riêng biệt.
Sử dụng chất tẩy rửa và chất trung hòa theo khuyến nghị của các nhà sản xuất hóa chất.
Sử dụng nước sạch tinh khiết (không có chất tẩy rửa hoặc chất trung hòa) cho lần rửa cuối cùng.
Đổ ít nhất 190 L nước sạch vào bình và đậy nắp lại.
Note: Bạn có thể sử dụng chất làm sạch/trung hòa trong nước, nếu cần. Ở lần rửa cuối cùng, chỉ sử dụng loại nước thật sạch.
Hạ các phân đoạn phun tưới bên ngoài vào vị trí phun.
Khởi động động cơ, đặt công tắc bơm phun tưới sang vị trí BậT và di chuyển cần tiết lưu đến tốc độ động cơ cao.
Đặt công tắc khuấy trộn đến vị trí BậT.
Sử dụng công tắc lượng phun tưới để tăng áp suất lên cài đặt cao.
Đặt các công tắc phân đoạn riêng lẻ và công tắc phân đoạn chính đến vị trí BậT.
Kiểm tra các mắt phun để đảm bảo tất cả đều đang phun tưới chính xác.
Đảm bảo phun toàn bộ nước trong bình ra ngoài qua các mắt phun.
Đặt công tắc phân đoạn chính đến vị trí TắT, đặt công tắc khuấy trộn và công tắc máy bơm phun đến vị trí TắT và tắt động cơ.
Lặp lại các bước từ 1 đến 9 ít nhất 2 lần nữa để đảm bảo hệ thống phun tưới được làm sạch hoàn toàn.
Important: Bạn phải luôn hoàn thành 3 chu kỳ rửa để đảm bảo hệ thống phun tưới và các phụ kiện phun tưới hoàn toàn sạch sẽ, tránh làm hỏng hệ thống.
Làm sạch bộ lọc hút và áp suất; tham khảo Làm sạch Bộ lọc Hút và Làm sạch Bộ lọc Áp suất.
Important: Nếu bạn sử dụng hóa chất dạng bột thấm ướt, hãy làm sạch bộ lọc sau mỗi bình.
Sử dụng ống mềm làm vườn, rửa sạch bên ngoài máy phun bằng nước sạch.
Tháo các mắt phun và làm sạch bằng tay.
Note: Thay các mắt phun bị hỏng hoặc bị mòn.
Note: Nếu máy của bạn có các bộ lọc mắt phun tùy chọn, hãy làm sạch trước khi lắp mắt phun; tham khảo Làm sạch Bộ lọc Mắt phun.
| Khoảng thời gian Dịch vụ Bảo trì | Quy trình Bảo trì |
|---|---|
| Trước mỗi lần sử dụng hoặc hàng ngày |
|
Đỗ máy trên bề mặt bằng phẳng, bật phanh đỗ, tắt bơm, tắt động cơ và rút chìa khóa.
Ở phía trên của bình phun, tháo chốt giữ siết chặt đầu nối ống mềm gắn với ống mềm lớn khỏi vỏ bộ lọc (Hình 54).

Tháo ống mềm và đầu nối ống mềm ra khỏi vỏ bộ lọc (Hình 54).
Kéo bộ lọc hút ra khỏi vỏ bộ lọc trong bình (Hình 55).

Làm sạch bộ lọc hút bằng nước sạch.
Important: Thay bộ lọc nếu bị hư hỏng hoặc không thể làm sạch.
Lắp bộ lọc hút vào vỏ bộ lọc cho đến khi đặt khít hoàn toàn bộ lọc.
Căn chỉnh ống mềm và đầu nối ống mềm với vỏ bộ lọc ở phía trên của bình, đồng thời siết chặt đầu nối và vỏ bằng chốt giữ mà bạn đã tháo ở bước 2.
| Khoảng thời gian Dịch vụ Bảo trì | Quy trình Bảo trì |
|---|---|
| Trước mỗi lần sử dụng hoặc hàng ngày |
|
Đỗ máy trên bề mặt bằng phẳng, bật phanh đỗ, tắt bơm máy phun tưới, tắt động cơ và rút chìa khóa.
Căn chỉnh đĩa xả dưới bộ lọc áp suất (Hình 56).

Xoay nắp xả ngược chiều kim đồng hồ và tháo ra khỏi bát của bộ lọc áp suất (Hình 56).
Note: Để bát xả hoàn toàn.
Xoay bát ngược chiều kim đồng hồ và tháo đầu lọc (Hình 56).
Tháo lõi lọc áp suất (Hình 56).
Làm sạch lõi lọc áp suất bằng nước sạch.
Important: Thay bộ lọc nếu bị hư hỏng hoặc không thể làm sạch.
Kiểm tra miếng đệm để biết nút xả (nằm bên trong bát) và miếng đệm dành cho bát (nằm bên trong đầu lọc) có bị hỏng và bị mòn không (Hình 56).
Important: Thay thế bất kỳ miếng đệm nào bị hỏng hoặc bị mòn của nút, bát hoặc cả hai.
Lắp lõi lọc áp suất vào đầu lọc (Hình 56).
Note: Đảm bảo đặt khít lõi lọc chắc chắn vào đầu lọc.
Lắp bát vào đầu lọc và siết chặt bằng tay (Hình 56).
Lắp nắp xả vào trên đầu nối ở đáy bát và siết chặt nắp bằng tay (Hình 56).
Đỗ máy trên bề mặt bằng phẳng, bật phanh đỗ, tắt bơm máy phun tưới, tắt động cơ và rút chìa khóa.
Tháo mắt phun ra khỏi thân vòi phun tưới (Hình 57).

Tháo bộ lọc mắt phun (Hình 57).
Làm sạch bộ lọc mắt phun bằng nước sạch.
Important: Thay bộ lọc nếu bị hư hỏng hoặc không thể làm sạch.
Lắp bộ lọc mắt phun (Hình 57).
Note: Đảm bảo đặt khít bộ lọc vào hoàn toàn.
Lắp mắt phun lên trên thân vòi phun tưới (Hình 57).
| Khoảng thời gian Dịch vụ Bảo trì | Quy trình Bảo trì |
|---|---|
| Sau mỗi lần sử dụng |
|
Thông số kỹ thuật của chất điều hòa: "chất chống đông RV không độc hại" propylene glycol với chất ức chế ăn mòn
Important: Chỉ sử dụng propylene glycol với chất ức chế ăn mòn. Không sử dụng propylene glycol tái chế. Không sử dụng chất chống đông gốc ethylene glycol.Không sử dụng propylen glycol với rượu hòa tan (metanol, etanol, hoặc isopropanol) hoặc thêm nước muối.
Di chuyển máy đến bề mặt bằng phẳng, bật phanh đỗ, tắt động cơ và rút chìa khóa.
Thêm chất điều hòa vào bình như sau:
Đối với chất chống đông RV propylene glycol có thể sử dụng ngay (đã trộn sẵn) – thêm 10 gallon chất chống đông RV propylene glycol vào bình.
Đối với chất chống đông RV propylene glycol cô đặc, hãy thực hiện các bước sau:
Thêm hỗn hợp 38 L chất chống đông RV propylene glycol và nước vào bình phun tưới. Chuẩn bị hỗn hợp chất chống đông theo hướng dẫn của nhà sản xuất đối với nồng độ định mức tối thiểu là -45°C.
Important: Chỉ sử dụng nước sạch khi làm sạch máy phun.
Khởi động động cơ và đặt công tắc máy bơm phun đến vị trí BậT.
Nhấn bàn đạp tăng tốc để tăng tốc độ động cơ.
Đặt công tắc khuấy trộn đến vị trí BậT.
Chờ cho dung dịch chất điều hòa và nước luân chuyển trong 3 phút hoặc lâu hơn.
Công cụ được đề xuất: bình hứng trong suốt.
Di chuyển máy đến khu vực đĩa xả và bật phanh đỗ.
Hạ các phân đoạn giàn bên ngoài.
Đặt các công tắc phân đoạn bên trái, trung tâm và bên phải và công tắc phân đoạn chính đến vị trí BậT.
Để hệ thống phun thực hiện phun tưới cho đến khi các mắt phun xả chất điều hòa.
Note: Hầu hết chất chống đông RV propylene glycol có màu hồng. Sử dụng bình hứng để lấy mẫu xả của máy phun ở một số mắt phun.
Tắt công tắc phân đoạn chính, 3 công tắc phân đoạn, công tắc khuấy trộn, công tắc máy bơm phun và động cơ.
Sử dụng xe moóc hoặc xe tải khi di chuyển máy trên quãng đường dài.
Trong trường hợp khẩn cấp, máy phun tưới có thể được kéo đi một đoạn ngắn sau khi bạn mở van kéo. Tuy nhiên, chúng tôi không khuyến nghị đây là quy trình tiêu chuẩn.
Kéo với tốc độ quá cao có thể gây mất kiểm soát lái, dẫn đến thương tích cá nhân.
Đừng bao giờ kéo máy phun với tốc độ nhanh hơn 4,8 km/h.
Việc kéo máy phun phải có 2 người thực hiện. Nếu máy phải được di chuyển một khoảng cách đáng kể, hãy vận chuyển máy trên xe tải hoặc xe moóc; tham khảo Vận chuyển Máy.
Để hệ thống xả nguội hoàn toàn.
Tháo tấm che dưới khung gầm; tham khảo Tiếp cận Động cơ.
Xoay van kéo (Hình 60) 90° theo một trong hai hướng để mở van kéo.

Important: Nếu bạn không mở van kéo trước khi kéo máy phun tưới, bạn sẽ làm hỏng bộ phận truyền động.
Gắn dây kéo vào khung; tham khảo các điểm kéo phía trước và phía sau (Hình 61 và Hình 62).


Nhả phanh đỗ.
Kéo máy phun tưới với tốc độ dưới 4,8 kph.
Khi hoàn tất, hãy đóng van kéo và tạo mô-men xoắn từ 7 đến 11 N∙m.
Important: Trước khi đưa máy trở lại bảo dưỡng, hãy lắp tất cả các tấm che dưới khung gầm; tham khảo Tiếp cận Động cơ.
Note: Tải xuống bản sao miễn phí của sơ đồ phần điện hoặc thủy lực bằng cách truy cập www.Toro.com và tìm kiếm máy của bạn từ liên kết Hướng dẫn sử dụng trên trang chủ.
Important: Tham khảo hướng dẫn sử dụng động cơ để biết thêm các quy trình bảo trì.
Note: Xác định các mặt bên trái và bên phải của máy từ vị trí vận hành bình thường.
Trước khi bạn rời khỏi vị trí của người vận hành, hãy thực hiện các bước sau:
Đỗ máy trên bề mặt bằng phẳng.
Di chuyển bàn đạp kéo đến vị trí Số MO.
Bật phanh đỗ.
Tắt động cơ và rút chìa khóa (nếu được trang bị).
Chờ cho tất cả chuyển động dừng lại.
Chờ cho các bộ phận của máy nguội trước khi tiến hành bảo trì.
Chỉ cho phép những người có trình độ và được ủy quyền mới được bảo trì, sửa chữa, điều chỉnh hoặc kiểm tra máy.
Trước khi thực hiện bất kỳ công việc bảo trì nào, hãy làm sạch và rửa kỹ máy phun; tham khảo An toàn Hóa chất.
Hóa chất được sử dụng trong hệ thống phun tưới có thể gây nguy hiểm và độc hại cho bạn, người xung quanh, động vật, thực vật, đất đai hoặc tài sản khác.
Hãy đọc kỹ và tuân theo các nhãn cảnh báo hóa chất và bảng dữ liệu an toàn (SDSs) dành cho các loại hóa chất được sử dụng và bảo vệ bản thân theo khuyến nghị của nhà sản xuất hóa chất.
Luôn bảo vệ da của bạn khi bạn ở gần hóa chất. Sử dụng thiết bị bảo hộ cá nhân (PPE) phù hợp để tránh tiếp xúc với hóa chất, bao gồm như sau:
kính an toàn, kính bảo hộ và/hoặc tấm che mặt
quần áo chống hóa chất
mặt nạ phòng độc hoặc mặt nạ lọc
găng tay chống hóa chất
ủng cao su hoặc giày dép quan trọng khác
thay quần áo sạch, xà phòng và khăn dùng một lần để dọn dẹp
Hãy từ chối vận hành hoặc thao tác với máy phun tưới nếu không có thông tin về an toàn hóa chất.
Không đổ đầy, hiệu chuẩn hoặc vệ sinh máy khi có người, đặc biệt là trẻ em, hoặc vật nuôi ở trong khu vực.
Xử lý hóa chất trong khu vực được thông gió tốt.
Hãy chuẩn bị sẵn nước sạch, đặc biệt là khi đổ đầy bình phun.
Không ăn, uống hoặc hút thuốc khi đang làm việc gần hóa chất.
Không làm sạch mắt phun tưới bằng cách thổi qua chúng hoặc đặt mắt phun vào miệng.
Luôn rửa sạch tay và các khu vực tiếp xúc khác sớm nhất có thể sau khi làm việc với hóa chất.
Hóa chất và hơi rất nguy hiểm; tuyệt đối không được vào bình hoặc đưa đầu lên trên hay vào trong lỗ mở của bình.
Để đảm bảo toàn bộ máy có tình trạng tốt, hãy cố định tất cả phụ kiện đúng cách.
Để giảm nguy cơ hỏa hoạn, phải giữ cho khu vực động cơ không có nhiều dầu mỡ, hóa chất, cỏ, lá cây và bụi bẩn.
Nếu bạn phải chạy động cơ để thực hiện điều chỉnh bảo trì, hãy giữ tay, chân, quần áo và tất cả các bộ phận cơ thể tránh xa động cơ và bất kỳ bộ phận đang chuyển động nào. Không được để bất kỳ ai lại gần.
Không được điều chỉnh tốc độ của máy. Để đảm bảo an toàn và chính xác, hãy yêu cầu nhà phân phối Toro được ủy quyền kiểm tra tốc độ.
Nếu máy cần thực hiện sửa chữa quan trọng hoặc bạn cần được trợ giúp kỹ thuật, vui lòng liên hệ với nhà phân phối Toro được ủy quyền.
Điều chỉnh máy này theo bất kỳ cách nào có thể ảnh hưởng đến hoạt động của máy, hiệu suất, độ bền, chức năng sử dụng, và dẫn đến thương tích hoặc tử vong. Sử dụng như vậy đó có thể làm mất hiệu lực bảo hành của sản phẩm.
Đỡ máy bằng con đội kê bất cứ khi nào bạn làm việc dưới máy.
Cẩn thận giải phóng áp suất từ các bộ phận có năng lượng dự trữ.
| Khoảng thời gian Dịch vụ Bảo trì | Quy trình Bảo trì |
|---|---|
| Sau 8 giờ đầu tiên |
|
| Sau 50 giờ đầu tiên |
|
| Sau 200 giờ đầu tiên |
|
| Trước mỗi lần sử dụng hoặc hàng ngày |
|
| Sau mỗi lần sử dụng |
|
| 50 giờ một lần |
|
| 100 giờ một lần |
|
| 200 giờ một lần |
|
| 400 giờ một lần |
|
| 800 giờ một lần |
|
| 1.000 giờ một lần |
|
| 2.000 giờ một lần |
|
| Hàng năm |
|
Sao chép trang này để sử dụng thường xuyên.
|
Hạng mục Kiểm tra Bảo trì |
Trong tuần: |
||||||
|---|---|---|---|---|---|---|---|
|
Thứ Hai |
Thứ Ba |
Thứ Tư |
Thứ Năm |
Thứ Sáu |
Thứ Bảy |
Chủ Nhật |
|
|
Kiểm tra hoạt động của phanh và phanh đỗ. | |||||||
|
Kiểm tra hoạt động của công tắc khóa số mo. | |||||||
|
Kiểm tra mức nhiên liệu. | |||||||
|
Kiểm tra mức dầu động cơ. | |||||||
|
Kiểm tra mức chất lỏng thủy lực. | |||||||
|
Kiểm tra mức chất làm mát. | |||||||
|
Kiểm tra bộ lọc khí. | |||||||
|
Kiểm tra bộ tản nhiệt và bộ làm mát dầu xem có mảnh vụn nào không. | |||||||
|
Kiểm tra mọi tiếng ồn bất thường của động cơ. | |||||||
|
Kiểm tra mọi tiếng ồn bất thường khi vận hành. | |||||||
|
Kiểm tra áp suất khí của lốp. | |||||||
|
Kiểm tra rò rỉ chất lỏng. | |||||||
|
Kiểm tra tất cả các ống mềm thủy lực và chất lỏng xem có bị hư hỏng, gấp khúc hoặc hao mòn không. | |||||||
|
Kiểm tra hoạt động của thiết bị. | |||||||
|
Kiểm tra hoạt động của bàn đạp ga. | |||||||
|
Làm sạch bộ lọc hút. | |||||||
|
Bôi trơn tất cả núm tra mỡ1 | |||||||
|
Rửa máy. | |||||||
|
Đánh lại bất kỳ lớp sơn bị hư hỏng. | |||||||
1Ngay sau mỗi lần rửa, bất kể khoảng cách thời gian được liệt kê
| Kiểm tra được thực hiện bởi: | ||
| Mục | Ngày | Thông tin |
| 1 | ||
| 2 | ||
| 3 | ||
| 4 | ||
| 5 | ||
| 6 | ||
| 7 | ||
| 8 | ||
| 9 | ||
| 10 | ||
Nếu bạn để chìa khóa trong công tắc khởi động, ai đó có thể vô tình khởi động động cơ và gây thương tích nghiêm trọng cho bạn hoặc những người xung quanh.
Rút chìa khóa ra khỏi công tắc khởi động trước khi thực hiện bất kỳ công việc bảo trì nào.
Bất cứ khi nào chạy động cơ để bảo dưỡng định kỳ và/hoặc chẩn đoán động cơ, bánh sau của máy phun phải cách mặt đất 25 mm (1 inch) với trục sau được nâng đỡ trên con đội kê.
Máy phun nằm trên kích nâng có thể không ổn định và trượt khỏi kích nâng, gây thương tích cho bất kỳ ai ở bên dưới.
Luôn rút chìa khóa ra khỏi công tắc khởi động trước khi rời khỏi máy phun tưới.
Chặn lốp xe khi máy phun đang ở trên kích nâng.
Đỡ máy bằng con đội kê.
Điểm kích ở phía trước của máy phun nằm dưới trục trước, ngay dưới lò xo lá (Hình 63).

Điểm kích ở phía sau của máy phun nằm ở phía sau ở nơi đặt giá đỡ giàn (Hình 64).

Bật phanh đỗ, tắt bơm phun tưới, tắt động cơ và rút chìa khóa.
Nâng mặt trước và mặt sau của máy và đỡ bằng con đội kê; tham khảo Nâng Máy phun.
Tháo 6 bu lông đầu lục giác và 6 vòng đệm đang siết chặt mặt trước, tấm chắn nhiệt phía trước vào khung gầm và tháo tấm chắn (Hình 65).
Note: Giữ lại các bu lông, vòng đệm và tấm chắn nhiệt để lắp trong Lắp Tấm chắn Nhiệt Phía trước.

Căn chỉnh mặt bích phía sau của tấm chắn nhiệt phía trước trên mặt bích phía trước của tấm chắn nhiệt phía sau (Hình 66).

Căn chỉnh các lỗ trên tấm chắn nhiệt phía trước với các lỗ có ren trong khung gầm (Hình 66).
Lắp tấm chắn nhiệt phía trước vào máy bằng 6 bu lông đầu lục giác và 6 vòng đệm (Hình 66) mà bạn đã tháo ở bước 3 trong Tháo Tấm chắn Nhiệt Phía trước.
Tạo mô-men xoắn cho các bu lông từ 19,78 đến 25,42 N∙m.
Tháo con đội kê và hạ máy xuống.
Tháo 5 bu lông đầu mặt bích (5/16 x ⅞ inch) và 5 vòng đệm (5/16 inch) đang siết chặt mặt sau của tấm che dưới khung gầm vào khung gầm của máy (Hình 67) .
Note: Giữ lại các bu lông đầu mặt bích và vòng đệm để lắp đặt ở bước 5 trong Lắp Tấm che Dưới Khung gầm.


Tháo 4 êcu hãm mặt bích (5/16 inch) ra khỏi bu lông và bu lông đầu dù cổ vuông đang siết chặt các mấu gắn của tấm che dưới khung gầm vào giá đỡ gắn động cơ của máy (Hình 68).
Note: Không tháo các bu lông ra khỏi máy. Giữ lại êcu hãm mặt bích để lắp ở bước 3 trong Lắp Tấm che Dưới Khung gầm.

Di chuyển các mấu gắn ra khỏi các bu lông đang siết chặt tấm che dưới khung gầm vào giá đỡ gắn động cơ.
Tháo tấm che dưới khung gầm ra khỏi máy (Hình 67 và Hình 68).
Căn chỉnh tấm che dưới khung gầm với khung gầm dưới cùng của máy; tham khảo Hình 68 trong Tháo Tấm che Dưới Khung gầm.
Di chuyển các mấu gắn của tấm che dưới khung gầm trên các bu lông và bu lông đầu dù cổ vuông tại các giá đỡ gắn động cơ của máy; tham khảo Hình 68 trong Tháo Tấm che Dưới Khung gầm.
Lắp ráp tấm che dưới khung gầm vào các giá đỡ gắn động cơ và bu lông (Hình 68) bằng 4 êcu hãm mặt bích (5/16 inch) mà bạn đã tháo ở bước 2 trong Tháo Tấm che Dưới Khung gầm.
Căn chỉnh các lỗ ở phần sau của tấm che dưới khung gầm với các lỗ trên khung gầm; tham khảo Hình 67 trong Tháo Tấm che Dưới Khung gầm.
Lắp ráp phần sau của tấm che dưới khung gầm vào khung gầm (Hình 67) bằng 5 bu lông đầu mặt bích (5/16 x ⅞ inch) và 5 vòng đệm (5/16 inch) mà bạn đã tháo ở bước 1 trong Tháo Tấm che Dưới Khung gầm.
Tạo mô-men xoắn cho các đai ốc và bu lông từ 11,29 đến 15,82 N∙m.
Căn chỉnh các lỗ trên bảng điều khiển tiếp cận đế ghế với các lỗ trên đế ghế (Hình 69).
Lắp bảng điều khiển tiếp cận đế ghế vào đế ghế bằng 2 bu lông đầu mặt bích (Hình 69) mà bạn đã tháo ở bước 1 trong Tháo Bảng điều khiển Tiếp cận Đế Ghế.
Tạo mô-men xoắn cho các bu lông từ 19,75 đến 25,42 N∙m.
| Khoảng thời gian Dịch vụ Bảo trì | Quy trình Bảo trì |
|---|---|
| 50 giờ một lần |
|
Loại Mỡ: Mỡ lithium số 2. Mỡ Đa năng Cao cấp của Toro được cung cấp từ nhà phân phối Toro được ủy quyền của bạn.
Xilanh lái – 2 núm tra mỡ ở mỗi đầu thanh của xilanh
Thanh lái – 2 núm tra mỡ ở mỗi đầu thanh
Trục quay – 2 núm tra mỡ ở mỗi bên của máy
Lau sạch mỡ thừa.
Note: Các vị trí của núm tra mỡ được minh họa trong Hình 71.


| Khoảng thời gian Dịch vụ Bảo trì | Quy trình Bảo trì |
|---|---|
| 100 giờ một lần |
|
Important: Nếu bạn rửa bản lề của giàn bằng nước, hãy loại bỏ tất cả nước và mảnh vụn ra khỏi cụm bản lề và bôi mỡ mới.
Loại Mỡ: Mỡ lithium số 2.
Chùi sạch núm bôi mỡ để các chất lạ không bị ép vào trong vòng bi hoặc ống lót.
Bơm mỡ vào vòng bi hoặc ống lót tại mỗi đầu nối (Hình 73).

Lau sạch mỡ thừa.
Lặp lại quy trình cho từng trục giàn.
| Khoảng thời gian Dịch vụ Bảo trì | Quy trình Bảo trì |
|---|---|
| 400 giờ một lần |
|
Loại Mỡ: Mỡ lithium số 2.
Hạ các phân đoạn phun tưới bên ngoài đến vị trí phun.
Tháo kẹp ghim ra khỏi chốt kẹp hình chữ U (Hình 74).
Nâng phân đoạn lên, tháo chốt kẹp hình chữ U và từ từ hạ phân đoạn đó xuống đất (Hình 74).
Kiểm tra chốt kẹp hình chữ U xem có bị hỏng không và thay thế nếu cần.

Xoay vòng bi đầu thanh và bôi mỡ vào vòng bi (Hình 75).
Note: Lau sạch mỡ thừa.

Nâng phân đoạn phun để căn chỉnh trục với thanh khởi động.
Trong khi đỡ phân đoạn phun, lắp chốt kẹp hình chữ U qua cả trục giàn và thanh khởi động (Hình 74).
Khi chốt đã vào đúng vị trí, hãy nhả phân đoạn phu và siết chặt chốt kẹp hình chữ U với kẹp ghim đã tháo ra trước đó.
Lặp lại các bước 2 đến 8 với vòng bi thanh khởi động ở phía bên kia của máy.
Tắt động cơ trước khi kiểm tra dầu hoặc đổ thêm dầu vào cacte.
| Khoảng thời gian Dịch vụ Bảo trì | Quy trình Bảo trì |
|---|---|
| Trước mỗi lần sử dụng hoặc hàng ngày |
|
Bật phanh đỗ, tắt bơm phun tưới, tắt động cơ và rút chìa khóa.
Nghiêng ghế của người đi cùng về phía trước và căn chỉnh thanh chống đỡ vào khe hãm trong dẫn hướng thanh chống đỡ.
Làm sạch nắp chắn bụi và thân bộ lọc khí (Hình 76).

Kiểm tra thân của bộ lọc khí xem có hư hỏng có thể gây ra rò rỉ khí không (Hình 76).
Note: Thay nắp chắn bụi và thân bộ lọc khí nếu một trong hai bị hỏng.
Bóp van thu bụi để làm sạch bụi bẩn và mảnh vụn (Hình 76).
Nới lỏng 2 chốt đang siết chặt nắp chắn bụi vào thân bộ lọc khí.
Kiểm tra lõi lọc khí xem có tích tụ quá nhiều bụi bẩn và mảnh vụn không (Hình 76).
Note: Không làm sạch lõi lọc khí nếu nó bị bẩn; thay lõi lọc khí nếu nó bị bẩn.
Lắp nắp chắn bụi lên trên thân bộ lọc khí và siết chặt nắp bằng 2 chốt (Hình 76).
Note: Đảm bảo van thu bụi được căn chỉnh giữa vị trí 5 giờ đến 7 giờ khi nhìn từ phía đầu.
Hạ ghế của người đi cùng.
| Khoảng thời gian Dịch vụ Bảo trì | Quy trình Bảo trì |
|---|---|
| 100 giờ một lần |
|
Nếu bạn đang lắp bộ lọc mới, hãy kiểm tra các lõi lọc khí mới xem có hư hỏng do vận chuyển không, bao gồm cả đầu bịt kín của bộ lọc.
Important: Không lắp bộ lọc bị hỏng.
Làm sạch nắp chắn bụi và thân bộ lọc khí (Hình 76).
Nhấc bình bị tràn chất làm mát lên ra khỏi giá đỡ bình (Hình 77).

Nới lỏng 2 chốt đang siết chặt nắp chắn bụi vào thân bộ lọc khí (Hình 77).
Nhẹ nhàng trượt lõi lọc cũ ra khỏi thân bộ lọc khí để giảm lượng bụi bay ra ngoài.
Note: Tránh để lõi lọc va đập vào thân bộ lọc khí.
Lau sạch bên trong nắp chắn bụi, thân bộ lọc khí và van thu bụi bằng giẻ ẩm (Hình 76 và Hình 77).
Lắp lõi lọc khí vào thân bộ lọc khí (Hình 77).
Note: Đảm bảo bộ lọc nằm đúng cách trong thân bộ lọc khí bằng cách tác dụng lực lên vành ngoài của lõi lọc khi bạn lắp đặt. Không ấn vào phần tâm mềm của bộ lọc.
Lắp nắp lên trên thân bộ lọc khí và siết chặt nắp bằng 2 chốt (Hình 77).
Note: Đảm bảo van thu bụi được căn chỉnh giữa vị trí 5 giờ đến 7 giờ khi nhìn từ phía đầu (Hình 77).
Căn chỉnh bình bị tràn chất làm mát vào giá đỡ bình và đặt bình vào vị trí chắc chắn (Hình 77).
Important: Đảm bảo ống mềm giảm áp được luồn về phía trước và hướng xuống, còn ống mềm thông hơi của bình được luồn về phía sau như được minh họa trong Hình 77.
Hạ ghế của người đi cùng.
Loại dầu: SL theo phân loại dịch vụ APl hoặc cao hơn.
Độ nhớt của dầu: tham khảo bảng độ nhớt của dầu động cơ dưới đây.
| Phạm vi nhiệt độ xung quanh | Độ nhớt của dầu |
| Trên 25°C | SAE30, SAE10W-30 hoặc SAE15W-40 |
| 0°C đến 25°C | SAE20 hoặc SAE10W-30 |
| 0°C đến 20°C | SAE10W hoặc SAE10W-30 |
Dầu Động cơ Cao cấp Toro được cung cấp từ nhà phân phối của bạn với độ nhớt 15W40 hoặc 10W30. Tham khảo Danh mục Bộ phận để xem các số bộ phận.
| Khoảng thời gian Dịch vụ Bảo trì | Quy trình Bảo trì |
|---|---|
| Trước mỗi lần sử dụng hoặc hàng ngày |
|
Note: Thời điểm tốt nhất để kiểm tra dầu động cơ là khi động cơ nguội, trước khi khởi động trong ngày. Nếu động cơ đã được vận hành, hãy để dầu chảy ngược xuống bình hứng ít nhất trong 10 phút trước khi kiểm tra.
Động cơ được vận chuyển cùng với dầu trong cacte; tuy nhiên, phải kiểm tra mức dầu trước khi bạn khởi động động cơ lần đầu tiên và sau khi bạn chạy động cơ.
Đặt máy trên bề mặt bằng phẳng.
Tháo que thăm dầu nằm bên dưới ghế của người đi cùng và lau bằng giẻ sạch (Hình 78).
Note: Lắp que thăm vào ống và đảm bảo que thăm đã nằm hoàn toàn vào trong. Tháo que thăm dầu và kiểm tra mức dầu.


Nếu mức dầu thấp, hãy tháo nắp bình nạp ra khỏi nắp van (Hình 78) và đổ dầu vào cổ bình nạp cho đến khi mức dầu đạt đến vạch Đầy trên que thăm dầu.
Note: Đổ thêm dầu từ từ và thường xuyên kiểm tra mức dầu trong suốt quá trình. Đừng đổ quá đầy.
Lắp nắp bình nạp dầu (Hình 78).
Lắp chặt que thăm vào đúng vị trí (Hình 78).
| Khoảng thời gian Dịch vụ Bảo trì | Quy trình Bảo trì |
|---|---|
| Sau 50 giờ đầu tiên |
|
| 200 giờ một lần |
|
Tháo tấm chắn nhiệt phía trước; tham khảo Tháo Tấm chắn Nhiệt Phía trước.
Nâng ghế lên.
Các bộ phận dưới ghế sẽ bị nóng nếu máy phun đang chạy. Nếu chạm vào các bộ phận nóng thì bạn có thể bị bỏng.
Để máy phun nguội trước khi tiến hành bảo trì hoặc chạm vào các bộ phận bên dưới mui xe.
Căn chỉnh đĩa xả dưới bộ lọc dầu động cơ (Hình 79).

Tháo bộ lọc dầu cũ (Hình 79).
Note: Thải bỏ bộ lọc dầu đã sử dụng tại trung tâm tái chế được chứng nhận.
Lau sạch bề mặt của bộ tiếp hợp lọc dầu của động cơ bằng giẻ.
Đổ đầy dầu quy định vào bộ lọc dầu.
Note: Để lõi lọc bão hòa với dầu.
Bôi một lớp mỏng dầu quy định lên miếng đệm cao su trên bộ lọc dầu thay thế.
Lắp bộ lọc dầu vào bộ tiếp hợp lọc và xoay bộ lọc dầu theo chiều kim đồng hồ cho đến khi miếng đệm cao su tiếp xúc với bộ tiếp hợp lọc, sau đó siết chặt bộ lọc thêm ½ vòng (Hình 79).
Note: Không siết bộ lọc dầu quá chặt.
Lau sạch dầu còn sót lại.
5,1 L với bộ lọc; tham khảo Thông số kỹ thuật của Dầu Động cơ
| Khoảng thời gian Dịch vụ Bảo trì | Quy trình Bảo trì |
|---|---|
| Sau 50 giờ đầu tiên |
|
| 200 giờ một lần |
|
Căn chỉnh khay xả dưới nút xả (Hình 79).
Tháo nút xả (Hình 79) và để dầu xả hết.
Note: Kiểm tra phớt dầu nút xả xem có bị mòn và hỏng không; thay phớt dầu nếu bị mòn hoặc bị hỏng.
Note: Thải bỏ dầu đã sử dụng tại trung tâm tái chế được chứng nhận.
Lắp nút xả vào cổng xả của khay hứng dầu động cơ và siết chặt nút từ 33 đến 37 N∙m.
Nghiêng ghế của người đi cùng về phía trước và căn chỉnh thanh chống đỡ vào khe hãm trong dẫn hướng thanh chống đỡ.
Tháo nắp bình nạp dầu ra khỏi cổ bình nạp của nắp van động cơ (Hình 80) và đổ từ từ khoảng 80% lượng dầu quy định vào cổ bình nạp.

Tháo que thăm ra và kiểm tra mức dầu trong động cơ (Hình 80).
Từ từ thêm dầu bổ sung quy định để nâng mức dầu đến vạch đầy trên que thăm (Hình 80).
Important: Đổ quá đầy dầu vào động cơ có thể gây hư hỏng động cơ.
Lắp nắp bình nạp dầu vào cổ bình nạp và que thăm vào ống que thăm dầu (Hình 80).
Khởi động động cơ và kiểm tra rò rỉ dầu.
Tắt động cơ, chờ 2 đến 3 phút, rút que thăm dầu và kiểm tra mức dầu trong động cơ.
Note: Nếu cần, hãy tháo nắp bình nạp dầu, đổ thêm dầu quy định để nâng mức dầu đến vạch đầy trên que thăm dầu, và lắp nắp bình nạp dầu.
Lắp que thăm dầu, tấm chắn nhiệt của động cơ và nghiêng ghế xuống.
| Khoảng thời gian Dịch vụ Bảo trì | Quy trình Bảo trì |
|---|---|
| 1.000 giờ một lần |
|
Nghiêng ghế của người lái về phía trước và căn chỉnh thanh chống đỡ vào khe hãm trong dẫn hướng thanh chống đỡ.
Tháo van PCV ra khỏi đầu nối của nắp van (Hình 81).
Note: Không tách ống mềm ra khỏi van PCV.

Lắc van PCV.
Note: Nếu bộ hạn chế bên trong của van kêu lạch cạch thì van PCV có thể bảo dưỡng được; nếu bộ hạn chế bên trong không kêu lạch cạch khi lắc, hãy thay van PCV (Hình 81).
Lắp van PCV cho đến khi nằm hoàn toàn trong phớt dầu dành cho đầu nối của nắp van (Hình 81).
Hạ ghế của người vận hành.
| Khoảng thời gian Dịch vụ Bảo trì | Quy trình Bảo trì |
|---|---|
| 400 giờ một lần |
|
Hoàn thành tất cả các quy trình bảo trì hàng năm theo quy định trong hướng dẫn sử dụng động cơ.
Trong những điều kiện nhất định, nhiên liệu và hơi nhiên liệu rất dễ gây cháy và nổ. Cháy hoặc nổ do nhiên liệu có thể gây bỏng cho bạn và những người khác, cũng có thể gây thiệt hại về tài sản.
Sử dụng phễu để đổ đầy bình ở ngoài trời, ở khu vực thoáng đãng, khi động cơ tắt và nguội. Lau sạch tất cả các phần nhiên liệu bị tràn.
Không đổ đầy hoàn toàn bình nhiên liệu. Thêm nhiên liệu vào bình nhiên liệu cho đến khi ở mức cách đáy cổ bình nạp 25 mm. Không gian trống này trong bình cho phép nhiên liệu giãn nở.
Không bao giờ hút thuốc khi xử lý nhiên liệu, và tránh xa lửa trần hoặc nơi có thể bắt cháy với khói nhiên liệu do tia lửa.
Lưu trữ nhiên liệu trong bình chứa nhiên liệu sạch sẽ, được chứng nhận an toàn và giữ nắp ở đúng vị trí.
| Khoảng thời gian Dịch vụ Bảo trì | Quy trình Bảo trì |
|---|---|
| Sau 50 giờ đầu tiên |
|
| 400 giờ một lần |
|
Kiểm tra đường dẫn và ống nối xem có bị xuống cấp, hư hỏng hoặc kết nối bị lỏng hay không.
Note: Nếu bạn thấy nhiên liệu bị rò rỉ, hãy sửa chữa (các) bộ phận nhiên liệu trước khi vận hành máy.
Sử dụng quy trình này sau khi bạn đã bảo dưỡng bộ lọc nhiên liệu hoặc động cơ chạy hết nhiên liệu, và động cơ không khởi động.
Đảm bảo bạn có đủ ½ bình nhiên liệu.
Cắm chìa khóa vào công tắc khởi động và xoay đến vị trí BậT.
Xoay chìa khía sang vị trí TắT.
Thử khởi động động cơ.
Nếu động cơ không khởi động, hãy lặp lại các bước 2 và 3 vài lần rồi thử khởi động động cơ.
Note: Lặp lại bước 5 cho đến khi động cơ khởi động.
| Khoảng thời gian Dịch vụ Bảo trì | Quy trình Bảo trì |
|---|---|
| 400 giờ một lần |
|
Bật phanh đỗ, dừng bơm phun tưới, dừng động cơ và rút chìa khóa.
Ở bình xăng, tháo 4 vít (#10 x ¾ inch) đang siết chặt nắp vào mặt trên cùng của bình nhiên liệu và tháo nắp (Hình 82).

Bật phanh đỗ, dừng bơm phun tưới, dừng động cơ và rút chìa khóa.
Ở bình xăng, tháo 4 vít (#10 x ¾ inch) đang siết chặt giá đỡ bầu lọc cacbon vào mặt trên cùng của bình nhiên liệu (Hình 83).

Nới lỏng 2 kẹp ống mềm đang siết chặt các ống mềm vào các ống nối của bầu lọc cacbon (Hình 84).

Tách ống mềm ra khỏi ống nối (Hình 85).

Tháo các kẹp ống mềm ra khỏi ống mềm (Hình 85).
Tháo bầu lọc cacbon ra khỏi bình nhiên liệu (Hình 85).
Ngắt kết nối đầu nối 2 ổ cắm của bộ dây an toàn của máy ra khỏi đầu nối 2 chốt của bơm nhiên liệu/bộ phận gửi; ngắt kết nối đầu nối 2 chốt của bộ dây an toàn của máy ra khỏi đầu nối 2 ổ cắm của bơm nhiên liệu/bộ phận gửi (Hình 86).

Trượt ống bao khóa của khớp nối ống mềm nhiên liệu ra khỏi ống nối của bộ phận gửi/bơm nhiên liệu và tháo khớp nối và ống mềm ra khỏi ống nối (Hình 86).
Note: Làm sạch mọi nhiên liệu chảy ra từ khớp nối ống mềm hoặc ống nối bơm nhiên liệu.
Xoay đai ốc của bơm nhiên liệu/bộ phân gửi ngược chiều kim đồng hồ rồi tháo đai ốc và phớt dầu (Hình 86)
Cẩn thận nhấc và xoay bơm nhiên liệu/bộ phận gửi ra khỏi cổ bình nhiên liệu (Hình 87).
Important: Thận trọng khi xử lý bơm nhiên liệu/bộ phận gửi nhiên liệu để tránh làm hỏng tay đòn phao nổi của bộ phận gửi.

Tháo ống nạp của bộ lọc nhiên liệu ra khỏi ống nối của bơm nhiên liệu (Hình 88).
Note: Thải bỏ bộ lọc nhiên liệu.

Căn chỉnh ống nạp của bộ lọc nhiên liệu mới với ống nối của bơm nhiên liệu (Hình 88).
Căn chỉnh chân dài của bộ lọc nhiên liệu với phao nổi khi tay đòn phao nổi ở vị trí cạn (Hình 88).
Lắp ống nối của bơm nhiên liệu vào ống nạp cho đến khi ống nối nằm hoàn toàn vào trong (Hình 88).
Nâng tay đòn phao nổi và ống nạp lại với nhau và trượt phao nổi và bộ lọc nhiên liệu vào lỗ mở trong bình nhiên liệu (Hình 87).
Important: Đảm bảo phao nổi và chân dài của bộ lọc hướng về phía trước trong bình và ống nối ở mặt trên cùng của bơm nhiên liệu hướng 90° về phía đường tâm của máy.
Đặt bơm nhiên liệu/bộ phận gửi vào lỗ mở trong bình (Hình 87 và Hình 88).
Lắp phớt dầu và đai ốc trên bơm nhiên liệu/bộ phận gửi và trên cổ bình nhiên liệu rồi siết chặt đai ốc bằng tay (Hình 87).
Kết nối khớp nối trên ống mềm nhiên liệu với ống nối của bơm nhiên liệu (Hình 87).
Note: Đảm bảo ống bao khóa của khớp nối ống mềm nhiên liệu siết chặt khớp nối với ống nối của máy bơm.
Kết nối đầu nối 2 ổ cắm của bộ dây an toàn của máy với đầu nối 2 chốt của bơm nhiên liệu/bộ phận gửi; Kết nối đầu nối 2 chốt của bộ dây an toàn của máy với đầu nối 2 ổ cắm của bơm nhiên liệu/bộ phận gửi (Hình 87).
Xoay công tắc khởi động sang vị trí BậT và kiểm tra rò rỉ của khớp nối ống mềm nhiên liệu.
Note: Nếu khớp nối bị rò rỉ, hãy xoay công tắc khởi động sang vị trí TắT, rút chìa khóa, tháo khớp nối, kiểm tra khớp nối và ống nối xem có bị bẩn hoặc hư hỏng không, đồng thời lắp ống mềm và khớp nối vào ống nối.
Note: Sửa chữa bất kỳ chỗ rò rỉ nhiên liệu nào trước khi tiến hành bước tiếp theo.
Lắp nắp vào bình (Hình 89) bằng 4 vít (#10 x ¾ inch) mà bạn đã tháo ở bước 2 trong Tháo Nắp Bơm Nhiên liệu.

Tạo mô-men xoắn cho vít đến 113 N∙cm.
Căn chỉnh các ống mềm của bình nhiên liệu xuyên qua các vòng dây của giá đỡ bầu lọc cacbon (Hình 90).

Lắp các kẹp ống mềm trên ống mềm (Hình 90).
Lắp các ống mềm vào các ống nối của bầu lọc cacbon (Hình 90).
Siết chặt các ống mềm vào ống nối bằng kẹp (Hình 91)

Căn chỉnh các lỗ trên giá đỡ bầu lọc cacbon với các lỗ trong bình nhiên liệu (Hình 92).

Lắp giá đỡ vào bình (Hình 92) bằng 4 vít (#10 x ¾ inch).
Tạo mô-men xoắn cho vít đến 113 N∙cm.
| Khoảng thời gian Dịch vụ Bảo trì | Quy trình Bảo trì |
|---|---|
| 400 giờ một lần |
|
Xả và làm sạch bình nhiên liệu nếu hệ thống nhiên liệu bị nhiễm bẩn hoặc nếu bạn định bảo quản máy trong thời gian dài. Khi làm sạch bình nhiên liệu, hãy sử dụng nhiên liệu sạch, mới để dội sạch bình.
Chuyển nhiên liệu từ bình vào bình chứa nhiên liệu đã được phê duyệt bằng bơm siphong. Chuyển nhiên liệu ra khỏi máy trước khi bạn đổ lượng nhiên liệu còn lại trong bình qua vòi nạp và vào bình chứa nhiên liệu.
Note: Nếu quyết định tháo bình nhiên liệu, bạn cần ngắt kết nối ống mềm nhiên liệu và các đầu nối điện khỏi bơm nhiên liệu và bộ phận gửi; tham khảo Tháo Bơm Nhiên liệu và Bộ phận Gửi.
Xả bình bằng nhiên liệu sạch, mới, nếu cần.
Thay bộ lọc nhiên liệu; tham khảo Thay Bộ lọc Nhiên liệu.
Lắp bình nếu bạn đã tháo ở bước 1.
Note: Nếu bạn đã tháo bình nhiên liệu, bạn sẽ cần kết nối ống mềm nhiên liệu và các đầu nối điện với bơm nhiên liệu và bộ phận gửi; tham khảo Lắp Bơm Nhiên liệu và Bộ phận Gửi.
Đổ đầy nhiên liệu sạch, mới vào bình.
Ngắt kết nối ắc quy trước khi sửa chữa máy. Ngắt kết nối cực âm trước tiên và ngắt kết nối cực dương cuối cùng. Kết nối cực dương trước tiên và kết nối cực âm cuối cùng.
Sạc ắc quy ở khu vực thoáng, thông gió tốt, tránh xa tia lửa và ngọn lửa. Rút phích cắm bộ sạc trước khi kết nối hoặc ngắt kết nối ắc quy.
Mặc quần áo bảo hộ và sử dụng các dụng cụ cách điện.
Khối nắp cầu chì của hệ thống điện được đặt bên dưới ghế của người vận hành (Hình 93).

| Khoảng thời gian Dịch vụ Bảo trì | Quy trình Bảo trì |
|---|---|
| 50 giờ một lần |
|
Luôn giữ cho ắc quy sạch và được sạc đầy. Dùng khăn giấy để lau sạch ắc quy và hộp ắc quy. Nếu các cực ắc quy bị ăn mòn, hãy làm sạch bằng dung dịch gồm 4 phần nước và 1 phần soda bicacbonat. Bôi một lớp mỡ mỏng lên các cực ắc quy để tránh bị ăn mòn.
Điện áp: 12 V với 690 ampe khởi động lạnh ở -18°C
Đặt máy phun trên bề mặt bằng phẳng, bật phanh đỗ, tắt máy bơm phun tưới, tắt động cơ và rút chìa khóa.
Tháo nắp ắc quy và ngắt kết nối cáp âm nối đất (màu đen) với cọc ắc quy (Hình 94).

Định tuyến cáp ắc quy không chính xác có thể làm hỏng máy phun tưới và dây cáp, gây ra tia lửa. Tia lửa có thể gây nổ khí bình ắc quy, gây thương tích cá nhân.
Luôn ngắt kết nối cáp âm (màu đen) của ắc quy trước khi ngắt kết nối cáp dương (màu đỏ).
Luôn kết nối cáp dương (màu đỏ) của ắc quy trước khi kết nối cáp âm (màu đen).
Các cực ắc quy hoặc dụng cụ kim loại có thể bị đoản mạch cho các bộ phận kim loại của máy phun tưới, gây ra tia lửa. Tia lửa có thể gây nổ khí bình ắc quy, gây thương tích cá nhân.
Khi tháo hoặc lắp đặt ắc quy, không để các cực ắc quy chạm vào bất kỳ bộ phận kim loại nào của máy phun tưới.
Không để các dụng cụ kim loại bị đoản mạch giữa các cực ắc quy và các bộ phận kim loại của máy phun tưới.
Luôn giữ dây đeo ắc quy ở đúng vị trí để bảo vệ và cố định ắc quy.
Ngắt kết nối cáp dương (màu đỏ) ra khỏi cọc ắc quy.
Tháo ắc quy.
Đặt ắc quy trên hộp ắc quy sao cho các cọc ắc quy cách xa máy phun.
Kết nối cáp dương (màu đỏ) với cọc dương (+) của ắc quy và cáp âm (màu đen) với cọc âm (–) của ắc quy bằng bu lông và đai ốc.
Trượt vỏ bảo vệ cách điện qua cọc dương của ắc quy.
Lắp nắp ắc quy và siết chặt bằng dây đeo mà bạn đã tháo trước đó (Hình 94).
Important: Luôn giữ chốt giữ ắc quy ở đúng vị trí để bảo vệ và siết chặt ắc quy.
Important: Luôn luôn sạc đầy ắc quy. Điều này đặc biệt quan trọng để tránh làm hỏng ắc quy khi nhiệt độ dưới 32°F (0°C).
Tháo ắc quy ra khỏi khung gầm; tham khảo Tháo Ắc quy.
Kết nối bộ sạc ắc quy 3 đến 4 A với các cọc ắc quy và sạc ắc quy với tốc độ từ 3 đến 4 A trong 4 đến 8 giờ (12 V).
Important: Không sạc ắc quy quá nhiều.
Lắp ắc quy vào khung gầm; tham khảo Lắp Ắc quy.
Nếu bạn sẽ cất giữ máy trong hơn 30 ngày, hãy tháo ắc quy và sạc đầy. Cất giữ trên kệ hoặc trên máy. Ngắt kết nối cáp ắc quy nếu ắc quy được cất giữ trên máy . Bảo quản ắc quy ở nơi thoáng mát để tránh sạc ắc quy nhanh xuống cấp. Để ngăn ắc quy bị đóng băng, hãy đảm bảo ắc quy đã được sạc đầy.
| Khoảng thời gian Dịch vụ Bảo trì | Quy trình Bảo trì |
|---|---|
| Sau 8 giờ đầu tiên |
|
| Sau 200 giờ đầu tiên |
|
| 100 giờ một lần |
|
| 400 giờ một lần |
|
Tạo mô-men xoắn cho đai ốc vấu ở bánh trước từ 75 đến 102 N∙m và đai ốc vấu ở bánh sau từ 95 đến 122 N∙m.
Tai nạn khi vận hành, chẳng hạn như va vào lề đường, có thể làm hỏng lốp hoặc vành xe và làm hỏng căn chỉnh của bánh xe, vì vậy hãy kiểm tra tình trạng lốp sau khi xảy ra tai nạn.
Chất bôi trơn bánh răng SAE 85W-140
| Khoảng thời gian Dịch vụ Bảo trì | Quy trình Bảo trì |
|---|---|
| 400 giờ một lần |
|

Đặt máy trên bề mặt bằng phẳng, đặt bánh xe sao cho nút nạp ở vị trí cao nhất (12 giờ) và nút xả ở vị trí thấp nhất (6 giờ) (Hình 96).

Tháo nút kiểm tra (Hình 53).
Bạn sẽ thấy mức chất bôi trơn ở dưới cùng của ren trong lỗ của nút kiểm tra.

Kiểm tra các gioăng tròn của nút kiểm tra xem có bị hỏng không.
Nếu gioăng tròn bị hỏng, hãy thay thế nó.
Nếu mức chất bôi trơn thấp, hãy tháo nút nạp và đổ thêm chất bôi trơn quy định cho đến khi chất đó bắt đầu chảy ra khỏi lỗ của nút kiểm tra (Hình 98); tham khảo Thông số kỹ thuật của Chất bôi trơn Truyền động Bánh răng theo Quỹ đạo.

Kiểm tra các gioăng tròn của nút nạp xem có bị hỏng không.
Nếu gioăng tròn bị hỏng, hãy thay thế nó.
Lắp nút nạp và nút kiểm tra (Hình 98).
Lặp lại các bước từ 1 đến 6 dành cho bộ truyền động bánh răng theo quỹ đạo ở phía bên kia của máy.
| Khoảng thời gian Dịch vụ Bảo trì | Quy trình Bảo trì |
|---|---|
| Sau 50 giờ đầu tiên |
|
| 800 giờ một lần |
|
Đặt máy trên bề mặt bằng phẳng, đặt bánh xe sao cho nút nạp ở vị trí cao nhất (12 giờ) và nút xả ở vị trí thấp nhất (6 giờ) tham khảo Hình 96 trong Kiểm tra Chất bôi trơn Truyền động Bánh răng theo Quỹ đạo.
Đặt khay xả nước dưới trục của bộ truyền động bánh răng theo quỹ đạo, tháo nút xả, nút nạp và nút kiểm tra, đồng thời để chất bôi trơn xả hết hoàn toàn (Hình 99).

Kiểm tra các nút xả và nút nạp để tìm phoi kim loại.
Nếu nút xả và nút nạp bị phủ bằng phoi kim loại, hãy sửa chữa bộ truyền động bánh răng theo quỹ đạo.
Kiểm tra các gioăng tròn của nút xả, nút nạp và nút kiểm tra xem có bị hỏng không.
Nếu (các) gioăng tròn bị hỏng, hãy thay thế nó.
Lắp nút xả.
Đặt khay xả nước bên dưới vỏ phanh, tháo nút xả và để chất bôi trơn xả hết hoàn toàn (Hình 100).

Lắp nút xả trong vỏ phanh.
0,62 L; tham khảo Thông số kỹ thuật của Chất bôi trơn Truyền động Bánh răng theo Quỹ đạo
Thông qua lỗ của nút nạp, từ từ đổ thêm chất bôi trơn bánh răng theo quy định; tham khảo Hình 98 trong Kiểm tra Chất bôi trơn Truyền động Bánh răng theo Quỹ đạo.
Bạn sẽ thấy mức chất bôi trơn ở dưới cùng của ren trong lỗ của nút kiểm tra.
Important: Nếu bộ truyền động bánh răng theo quỹ đạo đầy trước khi đổ thêm lượng chất bôi trơn quy định, hãy chờ 1 giờ hoặc lắp các nút, sau đó di chuyển máy khoảng 3 m để phân phối chất bôi trơn qua hệ thống phanh. Sau đó, tháo các nút và đổ thêm chất bôi trơn còn lại.
Để mức chất bôi trơn ổn định trong 10 phút, kiểm tra mức chất bôi trơn và đổ thêm chất bôi trơn, nếu cần, để nâng mức đó đến mức dưới cùng của ren trong lỗ của nút kiểm tra.
Lắp nút nạp và kiểm tra nút; tham khảo Hình 98 trong Kiểm tra Chất bôi trơn Truyền động Bánh răng theo Quỹ đạo.
Lặp lại các bước trong Xả Chất bôi trơn Truyền động Bánh răng theo Quỹ đạo và Đổ đầy Chất bôi trơn vào Bộ truyền động Bánh răng theo Quỹ đạo đối với bộ truyền động bánh răng theo quỹ đạo ở phía bên kia của máy.
| Khoảng thời gian Dịch vụ Bảo trì | Quy trình Bảo trì |
|---|---|
| 200 giờ một lần |
|
Bạn nên đo khoảng cách từ 0 đến 3 mm giữa đường tâm phía trước của lốp xe và đường tâm phía sau của lốp xe.
Kiểm tra và bơm tất cả các lốp xe; tham khảo Kiểm tra Áp suất Khí của Lốp.
Đo khoảng cách giữa các lốp trước theo chiều cao trục ở phía trước và phía sau của lốp trước (Hình 101).
Note: Khoảng cách giữa phía trước của các lốp xe phải nhỏ hơn từ 0 đến 3 mm so với khoảng cách giữa phía sau của các lốp trước.

Nếu phép đo không nằm trong phạm vi quy định, hãy nới lỏng đai ốc hãm ở cả hai đầu của thanh giằng (Hình 102).

Xoay thanh giằng để di chuyển phía trước của lốp vào trong hoặc ra ngoài.
Siết chặt các đai ốc hãm thanh giằng khi điều chỉnh chính xác.
Đảm bảo tay lái quay một khoảng cách bằng nhau theo cả hai hướng.
Nuốt phải dung dịch làm mát động cơ có thể gây ngộ độc; tránh xa tầm tay trẻ em và vật nuôi.
Xả dung dịch làm mát nóng, có áp suất hoặc chạm vào bộ tản nhiệt nóng và các bộ phận xung quanh có thể gây bỏng nghiêm trọng.
Luôn để động cơ nguội ít nhất 15 phút trước khi tháo nắp bộ tản nhiệt.
Dùng giẻ lau khi mở nắp bộ tản nhiệt và mở nắp từ từ để hơi nước thoát ra ngoài.
Không vận hành máy khi không có nắp ở đúng vị trí.
Giữ các ngón tay, bàn tay và quần áo của bạn không tiếp xúc với quạt quay và dây đai truyền động.
Bình chứa chất làm mát được đổ đầy tại nhà máy với dung dịch 50/50 nước và chất làm mát gốc ethylene glycol có thời hạn sử dụng lâu dài. Kiểm tra mức chất làm mát trước khi bạn khởi động động cơ lần đầu tiên và hàng ngày sau đó; tham khảo Kiểm tra Mức Chất làm mát.
Các chất làm mát có bán trên thị trường sau đây hoặc chất tương đương do nhà sản xuất quy định đáp ứng thông số kỹ thuật của chất làm mát có tuổi thọ cao:
|
Ford (Motorcraft™) |
WSS-M97B44-D |
|
FCA – Chrysler (Mopar™) |
MS-12106 |
|
Mô-tơ Tổng hợp (AC Delco™) |
GM6277M (Dex-Cool™) |
|
GMW 3420 |
|
|
Volkswagen |
G12 |
|
G12+ |
|
|
G12++ |
|
|
Chất làm mát đạt tiêu chuẩn kỹ thuật ASTM D3306 hoặc D4985, hoặc SAE J1034, J814, hoặc 1941. |
|
|
Important: Không dựa vào màu sắc của chất làm mát để nhận biết sự khác biệt giữa loại chất làm mát thông thường (IAT) và loại chất làm mát có thời hạn sử dụng lâu dài (OAT) .Các nhà sản xuất dung dịch làm mát có thể nhuộm chất làm mát có thời hạn sử dụng lâu dài (OAT) bằng một trong các màu sau: đỏ, hồng, cam, vàng, xanh lam, xanh mòng két, tím và xanh lá cây. |
|
|
Loại Chất làm mát Ethylene-Glycol |
Loại Chất chống Ăn mòn |
Khoảng cách thời gian Bảo dưỡng |
|
Chất chống đông có thời hạn sử dụng lâu dài |
Công nghệ axit hữu cơ (OAT) |
5 năm |
|
Chất chống đông thông thường (màu xanh lá) |
Công nghệ axit vô cơ (IAT) |
2 năm |
Note: Khi đổ thêm chất làm mát vào máy, bạn sẽ không làm hỏng hệ thống làm mát bằng cách trộn chất chống đông thông thường (IAT) với chất chống đông có thời hạn sử dụng lâu dài (OAT). Tuy nhiên, việc trộn các loại chất chống đông làm suy giảm thuộc tính tuổi thọ cao/thời hạn sử dụng lâu dài của công thức OAT.
Important: Khoảng cách thời gian bảo dưỡng của hỗn hợp chất làm mát pha trộn thông thường (IAT) và có thời hạn sử dụng lâu dài (OAT) – theo bất kỳ tỷ lệ nào – dài bằng chất làm mát có khoảng cách thời gian bảo dưỡng ngắn nhất: 2 năm.
| Khoảng thời gian Dịch vụ Bảo trì | Quy trình Bảo trì |
|---|---|
| Trước mỗi lần sử dụng hoặc hàng ngày |
|
Nếu động cơ đang chạy, chất làm mát có thể bị nóng và tăng áp suất. Nếu bạn mở nắp bộ tản nhiệt khi chất làm mát bị nóng, nó có thể phun ra ngoài và gây bỏng nặng cho bạn hoặc những người xung quanh.
Để động cơ nguội trong ít nhất 15 phút trước khi mở nắp bộ tản nhiệt.
Important: Không đổ thêm chất làm mát vào động cơ quá nóng cho đến khi động cơ đã nguội hoàn toàn. Đổ thêm chất làm mát vào động cơ quá nóng có thể làm nứt khối động cơ.
Đặt máy phun tưới trên một bề mặt bằng phẳng.
Bật phanh đỗ, tắt bơm phun tưới, tắt động cơ và rút chìa khóa.
Cẩn thận tháo nắp bộ tản nhiệt và nắp bình giãn nở (Hình 103).

Kiểm tra mức chất làm mát trong bộ tản nhiệt và trong bình giãn nở.
Note: Bộ tản nhiệt phải được đổ đầy đến mức trên cùng của cổ bình nạp và bình giãn nở được đổ đầy đến vạch Đầy trên bình (Hình 103).
Nếu mức chất làm mát thấp, hãy tháo nắp bình giãn nở và nắp bộ tản nhiệt, và đổ đầy bình giãn nở đến vạch Đầy và bộ tản nhiệt đến mức trên cùng của cổ bình nạp (Hình 103).
Important: Không đổ quá đầy bình giãn nở.
Important: Không chỉ sử dụng nước hoặc chất làm mát gốc cồn/methanol.
Lắp nắp bộ tản nhiệt và nắp bình giãn nở (Hình 103).
5,5 L; tham khảo Thông số kỹ thuật của Chất làm mát
| Khoảng thời gian Dịch vụ Bảo trì | Quy trình Bảo trì |
|---|---|
| 400 giờ một lần |
|
Thiết bị do chủ sở hữu cung cấp: nhiệt kế chất làm mát cầm tay
Đặt máy phun trên bề mặt bằng phẳng, bật phanh đỗ, tắt máy bơm phun tưới, tắt động cơ và rút chìa khóa.
Chờ cho đến khi động cơ nguội, sau đó tháo nắp bộ tản nhiệt (Hình 103).
Đặt khay xả lớn bên dưới bộ tản nhiệt.
Mở van xả và xả chất làm mát vào khay (Hình 104).

Đóng van xả (Hình 104).
Tháo nắp bộ tản nhiệt (Hình 103).
Đổ từ từ chất làm mát vào bộ tản nhiệt đến cách bên dưới bề mặt bịt kín của nắp khoảng 2,5 cm.
Note: Sử dụng đủ chất làm mát để đổ đầy động cơ và các đường dẫn của hệ thống. Điều này cho phép chất làm mát giãn nở mà không bị tràn khi động cơ đang nóng lên.
Khởi động động cơ khi nắp bộ tản nhiệt bị lỏng (Hình 103).
Để động cơ nóng lên cho đến khi bộ điều chỉnh nhiệt mở ra.
Note: Bộ điều chỉnh nhiệt động cơ sẽ mở khi nhiệt kế cầm tay cho biết nhiệt độ chất làm mát nằm trong khoảng từ 79 đến 88°C.
Sau khi chất làm mát đã nóng lên, đổ mức chất làm mát đến bề mặt bịt kín của nắp và vặn chặt nắp (Hình 103).
Mở nắp bình giãn nở và đổ chất làm mát vào bình đến mức Lạnh (Hình 103).
Kiểm tra mức chất làm mát sau vài chu trình khởi động và tắt động cơ.
Note: Đổ thêm chất làm mát vào bộ tản nhiệt và bình giãn nở, nếu cần.
Nếu bàn đạp phanh di chuyển hơn 2,5 cm trước khi bạn cảm thấy lực cản, hãy điều chỉnh phanh như sau:
Đặt máy phun tưới trên bề mặt bằng phẳng, tắt máy bơm phun tưới, tắt động cơ và rút chìa khóa.
Bật phanh đỗ.
Đặt các khối dưới bánh xe để ngăn máy lăn.
Nhả phanh đỗ.
Nới lỏng đai ốc hãm phía trước trên cáp phanh dưới đầu trước của máy phun tưới (Hình 105).

Siết chặt đồng đều các đai ốc hãm phía sau cho đến khi bàn đạp phanh di chuyển 1 đến 2 cm trước khi bạn cảm thấy lực cản (Hình 105).
Important: Đảm bảo bạn siết chặt đồng đều cả hai đai ốc phía sau sao cho các đầu có ren của cáp phanh ở phía trước đai ốc phía trước có cùng chiều dài.
Siết chặt các đai ốc hãm phía trước.
| Khoảng thời gian Dịch vụ Bảo trì | Quy trình Bảo trì |
|---|---|
| Sau 8 giờ đầu tiên |
|
| 100 giờ một lần |
|
Kiểm tra tình trạng và độ căng của dây đai máy dao điện/quạt làm mát. Thay dây đai khi cần thiết.
Đặt máy phun trên bề mặt bằng phẳng, bật phanh đỗ, tắt máy bơm phun tưới, tắt động cơ và rút chìa khóa.
Kiểm tra độ căng của dây đai máy dao điện bằng cách ấn nửa chừng dây đai ở giữa máy dao điện và ròng rọc trục khuỷu bằng lực 10 kg.
Note: Dây đai phải lệch từ 10 đến 12 mm. Nếu độ lệch của dây đai quá lớn, hãy chuyển sang bước 3. Nếu độ căng của dây đai chính xác, bạn có thể bỏ qua phần còn lại của quy trình này và tiếp tục vận hành máy phun tưới.
Nới lỏng bu lông tại điểm trục của máy dao điện; nới lỏng bu lông đang siết chặt máy dao điện vào thanh giằng có khe (Hình 106).

Chèn thanh nạy giữa máy dao điện và động cơ và cẩn thận nạy máy dao điện ra phía ngoài.
Khi bạn đạt được độ căng phù hợp, hãy siết chặt máy dao điện và các bu lông để cố định điều chỉnh.
Siết chặt êcu hãm để cố định điều chỉnh.
Tìm đến dịch vụ chăm sóc y tế ngay lập tức nếu chất lỏng bị tiêm vào da. Trong vòng vài giờ chất lỏng bị tiêm vào phải được bác sĩ phẫu thuật loại bỏ.
Giảm áp suất trong hệ thống thủy lực một cách an toàn trước khi thực hiện bất kỳ công tác nào trên hệ thống.
Đảm bảo tất cả các ống mềm và đường dẫn chất lỏng thủy lực ở tình trạng tốt và tất cả các kết nối và mối nối thủy lực đều được siết chặt trước khi tạo áp suất cho hệ thống thủy lực.
Không để cơ thể và tay bị dính vào chất lỏng thủy lực có áp suất cao bị phun ra từ các lỗ và ống rò rỉ.
Sử dụng bìa cứng hoặc giấy để tìm chỗ bị rò thủy lực.
Bình chứa được đổ đầy tại nhà máy bằng chất lỏng thủy lực chất lượng cao. Kiểm tra mức chất lỏng thủy lực trước khi bạn khởi động động cơ lần đầu tiên và hàng ngày sau đó; tham khảo Kiểm tra Chất lỏng Thủy lực.
Chất lỏng thủy lực được khuyến nghị: Chất lỏng Thủy lực có Thời hạn Sử dụng Lâu dài Toro PX; có sẵn trong thùng 19 L hoặc tang 208 L.
Note: Máy sử dụng chất lỏng thay thế được khuyến nghị sẽ yêu cầu thay đổi chất lỏng và bộ lọc ít thường xuyên hơn.
Chất lỏng thủy lực thay thế: Nếu không có sẵn Chất lỏng Thủy lực Toro PX có Thời hạn Sử dụng Lâu dài, bạn có thể sử dụng một chất lỏng thủy lực thông thường khác chứa dầu mỏ, có thông số kỹ thuật nằm trong phạm vi được liệt kê cho tất cả các tính chất vật liệu sau đây và đáp ứng các tiêu chuẩn công nghiệp. Không sử dụng chất lỏng tổng hợp. Tham khảo ý kiến của nhà phân phối chất bôi trơn của bạn để xác định sản phẩm ưng ý.
Note: Toro không chịu trách nhiệm về thiệt hại do thay thế không đúng cách, vì vậy chỉ sử dụng sản phẩm từ các nhà sản xuất có uy tín luôn ủng hộ khuyến nghị của họ.
| Tính chất Vật liệu: | ||
| Độ nhớt, ASTM D445 | cSt @ 40°C 44 đến 48 | |
| Chỉ số Độ nhớt ASTM D2270 | 140 trở lên | |
| Điểm Đông tụ, ASTM D97 | -37°C đến -45°C | |
| Thông số kỹ thuật Công nghiệp: | Eaton Vickers 694 (I-286-S, M-2950-S/35VQ25 hoặc M-2952-S) | |
Note: Nhiều chất lỏng thủy lực gần như không màu nên rất khó phát hiện rò rỉ. Phụ gia nhuộm có màu đỏ dành cho chất lỏng thủy lực được cung cấp trong các chai 20 ml. Một chai đủ dùng cho 15 đến 22 L chất lỏng thủy lực. Đặt hàng Bộ phận số 44-2500 từ nhà phân phối Toro được ủy quyền của bạn.
Important: Chất lỏng Thủy lực Phân hủy sinh học Tổng hợp Cao cấp Toro là chất lỏng phân hủy sinh học tổng hợp duy nhất được Toro phê duyệt. Chất lỏng này tương thích với các chất đàn hồi được sử dụng trong hệ thống thủy lực Toro và phù hợp với nhiều điều kiện nhiệt độ khác nhau. Chất lỏng này tương thích với các loại dầu khoáng thông thường, nhưng để đạt được khả năng phân hủy sinh học và hiệu suất tối đa, hệ thống thủy lực cần phải được dội sạch hoàn toàn bằng chất lỏng thông thường. Dầu được cung cấp trong thùng 19 L hoặc tang 208 L từ nhà phân phối Toro được ủy quyền của bạn.
| Khoảng thời gian Dịch vụ Bảo trì | Quy trình Bảo trì |
|---|---|
| Trước mỗi lần sử dụng hoặc hàng ngày |
|
Important: Nếu chất lỏng bị nhiễm bẩn, vui lòng liên hệ với nhà phân phối Toro được ủy quyền để yêu cầu dội sạch hệ thống.Chất lỏng bị nhiễm bẩn trông có màu trắng đục hoặc đen khi so sánh với chất lỏng sạch.
Đặt máy phun trên bề mặt bằng phẳng, bật phanh đỗ, tắt máy bơm phun tưới, tắt động cơ và rút chìa khóa.
Làm sạch khu vực xung quanh nắp que thăm dầu của bình chứa chất lỏng thủy lực và tháo nắp ra (Hình 107).

Important: Hãy hết sức cẩn thận không để bụi bẩn hoặc các chất gây ô nhiễm khác lọt vào lỗ khi kiểm tra chất lỏng.
Lau sạch que thăm bằng vải và lắp lại hoàn toàn vào bình.
Tháo que thăm dầu ra khỏi cổ bình nạp và kiểm tra mức chất lỏng (Hình 108).
Note: Mức chất lỏng phải ở vạch dưới trên que thăm khi chất lỏng nguội.

Nếu chất lỏng ở mức thấp, hãy đổ đầy chất lỏng thủy lực quy định vào bình để nâng mức đến vạch dưới; tham khảo Thông số kỹ thuật của Chất lỏng Thủy lực.
Lắp nắp que thăm vào bình và siết chặt.
| Khoảng thời gian Dịch vụ Bảo trì | Quy trình Bảo trì |
|---|---|
| 800 giờ một lần |
|
| 1.000 giờ một lần |
|
Chất lỏng thủy lực nóng có thể gây bỏng nặng.
Để chất lỏng thủy lực nguội đi trước khi thực hiện bất kỳ công việc bảo trì nào đối với hệ thống thủy lực.
Important: Bạn có thể làm mất hiệu lực bảo hành đối với một số bộ phận nếu bạn sử dụng bất kỳ bộ lọc nào khác.
Sử dụng bộ lọc thay thế của Toro (Xem Hướng dẫn Sử dụng Bộ phận để biết số bộ phận chính xác).
Đặt máy phun trên bề mặt bằng phẳng, bật phanh đỗ, tắt máy bơm phun tưới, tắt động cơ và rút chìa khóa.
Xác định vị trí 2 bộ lọc thủy lực trên máy (Hình 109 và Hình 110).
Note: 1 bộ lọc nằm bên dưới bình chứa chất lỏng thủy lực và bộ lọc khác nằm trên khung ở phía sau của máy.
Bộ lọc phía trước – bên dưới bình thủy lực.

Bộ lọc phía sau – nằm trên khung máy.

Làm sạch khu vực xung quanh khu vực gắn bộ lọc.
Đặt đĩa dầu dưới bộ lọc.
Tháo bộ lọc.
Thải bỏ bộ lọc đã sử dụng tại trung tâm tái chế được chứng nhận.
Bôi trơn miếng đệm của bộ lọc mới bằng chất lỏng thủy lực sạch; tham khảo Kiểm tra Chất lỏng Thủy lực.
Lau sạch khu vực gắn bộ lọc bằng giẻ.
Luồn bộ lọc vào cho đến khi miếng đệm tiếp xúc với tấm gắn, sau đó siết chặt bộ lọc thêm ½ vòng.
Khởi động động cơ, đặt van tiết lưu ở chế độ chạy rỗi nhanh và để động cơ chạy từ 3 đến 5 phút để lọc không khí ra khỏi hệ thống thủy lực.
Tắt động cơ, kiểm tra mức chất lỏng thủy lực và kiểm tra rò rỉ; tham khảo Kiểm tra Chất lỏng Thủy lực.
54 L; tham khảo Thông số kỹ thuật của Chất lỏng Thủy lực
| Khoảng thời gian Dịch vụ Bảo trì | Quy trình Bảo trì |
|---|---|
| 800 giờ một lần |
|
| 2.000 giờ một lần |
|
Chất lỏng thủy lực nóng có thể gây bỏng nặng.
Để chất lỏng thủy lực nguội đi trước khi thực hiện bất kỳ công việc bảo trì nào đối với hệ thống thủy lực.
Important: Bạn có thể làm mất hiệu lực bảo hành đối với một số bộ phận nếu bạn sử dụng bất kỳ chất lỏng nào khác.
Thay các bộ lọc chất lỏng thủy lực; tham khảo Thay Bộ lọc Thủy lực.
Làm sạch khu vực xung quanh ống nối ống mềm thủy lực ở đáy bình chứa chất lỏng thủy lực (Hình 111).

Đặt khay xả lớn bên dưới ống nối của bình thủy lực.
Tháo ống nối ống mềm ra khỏi bình, để chất lỏng xả vào khay (Hình 111).
Thải bỏ dầu đã sử dụng tại trung tâm tái chế được chứng nhận.
Lắp ống mềm và ống nối vào bình và siết chặt.
Đổ đầy khoảng 53 L chất lỏng thủy lực quy định hoặc tương đương vào bình chứa thủy lực; tham khảo Thông số kỹ thuật của Chất lỏng Thủy lực.
Khởi động động cơ, đặt van tiết lưu ở chế độ chạy rỗi nhanh và để động cơ chạy từ 3 đến 5 phút để lọc không khí ra khỏi hệ thống thủy lực.
Tắt động cơ, kiểm tra mức chất lỏng thủy lực và kiểm tra rò rỉ; tham khảo Kiểm tra Chất lỏng Thủy lực.
| Khoảng thời gian Dịch vụ Bảo trì | Quy trình Bảo trì |
|---|---|
| 200 giờ một lần |
|
| 400 giờ một lần |
|
Kiểm tra từng ống mềm trong hệ thống phun tưới xem có vết nứt, rò rỉ hoặc hư hỏng nào khác không. Đồng thời kiểm tra các kết nối và đầu nối xem có hư hỏng tương tự không. Thay bất kỳ ống mềm và ống nối nếu bị hư hỏng.
| Khoảng thời gian Dịch vụ Bảo trì | Quy trình Bảo trì |
|---|---|
| 400 giờ một lần |
|
Note: Xác định kích thước mắt lưới phù hợp của bộ lọc hút mà bạn cần cho công việc của mình; tham khảo Chọn Bộ lọc Hút.
Đỗ máy trên bề mặt bằng phẳng, bật phanh đỗ, tắt bơm, tắt động cơ và rút chìa khóa.
Ở phía trên của bình phun, tháo chốt giữ siết chặt đầu nối ống mềm gắn với ống mềm lớn khỏi vỏ bộ lọc (Hình 112).

Tháo ống mềm và đầu nối ống mềm ra khỏi vỏ bộ lọc (Hình 112).
Tháo bộ lọc hút cũ ra khỏi vỏ bộ lọc trong bình (Hình 113).
Note: Thải bỏ bộ lọc cũ.

Lắp bộ lọc hút mới vào vỏ bộ lọc.
Note: Đảm bảo đặt khít bộ lọc vào hoàn toàn.
Căn chỉnh ống mềm và đầu nối ống mềm với vỏ bộ lọc ở phía trên của bình, đồng thời siết chặt đầu nối và vỏ bằng chốt giữ mà bạn đã tháo ở bước 2.
| Khoảng thời gian Dịch vụ Bảo trì | Quy trình Bảo trì |
|---|---|
| 400 giờ một lần |
|
Di chuyển máy đến bề mặt bằng phẳng, tắt máy bơm phun tưới, tắt động cơ và rút chìa khóa.
Căn chỉnh đĩa xả dưới bộ lọc áp suất (Hình 114).

Xoay nút xả ngược chiều kim đồng hồ và tháo ra khỏi bát của bộ lọc áp suất (Hình 114).
Note: Để bát xả hoàn toàn.
Xoay bát ngược chiều kim đồng hồ và tháo ra khỏi đầu lọc (Hình 114).
Tháo lõi lọc áp suất cũ (Hình 114).
Note: Thải bỏ bộ lọc cũ.
Kiểm tra gioăng tròn của nút xả (nằm bên trong bát) và gioăng tròn của bát (nằm bên trong đầu lọc) xem có bị hỏng và mòn không (Hình 114).
Note: Thay thế bất kỳ gioăng tròn nào bị hỏng hoặc bị mòn của nút, bát hoặc cả hai.
Lắp lõi lọc áp suất mới vào đầu lọc (Hình 114).
Note: Đảm bảo đặt khít lõi lọc chắc chắn vào đầu lọc.
Lắp bát vào đầu lọc và siết chặt bằng tay (Hình 114).
Lắp nút vào bát và siết chặt bằng tay (Hình 114).
Note: Xác định kích thước mắt lưới phù hợp của bộ lọc mắt phun mà bạn cần cho công việc của mình; tham khảo Chọn Bộ lọc Đầu Mắt phun (Tùy chọn).
Đỗ máy trên bề mặt bằng phẳng, bật phanh đỗ, tắt bơm máy phun tưới, tắt động cơ và rút chìa khóa.
Tháo mắt phun ra khỏi thân vòi phun tưới (Hình 115).

Tháo bộ lọc mắt phun cũ (Hình 115).
Note: Thải bỏ bộ lọc cũ.
Lắp bộ lọc mắt phun mới (Hình 115).
Note: Đảm bảo đặt khít bộ lọc vào hoàn toàn.
Lắp mắt phun lên trên thân vòi phun tưới (Hình 115).
Bật phanh đỗ và khởi động động cơ, đặt van tiết lưu sang chế độ chạy rỗi.
Từ từ nâng gian ngoài ở bên trái hoặc bên phải cho đến khi gần với ống giá đỡ phía trên.
Nới lỏng 2 vít định vị đang siết chặt ống giá đỡ phía dưới (Hình 116).

Xoay cụm giá đỡ cho đến khi phần uốn cong trong ống giá đỡ được căn chỉnh với khối trượt trên ống trên cùng của giàn bên ngoài (Hình 117)

Tạo mô-men xoắn cho 2 vít định vị từ 19,78 đến 25,42 N∙m.
Hạ các giàn bên ngoài xuống.
Từ từ nâng giàn bên ngoài khác cho đến khi tiếp xúc với giá đỡ lần đầu tiên.
Nếu một trong hai ống giá đỡ phía trên bị lệch với các khối trượt, hãy lặp lại các bước từ 2 đến 7.
Note: Các khối phải tiếp xúc với giá đỡ tại chỗ uốn cong của ống giá đỡ phía trên (Hình 117).
Nâng hoàn toàn các giàn bên ngoài, tắt động cơ, rút chìa khóa và chờ tất cả các bộ phận đang chuyển động dừng lại.
Quy trình sau đây có thể được sử dụng để điều chỉnh các bộ khởi động trên giàn trung tâm để giữ cho các giàn bên trái và bên phải ở mức cân bằng.
Mở rộng các giàn đến vị trí phun tưới.
Tháo chốt kẹp ghim khỏi chốt trục (Hình 118).

Nâng giàn lên và tháo chốt (Hình 118) rồi từ từ hạ giàn xuống đất.
Kiểm tra chốt xem có bị hư hỏng không, và thay thế nếu cần thiết.
Giữ thanh khởi động ở trên mặt phẳng của thanh bằng cờ lê, sau đó nới lỏng đai ốc hãm (Hình 119).

Xoay đầu thanh trên thanh khởi động để rút ngắn hoặc kéo dài bộ khởi động mở rộng đến vị trí mong muốn (Hình 119).
Note: Bạn phải xoay đầu thanh một nửa hoặc hết vòng để có thể lắp thanh vào giàn.
Siết chặt đai ốc hãm để cố định bộ khởi động và đầu thanh.
Nâng giàn để căn chỉnh trục với thanh khởi động.
Trong khi giữ giàn, lắp chốt qua cả trục giàn và đầu thanh (Hình 118).
Khi chốt đã vào đúng vị trí, hãy nhả giàn và siết chặt chốt bằng kẹp ghim đã tháo trước đó.
Lặp lại quy trình cho thanh khởi động khác nếu cần.
| Khoảng thời gian Dịch vụ Bảo trì | Quy trình Bảo trì |
|---|---|
| 400 giờ một lần |
|
Đỗ máy trên bề mặt bằng phẳng, bật phanh đỗ, tắt bơm, tắt động cơ và rút chìa khóa.
Mở rộng các phân đoạn giàn bên ngoài đến vị trí phun tưới và nâng các phân đoạn giàn bằng kích nâng hoặc dây đeo và thiết bị nâng.
Tháo bu lông và đai ốc đang siết chặt chốt trục và tháo chốt (Hình 120).

Tháo cụm giá giàn và trục ra khỏi máng cuối của khung trung tâm để tiếp cận các ống lót bằng nylon.
Tháo và kiểm tra các ống lót bằng nylon từ phía trước và phía sau của khung trục (Hình 120).
Note: Thay bất kỳ ống lót nào bị mòn hoặc bị hỏng.
Bôi trơn các ống lót bằng nylon bằng một lượng dầu nhỏ và lắp các ống lót vào giá trục (Hình 120).
Căn chỉnh các lỗ trong giá trục với các lỗ trong máng cuối (Hình 120).
Lắp chốt trục và siết chặt bằng bu lông mặt bích và êcu hãm mặt bích đã tháo ở bước 3.
Lặp lại các bước từ 2 đến 8 đối với phân đoạn giàn bên ngoài khác.
| Khoảng thời gian Dịch vụ Bảo trì | Quy trình Bảo trì |
|---|---|
| 400 giờ một lần |
|
Note: Các bộ phận sau đây của máy được coi là các bộ phận có thể bị tiêu hao trong quá trình sử dụng trừ khi phát hiện thấy có lỗi và không được bảo hành liên quan đến máy này.
Yêu cầu nhà phân phối Toro được ủy quyền kiểm tra các bộ phận bên trong máy bơm sau đây để phát hiện hư hỏng:
Màng bơm
Cụm van một chiều của máy bơm
Thay thế bất kỳ bộ phận nào, nếu cần thiết.
Rửa máy chỉ bằng nước hoặc bằng chất tẩy rửa nhẹ, nếu cần. Bạn có thể sử dụng giẻ khi rửa máy.
Important: Không sử dụng nước lợ hoặc nước tuần hoàn để làm sạch máy.
Note: Không sử dụng thiết bị rửa chạy điện để rửa máy. Thiết bị rửa chạy điện có thể làm hỏng hệ thống điện, làm lỏng nhãn mác quan trọng, hoặc rửa trôi dầu mỡ cần thiết tại các điểm ma sát. Tránh sử dụng quá nhiều nước gần bảng điều khiển, động cơ và ắc quy.
Important: Không rửa máy khi động cơ đang chạy. Rửa máy khi động cơ đang chạy có thể dẫn đến làm hỏng động cơ bên trong.
| Khoảng thời gian Dịch vụ Bảo trì | Quy trình Bảo trì |
|---|---|
| 200 giờ một lần |
|
Important: Không phun nước vào khoang động cơ đang nóng vì có thể làm hỏng động cơ .
Đặt máy phun trên bề mặt bằng phẳng, bật phanh đỗ, tắt máy bơm phun tưới, tắt động cơ và rút chìa khóa.
Nghiêng ghế của người lái và người đi cùng về phía trước và căn chỉnh thanh chống đỡ vào khe hãm trong dẫn hướng thanh chống đỡ.
Để hệ thống làm mát nguội đi.
Tháo nắp tiếp cận đế ghế; tham khảo Tháo Bảng điều khiển Tiếp cận Đế Ghế.
Sử dụng chổi mềm và khí nén áp suất thấp để làm sạch các cánh của bộ tản nhiệt.
Note: Làm sạch các cánh của bộ tản nhiệt thường xuyên hơn nếu cần. Kiểm tra tất cả các ống mềm chất làm mát và thay bất kỳ ống nào bị mòn, rò rỉ hoặc hư hỏng.
Hạ ghế của người lái và người đi cùng.
Lắp nắp tiếp cận đến ghế; tham khảo Lắp Bảng điều khiển Tiếp cận Đế Ghế.
| Khoảng thời gian Dịch vụ Bảo trì | Quy trình Bảo trì |
|---|---|
| 200 giờ một lần |
|
Rửa và xả kỹ toàn bộ hệ thống phun tưới.
Tháo đồng hồ đo lưu lượng ra khỏi máy phun và dội sạch bằng nước sạch.
Tháo vòng giữ ở phía đầu dòng (Hình 121).

Làm sạch tuabin và trục tuabin để loại bỏ mạt giũa kim loại và bất kỳ bột thấm ướt nào.
Kiểm tra độ mòn của các cánh tuabin.
Note: Giữ tuabin trong tay và quay. Tuabin sẽ quay tự do với ít lực ma sát. Nếu không, hãy thay tuabin.
Lắp đồng hồ đo lưu lượng.
Sử dụng một tia khí áp suất thấp (50 kPa) để đảm bảo tuabin quay tự do.
Note: Nếu tuabin không quay tự do, hãy nới lỏng chốt ren lục giác ở dưới cùng của trục tuabin 1/16 vòng cho đến khi nó quay tự do.
Để làm sạch van khuấy trộn; tham khảo các phân đoạn sau:
Để làm sạch 3 van phân đoạn; hãy tham khảo các phân đoạn sau:
Đặt máy phun trên bề mặt bằng phẳng, bật phanh đỗ, tắt máy bơm phun tưới, tắt động cơ và rút chìa khóa.
Tháo chốt hãm siết chặt bộ khởi động vào van cổ góp đối với van phân đoạn hoặc van khuấy trộn (Hình 122).
Note: Bóp 2 chân của chốt hãm lại với nhau trong khi đẩy chốt hãm xuống.
Note: Giữ bộ khởi động và chốt giữ để lắp vào Lắp Bộ khởi động Van.

Tháo bộ khởi động khỏi van cổ góp.
Tháo chốt kết nối nhanh đang siết chặt khớp nối kết nối nhanh cho ống mềm khuấy trộn vào cổ góp van khuấy trộn (Hình 123).

Tháo 3 kẹp mặt bích đang siết chặt cổ góp van khuấy trộn vào các mặt bích của đầu lọc áp suất và bộ tiếp hợp khớp nối (Hình 123).
Tháo 2 bu lông đầu mặt bích (¼ x ¾ inch) và 2 êcu hãm mặt bích (¼ inch) đang siết chặt cổ góp van khuấy trộn vào giá đỡ van (Hình 124).

Tháo cổ góp van khuấy trộn và miếng đệm ra khỏi máy (Hình 124).
Note: Nếu cần, hãy nới lỏng phụ kiện gắn đầu lọc áp suất để tạo khoảng sáng.
Note: Giữ lại các kẹp mặt bích, miếng đệm và chốt kết nối nhanh để lắp trong Lắp Van Cổ góp Khuấy trộn.
Tháo chốt kết nối nhanh đang siết chặt khớp nối kết nối nhanh của van rẽ nhánh phân đoạn với van cổ góp phân đoạn (Hình 125).

Tháo chốt kết nối nhanh đang siết chặt khớp nối kết nối nhanh của ống mềm cấp phân đoạn vào cổ góp của ống nối kết nối nhanh của van cổ góp phân đoạn (Hình 125).
Tháo 2 kẹp mặt bích đang siết chặt van cổ góp phân đoạn vào mặt bích của các bộ phận liền kề (Hình 126).

Đối với cổ góp van phân đoạn bên trái hoặc bên phải, hãy tháo 2 bu lông đầu mặt bích (¼ x ¾ inch) và 2 êcu hãm mặt bích (¼ inch) đang siết chặt cổ góp van phân đoạn vào giá đỡ van (Hình 127).

Di chuyển cổ góp van phân đoạn và miếng đệm theo hướng xuống dưới để thông van rẽ nhánh phân đoạn, sau đó đưa ra cách xa máy (Hình 127).
Note: Nếu cần, hãy nới lỏng phụ kiện gắn cổ góp van phân đoạn bên trái hoặc bên phải để tạo khoảng sáng.
Note: Giữ lại các kẹp mặt bích, miếng đệm và chốt kết nối nhanh để lắp trong Lắp Van Cổ góp Phân đoạn.
Định vị thân van sao cho nó ở vị trí đóng (Hình 128B).

Tháo 2 cụm khớp nối nắp đầu ra khỏi mỗi đầu của thân cổ góp (Hình 129 và Hình 130).


Xoay thân van sao cho bi ở vị trí mở (Hình 128A).
Note: Khi thân van song song với dòng chảy qua van, viên bi sẽ trượt ra ngoài.
Tháo chốt giữ thân ra khỏi các khe ở cổng thân trong cổ góp (Hình 129 và Hình 130).
Tháo chốt giữ thân và đế thân van ra khỏi cổ góp (Hình 129 và Hình 130).
Tiếp cận thân cổ góp và tháo cụm thân van (Hình 129 và Hình 130).
Làm sạch bên trong cổ góp và bên ngoài van bi, cụm thân van, chụp thân và các đầu nối đầu.
Vật liệu cấp cho người vận hành: Mỡ silicon trong suốt.
Important: Chỉ sử dụng mỡ silicon khi lắp van.
Kiểm tra tình trạng của các vòng chữ O đầu nối đầu ra (chỉ dành cho cổ góp van phân đoạn), vòng chữ O nắp đầu, vòng chữ O đế phía sau và đế bi xem có bị hỏng hoặc bị mòn không (Hình 129 và Hình 130).
Note: Thay bất kỳ vòng chữ O hoặc đế bị hỏng hoặc bị mòn.
Bôi mỡ silicon vào thân van và lắp vào đế thân van (Hình 129 và Hình 130).
Lắp thân và đế van vào cổ góp và cố định thân và đế bằng chốt giữ thân (Hình 129 và Hình 130).
Đảm bảo vòng chữ O đế phía sau và đế bi được căn chỉnh và lắp vào đầu nối nắp đầu (Hình 129 và Hình 130)
Lắp cụm đầu nối nắp đầu vào thân cổ góp cho đến khi mặt bích của đầu nối nắp đầu chạm vào thân cổ góp (Hình 129 và Hình 130), sau đó xoay đầu nối nắp đầu thêm 1/8 đến 1/4 vòng.
Note: Hãy thận trọng để không làm hỏng đầu của đầu nối.
Lắp bi vào thân van (Hình 131).
Note: Thân van phải nằm gọn bên trong khe đẩy bi. Nếu thân van không khớp, hãy điều chỉnh vị trí của bi (Hình 131).

Xoay cụm thân van để van đóng (Hình 128B)
Lặp lại các bước 4 và 5 dành cho cụm đầu nối nắp đầu khác.
Căn chỉnh 2 miếng đệm mà bạn đã tháo ở Tháo Van Cổ góp phân đoạn vơi các mặt bích của cổ góp van phân đoạn (Hình 132).
Note: Nếu cần, hãy nới lỏng phụ kiện gắn cổ góp van phân đoạn bên trái hoặc bên phải để tạo khoảng sáng.

Căn chỉnh mặt bích của cổ góp van phân đoạn nằm giữa các mặt bích của (các) van phân đoạn khác và/hoặc bộ tiếp hợp khớp nối (Hình 132).
Lắp ống nối kết nối nhanh của cổ góp van phân đoạn vào ổ cắm ngắt kết nối nhanh của van nhánh rẽ phân đoạn bằng chốt kết nối nhanh (Hình 132 và Hình 133).

Lắp lỏng các kẹp mặt bích mà bạn đã tháo ở Tháo Van Cổ góp phân đoạn vào các mặt bích của cổ góp van phân đoạn và các mặt bích của (các) van phân đoạn khác và/hoặc bộ tiếp hợp khớp nối (Hình 134).

Đối với cổ góp van phân đoạn bên trái hoặc phải, hãy lắp cổ góp van phân đoạn vào giá đỡ van (Hình 132) bằng 2 bu lông đầu mặt bích (¼ x ¾ inch) và 2 êcu hãm mặt bích (¼ inch) mà bạn đã tháo ở Tháo Van Cổ góp phân đoạn.
Tạo mô-mem xoắn cho các bu lông đầu mặt bích và êcu hãm mặt bích từ 19,78 đến 25,42 N∙m.
Siết chặt 2 kẹp mặt bích bằng tay (Hình 134).
Lắp khớp nối kết nối nhanh của ống mềm phân đoạn lên trên ống nối kết nối nhanh của cổ góp van phân đoạn bằng chốt kết nối nhanh (Hình 133).
Nếu bạn đã nới lỏng phụ kiện gắn của cổ góp van phân đoạn bên trái hoặc bên phải, hãy siết chặt đai ốc và bu lông từ 19,78 đến 25,42 N∙m.
Căn chỉnh mặt bích của cổ góp van khuấy trộn và 3 miếng đệm với các mặt bích của van reax nhánh khuấy trộn, đầu lọc áp suất và bộ tiếp hợp khớp nối (Hình 135 và Hình 136).
Note: Nếu cần, hãy nới lỏng phụ kiện gắn đầu lọc áp suất để tạo khoảng sáng.


Siết lỏng cổ góp van khuấy trộn vào van rẽ nhánh khuấy trộn, đầu lọc áp suất và bộ tiếp hợp khớp nối (Hình 136) bằng 3 kẹp mặt bích mà bạn đã tháo ở Tháo Van Cổ góp Khuấy trộn.
Lắp cổ góp van khuấy trộn vào giá đỡ van bằng 2 bu lông đầu mặt bích (¼ x ¾ inch) và 2 êcu hãm mặt bích (¼ inch) mà bạn đã tháo ở Tháo Van Cổ góp Khuấy trộn.
Tạo mô-mem xoắn cho các bu lông đầu mặt bích và êcu hãm mặt bích từ 19,78 đến 25,42 N∙m.
Siết chặt 3 kẹp mặt bích bằng tay (Hình 136).
Lắp khớp nối kết nối nhanh của ống mềm khuấy trộn lên trên ống nối kết nối nhanh của cổ góp van khuấy trộn bằng chốt kết nối nhanh (Hình 136).
Nếu bạn đã nới lỏng phụ kiện gắn đầu lọc áp suất, hãy siết chặt đai ốc và bu lông từ 19,78 đến 25,42 N∙m.
Căn chỉnh bộ khởi động với van cổ góp (Hình 122).
Cố định bộ khởi động và van bằng chốt giữ mà bạn đã tháo ở bước 2 của Tháo Bộ khởi động Van.
Trước khi bạn rời khỏi vị trí của người vận hành, hãy thực hiện các bước sau:
Đỗ máy trên bề mặt bằng phẳng.
Tắt máy bơm phun.
Bật phanh đỗ.
Tắt động cơ và rút chìa khóa (nếu được trang bị).
Chờ cho tất cả chuyển động dừng lại.
Để máy nguội trước khi điều chỉnh, bảo dưỡng, vệ sinh hoặc cất giữ.
Không cất giữ máy hoặc bình chứa nhiên liệu ở nơi có lửa trần, tia lửa hoặc đèn đánh lửa, chẳng hạn như trên máy nước nóng hoặc thiết bị khác.
Thực hiện các quy trình sau:
Important: Không sử dụng nước lợ hoặc nước tuần hoàn để làm sạch máy.
Đỗ máy trên bề mặt phẳng, bật phanh đỗ, tắt máy bơm phun tưới và động cơ, rút chìa khóa và chờ cho máy dừng tất cả mọi chuyển động trước khi rời máy.
Làm sạch bụi bẩn và cáu ghét bám trên toàn bộ máy, bao gồm cả bề ngoài cánh đầu xilanh và vỏ quạt thổi của động cơ.
Important: Bạn có thể rửa máy bằng chất tẩy rửa nhẹ và nước. Không sử dụng nước áp suất cao để rửa máy. Rửa máy bằng áp suất có thể làm hỏng hệ thống điện hoặc rửa trôi dầu mỡ cần thiết tại các điểm ma sát. Tránh sử dụng quá nhiều nước, đặc biệt là gần bảng điều khiển, đèn, động cơ và ắc quy.
Di chuyển máy đến khu vực đĩa xả, bật phanh đỗ, tắt máy bơm phun, tắt động cơ, rút chìa khóa và chờ cho máy dừng mọi chuyển động trước khi rời khỏi vị trí của người vận hành.
Xả bình nước ngọt và để đầu vòi của bình ở vị trí mở.
Xả bình phun tưới càng triệt để càng tốt.
Chuẩn bị dung dịch chống đông RV ức chế rỉ sét, không chứa cồn; tham khảo Chuẩn bị Chất điều hòa.
Tháo ống ra khỏi mặt sau của áp kế và đặt đầu ống vào bình chứa (Hình 137).

Khởi động động cơ và hạ các giàn bên ngoài.
Chạy máy bơm phun tưới trong vài phút để lưu thông chất chống đông RV trong toàn bộ hệ thống phun tưới và bất kỳ phụ kiện phun tưới nào đã lắp đặt.
Xoay các công tắc phân đoạn bên trái, trung tâm và bên phải sang vị trí BậT.
Xoay công tắc phân đaạn chính sang vị trí BậT và tìm các mục sau:
Đảm bảo chất chống đông RV chảy từ đầu đã ngắt kết nối của ống áp kế.
Phun ra khỏi mắt phun cho đến khi nhìn thấy chất chống đông RV.
Xoay công tắc phân đoạn chính sang vị trí TắT.
Xoay công tắc máy bơm sang vị trí TắT.
Sử dụng các công tắc nâng phân đoạn giàn để nâng các phân đoạn giàn bên ngoài.
Nâng các phân đoạn giàn cho đến khi chúng di chuyển hoàn toàn vào giá đỡ vận chuyển giàn tạo thành vị trí vận chuyển “X” và rút lại hoàn toàn xilanh nâng.
Note: Đảm bảo các xilanh nâng được rút lại hoàn toàn để tránh làm hỏng thanh khởi động.
Tắt động cơ.
Xả bình phun tưới càng triệt để càng tốt.
Thực hiện các quy trình sau trong Cất gữ trong Thời gian Ngắn:
Ngoài ra, hãy thực hiện các quy trình tiếp theo:
Kiểm tra áp suất khí trong lốp xe; tham khảo Kiểm tra Áp suất Khí của Lốp.
Kiểm tra hệ thống phanh; tham khảo Điều chỉnh Phanh.
Kiểm tra và siết chặt tất cả các bu lông, đai ốc và vít.
Note: Sửa chữa hoặc thay bất kỳ bộ phận nào bị mòn hoặc hư hỏng.
Sơn tất cả các bề mặt kim loại trần hoặc bị trầy xước (sơn có sẵn từ nhà phân phối Toro được ủy quyền của bạn).
Làm sạch van khuấy trộn và 3 van phân đoạn; tham khảo Làm sạch các Van Khuấy trộn và Van Phân đoạn.
Bôi mỡ cho máy phun; tham khảo Bôi mỡ cho Máy bơm Phun tưới.
Kiểm tra tình trạng của tất cả các ống mềm phun tưới.
Note: Thay bất kỳ ống mềm nào bị mòn hoặc hư hỏng.
Siết chặt tất cả các kẹp ống mềm và ống nối.
Bảo dưỡng bộ lọc khí; tham khảo Kiểm tra Bộ lọc Khí.
Thay bộ lọc dầu động cơ và dầu; tham khảo Thay Bộ lọc Dầu Động cơ và Thay Dầu Động cơ.
Xả bình nhiên liệu; tham khảo Xả Bình Nhiên liệu.
Chuẩn bị nhiên liệu có chất ổn định nhiên liệu theo hướng dẫn của nhà sản xuất và đổ thêm vào bình nhiên liệu.
Khởi động động cơ và chạy ở tốc độ chạy rỗi trong 5 phút.
Tắt động cơ.
Siết chặt tất cả các ống nối của hệ thống nhiên liệu.
Di chuyển máy đến nơi khô ráo, sạch sẽ.
Tháo ắc quy ra khỏi khung gầm; tham khảo Tháo Ắc quy.
Note: Không kết nối cáp ắc quy với cọc ắc quy trong quá trình cất giữ.
Kiểm tra mức chất điện phân.
Sạc đầy ắc quy; tham khảo Sạc Ắc quy.
Important: Ắc quy phải được sạc đầy để ngăn không cho ắc quy bị đóng băng và bị hỏng ở nhiệt độ dưới 0°C. Ắc quy được sạc đầy duy trì khả năng sạc trong khoảng 50 ngày ở nhiệt độ thấp hơn 4°C. Nếu nhiệt độ trên 4°C, hãy kiểm tra mực nước trong ắc quy và sạc ắc quy 30 ngày một lần.
Rút chìa khóa ra khỏi công tắc khởi động và cất chìa khóa ở nơi an toàn nằm ngoài tầm tay của trẻ em.
Đậy máy lại để bảo vệ và giữ máy sạch sẽ.
Lắp ống áp kế vào khớp nối ống ở mặt sau của áp kế (Hình 138).

Đóng đầu vòi của bình nước ngọt.
Đổ thêm nhiên liệu vào bình nhiên liệu.
Sạc đầy ắc quy; tham khảo Sạc Ắc quy.
Lắp ắc quy vào khung gầm; tham khảo Lắp Ắc quy.
| Problem | Possible Cause | Corrective Action |
|---|---|---|
| Bộ khởi động không quay động cơ. |
|
|
| Động cơ quay nhưng không khởi động. |
|
|
| Động cơ khởi động nhưng không tiếp tục chạy. |
|
|
| Động cơ chạy nhưng nổ lọc xọc hoặc tắc. |
|
|
| Động cơ không chạy rỗi. |
|
|
| Động cơ bị quá nhiệt. |
|
|
| Động cơ bị mất điện. |
|
|
| Có rung động hoặc tiếng ồn bất thường. |
|
|
| Máy không hoạt động hoặc chậm chạp theo cả hai hướng do động cơ bị kẹt hoặc dừng. |
|
|
| Máy không hoạt động theo cả hai hướng. |
|
|
| Problem | Possible Cause | Corrective Action |
|---|---|---|
| Một phân đoạn phun không phun tưới. |
|
|
| Một phân đoạn phun không tắt. |
|
|
| Một van phân đoạn phun bị rò rỉ. |
|
|
| Áp suất giảm khi bạn bật phân đoạn phun. |
|
|
| (Các) mắt phun nhỏ giọt khi tắt (các) công tắc phân đoạn |
|
|
| Áp suất máy phun giảm trong khi phun. |
|
|
