| Onderhoudsinterval | Onderhoudsprocedure |
|---|---|
| Bij elk gebruik of dagelijks |
|
Deze machine is een speciaal gazonspuitvoertuig en is bedoeld voor gebruik door professionele bestuurders en voor commerciële toepassingen. Het systeem is met name ontworpen voor sproeien op goed onderhouden gazons in parken, golfbanen en sportvelden.
Deze machine is in de eerste plaats bedoeld voor off-roadgebruik en is niet geschikt voor intensief rijden op de openbare weg. Het gebruik van dit product voor andere doeleinden dan het bedoelde gebruik kan gevaarlijk zijn voor u en voor omstanders.
Lees deze informatie zorgvuldig door, zodat u weet hoe u dit product op de juiste wijze moet gebruiken en onderhouden en om letsel en schade aan de machine te voorkomen. U bent verantwoordelijk voor het juiste en veilige gebruik van de machine.
Ga naar www.Toro.com voor meer informatie, inclusief veiligheidstips, instructiemateriaal, informatie over accessoires, hulp bij het vinden van een dealer of om uw product te registreren.
Als u service, originele Toro onderdelen of aanvullende informatie nodig hebt, kunt u contact opnemen met een erkende servicedealer of met de klantenservice van Toro. U dient hierbij altijd het modelnummer en het serienummer van het product te vermelden. De locatie van het plaatje met het modelnummer en het serienummer van het product is aangegeven op Figuur 1. U kunt de nummers noteren in de ruimte hieronder.
Important: U kunt met uw mobiel apparaat de QR-code op het plaatje met het serienummer (indien aanwezig) scannen om toegang te verkrijgen tot de garantie, onderdelen en andere productinformatie.

Er worden in deze handleiding een aantal mogelijke gevaren en een aantal veiligheidsberichten genoemd met de volgende veiligheidssymbolen (Figuur 2), die duiden op een gevaarlijke situatie die ernstig of fataal lichamelijk letsel tot gevolg kan hebben als u de veiligheidsvoorschriften niet in acht neemt.

Er worden in deze handleiding twee woorden gebruikt om uw aandacht op bijzondere informatie te vestigen. Belangrijk attendeert u op bijzondere technische informatie en Opmerking duidt op algemene informatie die bijzondere aandacht verdient.
Dit product voldoet aan alle relevante Europese richtlijnen; zie voor details de aparte productspecifieke conformiteitsverklaring.
Als de machine zonder een goed werkende vonkenvanger, zoals omschreven in sectie 4442, of een goed onderhouden, brandveilige motor wordt gebruikt in een bosgebied of op een met dicht struikgewas of gras begroeid terrein, handelt de bestuurder in strijd met de bepalingen van sectie 4442 of 4443 van de Wet op de Openbare Hulpbronnen (Public Resources Code) van de Staat Californië.
De bij deze motor geleverde Gebruikershandleiding bevat informatie over het Environmental Protection Agency (EPA) in de Verenigde Staten en de California Emission Control Regulation voor emissiesystemen, onderhoud en garantie. Bestel vervangingsonderdelen bij de fabrikant van de motor.
CALIFORNIË
Proposition 65 Waarschuwing
De uitlaatgassen van de motor van dit product bevatten chemische stoffen waarvan bekend is dat ze kanker, geboorteafwijkingen of andere schade aan de voortplantingsorganen kunnen veroorzaken.
Accuklemmen, accupolen en dergelijke onderdelen bevatten lood en loodverbindingen. Van deze stoffen is bekend dat ze kanker en schade aan de voortplantingsorganen veroorzaken. Was altijd uw handen nadat u met deze onderdelen in aanraking bent geweest.
Gebruik van dit product kan leiden tot blootstelling aan chemische stoffen waarvan de Staat Californië weet dat ze kanker, geboorteafwijkingen en andere schade aan het voortplantingssysteem veroorzaken.
Dit product kan lichamelijk letsel veroorzaken. Volg altijd alle veiligheidsinstructies op om ernstig letsel te voorkomen.
Lees deze Gebruikershandleiding en zorg ervoor dat u deze begrijpt voordat u de motor start.
Geef uw volledige aandacht als u de machine gebruikt. Zorg ervoor dat u met niets anders bezig bent waardoor u kunt worden afgeleid, anders kan er letsel ontstaan of kan eigendom worden beschadigd.
Gebruik geschikte persoonlijke beschermingsmiddelen (PPE) om te voorkomen dat u in aanraking komt met chemische stoffen. Chemische stoffen die worden gebruikt in het spuitsysteem kunnen gevaarlijk en giftig zijn.
Houd handen en voeten uit de buurt van de bewegende onderdelen van de machine.
Gebruik de machine enkel als de nodige schermen en andere beveiligingsmiddelen aanwezig zijn en naar behoren werken.
Ga niet in het spuitgebied van de spuitdoppen staan; hou er rekening mee dat de chemische stoffen kunnen verwaaien. Laat geen omstanders of kinderen het werkgebied betreden.
Laat kinderen nooit de machine bedienen.
Parkeer de machine op een horizontaal vlak, stel de parkeerrem in werking, zet de motor af, verwijder het contactsleuteltje (indien aanwezig) en wacht totdat alle bewegende onderdelen tot stilstand zijn gekomen voordat u de bestuurderspositie verlaat. Laat de machine afkoelen voordat u er instellingen of onderhoud aan verricht, of de machine schoonmaakt of stalt.
Onjuist gebruik of onderhoud van deze machine kan letsel tot
gevolg hebben. Om het risico op letsel te verkleinen, dient u zich
aan de volgende veiligheidsinstructies te houden en altijd op het
veiligheidssymbool
te letten, dat betekent Voorzichtig, Waarschuwing
of Gevaar – instructie voor persoonlijke veiligheid. Niet-naleving
van deze instructies kan leiden tot lichamelijk of dodelijk letsel.
Niet alle werktuigen die kunnen worden gekoppeld aan deze machine worden in deze handleiding beschreven. Raadpleeg de gebruikershandleiding die bij elk werktuig is geleverd voor aanvullende veiligheidsinstructies.
![]() |
Veiligheidsstickers en veiligheidsinstructies zijn gemakkelijk zichtbaar voor de bestuurder en bevinden zich bij plaatsen waar gevaar kan ontstaan. Vervang alle beschadigde of ontbrekende stickers. |





























Note: Bepaal vanuit de normale bedieningspositie de linker- en rechterzijde van de machine.
Note: Als u vragen hebt of verdere informatie wenst over het spuitbedieningssysteem, raadpleeg dan de Gebruikershandleiding die bij het systeem werd geleverd.
Important: Deze spuitmachine wordt verkocht zonder spuitdoppen.Om de spuitmachine te gebruiken, moet u spuitdoppen aanschaffen en monteren. Neem voor informatie over de verkrijgbare spuitboomset en accessoires contact op met een erkende Toro verdeler. Nadat u de spuitdoppen hebt geïnstalleerd en voordat u de spuitmachine voor de eerste keer gaat gebruiken, moet u de omloopkleppen van de spuitbomen instellen zodat de druk en de gebruiksdosis voor alle spuitbomen hetzelfde blijft als u 1 of meer spuitbomen uitschakelt. Zie De omloopkleppen van de spuitboom afstellen.
Benodigde onderdelen voor deze stap:
| Snelkoppelfitting | 1 |
Note: Voor deze procedure hebt u een slang nodig met een mannelijke NPT draadaansluiting van 1" en PTFE schroefdraadafdichting.
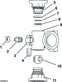
Verwijder vooraan aan de rechterkant van het tankdeksel de 2 haarspeldveren waarmee de vergrendelingen voor de snelkoppeling van de antioverloopaansluiting bevestigd zijn (Figuur 3).

Draai de vergrendelingen open om de snelkoppelfitting los te maken van de snelkoppeling (Figuur 3).
Neem de snelkoppelfitting van de snelkoppeling (Figuur 3).
Sluit de vergrendelingen en monteer de haarspeldveren in de flenzen van de snelkoppeling (Figuur 3).
Breng PTFE schroefdraadafdichting (Figuur 4) aan op de schroefdraden van de fitting van de vulslang (1" – NPT draad).

Draai de snelkoppeling met de hand vast op de vulslang (Figuur 4).
Stel de parkeerrem in werking, start de motor en zet de gashendel op stationair.
Breng de linker of rechter buitenste spuitboom langzaam omhoog tot deze eerst de bovenste buis van de houder raakt.
Breng de andere buitenste spuitboom langzaam omhoog tot deze de houder raakt.
Kijk naar het gebied op de bovenste houderbuizen waar de schuifblokken op de bovenste buis van de buitenste spuitboom de houders raken.
Note: De houder is juist afgesteld wanneer de blokken de houder raken bij de bocht in de bovenste houderbuis (Figuur 5).

Als een van de bovenste houderbuizen niet goed uitgelijnd is met het schuifblok zoals te zien is in Figuur 6, Figuur 7, of Figuur 8, stel dan de positie van de houder af, zie De houders met de buitenste spuitbomen uitlijnen.



Breng beide buitenste spuitbomen omlaag, zet de motor af, verwijder het contactsleuteltje en wacht totdat alle bewegende onderdelen tot stilstand zijn gekomen.
Monteer de CE-set voor uw machine; raadpleeg de Montage-instructies van de CE-set voor de Multi Pro 5800.



Met het tractiepedaal (Figuur 13) regelt u de beweging van de machine, zowel vooruit als achteruit. Om de machine vooruit te rijden, moet u met de tenen of hiel van uw rechtervoet de bovenkant van het pedaal intrappen, en om achteruit te rijden de onderkant van het pedaal. Om de snelheid te verminderen en de machine tot stilstand te brengen, laat u het pedaal opkomen.
Important: Laat de spuitmachine tot stilstand komen voordat u schakelt tussen de VOORUIT- en de ACHTERUIT-stand.
Note: Door het pedaal verder in te trappen (in beide richtingen), laat u de spuitmachine sneller rijden in de gewenste richting. Om de maximumsnelheid in de vooruit-stand te bereiken, moet u de gashendel op SNEL zetten en het tractiepedaal helemaal naar voren trappen.
Note: Voor maximaal vermogen met zware belasting of heuvelopwaarts moet u de gashendel op SNEL zetten en het tractiepedaal iets intrappen om ervoor te zorgen dat het motortoerental hoog blijft. Als het motortoerental lager wordt, moet u het tractiepedaal iets laten opkomen om het toerental te verhogen.

Met het rempedaal kunt u de machine tot stilstand brengen of de snelheid verminderen (Figuur 13).
Als de spuitmachine gebruikt met slecht afgestelde of versleten remmen, bestaat de kans dat u de controle over de machine verliest, waardoor lichamelijk of dodelijk letsel kan worden toegebracht aan de bestuurder of omstanders.
Controleer altijd de remmen voordat u de machine gebruikt, en zorg ervoor dat zij goed zijn afgesteld en zijn gerepareerd.
De parkeerrem is een pedaal links van het rempedaal (Figuur 13). Stel de parkeerrem in werking als u de bestuurdersstoel wilt verlaten teneinde te voorkomen dat de spuitmachine per ongeluk in beweging komt. Om de parkeerrem in werking te stellen, moet u het rempedaal ingetrapt houden en het pedaal van de parkeerrem intrappen. Om de parkeerrem vrij te zetten, moet u het rempedaal intrappen en laten opkomen. Als u de spuitmachine op een steile helling parkeert, moet u de parkeerrem in werking stellen en blokjes tegen de wielen plaatsen om te voorkomen dat de machine de helling afrolt.
De contactschakelaar (Figuur 12) dient om de motor in en uit te schakelen, en de schakelaar heeft 3 standen: UIT, AAN/VOORGLOEIEN, en START.
De schakelaar voor de snelheidsvergrendeling borgt de stand van het tractiepedaal wanneer de schakelaar wordt ingedrukt (Figuur 14). Hierdoor blijft de spuitmachine met een constante snelheid rijden als u de machine op vlak terrein gebruikt.

De gashendel bevindt zich op het bedieningspaneel tussen de stoelen (Figuur 14) en dient om het motortoerental te regelen. Zet de hendel naar voren om het motortoerental te verhogen en naar achteren om dit te verlagen.
Gebruik de schakelaar om de werkverlichting te bedienen (Figuur 12). Druk de schakelaar naar voren om de lampen te ontsteken en naar achteren om ze te doven.
De brandstofmeter bevindt zich op het dashboard van de machine en de meter geeft aan hoeveel brandstof er in de tank zit (Figuur 12).
Het USB-aansluitpunt heeft 2 contacten en het bevindt zich achteraan de armsteun (Figuur 15).


De drukmeter (Figuur 16) bevindt zich op het dashboard. Deze meter toont de druk van de vloeistof in het spuitsysteem in psi en kPa.
Gebruik de schakelaar van de spuitmodus om heen en weer te schakelen tussen de modus gebruiksdosis (gesloten circuit) en de manuele modus (open circuit).
De schakelaar voor de gebruiksdosis bevindt zich op het dashboard aan de rechterkant van het stuur (Figuur 16). Met de schakelaar voor de gebruiksdosis kunt u de snelheid van de spuitpomp regelen wanneer de spuitmachine in manuele modus staat. U moet de schakelaar naar voren drukken en ingedrukt houden om de gebruiksdosis (druk) te verhogen of naar achteren drukken en ingedrukt houden om de gebruiksdosis (druk) te verminderen.
De schakelaar van de spuitpomp bevindt zich op het middelste bedieningspaneel aan de rechterkant van de stoel (Figuur 16). Zet deze schakelaar naar voren om de spuitpomp in werking te stellen of naar achteren om deze uit te schakelen. Als de schakelaar is aangezet, brandt er een lampje op de schakelaar.
Important: U mag de schakelaar van de spuitpomp uitsluitend aanzetten als de motor LAAG STATIONAIR loopt, om te voorkomen dat de pompaandrijving schade oploopt.
De hefschakelaars van de spuitbomen bevinden zich op het middelste bedieningspaneel aan de rechterkant van de bestuurdersstoel en dienen om de linker- en/of rechterspuitboom omhoog en omlaag te brengen (Figuur 16).
De hoofdschakelaar van de spuitbomen bevindt zich op het middelste bedieningspaneel van de machine. Met behulp van de schakelaar kunt u starten of stoppen met spuiten. Druk op de schakelaar om het spuitsysteem in of uit te schakelen (Figuur 16).
De 3 spuitboomschakelaars bevinden zich op het middelste bedieningspaneel vóór de armleuning (Figuur 16). Zet de schakelaars naar voren om de corresponderende spuitboom in te schakelen en naar achteren om deze uit te schakelen. Wanneer de schakelaar AAN staat, wordt er een pictogram weergeven bovenaan in het InfoCenter.
Note: Deze schakelaars kunnen uitsluitend worden gebruikt voor de bediening van het spuitsysteem als de hoofdschakelaar van de spuitbomen op AAN staat.
De mengschakelaar bevindt zich op het middelste bedieningspaneel aan de rechterkant van de stoel (Figuur 16). Zet deze schakelaar naar voren om de inhoud van de tank te mengen of naar achteren om te stoppen met mengen. Als de schakelaar is aangezet, brandt er een lampje op de schakelaar. Om de mengfunctie te gebruiken, dient u de pomp van het sproeisysteem in te schakelen en de motor boven laag stationair toerental te laten draaien.
De mengomloopklep leidt de vloeistofstroom om naar de pomp van het spuitsysteem als u de mengfunctie uitschakelt (Figuur 17). De mengomloopklep bevindt zich boven de mengklep. U kunt de omloopklep zo instellen dat de druk constant blijft wanneer u de mengfunctie activeert en uitschakelt; zieDe mengomloopklep kalibreren.

De vloeistofstroommeter meet de doorstroomhoeveelheid van de vloeistof voor gebruik door het InfoCenter en tijdens gebruik in de modus gebruiksdosis (Figuur 17).
De mengdosisklep is een manueel bediende kogelklep die de stroom naar de mengspuitmonden in de hoofdtank regelt. Met deze klep heeft u controle over de spuitsysteemdruk aan de mengspuitmonden van de hoofdtank als grotere gebruiksdosissen nodig zijn. De mengdosisklep bevindt zich boven de pomp (Figuur 18).

De omloopkleppen van de spuitbomen dienen om de druk van het spuitsysteem op de spuitboomkleppen af te stellen; zo zorgt u ervoor dat de spuitdruk naar de spuitboom gelijk blijft, ongeacht hoeveel spuitbomen ingeschakeld zijn (Figuur 19).
Note: Gebruik de omloopkleppen enkel wanneer u het spuitsysteem in manuele modus (open circuit) gebruikt.

Met de afsluiter van de omloop van de spuitboom kunt u de vloeistofstroom van de omloopkleppen van de spuitboom naar de tank regelen wanneer het spuitsysteem in de manuele modus (open circuit) staat; zie Figuur 19.
Note: Sluit de afsluiter van de spuitboomomloop wanneer u het spuitsysteem gebruikt in de modus gebruiksdosis (gesloten circuit).
Vooraan op het tankdeksel bevindt zich een slangaansluiting met een schroefdraadverbinding, een 90º slangpilaar en een korte slang die u kunt leiden naar de tankopening. Op deze aansluiting kunt u een waterslang bevestigen zodat u de tank met water kunt vullen zonder dat de slang wordt verontreinigd door de chemische stoffen in de tank.
Important: U mag de slang niet verlengen zodat deze in contact kan komen met de vloeistof in de tank. De afstand van het uiteinde van de slangen tot het hoogste waterniveau moet binnen de grenzen conform de lokale regels liggen.

Het tankdeksel bevindt zich midden op de tank. Om het deksel te openen, moet u de motor afzetten, de voorste helft van het deksel naar links draaien en het open klappen. U kunt de zeef aan de binnenzijde verwijderen om deze te reinigen. Om de tank af te sluiten, moet u het deksel dichtdoen en de voorste helft van het deksel naar rechts draaien.
Het InfoCenter bedient u met de 5 knoppen onder het led-display; gebruik deze knoppen om door menu's te navigeren, gegevens in te voeren en instellingen te wijzigen.

Note: Specificaties en ontwerp kunnen zonder voorafgaande kennisgeving worden gewijzigd.
| Beschrijving | Meting |
|---|---|
| Basisgewicht | 1307 kg |
| Gewicht met standaard spuitsysteem, leeg, zonder bestuurder | 1307 kg |
| Gewicht met standaard spuitsysteem, vol, zonder bestuurder | 2499 kg |
| Maximaal toelaatbaar totaalgewicht van voertuig (op vlak terrein) | 3023 kg |
| Tankinhoud | 1135,6 l |
| Totale breedte met standaard spuitsysteem als de spuitbomen kruiselings zijn ingeklapt | 226 cm |
| Beschrijving | Meting |
|---|---|
| Totale breedte met standaard spuitsysteem | 391 cm |
| Totale lengte met standaard spuitsysteem tot de bovenkant van de spuitbomen als deze kruiselings zijn ingeklapt. | 442 cm |
| Totale hoogte met standaard spuitsysteem | 146 cm |
| Totale hoogte met standaard spuitsysteem tot de bovenkant van de spuitbomen als deze kruiselings zijn ingeklapt. | 231 cm |
| Afstand tot de grond | 18,4 cm |
| Wielbasis | 198 cm |
Een selectie van door Toro goedgekeurde werktuigen en accessoires is verkrijgbaar voor gebruik met de machine om de mogelijkheden daarvan te verbeteren en uit te breiden. Neem contact op met uw erkende Toro dealer.
Om de beste prestaties te verkrijgen en ervoor te zorgen dat de veiligheidscertificaten van de machine blijven gelden, moet u ter vervanging altijd originele onderdelen en accessoires van Toro aanschaffen. Gebruik ter vervanging nooit onderdelen en accessoires van andere fabrikanten, omdat dit gevaarlijk kan zijn en de productgarantie kan tenietdoen.
Note: Bepaal vanuit de normale bedieningspositie de linker- en rechterzijde van de machine.
| Onderhoudsinterval | Onderhoudsprocedure |
|---|---|
| Bij elk gebruik of dagelijks |
|
Laat kinderen of personen die geen instructie hebben ontvangen, de machine nooit gebruiken of onderhoudswerkzaamheden daaraan verrichten. Plaatselijke voorschriften kunnen nadere eisen stellen aan de leeftijd van degene die met de machine werkt. De eigenaar is verantwoordelijk voor de instructie van alle bestuurders en technici.
Zorg ervoor dat u vertrouwd raakt met de bedieningsorganen en de veiligheidssymbolen, en weet hoe u de machine veilig kunt gebruiken.
Zet de motor af, verwijder het sleuteltje (indien aanwezig) en wacht totdat alle bewegende onderdelen tot stilstand zijn gekomen voordat u de bestuurderspositie verlaat. Laat de machine afkoelen voordat u deze afstelt, schoonmaakt, stalt of er onderhoudswerkzaamheden aan verricht.
Zorg ervoor dat u weet hoe u de machine en de motor snel kunt stoppen.
Controleer de aanwezigheid en goede werking van de dodemansinrichtingen, veiligheidsschakelaars en afschermingen. Gebruik de machine uitsluitend als deze naar behoren werken.
Als de machine niet goed werkt of op enige wijze is beschadigd, mag u de machine niet gebruiken. Verhelp het probleem alvorens de machine of het werktuig te gebruiken.
Zorg ervoor dat de bestuurders- en passagiersruimte schoon zijn en vrij van chemisch restmateriaal en opgestapeld vuil.
Zorg ervoor dat alle aansluitstukken van de vloeistofleidingen vastzitten en alle slangen in goede staat verkeren voordat u druk zet op het systeem.
Wees uiterst voorzichtig bij het omgaan met brandstof. Brandstof is ontvlambaar en de dampen kunnen tot ontploffing komen.
Doof alle sigaretten, sigaren, pijpen en andere ontstekingsbronnen.
Gebruik uitsluitend een goedgekeurd vat of blik voor de brandstof.
Wanneer de motor loopt of heet is, mag u de brandstofdop niet verwijderen of brandstof toevoegen.
Geen brandstof bijvullen of aftappen in een afgesloten ruimte.
Bewaar de machine en het brandstofvat niet op plaatsen waar open vlammen, vonken of waakvlammen (bv. van een boiler of een ander toestel) aanwezig kunnen zijn.
Probeer de motor niet te starten als u brandstof hebt gemorst; voorkom elke vorm van open vuur of vonken totdat de brandstofdampen volledig zijn verdwenen.
Chemische stoffen die worden gebruikt in het spuitsysteem kunnen gevaarlijk en giftig zijn voor de gebruiker, omstanders en dieren en kunnen planten, de bodem of eigendommen beschadigen.
Lees de informatie over de chemische stoffen. Weiger de machine te gebruiken of te bedienen als deze informatie niet beschikbaar is.
Voordat u onderhoud uitvoert aan een spuitsysteem, moet u ervoor zorgen dat dit drie keer is gespoeld en geneutraliseerd volgens de instructies van de fabrikant(en) van de chemische stoffen en moeten alle kleppen 3 cyclussen hebben doorlopen.
Controleer of er voldoende water en zeep in de buurt is, en als u in contact komt met chemische stoffen, moet u deze onmiddellijk afspoelen.
U moet de waarschuwingsetiketten en de veiligheidsinformatiebladen voor alle gebruikte chemische stoffen zorgvuldig lezen en in acht nemen, en uzelf beschermen volgens de instructies van de fabrikant van de chemische stoffen.
Bescherm altijd uw lichaam als u chemische stoffen gebruikt. Om te voorkomen dat u in aanraking komt met chemische stoffen, dient u geschikte persoonlijke beschermingsmiddelen (PPE) te gebruiken, zoals:
oogbescherming, veiligheidsbril en/of gelaatsscherm
een chemicaliënpak
een stof- of filtermasker
handschoenen die bestand zijn tegen chemicaliën
rubberen laarzen of ander stevig schoeisel
schone reservekleding, zeep en wegwerphanddoeken om uzelf schoon te maken
Zorg ervoor dat een goede training hebt gekregen voordat u omgaat met chemische stoffen.
Gebruik de juiste chemische stof voor het werk.
Houd u aan de instructies van de fabrikant voor het veilig gebruik van de chemische stof. Overschrijd de aanbevolen systeembedrijfsdruk niet.
De machine niet vullen, kalibreren of reinigen wanneer er mensen, in het bijzonder kinderen, of huisdieren in de buurt zijn.
Zorg voor een goede ventilatie van de ruimte waar u werkt met chemische stoffen.
Niet eten, drinken of roken als u in de buurt van chemische stoffen werkt.
Spuitdoppen niet schoonmaken door erin te blazen of ze in uw mond te nemen.
Was uw handen en andere onbedekte lichaamsdelen altijd zo snel mogelijk nadat u met chemische stoffen hebt gewerkt.
Bewaar chemische stoffen in hun originele verpakking op een veilige plaats.
Voer ongebruikte chemische stoffen en verpakkingen voor chemische stoffen af volgens de instructies van de fabrikant en de plaatselijk geldende voorschriften.
Chemische stoffen en dampen in de tank zijn gevaarlijk; blijf altijd buiten de tank en houd uw hoofd nooit boven of in de opening van een tank.
Volg alle plaatselijke voorschriften met betrekking tot het strooien of spuiten van chemicaliën op.
Voer elke dag de volgende controles uit voordat u de spuitmachine gaat gebruiken:
Controleer de bandenspanning.
Note: De banden van deze machine verschillen van autobanden: zij vereisen een lagere spanning om compactie en beschadiging van de grasmat te voorkomen.
Controleer het peil van alle vloeistoffen. Indien het peil te laag is, moet u bijvullen met de vereiste hoeveelheid vloeistof volgens de specificaties.
Controleer of het rempedaal werkt.
Controleer of de verlichting werkt.
Draai het stuurwiel naar links en naar rechts om de stuurreactie te controleren.
Zet de motor af en controleer op olielekken, losse onderdelen en andere waarneembare defecten.
Indien een van bovengenoemde zaken niet in orde is, moet u de monteur hiervan op de hoogte stellen of contact opnemen met de bedrijfsleiding voordat u die dag met de spuitmachine gaat werken. De supervisor kan u verzoeken dagelijks andere controles uit te voeren. Vraag daarom welke controles u moet uitvoeren.
Controleer het oliepeil, het koelsysteem en het hydraulische systeem.
| Onderhoudsinterval | Onderhoudsprocedure |
|---|---|
| Bij elk gebruik of dagelijks |
|
Controleer of de banden de juiste spanning hebben. Breng de banden op een spanning van 1,38 bar.
Note: Controleer de banden ook op slijtage of schade.
| Onderhoudsinterval | Onderhoudsprocedure |
|---|---|
| Bij elk gebruik of dagelijks |
|
Voordat u de spuitmachine start, moet u het rempedaal licht intrappen. Als de vrije slag van het rempedaal meer dan 25 mm bedraagt voordat u weerstand voelt, moeten de remmen worden afgesteld; zie Remmen afstellen.
Als de spuitmachine gebruikt met slecht afgestelde of versleten remmen, bestaat de kans dat u de controle over de machine verliest, waardoor lichamelijk of dodelijk letsel kan worden toegebracht aan de bestuurder of omstanders.
Controleer altijd de remmen voordat u de machine gebruikt, en zorg ervoor dat zij goed zijn afgesteld en zijn gerepareerd.
| Petroleum | Gebruik loodvrije benzine met een octaangetal van 87 of hoger (indelingsmethode (R+M)/2) |
| Met ethanol vermengde brandstof | Gebruik van een loodvrij benzinemengsel met maximaal 10% ethanol (gasohol) of 15% MTBE (methyl-tertiair-butylether) per volume is aanvaardbaar. Ethanol en MTBE zijn niet hetzelfde. |
| Benzine met 15% ethanol (E15) per volume is niet geschikt voor gebruik. Gebruik nooit benzine die meer dan 10% ethanol per volume bevat, zoals E15 (bevat 15% ethanol), E20 (bevat 20% ethanol), of E85 (bevat tot 85% ethanol). Ongeschikte benzine gebruiken kan leiden tot verminderde prestaties en/of motorschade die mogelijk niet gedekt wordt door de garantie. |
Important: Gebruik voor de beste resultaten uitsluitend schone, verse brandstof (minder dan 30 dagen oud).
Geen benzine gebruiken die methanol bevat.
In de winter geen brandstof bewaren in de brandstoftank of in vaten, tenzij u een brandstofstabilisator gebruikt.
Meng nooit olie door benzine.
Inhoud brandstoftank: ongeveer 45 liter.
Parkeer de machine op een gelijke ondergrond, stel de parkeerrem in werking, schakel de pomp uit, zet de motor af en verwijder het sleuteltje. Laat de motor afkoelen.
Maak de omgeving van de dop van de brandstoftank schoon (Figuur 22).

Verwijder de dop van de brandstoftank.
Vul de benzinetank tot ongeveer 25 mm vanaf de bovenkant van de tank (de onderkant van de vulbuis).
Note: Deze lucht geeft de brandstof in de tank ruimte om uit te zetten. Vul de brandstoftank niet te vol.
Breng de brandstofdop vast aan op de tank.
Neem gemorste brandstof op.
Note: Raadpleeg de selectiegids met spuitdoppen die verkrijgbaar is bij uw erkende Toro verdeler.
De spuitdoppenhouders zijn geschikt voor de 3 verschillende spuitdoppen. Kiezen van de gewenste spuitdop:
Parkeer de veldspuit op een gelijke ondergrond, zet de motor af, verwijder het sleuteltje en stel de parkeerrem in werking.
Zet de hoofdschakelaar van de spuitbomen en de schakelaar van de spuitpomp UIT.
Draai de spuitdoppenhouder in beide richtingen op de juiste spuitdop.
Voor machines die worden gebruikt in de modus gebruiksdosis, kalibreert u de vloeistofstroom; raadpleeg de Softwaregids van de Multi Pro 5800-D en 5800-G spuitmachines met ExcelaRate spuitsysteem.
Standaard uitrusting; zuigkorf 50 mesh (blauw)
Gebruik de zuigkorftabel om na te gaan welk gaas u dient te gebruiken voor uw spuitdoppen op basis van chemische producten of oplossingen met een viscositeit gelijkwaardig met die van water.
| Kleurcode spuitdop (doorstroomhoeveelheid) | Grootte van gaas* | Kleurcode van filter |
|---|---|---|
| Geel (0,2 gpm) | 50 | Blauw |
| Rood (0,4 gpm) | 50 | Blauw |
| Bruin (0,5 gpm) | 50 (of 30) | Blauw (of groen) |
| Grijs (0,6 gpm) | 30 | Groen |
| Wit (0,8 gpm) | 30 | Groen |
| Blauw (1,0 gpm) | 30 | Groen |
| Groen (1,5 gpm) | 30 | Groen |
| *De gaasgrootte van de zuigkorven in deze tabel gaat uit van chemische producten of oplossingen met een viscositeit gelijkwaardig met die van water. | ||
Important: Als u chemicaliën met een hogere viscositeit (dikker) of oplossingen met bevochtigbare poeders gebruikt, dient u mogelijk een gaas met grotere openingen te gebruiken voor de optionele zuigkorf; zie Figuur 23.

Bij het spuiten met een hogere gebruiksdosis kunt u overwegen een grover aanzuiggaas te gebruiken, zie Figuur 24.

Enkele leverbare schermgroottes:
Standaard uitrusting; zuigkorf 50 mesh (blauw)
Gebruik de drukfiltertabel om na te gaan welk gaas u dient te gebruiken voor uw spuitdoppen op basis van chemische producten of oplossingen met een viscositeit gelijkwaardig met die van water.
| Kleurcode spuitdop (doorstroomhoeveelheid) | Grootte van gaas* | Kleurcode van filter |
|---|---|---|
| Zoals vereist voor chemicaliën of oplossingen met lage viscositeit of kleine gebruiksdosissen | 100 | Groen |
| Geel (0,2 gpm) | 80 | Geel |
| Rood (0,4 gpm) | 50 | Blauw |
| Bruin (0,5 gpm) | 50 | Blauw |
| Grijs (0,6 gpm) | 50 | Blauw |
| Wit (0,8 gpm) | 50 | Blauw |
| Blauw (1,0 gpm) | 50 | Blauw |
| Groen (1,5 gpm) | 50 | Blauw |
| Zoals vereist voor chemicaliën of oplossingen met hoge viscositeit of grote gebruiksdosissen | 30 | Rood |
| Zoals vereist voor chemicaliën of oplossingen met hoge viscositeit of grote gebruiksdosissen | 16 | Bruin |
| *De gaasgrootte van de drukfilters in deze tabel gaat uit van chemische producten of oplossingen met een viscositeit gelijkwaardig met die van water. | ||
Important: Als u chemicaliën met een hogere viscositeit (dikker) of oplossingen met bevochtigbare poeders gebruikt, dient u mogelijk een gaas met grotere openingen te gebruiken voor het optionele drukfilter; zie Figuur 25.

Wanneer u met een hogere gebruiksdosis spuit, overweeg dan een groter gaas voor het optionele drukfilter; zie Figuur 26.

Note: Gebruik een optioneel spuitdopfilter om de kop van de spuitdop te beschermen en de levensduur ervan te verlengen.
Gebruik de spuitdopfiltertabel om na te gaan welk gaas u dient te gebruiken voor uw spuitdoppen op basis van chemische producten of oplossingen met een viscositeit gelijkwaardig met die van water.
| Kleurcode spuitdop (doorstroomhoeveelheid) | Grootte van filtergaas* | Kleurcode van filter |
|---|---|---|
| Geel (0,2 gpm) | 100 | Groen |
| Rood (0,4 gpm) | 50 | Blauw |
| Bruin (0,5 gpm) | 50 | Blauw |
| Grijs (0,6 gpm) | 50 | Blauw |
| Wit (0,8 gpm) | 50 | Blauw |
| Blauw (1,0 gpm) | 50 | Blauw |
| Groen (1,5 gpm) | 50 | Blauw |
| *De gaasgrootte van de spuitdopfilters in deze tabel gaat uit van chemische producten of oplossingen met een viscositeit gelijkwaardig met die van water. | ||
Important: Als u chemicaliën met een hogere viscositeit (dikker) of oplossingen met bevochtigbare poeders gebruikt, dient u mogelijk een gaas met grotere openingen te gebruiken voor het optionele spuitdopfilter; zie Figuur 27.

Wanneer u met een hogere gebruiksdosis spuit, overweeg dan een groter gaas voor het spuitdopfilter; zie Figuur 28.

Important: Gebruik geen teruggewonnen water (grijs water) in de schoonwatertank.
Note: Deze wordt gebruikt als bron van schoon water waarmee u uw ogen, uw huid andere oppervlakken kunt schoonspoelen als deze per ongeluk in contact zijn gekomen met chemische stoffen.
Vul de schoonwatertank altijd met schoon water voordat u gaat werken met chemische stoffen.
Om de tank te vullen, schroeft u de dop bovenaan de tank los, vult u deze met schoon water en plaats u de dop terug (Figuur 29).
Om de tapkraan van de watertank te openen, moet u de hendel op de kraan draaien (Figuur 29).

Monteer de optionele voormengset voor chemische stoffen als u optimale mengprestaties wenst en de externe tank zo schoon mogelijk wilt houden.
Important: Gebruik indien mogelijk geen teruggewonnen water (grijs water) in de spuittank.
Important: De chemische stoffen die u gebruikt, moeten geschikt zijn voor Viton™ (raadpleeg het fabrieksetiket; dit moet aangeven of de chemische stoffen geschikt zijn). Chemische stoffen die niet geschikt zijn voor Viton, zullen de O-ringen in de spuitmachine aantasten waardoor lekkage ontstaat.
Important: De volumemarkeringen op de tank zijn uitsluitend bedoeld als referentie en kunnen niet als nauwkeurig worden beschouwd voor kalibratie.
Parkeer de machine op een gelijke ondergrond, zet de motor af, verwijder het sleuteltje en stel de parkeerrem in werking.
Bepaal hoeveel water u moet mengen met de hoeveelheid van de chemische stoffen die u nodig hebt volgens de voorschriften van de fabrikant van de chemische stoffen.
Open het deksel van de spuittank.
Note: Het tankdeksel bevindt zich midden op de tank. Om dit te openen, moet u de voorste helft van het deksel naar links draaien en open klappen. U kunt de zeef onder het tankdeksel verwijderen en de zeef reinigen.
Koppel de vulslang aan op de snelkoppelfitting van de antioverloopaansluiting.
Giet ¾ van de benodigde hoeveelheid water in de spuittank (Figuur 30).
Important: U moet de tank altijd vullen met schoon water. Giet nooit concentraat in een lege tank.

Start de motor, zet de schakelaar van de spuitpomp op AAN, en zet de gashendel op het HOOG STATIONAIR toerental.
Zet de mengschakelaar op AAN.
Important: Voordat u bevochtigbaar poeder in een Toro spuitsysteem invoert, dient u de poeders in een geschikt vat met voldoende vers water te mengen om een vrij stromende suspensie te creëren. Dit nalaten kan resulteren in chemische afzettingen op de bodem van de tank, slechte vermenging, verstopt raken van filters en onjuiste gebruiksdosissen.Toro raadt u aan de goedgekeurde straalpompset te gebruiken voor deze machine. Neem voor meer informatie contact op met uw erkende Toro verdeler.
Voeg de correcte hoeveelheid het chemische concentraat toe in de tank volgens de instructies van de fabrikant.
Voeg het resterende water toe aan de tank, koppel de vulslang af en sluit het tankdeksel.
Note: Om de tank af te sluiten, moet u het deksel dichtdoen en de voorste helft van het deksel naar rechts draaien.
Important: Als u de tank voor de eerste keer gevuld hebt, controleert u de tankstrips op speling. Indien nodig vastzetten.
| Onderhoudsinterval | Onderhoudsprocedure |
|---|---|
| Bij elk gebruik of dagelijks |
|
Important: De bevestigingen van de tankbanden te vast aandraaien kan vervorming en beschadiging van de tank en banden veroorzaken.
Important: Gebruik indien mogelijk geen teruggewonnen water (grijs water) in de spuittank.
Vul de hoofdtank met water.
Controleer of u de tankbanden op de tank kunt bewegen (Figuur 31).

Als de tankbanden te los om de tank heen zitten, draai dan de flensborgmoeren en de bouten bovenaan de banden aan tot de banden gelijk komen met het oppervlak van de tank (Figuur 31).
Note: Zet de banden van de tank niet te vast.
Important: Wanneer u de machine gebruikt in de modus gebruiksdosis, moet u de omloopkleppen van de spuitbomen sluiten.
Important: Gebruik indien mogelijk geen teruggewonnen water (grijs water) in de spuittank.
Voordat u de spuitmachine voor het eerst gebruikt, als u de spuitdoppen vervangt, of als dit om een andere reden nodig is, dient u de vloeistofstroom en de snelheid te kalibreren en de omloop van de spuitbomen in te stellen.
Important: Kies een open en vlak terrein om deze procedure uit te voeren.
Vul de spuittank tot de helft met schoon water.
Laat de spuitbomen zakken.
Stel de parkeerrem in werking.
Zet de schakelaar voor de spuitbediening op manueel.
Zet de 3 spuitboomschakelaars in de stand AAN, maar laat de hoofdschakelaar van de spuitbomen UIT.
Zet de schakelaar van de spuitpomp op AAN en zet de mengschakelaar aan.
Ga in het InfoCenter naar het scherm Kalibratie en selecteer Test Speed (snelheid testen); raadpleeg 'Een testsnelheid simuleren' in de Softwaregids van de Multi Pro 5800-D en 5800-G veldspuit met ExcelaRate spuitsysteem.
Druk knop 3 of 4 in om de gesimuleerde snelheid te verhogen of te verlagen tot 5,6 km/u.
Druk op knop 4 om de simulatie van de testsnelheid IN te schakelen.
Druk op knop 5 om de instelling te bewaren en het scherm TESTSNELHEID te verlaten.
Stel met behulp van de schakelaar de gebruiksdosis in aan de hand van de volgende tabel.
| Kleur spuitdop | SI (metrisch) | Engels | Turf |
| Geel | 159 liter/ha | 17 gpa | 0,39 gpk |
| Rood | 319 liter/ha | 34 gpa | 0,78 gpk |
| Bruin | 394 liter/ha | 42 gpa | 0,96 gpk |
| Grijs | 478 liter/ha | 51 gpa | 1,17 gpk |
| Wit | 637 liter/ha | 68 gpa | 1,56 gpk |
| Blauw | 796 liter/ha | 85 gpa | 1,95 gpk |
| Groen | 1190 liter/ha | 127 gpa | 2,91 gpk |
Schakel de linkerspuitboom uit en stel de knop van de spuitboomomloop (Figuur 32) zodanig in dat de gebruikte dosis de vorige waarde aangeeft (raadpleeg de tabel).
Note: De nummeraanduidingen van de omloopknop en naald dienen enkel ter referentie.

Schakel de linkerspuitboom in en de rechterspuitboom uit.
Stel de omloopknop van de rechter spuitboom (Figuur 32) zodanig in dat de gebruiksdosis de vorige waarde aangeeft (raadpleeg de tabel).
Schakel de rechterspuitboom in en de middelste spuitboom uit.
Stel de omloopknop van de middelste spuitboom (Figuur 32) zodanig in dat de gebruiksdosis de vorige waarde aangeeft (raadpleeg de tabel).
Zet de hoofdschakelaar van de spuitbomen uit.
Schakel de spuitpomp uit.
| Onderhoudsinterval | Onderhoudsprocedure |
|---|---|
| Jaarlijks |
|
Important: Gebruik indien mogelijk geen teruggewonnen water (grijs water) in de spuittank.
Kies een open en vlak terrein om deze procedure uit te voeren.
Vul de spuittank tot de helft met schoon water.
Ga na of de mengregelklep open is.
Note: Als deze aangepast is, opent u ze nu volledig.
Stel de parkeerrem in werking en start de motor.
Zet de knop van de spuitmodus op de manuele modus; zie Spuiten in de manuele modus.
Zet de schakelaar van de spuitpomp en de mengschakelaar AAN.
Zet de hoofdschakelaar van de spuitbomen op UIT.
Zet de gashendel op SNEL.
Gebruik de schakelaar voor de gebruiksdosis om de druk van het spuitsysteem af te stellen op 6,89 bar.
Draai de mengschakelaar op UIT en lees de stand van de drukmeter af.
Als de drukmeter 6,89 bar aangeeft, is de mengomloopklep juist gekalibreerd.
Als de drukmeter een andere stand aangeeft, gaat u door met de volgende stap.
Stel de mengomloopklep (Figuur 34) achteraan de mengklep in tot de spuitsysteemdruk op de meter 6,89 bar bedraagt.

Draai de schakelaar van de spuitpomp op UIT.
Zet de gashendel op STATIONAIR/LANGZAAM en draai het sleuteltje naar de UIT-stand.
De spuitpomp bevindt zich bij de achterkant van de tank, links (Figuur 35).

De eigenaar/bestuurder is verantwoordelijk voor ongevallen die kunnen leiden tot lichamelijk letsel en materiële schade, en hij kan zulke ongevallen voorkomen.
Draag geschikte kleding en uitrusting, zoals oogbescherming, een lange broek, stevige schoenen met een gripvaste zool en gehoorbescherming. Draag lang haar niet los en draag geen losse kleding of juwelen.
Draag geschikte persoonlijke beschermende uitrusting volgens de aanwijzingen in het hoofdstuk Chemische veiligheid.
Geef uw volledige aandacht als u de machine gebruikt. Zorg ervoor dat u met niets anders bezig bent waardoor u kunt worden afgeleid, anders kan er letsel ontstaan of kan eigendom worden beschadigd.
Gebruik de machine niet als u ziek, moe of onder de invloed van alcohol, medicijnen of drugs bent.
Vervoer niet meer dan 1 passagier op de machine; de passagier mag alleen op de daartoe bestemde zitplaats zitten.
Bedien de machine uitsluitend als de zichtbaarheid goed is. Vermijd putten en verborgen gevaren.
Voordat u de motor start: zorg dat u zich in de bestuurderspositie bevindt, dat het tractiepedaal zich in de NEUTRAALSTAND bevindt en dat de parkeerrem in werking is gesteld.
Blijf zitten wanneer de machine in beweging is. Houd indien mogelijk het stuurwiel met beide handen vast en houd uw armen en benen altijd binnen het compartiment van de bestuurder.
Wees voorzichtig bij het naderen van blinde hoeken, struiken, bomen, en andere objecten die uw zicht kunnen belemmeren.
Voordat u achteruitrijdt, moet u achterom kijken om er zeker van te zijn dat er zich niemand achter u bevindt. Rij langzaam achteruit.
Spuit nooit als er mensen, met name kinderen, en huisdieren in de buurt zijn.
Gebruik de machine niet in de buurt van steile hellingen, greppels of dijken. De machine kan plotseling omslaan als een wiel over de rand komt, of als de rand afbrokkelt.
Neem gas terug als u moet rijden op oneffen terrein en vlak langs wegranden, kuilen en andere plotse veranderingen in het terrein. De lading kan gaan schuiven waardoor de machine haar stabiliteit verliest.
Stop de machine, zet de motor uit, verwijder het sleuteltje, stel de parkeerrem in werking en controleer op schade als u een voorwerp heeft geraakt of de machine abnormaal begint te trillen. Voer alle noodzakelijke reparaties uit voordat u de machine weer in gebruik neemt.
Verminder uw snelheid en wees voorzichtig als u een bocht maakt of wegen en voetpaden oversteekt met de machine. Verleen altijd voorrang.
Wees extra voorzichtig als u de machine gebruikt op een nat oppervlak, in ongunstige weersomstandigheden, bij hogere snelheden of als de machine zwaar geladen is. De stoptijd en de remweg zullen groter zijn in deze omstandigheden.
Raak de motor of de geluiddemper niet aan als de motor loopt of direct nadat u deze heeft afgezet. Deze kunnen heet zijn en brandwonden veroorzaken.
Doe het volgende voordat u de bestuurdersstoel verlaat:
Parkeer de machine op een horizontaal oppervlak.
Zet het tractiepedaal in de NEUTRAALSTAND.
Schakel de spuitpomp uit.
Stel de parkeerrem in werking.
Zet de motor uit en verwijder het sleuteltje (indien aanwezig).
Wacht totdat alle bewegende onderdelen tot stilstand zijn gekomen.
Laat de motor nooit lopen in een ruimte waar uitlaatgassen zich kunnen verzamelen.
Gebruik de machine niet als het kan bliksemen.
Gebruik alleen accessoires en werktuigen die door Toro zijn goedgekeurd.
Note: Voor elke machine in deze Gebruikershandleiding geldt dat een door Toro gemonteerde cabine een rolbeugel betreft.
De rolbeugel niet van de machine verwijderen.
Bevestig de veiligheidsgordel en zorg ervoor dat u deze snel kunt losmaken in een noodgeval. Doe altijd de veiligheidsgordel om.
Controleer grondig of er boven de machine obstakels zijn en zorg ervoor dat u deze niet raakt.
Houd de rolbeugel in goede staat door deze regelmatig grondig te controleren op beschadiging, en zorg dat alle bevestigingsmateriaal stevig is vastgedraaid.
Onderhoud en reinig de veiligheidsgordel(s) indien nodig.
Vervang beschadigde onderdelen van de rolbeugel. Herstel of wijzig deze niet.
Het maaien op hellingen is een belangrijke factor bij ongelukken waarbij de controle over de machine wordt verloren of deze omkantelt. Dit kan ernstig of dodelijk letsel veroorzaken. U bent verantwoordelijk voor een veilig gebruik van de machine op hellingen. Gebruik van de machine op hellingen vereist altijd extra voorzichtigheid.
Neem de hieronder genoemde instructies voor gebruik van de machine op hellingen door en ga na of u de machine in de specifieke situatie op het betreffende terrein kunt gebruiken. Veranderingen in het terrein kunnen ertoe leiden dat de machine zich anders gedraagt op een helling.
Bepaal of de machine veilig kan worden gebruikt op de helling, onder andere door het terrein te inspecteren. Gebruik altijd uw gezond verstand en uw beoordelingsvermogen wanneer u dit onderzoek uitvoert.
Vermijd starten, stoppen of bochten maken op hellingen. Rij hellingen op en af. Voorkom dat u plotseling de snelheid of de rijrichting van de machine moet veranderen. Als u toch een bocht moet maken, doe dit indien mogelijk langzaam en voorzichtig hellingafwaarts. Wees voorzichtig bij het achteruitrijden van de machine.
Gebruik een machine nooit in omstandigheden waarbij u twijfelt over tractie, sturen of stabiliteit.
Verwijder of markeer obstakels zoals greppels, putten, geulen, hobbels, stenen en andere verborgen gevaren. In hoog gras zijn obstakels niet altijd zichtbaar. De machine kan omslaan op oneffenheden in het terrein.
Denk eraan dat de machine tractie kan verliezen doordat u op natte oppervlakken, dwars op een helling of hellingafwaarts maait. Als de wielen tractie verliezen, kan de machine gaan schuiven en kunt u de controle over de remmen en het stuur verliezen.
Rij zeer voorzichtig als u de machine gebruikt in de buurt van steile hellingen, greppels, dijken, waterpartijen en andere gevaarlijke punten. De machine kan plotseling omslaan als een wiel over de rand komt, of als de rand instort. Zorg voor een veilige afstand tussen de machine en een gevarenzone.
Wees extra voorzichtig wanneer u de machine gebruikt met werktuigen; zij kunnen de stabiliteit van de machine beïnvloeden.
Als de motor afslaat of als het voertuig vaart begint te verliezen terwijl u een helling oprijdt, moet u voorzichtig het rempedaal indrukken en de helling langzaam achterwaarts in een rechte lijn afrijden.
Hou de transmissie altijd ingeschakeld (indien van toepassing) als u de machine van een helling af rijdt.
Parkeer de machine nooit op een helling.
Het gewicht van het materiaal in de tank kan het rijgedrag van de machine nadelig beïnvloeden. Om te voorkomen dat u de controle over de machine verliest waardoor lichamelijk letsel kan ontstaan, moet u de volgende richtlijnen in acht nemen:
Als u een zware lading vervoert, moet u de snelheid verminderen en ervoor zorgen dat de remweg lang genoeg is. Trap niet abrupt op het rempedaal. Wees extra voorzichtig op hellingen.
Vloeibare ladingen schuiven, vooral wanneer u draait, een helling op- of afrijdt, plotseling uw snelheid wijzigt of als u over oneffen terrein rijdt. Als de lading gaat schuiven, kan de machine omslaan.
Neem plaats op de bestuurderstoel en haal u voet van het tractiepedaal.
Zorg dat de machine als volgt is ingesteld:
De parkeerrem is in werking gesteld.
Het tractiepedaal bevindt zich in de NEUTRAALSTAND.
De spuitpomp is uitgeschakeld.
De gashendel staat in de stand LANGZAAM.
Draai het sleuteltje naar de stand START.
Laat de motor bij het starten langer dan 15 seconden draaien.
Laat het sleuteltje los zodra de motor start.
Laat de motor STATIONAIR of halfgas lopen totdat deze is opgewarmd.
Laat de parkeerrem los en druk het tractiepedaal naar voren om de machine naar voren te rijden of druk het pedaal naar achteren om de machine achteruit te rijden.
Important: Laat de spuitmachine tot stilstand komen voordat u schakelt tussen de VOORUIT- en de ACHTERUIT-stand.
Om de machine langzaam te stoppen, moet u het tractiepedaal laten opkomen.
Note: Het tractiepedaal keert terug naar de NEUTRALE stand
Om snel te remmen, trapt u het rempedaal in.
Note: De remafstand van de machine kan variëren naargelang de lading van de spuittank en de rijsnelheid van de machine.
Als u de snelheidsbegrenzerschakelaar indrukt terwijl uw voet niet op het tractiepedaal rust, kan de tractie-eenheid plots stoppen en ertoe leiden dat u de controle over de machine verliest. Het is mogelijk dat u of omstanders hierbij letsel oplopen.
Houd daarom uw voet op het tractiepedaal als u de snelheidsbegrenzerschakelaar uitschakelt.
Schakel de spuitpomp in door de schakelaar van de spuitpomp AAN te zetten; zie Schakelaar van spuitpomp.
Rij vooruit tot u de gewenste rijsnelheid hebt bereikt; zie Met de machine rijden.
Note: U moet de machine met een snelheid trager dan 11 km/u rijden om de snelheidsbegrenzer in te stellen.
Druk op de bovenkant van de snelheidsbegrenzerschakelaar.
Note: Het lampje op de schakelaar gaat branden.
Haal uw voet van het tractiepedaal.
Note: De spuitmachine behoudt de snelheid die u heeft ingesteld.
Om de snelheidsbegrenzerschakelaar uit te schakelen, moet u uw voet op het tractiepedaal zetten en op de onderkant van de schakelaar drukken of uw voet van het tractiepedaal halen en het rempedaal intrappen.
Note: Het lampje op de schakelaar dooft en u kunt het tractiepedaal weer gebruiken.
Zet alle bedieningsorganen in de NEUTRAALSTAND.
Trap het rempedaal in om de machine te stoppen.
Stel de parkeerrem in werking.
Zet de gashendel op STATIONAIR/LANGZAAM.
Draai het sleuteltje op UIT.
Verwijder het sleuteltje uit het contact om te voorkomen dat iemand per ongeluk de motor start.
Als de motor buiten de veilige bedrijfslimiet gaat, kunnen er 2 soorten motorberichten verschijnen op het InfoCenter:
Adviserende motorberichten
Berichten 'stop motor'
Note: U moet de optie geluid dempen in het InfoCenter op AAN zetten opdat de alarmen voor adviserende motorberichten en berichten 'stop motor' weerklinken. Raadpleeg Indicator geluid dempen in de Softwaregids voor de Multi Pro 5800-D and 5800-G spuitmachines met ExcelaRate spuitsysteem.
Note: Het symbool
aan de rechterhoek bovenaan het hoofdscherm,
een adviserend motorbericht, of een bericht ‘stop motor’,
geeft aan dat er een actieve fout is voor de motor.
Als er een adviserend motorbericht wordt weergegeven in het InfoCenter, dient u te stoppen met spuiten en de machine naar de werkplaats te rijden. Voorbeelden van schermen met advies zijn:
Wanneer de motorbediening (ECU) een fout van het niveau 'advies' detecteert, wordt de indicator voor advies over de motor weergegeven (Figuur 36).

Stop met spuiten en rijd de machine naar de werkplaats.
Note: Een bericht over een actieve fout wordt weergegeven (Figuur 37).

Druk op knop 1 tot en met knop 5 om de lijst met actieve fouten te bekijken (Figuur 38).
Druk op knop 1 of 2 om naar boven of naar beneden in de lijst te gaan.
Druk op knop 3 om het audioalarm te dempen.

Druk op knop 5 om de lijst met actieve fouten te verlaten en terug te keren naar het hoofdscherm (Figuur 39).

Wanneer een bericht 'stop motor' wordt weergegeven in het InfoCenter, moet de bestuurder de machine onmiddellijk parkeren en de motor uitschakelen. Voorbeelden van schermen met advies zijn:
Important: Indien u de motor blijft gebruiken wanneer een bericht 'stop motor' wordt weergegeven, zal dit leiden tot beschadiging van de motor.
Wanneer de motorbediening (ECU) een ernstige fout detecteert, wordt de indicator voor motor uitschakelen weergegeven (Figuur 40).

Parkeer de machine onmiddellijk en schakel de motor uit.
Vervolgens wordt een bericht over een actieve fout weergegeven (Figuur 41).

Druk op knop 1 tot en met knop 5 om de lijst met actieve fouten te bekijken; raadpleeg Figuur 38 in Adviserende motorberichten.
Druk op knop 1 of 2 om naar boven of naar beneden in de lijst te gaan.
Druk op knop 3 om het audioalarm te dempen.
Druk op knop 5 om de lijst met actieve fouten te verlaten en terug te keren naar het hoofdscherm; zie Figuur 39 in Adviserende motorberichten.
Om de spuitmachine te gebruiken, moet u eerst de spuittank vullen. Vervolgens spuit u het productmengsel op het werkgebied en als u daarmee klaar bent, reinigt u de tank en het spuitsysteem. U moet deze drie stappen achtereenvolgens uitvoeren om schade aan de spuitmachine te voorkomen. Zo mag u chemische stoffen niet 's avonds in de tank gieten en mengen en pas de volgende ochtend gaan spuiten. Hierdoor worden de chemische stoffen gescheiden, hetgeen schade kan toebrengen aan de onderdelen van de spuitmachine.
Chemische stoffen zijn gevaarlijk en kunnen lichamelijk letsel veroorzaken.
Lees de aanwijzingen op het fabrieksetiket voordat u gaat werken met chemische stoffen, en neem alle aanbevelingen en voorzorgsmaatregelen van de fabrikant in acht.
Zorg ervoor dat uw huid niet in contact komt met chemische stoffen. Als dit toch gebeurt, moet u de desbetreffende plek grondig afspoelen met zeep en schoon water.
Draag geschikte persoonlijke beschermingsmiddelen in overeenstemming met de instructies van de fabrikant van de chemische stoffen.
De Multi Pro® spuitmachine is zo ontworpen dat zij duurzaam is en een lange levensduur zal hebben. Om speciale redenen zijn op verscheidene plaatsen op uw spuitmachine verschillende materialen gebruikt om dit doel te verwezenlijken. Helaas bestaat er geen enkele materiaal dat perfect is voor alle voorzienbare spuitwerkzaamheden.
Sommige chemische stoffen zijn agressiever dan andere en elke chemische stof reageert anders met verschillende materialen. Een aantal vaste stoffen (zoals bevochtigbaar poeder, houtskool) heeft een sterker schurende werking en veroorzaakt meer slijtage. Als een chemische stof verkrijgbaar is in een samenstelling die de levensduur van de spuitmachine verlengt, adviseren wij u deze te gebruiken.
Verder moet u natuurlijk altijd uw spuitmachine en spuitsysteem na gebruik grondig reinigen. Dit garandeert een langdurig en probleemloos gebruik van de veldspuit.
Note: Als u vragen hebt of verdere informatie wenst over het spuitbedieningssysteem, raadpleeg dan de Gebruikershandleiding die bij het systeem werd geleverd.
Raadpleeg de Softwaregids van de Multi Pro 5800-D en 5800-G veldspuit met ExcelaRate spuitsysteem indien u meer informatie wenst over:
Vóór het gebruik
Het InfoCenter hoofdscherm
Het scherm hoofdmenu
Submenu's van het scherm hoofdmenu
De schermen onderhoud
De schermen diagnostiek
De schermen betreffende
Tijdens het gebruik
Werkinformatie invoeren
InfoCenter-schermen spuitzones
Meldingen InfoCenter
Raadpleeg de Softwaregids van de Multi Pro 5800-D en 5800-G veldspuit met ExcelaRate spuitsysteem indien u meer informatie wenst over de volgende procedures:
Important: Om ervoor te zorgen dat het product goed gemengd blijft, moet u de mengfunctie steeds gebruiken als er een oplossing in de tank zit.
Zorg dat het spuitsysteem gekalibreerd is volgens de actieve spuitdoppen die u geselecteerd hebt; raadpleeg de Softwaregids van de Multi Pro 5800-D en 5800-G veldspuit met ExcelaRate spuitsysteem.
Draai de knop van de afsluiter van de spuitboomomloop dicht (Figuur 42).

Zet de knop van de spuitmodus op de modus gebruiksdosis (Figuur 43).

Rij de veldspuit naar het grasterrein dat u gaat spuiten.
Als u voor elk werkterrein gegevens als bespoten oppervlakte en gebruikt spuitvolume wilt verzamelen, selecteer dan het scherm van een deelgebied (deelgebieden 1 tot 20) om informatie over het afzonderlijke gebied en het volume vast te leggen; raadpleeg 'Het scherm deelgebied gebruiken' in de Softwaregids van de Multi Pro 5800-D en 5800-G veldspuit met ExcelaRate spuitsysteem.
Note: Wanneer u naar een ander werkterrein rijdt, moet u een ander deelgebiedscherm selecteren om informatie over het afzonderlijke gebied en het volume vast te leggen.
Om de actieve gebruiksdosis in te stellen op waarde 1 of waarde 2, drukt u in het hoofdscherm van InfoCenter tegelijkertijd op knop 1 en 2 om DOSIS 1 te selecteren of op knop 4 en 5 om DOSIS 2 te selecteren; raadpleeg de Softwaregids van de Multi Pro 5800-D en 5800-G veldspuit met ExcelaRate spuitsysteem.
Zet de spuitboomschakelaars in de stand AAN (Figuur 44).

Zet de mengschakelaar en de schakelaar van de spuitpomp in de stand AAN (Figuur 45).

Zet de gashendel op SNEL (Figuur 45).
Laat de machine rijden met de gewenste snelheid en zet de hoofdschakelaar van de spuitbomen op AAN om te beginnen met spuiten (Figuur 44).
Note: Gebruik de hoofdschakelaar van de spuitbomen om de chemicaliënstroom naar de geselecteerde spuitbomen te starten of te stoppen.
Als u klaar bent met spuiten, zet u de hoofdschakelaar van de spuitbomen op UIT om alle spuitbomen uit te schakelen. Daarna zet u de schakelaar van de spuitpomp op UIT.
Note: Zet de buitenste spuitbomen omhoog in de transportstand en rij de spuitmachine naar de plaats waar deze wordt gereinigd.
Important: Breng de spuitbomen altijd omhoog totdat zij geheel kruiselings over elkaar in de transportstand in de transporthouder staan en de hefcilinders volledig zijn teruggetrokken als u de machine van het ene naar het andere spuitgebied rijdt, dan wel naar een plaats waar deze wordt opgeslagen of gereinigd.
Note: Deze procedure gaat ervan uit dat de spuitpomp ingeschakeld is; zie Figuur 45 in Spuiten in de modus gebruiksdosis.
Zorg dat het spuitsysteem afgesteld is volgens de actieve spuitdoppen die u geselecteerd hebt; zie Een spuitdop selecteren.
Zet de knop van de spuitmodus op de manuele modus (Figuur 46).

Zet de hoofdschakelaar van de spuitbomen op UIT; zie Figuur 44 in Spuiten in de modus gebruiksdosis.
Stel de gashendel in op het gewenste toerental om te spuiten; zie Figuur 45 in Spuiten in de modus gebruiksdosis.
Rij naar de spuitlocatie.
Breng de spuitbomen omlaag.
Zet de gewenste spuitboomschakelaars in de stand AAN; zie Figuur 44 in Spuiten in de modus gebruiksdosis.
Stel met de schakelaar voor de gebruiksdosis de gewenste druk in, zoals is aangegeven in de Selectiegids Spuitdoppen die u hebt ontvangen bij de spuitmachine (Figuur 47).

Laat de machine rijden met de gewenste snelheid en zet de hoofdschakelaar van de spuitbomen op AAN om te beginnen met spuiten; zie Figuur 44 in Spuiten in de modus gebruiksdosis.
Note: Als de tank bijna leeg is, kan het mengen leiden tot schuimvorming in de tank. In dit geval moet u de mengschakelaar op UIT zetten. Als alternatief kunt u ook een antischuimmiddel toevoegen aan de tank.
Als u klaar bent met spuiten, zet u de hoofdschakelaar van de spuitbomen op UIT om alle spuitbomen uit te schakelen. Daarna zet u de schakelaar van de spuitpomp op UIT.
Note: Zet de spuitbomen weer in de transportstand en rij de veldspuit naar de plaats waar deze wordt gereinigd.
Important: Breng de spuitbomen altijd omhoog totdat zij geheel kruiselings over elkaar in de transportstand in de transporthouder staan en de hefcilinders volledig zijn teruggetrokken als u de machine van het ene naar het andere spuitgebied rijdt, dan wel naar een plaats waar deze wordt opgeslagen of gereinigd.
Important: U hebt een maatbeker nodig (bij voorkeur een maatbeker met maatstrepen van 0,01 ml) en een stopwatch om deze procedure uit te voeren.
Important: Gebruik indien mogelijk geen teruggewonnen water (grijs water) in de spuittank.
Zorg dat de spuittank schoon is; zie Het spuitsysteem reinigen.
Vul de spuittank met ten minste 568 liter schoon water; zie De tanken vullen.
Zorg dat de spuitdoppen die u gaat testen in de actieve spuitstand staan (omlaag).
Voor machines die gebruikt worden in de modus gebruiksdosis: zorg dat de knop van de afsluiter van de spuitboomomloop dicht is (Figuur 48).

Voor machines die gebruikt worden in de modus gebruiksdosis: zorg dat de afsluiter van de spuitboomomloop dicht is (Figuur 48).
Stel de parkeerrem in werking en start de motor.
Note: Laat de motor 10 minuten warm draaien.
Voor machines die worden gebruikt in de modus gebruiksdosis, voert u de stappen van 'De testsnelheid gebruiken' uit; raadpleeg de Softwaregids van de Multi Pro 5800-D en 5800-G veldspuit met ExcelaRate spuitsysteem.
Note: Stel de gesimuleerde testsnelheid in tussen 4 km/u en 14 km/u.
Zet de spuitboomschakelaar(s) van de spuitbomen die u gaat testen in de stand AAN.
Zet de gashendel op SNEL.
Zet de hoofdschakelaar van de spuitbomen op AAN.
Voer een opvangtest van 15 seconden uit voor 1 van de actieve spuitdoppen.

Zet de hoofdschakelaar van de spuitbomen uit, zet de gashendel in de langzame stand, schakel de pomp van de spuitmachine uit en zet de motor af.
Plaats de maatbeker op een horizontaal oppervlak en noteer het vloeistofvolume (Figuur 50).
Important: Plaats de maatbeker op een horizontaal oppervlak om het volume af te lezen.
Important: Lees het vloeistofvolume in de maatbeker af op het laagste punt van de curve van het vloeistofoppervlak.
Important: Kleine onnauwkeurigheden bij het aflezen van het vloeistofvolume in de maatbeker hebben een aanzienlijke invloed op de nauwkeurigheid van de kalibratie van de spuitmachine.

Vergelijk het watervolume in de maatbeker met het spuitdopvolume in de tabel van de 15 seconden opvangtest.
| Kleur spuitdop | Milliliter opgevangen in 15 seconden | Ounces opgevangen in 15 seconden |
|---|---|---|
| Geel | 189 | 6,4 |
| Rood | 378 | 12,8 |
| Bruin | 473 | 16,0 |
| Grijs | 567 | 19,2 |
| Wit | 757 | 25,6 |
| Blauw | 946 | 32,0 |
| Groen | 1419 | 48,0 |
Als het vloeistofvolume in de maatbeker meer dan 7,4 ml verschilt van het spuitdopvolume in de tabel van de 15 seconden opvangtest, moet u 1 van de volgende dingen doen:
Kalibreer de stroming of vervang versleten spuitdoppen en kalibreer de stroming; raadpleeg de Softwaregids van de Multi Pro 5800-D en 5800-G veldspuit met ExcelaRate spuitsysteem.
Kalibreer de mengomloopklep of vervang versleten spuitdoppen en kalibreer de mengomloopklep; zie De mengomloopklep kalibreren.
Met de hefschakelaars van de spuitbomen op het bedieningspaneel van de spuitmachine kunt u de buitenste spuitbomen in de transportstand of in de spuitstand zetten zonder dat u de bestuurdersstoel hoeft te verlaten. Breng de machine indien mogelijk tot stilstand voordat u de positie van de spuitbomen verandert.
Voer de volgende stappen uit om de buitenste spuitbomen in de spuitstand te zetten:
Parkeer de machine op een horizontaal oppervlak.
Laat de buitenste spuitbomen zakken met behulp van de hefschakelaars van de spuitbomen.
Note: Wacht totdat de buitenste spuitbomen volledig zijn uitgeklapt in de spuitstand.
Voer het spuiten uit en voer dan de volgende stappen uit om de buitenste spuitbomen in de transportstand te zetten:
Important: Als uw machine voorzien is van de Antidriftafdekking voor de spuitbomen, de Ultrasone nivelleerset voor de spuitbomen of beide, moet u de buitenste spuitbomen een per een in de transportstand zetten.Als u beide buitenste spuitbomen tegelijk verplaatst terwijl de afdekkings- of nivelleerset gemonteerd is, kunt u de afdekkingen en/of de sensors beschadigen.
Parkeer de machine op een horizontaal oppervlak.
Breng de buitenste spuitbomen met de hefschakelaars omhoog totdat zij geheel gekruist over elkaar in de transportstand in de transporthouder zijn gezet en de hefcilinders volledig zijn teruggetrokken.
Important: Laat de hefschakelaar(s) van de spuitbomen los zodra de buitenste spuitbomen de gewenste stand hebben bereikt. De actuators tot tegen de mechanische begrenzers laten bewegen kan de hefcilinders en/of andere hydraulische componenten beschadigen.
Important: Zorg ervoor dat de spuitbomen in de transportstand niet in aanraking komen met laag overhangende objecten, dit kan de spuitbomen beschadigen.
Important: De spuitbomen kunnen beschadigd raken als zij niet gekruist worden getransporteerd in de transporthouder.

Important: Om schade aan de hefcilinder te voorkomen, moet u ervoor zorgen dat de actuators volledig zijn ingetrokken voordat u de machine gaat transporteren.
Important: In sommige omstandigheden kan de hitte van de motor, de radiateur en de knaldemper schade toebrengen aan het gras als de spuitmachine wordt gebruikt in een stationaire stand. De machine loopt stationair als u de spuitvloeistof in de tank mengt, handmatig spuit met een spuitpistool of een loopspuitboom gebruikt.
Neem de volgende voorzorgsmaatregelen:
Spuit nooit in een stationaire stand bij zeer hete en/of droge omstandigheden of als het gazon tijdens deze perioden meer te lijden kan hebben.
Parkeer nooit op het gazon als u spuit in de stationaire stand. Parkeer op een pad als dit mogelijk is.
Beperk zoveel mogelijk de tijd dat u de machine in de stationaire stand op een bepaald stuk van het gazon laat staan. Zowel de tijd als de temperatuur is van invloed op de mate waarin het gras wordt beschadigd.
Stel het motortoerental zo laag mogelijk af om de gewenste druk en stroom te verkrijgen. Dit beperkt de hitte die wordt ontwikkeld en de snelheid van de lucht die de koelventilator voortbrengt.
Laat de hitte naar boven ontsnappen vanuit het motorcompartiment door de stoel omhoog te zetten als de machine wordt gebruikt in de stationaire stand, zodat de hitte niet via de onderkant van de machine wordt afgevoerd.
Overlap geen stukken waar u eerder hebt gespoten.
Controleer of er geen spuitdoppen zijn verstopt. Vervang versleten of beschadigde spuitdoppen.
Schakel eerst met de hoofdschakelaar de spuitbomen uit voordat u de veldspuit tot stilstand brengt. Nadat u de machine tot stilstand hebt gebracht, moet u met de gasinstelling de motor op toeren houden, zodat het mengen blijft doorgaan.
U verkrijgt betere resultaten als de spuitmachine in beweging is wanneer u de spuitbomen inschakelt.
Als een spuitdop tijdens het spuiten verstopt raakt, moet u de spuitdop als volgt schoonmaken:
Parkeer de veldspuit op een gelijke ondergrond, zet de motor af en stel de parkeerrem in werking.
Zet de hoofdschakelaar op UIT en zet vervolgens de schakelaar van de spuitpomp op UIT.
Verwijder de verstopte spuitdop en maak deze schoon met een spuitfles met water en een tandenborstel.
Monteer de spuitdop.
Doe het volgende voordat u de bestuurdersstoel verlaat:
Parkeer de machine op een horizontaal oppervlak.
Zet het tractiepedaal in de NEUTRAALSTAND.
Schakel de spuitpomp uit.
Stel de parkeerrem in werking.
Zet de motor uit en verwijder het sleuteltje (indien aanwezig).
Wacht totdat alle bewegende onderdelen tot stilstand zijn gekomen.
Laat de machine afkoelen voordat u er instellingen of onderhoud aan verricht, of de machine schoonmaakt of stalt.
Hebt u het werk met de machine voltooid, spoel dan alle resterende chemicaliën van de buitenkant van de machine en zorg dat het systeem geneutraliseerd en driemaal gespoeld is volgens de aanbevelingen van de fabrikant(en) van de chemische stoffen, en dat al de kleppen 3 cycli hebben doorlopen; raadpleeg het hoofdstuk Chemische veiligheid.
Laat de motor afkoelen voordat u de machine in een afgesloten ruimte stalt.
Stal de machine of het brandstofvat nooit in de buurt van een open vuur, vonken of een waakvlam zoals die van een boiler of een ander apparaat.
Zorg ervoor dat alle onderdelen van de machine in goede staat verkeren en alle bevestigingselementen stevig vastzitten.
Vervang versleten, beschadigde en ontbrekende stickers.
Reinig de machine indien nodig met alleen water of een mild reinigingsmiddel. Bij het schoonmaken van de machine kunt u een doek gebruiken.
Important: Gebruik geen brak of teruggewonnen water om de machine schoon te maken.
Note: Gebruik nooit een hogedrukreiniger om de machine schoon te maken. Hogedrukreinigers kunnen het elektrische systeem beschadigen, belangrijke stickers losweken en noodzakelijk vet op wrijvingspunten wegspoelen. Gebruik niet te veel water in de buurt van het bedieningspaneel, de motor en de accu.
Important: Reinig de machine niet terwijl de motor loopt. De machine reinigen terwijl de motor loopt kan interne motorschade veroorzaken.
Stop de spuitmachine, stel de parkeerrem in werking, zet de motor af en verwijder het contactsleuteltje.
Zoek het aftapventiel van de tank aan het spatbord links achteraan de machine (Figuur 52).
Note: Het aftapventiel zit op een beugel op het spatbord links achteraan.

Til het ventiel op zodat de steunbouten van het ventiel loskomen uit de openingen in de beugel, en trek het ventiel naar achteren (Figuur 53A).

Plaats de opvangbak onder het uiteinde van het ventiel en draai de hendel van het ventiel naar de open stand (Figuur 53B).
Als de tank volledig leeggelopen is, draait u de handgreep van het aftapventiel dicht en monteert u het ventiel op de beugel (Figuur 53B en Figuur 53A).
Important: Voer chemicaliën uit de spuittank af volgens de plaatselijk geldende voorschriften en de instructies van de fabrikant van het materiaal.
| Onderhoudsinterval | Onderhoudsprocedure |
|---|---|
| Na elk gebruik |
|
Important: Gebruik uitsluitend schoon water om de spuitmachine te reinigen.
Important: U moet de spuitmachine en eventuele aangekoppelde spuitwerktuigen altijd onmiddellijk na elk gebruik leeg laten lopen en schoonspoelen. Indien u de spuitmachine niet schoonspoelt en reinigt, kunnen de chemische stoffen uitdrogen en de leidingen, filters, kleppen, spuitdopbehuizingen, pomp en andere onderdelen verstopt raken.
Toro raadt u aan de goedgekeurde spoelset te gebruiken voor deze machine. Neem voor meer informatie contact op met uw erkende Toro verdeler.
Note: De aanbevelingen en instructies die volgen gaan ervan uit dat de Toro spoelspet niet gemonteerd is.
Reinig het spuitsysteem en eventuele aangekoppelde spuitwerktuigen na elke spuitbeurt. Om het spuitsysteem goed te reinigen, moet u als volgt te werk gaan:
Voer 3 afzonderlijke spoelcyclussen uit.
Gebruik de reinigings- en neutraliseermiddelen die worden aanbevolen door de fabrikanten van de chemische stoffen.
Gebruik zuiver, schoon water (zonder reinigings- en neutraliseermiddelen) voor de laatste spoelbeurt.
Vul de tank met minstens 190 liter schoon water en sluit het deksel.
Note: Indien nodig kunt u een reinigings-/neutraliseermiddel toevoegen aan het water. Gebruik alleen schoon water voor de laatste spoeling.
Laat de buitenste spuitbomen neer in de spuitstand.
Start de motor, zet de spuitpompschakelaar AAN en zet de gashendel op een hoog motortoerental.
Zet de mengschakelaar op AAN.
Gebruik de schakelaar voor de gebruiksdosis om de druk te verhogen naar een hoge instelling.
Zet de afzonderlijke spuitboomschakelaars en de hoofdschakelaar van de spuitbomen op AAN.
Controleer of alle spuitdoppen naar behoren werken.
Laat al het water in de tank via de spuitdoppen naar buiten spuiten.
Zet de hoofdschakelaar van de spuitbomen op UIT, zet de mengschakelaar en de schakelaar van de spuitpomp op UIT en zet de motor af.
Herhaal stappen 1 tot en met 9 nog minstens 2 keer om er zeker van te zijn dat het spuitsysteem volkomen is gereinigd.
Important: U moet altijd drie spoelcyclussen uitvoeren om er zeker van te zijn dat het spuitsysteem en de spuitwerktuigen helemaal schoon zijn om schade aan het systeem te voorkomen.
Reinig de zuigkorf en het drukfilter; zie Zuigkorf reinigen en Drukfilter reinigen.
Important: Als u bevochtigbaar poeder gebruikt, moet u de zuigkorf na elke tank reinigen.
Spuit met een tuinslang de buitenkant van de spuitmachine schoon. Gebruik hierbij schoon water.
Verwijder de spuitdoppen en reinig ze met de hand.
Note: Vervang versleten of beschadigde spuitdoppen.
Note: Als uw machine optionele spuitdopfilters heeft, maak deze dan schoon voordat u de spuitdoppen monteert; zie Spuitdopfilter reinigen.
| Onderhoudsinterval | Onderhoudsprocedure |
|---|---|
| Bij elk gebruik of dagelijks |
|
Plaats de machine op een horizontaal oppervlak, stel de parkeerrem in werking, schakel de spuitpomp uit, zet de motor af en verwijder het sleuteltje.
Verwijder bovenaan de spuittank de borgclip waarmee de slangfitting bevestigd is aan de grote slang van de behuizing van de zuigkorf (Figuur 54).

Verwijder de slang en de slangfitting van de behuizing van de zuigkorf (Figuur 54).
Trek de zuigkorf uit zijn behuizing in de tank (Figuur 55).

Reinig de zuigkorf met schoon water.
Important: Vervang de zuigkorf als deze beschadigd is of niet goed kan worden gereinigd.
Plaats de zuigkorf in het huis totdat deze goed op zijn plaats zit.
Lijn de slang en de slangfitting uit met de behuizing van de korf bovenaan de tank en bevestig de fitting en de behuizing met de borgclip die u verwijderd hebt in stap 2.
| Onderhoudsinterval | Onderhoudsprocedure |
|---|---|
| Bij elk gebruik of dagelijks |
|
Plaats de machine op een horizontaal oppervlak, stel de parkeerrem in werking, schakel de spuitpomp uit, zet de motor af en verwijder het sleuteltje.
Plaats een opvangbak onder het drukfilter (Figuur 56).

Draai de aftapdop linksom en neem ze van de bak van het drukfilter (Figuur 56).
Note: Laat de bak volledig leeglopen.
Draai de bak linksom en verwijder de filterkop (Figuur 56).
Verwijder het drukfilterelement (Figuur 56).
Reinig het filterelement met schoon water.
Important: Vervang het filter als dit beschadigd is of niet grondig kan worden gereinigd.
Controleer de pakking voor de aftapplug (in de bak) en de pakking voor de bak (in de filterkop) op schade en slijtage (Figuur 56).
Important: Vervang beschadigde of versleten pakkingen voor de plug, de bak of beide.
Monteer het drukfilterelement in de filterkop (Figuur 56).
Note: Zorg dat het filterelement stevig in de filterkop zit.
Maak de bak handmatig vast op de filterkop (Figuur 56).
Monteer de aftapdop op de fitting onderaan de bak en draai de dop handmatig vast (Figuur 56).
Plaats de machine op een horizontaal oppervlak, stel de parkeerrem in werking, schakel de spuitpomp uit, zet de motor af en verwijder het sleuteltje.
Neem de spuitdop uit de houder Figuur 57

Verwijder het spuitdopfilter (Figuur 57).
Reinig het spuitdopfilter met schoon water.
Important: Vervang de zuigkorf als deze beschadigd is of niet goed kan worden gereinigd.
Monteer het spuitdopfilter (Figuur 57).
Note: Verzeker dat het filter goed op zijn plaats zit.
Monteer de spuitdop op de spuitdophouder (Figuur 57).
| Onderhoudsinterval | Onderhoudsprocedure |
|---|---|
| Na elk gebruik |
|
Specificatie conditioner: propyleenglycol ‘niet-toxisch antivriesmiddel’ met corrosieremmer
Important: Gebruik alleen propyleenglycol met corrosieremmer. Gebruik geen recyclede propyleenglycol. Gebruik geen antivriesmiddel op basis van ethyleenglycol.Gebruik geen propyleenglycol waaraan oplosbare alcoholen (methanol, ethanol of isopropanol) of pekelproducten zijn toegevoegd.
Rij de machine naar een horizontaal oppervlak, stel de parkeerrem in werking, schakel de motor uit en verwijder het sleuteltje.
Voeg als volgt conditioner toe aan de tank:
Voor propyleenglycol antivriesmiddel dat klaar is om te gebruiken (voorgemengd): voeg 37,8 liter propyleenglycol antivriesmiddel toe in de tank.
Voor geconcentreerd propyleenglycol antivriesmiddel voert u de volgende stappen uit:
Voeg in de spuittank een mengsel van 37,8 liter toe dat bestaat uit propyleenglycol antivriesmiddel en water. Bereid het antivriesmengsel voor zoals aangegeven door de fabrikant voor een concentraat dat geschikt is voor temperaturen tot minimaal -45 °C.
Important: Gebruik uitsluitend schoon water om de spuitmachine te reinigen.
Start de motor en zet de spuitpompschakelaar op AAN.
Trap het gaspedaal in om het motortoerental te verhogen.
Zet de mengschakelaar op AAN.
Laat de conditioner en de wateroplossing gedurende 3 minuten of langer circuleren.
Aanbevolen tool: een doorzichtige maatbeker.
Rij de machine naar het gebied met de afvoerplaat en stel de parkeerrem in werking.
Laat de buitenste spuitbomen neer.
Zet de schakelaars voor de linker, middelste en rechter spuitboom en de hoofdschakelaar van de spuitbomen op AAN.
Laat het spuitsysteem spuiten totdat de spuitdoppen de conditioner hebben afgevoerd.
Note: De meeste propyleenglycol antivriesmiddelen hebben een roze kleur. Gebruik de maatbeker om bij verschillende spuitdoppen monsters te nemen van de uitstroming van de spuitmachine.
Zet de hoofdschakelaar van de spuitbomen, de 3 schakelaars van de spuitbomen, de mengschakelaar en de spuitpompschakelaar uit en zet de motor af.
Gebruik een aanhanger of vrachtwagen om de machine over lange afstanden te transporteren.
Gebruik een oprijplaat van volledige breedte bij het laden van de machine op een aanhanger of vrachtwagen.
Maak de buitenste spuitbomen vast aan de transporthouders van de spuitbomen.
Bind de machine stevig vast op het transportvoertuig; Figuur 58 en Figuur 59 illustreren de bevestigingspunten van de machine.


In noodgevallen kan de spuitmachine over een korte afstand worden gesleept nadat u de sleepklep hebt geopend. Toro adviseert echter hiervan geen standaardprocedure te maken.
Als u het voertuig bij een te hoge snelheid sleept, kunt u de macht over het stuur verliezen. Dit kan letsel veroorzaken.
Sleep de machine nooit sneller dan 4,8 km per uur.
De machine moet worden gesleept door 2 personen. Als de machine over een grote afstand moet worden verplaatst, moet u deze vervoeren op een vrachtwagen of een aanhanger; zie De machine transporteren.
Laat het uitlaatsysteem volledig afkoelen.
Verwijder het scherm van het onderstel; zie Toegang krijgen tot de motor.
Open de sleepklep (Figuur 60) door deze 90° in een van beide richtingen te draaien.

Important: Als u de sleepklep niet opent voordat u de spuitmachine gaat slepen, kan schade aan de transmissie ontstaan.
Bevestig een sleepkabel aan het frame; zoek de sleeppunten voor- en achteraan (Figuur 61 en Figuur 62).


Zet de parkeerrem vrij.
Sleep de machine niet sneller dan 4,8 km per uur.
Als u klaar bent, sluit u de sleepklep en draait u deze vast met een torsie van 7 tot 11 N·m.
Important: Breng het scherm van het onderstel opnieuw aan voordat u de machine weer in gebruik neemt; zie Toegang krijgen tot de motor.
Note: Download het elektrische of hydraulische schema gratis op www.Toro.com; u kunt uw machine zoeken via de link Handleidingen op de hoofdpagina.
Important: Raadpleeg de gebruikershandleiding van de motor voor verdere onderhoudsprocedures.
Note: Bepaal vanuit de normale bedieningspositie de linker- en rechterzijde van de machine.
Doe het volgende voordat u de bestuurdersstoel verlaat:
Parkeer de machine op een horizontaal oppervlak.
Zet het tractiepedaal in de NEUTRAALSTAND.
Stel de parkeerrem in werking.
Zet de motor uit en verwijder het sleuteltje (indien aanwezig).
Wacht totdat alle bewegende onderdelen tot stilstand zijn gekomen.
Laat de onderdelen van de machine afkoelen voordat u onderhoudswerkzaamheden uitvoert.
De machine mag uitsluitend worden onderhouden, gerepareerd, afgesteld of geïnspecteerd door vakbekwame en erkende technici.
Reinig en spoel de spuitmachine grondig voordat u onderhoudswerkzaamheden uitvoert; raadpleeg het onderdeel Chemische veiligheid.
Chemische stoffen die worden gebruikt in het spuitsysteem kunnen gevaarlijk en giftig zijn voor de gebruiker, omstanders, dieren, planten, de bodem of eigendommen.
U moet de waarschuwingsetiketten en de veiligheidsinformatiebladen voor alle gebruikte chemische stoffen zorgvuldig lezen en in acht nemen, en uzelf beschermen volgens de instructies van de fabrikant van de chemische stoffen.
Bescherm altijd uw huid als u in de buurt van chemische stoffen bent. Om te voorkomen dat u in aanraking komt met chemische stoffen, dient u geschikte persoonlijke beschermingsmiddelen (PPE) te gebruiken, waaronder de volgende:
oogbescherming, veiligheidsbril en/of gelaatsscherm
een chemicaliënpak
een stof- of filtermasker
handschoenen die bestand zijn tegen chemicaliën
rubberen laarzen of ander stevig schoeisel
schone reservekleding, zeep en wegwerphanddoeken om uzelf schoon te maken
Weiger de machine te gebruiken of er werkzaamheden aan te verrichten als deze informatie niet beschikbaar is.
De machine niet vullen, kalibreren of reinigen wanneer er mensen, in het bijzonder kinderen, of huisdieren in de buurt zijn.
Zorg voor een goede ventilatie van de ruimte waar u werkt met chemische stoffen.
Zorg ervoor dat er schoon water voorhanden is, in het bijzonder als u de spuittank vult.
Niet eten, drinken of roken als u in de buurt van chemische stoffen werkt.
Spuitdoppen niet schoonmaken door erin te blazen of ze in uw mond te nemen.
Was uw handen en andere onbedekte lichaamsdelen altijd zo snel mogelijk nadat u met chemische stoffen hebt gewerkt.
Chemische stoffen en dampen in de tank zijn gevaarlijk; blijf altijd buiten de tank en houd uw hoofd nooit boven of in de opening van een tank.
Om de machine in goede staat te houden moet u verzekeren dat alle bevestigingsmiddelen goed zijn aangetrokken.
Om het risico van brand te verminderen, moet u de omgeving van de motor vrij van overtollig vet, chemische stoffen, gras, bladeren en vuil houden.
Als u de motor moet laten lopen om onderhouds- of afstelwerkzaamheden uit te voeren, moet u uw kleding, handen, voeten en andere lichaamsdelen uit de buurt van de motor en bewegende delen houden. Houd iedereen op afstand.
Stel de rijsnelheid van de machine niet af. Ten behoeve van de veiligheid en een nauwkeurige afstelling moet u de rijsnelheid laten controleren door een erkende Toro verdeler.
Indien een belangrijke reparatie nodig is of u technische hulp wilt, moet u contact opnemen met een erkende Toro verdeler.
Elke aanpassing van deze machine die gevolgen heeft voor de werking, prestaties, levensduur of het gebruik van de machine, kan lichamelijk of dodelijk letsel veroorzaken. Dergelijke veranderingen kunnen ertoe leiden dat de garantie op het product komt te vervallen.
Ondersteun de machine met assteunen als u onder de machine werkt.
Haal voorzichtig de druk van onderdelen met opgeslagen energie.
| Onderhoudsinterval | Onderhoudsprocedure |
|---|---|
| Na de eerste 8 bedrijfsuren |
|
| Na de eerste 50 bedrijfsuren |
|
| Na de eerste 200 bedrijfsuren |
|
| Bij elk gebruik of dagelijks |
|
| Na elk gebruik |
|
| Om de 50 bedrijfsuren |
|
| Om de 100 bedrijfsuren |
|
| Om de 200 bedrijfsuren |
|
| Om de 400 bedrijfsuren |
|
| Om de 800 bedrijfsuren |
|
| Om de 1000 bedrijfsuren |
|
| Om de 2000 bedrijfsuren |
|
| Jaarlijks |
|
Kopieer deze pagina ten behoeve van gebruik bij routinecontroles.
|
Gecontroleerd item |
Voor week van: |
||||||
|---|---|---|---|---|---|---|---|
|
maandag |
dinsdag |
woensdag |
donderdag |
vrijdag |
zaterdag |
zondag |
|
|
Werking van rem en parkeerrem controleren. | |||||||
|
Werking van de schakelaar van de neutraalvergrendeling controleren. | |||||||
|
Brandstofpeil controleren. | |||||||
|
Controleer het motoroliepeil. | |||||||
|
Controleer het peil van de hydraulische vloeistof. | |||||||
|
Koelvloeistofpeil controleren. | |||||||
|
Luchtfilter controleren. | |||||||
|
Radiateur en oliekoeler controleren op vuil. | |||||||
|
Controleren of motor ongewone geluiden maakt. | |||||||
|
Controleren of de machine tijdens gebruik ongewone geluiden maakt. | |||||||
|
De bandenspanning controleren. | |||||||
|
Controleren op lekkages. | |||||||
|
Alle hydraulische leidingen en slangen controleren kinken, loszittende steunen, beschadigingen of slijtage. | |||||||
|
Werking van instrumenten controleren. | |||||||
|
Werking van het gaspedaal controleren. | |||||||
|
Zuigkorf reinigen. | |||||||
|
Vet in alle smeerpunten spuiten.1 | |||||||
|
Was de machine. | |||||||
|
Beschadigde lak bijwerken. | |||||||
1Onmiddellijk na elke wasbeurt, ongeacht het voorgeschreven interval
| Controle uitgevoerd door: | ||
| Item | Datum | Informatie |
| 1 | ||
| 2 | ||
| 3 | ||
| 4 | ||
| 5 | ||
| 6 | ||
| 7 | ||
| 8 | ||
| 9 | ||
| 10 | ||
Als u het sleuteltje in de starterschakelaar laat, bestaat de kans dat iemand de motor per ongeluk start, waardoor u en andere omstanders ernstig letsel kunnen oplopen.
Verwijder het sleuteltje uit de starterschakelaar voordat u onderhoudswerkzaamheden uitvoert aan de machine.
Als u de motor laat lopen om routine-onderhoudswerkzaamheden uit te voeren en/de motor te testen, moeten de achterwielen van de machine zich 25 mm boven de grond bevinden, waarbij de achteras moet steunen op de steunpunten van de krik.
Een opgekrikte machine kan wankel staan en van de krik glijden waardoor iemand die zich onder de machine bevindt, letsel kan oplopen
Haal altijd het sleuteltje uit de starterschakelaar voordat u van de spuitmachine stapt.
Blokkeer de wielen als de machine is opgekrikt.
Ondersteun de machine met assteunen.
Het krikpunt aan de voorkant van de spuitmachine bevindt zich onder de vooras, direct onder de bladveren (Figuur 63).

Het krikpunt aan de achterkant van de spuitmachine bevindt zich op de achterkant waar de spuitboomdragers zitten (Figuur 64).

Stel de parkeerrem in werking, schakel de spuitpomp uit, zet de motor af en verwijder het contactsleuteltje.
Zet de voor- en achterkant van de machine op assteunen; zie De spuitmachine omhoog brengen.
Verwijder de 6 zeskantbouten en 6 ringen waarmee het voorste hittescherm aan het chassis is bevestigd en verwijder het scherm (Figuur 65).
Note: Bewaar de bouten, de ringen en het hittescherm voor montage in Monteren van het voorste hittescherm.

Lijn de achterste flens van het voorste hittescherm uit over de voorste flens van het achterste hittescherm (Figuur 66).

Lijn de gaten in het voorste hittescherm uit met de schroefdraadgaten in het chassis (Figuur 66).
Monteer het voorste hittescherm op de machine; gebruik hierbij de 6 zeskantbouten en 6 ringen (Figuur 66) die u verwijderd hebt in stap 3 van Verwijder het voorste hittescherm .
Draai de bouten vast met een torsie van 19,78 tot 25,42 N·m.
Verwijder de assteunen en breng de machine omlaag.
Verwijder de 5 flenskopbouten (5/16" x ⅞") en 5 ringen (5/16") waarmee het scherm van het onderstel achteraan vastzit aan het chassis van de machine (Figuur 67).
Note: Bewaar de flenskopbouten en ringen om deze te monteren in stap 5 van Het scherm van het onderstel monteren.


Verwijder de 4 flenskopbouten (5/16") van de bouten en de slotbout waarmee de bevestigingslippen van het scherm van het onderstel bevestigd zijn aan de bevestigingsbeugels van de motor van de machine (Figuur 68).
Note: De bouten niet van de machine verwijderen. Bewaar de flensborgmoeren voor montage in stap 3 van Het scherm van het onderstel monteren.

Neem de bevestigingslippen van de bouten waarmee het scherm van het onderstel bevestigd is aan de bevestigingsbeugels van de motor.
Verwijder het scherm van het onderstel van de machine (Figuur 67 en Figuur 68).
Lijn het scherm van het onderstel uit met het onderste chassis van de machine; zie Figuur 68 in Het scherm van het onderstel verwijderen.
Plaats de bevestigingslippen van het scherm van het onderstel over de bouten en de slotbout aan de bevestigingsbeugels van de motor van de machine; zie Figuur 68 in Het scherm van het onderstel verwijderen.
Monteer het scherm van het onderstel op de bevestigingsbeugels en -bouten van de motor (Figuur 68); gebruik de 4 flensborgmoeren (5/16") die u verwijderd hebt in stap 2 van Het scherm van het onderstel verwijderen.
Lijn de gaten in het achterste gedeelte van het scherm van het onderstel uit met de gaten in het chassis; zie Figuur 67 in Het scherm van het onderstel verwijderen.
Monteer het achterste gedeelte van het scherm van het onderstel op het chassis (Figuur 67); gebruik hierbij de 5 flenskopbouten (5/16" x ⅞") en 5 ringen (5/16") die u verwijderd hebt in stap 1 van Het scherm van het onderstel verwijderen.
Draai de moeren en bouten vast met een torsie van 11,29 tot 25,42 N·m.
Lijn de openingen in het inspectieluik van de stoelbasis uit met de openingen in de stoelbasis (Figuur 69).
Monteer het inspectieluik van de stoelbasis op de stoelbasis; gebruik hierbij de 2 flenskopbouten (Figuur 69) die u verwijderd hebt in stap 1 van Het inspectieluik van de stoelbasis verwijderen.
Draai de bouten vast met een torsie van 19,75 tot 25,42 N·m.
| Onderhoudsinterval | Onderhoudsprocedure |
|---|---|
| Om de 50 bedrijfsuren |
|
Type vet: Nr. 2 vet op lithiumbasis. Toro Premium universeel smeervet is verkrijgbaar bij uw erkende Toro verdeler.
Stuurcilinder – 2 smeernippels aan elk stanguiteinde van de cilinder
Stuurstang – 2 smeernippels aan elk stanguiteinde
Scharnierpunt van as – 2 smeernippels aan elke zijde van de machine
Veeg overtollig vet weg.
Note: De smeernippels zijn aangegeven in Figuur 71.


| Onderhoudsinterval | Onderhoudsprocedure |
|---|---|
| Om de 100 bedrijfsuren |
|
Important: Als u de spuitboomscharnieren afspoelt met water, moet al het water en vuil van het scharnier worden verwijderd en moet u nieuw vet op het scharnier smeren.
Type vet: Nr. 2 vet op lithiumbasis.
Veeg de smeernippels schoon zodat er geen ongerechtigheden kunnen binnendringen in het lager of de lagerbus.
Pomp vet in het lager of de lagerbus bij elke smeernippel (Figuur 73).

Veeg overtollig vet weg.
Herhaal deze procedure bij alle draaiarmen van de spuitbomen.
| Onderhoudsinterval | Onderhoudsprocedure |
|---|---|
| Om de 400 bedrijfsuren |
|
Type vet: Nr. 2 vet op lithiumbasis.
Laat de buitenste spuitbomen neer in de spuitstand.
Verwijder de R-pen van de gaffelpen (Figuur 74).
Til de spuitboom op, verwijder de gaffelpen en laat de spuitboom langzaam op de grond zakken (Figuur 74).
Controleer de gaffelpen op beschadigingen en vervang de pen indien nodig.

Draai aan het lager aan het uiteinde van de stang en spuit vet in het lager (Figuur 75).
Note: Veeg overtollig vet weg.

Hef de spuitboom op zodat het draaipunt en de actuatorstang zich in een lijn bevinden.
Ondersteun de spuitboom en steek de gaffelpen door het draaipunt van de spuitboom en de actuatorstang (Figuur 74).
Als de pen op zijn plaats is, laat u de spuitboom los en zet u de gaffelpen vast met de borgpen die u eerder hebt verwijderd.
Herhaal stap 2 tot en met 8 voor het lager van de actuatorstang aan de andere kant van de machine.
U moet de motor afzetten voordat u het oliepeil controleert of het carter bijvult met olie.
| Onderhoudsinterval | Onderhoudsprocedure |
|---|---|
| Bij elk gebruik of dagelijks |
|
Stel de parkeerrem in werking, schakel de spuitpomp uit, zet de motor af en verwijder het contactsleuteltje.
Kantel de passagiersstoel naar voren en lijn de steunstang uit met de pal in het geleidergat van de steunstang.
Veeg de stofkap en het luchtfilterhuis schoon (Figuur 76).

Controleer de luchtfilterbehuizing op schade die een luchtlek kan veroorzaken (Figuur 76).
Note: Vervang de stofkap en het luchtfilterhuis als een van beide beschadigd is.
Knijp in de stofklep zodat vuil en stof eraf valt (Figuur 76).
Zet de 2 grendels los waarmee de stofkap bevestigd is aan het luchtfilterhuis.
Controleer het luchtfilterelement op overmatige opstapeling van vuil en stof (Figuur 76).
Note: Het luchtfilterelement niet reinigen als het vuil is, maar wel vervangen.
Monteer de stofkap op het luchtfilterhuis en bevestig de kap met de 2 grendels (Figuur 76).
Note: Zorg dat de stofkap tussen de 5- en de 7-uurstand staat vanaf het uiteinde bekeken.
Laat de passagiersstoel zakken.
| Onderhoudsinterval | Onderhoudsprocedure |
|---|---|
| Om de 100 bedrijfsuren |
|
Als u een nieuw filter installeert, controleer het nieuwe luchtfilterelement (ook het uiteinde van het filter dat moet aansluiten) dan op beschadiging veroorzaakt tijdens de verzending.
Important: Een beschadigde filter mag niet worden gemonteerd.
Veeg de stofkap en het luchtfilterhuis schoon (Figuur 76).
Til de expansietank van de koelvloeistof van de steunbeugel van de tank (Figuur 77).

Zet de 2 grendels los waarmee de stofkap bevestigd is aan het luchtfilterhuis (Figuur 77).
Schuif het oude filterelement voorzichtig uit het luchtfilterhuis om zo weinig mogelijk stof te verplaatsen.
Note: Zorg ervoor dat u niet met het filterelement tegen het luchtfilterhuis stoot.
Veeg de binnenkant van de stofkap, het luchtfilterhuis en de stofklep schoon met een vochtige doek (Figuur 76 en Figuur 77).
Steek het luchtfilterelement in de luchtfilterbehuizing (Figuur 77).
Note: Zorg ervoor dat het filter naar behoren in het luchtfilterhuis zit door de buitenring van het filterelement aan te drukken als u het filter monteert. Druk niet op het flexibele middengedeelte van het filter.
Monteer het deksel op het luchtfilterhuis en maak het vast met de 2 grendels (Figuur 77).
Note: Zorg dat de stofkap tussen de 5- en de 7-uurstand staat vanaf het uiteinde bekeken (Figuur 77).
Lijn de expansietank van de koelvloeistof uit met de steunbeugel van de tank, en zet de tank stevig op zijn plaats (Figuur 77).
Important: Zorg dat de overdrukslang naar voren en beneden wordt geleid, en de tankontluchtingsslang naar achteren zoals in Figuur 77.
Laat de passagiersstoel zakken.
Type olie: API-onderhoudsclassificatie SL of hoger.
Viscositeit olie: raadpleeg de onderstaande tabel over de motorolieviscositeit.
| Bereik van omgevingstemperatuur | Olieviscositeit |
| Boven 25 °C | SAE 30, SAE 10W-30 of SAE 15W-40 |
| 0 °C tot 25 °C | SAE 20 of SAE 10W-30 |
| 0 °C tot 20 °C | SAE 10W of SAE 10W-30 |
Toro Premium motorolie is verkrijgbaar bij uw dealer met een viscositeit van 15W-40 of 10W-30. Raadpleeg de Onderdelencatalogus voor de onderdeelnummers.
| Onderhoudsinterval | Onderhoudsprocedure |
|---|---|
| Bij elk gebruik of dagelijks |
|
Note: De beste tijd om de motorolie te controleren is wanneer de motor koud is voordat deze is gestart voor de dag. Als de motor heeft gedraaid, moet u de olie eerst terug naar het carter laten lopen gedurende ten minste 10 minuten voordat u controleert.
Het carter van de motor is in de fabriek gevuld met olie. Desondanks dient u het oliepeil te controleren voordat u de motor voor de eerste keer start en daarna nog eens.
Plaats de machine op een horizontaal oppervlak.
Verwijder de peilstok die zich onder de passagiersstoel bevindt en veeg hem af met een schone doek (Figuur 78).
Note: Steek de peilstok in de buis. Let erop dat de peilstok er volledig in schuift. Haal de peilstok eruit en controleer het oliepeil.


Als het oliepeil te laag is, moet u de vuldop losmaken van het klepdeksel (Figuur 78) en olie in de vulbuis gieten totdat het peil de Vol-markering op de peilstok bereikt.
Note: Vul de olie langzaam bij en controleer daarbij veelvuldig het peil. Niet te vol vullen.
Plaats de olievuldop (Figuur 78).
Plaats de peilstok weer stevig op zijn plaats (Figuur 78).
| Onderhoudsinterval | Onderhoudsprocedure |
|---|---|
| Na de eerste 50 bedrijfsuren |
|
| Om de 200 bedrijfsuren |
|
Verwijder het voorste hittescherm; zie Verwijder het voorste hittescherm .
Til de stoelen op.
De onderdelen onder de stoel zullen heet zijn als de spuitmachine in gebruik is geweest. U kunt zich verbranden als u hete onderdelen aanraakt.
Laat de machine afkoelen voordat u onderhoudswerkzaamheden uitvoert of onderdelen onder de motorkap aanraakt.
Zet een opvangbak onder het motoroliefilter (Figuur 79).

Verwijder het oude oliefilter (Figuur 79).
Note: Het gebruikte oliefilter afgeven bij een erkende inzamelplaats.
Veeg het oppervlak van het oliefiltertussenstuk van de motor schoon met een doek.
Vul het oliefilter met de aanbevolen olie.
Note: Laat het filterelement zich vullen met olie.
Smeer een dun laagje van de aanbevolen olie op de rubberen pakking van het vervangoliefilter.
Monteer het oliefilter op het filtertussenstuk en draai het oliefilter rechtsom tot de rubberen pakking het filtertussenstuk raakt. Draai vervolgens het filter nog een halve slag aan (Figuur 79).
Note: Draai het oliefilter niet te vast.
Veeg overtollige olie weg.
5,1 liter met filter; zie Aanbevolen motorolie.
| Onderhoudsinterval | Onderhoudsprocedure |
|---|---|
| Na de eerste 50 bedrijfsuren |
|
| Om de 200 bedrijfsuren |
|
Plaats een opvangbak onder de aftapplug (Figuur 79).
Verwijder de aftapplug (Figuur 79) en laat alle olie weglopen.
Note: Controleer de pakking van de aftapplug op slijtage en beschadiging; vervang de pakking als deze versleten of beschadigd is.
Note: Geef de oude olie af bij een erkend inzamelcentrum.
Plaats de aftapplug in de aftappoort van het motoroliecarter en draai de plug vast met 33 tot 37 N·m.
Kantel de passagiersstoel naar voren en lijn de steunstang uit met de pal in het geleidergat van de steunstang.
Verwijder de olievuldop uit de vulbuis van het klepdeksel van de motor (Figuur 80) en giet langzaam ongeveer 80% van de aanbevolen hoeveelheid olie in de vulbuis.

Haal de peilstok eruit en controleer het oliepeil in de motor (Figuur 80).
Giet langzaam extra olie van het aanbevolen type bij totdat het oliepeil de Vol-markering op de peilstok bereikt (Figuur 80).
Important: De motor te vol gieten kan de motor beschadigen.
Breng de olievuldop aan in de vulbuis en plaats de peilstok in de peilstokbuis (Figuur 80).
Start de motor en controleer op olielekkages.
Schakel de motor uit, wacht 2 tot 3 minuten, haal de peilstok eruit en controleer het oliepeil in de motor.
Note: Verwijder indien nodig de olievuldop, vul bij met de gespecificeerde olie om het oliepeil naar de Vol-markering op de peilstok te brengen, en plaats de olievuldop.
Plaats de peilstok, het hittescherm van de motor en kantel de stoelen naar beneden.
| Onderhoudsinterval | Onderhoudsprocedure |
|---|---|
| Om de 1000 bedrijfsuren |
|
Kantel de bestuurdersstoel naar voren en lijn de steunstang uit met de pal in het geleidergat van de steunstang.
Verwijder de PCV-klep van de fitting van het klepdeksel (Figuur 81).
Note: Scheid de slang niet van de PCV-klep.

Schud de PCV-klep.
Note: Als de interne restrictor van de klep rammelt, kan er onderhoud worden uitgevoerd aan de PCV-klep. Als de interne restrictor niet vrij is om te rammelen wanneer de PCV-klep geschud wordt, moet u de PCV-klep vervangen (Figuur 81).
Plaats de PCV-klep totdat deze volledig in de afdichting voor de fitting van het klepdeksel zit (Figuur 81).
Laat de bestuurdersstoel zakken.
| Onderhoudsinterval | Onderhoudsprocedure |
|---|---|
| Om de 400 bedrijfsuren |
|
Verricht alle jaarlijkse onderhoudsprocedures die staan vermeld in de Gebruikershandleiding van de motor.
In bepaalde omstandigheden zijn brandstof en brandstofdampen uiterst ontvlambaar en explosief. Brand of explosie van brandstof kan brandwonden of materiële schade veroorzaken.
Gebruik een trechter om de tank te vullen; brandstof uitsluitend in de open lucht bij een afgezette of koude motor bijvullen. Neem eventueel gemorste brandstof op.
Vul de brandstoftank niet helemaal. Vul de brandstoftank tot 25 mm vanaf de onderkant van de vulbuis. Dit geeft de brandstof in de tank ruimte om uit te zetten.
Rook nooit wanneer u met brandstof bezig bent en houd de brandstof weg van open vlammen of vonken.
Bewaar de brandstof in schone, veilige en goedgekeurde brandstofcontainers en zorg ervoor dat de dop op zijn plaats blijft.
| Onderhoudsinterval | Onderhoudsprocedure |
|---|---|
| Na de eerste 50 bedrijfsuren |
|
| Om de 400 bedrijfsuren |
|
Inspecteer de leidingen en fittings op slijtage, beschadigingen of loszittende verbindingen.
Note: Merkt u brandstoflekken, repareer dan defecte onderdelen van het brandstofsysteem voordat u de machine gebruikt.
Gebruik deze procedure nadat u het brandstoffilter een onderhoudsbeurt hebt gegeven of zonder brandstof bent gevallen en de motor niet start.
Zorg ervoor dat de brandstoftank voor de helft is gevuld met brandstof.
Breng de sleutel in het contact en draai het naar de stand AAN.
Draai het contactsleuteltje naar de stand UIT.
Probeer de motor te starten.
Als de motor niet start, moet u stap 2 en 3 verschillende keren herhalen en dan proberen de motor te starten.
Note: Herhaal stap 5 tot de motor start.
| Onderhoudsinterval | Onderhoudsprocedure |
|---|---|
| Om de 400 bedrijfsuren |
|
Stel de parkeerrem in werking, schakel de spuitpomp uit, zet de motor af en verwijder het sleuteltje.
Verwijder aan de brandstoftank de 4 schroeven (nr. 10 x ¾") waarmee de kap bovenaan de brandstoftank is bevestigd, en verwijder de kap (Figuur 82).

Stel de parkeerrem in werking, schakel de spuitpomp uit, zet de motor af en verwijder het sleuteltje.
Verwijder aan de brandstoftank de 4 schroeven (nr. 10 x ¾") waarmee de beugel van de koolstofhouder bovenaan de brandstoftank is bevestigd (Figuur 83).

Maak de 2 slangklemmen los waarmee de slangen aan de fittings van de koolstofhouder zijn bevestigd (Figuur 84).

Scheid de slangen van de fittings (Figuur 85).

Verwijder de slangklemmen van de slangen (Figuur 85).
Verwijder de koolstofhouder van de brandstoftank (Figuur 85).
Koppel de connector met 2 contacten van de machinekabelboom los van de connector met 2 pinnen van de brandstofpomp/verzendingseenheid; koppel de connector met 2 pinnen van de machinekabelboom los van de connector met 2 contacten van de brandstofpomp/verzendingseenheid (Figuur 86).

Schuif de vergrendelingshuls van de koppeling van de brandstofslang weg van de fitting van de brandstofpomp/verzendingseenheid en verwijder de koppeling en de slang van de fitting (Figuur 86).
Note: Neem brandstof die uit de koppeling van de slang of brandstofpompfitting vloeit op.
Draai de moer voor de brandstofpomp/verzendingseenheid linksom en verwijder de moer en afdichting (Figuur 86).
Til de brandstofpomp/verzendingseenheid voorzichtig op en draai deze uit de nek van de brandstoftank (Figuur 87).
Important: Wees voorzichtig wanneer u omgaat met de brandstofpomp/verzendingseenheid om te vermijden dat u de arm voor de vlotter van de verzendingseenheid beschadigt.

Verwijder de aanzuigbuis van het brandstoffilter van de fitting van de brandstofpomp (Figuur 88).
Note: Gooi het brandstoffilter weg.

Lijn de aanzuigbuis van het nieuwe brandstoffilter uit met de fitting van de brandstofpomp (Figuur 88).
Lijn het lange gedeelte van het brandstoffilter uit met de vlotter wanneer de arm van de vlotter zich in de lege stand bevindt (Figuur 88).
Steek de fitting van de brandstofpomp in de aanzuigbuis tot de fitting goed op zijn plaats zit (Figuur 88).
Ondersteun de arm van de vlotter en de aanzuigbuis samen en schuif de vlotter en het brandstoffilter in de opening in de brandstoftank (Figuur 87).
Important: Zorg ervoor dat de vlotter en het lange gedeelte van het filter naar voren wijzen in de tank en dat de fitting aan de bovenkant van de brandstofpomp 90° naar de middenlijn van de machine wijst.
Bevestig de brandstofpomp/verzendingseenheid in de opening in de tank (Figuur 87 en Figuur 88).
Plaats de afdichting en moer over de brandstofpomp/verzendingseenheid en op de nek van de brandstoftank en draai de moer handmatig vast (Figuur 87).
Sluit de koppeling op de brandstofslang aan op de fitting van de brandstofpomp (Figuur 87).
Note: Zorg ervoor dat de vergrendelingshuls van de brandstofslangkoppeling de koppeling aan de pompfitting bevestigt.
Sluit de connector met 2 contacten van de machinekabelboom aan op de connector met 2 pinnen van de brandstofpomp/verzendingseenheid; sluit de connector met 2 pinnen van de machinekabelboom aan op de connector met 2 contacten van de brandstofpomp/verzendingseenheid (Figuur 87).
Draai de starterschakelaar op AAN en controleer de koppeling van de brandstofslang op lekkages.
Note: Als de koppeling lekt, draait u de starterschakelaar naar UIT, verwijdert u het sleuteltje, verwijdert u de koppeling, controleert u de koppeling en fitting op vuil of schade en monteert u de slang en de koppeling op de fitting.
Note: Herstel brandstoflekken voordat u naar de volgende stap gaat.
Monteer de kap op de tank (Figuur 89) met de 4 schroeven (nr. 10 x ¾") die u verwijderd hebt in stap 2 van Het deksel van de brandstofpomp verwijderen.

Draai de schroeven vast met een torsie van 113 N·cm.
Lijn de slangen van de brandstoftank uit door de pakkingringen van de beugel van de koolstofhouder (Figuur 90).

Monteer de slangklemmen over de slangen (Figuur 90).
Monteer de slangen op de fittings van de koolstofhouder (Figuur 90).
Bevestig de slangen met de klemmen aan de fittings (Figuur 91).

Lijn de gaten in de beugel van de koolstofhouder uit met de gaten in de brandstoftank (Figuur 92).

Monteer de beugel aan de tank (Figuur 92) met de 4 schroeven (nr. 10 x ¾")
Draai de schroeven vast met een torsie van 113 N·cm.
| Onderhoudsinterval | Onderhoudsprocedure |
|---|---|
| Om de 400 bedrijfsuren |
|
Als het brandstofsysteem vervuild raakt of als u de machine voor langere tijd wilt stallen, moet u de brandstoftank aftappen en reinigen. Gebruik bij het reinigen verse, schone brandstof om de brandstoftank te spoelen.
Breng de brandstof met een sifonpomp over vanuit de tank naar een goedgekeurd vat of blik. Breng de brandstof over van de machine voordat u resterende brandstof in de tank giet door de vulbuis en in een brandstofvat.
Note: Als u beslist om de brandstoftank te verwijderen, moet u de brandstofslang en elektrische connectoren loskoppelen van de brandstofpomp en de verzendingseenheid; zie De brandstofpomp en de verzendingseenheid verwijderen.
Spoel de brandstoftank indien nodig om met verse, schone brandstof.
Vervang de brandstoffilters; zie Brandstoffilter vervangen.
Plaats de tank terug als u deze tijdens stap 1 hebt verwijderd.
Note: Als u de brandstoftank hebt verwijderd, moet u de brandstofslang en elektrische connectoren aansluiten op de brandstofpomp en de verzendingseenheid; zie De brandstofpomp en de verzendingseenheid monteren.
Vul de brandstoftank met verse, schone brandstof.
Koppel de accu af voordat u reparaties aan de machine verricht. Maak eerst de minpool van de accu los en daarna de pluspool. Bevestig eerst de pluspool van de accu en daarna de minpool.
Laad de accu op in een open, goed geventileerde ruimte, uit de buurt van vonken en open vuur. Haal de oplader uit het stopcontact voordat u de accu aan- of loskoppelt.
Draag beschermende kleding en gebruik geïsoleerd gereedschap.
Het zekeringblok voor het elektrische systeem bevindt zich onder de bestuurdersstoel (Figuur 93).

| Onderhoudsinterval | Onderhoudsprocedure |
|---|---|
| Om de 50 bedrijfsuren |
|
Houd de accu altijd schoon en volledig geladen. Gebruik een tissue om de accu en de accubak schoon te maken. Als de accupolen zijn geoxideerd, moet u deze schoonmaken met een oplossing van vier delen water en één deel zuiveringszout. Breng een laagje vet op de accupolen aan om corrosie te voorkomen.
Spanning: 12 V, 690 A, koude start bij 18°C.
Plaats de spuitmachine op een horizontaal oppervlak, stel de parkeerrem in werking, schakel de spuitpomp uit, zet de motor af en verwijder het sleuteltje.
Verwijder het accudeksel en maak de negatieve (zwarte) aardingskabel los van de accupool (Figuur 94).

Als accukabels verkeerd worden geleid, kan dit schade aan de spuitmachine en de kabels tot gevolg hebben en vonken veroorzaken. Hierdoor kunnen accugassen tot ontploffing komen, waardoor lichamelijk letsel kan ontstaan.
Maak altijd de minkabel (zwart) van de accu los voordat u de pluskabel (rood) losmaakt.
Sluit altijd de pluskabel (rood) van de accu aan voordat u de minkabel (zwart) aansluit.
Accupolen of metalen gereedschappen kunnen kortsluiting maken met metalen onderdelen van de machine, waardoor vonken kunnen ontstaan. Hierdoor kunnen accugassen tot ontploffing komen en lichamelijk letsel veroorzaken.
Zorg ervoor dat bij het verwijderen of installeren van de accu de accupolen niet in aanraking komen met metalen onderdelen van de machine.
Voorkom dat metalen gereedschappen kortsluiting veroorzaken tussen de accupolen en metalen onderdelen van de machine.
Zorg ervoor dat de accuhouder altijd op zijn plaats zit om de accu te beschermen en vast te zetten.
Maak de pluskabel (rood) los van de accupool.
Verwijder de accu.
Plaats de accu in de accubak en zorg ervoor dat de accupolen weg van de sproeier wijzen.
Sluit de pluskabel (rood) aan op de pluspool (+) van de accu en de minkabel (zwart) op de minpool (–) van de accu met behulp van de bouten en de moeren.
Schuif het isolatorkapje over de pluspool van de accu heen.
Plaats het accudeksel en bevestig het met de band die u eerder verwijderd hebt (Figuur 94).
Important: Zorg ervoor dat de accuhouder altijd op zijn plaats zit om de accu te beschermen en vast te zetten.
Important: Houd de accu altijd volledig geladen. Dit is vooral belangrijk om beschadiging van de accu te voorkomen bij temperaturen onder 0 °C.
Verwijder de accu van het chassis; zie Accu verwijderen.
Sluit een acculader van 3 tot 4 A aan op de accupolen en laad de accu op gedurende 4 tot 8 uur bij 3 tot 4 A (12 V).
Important: De accu niet te ver opladen.
Monteer de accu in het chassis; zie Accu monteren.
Als u de machine langer dan 30 dagen stalt, moet u de accu verwijderen en volledig opladen. U moet de accu apart opslaan of in de machine laten zitten. Koppel de kabels van de accu als u de accu tijdens stalling op de machine laat zitten. Sla de accu op in een koele omgeving om te voorkomen dat de batterij snel ontlaadt. Om te voorkomen dat de accu bevriest, moet deze volledig zijn opgeladen.
| Onderhoudsinterval | Onderhoudsprocedure |
|---|---|
| Na de eerste 8 bedrijfsuren |
|
| Na de eerste 200 bedrijfsuren |
|
| Om de 100 bedrijfsuren |
|
| Om de 400 bedrijfsuren |
|
Draai de moeren van de voorwielen vast met een torsie van 75 tot 102 N·m en de moeren van de achterwielen met een torsie van 95 tot 122 N·m.
Ongelukken tijdens werkzaamheden, zoals een botsing tegen een trottoirband, kunnen een band of een velg beschadigen en de wieluitlijning verstoren. Daarom moet u na een ongeluk de conditie van de banden controleren.
SAE 85W-140 transmissieolie
| Onderhoudsinterval | Onderhoudsprocedure |
|---|---|
| Om de 400 bedrijfsuren |
|

Met de machine op een egale ondergrond zet u het wiel zodanig dat de vulplug zich bovenaan bevindt (12 uur) en de aftapplug onderaan (6 uur) (Figuur 96).

Verwijder de controleplug (Figuur 53).
Het smeermiddel moet tot onderaan de schroefdraad in de opening van de controleplug komen.

Controleer de O-ringen van de controleplug op schade.
Indien de O-ring beschadigd is, moet u deze vervangen.
Als het peil van het smeermiddel te laag is, verwijder dan de vulplug en vul bij met het aanbevolen smeermiddel tot dit uit de opening van de controleplug begint te stromen (Figuur 98); zie Aanbevolen smeermiddel van de planeetwielaandrijving.

Controleer de O-ringen van de vulplug op schade.
Indien de O-ring beschadigd is, moet u deze vervangen.
Plaats de vulplug en de controleplug (Figuur 98).
Herhaal stap 1 tot en met 6 voor de planeetwielaandrijving aan de andere kant van de machine.
| Onderhoudsinterval | Onderhoudsprocedure |
|---|---|
| Na de eerste 50 bedrijfsuren |
|
| Om de 800 bedrijfsuren |
|
Met de machine op een egale ondergrond zet u het wiel zodanig dat de vulplug zich bovenaan bevindt (12 uur) en de aftapplug onderaan (6 uur); zie Figuur 96 in Het smeermiddel van de planeetwielaandrijving controleren.
Plaats een opvangbak onder de naaf van de planeetwielaandrijving, verwijder de aftapplug, de vulplug en de controleplug en laat al het smeermiddel weglopen (Figuur 99).

Controleer de aftapplug en de vulplug op metaaldeeltjes.
Als er metaaldeeltjes op de aftapplug en de vulplug zitten, moet u de planeetwielaandrijving repareren.
Controleer de O-ringen van de aftapplug, de vulplug en de controleplug op schade.
Indien de O-ring(en) beschadigd is/zijn, moet u deze vervangen.
Plaats de aftapplug.
Plaats een opvangbak onder de remkast, verwijder de aftapplug en laat al het smeermiddel in de bak lopen (Figuur 100).

Breng de aftapplug aan in de remkast.
0,62 liter; zie Aanbevolen smeermiddel van de planeetwielaandrijving
Giet traag de aanbevolen transmissieolie in de opening van de vulplug; zie Figuur 98 in Het smeermiddel van de planeetwielaandrijving controleren.
Het smeermiddel moet tot onderaan de schroefdraad in de opening van de controleplug komen.
Important: Als de planeetwielaandrijving vol is voordat u de aanbevolen hoeveelheid smeermiddel hebt toegevoegd, moet u 1 uur wachten of de plugs monteren en de machine ongeveer drie meter verplaatsen om het smeermiddel over het remsysteem te verdelen. Verwijder vervolgens de plugs en voeg het resterende smeermiddel toe.
Laat het smeermiddel 10 minuten zakken, controleer het peil van het smeermiddel en voeg indien nodig smeermiddel toe tot het peil tot onderaan de schroefdraad in de opening van de controleplug reikt.
Plaats de vulplug en de controleplug; zie Figuur 98 in Het smeermiddel van de planeetwielaandrijving controleren.
Herhaal stap Het smeermiddel van de planeetwielaandrijving aftappen en De planeetwielaandrijving vullen met smeermiddel voor de planeetwielaandrijving aan de andere kant van de machine.
| Onderhoudsinterval | Onderhoudsprocedure |
|---|---|
| Om de 200 bedrijfsuren |
|
De afstand tussen de voorste middellijn van de wielen moet 0 tot 3 mm korter zijn dan de afstand tussen de achterste middellijn van de voorwielen.
Controleer de banden en breng ze op spanning; zie Bandenspanning controleren.
Meet ter hoogte van de as de afstand tussen de voorwielen aan de voorkant en de achterkant van de wielen (Figuur 101).
Note: De afstand tussen de voorkant van de wielen moet 0 tot 3 mm korter zijn dan de afstand tussen de achterkant van de voorwielen.

Als deze afstand buiten het gespecificeerde bereik valt, moet u de contramoeren aan beide uiteinden van de trekstang losdraaien (Figuur 102).

Draai de trekstang om de voorzijde van het wiel naar binnen of naar buiten te draaien.
Draai de contramoeren van de trekstang weer vast als de afstelling correct is.
Zorg dat het stuur in beide richtingen even ver draaien.
Motorkoelvloeistof inslikken kan vergiftiging veroorzaken; buiten bereik van kinderen en huisdieren houden.
Als u hete, onder druk staande koelvloeistof over u heen krijgt of in aanraking komt met een hete radiateur of omliggende delen, kunt u ernstige brandwonden oplopen.
Laat de motor minstens 15 minuten afkoelen voordat u de radiateurdop verwijdert.
Gebruik een doek als u de radiateurdop verwijdert en draai de dop langzaam open om de stoom te laten ontsnappen.
Gebruik de machine nooit zonder dat de kappen zijn geplaatst.
Houd uw vingers, handen en kleding uit de buurt van een draaiende ventilator en aandrijfriem.
Het koelvloeistofreservoir is in de fabriek gevuld met een 50/50 verhouding van water en ethyleenglycol extended life koelvloeistof. Controleer het peil van de koelvloeistof voordat u de motor voor de eerste keer start en daarna dagelijks; zie Het koelvloeistofpeil controleren.
De volgende in de handel verkrijgbare koelvloeistoffen of een door de fabrikant gespecificeerd equivalent dat voldoet aan de specificatie van long life koelvloeistof:
|
Ford (Motorcraft™) |
WSS-M97B44-D |
|
FCA – Chrysler (Mopar™) |
MS-12106 |
|
General Motors (AC Delco™) |
GM6277M (Dex-Cool™) |
|
GMW 3420 |
|
|
Volkswagen |
G12 |
|
G12+ |
|
|
G12++ |
|
|
Koelvloeistoffen die voldoen aan de technische normen ASTM D3306 of D4985, of SAE J1034, J814 of 1941. |
|
|
Important: Ga niet af op de kleur van de koelvloeistof om het verschil te bepalen tussen conventionele (IAT) en extended life (OAT) koelvloeistoftypes.Fabrikanten van koelvloeistof kunnen extended life koelvloeistof (OAT) kleuren in een van de volgende kleuren: rood, roze, oranje, geel, blauw, groenblauw, violet en groen. |
|
|
Ethyleenglycol vloeistoftype |
Type corrosieremmer |
Onderhoudsinterval |
|
Extended life antivries |
Organisch-zuurinhibitortechnologie (OAT, Organic-acid technology) |
5 jaar |
|
Conventionele antivries (groen) |
Anorganische zuren technologie (IAT, Inorganic-acid technology) |
2 jaar |
Note: Wanneer u de machine vult met koelvloeistof, zult u het koelsysteem niet beschadigen door conventionele (IAT) antivries te mengen met extended life (OAT) antivries. Antivriestypes mengen tast echter de long life/extended life eigenschap van de OAT-formule aan.
Important: Het onderhoudsinterval van een mengsel van conventionele (IAT) en extended life (OAT) koelvloeistof – in om het even welke verhouding – duurt zo lang als de koelvloeistof met het kortste onderhoudsinterval: 2 jaar.
| Onderhoudsinterval | Onderhoudsprocedure |
|---|---|
| Bij elk gebruik of dagelijks |
|
Als de motor heeft gelopen, zal de koelvloeistof heet zijn en onder druk staan. Als u de radiateurdop verwijdert en de koelvloeistof heet is, kan deze naar buiten spuiten en ernstige brandwonden veroorzaken.
Laat de motor minstens 15 minuten afkoelen voordat u de radiateurdop losdraait.
Important: Giet pas koelvloeistof in een oververhitte motor wanneer deze volledig is afgekoeld. Als een u koelvloeistof in een oververhitte motor giet, bestaat de kans dat het motorblok gaat scheuren.
Plaats de spuitmachine op een horizontaal oppervlak.
Stel de parkeerrem in werking, schakel de spuitpomp uit, zet de motor af en verwijder het contactsleuteltje.
Verwijder voorzichtig de doppen van de radiateur en de expansietank (Figuur 103).

Controleer het koelvloeistofpeil in de radiateur en de expansietank.
Note: De radiateur moet worden gevuld tot de bovenkant van de vulbuis en de expansietank tot de Vol-markering op de tank (Figuur 103).
Als het koelvloeistofpeil te laag staat, verwijdert u de doppen van de radiateur en expansietank en vult u de expansietank tot de vol-markering en de radiateur tot de bovenkant van de vulbuis (Figuur 103).
Important: Vul de expansietank niet te vol.
Important: Gebruik geen koelvloeistof op basis van alcohol/methanol of alleen water.
Plaats de doppen van de radiateur en de expansietank terug (Figuur 103).
5,5 liter; zie Aanbevolen koelvloeistof
| Onderhoudsinterval | Onderhoudsprocedure |
|---|---|
| Om de 400 bedrijfsuren |
|
De eigenaar dient voor de volgende benodigdheden te zorgen: een handthermometer voor de koelvloeistof.
Plaats de spuitmachine op een horizontaal oppervlak, stel de parkeerrem in werking, schakel de spuitpomp uit, zet de motor af en verwijder het sleuteltje.
Wacht tot de motor is afgekoeld en verwijder de radiateurdop (Figuur 103).
Plaats een grote opvangbak onder de radiateur.
Open de aftapklep en laat de koelvloeistof in de bak lopen (Figuur 104).

Sluit de aftapklep (Figuur 104).
Verwijder de radiateurdop (Figuur 103).
Vul de radiateur langzaam met koelvloeistof tot ongeveer 25 mm onder het afdichtingsoppervlak van de dop.
Note: Gebruik voldoende vloeistof om de motor en de leidingen van het systeem te vullen. Hierdoor kan de koelvloeistof uitzetten zonder dat deze overloopt als de motor warm wordt.
Start de motor terwijl de dop los op de radiateur zit (Figuur 103).
Laat de motor warm worden totdat de thermostaat opengaat.
Note: De thermostaat van de motor moet opengaan wanneer de handthermometer aangeeft dat de koelvloeistof 79 tot 88 °C is.
Als de koelvloeistof is opgewarmd, moet u het koelvloeistofpeil laten dalen tot het afdichtingsoppervlak en de dop vastzetten (Figuur 103).
Open de dop van de expansietank en vul de tank met koelvloeistof tot deze het peil Koud bereikt (Figuur 103).
Controleer het koelvloeistofpeil nadat u de motor verschillende keren hebt gestart en uitgeschakeld.
Note: Vul indien nodig de radiateur en expansietank bij met koelvloeistof.
Als de vrije slag van het rempedaal meer dan 25 mm bedraagt voordat u weerstand voelt, moeten de remmen als volgt worden afgesteld:
Plaats de spuitmachine op een horizontaal oppervlak, zet de spuitpomp af, schakel de motor uit en verwijder het sleuteltje.
Stel de parkeerrem in werking.
Plaats blokken onder de wielen blokkeren om te voorkomen dat de machine gaat rollen.
Zet de parkeerrem vrij.
Draai de voorste contramoeren op remkabels onder het vooreinde van de spuitmachine los (Figuur 105).

Draai de achterste contramoeren gelijkmatig vast totdat het rempedaal een vrije slag van 1 tot 2 cm heeft voordat u weerstand voelt (Figuur 105).
Important: Zorg ervoor dat u beide achterste moeren gelijkmatig vastdraait zodat de draadeinden van de remkabels tegenover de voorste moeren dezelfde lengte hebben.
Draai de voorste contramoeren vast.
| Onderhoudsinterval | Onderhoudsprocedure |
|---|---|
| Na de eerste 8 bedrijfsuren |
|
| Om de 100 bedrijfsuren |
|
Controleer de conditie en de spanning van de riem van de wisselstroomdynamo/koelventilator Vervang de riem indien dit nodig is.
Plaats de spuitmachine op een horizontaal oppervlak, stel de parkeerrem in werking, schakel de spuitpomp uit, zet de motor af en verwijder het sleuteltje.
Controleer de spanning van de riem van de wisselstroomdynamo door de riem in het midden tussen de poelies van de wisselstroomdynamo en de krukas in te drukken met een kracht van 10 kg.
Note: De riem moet een speling van 10 tot 12 mm hebben. Als de riem te veel speling heeft, gaat u verder naar stap 3. Als de speling van de riem correct is, kunt u de rest van deze procedure overslaan en uw werkzaamheden met de spuitmachine voortzetten.
Draai de bout los aan het scharnierpunt van de wisselstroomdynamo; zet de bout los waarmee de wisselstroomdynamo bevestigd is aan de beugel met sleuf (Figuur 106).

Plaats een breekijzer tussen de wisselstroomdynamo en de motor en wrik de wisselstroomdynamo voorzichtig naar buiten toe.
Als de juiste spanning is verkregen, draait u de wisselstroomdynamo en de bouten van de beugel vast om de afstelling te borgen.
Draai de borgmoer vast om de afstelling te borgen.
Waarschuw onmiddellijk een arts als er hydraulische vloeistof is geïnjecteerd in de huid. Geïnjecteerde vloeistof moet binnen enkele uren operatief worden verwijderd door een arts.
Voer alle druk in het hydraulische systeem veilig af voordat u hieraan werkzaamheden gaat verrichten.
Controleer of alle hydraulische slangen en leidingen in goede staat verkeren en alle hydraulische aansluitingen en fittings stevig vastzitten voordat u druk zet op het hydraulische systeem.
Houd lichaam en handen uit de buurt van kleine lekgaten of spuitmonden waaruit onder hoge druk hydraulische vloeistof ontsnapt.
U kunt lekken in het hydraulische systeem opsporen met behulp van karton of papier.
Het reservoir is in de fabriek gevuld met hoogwaardige hydraulische vloeistof. Controleer het peil van de hydraulische vloeistof voordat u de motor voor het eerst start, en vervolgens dagelijks; zie Hydraulische vloeistof controleren.
Aanbevolen hydraulische vloeistof: Toro PX Extended Life hydraulische vloeistof; verkrijgbaar in emmers van 19 liter of vaten van 208 liter.
Note: Een machine waarin de aanbevolen bijvulvloeistof wordt gebruikt, moet minder vaak bijgevuld worden en het filter moet minder vaak worden vervangen.
Andere hydraulische vloeistoffen: Als de Toro PX Extended Life hydraulische vloeistof niet verkrijgbaar is, kunt u een andere conventionele, petroleumgebaseerde hydraulische vloeistof gebruiken die aan de volgende materiaaleigenschappen en de industrienormen voldoet. Gebruik geen synthetische vloeistof. Vraag uw smeermiddelenleverancier naar een geschikt product.
Note: Toro aanvaardt geen enkele aansprakelijkheid voor schade die wordt veroorzaakt door gebruik van verkeerde vervangende vloeistoffen. Gebruik daarom uitsluitend producten van gerenommeerde fabrikanten die garant staan voor de door hen aanbevolen vloeistoffen.
| Materiaaleigenschappen: | ||
| Viscositeit, ASTM D445 | cSt bij 40 °C 44 tot 48 | |
| Viscositeitsindex ASTM D2270 | 140 of hoger | |
| Stolpunt, ASTM D97 | -37 °C tot -45 °C | |
| Industriespecificaties: | Eaton Vickers 694 (I-286-S, M-2950-S/35VQ25 of M-2952-S) | |
Note: Veel hydraulische vloeistoffen zijn bijna kleurloos, zodat het moeilijk is lekkages op te sporen. Er is een rode kleurstof voor de hydraulische vloeistof verkrijgbaar in flesjes van 20 ml. Eén flesje is voldoende voor 15 tot 22 l hydraulische vloeistof. U kunt deze kleurstof bestellen bij een erkende Toro dealer (onderdeelnr. 44-2500).
Important: Toro Premium synthetische, biologisch afbreekbare hydraulische vloeistof is de enige biologisch afbreekbare vloeistof die door Toro is goedgekeurd. Deze vloeistof is compatibel met de elastomeren die worden gebruikt in hydraulische systemen van Toro, en is geschikt voor een groot aantal temperatuursomstandigheden. Deze vloeistof is compatibel met gangbare minerale olie, maar met het oog op maximale biologische afbreekbaarheid en goede prestaties moet gewone vloeistof grondig uit het hydraulische systeem worden gespoeld. De olie is verkrijgbaar in emmers van 19 liter of vaten van 208 liter bij een erkende Toro verdeler.
| Onderhoudsinterval | Onderhoudsprocedure |
|---|---|
| Bij elk gebruik of dagelijks |
|
Important: Als de vloeistof verontreinigd raakt, neem dan contact op met een erkende Toro distributeur om het systeem te laten spoelen.Verontreinigde hydraulische vloeistof ziet er in vergelijking met schone vloeistof melkachtig of zwart uit.
Plaats de spuitmachine op een horizontaal oppervlak, stel de parkeerrem in werking, schakel de spuitpomp uit, zet de motor af en verwijder het sleuteltje.
Maak schoon rond de dop van de peilstok van de tank met hydraulische vloeistof en verwijder de dop (Figuur 107).

Important: Ga zeer voorzichtig te werk zodat er geen vuil of andere verontreinigende stoffen in de opening komen als u de vloeistof controleert.
Veeg de peilstok schoon met een vod en duw hem volledig terug in de tank.
Haal de peilstok uit de vulbuis en controleer het vloeistofpeil (Figuur 108).
Note: Het vloeistofpeil moet zich ter hoogte van de onderste markering op de peilstok bevinden wanneer de vloeistof koud is.

Als het vloeistofpeil te laag is, vult u de tank bij met de vermelde hydraulische vloeistof tot het peil tot de onderste markering reikt; zie Specificaties hydraulische vloeistof.
Plaats de dop van de peilstok op de tank en zet vast.
| Onderhoudsinterval | Onderhoudsprocedure |
|---|---|
| Om de 800 bedrijfsuren |
|
| Om de 1000 bedrijfsuren |
|
Hete hydraulische vloeistof kan ernstige brandwonden veroorzaken.
Laat de hydraulische vloeistof afkoelen voordat u onderhoudswerkzaamheden verricht aan het hydraulische systeem.
Important: Als u een ander filter gebruikt, kan de garantie op sommige onderdelen komen te vervallen.
Gebruik het vervangende filter van Toro (Zie uw Onderdelenhandleiding voor het juiste onderdeelnr.)
Plaats de spuitmachine op een horizontaal oppervlak, stel de parkeerrem in werking, schakel de spuitpomp uit, zet de motor af en verwijder het sleuteltje.
Zoek de 2 hydraulische filters van de machine (Figuur 109 en Figuur 110).
Note: 1 filter bevindt zich onder de tank voor hydraulische vloeistof en het andere filter achteraan de machine op het frame.
Voorste filter – onder de hydraulische tank.

Achterste filter – op het frame van de machine.

Reinig de omgeving van de plaats waar het filter wordt gemonteerd.
Plaats een opvangbak onder het filter.
Verwijder het filter.
Geef het gebruikte filter af bij een erkend inzamelcentrum.
Smeer de nieuwe filterpakking met schone hydraulische vloeistof; zie Hydraulische vloeistof controleren.
Maak het montagegebied van het filter schoon met een doek.
Schroef het filter erop totdat de pakking contact maakt met de bevestigingsplaat: draai het filter vervolgens nog eens een ½ slag vast.
Start de motor, stel de gashendel in op hoog stationair en laat de motor 3 tot 5 minuten lopen om lucht uit het hydraulische systeem te verwijderen.
Zet de motor af en controleer of het peil van de hydraulische vloeistof correct is en of het systeem lekt; zie Hydraulische vloeistof controleren.
54 liter; zie Specificaties hydraulische vloeistof
| Onderhoudsinterval | Onderhoudsprocedure |
|---|---|
| Om de 800 bedrijfsuren |
|
| Om de 2000 bedrijfsuren |
|
Hete hydraulische vloeistof kan ernstige brandwonden veroorzaken.
Laat de hydraulische vloeistof afkoelen voordat u onderhoudswerkzaamheden verricht aan het hydraulische systeem.
Important: Als u andere vloeistof gebruikt, kan de garantie op sommige onderdelen komen te vervallen.
Vervang de filters van de hydraulische vloeistof; zie Hydraulische filters vervangen.
Reinig de omgeving van een fitting van een hydraulische slang onderaan de hydraulische tank (Figuur 111).

Plaats een grote opvangbak onder de fittings van de hydraulische tank.
Verwijder de fitting van de slang uit de tank zodat de vloeistof in de opvangbak kan lopen (Figuur 111).
Geef de oude vloeistof af bij een erkend recyclingcentrum.
Monteer de slang en de fitting aan de tank en zet deze stevig vast.
Vul de hydraulische tank met ongeveer 53 liter van de aanbevolen hydraulische vloeistof of een gelijkwaardige vloeistof, zie Specificaties hydraulische vloeistof.
Start de motor, stel de gashendel in op hoog stationair en laat de motor 3 tot 5 minuten lopen om lucht uit het hydraulische systeem te verwijderen.
Zet de motor af en controleer of het peil van de hydraulische vloeistof correct is en of het systeem lekt; zie Hydraulische vloeistof controleren.
| Onderhoudsinterval | Onderhoudsprocedure |
|---|---|
| Om de 200 bedrijfsuren |
|
| Om de 400 bedrijfsuren |
|
Controleer alle slangen van het spuitsysteem op scheuren, lekken of andere schade. Controleer tegelijkertijd de aansluitingen en fittingen op soortgelijke schade. Vervang slangen en fittingen als deze beschadigd zijn.
| Onderhoudsinterval | Onderhoudsprocedure |
|---|---|
| Om de 400 bedrijfsuren |
|
Note: Kies de gewenste maasgrootte van de zuigkorf voor uw toepassing, zie Een zuigkorf kiezen.
Plaats de machine op een horizontaal oppervlak, stel de parkeerrem in werking, schakel de spuitpomp uit, zet de motor af en verwijder het sleuteltje.
Verwijder bovenaan de spuittank de borgclip waarmee de slangfitting bevestigd is aan de grote slang van de behuizing van de zuigkorf (Figuur 112).

Verwijder de slang en de slangfitting van de behuizing van de zuigkorf (Figuur 112).
Verwijder de oude zuigkorf uit de behuizing in de tank (Figuur 113).
Note: Gooi het oude filter weg.

Monteer de nieuwe zuigkorf in de behuizing.
Note: Verzeker dat de korf goed op zijn plaats zit.
Lijn de slang en de slangfitting uit met de behuizing van de korf bovenaan de tank en bevestig de fitting en de behuizing met de borgclip die u verwijderd hebt in stap 2.
| Onderhoudsinterval | Onderhoudsprocedure |
|---|---|
| Om de 400 bedrijfsuren |
|
Plaats de machine op een horizontaal oppervlak, zet de spuitpomp af, schakel de motor uit en verwijder het sleuteltje.
Plaats een opvangbak onder het drukfilter (Figuur 114).

Draai de aftapplug linksom en neem ze van de bak van het drukfilter (Figuur 114).
Note: Laat de bak volledig leeglopen.
Draai de bak linksom en verwijder hem van de filterkop (Figuur 114).
Verwijder het oude drukfilterelement (Figuur 114).
Note: Gooi het oude filter weg.
Controleer de O-ring voor de aftapplug (in de bak) en de O-ring voor de bak (in de filterkop) op schade en slijtage (Figuur 114).
Note: Vervang beschadigde of versleten O-ringen voor de plug, de bak of beide.
Monteer het nieuwe drukfilterelement in de filterkop (Figuur 114).
Note: Zorg dat het filterelement stevig in de filterkop zit.
Maak de bak handmatig vast op de filterkop (Figuur 114).
Maak de plug met de hand vast op de bak (Figuur 114).
Note: Kies de gewenste maasgrootte van het spuitdopfilter voor uw toepassing, zie Een spuitdopfilter kiezen (optioneel).
Plaats de machine op een horizontaal oppervlak, stel de parkeerrem in werking, schakel de spuitpomp uit, zet de motor af en verwijder het sleuteltje.
Neem de spuitdop uit de houder Figuur 115

Verwijder het oude spuitdopfilter (Figuur 115).
Note: Gooi het oude filter weg.
Monteer het nieuwe spuitdopfilter (Figuur 115).
Note: Verzeker dat de korf goed op zijn plaats zit.
Monteer de spuitdop op de spuitdophouder (Figuur 115).
Stel de parkeerrem in werking, start de motor en zet de gashendel op stationair.
Breng de linker of rechter buitenste spuitboom langzaam omhoog tot deze zich dicht bij de bovenste buis van de houder bevindt.
Maak de 2 stelschroeven los waarmee de onderste buis van de houder bevestigd is (Figuur 116).

Draai de houder tot de bocht in de houderbuis uitgelijnd is met het schuifblok aan de bovenste buis van de buitenste spuitboom (Figuur 117).

Draai de 2 stelschroeven vast met een torsie van 1978 tot 2542 N·cm.
Laat de buitenste spuitbomen neer.
Breng de andere buitenste spuitboom langzaam omhoog tot deze de houder raakt.
Als een van de bovenste houderbuizen niet goed uitgelijnd is met de schuifblokken, moet u stap 2 tot en met 7 herhalen.
Note: De blokken moeten de houder aan de bocht in de bovenste houderbuis raken (Figuur 117).
Breng beide buitenste spuitbomen volledig omhoog, zet de motor af, verwijder het contactsleuteltje en wacht totdat alle bewegende onderdelen tot stilstand zijn gekomen.
De volgende procedure kan worden gebruikt voor het instellen van de actuators op het midden om linker en rechter spuitboom op hetzelfde niveau te houden.
Klap de spuitbomen in de spuitstand.
Verwijder de borgpen van de draaipen (Figuur 118).

Til de spuitboom op en verwijder de pen (Figuur 118), en laat de spuitboom langzaam op de grond zakken.
Controleer de pen op beschadigingen en vervang deze indien dit nodig is.
Houd de actuatorstang vast aan de platte kanten van de stang met een sleutel en draai dan de contramoer los (Figuur 119).

Draai het stanguiteinde in de actuatorstang om de uitstekende actuator te verkorten of te verlengen tot de gewenste stand (Figuur 119).
Note: Draai het stanguiteinde in halve of volledige slagen zodat u de stang aan de spuitboom kunt monteren.
Draai de contramoer vast om de actuator en het stanguiteinde te bevestigen.
Hef de spuitboom op zodat het draaipunt en de actuatorstang zich in een lijn bevinden.
Houd de spuitboom vast en steek de pen door het draaipunt van de spuitboom en het stanguiteinde (Figuur 118).
Als de pen op zijn plaats is, laat u de spuitboom los en zet u de pen vast met de borgpen die u eerder hebt verwijderd.
Herhaal de procedure voor de andere actuatorstang indien nodig.
| Onderhoudsinterval | Onderhoudsprocedure |
|---|---|
| Om de 400 bedrijfsuren |
|
Plaats de machine op een horizontaal oppervlak, stel de parkeerrem in werking, schakel de spuitpomp uit, zet de motor af en verwijder het sleuteltje.
Zet de spuitbomen in de spuitstand en ondersteun de spuitbomen met steunen of hijsbanden en hijsvoorzieningen.
Verwijder de bout en moer waarmee draaipen bevestigd is, en verwijder de pen (Figuur 120).

Verwijder de spuitboom en de draaibeugel van het eindkanaal van het middelste frame om bij de nylon draaibussen te kunnen komen.
Verwijder de draaibussen van de voor- en achterkant van de draaibeugel en controleer deze (Figuur 120).
Note: Vervang versleten of beschadigde bussen.
Smeer de nylon draaibussen in met een beetje olie en monteer de bussen in de draaibeugel (Figuur 120).
Lijn de openingen in de draaibeugel uit met de openingen in het eindkanaal (Figuur 120).
Plaats de draaipen en zet deze vast met de flensbout en de flensborgmoer die u in stap 3 verwijderd hebt.
Herhaal stap 2 tot en met 8 voor de andere buitenste spuitboom.
| Onderhoudsinterval | Onderhoudsprocedure |
|---|---|
| Om de 400 bedrijfsuren |
|
Note: De volgende onderdelen zijn onderhevig aan slijtage door gebruik, tenzij deze gebreken vertonen, en vallen niet onder de dekking van de garantie op deze machine.
Laat een erkende Toro distributeur de volgende inwendige onderdelen van de pomp op schade controleren:
Pompmembranen
Afsluitkleppen van pomp
Vervang deze onderdelen indien noodzakelijk.
Reinig de machine indien nodig met alleen water of een mild reinigingsmiddel. Bij het schoonmaken van de machine kunt u een doek gebruiken.
Important: Gebruik geen brak of teruggewonnen water om de machine schoon te maken.
Note: Gebruik nooit een hogedrukreiniger om de machine schoon te maken. Hogedrukreinigers kunnen het elektrische systeem beschadigen, belangrijke stickers losweken en noodzakelijk vet op wrijvingspunten wegspoelen. Gebruik niet te veel water in de buurt van het bedieningspaneel, de motor en de accu.
Important: Reinig de machine niet terwijl de motor loopt. De machine reinigen terwijl de motor loopt kan interne motorschade veroorzaken.
| Onderhoudsinterval | Onderhoudsprocedure |
|---|---|
| Om de 200 bedrijfsuren |
|
Important: Spuit nooit water op een heet motorcompartiment; dit kan de motor beschadigen.
Plaats de spuitmachine op een horizontaal oppervlak, stel de parkeerrem in werking, schakel de spuitpomp uit, zet de motor af en verwijder het sleuteltje.
Kantel de bestuurders- en passagiersstoel naar voren en lijn de steunstang uit met de pal in het geleidergat van de steunstang.
Laat het koelsysteem afkoelen.
Verwijder het inspectieluik van de stoelbasis; zie Het inspectieluik van de stoelbasis verwijderen.
Reinig de radiateurribben met een zachte borstel en perslucht onder lage druk.
Note: Indien nodig moet u de radiateurribben vaker reinigen. Controleer alle koelvloeistofslangen en vervang deze als zij lekken, beschadigd zijn of tekenen van slijtage vertonen.
Laat de bestuurders- en de passagiersstoel zakken.
Monteer het inspectieluik van de stoelbasis; zie Het inspectieluik van de stoelbasis monteren.
| Onderhoudsinterval | Onderhoudsprocedure |
|---|---|
| Om de 200 bedrijfsuren |
|
Het volledige spuitsysteem grondig uitspoelen en aftappen.
Verwijder de vloeistofstroommeter en spoel deze af met schoon water.
Verwijder de borgring aan de stroomopwaartse kant (Figuur 121).

Reinig de turbine en de turbinenaaf om metaalvijlsel en bevochtigbaar poeder te verwijderen.
Controleer de turbinebladen op slijtage.
Note: Houd de turbine in uw hand en laat deze draaien. De turbine moet vrij kunnen draaien en mag niet te veel aanlopen. Als de turbine niet vrij draait of erg aanloopt, moet u deze vervangen.
Monteer de vloeistofstroommeter.
Gebruik lichte luchtdruk (0,34 bar) om ervoor te zorgen dat de turbine vrij draait.
Note: Als de turbine niet vrij draait, geef dan de zeskantige pal aan de onderkant van de turbinenaaf 1/16 draai tot de turbine vrij draait.
Reinig de mengklep aan de hand van de volgende hoofdstukken:
Reinig de 3 spuitboomkleppen aan de hand van de volgende hoofdstukken:
Plaats de spuitmachine op een horizontaal oppervlak, stel de parkeerrem in werking, schakel de spuitpomp uit, zet de motor af en verwijder het sleuteltje.
Verwijder de borgclip waarmee de actuator bevestigd is aan de verdelerklep voor de spuitboomklep of de mengklep (Figuur 122).
Note: Knijp de 2 pennen van de borgclip samen terwijl u hem naar beneden drukt.
Note: Bewaar de actuator en de borgclip om deze later te monteren in De klepactuator plaatsen.

Verwijder de actuator uit de verdelerklep.
Verwijder de snelkoppelingspen waarmee de snelkoppeling voor de mengslang bevestigd is aan de verdeler voor de mengklep (Figuur 123).

Verwijder de 3 flensklemmen waarmee de mengklepverdeler bevestigd is aan de flenzen van de kop van het drukfilter en de koppelingsadapter (Figuur 123).
Verwijder de 2 flensbouten (¼" x ¾") en 2 flensborgmoeren (¼") waarmee de mengklepverdeler bevestigd is aan de klepsteun (Figuur 124).

Verwijder de mengklepverdeler en de pakkingen van de machine (Figuur 124).
Note: Zet indien nodig het bevestigingsmateriaal voor de drukfilterkop los om speling te verkrijgen.
Note: Bewaar de flensklemmen, pakkingen en snelkoppelingspennen voor montage in De mengverdelerklep monteren.
Verwijder de snelkoppelingspen waarmee de snelkoppeling voor de spuitboomomloopklep bevestigd is aan de spuitboomverdelerklep (Figuur 125).

Verwijder de snelkoppelingspen waarmee de snelkoppeling voor de voedingsslang van de spuitboom bevestigd is aan de verdeler voor de snelkoppelfitting van de spuitboomverdelerklep (Figuur 125).
Verwijder de 2 flensklemmen waarmee de spuitboomverdelerklep bevestigd is aan de flenzen van de naburige onderdelen (Figuur 126).

Voor de klepverdelers van de linker- of rechterspuitboom: verwijder de 2 flenskopbouten (¼" x ¾") en 2 flensborgmoeren (¼") waarmee de spuitboomklepverdeler bevestigd is aan de klepsteun (Figuur 127).

Verplaats de spuitboomklepverdeler en de pakkingen naar beneden zodat deze loskomen van de omloopklep van de spuitbomen, en verwijder de onderdelen van de machine.Figuur 127
Note: Zet indien nodig het bevestigingsmateriaal voor de klepverdelers van de linker- en rechterspuitboom los om speling te verkrijgen.
Note: Bewaar de flensklemmen, pakkingen en snelkoppelingspennen voor montage in De spuitboomverdelerklep plaatsen.
Plaats de afsluiter zo dat deze in de gesloten stand staat (Figuur 128B).

Verwijder de 2 dopaansluitingen van de uiteinden van de verdelerbehuizing (Figuur 129 en Figuur 130).


Draai de afsluiter zo dat de kogel in de geopende stand staat (Figuur 128A).
Note: Wanneer de afsluiter in het verlengde van de stroom in de klep ligt, zal de kogel eruit glijden.
Verwijder de houder van de afsluiter uit de openingen in de ventielopening van de verdeler (Figuur 129 en Figuur 130).
Neem de houder van de afsluiter en de zitting van de afsluiter uit de verdeler (Figuur 129 en Figuur 130).
Neem de ventieleenheid uit de verdelerbehuizing (Figuur 129 en Figuur 130).
Reinig de binnenkant van de verdeler en de buitenkant van de kogelklep, de ventieleenheid, de borgclip en de eindsluitingen.
Door de bestuurder verstrekt materiaal: doorzichtig siliconenvet.
Important: Gebruik uitsluitend siliconenvet wanneer u de klep monteert.
Controleer de staat van de O-ringen van de uitgaande fitting (alleen spuitboomklepverdeler), de O-ringen van de dopafdichting, de O-ringen van de achterzitting en de kogelzitting op schade of slijtage (Figuur 129 en Figuur 130).
Note: Vervang versleten of beschadigde O-ringen en zittingen.
Breng siliconenvet aan op de afsluiter en steek deze in de zitting van de afsluiter (Figuur 129 en Figuur 130).
Monteer de afsluiter en de zitting in de verdeler en bevestig de afsluiter en de zitting met de houder van de afsluiter (Figuur 129 en Figuur 130).
Zorg dat de O-ring van de achterzitting en de kogelzitting uitgelijnd zijn en op hun plaats zitten in de dopaansluiting (Figuur 129 en Figuur 130)
Breng de dopaansluiting aan op de verdelerbehuizing tot de flens van de dopaansluiting contact maakt met de verdelerbehuizing (Figuur 129 en Figuur 130). Draai vervolgens de dopaansluiting nog ⅛ tot ¼ slag.
Note: Wees voorzichtig zodat u het uiteinde van de aansluiting niet beschadigt.
Steek de kogel in de klepbehuizing (Figuur 131).
Note: De afsluiter moet in de kogelopening passen. Als de afsluiter er niet in past, dient u de locatie van de kogel aan te passen (Figuur 131).

Draai de afsluiter zo dat de klep gesloten is (Figuur 128B)
Herhaal stap 4 en 5 voor de andere dopaansluiting.
Lijn de 2 pakkingen die u verwijderd hebt in De spuitboomverdelerklep verwijderen uit met de flenzen van de spuitboomklepverdeler (Figuur 132).
Note: Zet indien nodig het bevestigingsmateriaal voor de klepverdelers van de linker- en rechterspuitboom los om speling te verkrijgen.

Lijn de flens van de spuitboomklepverdeler uit tussen de flenzen van de andere spuitboomklep(pen) en/of de koppelingsadapter (Figuur 132).
Monteer de snelkoppelfitting van de spuitboomklepverdeler op de snelkoppelaansluiting van de spuitboomomloopklep; gebruik hierbij een snelkoppelingspen (Figuur 132 en Figuur 133).

Bevestig de flensklemmen die u verwijderd hebt in De spuitboomverdelerklep verwijderen losjes op de flenzen van de spuitboomklepverdeler en de flenzen van de andere spuitboomklep(pen) en/of de koppelingsadapter (Figuur 134).

Voor de klepverdelers van de linker- of rechterspuitboom: monteer de spuitboomklepverdeler op de klepsteun (Figuur 132) met de 2 flenskopbouten (¼" x ¾") en 2 flensborgmoeren (¼") die u verwijderd hebt in De spuitboomverdelerklep verwijderen.
Haal de flenskopbouten en flensborgmoeren aan met 19,78 tot 25,42 N·m.
Draai de 2 flensklemmen met de hand vast (Figuur 134).
Monteer de snelkoppeling van de spuitboomslang op de snelkoppelfitting van de spuitboomklepverdeler; gebruik hierbij de snelkoppelingspen (Figuur 133).
Als u het bevestigingsmateriaal van de klepverdelers van de linker- of rechterspuitboom hebt losgezet, dient u de moer en bout aan te draaien tot 19,78-25,42 N·m.
Lijn de flens van de mengklepverdeler en 3 pakkingen uit met de flenzen van de mengomloopklep, de drukfilterkop en de koppelingsadapter (Figuur 135 en Figuur 136).
Note: Zet indien nodig het bevestigingsmateriaal voor de drukfilterkop los om speling te verkrijgen.


Bevestig de mengklepverdeler losjes aan de mengomloopklep, de drukfilterkop en de koppelingsadapter (Figuur 136); gebruik hierbij de 3 flensklemmen die u verwijderd hebt in De mengverdelerklep verwijderen.
Monteer de mengklepverdeler op de klepsteun; gebruik hierbij de 2 flenskopbouten (¼" x ¾") en de 2 flensborgmoeren (¼") die u verwijderd hebt in stap De mengverdelerklep verwijderen.
Haal de flenskopbouten en flensborgmoeren aan met 19,78 tot 25,42 N·m.
Draai de 3 flensklemmen met de hand vast (Figuur 136).
Monteer de snelkoppeling van de mengslang op de snelkoppelfitting van de mengklepverdeler; gebruik hierbij de snelkoppelingspen (Figuur 136).
Als u het bevestigingsmateriaal hebt losgezet voor de drukfilterkop, dient u de moer en bout aan te draaien tot 19,8–25,4 N·m.
Lijn de actuator uit met de verdelerklep (Figuur 122).
Bevestig de actuator en de klep met de borgclip die u hebt verwijderd in stap 2 van De klepactuator verwijderen.
Doe het volgende voordat u de bestuurdersstoel verlaat:
Parkeer de machine op een horizontaal oppervlak.
Schakel de spuitpomp uit.
Stel de parkeerrem in werking.
Zet de motor uit en verwijder het sleuteltje (indien aanwezig).
Wacht totdat alle bewegende onderdelen tot stilstand zijn gekomen.
Laat de machine afkoelen voordat u er instellingen of onderhoud aan verricht, of de machine schoonmaakt of stalt.
Bewaar de machine en het brandstofvat niet op plaatsen waar open vlammen, vonken of waakvlammen (bv. van een boiler of een ander toestel) aanwezig kunnen zijn.
Voer de volgende procedures uit:
Important: Gebruik geen brak of teruggewonnen water om de machine schoon te maken.
Parkeer de machine op een horizontaal vlak, stel de parkeerrem in werking, zet de spuitpomp en de motor af, verwijder het contactsleuteltje en wacht totdat alle bewegende onderdelen tot stilstand zijn gekomen voordat u de machine verlaat.
Verwijder het vuil en vet van het hele voertuig, inclusief de buitenkant van de koelribben van de cilinderkop en de ventilatorbehuizing van de motor.
Important: U kunt het voertuig met een mild reinigingsmiddel en water wassen. Doe dit niet met een hogedrukreiniger. Daardoor kan het elektrische systeem worden beschadigd of noodzakelijk vet op wrijvingspunten worden weggespoeld. Gebruik niet te veel water in de buurt van het bedieningspaneel, de verlichting, de motor en de accu.
Verplaats de machine naar het gebied met de afvoerplaat, stel de parkeerrem in werking, schakel de spuitpomp uit, zet de motor af, verwijder het contactsleuteltje en wacht totdat alle bewegende onderdelen tot stilstand zijn gekomen voordat u de bestuurdersplaats verlaat.
Laat de schoonwatertank leeglopen en laat de tapkraan open.
Laat de spuittank zo grondig mogelijk leeglopen.
Bereid een roestwerend, niet-alcoholgebaseerd antivriesmiddel voor motorvoertuigen voor; zie De conditioner voorbereiden.
Verwijder de buis uit de achterkant van de drukmeter en plaats het uiteinde van de buis in een opvangbak (Figuur 137).

Start de motor en laat de buitenste spuitbomen neer.
Laat de spuitpomp een paar minuten lopen zodat de antivries voor motorvoertuigen door het spuitsysteem en eventueel gemonteerde spuitaccessoires stroomt.
Zet de schakelaars van de linker-, middelste en rechterspuitboom AAN.
Zet de hoofdschakelaar van de spuitbomen AAN en controleer het volgende:
Zorg dat er antivriesmiddel uit het afgekoppelde uiteinde van de drukmeetbuis stroomt.
Laat de spuitdop spuiten tot het antivriesmiddel voor motorvoertuigen zichtbaar is.
Zet de hoofdschakelaar van de spuitbomen op UIT.
Draai de pompschakelaar op UIT.
Laat de buitenste spuitbomen omhoog komen met behulp van de hefschakelaars van de spuitbomen.
Hef de spuitbomen op totdat zij geheel kruiselings over elkaar in de transportstand in de transporthouder zijn gezet en de hefcilinders volledig zijn teruggetrokken.
Note: Zorg ervoor dat de hefcilinders volledig zijn teruggetrokken om beschadiging van de actuatorstang te voorkomen.
Zet de motor af.
Laat de spuittank zo grondig mogelijk leeglopen.
Voer de volgende procedures in het onderdeel Kort stallen uit:
Voer bovendien de volgende procedures uit:
Controleer de bandenspanning; zie Bandenspanning controleren.
Controleer de remmen; zie Remmen afstellen.
Controleer alle bouten, schroeven en moeren en draai deze vast.
Note: Vervang of repareer versleten of beschadigde onderdelen.
Werk alle krassen en afgebladderde metaaloppervlakken bij met lak (deze is verkrijgbaar bij uw erkende Toro distributeur).
Reinig de mengklep en de 3 spuitboomkleppen; zie De mengklep en de spuitboomkleppen reinigen.
Smeer de spuitmachine; zie De spuitpomp smeren.
Controleer de staat van alle spuitslangen.
Note: Vervang versleten en beschadigde slangen.
Zet alle slangklemmen en fittings vast.
Geef het luchtfilter een onderhoudsbeurt; zie Luchtfilter controleren. .
Ververs het motoroliefilter en de olie; zie Motoroliefilter vervangen en Motorolie verversen.
Laat de brandstoftank leeglopen; zie Brandstof aftappen uit de brandstoftank.
Bereid brandstof met stabilizer volgens de instructies van de fabrikant, en voeg deze toe aan de brandstoftank.
Start de motor en laat deze 5 minuten stationair lopen.
Zet de motor af.
Zet alle fittings van het brandstofsysteem vast.
Verplaats de machine naar een schone, droge opslagruimte.
Verwijder de accu van het chassis; zie Accu verwijderen.
Note: U mag de accukabels niet aansluiten op de accupolen tijdens stalling.
Zuurpeil controleren.
Laad de accu volledig op; zie Accu opladen.
Important: De accu moet volledig opgeladen zijn, om te voorkomen dat deze bevriest en beschadigd raakt bij temperaturen beneden 0°C. Een volledig opgeladen accu kan ongeveer 50 dagen worden gestald bij temperaturen beneden 4 °C zonder tussentijds te worden opgeladen. Bij temperaturen boven 4 °C moet u om de 30 dagen het waterpeil in de accu controleren en de accu opladen.
Verwijder het contactsleuteltje uit de starterschakelaar en bewaar het op een veilige plaats buiten het bereik van kinderen.
Dek de machine af om deze te beschermen en schoon te houden.
Steek de drukmeetbuis in de buiskoppeling achteraan de drukmeter (Figuur 138).

Sluit de tapkraan van de schoonwatertank.
Voeg brandstof toe aan de brandstoftank.
Laad de accu volledig op; zie Accu opladen.
Monteer de accu in het chassis; zie Accu monteren.
| Problem | Possible Cause | Corrective Action |
|---|---|---|
| De starter doet de motor niet aanslaan. |
|
|
| De motor draait, maar start niet. |
|
|
| De motor start, maar blijft niet lopen. |
|
|
| De motor loopt, maar klopt of hapert. |
|
|
| Motor loopt niet stationair. |
|
|
| De motor raakt oververhit. |
|
|
| De motor verliest vermogen. |
|
|
| De machine trilt abnormaal. |
|
|
| De machine rijdt in geen van beide richtingen omdat de motor vastloopt of afslaat. |
|
|
| De machine rijdt in geen van beide richtingen. |
|
|
| Problem | Possible Cause | Corrective Action |
|---|---|---|
| Een spuitboom spuit niet. |
|
|
| Een spuitboom kan niet worden uitgeschakeld. |
|
|
| Een klep van een spuitboom lekt. |
|
|
| De druk daalt als u een spuitboom inschakelt. |
|
|
| De spuitdop(pen) druppelt/druppelen wanneer de spuitboomschakelaar(s) uitgeschakeld wordt/worden. |
|
|
| De spuitdruk daalt tijdens het spuiten. |
|
|
