| Wartungsintervall | Wartungsmaßnahmen |
|---|---|
| Bei jeder Verwendung oder täglich |
|
Diese Maschine ist ausschließlich für das Sprühen von Grünflächen gedacht und sollte von geschulten Lohnarbeitern in gewerblichen Anwendungen eingesetzt werden. Es ist hauptsächlich für das Sprühen von Gras auf gepflegten Grünflächen in Parkanlagen, Golfplätzen, Sportplätzen und öffentlichen Anlagen gedacht.
Diese Maschine ist in erster Linie ein Geländefahrzeug, das nicht für einen häufigen Einsatz im öffentlichen Straßenverkehr gedacht ist. Der zweckfremde Einsatz dieser Maschine kann für Sie und Unbeteiligte gefährlich sein.
Lesen Sie diese Informationen sorgfältig durch, um sich mit dem ordnungsgemäßen Einsatz und der Wartung des Geräts vertraut zu machen und Verletzungen und eine Beschädigung des Geräts zu vermeiden. Sie tragen die Verantwortung für einen ordnungsgemäßen und sicheren Einsatz des Geräts.
Besuchen Sie Toro.com für weitere Informationen, einschließlich Sicherheitstipps, Schulungsunterlagen, Zubehörinformationen, Standort eines Händlers oder Registrierung Ihres Produkts.
Wenden Sie sich an Ihren autorisierten Service-Vertragshändler oder Kundendienst, wenn Sie eine Serviceleistung, Toro Originalersatzteile oder zusätzliche Informationen benötigen. Halten Sie hierfür die Modell- und Seriennummern Ihres Produkts griffbereit. In Bild 1 ist angegeben, wo an dem Produkt die Modell- und die Seriennummer angebracht sind. Tragen Sie hier die Modell- und Seriennummern des Geräts ein.
Important: Scannen Sie mit Ihrem Mobilgerät den QR-Code auf dem Seriennummernaufkleber (falls vorhanden), um auf Garantie-, Ersatzteil- oder andere Produktinformationen zuzugreifen.

In dieser Anleitung werden potenzielle Gefahren angeführt, und Sicherheitshinweise werden vom Sicherheitswarnsymbol (Bild 2) gekennzeichnet. Dieses Warnsymbol weist auf eine Gefahr hin, die zu schweren oder tödlichen Verletzungen führen kann, wenn Sie die empfohlenen Sicherheitsvorkehrungen nicht einhalten.

In dieser Anleitung werden zwei Begriffe zur Hervorhebung von Informationen verwendet. Wichtig weist auf spezielle mechanische Informationen hin, und Hinweis hebt allgemeine Informationen hervor, die Ihre besondere Beachtung verdienen.
Dieses Produkt erfüllt alle relevanten europäischen Richtlinien; weitere Details finden Sie in der produktspezifischen Konformitätserklärung (DOC).
Entsprechend dem California Public Resource Code Section 4442 oder 4443 ist der Einsatz des Motors in bewaldeten oder bewachsenen Gebieten ohne richtig gewarteten und funktionsfähigen Funkenfänger, wie in Section 4442 definiert, oder ohne einen Motor verboten, der nicht für die Brandvermeidung konstruiert, ausgerüstet und gewartet ist.
Die beiliegende Motoranleitung enthält Angaben zu den Emissionsbestimmungen der US Environmental Protection Agency (EPA) und den Kontrollvorschriften von Kalifornien zu Emissionsanlagen, der Wartung und Garantie. Sie können einen Ersatz beim Motorhersteller anfordern.
KALIFORNIEN
Warnung zu Proposition 65
Die Motorauspuffgase dieses Produkts enthalten Chemikalien wirken laut den Behörden des Staates Kalifornien krebserregend, verursaschen Geburtsschäden oder andere Defekte des Reproduktionssystems.
Batteriepole, -klemmen und -zubehör enthalten Blei und Bleibestandteile. Dies sind Chemikalien, die laut den Behörden des Staates Kalifornien krebserregend sind und zu Erbschäden führen können. Waschen Sie sich nach dem Umgang mit diesen Materialien die Hände.
Bei Verwendung dieses Produkts sind Sie ggf. Chemikalien ausgesetzt, die laut den Behörden des Staates Kalifornien krebserregend wirken, Geburtsschäden oder andere Defekte des Reproduktionssystems verursachen.
Dieses Produkt kann Verletzungen verursachen. Befolgen Sie zum Vermeiden von schweren Verletzungen immer alle Sicherheitshinweise.
Lesen und verstehen Sie vor dem Anlassen des Motors den Inhalt dieser Bedienungsanleitung.
Konzentrieren Sie sich immer bei der Verwendung des Fahrzeugs. Tun Sie nichts, was Sie ablenken könnte, sonst können Verletzungen oder Sachschäden auftreten.
Tragen Sie geeignete Schutzkleidung, um sich vor dem Kontakt mit Chemikalien zu schützen. Die im Sprühsystem verwendeten Chemikalien können gefährlich und giftig sein.
Halten Sie Hände und Füße von beweglichen Teilen fern.
Bedienen Sie die Maschine niemals, wenn nicht alle Schutzvorrichtungen und Abdeckungen angebracht und funktionstüchtig sind.
Halten Sie sich vom Auswurfbereich der Sprühdüsen und dem Sprühwindabdrift fern. Halten Sie Unbeteiligte, insbesondere Kinder, aus dem Arbeitsbereich fern.
Die Maschine darf niemals von Kindern betrieben werden.
Stellen Sie die Maschine auf einer ebenen Fläche ab, aktivieren Sie die Feststellbremse, stellen Sie den Motor ab, ziehen Sie den Schlüssel ab und warten Sie, bis alle beweglichen Teile zum Stillstand gekommen sind, bevor Sie die Bedienerposition verlassen. Lassen die Maschine abkühlen, bevor Sie sie einstellen, warten, reinigen, oder einlagern.
Der unsachgemäße Einsatz oder die falsche Wartung
dieser Maschine kann zu Verletzungen führen. Befolgen Sie zur
Verringerung des Verletzungsrisikos diese Sicherheitshinweise und
beachten Sie das Warnsymbol
mit der Bedeutung Achtung, Warnung oder Gefahr
– Sicherheitsrisiko. Wenn diese Hinweise nicht beachtet werden,
kann es zu schweren bis tödlichen Verletzungen kommen.
Nicht alle für diese Maschine angebotenen Anbaugeräte werden in dieser Anleitung angesprochen. Weitere Sicherheitsanweisungen finden Sie in der Bedienungsanleitung, die jedem Anbaugerät beiliegt.
![]() |
Die Sicherheits- und Bedienungsaufkleber sind für den Bediener gut sichtbar und befinden sich in der Nähe der möglichen Gefahrenbereiche. Tauschen Sie beschädigte oder verloren gegangene Aufkleber aus. |





























Note: Bestimmen Sie die linke und rechte Seite der Maschine anhand der normalen Sitz- und Bedienposition.
Note: Lesen Sie die dem System beiliegende Bedienungsanleitung, wenn Sie Fragen haben oder weitere Informationen zum Sprühsystem haben.
Important: Das Sprühfahrzeug wird ohne Sprühdüsen verkauft.Für den Einsatz des Sprühfahrzeugs müssen Sie Düsen kaufen und einsetzen. Wenden Sie sich an den offiziellen Vertragshändler von Toro für Informationen zu angebotenen Abschnitten und Zubehör. Nach dem Einbau der Düsen und vor der ersten Verwendung des Sprühfahrzeugs müssen Sie die Sicherheitsventile der Abschnitte einstellen, damit der Druck und die Dosierung für alle Abschnitte konstant bleiben, wenn Sie einen oder mehrere Abschnitte abschalten. Siehe Einstellen der Abschnittsicherheitsventile.
Für diesen Arbeitsschritt erforderliche Teile:
| Schnelltrennanschlussstück | 1 |
Note: Für den Abschluss dieses Schritts benötigen Sie einen Schlauch mit einem Schlauchanschlussstück (1") mit Außengewinde und PTFE-Gewindedichtungsmittel.
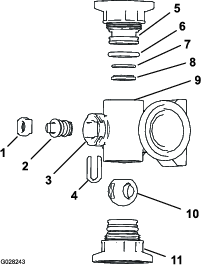
Entfernen Sie vorne an der rechten Seite der Behälterabdeckung die zwei Splinte, mit denen die Riegel für die Schnelltrennkupplung für den Rücklauffüllanschluss befestigt sind (Bild 3).

Drehen Sie die Riegel in die geöffnete Stellung, um das Schnelltrennanschlussstück von der Schnelltrennkupplung zu entsperren (Bild 3).
Nehmen Sie das Schnelltrennanschlussstück von der Schnelltrennkupplung ab (Bild 3).
Schließen Sie die Riegel und setzen Sie die Splinte in die Flansche der Schnelltrennkupplung ein (Bild 3).
Tragen Sie PTFE-Gewindedichtungsmittel auf das Gewinde des Füllschlauch-Anschlussstücks auf (1") (Bild 4).

Schrauben Sie die Schnelltrennkupplung auf den Füllschlauch und ziehen sie mit der Hand fest (Bild 4).
Aktivieren Sie die Feststellbremse, starten Sie den Motor und stellen Sie die Gasbedienung auf Leerlauf.
Heben Sie den äußeren linken oder rechten Ausleger langsam an, bis er zuerst das obere Rohr der Gabel berührt.
Heben Sie den anderen äußeren Ausleger langsam an, bis er zuerst die Gabel berührt.
Sehen Sie sich den Bereich an den oberen Rohren der Gabeln an, in dem die Schiebeblöcke am oberen Rohr des äußeren Auslegers die Gabeln berühren.
Note: Die Gabel ist richtig eingestellt, wenn die Schiebeblöcke die Gabel an der Biegung des oberen Gabelrohrs berühren (Bild 5).

Wenn eines der oberen Gabelrohre nicht richtig mit dem Schiebeblock ausgerichtet ist, wie in Bild 6, Bild 7 oder Bild 8 dargestellt, stellen Sie die Position der Gabel ein, siehe Ausrichten der Gabeln an den äußeren Auslegern.



Senken Sie beide äußeren Ausleger ab, stellen Sie den Motor ab, ziehen Sie den Schlüssel ab und warten Sie, bis alle beweglichen Teile zum Stillstand gekommen sind.
Installieren Sie das CE-Kit für Ihre Maschine; siehe die Installationsanleitung für das Multi Pro 5800 CE-Kit.



Mit dem Fahrpedal (Bild 13) steuern Sie die Vorwärts- und Rückwärtsbewegung der Maschine. Treten Sie mit der Ferse und den Zehenspitzen Ihres rechten Fußes oben auf das Pedal, um vorwärts zu fahren oder treten Sie unten auf das Pedal, um rückwärts zu fahren. Nehmen Sie den Fuß vom Pedal, um die Maschine zu verlangsamen und anzuhalten.
Important: Stellen Sie sicher, dass das Sprühfahrzeug still steht, bevor Sie zwischen der VORWäRTS- und RüCKWäRTS-Stellung wechseln.
Note: Je stärker Sie das Pedal in eine Richtung drücken, desto schneller fährt das Sprühfahrzeug. Wenn Sie die maximale Vorwärtsgeschwindigkeit erreichen möchten, stellen Sie den Gasbedienungshebel in die Schnell-Stellung“ und treten Sie das Fahrpedal ganz durch.
Note: Wenn die Maschine stark beladen ist, oder wenn Sie einen Hang hinauffahren, erhalten Sie die maximale Leistung, wenn die Gasbedienung in der SCHNELL-Stellung ist, und Sie das Fahrpedal etwas durchtreten, um die Motordrehzahl hoch zu halten. Wenn die Motordrehzahl abfällt, lassen Sie das Fahrpedal etwas kommen, damit die Drehzahl erhöht wird.

Mit dem Bremspedal verlangsamen oder halten Sie die Maschine an (Bild 13).
Wenn Sie das Sprühfahrzeug mit schlecht eingestellten oder abgenutzten Bremsen einsetzen, können Sie die Kontrolle über das Sprühfahrzeug verlieren; dies kann für Sie oder Unbeteiligte zu schweren oder tödlichen Verletzungen führen.
Prüfen Sie die Bremsen vor jedem Einsatz des Sprühfahrzeugs und halten Sie die Bremsen in einem richtig eingestellten und guten Zustand.
Die Feststellbremse ist ein Pedal links vom Bremspedal (Bild 13). Aktivieren Sie die Feststellbremse, wenn Sie den Sitz verlassen, um eine versehentliche Bewegung des Sprühfahrzeugs zu vermeiden. Treten Sie zum Aktivieren der Feststellbremse auf das Bremspedal und treten Sie gleichzeitig auf das Pedal der Feststellbremse. Treten Sie auf das Bremspedal und nehmen Sie den Fuß weg, um die Feststellbremse zu lösen. Aktivieren Sie die Feststellbremse und blockieren Sie die dem Hang abgewendeten Räder ab, wenn Sie das Sprühfahrzeug an einem steilen Hang abstellen.
Das Zündschloss (Bild 12), mit dem der Motor angelassen und abgestellt wird, hat drei Stellungen: AUS, EIN/VORHEIZEN und START.
Der Schalter für die Geschwindigkeitssperrung arretiert das Fahrpedal in der Stellung, in der es sich beim Aktivieren des Schalters befindet (Bild 14). Dies stellt sicher, dass das Sprühfahrzeug auf ebener Fläche mit gleichmäßiger Geschwindigkeit fährt.

Mit dem Gasbedienungshebel, der sich am Bedienfeld zwischen den Sitzen (Bild 14) befindet, steuern Sie die Motordrehzahl. Drücken Sie den Hebel nach vorne, um die Motordrehzahl zu erhöhen und ziehen Sie ihn nach hinten, um die Drehzahl zu reduzieren.
Kippen Sie den Schalter, um die Arbeitsscheinwerfer einzuschalten (Bild 12). Kippen Sie ihn nach vorne, um die Scheinwerfer einzuschalten und nach hinten, um sie auszuschalten.
Die Benzinuhr am Bedienfeld der Maschine zeigt die Kraftstoffmenge im Tank an (Bild 12).
Die 2-Buchsen-USB-Steckdose befindet sich an der Rückseite der Armlehne (Bild 15).


Das Druckmanometer (Bild 16) befindet sich am Bedienfeld. Dieses Messgerät zeigt den Flüssigkeitsdruck im Sprühsystem in psi und kPa an.
Mit dem Schalter für den Sprühmodus wechseln Sie zwischen dem Dosierungsmodus (geschlossener Kreislauf) und dem manuellen Modus (offener Kreislauf).
Der Dosierungsschalter befindet sich am Bedienfeld an der rechten Seite des Lenkrads (Bild 16). Mit dem Dosierungsschalter steuern Sie die Geschwindigkeit der Sprühpumpe, wenn Sie das Sprühfahrzeug im manuellen Modus einsetzen. Halten Sie den Schalter nach vorne gedrückt, um die Dosierung (den Druck) zu erhöhen, oder halten Sie ihn nach hinten gedrückt, um die Dosierung (den Druck) zu verringern.
Der Sprühpumpenschalter befindet sich an der mittleren Konsole rechts vom Sitz (Bild 16). Kippen Sie den Schalter nach vorne, um die Sprühpumpe zu aktivieren, oder nach hinten, um die Pumpe abzustellen. Wenn Sie den Schalter einschalten, leuchtet eine Lampe am Schalter auf.
Important: Schalten Sie den Sprühpumpenschalter nur ein, wenn der Motor im NIEDRIGEN LEERLAUF läuft, damit die Pumpe nicht beschädigt wird.
Die Schalter zum Anheben bzw. Absenken des Auslegerabschnitts befinden sich am mittleren Bedienfeld rechts vom Sitz; mit ihnen heben Sie die linken und rechten Auslegerabschnitte an oder senken Sie sie ab (Bild 16).
Der Hauptabschnittschalter befindet sich an der mittleren Konsole der Maschine. Mit dem Schalter schalten Sie das Sprühsystem ein oder aus. Betätigen Sie den Schalter, um das Sprühsystem zu aktivieren oder zu deaktivieren (Bild 16).
Die drei Abschnittschalter befinden sich an der mittleren Konsole vor der Armlehne (Bild 16). Kippen Sie jeden Schalter nach vorne, um den entsprechenden Abschnitt einzuschalten. Kippen Sie den Schalter nach hinten, um den Abschnitt abzuschalten. Wenn der Schalter in der EIN-Stellung ist, wird ein Symbol oben im InfoCenter angezeigt.
Note: Diese Schalter wirken sich nur auf das Sprühsystem aus, wenn der Hauptabschnittschalter in der EIN-Stellung ist.
Der Rührwerkschalter befindet sich an der mittleren Konsole rechts vom Sitz (Bild 16). Kippen Sie diesen Schalter nach vorne, um das Rührwerk im Behälter einzuschalten, oder kippen Sie den Schalter nach hinten, um das Rührwerk abzustellen. Wenn Sie den Schalter einschalten, leuchtet eine Lampe am Schalter auf. Für die Verwendung der Rührwerkfunktion muss die Pumpe des Sprühsystems laufen und die Motordrehzahl muss über dem niedrigen Leerlauf liegen.
Das Rührwerksicherheitsventil leitet den Flüssigkeitsstrom zur Pumpe des Sprühsystems um, wenn Sie das Rührwerk ausschalten (Bild 17). Das Rührwerksicherheitsventil befindet sich über dem Rührwerkventil. Sie können das Sicherheitsventil einstellen, um sicherzustellen, dass der Druck bei ein- oder abgeschaltetem Rührwerk konstant bleibt, siehe Kalibrieren des Rührwerksicherheitsventils.

Der Durchflussmesser misst die Dosierung der Flüssigkeit, die vom InfoCenter-System verwendet wird, wenn Sie im Dosierungsmodus sprühen (Bild 17).
Das Rührwerkdrosselventil ist ein manuelles Kugelventil, das den Fluss zu den Rührwerkdüsen im Hauptbehälter steuert. Mit diesem Ventil können Sie den Druck des Sprühsystems an den Rührwerkdüsen des Hauptbehälters steuern, wenn höhere Ausbringmengen benötigt werden. Das Rührwerkdrosselventil befindet sich über der Pumpe (Bild 18).

Mit den Abschnittsicherheitsventilen stellen Sie den Druck zu den Abschnittventilen ein, um sicherzustellen, dass der Sprühdruck zum Sprühabschnitt gleich bleibt, unabhängig von der eingeschalteten Anzahl der Sprühabschnitte (Bild 19).
Note: Verwenden Sie die Sicherheitsventile nur, wenn Sie im manuellen Modus (offener Kreislauf) sprühen.

Mit dem Abstellventil für das Sicherheitsventil des Abschnitts steuern Sie die Flüssigkeitsmenge von den Sicherheitsventilen des Abschnitts zum Behälter, wenn Sie im manuellen Modus (offener Kreislauf) sprühen, siehe Bild 19.
Note: Schließen Sie das Absperrventil für das Abschnittsicherheitsventil, wenn Sie im Dosierungsmodus (geschlossener Kreislauf) sprühen.
Vorne an der Behälterabdeckung befinden sich ein Schlauchanschluss mit Gewinde, ein gezahntes 90-Grad-Anschlussstück und ein kurzer Schlauch, den Sie zur Behälteröffnung drehen können. An diesen Anschluss können Sie einen Schlauch anschließen und den Behälter mit Wasser füllen, ohne dass der Schlauch durch die im Behälter befindlichen Chemikalien verunreinigt wird.
Important: Verlängern Sie den Schlauch nicht, um einen Kontakt mit den Behälterflüssigkeiten zu ermöglichen. Der Abstand vom Schlauchende bis zum obersten Wasserstand sollte in den örtlich vorgeschriebenen Grenzwerten liegen.

Die Behälterabdeckung befindet sich in der Mitte oben am Behälter. Stellen Sie zum Öffnen der Abdeckung den Motor ab und drehen Sie dann die vordere Hälfte der Abdeckung nach links, damit sie in die geöffnete Stellung schwenkt. Sie können den Filter innen herausnehmen und reinigen. Wenn Sie den Behälter abdichten möchten, schließen Sie die Abdeckung und drehen Sie die vordere Hälfte nach rechts.
Die InfoCenter-Bedienelemente verwenden fünf Tasten unter dem LED-Display, um auf Menüs zu navigieren, Daten einzugeben und Funktionen zu ändern.

Note: Technische und konstruktive Änderungen vorbehalten.
| Beschreibung | Wert |
|---|---|
| Grundgewicht | 1.307 kg |
| Gewicht mit Standardsprühsystem, leer ohne Bediener | 1.307 kg |
| Gewicht mit Standardsprühsystem, voll ohne Bediener | 2.499 kg |
| Bruttofahrzeuggewicht (max.) (auf ebener Fläche) | 3.023 kg |
| Fassungsvermögen des Behälters | 1.135,6 L |
| Gesamtbreite mit Abschnitten des Standardsprühsystems in der Überkreuzstellung | 226 cm |
| Beschreibung | Wert |
|---|---|
| Gesamtlänge mit Standardsprühsystem | 391 cm |
| Gesamthöhe des Standardsprühsystems bis zur Oberkante der Abschnitte in der Überkreuzstellung | 442 cm |
| Gesamthöhe mit Standardsprühsystem | 146 cm |
| Gesamthöhe des Standardsprühsystems bis zur Oberkante der Abschnitte (in der Überkreuzstellung) | 231 cm |
| Bodenfreiheit | 18,4 cm |
| Radstand | 198 cm |
Ein Sortiment an Originalanbaugeräten und -zubehör von Toro wird für dieses Fahrzeug angeboten, um den Funktionsumfang des Geräts zu erhöhen und zu erweitern. Wenden Sie sich an den offiziellen Toro-Vertragshändler.
Verwenden Sie, um die optimale Leistung und Sicherheit zu gewährleisten, nur Originalersatzteile und -zubehörteile von Toro. Ersatzteile und Zubehör anderer Hersteller können gefährlich sein und eine Verwendung könnte die Garantie ungültig machen.
Note: Bestimmen Sie die linke und rechte Seite der Maschine anhand der normalen Sitz- und Bedienposition.
| Wartungsintervall | Wartungsmaßnahmen |
|---|---|
| Bei jeder Verwendung oder täglich |
|
Kinder oder nicht geschulte Personen dürfen die Maschine weder verwenden noch warten. Örtliche Vorschriften bestimmen u. U. das Mindestalter von Benutzern. Der Besitzer ist für die Schulung aller Bediener und Mechaniker verantwortlich.
Machen Sie sich mit dem sicheren Betrieb der Maschine sowie den Bedienelementen und Sicherheitssymbolen vertraut.
Schalten Sie den Motor aus, ziehen Sie den Schlüssel ab (falls vorhanden) und warten Sie, bis alle Bewegungen zum Stillstand gekommen sind, bevor Sie den Fahrerstand verlassen. Lassen Sie die Maschine abkühlen, bevor Sie diese einstellen, warten, reinigen oder lagern.
Sie müssen wissen, wie Sie die Maschine schnell anhalten und den Motor abstellen können.
Prüfen Sie, ob alle Sitzkontaktschalter, Sicherheitsschalter, und Schutzvorrichtungen montiert und funktionsfähig sind. Nehmen Sie die Maschine nur in Betrieb, wenn sie richtig funktioniert.
Setzen Sie die Maschine nicht ein, wenn die Maschine nicht richtig funktioniert oder auf irgendeine Weise beschädigt ist. Beheben Sie den Fehler vor der Verwendung der Maschine oder des Anbaugeräts.
Stellen Sie sicher, dass der Bereich des Bedieners und Passagiers sauber ist und keine Chemikalienrückstände und Schmutzansammlungen aufweist.
Stellen Sie sicher, dass die Anschlüsse aller Flüssigkeitsleitungen fest angezogen sind, und dass alle Schläuche in gutem Zustand sind, bevor Sie die Anlage unter Druck stellen.
Seien Sie besonders vorsichtig beim Umgang mit Kraftstoff. Kraftstoff ist brennbar und die Dämpfe sind explosiv.
Machen Sie alle Zigaretten, Zigarren, Pfeifen und andere Zündquellen aus.
Verwenden Sie nur einen vorschriftsmäßigen Benzinkanister.
Entfernen Sie nie den Tankdeckel oder füllen den Kraftstofftank, wenn der Motor läuft oder heiß ist.
Füllen Sie Kraftstoff nicht in einem geschlossenen Raum auf oder lassen ihn ab.
Lagern Sie die Maschine oder den Benzinkanister nie an Orten mit offener Flamme, Funken oder Zündflamme, z. B. Warmwasserbereiter, oder anderen Geräten.
Versuchen Sie niemals, bei Kraftstoffverschüttungen den Motor anzulassen. Vermeiden Sie Zündquellen, bis die Verschüttung verdunstet ist.
Die im Sprühsystem verwendeten Chemikalien können für Sie, Unbeteiligte und Tiere gefährlich und giftig sein und können Pflanzen, Flächen oder anderes Eigentum beschädigen.
Lesen Sie die Informationen zu den einzelnen Chemikalien. Weigern Sie sich, das Sprühfahrzeug einzusetzen, wenn diese Informationen nicht verfügbar sind.
Bevor Sie am Sprühsystem arbeiten, stellen Sie sicher, dass es gemäß der Empfehlungen des Chemikalienherstellers neutralisiert und dreimal ausgespült wurde; und dass alle Ventile dreimal ausgespült wurden.
Stellen Sie sicher, dass eine ausreichende Menge an frischem Wasser und Seife in der Nähe verfügbar sind, und waschen Sie unverzüglich jede Chemikalie ab, mit der Sie in Kontakt kommen.
Lesen Sie die chemischen Warnaufkleber und die Sicherheitsdatenblätter für alle verwendeten Chemikalien sorgfältig durch, und halten Sie sich an die Angaben. Tragen Sie außerdem die vom Chemikalienhersteller empfohlene Schutzkleidung.
Schützen Sie beim Umgang mit Chemikalien immer Ihren Körper. Tragen Sie geeignete Schutzkleidung, um sich vor dem Kontakt mit Chemikalien zu schützen, u. a.:
Sicherheitsbrillen, Schutzbrillen und Gesichtsmaske
Schutzanzug
Atmungsgerät oder Filtermaske
Chemikalienbeständige Handschuhe
Gummistiefel oder Arbeitsschuhe
Saubere Ersatzkleidung, Seife und Einweghandtücher für Reinigungsarbeiten
Lassen Sie sich vor der Verwendung oder der Handhabung von Chemikalien entsprechend schulen.
Verwenden Sie jeweils die der Aufgabe entsprechende(n) Chemikalie(n).
Halten Sie die Herstelleranweisungen bezüglich des sicheren Umgangs mit der Chemikalie ein. Überschreiten Sie nicht den empfohlenen Systemdosierungsdruck.
Füllen, kalibrieren oder reinigen Sie die Maschine nicht, wenn sich Personen, besonders Kinder oder Haustiere, im Bereich aufhalten.
Verwenden Sie Chemikalien in einem gut gelüfteten Bereich.
Essen, trinken oder rauchen Sie nicht beim Umgang mit Chemikalien.
Blasen Sie nicht in die Sprühdüsen oder nehmen sie in den Mund, um sie zu reinigen.
Waschen Sie sich immer die Hände und andere nicht geschützte Körperteile, sobald Sie den Umgang mit Chemikalien abgeschlossen haben.
Bewahren Sie die Chemikalien in den Originalverpackungen an einem sicheren Ort auf.
Entsorgen Sie überschüssige Chemikalien und Chemikalienbehälter gemäß den Anweisungen des Chemikalienherstellers und den lokalen Vorschriften.
Chemikalien und Dämpfe sind gefährlich. Betreten Sie nie den Behälter oder stecken Sie den Kopf in die Behälteröffnung.
Halten Sie alle Gemeinde-, Bundes- oder Landesvorschriften zum Sprühen von Chemikalien ein.
Prüfen Sie die folgenden Punkte täglich vor jedem Einsatz des Sprühfahrzeugs:
Prüfen Sie den Druck in allen Reifen.
Note: Die Reifen an dieser Maschine sind anders als Autoreifen, d. h. sie erfordern geringeren Druck, um eine Verdichtung der Grünfläche und Beschädigungen zu vermeiden.
Prüfen Sie alle Flüssigkeitsstände und füllen bei Bedarf die von Toro vorgeschriebenen Flüssigkeiten nach.
Prüfen Sie die Funktion des Bremspedals.
Prüfen Sie, ob die Beleuchtung funktioniert.
Drehen Sie das Lenkrad nach rechts und links, um die Lenkwirkung zu prüfen.
Stellen Sie den Motor ab und prüfen Sie auf Öllecks, lose Teile und andere offensichtliche Defekte.
Wenn Sie irgendwelche Missstände feststellen, melden Sie diese sofort Ihrem Techniker oder ziehen Sie Ihre Aufsicht heran, bevor Sie das Sprühfahrzeug zum Einsatz fahren. Unter Umständen möchte Ihr Vorgesetzter andere Bereiche täglich prüfen lassen. Fragen Sie also nach, welche Verantwortung Sie tragen.
Überprüfen Sie den Motorölstand, das Kühlsystem und das Hydrauliksystem.
| Wartungsintervall | Wartungsmaßnahmen |
|---|---|
| Bei jeder Verwendung oder täglich |
|
Prüfen Sie den Reifendruck, damit die Reifen immer den richtigen Druck haben. Pumpen Sie die Reifen auf 1,38 bar auf.
Note: Prüfen Sie die Reifen auch auf Abnutzung oder Beschädigung.
| Wartungsintervall | Wartungsmaßnahmen |
|---|---|
| Bei jeder Verwendung oder täglich |
|
Treten Sie vor dem Anlassen des Sprühfahrzeugs leicht auf das Bremspedal. Wenn das Pedal mehr als 2,5 cm Spiel hat, bevor Sie einen Widerstand spüren, müssen Sie die Bremsen einstellen, siehe Einstellen der Bremsen.
Wenn Sie das Sprühfahrzeug mit schlecht eingestellten oder abgenutzten Bremsen einsetzen, können Sie die Kontrolle über das Sprühfahrzeug verlieren; dies kann für Sie oder Unbeteiligte zu schweren oder tödlichen Verletzungen führen.
Prüfen Sie die Bremsen vor jedem Einsatz des Sprühfahrzeugs und halten Sie die Bremsen in einem richtig eingestellten und guten Zustand.
| Mineralölkraftstoff | Verwenden Sie bleifreies Benzin mit einer Mindestoktanzahl von 87 (R+M)/2. |
| Kraftstoff mit Ethanol | Verwenden Sie eine bleifreie Benzinmischung, die mit 10 % Ethanol oder 15 % MTBE (Volumenanteil) angereichert ist. Ethanol und MTBE sind nicht dasselbe. |
| Benzin mit 15 % Ethanol (E15) per Volumenanteil kann nicht verwendet werden. Verwenden Sie nie Benzin, das mehr als 10 % Ethanol per Volumenanteil enthält, z. B. E15 (enthält 15 % Ethanol), E20 (enthält 20 % Ethanol) oder E85 (enthält 85 % Ethanol). Die Verwendung von nicht zugelassenem Benzin kann zu Leistungsproblemen und/oder Motorschäden führen, die ggf. nicht von der Garantie abgedeckt sind. |
Important: Die besten Ergebnisse erhalten Sie, wenn Sie nur sauberen, frischen Kraftstoff (höchstens 30 Tage alt) verwenden.
Verwenden Sie kein Benzin mit Methanol.
Lagern Sie keinen Kraftstoff im Kraftstofftank oder in Kraftstoffbehältern über den Winter, wenn Sie keinen Kraftstoffstabilisator verwenden.
Vermischen Sie nie Benzin mit Öl.
Fassungsvermögen des Kraftstofftanks: ca. 45 Liter.
Parken Sie die Maschine auf einer ebenen Fläche, aktivieren Sie die Feststellbremse, stellen die Sprühpumpe und den Motor ab, ziehen den Schlüssel ab und lassen den Motor abkühlen.
Reinigen Sie den Bereich um den Tankdeckel (Bild 22).

Entfernen Sie den Tankdeckel.
Füllen Sie den Tank bis ungefähr 2,5 cm unter der Tankoberseite (der Unterseite des Füllstutzens).
Note: In dem verbleibenden freien Platz im Tank kann sich der Kraftstoff ausdehnen. Überfüllen Sie den Behälter nicht.
Schrauben Sie den Tankdeckel wieder auf den Kraftstofftank.
Wischen Sie verschütteten Kraftstoff immer auf.
Note: Weitere Informationen finden Sie in der Düsenauswahlanleitung, die Sie von Ihrem offiziellen Toro-Vertragshändler erhalten.
In die Drehkreuzgehäuse passen bis zu drei verschiedene Düsen. Führen Sie folgende Schritte aus, um die gewünschte Düsen auszuwählen:
Halten Sie das Sprühfahrzeug auf einer ebenen Fläche an, stellen Sie den Motor ab, ziehen Sie den Zündschlüssel ab und aktivieren die Feststellbremse.
Stellen Sie den Hauptabschnittschalter in die AUS-Stellung und den Sprühpumpenschalter in die AUS-Stellung.
Drehen Sie das Drehkreuz der Düsen in eine Richtung auf die richtige Düse.
Führen Sie für Maschinen im Dosierungsmodus eine Flusskalibrierung durch, siehe die Softwareanleitung für die Sprühfahrzeuge Multi Pro 5800-D und 5800-G mit ExcelaRate für weitere Informationen.
Standardausrüstung: Saugfilter, 50 Maschen (Blau)
Ermitteln Sie mit der Saugfiltertabelle die Siebmaschen für die Sprühdüsen, die Sie verwenden, basierend auf den Chemikalien oder Lösungen, die eine Viskosität haben, die Wasser entspricht.
| Sprühdüsen-Farbcode (Durchflussmenge) | Maschengröße des Siebs* | Filterfarbcode |
|---|---|---|
| Gelb (0,2 GPM) | 50 | Blau |
| Rot (0,4 GPM) | 50 | Blau |
| Braun (0,5 GPM) | 50 (oder 30) | Blau (oder Grün) |
| Grau (0,6 GPM) | 30 | Grün |
| Weiß (0,8 GPM) | 30 | Grün |
| Blau (1,0 GPM) | 30 | Grün |
| Grün (1,5 GPM) | 30 | Grün |
| *Die Maschengröße der Saugfilter in dieser Tabelle basiert auf Sprühchemikalien oder Lösungen, die eine Viskosität haben, die Wasser entspricht. | ||
Important: Wenn Sie Chemikalien mit höherer Viskosität (dicker) oder Lösungen mit benetzbarem Pulver versprühen, müssen Sie u. U. ein Sieb mit gröberen Maschen für den optionalen Saugfilter verwenden; siehe Bild 23.

Wenn Sie mit höherer Dosierung sprühen, sollten Sie die Verwendung eines optionalen Saugfilters mit gröberen Maschen erwägen, siehe Bild 24.

Die folgenden Siebgrößen sind u. a. erhältlich:
Standardausrüstung: Saugfilter, 50 Maschen (Blau)
Ermitteln Sie mit der Druckfiltertabelle die Siebmaschen für die Sprühdüsen, die Sie verwenden, basierend auf den Chemikalien oder Lösungen, die eine Viskosität haben, die Wasser entspricht.
| Sprühdüsen-Farbcode (Durchflussmenge) | Maschengröße des Siebs* | Filterfarbcode |
|---|---|---|
| Nach Bedarf für Chemikalien mit niedriger Viskosität oder Lösungen mit niedrigeren Dosierungen | 100 | Grün |
| Gelb (0,2 GPM) | 80 | Gelb |
| Rot (0,4 GPM) | 50 | Blau |
| Braun (0,5 GPM) | 50 | Blau |
| Grau (0,6 GPM) | 50 | Blau |
| Weiß (0,8 GPM) | 50 | Blau |
| Blau (1,0 GPM) | 50 | Blau |
| Grün (1,5 GPM) | 50 | Blau |
| Nach Bedarf für Chemikalien mit höherer Viskosität oder Lösungen mit höheren Dosierungen | 30 | Rot |
| Nach Bedarf für Chemikalien mit höherer Viskosität oder Lösungen mit höheren Dosierungen | 16 | Braun |
| *Die Maschengröße der Druckfilter in dieser Tabelle basiert auf Sprühchemikalien oder Lösungen, die eine Viskosität haben, die Wasser entspricht. | ||
Important: Wenn Sie Chemikalien mit höherer Viskosität (dicker) oder Lösungen mit benetzbarem Pulver versprühen, müssen Sie u. U. ein Sieb mit gröberen Maschen für den optionalen Druckfilter verwenden; siehe Bild 25.

Wenn Sie mit höherer Dosierung sprühen, sollten Sie die Verwendung eines optionalen Druckfilters mit gröberen Maschen erwägen, siehe Bild 26.

Note: Die Verwendung eines optionalen Düsenspitzenfilters schützt die Sprühdüsenspitze und verlängert die Nutzungsdauer.
Ermitteln Sie mit der Düsenspitzenfilter-Tabelle die Siebmaschen für die Sprühdüsen, die Sie verwenden, basierend auf den Chemikalien oder Lösungen, die eine Viskosität haben, die Wasser entspricht.
| Sprühdüsen-Farbcode (Durchflussmenge) | Maschengröße des Filters* | Filterfarbcode |
|---|---|---|
| Gelb (0,2 GPM) | 100 | Grün |
| Rot (0,4 GPM) | 50 | Blau |
| Braun (0,5 GPM) | 50 | Blau |
| Grau (0,6 GPM) | 50 | Blau |
| Weiß (0,8 GPM) | 50 | Blau |
| Blau (1,0 GPM) | 50 | Blau |
| Grün (1,5 GPM) | 50 | Blau |
| *Die Maschengröße der Düsenfilter in dieser Tabelle basiert auf Sprühchemikalien oder Lösungen, die eine Viskosität haben, die Wasser entspricht. | ||
Important: Wenn Sie Chemikalien mit höherer Viskosität (dicker) oder Lösungen mit benetzbarem Pulver versprühen, müssen Sie u. U. ein Sieb mit gröberen Maschen für den optionalen Spitzenfilter verwenden; siehe Bild 27.

Wenn Sie mit höherer Dosierung sprühen, sollten Sie die Verwendung eines optionalen Spitzenfilters mit gröberen Maschen erwägen, siehe Bild 28.

Important: Verwenden Sie im Frischwasserbehälter kein Brauchwasser.
Note: Mit dem Frischwasserbehälter können Sie versehentlich auf die Haut, in die Augen oder auf andere Oberflächen gelangte Chemikalien abwaschen.
Füllen Sie den Frischwasserbehälter immer mit klarem Wasser, bevor Sie mit Chemikalien umgehen oder diese mischen.
Schrauben Sie zum Füllen des Behälters den Deckel oben am Behälter ab, füllen Sie den Behälter mit frischem Wasser und schrauben den Deckel auf (Bild 29).
Drehen Sie zum Öffnen des Hahns am Frischwasserbehälter den Hebel am Hahn (Bild 29).

Montieren Sie das chemische Vormischkit für eine optimale Mischung und äußere Behältersauberkeit.
Important: Verwenden Sie (falls möglich) im Sprühbehälter kein Brauchwasser.
Important: Achten Sie darauf, dass die verwendeten Chemikalien mit Viton™ kompatibel sind (das Etikett des Herstellers sollte eine Unverträglichkeit ausweisen). Wenn Sie Chemikalien verwenden, die nicht mit Viton kompatibel sind, werden die O-Ringe im Sprühfahrzeug beschädigt, und es können Lecks auftreten.
Important: Die Behältermarkierungen für das Volumen sind nur ein Bezug und können für die Kalibrierung nicht als genau angesehen werden.
Halten Sie die Maschine auf einer ebenen Fläche an, stellen Sie den Motor ab, ziehen Sie den Zündschlüssel ab und aktivieren die Feststellbremse.
Ermitteln Sie die für die benötigte Chemikalienmenge erforderliche Wassermenge. Lesen Sie die Anweisungen des Chemikalienherstellers.
Öffnen Sie die Behälterabdeckung am Sprühbehälter.
Note: Die Behälterabdeckung befindet sich in der Mitte oben am Behälter. Drehen Sie zum Öffnen die vordere Hälfte der Abdeckung nach links und schwenken Sie sie nach außen. Sie können das Sieb unter der Behälterabdeckung entfernen und das Sieb reinigen.
Befestigen Sie den Füllschlauch am Schnelltrennanschlussstück des Rücklauffüllanschlusses.
Füllen Sie Dreiviertel der benötigten Wassermenge in den Sprühbehälter (Bild 30).
Important: Verwenden Sie im Sprühbehälter immer sauberes Wasser. Füllen Sie kein Konzentrat in einen leeren Behälter ein.

Lassen Sie den Motor an, aktivieren Sie die Feststellbremse, stellen Sie den Sprühpumpenschalter in die EIN-Stellung und schieben Sie den in den HOHEN LEERLAUF.
Stellen Sie den Schalter für das Rührwerk in die EIN-Stellung.
Important: Bevor Sie benetzbares Pulver in ein Toro Sprühsystem einfüllen, sollten Sie das Pulver in einem geeigneten Behälter mit einer ausreichenden Menge frischem Wasser vermischen, sodass Sie eine dickflüssige Masse erhalten. Sonst können sich chemische Rückstände unten im Behälter ablagern, die Funktion des Rührwerks kann beeinträchtigt werden, die Filter können verstopfen und die Dosierungen können verfälscht werden.Toro empfiehlt die Verwendung des zugelassenen Ejektors für diese Maschine. Wenden Sie sich an den offiziellen Toro-Vertragshändler für weitere Informationen.
Füllen Sie die richtige Menge des Chemikalienkonzentrats in den Behälter ein. Lesen Sie die Anweisungen des Chemikalienherstellers.
Füllen Sie die restliche Wassermenge in den Behälter, entfernen Sie den Füllschlauch und schließen die Behälterabdeckung.
Note: Wenn Sie den Behälter abdichten möchten, schließen Sie die Abdeckung und drehen Sie die vordere Hälfte nach rechts.
Important: Prüfen Sie nach dem ersten Füllen des Behälters, ob die Behälterriemen Spiel haben. Ziehen Sie ggf. an.
| Wartungsintervall | Wartungsmaßnahmen |
|---|---|
| Bei jeder Verwendung oder täglich |
|
Important: Wenn die Behälterriemen zu stark angezogen sind, können sich der Behälter und die Riemen verformen und beschädigt werden.
Important: Verwenden Sie (falls möglich) im Sprühbehälter kein Brauchwasser.
Füllen Sie den Hauptbehälter mit Wasser.
Prüfen Sie, ob Sie zwischen den Behälterriemen und dem Behälter eine Bewegung feststellen können (Bild 31).

Wenn die Behälterriemen lose am Behälter angebracht sind, ziehen Sie die Sicherungsbundmutter und Schrauben oben an den Riemen an, bis sie mit der Behälterfläche bündig sind (Bild 31).
Note: Ziehen Sie die Befestigungen für die Behälterriemen nicht zu stark an.
Important: Im Dosierungsmodus müssen Sie die Abschnittsicherheitsventile in die geschlossene Stellung setzen.
Important: Verwenden Sie (falls möglich) im Sprühbehälter kein Brauchwasser.
Kalibrieren Sie den Sprühfluss, die Geschwindigkeit und stellen Sie die Abschnittsicherheitsventile ein, wenn Sie das Sprühfahrzeug zum ersten Mal verwenden oder die Düsen wechseln.
Important: Führen Sie dies auf einer offenen, ebenen Fläche aus.
Füllen Sie den Sprühbehälter bis zur Hälfte mit sauberem Wasser.
Senken Sie die Sprühabschnitte ab.
Aktivieren Sie die Feststellbremse.
Stellen Sie den Sprühsteuerschalter auf Manuell“.
Stellen Sie die drei Abschnittschalter in die EIN-Stellung, lassen Sie den Hauptabschnittschalter jedoch in der AUS-Stellung.
Stellen Sie den Sprühpumpenschalter in die EIN-Stellung und aktivieren das Rührwerk.
Navigieren Sie im InfoCenter auf den Kalibrierungsbildschirm und wählen Sie Geschwindigkeit testen. Weitere Informationen finden Sie unter Simulieren einer Testgeschwindigkeit“ in der Softwareanleitung für die Sprühfahrzeuge Multi Pro 5800-D und 5800-G mit ExcelaRate-Sprühsystem.
Drücken Sie die Taste 3 oder 4, um die simulierte Geschwindigkeit auf 5,6 km/h zu erhöhen oder zu verringern.
Drücken Sie die Taste 4, um Testgeschwindigkeit simulieren“ auf EIN zu setzen.
Drücken Sie die Taste 5, um den Bildschirm TESTGESCHWINDIGKEIT zu speichern und zu verlassen.
Stellen Sie die Dosierung mit dem Dosierungsschalter gemäß der folgenden Tabelle ein.
| Düsenfarbe | SI (metrisches Maßeinheitensystem) | Englisch | Grünfläche |
| Gelb | 159 l/ha | 17 gpa | 0,39 gpk |
| Rot | 319 l/ha | 34 gpa | 0,78 gpk |
| Braun | 394 l/ha | 42 gpa | 0,96 gpk |
| Grau | 478 l/ha | 51 gpa | 1,17 gpk |
| Weiß | 637 l/ha | 68 gpa | 1,56 gpk |
| Blau | 796 l/ha | 85 gpa | 1,95 gpk |
| Grün | 1190 l/ha | 127 gpa | 2,91 gpk |
Stellen Sie den linken Abschnittschalter ab und stellen das Handrad für das Abschnittsicherheitsventil (Bild 32) ein, bis die angezeigte Dosierung dem vorherigen Niveau gemäß der Tabelle entspricht.
Note: Die nummerierten Anzeigen auf dem Handrad des Sicherheitsventil und der Nadel dienen nur Referenzzwecken.

Schalten Sie den linken Abschnittschalter ein und den rechten Abschnittschalter aus.
Stellen Sie das Handrad für das rechte Abschnittsicherheitsventil (Bild 32) ein, bis die Dosierung gemäß der Tabelle am vorherigen Niveau liegt.
Schalten Sie den rechten Abschnittschalter ein und den mittleren Abschnittschalter aus.
Stellen Sie das Handrad für das mittlere Abschnittsicherheitsventil (Bild 32) ein, bis die Dosierung gemäß der Tabelle am vorherigen Niveau liegt.
Schalten Sie den Hauptabschnittschalter aus.
Schalten Sie die Sprühpumpe aus.
Das Rührwerksicherheitsventil ist in der ganz geöffneten Stellung, wie in Bild 33A abgebildet.
Das Rührwerksicherheitsventil ist in der geschlossenen Stellung (0), wie in Bild 33B abgebildet.
Das Rührwerksicherheitsventil ist in einer mittleren Stellung (relativ zum Druckmanometer für das Sprühsystem eingestellt), wie in Bild 33C abgebildet.

| Wartungsintervall | Wartungsmaßnahmen |
|---|---|
| Jährlich |
|
Important: Verwenden Sie (falls möglich) im Sprühbehälter kein Brauchwasser.
Führen Sie dies in einem offenen, ebenen Bereich aus.
Füllen Sie den Sprühbehälter halb mit Frischwasser.
Stellen Sie sicher, dass das Rührwerkregelventil offen ist.
Note: Falls es eingestellt wurde, öffnen Sie es jetzt ganz.
Aktivieren Sie die Feststellbremse und lassen Sie den Motor an.
Stellen Sie die Taste für den Sprühmodus auf den manuellen Modus, siehe Sprühen im manuellen Modus.
Stellen Sie den Sprühpumpen- und den Rührwerkschalter in die EIN-Stellung.
Stellen Sie den Hauptabschnittschalter in die AUS-Stellung.
Stellen Sie den Gasbedienungshebel in die SCHNELL-Stellung.
Stellen Sie den Druck des Sprühsystems mit dem Dosierungsschalter auf 6,89 bar ein.
Stellen Sie den Rührwerkschalter in die AUS-Stellung und lesen Sie den Wert des Druckmanometers ab.
Wenn der Wert am Druckmanometer bei 6,89 bar liegt, ist das Rührwerksicherheitsventil richtig kalibriert.
Wenn das Druckmanometer einen anderen Wert anzeigt, führen Sie den nächsten Schritt aus.
Stellen Sie das Rührwerksicherheitsventil (Bild 34) hinten am Rührwerkventil so lange ein, bis das Druckmanometer für den Druck des Sprühsystems 6,89 bar anzeigt.

Stellen Sie den Sprühpumpenschalter in die AUS-Stellung.
Schieben Sie den Gasbedienungshebel in die LEERLAUF/LANGSAM-Stellung und drehen Sie den Zündschlüssel in die AUS-Stellung.
Die Sprühpumpe befindet sich in der Nähe der Behälterrückseite an der linken Seite (Bild 35).

Der Besitzer bzw. Bediener ist für Unfälle oder Verletzungen von Dritten sowie Sachschäden verantwortlich und kann diese verhindern.
Tragen Sie geeignete Kleidung, u. a. eine Schutzbrille, lange Hosen, rutschfeste Arbeitsschuhe und einen Gehörschutz. Binden Sie lange Haare hinten zusammen und tragen Sie keinen Schmuck oder weite Kleidung.
Tragen Sie passende Schutzkleidung, wie unter Chemikaliensicherheit aufgeführt.
Konzentrieren Sie sich immer bei der Verwendung des Fahrzeugs. Tun Sie nichts, was Sie ablenken könnte, sonst können Verletzungen oder Sachschäden auftreten.
Setzen Sie die Maschine nicht ein, wenn Sie müde oder krank sind oder unter Alkohol- oder Drogeneinfluss stehen.
Nehmen Sie nicht mehr als einen Fahrgast auf der Maschine mit; der Fahrgast sollte nur in der vorgesehenen Sitzposition sitzen.
Setzen Sie die Maschine nur bei guten Sichtverhältnissen ein. Vermeiden Sie Löcher und andere verborgene Gefahren.
Stellen Sie vor dem Anlassen des Motors sicher, dass Sie in der Bedienerposition befinden, das Fahrpedal in der NEUTRAL-Stellung ist und die Feststellbremse aktiviert ist.
Bleiben Sie auf dem Sitz sitzen, wenn sich die Maschine bewegt. Halten Sie (falls möglich) das Lenkrad immer mit beiden Händen fest und halten Sie Arme und Beine im Bedienerbereich.
Seien Sie vorsichtig, wenn Sie sich unübersichtlichen Kurven, Sträuchern, Bäumen und anderen Objekten nähern, die Ihre Sicht behindern können.
Schauen Sie vor dem Rückwärtsfahren hinter sich und stellen Sie sicher, dass sich keine Person hinter Ihnen aufhält. Fahren Sie im Rückwärtsgang nur langsam.
Sprühen Sie nie, wenn sich Personen, insbesondere Kinder oder Haustiere, in der Nähe aufhalten.
Setzen Sie die Maschine nicht in der Nähe von steilen Gefällen, Gräben oder Böschungen ein. Die Maschine könnte plötzlich umkippen, wenn ein Rad über den Rand fährt oder die Böschung nachgibt.
Verringern Sie die Geschwindigkeit beim Einsatz auf unebenem Gelände, bei unebenem Boden und in der Nähe von Bordsteinen, Löchern und plötzlichen Veränderungen im Gelände. Ladungen können sich verlagern. Dies kann die Maschine instabil machen.
Halten Sie die Maschine an, stellen Sie den Motor ab und ziehen Sie den Zündschlüssel ab, aktivieren Sie die Feststellbremse und prüfen Sie auf Beschädigungen, wenn Sie auf ein Objekt aufgefahren sind oder ungewöhnliche Vibrationen auftreten. Führen Sie alle erforderlichen Reparaturen durch, ehe Sie die Maschine wieder in Gebrauch nehmen.
Fahren Sie beim Wenden und beim Überqueren von Straßen und Gehsteigen mit der Maschine langsam und vorsichtig. Geben Sie immer Vorfahrt.
Passen Sie bei der Verwendung der Maschine auf nassen Oberflächen, bei ungünstiger Witterung, höheren Fahrgeschwindigkeiten oder einer vollen Ladung besonders auf. In diesen Situationen sind die Bremszeit und der Bremsweg verlängert.
Berühren Sie den Motor oder Auspuff nie bei laufendem Motor und kurz nachdem er abgestellt wurde. Diese Bereiche sind heiß genug, um Verbrennungen zu verursachen.
Bevor Sie den Fahrerstand verlassen, gehen Sie wie folgt vor:
Stellen Sie die Maschine auf einer ebenen Fläche ab.
Bewegen Sie das Fahrpedal in die NEUTRAL-Stellung.
Schalten Sie die Sprühpumpe aus.
Aktivieren Sie die Feststellbremse.
Stellen Sie den Motor ab und ziehen Sie den Zündschlüssel ab (sofern vorhanden).
Warten Sie, bis alle beweglichen Teile zum Stillstand gekommen sind.
Lassen Sie den Motor nie in einem geschlossenen Raum laufen, wo die Auspuffgase nicht entweichen können.
Verwenden Sie die Maschine nie bei möglichen Gewittern.
Verwenden Sie nur von Toro zugelassenes Zubehör und zugelassene Anbaugeräte.
Note: Für jede in dieser Bedienungsanleitung abgedeckte Maschine ist eine von Toro montierte Kabine ein Überrollschutz.
Entfernen Sie den Überrollschutz nicht von der Maschine.
Legen Sie den Sicherheitsgurt an und stellen sicher, dass Sie ihn einem Notfall schnell lösen können. Legen Sie immer den Sicherheitsgurt an.
Achten Sie immer auf hängende Objekte und berühren Sie sie nicht.
Halten Sie den Überrollschutz in einem sicheren Betriebszustand, überprüfen Sie ihn regelmäßig auf Beschädigungen und halten Sie alle Befestigungen angezogen.
Pflegen und reinigen Sie die Sicherheitsgurte bei Bedarf.
Tauschen Sie beschädigte Teile des Überrollschutzes aus. Führen Sie keine Reparaturen oder Modifikationen daran aus.
Hanglagen sind eine wesentliche Ursache für den Verlust der Kontrolle und Umkippunfälle, die zu schweren ggf. tödlichen Verletzungen führen können. Sie sind für den sicheren Einsatz an Hanglagen verantwortlich. Das Einsetzen der Maschine an jeder Hanglage erfordert große Vorsicht.
Prüfen Sie die unten aufgeführten Anweisungen für den Einsatz der Maschine auf Hanglagen und ermitteln Sie, ob die Maschine in den Bedingungen an diesem Tag und an diesem Ort eingesetzt werden kann. Veränderungen im Gelände können zu einer Veränderung in der Neigung für den Betrieb der Maschine führen.
Ermitteln Sie, ob die Maschine sicher auf der Hanglage eingesetzt werden kann; dies schließt eine Ortsbegehung ein. Setzen Sie immer gesunden Menschenverstand ein, wenn Sie diese Ortsbegehung durchführen.
Vermeiden Sie das Anfahren, Anhalten oder Wenden der Maschine an Hanglagen. Fahren Sie Hanglagen gerade hinauf oder hinunter. Vermeiden Sie plötzliche Geschwindigkeits- oder Richtungsänderungen. Wenn Sie die Maschine wenden müssen, wenden Sie möglichst langsam und vorsichtig hangabwärts. Passen Sie beim Wenden der Maschine auf.
Setzen Sie die Maschine nicht ein, wenn Sie den Antrieb, die Lenkung oder Stabilität in Frage stellen.
Entfernen oder Kennzeichnen Sie Hindernisse, wie beispielsweise Gräben, Löcher, Rillen, Bodenwellen, Steine oder andere verborgene Objekte. Hohes Gras kann Hindernisse verdecken. Die Maschine könnte sich in unebenem Terrain überschlagen.
Beim Einsatz der Maschine auf nassen Oberflächen, Überqueren von Hanglagen oder beim Fahren hangabwärts kann die Maschine die Bodenhaftung verlieren. Wenn die Räder die Bodenhaftung verlieren, kann die Maschine rutschen und zu einem Verlust der Bremsleistung und Lenkung führen.
Gehen Sie beim Einsatz der Maschine in der Nähe von Abhängen, Gräben, Böschungen, Gewässern oder anderen Gefahrenstellen besonders vorsichtig vor. Die Maschine kann sich plötzlich überschlagen, wenn ein Rad über den Rand fährt oder die Böschung nachgibt. Halten Sie stets einen Sicherheitsabstand von der Maschine zur Gefahrenstelle ein.
Passen Sie besonders auf, wenn Sie die Maschine mit Anbaugeräten einsetzen, die sich auf die Stabilität der Maschine auswirken können.
Bremsen Sie vorsichtig, wenn der Motor abstellt, oder Sie den Vorwärtsantrieb an Hanglagen verlieren. Fahren Sie dann langsam in einer geraden Linie rückwärts den Hang hinunter.
Lassen Sie immer einen Gang eingelegt (falls zutreffend), wenn Sie mit der Maschine eine Hanglage herunterfahren.
Stellen Sie die Maschine nicht an Gefällen ab.
Das Gewicht des Materials im Behälter kann sich auf die Handhabung der Maschine auswirken. Befolgen Sie die nachstehenden Richtlinien, um einen Verlust über die Kontrolle zu vermeiden, was zu Verletzungen führen kann:
Reduzieren Sie beim Mitführen schwerer Ladungen die Geschwindigkeit und berücksichtigen Sie den längeren Bremsweg. Betätigen Sie die Bremse nie plötzlich. Gehen Sie an Hanglagen mit größerer Vorsicht vor.
Flüssigkeitslasten verlagern sich beim Wenden, beim Hinauf- und Herunterfahren von Hanglagen, beim plötzlichen Wechseln der Geschwindigkeit und beim Fahren in unebenem Gelände. Das Verlagern der Ladung kann zum Umkippen der Maschine führen.
Setzen Sie sich auf den Fahrersitz und stellen Sie den Fuß nicht auf das Fahrpedal.
Stellen Sie sicher, dass die folgenden Bedienelemente eingestellt sind:
Die Feststellbremse ist aktiviert.
Das Fahrpedal ist in der NEUTRAL-Stellung.
Die Sprühpumpe ist ausgeschaltet.
Die Gasbedienungshebel ist in der LANGSAM-Stellung.
Drehen Sie den Schlüssel in die START-Stellung.
Lassen Sie den Motor höchstens 15 Sekunden anspringen.
Lassen Sie den Schlüssel los, wenn der Motor anspringt.
Lassen Sie den Motor im Leerlauf oder mit etwas Gas laufen, bis der Motor warm ist.
Lösen Sie die Feststellbremse und treten Sie das Fahrpedal nach vorne, um vorwärts zu fahren oder drücken Sie es nach hinten, um rückwärts zu fahren.
Important: Stellen Sie sicher, dass das Sprühfahrzeug still steht, bevor Sie zwischen der VORWäRTS- und RüCKWäRTS-Stellung wechseln.
Nehmen Sie den Fuß vom Fahrpedal, um die Maschine langsam anzuhalten.
Note: Das Fahrpedal geht in die NEUTRAL-Stellung zurück.
Wenn Sie schnell anhalten müssen, treten Sie auf das Bremspedal.
Note: Der Bremsweg der Maschine hängt von der Belastung des Sprühfahrzeugs und der Fahrgeschwindigkeit der Maschine ab.
Wenn Sie den Schalter für die Fahrgeschwindigkeitssperrung drücken und Ihr Fuß nicht auf dem Fahrpedal ist, kann die Zugmaschine plötzlich anhalten, und Sie verlieren möglicherweise die Fahrzeugkontrolle und verletzen sich oder Unbeteiligte.
Stellen Sie sicher, dass Ihr Fuß auf dem Fahrpedal ist, wenn Sie den Schalter für die Fahrgeschwindigkeitssperrung ausschalten.
Drücken Sie den Sprühpumpenschalter in die EIN-Stellung, um die Sprühpumpe zu aktivieren, siehe Sprühpumpenschalter.
Fahren Sie vorwärts und erreichen Sie die gewünschte Fahrgeschwindigkeit, siehe Fahren mit der Maschine.
Note: Die Geschwindigkeit der Maschine darf höchstens 11 km/h betragen, wenn Sie die Fahrgeschwindigkeit arretieren.
Drücken Sie oben auf den Schalter für die Fahrgeschwindigkeitssperrung.
Note: Die Lampe am Schalter leuchtet auf.
Nehmen Sie den Fuß vom Fahrpedal.
Note: Das Sprühfahrzeug fährt mit der eingestellten Geschwindigkeit.
Zum Ausschalten des Schalters für die Fahrgeschwindigkeitssperrung können Sie entweder den Fuß auf das Fahrpedal stellen und unten am Schalter drücken, oder den Fuß vom Fahrpedal nehmen und auf das Bremspedal treten.
Note: Die Lampe am Schalter leuchtet auf, und der Fahrantrieb geht auf das Fahrpedal zurück.
Stellen Sie alle Bedienelemente in die Neutralstellung“.
Treten Sie auf die Bremse, um das Sprühfahrzeug anzuhalten.
Aktivieren Sie die Feststellbremse.
Stellen Sie den Gasbedienungshebel in die LEERLAUF/LANGSAM-Stellung.
Drehen Sie den Schlüssel in die AUS-Stellung.
Ziehen Sie den Schlüssel ab, damit der Motor nicht aus Versehen angelassen werden kann.
Es gibt zwei Kategorien von Motormeldungen, die auf dem InfoCenter angezeigt werden, wenn der Motor außerhalb der sicheren Betriebsgrenze läuft:
Hinweismeldungen des Motors
Meldungen, die zu einem Motorstopp führen
Note: Sie müssen die Audio-Stummschaltungsoption im InfoCenter auf ON einstellen, damit Hinweis- und Stoppmeldungen des Motors ertönen; siehe Stummschalten der Audiomeldungen im Softwareanleitung für die Sprühfahrzeuge Multi Pro 5800-D und 5800-G mit ExcelaRate-Sprühsystem.
Note: Das Symbol
in der rechten oberen Ecke des Startbildschirms, eine Hinweismeldung
des Motors oder Stoppmeldung des Motors zeigt an, dass eine aktive
Störung am Motor vorliegt.
Wenn eine Hinweismeldungen des Motors im InfoCenter angezeigt wird, sollten Sie den Sprühbetrieb einstellen und die Maschine zu einer Reparaturwerkstatt fahren. Beispiele für die Hinweismeldungen des Motors sind wie folgt:
Wenn das Motorsteuergerät (ECU) eine Störung erkennt, die lediglich einen Hinweis für den Benutzer erfordert, wird die Anzeige für Hinweismeldungen angezeigt (Bild 36).

Stoppen Sie den Sprühbetrieb und fahren Sie die Maschine zu einer Reparaturwerkstatt.
Note: Eine aktive Störungsmeldung wird angezeigt (Bild 37).

Betätigen Sie die Tasten 1 bis 5, um die Liste der aktiven Störungen anzuzeigen (Bild 38).
Betätigen Sie die Taste 1 oder 2, um in der Liste nach oben oder unten zu blättern.
Betätigen Sie die Taste 3, um den Audioalarm stumm zu schalten.

Betätigen Sie die Taste 5, um die Liste der aktiven Störungen zu verlassen und in den Startbildschirm zu wechseln (Bild 39).

Wenn im InfoCenter eine Meldung angezeigt wird, die zu einem Motorstopp führt, sollten Sie die Maschine sofort anhalten und den Motor ausschalten. Beispiele für die Hinweismeldungen des Motors sind wie folgt:
Important: Ein Weiterbetrieb des Motors bei angezeigter Stoppmeldung führt zu Schäden am Motor.
Wenn das Motorsteuergerät (ECU) eine schwere Störung erkennt, wird die Anzeige für Stoppmeldungen angezeigt (Bild 40).

Stellen Sie die Maschine sofort ab und schalten Sie den Motor aus.
Eine aktive Störungsmeldung wird als nächstes angezeigt (Bild 41).

Betätigen Sie die Tasten 1 bis 5, um die Liste der aktiven Störungen anzuzeigen, siehe Bild 38 in Hinweismeldungen des Motors.
Betätigen Sie die Taste 1 oder 2, um in der Liste nach oben oder unten zu blättern.
Betätigen Sie die Taste 3, um den Audioalarm stumm zu schalten.
Betätigen Sie die Taste 5, um die Liste der aktiven Störungen zu verlassen und in den Startbildschirm zu wechseln, siehe Bild 39 in Hinweismeldungen des Motors.
Verwenden des Sprühfahrzeugs: Füllen Sie den Sprühbehälter füllen, bringen Sie die Produktmischung am Einsatzort aus und reinigen Sie dann den Sprühbehälter und das Sprühsystem. Sie müssen diese drei Schritte unbedingt nacheinander ausführen, um eine Beschädigung des Sprühfahrzeugs zu vermeiden. Beispiel: Mischen und füllen Sie keine Chemikalien in den Sprühbehälter am Abend ein, die Sie dann am nächsten Morgen sprühen. Dies würde zu einer Separation der Chemikalien führen und könnte die Komponenten des Sprühfahrzeugs beschädigen.
Chemikalien sind gefährlich und können Verletzungen verursachen.
Lesen Sie die Anweisungen auf den Etiketten, bevor Sie mit Chemikalien umgehen und befolgen Sie alle Herstellerempfehlungen und Sicherheitsvorkehrungen.
Lassen Sie die Chemikalien nicht in Berührung mit Ihrer Haut kommen. Sollte Ihre Haut mit Chemikalien in Kontakt kommen, waschen Sie den Bereich gründlich mit Seife und sauberem Wasser.
Tragen Sie geeignete persönliche Schutzausrüstung (PSA) gemäß den Anweisungen des Chemikalienherstellers.
Das Multi Pro® Sprühfahrzeug wurde speziell für eine hohe Lebensdauer entwickelt und bietet eine lange Lebensdauer des Sprühfahrzeugs. An verschiedenen Stellen des Sprühfahrzeugs wurden aus bestimmten Gründen unterschiedliche Materialien verwendet, um dieses Ziel zu realisieren. Leider gibt es kein Material, das für alle denkbaren Anwendungen perfekt ist.
Einige Chemikalien sind aggressiver als andere, und jede Chemikalie reagiert mit Materialien anders. Einige Zusammensetzungen (z. B. benetzbares Pulver, Aktivkohle) sind aggressiver und führen zu höherer Abnutzung. Wenn eine Chemikalie in einer Rezeptur erhältlich ist, mit der die Nutzungsdauer des Sprühfahrzeugs verlängert wird, verwenden Sie die alternative Rezeptur.
Denken Sie auf jeden Fall daran, das Sprühfahrzeug und das Sprühsystem nach jedem Einsatz gründlich zu reinigen. Dies trägt zu einer langen und problemlosen Nutzungsdauer des Sprühfahrzeugs bei.
Note: Lesen Sie die dem System beiliegende Bedienungsanleitung, wenn Sie Fragen haben oder weitere Informationen zum Sprühsystem haben.
In der Softwareanleitung für die Sprühfahrzeuge Multi Pro 5800-D und 5800-G mit ExcelaRate-Sprühsystem finden Sie Informationen zu Folgendem:
Vor der Verwendung
InfoCenter-Startbildschirm
Hauptmenübildschirm
Hauptmenü-Unterbildschirme
Wartungsbildschirme
Diagnostikbildschirme
Info-Bildschirme
Während der Verwendung
Eingeben von Arbeitsaufgabeninformationen
InfoCenter-Bildschirme Spray-Area“
InfoCenter-Hinweise
In der Softwareanleitung für die Sprühfahrzeuge Multi Pro 5800-D und 5800-G mit ExcelaRate-Sprühsystem finden Sie Informationen zu den folgenden Schritten:
Important: Verwenden Sie das Rührwerk, wenn Sie eine Lösung im Behälter haben, damit das Produkt gut gemischt bleibt.
Stellen Sie sicher, dass das Sprühsystem für die aktiven Sprühdüsen kalibriert ist, die Sie ausgewählt haben. In der Softwareanleitung für die Sprühfahrzeuge Multi Pro 5800-D und 5800-G mit ExcelaRate-Sprühsystem finden Sie weitere Informationen.
Drehen Sie das Handrad für das Abstellventil des Sicherheitsventil des Abschnitts in die geschlossene Stellung (Bild 42).

Stellen Sie die Taste für den Sprühmodus auf den Dosierungsmodus (Bild 43).

Fahren Sie das Sprühfahrzeug auf den Bereich der Grünfläche, den Sie sprühen möchten.
Wenn Sie Daten zum gesprühten Bereich und dem gesprühten Volumen für jede Arbeitsstelle sammeln, wählen Sie einen Unterbereich-Bildschirm (Unterbereiche 1 bis 20), um die Informationen der Bereiche und Volumen aufzuzeichnen. Lesen Sie den Abschnitt Verwenden der Unterbereich-Bildschirme“ in der Softwareanleitung für das Sprühfahrzeug Multi Pro 5800-D und 5800-G mit ExcelaRate-Sprühsystem.
Note: Wenn Sie auf eine andere Arbeitsstelle fahren, müssen Sie einen anderen Unterbereich-Bildschirm auswählen, um die Informationen zum Bereich und zum Volumen aufzuzeichnen.
Wenn Sie die aktive Dosierung zwischen Dosierung 1 und Dosierung 2 wechseln müssen, drücken Sie auf dem InfoCenter-Startbildschirm gleichzeitig die Tasten 1 und 2, und wählen Sie DOSIERUNG 1 aus oder drücken Sie gleichzeitig die Tasten 4 und 5 und wählen Sie DOSIERUNG aus. Weitere Informationen finden Sie in der Softwareanleitung für das Sprühfahrzeug Multi Pro 5800-D und 5800-G mit ExcelaRate-Sprühsystem.
Stellen Sie die Sprühabschnittschalter in die EIN-Stellung (Bild 44).

Stellen Sie den Rührwerk- und Sprühpumpenschalter in die EIN-Stellung (Bild 45).

Stellen Sie die Gasbedienung in die SCHNELL-Stellung (Bild 45).
Fahren Sie mit der gewünschten Geschwindigkeit und stellen Sie den Hauptabschnittschalter in die EIN-Stellung, um mit dem Sprühen zu beginnen (Bild 44).
Note: Starten und stoppen Sie den Chemikalienfluss zu den ausgewählten Sprühabschnitten mit dem Hauptabschnittschalter.
Stellen Sie nach dem Sprühen den Hauptabschnittschalter in die AUS-Stellung, um alle abzuschalten. Stellen Sie den Sprühpumpenschalter dann in die AUS-Stellung.
Note: Heben Sie die äußeren Sprühabschnitte in die Transportstellung an und fahren Sie das Sprühfahrzeug zum Reinigungsbereich.
Important: Heben Sie die Auslegerabschnitte immer so weit an, bis sie ganz in der Transportgabel (in der Überkreuzstellung für den Transport) sind, und die Hubzylinder ganz eingefahren sind, wenn Sie mit dem Sprühfahrzeug von einem Sprühbereich zu einem anderen oder zu einem Einlagerungs- oder Reinigungsbereich fahren.
Note: In diesem Schritt wird vorausgesetzt, dass die Sprühpumpe eingeschaltet ist, siehe Bild 45 in Sprühen im Dosierungsmodus.
Stellen Sie sicher, dass das Sprühsystem für die aktiven Sprühdüsen kalibriert ist, die Sie ausgewählt haben, siehe Auswählen einer Düse.
Stellen Sie die Taste für den Sprühmodus auf den manuellen Modus (Bild 46).

Stellen Sie den Hauptabschnittschalter in die AUS-Stellung, siehe Bild 44 in Sprühen im Dosierungsmodus.
Stellen Sie die Gasbedienung auf die gewünschte Motordrehzahl, siehe Bild 45 in Sprühen im Dosierungsmodus.
Fahren Sie zum Sprühbereich.
Senken Sie die Abschnitte ab.
Stellen Sie die Schalter der einzelnen Abschnitte nach Wunsch in die EIN-Stellung, siehe Bild 44 in Sprühen im Dosierungsmodus.
Stellen Sie mit dem Dosierungsschalter den gewünschten Sprühdruck ein, wie in der Düsenauswahlanleitung angegeben, die mit dem Sprühfahrzeug geliefert wurde (Bild 47).

Fahren Sie mit der gewünschten Geschwindigkeit und stellen Sie den Hauptabschnittschalter in die EIN-Stellung, um mit dem Sprühen zu beginnen, siehe Bild 44 in Sprühen im Dosierungsmodus.
Note: Wenn der Behälter fast leer ist, kann das Rührwerk zu einer Schaumbildung im Behälter führen. Drehen Sie in dieser Situation den Rührwerkschalter in die AUS-Stellung. Sie können auch ein schaumhemmendes Mittel im Behälter verwenden.
Stellen Sie nach dem Sprühen den Hauptabschnittschalter in die AUS-Stellung, um alle Abschnitte abzuschalten. Stellen Sie den Sprühpumpenschalter dann in die AUS-Stellung.
Note: Bringen Sie die Abschnitte wieder in die Transportstellung und fahren Sie das Sprühfahrzeug zum Reinigungsbereich.
Important: Heben Sie die Abschnitte immer so weit an, bis sie ganz in der Transportgabel (in der Überkreuzstellung für den Transport) sind, und die Abschnittzylinder ganz eingefahren sind, wenn Sie mit dem Sprühfahrzeug von einem Sprühbereich zu einem anderen oder zu einem Einlagerungs- oder Reinigungsbereich fahren.
Important: Für dieses Verfahren benötigen Sie einen Auffangbehälter mit Skala (ein Behälter mit 0,01 ml Mengeneinteilung ist geeignet) und eine Stoppuhr.
Important: Verwenden Sie (falls möglich) im Sprühbehälter kein Brauchwasser.
Stellen Sie sicher, dass der Sprühbehälter sauber ist, siehe Reinigen des Sprühsystems.
Füllen Sie den Sprühbehälter mit mindestens 568 Litern Frischwasser, siehe Füllen des Behälters.
Stellen Sie sicher, dass die Düsen, die Sie testen möchten, in der aktiven Sprühstellung (nach unten) sind.
Stellen Sie für Maschinen im Dosierungsmodus sicher, dass das Handrad für das Abstellventil des Sicherheitsventil des Abschnitts in der geschlossenen Stellung ist (Bild 48).

Stellen Sie für Maschinen im Dosierungsmodus sicher, dass das Abstellventil des Sicherheitsventil des Abschnitts geschlossen ist (Bild 48).
Aktivieren Sie die Feststellbremse und lassen Sie den Motor an.
Note: Lassen Sie den Motor für zehn Minuten anwärmen.
Führen Sie für Maschinen im Dosierungsmodus die Schritte in Verwenden der Testgeschwindigkeit“ durch, siehe die Softwareanleitung für die Sprühfahrzeuge Multi Pro 5800-D und 5800-G mit ExcelaRate-Sprühsystem für weitere Informationen.
Note: Stellen Sie die simulierte Testgeschwindigkeit zwischen 4 km/h und 14 km/h ein.
Stellen Sie die Sprühabschnittschalter für die Abschnitte, die Sie testen, in die EIN-Stellung.
Stellen Sie die Gasbedienung in die SCHNELL-Stellung.
Stellen Sie den Hauptabschnittschalter in die EIN-Stellung.
Führen Sie einen 15-minütigen Fangtest an einer der aktiven Sprühdüsen durch.

Schalten Sie den Hauptabschnittschalter ab, stellen die Gasbedienung in die Langsam-Stellung, schalten Sie die Sprühpumpe aus und stellen den Motor ab.
Stellen Sie den Behälter mit der Skala auf eine ebene Fläche und notieren Sie das Flüssigkeitsvolumen (Bild 50).
Important: Wenn Sie den Behälter mit Skala ablesen, muss der Behälter auf einer ebenen Fläche stehen.
Important: Wenn Sie den Behälter mit Skala ablesen, lesen Sie das Flüssigkeitsvolumen im Behälter mit Skala am untersten Punkt der Flüssigkeitsoberflächenkurve ab.
Important: Kleine Fehler beim Ablesen des Flüssigkeitsvolumens im Behälter mit Skala wirken sich stark auf die Genauigkeit der Sprühfahrzeugkalibrierung aus.

Vergleichen Sie die Wassermenge im Behälter mit Skala mit dem Düsenvolumen in der Tabelle für den 15 Sekunden langen Fangtest.
| Düsenfarbe | In 15 Sekunden gesammelte Millimeter | In 15 Sekunden gesammelte Unzen |
|---|---|---|
| Gelb | 189 | 6,4 |
| Rot | 378 | 12,8 |
| Braun | 473 | 16,0 |
| Grau | 567 | 19,2 |
| Weiß | 757 | 25,6 |
| Blau | 946 | 32,0 |
| Grün | 1.419 | 48,0 |
Wenn der Flüssigkeitsstand im Fangbehälter mit Skala 7,4 ml höher oder niedriger als das Düsenvolumen in der Tabelle für den 15 Sekunden langen Fangtest ist, führen Sie einen der folgenden Schritte aus:
Führen Sie eine Flusskalibrierung aus oder ersetzen Sie abgenutzte Düsen und führen Sie eine Flusskalibrierung durch, siehe Flusskalibrierungsschritt in der Softwareanleitung für die Sprühfahrzeuge Multi Pro 5800-D und 5800-G mit ExcelaRate-Sprühsystem.
Kalibrieren Sie das Sicherheitsventil des Rührwerks oder ersetzen Sie abgenutzte Düsen und kalibrieren Sie das Sicherheitsventil des Rührwerks, siehe Kalibrieren des Rührwerksicherheitsventils.
Mit den Hubschaltern für den Auslegerabschnitt am Bedienfeld des Sprühfahrzeugs bewegen Sie die äußeren Sprühabschnitte zwischen der Transport- und der Sprühstellung, ohne dass Sie den Bedienersitz verlassen müssen. Falls möglich, halten Sie die Maschine an, bevor Sie die Stellung der Sprühabschnitte ändern.
Führen Sie die folgenden Schritte aus, um die äußeren Sprühabschnitte in die Sprüh-Stellung zu bewegen:
Stellen Sie die Maschine auf einer ebenen Fläche ab.
Senken Sie die äußeren Abschnitte mit den Hubschaltern für den Auslegerabschnitt ab.
Note: Warten Sie, bis die äußeren Sprühabschnitte ganz in die Sprüh-Stellung ausgefahren sind.
Führen Sie Ihre Sprüharbeiten aus und führen Sie die folgenden Schritte aus, um die äußeren Sprühabschnitte in die Transport-Stellung zu bringen:
Important: Wenn Ihre Maschine über verwehungsreduzierenden Auslegerhaubenkit, das Ultra-Sonic Auslegernievellierkit oder beide verfügt, bewegen Sie die äußeren Spritzabschnitte nacheinander in die Transportstellung.Das gleichzeitige Bewegen beider äußeren Spritzabschnitte mit dem installierten Haubenkit oder Nivellierkit kann die Hauben, die Sensoren oder beide beschädigen.
Stellen Sie die Maschine auf einer ebenen Fläche ab.
Heben Sie die äußeren Sprühabschnitte mit den Hubschaltern für den Auslegerabschnitt an, bis sie sich ganz in den Transportgabeln der Ausleger (Überkreuzstellung für den Transport) befinden und die Hubzylinder ganz eingefahren sind.
Important: Lassen Sie die Hubschalter für den Auslegerabschnitt los, wenn die äußeren Sprühabschnitte in der gewünschten Stellung sind. Wenn die Aktuatoren die Anschläge berühren, können die Hubzylinder oder andere Hydraulikteile beschädigt werden.
Important: Achten Sie darauf, dass die Sprühabschnitte in der Transportstellung nicht mit niedrigen oberirdisch liegenden Gegenständen in Berührung kommen, da dies die Sprühabschnitte beschädigen kann.
Important: Die Sprühabschnitte können beschädigt werden, wenn Sie sie nicht in der Überkreuzstellung für den Transport mit der Transportgabel der Ausleger befördern.

Important: Stellen Sie sicher, dass die Aktuatoren vor dem Transport der Maschine ganz eingefahren sind, um eine Beschädigung des Hubzylinders zu verhindern.
Important: Manchmal kann die Wärme vom Motor, dem Kühler und Auspuff das Gras beschädigen, wenn Sie das Sprühfahrzeug stationär einsetzen. Stationärer Einsatz umfasst das Behälterrührwerk, das Sprühen mit einer Handspritzpistole oder das Sprühen mit einem tragbaren Ausleger.
Befolgen Sie die nachstehenden Sicherheitsvorkehrungen:
Vermeiden Sie ein stationäres Sprühen, wenn es sehr heiß und/oder trocken ist, da Rasenflächen zu diesen Zeitpunkten mehr gestresst sind.
Vermeiden Sie ein Parken auf der Rasenfläche, wenn Sie stationär sprühen. Parken Sie, falls möglich, auf einem Weg.
Minimieren Sie die Dauer, für die das Gerät über einem bestimmten Bereich der Grünfläche eingeschaltet ist. Sowohl die Dauer als auch die Temperatur wirken sich darauf aus, wie stark der Rasen beschädigt ist.
Stellen Sie die Motordrehzahl so niedrig wie möglich ein, um den gewünschten Druck und Durchfluss zu erreichen. Dies verringert die Wärmeentwicklung und die Luftgeschwindigkeit vom Kühllüfter.
Lassen Sie die Wärme nach oben vom Motorbereich entweichen. Klappen Sie den Sitz hoch, wenn Sie stationär arbeiten, damit die Wärme nicht unter dem Fahrzeug herausgedrückt wird.
Achten Sie darauf, dass sich die gesprühten Flächen nicht überschneiden.
Achten Sie auf verstopfte Düsen. Ersetzen Sie abgenutzte und beschädigte Düsen.
Stoppen Sie den Sprühfluss mit dem Hauptabschnittschalter, bevor Sie das Sprühfahrzeug anhalten. Wenn das Sprühfahrzeug angehalten ist, halten Sie die Motordrehzahl mit der Gasbedienung aufrecht, damit das Rührwerk weiter läuft.
Sie erhalten bessere Ergebnisse, wenn das Sprühfahrzeug beim Einschalten der Sprühabschnitte in Bewegung ist.
Wenn eine Düse beim Sprühen verstopft, reinigen Sie die Düse wie folgt:
Halten Sie das Sprühfahrzeug auf einer ebenen Fläche an, stellen Sie den Motor ab und aktivieren die Feststellbremse.
Stellen Sie den Hauptabschnittschalter in die AUS-Stellung und stellen Sie dann den Sprühpumpenschalter in die AUS-Stellung.
Entfernen Sie die verstopfte Düse und reinigen Sie sie mit einer Spritzflasche mit Wasser und einer Zahnbürste.
Setzen Sie die Düse ein.
Bevor Sie den Fahrerstand verlassen, gehen Sie wie folgt vor:
Stellen Sie die Maschine auf einer ebenen Fläche ab.
Bewegen Sie das Fahrpedal in die NEUTRAL-Stellung.
Schalten Sie die Sprühpumpe aus.
Aktivieren Sie die Feststellbremse.
Stellen Sie den Motor ab und ziehen Sie den Zündschlüssel ab (sofern vorhanden).
Warten Sie, bis alle beweglichen Teile zum Stillstand gekommen sind.
Lassen die Maschine abkühlen, bevor Sie sie einstellen, warten, reinigen, oder einlagern.
Nachdem Sie die tägliche Nutzung der Maschine abgeschlossen haben, waschen Sie alle chemischen Rückstände von der Außenseite der Maschine ab und stellen Sie sicher, dass das System gemäß den Empfehlungen des/der Chemikalienhersteller(s) neutralisiert und dreifach gespült wurde und dass alle Ventile dreimal betätigt wurden; siehe Chemikaliensicherheit.
Lassen Sie den Motor abkühlen, bevor Sie die Maschine in einem geschlossenen Raum abstellen.
Lagern Sie die Maschine oder den Benzinkanister nie an Orten mit offener Flamme, Funken oder Zündflamme, z. B. Warmwasserbereiter oder andere Geräte.
Halten Sie alle Teile der Maschine in gutem Betriebszustand und alle Befestigungen angezogen.
Ersetzen Sie alle abgenutzten oder fehlenden Aufkleber.
Waschen Sie das Fahrzeug nach Bedarf nur mit Wasser oder mit einem milden Reinigungsmittel. Zum Reinigen des Fahrzeugs kann ein Putztuch/-lappen verwendet werden.
Important: Verwenden Sie zur Reinigung der Maschine kein Brack- oder wiederaufbereitetes Wasser.
Note: Reinigen Sie die Maschine nicht mit einem Hochdruckreiniger. Hochdruckreiniger können die Elektroanlage beschädigen, wichtige Aufkleber lösen und das an den Reibungsstellen benötigte Fett wegspülen. Vermeiden Sie den Einsatz von zu viel Wasser, insbesondere in der Nähe des Armaturenbretts, des Motors und der Batterie.
Important: Reinigen Sie die Maschine bei laufendem Motor nicht mit Wasser. Das Reinigen der Maschine mit Wasser bei laufendem Motor kann zu einer internen Motorbeschädigung führen.
Halten Sie das Sprühfahrzeug an, aktivieren Sie die Feststellbremse, stellen Sie den Motor ab und ziehen den Schlüssel ab.
Ermitteln Sie das Behälterentleerungsventil am hinteren Kotflügel an der linken Seite der Maschine (Bild 52).
Note: Das Ablassventil ist an der Ablassventilhalterung befestigt, die am hinteren Kotflügel an der linken Seite befestigt ist.

Heben Sie das Ventil an, bis die Befestigungsbolzen des Ventils nicht mehr in den Schlitzen in der Ablassventilhalterung sind, und nehmen Sie das Ventil rückwärts heraus (Bild 53A).

Fluchten Sie das Ende des Ventils mit dem Ablassbehälter aus und drehen Sie den Ventilgriff in die geöffnete Stellung (Bild 53B).
Wenn der Behälter ganz geleert ist, drehen Sie den Griff des Ablassventils in die geschlossene Stellung und setzen Sie das Ventil in die Ablassventilhalterung ein (Bild 53B und Bild 53A).
Important: Entsorgen Sie die Chemikalien im Sprühbehälter entsprechend den örtlichen Vorschriften und den Vorschriften des Herstellers.
| Wartungsintervall | Wartungsmaßnahmen |
|---|---|
| Nach jeder Verwendung |
|
Important: Reinigen Sie das Sprühfahrzeug nur mit sauberem Wasser.
Important: Sie müssen das Sprühfahrzeug und montiertes Sprühzubehör sofort nach jedem Einsatz entleeren und ausspülen. Wenn Sprühfahrzeug nicht spülen und reinigen, können die Chemikalien in den Leitungen austrocknen und Leitungen, Filter, Ventile, Düsengehäuse, Pumpen und andere Teile verstopfen.
Toro empfiehlt die Verwendung des zugelassenen Reinigungsspülkits für diese Maschine. Wenden Sie sich an den offiziellen Toro-Vertragshändler für weitere Informationen.
Note: In den nachfolgenden Empfehlungen und Anweisungen wird davon ausgegangen, dass das Spülkit von Toro nicht montiert ist.
Reinigen Sie das Sprühsystem und montiertes Sprühzubehör nach jedem Sprühen. So reinigen Sie das Sprühsystem richtig:
Führen Sie drei Spülgänge durch.
Verwenden Sie die von den Chemikalienherstellern empfohlenen Reinigungs- und Neutralisierungsmittel.
Verwenden Sie für den letzten Spülgang sauberes Wasser (ohne Reinigungs- oder Neutralisierungsmittel).
Füllen Sie den Behälter mit mindestens 190 L sauberem, frischem Wasser und schließen Sie die Abdeckung.
Note: Sie können dem Wasser ggf. ein Reinigungs- bzw. Neutralisierungsmittel zugeben. Verwenden Sie für das letzte Spülen nur sauberes Wasser.
Senken Sie die äußeren Sprühabschnitte in die Sprühstellung ab.
Lassen Sie den Motor an, stellen Sie den Sprühpumpenschalter in die EIN-Stellung und stellen den Gasbedienungshebel auf eine höhere Motordrehzahl.
Stellen Sie den Schalter für das Rührwerk in die EIN-Stellung.
Erhöhen Sie den Druck mit dem Dosierungsschalter auf eine hohe Einstellung.
Stellen Sie die Schalter der einzelnen Abschnitte und den Hauptabschnittschalter in die EIN-Stellung.
Prüfen Sie die Düsen und stellen Sie sicher, dass alle ordnungsgemäß sprühen.
Sprühen Sie die gesamte Wassermenge im Behälter durch die Düsen.
Stellen Sie den Hauptabschnittschalter in die AUS-Stellung, den Rührwerkschalter und Sprühpumpenschalter in die AUS-Stellung und stellen Sie den Motor ab.
Wiederholen Sie die Schritte 1 bis 9 mindestens noch zweimal, um eine gründliche Säuberung des Sprühsystems zu gewährleisten.
Important: Sie müssen immer drei Spülgänge durchführen, um sicherzustellen, dass das Sprühsystem und das Sprühzubehör richtig sauber sind, damit das System nicht beschädigt wird.
Reinigen Sie den Saugfilter und den Druckfilter; siehe Reinigen des Saugfilters und Reinigen des Druckfilters.
Important: Reinigen Sie nach der Verwendung von benetzbarem Chemikalienpulver das Sieb nach jeder Behälterfüllung.
Spritzen Sie das Sprühfahrzeug außen mit einem Gartenschlauch mit sauberem Wasser ab.
Nehmen Sie die Düsen heraus und reinigen Sie diese mit der Hand.
Note: Tauschen Sie beschädigte oder abgenutzte Düsen aus.
Note: Wenn die Maschine mit optionalen Düsenfilters ausgerüstet ist, reinigen Sie sie, bevor Sie die Düsen einsetzen; siehe Reinigen des Düsenfilters.
| Wartungsintervall | Wartungsmaßnahmen |
|---|---|
| Bei jeder Verwendung oder täglich |
|
Parken Sie die Maschine auf einer ebenen Fläche, aktivieren die Feststellbremse, stellen die Pumpe und den Motor ab und ziehen Sie den Schlüssel ab.
Nehmen Sie oben am Sprühbehälter den Halter ab, mit dem das Schlauchanschlussstück befestigt ist, das am dicken Schlauch und dem Filtergehäuse angeschlossen ist (Bild 54).

Nehmen Sie den Schlauch und das Schlauchanschlussstück vom Filtergehäuse ab (Bild 54).
Ziehen Sie das Saugsieb aus dem Filtergehäuse im Behälter (Bild 55).

Reinigen Sie den Saugfilter mit sauberem Wasser.
Important: Ersetzen Sie einen beschädigten oder nicht mehr zu reinigenden Filter.
Setzen Sie den Saugfilter in das Filtergehäuse ein, bis er fest sitzt.
Fluchten Sie den Schlauch und das Schlauchanschlussstück oben am Behälter mit dem Filtergehäuse aus, und befestigen Sie das Anschlussstück und das Gehäuse mit dem in Schritt 2 entfernten Halter.
| Wartungsintervall | Wartungsmaßnahmen |
|---|---|
| Bei jeder Verwendung oder täglich |
|
Parken Sie die Maschine auf einer ebenen Fläche, aktivieren die Feststellbremse, stellen die Sprühpumpe und den Motor ab und ziehen Sie den Schlüssel ab.
Stellen Sie eine Auffangwanne unter den Druckfilter (Bild 56).

Drehen Sie die Ablasskappe nach links und nehmen sie von der Glocke des Druckfilters ab (Bild 56).
Note: Entleeren Sie die Glocke vollständig.
Drehen Sie die Glocke nach links und nehmen den Filterkopf ab (Bild 56).
Entfernen Sie den Druckfiltereinsatz (Bild 56).
Reinigen Sie den Druckfiltereinsatz mit sauberem Wasser.
Important: Ersetzen Sie einen beschädigten oder nicht mehr zu reinigenden Filter.
Prüfen Sie die Dichtung für die Ablassschraube (in der Glocke) und die Dichtung für die Glocke (im Filterkopf) auf Beschädigungen und Abnutzung (Bild 56).
Important: Tauschen Sie beschädigte oder abgenutzte Dichtungen für die Schraube, Glocke oder beide aus.
Setzen Sie den Druckfiltereinsatz in den Filterkopf ein (Bild 56).
Note: Stellen Sie sicher, dass der Filtereinsatz fest im Filterkopf sitzt.
Befestigen Sie die Glocke am Filterkopf und ziehen sie mit der Hand an (Bild 56).
Befestigen Sie die Ablassschraube am Anschlussstück unten an der Glocke und ziehen sie mit der Hand an (Bild 56).
Parken Sie die Maschine auf einer ebenen Fläche, aktivieren die Feststellbremse, stellen die Sprühpumpe und den Motor ab und ziehen Sie den Schlüssel ab.
Nehmen Sie die Düse vom Sprühdrehkreuz ab (Bild 57.

Entfernen Sie den Düsenfilter (Bild 57).
Reinigen Sie den Düsenfilter mit sauberem Wasser.
Important: Ersetzen Sie einen beschädigten oder nicht mehr zu reinigenden Filter.
Setzen Sie den Düsenfilter ein (Bild 57).
Note: Stellen Sie sicher, dass der Filter richtig sitzt.
Setzen Sie die Düse auf das Sprühdrehkreuz auf (Bild 57).
| Wartungsintervall | Wartungsmaßnahmen |
|---|---|
| Nach jeder Verwendung |
|
Technische Daten für Konditionierer: Propylenglykol (ungiftiges RV-Frostschutzmittel) mit Korrosionsschutzmittel
Important: Verwenden Sie nur Propylenglykol mit Korrosionsschutzmittel. Verwenden Sie kein gebrauchtes Propylenglykol. Verwenden Sie kein Frostschutzmittel auf Ethylenglykol-Basis.Verwenden Sie kein Propylenglykol mit den löslichen Alkoholen (Methanol, Ethanol oder Isopropanol) oder Frostschutzmitteln, die zugefügt wurden.
Stellen Sie die Maschine auf eine ebene Fläche, stellen den Motor ab und ziehen Sie den Zündschlüssel ab.
Füllen Sie wie folgt Konditionierer in den Behälter:
Vorgemischtes RV-Frostschutzmittel mit Propylenglykol: Füllen Sie 39 Liter RV-Frostschutzmittel mit Propylenglykol in den Behälter.
Führen Sie für konzentriertes RV-Frostschutzmittel mit Propylenglykol folgende Schritte aus:
Füllen Sie eine 45,6-Liter-Mischung aus RV-Frostschutzmittel mit Propylenglykol und Wasser in den Sprühbehälter. Bereiten Sie die Frostschutzmittellösung gemäß des Herstellers für eine Konzentration für mindestens -45° C vor.
Important: Reinigen Sie das Sprühfahrzeug nur mit sauberem Wasser.
Lassen Sie den Motor an und stellen Sie den Sprühpumpenschalter in die EIN-Stellung.
Treten Sie auf das Fahrpedal, um die Motordrehzahl zu erhöhen.
Stellen Sie den Schalter für das Rührwerk in die EIN-Stellung.
Lassen Sie den Konditionierer und die Wasserlösung für drei Minuten oder länger zirkulieren.
Empfohlenes Werkzeug: Ein durchsichtiger Fangbehälter.
Fahren Sie mit der Maschine auf den Bereich mit dem Ablasspad und aktivieren Sie die Feststellbremse.
Senken Sie die äußeren Auslegerabschnitte ab.
Stellen Sie den linken, mittleren und rechten Abschnittschalter und den Hauptabschnittschalter in die EIN-Stellung.
Sprühen Sie mit dem Sprühsystem, bis der Konditionierer aus den Düsen austritt.
Note: Die meisten RV-Frostschutzmittel mit Propylenglykol sind rosa. Sammeln Sie den Auswurf des Sprühfahrzeugs an mehreren Düsen mit dem Fangbehälter.
Stellen Sie den Hauptabschnittschalter, die drei Abschnittsschalter, den Rührwerkschalter, Sprühpumpenschalter und den Motor ab.
Befördern Sie die Maschine über lange Strecken auf einem Anhänger oder Pritschenwagen.
Verwenden Sie Rampen über die ganze Breite für das Verladen der Maschine auf einen Anhänger oder Pritschenwagen.
Binden Sie die äußeren Sprühabschnitte an den Transportgabeln des Auslegerabschnitts fest:
Befestigen Sie die Maschine sicher am Transportfahrzeug; in Bild 58 und Bild 59 sind die Vergurtungsstellen an der Maschine abgebildet.


Im Notfall können Sie das Sprühfahrzeug über kürzere Strecken abschleppen, wenn Sie das Abschleppventil geöffnet haben. Toro kann dies jedoch nicht als normale Vorgehensweise empfehlen.
Das Abschleppen mit zu hohen Geschwindigkeiten kann zum Verlust der Lenkkontrolle und so zu Verletzungen führen.
Schleppen Sie die Maschine höchstens mit 4,8 km/h ab.
Zum Abschleppen des Sprühfahrzeugs sind zwei Personen erforderlich. Verwenden Sie einen Pritschenwagen oder Anhänger, wenn die Maschine über längere Strecken transportiert werden muss, siehe Befördern der Maschine.
Lassen Sie den Auspuff vollständig abkühlen.
Nehmen Sie die Fahrwerkabdeckung ab, siehe Zugang zum Motor.
Drehen Sie das Abschleppventil (Bild 60) um 90° in eine Richtung, um es zu öffnen.

Important: Wenn Sie das Abschleppventil nicht vor dem Abschleppen des Sprühfahrzeugs öffnen, wird das Getriebe beschädigt.
Bringen Sie eine Schleppleine am Rahmen an, siehe Abschleppstellen vorne und hinten (Bild 61 und Bild 62).


Lösen Sie die Feststellbremse.
Schleppen Sie das Sprühfahrzeug mit einer Geschwindigkeit unter 4,8 km/h ab.
Schließen Sie nach dem Abschleppen das Abschleppventil und ziehen Sie es bis auf 7-11 N∙m an.
Important: Setzen Sie die Fahrwerkabdeckung auf, bevor Sie die Maschine wieder in Betrieb nehmen, siehe Zugang zum Motor.
Note: Laden Sie ein kostenfreies Exemplar des elektrischen oder hydraulischen Schaltbilds von www.Toro.com herunter und suchen Sie Ihre Maschine vom Link für die Bedienungsanleitungen auf der Homepage.
Important: Weitere Informationen zu Wartungsarbeiten finden Sie in der Motorbedienungsanleitung.
Note: Bestimmen Sie die linke und rechte Seite der Maschine anhand der normalen Sitz- und Bedienposition.
Bevor Sie den Fahrerstand verlassen, gehen Sie wie folgt vor:
Stellen Sie die Maschine auf einer ebenen Fläche ab.
Bewegen Sie das Fahrpedal in die NEUTRAL-Stellung.
Aktivieren Sie die Feststellbremse.
Stellen Sie den Motor ab und ziehen Sie den Zündschlüssel ab (sofern vorhanden).
Warten Sie, bis alle beweglichen Teile zum Stillstand gekommen sind.
Lassen Sie alle Maschinenteile abkühlen, ehe Sie mit Wartungsarbeiten beginnen.
Lassen Sie die Maschine nur von geschulten und autorisierten Personen warten, reparieren, einstellen oder prüfen.
Reinigen und spülen Sie die Sprüheinrichtung gründlich, bevor Sie Wartungsarbeiten durchführen; siehe Chemikaliensicherheit.
Die im Sprühsystem verwendeten Chemikalien sind gefährlich und können für Sie, Unbeteiligte, Tiere, Pflanzen, Böden oder anderes Eigentum giftig sein.
Lesen Sie die chemischen Warnaufkleber und die Sicherheitsdatenblätter für alle verwendeten Chemikalien sorgfältig durch, und halten Sie sich an die Angaben. Tragen Sie außerdem die vom Chemikalienhersteller empfohlene Schutzkleidung.
Schützen Sie beim Umgang mit Chemikalien immer Ihre Hautflächen. Tragen Sie geeignete Schutzkleidung, um sich vor dem Kontakt mit Chemikalien zu schützen, u. a.:
Sicherheitsbrillen, Schutzbrillen und Gesichtsmaske
Schutzanzug
Atmungsgerät oder Filtermaske
Chemikalienbeständige Handschuhe
Gummistiefel oder Arbeitsschuhe
Saubere Ersatzkleidung, Seife und Einweghandtücher für Reinigungsarbeiten
Weigern Sie sich, das Sprühfahrzeug einzusetzen oder an ihm zu arbeiten, wenn Informationen zur Chemikaliensicherheit nicht verfügbar sind.
Füllen, kalibrieren oder reinigen Sie die Maschine nicht, wenn sich Personen, besonders Kinder oder Haustiere, im Bereich aufhalten.
Verwenden Sie Chemikalien in einem gut gelüfteten Bereich.
Sie sollten sauberes Wasser griffbereit haben, besonders wenn Sie den Sprühbehälter auffüllen.
Essen, trinken oder rauchen Sie nicht beim Umgang mit Chemikalien.
Blasen Sie nicht in die Sprühdüsen oder nehmen sie in den Mund, um sie zu reinigen.
Waschen Sie sich immer die Hände und andere nicht geschützte Körperteile, sobald Sie den Umgang mit Chemikalien abgeschlossen haben.
Chemikalien und Dämpfe sind gefährlich. Betreten Sie nie den Behälter oder stecken Sie den Kopf in die Behälteröffnung.
Halten Sie alle Befestigungsmittel ordnungsgemäß angezogen, um den einwandfreien Betriebszustand der Maschine zu gewährleisten.
Halten Sie den Motorbereich frei von überflüssigem Schmierfett, Chemikalien, Schnittgut, Laub und Schmutz, um die Brandgefahr zu reduzieren.
Wenn der Motor zum Durchführen von Wartungseinstellungen laufen muss, berühren Sie den Motor und bewegliche Teile nicht mit den Händen, Füßen und Kleidungsstücken. Halten Sie Unbeteiligte von der Maschine fern.
Stellen Sie die Fahrgeschwindigkeit der Maschine nicht ein. Lassen Sie die Fahrgeschwindigkeit von einem Toro-Kundendienst prüfen, damit Sie die Betriebssicherheit und den einwandfreien Zustand der Maschine sicherstellen.
Wenden Sie sich für große Reparaturen oder technische Unterstützung Hilfe an den offiziellen Toro-Vertragshändler.
Modifikationen der Maschine können sich auf den Maschineneinsatz, die Leistung, Haltbarkeit und die Verwendung auswirken und zu Verletzungen ggf. tödlichen Verletzungen führen. Ein Einsatz unter solchen Bedingungen führt zum Verlust Ihrer Garantieansprüche.
Stützen Sie die Maschine mit Achsständern ab, wenn Sie Arbeiten unter der Maschine ausführen.
Lassen Sie den Druck aus Maschinenteilen mit gespeicherter Energie vorsichtig ab.
| Wartungsintervall | Wartungsmaßnahmen |
|---|---|
| Nach acht Betriebsstunden |
|
| Nach 50 Betriebsstunden |
|
| Nach 200 Betriebsstunden |
|
| Bei jeder Verwendung oder täglich |
|
| Nach jeder Verwendung |
|
| Alle 50 Betriebsstunden |
|
| Alle 100 Betriebsstunden |
|
| Alle 200 Betriebsstunden |
|
| Alle 400 Betriebsstunden |
|
| Alle 800 Betriebsstunden |
|
| Alle 1000 Betriebsstunden |
|
| Alle 2000 Betriebsstunden |
|
| Jährlich |
|
Kopieren Sie diese Seite für regelmäßige Verwendung.
|
Wartungsprüfpunkt |
Für KW: |
||||||
|---|---|---|---|---|---|---|---|
|
Montag |
Dienstag |
Mittwoch |
Donnerstag |
Freitag |
Samstag |
Sonntag |
|
|
Prüfen Sie die Funktion der Bremse und der Feststellbremse. | |||||||
|
Prüfen Sie die Funktion des Sperrschalters für die Neutral-Stellung. | |||||||
|
Prüfen Sie den Kraftstoffstand. | |||||||
|
Prüfen Sie den Motorölstand. | |||||||
|
Prüfen Sie den Stand des Hydrauliköls. | |||||||
|
Prüfen Sie den Kühlmittelstand. | |||||||
|
Prüfen Sie den Luftfilter. | |||||||
|
Prüfen Sie den Kühler und Ölkühler auf Fremdkörper. | |||||||
|
Achten Sie auf ein ungewöhnliches Motorgeräusch. | |||||||
|
Achten Sie auf ein ungewöhnliches Betriebsgeräusch. | |||||||
|
Prüfen Sie den Reifendruck. | |||||||
|
Prüfen Sie die Dichtheit. | |||||||
|
Prüfen Sie alle Hydraulik- und Flüssigkeitsschläuche auf Beschädigungen, Knicke oder Abnutzung. | |||||||
|
Prüfen Sie die Funktion der Instrumente. | |||||||
|
Prüfen Sie die Funktion des Fahrpedals. | |||||||
|
Reinigen Sie das Saugsieb. | |||||||
|
Fetten Sie alle Schmiernippel ein1 | |||||||
|
Waschen Sie die Maschine. | |||||||
|
Bessern Sie alle Lackschäden aus. | |||||||
1Sofort nach jedem Reinigen, unabhängig von den aufgeführten Intervallen.
| Inspiziert durch: | ||
| Punkt | Datum | Informationen |
| 1 | ||
| 2 | ||
| 3 | ||
| 4 | ||
| 5 | ||
| 6 | ||
| 7 | ||
| 8 | ||
| 9 | ||
| 10 | ||
Wenn Sie den Zündschlüssel im Zündschloss stecken lassen, könnte eine andere Person den Motor versehentlich anlassen und Sie und Unbeteiligte schwer verletzen.
Ziehen Sie vor Wartungsarbeiten den Zündschlüssel ab.
Wenn der Motor für die Durchführung regelmäßiger Wartungsarbeiten und/oder Motordiagnostik laufen muss, sollten die Hinterräder des Sprühfahrzeugs 2,5 cm Bodenabstand haben, wobei die Hinterachse durch Achsständer abgestützt werden muss.
Unter Umständen wird ein aufgebocktes Sprühfahrzeug unstabil und fällt vom Wagenheber, wodurch Personen unter der Maschine verletzt würden.
Ziehen Sie immer den Zündschlüssel ab, bevor Sie vom Sprühfahrzeug absteigen.
Blockieren Sie die Räder, wenn das Sprühfahrzeug auf einen Wagenheber aufgebockt ist.
Stützen Sie die Maschine mit Achsständern ab.
Die Hebestelle vorne am Sprühfahrzeug befindet sich unter der Vorderachse, direkt unter den Bandfedern (Bild 63).

Die Hebestelle hinten am Sprühfahrzeug befindet sich an der Rückseite, an der die Auslegerstützen sind (Bild 64).

Aktivieren Sie die Feststellbremse, stellen die Sprühpumpe und den Motor ab, und ziehen Sie den Schlüssel ab.
Heben Sie die Maschine vorne und hinten an und stützen sie mit Achsständern ab, siehe Anheben des Sprühfahrzeugs.
Entfernen Sie die sechs Sechskantschrauben und sechs Scheiben, mit denen das vordere Wärmeschutzblech am Chassis befestigt ist, und nehmen Sie das Schutzblech ab (Bild 65).
Note: Bewahren Sie die Schrauben, Scheiben und das Wärmeschutzblech für den Einbau in Montieren des vorderen Wärmeschutzblechs auf.

Fluchten Sie den hinteren Flansch des vorderen Wärmeschutzblechs über dem vorderen Flansch des hinteren Wärmeschutzblechs aus (Bild 66).

Fluchten Sie die Löcher im vorderen Wärmeschutzblech mit den Gewindelöchern im Chassis aus (Bild 66).
Befestigen Sie das vordere Wärmeschutzblech mit den sechs Sechskantschrauben und sechs Scheiben (Bild 66), die Sie in Schritt 3 von Entfernen des vorderen Wärmeschutzblechs entfernt haben, an der Maschine.
Ziehen Sie die Schrauben mit 19,8 bis 25,4 N∙m an.
Entfernen Sie die Stützböcke und senken Sie die Maschine ab.
Entfernen Sie die fünf Bundkopfschrauben (5/16" x ⅞") und fünf Scheiben (5/16"), mit denen die Rückseite der Fahrwerkabdeckung am Chassis der Maschine befestigt ist (Bild 67).
Note: Bewahren Sie die Bundkopfschrauben und Scheiben für die Installation in Schritt 5 in Montieren der Fahrwerkabdeckung auf.


Nehmen Sie die vier Sicherungsbundmutter (5/16") von den Schrauben und der Schlossschraube ab, mit denen die Befestigungsnasen der Fahrwerkabdeckung an den Befestigungshalterungen des Motors der Maschine befestigt sind (Bild 68).
Note: Nehmen Sie die Schrauben nicht von der Maschine ab. Bewahren Sie die Sicherungsbundmuttern für das Befestigen in Schritt 3 in Montieren der Fahrwerkabdeckung auf.

Nehmen Sie die Befestigungsnasen von den Schrauben ab, mit denen die Fahrwerkabdeckung an den Befestigungshalterungen des Motors montiert ist.
Nehmen Sie die Fahrwerkabdeckung von der Maschine ab (Bild 67 und Bild 68).
Fluchten Sie die Fahrwerkabdeckung mit dem unteren Chassis der Maschine aus, siehe Bild 68 in Entfernen der Fahrwerkabdeckung.
Schieben Sie die Befestigungsnasen der Fahrwerkabdeckung über die Schrauben und die Schlossschraube an den Motorbefestigungshalterungen der Maschine, siehe Bild 68 in Entfernen der Fahrwerkabdeckung.
Befestigen Sie die Fahrwerkabdeckung mit den vier Sicherungsbundmutter (5/16"), die Sie in Schritt 2 von Entfernen der Fahrwerkabdeckung entfernt haben, an den Befestigungshalterungen des Motors (Bild 68).
Fluchten Sie die Löcher im hinteren Teil der Fahrwerkabdeckung mit den Löchern im Chassis aus, siehe Bild 67 in Entfernen der Fahrwerkabdeckung.
Befestigen Sie den hinteren Teil der Fahrwerkabdeckung mit den fünf Bundkopfschrauben (5/16" x ⅞") und fünf Scheiben (5/16"), die Sie in Schritt 1 von Entfernen der Fahrwerkabdeckung entfernt haben, am Chassis (Bild 67).
Ziehen Sie die Muttern und Schrauben mit 11,3 bis 15,8 N∙m an.
Fluchten Sie die Löcher in der Abdeckplatte des Sitzunterteils mit den Löchern im Sitzunterteil aus (Bild 69).
Befestigen Sie die Abdeckplatte des Sitzunterteils mit den zwei Bundkopfschrauben (Bild 69) am Sitzunterteil, die Sie in Schritt 1 in Entfernen der Abdeckplatte am Sitzunterteil entfernt haben.
Ziehen Sie die Schrauben mit 19,8 bis 25,4 N∙m an.
| Wartungsintervall | Wartungsmaßnahmen |
|---|---|
| Alle 50 Betriebsstunden |
|
Fettsorte: Mobilgrease XHP 461.
| Wartungsintervall | Wartungsmaßnahmen |
|---|---|
| Alle 50 Betriebsstunden |
|
Schmierfettsorte: Nr. 2 Allzweckschmierfett auf Lithiumbasis. Toro Premium-Allzweckschmiermittel erhalten Sie von Ihren autorisierten Toro-Vertragshändler.
Lenkzylinder: Zwei Schmiernippel an jedem Stangenende des Zylinders
Lenkstange: Zwei Schmiernippel an jedem Stangenende
Spindelgelenk: Zwei Schmiernippel an jeder Seite der Maschine
Wischen Sie die Schmiernippel mit einem sauberen Lappen ab (Bild 71 und Bild 72).
Pressen Sie Fett in die Schmiernippel (Bild 71 und Bild 72).
Wischen Sie überflüssiges Fett ab.
Note: Die Positionen der Schmiernippel sind in Bild 71 abgebildet.


| Wartungsintervall | Wartungsmaßnahmen |
|---|---|
| Alle 100 Betriebsstunden |
|
Important: Wenn Sie die Scharniere des Auslegers mit Wasser reinigen, entfernen Sie das Wasser und Rückstände von den Scharnieren und tragen Sie neues Fett auf.
Schmierfettsorte: Nr. 2 Allzweckschmierfett auf Lithiumbasis.
Wischen Sie die Schmiernippel ab, um das Eindringen von Fremdkörpern in die Lager oder Büchsen zu vermeiden.
Pressen Sie Fett in die Lager oder Büchsen jedes Anschlussstückes (Bild 73).

Wischen Sie überflüssiges Fett ab.
Wiederholen Sie dies für jedes Auslegerscharnier.
| Wartungsintervall | Wartungsmaßnahmen |
|---|---|
| Alle 400 Betriebsstunden |
|
Schmierfettsorte: Nr. 2 Allzweckschmierfett auf Lithiumbasis.
Senken Sie die äußeren Sprühabschnitte in die Sprüh-Stellung ab.
Nehmen Sie die Splint vom Lastösenbolzen ab (Bild 74).
Heben Sie den Abschnitt an und nehmen Sie den Lastösenbolzen ab, senken Sie den Abschnitt dann langsam auf den Boden ab (Bild 74).
Prüfen Sie den Lastösenbolzen auf Beschädigungen und wechseln Sie ihn ggf. aus.

Drehen Sie das Stangenendenlager und schmieren Sie Schmiermittel in das Lager (Bild 75).
Note: Wischen Sie überflüssiges Fett ab.

Heben Sie den Sprühabschnitt an, um den Drehzapfen mit der Aktuatorstange auszufluchten.
Stützen Sie den Sprühabschnitt ab und stecken Sie den Lastösenbolzen durch das Auslegerscharnier und die Aktuatorstange (Bild 74).
Wenn der Stift eingesetzt ist, lassen Sie den Sprühabschnitt los und befestigen Sie den Lastösenbolzen mit dem vorher entfernten Splint.
Wiederholen Sie die Schritte 2 bis 8 am Lager der Aktuatorstange an der anderen Seite der Maschine.
Stellen Sie den Motor grundsätzlich vor dem Prüfen des Ölstands oder Auffüllen des Kurbelgehäuses mit Öl ab.
| Wartungsintervall | Wartungsmaßnahmen |
|---|---|
| Bei jeder Verwendung oder täglich |
|
Aktivieren Sie die Feststellbremse, stellen Sie die Sprühpumpe und den Motor ab, und ziehen Sie den Schlüssel ab.
Klappen Sie den Beifahrersitz nach vorne und fluchten die Stützstange in der Arretierung im Führungsschlitz der Stützstange aus.
Reinigen Sie den Staubdeckel und das Luftfiltergehäuse (Bild 76).

Prüfen Sie das Gehäuse des Luftfilters auf Schäden, die eventuell zu einem Luftleck führen könnten (Bild 76).
Note: Tauschen Sie den Staubdeckel und das Luftfiltergehäuse aus, wenn sie beschädigt sind.
Drücken Sie das Staubventil zusammen, um Schmutz, Staub und Rückstände zu entfernen (Bild 76).
Lösen Sie die zwei Riegel, mit denen der Staubdeckel am Luftfiltergehäuse befestigt ist.
Überprüfen Sie den Luftfiltereinsatz auf starke Staub, Schmutz- oder Rückstandsansammlungen (Bild 76).
Note: Reinigen Sie einen schmutzigen Luftfiltereinsatz nicht, sondern tauschen ihn aus.
Setzen Sie den Staubdeckel auf das Luftfiltergehäuse und befestigen den Deckel mit den zwei Riegeln (Bild 76).
Note: Stellen Sie sicher, dass das Staubventil zwischen der 5-Uhr- und 7-Uhr-Stellung ist (aus Sicht vom Ende).
Klappen Sie den Beifahrersitz herunter.
| Wartungsintervall | Wartungsmaßnahmen |
|---|---|
| Alle 100 Betriebsstunden |
|
Wenn Sie einen neuen Filter einsetzen, prüfen Sie den neuen Luftfiltereinsatz auf Versandschäden, inkl. das Dichtungsende des Filters.
Important: Bauen Sie nie defekte Luftfilter ein.
Reinigen Sie den Staubdeckel und das Luftfiltergehäuse (Bild 76).
Heben Sie den Kühlmittelüberlaufbehälter hoch und von der Behälterstützhalterung ab (Bild 77).

Lösen Sie die zwei Riegel, mit denen der Staubdeckel am Luftfiltergehäuse befestigt ist (Bild 77).
Schieben Sie den alten Filtereinsatz vorsichtig aus dem Luftfiltergehäuse heraus, um das Losrütteln von Staub zu minimieren.
Note: Vermeiden Sie ein Anstoßen des Filtereinsatzes am Filtergehäuse.
Wischen Sie die Innenseite des Staubdeckels, des Luftfiltergehäuses und des Staubventils mit einem feuchten Lappen ab (Bild 76 und Bild 77).
Setzen Sie den neuen Luftfiltereinsatz in das Luftfiltergehäuse ein (Bild 77).
Note: Stellen Sie sicher, dass der Filter richtig im Luftfiltergehäuse sitzt, indem Sie Druck auf den Außenrand des Filtereinsatzes aufbringen, wenn Sie ihn einsetzen. Drücken Sie nie auf die flexible Mitte des Filters.
Setzen Sie die Abdeckung auf das Luftfiltergehäuse und befestigen die Abdeckung mit den zwei Riegeln (Bild 77).
Note: Stellen Sie sicher, dass das Staubventil zwischen der 5-Uhr- und 7-Uhr-Stellung ist (aus Sicht vom Ende) (Bild 77).
Fluchten Sie den Kühlmittelüberlaufbehälter mit der Behälterstützhalterung aus und setzen den Behälter fest ein (Bild 77).
Important: Stellen Sie sicher, dass der Druckbegrenzungsschlauch nach vorne und unten und der Behälterentlüftungsschlauch nach hinten verlegt ist, wie in Bild 77 abgebildet.
Klappen Sie den Beifahrersitz herunter.
Ölsorte: API-Klassifizierung SL oder höher.
Ölviskosität: siehe nachstehende Motoröl-Viskositätstabelle.
| Umgebungstemperaturbereich | Ölviskosität |
| Über 25°C | SAE30, SAE10W-30 oder SAE15W-40 |
| 0°C bis 25°C | SAE20 oder SAE10W-30 |
| 0°C bis 20°C | SAE10W oder SAE10W-30 |
Toro Premium-Motoröl ist vom Vertragshändler mit einer Viskosität von 15W40 oder 10W30 erhältlich. Die Bestellnummern finden Sie im Ersatzteilkatalog.
| Wartungsintervall | Wartungsmaßnahmen |
|---|---|
| Bei jeder Verwendung oder täglich |
|
Note: Der Stand des Motoröls sollte am besten bei kaltem Motor vor dem täglichen Anlassen geprüft werden. Wenn der Motor gelaufen ist, lassen Sie das Öl für mindestens zehn Minuten in die Wanne zurücklaufen, bevor Sie den Ölstand prüfen.
Das Kurbelgehäuse enthält bei der Auslieferung Getriebeöl. Sie müssen jedoch den Ölstand vor dem ersten Anlassen und nach dem Laufen des Motors prüfen.
Stellen Sie die Maschine auf eine ebene Fläche.
Nehmen Sie den Peilstab heraus, der sich unter dem Fahrersitz befindet, und wischen Sie ihn mit einem sauberen Lappen ab (Bild 78).
Note: Stecken Sie den Peilstab in das Rohr und stellen Sie sicher, dass er vollständig eingeführt ist. Nehmen Sie den Peilstab heraus und prüfen Sie den Ölstand.


Nehmen Sie bei niedrigem Ölstand den Fülldeckel von der Ventilabdeckung (Bild 78) ab und gießen Sie Öl in den Füllstutzen, bis der Ölstand an der Voll-Markierung am Peilstab liegt.
Note: Gießen Sie Öl langsam ein und prüfen Sie den Ölstand häufig während des Füllens. Nicht überfüllen.
Setzen Sie den Ölfülldeckel ein (Bild 78).
Stecken Sie den Peilstab wieder fest ein (Bild 78).
| Wartungsintervall | Wartungsmaßnahmen |
|---|---|
| Nach 50 Betriebsstunden |
|
| Alle 200 Betriebsstunden |
|
Entfernen Sie das vordere Wärmeschutzblech, siehe Entfernen des vorderen Wärmeschutzblechs.
Klappen Sie die Sitze hoch.
Die Bauteile unter dem Sitz sind heiß, wenn das Sprühfahrzeug gelaufen ist. Wenn Sie heiße Komponenten berühren, können Sie sich verbrennen.
Lassen Sie das Sprühfahrzeug abkühlen, bevor Sie Wartungsarbeiten durchführen oder Bauteile unter der Haube berühren.
Fluchten Sie eine Auffangwanne unter dem Motorölfilter aus (Bild 79).

Entfernen Sie den alten Ölfilter (Bild 79).
Note: Entsorgen Sie das Altöl bei einem zugelassenen Recyclingcenter.
Wischen Sie die Oberfläche des Ölfilteradapters des Motors mit einem Lappen ab.
Füllen Sie das angegebene Motoröl in den neuen Ölfilter ein.
Note: Tränken Sie den Filtereinsatz mit Öl.
Ölen Sie die Gummidichtung am Ersatzölfilter leicht mit der angegebenen Ölsorte ein.
Setzen Sie den Ölfilter in den Filteradapter ein und drehen Sie den Ölfilter nach rechts, bis die Gummidichtung den Filteradapter berührt. Ziehen Sie den Filter dann um eine weitere halbe Umdrehung an (Bild 79).
Note: Ziehen Sie den Ölfilter nicht zu fest.
Wischen Sie Restöl auf.
5,1 l mit Filter; siehe Motorölsorte
| Wartungsintervall | Wartungsmaßnahmen |
|---|---|
| Nach 50 Betriebsstunden |
|
| Alle 200 Betriebsstunden |
|
Stellen Sie eine Auffangwanne unter die Ablassschraube (Bild 79).
Nehmen Sie die Ablassschraube (Bild 79) ab und lassen Sie das Öl vollständig ablaufen.
Note: Prüfen Sie die Dichtung der Ablassschraube auf Abnutzung oder Beschädigung und tauschen Sie ein abgenutzte oder beschädigte Dichtung aus.
Note: Entsorgen Sie das Altöl bei einem zugelassenen Recyclingcenter.
Setzen Sie die Ablassschraube in den Ablassanschluss der Motorölwanne ein und ziehen Sie diese auf ein Drehmoment von 33 bis 37 N∙m an.
Klappen Sie den Beifahrersitz nach vorne und fluchten die Stützstange in der Arretierung im Führungsschlitz der Stützstange aus.
Nehmen Sie den Ölfülldeckel vom Füllstutzen an der Ventilabdeckung des Motors (Bild 80) ab und gießen Sie ungefähr 80% der angegebenen Ölmenge langsam in den Füllstutzen.

Nehmen Sie den Peilstab heraus und lesen den Ölstand im Motor ab (Bild 80).
Gießen Sie langsam weiteres Öl der angegebenen Sorte ein, um den Ölstand bis zur Voll-Markierung am Peilstab anzuheben (Bild 80).
Important: Füllen Sie auf keinen Fall zu viel Öl in den Motor ein, da er beschädigt werden könnte.
Bringen Sie den Ölfülldeckel in den Füllstutzen und den Peilstab in das Peilstabrohr (Bild 80).
Lassen Sie den Motor an und prüfen die Dichtheit.
Stellen Sie den Motor ab, warten Sie 2 bis 3 Minuten, entfernen Sie den Peilstab und prüfen Sie den Ölfüllstand im Motor.
Note: Nehmen Sie bei Bedarf den Ölfülldeckel ab, fügen Sie Öl der angegebenen Sorte hinzu, um den Ölstand auf die Voll-Markierung am Peilstab zu bringen, und setzen Sie den Ölfülldeckel wieder auf.
Setzen Sie den Peilstab wieder ein, bringen Sie das Wärmeschutzblech am Motors an und klappen Sie die Sitze nach unten.
| Wartungsintervall | Wartungsmaßnahmen |
|---|---|
| Alle 1000 Betriebsstunden |
|
Klappen Sie den Fahrersitz nach vorne und legen Sie die Stützstange in die Arretierung im Führungsschlitz der Stützstange ein.
Entfernen Sie das PCV-Ventil vom Anschlussstück des Ventildeckels (Bild 81).
Note: Trennen Sie den Schlauch nicht vom PCV-Ventil.

Schütteln Sie das PCV-Ventil.
Note: Wenn die innere Drossel des Ventils klappert, ist das PCV-Ventil funktionsfähig; wenn die innere Drossel beim Schütteln nicht frei klappert, muss das PCV-Ventil ausgetauscht werden (Bild 81).
Setzen Sie das PCV-Ventil ein, bis es vollständig in der Dichtung am Anschlussstück am Ventildeckel sitzt (Bild 81).
Senken Sie den Fahrersitz ab.
| Wartungsintervall | Wartungsmaßnahmen |
|---|---|
| Alle 400 Betriebsstunden |
|
Führen Sie alle jährlichen Wartungsarbeiten aus, die in der Motorbedienungsanleitung aufgeführt sind.
Unter gewissen Bedingungen sind Kraftstoff und -dünste äußerst brennbar und explosiv. Feuer und Explosionen durch Kraftstoff können Sie und Unbeteiligte verletzen und Sachschäden verursachen.
Betanken Sie die Maschine mit einem Trichter im Freien, wenn der Motor abgestellt und kalt ist. Wischen Sie verschütteten Kraftstoff auf.
Füllen Sie den Kraftstofftank nicht ganz auf. Füllen Sie Kraftstoff bis in den Tank, bis der Stand 25 mm unter zur Unterseite des Füllstutzens liegt. Der verbleibende Raum im Tank ist für die Ausdehnung des Kraftstoffes erforderlich.
Rauchen Sie beim Umgang mit Kraftstoff unter keinen Umständen und halten Kraftstoff von offenem Licht und jeglichem Risiko von Funkenbildung fern.
Lagern Sie Kraftstoff in einem sauberen, zulässigen Kanister und halten den Deckel aufgeschraubt.
| Wartungsintervall | Wartungsmaßnahmen |
|---|---|
| Nach 50 Betriebsstunden |
|
| Alle 400 Betriebsstunden |
|
Prüfen Sie die Leitungen und Anschlussstücke auf Verschleiß, Defekte oder lockere Anschlüsse.
Note: Wenn Sie ein Kraftstoffleck feststellen, reparieren Sie die Kraftstoffkomponente(n), bevor Sie die Maschine in Betrieb nehmen.
Führen Sie diesen Vorgang aus, nachdem Sie den Kraftstofffilter gewartet oder der Motor bis zu einem leerem Kraftstoff betrieben haben und der Motor nicht anspringt.
Stellen Sie sicher, dass der Kraftstofftank zur Hälfte mit Kraftstoff gefüllt ist.
Stecken Sie den Zündschlüssel in das Zündschloss und drehen ihn in die EIN-Stellung.
Drehen Sie das Zündschlüssel in die AUS-Stellung.
Versuchen Sie jetzt, den Motor zu starten.
Wenn der Motor nicht startet, wiederholen Sie die Schritte 2 und 3 mehrmals und versuchen Sie dann, den Motor zu starten.
Note: Wiederholen Sie Schritt 5, bis der Motor startet.
| Wartungsintervall | Wartungsmaßnahmen |
|---|---|
| Alle 400 Betriebsstunden |
|
Aktivieren Sie die Feststellbremse, stoppen Sie die Sprühpumpe, stellen Sie den Motor ab und ziehen Sie den Schlüssel ab.
Entfernen Sie am Kraftstofftank die vier Schrauben (Nr. 10 x ¾"), mit denen die Abdeckung oben am Kraftstofftank befestigt ist, und nehmen Sie die Abdeckung ab (Bild 82).

Aktivieren Sie die Feststellbremse, stoppen Sie die Sprühpumpe, stellen Sie den Motor ab und ziehen Sie den Schlüssel ab.
Entfernen Sie am Kraftstofftank die vier Schrauben (Nr. 10 x ¾"), mit denen die Halterung des Aktivkohlefilters oben am Kraftstofftank befestigt ist (Bild 83).

Lösen Sie die beiden Schlauchklemmen, mit denen die Schläuche an den Anschlüssen des Aktivkohlefilters befestigt sind (Bild 84).

Schließen Sie die Schläuche vom Anschlussstück ab (Bild 85).

Nehmen Sie die Schlauchklemmen von den Schläuchen ab (Bild 85).
Nehmen Sie Aktivkohlefilter vom Kraftstofftank ab (Bild 85).
Trennen Sie die 2-polige Buchse des Maschinenkabelbaums vom 2-poligen Stecker der Kraftstoffpumpe/Zuführeinheit; trennen Sie den 2-poligen Stecker des Maschinenkabelbaums von der 2-poligen Buchse der Kraftstoffpumpe/Zuführeinheit (Bild 86).

Schieben Sie die Verriegelungshülse der Kraftstoffschlauchkupplung vom Anschlussstück der Kraftstoffpumpe/Zuführeinheit weg und ziehen Sie die Kupplung und den Schlauch vom Anschlussstück ab (Bild 86).
Note: Wischen Sie den Kraftstoff auf, der aus der Schlauchkupplung oder dem Anschlussstück der Kraftstoffpumpe austritt.
Drehen Sie die Mutter der Kraftstoffpumpe/Zuführeinheit gegen den Uhrzeigersinn und entfernen Sie die Mutter und die Dichtung (Bild 86)
Heben und drehen Sie die Kraftstoffpumpe/Zuführeinheit vorsichtig aus dem Füllstutzen des Kraftstofftanks (Bild 87).
Important: Gehen Sie beim Umgang mit der Kraftstoffpumpe/Zuführeinheit vorsichtig vor, um den Arm für den Schwimmer der Zuführeinheit nicht zu beschädigen.

Entfernen Sie das Aufnahmerohr des Kraftstofffilters aus dem Anschlussstück der Kraftstoffpumpe (Bild 88).
Note: Entsorgen Sie den Kraftstofffilter.

Richten das Aufnahmerohr des neuen Kraftstofffilters am Anschlussstück der Kraftstoffpumpe aus (Bild 88).
Richten Sie das lange Teilstück des Kraftstofffilters mit dem Schwimmer aus, wenn sich der Schwimmerarm in der Stellung des leeren Kraftstofftanks befindet (Bild 88).
Schieben Sie das Anschlussstück der Kraftstoffpumpe in das Aufnahmerohr, bis das Anschlussstück vollständig sitzt (Bild 88).
Halten Sie den Schwimmerarm und das Aufnahmerohr zusammen und schieben Sie den Schwimmer und den Kraftstofffilter in die Öffnung im Kraftstofftank (Bild 87).
Important: Achten Sie darauf, dass der Schwimmer und das lange Teilstück des Filters im Tank nach vorne zeigen und das Anschlussstück an der Oberseite der Kraftstoffpumpe 90° zur Mitte der Maschine zeigt.
Setzen Sie die Kraftstoffpumpe/Zuführeinheit in die Öffnung im Tank (Bild 87 und Bild 88).
Montieren Sie die Dichtung und die Mutter über der Kraftstoffpumpe/Zuführeinheit und auf dem Füllstutzen des Kraftstofftanks und ziehen Sie die Mutter handfest an (Bild 87).
Verbinden Sie die Kupplung am Kraftstoffschlauch mit dem Anschlussstück der Kraftstoffpumpe (Bild 87).
Note: Achten Sie darauf, dass die Verriegelungshülse der Kraftstoffschlauchkupplung die Kupplung am Anschlussstück an der Pumpe sichert.
Verbinden Sie die 2-polige Buchse des Maschinenkabelbaums mit dem 2-poligen Stecker der Kraftstoffpumpe/Zuführeinheit; verbinden Sie den 2-poligen Stecker des Maschinenkabelbaums mit der 2-poligen Buchse der Kraftstoffpumpe/Zuführeinheit (Bild 87).
Drehen Sie den Anlasserschalter in die EIN-Stellung und prüfen Sie die Kraftstoffschlauchkupplung auf Dichtheit.
Note: Wenn die Kupplung undicht ist, drehen Sie den Anlasserschalter in die AUS-Stellung, ziehen Sie den Schlüssel ab, entfernen Sie die Kupplung, überprüfen Sie die Kupplung und das Anschlussstück auf Verschmutzung oder Beschädigung und installieren Sie den Schlauch und die Kupplung auf das Anschlussstück.
Note: Reparieren Sie undichte Stellen im Kraftstoffsystem, bevor Sie mit dem nächsten Schritt weitermachen.
Befestigen Sie die Abdeckung mit den vier Schrauben (Nr. 10 x ¾"), die Sie in Schritt 2 von Entfernen der Abdeckung der Kraftstoffpumpe entfernt haben, am Tank (Bild 89).

Ziehen Sie die Schrauben mit 113 N∙cm an.
Richten Sie die Schläuche des Kraftstofftanks durch die Tüllen der Halterung für den Aktivkohlefilter aus (Bild 90).

Bringen Sie die Schlauchklemmen an den Schläuchen an (Bild 90).
Montieren Sie die Schläuche auf die Anschlussstücke des Aktivkohlefilters (Bild 90).
Befestigen Sie die Schläuche mit Schlauchklemmen an den Anschlussstücken (Bild 91

Fluchten Sie die Löcher in der Halterung für Aktivkohlefilter mit den Löchern im Kraftstofftank aus (Bild 92).

Befestigen Sie die Halterung mit den vier Schrauben (Nr. 10 x ¾") am Kraftstofftank (Bild 92).
Ziehen Sie die Schrauben mit 113 N∙cm an.
| Wartungsintervall | Wartungsmaßnahmen |
|---|---|
| Alle 400 Betriebsstunden |
|
Entleeren und reinigen Sie den Kraftstofftank, wenn die Kraftstoffanlage verschmutzt ist, oder Sie das Gerät für längere Zeit einlagern. Spülen Sie den Tank mit frischem Kraftstoff, um den Tank zu reinigen.
Pumpen Sie den Kraftstoff aus dem Kraftstofftank mit einer Saugpumpe in einen zugelassenen Kraftstoffkanister. Pumpen Sie den Kraftstoff aus der Maschine bevor Sie den Kraftstoff aus dem Tankfüllstutzen in den Kraftstoffkanister füllen.
Note: Wenn Sie den Kraftstofftank ausbauen möchten, müssen Sie den Kraftstoffschlauch und die elektrischen Anschlüsse von der Kraftstoffpumpe und der Zuführeinheit abziehen; siehe Ausbauen der Kraftstoffpumpe und der Zuführeinheit.
Spülen Sie den Kraftstofftank mit frischem, sauberem Kraftstoff.
Tauschen Sie den Kraftstofffilter aus, siehe Austauschen des Kraftstofffilters.
Setzen Sie den Tank ein, wenn Sie ihn in Schritt 1 entfernt haben.
Note: Wenn Sie den Kraftstofftank ausgebaut haben, müssen Sie den Kraftstoffschlauch und die elektrischen Anschlüsse an die Kraftstoffpumpe und die Zuführeinheit anbringen; siehe Einbau der Kraftstoffpumpe und der Zuführeinheit.
Füllen Sie frischen Kraftstoff in den Kraftstofftank.
Klemmen Sie vor dem Durchführen von Reparaturen an der Maschine die Batterie ab. Klemmen Sie immer zuerst die Minusklemme und dann die Plusklemme ab. Schließen Sie immer zuerst den Pluspol und dann den Minuspol an.
Laden Sie die Batterie in offenen, gut gelüfteten Bereichen und nicht in der Nähe von Funken und offenem Feuer. Stecken Sie das Ladegerät aus, ehe Sie die Batterie anschließen oder abklemmen.
Tragen Sie Schutzkleidung und verwenden Sie isoliertes Werkzeug.
Der Sicherungsblock für die Elektroanlage befindet sich unter dem Fahrersitz (Bild 93).

| Wartungsintervall | Wartungsmaßnahmen |
|---|---|
| Alle 50 Betriebsstunden |
|
Halten Sie die Batterie immer sauber und voll aufgeladen. Reinigen Sie die Batterie und den Batteriekasten mit einem Papierhandtuch. Reinigen Sie korrodierte Batteriepole mit einer Lösung aus vier Teilen Wasser und einem Teil Natron. Tragen Sie eine dünne Fettschicht auf die Batterieklemmen/-pole auf, um Korrosion zu verhindern.
Spannung: 12 Volt mit 690 Kaltstartampere bei -18 °C.
Stellen Sie das Sprühfahrzeug auf eine ebene Fläche, aktivieren Sie die Feststellbremse, stellen Sie die Sprühpumpe und den Motor ab und ziehen Sie den Schlüssel ab.
Nehmen Sie die Batterieabdeckung ab und klemmen das Minuskabel (schwarz) vom Batteriepol ab (Bild 94).

Das unsachgemäße Verlegen der Batteriekabel kann das Sprühfahrzeug beschädigen, und die Kabel können Funken erzeugen. Funken können zum Explodieren der Batteriegase führen, was Verletzungen zur Folge haben kann.
Trennen Sie immer das Minuskabel (Schwarz) ab, bevor Sie das Pluskabel (Rot) abtrennen.
Schließen Sie immer das Pluskabel (Rot) an, bevor Sie das Minuskabel (Schwarz) anschließen.
Batteriepole und Metallwerkzeuge können an metallischen Teilen des Sprühfahrzeugs Kurzschlüsse verursachen, was Funken erzeugen kann. Funken können zum Explodieren der Batteriegase führen, was Verletzungen zur Folge haben kann.
Lassen Sie Batteriepole, wenn Sie die Batterie entfernen oder einbauen, nie mit irgendwelchen Metallteilen des Sprühfahrzeugs in Berührung kommen.
Achten Sie darauf, dass Metallwerkzeuge keinen Kurzschluss zwischen den Batteriepolen und Metallteilen des Sprühfahrzeugs erzeugen.
Halten Sie die Batteriehalterung immer in ihrer ordnungsgemäßen Position, um die Batterie zu schützen und zu befestigen.
Klemmen Sie das Pluskabel (Rot) vom Batteriepol ab.
Entfernen Sie die Batterie.
Stellen Sie die Batterie so auf den Batteriekasten, dass die Batteriepole vom Sprühfahrzeug abgewandt sind.
Klemmen Sie das (rote) Pluskabel am Pluspol (+) der Batterie und das (schwarze) Minuskabel am Minuspol (-) mit den Schrauben und Flügelmuttern an.
Schieben Sie die Isoliermuffe über den Pluspol der Batterie.
Montieren Sie die Batterieabdeckung und befestigen sie mit dem vorher entfernten Riemen (Bild 94).
Important: Halten Sie die Batteriehalterung immer in ihrer ordnungsgemäßen Position, um die Batterie zu schützen und zu befestigen.
Important: Halten Sie die Batterie immer voll aufgeladen. Dies ist besonders wichtig, um eine Beschädigung der Batterie bei Temperaturen unter 0 °C zu vermeiden.
Nehmen Sie die Batterie aus dem Chassis, siehe Entfernen der Batterie.
Schließen Sie ein Batterieladegerät mit 3 A bis 4 A an die Batteriepole an und laden Sie die Batterie bei einer Rate von 3 bis 4 Ampere vier bis acht Stunden lang auf (12 V).
Important: Überladen Sie die Batterie nicht.
Setzen Sie die Batterie in das Chassis ein; siehe Einbauen der Batterie.
Wenn Sie die Maschine länger als einen Monat einlagern, nehmen Sie die Batterie heraus und laden sie komplett auf. Lagern Sie sie entweder auf einem Regal oder in der Maschine. Schließen Sie die Batteriekabel ab, wenn Sie die Batterie in der Maschine lagern. Lagern Sie die Batterie an einem kühlen Ort ein, um ein zu schnelles Entladen der Batterie zu vermeiden. Stellen Sie sicher, um einem Einfrieren der Batterie vorzubeugen, dass sie voll aufgeladen ist.
| Wartungsintervall | Wartungsmaßnahmen |
|---|---|
| Nach acht Betriebsstunden |
|
| Nach 200 Betriebsstunden |
|
| Alle 100 Betriebsstunden |
|
| Alle 400 Betriebsstunden |
|
Ziehen Sie die Radmuttern der Vorderräder bis auf 75-102 N∙m und die Radmuttern der Hinterräder bis auf 95-122 N∙m an.
Betriebsunfälle, wie z. B. das Aufprallen auf Bordsteine, kann einen Reifen oder eine Felge beschädigen, sowie das Rad unwuchtig machen. Prüfen Sie den Zustand deshalb nach Unfällen.
SAE 85W-140 Getriebeschmierstoff
| Wartungsintervall | Wartungsmaßnahmen |
|---|---|
| Alle 400 Betriebsstunden |
|

Bild 96Stellen Sie die Maschine auf einer ebenen Fläche und positionieren Sie das Rad so, dass sich die Füllschraube auf der höchsten (12-Uhr-Stellung) und die Ablassschraube auf der niedrigsten Position (6-Uhr-Stellung) befindet.

Drehen Sie die Prüfschraube heraus (Bild 53).
Sie sollten den Ölstand unten an den Gewinden im Prüfschraubenloch sehen.

Prüfen Sie die O-Ringe der Prüfschraube auf Abnutzung oder Beschädigungen.
Wechseln Sie den O-Ring aus, wenn er beschädigt ist.
Wenn der Ölstand niedrig ist, entfernen Sie die Füllschraube und füllen Sie Öl der angegebenen Sorte ein, bis es aus dem Loch der Prüfschraube ausläuft (Bild 98), siehe Schmiermittelspezifikation für Planetengetriebe.

Prüfen Sie die O-Ringe der Füllschraube auf Abnutzung oder Beschädigungen.
Wechseln Sie den O-Ring aus, wenn er beschädigt ist.
Setzen Sie die Füllschraube und die Prüfschraube ein (Bild 98).
Wiederholen Sie die Schritte 1 bis 6 für das Planetengetriebe auf der anderen Seite der Maschine.
| Wartungsintervall | Wartungsmaßnahmen |
|---|---|
| Nach 50 Betriebsstunden |
|
| Alle 800 Betriebsstunden |
|
Stellen Sie die Maschine auf einer ebenen Fläche und positionieren Sie das Rad so, dass sich die Füllschraube auf der höchsten (12 Uhr-Stellung) und die Ablassschraube auf der niedrigsten Position (6 Uhr-Stellung) befindet, siehe Bild 96 in Prüfen des Ölstands im Planetengetriebe.
Stellen Sie eine Auffangwanne unter die Nabe des Planetengetriebes, entfernen Sie die Ablass-, Füll- und Prüfschraube und lassen Sie das Öl vollständig ablaufen (Bild 99).

Kontrollieren Sie die Ablass- und Füllschraube auf Metallspäne bzw. Metallabrieb.
Wenn die Ablass- und Füllschraube mit Metallspänen bedeckt sind, muss das Planetengetriebe repariert werden.
Prüfen Sie die O-Ringe der Ablass-, Füll- und Prüfschraube auf Abnutzung oder Beschädigungen.
Wechseln Sie den/die O-Ring(e) aus, wenn sie beschädigt sind.
Setzen Sie die Ablassschraube wieder ein.
Stellen Sie eine Auffangwanne unter das Bremsgehäuse, entfernen Sie die Ablassschraube und lassen Sie das Öl vollständig ablaufen (Bild 100).

Bauen Sie die Ablassschraube in das Bremsgehäuse ein.
0,62 Liter, siehe Schmiermittelspezifikation für Planetengetriebe
Füllen Sie langsam das angegebene Getriebeöl in die Füllöffnung ein, siehe Bild 98 in Prüfen des Ölstands im Planetengetriebe.
Sie sollten den Ölstand unten an den Gewinden im Prüfschraubenloch sehen.
Important: Wenn das Planetengetriebe gefüllt ist, bevor Sie die angegebene Ölmenge eingefüllt haben, warten Sie eine Stunde oder setzen Sie die Schrauben ein und bewegen Sie die Maschine ca. 3 m, um das Öl gleichmäßig in der Bremsanlage zu verteilen. Entfernen Sie dann die Schrauben und füllen Sie das restliche Öl ein.
Lassen Sie den Ölstand 10 Minuten lang absinken, kontrollieren Sie dann den Ölstand und fügen Sie bei Bedarf Öl hinzu, um den Ölstand auf die Gewinde in der unteren Ölstandsbohrung anzuheben.
Setzen Sie die Füllschraube und die Ölstandsschraube ein, siehe Bild 98 in Prüfen des Ölstands im Planetengetriebe.
Wiederholen Sie die Schritte Planetengetriebeöl ablassen und Füllen des Planetengetriebes mit Öl für das Planetengetriebe auf der anderen Seite der Maschine.
| Wartungsintervall | Wartungsmaßnahmen |
|---|---|
| Alle 200 Betriebsstunden |
|
Der Abstand zwischen der vorderen Mittellinie der Reifen und der hinteren Mittellinie der Reifen sollte 0-3 mm sein.
Prüfen und stellen Sie den Reifendruck ein, siehe Prüfen des Reifendrucks.
Messen Sie den Abstand zwischen beiden Vorderreifen auf Achshöhe (an der Vorder- und Rückseite der Vorderreifen) (Bild 101).
Note: Der Abstand zwischen den Reifen vorne sollte 0 mm bis 3 mm geringer als der Abstand zwischen der Rückseite der Vorderreifen sein.

Wenn der Wert nicht im angegebenen Bereich liegt, lösen Sie die Klemmmuttern an beiden Ende der Spurstange (Bild 102).

Drehen Sie die Spurstange, um die Vorderseite des Reifens nach innen oder außen zu stellen.
Ziehen Sie bei korrekter Einstellung die Klemmmuttern der Spurstange fest.
Stellen Sie sicher, dass sich das Lenkrad in beide Richtungen um denselben Betrag dreht.
Ein Verschlucken von Motorkühlmittel kann zu Vergiftungen führen; Kinder und Haustiere sollten keinen Zugang zum Kühlmittel haben.
Ablassen von heißem, unter Druck stehendem Kühlmittel bzw. eine Berührung des heißen Kühlers und benachbarter Teile kann zu schweren Verbrennungen führen.
Lassen Sie den Motor immer für mindestens 15 Minuten abkühlen, bevor Sie den Kühlerdeckel abnehmen.
Verwenden Sie beim Öffnen des Kühlerdeckels einen Lappen und öffnen den Kühler langsam, damit Dampf ohne Gefährdung austreten kann.
Setzen Sie die Maschine nie mit abgenommenen Abdeckungen ein.
Halten Sie Finger, Hände und Kleidungsstücke vom sich drehenden Lüfter und dem Treibriemen fern.
Der Kühlmittelbehälter ist werkseitig mit einer 50/50-Lösung aus Wasser und langlebigem Kühlmittel auf Ethylenglykolbasis gefüllt. Prüfen Sie den Kühlmittelstand vor dem ersten Anlassen des Motors und dann täglich; siehe Prüfen des Kühlmittelstandes.
Die folgenden im Handel erhältlichen Kühlmittel oder ein vom Hersteller spezifiziertes Äquivalent, das die Spezifikation für langlebige Kühlmittel erfüllt:
|
Ford (Motorcraft™) |
WSS-M97B44-D |
|
FCA-Chrysler (Mopar™) |
MS-12106 |
|
General Motors (AC Delco™) |
GM6277M (Dex-Cool™) |
|
GMW 3420 |
|
|
Volkswagen |
G12 |
|
G12+ |
|
|
G12++ |
|
|
Kühlmittel, die den technischen Standards ASTM D3306, D4985, SAE J1034, J814 oder 1941 entsprechen. |
|
|
Important: Verlassen Sie sich nicht auf die Farbe des Kühlmittels, um den Unterschied zwischen herkömmlichen (IAT) und langlebigen (OAT) Kühlmitteltypen zu erkennen.Hersteller können Kühlmittel mit verlängerter Lebensdauer (OAT) in einer der folgenden Farben einfärben: rot, rosa, orange, gelb, blau, türkis, violett und grün. |
|
|
Ethylen-Glykol Kühlmittel |
Korrosionsinhibitor |
Kundendienstintervall |
|
Frostschutzmittel mit verlängerter Lebensdauer |
Organische-Säure Technologie (OAT) |
5 Jahre |
|
Konventionelles Frostschutzmittel (grün) |
Anorganische-Säure Technologie (IAT) |
2 Jahre |
Note: Sie beschädigen das Kühlsystem nicht, wenn Sie beim Einfüllen herkömmliches Frostschutzmittel (IAT) mit langlebigem Frostschutzmittel (OAT) mischen. Durch das Mischen von Frostschutzmitteln wird jedoch die Eigenschaft der langen Lebensdauer der OAT-Formulierung beeinträchtigt.
Important: Das Serviceintervall eines Kühlmittelgemischs aus konventionellem Kühlmittel (IAT) und Kühlmittel mit verlängerter Lebensdauer (OAT) – in jedem Verhältnis – hält so lange wie das Kühlmittel mit dem kürzesten Serviceintervall: 2 Jahre.
| Wartungsintervall | Wartungsmaßnahmen |
|---|---|
| Bei jeder Verwendung oder täglich |
|
Wenn der Motor gelaufen ist, kann das Kühlmittel heiß sein und unter Druck stehen. Wenn Sie den Kühlerdeckel bei heißem Kühlmittel abnehmen, kann das Kühlmittel ausströmen und Sie oder Unbeteiligte verletzen.
Lassen Sie den Motor für mindestens 15 Minuten abkühlen, bevor Sie den Kühlerdeckel abnehmen.
Important: Füllen Sie Kühlmittel in einen überhitzten Motor erst ein, wenn der Motor ganz abgekühlt ist. Wenn Sie Kühlmittel bei einem überhitzten Motor auffüllen, kann der Motorblock Risse bekommen.
Stellen Sie das Sprühfahrzeug auf eine ebene Fläche.
Aktivieren Sie die Feststellbremse, stellen Sie die Sprühpumpe und den Motor ab, und ziehen Sie den Schlüssel ab.
Schrauben Sie den Kühlerdeckel und den Deckel vom Ausdehnungsgefäß vorsichtig ab (Bild 103).

Prüfen Sie den Kühlmittelstand im Kühler und im Ausdehnungsgefäß.
Note: Der Kühler muss bis zur Oberkante des Füllstutzens, und das Ausdehnungsgefäß bis zur Voll-Markierung am Behälter gefüllt sein (Bild 103).
Wenn der Kühlmittelstand niedrig ist, nehmen Sie den Deckel des Ausdehnungsgefäßes und den Kühlerdeckel ab. Füllen Sie dann das Ausdehnungsgefäß bis zur VOLL-Markierung und den Kühler bis zur Oberkante des Einfüllstutzens (Bild 103).
Important: Füllen Sie das Ausdehnungsgefäß nicht zu voll.
Important: Verwenden Sie niemals reines Wasser oder Kühlmittel auf Alkohol-/Methanolbasis.
Drehen Sie die Deckel wieder auf das Ausdehnungsgefäß und den Kühler auf (Bild 103).
5,5 Liter, siehe Kühlmittelsorte
| Wartungsintervall | Wartungsmaßnahmen |
|---|---|
| Alle 400 Betriebsstunden |
|
Vom Besitzer bereitgestelltes Gerät: Ein Handthermometer für das Kühlmittel
Stellen Sie das Sprühfahrzeug auf eine ebene Fläche, aktivieren Sie die Feststellbremse, stellen Sie die Sprühpumpe und den Motor ab und ziehen Sie den Schlüssel ab.
Warten Sie, bis der Motor abgekühlt ist, und nehmen Sie dann den Kühlerdeckel ab (Bild 103).
Stellen Sie eine Auffangwanne unter den Kühler.
Öffnen Sie das Ablassventil und lassen Sie das Kühlmittel in die Wanne ablaufen (Bild 104).

Schließen Sie das Ablassventil (Bild 104).
Nehmen Sie den Kühlerdeckel ab (Bild 103).
Füllen Sie den Kühler langsam bis ca. 2,5 cm unter der Dichtungsoberfläche des Deckels mit Kühlmittel.
Note: Verwenden Sie ausreichend Kühlmittel, um die Leitungen des Motors und der Anlage zu füllen. Das Kühlmittel kann sich jetzt ohne Überlaufen ausdehnen, wenn der Motor warm wird.
Lassen Sie den Motor an, wenn der Deckel lose auf dem Kühler sitzt (Bild 103).
Lassen Sie den Motor aufwärmen, bis sich der Thermostat öffnet.
Note: Das Motorthermostat sollte sich öffnen, wenn auf dem Handthermometer die Kühlmitteltemperatur zwischen 79 °C bis 88 °C angezeigt wird.
Wenn das Kühlmittel warm ist, füllen Sie Kühlmittel bis zur Dichtungsoberfläche des Deckels nach und drehen Sie den Deckel fest (Bild 103).
Nehmen Sie den Deckel des Ausdehnungsgefäßes ab und füllen Sie den Behälter bis zur Cold-Markierung mit Kühlmittel (Bild 103).
Prüfen Sie den Kühlmittelstand, wenn Sie den Motor mehrmals angelassen und abgestellt haben.
Note: Füllen Sie nach Bedarf Kühlmittel in den Kühler und das Ausdehnungsgefäß.
Wenn das Bremspedal mehr als 2,5 cm Spiel hat, bevor Sie einen Widerstand spüren, müssen Sie die Bremsen wie folgt einstellen:
Stellen Sie das Sprühfahrzeug auf eine ebene Fläche, stellen die Sprühpumpe und den Motor ab, und ziehen Sie den Schlüssel ab.
Aktivieren Sie die Feststellbremse.
Stellen Sie Blöcke unter die Räder, damit die Maschine nicht rollt.
Lösen Sie die Feststellbremse.
Lösen Sie die vorderen Klemmmuttern an den Bremskabel unter der Vorderseite des Sprühfahrzeugs (Bild 105).

Ziehen Sie die hinteren Klemmmuttern gleichmäßig an, bis das Spiel des Bremspedals 1-2 cm beträgt, bevor Sie einen Widerstand spüren (Bild 105).
Important: Achten Sie darauf, dass Sie die zwei hinteren Muttern gleichmäßig anziehen, damit das Gewindeende der Bremskabel vor den vorderen Muttern gleich lang ist.
Ziehen Sie die vorderen Klemmmuttern an.
| Wartungsintervall | Wartungsmaßnahmen |
|---|---|
| Nach acht Betriebsstunden |
|
| Alle 100 Betriebsstunden |
|
Prüfen Sie den Zustand und die Spannung des Lüfter-/Lichtmaschinenriemens. Tauschen Sie den Riemen bei Bedarf aus.
Stellen Sie das Sprühfahrzeug auf eine ebene Fläche, aktivieren Sie die Feststellbremse, stellen Sie die Sprühpumpe und den Motor ab und ziehen Sie den Schlüssel ab.
Prüfen Sie die Spannung des Lichtmaschinenriemens, indem Sie eine Kraft von 10 kg in der Mitte zwischen der Lichtmaschine und den Kurbelwellenscheiben ansetzen.
Note: Der Riemen sollte sich 10-12 mm durchbiegen. Wenn sich der Riemen zu stark durchbiegt, gehen Sie auf Schritt 3. Wenn die Riemenspannung richtig ist, können Sie die restlichen Schritte überspringen und das Sprühfahrzeug einsetzen.
Lösen Sie die Schraube, mit der der Drehpunkt an der Lichtmaschine befestigt ist, und die Schraube, mit der die Lichtmaschine an der geschlitzten Strebe befestigt ist (Bild 106).

Setzen Sie ein Stemmeisen zwischen der Lichtmaschine und dem Motor an und drücken Sie die Lichtmaschine vorsichtig nach außen.
Wenn Sie die richtige Spannung erzielt haben, ziehen Sie die Lichtmaschine und die Schrauben fest, um die Einstellung zu arretieren.
Ziehen Sie die Sperrmutter an, um die Einstellung zu arretieren.
Suchen Sie beim Einspritzen unter die Haut sofort einen Arzt auf. In die Haut eingedrungene Flüssigkeit muss sie innerhalb weniger Stunden von einem Arzt entfernt werden.
Lassen Sie vorsichtig den Druck in der Hydraulikanlage ab, bevor Sie Wartungsarbeiten ausführen.
Stellen Sie sicher, dass alle Hydraulikschläuche und -leitungen in gutem Zustand sind, und dass alle Hydraulikverbindungen und -anschlussstücke fest angezogen sind, bevor Sie die Hydraulikanlage unter Druck setzen.
Halten Sie Ihren Körper und Ihre Hände von Nadellöchern und Düsen fern, aus denen Hydrauliköl unter hohem Druck ausgestoßen wird.
Gehen Sie hydraulischen Undichtheiten nur mit Pappe oder Papier nach.
Der Behälter wird im Werk mit hochwertigem Hydrauliköl gefüllt. Prüfen Sie den Stand des Hydrauliköls vor dem ersten Anlassen des Motors und dann täglich; siehe Prüfen des Hydrauliköls.
Empfohlenes Hydrauliköl: Toro PX Extended Life Hydraulic Fluid; erhältlich in 19-l-Eimern oder 208-l-Fässern.
Note: An einer Maschine, die mit dem empfohlenen Ersatzhydrauliköl befüllt wird, muss weniger häufig ein Öl- oder Filterwechsel durchgeführt werden.
Ersatzölsorten: Wenn das Toro PX Extended Life Hydraulic Fluid nicht erhältlich ist, können Sie andere handelsübliche, auf Erdöl basierende, Hydraulikflüssigkeiten verwenden, dessen Spezifikationen für alle folgenden Materialeigenschaften im aufgeführten Bereich liegen und die Industrienormen erfüllen. Kein synthetisches Öl verwenden. Wenden Sie sich an den Ölhändler, um einen entsprechenden Ersatz zu finden.
Note: Toro haftet nicht für Schäden, die aus einer unsachgemäßen Substitution entstehen. Verwenden Sie also nur Erzeugnisse namhafter Hersteller, die für die Qualität ihrer Produkte garantieren.
| Materialeigenschaften: | ||
| Viskosität, ASTM D445 | cSt @ 40 °C, 44 bis 48 | |
| Viskositätsindex ASTM D2270 | 140 oder höher | |
| Stockpunkt, ASTM D97 | -34 °C bis -45 °C | |
| Branchenspezifikationen: | Eaton Vickers 694 (I-286-S, M-2950-S/35VQ25 oder M-2952-S) | |
Note: Viele Hydraulikölsorten sind fast farblos, was das Erkennen von undichten Stellen erschwert. Als Beimischmittel für das Hydrauliköl können Sie ein rotes Färbmittel in 20-ml-Flaschen kaufen. Eine Flasche reicht für 15-22 l Hydrauliköl. Sie können es unter der Teilenummer 44-2500 über Ihren Toro-Vertragshändler beziehen.
Important: Das synthetische und biologisch abbaubare Hydrauliköl Toro Premium ist das einzige von Toro zugelassene synthetische biologisch abbaubare Hydrauliköl. Dieses Öl ist mit den Elastomeren kompatibel, die in den Hydraulikanlagen von Toro verwendet werden, und eignet sich für viele Klimata. Dieses Öl ist mit konventionellen Mineralölen kompatibel. Sie sollten die Hydraulikanlage jedoch gründlich spülen, um das konventionelle Öl zu entfernen, um die beste biologische Abbaubarkeit und Leistung zu erhalten. Das Öl ist in Behältern mit 19 L oder Fässern mit 208 L bei Ihrem Toro-Vertragshändler erhältlich.
| Wartungsintervall | Wartungsmaßnahmen |
|---|---|
| Bei jeder Verwendung oder täglich |
|
Important: Wenn das Öl verunreinigt ist, wenden Sie sich an den offiziellen Toro Vertragshändler, um die Anlage auszuspülen.Verunreinigtes Öl sieht im Vergleich zu sauberem Öl milchig oder schwarz aus.
Stellen Sie das Sprühfahrzeug auf eine ebene Fläche, aktivieren Sie die Feststellbremse, stellen Sie die Sprühpumpe und den Motor ab und ziehen Sie den Schlüssel ab.
Reinigen Sie den Bereich um den Peilstab des Hydraulikölbehälters und nehmen ihn ab (Bild 107).

Important: Achten Sie darauf, dass beim Prüfen des Öls kein Schmutz oder andere Verunreinigungen in die Öffnung gelangen.
Wischen Sie den Peilstab mit einem sauberen Lappen ab und setzen ihn ganz in den Behälter ein.
Nehmen Sie den Peilstab aus dem Füllstutzen und prüfen Sie den Ölstand (Bild 108).
Note: Der Ölstand sollte sich an den unteren Markierungen am Peilstab befinden, wenn das Öl kalt ist.

Wenn der Ölstand niedrig ist, füllen Sie den Behälter mit der angegebenen Hydraulikölsorte, um den Stand bis zu oberen Markierung anzuheben, siehe Hydrauliköl – technische Angaben.
Setzen Sie den Peilstabdeckel auf den Behälter und befestigen ihn.
| Wartungsintervall | Wartungsmaßnahmen |
|---|---|
| Alle 800 Betriebsstunden |
|
| Alle 1000 Betriebsstunden |
|
Heißes Hydrauliköl kann schwere Verbrennungen verursachen.
Lassen Sie das Hydrauliköl abkühlen, bevor Sie Wartungsarbeiten an der Hydraulikanlage durchführen.
Important: Sie können die Garantieansprüche für einige Komponenten verlieren, wenn Sie einen anderen Filter verwenden.
Verwenden Sie den Toro Ersatzfilter (die richtige Bestellnummer finden Sie in der Ersatzteilanleitung)
Stellen Sie das Sprühfahrzeug auf eine ebene Fläche, aktivieren Sie die Feststellbremse, stellen Sie die Sprühpumpe und den Motor ab, und ziehen Sie den Schlüssel ab.
Ermitteln Sie die zwei Hydraulikfilter an der Maschine (Bild 109 und Bild 110).
Note: Ein Filter befindet sich unter dem Hydraulikölbehälter und der andere am Heck der Maschine am Rahmen.
Vorderer Filter, unter dem Hydraulikbehälter

Hinterer Filter, am Maschinenrahmen

Reinigen Sie den Anbaubereich des Filters.
Stellen Sie eine Auffangwanne unter den Filter.
Entfernen Sie den Filter.
Entsorgen Sie den gebrauchten Filter bei einem zugelassenen Recyclingcenter.
Ölen Sie die neue Filterdichtung mit sauberem Hydrauliköl ein, siehe Prüfen des Hydrauliköls.
Wischen Sie die Kontaktfläche des Filters mit einem sauberen Lappen ab.
Drehen Sie den neuen Filter ein, bis die Dichtung die Befestigungsplatte berührt; ziehen Sie dann den Filter um eine weitere halbe Umdrehung fester.
Lassen Sie den Motor an und stellen Sie die Gasbedienung auf den schnellen Leerlauf. Lassen Sie den Motor für drei bis fünf Minuten laufen, um die Hydraulikanlage zu entlüften.
Stellen Sie den Motor ab, prüfen Sie den Stand des Hydrauliköls und achten Sie auf undichte Stellen, siehe Prüfen des Hydrauliköls.
54 Liter, siehe Hydrauliköl – technische Angaben
| Wartungsintervall | Wartungsmaßnahmen |
|---|---|
| Alle 800 Betriebsstunden |
|
| Alle 2000 Betriebsstunden |
|
Heißes Hydrauliköl kann schwere Verbrennungen verursachen.
Lassen Sie das Hydrauliköl abkühlen, bevor Sie Wartungsarbeiten an der Hydraulikanlage durchführen.
Important: Sie können die Garantieansprüche für einige Komponenten verlieren, wenn Sie andere Flüssigkeiten verwenden.
Tauschen Sie die Hydraulikölfilter aus, siehe Wechseln des Hydraulikölfilters.
Reinigen Sie den Bereich um ein Hydraulikschlauch-Anschlussstück unten am Hydraulikölbehälter (Bild 111).

Stellen Sie eine große Auffangwanne unter die Anschlussstücke des Hydraulikbehälters.
Nehmen Sie das Schlauch-Anschlussstück vom Behälter ab und lassen das Öl in die Wanne laufen (Bild 111).
Entsorgen Sie das Altöl bei einem zugelassenen Recyclingcenter.
Schließen Sie den Schlauch und das Anschlussstück am Behälter an und ziehen Sie sie fest.
Füllen Sie den Hydraulikbehälter mit ca. 53 l der angegebenen Hydraulikölsorte oder einem Äquivalent, siehe Hydrauliköl – technische Angaben.
Lassen Sie den Motor an und stellen Sie die Gasbedienung auf den schnellen Leerlauf. Lassen Sie den Motor für drei bis fünf Minuten laufen, um die Hydraulikanlage zu entlüften.
Stellen Sie den Motor ab, prüfen Sie den Stand des Hydrauliköls und achten Sie auf undichte Stellen, siehe Prüfen des Hydrauliköls.
| Wartungsintervall | Wartungsmaßnahmen |
|---|---|
| Alle 200 Betriebsstunden |
|
| Alle 400 Betriebsstunden |
|
Prüfen Sie jeden Schlauch im Sprühsystem auf Risse, undichte Stellen und andere Beschädigungen. Prüfen Sie gleichzeitig die Anschlüsse und Anschlussstücke auf ähnliche Beschädigungen. Wechseln Sie beschädigte Schläuche und Anschlussstücke aus.
| Wartungsintervall | Wartungsmaßnahmen |
|---|---|
| Alle 400 Betriebsstunden |
|
Note: Ermitteln Sie die passende Maschenweite des Saugfilters, der für die jeweilige Aufgabe ausgelegt ist; siehe Auswählen eines Saugfilters.
Parken Sie die Maschine auf einer ebenen Fläche, aktivieren die Feststellbremse, stellen die Pumpe und den Motor ab und ziehen Sie den Schlüssel ab.
Nehmen Sie oben am Sprühbehälter den Halter ab, mit dem das Schlauchanschlussstück befestigt ist, das am dicken Schlauch und dem Filtergehäuse angeschlossen ist (Bild 112).

Nehmen Sie den Schlauch und das Schlauchanschlussstück vom Filtergehäuse ab (Bild 112).
Entfernen Sie den alten Saugfilter aus dem Filtergehäuse im Behälter (Bild 113).
Note: Entsorgen Sie den alten Filter.

Setzen Sie den neuen Saugfilter in das Filtergehäuse ein.
Note: Stellen Sie sicher, dass der Filter richtig sitzt.
Fluchten Sie den Schlauch und das Schlauchanschlussstück oben am Behälter mit dem Filtergehäuse aus, und befestigen Sie das Anschlussstück und das Gehäuse mit dem in Schritt 2 entfernten Halter.
| Wartungsintervall | Wartungsmaßnahmen |
|---|---|
| Alle 400 Betriebsstunden |
|
Stellen Sie die Maschine auf eine ebene Fläche, stellen die Sprühpumpe und den Motor ab, und ziehen Sie den Schlüssel ab.
Stellen Sie eine Auffangwanne unter den Druckfilter (Bild 114).

Drehen Sie die Ablassschraube nach links und nehmen sie von der Glocke des Druckfilters ab (Bild 114).
Note: Entleeren Sie die Glocke vollständig.
Drehen Sie die Glocke nach links und nehmen sie vom Filterkopf ab (Bild 114).
Entfernen Sie den alten Druckfiltereinsatz (Bild 114).
Note: Entsorgen Sie den alten Filter.
Überprüfen Sie den O-Ring für die Ablassschraube (in der Glocke) und den O-Ring für die Glocke (im Filterkopf) auf Beschädigungen und Abnutzung (Bild 114).
Note: Tauschen Sie beschädigte oder abgenutzte O-Ringe für die Schraube, Glocke oder beide aus.
Setzen Sie den neuen Druckfiltereinsatz in den Filterkopf ein (Bild 114).
Note: Stellen Sie sicher, dass der Filtereinsatz fest im Filterkopf sitzt.
Befestigen Sie die Glocke am Filterkopf und ziehen sie mit der Hand an (Bild 114).
Setzen Sie die Schraube in die Schale ein und ziehen Sie sie mit der Hand fest (Bild 114).
Note: Ermitteln Sie die passende Maschenweite des Düsenfilters, der für die jeweilige Anforderung ausgelegt ist; siehe Auswählen eines Düsenspitzenfilters (optional).
Parken Sie die Maschine auf einer ebenen Fläche, aktivieren die Feststellbremse, stellen die Sprühpumpe und den Motor ab und ziehen Sie den Schlüssel ab.
Nehmen Sie die Düse vom Sprühdrehkreuz ab (Bild 115.

Entfernen Sie den alten Düsenfilter (Bild 115).
Note: Entsorgen Sie den alten Filter.
Setzen Sie den neuen Düsenfilter ein (Bild 115).
Note: Stellen Sie sicher, dass der Filter richtig sitzt.
Setzen Sie die Düse auf das Sprühdrehkreuz auf (Bild 115).
Aktivieren Sie die Feststellbremse, starten Sie den Motor und stellen Sie die Gasbedienung auf Leerlauf.
Heben Sie den linken oder rechten äußeren Ausleger langsam an, bis er nahezu das obere Gabelrohr erreicht.
Lösen Sie die beiden Stellschrauben, mit denen das untere Gabelrohr befestigt ist (Bild 116).

Drehen Sie die Gabel, bis die Biegung im Gabelrohr mit dem Schiebeblock am oberen Rohr des äußeren Auslegers übereinstimmt (Bild 117)

Ziehen Sie die beiden Stellschrauben auf ein Drehmoment von 1978 bis 2542 N∙cm fest.
Senken Sie die äußeren Ausleger ab.
Heben Sie den anderen äußeren Ausleger langsam an, bis er zuerst die Gabel berührt.
Wenn eines der oberen Gabelrohre nicht richtig mit den Schiebeblöcken ausgerichtet ist, wiederholen Sie die Schritte 2 bis 7.
Note: Die Schiebeblöcke müssen die Gabel an der Biegung des oberen Gabelrohrs berühren (Bild 117).
Heben Sie die äußeren Ausleger vollständig an, stellen Sie den Motor ab, ziehen Sie den Schlüssel ab und warten Sie, bis alle beweglichen Teile zum Stillstand gekommen sind.
Mit den folgenden Schritten können Sie die Aktuatoren am mittleren Ausleger einstellen, damit der linke und rechte Ausleger waagerecht bleiben.
Fahren Sie die Ausleger in die Sprühstellung aus.
Nehmen Sie den Splint vom Lagerbolzen ab (Bild 118).

Heben Sie den Ausleger an und nehmen Sie den Stift ab (Bild 118), senken Sie den Ausleger dann langsam auf den Boden ab.
Prüfen Sie den Stift auf Beschädigungen und wechseln Sie ihn ggf. aus.
Halten Sie die Aktuatorstange mit einem Schraubenschlüssel an den Flächen der Stange fest und lösen Sie die Klemmmutter (Bild 119).

Drehen Sie das Stangenende in der Aktuatorstange, um den ausgefahrenen Aktuator auf die gewünschte Stellung zu verlängern oder zu verkürzen (Bild 119).
Note: Sie müssen das Stangenende in halben oder ganzen Umdrehungen drehen, um die Stange am Ausleger zu montieren.
Ziehen Sie die Klemmmutter an, um den Aktuator und das Stangenende zu befestigen.
Heben Sie den Ausleger an, um den Drehzapfen mit der Aktuatorstange auszurichten.
Halten Sie den Ausleger fest und stecken Sie den Stift durch beide Auslegerscharniere und dem Stangenende (Bild 118).
Wenn der Stift eingesetzt ist, lassen Sie den Ausleger los und befestigen Sie den Stift mit dem vorher abgenommenen Splint.
Wiederholen Sie diese Schritte bei Bedarf an der anderen Aktuatorstange.
| Wartungsintervall | Wartungsmaßnahmen |
|---|---|
| Alle 400 Betriebsstunden |
|
Parken Sie die Maschine auf einer ebenen Fläche, aktivieren die Feststellbremse, stellen die Pumpe und den Motor ab und ziehen Sie den Schlüssel ab.
Fahren Sie die äußeren Auslegerabschnitte in die Sprühstellung aus und stützen Sie die Auslegersektionen mit Ständern oder Riemen und einer Hebevorrichtung ab.
Entfernen Sie die Schraube und die Mutter, mit denen der Lagerbolzen befestigt ist, und nehmen Sie den Bolzen ab (Bild 120).

Nehmen Sie den Ausleger und die Schwenkhalterung vom Endkanal des mittleren Rahmens ab, um die Nylonbüchsen zugänglich zu machen.
Nehmen Sie die Nylonbüchsen vorne und hinten an der Schwenkhalterung ab und prüfen Sie sie (Bild 120).
Note: Ersetzen Sie abgenutzte und beschädigte Büchsen.
Tragen Sie etwas Öl auf die Nylonbüchsen auf und setzen Sie diese in die Schwenkhalterung ein (Bild 120).
Fluchten Sie die Löcher in der Schwenkhalterung mit den Löchern im Endkanal aus (Bild 120).
Setzen Sie den Lagerbolzen ein und befestigen Sie diesen mit der in Schritt 3 entfernten Bundbolzen und der Bundmutter.
Wiederholen Sie die Schritte 2 bis 8 am anderen äußeren Auslegerabschnitt.
| Wartungsintervall | Wartungsmaßnahmen |
|---|---|
| Alle 400 Betriebsstunden |
|
Note: Die folgenden Gerätebestandteile werden als Teile angesehen, die abgenutzt werden, und sind nicht (außer bei einem Defekt) von der Gerätegarantie abgedeckt.
Lassen Sie die folgenden internen Pumpenteile von einem offiziellen Toro-Vertragshändler auf Beschädigungen prüfen:
Pumpenmembran
Pumpenabsperrventile
Wechseln Sie die Teile ggf. aus.
Waschen Sie das Fahrzeug nach Bedarf nur mit Wasser oder mit einem milden Reinigungsmittel. Zum Reinigen des Fahrzeugs kann ein Putztuch/-lappen verwendet werden.
Important: Verwenden Sie zur Reinigung der Maschine kein Brack- oder wiederaufbereitetes Wasser.
Note: Reinigen Sie die Maschine nicht mit einem Hochdruckreiniger. Hochdruckreiniger können die Elektroanlage beschädigen, wichtige Aufkleber lösen und das an den Reibungsstellen benötigte Fett wegspülen. Vermeiden Sie den Einsatz von zu viel Wasser, insbesondere in der Nähe des Armaturenbretts, des Motors und der Batterie.
Important: Reinigen Sie die Maschine bei laufendem Motor nicht mit Wasser. Das Reinigen der Maschine mit Wasser bei laufendem Motor kann zu einer internen Motorbeschädigung führen.
| Wartungsintervall | Wartungsmaßnahmen |
|---|---|
| Alle 200 Betriebsstunden |
|
Important: Sprühen Sie kein Wasser in einen heißen Motorraum, da der Motor beschädigt werden könnte.
Stellen Sie das Sprühfahrzeug auf eine ebene Fläche, aktivieren Sie die Feststellbremse, stellen Sie die Sprühpumpe und den Motor ab, und ziehen Sie den Schlüssel ab.
Klappen Sie den Fahrer- und Beifahrersitz hoch und fluchten Sie die Stützstange in der Arretierung im Führungsschlitz der Stützstange aus.
Lassen Sie die Kühlanlage abkühlen.
Entfernen Sie die Abdeckplatte des Sitzunterteils, siehe Entfernen der Abdeckplatte am Sitzunterteil.
Reinigen Sie die Rippen des Kühlers mit einer weichen Bürste und Niedrigdruckluft.
Note: Reinigen Sie die Kühlerrippen bei Bedarf häufiger. Prüfen Sie alle Kühlmittelschläuche und wechseln Sie abgenutzte, undichte oder beschädigte Schläuche aus.
Klappen Sie den Fahrer- und Beifahrersitz herunter.
Bringen Sie die Abdeckplatte des Sitzunterteils an, siehe Montieren der Abdeckplatte am Sitzunterteil.
| Wartungsintervall | Wartungsmaßnahmen |
|---|---|
| Alle 200 Betriebsstunden |
|
Spülen Sie das ganze Sprühsystem gründlich durch und entleeren es.
Entfernen Sie das Durchflussmessgerät vom Sprühfahrzeug und spülen Sie es mit frischem Wasser.
Entfernen Sie den Haltering an der vorgeschalteten Seite (Bild 121).

Reinigen Sie die Turbine und die Turbinennabe, um Metallfeilstaub und benetzbare Pulver zu entfernen.
Prüfen Sie die Turbinenflügel auf Abnutzung.
Note: Halten Sie die Turbine in der Hand und drehen Sie sie. Sie sollte sich ungehindert mit nur wenig Widerstand drehen. Sollte dies nicht der Fall sein, ersetzen Sie sie.
Montieren Sie das Durchflussmessgerät.
Prüfen Sie mit einem niedrigen Luftdruck (0,34 bar), dass sich die Turbine ungehindert dreht.
Note: Wenn sich die Turbine nicht ungehindert dreht, lösen Sie den Sechskantbolzen unten an der Turbinennabe um eine Sechszehntel-Umdrehung, bis sie sich ungehindert dreht.
Weitere Informationen zum Reinigen des Rührwerkventils finden Sie in den folgenden Abschnitten:
Weitere Informationen zum Reinigen der drei Abschnittventile finden Sie in den folgenden Abschnitten:
Stellen Sie das Sprühfahrzeug auf eine ebene Fläche, aktivieren Sie die Feststellbremse, stellen Sie die Sprühpumpe und den Motor ab, und ziehen Sie den Schlüssel ab.
Entfernen Sie den Arretierbügel, mit dem der Aktuator am Verteilerventil für das Abschnittventil oder das Rührwerkventil befestigt ist (Bild 122).
Note: Drücken Sie die zwei Schenkel des Arretierbügels zusammen und nach unten.
Note: Bewahren Sie den Aktuator und den Halter für den Einbau in Einbauen des Ventilaktuators auf.

Nehmen Sie den Aktuator vom Verteilerventil ab.
Entfernen Sie den Schnellkupplungsstift, mit dem die Schnellkupplung für den Rührwerkschlauch am Verteiler für das Rührwerkventil befestigt ist (Bild 123).

Entfernen Sie die drei Flanschklemmen, mit denen der Rührwerkventilverteiler an den Flanschen des Druckfilterkopfs und dem Kupplungsadapter befestigt ist (Bild 123).
Entfernen Sie die zwei Bundkopfschrauben (¼" x ¾") und die zwei Sicherungsbundmuttern (¼"), mit denen der Rührwerkventilverteiler an der Ventilstütze befestigt ist (Bild 124).

Nehmen Sie den Rührwerkventilverteiler und die Dichtungen von der Maschine ab (Bild 124).
Note: Lösen Sie ggf. die Befestigungen für den Druckfilterkopf, um einen Abstand zu erhalten.
Note: Bewahren Sie die Flanschklemmen, Dichtungen und Schnellkupplungsstifte für den Einbau in Einsetzen des Rührwerkverteilerventils auf.
Entfernen Sie den Schnellkupplungsstift, mit dem die Schnellkupplung für das Abschnittsicherheitsventil am Abschnittverteilerventil befestigt ist (Bild 125).

Entfernen Sie den Schnellkupplungsstift, mit dem die Schnellkupplung für den Abschnittzulaufschlauch am Verteiler für das Schnellkupplungsanschlussstück des Abschnittverteilerventils befestigt ist (Bild 125).
Entfernen Sie die zwei Flanschklemmen, mit denen das Abschnittverteilerventil an den Flanschen der danebenliegenden Komponenten befestigt ist (Bild 126).

Entfernen Sie für die linken oder rechten Abschnittventilverteiler die zwei Bundkopfschrauben (¼" x ¾") und die zwei Sicherungsbundmuttern (¼"), mit denen der Abschnittventilverteiler an der Ventilstütze befestigt ist (Bild 127).

Schieben Sie den Abschnittventilverteiler und die Dichtungen nach unten, um einen Abstand zum Abschnittsicherheitsventil zu erhalten; entfernen Sie sie dann von der Maschine (Bild 127).
Note: Lösen Sie ggf. die Befestigungen für die linken oder rechten Abschnittventilverteiler, um einen Abstand zu erhalten.
Note: Bewahren Sie die Flanschklemmen, Dichtungen und Schnellkupplungsstifte für den Einbau in Montieren des Abschnittverteilerventils auf.
Drehen Sie den Ventilschaft so, dass er in der geschlossenen Stellung ist (Bild 128 B).

Nehmen Sie die zwei Endkappen-Anschlussstücke von jedem Ende des Verteilergehäuses ab (Bild 129 und Bild 130).


Drehen Sie den Ventilschaft so, dass die Kugel in der geöffneten Stellung ist (Bild 128A).
Note: Wenn der Ventilschaft parallel mit dem Ventilfluss ist, fällt der Ball heraus.
Nehmen Sie den Schafthalter aus den Schlitzen im Schaftanschluss im Verteiler heraus (Bild 129 und Bild 130).
Nehmen Sie den Schafthalter und den Ventilschaftsockel aus dem Verteiler heraus (Bild 129 und Bild 130).
Fassen Sie in das Verteilergehäuse und nehmen Sie den Ventilschaft heraus (Bild 129 und Bild 130).
Reinigen Sie die Innenseite des Verteilers und die Außenseite des Kugelventils, des Ventilschafts, des Ventilhalters und der Endkappen-Anschlussstücke.
Vom Bediener bereitgestelltes Material: Farbloses Silikonfett.
Important: Verwenden Sie Silikonfett nur beim Einsetzen des Ventils.
Überprüfen Sie den Zustand der O-Ringe des Auslaufanschlussstücks (nur Abschnittventilverteiler), der Endkappen-O-Ringe, der hinteren O-Ringe und den Kugelsockel auf Beschädigungen oder Abnutzung (Bild 129 und Bild 130).
Note: Tauschen Sie beschädigte oder abgenutzte O-Ringe oder Sockel aus.
Tragen Sie Silikonfett auf den Ventilschaft auf und setzen ihn in den Ventilschaftsockel (Bild 129 und Bild 130) ein.
Setzen Sie den Ventilschaft und den Sockel in den Verteiler und befestigen Sie den Schaft und den Sockel mit dem Schafthalter (Bild 129 und Bild 130).
Stellen Sie sicher, dass die hinteren O-Ringe und der Kugelsockel ausgefluchtet sind und im Endkappen-Anschlussstück sitzen (Bild 129 und Bild 130)
Bringen Sie das Endkappen-Anschlussstück am Verteilergehäuse an, bis der Flansch des Endkappen-Anschlussstücks das Verteilergehäuse berührt, drehen Sie dann das Endkappen-Anschlussstück um eine weitere Achtel- bis Viertelumdrehung (Bild 129 und Bild 130).
Note: Achten Sie darauf, dass Sie das Ende des Anschlussstücks nicht beschädigen.
Setzen Sie die Kugel in das Ventilgehäuse ein (Bild 131).
Note: Der Ventilschaft sollte in den Kugelantriebsschlitz passen. Passen Sie die Position der Kugel an, wenn der Ventilschaft nicht passt (Bild 131).

Drehen Sie den Ventilschaft so, dass das Ventil geschlossen ist (Bild 128B).
Wiederholen Sie die Schritte 4 und 5 für das andere Endkappen-Anschlussstück.
Fluchten Sie die zwei Dichtungen, die Sie in Entfernen des Abschnittverteilerventils entfernt haben, mit den Flanschen des Abschnittventilverteilers aus (Bild 132).
Note: Lösen Sie ggf. die Befestigungen für die linken oder rechten Abschnittventilverteiler, um einen Abstand zu erhalten.

Fluchten Sie den Flansch des Abschnittventilverteilers zwischen den Flanschen der anderen Abschnittventile und/oder dem Kupplungsadapter aus (Bild 132).
Befestigen Sie das Schnellkupplungsanschlussstück des Abschnittventilverteilers mit einem Schnellkupplungsstift am Schnellkupplungsunterteil des Abschnittsicherheitsventils (Bild 132 und Bild 133).

Befestigen Sie die Flanschklemmen, die Sie in Entfernen des Abschnittverteilerventils entfernt haben, lose an den Flanschen des Abschnittventilverteilers und an den Flanschen der anderen Abschnittventile und/oder am Kupplungsadapter (Bild 134).

Befestigen Sie für die linken und rechten Abschnittventilverteiler den Abschnittventilverteiler mit den zwei Bundkopfschrauben (¼" x ¾") und zwei Sicherungsbundmuttern (¼"), die Sie in Entfernen des Abschnittverteilerventils entfernt haben, an der Ventilstütze (Bild 132).
Ziehen Sie die Bundkopfschrauben und die Sicherungsbundmutter mit 19,8-25,4 N·m an.
Ziehen Sie die zwei Flanschklemmen mit der Hand an (Bild 134).
Befestigen Sie die Schnellkupplung des Abschnittschlauchs mit dem Schnellkupplungsstift am Schnellkupplungsanschlussstück des Abschnittventilverteilers (Bild 133).
Wenn Sie die Befestigungen für die linken und rechten Abschnittventilverteiler gelöst haben, ziehen Sie die Mutter und Schraube mit 19,8-25,4 N·m an.
Fluchten Sie den Flansch des Rührwerkventilverteilers und drei Dichtungen mit den Flanschen des Rührwerksicherheitsventils, des Druckfilterkopfs und dem Kupplungsadapter aus (Bild 135 und Bild 136).
Note: Lösen Sie ggf. die Befestigungen für den Druckfilterkopf, um einen Abstand zu erhalten.


Befestigen Sie den Rührwerkventilverteiler mit drei Flanschklemmen, die Sie in Entfernen des Rührwerkverteilerventils entfernt haben, lose am Rührwerksicherheitsventil, am Druckfilterkopf und am Kupplungsadapter (Bild 136).
Befestigen Sie den Rührwerkventilverteiler mit den zwei Bundkopfschrauben (¼" x ¾") und zwei Sicherungsbundmutter (¼"), die Sie in Entfernen des Rührwerkverteilerventils entfernt haben, an der Ventilstütze.
Ziehen Sie die Bundkopfschrauben und die Sicherungsbundmutter mit 19,8-25,4 N·m an.
Ziehen Sie die drei Flanschklemmen mit der Hand an (Bild 136).
Befestigen Sie die Schnellkupplung des Rührwerkschlauchs mit dem Schnellkupplungsstift am Schnellkupplungsanschlussstück des Rührwerkventilverteilers (Bild 136).
Wenn Sie die Befestigungen für den Druckfilterkopf gelöst haben, ziehen Sie die Mutter und Schraube mit 19,8 bis 25,4 N·m an.
Fluchten Sie den Aktuator mit dem Verteilerventil aus (Bild 122).
Befestigen Sie den Aktuator und das Ventil an dem in Schritt 2 von Entfernen des Ventilaktuators entfernen Halter.
Bevor Sie den Fahrerstand verlassen, gehen Sie wie folgt vor:
Stellen Sie die Maschine auf einer ebenen Fläche ab.
Schalten Sie die Sprühpumpe aus.
Aktivieren Sie die Feststellbremse.
Stellen Sie den Motor ab und ziehen Sie den Zündschlüssel ab (sofern vorhanden).
Warten Sie, bis alle beweglichen Teile zum Stillstand gekommen sind.
Lassen das Fahrzeug abkühlen, bevor Sie es einstellen, warten, reinigen, oder einlagern.
Lagern Sie die Maschine oder den Benzinkanister nie an Orten mit offener Flamme, Funken oder Zündflamme, z. B. Warmwasserbereiter, oder anderen Geräten.
Führen Sie die folgenden Schritte durch:
Important: Verwenden Sie zur Reinigung der Maschine kein Brack- oder wiederaufbereitetes Wasser.
Parken Sie die Maschine auf einer ebenen Fläche, aktivieren Sie die Feststellbremse, stellen Sie die Sprühpumpe und den Motor ab, ziehen Sie den Schlüssel ab und warten Sie, bis alle beweglichen Teile zum Stillstand gekommen sind, bevor Sie die Maschine verlassen.
Entfernen Sie Schmutz und Rückstände von der ganzen Maschine, einschließlich von der Außenseite der Zylinderkopfrippen und des Gebläsegehäuses des Motors.
Important: Sie können die Maschine mit einem milden Reinigungsmittel und Wasser waschen. Waschen Sie die Maschine nie mit einem Hochdruckreiniger. Durch hohen Wasserdruck kann die elektrische Anlage beschädigt und das Fett an den Reibungsstellen weggespült werden. Vermeiden Sie überflüssiges Wasser, insbesondere in der Nähe des Bedienfelds, der Lampen, des Motors und der Batterie.
Parken Sie die Maschine auf einer ebenen Fläche, aktivieren Sie die Feststellbremse, schalten Sie die Sprühpumpe ab, stellen Sie den Motor ab, ziehen Sie den Schlüssel ab und warten Sie, bis alle beweglichen Teile zum Stillstand gekommen sind, bevor Sie die Bedienerposition der Maschine verlassen.
Entleeren Sie den Frischwassertank und lassen Sie den Tankstutzen offen.
Entleeren Sie den Sprühsystemtank so gut wie möglich.
Rosthemmende, nicht alkoholische RV-Frostschutzlösung vorbereiten, siehe Vorbereiten des Konditionierers.
Entfernen Sie das Rohr von der Rückseite des Manometers und legen Sie das Ende des Rohres in einen Behälter (Bild 137).

Lassen Sie den Motor an und senken Sie die äußeren Auslegerabschnitte ab.
Lassen Sie die Sprühpumpe einige Minuten laufen, um das Frostschutzmittel im Sprühsystem und dem montieren Sprühzubehör zu verteilen.
Drehen Sie den linken, mittleren und rechten Abschnittschalter in die EIN-Stellung.
Drehen Sie den Hauptabschnittschalter in die EIN-Stellung und achten Sie auf Folgendes:
Stellen Sie sicher, dass der RV-Frostschutz aus dem abgetrennten Ende des Manometerrohres fließt.
Sprühen Sie die Düse aus, bis das RV-Frostschutzmittel sichtbar austritt.
Stellen Sie den Hauptabschnittschalter in die AUS-Stellung.
Stellen Sie den Pumpenhebel in die AUS-Stellung.
Heben Sie die äußeren Sprühabschnitte mit den Hubschaltern für den Auslegerabschnitt an.
Heben Sie die Auslegerabschnitte an, bis sie ganz in der Transportgabel der Ausleger (in der Überkreuzstellung für den Transport) sind, und die Hubzylinder ganz eingefahren sind.
Note: Stellen Sie sicher, dass die Hubzylinder ganz eingefahren sind, um eine Beschädigung der Aktuatorstange zu vermeiden.
Stellen Sie den Motor ab.
Entleeren Sie den Sprühsystemtank so gut wie möglich.
Führen Sie die folgenden Schritte aus, die in Kurzzeitlagerung beschrieben sind:
Führen Sie zusätzlich die folgenden Schritte durch:
Prüfen Sie den Reifendruck, siehe Prüfen des Reifendrucks.
Prüfen Sie die Bremsen, siehe Einstellen der Bremsen.
Prüfen Sie alle Muttern und Schrauben und ziehen diese bei Bedarf an.
Note: Reparieren Sie alle beschädigten und defekten Teile oder wechseln sie aus.
Bessern Sie Lackschäden mit Lack aus (Lack können Sie von Ihrem Toro Vertragshändler beziehen).
Reinigen Sie das Rührwerkventil und die drei Abschnittventile, siehe Reinigen der Rührwerk- und Abschnittventile.
Fetten Sie das Sprühfahrzeug ein, siehe Einfetten der Sprühpumpe.
Prüfen Sie den Zustand alle Sprühschläuche.
Note: Wechseln Sie abgenutzte oder beschädigte Schläuche aus.
Ziehen Sie alle Schlauchschellen und Anschlussstücke an.
Warten Sie den Luftfilter, siehe Prüfen des Luftfilters.
Wechseln Sie den Motorölfilter und das Motoröl, siehe Wechseln des Motorölfilters und Wechseln des Motoröls.
Entleeren Sie den Kraftstofftank, siehe Entleeren des Kraftstofftanks.
Bereiten Sie den Kraftstoff mit Kraftstoffstabilisator gemäß den Anweisungen des Herstellers vor und geben Sie ihn in den Kraftstofftank.
Starten Sie den Motor und lassen Sie ihn für 5 Minuten im Leerlauf laufen.
Stellen Sie den Motor ab.
Befestigen Sie alle Anschlussstücke der Kraftstoffanlage.
Bringen Sie die Maschine an einem sauberen und trockenen Ort.
Nehmen Sie die Batterie aus dem Chassis, siehe Entfernen der Batterie.
Note: Schließen Sie die Batteriekabel während der Einlagerung nicht an den Batteriepolen an.
Prüfen Sie den Stand der Batterieflüssigkeit.
Laden Sie die Batterie auf, siehe Aufladen der Batterie.
Important: Die Batterie muss ganz aufgeladen sein, um ein Einfrieren und eine Beschädigung bei Temperaturen unter 0 °C zu vermeiden. Eine ganz aufgeladene Batterie hält die Ladung für ungefähr 50 Tage bei Temperaturen unter 4 °C. Wenn die Temperaturen über 4℃ liegen, prüfen Sie den Füllstand der Batterie und laden Sie die Batterie alle 30 Tage auf.
Ziehen Sie den Zündschlüssel aus dem Zündschloss und bewahren ihn an einem für Kinder unzugänglichen Ort sicher auf.
Decken Sie die Maschine ab, damit sie geschützt ist und nicht verstaubt.
Stecken Sie das Manometerrohr in die Rohrkupplung auf der Rückseite des Manometers ein (Bild 138).

Schließen Sie den Einfüllstutzen des Frischwassertanks.
Geben Sie Kraftstoff in den Kraftstofftank.
Laden Sie die Batterie auf, siehe Aufladen der Batterie.
Setzen Sie die Batterie in das Chassis ein, siehe Einbauen der Batterie.
| Problem | Possible Cause | Corrective Action |
|---|---|---|
| Der Anlasser greift nicht. |
|
|
| Der Motor dreht sich, springt aber nicht an. |
|
|
| Der Motor springt an, bleibt aber nicht an. |
|
|
| Der Motor läuft, klopft aber oder zündet fehl. |
|
|
| Der Motor läuft nicht im Leerlauf. |
|
|
| Der Motor wird zu heiß. |
|
|
| Der Motor verliert an Leistung. |
|
|
| Es treten ungewöhnliche Vibrationen und Geräusche auf. |
|
|
| Die Maschine kann nicht eingesetzt werden oder fährt in jeder Richtung träge, da der Motor absäuft oder abstellt. |
|
|
| Die Maschine kann in keiner Richtung eingesetzt werden. |
|
|
| Problem | Possible Cause | Corrective Action |
|---|---|---|
| Ein Sprühabschnitt sprüht nicht. |
|
|
| Ein Sprühabschnitt kann nicht abgeschaltet werden. |
|
|
| Ein Sprühabschnittventil ist undicht. |
|
|
| Der Druck fällt ab, wenn Sie einen Sprühabschnitt einschalten. |
|
|
| Die Sprühdüsen tropfen, wenn die Abschnittsschalter abgestellt sind |
|
|
| Der Sprühdruck fällt beim Sprühen ab. |
|
|
