| 整備間隔 | 整備手順 |
|---|---|
| 使用するごとまたは毎日 |
|
このスプレーヤは、芝生に液剤を散布するための専用の装置であり、そのような業務に従事するプロのオペレータが運転操作することを前提として製造されています。この製品は、集約的で高度な管理を受けている公園やゴルフ場、スポーツフィールド、商用目的で使用される芝生に対して液剤を散布することを主たる目的として製造されております。
この車両は主にオフロードで使用することを前提をとして設計製造されたものであり、公道上を通常走行するためのものではありません。この機械は本来の目的から外れた使用をすると運転者本人や周囲の人間に危険な場合があります。
この説明書を読んで製品の運転方法や整備方法を十分に理解し、他人に迷惑の掛からないまた適切な方法でご使用ください。この製品を適切かつ安全に使用するのはお客様の責任です。
安全上の注意事項、取扱い説明書、アクセサリについての資料、代理店の検索、製品のご登録などについては www.Toro.com へ。
整備について、またToro純正部品についてなど、分からないことはお気軽に弊社代理店またはToroカスタマーサービスにおたずねください。お問い合わせの際には、必ず製品のモデル番号とシリアル番号をお知らせください。図 1 にモデル番号とシリアル番号の表示位置を示します。いまのうちに番号をメモしておきましょう。
Important: シリアル番号デカルについている QR コード(無い場合もあります)をモバイル機器でスキャンすると、製品保証、パーツその他の製品情報にアクセスできます。

この説明書では、危険についての注意を促すための警告記号(図 2)を使用しております。これらは死亡事故を含む重大な人身事故を防止するための注意ですから、必ずお守りください。

この他に2つの言葉で注意を促しています。重要「重要」は製品の構造などについての注意点を、注はその他の注意点を表しています。
この製品は、関連するEU規制に適合しています; 詳細については、DOC シート(規格適合証明書)をご覧ください。
カリフォルニア州の森林地帯・潅木地帯・草地などでこの機械を使用する場合には、エンジンに同州公共資源法第4442章に規定される正常に機能するスパークアレスタが装着されていること、エンジンに対して森林等の火災防止措置をほどこされていることが義務づけられており、これを満たさない機械は、第4442章または4443章違犯となります。
エンジンの保守整備のため、および米国環境保護局(EPA)並びにカリフォルニア州排ガス規制に関連してエンジンマニュアルを同梱しております。エンジンマニュアルはエンジンのメーカーから入手することができます。
カリフォルニア州
第65号決議による警告
カリフォルニア州では、この製品に使用されているエンジンの排気には発癌性や先天性異常などの原因となる物質が含まれているとされております。
バッテリーやバッテリー関連製品には鉛が含まれており、カリフォルニア州では発ガン性や先天性異常を引き起こす物質とされています。取り扱い後は手をよく洗ってください。
米国カリフォルニア州では、この製品を使用した場合、ガンや先天性異常などを誘発する物質に触れる可能性があるとされております。
この機械は人身事故を引き起こす能力がある。重大な人身事故を防ぐため、すべての注意事項を厳守してください。
エンジンを始動する前に必ずこのオペレーターズマニュアルをお読みになり、内容をよく理解してください。
この機械を運転する時は常に十分な注意を払ってください。運転中は運転操作に集中してください;注意散漫は事故の大きな原因となります。
身体と薬剤との接触を防止し危険から身を守ることのできる適切な防具(PPE)を着用してください。この散布装置で取り扱う農薬は、危険物質や有毒物質を含んでいる可能性があります。
機械の可動部の近くには絶対に手足を近づけないでください。
ガードなどの安全保護機器が正しく取り付けられていない時は、運転しないでください。
散布ノズルや散布されて霧状になっている薬剤に近づかないでください。作業場所に、無用の大人、子供、ペットなどを近づけないでください。
子供に運転させないでください。
車両を平らな場所に駐車し、駐車ブレーキを掛け、エンジンを停止し、キー(のある車両ではキーを)を抜き取り、可動部が完全に停止したのを確認して運転席を離れるようにしてください。調整、整備、清掃、格納などは、車両が十分に冷えてから行ってください。
間違った使い方や整備不良は負傷などの人身事故につながります。事故を防止するため、以下に示す安全上の注意や安全注意標識
のついている遵守事項は必ずお守りください 「注意」、「警告」、および「危険」
の記号は、人身の安全に関わる注意事項を示しています。これらの注意を怠ると死亡事故などの重大な人身事故が発生する恐れがあります。
この車両に取り付け可能なアタッチメントのすべてをこのマニュアルで解説することはできません。アタッチメントを使用するときには、そのアタッチメントのマニュアルに記載されている安全上の注意事項にも十分目を通してください。
![]() |
セーフティラベルや指示は危険な個所のオペレーターから見やすい部分に貼付してあります。破損したりはがれたりした場合は新しいラベルを貼付してください。 |





























Note: 前後左右は運転位置からみた方向です。
Note: スプレーコントロールシステムについて分からないことがある場合や、さらに詳しい情報を知りたい場合には、システムに付属しているオペレーターズマニュアルをご覧ください。
Important: このスプレーヤは、散布用ノズルを装備しない状態で販売されます。スプレーヤはノズルを取り付けなければ使用できません。代理店と相談の上、適切なキット類を取り付けてください。 ノズルを取り付けたら、使用する前にブームバイパスバルブの調整を行う必要があります;これはどのブームを OFF にしても単位面積あたりの散布量が変わらないようにするための調整です。ブームバイパスバルブを調整するを参照。
この作業に必要なパーツ
| クイックディスコネクトのフィッティング | 1 |
Note: この作業には、ホースと、1" のオスのフィッティング(NPT ねじ)、PTFE ねじ山シーラントが必要となります。
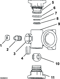
液剤タンクカバーの右前側で、逆流防止レセプタクル用のクイックディスコネクトのフィッティングのラッチを固定しているヘアピン(2本)を外す(図 3)。

ラッチを回して、クイックディスコネクトのカップリングのフィッティングのロックを解除する(図 3)。
クイックディスコネクトのカップリングからフィッティングを外す(図 3)。
ラッチを閉じて、クイックディスコネクトのカップリングのフランジにヘアピンを取り付ける(図 3)。
給水ホースのフィッティング(1"、NPT)に、PTFE ねじ山シーラント(図 4)を巻き付ける。

給水ホースにクイックディスコネクトのカップリングを取り付けて手締めする(図 4)。
駐車ブレーキを掛け、エンジンを始動し、スロットルレバーをアイドル位置にセットする。
左右いずれかのブームをゆっくりと上昇させ、上側クレードルチューブに当たったところで止める。
もう一方のブームもゆっくりと上昇させ、クレードルに当たったところで止める。
上側クレードルチューブのうち、ブームの上部チューブにあるスライドブロックがクレードル接触している部分をよく観察する。
Note: ブロックが上側クレードルチューブの曲がり部分で接触していればクレードルの調整は適切です(図 5)。

もしどちらかの上側クレードルチューブの調整がスライドブロックに合っていない(図 6や図 7や 図 8)場合には、クレードルの位置調整を行う;クレードルとブームを整列させるを参照。



左右ブームを両方とも下降させ、エンジンを止め、キーを抜き取り、可動部が完全に停止したのを確認する。
マシンに CE キットを取り付ける;マルチプロ 5800 CE キットの取り付け要領書を参照。



走行ペダル (図 13) は、前進と後退の2つの働きがあります。右足のつま先とかかとで操作します。ペダル前部を踏み込むと前進、後部を踏み込むと後退です。ペダルから足を離せば車両は減速、停止します。
Important: 前進から後退、あるいはその逆への切り替えは、必ず車両を一旦完全に停止させておこなってください。
Note: ペダルの踏み込みを深くすると走行速度は大きくなります。最高速度で走行するには、エンジンをフルスロットル(FAST位置)にして走行ペダルを一杯に踏み込みます。
Note: パワーを最大にしたい時、例えば上り坂や負荷が大きい時には、エンジンの回転速度が落ちない程度まで(スロットルはもちろん高速位置で)ペダルの踏み込みを「軽く」してやります。エンジンの速度が落ちはじめたら、ペダルの踏み込みを少しゆるめてやるとエンジンの速度が回復してきます。

ブレーキペダル(図 13)は、車両を減速させたり停止させるのに使用します。
ブレーキの整備が適切に行われていない状態での運転は極めて危険であり重大な事故のもとである。
スプレーヤを運転する時は事前に必ずブレーキの作動状態を点検し、必要に応じて調整を行うこと。
常用ブレーキペダルの左側にあるペダルで操作します (図 13)。車両から離れる時は、不意に走りださないように必ず駐車ブレーキを掛けておいてください。ブレーキペダルを十分に踏み込んだ状態で、駐車ブレーキペダルを踏み込めば駐車ブレーキが掛かります。駐車ブレーキペダルをもう一度踏み込むと解除されます。急な斜面に停車する場合には、駐車ブレーキを掛けた上で、谷側のタイヤに輪止めを掛けてください
始動スイッチ(図 12)はエンジンの始動と停止を行うスイッチで、3つの位置があります: OFF、ON/PREHEAT、STARTの 3 位置です。
速度固定スイッチを操作すると、走行ペダルをそのときの踏み込み状態にロックします(図 14)。これにより、平らな場所ではペダル操作をしなくとも一定速度で走行することができます。

スロットルレバーは運転席と助手席の間のコントロールパネルにあり(図 14)、エンジンの速度を制御します。前に倒すとエンジン回転速度が速くなり、 後ろに引くと遅くなります。
作業用ライトの点灯と消灯を行います(図 12)。スイッチを前に押すと点灯、後ろに押すと消灯です。
燃料計はダッシュボード上にあり、燃料残量を表示します(図 12)。
アームレストの裏側にUSB の 2 ソケット電源があります(図 15)。


水圧計 (図 16).はダッシュボードにあります。散布システムの水圧を psi とkPa で表示します。
散布モードスイッチは、散布率モード(閉回路)と手動モード(開回路)の切り替えを行うスイッチです。.
散布率調整スイッチはダッシュボード上(ハンドルの右手側)にあります(図 16)。手動モードでは、レート調整スイッチを使って、散布ポンプの速度を調整することができます。前を押して保持すると散布率(水圧)が上昇し、後ろを押して保持すると散布率(水圧)が下がります。
運転席右側、センターコンソールにあります(図 16)。前に押すとポンプが始動、後ろに押すと停止します。ONの時にはそのスイッチのランプが点灯します。
Important: ポンプ駆動部を保護するために、ポンプのスイッチを入れる時にはエンジンをローアイドルにしてください。
ブーム昇降スイッチはセンターコンソールの運転席右側にあり、左右のブームを個別に上昇・下降させるスイッチです(図 16)。
マスターブームスイッチは車両のセンターコンソールにあります。散布の開始と停止を行うスイッチです。このスイッチで散布システムのオン・オフ制御を行います(図 16)。
個別ブームスイッチ(3個)はセンターコンソール(アームレストの手前側)にあります(図 16)。各スイッチとも、前を押すと ON、後ろを押すと OFF となります。スイッチがON位置にある時には、インフォセンターの上部にアイコンが表示されます。
Note: 個別ブームスイッチはマスターブームスイッチと連動しており、マスターがONの時にのみ散布が可能です。
運転席右側、センターコンソールにあります(図 16)。前に倒すと攪拌を開始し、後ろに倒すと停止します。ONの時にはそのスイッチのランプが点灯します。攪拌を行うには、エンジンがアイドリングよりも高速で回転しており、スプレーヤのポンプがONである必要があります。
攪拌を停止したときに液をスプレーヤのポンプに送り返すためのバルブです(図 17)。攪拌バルブの上方にあります。このバルブを調整することにより、攪拌をONにしてもOFFにしても水圧が変化しないようにすることができます;攪拌バイパスバルブの補正(キャリブレーション)設定を参照。

フローメータは液量を測定する計器です。測定された数値はインフォセンターで処理・表示され散布レートモードで使用されます(図 17)。
攪拌スロットルバルブは手動式のボールバルブで、メインタンク内の攪拌ノズルへのフローをコントロールします。大きな散布量(投下水量)で散布したい場合に、攪拌ノズルを調整してスプレーヤの散布圧を上げることができます。このバルブはポンプ上部にあります(図 18)。

個別ブームバイパスバルブは、散布中にどのブームをON(OFF)しても、常に同じ圧力で散布が行われるようにするためのバルブです(図 19)。
Note: 個別ブームバイパスバルブは、手動モード(開回路)で散布する時にのみ使用します。

個別ブームバイパス停止バルブは、手動モード(開回路)で散布する時に、特定のブームからの散布を停止したいときに使用します;図 19を参照。
Note: 散布率モード(閉回路)で散布する時には、個別ブームバイパス停止バルブを閉じておいてください。
タンクの前方にあり、ねじ付きのフィッティングと90度の鋸歯フィッティングがついており、ここにホースをつないでタンクの中に水を入れます。この補給口にホースをつないで水を入れれば、タンク内の薬剤が水道などに逆流することはありません。
Important: タンクの中の液剤に届くような長いホースを取り付けないでください。ホース先端部から液面の最大高さまでの距離について国や自治体などの規制が存在する場合には、それに従ってください。

タンク上部の中央にあります。開けるには、エンジンを停止させ、ふたの前半分を左に回して上に開きます。この状態でストレーナを取り外すことができます。閉める時には、ふたを閉じて右に回します。
インフォセンターコントローラでは、LED 画面の下にある 5 つのボタンを使って、メニューの選択、データの入力、機能の選択を行います。

Note: 仕様および設計は予告なく変更される場合があります。
| 記述称 | 寸法諸元 |
|---|---|
| ベース重量 | 1307 kg |
| 標準スプレーシステム搭載時重量(液剤とオペレータを含まず) | 1307 kg |
| 標準スプレーシステム搭載時重量(液剤とオペレータを含む) | 2499 kg |
| 最大車両重量(平坦地で) | 3023 kg |
| タンク容量 | 1135.6 リットル |
| 標準散布ブームをX字型に組んだ状態での全幅 | 2260 mm |
| 記述称 | 寸法諸元 |
|---|---|
| 全長(標準スプレーシステムを含む) | 3910 mm |
| 全長(標準スプレーシステムを搭載時、X 字にたたんだブームの先端までの長さ) | 4420 mm |
| 全高(標準スプレーシステムを含む) | 1460 mm |
| 全高(標準スプレーシステムを搭載時、X 字にたたんだブームの先端までの高さ) | 2310 mm |
| 地上高 | 184 mm |
| ホイールベース | 1980 mm |
Toroが認定した各種のアタッチメントやアクセサリがそろっており、機械の機能をさらに広げることができます。代理店に連絡してください。
いつも最高の性能と安全性を維持するために、必ずToroの純正部品をご使用ください。他社の部品やアクセサリを御使用になると危険な場合があり、製品保証を受けられなくなる場合がありますのでおやめください。
Note: 前後左右は運転位置からみた方向です。
| 整備間隔 | 整備手順 |
|---|---|
| 使用するごとまたは毎日 |
|
子供やトレーニングを受けていない大人には、絶対に運転や整備をさせないでください。地域によっては機械のオペレータに年齢制限を設けていることがありますのでご注意ください。オーナーは、オペレータ全員にトレーニングを受講させる責任があります。
各部の操作方法や本機の正しい使用方法、警告表示などに十分慣れ、安全に運転できるようになりましょう。
運転席を離れる場合はエンジンを止め、(キーが付いている機種では)キーを抜き取り、機械の動きが完全に停止したことを確認してください。調整、整備、格納は機体が十分冷えてから行ってください。
エンジンの緊急停止方法に慣れておきましょう。
オペレータコントロールやインタロックスイッチなどの安全装置が正しく機能しているか、また安全ガードなどが外れたり壊れたりしていないか点検してください。これらが正しく機能しない時には機械を使用しないでください。
万一異常を発見したら運転を中止 してください。必ず、修理や調整を行って問題を解決してから使用するようにしてください。
運転席や助手席の周辺に薬剤がこぼれていたり、こびりついていたりしないように管理してください。
ポンプを作動させる前に、全部のラインコネクタが適切に接続されていること、およびホースの状態が良好であることを確認してください。
燃料の取り扱いに際しては安全に特にご注意ください。燃料は引火性が高く、気化すると爆発する可能性があります。
燃料取り扱い前に、引火の原因になり得るタバコ、パイプなど、すべての火気を始末してください。
燃料の保管は必ず認可された容器で行ってください。
エンジン回転中などエンジンが高温の時には、燃料タンクのふたを開けたり給油したりしないでください。
締め切った場所では燃料の補給や抜き取りをしないでください。
ガス湯沸かし器のパイロット火やストーブなど裸火や火花を発するものがある近くでは、機械や燃料容器を保管・格納しないでください。
燃料がこぼれたら、エンジンを始動せずにマシンを別の場所に動かし、気化した燃料ガスが十分に拡散するまで引火の原因となるものを近づけないでください。
この散布装置で取り扱う農薬は人体や動植物、土壌などに危険を及ぼす可能性があるので、取り扱いには十分注意してください。
各農薬の情報を良く読んでください。上記安全確保に必要な情報が手に入らない場合には、この装置の運転を拒否してください。
散布装置の整備や修理をする時は、その前に必ず、その装置が薬剤メーカーの指示通りに中和作業が行われた上で 3 回のすすぎ洗いを実行済みであること、さらに、すべてのバルブにそれぞれ 3 回の開閉操作洗浄が実施されていることを確認してください。
十分な量の水と石鹸を身近に常備し、薬剤が皮膚に直接触れた場合には、直ちに洗い流してください。
自分自身の安全を守るために、農薬を取り扱う前に、容器に張ってあるラベルや安全データシート(SDS)など取り扱い上の注意をよく読んで理解し、薬剤メーカーの指示を守りましょう。
農薬を取り扱う時はいつでも自分の身体を守ることを忘れずに。薬剤との接触を防止し危険から身を守ることのできる適切な防具(PPE)を着用してください。例えば:
安全めがねやゴーグル、フェースシールド
防護服
呼吸器やフィルタ付きマスク
薬剤耐性手袋
ゴム長靴または頑丈な防水靴
清潔な着替え、石鹸、使い捨てタオル
薬剤の取り扱いに関する適切な教育訓練を受けてください。
目的にあった適切な薬剤を使用してください。
薬剤を安全に散布するために、薬剤メーカーの指示を必ず守ってください。推奨されている散布水圧を超えないよう注意してください。
周囲に人や動物、特に子供いるときには農薬の調整や機材の洗浄などを行わないでください。
薬剤の取り扱いは換気のよい場所で行ってください。
薬剤を取り扱い中や近くで作業中は、飲食や喫煙をしないでください。
散布ノズルを洗浄するとき口で吹いたり、口に含んだりしないでください。
農薬を取り扱う作業が終了したら、直ちに手足や露出部をよく洗ってください。
農薬は別の容器に移し替えたりせず、また安全な場所で保存してください。
使用しなかった薬液や薬剤容器は、メーカーや地域の規則に従って適切に廃棄してください。
薬剤や薬剤から発生する蒸気は危険です。絶対に、タンクの中に入ったり、頭を入れたり、タンクの上に顔をさらしたりしないでください。
国や自治体などの法律や規則を守って散布作業を行ってください。
毎日、作業前に以下の項目を点検してください。
タイヤ空気圧を点検する。
Note: この車両のタイヤ空気圧は通常の自動車とは異なります;踏圧を減らし芝生の損傷を防止するために低い空気圧に設定されています。
燃料、オイルなどの量を点検し、不足していれば適正品を適正量まで補給する。
ブレーキペダルの作動状態を点検する。
ヘッドライトが正常に作動することを確認する。
ハンドルを左右一杯に切って応答を確認する。
エンジンを掛けない状態で、オイル漏れや各部のゆるみその他の異常がないか点検する。
上記のうち一つでも異常があれば、作業に出発する前に整備士や上司にその旨を伝えてください。現場によっては、上記以外の項目の点検を指示されることもありますので、必ず上司に確認しておきましょう。
エンジンオイルレベル、冷却システム、油圧システムを点検する。
| 整備間隔 | 整備手順 |
|---|---|
| 使用するごとまたは毎日 |
|
タイヤ空気圧を点検し、適正に維持してください。適正圧は 1.38 bar(1.4 kg/cm2 = 20 psi)です。
Note: タイヤの磨耗状態や痛み具合の点検も行ってください。
| 整備間隔 | 整備手順 |
|---|---|
| 使用するごとまたは毎日 |
|
運転前に点検してください。ブレーキペダルを踏んでから抵抗を感じるまでの遊びが25 mm 以上あるときは調整が必要です。ブレーキの調整を参照してください。
ブレーキの整備が適切に行われていない状態での運転は極めて危険であり重大な事故のもとである。
スプレーヤを運転する時は事前に必ずブレーキの作動状態を点検し、必要に応じて調整を行うこと。
| ガソリン | オクタン価 87 以上の無鉛ガソリンを使ってください(オクタン価評価法は(R+M)/2 を使用)。 |
| エタノール混合燃料 | 無鉛ガソリンにエタノールを添加(10% まで)したもの、およびMTBE(メチル第3ブチルエーテル)を添加(15% まで)した燃料を使用することが可能です。エタノールとMTBEとは別々の物質です。 |
| エタノール添加ガソリン(15% 添加=E15)は使用できません。エタノール含有率が 10% を超えるガソリン(たとえば E15(含有率 15%)、E20(含有率 20%)、E85(含有率 85%)は絶対に使用してはなりません。これらの燃料を使用した場合には性能が十分に発揮されず、エンジンに損傷が発生する恐れがあり、仮にそのようなトラブルが発生しても製品保証の対象とはなりません。 |
Important: 機械の性能を十分発揮させるために、きれいで新しい(購入後30日以内)燃料を使ってください。
ガソリン含有メタノールは使用できません。
燃料タンクや保管容器でガソリンを冬越しさせないでください。 冬越しさせる場合には必ずスタビライザ(品質安定剤)を添加してください。
ガソリンにオイルを混合しないでください。
燃料タンク容量: 約45 リットル
平らな場所に駐車し、駐車ブレーキを掛け、ポンプを停止、エンジンを停止してキーを抜き取り、エンジンが冷えるのを待つ。
燃料タンクのキャップ(図 22)の周囲をきれいに拭く。

燃料タンクのキャップを取る。
タンクの天井(給油口の根元)から約25 mm下まで燃料を入れる。
Note: これは、温度が上昇して燃料が膨張したときにあふれないように空間を確保するためである。入れすぎないこと。
燃料タンクのキャップを確実に取りつける。
こぼれた燃料はふき取る。
Note: ノズル選択ガイドをご覧ください。ガイドは代理店にて入手できます。
ノズルタレットには3つのノズルを取り付けておくことができます。ノズルの選択は以下の方法で行います:
平らな場所に停車し、エンジンを停止させ、キーを抜き取り、駐車ブレーキを掛ける。
マスターブームスイッチを OFF とし、散布ポンプのスイッチを OFF にする。
タレットを回転させて希望のノズルにセットする。
散布率モードで使用している車両の場合は、流量の補正(キャリブレーション)を行う。詳細はエクセラレート付きマルチプロ 5800-D または 5800-G ターフスプレーヤのソフトウェアガイドを参照。
標準の装置 50 メッシュ取水部フィルタ(青)
散布する薬剤の種類や粘度に合わせて、取水部フィルタ一覧表から適切なフィルタを選択してください。
| 散布ノズルの色(水量) | スクリーンのメッシュサイズ* | フィルタの色 |
|---|---|---|
| 黄 (0.2gpm) | 50 | 青 |
| 赤 (0.4gpm) | 50 | 青 |
| 茶 (0.5gpm) | 50(または 30) | 青(または緑) |
| 灰 (0.6gpm) | 30 | 緑 |
| 白 (0.8gpm) | 30 | 緑 |
| 青 (1.0gpm) | 30 | 緑 |
| 緑 (1.5gpm) | 30 | 緑 |
| *この表のメッシュサイズは、散布する薬剤の種類または水溶液にした時の水と比較した粘度を基準としています。 | ||
Important: 粘度の高い(ドロドロした)薬剤や、ウェッタブル(水和剤)を散布する場合には、オプションの(目の粗い)スクリーンが必要になる場合があります;図 23を参照。

大水量で散布を行う場合には、より目の粗い、オプションの取水部フィルタの使用をご検討ください;図 24を参照。

選択可能なスクリーンサイズ:
標準の装置 50 メッシュ取水部フィルタ(青)
散布する薬剤の種類や粘度に合わせて、圧力フィルタ一覧表から適切なフィルタを選択してください。
| 散布ノズルの色(水量) | スクリーンのメッシュサイズ* | フィルタの色 |
|---|---|---|
| 粘度の低い薬剤や水溶液、少水量散布 | 100 | 緑 |
| 黄 (0.2gpm) | 80 | 黄 |
| 赤 (0.4gpm) | 50 | 青 |
| 茶 (0.5gpm) | 50 | 青 |
| 灰 (0.6gpm) | 50 | 青 |
| 白 (0.8gpm) | 50 | 青 |
| 青 (1.0gpm) | 50 | 青 |
| 緑 (1.5 gpm) | 50 | 青 |
| 粘度の高い薬剤や水溶液、大水量散布 | 30 | 赤 |
| 粘度の高い薬剤や水溶液、大水量散布 | 16 | 茶 |
| *この表のメッシュサイズは、散布する薬剤の種類または水溶液にした時の水と比較した粘度を基準としています。 | ||
Important: 粘度の高い(ドロドロした)薬剤や、ウェッタブル(水和剤)を散布する場合には、オプションの(目の粗い)圧力フィルタが必要になる場合があります;図 25を参照。

大水量で散布を行う場合には、より目の粗い、オプションの圧力フィルタの使用をご検討ください;図 26を参照。

Note: ノズル部フィルタはノズルを保護しノズルの寿命を延ばします。使用は任意です。
散布する薬剤の種類や粘度に合わせて、ノズルフィルタ一覧表から適切なフィルタを選択してください。
| 散布ノズルの色(水量) | フィルタのメッシュサイズ* | フィルタの色 |
|---|---|---|
| 黄 (0.2pm) | 100 | 緑 |
| 赤 (0.4gpm) | 50 | 青 |
| 茶 (0.5gpm) | 50 | 青 |
| 灰 (0.6gpm) | 50 | 青 |
| 白 (0.8gpm) | 50 | 青 |
| 青 (1.0gpm) | 50 | 青 |
| 緑 (1.5 gpm) | 50 | 青 |
| *この表のメッシュサイズは、散布する薬剤の種類または水溶液にした時の水と比較した粘度を基準としています。 | ||
Important: 粘度の高い(ドロドロした)薬剤や、ウェッタブル(水和剤)を散布する場合には、オプションの(目の粗い)ノズルフィルタが必要になる場合があります;図 27を参照。

大水量で散布を行う場合には、より目の粗い、オプションのノズルフィルタの使用をご検討ください;図 28を参照。

薬剤の混合をタンクのわきで簡単に行える薬剤プレミックスキット(オプション)があります。
Important: 液剤タンクに薬剤を作る時は、出来る限りきれいな真水を使ってください。
Important: 使用する薬剤がヴィトン(Viton™)と共用可能な製品であることを確認してください。(共用できない場合には薬剤ラベルにその旨の記述があります)。ヴィトンと共用できない薬剤は、本機のOリングを劣化させ、薬液洩れを起こします。
Important: タンクについている水量マークはおおよその目安にすぎず、正確な水量調整に使用することはできません。
平らな場所に停車し、エンジンを停止させ、キーを抜き取り、駐車ブレーキを掛ける。
薬剤ラベルをよく読み、散布液の作成に必要な水量を把握する。
タンクのふたを開ける。
Note: タンク上部の中央にあります。開けるには、ふたの前半分を左に回して上に開きます。この状態でストレーナを取り外して洗浄することができます。
逆流防止補給口のクイックディスコネクトに給水ホースを接続する。
所定量の ¾ の水を液剤タンクに入れる(図 30)。
Important: タンクには必ずきれいな真水を先に入れてください。空のタンクに薬剤の原液を直接入れないでください。

エンジンを始動し、駐車ブレーキを掛け、散布ポンプのスイッチを ON にセットし、スロットルレバーを高速側に動かす。
撹拌スイッチを ON 位置にする。
Important: トロのスプレーシステムで水和剤を使用する場合には、バケツなどで一度ゆるい泥状に溶いてからタンクに投入してください。この作業を行わないと、タンクの底に薬剤が沈着し、撹拌されなくなったり、フィルタを詰まらせたり、正しい量の散布が行われなったりする恐れがあります。トロ社ではこの散布装置用に認証されているすすぎキットの使用をお奨めしています。詳細については弊社代理店におたずねください。
薬剤ラベルに記載されている通りの適正量の薬剤原液をタンクに入れる。
液剤タンクに所定量の残りの水を入れ、給水ホースを外し、タンクカバーを閉じる。
Note: 閉める時には、ふたを閉じてから前半分を右に回します。
Important: タンクに初めて水を入れた時は、その状態ではタンク固定ベルトが遊んでいないことを確認してください。必要に応じて締め付けを行ってください。
Important: 散布率モードで使用する場合は、必ず、個別ブームバイパスバルブを閉じてください。
Important: 液剤タンクに薬剤を作る時は、出来る限りきれいな真水を使ってください。
スプレーヤを初めて使用する前や、ノズルを交換したときは必ず、スプレーヤの流量、速度、ブームバイパスの調整を行う必要があります。
Important: この作業は平坦な広い場所で行ってください。
液剤タンクに水を半分まで入れる。
ブームを降下させる。
駐車ブレーキを掛ける。
散布制御スイッチを手動にセットする。
ブームスイッチを3つともONにセットするが、マスターブームスイッチはOFF位置にする。
散布ポンプのスイッチを ON にして攪拌を開始させる。
インフォセンターのキャリブレーション画面で、テスト速度(Test Speed)を選択する;エクセラレート付きマルチプロ 5800-D または 5800-G ターフスプレーヤのソフトウェアガイドのテスト速度の項を参照。
ボタン3と4を使って模擬走行速度を 5.6km/h にセットする。
ボタン4を押してテスト速度シミュレーションをONにする。
ボタン5を押すとTEST SPEED画面を保存してホーム画面に戻る。
レートスイッチを使って、下の表に従って散布率を調整する。
| ノズルの色 | SI(メートル系) | 英語 | ターフ慣用単位 |
| 黄 | 159L/ha | 17 gpa | 0.39 gpk |
| 赤 | 319L/ha | 34 gpa | 0.78 gpk |
| 茶 | 394L/ha | 42 gpa | 0.96 gpk |
| 灰 | 478L/ha | 51 gpa | 1.17 gpk |
| 白 | 637L/ha | 68 gpa | 1.56 gpk |
| 青 | 796L/ha | 85 gpa | 1.95 gpk |
| 緑 | 1,190L/ha | 127 gpa | 2.91 gpk |
左ブームをOFF にし、ブームバイパスノブ (図 32) を使って、先ほどと同じ水圧(表で求めた水圧)に調整する。
Note: バイパスのノブについている目盛りや針は単なる目安のためのものです。

左ブームをON にし、右ブームをOFF にする。
右ブームのブームバイパスノブ (図 32) を使って、先ほどと同じ水圧(表で求めた水圧)に調整する。
右ブームをON にし、中央ブームをOFF にする。
中央ブームのブームバイパスノブ (図 32) を使って、先ほどと同じ水圧(表で求めた水圧)に調整する。
マスターブームスイッチを OFF にする
散布用ポンプを停止させる。
| 整備間隔 | 整備手順 |
|---|---|
| 1年ごと |
|
Important: 液剤タンクに薬剤を作る時は、出来る限りきれいな真水を使ってください。
この作業は平坦な広い場所で行う。
液剤タンクに水を半分まで入れる。
攪拌コントロールバルブが開いていることを確認する。
Note: 何らかの調整が行われて全開になっていない場合には、ここで全開にする。
駐車ブレーキを掛け、エンジンを始動させる。
散布モードボタンで「手動」散布モードにセットする;手動モードでの散布を参照。
ポンプスイッチと攪拌スイッチを ON 位置にする。
マスターブームスイッチを OFF にする。
スロットルレバーをFAST位置にセットする。
レート調整スイッチを使って、水圧を調整して 6.89 bar(7 kg/cm2 = 100 psi)にする。
攪拌スイッチを OFF にして水圧計の読みを見る。
水圧計の読みが 6.89 bar(7 kg/cm2 = 100 psi)であれば、攪拌バルブの基本設定は適切である。
水圧計の読みが変化している場合は以下の設定手順を行う。
攪拌バルブの背面についている攪拌バイパスバルブ(図 34)を使って、水圧計の読み(システム水圧)が 6.89 bar(7 kg/cm2 = 100 psi)になるように調整する。

散布ポンプのスイッチを OFF にする。
スロットルレバーをアイドル / スロー位置に戻し、始動キーを OFF にする。
スプレーヤのポンプは、車両左側の、液剤タンクの後ろ近くにあります (図 35)。

オーナーやオペレータは自分自身や他の安全に責任があり、オペレータやユーザーの注意によって物損事故や人身事故を防止することができます。
作業にふさわしい服装をし、安全めがね、長ズボン、頑丈で滑りにくい安全な靴、および聴覚保護具を着用してください。長い髪は束ねてください。ゆるい装飾品やだぶついた服は身に着けないでください。
「薬剤の安全管理」で解説しているような適切な防護服を着用してください。
この機械を運転する時は常に十分な注意を払ってください。運転中は運転操作に集中してください;注意散漫は事故の大きな原因となります。
疲れている時、病気の時、アルコールや薬物を摂取した時は運転しないでください。
運転士以外の乗員は 1 人のみとしてください;運転士以外の乗員は必ず助手席に着席してください。
運転は、穴や障害物を確認できる十分な照明のもとで行ってください。
エンジンを掛ける時は運転席に着席し、走行ペダルがニュートラル位置にあること、駐車ブレーキが掛かっていることを確認してください。
走行中は必ず着席してください。可能な限り両手でハンドルを握り、両手両足を車外に出さないでください。
見通しの悪い曲がり角や、茂み、立ち木などの障害物の近くでは安全に十分注意してください。
バックする際には必ず後方を確認し、人がいないことを確かめてください。バックはゆっくりと。
周囲にペットや人、特に子供がいる所では絶対に散布作業をしないでください。
段差や溝、大きく盛り上がった場所の近くなどで運転しないでください。万一車輪が段差や溝に落ちたり、地面が崩れたりすると、機体が瞬時に転倒し、非常に危険です。
ラフ、凹凸のある場所、縁石の近く、穴の近くなど路面が一定でない場所では必ず減速してください。車体が揺れると重心が移動し、運転が不安定になります。
異物をはね飛ばしたときや機体に異常な振動を感じたときにはまず停止し、エンジンを止め、キーを抜き取り、駐車ブレーキを掛け、機体の各部をよく点検してください。異常を発見したら、作業を再開する前にすべて修理してください。
旋回するときや道路や歩道を横切るときなどは、減速し周囲に十分な注意を払ってください。常に道を譲る心掛けを。
ぬれた場所、悪天候時、満載状態などでの運転には十二分の注意を払う。こうした条件下では停止距離が長くなることを忘れずに。
エンジン回転中や停止直後は、エンジン本体やマフラーに触れないでください。これらの部分は高温になっており、触れると火傷を負う危険があります。
運転席を離れる前に:
平らな場所に駐車する。
走行ペダルをニュートラルにする。
散布用ポンプを停止させる。
駐車ブレーキを掛ける。
エンジンを止め、(キーのある機種では)キーを抜き取る。
全ての動きが停止するのを待つ。
排気ガスが充満するような締め切った場所では絶対にエンジンを運転しないでください。
落雷の危険がある時には運転しない。
弊社(トロ)が認めた以外のアクセサリやアタッチメントを使用しないでください。
Note: このオペレーターズマニュアルが対象とする車両で、Toro 社が取り付けたキャブは ROPS として機能します。
POPSは機体から外さないでください。
シートベルトを着用し、緊急時にシートベルトを迅速に外せるよう練習しておいてください。運転時には必ずシートベルトを着用してください。
頭上の障害物に注意し、これらに衝突しないように注意してください。
ROPS自体に損傷がないか、また、取り付け金具がゆるんでいないか、定期的に十分に点検を行い、万一の際に確実に役立つようにしておいてください。
必要に応じてシートベルトの清掃と整備を行ってください。
ROPS が破損した場合は新しいものに交換してください。修理したり改造しての使用はしないでください。
斜面はスリップや転倒などを起こしやすく、これらは重大な人身事故につながります。斜面での安全運転はオペレータの責任です。どんな斜面であっても、通常以上に十分な注意が必要です。
以下に掲載している斜面での運転上の注意点やその場合の天候条件および場所の条件などを良く読み、作業日当日の現場のコンディションが作業に適当かどうか判断してください。同じ斜面上であっても、地表面の条件が変われば運転条件が変わります。
斜面については、実地の測定なども行って、安全に作業ができるかどうかを判断してください。この調査においては、常識を十分に働かせてください。
斜面での発進・停止・旋回は避けてください。斜面では、上下方向に走行してください。急に方向を変えたり急な加速やブレーキ操作をしないでください。どうしても旋回しなければならない場合は、ゆっくりと、可能であれば谷側に、旋回してください。後退は十分注意して行ってください。
走行、ステアリング、安定性などに疑問がある場合には運転しないでください。
隠れた穴、わだち、盛り上がり、石などの見えない障害は、取り除く、目印を付けるなどして警戒してください。深い芝生に隠れて障害物が見えないことがあります。不整地では機体が転倒する可能性があります。
ぬれた面、急斜面など滑りやすい場所で運転するとスリップして制御できなくなる危険があります。スリップを起こすとブレーキや舵取りができなくなる恐れがあります。
段差、溝、盛り土、水などの近では安全に十二分の注意を払ってください。万一車輪が段差や溝に落ちたり、地面が崩れたりすると、機体が瞬時に転倒し、非常に危険です。必ず安全距離を確保してください。
アタッチメントを搭載すると機械の安定性が変化しますから、運転には特に注意してください。
坂を登りきれないでエンストしたり、しそうになったりした時は、まず落ち着いてゆっくりとブレーキを踏み、必ずバックで、 ゆっくりと下がってください。
下り坂では、(ギアシフト付き車両では)必ずギアを入れた状態で走行してください。
斜面に駐車しないでください。
タンク内の液剤の重量によって車両の重心が変化し、ハンドリングも変わってきます。暴走や人身事故を防止するために、以下の注意をお守りください。
重い積荷を積んで走行しているときには、速度に注意し、常に安全な停止距離を確保してください。急ブレーキは絶対につつしみましょう。斜面ではより慎重な運転を心がけましょう。
旋回中、斜面走行中や速度を急に変化させた時、凹凸のある場所を走行している時などには、タンク内の液剤が大きく揺れ動きます。重心の急変は転倒につながりますから十分注意してください。
運転席に着席し、走行ペダルから足を離す。
以下を確認する:
駐車ブレーキが掛かっている。
走行ペダルがニュートラル位置にある。
散布用ポンプが OFF 位置にある。
スロットルが低速にセットされている。
キーを START 位置に回す。
15秒間以上のクランキングはさける。
始動したらキーから手を放す。
アイドル位置か中間位置でエンジンのウォームアップを行う。
駐車ブレーキを解除して、走行ペダルの前側を踏み込めば前進、後ろ側を踏み込めば後退する。
Important: 前進と後退との切り替えは、必ず車両を一旦完全に停止させておこなってください。
走行ペダルから足を離すと車両はゆっくり停止する。
Note: 走行ペダルはニュートラル位置に戻る。
急いで停止する時にはブレーキペダルを踏み込む。
Note: 停止距離は積荷や走行速度などの条件によって異なります。
走行ペダルから足を離したままで走行速度固定スイッチを押すと、車両が急停止し、自身や周囲の人に怪我をさせる可能性がある。
走行速度固定スイッチのスイッチを OFF にする時は必ず走行ペダルに足をのせておくこと。
散布用ポンプのスイッチを ON 位置にしてポンプを起動する;散布ポンプスイッチを参照。
前進走行で希望のスピードまで速度を上げる;走行方法は マシンを運転するを参照。
Note: 走行速度をロックするためには、時速 11km 未満で走行してください。
走行速度固定スイッチの上側を押す。
Note: スイッチのランプが点灯します。
走行ペダルから足を離す。
Note: 車両は設定された速度で走行を続けます。
走行速度固定スイッチを解除するには、走行ペダルに足を乗せて走行ペダル固定スイッチを OFF にする(スイッチの下側を押す)か、ブレーキを踏むかします。
Note: スイッチのランプが消え、走行ペダルによる走行に復帰します。
全部のコントロールをニュートラルに戻す。
ブレーキを踏み込む。
駐車ブレーキを掛ける。
スロットルレバーをアイドル/スロー 位置に動かす。
キーを OFF 位置に回す。
事故防止のため、キーは抜き取る。
エンジンが安全範囲を外れた状態で作動するとインフォセンターにメッセージが表示されますが、これには 2 つの種類があります:
エンジンに関するアドバイス
エンジン停止メッセージ
Note: エンジンに関するアドバイスを音で確認できるようにするには、インフォセンターの設定画面で、音声の設定を ON にしておく必要があります;エクセラレート付きマルチプロ 5800-D または 5800-G ターフスプレーヤのソフトウェアガイドの音声表示のミュートの項を参照してください。
Note: ホーム画面の右上角部に
というアイコンが表示される場合には、エンジンに関するアドバイスがあるかエンジンに不具合が発生しています。
エンジン停止メッセージがインフォセンターに表示されたら、すぐに車両を停止させてエンジンを止めてください。アドバイス画面の例を以下に示します:
Important: 停止メッセージを無視してエンジンの運転を続けるとエンジンを損傷します。
ECU が不具合(重大レベル)を検知すると、エンジン停止表示 が表示される(図 40)。

直ちに車両を停止し、エンジンを停止させる。
次に不具合メッセージが表示される(図 41)。

ボタン1-5で、不具合の内容を確認する;図 38(エンジン関係のアドバイス)を参照。
ボタン 1 と 2 は画面の項目間の上下移動。
ボタン 3 を押すと音声ミュート。
ボタン5を押すと不具合表示を出てホーム画面に戻る;図 39(エンジン関係のアドバイス)を参照。
スプレーヤの運転は、薬剤を作る、薬剤を散布する、タンク内部と配管内部を洗浄する、という3つの作業から成り立っています。この3つの作業を必ず連続して行ってください。故障を防止するために重要です。つまり、前夜に薬液を作って翌日に散布するというようなことをしてはいけません。このようなことをすると、薬液が分離分解するなどして効果が上がらない、散布装置を損傷するなどの恐れがでてきます。
農薬は人体に危険を及ぼす恐れがある。
農薬を使う前に、農薬容器に貼ってあるラベルをよく読み、メーカーの指示を全て守って使用する。
スプレーを皮膚に付けない。万一付着した場合には真水と洗剤で十分に洗い落とす。
薬剤メーカーの指示に従って適切な防具(PPE)を着用してください。
Multi Pro® スプレーヤは耐久性に特に配慮された製品であり、長い年月にわたって液剤散布にご利用いただける散布車です。装置の性能と耐久性を確保するために、それぞれの個所に応じて色々な種類の素材を使用しております。残念ながら、散布装置の使用目的すべてに完璧に合った材料というものは存在しません。
散布する薬剤によっては、その化学的特性のために装置を劣化させやすいものがあり、また、薬品同士が様々な物質と化学作用を起こします。薬剤のタイプ(水和剤やチャコールなど)によっては、装置を磨耗させやすいものがあります。もし、侵食や磨耗を引き起こしにくい種類や形態の薬剤を使うことが可能な場合は、そのような薬剤をお使いくださるようにお願いいたします。
また、散布作業後は、必ず車両と装置全体を十分に洗浄してください。作業後の洗浄を確実に行うことにより、寿命を延ばし、トラブルのない作業を続けることができます。
Note: スプレーコントロールシステムについて分からないことがある場合や、さらに詳しい情報を知りたい場合には、システムに付属しているオペレーターズマニュアルをご覧ください。
以下の情報については、エクセラレート付きマルチプロ 5800-D または 5800-G ターフスプレーヤのソフトウェアガイドを参照してください:
運転前に
インフォセンターのホーム画面
メインメニュー画面
メインメニューのサブ画面
整備画面
診断画面
概要画面
運転中に
作業情報を入力する
インフォセンターの散布面積表示画面
インフォセンターが表示するアドバイス
以下の操作については、エクセラレート付きマルチプロ 5800-D または 5800-G ターフスプレーヤのソフトウェアガイドを参照してください:
Important: タンク内部の薬剤を常に確実に分散させておくために、タンク内部に薬液がある間は常時攪拌を行ってください。
使用する薬剤のために選択したノズルを使用して散布システムのキャリブレーションを行うこと。詳細はエクセラレート付きマルチプロ 5800-D または 5800-G ターフスプレーヤのソフトウェアガイドを参照してください。
個別ブームバイパス停止バルブのノブを「閉」位置にする(図 42)。

散布モード変更ボタンで散布率モードにする(図 43)。

実際の散布現場へ移動する。
各散布場所別に散布面積や散布量のデータを収集したい場合には、サブエリア画面で選択(サブエリア 1-20)を選択する;詳細はエクセラレート付きマルチプロ 5800-D または 5800-G ターフスプレーヤのソフトウェアガイドのサブエリア画面を参照。
Note: 別の散布場所へ移動したら、サブエリア画面で別のサブエリアを選択する。
レート 1 とレート 2 との間で切り替えを行いたい時には、インフォセンターのホーム画面で、ボタン 1 と 2 を同時に押すとレート 1になり、ボタン 4 と 5 を同時に押すとレート 2になる;詳細はエクセラレート付きマルチプロ 5800-D または 5800-G ターフスプレーヤのソフトウェアガイドを参照。
個別ブームスイッチを ON にセットする(図 44)。

攪拌スイッチとポンプスイッチを ON 位置にする(図 45)。

スロットルを高速位置とする(図 45)。
走行を開始し、所定速度に達したらマスターブームスイッチを ON にすると散布が始まる(図 44)。
Note: その後はマスターブームスイッチで散布の停止と開始を行う。
散布が終了したら、マスターブームスイッチを OFF とし、全部のブームスイッチを OFF にしてから、ポンプスイッチを OFF にする。
Note: ブームを移動走行位置にセットし、洗浄場所へ移動します。
Important: 現場から現場へ移動するとき、現場から整備場へ帰るときなどは、必ずブームを折りたたみ、各ブームが完全に上昇して移動走行用クレードルに収まり、シリンダが完全に縮んでブームがX字型にたたまれているのを確認してください。
Note: 以下の手順は散布用ポンプが ON 状態であることを前提としています;図 45(散布率モードでの散布)を参照。
使用する薬剤用に選択したノズルを使用して散布システムがキャリブレーションされていることを確認する;ノズルの選択を参照。
散布モードボタンで「手動」散布モードにセットする(図 46)。

マスターブームスイッチを OFF にセットする;図 44(散布率モードでの散布)を参照。
希望する散布に合わせてスロットル位置を調整する;図 45(散布率モードでの散布)を参照。
現場へ移動する。
各ブームを散布姿勢に開く。
散布したいブームのスイッチを ON 位置にする;図 44(散布率モードでの散布)を参照。
散布率スイッチで所望の散布水圧にセットる。水圧は本体に付属の資料、ノズル選定ガイドを参照。図 47

希望速度で走行し、マスターブームスイッチを ON にすると散布が始まる;図 44(散布率モードでの散布)を参照。
Note: タンク内の液量が減ってくると、液剤によっては泡の発生が問題になることがあります。そのような場合には攪拌をOFFにしてください。消泡剤を利用してもよいでしょう。
散布が終了したら、マスターブームスイッチを OFF とし、全部のブームスイッチを OFF にしてから、ポンプスイッチを OFF にする。
Note: ブームを移動走行位置にセットし、管理棟に戻って洗浄を行います。
Important: 現場から現場へ移動するとき、現場から整備場へ帰るときなどは、必ずブームを折りたたみ、各ブームが完全に上昇して移動走行用クレードルに収まり、シリンダが完全に縮んでブームがX字型にたたまれているのを確認してください。
Important: このテストには、目盛付きの回収容器(できれば 0.01 ml (1/2 fl. oz) まで測れるもの)とストップウォッチが必要です。
Important: 液剤タンクに薬剤を作る時は、出来る限りきれいな真水を使ってください。
液剤タンクがきれいであることを確認する:散布システムの洗浄を参照。
液剤タンクに少なくとも 600 リットル程度の真水を入れる;タンクに水を入れるを参照。
テストするノズルが選択されている(ブームから下向き)ことを確認する。
散布率モードで使用している車両の場合は、個別ブームバイパス停止バルブのノブが閉まっていることを確認する(図 48)。

散布率モードで使用している車両の場合は、個別ブームバイパス停止バルブが閉じていることを確認する(図 48)。
駐車ブレーキを掛け、エンジンを始動させる。
Note: エンジンを 10分ほどウォームアップしてください。
散布率モードで使用している車両の場合は、「テスト速度」を使用してテストを行う。詳細はエクセラレート付きマルチプロ 5800-D または 5800-G ターフスプレーヤのソフトウェアガイドを参照。
Note: テスト用速度を 4 km/h-14 km/h にセットしてください。
テストしたいブームの個別ブームスイッチを ON にセットする。
スロットルを高速位置とする。
マスターブームスイッチを ON にセットする。
1 つのノズルを選んで、そこから散布される水を 15 秒間回収する。

マスターブームスイッチを OFF にし、スロットルを低速に戻し、ポンプを停止し、エンジンを停止させる。
目盛付き容器を水平な場所において回収された水量を調べる(図 50)
Important: 目盛付き容器で水量を測る時は必ず容器を水平な場所においてください。
Important: 目盛付き容器で水量を読み取る時は、湾曲している水面の一番低い場所で読み取ってください。
Important: ちょっとした目盛の読み取り誤差が、結果を大きく左右します。

実際にタンクに入れた水量を、15 秒間テストの表の数値と比較する。
| ノズルの色 | 15秒間の吐出量(ミリリットル) | 15秒間の吐出量(オンス) |
|---|---|---|
| 黄 | 189 | 6.4 |
| 赤 | 378 | 12.8 |
| 茶 | 473 | 16.0 |
| 灰 | 567 | 19.2 |
| 白 | 757 | 25.6 |
| 青 | 946 | 32.0 |
| 緑 | 1,419 | 48.0 |
目盛付き容器で計測した水量とノズル水量 15 秒間テスト表との値との差が 7.4 ml を超える場合には、以下のうちのどちらかを実施する:
流量のキャリブレーションを行う。または、ノズルを新しいものに替えてから流量のキャリブレーションを行う。キャリブレーションの手順については、エクセラレート付きマルチプロ 5800-D または 5800-G ターフスプレーヤのソフトウェアガイドを参照。
攪拌バイパスバルブのキャリブレーションを行う。または、ノズルを新しいものに替えてから攪拌バイパスバルブのキャリブレーションを行う;攪拌バイパスバルブの補正(キャリブレーション)設定を参照。
スプレーヤのコントロールパネルにあるブーム昇降スイッチを使うと、運転席に座ったままで左右のブームの昇降操作(散布位置と移動走行位置の切り替え)ができます。ブームの昇降を行うときには、できるだけ停車してください。
以下の操作を行って、左右のブームを散布位置に下降させてください。
平らな場所に駐車する。
左右のブームを下げるにはブーム昇降スイッチを使う。
Note: 左右の散布ブームが完全に散布位置に降りるまで待つ。
散布作業を行い、その後、以下の操作を行って、左右のブームを移動走行位置に上昇させてください。
Important: 飛散防止ブームシュラウドキットやウルトラソニックブームレベリングキットを搭載している場合、ブームの折りたたみ(移動走行位置への変更)は左右同時にではなく、1本ずつ行ってください。左右のブームを両方同時に折りたたみ上昇操作すると、シュラウドやセンサーを破損させる恐れがあります。
平らな場所に駐車する。
ブーム昇降スイッチを操作して、左右のブームが完全に上昇して移動走行用ブームクレードルに収まり、昇降シリンダが完全に縮んでブームがX字型にたたまれるまでブームを上昇させる。
Important: ブームが所定位置にきたらブーム昇降スイッチから手を離してください。アクチュエータがストッパに当たっているのにスイッチを押し続けると、油圧シリンダなどが破損したりする可能性があります。
Important: 移動走行中、低く垂れた木の枝などの障害物にブームが当たらないように注意してください。ブームが当たるとブームが損傷する恐れがあります。
Important: 移動走行を行う場合は必ずブームをX字型に組んでクレードルにセットしてください。これ以外の位置ではブームが破損する恐れがあります。

Important: 昇降シリンダの破損を防止するために、移動走行を開始する前に、各アクチュエータが完全に引き込まれた状態になっているのを確認してください。
Important: スプレーヤを停止させた状態で作業中に、エンジンやラジエター、マフラーなどからの熱が原因でターフを傷めてしまう可能性があります。停止モードとは、走行しないで撹拌だけを行う、ハンドガンで手撒きする、歩行型ブームで手撒きするなどを言います。
以下の注意を守ってください:
酷暑の時期や極めて乾燥している時期にはターフが大きなストレスを受けているので、ターフ上に停止して散布するのは避ける。
停止モードで作業する時には、ターフの上に停止しないようにする。可能な限り、カートパスなどに停車する。
ターフ上に停車する時は、停車時間をできるだけ短くする。ターフへの害は温度と時間の両方が影響することを忘れないようにする。
エンジンの回転速度をできるだけ下げ、必要最小限の水圧と水量で作業する。これにより、発熱をできるだけ小さくし、また冷却ファンからの熱風をゆるやかにすることができる。
停止モードで作業するときには、エンジンの熱ができるだけ上に逃げるように運転席を倒し車体上部に通風領域を確保する。
二重散布にならないように注意して運転する。
ノズルの詰まりに注意する。詰まっていたり、損傷したノズルはすべて交換する。
停車する場合は、まずマスターブームスイッチで散布を停止し、その後に走行を停止する。停止したら、エンジンのスロットルコントロールで、撹拌を続けられる程度のエンジン速度に調整する。
散布開始(マスターバルブのON)は車両が走行中に行う方が良い。
作業中に詰まりを起こしたノズルは、以下の方法で詰まりを取り除くことができます:
平らな場所に停車し、エンジンを停止させ、駐車ブレーキを掛ける。
マスターブームスイッチを OFF とし、次いでポンプスイッチを OFF にする。
詰まっているノズルを外し、水を吹き付けたり歯ブラシなどを使って清掃する。
ノズルを取り付ける。
運転席を離れる前に:
平らな場所に駐車する。
走行ペダルをニュートラルにする。
散布用ポンプを停止させる。
駐車ブレーキを掛ける。
エンジンを止め、(キーのある機種では)キーを抜き取る。
全ての動きが停止するのを待つ。
調整、整備、清掃、格納などは、車両が十分に冷えてから行ってください。
一日の作業が終了したら、車体の外側をきれいに洗浄して付いている薬剤などを落とし、液剤散布系統内部は薬剤メーカーの指示に従って中和処理を行い、さらに 3 回のすすぎ洗いを行って全てのバルブに 3 回の通水洗浄を行う;薬剤の安全管理の章を参照。
閉めきった場所に本機を保管する場合は、エンジンが十分冷えていることを確認してください。
ガス湯沸かし器のパイロット火やストーブなど裸火や火花を発するものがある近くでは、絶対に機械や燃料容器を保管・格納しないでください。
機体各部が良好な状態にあり、ボルトナット類が十分にしまっているか常に点検してください。
摩耗、破損したり読めなくなったステッカーは交換してください。
必要に応じて水または水と刺激の少ない洗剤で車体を洗浄する。柔らかい布などを使っても構いません。
Important: 塩分を含んだ水や処理水は機体の洗浄に使用しないでください。
Note: 高圧洗浄機は使用しないでください。圧力洗浄機を使うと、電装部の損傷、ステッカー類の剥がれ、潤滑部のグリス落ちなどを起こす可能性があります。また、コントロールパネル、エンジン、バッテリー付近に大量の水をかけないようにしてください。
Important: エンジンを駆動させたままで洗車を行わないでください。エンジンを駆動させたままで洗車するとエンジン内部を損傷する恐れがあります。
停車し、駐車ブレーキを掛け、エンジンを停止し、キーを抜き取る。
車両左後部のフェンダにあるタンクドレンバルブを探し出す(図 52)。
Note: ドレンバルブは、車両の左後フェンダにあるドレンバルブブラケット上にあります。

ドレンバルブを持ち上げてブラケットのスロットにはまっているスタッドを後方に抜いてブラケットからバルブを外す(図 53;A)。

薬剤回収容器の中にバルブを入れ、バルブのハンドルを開く (図 53;B)。
排出が完全に終了したら、ドレンバルブのハンドルを「閉」に回し、バルブをブラケットに元通りに取り付ける(図 53;B と 図 53;A)。
Important: タンクから回収した薬液は法令やメーカーの指示に則って適切に処分してください。
| 整備間隔 | 整備手順 |
|---|---|
| 使用後毎回 |
|
Important: 必ず真水を使用してください。
Important: 作業が終了したら毎回すぐにスプレーヤおよび散布用のアクセサリすべてから余った薬剤を抜き、システム内部を通水洗浄してください。この通水洗浄を怠ると、内部に残留している薬剤が固まってラインの詰まり、バルブやノズルの詰まり、ポンプその他の機器の異常の原因となります。
トロ社ではこの散布装置用に認証されているクリーンすすぎキットの使用をお奨めしています。詳細については弊社代理店におたずねください。
Note: 以下の説明は、Toro のすすぎキットが搭載されていないことを前提としています。
散布システムと散布用アクセサリ機器は 一回使用するごとに 洗浄してください。スプレーシステムの正しい洗浄方法は以下の通りです:
完全なすすぎ洗いを、3 回別々に行う。
薬剤メーカーが指示をしている場合には、その指示に従ってクリーナや中和剤を使用する。
最後のすすぎ洗いは、純粋な真水(クリーナや中和剤を使用しない)を使って行う。
タンクに少なくとも 190 リットルの水を入れてふたを閉める。
Note: 必要に応じて洗浄剤や中和剤を使用してください。ただし、最後のすすぎには真水で行ってください。
ブームを散布位置にセットする。
エンジンを始動し、散布ポンプスイッチを ON 位置にセットし、スロットルレバーでエンジン回転数を上げる。
撹拌スイッチを ON 位置にする。
散布率調整スイッチを使って、水圧設定を高い設定にする。
マスターブームスイッチと個別ブームスイッチを ON にする。
その間に、ノズルの散布パターンを点検する。
タンク内部の水がノズルから全部放出されるまでその場で散布を行う。
散布が終了したら、マスターブームスイッチを OFF とし、攪拌スイッチと散布ポンプスイッチを OFF とし、エンジンを停止させる。
上記1から9までの作業を少なくともあと 2 回繰り返して、システム内部を完全に洗浄する。
Important: 必ず、スプレーヤおよび散布アクセサリ機器の内部を 3 回完全に洗浄してください。後のトラブルを防止するために、必ずこの洗浄を行ってください。
吸い込みフィルタと水圧フィルタを洗浄する;取水部フィルタの清掃と圧力フィルタの清掃を参照。
Important: 水和剤を使用しているときは、タンクに液剤を準備するごとにストレーナを洗浄してください。
ホースと水とでスプレーヤの外側を洗浄する。
ノズルを外して手で洗浄する。
Note: 磨耗したり破損したりしているノズルは交換する。
Note: ノズルフィルタ(オプション)を使用している場合には、このフィルタも洗浄する;ノズルフィルタの清掃を参照。
| 整備間隔 | 整備手順 |
|---|---|
| 使用するごとまたは毎日 |
|
平らな場所に駐車し、駐車ブレーキを掛け、ポンプとエンジンを停止し、始動キーを抜き取る。
タンク上部で、フィルタハウジングからの太いホースについているフィッティングを固定しているリテーナを外す (図 54)。

フィルタハウジングからホースとフィッティングを取り外す(図 54)。
フィルタハウジング(タンク内部)からストレーナを取り出す(図 55)。

フィルタを水で洗浄する。
Important: フィルタが破損している場合や清掃できない場合は交換してください。
フィルタハウジングにフィルタをきちんと取り付ける。
ホースとホースフィッティングをフィルタハウジングに元通りに取り付け、ステップ 2で取り外したリテーナを使って固定する。
| 整備間隔 | 整備手順 |
|---|---|
| 使用するごとまたは毎日 |
|
平らな場所に駐車し、駐車ブレーキを掛け、ポンプとエンジンを停止し、始動キーを抜き取る。
圧力フィルタの下に受け容器をおく(図 56)。

圧力フィルタのボウルについているドレンキャップを左に回して外す(図 56)。
Note: ボウルから液が完全に抜けるのを待つ。
ボウルを左に回してフィルタヘッドを外す(図 56)。
圧力フィルタエレメントを外す(図 56)。
フィルタを水で洗浄する。
Important: フィルタが破損している場合や清掃できない場合は交換してください。
ドレンプラグのガスケット(ボウルの内側)とボウルのガスケット(フィルタヘッドの内側)に傷や破損がないか点検する(図 56)。
Important: プラグ用もボウル用も、磨耗したり破損したりしているガスケットは交換してください。
圧力フィルタエレメントをフィルタヘッドに取り付ける(図 56)。
Note: フィルタエレメントがヘッドに密着していることを確認してください。
フィルタヘッドにボウルを取り付けて手締めする(図 56)。
ボウルの底部のフィッティングにドレンキャップを取り付けてキャップを手締めする(図 56)。
| 整備間隔 | 整備手順 |
|---|---|
| 使用後毎回 |
|
コンディショナについての仕様:防錆材を配合したプロピレングリコール系の「無毒RV不凍液」
Important: 必ず防錆材入りのプロピレングリコールを使用してください。 新しいプロピレングリコールを使ってください。エチレングリコール系の不凍液は使用しないでください。プロピレングリコールにアルコール(メタノール、エタノール、イソプロパノール)や塩水を添加しないでください。
平らな場所に駐車し、駐車ブレーキを掛け、エンジンを停止させ、キーを抜き取る。
以下のようにして、コンディショナをタンクに入れる:
そのまま使える(プレミックス)タイプのプロピレングリコール RV 不凍液は、液剤タンクに 38 リットル投入する。
濃縮タイプのプロピレングリコール RV 不凍液の場合は、以下の作業を行う:
所定濃度に薄めたプロピレングリコール RV 不凍液を液剤タンクに 38 リットル投入する。メーカーの指示に従って、凍結防止温度が少なくとも -45°C (-50°F) となるように濃度を調整する。
Important: 必ず真水を使用してください。
エンジンを始動し、散布ポンプスイッチを ON 位置にする。
アクセルペダルを踏み込んでエンジン速度を上げる。
撹拌スイッチを ON 位置にする。
そのまま約3分間かけてコンディショナ液をシステム内部に循環させる。
用意するもの:透明な回収容器
薬剤取扱い専用エリアに停車して駐車ブレーキを掛ける。
左右の外側ブームを降下させる。
左右と中央のブームスイッチ 3 つ全部とマスタースイッチを ON にする。
散布システム内部からコンディショナが完全に散布されてしまうのを待つ。
Note: ほとんどのプロピレングリコール RV 不凍液はピンク色に着色されています。数か所のノズルから、コンディショナを回収容器に採取して状態を観察する。
散布が終了したら、マスターブームスイッチ、個別ブームスイッチ、攪拌スイッチ、散布ポンプスイッチを OFF とし、エンジンを停止させる。
故障時には、バイパスバルブを開けば、短距離に限って押して(又は引いて)移動することが可能です。ただし、通常の移動にはこの方法を使わないでください。
牽引時の速度が速すぎると、ハンドル操作ができなくなって人身事故となる危険がある。
牽引速度は4.8km/hを限度とする。
牽引作業は2人で行います。長い距離を移動しなければならない場合にはトレーラなどを使用してください;トレーラへの積み込みを参照。
冷却系統が完全に冷えるのを待つ。
キャリッジ下シュラウドを取り外す;エンジンへのアクセス方法を参照。
牽引用バイパスバルブ(図 60)を左右どちらかに 90°回転させるとバルブが開く。

Important: バイパスを開かずに牽引するとトランスミッションを破損します。
牽引ロープを取り付ける;車両前後のロープ掛けポイントについては図 61 と 図 62を参照。


駐車ブレーキを解除する。
時速 4.8 km/h 以下で牽引する。
牽引が終了したら、牽引用バルブを閉じ、7-11 N·m(0.7-1.1 kg.m = 5-8 ft-lb)にトルク締めする。
Important: キャリッジ下シュラウドを元通りに取り付ける;エンジンへのアクセス方法を参照。
Note: www.Toro.com から、この機械に関する配線図と油圧回路図をダウンロードすることができます。弊社ホームページからマニュアルへのリンクをご活用ください。
Important: エンジンの整備に関しての詳細は、付属のエンジンマニュアルを参照してください。
Note: 前後左右は運転位置からみた方向です。
運転席を離れる前に:
平らな場所に駐車する。
走行ペダルをニュートラルにする。
駐車ブレーキを掛ける。
エンジンを止め、(キーのある機種では)キーを抜き取る。
全ての動きが停止するのを待つ。
保守作業は、各部が十分冷えてから行う。
許可を受けた有資格者以外には、この車両の保守、修理、調整、点検などの作業をさせないでください。
保守整備作業は、必ず機体を十分に洗浄し、すすいでから行ってください;薬剤の安全管理の章を参照。
この散布装置で取り扱う農薬は人体や動植物、土壌などに危険を及ぼす可能性があるので取り扱いには十分注意してください。
自分自身の安全を守るために、農薬を取り扱う前に、容器に張ってあるラベルや安全データシート(SDS)など取り扱い上の注意をよく読んで理解し、薬剤メーカーの指示を守りましょう。
農薬の近くにいる時は常に自分の皮膚に薬剤を付着させないように注意しましょう。薬剤との接触を防止し危険から身を守ることのできる適切な防具(PPE)を着用してください。具体的には:
安全めがねやゴーグル、フェースシールド
防護服
呼吸器やフィルタ付きマスク
薬剤耐性手袋
ゴム長靴または頑丈な防水靴
清潔な着替え、石鹸、使い捨てタオル
安全確保に必要な情報が手に入らない場合には、この装置の運転を拒否してください。
周囲に人や動物、特に子供いるときには農薬の調整や機材の洗浄などを行わないでください。
薬剤の取り扱いは換気のよい場所で行ってください。
いつでも、特に液剤タンクに薬液を作るときには、真水を手元に用意してください。
薬剤を取り扱い中や近くで作業中は、飲食や喫煙をしないでください。
散布ノズルを洗浄するとき口で吹いたり、口に含んだりしないでください。
農薬を取り扱う作業が終了したら、直ちに手足や露出部をよく洗ってください。
薬剤や薬剤から発生する蒸気は危険です。絶対に、タンクの中に入ったり、頭を入れたり、タンクの上に顔をさらしたりしないでください。
ねじ類は十分に締めつけ、常に機械全体の安全を心掛けてください。
火災防止のため、エンジンの周囲に、余分なグリス、薬剤、草や木の葉、ほこりなどを溜めないようにご注意ください。
エンジンを回転させながら調整を行わなければならない時は、手足や頭や衣服をローラや可動部に近づけないように十分ご注意ください。また、無用の人間を近づけないようにしてください。
車両の走行速度を調整しないでください。トロの正規代理店で走行速度検査を受け、安全性と精度を確認しておきましょう。
大がかりな修理が必要になった時や技術的な援助が必要な時は、Toro 正規代理店にご相談ください。
車両の改造を行うと、機械の挙動や性能、耐久性などが変化し、そのために事故が起きる可能性があります。このような使い方をすると製品保証が適用されなくなります。
機体の下で作業する場合には、必ずジャッキスタンドで機体を確実に支えてください。
機器類を取り外すとき、スプリングなどの力が掛かっている場合があります。取り外しには十分注意してください。
| 整備間隔 | 整備手順 |
|---|---|
| 使用開始後最初の 8 時間 |
|
| 使用開始後最初の 50 時間 |
|
| 使用開始後最初の 200 時間 |
|
| 使用するごとまたは毎日 |
|
| 使用後毎回 |
|
| 50運転時間ごと |
|
| 100運転時間ごと |
|
| 200運転時間ごと |
|
| 400運転時間ごと |
|
| 800運転時間ごと |
|
| 1000運転時間ごと |
|
| 2000運転時間ごと |
|
| 1年ごと |
|
このページをコピーして使ってください。
|
点検項目 |
第 週 |
||||||
|---|---|---|---|---|---|---|---|
|
月 |
火 |
水 |
木 |
金 |
土 |
日 |
|
|
常用ブレーキと駐車ブレーキを点検する。 | |||||||
|
ニュートラル固定スイッチの作動を確認する。 | |||||||
|
燃料残量。 | |||||||
|
エンジンオイルの量を点検する。 | |||||||
|
油圧オイルの量を点検する。 | |||||||
|
冷却液の量を点検する。 | |||||||
|
エアフィルタの点検。 | |||||||
|
ラジエターとオイルクーラ付近に汚れがないか点検する。 | |||||||
|
エンジンから異常音がないか点検する。 | |||||||
|
運転操作時に異常音がないか点検する。 | |||||||
|
タイヤ空気圧を点検します。 | |||||||
|
オイル漏れがないか点検する。 | |||||||
|
油圧ホースや燃料パイプの状態を点検する。 | |||||||
|
計器類の動作を点検する。 | |||||||
|
アクセルの作動状態を点検する。 | |||||||
|
取水部ストレーナを清掃する。 | |||||||
|
グリスアップを行う1 | |||||||
|
マシンを洗浄する。 | |||||||
|
塗装傷のタッチアップを行う。 | |||||||
1 車体を水洗いしたあとは整備間隔に関係なく直ちにグリスアップする。
| 点検担当者名: | ||
| 内容 | 日付 | 記事 |
| 1 | ||
| 2 | ||
| 3 | ||
| 4 | ||
| 5 | ||
| 6 | ||
| 7 | ||
| 8 | ||
| 9 | ||
| 10 | ||
始動スイッチにキーをつけたままにしておくと、誰でもいつでもエンジンを始動させることができ、危険である。
整備・調整作業の前には必ず始動スイッチからキーを抜いておくこと。
駐車ブレーキを掛け、散布用ポンプを停止、エンジンを停止し、始動スイッチからキーを抜き取る。
機体の前部と後部を持ち上げてジャッキスタンドで支える; 車体を床から浮かせるを参照。
前側防熱シールドをシャーシに固定しているソケットヘッドボルト(6本)とワッシャ(6枚)を外してシールドを取り外す(図 65)。
Note: 外したボルト、ワッシャ、防熱シールドは 前側防熱シールドを取り付けるで取り付けるので捨てないでください。

前側防熱シールドの後部フランジを後防熱シールドの前側フランジに合わせる(図 66)。

前側防熱シールドの穴を、シャーシのねじ穴に合わせる(図 66)。
前側防熱シールドを機体に固定する;ソケットボルト6本とワッシャ6枚(図 66)(ステップ 前側防熱シールドを取り外す, 3で外したもの)を使用する。
ボルトを 19.78-25.42 N·m (0.6-0.7 kg.m = 175-115 in-lb)にトルク締めする。
ジャッキをゆるめて機体を床に下ろす。
キャリッジ下シュラウドをシャーシに固定しているフランジヘッドボルト(5/16 x ⅝") 5本とワッシャ(5/16")7枚を取り外す(図 67)。
Note: 外したフランジヘッドボルトとワッシャは、ステップ 5(キャリッジ下シュラウドを取り付ける)で使用します。


キャリッジ下シュラウドの取り付けタブをエンジン搭載ブラケットに固定しているボルトおよびキャリッジボルトのフランジロックナット(5/16")4個を取り外す(図 68)。
Note: ボルトは機体から外さないでください。外したフランジロックナットは、ステップ 3(キャリッジ下シュラウドを取り付ける)で使用します。

キャリッジ下シュラウドをエンジン搭載ブラケットに固定しているボルトから取り付けタブを外す。
キャリッジ下シュラウドを車体の下シャーシに合わせる;図 68(キャリッジ下シュラウドを取り外す)を参照。
エンジン搭載ブラケットのところで、ボルトとキャリッジボルトの上からキャリッジ下シュラウドの取り付けタブを入れる;図 68(キャリッジ下シュラウドを取り外す)を参照。
キャリッジ下シュラウドを、エンジン搭載ブラケットとボルトに組み付ける(図 68);ステップ2(キャリッジ下シュラウドを取り外す)で外したフランジロックナット (5/16") 4個を使用する。
キャリッジ下シュラウドの後部にある穴を、シャーシの穴に合わせる;図 67(キャリッジ下シュラウドを取り外す)を参照。
キャリッジ下シュラウドの後部をシャーシに取り付ける(図 67);ステップ 1 (キャリッジ下シュラウドを取り外す)で取り外したフランジヘッドボルト(5/16 x ⅞")5本とワッシャ(5/16")5枚を使用する。
ボルトとナットを11.29-15.82 N∙m(2.0-2.6 kg.m = 100-140 in-lb)にトルク締めする。
シートベースアクセスパネルの穴を座席ベースの穴に合わせる(図 69)。
シートベースアクセスパネルを座席ベースに固定する(図 69);1(シートベースアクセスパネルを外す)で外したフランジヘッドボルト2本を使用する。
ボルト本を 19.75-25.42 N·m (0.6-0.7 kg.m = 175-225 in-lb)にトルク締めする。
| 整備間隔 | 整備手順 |
|---|---|
| 50運転時間ごと |
|
グリスの種類:No. 2 汎用リチウム系グリス.トロ社のプレミアム汎用グリスを正規代理店で販売しております。
ステアリングシリンダ:シリンダの各ロッド端に2個のグリスフィッティング
ステアリングロッド:各ロッド端に2個のグリスフィッティング
スピンドルピボット:車両の左右それぞれに2個のグリスフィッティング
はみ出したグリスはふき取る。
Note: グリスアップ箇所を図 71に示します。


| 整備間隔 | 整備手順 |
|---|---|
| 100運転時間ごと |
|
Important: ブームの蝶番を水洗いした場合には、蝶番アセンブリから水と異物を完全に除去し、新しいグリスを塗ってください。
グリスの種類:No. 2 汎用リチウム系グリス.
異物を入れてしまわないよう、グリスフィッティングをきれいに拭く。
グリスガンでグリスを注入する図 73。

はみ出したグリスはふき取る。
各ブームピボットについて上記の作業を行う。
| 整備間隔 | 整備手順 |
|---|---|
| 400運転時間ごと |
|
グリスの種類:No. 2 汎用リチウム系グリス.
ブームを散布位置にセットする。
クレビスピンについているヘアピンを抜き取る(図 74)。
ブームを持ち上げてクレビスピンを外し、ブームをゆっくりと床面に降ろす(図 74)。
クレビスピンが破損していないか点検し、必要に応じて交換する。

アクチュエータロッドのベアリング端部を動かしながらベアリング内部にグリスを注入する(図 75)。
Note: はみ出したグリスはふき取る。

ブームを持ち上げて、ピボットをアクチュエータロッドに整列させる。
ブームを支えながら、ブームのピボットとアクチュエータロッドにクレビスピンを通す(図 74)。
ピンを入れた状態で、ブームから手を離し、先ほど外したヘアピンを使ってクレビスピンを固定する。
機体の反対側のアクチュエータロッドのベアリングにも、ステップ 2-8 の作業を行う。
エンジンオイルの点検や補充は、エンジンを止めて行ってください。
| 整備間隔 | 整備手順 |
|---|---|
| 使用するごとまたは毎日 |
|
駐車ブレーキを掛け、散布用ポンプを停止、エンジンを停止し、始動スイッチからキーを抜き取る。
助手席を前に倒して、支え棒をスロットに入れて固定する。
エアクリーナのボディーとダストキャップをきれいに拭く(図 76)。

エアクリーナ本体にリーク原因となる傷がないか点検する(図 76)。
Note: エアクリーナのボディーやダストキャップが破損している場合はそれを交換してください。
ダストバルブをもんで、内部のごみを除去する (図 76)。
ダストキャップをエアクリーナのボディーに固定しているラッチ(2つ)を外す。
エアフィルタのエレメントが汚れすぎていないか点検する(図 76)。
Note: エレメントが汚れている場合は清掃せずに交換してください。
エアクリーナのボディーにダストキャップを取り付け、ラッチ2個で固定する(図 76)。
Note: ダストバルブは、後ろから見たときに時計の5時-7時の方向になるように取り付けてください。
助手席をもとに戻す。
| 整備間隔 | 整備手順 |
|---|---|
| 100運転時間ごと |
|
新しいエアフィルタに傷がついていないかを点検する。特にフィルタとボディーの密着部に注意する。
Important: 破損しているフィルタは取り付けないでください。
エアクリーナのボディーとダストキャップをきれいに拭く(図 76)。
冷却液オーバーフロータンクを持ち上げてブラケットから取り外す(図 77)。

ダストキャップをエアクリーナのボディーに固定しているラッチ(2つ)を外す(図 77)。
汚れを落とさないように注意しながら、ボディー内部から古いエレメントを静かに引き出す。
Note: エレメントをボディーにぶつけないように注意してください。
ぬれたウェスを使って、ダストキャップ、エアクリーナのボディ、ダストバルブの内部をきれいに清掃する(図 76 と 図 77)。
エアクリーナボディにフィルタエレメントを取り付ける(図 77)。
Note: 取り付ける時には、エアクリーナの外側リムをしっかり押さえて確実にボディーに密着させてください。また、フィルタの真ん中(柔らかい部分)を持たないでください。
エアクリーナのボディーにカバーを取り付け、ラッチ2個で固定する(図 77)。
Note: ダストバルブは、後ろから見たときに時計の5時-7時の方向になるように取り付けてください(図 77)。
冷却液タンクを、ROPSシールドのサポートブラケットにきっちりと入れる(図 77)。
Important: 図 77のように、圧力逃がしホースが前を向いて下へ、タンク通気ホースが後方を向くように取り付けてください。
助手席をもとに戻す。
オイルのタイプ: (API 規格 SJ またはそれ以上)
粘度:以下の表を参照のこと。
| 外気温度範囲 | オイルの粘度 |
| 25°C 超 | SAE30, SAE10W-30 または SAE15W-40 |
| 0 °C-25 °C | SAE20 または SAE 10W-30 |
| 0 °C-20 °C | SAE10W または SAE10W-30 |
トロのプレミアムエンジンオイル(15W-40 または 10W-30)を代理店にてお求めいただくことができます。パーツカタログでパーツ番号をご確認ください。
| 整備間隔 | 整備手順 |
|---|---|
| 使用するごとまたは毎日 |
|
Note: エンジンオイルを点検する最もよいタイミングは、その日の仕事を始める直前、エンジンがまだ冷えているうちです。使用後に行う場合は、オイルがオイル溜めに戻るまで最低10分間待って点検するようにしてください。
エンジンにはオイルを入れて出荷していますが、初回運転の前と後に必ずエンジンオイルの量を確認してください。
平らな場所に駐車する。
助手席の下にあるディップスティックを抜き、ウェスで一度きれいに拭く (図 78)。
Note: ディップスティックを、チューブの根元までもう一度しっかりと差し込む。ディップスティックを引き抜いて油量を点検する。


オイルの量が不足している場合は、バルブカバーについている補給口のキャップ(図 78)を取り、ディップスティックの FULL マークまで、補給管からオイルを補給する。
Note: 補給するときは、ディップスティックで確認しながら少量ずつ入れる。入れすぎないよう注意してください。
キャップを取り付ける(図 78)。
ディップスティックをしっかり差し込んで終了(図 78)。
| 整備間隔 | 整備手順 |
|---|---|
| 使用開始後最初の 50 時間 |
|
| 200運転時間ごと |
|
前側防熱シールドを取り外す; 前側防熱シールドを取り外すを参照。
運転席を倒す。
運転終了直後は、運転席下の機器が非常に熱くなっている。不用意に触ると火傷を負う危険がある。
運転終了直後に機器に触れる場合にはある程度の冷却時間をおくこと。
エンジンオイルフィルタの下にオイルを受ける容器をおく(図 79)。

古いオイルフィルタ(図 79)を外す。
Note: 廃油はリサイクルセンターに持ち込むなど適切な方法で処分する。
エンジンのオイルフィルタアダプタの表面をウェスできれいに拭く。
フィルタに適切なオイルを補給する。
Note: エレメントがオイルを吸収するまでしばらく待つ。
交換用フィルタのガスケットにきれいな交換用のきれいなオイルを薄く塗る。
アダプタにフィルタを取り付け、ガスケットがアダプタに当たるまでフィルタを右に回し、そこから更に ½ 回転増し締めする(図 79)。
Note: フィルタを締めすぎないように注意してください。
こぼれたオイルはふき取る。
5.1 リットル(フィルタ含む);エンジンオイルの仕様を参照
| 整備間隔 | 整備手順 |
|---|---|
| 使用開始後最初の 50 時間 |
|
| 200運転時間ごと |
|
ドレンプラグの下にオイルを受ける容器をおく(図 79)。
ドレンプラグ (図 79) を外して排出されるオイルを回収する。
Note: ドレンプラグの状態を点検し、必要に応じて交換する。
Note: 廃油はリサイクルセンターに持ち込むなど適切な方法で処分する。
ドレンポートにドレンプラグを元通りに取り付け、33-37 N·m(32.5-36.6 kg.m = 24-27 ft-lb)にトルク締めする。
助手席を前に倒して、支え棒をスロットに入れて固定する。
エンジンバルブカバー(図 80)からオイル補給口のキャップを取り、所要量の約 80% のオイルを入れる。

ディップスティックの目盛りで油量を点検する (図 80)。
ディップスティックの FULL マークに達するまで補給口から残りのオイルをゆっくりと補給する(図 80)。
Important: オイルの入れすぎは、かえってエンジンを傷めます。
補給口にキャップとディップスティックを取り付ける(図 80)。
エンジンを始動し、オイル漏れがないか点検する。
エンジンを停止し、2-3分間待ってディップスティックを抜き取って油量を点検する。
Note: 必要に応じて補給口のキャップを取り、ディップスティックの FULL マークまで補給してキャップを閉める。
ディップスティックとエンジンシールドを取り付け、運転席を元通りにする。
| 整備間隔 | 整備手順 |
|---|---|
| 400運転時間ごと |
|
エンジンマニュアルに記載されている1年ごとの定期整備をすべて実施する。
条件次第では燃料は引火・爆発しやすく、火災や爆発を起こすと非常に危険である。発火したり爆発したりすると、やけどや火災などを引き起こす。
燃料補給は必ず屋外で行い、燃料をこぼさぬよう、補給に際しては漏斗などの器具を使用する。こぼれた燃料はふき取ってください。
燃料タンク一杯に入れないこと。燃料を補給する時は、タンク上面から約25 mm下のレベルを超えて給油しない。これは、温度が上昇して燃料は膨張したときにあふれないように空間を確保するためである。
燃料取り扱い中は禁煙を厳守し、火花や炎を絶対に近づけない。
燃料は安全で汚れのない認可された容器で保存し、容器には必ずキャップをはめる。
| 整備間隔 | 整備手順 |
|---|---|
| 使用開始後最初の 50 時間 |
|
| 400運転時間ごと |
|
ラインやフィッティングに劣化破損状況やゆるみが出ていないか点検を行ってください。
Note: 万一燃料漏れを発見した場合には、車両を使用する前に必ず修理すること。
この手順は、燃料システムからの通常のエア抜きを行ってもエンジンが始動できないときに行うものです。
燃料タンク内の燃料残量が 1/2 以上であることを確認する。
スタータスイッチにキーを差し込んで ON 位置に回す。
キーを OFF 位置に回す。
エンジンの始動を試みる。
エンジンが始動しない場合にはステップ 2 と 3 をあと数回行ってもう一度始動を試みる
Note: エンジンが始動するまでステップ5を繰り返し行う。
| 整備間隔 | 整備手順 |
|---|---|
| 400運転時間ごと |
|
駐車ブレーキを掛け、散布用ポンプを停止、エンジンを停止し、始動スイッチからキーを抜き取る。
燃料タンク部分で、カバーを燃料タンクに固定しているねじ(#10 x ¾")4本を外して、カバーを取り外す(図 82)。

燃料ポンプ / センダーユニットの2ピンコネクタから、車両用のワイヤハーネスの2ソケットコネクタを外し;燃料ポンプ / センダーユニットの2ソケットコネクタから、車両用のワイヤハーネスの2ピンコネクタを外す(図 86)。

燃料ホースカップラの固定スリーブを燃料ポンプ / センダーユニットのフィッティングからずらし、フィッティングからカップリングとホースを取り外す(図 86)。
Note: ホースやフィッティングから流れ出てくる燃料は適宜除去してください。
燃料ポンプ / センダーユニットのナットを左に回して、ナットとシールを取り外す(図 86)。
燃料ポンプ / センダーユニットを回しながら慎重に燃料タンクの首から外す(図 87)。
Important: 燃料ポンプ / センダーユニットを外す際にユニットのフロートのアームを破損させないように十分注意してください。

フロートのアームとピックアップチューブを支えながら、フロートと燃料フィルタを燃料タンク内に入れる(図 87)。
Important: フロートと長い脚がタンク内部で前方を向き、燃料ポンプ上部のフィッティングが車両の中心線に 90° の角度で向くようにしてください。
燃料ポンプ / センダーユニットおよび燃料タンクの首にシールとナットを取り付け、ナットを十分に締め付ける(図 87)。
燃料ポンプのフィッティングに燃料ホースのカップリングを接続する(図 87)。
Note: 燃料ホースのカップリングのロッキングスリーブがカップリングをポンプのフィッティングに固定していることを確認してください。
燃料ポンプ / センダーユニットの2ピンコネクタを、車両用のワイヤハーネスの2ソケットコネクタに接続し;燃料ポンプ / センダーユニットの2ソケットコネクタを、車両用のワイヤハーネスの2ピンコネクタに接続する(図 87)。
キーを ON 位置にして、燃料ホースカップリングから燃料が漏れてこないことを確認する。
Note: 燃料が漏れてくる場合には、キーを OFF 位置に戻して抜き取り、カップリングを外して、カップリングとフィッティングに異物の付着や破損がないか点検し、移譲が無ければホースとカップリングをフィッティングに取り付ける。
Note: 燃料もれは、次の工程に進む前に確実に修理にしてください。
カバーをタンク(図 89)に組み付ける;ステップ 2(燃料ポンプのカバーを外す)で外したねじ(#10 x ¾")4本を使用する。

ねじを 113N·cm(0.14kg.m = 10in-lb)にトルク締めする。
| 整備間隔 | 整備手順 |
|---|---|
| 400運転時間ごと |
|
燃料システムが汚染された時や、長期にわたって格納する場合、タンクを空にして内部を清掃してください。タンクの清掃には新しいきれいな燃料を使用してください。
ハンドポンプなどを使用して、燃料を適切な容器に移す。ほとんどの燃料を別容器に移し、タンクがほぼ空になってから、底部に少量残っている燃料を旧区口から回収するようにする。
Note: 車体からタンクを取り外す場合には、燃料ホースと電気コードを燃料ポンプとセンダーユニットから外す必要があります。燃料ポンプとセンダーユニットの取り外しを参照。
燃料タンクから燃料を抜き取り、必要に応じてきれいな燃料で内部を洗浄する。
燃料フィルタを交換する;燃料フィルタの交換を参照。
手順 1 でタンクを取り外した場合には元通りに取り付ける。
Note: 車体からタンクを取り外した場合には、燃料ホースと電気コードを燃料ポンプとセンダーユニットに元通りに接続する必要があります。燃料ポンプとセンダーユニットの取り付けを参照。
新しいきれいな燃料を燃料タンクに入れる。
マシンの整備や修理を行う前に、バッテリーの接続を外してください。バッテリーの接続を外すときにはマイナスケーブルを先に外し、次にプラスケーブルを外してください。接続するときにはプラスを先に接続し、次にマイナスを接続してください。
バッテリーの充電は、火花や火気のない換気の良い場所で行ってください。バッテリーと充電器の接続や切り離しを行うときは、充電器をコンセントから抜いておいてください。
また、安全な服装を心がけ、工具は確実に絶縁されたものを使ってください。
ヒューズは座席下にあります(図 93)。

| 整備間隔 | 整備手順 |
|---|---|
| 50運転時間ごと |
|
バッテリーはいつもきれいに、またフル充電状態に保持してください。バッテリーやバッテリーボックスはペーパータオルで清掃します。端子部に腐食が発生した場合には、重曹水(水4:重曹1)で清掃します。清掃後は、腐食防止のためにバッテリー端子にワセリンなどを塗布してください。
電圧: 12 V, 冷間クランキング電流 690A @(-18°C)。
平らな場所に駐車し、駐車ブレーキを掛け、散布ポンプとエンジンを停止し、始動キーを抜き取る。
バッテリーについているカバーを外し、バッテリーのマイナス(黒)端子からケーブルを外す (図 94)。

バッテリーケーブルの接続ルートが不適切であるとケーブルがショートを起こして火花が発生する。それによって水素ガスが爆発を起こし人身事故に至る恐れがある。
ケーブルを取り外す時は、必ずマイナス(黒)ケーブルから取り外し、次にプラス(赤)ケーブルを外す。
ケーブルを取り付ける時は、必ずプラス(赤)ケーブルから取り付け、それからマイナス(黒)ケーブルを取り付ける。
バッテリーの端子に金属製品や車体の金属部分が触れるとショートを起こして火花が発生する。それによって水素ガスが爆発を起こし人身事故に至る恐れがある。
バッテリーの取り外しや取り付けを行うときには、端子と金属部を接触させないように注意する。
バッテリーの端子と金属を接触させない。
バッテリー押さえは必ず取り付ける。
バッテリー端子からプラスケーブル(赤)を外す。
バッテリーを取り出す。
バッテリー端子が車両から遠くなるようにしてバッテリーボックスに置く。
赤いプラスケーブルをバッテリーの(+)端子に、黒いマイナスケーブル(-)をバッテリーの(-)端子に取り付け、ボルトと蝶ナットで固定する。
プラス端子に絶縁カバーを取り付ける。
バッテリーカバーを取り付け、先ほど取り外したストラップで固定する(図 94)。
Important: バッテリー押さえは必ず取り付けてください。
Important: バッテリーは常時フル充電状態に維持してください(このとき電解液の比重は1.260 になります)。特に氷点下で保管する場合にはこのことを守ってください。
シャーシからバッテリーを取り外す;バッテリーの取り外しを参照。
バッテリー端子に3-4 Aのバッテリー充電器を接続し、3-4 Aで4-8時間充電する。
Important: 充電しすぎないように注意すること。
シャーシにバッテリーを取りつける;バッテリーを取り付けるを参照。
格納期間が30日間以上になる場合には、バッテリーを機体から外して満充電してください。充電終了後は、機体に取り付けて保管しても、機体から外したままで保管しても構いません。バッテリーを機体に搭載した状態で保存する場合は、バッテリーケーブルを外しておいてください。温度が高いとバッテリーは早く放電しますので、涼しい場所を選んで保管してください。バッテリーを凍結させないためには、完全充電しておくことが大切です。
| 整備間隔 | 整備手順 |
|---|---|
| 使用開始後最初の 8 時間 |
|
| 使用開始後最初の 200 時間 |
|
| 100運転時間ごと |
|
| 400運転時間ごと |
|
前輪のラグナットは 75-102 N·m(7.6-10.3 kg.m = 55-75 ft-lb)、後輪のラグナットは 95-122 N·m(10.4-12.4 kg.m = 75-90 ft-lb)にトルク締めする。
運転中に縁石にぶつけるなどした場合、リムが破損したり、トーインが狂ったりする可能性がありますから、このような事故の後では必ず点検してください。
SAE 85W-140 ギア用潤滑油
| 整備間隔 | 整備手順 |
|---|---|
| 400運転時間ごと |
|

水平な床面で、補給プラグが最高位置(時計の 12 時の位置)、点検プラグが 12 時、ドレンプラグが最低位置( 6 時の位置)にくるように駐車する(図 96)。

点検プラグを取り外す(図 53)。
点検プラグの穴のねじ山の下側のふちまであれば適正である。

点検用プラグについている O リングに磨耗や破損がないか点検する。
磨耗・破損している場合は交換する。
オイルの量が少ない場合は、補給プラグを取り、点検穴からあふれ出てくるまで所定のオイルを補給する(図 98);プラネタリギアドライブの潤滑油の仕様を参照。

補給用プラグについている O リングに磨耗や破損がないか点検する。
磨耗・破損している場合は交換する。
補給プラグと点検プラグを取り付ける(図 98)。
マシンの反対側のプラネタリギアドライブにも、ステップ 1-6 の作業を行う。
| 整備間隔 | 整備手順 |
|---|---|
| 使用開始後最初の 50 時間 |
|
| 800運転時間ごと |
|
水平な床面で、補給プラグが最高位置(時計の 12 時の位置)、点検プラグが 12 時、ドレンプラグが最低位置( 6 時の位置)にくるように駐車する;図 96(プラネタリギアオイルの点検)を参照。
プラネタリギアドライブのハブの下にオイル回収容器を置き、ドレンプラグ、補給プラグ、点検プラグを外してオイルが抜けるのを待つ(図 99)。

ドレンプラグと点検プラグに金属粉が付着していないか調べる。
金属が削れた痕跡がある場合には、プラネタリギアドライブの修理が必要である。
ドレンプラグ、補給プラグ、点検プラグの O リングに磨耗や破損がないか点検する。
磨耗・破損している場合は交換する。
プラグを取り付ける。
ブレーキハウジングの下に容器を置き、ドレンプラグを外してオイルが完全に抜けるのを待つ(図 100)。

ブレーキハウジングにドレンプラグを取り付ける。
0.62 リットル;プラネタリギアドライブの潤滑油の仕様を参照。
補給プラグの穴から、新しいオイルをゆっくりと入れる;図 98(プラネタリギアオイルの点検)を参照。
点検プラグの穴のねじ山の下側のふちまであれば適正である。
Important: 所定量が入り終わる前に一杯になってしまった場合は、1時間ほど待つか、一度プラグをはめてマシンを 3 m ほど移動させると、ブレーキシステムにオイルがまわって残り量を補給することができるようになります。そのようにして全量を入れてください。
入れ終ったらそのまま10 分間ほど待ってもう一度オイル量を点検し、必要に応じてオイルを補給して点検穴のねじ山の下のふちまで入れる。
補給プラグと点検プラグを取り付ける;図 98(プラネタリギアオイルの点検)を参照。
マシンの反対側のプラネタリギアドライブにも、ステップ プラネタリギアオイルの抜き取り-プラネタリギアドライブへのオイルの補給 の作業を行う。
| 整備間隔 | 整備手順 |
|---|---|
| 200運転時間ごと |
|
タイヤの前側でのタイヤ中心線間距離がタイヤの後側での測定値よりも 0-3 mm 小さければよい。
4 輪全部のタイヤ空気圧を点検する;タイヤ空気圧を点検するを参照。
前輪の前と後ろで、左右のタイヤの中央線間距離を測る;計測はアクスルの高さで行う(図 101)。
Note: タイヤの前側での測定値が後側での測定値よりも 0-3 mm 小さければよい。

前後の測定値の差が所定範囲にない場合、タイロッド両端のジャムナットを外して調整を行う(図 102)。

タイロッドを回して前タイヤを内向きまたは外向きに調整する。
正しく調整できたら、タイロッドのジャムナットを締める。
ハンドルを左右に切って、左右に同じだけ回せることを確認する。
冷却液を飲み込むと中毒を起こす;冷却液は子供やペットが触れない場所に保管すること。
高温高圧の冷却液を浴びたり、高温のラジエター部分に触れたりすると大火傷をする恐れがある。
エンジン停止後、少なくとも15分間程度待って、エンジンが冷えてからキャップを開けること。
キャップを開けるときはウェスなどを使い、高温の水蒸気を逃がしながらゆっくりと開けること。
マシンは、必ず安全カバー類を取り付けた状態で運転すること。
手、指、衣服などを、回転中のファンや駆動ベルトに近づけないこと。
出荷時に、冷却液タンクに、所定の長寿命冷却液(水とエチレングリコールの 50/50 混合液ベース)を入れてあります。エンジンを初めて始動する前に冷却液の量を点検し、その後は毎日点検してください;冷却液の量を点検するを参照。
冷却液は以下の製品またはメーカーが指定する同等品を使ってください:
|
Ford (Motorcraft™) |
WSS-M97B44-D |
|
FCA—Chrysler (Mopar™) |
MS-12106 |
|
General Motors (AC Delco™) |
GM6277M (Dex-Cool™) |
|
GMW 3420 |
|
|
Volkswagen |
G12 |
|
G12+ |
|
|
G12++ |
|
|
ASTM D3306 または D4985 または SAE J1034, J814, または 1941 に適合する冷却液。 |
|
|
Important: 従来の冷却液(IAT)と長寿命冷却液(OAT)は目で見た時の色で区別することはできません。長寿命冷却液(OAT)は、以下の色で着色されている場合があります:赤、ピンク、オレンジ、イエロー、ブルー、青緑。紫、緑。 |
|
|
エチレングリコールタイプ |
腐食防止タイプ |
整備間隔 |
|
長寿命不凍液 |
有機酸技術(OAT;Organic-acid technology) |
5 年間 |
|
従来タイプの不凍液(緑) |
無機酸技術(IAT) |
2 年間 |
Note: 従来の(IAT)不凍液と長寿命(OAT)不凍液を混合しても、冷却システムに損傷を与えることはありません。ただし、混合すると、OAT配合の長寿命/長寿命属性が低下します。
Important: 従来型(IAT)と長寿命(OAT)を混合した場合、その寿命は、混合比率に関わらず、寿命の短い方(2年間)となります。
| 整備間隔 | 整備手順 |
|---|---|
| 使用するごとまたは毎日 |
|
エンジン停止直後は、冷却液が高温高圧状態となっている場合がある。エンジンが熱い時にラジエターのキャップを開けると冷却水が噴出して自分や周囲の人間に火傷を負う可能性がある。
エンジン停止後、少なくとも15分間程度待って、エンジンが冷えてからキャップを開けること。
Important: エンジンがオーバーヒートしているときに、ラジエターに冷却液を入れないでください。エンジンが急冷されて損傷する可能性があります。
平らな場所に駐車する。
駐車ブレーキを掛け、散布用ポンプを停止、エンジンを停止し、始動スイッチからキーを抜き取る。
ラジエターと補助タンクのキャップを注意深く開ける(図 103)。

ラジエター内部と補助タンクの液量を点検する。
Note: ラジエターは補給口の首の上部まで、補助タンクはFULLマークまであれば適正です(図 103)。
不足であれば補助タンクとラジエター本体に補給する。ラジエターは首の部分まで、タンクはFULLマークまで入れる(図 103)。
Important: 補助タンクに入れすぎないように注意する。
Important: 水だけを補給したり、アルコール系の冷却液を使用したりしないでください。
ラジエターと補助タンクのキャップを閉める(図 103)。
5.5 リットル;冷却液の仕様を参照。
| 整備間隔 | 整備手順 |
|---|---|
| 400運転時間ごと |
|
用意するもの:目盛付きの容器
平らな場所に駐車し、駐車ブレーキを掛け、散布ポンプとエンジンを停止し、始動キーを抜き取る。
エンジンが十分に冷えているのを確認してラジエターのキャップを開ける (図 103)。
ラジエターの下に大きな容器をおく。
ドレンバルブを開いて冷却液を排出する(図 104)。

ドレンバルブを閉じる (図 104)。
ラジエターキャップを取る(図 103)。
キャップの約 25 mm 下まで、ゆっくりと冷却液を入れる。
Note: 時間をかけて、エンジンと配管に十分に行き渡るだけの量を入れてください。暖機中に冷却液が熱膨張したときに液があふれない程度の隙間を残してください。
ラジエターのキャップを軽く締めてエンジンを始動する(図 103)。
エンジンが温まるとサーモスタットが開く。
Note: エンジンのサーモスタットは、携帯式の温度計で測定したときの冷却液の温度が 79° - 88°C で開きます。
冷却液の温度が上昇したら、ラジエターをキャップの縁まで一杯に満たす (図 103)。
補助タンクのキャップを開けて、Coldレベルまで冷却液を補充する(図 103)。
エンジンの始動と停止を何度か行い、その後に冷却液の量をもう一度確認する。
Note: 必要に応じてラジエターと補助タンクに冷却液を補給する。
ペダルを踏んでから抵抗を感ずるまでの距離(遊び)が 25 mm 以上になったらブレーキを調整してください。
| 整備間隔 | 整備手順 |
|---|---|
| 使用開始後最初の 8 時間 |
|
| 100運転時間ごと |
|
オルタネータ兼冷却ファン用ベルトの状態と張りを点検する。必要に応じてベルトを交換してください。
平らな場所に駐車し、駐車ブレーキを掛け、散布ポンプとエンジンを停止し、始動キーを抜き取る。
オルタネータベルトの中央部を上から 10 kg 程度の力で押してたわみの大きさを調べる。
Note: 10-12 mm 程度のたわみが出るのが適正である。たわみが多すぎる場合にはステップ3へ進む。たわみが適正であれば、ベルトの点検を終了する。
オルタネータのピボット部にあるボルト、およびオルタネータをブレースのスロットに固定しているボルトをゆるめる (図 106)。

オルタネータとエンジンの間にバールを入れ、オルタネータを外側へ注意深く動かしてベルトに張りを出す。
適切なたわみが出たら、ボルトを締めて調整を固定する。
ロックナットを締めて調整を固定する。
万一、油圧オイルが体内に入ったら、直ちに専門医の治療を受ける。万一、油圧オイルが体内に入った場合には、数時間以内に手術を受ける必要がある。
油圧関係の整備を行う時は、内部の圧力を確実に解放する。
油圧装置を作動させる前に、全部のラインコネクタが適切に接続されていること、およびラインやホースの状態が良好であることを確認すること。
油圧のピンホールリークやノズルからは作動油が高圧で噴出しているので、絶対に手などを近づけない。
リークの点検には新聞紙やボール紙を使う。
油圧オイル溜めに高品質の油圧オイルを満たして出荷しています。初めての運転の前に必ず油量を確認し、その後は毎日点検してください;油圧オイルを点検するを参照。
交換用の推奨油圧オイル:Toro PX Extended Life Hydraulic Fluid(19 リットル缶または208 リットル缶)。
Note: 推奨オイルを使用するとオイルやフィルタ交換の回数を減らすことができます。
使用可能な他のオイル:Toro PX Extended Life Hydraulic Fluidが入手できない場合は、以下に挙げる特性条件および産業規格を満たす石油系の油圧オイルを使用することができます。合成オイルは使用しないでください。オイルの専門業者と相談の上、適切なオイルを選択してください:
Note: 不適切なオイルの使用による損害については弊社は責任を持ちかねますので、品質の確かな製品をお使い下さる様お願いいたします。
| 物性: | ||
| 粘度, ASTM D445 | cSt @ 40°C 44-48 | |
| 粘性インデックス ASTM D2270 | 140 以上 | |
| 流動点, ASTM D97 | -37°C--45°C | |
| 産業規格: | Eaton Vickers 694 (I-286-S, M-2950-S/35VQ25 or M-2952-S) | |
Note: 多くの油圧オイルはほとんど無色透明であり、そのためオイル洩れの発見が遅れがちです。油圧オイル用の着色剤(20 ml 瓶)をお使いいただくと便利です。1瓶で 15-22 リットルのオイルに使用できます。パーツ番号は P/N 44-2500; ご注文は Toro 代理店へ。
Important: トロ・プレミアム合成生分解油圧作動液は、トロ社がこの製品への使用を認めた唯一の合成生分解オイルです。この生分解オイルは、トロの油圧系統に使用されているエラストマー製品に悪影響を与えないこと、また広い温度範囲で安定していることが確認されています。この生分解オイルは、通常の鉱物系油圧オイルと互換性がありますが、通常のオイルから切り替える際には、生分解性能を最大限に発揮させるために、油圧系統内部を洗浄することを強くお奨めします。この生分解オイルは、モービル代理店にて 19 リットル缶または 208 リットル缶でお求めになれます。
| 整備間隔 | 整備手順 |
|---|---|
| 使用するごとまたは毎日 |
|
Important: オイルが汚染された場合は内部のフラッシュ洗浄作業が必要となりますので、 Toro 代理店にご相談ください。汚染されたオイルは乳液状になったり黒ずんだ色になったりします。
平らな場所に駐車し、駐車ブレーキを掛け、散布ポンプとエンジンを停止し、始動キーを抜き取る。
油圧オイルタンクのディップスティックキャップ周辺をきれいに拭き、キャップを外す(図 107)。

Important: このオイルの点検や給油に際しては、内部に異物を入れぬよう細心の注意を払ってください。
きれいなウェスでディップスティックをぬぐい、元通りに完全に取り付ける。
ディップスティックを引き抜いて油量を点検する(図 108)。
Note: オイルが冷えている状態の時に 下側のマーク位置まであれば適正である。

油量が少なければ、所定の油圧オイルを、タンクの下マークまで補給する;油圧作動液の仕様を参照。
ディップスティックキャップを元通りに取り付ける。
| 整備間隔 | 整備手順 |
|---|---|
| 800運転時間ごと |
|
| 1000運転時間ごと |
|
高温の油圧オイルに触れると激しい火傷を負う。
油圧オイル関係の整備を行う時は、必ずオイルの温度が十分に冷えているのを確かめてから行うこと。
Important: 所定外のフィルタを使用すると製品保証が適用されなくなる場合があります。
トロの純正フィルタをご使用ください(パーツ番号はパーツマニュアルでご確認ください)。
平らな場所に駐車し、駐車ブレーキを掛け、散布ポンプとエンジンを停止し、始動キーを抜き取る。
車体についている 2 つの油圧フィルタを両方とも取り外す(図 109 と 図 110)。
Note: ひとつは油圧オイルタンクの下、もう一つは機体フレームの後部にあります。
前側のフィルタ:油圧オイルタンクの下

後側のフィルタ:機体フレームについている

フィルタ取り付け部周辺をウェスできれいにぬぐう。
フィルタの下にオイルを受ける容器をおく。
フィルタを外す。
フィルタはリサイクルセンターに持ち込むなど適切な方法で処分する。
新しいフィルタのガスケットにきれいな油圧オイルを塗る;油圧オイルを点検するを参照。
フィルタ取り付け部をウェスできれいに拭く。
ガスケットが取り付けプレートに当たるまで手で回して取り付け、そこから更に½回転増し締めする。
エンジンを始動し、高速て3-5分間運転し、油圧システム内のエアをパージする。
エンジンを停止し、タンクの油量を点検し、オイル漏れがないか調べる;油圧オイルを点検するを参照。
54 リットル;油圧作動液の仕様を参照。
| 整備間隔 | 整備手順 |
|---|---|
| 800運転時間ごと |
|
| 2000運転時間ごと |
|
高温の油圧オイルに触れると激しい火傷を負う。
油圧オイル関係の整備を行う時は、必ずオイルの温度が十分に冷えているのを確かめてから行うこと。
Important: 所定外のオイルを使用すると製品保証が適用されなくなる場合があります。
油圧オイルフィルタを交換する;油圧フィルタの交換を参照。
油圧オイルタンクの底面についている油圧ホースフィッティングの周辺をきれいに拭く(図 111)。

油圧オイルタンクの下にオイルを受ける大きな容器をおく。
ホースのフィッティングをタンクから外してオイルを容器に受ける(図 111)。
廃油はリサイクルセンターに持ち込むなど適切な方法で処分する。
フィッティングとホースを元通りに取り付け、固定する。
給油口から約 53 リットルのオイル(指定品または同等品)を入れる;油圧作動液の仕様を参照。
エンジンを始動し、高速て3-5分間運転し、油圧システム内のエアをパージする。
エンジンを停止し、タンクの油量を点検し、オイル漏れがないか調べる;油圧オイルを点検するを参照。
| 整備間隔 | 整備手順 |
|---|---|
| 200運転時間ごと |
|
| 400運転時間ごと |
|
散布系統の各ホースを点検し、割れ、漏れその他の破損が発生していないか調べてください。同時に、接続部やフィッティングも点検してください。破損しているホースやフィッティングは交換してください。
| 整備間隔 | 整備手順 |
|---|---|
| 400運転時間ごと |
|
Note: 散布作業に合った取水部フィルタのメッシュサイズを調べる;取水部フィルタの選択を参照。
平らな場所に駐車し、駐車ブレーキを掛け、ポンプとエンジンを停止し、始動キーを抜き取る。
タンク上部で、フィルタハウジングからの太いホースについているフィッティングを固定しているリテーナを外す (図 112)。

フィルタハウジングからホースとフィッティングを取り外す(図 112)。
フィルタハウジング(タンク内部)から古いフィルタを取り出す(図 113)。
Note: 外した古いフィルタは廃棄する。

新しいフィルタをハウジングに取り付ける。
Note: フィルタは奥まで完全に差し込んでください。
ホースとホースフィッティングをフィルタハウジングに元通りに取り付け、ステップ 2で取り外したリテーナを使って固定する。
| 整備間隔 | 整備手順 |
|---|---|
| 400運転時間ごと |
|
平らな場所に車両を移動し、散布用ポンプとエンジンを停止し、駐車ブレーキを掛け、キーを抜き取る。
圧力フィルタの下に受け容器をおく(図 114)。

圧力フィッティングのドレンプラグを左に回して外す(図 114)。
Note: ボウルから液が完全に抜けるのを待つ。
ボウルを左に回してフィルタヘッドから外す(図 114)。
古い圧力フィルタエレメントを外す(図 114)。
Note: 外した古いフィルタは廃棄する。
ドレンプラグの O リング(ボウルの内側)とボウルの O リング(フィルタヘッドの内側)に傷や破損がないか点検する(図 114)。
Note: プラグ用もボウル用も、磨耗したり破損したりしているOリングは交換してください。
新しい圧力フィルタエレメントをフィルタヘッドに取り付ける(図 114)。
Note: フィルタエレメントがヘッドに密着していることを確認してください。
フィルタヘッドにボウルを取り付けて手締めする(図 114)。
ボウルにプラグを取り付けて手締めする(図 114)。
Note: 散布作業に合ったノズルフィルタのメッシュサイズを調べる;ノズル部フィルタの選択(任意)を参照。
駐車ブレーキを掛け、エンジンを始動し、スロットルレバーをアイドル位置にセットする。
左右いずれかのブームをゆっくりと上昇させ、上側クレードルチューブに当たる寸前で止める。
下側クレードルチューブを固定している固定ねじをゆるめる(図 116)。

クレードルアセンブリを回転させてクレードルチューブをブームの上部チューブにあるスライドブロックに合わせる(図 117)。

固定ねじ 2 本を 1978-2542 N·cm (2.0-2.6 kg.m = 175-225 in-lb)にトルク締めする。
左右のブームを下降させる。
もう一方のブームもゆっくりと上昇させ、クレードルに当たったところで止める。
どちらかの上側クレードルチューブの調整が不適切である場合には、ステップ2から7をもう一度行う。
Note: ブロックが上側クレードルチューブの曲がり部分に当たっていれば調整は適切です(図 117)。
左右ブームを両方とも完全に上昇させ、エンジンを止め、キーを抜き取り、可動部が完全に停止したのを確認する。
左右のブームを水平に維持するためには、中央ブームについているアクチュエータを、以下の手順で調整します:
ブームを散布位置にセットする。
ピボットピンからコッターピンを抜き取る(図 118)。

ブームを持ち上げて、ピンを外し(図 118)、ブームをゆっくりと床面に降ろす。
ピンが破損していないか点検し、必要に応じて交換する。
アクチュエータロッドの平らな部分にレンチを当ててロッドを保持しながらジャムナットをゆるめる(図 119)。

ロッド端部を回転させてアクチュエータを希望の位置に調整する(図 119)。
Note: ブームにロッドを組み付けるためには、ロッド端部を半回転または全回転させる必要があります。
ジャムナットを締め付けてアクチュエータをロッド端部を固定する。
ブームを持ち上げて、ピボットをアクチュエータロッドに整列させる。
ブームを支えながら、ブームのピボットとロッド端部の両方にピンを通す(図 118)。
ピンを入れた状態で、ブームから手を離し、先ほど外したコッターを使ってピンを固定する。
必要に応じ、もう一方のアクチュエータにも同じ作業を行う。
| 整備間隔 | 整備手順 |
|---|---|
| 400運転時間ごと |
|
平らな場所に駐車し、駐車ブレーキを掛け、ポンプとエンジンを停止し、始動キーを抜き取る。
ブームを散布位置に展開し、スタンドに載せるか上から吊るかして、ブームを支える。
ピボットピンを固定しているボルトとナットを外してピンを取り外す(図 120)。

センターフレームのエンドチャネルからブーム & ピボットブラケットアセンブリを取り外すとナイロン製ブッシュが見える。
ナイロンブッシュを取り外し、ピボットブラケットの前面および後面側から見て点検する (図 120)。
Note: 摩耗・破損しているブッシュは交換する。
各ナイロンブッシュに少量のオイルを塗ってピボットブラケットに取り付ける(図 120)。
ピボットブラケットの穴を、エンドチャネルの穴に合わせる(図 120)。
ピボットピンを取り付け、ステップ3で取り外したフランジボルトとフランジロックナットで固定する。
反対側のブームについても、ステップ2-8の作業を行う。
| 整備間隔 | 整備手順 |
|---|---|
| 400運転時間ごと |
|
Note: 以下の構成機器は消耗機材であり通常の使用によって劣化磨耗しますので、製造上の瑕疵が明らかな場合を除き、このマシンの製品保証の対象にはなりません。
弊社代理店に依頼して、以下の項目についてポンプの内部点検を行ってください:
ポンプのダイヤフラム
ポンプのチェックバルブアセンブリ
必要に応じて部品の交換を行ってください。
必要に応じて水または水と刺激の少ない洗剤で車体を洗浄する。柔らかい布などを使っても構いません。
Important: 塩分を含んだ水や処理水は機体の洗浄に使用しないでください。
Note: 高圧洗浄機は使用しないでください。圧力洗浄機を使うと、電装部の損傷、ステッカー類の剥がれ、潤滑部のグリス落ちなどを起こす可能性があります。また、コントロールパネル、エンジン、バッテリー付近に大量の水をかけないようにしてください。
Important: エンジンを駆動させたままで洗車を行わないでください。エンジンを駆動させたままで洗車するとエンジン内部を損傷する恐れがあります。
| 整備間隔 | 整備手順 |
|---|---|
| 200運転時間ごと |
|
Important: エンジンが高温の時に水をかけないでください。エンジンを破損させる恐れがあります。
平らな場所に駐車し、駐車ブレーキを掛け、散布ポンプとエンジンを停止し、始動キーを抜き取る。
運転席と助手席を前に倒して、支え棒をスロットに入れて固定する。
冷却系統が冷えるのを待つ。
座席ベースアクセスカバーを取り外す; シートベースアクセスパネルを外すを参照。
柔らかいブラシと低圧のエアでラジエターのフィンを清掃する。
Note: 汚れが激しいようであれば頻繁に清掃が必要です。冷却液のホースを点検し、摩耗、漏れ、破損などしているものは交換してください。
運転席と助手席を元に戻す。
座席ベースアクセスカバーを取り付ける; シートベースアクセスパネルを取り付けるを参照。
| 整備間隔 | 整備手順 |
|---|---|
| 200運転時間ごと |
|
内部を十分に手順は以下の通りです:すすぎ、完全に排水する。
スプレーヤからフローメータを外し、真水で洗浄する。
上流側のリテーナリングを外す(図 121)。

タービンとタービンハブをていねいに洗浄し、金属粉や展着剤を十分に除去する。
タービンのブレードの磨耗状態を観察する。
Note: タービンを手で持って回転させてみる。ほとんど抵抗なく自由に回転すれば問題ない。軽く回転しない場合には交換する。
フローメータを組み付ける。
低圧(0.34Bar)のエアで吹いてタービンが抵抗なく回転することを確認する。
Note: 軽く回転しない場合には、タービンハブの一番下にある 6 角ボルトを 1/16 回転ずつゆるめて自由に回転できるようにする。
攪拌バルブの洗浄については以下の項を参照のこと:
個別ブームバルブの洗浄については以下の項を参照のこと:
平らな場所に駐車し、駐車ブレーキを掛け、散布ポンプとエンジンを停止し、始動キーを抜き取る。
アクチュエータを個別ブームバルブまたは攪拌バルブ用のマニホルドバルブに固定しているリテーナを外す(図 122)。
Note: リテーナの2本の足を寄せながら下へ押すと外れます。
Note: アクチュエータとリテーナは バルブアクチュエータの取り付けで再取り付けするので廃棄しないでください。

マニホルドバルブからアクチュエータを取り外す。
攪拌ホース用のクイックコネクトカップラを攪拌バルブ用のマニホルドに固定しているクイックコネクトピンを外す (図 123)。

攪拌バルブマニホルドを圧力フィルタヘッドとカップリングアダプタの各フランジに固定しているフランジクランプ(3個)を外す(図 123)。
攪拌バルブマニホルドをバルブサポートに固定しているフランジヘッドボルト(¼ x ¾") 2本とフランジロックナット(¼")2個を取り外す(図 124)。

機体から攪拌バルブマニホルドとガスケットを取り外す(図 124)。
Note: 必要に応じ、圧力フィルタのヘッドの取り付け部をゆるめて隙間を作ってください。
Note: フランジクランプ、ガスケット、クイックコネクトピンは攪拌マニホルドバルブの取り付けで使用します。
ブームバイパスバルブ用のクイックコネクトカップラをブームマニホルドバルブに固定しているクイックコネクトピンを外す (図 125)。

ブーム給液ホース用のクイックコネクトカップラをブームマニホルドバルブのクイックコネクトフィッティング用のマニホルドに固定しているクイックコネクトピンを外す (図 125)。
ブームマニホルドバルブを隣りの機器の各フランジに固定しているフランジクランプ(2個)を外す(図 126)。

左右のブームマニホルドのそれぞれをバルブサポートに固定しているフランジヘッドボルト(¼ x ¾") 2本とフランジロックナット(¼")2個を取り外す(図 127)。

ブームバルブマニホルドとガスケットを下げてブームバイパスバルブをかわし、車体から取り外す(図 127)。
Note: 必要に応じ、左または右のブームバルブ用マニホルドの取り付け部をゆるめて隙間を作ってください。
Note: フランジクランプ、ガスケット、クイックコネクトピンは個別ブームマニホルドバルブの取り付けで使用します。
別途調達する資材:透明シリコングリス
Important: バルブ組み立てには、シリコーングリス以外のグリスを使用しないでください。
出口フィッティングの O リング(個別ブームバルブマニホルドのみ)、エンドキャップの O リング、バックシートの O リング、ボールシートそれぞれに傷や過度の摩耗がないか点検する(図 129 と 図 130)。
Note: 磨耗したり破損したりしているOリングやシートは交換してください。
バックシートの Oリングとボールシートが相互に整列しており、エンドキャップのフィッティングに適切に収まっていることを確認する(図 129 と 図 130)。
エンドキャップフィッティングアセンブリをマニホルドボディに取り付け、エンドキャップフィッティングのフランジがマニホルドのボディに接触したら(図 129と図 130)、その位置からさらにバルブを 1/8-1/4 回転締め付ける。
Note: フィッティングの端部を破損しないように注意してください。
バルブボディーにボールを入れる(図 131)。
Note: バルブのステムはボール駆動スロットに収まります。収まらない場合は、ボールの位置を調節してください(図 131)。

バルブステムアセンブリを「閉」にセットする(図 128)。
もう一つのエンドキャップフィッティングアセンブリについても、上記のステップ 4 と 5 を行う。
ステップ 個別ブームマニホルドバルブの取り外し で外したガスケット(2枚)を、ブームバルブマニホルドのフランジに合わせる(図 132)。
Note: 必要に応じ、左または右のブームバルブ用マニホルドの取り付け部をゆるめて隙間を作ってください。

ブームバルブマニホルドを、もう1つのブームバルブまたはカップリングアダプタの各フランジの間に入れる(図 132)。
ブームバルブマニホルドのクイックコネクトフィッティングを、ブームバイパスバルブのクイックディスコネクトソケットに組み付けて、クイックコネクトピンで固定する(図 132と図 133)。

個別ブームマニホルドバルブの取り外しで取り外したフランジクランプを、ブームバルブマニホルドのフランジと、もう1つのブームバルブまたはカップリングアダプタのフランジの間に入れる(図 134)。

左右のブームバルブマニホルドを、バルブサポートに組み付ける(図 132);個別ブームマニホルドバルブの取り外しで取り外したフランジヘッドボルト(¼ x ¾")2本とフランジロックナット(¼")2個を使用する。
フランジヘッドボルトとフランジロックナットを1978-2542 N·cm (2.0-2.6 kg.m = 175-225 in-lb) にトルク締めする。
フランジクランプ(2個)を手締めする(図 134)。
ブームホースのクイックコネクトカップラを、ブームバルブマニホルドのクイックコネクトフィッティングに組み付けて、クイックコネクトピンで固定する(図 133)。
左あるいは右のブームバルブマニホルドの固定をゆるめた場合には、そのボルトとナットを 19.78-25.42 N·m(2.0-2.6 kg.m = 175-225 in-lb)にトルク締めする。
攪拌バルブマニホルドのフランジ、ガスケット (3枚)、攪拌バイパスバルブのフランジ、圧力フィルタのヘッド、カップリングアダプタを整列させる(図 135と図 136)。
Note: 必要に応じ、圧力フィルタのヘッドの取り付け部をゆるめて隙間を作ってください。


攪拌バルブマニホルドを、攪拌バイパスバルブ、圧力フィルタのヘッド、カップリングアダプタに仮止めする(図 136);攪拌マニホルドバルブの取り外しで外したフランジクランプ(3個)を使用する。
攪拌バルブマニホルドを、バルブサポートに組み付ける;攪拌マニホルドバルブの取り外しで取り外したフランジヘッドボルト(¼ x ¾")2本とフランジロックナット(¼")を使用する。
フランジヘッドボルトとフランジロックナットを19.78-25.42 N·m (2.0-2.6 kg.m = 175-225 in-lb) にトルク締めする。
フランジクランプ(3個)を手締めする(図 136)。
攪拌ホースのクイックコネクトカップラを、攪拌バルブマニホルドのクイックコネクトフィッティングに組み付けて、クイックコネクトピンで固定する(図 136)。
圧力フィルタのヘッドの固定をゆるめた場合には、そのボルトとナットを 19.8-25.4 N·m(2.0-2.6 kg.m = 175-225 in-lb)にトルク締めする。
アクチュエータをマニホルドバルブに合わせる(図 122)。
アクチュエータとバルブを固定する;ステップ 2 (バルブアクチュエータの取り外し) で外したものを使用する。
運転席を離れる前に:
平らな場所に駐車する。
散布用ポンプを停止させる。
駐車ブレーキを掛ける。
エンジンを止め、(キーのある機種では)キーを抜き取る。
全ての動きが停止するのを待つ。
調整、整備、清掃、格納などは、車両が十分に冷えてから行ってください。
ガス湯沸かし器のパイロット火やストーブなど裸火や火花を発するものがある近くでは、機械や燃料容器を保管・格納しないでください。
以下の作業を実施する:
Important: 塩分を含んだ水や処理水は機体の洗浄に使用しないでください。
平らな場所に駐車し、駐車ブレーキを掛け、散布ポンプとエンジンを停止し、キーを抜き取り、可動部が完全に停止したのを確認する。
エンジンのシリンダヘッドの冷却フィンやブロアハウジングをふくめた車両全体を洗浄する。
Important: 機体は中性洗剤と水で洗うことができます。ただし高圧洗浄器は使用しないでください。高圧の水で洗浄すると電気系統やグリス部へ水が浸入する恐れがあります。また、コントロールパネルやヘッドライド、エンジン、バッテリー部に大量の水をかけないようにしてください。
薬剤排出処理場に駐車し、駐車ブレーキを掛け、スプレーポンプを停止し、エンジンを停止し、キーを抜き取り、可動部が完全に停止したのを確認して運転席を離れる。
真水タンクのコックを開いた状態にする。
液剤タンクからできるだけ完全に液を抜く。
非アルコール系の防錆不凍液を用意する;コンディショナの準備を参照。
水圧計の後ろについているチューブを外して、チューブの端を容器に入れる(図 137)。

エンジンを掛け、左右のブームを降下させる。
散布用ポンプを数分間運転して不凍液を配管内部および搭載されているアクセサリの内部に循環させる。
個別ブームスイッチ(左、右、中央)を全て ON にする。
マスターブームスイッチを ON にして以下を確認する:
圧力計から外したチューブから不凍液が流れ出してくるのを確認する。
各ブームから不凍液が散布されるのが確認できるまで散布を行う。
マスターブームスイッチを OFF にする。
ポンプスイッチを OFF 位置に戻す。
ブーム昇降スイッチでブームを上昇させる。
各ブームが完全に上昇して移動走行用クレードルに収まり、シリンダが完全に縮んでブームがX字型にたたまれたことを確認する。
Note: アクチュエータのロッドの破損を防止するため、ブームシリンダが完全に縮んでいるのを確認してください。
エンジンを停止する。
液剤タンクからできるだけ完全に液を抜く。
短期間の格納に挙げられている作業を実施する:
上記に加えて、以下の作業を実施する:
タイヤ空気圧を点検する; タイヤ空気圧を点検するを参照。
ブレーキを点検する;ブレーキの調整を参照。
機体各部のゆるみを点検し、必要な締め付けや交換、修理を行う。
Note: 摩耗した部品や破損した部品はすべて修理または交換する。
表面のキズや塗装のはがれているところには再塗装を行う(塗料は代理店にて入手可能)。
攪拌バルブおよび個別ブームバルブ(3個)の洗浄を行う;攪拌バルブと個別ブームバルブの清掃を参照。
グリスアップを行う;散布用ポンプのグリスアップを参照。
全部の散布ホースを点検する。
Note: 摩耗した部品や破損したホースはすべて修理または交換する。
全部のホースクランプとフィッティングの締め付けを行う。
エアクリーナの整備を行う;エアクリーナを点検するを参照。
エンジンオイルとフィルタを交換する; エンジンオイルフィルタの交換 と エンジンオイルの交換を参照。
燃料タンクの内部清掃を行う;燃料タンクの内部清掃を参照。
燃料タンクの燃料にスタビライザを添加する;量や添加方法はスタビライザメーカの指示に従う。
エンジンを始動し、約5分間のアイドル運転を行う。
エンジンを停止する。
燃料関係のフィッティングを確実に固定する。
汚れていない乾燥した場所に移動する。
シャーシからバッテリーを取り外す;バッテリーの取り外しを参照。
Note: 保管期間中は、バッテリーケーブルを外しておいてください。
バッテリー液の量を点検する。
バッテリーを満充電する; バッテリーを充電するを参照。
Important: 氷点下での凍結破損を防止するため、バッテリーは必ずフル充電してください。フル充電したバッテリーは周囲温度約 4°C でほぼ 50 日間電圧を保持します。保管場所の気温がそれよりも高い場合には 30 日ごとに再充電してください。
保管中は始動キーを抜き取り、子どもなどの手の届かない場所で保管する。
機体にはカバーを掛けておく。
圧力計の裏側にあるチューブカップラにチューブを接続する(図 138)。

真水タンクのコックを閉じる
燃料タンクに燃料を入れる。
バッテリーを満充電する; バッテリーを充電するを参照。
シャーシにバッテリーを取りつける;バッテリーを取り付けるを参照。
| Problem | Possible Cause | Corrective Action |
|---|---|---|
| スタータでエンジンがクランキングしない。 |
|
|
| クランキングするが始動しない。 |
|
|
| 始動するがすぐ止まる。 |
|
|
| 始動するがノッキングを起こしたり着火不良である。 |
|
|
| アイドリングできない。 |
|
|
| エンジンがオーバーヒートしている。 |
|
|
| エンジンのパワーが出ない。 |
|
|
| 振動や騒音がひどい。 |
|
|
| エンジンが咳き込むあるいは止まって前進後退できない、または速度がでない。 |
|
|
| 前進も後退もできない。 |
|
|
| Problem | Possible Cause | Corrective Action |
|---|---|---|
| ブームから散布しない。 |
|
|
| 散布がとまらない。 |
|
|
| ブームバルブから液洩れする。 |
|
|
| ブームを ON にすると水圧が下がる。 |
|
|
| ブームスイッチをOFFにするとノズルから薬液が垂れ続ける。 |
|
|
| 散布中に水圧が下がる。 |
|
|
