Mantenimiento
Note: Para descargar una copia gratuita del esquema eléctrico o hidráulico, visite www.Toro.com y busque su máquina en el enlace Manuales de la página de inicio.
Note: Los lados derecho e izquierdo de la máquina se determinan desde la posición normal del operador.
Seguridad durante el mantenimiento
Cuidado
Si deja la llave en el interruptor, alguien podría arrancar el motor accidentalmente y causar lesiones graves a usted o a otras personas.
Retire la llave del interruptor antes de realizar cualquier operación de mantenimiento.
-
Aparque la máquina en una superficie nivelada, desengrane el sistema hidráulico auxiliar, baje el implemento, ponga el freno de estacionamiento (si está instalado), apague el motor y retire la llave. Espere a que se detengan todas las piezas en movimiento y deje que se enfríe la máquina antes de hacer trabajos de ajuste, limpieza, almacenamiento o reparación.
-
Limpie cualquier aceite o combustible derramado.
-
No permita que la máquina sea revisada o reparada por personas que no hayan recibido una formación adecuada.
-
Utilice caballetes para apoyar los componentes cuando sea necesario.
-
Alivie con cuidado la tensión de aquellos componentes que tengan energía almacenada; consulte Cómo aliviar la presión hidráulica.
-
Desconecte la batería antes de efectuar cualquier reparación; consulte Uso del interruptor de desconexión de la batería.
-
Mantenga las manos y los pies alejados de las piezas en movimiento. Si es posible, no haga ajustes mientras el motor está funcionando.
-
Mantenga todas las piezas en buenas condiciones de funcionamiento, y todos los herrajes bien apretados. Sustituya cualquier pegatina desgastada o deteriorada.
-
No manipule los dispositivos de seguridad.
-
Los accesorios pueden cambiar la estabilidad y las características operativas de la máquina.
-
Utilice solamente piezas de repuesto genuinas de Toro.
-
Si alguna operación de mantenimiento o reparación requiere que los brazos de carga estén en posición elevada, bloquee los brazos en la posición elevada usando el/los bloqueo(s) del/de los cilindro(s) hidráulico(s).
-
Consulte la normativa local respecto al mantenimiento seguro de la máquina, y coloque una etiqueta de advertencia en el panel de control para informar a otras personas que la máquina está en mantenimiento.
Calendario recomendado de mantenimiento
| Intervalo de mantenimiento y servicio | Procedimiento de mantenimiento |
|---|---|
| Después de las primeras 8 horas |
|
| Después de las primeras 50 horas |
|
| Cada vez que se utilice o diariamente |
|
| Cada 25 horas |
|
| Cada 50 horas |
|
| Cada 100 horas |
|
| Cada 400 horas |
|
| Cada 500 horas |
|
| Cada 800 horas |
|
| Cada 1000 horas |
|
| Cada 1500 horas |
|
| Cada año |
|
| Cada año o antes del almacenamiento |
|
| Cada 2 años |
|
Important: Consulte los procedimientos adicionales de mantenimiento del manual del propietario del motor.
Procedimientos previos al mantenimiento
Uso de los bloqueos de los cilindros
Advertencia
Los brazos de carga pueden bajarse accidentalmente cuando están en posición elevada, aplastando a cualquier persona que se encuentre debajo de ellos.
Instale los bloqueos de los cilindros antes de realizar cualquier operación de mantenimiento que requiera que los brazos de carga estén elevados.
Instalación de los bloqueos de los cilindros
-
Retire el implemento.
-
Lleve los brazos de carga a su posición de elevación máxima.
-
Pare el motor y retire la llave.
-
Retire los 2 pasadores que fijan los bloqueos de los cilindros a las barras en cada lado de la máquina.
-
Coloque el bloqueo del cilindro sobre la varilla del cilindro de elevación (Figura 32).

-
Repita los pasos 4 y 5 en el otro lado de la máquina.
-
Baje los brazos de carga lentamente hasta que los bloqueos de los cilindros toquen los cuerpos de los cilindros y los extremos de las varillas.
Retirada y almacenamiento de los bloqueos de los cilindros
Important: Retire los bloqueos de los cilindros de las varillas y sujételos en la posición de almacenamiento antes de operar la máquina.
-
Arranque el motor.
-
Lleve los brazos de carga a su posición de elevación máxima.
-
Pare el motor y retire la llave.
-
Retire los pasadores que fijan los bloqueos de los cilindros.
-
Coloque los bloqueos de los cilindros sobre las barras de los laterales de la máquina y sujételos con los pasadores.
-
Baje los brazos de carga.
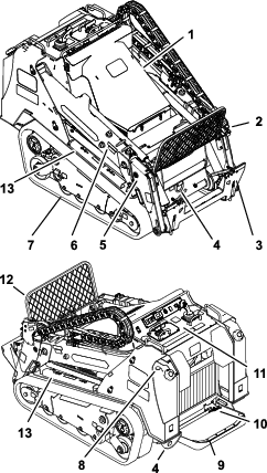
Acceso a los componentes internos
Advertencia
Si abre o retira una cubierta, un capó, o una rejilla con el motor en marcha, podría tocar alguna pieza en movimiento y sufrir graves lesiones.
Antes de abrir una cubierta, un capó o una rejilla, apague el motor, retire la llave del interruptor de encendido y deje que el motor se enfríe.
Cómo abrir el capó
Cómo cerrar el capó
-
Baje el capó y sujételo mientras fije los enganches.
-
Apriete el tornillo de bloqueo del capó (Figura 33).
-
Retire los bloqueos de los cilindros y baje los brazos de carga.
Cómo abrir la cubierta de acceso trasera
Retirada de la rejilla trasera
-
Abra la cubierta de acceso trasera; consulte Cómo abrir la cubierta de acceso trasera.
-
Afloje los 2 pernos que sujetan la parte inferior de la rejilla (Figura 36).
-
Afloje los 2 pomos de la rejilla (Figura 36).

-
Levante la rejilla y retírela (Figura 36).
Retirada de la placa inferior
-
Retire los 2 pernos que sujetan la placa inferior (Figura 37).

-
Retire la placa inferior.
Retirada de la cubierta delantera
-
Eleve los brazos de carga y asegúrelos con los bloqueos de los cilindros.
-
Afloje los 2 pernos que sujetan la cubierta delantera a la máquina (Figura 38).

-
Retire la cubierta de la máquina.
-
Al instalar la cubierta, apriete los pernos a 41 N·m (30 pies-libra).
Lubricación
Lubricación de la máquina
| Intervalo de mantenimiento y servicio | Procedimiento de mantenimiento |
|---|---|
| Cada vez que se utilice o diariamente |
|
| Cada 100 horas |
|
Tipo de grasa: Grasa de propósito general.
-
Aparque la máquina en una superficie nivelada, ponga el freno de estacionamiento y baje los brazos de carga.
-
Pare el motor y retire la llave.
-
Limpie con un trapo los puntos de engrase.
-
Conecte una pistola de engrasar a cada punto de engrase (Figura 40, Figura 41 y Figura 42).
Note: Eleve los brazos de carga antes de engrasar los puntos de engrase en Figura 42.



-
Bombee grasa hasta que empiece a rezumar grasa de los cojinetes (3 aplicaciones aproximadamente).
-
Limpie cualquier exceso de grasa.
-
Lubrique los acoplamientos rápidos con lubricante en spray (Figura 43).

Mantenimiento del motor
Seguridad del motor
-
Apague el motor antes de comprobar el aceite o añadir aceite al cárter.
-
No cambie los ajustes del regulador del motor ni haga funcionar el motor a una velocidad excesiva.
-
Mantenga las manos, los pies, la cara, otras partes del cuerpo y la ropa alejados del silenciador y de otras superficies calientes.
Mantenimiento del limpiador de aire
| Intervalo de mantenimiento y servicio | Procedimiento de mantenimiento |
|---|---|
| Cada vez que se utilice o diariamente |
|
| Cada 100 horas |
|
| Cada año |
|
Inspeccione la carcasa del limpiador de aire en busca de desperfectos, que podrían causar una fuga de aire. Cambie el cuerpo si está dañado. Compruebe el sistema de admisión en busca de fugas, daños o abrazaderas sueltas.
Revise el filtro del limpiador de aire únicamente cuando el indicador de mantenimiento (Figura 44) lo requiera. El cambiar el filtro antes de que sea necesario aumenta la posibilidad de que entre suciedad en el motor al retirar el filtro.

Important: Asegúrese de que la cubierta está correctamente asentada y sellada con el cuerpo del limpiador de aire.
-
Cambie el limpiador de aire (Figura 45).

Note: No limpie el elemento usado; limpiarlo puede dañar el medio filtrante.
Important: No intente nunca limpiar el filtro de seguridad (Figura 46). Sustituya el filtro de seguridad después de cada tres revisiones del filtro primario.

-
Reinicie el indicador (Figura 44) si se ve rojo.
Mantenimiento del aceite de motor
| Intervalo de mantenimiento y servicio | Procedimiento de mantenimiento |
|---|---|
| Después de las primeras 50 horas |
|
| Cada vez que se utilice o diariamente |
|
| Cada 400 horas |
|
Especificaciones de aceite del motor
Tipo de aceite: Aceite detergente para motores diésel (servicio API CH-4 o superior)
Capacidad del cárter: con filtro, 7.0 litros (1.85 galones US)
Viscosidad: Consulte la tabla siguiente.

Comprobación del nivel de aceite del motor
-
Aparque la máquina en una superficie nivelada, ponga el freno de estacionamiento y baje los brazos de carga.
-
Detenga el motor, retire la llave y deje que el motor se enfríe.
-
Abra el capó.
-
Limpie la zona alrededor de la varilla de aceite y el tapón de llenado de aceite (Figura 48).

-
Compruebe el nivel de aceite y añada más aceite si es necesario (Figura 49).
Important: No llene excesivamente el cárter de aceite; si el nivel de aceite del cárter es demasiado alto y usted arranca el motor, puede dañar el motor.

-
Cierre el capó.
Cambio del aceite de motor y del filtro
-
Arranque el motor y déjelo funcionar durante 5 minutos.
Note: De esta forma, el aceite se calentará y será más fácil drenarlo.
-
Aparque la máquina en una superficie nivelada.
-
Eleve los brazos de carga y asegúrelos con los bloqueos de los cilindros; consulte Instalación de los bloqueos de los cilindros.
-
Ponga el freno de estacionamiento, apague el motor y retire la llave.
-
Drene el aceite por debajo de la plataforma (Figura 50).
Cuidado
Los componentes estarán calientes si la máquina ha estado funcionando. Si usted toca un componente caliente puede quemarse.
Tenga cuidado de evitar cualquier contacto con los componentes calientes mientras cambia el aceite y/o el filtro.


-
Apriete el tapón de vaciado a 46–56 N·m (34–42 pies-libra).
-
Abra el capó y coloque la varilla de sujeción (en su caso).
-
Retire la cubierta delantera; consulte Retirada del conjunto de la cubierta delantera.
-
Coloque un recipiente poco hondo o un paño debajo del filtro para recoger el aceite.
-
Cambie el filtro de aceite (Figura 51).

-
Retire el tapón de llenado de aceite y vierta lentamente aproximadamente el 80% de la cantidad especificada de aceite a través de la tapa de la válvula.
-
Compruebe el nivel de aceite.
-
Añada lentamente más aceite hasta que el nivel llegue al orificio superior de la varilla.
-
Vuelva a colocar el tapón de llenado.
-
Instale la cubierta delantera.
-
Cierre el capó.
Note: Elimine el aceite usado en un centro de reciclaje homologado.
Mantenimiento del sistema de combustible
Peligro
En ciertas condiciones, el combustible es extremadamente inflamable y altamente explosivo. Un incendio o una explosión provocados por el combustible puede causarle quemaduras a usted y a otras personas así como daños materiales.
Consulte Seguridad en el manejo de combustible para obtener una lista completa de precauciones relacionadas con el sistema de combustible.
Vaciado del separador de agua
| Intervalo de mantenimiento y servicio | Procedimiento de mantenimiento |
|---|---|
| Cada 50 horas |
|
-
Aparque la máquina en una superficie nivelada, ponga el freno de estacionamiento y baje los brazos de carga.
-
Pare el motor y retire la llave.
-
Abra la cubierta de acceso trasera; consulte Cómo abrir la cubierta de acceso trasera.
-
Retire la rejilla trasera; consulte Retirada de la rejilla trasera
-
Coloque un recipiente debajo del separador de agua.
-
Desconecte el arnés de cables del separador de agua (Figura 52).

-
Desenrosque el interruptor de la parte inferior del cartucho del filtro y deje que se vacíe el agua (Figura 52).
-
Instale el interruptor (Figura 52).
-
Conecte el arnés de cables al interruptor (Figura 52).
-
Instale la rejilla trasera y apriete los pomos y los pernos para sujetarla.
-
Cierre la cubierta de acceso trasera e instale la fijación para sujetarla.
-
Purgue el sistema de combustible; consulte Purga del sistema de combustible.
Sustitución del filtro del separador de agua
| Intervalo de mantenimiento y servicio | Procedimiento de mantenimiento |
|---|---|
| Cada 500 horas |
|
-
Aparque la máquina en una superficie nivelada, ponga el freno de estacionamiento y baje los brazos de carga.
-
Pare el motor y retire la llave.
-
Abra la cubierta de acceso trasera; consulte Cómo abrir la cubierta de acceso trasera.
-
Retire la rejilla trasera; consulte Retirada de la rejilla trasera.
-
Desconecte el arnés de cables del separador de agua.
-
Desenrosque el interruptor y vacíe el separador de agua (Figura 52).
-
Limpie la zona de montaje del filtro.
-
Retire el filtro y limpie la superficie de montaje.
-
Lubrique la junta del filtro con aceite limpio.
-
Instale el filtro a mano hasta que la junta entre en contacto con la superficie de montaje, luego gírelo media vuelta más.
-
Instale el interruptor en el filtro.
-
Conecte el arnés de cables al interruptor.
-
Instale la rejilla trasera y apriete los pomos y los pernos.
-
Cierre la cubierta de acceso trasera e instale la fijación.
Cambio del cartucho del filtro de combustible
| Intervalo de mantenimiento y servicio | Procedimiento de mantenimiento |
|---|---|
| Cada 400 horas |
|
-
Aparque la máquina en una superficie nivelada, ponga el freno de estacionamiento y baje los brazos de carga.
-
Pare el motor y retire la llave.
-
Abra la cubierta de acceso trasera; consulte Cómo abrir la cubierta de acceso trasera.
-
Retire la rejilla trasera; consulte Retirada de la rejilla trasera
-
Coloque un recipiente limpio debajo del cartucho del filtro de combustible (Figura 53).

-
Retire el cartucho del filtro y limpie la superficie de montaje.
-
Lubrique la junta del cartucho del filtro nuevo con aceite limpio.
-
Llene el cartucho con combustible.
-
Instale el cartucho del filtro a mano hasta que la junta entre en contacto con la superficie de montaje, luego gírelo media vuelta más.
-
Instale la rejilla trasera y apriete los pomos y los pernos para sujetarla.
-
Cierre la cubierta de acceso trasera e instale la fijación para sujetarla.
Comprobación de los tubos de combustible y las conexiones
| Intervalo de mantenimiento y servicio | Procedimiento de mantenimiento |
|---|---|
| Cada 400 horas |
|
Compruebe que los tubos y las conexiones del sistema de combustible no están deteriorados o dañados, y que las conexiones no están sueltas. Apriete cualquier conexión que esté floja y póngase en contacto con su Servicio Técnico Autorizado si necesita ayuda para reparar tubos de combustible dañados.
Purga del sistema de combustible
El sistema de combustible debe purgarse antes de arrancar el motor si ha ocurrido alguna de las situaciones siguientes:
-
Arranque inicial de una máquina nueva
-
El motor ha dejado de funcionar debido a falta de combustible.
-
Se han realizado tareas de mantenimiento sobre componentes del sistema de combustible (por ejemplo, sustitución del filtro).
Utilice la bomba manual del separador de agua para purgar el aire del sistema de combustible.

Vaciado del/de los depósito(s) de combustible(s)
| Intervalo de mantenimiento y servicio | Procedimiento de mantenimiento |
|---|---|
| Cada 500 horas |
|
Póngase en contacto con el Servicio Técnico Autorizado para que limpie el/los depósito(s) de combustible.
Mantenimiento del sistema eléctrico
Seguridad del sistema eléctrico
-
Desconecte la batería antes de efectuar cualquier reparación; consulte Uso del interruptor de desconexión de la batería.
-
Cargue la batería en una zona abierta y bien ventilada, lejos de chispas y llamas. Desenchufe el cargador antes de conectar o desconectar la batería. Lleve ropa protectora y utilice herramientas aisladas.
-
El ácido de la batería es tóxico y puede causar quemaduras. Evite el contacto con la piel, los ojos y la ropa. Protéjase la cara, los ojos y la ropa cuando trabaje con una batería.
-
Los gases de la batería pueden explotar. Mantenga alejados de la batería cigarrillos, chispas y llamas.
Uso del interruptor de desconexión de la batería
-
Aparque la máquina en una superficie nivelada, ponga el freno de estacionamiento y baje los brazos de carga.
-
Pare el motor y retire la llave.
-
Abra la cubierta de acceso trasera.
-
Mueva el interruptor de Desconexión de la batería a la posición de ENCENDIDO o APAGADO según se indica a continuación:
-
Para suministrar energía eléctrica a la máquina, gire el interruptor de Desconexión de la batería en sentido horario a la posición de ENCENDIDO (Figura 55).
-
Para interrumpir el suministro de energía eléctrica de la máquina, gire el interruptor de Desconexión de la batería en sentido antihorario a la posición de APAGADO (Figura 55).

-
Mantenimiento de la batería
| Intervalo de mantenimiento y servicio | Procedimiento de mantenimiento |
|---|---|
| Cada 50 horas |
|
Retirada de la batería
Advertencia
Un enrutado incorrecto de los cables de la batería podría dañar la máquina y los cables, causando chispas. Las chispas podrían hacer explotar los gases de la batería, causando lesiones personales.
Desconecte siempre el cable negativo (negro) de la batería antes de desconectar el cable positivo (rojo).
-
Aparque la máquina en una superficie nivelada, ponga el freno de estacionamiento y baje los brazos de carga.
-
Pare el motor y retire la llave.
-
Retire la rejilla trasera; consulte Retirada de la rejilla trasera.
-
Desconecte el cable negativo de tierra (negro) del borne de la batería (Figura 56). Guarde las fijaciones.

-
Retire la cubierta de goma del cable positivo (rojo).
-
Desconecte el cable positivo (rojo) del borne de la batería (Figura 56). Guarde las fijaciones.
-
Afloje los 3 pernos que sujetan la bandeja de la batería y retire la bandeja con la batería (Figura 56).
-
Retire la tuerca de orejeta y la varilla.
-
Retire la batería.
Carga de la batería
Advertencia
El proceso de carga de la batería produce gases que pueden explotar.
No fume cerca de la batería, y mantenga alejada de la batería cualquier chispa o llama.
Important: Mantenga siempre la batería completamente cargada (densidad de 1.265). Esto es especialmente importante para evitar daños a la batería cuando la temperatura está por debajo de los 0 ºC (32 °F).
-
Retire la batería de la máquina; consulte Retirada de la batería.
-
Cargue la batería durante 4 a 8 horas a un ritmo de 3 a 4 A (Figura 57). No sobrecargue la batería.

-
Cuando la batería esté completamente cargada, desconecte el cargador de la toma de electricidad, luego desconecte los cables del cargador de los bornes de la batería (Figura 57).
Limpieza de la batería
Note: Mantenga limpios los terminales y toda la carcasa de la batería para alargar la vida de la batería.
-
Aparque la máquina en una superficie nivelada, ponga el freno de estacionamiento (si hay) y baje los brazos de carga.
-
Pare el motor y retire la llave.
-
Retire la batería de la máquina; Retirada de la batería.
-
Lave toda la carcasa con una solución de bicarbonato y agua.
-
Enjuague la batería con agua limpia.
-
Aplique una capa de grasa Grafo 112X o de vaselina a los conectores de los cables y a los bornes de la batería para evitar la corrosión.
-
Instale la batería; consulte Instalación de la batería.
Instalación de la batería
Advertencia
Un enrutado incorrecto de los cables de la batería podría dañar la máquina y los cables, causando chispas. Las chispas podrían hacer explotar los gases de la batería, causando lesiones personales.
Conecte siempre el cable positivo (rojo) de la batería antes de conectar el cable negativo (negro).
-
Coloque la batería en la bandeja de la batería y sujétela con la tuerca de orejeta y la varilla (Figura 56).
-
Instale la bandeja de la batería en la máquina y sujétela con los 3 pernos (Figura 56). Apriete los pernos a 41 N∙m (30 pies-libra).
-
Usando las fijaciones que retiró anteriormente, conecte el cable positivo (rojo) al borne positivo (+) de la batería (Figura 56).
-
Deslice el protector de borne rojo sobre el borne positivo de la batería.
-
Usando las fijaciones que retiró anteriormente, conecte el cable negativo (negro) al borne negativo (-) de la batería (Figura 56).
-
Instale la rejilla trasera.
Mantenimiento de una batería de recambio
La batería original no requiere mantenimiento. Consulte las instrucciones del fabricante de la batería respecto al mantenimiento de una batería de recambio.
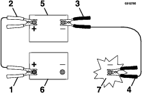
Arranque de la máquina con cables puente
Advertencia
El arranque de la batería con cables puente puede producir gases explosivos.
No fume cerca de la batería, y mantenga alejada de la batería cualquier chispa o llama.
-
Abra la cubierta de acceso trasera; consulte Cómo abrir la cubierta de acceso trasera.
-
Retire la rejilla trasera; consulte Retirada de la rejilla trasera.
-
Compruebe y limpie cualquier corrosión de los bornes de la batería antes de arrancar el motor con la ayuda de una batería externa. Asegúrese de que las conexiones están bien apretadas.
Cuidado
La corrosión y las conexiones sueltas pueden causar picos de voltaje no deseados en cualquier momento durante el procedimiento de arranque externo.
No intente arrancar la máquina con cables externos si los bornes de la batería están sueltos o corroídos, porque podría dañar el motor.
Peligro
Cualquier intento de arrancar una batería agrietada, congelada, con bajo nivel de electrolito o que tenga una celda abierta o cortocircuitada podría provocar una explosión y causar lesiones personales graves.
No arranque una batería descargada si existe cualquiera de estas condiciones.
-
Asegúrese de que la batería externa es una batería de ácido-plomo de 12.6 voltios o más, y que está en buenas condiciones y completamente cargada.
Note: Utilice cables pasa-corriente cortos de la sección correcta a fin de reducir la caída de voltaje entre los dos sistemas. Asegúrese de que los cables están codificados por color o etiquetados con la polaridad correcta.
Advertencia
Las baterías contienen ácido y producen gases explosivos.
-
Proteja los ojos y la cara de las baterías en todo momento.
-
No se incline sobre las baterías.
Note: Asegúrese de que los tapones de ventilación están apretados y nivelados. Coloque un paño húmedo, si tiene uno, sobre los tapones de ventilación de ambas baterías. Asegúrese también de que las máquinas no están en contacto entre sí y que los sistemas eléctricos de ambas están desconectados y son del mismo voltaje nominal. Estas instrucciones son aplicables únicamente a sistemas con negativo a tierra.
-
-
Conecte el cable positivo (+) al borne positivo (+) de la batería descargada que está conectado al motor de arranque o al solenoide, según se indica en Figura 58.

-
Conecte el otro extremo del cable puente positivo (+) al borne positivo de la batería de la otra máquina.
-
Conecte un extremo del cable puente negativo (-) al borne negativo de la batería de la otra máquina.
-
Conecte el otro extremo del cable puente negativo (-) a una conexión de tierra, por ejemplo un perno o un travesaño del bastidor sin pintar.
-
Arranque el motor en la otra máquina. Déjelo funcionar durante unos minutos, luego arranque su motor.
-
Retire los cables en el orden inverso de conexión.
-
Coloque la tapa del borne auxiliar.
Mantenimiento de los fusibles
El sistema eléctrico está protegido con fusibles. No requiere mantenimiento; no obstante, si se funde un fusible, compruebe que no hay avería ni cortocircuito en el componente/circuito. Figura 59 ilustra la ubicación del bloque de fusibles.

| 1 | 2 | 3 | 4 | 5 | 6 | 7 | 8 | 9 | 10 | 11 | 12 | |
| A | (Relé) | (Relé) | (Relé) | - | - | - | ||||||
| B | - | - | - | |||||||||
| C |
Motor (25 A) |
Sistema (5 A) |
Pantalla (10 A) |
Conexión para accesorios (10 A) |
Potencia TEC (7.5 A) | - | - | |||||
| D |
Lógica TEC (2 A) |
Solenoide del motor de arranque (20 A) |
Claxon (10 A) |
Conexión para accesorios (10 A) |
Potencia TEC (7.5 A) | - | - | |||||
| E |
Telemática (2 A) |
Enchufe eléctrico (10 A) |
Conexión para accesorios (10 A) |
Potencia TEC (7.5 A) |
Potencia TEC (7.5 A) | - | - | |||||
Note: Si la máquina no arranca, podría estar fundido el fusible del circuito principal o del panel de control/relé.
Mantenimiento del sistema de transmisión
Cambio del aceite de la transmisión planetaria del motor
| Intervalo de mantenimiento y servicio | Procedimiento de mantenimiento |
|---|---|
| Cada 1000 horas |
|
Tipo de aceite: Aceite de motor SAE 85W-140
Capacidad: 0.9 litros (30 onzas fluidas)
-
Arranque el motor y conduzca la máquina durante 5 minutos.
Note: De esta forma, el aceite de los engranajes se calienta y es más fácil drenarlo.
-
Aparque la máquina en una superficie nivelada hasta que el tapón de vaciado esté en la posición de las 6 (Figura 60), ponga el freno de estacionamiento y baje los brazos de carga.
-
Pare el motor y retire la llave.
-
Coloque un recipiente debajo del motor de tracción.
-
Retire el tapón de verificación y el tapón de vaciado y deje que se vacíe el lubricante de engranajes (Figura 60).

-
Instale el tapón de vaciado (Figura 60).
-
Llene el motor de tracción con aceite para engranajes a través del orificio de verificación hasta que el aceite llegue al borde inferior del orificio.

-
Instale el tapón de verificación.
-
Repita con el otro motor de tracción.
-
Arranque el motor y conduzca la máquina durante unos minutos.
-
Aparque la máquina en una superficie nivelada, ponga el freno de estacionamiento, apague el motor y retire la llave.
-
Retire los tapones de verificación y compruebe que el nivel de aceite está en la parte inferior del orificio de verificación del nivel de aceite. Añada aceite según sea necesario.
-
Instale los tapones de verificación. Apriete los tapones de verificación y vaciado a 30–40 N·m (22–30 pies-libra).
Mantenimiento de las orugas
| Intervalo de mantenimiento y servicio | Procedimiento de mantenimiento |
|---|---|
| Después de las primeras 8 horas |
|
| Después de las primeras 50 horas |
|
| Cada vez que se utilice o diariamente |
|
| Cada 50 horas |
|
Limpieza de las orugas
-
Aparque la máquina en una superficie nivelada y ponga el freno de estacionamiento.
-
Con el cucharón instalado y orientado hacia abajo, bájelo al suelo hasta que la parte delantera de la unidad de tracción se levante unos centímetros/unas pulgadas del suelo.
-
Pare el motor y retire la llave.
-
Usando una manguera de agua o un sistema de lavado a presión, retire la suciedad de cada conjunto de oruga.
Important: Solamente lave con agua a alta presión la zona de las orugas. No utilice un sistema de lavado a alta presión para limpiar el resto de la unidad de tracción. No utilice agua a alta presión entre la rueda motriz y la unidad de tracción, porque podría dañar las juntas del motor. El lavado a alta presión puede dañar el sistema eléctrico y las válvulas hidráulicas, o eliminar grasa.
Important: Asegúrese de limpiar completamente las ruedas de rodaje, la rueda delantera y la rueda motriz (Figura 62). Las ruedas de rodaje deben rodar libremente cuando están limpias.

Comprobación de la tensión de las orugas
-
Aparque la máquina en una superficie nivelada y ponga el freno de estacionamiento.
-
Con el cucharón instalado y orientado hacia abajo, bájelo al suelo hasta que la parte delantera de la unidad de tracción se levante unos centímetros/unas pulgadas del suelo.
Note: Si no dispone de un cucharón, eleve la máquina y apóyela sobre soportes fijos para soportar el peso de la máquina; consulte Especificaciones.

-
Pare el motor y retire la llave.
-
Compruebe que la distancia entre la segunda rueda de rodaje, contando desde atrás, y la oruga es de 20 mm (0.8"), como se muestra en la Figura 63. Si es necesario realizar ajustes, vaya a Ajuste de la tensión de las orugas
Ajuste de la tensión de las orugas
-
Aparque la máquina en una superficie nivelada y ponga el freno de estacionamiento.
-
Coloque un bloque de 15 cm x 15 cm (6" x 6") debajo del bastidor trasero de la máquina, justo detrás de la oruga a tensar.
-
Con el cucharón instalado e inclinado hacia abajo, bájelo al suelo hasta que la parte delantera de la unidad de tracción se levante unos centímetros/unas pulgadas del suelo y la máquina se incline hacia atrás sobre el bloque, hasta que la oruga esté completamente levantada del suelo.
Note: Si no dispone de un cucharón, eleve la máquina y apóyela sobre soportes fijos para soportar el peso de la máquina; consulte Especificaciones.
-
Pare el motor y retire la llave.
-
Afloje los 2 pernos y gire la cubierta de acceso para abrirla (Figura 64).

-
Retire el perno de bloqueo, el espaciador y la tuerca (Figura 65).

-
Usando una llave de carraca de ½", gire el tornillo tensor hasta que la distancia entre la rueda de rodaje y la oruga sea de 20 mm (0.79"), como se muestra en la Figura 63.
Note: Gire el tornillo en sentido antihorario para apretar la oruga; gire el tornillo en sentido horario para aflojarla.
-
Alinee la muesca más próxima del tornillo tensor con el orificio del perno de bloqueo, y fije el tornillo con el perno de bloqueo y la tuerca (Figura 65).
-
Repita el procedimiento con la otra oruga si es necesario.
Cómo cambiar las orugas
Retirada de las orugas
-
Retire todos los implementos.
-
Aparque la máquina en una superficie nivelada, asegurándose de que haya un segmento del piñón que no esté engranado con la oruga.

-
Baje los brazos de carga.
-
Pare el motor y retire la llave.
-
Eleve la máquina del suelo hasta que la parte inferior de la oruga esté a al menos 10.2 cm (4") del suelo. Apoye la máquina sobre caballetes.
Note: Utilice caballetes con capacidad suficiente para el peso de su máquina.
Advertencia
Las patas mecánicas o hidráulicas pueden no aguantar el peso de la máquina y pueden dar lugar a lesiones graves.
Utilice caballetes para sostener la máquina.
-
Retire el perno de bloqueo, el espaciador y la tuerca (Figura 65).
-
Usando una llave de carraca de ½", alivie la tensión en la oruga girando el tornillo tensor en sentido horario (Figura 65 y Figura 67).

-
Retire el segmento del piñón de arrastre que no está engranado con la oruga.
Important: Si no retira el segmento del piñón, puede ser difícil instalar una oruga nueva sin dañarla.

-
Arranque la máquina y quite el freno de estacionamiento.
-
Mueva el control de tracción hacia adelante hasta que otro segmento del piñón quede libre de la oruga.
-
Pare el motor y retire la llave.
-
Retire el segmento del piñón (Figura 68).
-
Arranque la máquina y quite el freno de estacionamiento.
-
Mueva el control de tracción hacia adelante hasta que el último segmento del piñón quede libre de la oruga.
Note: No es necesario retirar este segmento.
-
Retire la oruga del bastidor de la oruga.
Instalación de las orugas
-
Pase la oruga nueva alrededor de la rueda delantera (Figura 67).
-
Empuje la oruga por debajo de y entre las ruedas de rodaje y colóquela alrededor de la rueda tensora trasera (Figura 67).
-
Haga palanca para colocar los dientes de las orugas en la carcasa planetaria.
-
Arranque el motor y quite el freno de estacionamiento.
-
Mueva el control de tracción hacia adelante hasta que el segmento del piñón de arrastre se engrane en la oruga (Figura 69).

-
Pare el motor y retire la llave.
-
Aplique fijador de roscas a los pernos de uno de los segmentos del piñón de arrastre que retiró e instale el segmento del piñón (Figura 68). Apriete los pernos a 247–301 N∙m (182–222 pies-libra).
-
Arranque el motor y quite el freno de estacionamiento.
-
Mueva el control de tracción hacia adelante hasta que ambos segmentos del piñón de arrastre estén engranados con la oruga.
-
Aplique fijador de roscas a los pernos de otro de los segmentos del piñón de arrastre que retiró e instale el segmento del piñón (Figura 69). Apriete los pernos a 247–301 N∙m (182–222 pies-libra).
Note: Instale el piñón de manera que los números de fundición del piñón queden hacia fuera.
-
Usando una llave de carraca de ½", gire el tornillo tensor en sentido antihorario hasta que la distancia entre la rueda de rodaje y la oruga sea de 20 mm (0.79"), como se muestra en la Figura 63.
-
Alinee la muesca del tornillo tensor con el orificio más próximo del perno de bloqueo, y sujete el tornillo con el perno de bloqueo, el espaciador y la tuerca. Apriete el perno de bloqueo a 11.30 N·m (100 pulgadas-libra).
-
Baje la máquina al suelo.
-
Repita el procedimiento para sustituir la otra oruga.
-
Cierre la cubierta de acceso y apriete los pernos (Figura 64). Apriete los pernos a 41 N∙m (30 pies-libra).
Mantenimiento del sistema de refrigeración
Seguridad del sistema de refrigeración
-
La ingestión del refrigerante del motor puede causar envenenamiento; manténgalo fuera del alcance de niños y animales domésticos.
-
Una descarga de refrigerante caliente bajo presión, o cualquier contacto con el radiador caliente y los componentes que lo rodean, puede causar quemaduras graves.
-
Siempre deje que el motor se enfríe durante al menos 15 minutos antes de retirar el tapón del radiador.
-
Utilice un trapo al abrir el tapón del radiador y ábralo lentamente para permitir la salida del vapor.
-
Mantenimiento del sistema de refrigeración
| Intervalo de mantenimiento y servicio | Procedimiento de mantenimiento |
|---|---|
| Cada vez que se utilice o diariamente |
|
| Cada 100 horas |
|
Cómo limpiar la rejilla del radiador
| Intervalo de mantenimiento y servicio | Procedimiento de mantenimiento |
|---|---|
| Cada vez que se utilice o diariamente |
|
Elimine cualquier acumulación de hierba, suciedad u otros residuos de la rejilla del radiador con aire comprimido.
Comprobación del nivel de refrigerante del motor
El sistema de refrigeración está lleno de una solución al 50% de agua y anticongelante de etilenglicol permanente.
-
Aparque la máquina en una superficie nivelada, baje los brazos de carga, ponga el freno de estacionamiento y apague el motor.
-
Retire la llave del interruptor de encendido y deje que el motor se enfríe.
-
Abra el capó.
-
Compruebe el nivel de refrigerante del depósito de expansión (Figura 70).
Note: El nivel del refrigerante debe estar entre o encima de las marcas en el lateral del depósito.

-
Si el nivel de refrigerante es bajo, retire el tapón del depósito de expansión y añada una solución al 50% de agua y anticongelante permanente de etilenglicol.
Important: No llene demasiado el depósito de expansión.
-
Coloque el tapón del depósito de expansión.
Cómo cambiar el refrigerante del motor
| Intervalo de mantenimiento y servicio | Procedimiento de mantenimiento |
|---|---|
| Cada 800 horas |
|
Haga que un Servicio Técnico Autorizado cambie el refrigerante del motor cada año.
Si necesita añadir refrigerante del motor, consulte Comprobación del nivel de refrigerante del motor.
Mantenimiento de las correas
Comprobación y ajuste de la tensión de la correa del alternador
| Intervalo de mantenimiento y servicio | Procedimiento de mantenimiento |
|---|---|
| Cada vez que se utilice o diariamente |
|
| Cada 100 horas |
|
| Cada 500 horas |
|
-
Aparque la máquina en una superficie nivelada, ponga el freno de estacionamiento y baje los brazos de carga.
-
Pare el motor y retire la llave.
-
Abra el capó.
-
Aplique una fuerza de 30 N (22 pulgadas-libra) a la correa del alternador, en el punto intermedio entre las poleas (Figura 71).

-
Si la correa no se desvía 11 mm (7/16"), complete el procedimiento siguiente para tensar la correa:
-
Afloje el perno que sujeta el alternador al motor y el perno que fija el tirante al alternador.
-
Inserte una palanca entre el alternador y el motor y haciendo palanca, desplace el alternador hacia fuera.
-
Cuando consiga la tensión correcta, apriete los pernos del tirante y del alternador para afianzar el ajuste.
-
Mantenimiento del sistema de control
Ajuste de los controles
Los controles son ajustados en fábrica antes del envío de la máquina. No obstante, tras muchas horas de uso, es posible que usted necesite ajustar la alineación del control de tracción, la posición de PUNTO MUERTO del control de tracción y el desplazamiento del control de tracción en posición hacia adelante a velocidad máxima.
Póngase en contacto con su Distribuidor de Servicio Técnico Autorizado para ajustar los controles de su máquina.
Mantenimiento del sistema hidráulico
Seguridad del sistema hidráulico
-
Busque atención médica inmediatamente si se inyecta fluido en la piel. El fluido que penetre en la piel debe ser retirado quirúrgicamente por un médico en el término de pocas horas.
-
Asegúrese de que todas las mangueras y líneas de fluido hidráulico están en buenas condiciones de uso y que todos los acoplamientos y conexiones hidráulicos están apretados, antes de aplicar presión al sistema hidráulico.
-
Mantenga el cuerpo y las manos alejados de fugas pequeñas o boquillas que liberan fluido hidráulico a alta presión.
-
Utilice un cartón o un papel para detectar fugas de fluido hidráulico.
-
Alivie de manera segura toda presión en el sistema hidráulico antes de realizar trabajos en el sistema hidráulico.
Cómo aliviar la presión hidráulica
Para aliviar la presión hidráulica con el motor en marcha, desengrane el sistema hidráulico auxiliar y baje totalmente los brazos de carga.
Para aliviar la presión con el motor parado, mueva el joystick entre las posiciones delanteras para bajar los brazos de carga (Figura 72).

Especificación del fluido hidráulico
| Intervalo de mantenimiento y servicio | Procedimiento de mantenimiento |
|---|---|
| Cada 100 horas |
|
| Cada 400 horas |
|
| Cada 1000 horas |
|
| Cada 1500 horas |
|
| Cada 2 años |
|
Capacidad del depósito hidráulico: 57.7 litros (15.25 galones US)
Utilice solamente uno de los fluidos siguientes en el sistema hidráulico:
-
Toro Premium Transmission/Hydraulic Tractor Fluid (consulte a su Distribuidor Autorizado Toro si desea más información)
-
Fluido hidráulico Toro PX de larga vida (consulte a su Servicio Técnico Autorizado si desea más información)
-
Si ninguno de los fluidos anteriores está disponible, puede utilizar otro fluido hidráulico universal para tractores (UTHF ), pero en este caso utilice únicamente productos convencionales a base de petróleo. Las especificaciones de todas las propiedades materiales deben estar dentro de los intervalos citados a continuación, y el fluido debe cumplir las normas industriales citadas. Consulte a su proveedor de fluido hidráulico para determinar si el fluido cumple estas especificaciones.
Note: Toro no asume responsabilidad alguna por daños causados por sustitutos no adecuados, así que usted debe utilizar solamente productos de fabricantes responsables que respalden sus recomendaciones.
Propiedades materiales Viscosidad, ASTM D445 cSt a 40 °C: 55 a 62 cSt a 100 °C: 9.1 a 9.8 Índice de viscosidad ASTM D2270 140 a 152 Punto de descongelación, ASTM D97 -37 a -43 °C (-35 a -46 °F) Normas industriales API GL-4, AGCO Powerfluid 821 XL, Ford New Holland FNHA-2-C-201.00, Kubota UDT, John Deere J20C, Vickers 35VQ25 y Volvo WB-101/BM Note: La mayoría de los fluidos hidráulicos son casi incoloros, por lo que es difícil detectar fugas. Está disponible un aditivo de tinte rojo para el aceite del sistema hidráulico, en botellas de 20 ml (2/3 onza fluida). Una botella es suficiente para 15 a 22 litros (4 a 6 galones US) de fluido hidráulico. Solicite la pieza no. 44-2500 a su Distribuidor Autorizado Toro.
Comprobación del nivel de fluido hidráulico
| Intervalo de mantenimiento y servicio | Procedimiento de mantenimiento |
|---|---|
| Cada 25 horas |
|
Important: Utilice siempre el tipo correcto de fluido hidráulico. Los fluidos que no cumplan las especificaciones dañarán el sistema hidráulico. Consulte Especificación del fluido hidráulico.
-
Retire todos los implementos.
-
Aparque la máquina en una superficie nivelada y ponga el freno de estacionamiento.
-
Eleve los brazos de carga e instale los bloqueos de los cilindros.
-
Apague el motor y retire la llave.
-
Retire la cubierta delantera; consulte Retirada de la cubierta delantera.
-
Limpie la zona alrededor del cuello de llenado del depósito de fluido hidráulico (Figura 73).

-
Retire el tapón del cuello de llenado y compruebe el nivel de fluido en la varilla (Figura 74).
Note: El nivel de fluido debe estar entre las 2 muescas de la varilla cuando los brazos están bajos, y debe estar en la muesca inferior cuando los brazos están elevados.

-
Si el nivel es bajo, añada fluido suficiente para que llegue al nivel correcto.
-
Instale el tapón del cuello de llenado.
-
Instale la cubierta delantera.
Cambio de los filtros hidráulicos
Important: No utilice un filtro de aceite para automóviles, o puede causar graves daños en el sistema hidráulico.
-
Aparque la máquina en una superficie nivelada, ponga el freno de estacionamiento y baje los brazos de carga.
-
Pare el motor y retire la llave.
-
Eleve los brazos de carga e instale los bloqueos de los cilindros.
-
Retire la cubierta delantera; consulte Retirada de la cubierta delantera.
-
Coloque un recipiente debajo del filtro y cambie el filtro (Figura 75).

-
Limpie cualquier fluido derramado.
-
Abra la cubierta de acceso trasera; consulte Cómo abrir la cubierta de acceso trasera
-
Retire la rejilla trasera; consulte Retirada de la rejilla trasera.
-
Coloque un recipiente debajo del filtro trasero y cambie el filtro (Figura 76).

-
Limpie cualquier fluido derramado.
-
Arranque el motor y déjelo funcionar durante unos dos minutos para purgar el aire del sistema.
-
Pare el motor y compruebe que no hay fugas.
-
Compruebe el nivel de fluido del depósito hidráulico; consulte Comprobación del nivel de fluido hidráulico, y añada fluido para que el nivel llegue a la marca de la varilla.
Important: No llene el depósito en exceso.
-
Instale la cubierta delantera.
-
Instale la rejilla trasera y apriete los pomos y los pernos para sujetarla.
-
Cierre la cubierta de acceso trasera e instale la fijación para sujetarla.
-
Retire y guarde los bloqueos de los cilindros y baje los brazos de carga.
Cómo cambiar el fluido hidráulico
-
Aparque la máquina en una superficie nivelada.
-
Eleve los brazos de carga e instale los bloqueos de los cilindros.
-
Detenga el motor, retire la llave y deje que el motor se enfríe.
-
Retire la cubierta delantera; consulte Retirada de la cubierta delantera.
-
Retire el tapón y la varilla del depósito hidráulico (Figura 77).

-
Coloque un recipiente grande con capacidad para 57 litros (15 galones US) debajo del tapón de vaciado situado en la parte delantera de la máquina (Figura 78).

-
Retire el tapón de vaciado y deje fluir el aceite al recipiente (Figura 78).
-
Cuando el aceite haya terminado de drenar, instale el tapón de vaciado y apriételo.
Note: Elimine el aceite usado en un centro de reciclaje homologado.
-
Llene el depósito hidráulico con fluido hidráulico; consulte Especificación del fluido hidráulico.
-
Arranque el motor y déjelo funcionar durante unos minutos.
-
Pare el motor y retire la llave.
-
Compruebe el nivel de fluido hidráulico y añada fluido para llenar el depósito, si es necesario; consulte Comprobación del nivel de fluido hidráulico.
-
Instale la cubierta delantera.
Mantenimiento del cargador
Apriete de los tornillos de ajuste de los brazos de carga
| Intervalo de mantenimiento y servicio | Procedimiento de mantenimiento |
|---|---|
| Cada 25 horas |
|
Si los brazos de carga inferiores traquetean, compruebe el par de apriete.
-
Aparque la máquina en una superficie nivelada.
-
Detenga el motor, retire la llave y deje que el motor se enfríe.
-
En cada brazo de carga, afloje el tornillo de fijación de los 4 tornillos de ajuste (Figura 79).

-
Apriete los tornillos de ajuste a 27 N·m (20 pies-libra).
-
Compruebe que la longitud de la parte los tornillos de ajuste que sobresale de los brazos es igual en ambos lados.
-
Aplique fijador de roscas de resistencia media a los tornillos de fijación y apriételos hasta que apenas toquen los tornillos de ajuste.
Important: No apriete demasiado los tornillos de fijación; si no, podría dañar las roscas de los tornillos de ajuste.
Limpieza
Eliminación de residuos
| Intervalo de mantenimiento y servicio | Procedimiento de mantenimiento |
|---|---|
| Cada vez que se utilice o diariamente |
|
Important: La operación del motor con las rejillas obstruidas y/o sin las tapas de ventilación dañará el motor debido al sobrecalentamiento.
-
Aparque la máquina en una superficie nivelada y baje los brazos de carga.
-
Detenga el motor, retire la llave y deje que el motor se enfríe.
-
Abra el capó y coloque la varilla de sujeción.
-
Limpie cualquier residuo de las rejillas delantera y laterales.
-
Retire cualquier residuo del limpiador de aire.
-
Elimine cualquier acumulación de residuos en el motor y en las aletas del enfriador de aceite con un cepillo o un soplador.
Important: La operación del motor con las rejillas obstruidas y/o sin las tapas de ventilación dañará el motor debido al sobrecalentamiento.
-
Limpie cualquier residuo del orificio del capó, el silenciador, los protectores térmicos y la rejilla del radiador (en su caso).
-
Cierre el capó.
Limpieza del chasis
| Intervalo de mantenimiento y servicio | Procedimiento de mantenimiento |
|---|---|
| Cada 100 horas |
|
Con el tiempo, el chasis debajo del motor acumula suciedad y residuos que deben ser eliminados. Abra el capó e inspeccione frecuentemente la zona debajo del motor con una linterna. Cuando la acumulación de residuos llegue a 2.5–5 cm (1"–2") de grosor, limpie el chasis.
-
Aparque la máquina en una superficie nivelada y baje los brazos de carga.
-
Levante la parte frontal de la máquina para que esta quede inclinada hacia atrás.
-
Pare el motor y retire la llave.
-
Retire la placa inferior; consulte Retirada de la placa inferior.
-
Retire la cubierta delantera; consulte Retirada del conjunto de la cubierta delantera.
-
Rocíe agua en el chasis para limpiar la suciedad y los residuos.
Note: El agua se drenará en la parte trasera de la máquina.
Important: No rocíe agua en el motor.
-
Engrase la máquina; consulte Lubricación de la máquina.
-
Instale la placa inferior (Figura 37).
-
Instale la cubierta delantera.
-
Baje la máquina.


, que significa: Cuidado, Advertencia o Peligro
—instrucción relativa a la seguridad personal—.
El incumplimiento de estas instrucciones puede dar lugar a lesiones
personales o la muerte.
















































































