| Maintenance Service Interval | Maintenance Procedure |
|---|---|
| After each use |
|
This rotary-blade, walk-behind lawn mower is intended to be used by professional, hired operators. It is designed primarily for cutting grass on well-maintained lawns on residential or commercial properties. It is designed to use Flex-Force Power System® 60V lithium-ion battery packs. These battery packs are designed to be charged only by Flex-Force™ 60V lithium-ion battery chargers. Using these products for purposes other than their intended use could prove dangerous to you and bystanders.
Read this information carefully to learn how to operate and maintain your product properly and to avoid injury and product damage. You are responsible for operating the product properly and safely.
Visit www.Toro.com for more information, including safety tips, training materials, accessory information, help finding a dealer, or to register your product.
Whenever you need service, genuine Toro parts, or additional information, contact an authorized Toro distributor or Toro Customer Service and have the model and serial numbers of your product ready. Figure 1 identifies the location of the model and serial numbers on the product. Write the numbers in the space provided.

Write the product model and serial numbers in the space below:
The safety-alert symbol (Figure 2) shown in this manual and on the machine identifies important safety messages that you must follow to prevent accidents.

The safety-alert symbol appears above information that alerts you to unsafe actions or situations and is followed by the word DANGER, WARNING, or CAUTION.
DANGER indicates an imminently hazardous situation which, if not avoided, will result in death or serious injury.
WARNING indicates a potentially hazardous situation which, if not avoided, could result in death or serious injury.
CAUTION indicates a potentially hazardous situation which, if not avoided, may result in minor or moderate injury.
This manual uses two other words to highlight information. Important calls attention to special mechanical information and Note emphasizes general information worthy of special attention.
Do not tamper with or disable safety devices on the machine, and check their proper operation regularly. Do not attempt to adjust or tamper with the engine speed control; doing so may create an unsafe operating condition, resulting in personal injury.
This product complies with all relevant European directives; for details, please see the separate product specific Declaration of Conformity (DOC) sheet.
CALIFORNIA
Proposition 65 Warning
The power cord on this product contains lead, a chemical known to the State of California to cause birth defects or other reproductive harm. Wash hands after handling.
Use of this product may cause exposure to chemicals known to the State of California to cause cancer, birth defects, or other reproductive harm.
Read all safety warnings, instructions, illustrations and specifications provided with this power tool. Failure to follow all instructions listed below may result in electric shock, fire and/or serious injury.
Save all warnings and instructions for future reference.
The term “power tool” in the warnings refers to your mains-operated (corded) power tool or battery-operated (cordless) tool.
Work area safety
Keep work area clean and well lit. Cluttered or dark areas invite accidents.
Do not operate power tools in explosive atmospheres, such as in the presence of flammable liquids, gasses or dust. Power tools create sparks which may ignite the dust or fumes.
Keep children and bystanders away while operating a power tool. Distractions can cause you to lose control.
Electrical safety
Power tool plugs must match the outlet. Never modify the plug in any way. Do not use any adapter plugs with earthed (grounded) power tools. Unmodified plugs and matching outlets will reduce risk of electric shock.
Avoid body contact with earthed or grounded surfaces, such as pipes, radiators, ranges and refrigerators. There is an increased risk of electric shock if your body is earthed or grounded.
Do not expose power tools to rain or wet conditions. Water entering a power tool will increase the risk of electric shock.
Do not abuse the cord. Never use the cord for carrying, pulling or unplugging the power tool. Keep cord away from heat, oil, sharp edges or moving parts. Damaged or entangled cords increase the risk of electric shock.
When operating a power tool outdoors, use an extension cord suitable for outdoor use. Use of a cord suitable for outdoor use reduces the risk of electric shock.
If operating a power tool in a damp location is unavoidable, use a residual current device (RCD) protected supply. Use of an RCD reduces the risk of electric shock.
Personal safety
Stay alert, watch what you are doing and use common sense when operating a power tool. Do not use a power tool while you are tired or under the influence of drugs, alcohol or medication. A moment of inattention while operating power tools may result in serious personal injury.
Use personal protective equipment. Always wear eye protection. Protective equipment such as a dust mask, non-skid safety shoes, hard hat or, or hearing protection used for appropriate conditions will reduce personal injuries.
Prevent unintentional starting. Ensure the switch is in the OFF position before connecting to power source and/or battery pack, picking up or carrying the tool. Carrying power tools with your finger on the switch or energizing power tools that have the switch on invites accidents.
Remove any adjusting key or wrench before turning the power tool on. A wrench or a key left attached to a rotating part of the power tool may result in personal injury.
Do not overreach. Keep proper footing and balance at all times. This enables better control of the power tool in unexpected situations.
Dress properly. Do not wear loose clothing or jewelry. Keep your hair and clothing away from moving parts. Loose clothes, jewelry or long hair can be caught in moving parts.
If devices are provided for the connection of dust extraction and collection facilities, ensure these are connected and properly used. Use of dust collection can reduce dust-related hazards.
Do not let familiarity gained from frequent use of tools allow you to become complacent and ignore tool safety principles. A careless action can cause severe injury within a fraction of a second.
Power tool use and care
Do not force the power tool. Use the correct power tool for your application. The correct power tool will do the job better and safer at the rate for which it was designed.
Do not use the power tool if the switch does not turn it on and off. Any power tool that cannot be controlled with the switch is dangerous and must be repaired.
Disconnect the plug from the power source and/or remove the battery pack, if detachable, from the power tool before making any adjustments, changing accessories, or storing power tools. Such preventative safety measures reduce the risk of starting the power tool accidentally.
Store idle power tools out of the reach of children and do not allow persons unfamiliar with the power tool or these instructions to operate the power tool. Power tools are dangerous in the hands of untrained users.
Maintain power tools and accessories. Check for misalignment or binding of moving parts, breakage of parts and any other condition that may affect the power tool’s operation. If damaged, have the power tool repaired before use. Many accidents are caused by poorly maintained power tools.
Keep cutting tools sharp and clean. Properly maintained cutting tools with sharp cutting edges are less likely to bind and are easier to control.
Use the power tool, accessories and tool bits etc. in accordance with these instructions, taking into account the working conditions and the work to be performed. Use of the power tool for operations different from those intended could result in a hazardous situation.
Keep handles and grasping surfaces dry, clean and free from oil and grease. Slippery handles and grasping surfaces do not allow for safe handling and control of the tool in unexpected situations.
Battery tool use and care
Recharge only with the charger specified by the manufacturer. A charger that is suitable for one type of battery pack may create a risk of fire when used with another battery pack.
Use power tools only with specifically designated battery packs. Use of any other battery packs may create a risk of injury and fire.
When battery pack is not in use, keep it away from other metal objects, like paper clips, coins, keys, nails, screws or other small metal objects, that can make a connection from one terminal to another. Shorting the battery terminals together may cause burns or a fire.
Under abusive conditions, liquid may be ejected from the battery; avoid contact. If contact accidentally occurs, flush with water. If liquid contacts eyes, additionally seek medical help. Liquid ejected from the battery may cause irritation or burns.
Do not use a battery pack or tool that is damaged or modified. Damaged or modified batteries may exhibit unpredictable behavior resulting in fire, explosion or risk of injury.
Do not expose a battery pack or tool to fire or excessive temperature. Exposure to fire temperature above 130°C (265°F) may cause an explosion.
Follow all charging instructions and do not charge the battery pack or tool outside the temperature range specified in the instructions. Charging improperly or at temperatures outside the specified range may damage the battery and increase the risk of fire.
Service
Have your power tool serviced by a qualified repair person using only identical replacement parts. This will ensure that the safety of the power tool is maintained.
Never service damaged battery packs. Service of battery packs should only be performed by the manufacturer or authorized service providers.
Do not operate the lawn mower in rain or wet conditions. This may increase the risk of electric shock.
Do not use the lawn mower in bad weather conditions, especially when there is a risk of lightning. This decreases the risk of being struck by lightning.
Thoroughly inspect the area for wildlife where the lawn mower is to be used. Wildlife may be injured by the lawn mower during operation.
Thoroughly inspect the area where the lawn mower is to be used and remove all stones, sticks, wires, bones, and other foreign objects. Thrown objects can cause personal injury.
Before using the lawn mower, always visually inspect to see that the blade and the blade assembly are not worn or damaged. Worn or damaged parts increase the risk of injury.
Check the grass catcher frequently for wear or deterioration. A worn or damaged grass collector may increase the risk of personal injury.
Keep guards in place. Guards must be in working order and be properly mounted. A guard that is loose, damaged, or is not functioning correctly may result in personal injury.
Keep all cooling air inlets clear of debris. Blocked air inlets and debris may result in overheating or risk of fire.
While operating the lawn mower, always wear non-slip and protective footwear. Do not operate the lawn mower when barefoot or wearing open sandals. This reduces the chance of injury to the feet from contact with the moving blade.
While operating the lawn mower, always wear long trousers. Exposed skin increases the likelihood of injury from thrown objects.
Do not operate the lawn mower in wet grass. Walk, never run. This reduces the risk of slipping and falling which may result in personal injury.
Do not operate the lawn mower on excessively steep slopes. This reduces the risk of loss of control, slipping and falling which may result in personal injury.
When working on slopes, always be sure of your footing, always work across the face of slopes, never up or down and exercise extreme caution when changing direction. This reduces the risk of loss of control, slipping and falling which may result in personal injury.
Use extreme caution when reversing or pulling the lawn mower towards you. Always be aware of your surroundings. This reduces the risk of tripping during operation.
Do not touch blades and other hazardous moving parts while they are still in motion. This reduces the risk of injury from moving parts.
When clearing jammed material or cleaning the lawn mower, make sure all power switches are off and the battery pack is disconnected. Unexpected operation of the lawn mower may result in serious personal injury.
Training
The operator of the machine is responsible for any accidents or hazards occurring to others or their property.
Do not allow children to use or play with the machine, battery pack, or the battery charger; local regulations may restrict the age of the operator.
Do not allow people with reduced physical, sensory, or mental capabilities or without experience and knowledge to use the machine, battery pack, or battery charger unless they receive instruction or supervision on using it safely and understand the hazards involved while using it.
Before using the battery pack and battery charger, read all the instructions and cautionary markings on these products.
Preparation
Replace any damaged or unreadable labels.
Use only the battery pack specified by Toro. Using other accessories and attachments may increase the risk of injury and fire.
Plugging the battery charger into an outlet that is not of the proper voltage can cause a fire or electric shock. For a different style of connection, use an attachment plug adapter of the proper configuration for the power outlet if needed.
Do not use a damaged or modified battery pack or battery charger, which may exhibit unpredictable behavior that results in fire, explosion, or risk of injury.
If the supply cord to the battery charger is damaged, contact an Authorized Service Dealer to replace it.
Do not use non-rechargeable batteries.
Charge the battery pack with only the battery charger specified by Toro. A charger suitable for one type of battery pack may create a risk of fire when used with another battery pack.
Charge the battery pack in a well-ventilated area only.
Do not expose a battery pack or battery charger to fire or to temperatures higher than 68°C (154°F).
Follow all charging instructions and do not charge the battery pack outside of the temperature range specified in the instructions. Otherwise, you may damage the battery pack and increase the risk of fire.
Operation
Keep clear of any discharge opening.
Disengage the self-propel drive (if equipped) before starting the machine.
Prevent unintentional starting—Ensure that the electric-start button is removed from the ignition before connecting the battery pack and handling the machine.
Stop the machine, remove the electric-start button, remove the battery pack from the machine, and wait for all movement to stop before servicing or cleaning the machine.
Remove the battery pack and electric-start button from the machine whenever you leave it unattended or before changing accessories.
Do not direct the discharge material toward anyone. Avoid discharging material against a wall or obstruction; material may ricochet toward you. Stop the blade(s) when crossing gravel surfaces.
Watch for holes, ruts, bumps, rocks, or other hidden objects. Uneven terrain could cause you to lose your balance or footing.
If the machine strikes an object or starts to vibrate, immediately shut off the machine, remove the electric-start button, remove the battery pack, and wait for all movement to stop before examining the machine for damage. Make all necessary repairs before resuming operation.
Stop the machine and remove the electric-start button before loading the machine for hauling.
Under abusive conditions, the battery pack may eject liquid; avoid contact. If you accidently come into contact with the liquid, flush with water. If the liquid contacts your eyes, seek medical help. Liquid ejected from the battery pack may cause irritation or burns.
Maintenance and Storage
Stop the machine, remove the electric-start button, remove the battery pack from the machine, and wait for all movement to stop before servicing or cleaning the machine.
Do not attempt to repair the machine except as indicated in the instructions. Have an Authorized Service Dealer perform service on the machine using identical replacement parts.
Sharpen a dull blade on both sides to maintain balance. Clean the blade and ensure that it is balanced.
When servicing the blade, be aware that the blade can still move even though the power source is off.
For best performance, use only genuine Toro replacement parts and accessories. Other replacement parts and accessories could be dangerous, and such use could void the product warranty.
Maintain the machine—Keep cutting edges sharp and clean for the best and safest performance. Keep handles dry, clean, and free from oil and grease. Keep guards in place and in working order. Keep blades sharp. Use identical replacement blades only.
Unless indicated in the instructions, have an Authorized Service Dealer repair or replace a damaged guard or part.
When the battery pack is not in use, keep it away from metal objects such as paper clips, coins, keys, nails, and screws that can make a connection from one terminal to another. Shorting the battery terminals may cause burns or a fire.
Check the blade and motor mounting bolts frequently for tightness.
CAUTION—A mistreated battery pack may present a risk of fire or chemical burn. Do not disassemble the battery pack. Do not heat the battery pack above 68°C (154°F) or incinerate it. Replace the battery pack with a genuine Toro battery pack only; using another type of battery pack may cause a fire or explosion. Keep battery packs out of the reach of children and in the original packaging until you are ready to use them.
Do not dispose of the battery in a fire. The cell may explode. Check with local codes for possible special disposal instructions.
![]() |
Safety decals and instructions are easily visible to the operator and are located near any area of potential danger. Replace any decal that is damaged or missing. |








Important: Remove and discard the protective plastic sheet that covers the motor.
Parts needed for this procedure:
| Battery-compartment lid | 1 |
Align the latches on the lid with the slots and push down to lock the lid in place.

Parts needed for this procedure:
| Lower handlebar | 2 |
| Clamp plate | 2 |
| Brace handlebar | 2 |
| Short bolt | 2 |
| Flat washer | 4 |
| Locknut | 8 |
| Upper handlebar | 1 |
| Cup washer | 6 |
| Long bolt | 4 |
| Cap nut | 6 |
Assembling the handle improperly can damage the cables, causing an unsafe operating condition.
Do not damage the cables when assembling the handle.
Ensure that the cables are routed to the inside of the handle and do not catch the rear deflector.
If a cable is damaged, contact your authorized Toro distributor.
Remove the locknuts from the 2 exposed bolts on the top of the deck.
Install a lower handlebar to each side of the top of the mower deck with a clamp plate and the locknuts removed from the deck in the previous step (1).
Note: The lower handlebar tubes have a bend along the midsection; ensure that the tubes are fitted so that the bent section of the tube angles toward the ground.

Install the bottom of the brace handlebars to each side of the mower deck using a short bolt, flat washers on the inside and outside of the deck, and a locknut (Figure 5).

Install the upper handlebar and the top of the brace handlebars to the lower handlebars with 3 cup washers, 2 long bolts, and 2 locknuts on each side (Figure 6).

Install cap nuts over all of the exposed handlebar nuts.



The forward speed of the machine is controlled by the MatchDrive® system and has 3 fixed settings as well as a variable speed option. Setting the self-propel speed of the machine allows operators across multiple machines to achieve a consistent quality of cut and level of performance.
Push the speed-selection control button on the powerhead control panel to cycle between the fixed speed settings. A light will illuminate under the selected speed setting:
I – Slow – 3.0 km/h (1.9 mph)
II – Medium – 4.0 km/h (2.5 mph)
III – Fast – 5.2 km/h (3.2 mph)

The IV setting (Figure 11) on the speed selection button enables you to control the speed of the machine using the control wheel on the electric-start button. Turn the wheel to the right to increase speed and turn it to left to decrease speed, from a low speed of 1.6 km/h (1 mph) to a high speed of 5.6 km/h (3.5 mph).

The machine has 2 blade-speed settings: STANDARD and ECO.
When set to the STANDARD setting, the blade speed is set to a fixed speed at all times.
When set to the ECO setting, the blade speed remains at the lowest speed at all times (unless the machine experiences heavy load). This speed is ideal for mulching grass clippings after mowing, and is the most efficient use of battery power.
| Blade-speed setting | Speed (rpm) |
| STANDARD | 2800 |
| ECO | 2400 |
The machine automatically starts in the STANDARD setting. Push the blade-speed button on the powerhead control panel to change the blade-speed setting (Figure 13).

The powerhead control panel has various warning lights and displays the current battery status.
If there is a fault with the gearbox, 4 warning lights will flash (A of Figure 14); refer to .
The battery status panel uses lights to display the level of charge for the battery packs and if problems or errors occur with the battery packs (B of Figure 14). If the battery packs have low charge (<10%), the bottom of the 4 charge-level lights will flash.
If there is a fault with a battery pack, error lights will flash at the bottom of the battery status panel (B of Figure 14). The left error light corresponds to the left battery pack (seen from the operating position), and the right error light corresponds to the right battery pack.

|
Model |
Cutting Width |
Length |
Width |
Height |
Weight |
|---|---|---|---|---|---|
|
02660T | 56 cm | 175.5 cm | 61 cm | 103 cm | 52.7 kg |
| (22 inches) | (69.1 inches) | (24 inches) | (40.6 inches) | (116 lb) |
|
Charging or Storing the Battery Pack |
Using the Battery Pack |
Using the Machine |
|---|---|---|
|
5°C (41°F) to 40°C (104°F)* |
-30°C (-22°F) to 49°C (120°F)* |
0°C (32°F) to 49°C (120°F)* |
*Charging time may increase if you do not charge the battery pack(s) within the specified temperature range.
Store the machine, battery pack(s), and battery charger(s) in an enclosed, clean, and dry area.
A selection of Toro approved attachments and accessories is available for use with the machine to enhance and expand its capabilities. Contact your Authorized Service Dealer or authorized Toro distributor or go to www.Toro.com for a list of all approved attachments and accessories.
To ensure optimum performance and continued safety certification of the machine, use only genuine Toro replacement parts and accessories. Replacement parts and accessories made by other manufacturers could be dangerous.
Important: Use the battery pack(s) only in temperatures that are within the appropriate range; refer to Specifications.
Ensure that the electric-start button is not installed into the machine.
Ensure that the vents and charging terminals on the battery pack(s) are clear of any dust and debris.
Lift up the battery-compartment lid (A of Figure 15).
Line up the cavity in the battery pack(s) with the tongues on the machine and slide the battery pack(s) into the compartment until it locks into place (B of Figure 15).
Close the battery-compartment lid (C of Figure 15).
Note: If the battery-compartment lid does not close completely, the battery pack(s) are not fully installed.The machine can be operated with either 1 or 2 battery packs installed.

The electric-start button is stored in the battery compartment for safe delivery. Remove it from the compartment and store it in a safe place prior to assembly.
Adjusting the height of cut could bring your hands into contact with a moving blade and result in serious injury.
Shut off the motor, remove the battery pack(s), and wait for all moving parts to stop before adjusting the cutting height.
Do not put your fingers under the housing when adjusting the cutting height.
Grip the height-of-cut lever and pull sideways to disengage it from the locking notch (Figure 16).

Push the lever forward to lower or pull it backward to raise the height of cut (Figure 16).
Release the lever at the wanted position and ensure that it locks firmly into 1 of the 7 setting notches (Figure 16).
| Height Setting | Height of Cut |
| 1 | 13.0 mm |
| 2 | 20.8 mm |
| 3 | 28.7 mm |
| 4 | 36.5 mm |
| 5 | 44.3 mm |
| 6 | 52.2 mm |
| 7 | 60.0 mm |
An additional 6 setting heights can be achieved using the MatchCut height setting. This feature allows the height of cut selector plate to adjust by one half setting.
Loosen the selector-plate retaining bolt with an Allen wrench (Figure 17).

Turn the MatchCut adjuster 180° (Figure 17 and Figure 18).
Note: An indicator appears at the bottom of the selector plate, highlighting when MatchCut is set.

Tighten the selector-plate retaining bolt to fix the height-of-cut selector plate into position.
| Height Setting (with MatchCut) | Height of Cut |
| 1.5 | 16.9 mm (11/16 inch) |
| 2.5 | 24.8 mm (1 inch) |
| 3.5 | 32.6 mm (1-1/4 inches) |
| 4.5 | 40.4 mm (1-9/16 inches) |
| 5.5 | 48.3 mm (1-7/8 inches) |
| 6.5 | 56.1 mm (2-3/16 inches) |
Ensure that the battery pack(s) are installed in the machine; refer toInstalling a Battery Pack.
Insert the electric-start button [refer to Locating the Electric-Start Button] into the electric-start switch (A of Figure 19).
Squeeze the blade-control bar and hold it to the handle (B of Figure 19).
Push the electric-start button until the machine starts and the blade starts spinning (C of Figure 19).

Operate the self-propel drive as follows:
To engage the self-propel drive:
Whilst the mower blade is running, engage the self-propel drive bar (Figure 20).
Without the mower blade running, press and release the electric-start button twice and then engage the self-propel drive bar within 15 seconds.
To disengage the self-propel drive, release the self-propel drive bar.
Note: Allow the transmission 2 seconds to finish the clutch release cycle before engaging the self-propel drive bar again after disengaging. Not doing so may trigger warning lights on the powerhead and cause the drive to disengage.
Note: If the self-propel drive bar is released, you can engage the self-propel drive again without needing to push the electric-start button if the bar is engaged within 15 seconds.
The ground speed of the machine may be adjusted by operating the variable-speed control; refer to Selecting the Self-Propel Speed.
Note: When the self-propel drive bar is disengaged, the mower may be pushed. This feature is useful when mowing in confined areas.

Release the blade-control bar (A of Figure 21).
Important: When you release the blade control bar, the blade should stop within 3 seconds. If it does not stop properly, stop using your machine immediately and contact an authorized Toro distributor.
Remove the electric-start button from the electric-start switch (B of Figure 21.

Note: Whenever you are not using the machine for an extended period of time, remove the electric-start button and battery pack(s); refer to Before storage.
Lift up the battery-compartment lid.
Push the battery-pack latches to release the battery pack(s) and remove the battery pack(s).
Close the battery-compartment lid.
Use the grass bag when you want to collect grass and leaf clippings from the lawn.
A worn grass bag could allow debris to be thrown and result in serious personal injury or death to the operator or bystanders.
Inspect the grass bag frequently. If it is damaged, install a new Toro replacement bag.
Shut off the machine and wait for all moving parts to stop.
Remove the electric-start button and battery pack(s).
Raise and hold up the rear deflector.
Install the grass bag into position (Figure 22).

Allow the rear deflector to rest on the bag.
The machine can throw grass clippings and other objects through an opening in the machine housing. Objects thrown with enough force could cause serious personal injury or death to you or to bystanders.
Never open the rear deflector on the machine when the machine is running.
Important: The mower must be used with the grass bag attached or the rear deflector in the closed position.
Shut off the machine and wait for all moving parts to stop.
Remove the electric-start button and battery pack(s).
Raise and hold up the rear deflector.
Unhook the grass bag.
Allow the rear deflector to rest on the deck.
Avoid striking solid objects with the blade. Never deliberately mow over any object.
For best performance, install a new blade before the cutting season begins.
Replace the blade when necessary with a Toro replacement blade.
Grass grows at different rates throughout the year. In the summer heat, it is best to cut the grass at the highest cutting height. Cut only a third of the grass blade at a time. Do not cut at the lowest height-of-cut setting unless the grass is sparse or it is late autumn when grass growth begins to slow down. For improved runtime, cut grass at a higher height of cut.
For optimum performance, particularly in challenging conditions, use the STANDARD blade speed setting and mow at a slower pace.
When cutting tall grass, first mow at the highest cutting-height setting and a slower speed; then mow again at a lower setting for the best lawn appearance. If the grass is too long and the leaves clump on top of the lawn, the machine may plug and cause the powerhead to stall.
Wet grass and leaves tend to clump on the yard and can cause the machine to plug or the motor to stall. Avoid mowing in wet conditions.
Be aware of a potential fire hazard in very dry conditions, follow all local fire warnings, and keep the machine free of dry grass and leaf debris.
Alternate the mowing direction. This helps disperse the clippings over the lawn for even fertilization.
If the finished lawn appearance is unsatisfactory, try 1 or more of the following:
Sharpen the blade.
Mow at a slower pace.
Raise the cutting height on your machine.
Cut the grass more frequently.
Overlap cutting swaths instead of cutting a full swath with each pass.
After cutting the lawn, ensure that half of the lawn shows through the cut leaf cover. You may need to make more than a single pass over the leaves.
If there are more than 13 cm (5 inches) of leaves on the lawn, mow at a higher cutting height and then again at the desired cutting height.
Slow down your mowing speed if the machine does not cut the leaves finely enough.
Important: The battery pack is not fully charged when you purchase it. Before using the tool for the first time, place the battery pack in the charger and charge it until the LED display indicates the battery pack is fully charged. Read all safety precautions.
Important: Charge the battery pack only in temperatures that are within the appropriate range; refer to Specifications.
Note: At any time, push the battery-charge-indicator button on the battery pack to display the current charge (LED indicators).
Ensure that the vents and charging terminals on the battery pack and charger are clear of any dust and debris.

Line up the cavity in the battery pack (Figure 23) with the tongue on the charger.
Slide the battery pack into the charger until it is fully seated (Figure 23).
To remove the battery pack, slide the battery backward out of the charger.
Refer to the following table to interpret the LED indicator light on the battery charger.
| Indicator light | Indicates |
| Off | No battery pack inserted |
| Green blinking | Battery pack is charging |
| Green | Battery pack is charged |
| Red | Battery pack and/or battery charger is over or under the appropriate temperature range |
| Red blinking | Battery pack charging fault* |
*Refer to for more information.
Important: The battery pack can be left on the charger for short periods between uses.If the battery pack will not be used for longer periods, remove the battery pack from the charger; refer to Before storage.
| Maintenance Service Interval | Maintenance Procedure |
|---|---|
| After each use |
|
The machine may dislodge material from under the machine.
Wear eye protection.
Stay in the operating position (behind the handle) when the motor is running.
Do not allow bystanders in the area.
For best results, use the quick-wash port to clean the machine soon after you have completed mowing.
Important: Thoroughly clean the machine deck immediately after use on treated grass.
Shut off the machine and wait for all moving parts to stop.
Remove the electric-start button and battery pack(s).
Lower the machine to its lowest cutting-height setting; refer to Adjusting the Height of Cut.
Attach a garden hose that is connected to a fresh water supply to the quick-wash port (Figure 24).

Turn the water on.
Insert the electric-start button and battery pack(s), start the machine, engage the blade, and run it until the clippings no longer come out from under the machine.
Important: Do not direct water at the transmission.
Shut off the machine, shut off the water, and disconnect the garden hose from the machine.
Start the machine and run it for a few minutes to dry the underside of the machine to prevent it from rusting.
Shut off the machine and allow it to cool before storing it in an enclosed area.
Note: Determine the left and right sides of the machine from the normal operating position.
| Maintenance Service Interval | Maintenance Procedure |
|---|---|
| Before each use or daily |
|
| After each use |
|
| Every 25 hours |
|
| Yearly |
|
Move the machine to a level surface.
Shut off the machine, remove the electric-start button, and remove all battery packs from the machine.
| Maintenance Service Interval | Maintenance Procedure |
|---|---|
| Every 25 hours |
|
Important: Do not operate the motor without the air-filter assembly in place; otherwise, extreme motor damage will occur.
Perform the pre-maintenance procedures; refer to Preparing for Maintenance.
Unclip and remove the cover and the foam filter. Clean both thoroughly (Figure 25).

Install the foam filter into the rear cover and install into the powerhead.
| Maintenance Service Interval | Maintenance Procedure |
|---|---|
| Every 25 hours |
|
Perform the pre-maintenance procedures; refer to Preparing for Maintenance.
Remove the top cover by removing 4 bolts (M6) and a push rivet (Figure 26).

Using a brush, remove any debris from the transmission, especially the transmission fan and vents (Figure 26).
Important: Do not try to clean the transmission using water or compressed air.
Install the cover using the previously removed fasteners.
| Maintenance Service Interval | Maintenance Procedure |
|---|---|
| Every 25 hours |
|
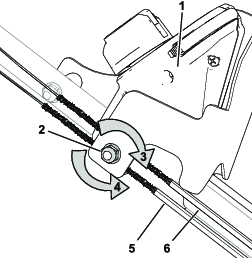
Whenever you install a new cable, or if the self-propel drive or blade-control cable is out of adjustment, adjust the cables.
Turn the adjustment nut counterclockwise to loosen the cable adjustment (Figure 27).

Adjust the tension on the cables (Figure 27) by pulling them back or pushing them forward and holding them in that position.
Turn the adjustment nut clockwise to tighten the cable adjustment.
Note: Tighten the nut firmly with a socket or wrench.
Important: Do not over-tension the cables or the electrical control switches may be damaged.
| Maintenance Service Interval | Maintenance Procedure |
|---|---|
| Before each use or daily |
|
| Yearly |
|
Important: You will need a torque wrench to install the blade properly. If you do not have a torque wrench or are uncomfortable performing this procedure, contact an Authorized Service Dealer.
If the blade is damaged or cracked, replace it immediately. If the blade edge is dull or nicked, have it sharpened and balanced, or replace it.
The blade is sharp; contacting the blade can result in serious personal injury.
Wear gloves when servicing the blade.
Tip the machine onto its side with the height-of-cut lever up.
Use a block of wood to hold the blade steady (Figure 28).

Remove the blade, saving all mounting hardware (Figure 28).
Install the new blade and all mounting hardware (Figure 29).

Important: Position the curved ends of the blade to point toward the machine housing.
Use a torque wrench to tighten the blade bolt to 75 N∙m (55 ft-lb).
| Maintenance Service Interval | Maintenance Procedure |
|---|---|
| Before each use or daily |
|
| Every 25 hours |
|
A slightly worn blade may be re-sharpened. Both blade edges must be sharpened equally to ensure balance.
Remove the blade from the machine; refer to Replacing the Blade.
Clean the blade using a brush and water, then inspect the blade for signs of damage.
Sharpen both cutting edges with a flat file.

Slide a screwdriver through the center hole and hold the blade horizontal.
Note: A balanced blade will remain horizontal.

Sharpen the heavy end until the blade is correctly balanced.
Note: If the blade is not balanced, the heavy end will rotate down.

Important: Upon removal, cover the terminals of the battery pack with heavy-duty adhesive tape. Do not attempt to destroy or disassemble the battery pack or remove any of its components.
Contact your local municipality or your authorized Toro distributor for more information on how to responsibly recycle the battery.
Important: Store the machine, battery pack, and charger only in temperatures that are within the appropriate range; refer to Specifications.
Important: If you are storing the battery pack for the off-season, charge it until 1 or 2 LED indicators turn green on the battery. Do not store a fully charged or fully depleted battery. When you are ready to use the machine again, charge the battery pack until the left indicator light turns green on the charger or all 4 LED indicators turn green on the battery.
Disconnect the product from the power supply (i.e., remove the battery pack(s) and electric-start button) and look for damage after use.
Do not store the machine or charger with a battery pack installed.
Clean all foreign material from the product.
When not in use, store the machine, electric-start button, battery pack(s), and battery charger(s) out of the reach of children.
Keep the machine, battery pack(s), and battery charger(s) away from corrosive agents, such as garden chemicals and de-icing salts.
To reduce the risk of serious personal injury, do not store battery pack(s) outside or in vehicles.
Store the machine, battery pack(s), and battery charger(s) in an enclosed clean, dry area.
Perform only the steps described in these instructions. All further inspection, maintenance, and repair work must be performed by an authorized Toro distributor or a similarly qualified specialist if you cannot solve the problem yourself.
| Problem | Possible Cause | Corrective Action |
|---|---|---|
| The machine does not start. |
|
|
| The machine does not run or does not run continuously. |
|
|
| The machine does not reach full power. |
|
|
| The battery pack(s) lose charge quickly. |
|
|
| The battery charger is not working. |
|
|
| The LED indicator light on the battery charger is red. |
|
|
| The LED indicator light on the battery charger is blinking red. |
|
|
| The machine is producing a beeping sound. |
|
|
| The machine does not self-propel. |
|
|
| The machine has reduced forward speed. |
|
|
| The gearbox is producing a different sound/tone. |
|
|
| The machine or blade motor is producing excessive vibration or noise. |
|
|
| The quality of cut is decreased or unsatisfactory. |
|
|
| The bagging is decreased or unsatisfactory. |
|
|
| The machine is cutting unevenly. |
|
|