| ระยะการซ่อมบำรุง | ขั้นตอนการบำรุงรักษา |
|---|---|
| ก่อนการใช้งานแต่ละครั้งหรือทุกวัน |
|
รถอเนกประสงค์นี้ออกแบบมาสำหรับการใช้งานนอกถนนหลวงเป็นหลัก โดยมีวัตถุประสงค์เพื่อขนส่งคนและวัสดุ การใช้งานผลิตภัณฑ์นี้นอกเหนือจากวัตถุประสงค์ที่กำหนดไว้อาจเป็นอันตรายต่อคุณและคนรอบข้างได้
กรุณาอ่านเอกสารนี้อย่างละเอียดเพื่อศึกษาวิธีควบคุมและบำรุงรักษาผลิตภัณฑ์อย่างเหมาะสม และเพื่อหลีกเลี่ยงการบาดเจ็บและความเสียหายต่อผลิตภัณฑ์ คุณมีหน้าที่ใช้งานผลิตภัณฑ์อย่างถูกต้องและปลอดภัย
โปรดเข้าไปที่เว็บไซต์ www.Toro.com เพื่อดูเอกสารความปลอดภัยของผลิตภัณฑ์และเอกสารฝึกอบรมการใช้งาน ข้อมูลอุปกรณ์เสริม ความช่วยเหลือเพื่อค้นหาตัวแทนจำหน่าย หรือลงทะเบียนผลิตภัณฑ์
หากคุณต้องการซ่อมบำรุง อะไหล่แท้ของ Toro หรือข้อมูลเพิ่มเติม โปรดติดต่อตัวแทนซ่อมบำรุงที่ได้รับอนุญาตหรือฝ่ายบริการลูกค้าของ Toro และเตรียมหมายเลขรุ่นและหมายเลขซีเรียลของผลิตภัณฑ์ไว้ให้พร้อม รูป 1 หาตำแหน่งของหมายเลขรุ่นและหมายเลขซีเรียลบนผลิตภัณฑ์ จดบันทึกหมายเลขในช่องว่างที่กำหนดให้
Important: นอกจากนี้ คุณสามารถใช้มือถือสแกนรหัส QR บนสติกเกอร์หมายเลขซีเรียลได้ (ถ้ามี) เพื่อเข้าถึงข้อมูลการรับประกัน อะไหล่ และข้อมูลผลิตภัณฑ์อื่นๆ

คู่มือฉบับนี้ใช้คำ 2 คำในการเน้นข้อมูล สำคัญ เพื่อให้คุณใส่ใจศึกษาข้อมูลพิเศษเกี่ยวกับกลไกและ หมายเหตุ เพื่อเน้นข้อมูลทั่วไปที่ควรให้ความสนใจเป็นพิเศษ
สัญลักษณ์เตือนอันตราย (รูป 2) ในคู่มือฉบับนี้และบนตัวเครื่องจัดทำขึ้นมาเพื่อระบุข้อความเตือนด้านความปลอดภัยที่สำคัญที่คุณจะต้องปฏิบัติตามเพื่อป้องกันอุบัติเหตุ สัญลักษณ์นี้จะปรากฏขึ้นพร้อมกับคำว่า อันตราย, คำเตือน หรือ ระวัง
อันตราย ใช้ระบุสถานการณ์ที่เป็นอันตรายอย่างฉับพลับ ซึ่งหากไม่หลีกเลี่ยง จะทำให้เสียชีวิตหรือบาดเจ็บร้ายแรงได้
คำเตือน ใช้ระบุสถานการณ์ที่อาจเกิดอันตราย ซึ่งหากไม่หลีกเลี่ยง อาจทำให้เสียชีวิตหรือบาดเจ็บร้ายแรงได้
ระวัง ใช้ระบุสถานการณ์ที่อาจเกิดอันตราย ซึ่งหากไม่หลีกเลี่ยง ก็มีความเป็นไปได้ที่จะเกิดการบาดเจ็บเล็กน้อยถึงปานกลาง

ผลิตภัณฑ์นี้ได้มาตรฐานตามคำสั่งยุโรปทั้งหมดที่เกี่ยวข้อง หากต้องการรายละเอียดเพิ่มเติม โปรดดูเอกสารรับรองมาตรฐาน (DOC) เฉพาะของผลิตภัณฑ์แยกต่างหาก
การใช้งานหรือการควบคุมรถอเนกประสงค์บนที่ดินที่ปกคลุมด้วยป่า พุ่มไม้ หรือหญ้าเป็นการฝ่าฝืนกฎหมายทรัพยากรสาธารณะแห่งแคลิฟอร์เนีย มาตรา 4442 หรือ 4443 ยกเว้นกรณีที่รถอเนกประสงค์ดังกล่าวติดตั้งเครื่องดักสะเก็ดไฟตามคำจำกัดความในมาตรา 4442 โดยต้องบำรุงรักษาให้อยู่ในสภาพดี หรือเป็นเครื่องยนต์ที่สร้างขึ้นมา ติดตั้ง และบำรุงรักษาเพื่อให้ป้องกันการเกิดเพลิงไหม้
คู่มือเจ้าของเครื่องยนต์ที่แนบมาจัดทำขึ้นมาเพื่อให้ข้อมูลเกี่ยวกับหน่วยงานคุ้มครองสิ่งแวดล้อม (EPA) ของสหรัฐอเมริกาและกฎหมายของรัฐแคลิฟอร์เนียว่าด้วยการควบคุมการปล่อยมลพิษของระบบไอเสีย การบำรุงรักษา และการรับประกัน อะไหล่ทดแทนสามารถสั่งซื้อได้จากผู้ผลิตเครื่องยนต์
หากอุปกรณ์ติดตั้งมาพร้อมกับระบบเทเลเมติกส์ โปรดติดต่อตัวแทนจำหน่ายที่ได้รับอนุญาตของ Toro เพื่อขอคำแนะนำในการเปิดใช้งานระบบดังกล่าว
|
ใบรับรองความเข้ากันได้ทางแม่เหล็กไฟฟ้า |
|
ภายในประเทศ: อุปกรณ์นี้เป็นไปตามกฎ FCC ส่วนที่ 15 การทำงานขึ้นอยู่กับเงื่อนไข 2 ข้อต่อไปนี้: (1) อุปกรณ์นี้ไม่ก่อให้เกิดคลื่นรบกวนที่เป็นอันตราย และ (2) อุปกรณ์นี้ต้องยอมรับคลื่นรบกวนใดๆ ที่อาจได้รับ รวมถึงคลื่นรบกวนที่อาจทำให้เกิดการทำงานที่ไม่พึงประสงค์ |
|
FCC ID: OF7RTS24 IC: 3575A-RTS24 |
|
เครื่องมือนี้ผ่านการทดสอบและมีคุณสมบัติตามข้อจำกัดสำหรับอุปกรณ์ดิจิตอล Class B ตามข้อกำหนดของ FCC หมวดที่ 15 ข้อจำกัดเหล่านี้กำหนดขึ้นเพื่อป้องกันสัญญาณรบกวนที่เป็นอันตรายอย่างเหมาะสมสำหรับการติดตั้งภายในที่พักอาศัย อุปกรณ์นี้สร้าง ใช้งาน และสามารถแผ่คลื่นความถี่วิทยุได้ ตลอดจนอาจก่อให้เกิดสัญญาณรบกวนที่เป็นอันตรายต่อการสื่อสารทางวิทยุหากไม่ได้ติดตั้งและใช้งานโดยเป็นไปตามคำแนะนำ อย่างไรก็ตาม ไม่มีการรับประกันว่าคลื่นรบกวนจะไม่เกิดขึ้นในการติดตั้งบางแบบ หากอุปกรณ์นี้ไม่ทำให้เกิดสัญญาณรบกวนที่เป็นอันตรายต่อการรับคลื่นวิทยุหรือโทรทัศน์ ซึ่งสามารถตรวจสอบได้โดยการปิดและเปิดเครื่อง ขอให้ผู้ใช้งานพยายามตรวจสอบแก้ไขสัญญาณรบกวนด้วยวิธีใดวิธีหนึ่งดังต่อไปนี้:
|
|
อาร์เจนตินา |
![]() |
|
ออสเตรเลีย |
![]() |
|
โมร็อกโก |
|
|---|---|
|
AGREE PAR L’ANRT MAROC |
|
|
Numero d’agrement: |
MR00003613ANRT2024 |
|
Delivre d’agrement: |
22/08/2024 |
แคลิฟอร์เนีย
คำเตือนข้อเสนอ 65
ไอเสียจากเครื่องยนต์ดีเซลและองค์ประกอบบางส่วนของไอเสียมีสิ่งที่รัฐแคลิฟอร์เนียทราบว่าเป็นสาเหตุการเกิดโรคมะเร็ง ความพิการแต่กำเนิด และอันตรายต่อระบบสืบพันธุ์อื่นๆ
แท่นแบตเตอรี่ ขั้วแบตเตอรี่ และส่วนประกอบที่เกี่ยวข้องมีตะกั่วและสารประกอบตะกั่วเป็นส่วนผสม ซึ่งเป็นสารเคมีที่รัฐแคลิฟอร์เนียทราบว่าเป็นสาเหตุการเกิดโรคมะเร็ง และเป็นอันตรายต่อระบบสืบพันธุ์ ล้างมือหลังจากหยิบจับ
ผลิตภัณฑ์นี้อาจทำให้คนบาดเจ็บได้ ดังนั้น ปฏิบัติตามคำแนะนำด้านความปลอดภัยทั้งหมดอยู่เสมอเพื่อหลีกเลี่ยงการบาดเจ็บร้ายแรง
อ่านและทำความเข้าใจเนื้อหาของคู่มือผู้ใช้ฉบับนี้ก่อนจะสตาร์ทรถ ทุกคนที่ใช้งานผลิตภัณฑ์นี้ต้องทราบวิธีใช้งานและเข้าใจคำเตือน
โปรดมีสมาธิขณะควบคุมเครื่องจักร อย่าทำกิจกรรมที่ทำให้เสียสมาธิ มิฉะนั้นอาจส่งผลให้เกิดการบาดเจ็บหรือเกิดความเสียหายต่อทรัพย์สินได้
อย่านำมือหรือเท้าเข้าใกล้ชิ้นส่วนเคลื่อนไหวของเครื่องจักร
หากไม่ได้ติดตั้งแผงกั้นและอุปกรณ์นิรภัยอื่นๆ ทั้งหมดบนรถอเนกประสงค์ หรือแผงกั้นและอุปกรณ์นิรภัยทำงานผิดปกติ กรุณาอย่าใช้รถ
กันคนโดยรอบและเด็กๆ ออกจากพื้นที่ทำงาน ห้ามเด็กควบคุมรถโดยเด็ดขาด
หยุดรถ ดับเครื่องยนต์ และดึงกุญแจออกก่อนซ่อมบำรุงหรือเติมเชื้อเพลิง
การใช้งานหรือบำรุงรักษาอย่างไม่ถูกต้องอาจส่งผลให้เกิดการบาดเจ็บขึ้นได้
เพื่อลดโอกาสที่จะเกิดการบาดเจ็บ ให้ปฏิบัติตามคำแนะนำด้านความปลอดภัยและสังเกตสัญลักษณ์เตือนอันตราย
ได้แก่ ข้อควรระวัง คำเตือน
หรืออันตราย ซึ่งเป็นคำแนะนำเพื่อความปลอดภัยส่วนบุคคล การไม่ปฏิบัติตามคำแนะนำเหล่านี้อาจส่งผลให้บาดเจ็บหรือเสียชีวิตได้
![]() |
ป้ายและคำแนะนำด้านความปลอดภัยมองเห็นได้ชัดเจน และติดอยู่ใกล้กับบริเวณที่มีโอกาสเกิดอันตราย เปลี่ยนสติกเกอร์ที่เสียหายหรือหายไป |


























Note: ดูด้านซ้ายและขวาของรถจากตำแหน่งปกติในการควบคุมรถ
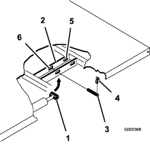
ชิ้นส่วนที่ต้องใช้สำหรับขั้นตอนนี้:
| พวงมาลัย | 1 |
ปลดแถบที่ด้านหลังของพวงมาลัยที่ยึดฝาครอบตรงกลางให้อยู่กับที่ จากนั้นถอดฝาครอบจากกลางพวงมาลัย
ถอดน็อตล็อกและแหวนจากเพลาพวงมาลัย
เลื่อนพวงมาลัยและแหวนลงในเพลา
Note: วางพวงมาลัยบนเพลาโดยให้คานขวางเป็นแนวนอน ขณะที่ล้อชี้ตรงไปข้างหน้า และก้านที่หนากว่าของพวงมาลัยชี้ลงด้านล่าง
Note: บนเพลาพวงมาลัยมีฝากันฝุ่นครอบมาตั้งแต่โรงงาน
ยึดพวงมาลัยเข้ากับเพลาให้แน่นด้วยน็อตล็อก และขันน็อตจนได้แรงบิด 24 ถึง 29 นิวตันเมตร (18 ถึง 22 ฟุตปอนด์) ตามที่แสดงใน รูป 3
วางแถบของฝาครอบให้ตรงกับช่องในพวงมาลัยและกดฝาครอบลงบนกลางพวงมาลัยให้ยึดติดกัน (รูป 3)

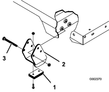
ชิ้นส่วนที่ต้องใช้สำหรับขั้นตอนนี้:
| โครงคุ้มกัน | 1 |
| สลักเกลียวติดจาน (½ x 1¼ นิ้ว) | 6 |
ทาน้ำยาล็อกเกลียวเกรดปานกลาง (ซ่อมบำรุง-เช็ดออกได้) ลงบนเกลียวของสลักเกลียวติดจาน (½ x 1¼ นิ้ว) 6 ตัว
จัดวางโรลบาร์แต่ละด้านให้ตรงกับรูยึดที่แต่ละด้านของโครงรถ (รูป 4)

ยึดโครงยึดโรลบาร์เข้ากับโครงรถให้แน่น โดยใช้สลักเกลียวติดจาน (½ x 1¼ นิ้ว) 3 ตัวที่แต่ละด้าน (รูป 4)
ขันสลักเกลียวติดจาน (½ x 1¼ นิ้ว) จนได้แรงบิด 115 นิวตันเมตร (85 ฟุตปอนด์)
ตรวจสอบระดับน้ำมันเครื่องก่อนและหลังจากสตาร์ทเครื่องยนต์ครั้งแรก โปรดดู การตรวจสอบระดับน้ำมันเครื่อง
ตรวจสอบระดับน้ำมันเกียร์/น้ำมันไฮดรอลิกก่อนสตาร์ทเครื่องยนต์ครั้งแรก โปรดดู การตรวจสอบระดับน้ำมันเพลาส่งกำลัง/ไฮดรอลิก
ตรวจสอบระดับน้ำมันเบรกก่อนสตาร์ทเครื่องยนต์ครั้งแรก โปรดดู การตรวจสอบระดับน้ำมันเบรก
ตรวจสอบแรงดันลมยาง โปรดดู การตรวจสอบแรงดันลมยาง
เพื่อให้ระบบเบรกทำงานด้วยสมรรถนะสูงสุด ให้ขัดเบรกก่อนการใช้งาน
เร่งความเร็วรถสูงสุด เหยียบเบรกหลายๆ ครั้งเพื่อหยุดรถแบบเร็วๆ โดยไม่ทำให้ล้อล็อก
ทำซ้ำขั้นตอนนี้ 10 ครั้ง โดยหยุดรอ 1 นาทีระหว่างแต่ละครั้งเพื่อไม่ให้เบรกร้อนเกินไป
Important: ขั้นตอนนี้จะได้ผลดีที่สุด หากรถบรรทุกสิ่งของน้ำหนัก 454 กก. (1,000 ปอนด์)
ทำความคุ้นเคยกับการควบคุมทั้งหมดก่อนสตาร์ทเครื่องยนต์และใช้งานรถ


ใช้แป้นคันเร่ง (รูป 7) เพื่อเร่งความเร็วขับเคลื่อนบนพื้นของรถเมื่อเข้าเกียร์ การเหยียบแป้นคันเร่งจะเพิ่มความเร็วเครื่องยนต์และความเร็วขับเคลื่อนบนพื้น การปล่อยแป้นคันเร่งจะลดความเร็วเครื่องยนต์และความเร็วภาคพื้นดินลง

คุณต้องเหยียบแป้นคลัตช์จนสุด (รูป 7) เพื่อปลดคลัตช์ขณะสตาร์ทเครื่องยนต์หรือเปลี่ยนเกียร์ ปล่อยแป้นอย่างช้าๆ เมื่อเข้าเกียร์ เพื่อป้องกันการสึกหรอโดยไม่จำเป็นที่เกียร์ และชิ้นส่วนอื่นๆ ที่เกี่ยวข้อง
Important: อย่าเลี้ยงแป้นคลัตช์ระหว่างขับขี่ แป้นคลัตช์ต้องออกมาจนสุด มิฉะนั้นคลัตช์จะเลื่อน ทำให้เกิดความร้อนและสึกหรอ ห้ามเลี้ยงรถหยุดไว้บนเนินโดยใช้แป้นคลัตช์ เพราะคลัตช์อาจเกิดความเสียหายได้
ใช้แป้นเบรกเพื่อหยุดหรือชะลอความเร็วรถ (รูป 7)
การควบคุมรถด้วยเบรกที่สึกหรอหรือเบรกที่ตั้งมาไม่ถูกต้องอาจส่งผลให้เกิดการบาดเจ็บขึ้นได้
หากแป้นเบรกเคลื่อนที่ภายในระยะ 25 มม. (1 นิ้ว) ของพื้นรถ ให้ปรับหรือซ่อมแซมเบรก
เหยียบคลัตช์จนสุดและโยกคันเกียร์ (รูป 8) ไปยังเกียร์ที่ต้องการ แผนผังเกียร์แสดงอยู่ด้านล่าง

Important: อย่าเปลี่ยนเกียร์เป็นเกียร์ถอยหลังหรือเดินหน้า ยกเว้นเมื่อรถไม่เคลื่อนไหว มิฉะนั้นอาจทำให้เพลาส่งกำลังเกิดความเสียหายได้
การเปลี่ยนเกียร์ลงจากความเร็วที่สูงเกินไป อาจทำให้ล้อหลังลื่นไถล ส่งผลให้สูญเสียการควบคุมรถ รวมถึงคลัตช์และระบบส่งกำลังเกิดความเสียหาย
เปลี่ยนเกียร์อย่างนุ่มนวลเพื่อเลี่ยงการบดเกียร์
ล็อกเฟืองท้าย (รูป 9) ช่วยล็อกเพลาท้ายเพื่อเพิ่มแรงยึดเกาะ คุณสามารถใช้ล็อกเฟืองท้ายขณะที่รถกำลังวิ่งอยู่ได้
โยกคันเกียร์ไปข้างหน้าและไปทางขวาเพื่อใช้ล็อก
Note: ล็อกเฟืองท้ายต้องใช้การเคลื่อนไหวของรถกับการเลี้ยวเล็กน้อยเพื่อใช้งานหรือปลดล็อก
การเลี้ยวด้วยล็อกเฟืองท้ายอาจส่งผลให้สูญเสียการควบคุมรถได้
อย่าใช้งานรถที่ใช้งานล็อกเฟืองท้ายขณะเลี้ยวหักศอก หรือวิ่งด้วยความเร็วสูง โปรดดู การปรับสายล็อกเฟืองท้าย

เมื่อคุณดับเครื่องยนต์ ให้ดึงเบรกมือ (รูป 9) เพื่อป้องกันไม่ให้รถเคลื่อนที่โดยไม่ตั้งใจ
หากต้องการใช้เบรกมือ ให้ดึงคันเบรกมือขึ้น
หากต้องการปลดเบรกมือ ให้ดันคันเบรกมือไปข้างหน้า
Note: ปลดเบรกมือก่อนที่ขยับรถ
หากคุณจอดรถบนทางลาดชัน ให้ดึงเบรกมือ เข้าเกียร์หนึ่งบนทางลาดขึ้นเนิน หรือเข้าเกียร์ถอยหลังบนทางลาดลงเนิน และขัดล้อด้านที่ลาดลง
ลิฟต์ไฮดรอลิกยกกระบะท้ายขึ้นและลง โยกไปด้านหลังเพื่อยกกระบะท้าย และโยกไปด้านหน้าเพื่อลดกระบะท้ายลง (รูป 9)
Important: ขณะลดกระบะท้าย จับคันโยกไว้ในตำแหน่งด้านหน้าเป็นเวลา 1 ถึง 2 วินาทีหลังจากกระบะท้ายสัมผัสกับโครงรถ เพื่อยึดกระบะให้มั่นคงในตำแหน่งวางราบ อย่าจับลิฟต์ไฮดรอลิกในตำแหน่งยกขึ้นหรือลดลงนานกว่า 5 วินาที หลังจากกระบอกสูบเคลื่อนมาจนสุดทางแล้ว
ล็อกลิฟต์ไฮดรอลิกทำหน้าที่ยึดคันโยกลิฟต์เอาไว้เพื่อไม่ให้กระบอกสูบไฮดรอลิกทำงานเมื่อรถไม่ได้ติดตั้งกระบะท้าย (รูป 9) และยังล็อกคันโยกลิฟต์ในตำแหน่งเปิด เมื่อใช้งานไฮดรอลิกสำหรับอุปกรณ์ต่อพ่วงด้วย
คันโยกช่วงสูง-ต่ำเพิ่มความเร็วอีก 3 ระดับเพื่อให้ควบคุมความเร็วได้แม่นยำยิ่งขึ้น (รูป 9):
คุณต้องจอดรถสนิทก่อนเปลี่ยนช่วงสูงและต่ำ
เปลี่ยนช่วงบนพื้นราบเท่านั้น
เหยียบแป้นคลัตช์จนสุด
โยกคันโยกไปด้านหน้าจนสุดเพื่อเลือกช่วงสูง และโยกไปด้านหลังจนสุดเพื่อเลือกช่วงต่ำ
ช่วงสูง—สำหรับการขับขี่ความเร็วสูงขึ้นบนพื้นราบและแห้ง พร้อมบรรทุกน้ำหนักเบา
ช่วงต่ำ—สำหรับการขับขี่ความเร็วต่ำ ใช้ช่วงนี้เมื่อจำเป็นต้องใช้กำลังหรือการควบคุมมากกว่าปกติ ตัวอย่างเช่น ทางลาดชัน ทางที่ขับขี่ลำบาก เมื่อบรรทุกน้ำหนักมาก เมื่อใช้ความเร็วต่ำแต่ต้องการความเร็วเครื่องยนต์สูง (การพ่นสเปรย์)
Important: ทั้งนี้มีตำแหน่งระหว่างช่วงสูงและต่ำที่เพลาส่งกำลังไม่ได้อยู่ในช่วงใดเลย แต่อย่าใช้ตำแหน่งนี้เป็นเกียร์ว่าง เนื่องจากรถอาจเคลื่อนที่โดยไม่คาดคิด หากคันโยกช่วงสูง-ต่ำถูกชน และคันเกียร์เข้าเกียร์อยู่
หากต้องการใช้การขับเคลื่อน 4 ล้อแบบกำหนดเอง กดปุ่ม 4WD (รูป 9) บนคอนโซลกลางค้างไว้ในขณะที่รถกำลังเคลื่อนที่ และการขับเคลื่อน 4 ล้อทำงาน
ใช้สวิตช์กุญแจ (รูป 5) เพื่อสตาร์ทและดับเครื่องยนต์
สวิตช์กุญแจมี 3 ตำแหน่ง: ปิด, เปิด และสตาร์ท บิดกุญแจตามเข็มนาฬิกาไปยังตำแหน่ง สตาร์ทเพื่อทำให้มอเตอร์สตาร์ททำงาน ปล่อยสวิตช์กุญแจเมื่อเครื่องยนต์สตาร์ท สวิตช์กุญแจจะหันไปยังตำแหน่ง เปิด โดยอัตโนมัติ
หากต้องการดับเครื่องยนต์ บิดกุญแจทวนเข็มนาฬิกาไปที่ตำแหน่งปิด
บิดเปิดปิด (รูป 5) ไปยังตำแหน่งช้าและดึงกุญแจออก สวิตช์เปิดปิดจะจำกัดความเร็วของเครื่องยนต์ที่ 2,200 รอบต่อนาทีเมื่อเครื่องยนต์เข้าเกียร์สามในช่วงสูง โดยจำกัดความเร็วสูงสุดไว้ที่ 21 กม./ชม. (13 ไมล์ต่อชั่วโมง)
มิเตอร์นับชั่วโมง (รูป 6) จะแสดงเวลารวมทั้งหมดที่อุปกรณ์ทำงาน
มิเตอร์นับชั่วโมงจะเริ่มทำงานเมื่อใดก็ตามที่คุณบิดสวิตช์กุญแจไปที่ตำแหน่งเปิดและความเร็วเครื่องยนต์ (รอบต่อนาที) เร็วกว่า 500 รอบต่อนาทีทุกๆ 6 นาที
โยกสวิตช์ล็อกเกียร์สามสูง (รูป 5) ไปที่ตำแหน่งช้า และดึงกุญแจออกเพื่อป้องกันการใช้เกียร์สามเมื่อใช้งานในช่วงสูง เครื่องยนต์จะดับ หากคันเกียร์เปลี่ยนไปเป็นเกียร์สามขณะอยู่ในช่วงสูง
Note: กุญแจสามารถดึงออกได้ไม่ว่าอยู่ตำแหน่งใด
กดสวิตช์ไฟ (รูป 5) เพื่อเปิดปิดไฟหน้า
ไฟแรงดันน้ำมันเครื่อง (รูป 6) จะติดขึ้นมา หากแรงดันน้ำมันเครื่องตกลงต่ำกว่าระดับที่ปลอดภัยขณะที่เครื่องยนต์กำลังทำงาน
Important: หากไฟนี้กะพริบและติดอยู่ ให้จอดรถ ดับเครื่องยนต์ และตรวจสอบระดับน้ำมันเครื่อง หากระดับน้ำมันต่ำ แต่การเติมน้ำมันไม่ช่วยทำให้ไฟดับไปเมื่อสตาร์ทเครื่องยนต์ ให้ดับเครื่องยนต์ทันที และติดต่อตัวแทนบริการที่ได้รับอนุญาตเพื่อขอความช่วยเหลือ
ตรวจสอบการทำงานของไฟเตือนดังนี้:
ดึงเบรกมือ
บิดสวิตช์กุญแจไปยังตำแหน่ง เปิด/อุ่นเครื่อง แต่ไม่ต้องสตาร์ทเครื่องยนต์
Note: ไฟแรงดันน้ำมันเครื่องควรติดเป็นสีแดง หากไฟไม่ทำงาน แสดงว่าหลอดไฟขาดหรือมีข้อบกพร่องในระบบที่ต้องได้รับการซ่อมแซม
Note: หากเครื่องยนต์เกิดดับไป อาจใช้เวลา 1 ถึง 2 นาทีไฟจึงติดขึ้นมา
ไฟสถานะหัวเทียน (รูป 6) จะติดเป็นสีแดงเมื่อหัวเทียนทำงาน
Important: ไฟสถานะหัวเทียนจะติดขึ้นมา 15 วินาทีเมื่อสวิตช์กลับไปยังตำแหน่ง สตาร์ท
เกจอุณหภูมิน้ำหล่อเย็นและไฟสถานะแสดงอุณหภูมิน้ำหล่อเย็นในเครื่องยนต์ และจะทำงานเฉพาะเมื่อสวิตช์กุญแจอยู่ในตำแหน่งเปิด เท่านั้น (รูป 6)
แถบน้ำยาหล่อเย็น 5 แถบจะกะพริบ หากเครื่องยนต์ร้อนเกินไป
ไฟสถานะการชาร์จจะสว่างเมื่อแบตเตอรี่หมด หากไฟนี้ติดสว่างระหว่างทำงาน ให้จอดรถ ดับเครื่องยนต์ และตรวจสอบสาเหตุที่เป็นไปได้ เช่น สายพานอัลเทอร์เนเตอร์ (รูป 6)
Important: หากสายพานอัลเทอร์เนเตอร์หลวมหรือขาด ห้ามใช้งานรถจนกว่าจะปรับหรือซ่อมแซม การไม่ปฏิบัติตามข้อควรระวังนี้อาจทำให้เครื่องยนต์เสียหาย
ตรวจสอบการทำงานของไฟเตือนดังนี้:
ดึงเบรกมือ
บิดสวิตช์กุญแจไปยังตำแหน่ง เปิด/อุ่นเครื่อง แต่ไม่ต้องสตาร์ทเครื่องยนต์ ไฟอุณหภูมิน้ำหล่อเย็น ไฟสถานะการชาร์จ และไฟสถานะแรงดันน้ำมันควรติดสว่าง หากไฟใดๆ ไม่ทำงาน แสดงว่าหลอดไฟขาดหรือมีข้อบกพร่องในระบบที่ต้องซ่อมแซม
เกจเชื้อเพลิงแสดงปริมาณเชื้อเพลิงในถัง โดยจะแสดงเฉพาะเมื่อสวิตช์กุญแจอยู่ในตำแหน่งเปิด เท่านั้น (รูป 6)
หากขึ้นแถบเดียวแสดงว่าเชื้อเพลิงเหลือน้อย หากขึ้นแถบเดียวและกะพริบ แสดงว่าเชื้อเพลิงใกล้จะหมดถัง
เมื่อสวิตช์ 4WD (รูป 5) เปิดอยู่ รถจะใช้การขับเคลื่อน 4 ล้อโดยอัตโนมัติ หากเซ็นเซอร์ตรวจพบว่าล้อหลังหมุนอิสระ เมื่อการขับเคลื่อน 4 ล้อทำงาน ไฟสวิตช์ 4WD จะติดขึ้นมา
4WD ทำงานเฉพาะทิศทางเดินหน้าเท่านั้นในโหมดอัตโนมัติเท่านั้น หากคุณต้องการถอยหลัง ให้กดปุ่ม 4WD
เปิดสวิตช์เพื่อใช้งานไฮดรอลิกการไหลสูง (รูป 5)
สวิตช์แตรอยู่บนแผงควบคุม (รูป 5) กดสวิตช์แตรเพื่อให้เสียงแตรดัง
มาตรอัตรารอบแสดงความเร็วเครื่องยนต์ (รูป 6)
Note: ความเร็วเครื่องยนต์ที่เหมาะสมสำหรับการใช้งาน PTO ที่ 540 รอบต่อนาทีคือ 3,300 รอบต่อนาที
มาตรความเร็วแสดงความเร็วขับเคลื่อนบนพื้นของรถ (รูป 6)
ใช้จุดต่อไฟฟ้า (รูป 5) เพื่อจ่ายไฟให้กับอุปกรณ์เสริมที่ใช้ไฟฟ้า 12 โวลต์
มือจับฝั่งผู้โดยสารอยู่บนแผงหน้าปัด (รูป 10)

คุณสามารถปรับเบาะไปข้างหน้าหรือข้างหลังได้เพื่อความสบาย (รูป 11)

Note: ข้อมูลจำเพาะและการออกแบบอาจมีการเปลี่ยนแปลงโดยไม่ต้องแจ้งให้ทราบ
| ความกว้างโดยรวม | 160 ซม. (63 นิ้ว) |
| ความยาวโดยรวม | ไม่มีกระบะท้าย: 326 ซม. (128 นิ้ว) |
| มีกระบะท้ายแบบเต็มกระบะ: 331 ซม. (130 นิ้ว) | |
| มีกระบะท้ายแบบ 2/3 ส่วนที่ตำแหน่งยึดด้านท้าย: 346 ซม. (136 นิ้ว) | |
| น้ำหนักฐาน (แห้ง) | รุ่น 07385: 887 กก. (1,956 ปอนด์) |
| รุ่น 07385TC: 924 กก. (2,037 ปอนด์) | |
| รุ่น 07387: 914 กก. (2,015 ปอนด์) | |
| รุ่น 07387TC: 951 กก. (2,096 ปอนด์) | |
| น้ำหนักประเมิน (รวมคนขับหนัก 91 กก. (200 ปอนด์), ผู้โดยสารหนัก 91 กก. (200 ปอนด์) และอุปกรณ์ต่อพ่วงที่บรรทุกน้ำหนัก) | รุ่น 07385: 1,471 กก. (3,244 ปอนด์) |
| รุ่น 07385TC: 1,435 กก. (3,163 ปอนด์) | |
| รุ่น 07387: 1,445 กก. (3,185 ปอนด์) | |
| รุ่น 07387TC: 1,408 กก. (3,104 ปอนด์) | |
| น้ำหนักยานยนต์รวบยอด (GVW) | 2,359 กก. (5,200 ปอนด์) |
| น้ำหนักลากจูง | น้ำหนักของตัวยึด: 272 กก. (600 ปอนด์) |
| น้ำหนักรถพ่วงสูงสุด: 1,587 กก. (3,500 ปอนด์) | |
| ความสูงจากพื้น | 18 ซม. (7 นิ้ว) ไม่มีน้ำหนักบรรทุก |
| ฐานล้อ | 118 ซม. (70 นิ้ว) |
| หน้ายาง (เส้นกลางถึงเส้นกลาง) | หน้า: 117 ซม. (46 นิ้ว) |
| หลัง: 121 ซม. (48 นิ้ว) | |
| ความสูง | 191 ซม. (75 นิ้ว) ถึงด้านบนของโรลบาร์ |
เราจัดจำหน่ายอุปกรณ์ต่อพ่วงและอุปกรณ์เสริมที่ Toro รับรองมากมายสำหรับใช้กับรถ เพื่อเสริมประสิทธิภาพและขยายความสามารถ โปรดติดต่อตัวแทนบริการหรือตัวแทนจำหน่ายที่ได้รับอนุญาต หรือเข้าไปที่ www.Toro.com เพื่อดูรายการอุปกรณ์ต่อพ่วงและอุปกรณ์เสริมที่รับรองทั้งหมด
เพื่อสมรรถนะสูงสุดและความปลอดภัยในการใช้งานอย่างต่อเนื่อง โปรดใช้เฉพาะอะไหล่ทดแทนและอุปกรณ์เสริมของแท้จาก Toro อะไหล่ทดแทนและอุปกรณ์เสริมที่ผลิตโดยผู้ผลิตรายอื่นอาจเป็นอันตราย และการใช้งานดังกล่าวอาจทำให้การรับประกันผลิตภัณฑ์เป็นโมฆะ
ห้ามอนุญาตให้เด็ก หรือผู้ที่ไม่ผ่านการฝึกอบรม หรือผู้ที่สภาพร่างกายไม่เหมาะสมควบคุมหรือซ่อมบำรุงรถโดยเด็ดขาด กฎหมายท้องถิ่นอาจจำกัดอายุของผู้ขับขี่ เจ้าของเป็นผู้รับผิดชอบในการจัดการฝึกอบรมให้กับผู้ควบคุมและช่างซ่อมบำรุง
ทำความคุ้นเคยกับการใช้งานอุปกรณ์อย่างปลอดภัย ระบบควบคุมของผู้ขับขี่ และป้ายความปลอดภัย
ดับเครื่องยนต์ ถอดกุญแจ และรอให้รถหยุดนิ่งก่อนจะลุกออกจากที่นั่งคนขับ รอให้เครื่องยนต์เย็นลงก่อนปรับ ซ่อมบำรุง ทำความสะอาด หรือจัดเก็บรถ
เรียนรู้วิธีหยุดและดับเครื่องยนต์อย่างรวดเร็ว
ตรวจสอบให้แน่ใจว่าไม่มีผู้โดยสาร (คุณและผู้โดยสาร) เกินจำนวนของมือจับที่ติดตั้งไว้ในรถ
ตรวจสอบว่ามีอุปกรณ์นิรภัยและสติกเกอร์อย่างครบถ้วน ซ่อมแซมหรือเปลี่ยนอุปกรณ์นิรภัยทั้งหมด และเปลี่ยนสติกเกอร์ทั้งหมดที่อ่านไม่ออกหรือหายไป ใช้งานเฉพาะรถที่มีสภาพดีและทำงานได้อย่างเหมาะสมเท่านั้น
โปรดใช้ความระมัดระวังอย่างยิ่งเมื่อจัดการกับน้ำมัน น้ำมันเป็นวัตถุติดไฟได้และละอองน้ำมันอาจระเบิดได้
ดับบุหรี่ ซิการ์ ไปป์ และแหล่งจุดไฟอื่นๆ ให้หมด
ใช้เฉพาะภาชนะบรรจุน้ำมันที่ผ่านการรับรองเท่านั้น
อย่าเปิดฝาถังเชื้อเพลิงหรือเติมน้ำมันเชื้อเพลิงในขณะที่เครื่องยนต์กำลังทำงานหรือร้อนอยู่
อย่าเติมหรือระบายน้ำมันในพื้นที่อับ
อย่าจัดเก็บอุปกรณ์หรือภาชนะบรรจุน้ำมันในที่ที่มีเปลวไฟ ประกายไฟ หรือไฟนำร่อง เช่น บนเครื่องทำน้ำร้อน หรือเครื่องใช้ไฟฟ้าอื่นๆ
หากน้ำมันหก อย่าพยายามสตาร์ทเครื่องยนต์ หลีกเลี่ยงการสร้างแหล่งจุดไฟจนกว่าละอองน้ำมันจะระเหยไป
| ระยะการซ่อมบำรุง | ขั้นตอนการบำรุงรักษา |
|---|---|
| ก่อนการใช้งานแต่ละครั้งหรือทุกวัน |
|
ก่อนสตาร์ทเครื่องยนต์แต่ละวัน ให้ทำตามขั้นตอนการใช้แต่ละครั้ง/ขั้นตอนประจำตัวที่ระบุใน
| ระยะการซ่อมบำรุง | ขั้นตอนการบำรุงรักษา |
|---|---|
| ก่อนการใช้งานแต่ละครั้งหรือทุกวัน |
|
ข้อมูลจำเพาะแรงดันลมยางล้อหน้า: 220 กิโลปาสกาล (32 ปอนด์ต่อตร.นิ้ว)
ข้อมูลจำเพาะแรงดันลมยางล้อหลัง: 124 กิโลปาสกาล (18 ปอนด์ต่อตร.นิ้ว)
Important: ตรวจสอบแรงดันลมยางเป็นประจำเพื่อรับรองแรงดันที่เหมาะสม หากยางไม่มีแรงดันลมยางที่เหมาะสม ยางอาจสึกหรอก่อนกำหนด และอาจส่งผลให้เพลาขับเคลื่อน 4 ล้อหักงอได้
รูป 12 แสดงตัวอย่างยางสึกหรอที่เกิดจากยางแบน

รูป 13 แสดงตัวอย่างยางสึกหรอที่เกิดจากยางบวม

ใช้เฉพาะน้ำมันดีเซลหรือไบโอดีเซลที่สะอาดและใหม่ ซึ่งมีค่าซัลเฟอร์ต่ำ (น้อยกว่า 500 ส่วนต่อมิลลิลิตร) หรือต่ำพิเศษ (น้อยกว่า 15 ส่วนต่อมิลลิลิตร) เท่านั้น อัตราซีเทนขั้นต่ำควรเท่ากับ 40 ซื้อน้ำมันในปริมาณที่คุณจะใช้ได้ภายใน 180 วันเพื่อรับรองว่าน้ำมันใหม่
ใช้น้ำมันดีเซลเกรดฤดูร้อน (หมายเลข 2-D) ที่มีอุณหภูมิสูงกว่า -7°C (20°F) และน้ำมันดีเซลเกรดฤดูหนาว (หมายเลข 1-D หรือหมายเลข 1-D/2-D ผสม) ในที่ที่มีอุณหภูมิต่ำกว่านั้น
การใช้น้ำมันเกรดฤดูหนาวที่อุณหภูมิต่ำทำให้น้ำมันมีจุดวาบไฟและจุดไหลเทในอากาศหนาวต่ำลง ช่วยให้สตาร์ทเครื่องยนต์ง่ายขึ้น และลดตัวกรองเชื้อเพลิงอุดตัน
Note: การใช้น้ำมันเกรดฤดูร้อนที่อุณหภูมิสูงกว่า -7°C (20°F) ทำให้ปั๊มเชื้อเพลิงมีอายุการใช้งานยาวนานขึ้น และเพิ่มกำลังเครื่องยนต์เมื่อเทียบกับน้ำมันเกรดฤดูหนาว
Important: ห้ามใช้น้ำมันก๊าดหรือน้ำมันเบนซินแทนน้ำมันดีเซล การไม่ปฏิบัติตามข้อควรระวังนี้อาจทำให้เครื่องยนต์เสียหายได้
รถคันนี้สามารถใช้น้ำมันผสมไบโอดีเซลได้สูงสุดถึง B20 (ไบโอดีเซล 20%, ปิโตรดีเซล 80%) ส่วนของปิโตรดีเซลควรมีซัลเฟอร์ระดับต่ำหรือต่ำพิเศษ ปฏิบัติตามข้อควรระวังดังต่อไปนี้:
ส่วนของไบโอดีเซลในเชื้อเพลิงต้องตรงตามข้อกำหนด ASTM D6751 หรือ EN14214
ส่วนประกอบเชื้อเพลิงผสมควรเป็นไปตาม ASTM D975 หรือ EN590
สีของรถอาจเสียหายหากสัมผัสโดนส่วนผสมไบโอดีเซล
ใช้น้ำมัน B5 (ไบโอดีเซลสัดส่วน 5%) หรือสัดส่วนผสมที่น้อยกว่านี้ในสภาพอากาศหนาวเย็น
ตรวจสอบซีล ท่อ ปะเก็นที่สัมผัสกับน้ำมันเชื้อเพลิง เนื่องจากชิ้นส่วนเหล่านี้อาจเสื่อมสภาพเมื่อเวลาผ่านไป
ตัวกรองเชื้อเพลิงอาจจะอุดตันหลังจากเปลี่ยนไปใช้น้ำมันผสมไบโอดีเซล
ติดต่อตัวแทนจำหน่ายเพื่อขอข้อมูลเพิ่มเติมเกี่ยวไบโอดีเซล
ความจุถังน้ำมัน: 22 ลิตร (5.85 แกลลอนสหรัฐ)
ทำความสะอาดบริเวณรอบฝาถังน้ำมัน
เปิดฝาถังน้ำมัน (รูป 14)

เติมน้ำมันจนกระทั่งระดับน้ำมันอยู่ต่ำกว่าด้านบนสุดของถังเล็กน้อย (ใต้ช่องเติม) และใส่ฝากลับเข้าที่
Note: อย่าเติมน้ำมันมากเกินไป
เช็ดน้ำมันที่หกออกมาเพื่อป้องกันอันตรายจากไฟไหม้
| ระยะการซ่อมบำรุง | ขั้นตอนการบำรุงรักษา |
|---|---|
| หลังจาก 100 ชั่วโมงแรก |
|
การปฏิบัติตามขั้นตอนต่อไปนี้เพื่อทำให้รถมีประสิทธิภาพที่เหมาะสม:
ตรวจสอบให้แน่ใจว่ามีการขัดเบรกแล้ว โปรดดู การขัดเบรก
ตรวจสอบระดับน้ำยาและน้ำมันเครื่องเป็นประจำ คอยสังเกตสัญญาณที่บ่งบอกว่ารถหรือส่วนประกอบร้อนเกินไป
หลังจากสตาร์ทเครื่องยนต์ที่เย็น อุ่นเครื่องประมาณ 15 นาทีก่อนใช้งานรถ
Note: อุ่นเครื่องนานขึ้นเพื่อให้เครื่องยนต์อุ่นขึ้นเมื่อใช้งานในที่ที่มีอุณหภูมิหนาวเย็น
คอยเปลี่ยนความเร็วรถขณะใช้งาน หลีกเลี่ยงการสตาร์ทเร็วและการหยุดฉับพลัน
ไม่จำเป็นต้องใช้น้ำมันเบรกอินสำหรับเครื่องยนต์ น้ำมันเครื่องที่ให้มากับรถเป็นน้ำมันประเภทเดียวกับที่ระบุไว้ ซึ่งต้องเปลี่ยนน้ำมันเครื่องเป็นประจำ
โปรดดู สำหรับการตรวจสอบพิเศษและการตรวจสอบเมื่อไม่ใช้งาน
| ระยะการซ่อมบำรุง | ขั้นตอนการบำรุงรักษา |
|---|---|
| ก่อนการใช้งานแต่ละครั้งหรือทุกวัน |
|
วัตถุประสงค์ของระบบอินเทอร์ล็อกนิรภัย คือ เพื่อป้องกันไม่ให้เครื่องยนต์กระตุกหรือสตาร์ท ยกเว้นตอนคุณเหยียบแป้นคลัตช์เท่านั้น
หากสวิตช์อินเทอร์ล็อกนิรภัยขาดหรือชำรุด รถอาจทำงานผิดปกติ ทำให้เกิดการบาดเจ็บขึ้นได้
อย่าดัดแปลงสวิตช์อินเทอร์ล็อกนิรภัย
ตรวจสอบการทำงานของสวิตช์อินเทอร์ล็อกนิรภัยทุกวัน และเปลี่ยนสวิตช์ที่ชำรุดก่อนใช้งานรถ
Note: ดูขั้นตอนการตรวจสอบระบบอินเทอร์ล็อกที่ติดตั้งมาได้จากคู่มือผู้ใช้ที่แนบมา
นั่งในที่นั่งคนขับแล้วดึงเบรกมือ
เปลี่ยนเกียร์ไปตำแหน่งเกียร์ว่าง
Note: เครื่องยนต์จะไม่สตาร์ทหากคันโยกลิฟต์ไฮดรอลิกล็อกอยู่ในตำแหน่งเดินหน้า
บิดสวิตช์กุญแจตามเข็มนาฬิกาไปที่ตำแหน่งสตาร์ท โดยไม่ต้องเหยียบแป้นคลัตช์
Note: หากเครื่องยนต์กระตุกหรือสตาร์ท แสดงว่ามีความผิดปกติในระบบอินเทอร์ล็อกที่ต้องซ่อมแซมก่อนการใช้รถ
นั่งในที่นั่งคนขับแล้วดึงเบรกมือ
เปลี่ยนคันเกียร์ไปที่ตำแหน่งเกียร์ว่าง และตรวจสอบให้แน่ใจว่าคันโยกลิฟต์ไฮดรอลิกอยู่ในตำแหน่งตรงกลาง
เหยียบแป้นคลัตช์
โยกคันโยกไฮดรอลิกไปข้างหน้า และบิดสวิตช์กุญแจไปที่ตำแหน่งสตาร์ท
Note: หากเครื่องยนต์กระตุกหรือสตาร์ท แสดงว่ามีความผิดปกติในระบบอินเทอร์ล็อกที่ต้องซ่อมแซมก่อนการใช้รถ
เจ้าของ/ผู้ควบคุมสามารถป้องกันอุบัติเหตุได้ และยังเป็นผู้รับผิดชอบอุบัติเหตุที่อาจส่งผลให้เกิดการบาดเจ็บหรือความเสียหายต่อทรัพย์สินด้วย
ผู้โดยสารควรนั่งในตำแหน่งที่นั่งที่กำหนดเท่านั้น อย่าขนส่งผู้โดยสารบนกระบะท้าย กันคนโดยรอบและเด็กๆ ออกจากพื้นที่ทำงาน
สวมใส่เสื้อผ้าที่เหมาะสม รวมถึงอุปกรณ์ป้องกันดวงตา กางเกงขายาว รองเท้ากันลื่นที่แน่นหนา และอุปกรณ์ป้องกันการได้ยิน ถ้าผมยาวให้มัดไปข้างหลังและอย่าสวมใส่เสื้อผ้าหลวมหรือเครื่องประดับที่หย่อน
โปรดมีสมาธิขณะควบคุมเครื่องจักร อย่าทำกิจกรรมที่ทำให้เสียสมาธิ มิฉะนั้นอาจส่งผลให้เกิดการบาดเจ็บหรือเกิดความเสียหายต่อทรัพย์สินได้
อย่าขับรถขณะป่วย เหนื่อยล้า หรืออยู่ภายใต้ฤทธิ์ของแอลกอฮอล์หรือยาเสพติด
ขับรถในที่กลางแจ้งหรือในพื้นที่ที่ระบายอากาศดีเท่านั้น
อย่าบรรทุกเกินน้ำหนักยานยนต์รวบยอด (GVW)
ใช้ความระมัดระวังเป็นพิเศษขณะควบคุมเบรกหรือขณะเลี้ยวหากบรรทุกสิ่งของหนักบนกระบะหลัง
การบรรทุกสิ่งของที่มีขนาดใหญ่เกินไปบนกระบะท้ายจะลดเสถียรภาพของรถ ห้ามบรรทุกน้ำหนักเกินความจุของกระบะ
การบรรทุกวัสดุที่ไม่สามารถผูกติดกับรถได้ส่งผลกระทบที่ไม่พึงประสงค์ต่อการบังคับทิศทาง การเบรก และเสถียรภาพของรถ เมื่อคุณบรรทุกวัสดุที่ไม่สามารถผูกติดกับรถได้ ให้ใช้ความระมัดระวังขณะบังคับทิศทางหรือเบรก
บรรทุกสิ่งของที่เบาลงหรือลดความเร็วของรถขณะวิ่งบนทางขรุขระ ไม่สม่ำเสมอ และอยู่ใกล้ขอบทางเดิน หลุมบ่อ และเมื่อทางเปลี่ยนแปลงฉับพลัน น้ำหนักอาจถ่ายเท ทำให้รถไม่มั่นคงได้
ก่อนสตาร์ทรถ เกียร์จะต้องอยู่ในตำแหน่งว่าง เบรกมือดึงอยู่ และคุณอยู่ในตำแหน่งคนขับ
คุณและผู้โดยสารควรอยู่ในเบาะที่นั่งขณะที่รถกำลังแล่น วางมือบนพวงมาลัย ผู้โดยสารควรใช้มือจับที่เตรียมไว้ให้ เก็บแขนและขาอยู่ภายในตัวรถตลอดเวลา
ใช้งานอุปกรณ์ในสถานที่ที่มองเห็นทัศนวิสัยดีเท่านั้น ระมัดระวังหลุมบ่อ แอ่ง เนิน หิน หรือวัตถุอื่นๆ ที่ซ่อนอยู่ ทางที่ไม่ราบเรียบอาจทำให้อุปกรณ์พลิกคว่ำได้ หญ้าสูงอาจทำให้มองไม่เห็นสิ่งกีดขวาง ใช้ความระมัดระวังเมื่อเข้าใกล้มุมอับ พุ่มไม้ ต้นไม้ หรือวัตถุอื่นๆ ที่อาจขัดขวางการมองเห็น
อย่าขับรถเข้าใกล้ทางชัน คลอง หรือทำนบ เพราะรถอาจพลิกคว่ำฉับพลัน หากล้อข้ามขอบหรือขอบลาดลงไป
ระมัดระวังและหลีกเลี่ยงสิ่งที่ยื่นลงมา เช่น กิ่งไม้ วงกบประตู ทางเดินเหนือศีรษะ ฯลฯ
มองไปข้างหลังและมองลงก่อนถอยรถ เพื่อให้แน่ใจว่าเส้นทางโล่ง
เมื่อใช้รถบนถนนสาธารณะ ให้ปฏิบัติตามกฎจราจรทุกข้อ และใช้อุปกรณ์เสริมที่กฎหมายอาจกำหนด เช่น ไฟ สัญญาณ ไฟเลี้ยว ป้ายยานยนต์เคลื่อนที่ช้า (SMV) และสิ่งที่จำเป็นอื่นๆ
หากรถสั่นผิดปกติ ให้หยุดและดับเครื่องยนต์ทันที รอจนกว่ารถหยุดเคลื่อนที่ และตรวจสอบความเสียหาย ซ่อมแซมความเสียหายทั้งหมดก่อนกลับไปใช้งานต่อ
บนพื้นเปียกรถอาจใช้เวลาหยุดนานกว่าบนพื้นแห้ง หากต้องการแก้ไขเบรกที่เปียก ให้ขับช้าๆ บนพื้นราบ พลางเหยียบแป้นเบรกเบาๆ
การขับรถด้วยความเร็วสูง จากนั้นหยุดฉับพลันอาจทำให้ล้อหลังล็อก ซึ่งทำให้คุณเสียการควบคุมรถได้
อย่าสัมผัสเครื่องยนต์ เกียร์ ท่อไอเสีย ท่อรวมไอเสียในขณะที่เครื่องยนต์กำลังทำงาน หรือทันทีหลังจากดับเครื่องยนต์ เพราะบริเวณเหล่านี้อาจร้อนมากจนลวกผิวหนังได้
ห้ามปล่อยรถที่ติดเครื่องทิ้งไว้โดยไม่มีผู้ดูแล
ก่อนลุกจากตำแหน่งคนขับ ให้ปฏิบัติตามดังนี้:
จอดรถบนพื้นราบ
เปลี่ยนเกียร์ไปตำแหน่งเกียร์ว่าง
ดึงเบรกมือ
ลดกระบะท้ายลง
ดับเครื่องยนต์และดึงกุญแจออก
รอให้การเคลื่อนไหวหยุดนิ่ง
อย่าขับรถเมื่อมีความเสี่ยงที่จะเกิดฟ้าผ่า
ใช้อุปกรณ์เสริมและอุปกรณ์ต่อพ่วงที่บริษัท Toro® รับรองเท่านั้น
ROPS เป็นอุปกรณ์นิรภัยที่สำคัญ
อย่าถอด ROPS ออกจากรถ
คาดเข็มขัดนิรภัยอยู่เสมอ โดยตรวจสอบให้แน่ใจว่าเข็มขัดนิรภัยแน่นหนาและปลดออกได้อย่างรวดเร็วในกรณีฉุกเฉิน
คอยระมัดระวังสิ่งกีดขวางเหนือศีรษะเพื่อไม่ให้ชน
ดูแลรักษา ROPS ให้อยู่ในสภาพดีพร้อมการทำงาน โดยตรวจสอบอย่างละเอียดเป็นครั้งคราวเพื่อหาความเสียหาย และตัวยึดให้ยึดแน่นหนา
เปลี่ยนส่วนประกอบ ROPS ที่ชำรุด ห้ามซ่อมแซมหรือดัดแปลง
ทางลาดเป็นปัจจัยสำคัญที่เกี่ยวข้องกับการสูญเสียการควบคุมและอุบัติเหตุพลิกคว่ำ ซึ่งส่งผลให้เกิดการบาดเจ็บร้ายแรงและการเสียชีวิตได้
สำรวจบริเวณที่ทำงานเพื่อประเมินว่าทางลาดใดปลอดภัยสำหรับการขับรถ และกำหนดขั้นตอนปฏิบัติและกฎของคุณเองสำหรับการขับรถบนทางลาดเหล่านี้ ใช้เหตุและผลและวิจารณญาณที่ดีขณะสำรวจ
หากคุณรู้สึกไม่สบายใจที่จะขับอุปกรณ์บนทางลาดใด อย่าขับ
เคลื่อนที่บนทางลาดอย่างช้าๆ และค่อยเป็นค่อยไป อย่าเปลี่ยนความเร็วหรือทิศทางอุปกรณ์อย่างฉับพลัน
หลีกเลี่ยงการขับอุปกรณ์บนทางเปียก เพราะล้ออาจจะไม่ยึดเกาะถนน อุปกรณ์อาจพลิกคว่ำได้ก่อนที่ล้อจะยึดเกาะถนน
วิ่งตรงขณะขึ้นและลงทางลาด
หากคุณเริ่มเสียการทรงตัวขณะขึ้นทางลาด ค่อยๆ เหยียบเบรก และถอยรถช้าๆ ตรงๆ ลงทางลาด
การหักเลี้ยวขณะขึ้นหรือลงทางลาดอาจเป็นอันตรายได้ หากคุณต้องเลี้ยวบนทางลาด ให้ทำอย่างช้าๆ และระมัดระวัง
การบรรทุกของหนักส่งผลต่อความเสถียรของรถบนทางลาด บรรทุกสิ่งของเบาลงหรือลดความเร็วรถขณะวิ่งบนทางลาดหรือถ้าสิ่งของที่บรรทุกมีจุดศูนย์ถ่วงสูง ยึดสิ่งของบรรทุกเข้ากับกระบะท้ายรถ เพื่อป้องกันไม่ให้สิ่งของถ่ายเทน้ำหนัก ใช้ความระมัดระวังเป็นพิเศษเมื่อบรรทุกสิ่งของที่ถ่ายเทน้ำหนักง่าย (เช่น ของเหลว หิน ทราย ฯลฯ)
หลีกเลี่ยงการสตาร์ท การจอด หรือการหักเลี้ยวรถบนทางลาด โดยเฉพาะเมื่อบรรทุกสิ่งของอยู่ การจอดรถขณะลงจากทางลาดใช้เวลานานกว่าการจอดรถบนทางราบ ถ้าคุณต้องจอดรถ หลีกเลี่ยงการเปลี่ยนความเร็วฉับพลัน ซึ่งอาจทำให้รถเอียงหรือพลิกคว่ำได้ อย่าเหยียบเบรกฉับพลันเมื่อล้อหมุนฟรี เนื่องจากอาจทำให้รถพลิกคว่ำได้
อย่าบรรทุกเกินน้ำหนักยานยนต์รวบยอด (GVW) เมื่อขับขี่โดยบรรทุกสิ่งของในกระบะท้าย และ/หรือขณะลากจูงรถพ่วง โปรดดู ข้อมูลจำเพาะ
กระจายน้ำหนักของสิ่งของที่บรรทุกบนกระบะท้ายให้เท่าๆ กันเพื่อเพิ่มความเสถียรและการควบคุมรถ
ก่อนเทกระบะท้าย ตรวจสอบให้แน่ใจว่าไม่มีคนอยู่หลังรถ
อย่าเทสิ่งของที่บรรทุกอยู่บนกระบะท้ายขณะที่รถจอดเอียงๆ บนทางลาด หากกระจายน้ำหนักเปลี่ยนแปลงไปอาจทำให้รถพลิกคว่ำได้
กระบะท้ายที่ยกอยู่อาจตกลงมาและทำให้คนที่ทำงานอยู่ข้างล่างบาดเจ็บได้
ใช้ก้านค้ำยันหนุนกระบะท้ายขึ้นก่อนทำงานใต้กระบะท้ายเสมอ
ขนวัสดุที่บรรทุกออกมาก่อนยกกระบะท้ายขึ้น
การขับขี่รถที่ยกกระบะท้ายขึ้นอาจทำให้รถเอียงหรือพลิกคว่ำง่ายขึ้น การขับรถที่ยกกระบะท้ายขึ้นอาจทำให้โครงสร้างของกระบะท้ายเสียหาย
ขับรถที่กระบะท้ายวางลง
หลังจากเทสิ่งของที่บรรทุกแล้ว ให้ยกกระบะท้ายลง
หากวางน้ำหนักบรรทุกถ่วงไว้ที่ด้านหลังของกระบะท้าย เมื่อคุณปลดสลัก กระบะท้ายอาจเอียงเปิดโดยไม่คาดคิด ซึ่งเป็นอันตรายต่อตัวคุณและคนที่อยู่รอบข้าง
จัดวางให้น้ำหนักถ่วงอยู่บริเวณกลางกระบะท้าย ถ้าทำได้
วางกระบะท้ายลง และตรวจสอบให้แน่ใจว่าไม่มีใครพิงกระบะท้ายหรือยืนอยู่ข้างหลัง ขณะปลดสลัก
นำสิ่งของทั้งหมดออกจากกระบะท้ายก่อนยกกระบะขึ้นเพื่อซ่อมบำรุงรถ
โยกคันบังคับไปด้านหลังเพื่อยกกระบะท้าย (รูป 15)

น้ำหนักของกระบะท้ายอาจจะหนัก ดังนั้นมือหรือส่วนอื่นๆ ของร่างกายอาจถูกบดทับได้
เก็บมือและส่วนอื่นๆ ของร่างกายให้อยู่ห่างขณะลดกระบะท้ายลง
โยกคันบังคับไปข้างหน้าเพื่อลดกระบะท้ายลง (รูป 15)
ตรวจสอบให้แน่ใจว่ากระบะท้ายวางราบและยึดสลักแล้ว
เปิดสลักที่ฝั่งซ้ายและขวาของกระบะท้ายและลดประตูท้ายลง (รูป 16)

นั่งในที่นั่งคนขับแล้วดึงเบรกมือ
ปลด PTO และไฮดรอลิกการไหลสูง (ถ้าเปิดอยู่) และโยกคันโยกลิ้นเร่งไปยังตำแหน่ง ปิด (ถ้าเปิดอยู่)
เปลี่ยนเกียร์ไปตำแหน่งเกียร์ว่าง และเหยียบแป้นคลัตช์
ตรวจสอบให้แน่ใจว่าคันโยกลิฟต์ไฮดรอลิกอยู่ในตำแหน่งตรงกลาง
ไม่ต้องเหยียบแป้นคันเร่ง
บิดสวิตช์กุญแจไปที่ตำแหน่ง เปิด
Note: เมื่อไฟสถานะหัวเทียนติดขึ้นมาแสดงว่า เครื่องยนต์พร้อมสตาร์ทแล้ว
บิดสวิตช์กุญแจไปยังตำแหน่ง สตาร์ท
Note: ปล่อยกุญแจทันทีเมื่อเครื่องยนต์สตาร์ท และปล่อยให้กุญแจกลับไปยังตำแหน่ง ทำงาน
Note: ไฟสถานะหัวเทียนจะติดต่อไปอีก 15 วินาทีเมื่อสวิตช์กลับไปยังตำแหน่ง ทำงาน
Note: ห้ามสตาร์ทมอเตอร์นานเกิน 10 วินาทีในแต่ละครั้ง มิฉะนั้นอาจทำให้สตาร์ทเตอร์ชำรุดก่อนกำหนด หากเครื่องยนต์ไม่สตาร์ทหลังจาก 10 วินาที บิดกุญแจไปที่ตำแหน่ง ปิด ตรวจสอบระบบควบคุมและขั้นตอนการสตาร์ท รออีก 10 วินาที และทำซ้ำขั้นตอนการสตาร์ท
หากต้องการเปิดใช้ระบบขับเคลื่อน 4 ล้ออัตโนมัติ ให้กดด้านบนของสวิตช์กระดกไปยังตำแหน่ง 4X4 อัตโนมัติ (รูป 17)

เมื่อสวิตช์ 4WD เปิดอยู่ รถจะใช้การขับเคลื่อน 4 ล้อโดยอัตโนมัติ หากเซ็นเซอร์ตรวจพบว่าล้อหลังหมุนอิสระ เมื่อการขับเคลื่อน 4 ล้อทำงาน ไฟสวิตช์ 4WD จะติดขึ้นมา
Important: เมื่อถอยหลัง รถจะไม่ใช้งานระบบขับเคลื่อน 4 ล้อโดยอัตโนมัติ ขณะถอยหลัง คุณต้องสั่งการระบบขับเคลื่อน 4 ล้อด้วยตัวเองโดยการใช้ปุ่ม 4WD
หากต้องการใช้การขับเคลื่อน 4 ล้อแบบกำหนดเอง กดปุ่ม 4WD บนคอนโซลกลางค้างไว้ในขณะที่รถกำลังเคลื่อนที่ และการขับเคลื่อน 4 ล้อทำงาน
Note: ระบบขับเคลื่อน 4 ล้อจะทำงานเท่าที่คุณกดปุ่มค้างไว้ สวิตช์ 4WD ไม่จำเป็นต้องอยู่ในตำแหน่งอัตโนมัติ เพื่อสั่งการใช้งานระบบขับเคลื่อน 4 ล้อด้วยตัวเอง
ปลดเบรกมือ
เหยียบแป้นคลัตช์จนสุด
เปลี่ยนเกียร์ไปยังเกียร์หนึ่ง
ค่อยๆ ยกเท้าออกจากแป้นคลัตช์ขณะที่ยังเหยียบแป้นคันเร่งอยู่
เมื่อรถวิ่งด้วยความเร็วที่เพียงพอแล้ว ถอนเท้าออกจากแป้นคันเร่ง เหยียบแป้นคลัตช์จนสุด เปลี่ยนคันเกียร์ไปยังเกียร์ถัดไป และปล่อยแป้นคลัตช์ขณะที่ยังเหยียบแป้นคันเร่งอยู่
ทำซ้ำขั้นตอนจนได้ความเร็วที่ต้องการ
Important: จอดรถเสมอก่อนจะเปลี่ยนจากเกียร์เดินหน้ามาใช้เกียร์ถอยหลัง หรือเปลี่ยนจากเกียร์ถอยหลังมาใช้เกียร์เดินหน้า
Note: หลีกเลี่ยงการให้เครื่องยนต์เดินรอบเบาเป็นเวลานาน
ใช้ตารางด้านล่างเพื่อกำหนดความเร็วขับเคลื่อนบนพื้นของรถที่ 3,600 รอบต่อนาที
| เกียร์ | ช่วง | อัตราส่วน | ความเร็ว (กม./ชม.) | ความเร็ว (ไมล์ต่อชั่วโมง) |
|---|---|---|---|---|
| 1 | ต่ำ | 82.83 : 1 | 4.7 | 2.9 |
| 2 | ต่ำ | 54.52 : 1 | 7.2 | 4.5 |
| 3 | ต่ำ | 31.56 : 1 | 12.5 | 7.7 |
| 1 | สูง | 32.31 : 1 | 12.2 | 7.6 |
| 2 | สูง | 21.27 : 1 | 18.5 | 11.5 |
| 3 | สูง | 12.31 : 1 | 31.9 | 19.8 |
| R | ต่ำ | 86.94 : 1 | 4.5 | 2.8 |
| R | สูง | 33.91 : 1 | 11.6 | 7.1 |
Important: อย่าพยายามดันหรือลากรถเพื่อสตาร์ทเครื่องยนต์ ขบวนส่งกำลังอาจเกิดความเสียหายได้
หากต้องการหยุดรถ ถอนเท้าออกจากแป้นคันเร่ง จากนั้นเหยียบเบรก
จอดรถบนพื้นราบ
ดึงเบรกมือ
บิดสวิตช์กุญแจไปยังตำแหน่งปิดและดึงกุญแจออก
รถที่พลิกหรือคว่ำบนเนินจะทำให้บาดเจ็บร้ายแรง
ล็อกเฟืองท้ายอาจจะทำให้เกิดแรงฉุดลากเพิ่มขึ้นมาจนคุณตกอยู่ในสถานการณ์อันตราย เช่น เมื่อขึ้นเนินที่ชันเกินกว่าที่จะหักเลี้ยว ดังนั้น ให้ใช้ความระมัดระวังเมื่อต้องทำงานโดยเปิดใช้ล็อกเฟืองท้าย โดยเฉพาะบนทางลาดชัน
หากเปิดใช้ล็อกเฟืองท้ายขณะเลี้ยวหักศอกด้วยความเร็วสูง และล้อหลังด้านในลอยออกจากพื้น อาจทำให้สูญเสียการควบคุม ซึ่งทำให้รถลื่นไถลได้ ใช้การใช้ล็อกเฟืองท้ายเมื่อวิ่งด้วยความเร็วต่ำเท่านั้น
การเลี้ยวด้วยล็อกเฟืองท้ายอาจส่งผลให้สูญเสียการควบคุมรถ อย่าใช้งานรถโดยเปิดใช้ล็อกเฟืองท้ายขณะเลี้ยวหักศอกหรือเมื่อวิ่งด้วยความเร็วสูง
ล็อกเฟืองท้ายเพิ่มแรงฉุดลากของรถโดยการล็อกล้อหลัง เพื่อให้ล้อไม่หมุนออกไป วิธีนี้ได้ผลดีเมื่อคุณบรรทุกสิ่งของหนักบนถนนเปียกหรือบริเวณลื่น ขณะขึ้นเนิน หรือบนพื้นทราย อย่างไรก็ตาม ควรจำไว้ว่า แรงฉุดลากที่เพิ่มขึ้นมานั้นมีไว้สำหรับการใช้งานชั่วคราวในบางสถานการณ์เท่านั้น และไม่สามารถแทนที่การใช้งานอย่างปลอดภัยได้
ล็อกเฟืองท้ายจะทำให้ล้อหลังหมุนด้วยความเร็วเท่ากัน เมื่อใช้งานการใช้ล็อกเฟืองท้าย ความสามารถในการเลี้ยวหักศอกจะค่อนข้างจำกัด และรถอาจครูดกับสนามจนเป็นรอย ใช้การใช้ล็อกเฟืองท้ายเฉพาะในยามจำเป็น เมื่อวิ่งด้วยความเร็วต่ำ และใช้กับเกียร์หนึ่งหรือสองเท่านั้น
ระบบควบคุมไฮดรอลิกจ่ายกำลังไฮดรอลิกจากปั๊มรถตอนที่เครื่องยนต์ทำงานอยู่ คุณสามารถใช้กำลังไฮดรอลิกผ่านข้อต่อสวมเร็วที่ท้ายรถได้
น้ำมันไฮดรอลิกรั่วที่ถูกบีบอัดมีแรงกระแทกที่อาจทำให้เกิดแผลบนผิวหนังและการบาดเจ็บร้ายแรงได้
ใช้ความระมัดระวังเมื่อต่อหรือถอดข้อต่อสวมเร็วของระบบไฮดรอลิก ดับเครื่องยนต์ ดึงเบรกมือ ลดระดับอุปกรณ์ต่อพ่วงลง และวางวาล์วไฮดรอลิกแบบทางตรงในตำแหน่งกันไหลย้อน เพื่อระบายแรงดันไฮดรอลิกก่อนจะต่อหรือถอดข้อต่อสวมเร็ว
Important: หากมีรถหลายคันที่ใช้ข้อต่อเดียวกัน น้ำมันเกียร์อาจปนเปื้อนกันได้ เปลี่ยนน้ำมันเกียร์ให้บ่อยขึ้น
ตำแหน่งปิด
นี่คือตำแหน่งปกติสำหรับวาล์วควบคุมเมื่อไม่ใช้งาน ในตำแหน่งนี้ ช่องทำงานของวาล์วควบคุมจะถูกกั้นเอาไว้ และเช็ควาล์วจะกั้นแรงจากทั้งสองทิศทาง
ตำแหน่งยก (ข้อต่อสวมเร็ว A)
ตำแหน่งนี้ยกกระบะท้ายและอุปกรณ์ต่อพ่วงท้าย หรือส่งแรงดันไปยังข้อต่อสวมเร็ว A และยังช่วยให้น้ำมันไฮดรอลิกจากข้อต่อสวมเร็ว B ไหลย้อนกลับไปยังวาล์ว และออกไปที่ถังน้ำมัน นี่คือตำแหน่งชั่วคราวเท่านั้น เมื่อคุณปล่อยคันโยก คันโยกจะย้อนกลับไปตำแหน่งกลาง นั่นคือตำแหน่ง ปิด

ตำแหน่งลดลง (ข้อต่อสวมเร็ว B)
ตำแหน่งนี้ลดกระบะท้ายและอุปกรณ์ต่อพ่วงท้าย หรือส่งแรงดันไปยังข้อต่อสวมเร็ว B และยังช่วยให้น้ำมันไฮดรอลิกจากข้อต่อสวมเร็ว A ไหลย้อนกลับไปยังวาล์ว และออกไปที่ถังน้ำมัน นี่คือตำแหน่งชั่วคราวเท่านั้น เมื่อคุณปล่อยคันโยก คันโยกจะย้อนกลับไปตำแหน่งกลาง นั่นคือตำแหน่ง ปิด การจับคันบังคับไว้ชั่วคราวแล้วปล่อยในตำแหน่งนี้ทำให้น้ำมันไฮดรอลิกไหลไปยังข้อต่อสวมเร็ว B ซึ่งส่งกำลังไปยังข้อต่อท้าย เมื่อคุณปล่อยคันบังคับ จะมีแรงกดลงบนข้อต่อ
Important: หากคุณใช้กับกระบอกสูบไฮดรอลิก การจับคันบังคับค้างไว้ในตำแหน่งลดระดับ จะทำให้น้ำมันไฮดรอลิกไหลไปถึงวาล์วลดแรงดัน ซึ่งอาจสร้างความเสียหายต่อระบบไฮดรอลิกได้
ตำแหน่งเปิด
ตำแหน่งนี้คล้ายคลึงกับ ลดลง (ตำแหน่งข้อต่อสวมเร็ว B) นอกจากนี้ ตำแหน่งนี้ยังบังคับให้น้ำมันไฮดรอลิกไหลไปยังข้อต่อสวมเร็ว B ยกเว้นว่าคันบังคับจะค้างอยู่ในตำแหน่งนี้โดยใช้คันกันย้อนบนแผงควบคุม ซึ่งจะช่วยให้น้ำมันไฮดรอลิกไหลต่อเนื่องไปยังอุปกรณ์ที่ใช้มอเตอร์ไฮดรอลิก
ใช้ตำแหน่งนี้เฉพาะเมื่ออุปกรณ์ต่อพ่วงมีมอเตอร์ไฮดรอลิกติดตั้งอยู่เท่านั้น
Important: หากคุณใช้ตำแหน่งนี้กับกระบอกสูบไฮดรอลิกหรือไม่มีอุปกรณ์ต่อพ่วง ตำแหน่งเปิดจะทำให้น้ำมันไฮดรอลิกไหลไปถึงวาล์วลดแรงดัน ซึ่งอาจสร้างความเสียหายต่อระบบไฮดรอลิกได้ ใช้ตำแหน่งนี้ชั่วคราวหรือเมื่อมีมอเตอร์ติดตั้งอยู่เท่านั้น
Important: ตรวจสอบระดับน้ำมันไฮดรอลิกหลังจากการติดตั้งอุปกรณ์ต่อพ่วง ตรวจสอบการทำงานของอุปกรณ์ต่อพ่วงโดยทำให้อุปกรณ์ต่อพ่วงทำงานหลายๆ รอบ เพื่อไล่อากาศออกจากระบบ จากนั้นตรวจสอบระดับน้ำมันไฮดรอลิกอีกครั้ง กระบอกสูบของอุปกรณ์ต่อพ่วงส่งผลกระทบต่อระดับน้ำมันในเพลาส่งกำลังเล็กน้อย การใช้รถที่มีระดับน้ำมันไฮดรอลิกต่ำอาจสร้างความเสียหายต่อปั๊ม ระบบไฮดรอลิกทางตรง พวงมาลัยพาวเวอร์ และเพลาส่งกำลังของรถ
Important: ทำความสะอาดฝุ่นออกจากข้อต่อสวมเร็วก่อนจะเชื่อมต่อ ข้อต่อสวมที่สกปรกอาจปนเปื้อนในระบบไฮดรอลิกได้
ดึงแหวนล็อกบนข้อต่อสวมถอยกลับ
ใส่จุกท่ออ่อนเข้าไปในข้อต่อสวมจนกว่าจะล็อกเข้าที่
Note: เมื่อติดตั้งอุปกรณ์ทางตรงเข้ากับข้อต่อสวมเร็ว ให้ประเมินว่าฝั่งใดต้องการแรงดัน จากนั้นต่อท่ออ่อนนั้นเข้ากับข้อต่อสวม B ซึ่งมีแรงดันเมื่อคุณดันคันบังคับไปข้างหน้าหรือล็อกในตำแหน่งเปิด
Note: เมื่อดับเครื่องยนต์และอุปกรณ์ต่อพ่วงแล้ว ให้โยกคันโยกลิฟต์ไปข้างหลังและไปข้างหน้าเพื่อคลายแรงดันจากระบบ และช่วยให้การถอดข้อต่อสวมเร็วได้ง่ายขึ้น
ดึงแหวนล็อกบนข้อต่อสวมถอยกลับ
ออกแรงดึงท่ออ่อนออกจากข้อต่อสวม
Important: ทำความสะอาดและติดตั้งจุกกันฝุ่นและฝากันฝุ่นเข้ากับปลายข้อต่อสวมเร็วเมื่อไม่ใช้งาน
การต่อหรือถอดข้อต่อสวมเร็วทำได้ยาก
ยังไม่ได้ระบายแรงดัน (ข้อต่อสวมเร็วอยู่ภายใต้แรงดัน)
หักพวงมาลัยพาวเวอร์ลำบากมากหรือหักไม่ได้เลย
ระดับน้ำมันไฮดรอลิกต่ำ
อุณหภูมิน้ำมันไฮดรอลิกร้อนเกินไป
ปั๊มไม่ทำงาน
มีน้ำมันไฮดรอลิกรั่วไหล
ข้อต่อหลวม
โอริงของข้อต่อหายไป
อุปกรณ์ต่อพ่วงไม่ทำงาน
ข้อต่อสวมเร็วต่อกันไม่สุด
ต่อข้อต่อสวมเร็วสลับกัน
มีเสียงเอี๊ยดอ๊าด
ถอดวาล์วที่ยึดไว้ในตำแหน่งเปิด ซึ่งทำให้น้ำมันไฮดรอลิกไหลไปถึงวาล์วลดแรงดัน
สายพานหย่อน
เครื่องยนต์ไม่สตาร์ท
คันโยกไฮดรอลิกล็อกอยู่ในตำแหน่งเดินหน้า
ก่อนลุกจากตำแหน่งคนขับ ให้ปฏิบัติตามดังนี้:
จอดรถบนพื้นราบ
เปลี่ยนเกียร์ไปตำแหน่งเกียร์ว่าง
ดึงเบรกมือ
ลดกระบะท้ายลง
ดับเครื่องยนต์และดึงกุญแจออก
รถให้การเคลื่อนไหวหยุดนิ่ง
รอให้เครื่องยนต์เย็นลงก่อนปรับ ซ่อมบำรุง ทำความสะอาด หรือจัดเก็บรถ
อย่าจัดเก็บรถในที่ที่มีเปลวไฟ ประกายไฟ หรือไฟนำร่อง เช่น บนเครื่องทำน้ำร้อน หรือเครื่องใช้ไฟฟ้าอื่นๆ
ดูแลรักษาให้ชิ้นส่วนทั้งหมดของรถมีสภาพดีและทำงานได้ตามปกติ และขันชิ้นส่วนทั้งหมดให้แน่นหนา
บำรุงรักษาและเช็ดทำความสะอาดเข็มขัดนิรภัย ตามความจำเป็น
เปลี่ยนสติกเกอร์ที่สึกหรอ ชำรุด หรือหายไป
ใช้ความระมัดระวังเมื่อบรรทุกรถขึ้นหรือลงจากรถพ่วงหรือรถบรรทุก
ใช้ทางลาดแบบเต็มความกว้างเมื่อขนบรรทุกรถขึ้นรถพ่วงหรือรถบรรทุก
ยึดรถให้แน่นหนา
โปรดดู รูป 19 และ รูป 20 สำหรับตำแหน่งผูกยึดรถ
Note: บรรทุกรถขึ้นรถพ่วงโดยให้ด้านหน้ารถหันไปข้างหน้า หากไม่สามารถทำได้ ยึดกระโปรงรถเข้ากับโครงรถด้วยสายรัด หรือถอดกระโปรงรถแล้วขนส่ง และยึดไว้แยกต่างหาก มิฉะนั้น กระโปรงรถอาจเปิดขึ้นมาระหว่างการขนส่งได้


ในกรณีฉุกเฉิน คุณสามารถลากรถได้ในระยะทางสั้นๆ อย่างไรก็ตาม วิธีนี้ไม่ใช่ขั้นตอนปฏิบัติมาตรฐาน
การลากรถด้วยความเร็วสูงเกินไปอาจทำให้สูญเสียการควบคุมทิศทางส่งผลให้เกิดการบาดเจ็บขึ้นได้
ห้ามลากรถด้วยความเร็วเกิน 8 กม./ชม. (5 ไมล์ต่อชั่วโมง) โดยเด็ดขาด
Note: พวงมาลัยไฟฟ้าไม่ทำงาน ทำให้การบังคับเลี้ยวทำได้ยาก
การลากรถเป็นงานที่ต้องใช้แรงของ 2 คน หากคุณต้องเคลื่อนย้ายรถเป็นระยะทางไกล ให้ขนส่งบนรถบรรทุกหรือรถพ่วง
ยึดสายลากจูงเข้ากับตัวยึดที่ด้านหน้าของโครงรถ (รูป 19)
เข้าเกียร์ตำแหน่งเกียร์ว่าง และปลดเบรกมือ
รถคันนี้สามารถลากรถพ่วงและอุปกรณ์ต่อพ่วงที่มีน้ำหนักมากกว่ารถได้ เรามีข้อต่อหลากหลายประเภทจัดจำหน่ายสำหรับรถ ทั้งนี้ขึ้นอยู่กับการใช้งานของคุณ ติดต่อตัวแทนบริการที่ได้รับอนุญาตเพื่อขอรายละเอียด
เมื่อติดตั้งด้วยข้อต่อลากที่ยึดด้วยสลักเกลียวเข้ากับท่อเพลาหลัง รถจะสามารถลากรถพ่วงหรืออุปกรณ์ต่อพ่วงโดยมีน้ำหนักยานยนต์รวบยอด (GTW) สูงสุด 1,587 กก. (3,500 ปอนด์)
บรรทุกสิ่งของบนรถพ่วงโดยให้น้ำหนัก 60% อยู่ที่ด้านหน้าของรถพ่วงเสมอ วิธีนี้ทำให้ข้อต่อพ่วงของรถรองรับน้ำหนักประมาณ 10% (สูงสุด 272 กก. (600 ปอนด์)) ของน้ำหนักยานยนต์รวบยอด (GTW)
เมื่อบรรทุกสิ่งของหรือลากรถพ่วง (อุปกรณ์ต่อพ่วง) อย่าบรรทุกน้ำหนักบนรถหรือรถพ่วงมากเกินไป การบรรทุกน้ำหนักมากเกินไปอาจลดประสิทธิภาพการทำงานหรือสร้างความเสียหายให้กับเบรก เพลา เครื่องยนต์ ชุดเพลาส่งกำลัง ระบบบังคับเลี้ยว ระบบกันสะเทือน โครงสร้างตัวถัง หรือล้อได้
Important: เพื่อลดโอกาสที่ชุดเพลาขับจะเกิดความเสียหาย ให้ใช้ช่วงต่ำ
เมื่อลากอุปกรณ์ต่อพ่วง เช่น เครื่องเติมอากาศแฟร์เวย์ ให้ติดตั้งบาร์ล้อ (มาพร้อมกับชุดจานลาก) เพื่อป้องกันไม่ให้ล้อหน้ายกลอยจากพื้น หากการเคลื่อนที่ของอุปกรณ์ต่อพ่วงที่ลากอยู่เกิดเสียศูนย์
อย่าให้ผู้ที่ไม่ผ่านการฝึกอบรมซ่อมบำรุงรถ
ก่อนลุกจากตำแหน่งคนขับ ให้ปฏิบัติตามดังนี้:
จอดรถบนพื้นราบ
เปลี่ยนเกียร์ไปตำแหน่งเกียร์ว่าง
ดึงเบรกมือ
ลดกระบะท้ายลง
ดับเครื่องยนต์และดึงกุญแจออก
รอให้การเคลื่อนไหวหยุดนิ่ง
รอให้เครื่องยนต์เย็นลงก่อนปรับ ซ่อมบำรุง ทำความสะอาด หรือจัดเก็บรถ
ใช้ขาตั้งแม่แรงรองรับน้ำหนักรถเมื่อต้องทำงานใต้ท้องรถ
อย่าทำงานใต้ท้องรถที่ยกกระบะท้ายขึ้น โดยไม่มีการหนุนกระบะด้วยอุปกรณ์นิรภัย
ตรวจสอบให้แน่ใจว่าข้อต่อชุดไฮดรอลิกทั้งหมดแน่นหนา และท่ออ่อนไฮดรอลิกทั้งหมดอยู่ในสภาพดีก่อนจ่ายแรงดันเข้าไปในระบบ
ก่อนถอดหรือทำงานใดๆ กับระบบไฮดรอลิก ให้ระบายแรงดันทั้งหมดในระบบโดยการปิดมอเตอร์ หมุนดัมพ์วาล์วจากยกขึ้นเป็นลดลง และ/หรือลดระดับกระบะท้ายและอุปกรณ์ต่อพ่วงลง ตั้งคันไฮโดรลิกแบบแนวตรงในตำแหน่งลอย หากกระบะท้ายต้องอยู่ในตำแหน่งยกขึ้น หนุนด้วยก้านค้ำยันนิรภัยให้มั่นคง
ค่อยๆ ปล่อยแรงดันจากส่วนประกอบที่มีพลังงานสะสมเก็บไว้
อย่าชาร์จแบตเตอรี่ขณะซ่อมบำรุงรถ
ขันชิ้นส่วนทั้งหมดให้แน่นหนาเพื่อให้รถทั้งคันอยู่ในสภาพดี
ลดโอกาสการเกิดเพลิงไหม้ โดยจอดรถให้ห่างจากบริเวณที่มีน้ำมัน หญ้า ใบไม้ หรือดินสะสมมากเกินไป
หากเป็นไปได้ อย่าบำรุงรักษาในขณะที่รถกำลังทำงาน อยู่ห่างจากชิ้นส่วนเคลื่อนไหว
หากคุณต้องปรับแต่งบำรุงรักษาในขณะที่รถทำงานอยู่ ให้เก็บมือ เท้า เสื้อผ้า และส่วนต่างๆ ของร่างกายออกห่างจากชิ้นส่วนเคลื่อนไหว กันผู้ที่อยู่รอบข้างให้ออกห่างจากรถ
ทำความสะอาดน้ำมันและเชื้อเพลิงที่หกออกให้หมด
ตรวจสอบการทำงานของเบรกมือตามที่แนะนำในตารางการบำรุงรักษา และปรับและซ่อมบำรุงตามที่จำเป็น
ดูแลรักษาให้ชิ้นส่วนทั้งหมดของรถมีสภาพดีและทำงานได้ตามปกติ และขันชิ้นส่วนทั้งหมดให้แน่นหนา เปลี่ยนสติกเกอร์ทั้งหมดที่สึกหรอหรือชำรุด
ห้ามดัดแปลงฟังก์ชันการทำงานที่กำหนดไว้ของอุปกรณ์นิรภัย หรือลดประสิทธิภาพการป้องกันของอุปกรณ์นิรภัย
อย่าทำให้รอบเครื่องยนต์สูงเกินไปโดยเปลี่ยนการตั้งค่ากัฟเวอร์เนอร์ เพื่อความปลอดภัยและความถูกต้อง ควรให้ตัวแทนบริการที่ได้รับอนุญาตเป็นผู้ตรวจสอบรอบเครื่องยนต์สูงสุดด้วยมาตรอัตรารอบ
หากอุปกรณ์ต้องซ่อมบำรุงครั้งใหญ่หรือต้องการความช่วยเหลือ โปรดติดต่อตัวแทนจำหน่ายของ Toro ที่ได้รับอนุญาต
การดัดแปลงอุปกรณ์นี้ไม่ว่าในลักษณะใดๆ ก็ตามอาจส่งผลกระทบต่อการทำงาน สมรรถนะ ความทนทานของอุปกรณ์ หรือการใช้อุปกรณ์อาจก่อให้เกิดการบาดเจ็บหรือเสียชีวิต การใช้งานดังกล่าวอาจทำให้การรับประกันผลิตภัณฑ์ของบริษัท Toro® เป็นโมฆะ
| ระยะการซ่อมบำรุง | ขั้นตอนการบำรุงรักษา |
|---|---|
| หลังจาก 2 ชั่วโมงแรก |
|
| หลังจาก 10 ชั่วโมงแรก |
|
| หลังจาก 50 ชั่วโมงแรก |
|
| หลังจาก 100 ชั่วโมงแรก |
|
| ก่อนการใช้งานแต่ละครั้งหรือทุกวัน |
|
| ทุก 25 ชั่วโมง |
|
| ทุก 50 ชั่วโมง |
|
| ทุก 100 ชั่วโมง |
|
| ทุก 200 ชั่วโมง |
|
| ทุก 400 ชั่วโมง |
|
| ทุก 600 ชั่วโมง |
|
| ทุก 800 ชั่วโมง |
|
| ทุก 1,000 ชั่วโมง |
|
| ทุก 2,000 ชั่วโมง |
|
Note: ดาวน์โหลดสำเนาผังไฟฟ้าโดยเข้าไปที่ www.Toro.com แล้วค้นหารุ่นรถของคุณจากลิงก์คู่มือในหน้าหลัก
Important: ดูขั้นตอนการบำรุงรักษาเพิ่มเติมได้จากคู่มือสำหรับเจ้าของรถ
เฉพาะผู้ที่มีคุณสมบัติและได้รับอนุญาตเท่านั้นที่สามารถบำรุงรักษา ซ่อมแซม ปรับ หรือตรวจสอบรถได้
หลีกเลี่ยงอันตรายจากเพลิงไหมและติดตั้งอุปกรณ์ป้องกันอัคคีภัยในพื้นที่ทำงาน ห้ามใช้เปลวไฟในการตรวจสอบระดับน้ำมันหรือน้ำมันรั่วไหล น้ำในแบตเตอรี่ หรือน้ำหล่อเย็น
อย่าใช้อ่างน้ำมันเปิด หรือใช้น้ำยาทำความสะอาดชนิดติดไฟได้ในการทำความสะอาดชิ้นส่วน
การไม่บำรุงรักษารถอย่างเหมาะสมอาจส่งผลให้ระบบทำงานล้มเหลวหรือเสียหายก่อนกำหนด ซึ่งอาจเป็นอันตรายต่อคุณหรือคนที่อยู่รอบข้าง
คอยบำรุงรักษารถให้มีสภาพดีและทำงานอย่างถูกต้องตามที่ระบุในคำแนะนำเหล่านี้
หากคุณเสียบกุญแจทิ้งไว้ อาจมีคนสตาร์ทเครื่องยนต์โดยไม่ตั้งใจและทำให้คุณหรือคนที่อยู่รอบข้างบาดเจ็บได้
ดับเครื่องยนต์และดึงกุญแจออกจากสวิตช์ก่อนการบำรุงรักษา
Important: หากต้องใช้งานรถในสภาพการทำงานต่อไปนี้ ให้บำรุงรักษารถบ่อยขึ้นเป็นสองเท่า:
การใช้งานในทะเลทราย
การใช้งานในสภาพอากาศเย็น—อุณหภูมิต่ำกว่า 10°C (50°F)
การลากรถพ่วง
ใช้งานบ่อยในสภาวะที่มีฝุ่นมาก
งานก่อสร้าง
หลังจากใช้งานยาวนานในสภาพที่มีโคลน ทราย น้ำ หรือสภาพสกปรกที่คล้ายคลึงกัน ให้ดำเนินการดังนี้:
ตรวจสอบและทำความสะอาดเบรกโดยเร็วที่สุด เพื่อป้องกันไม่ให้วัสดุหยาบทำให้เกิดการสึกหรอมากเกินไป
ล้างรถโดยใช้น้ำเพียงอย่างเดียวหรือผสมน้ำยาล้างที่มีฤทธิ์อ่อนๆ
Important: อย่าใช้น้ำกร่อยหรือน้ำหมุนเวียนล้างรถ
หัวข้อต่างๆ ที่กล่าวถึงในเนื้อหาส่วนการบำรุงรักษานี้ต้องมีการยกกระบะท้ายขึ้นและลง ให้ปฏิบัติตามข้อควรระวังต่อไปนี้ เพื่อป้องกันการบาดเจ็บร้ายแรงหรือการเสียชีวิต:
จอดรถบนพื้นราบ
ดึงเบรกมือ
การเทและยกกระบะท้าย โปรดดู การยกกระบะท้าย
ดับเครื่องยนต์และดึงกุญแจออก
ปล่อยให้เครื่องยนต์เย็นลงก่อนการบำรุงรักษา
Important: ติดตั้งหรือดึงก้านค้ำยันกระบะท้ายออกที่ด้านนอกกระบะท้ายเสมอ
ยกกระบะท้ายจนกว่ากระบอกสูบลิฟต์ยืดจนสุด
ดึงก้านค้ำยันกระบะท้ายออกจากโครงยึดที่ด้านหลังของแผง ROPS (รูป 21)

ดันก้านค้ำยันกระบะท้ายลงในก้านกระบอกสูบ และตรวจดูให้แน่ใจว่าแถบปลายก้านค้ำยันวางอยู่ที่ปลายลำกระบอกสูบ และปลายก้านกระบอกสูบ (รูป 22)

ดึงก้านค้ำยันกระบะท้ายออกกระบอกสูบ และสอดเข้าในโครงยึดที่ด้านหลังของแผง ROPS
Important: อย่าพยายามลดกระบะท้ายลงโดยที่มีก้านค้ำยันกระบะท้ายอยู่ในกระบอกสูบ
สตาร์ทเครื่องยนต์ ใช้คันโยกลิฟต์ไฮดรอลิก และลดกระบะท้ายจนกระบอกสูบหลวมอยู่ในช่อง
ปล่อยคันโยกลิฟต์และดับเครื่องยนต์
ถอดหมุดสลักจากปลายด้านนอกของหมุดเคลวิสบนก้านกระบอกสูบ (รูป 23)

ถอดหมุดเคลวิสที่ยึดปลายก้านกระบอกสูบเข้ากับแผ่นยึดกระบะท้ายโดยการดันหมุนเข้าไปข้างใน (รูป 23)
ถอดหมุดสลักและหมุดเคลวิสที่ยึดโครงยึดเดือยเข้ากับช่องโครงรถออก (รูป 23)
ยกกระบะท้ายออกจากรถ
กระบะแบบเต็มกระบะมีน้ำหนักประมาณ 148 กก. (325 ปอนด์) ดังนั้นอย่าพยายามติดตั้งหรือถอดออกด้วยตัวเอง
ใช้อุปกรณ์ยกเหนือศีรษะหรือขอความช่วยเหลือจากผู้อื่น 2 หรือ 3 คน
จัดเก็บกระบอกสูบในคลิปจัดเก็บ
ใช้คันโยกล็อกลิฟต์ไฮดรอลิกในรถเพื่อป้องกันไม่ให้ก้านยกยืดออกมาโดยไม่ได้ตั้งใจ
Note: หากคุณติดตั้งกระบะแบบมีแผงด้านข้าง ให้ติดตั้งแผงด้านข้างก่อนติดตั้งกระบะบนรถจะทำได้ง่ายกว่า
ตรวจสอบให้แน่ใจว่าแผ่นหมุนด้านท้ายยึดติดเข้ากับโครง/ช่องกระบะ เพื่อให้ปลายของด้านที่ต่ำกว่าทำมุมกับส่วนท้าย (รูป 24)

กระบะแบบเต็มกระบะมีน้ำหนักประมาณ 148 กก. (325 ปอนด์) ดังนั้นอย่าพยายามติดตั้งหรือถอดออกด้วยตัวเอง
ใช้อุปกรณ์ยกเหนือศีรษะหรือขอความช่วยเหลือจากผู้อื่น 2 หรือ 3 คน
ตรวจดูให้แน่ใจว่าโครงยึดที่คั่นและบล็อกสวม (รูป 25) ติดตั้งโดยที่หัวสลักเกลียวหัวกลมอยู่ด้านในของรถ

ตรวจสอบให้แน่ใจว่ากระบอกสูบลิฟต์ยกหดจนสุด
ค่อยๆ วางกระบะลงบนโครงรถอย่างระมัดระวัง จัดเรียงรูบนแผ่นหมุนกระบะให้ตรงกับรูที่ช่องโครงด้านท้าย และติดตั้งหมุดเคลวิส 2 ตัวและหมุดสลัก (รูป 25)
ในขณะที่กระบะวางราบ ยึดปลายก้านกระบอกสูบแต่ละฝั่งเข้ากับช่องในแผ่นยึดกระบะให้แน่นด้วยหมุดเคลวิสและหมุดสลัก
สอดหมุดเคลวิสจากด้านนอกกระบะด้วยหมุดสลักที่หันไปด้านนอก (รูป 25)
Note: ช่องด้านท้ายมีไว้สำหรับการติดตั้งกระบะแบบเต็มกระบะ ช่องด้านหน้ามีไว้สำหรับการติดตั้งกระบะแบบเต็ม 2/3
Note: คุณอาจต้องสตาร์ทเครื่องยนต์เพื่อยืดหรือหดกระบอกสูบเพื่อจัดวางให้ตรงกับรู
Note: คุณสามารถอุดช่องที่ไม่ได้ใช้ด้วยสลักเกลียวและน็อตได้ เพื่อป้องกันไม่ให้ประกอบผิดพลาด
สตาร์ทเครื่องยนต์และใช้คันโยกลิฟต์ไฮดรอลิกเพื่อยกกระบะท้ายขึ้น
ปล่อยคันโยกลิฟต์และดับเครื่องยนต์
ติดตั้งก้านค้ำยันนิรภัยกระบะท้ายเพื่อป้องกันกระบะท้ายตกโดยอุบัติเหตุ โปรดดู การใช้ก้านค้ำยันหนุนกระบะท้าย
ติดตั้งหมุดสลักเข้ากับปลายด้านในของหมุดเคลวิส
Note: หากมีการติดตั้งส่วนเปิดประตูท้ายอัตโนมัติที่กระบะท้าย ตรวจสอบให้แน่ใจว่าก้านต่อเทด้านหน้าติดตั้งอยู่ด้านในของหมุดเคลวิสฝั่งซ้ายก่อนที่คุณจะติดตั้งหมุดสลัก
รถที่อยู่บนแม่แรงอาจไม่มั่นคงและเลื่อนหลุดจากแม่แรง และทำให้ผู้ที่อยู่ด้านล่างบาดเจ็บ
ห้ามสตาร์ทรถขณะที่รถอยู่บนแม่แรง เนื่องจากการสั่นสะเทือนของเครื่องยนต์หรือล้อที่เคลื่อนที่อาจทำให้รถเลื่อนหลุดจากแม่แรงได้
ดึงกุญแจออกจากสวิตช์กุญแจเสมอก่อนลุกออกจากรถ
บล็อกล้อเมื่อรถอยู่บนแม่แรง
เมื่อใช้แม่แรงยกหน้ารถ ให้วางบล็อกไม้ (หรือวัสดุที่คล้ายกัน) ไว้ระหว่างแม่แรงกับโครงรถเสมอ
จุดวางแม่แรงที่ด้านหน้าของรถอยู่ใต้ส่วนรองรับโครงรถที่อยู่ตรงกลางด้านหน้า (รูป 26)

จุดวางแม่แรงที่หลังรถอยู่ใต้เพลา (รูป 27)

| ระยะการซ่อมบำรุง | ขั้นตอนการบำรุงรักษา |
|---|---|
| ทุก 100 ชั่วโมง |
|
ประเภทจาระบี: จาระบีลิเธียมหมายเลข 2
ใช้ผ้าขี้ริ้วเช็ดจุดอัดจาระบีให้สะอาด เพื่อให้ไม่มีวัตถุแปลกปลอมเข้าไปในแบริ่งหรือบุชชิง
ใช้ปืนอัดจาระบี อัดจาระบีเข้าในจุดอัดจาระบีของรถ
เช็ดจาระบีส่วนเกินออกจากรถ
Important: เมื่ออัดจาระบีที่แบริ่งกากบาทอเนกประสงค์ของเพลาขับ ให้อัดจาระบีจนกว่าจะล้นออกจากถ้วยทั้ง 4 ของแต่ละด้าน
จุดอัดจาระบีและปริมาณการอัดจาระบี:
ดับเครื่องยนต์ ดึงกุญแจออก และรอให้รถหยุดสนิทก่อนตรวจสอบน้ำมันหรือเติมน้ำมันลงในห้องข้อเหวี่ยง
เก็บมือ เท้า ใบหน้า เสื้อผ้า และส่วนอื่นๆ ของร่างกายให้อยู่ห่างจากท่อไอเสียหรือพื้นผิวร้อนอื่นๆ
| ระยะการซ่อมบำรุง | ขั้นตอนการบำรุงรักษา |
|---|---|
| ทุก 25 ชั่วโมง |
|
| ทุก 100 ชั่วโมง |
|
ตรวจสอบระบบกรองอากาศและท่ออ่อนเป็นครั้งคราวเพื่อปกป้องเครื่องยนต์อย่างดีที่สุดและยืดอายุการใช้งานให้ยาวนานสูงสุด ตรวจสอบตัวเรือนระบบกรองอากาศเพื่อหาความเสียหายที่อาจทำให้อากาศรั่วไหลได้ เปลี่ยนตัวเรือนระบบกรองอากาศที่ชำรุด
ปลดสลักบนตัวเรือนกรองอากาศและดึงฝาครอบออกจากตัวเรือนกรองอากาศ (รูป 33)

บีบด้านข้างฝากันฝุ่นเพื่อเปิดออกและเคาะฝุ่นออก
ค่อยๆ เลื่อนไส้กรองออกจากตัวเรือนไส้กรองอากาศ (รูป 33)
Note: ระวังไม่ให้ไส้กรองชนกับด้านข้างของตัวเรือน
Note: อย่าทำความสะอาดไส้กรอง
ตรวจสอบไส้กรองใหม่เพื่อหาความเสียหาย โดยตรวจดูด้านในไส้กรองขณะส่องกับแสงสว่างที่ด้านนอกของไส้กรอง
Note: รูในไส้กรองจะปรากฏเป็นจุดแสง ตรวจสอบหารอยฉีกขาด ฟิล์มมันวาว หรือความเสียหายที่ซีลยางของไส้กรอง หากไส้กรองเสียหาย อย่านำมาใช้
Note: เพื่อป้องกันเครื่องยนต์เสียหาย ควรใช้งานเครื่องยนต์ที่มีไส้กรองอากาศและฝาครอบติดตั้งอยู่เสมอ
ค่อยๆ เลื่อนไส้กรองไปบนหลอดตัวเรือน (รูป 33)
Note: ไส้กรองจะต้องติดตั้งเข้าจนสุด โดยออกแรงกดที่ขอบด้านนอกของไส้กรองขณะติดตั้ง
ติดตั้งฝาครอบระบบกรองอากาศโดยให้ด้านข้างหันขึ้น และยึดสลัก (รูป 33)
Note: เปลี่ยนน้ำมันเครื่องให้บ่อยขึ้น หากใช้งานรถในสภาวะที่มีฝุ่นหรือทรายมาก
Note: ทิ้งน้ำมันเครื่องใช้แล้วและตัวกรองน้ำมัน ณ ศูนย์รีไซเคิลที่มีการรับรอง
ประเภทน้ำมัน: น้ำมันชะล้าง (API SJ ขึ้นไป)
ความจุห้องข้อเหวี่ยง: 3.2 ลิตร (3.4 ควอร์ตสหรัฐ) เมื่อเปลี่ยนไส้กรองแล้ว
ความหนืด: ดูตารางด้านล่าง

| ระยะการซ่อมบำรุง | ขั้นตอนการบำรุงรักษา |
|---|---|
| ก่อนการใช้งานแต่ละครั้งหรือทุกวัน |
|
Note: เวลาที่เหมาะที่สุดในการตรวจสอบน้ำมันเครื่องคือเมื่อเครื่องยนต์เย็น ก่อนที่จะสตาร์ทรถเป็นครั้งแรกของวัน หากเครื่องยนต์ทำงานไปแล้ว ควรปล่อยให้น้ำมันไหลกลับไปยังอ่างอย่างน้อย 10 นาทีก่อนตรวจสอบ หากระดับน้ำมันพอดีกับหรืออยู่ต่ำกว่าจุดเติมบนก้านวัด เติมน้ำมันเพื่อให้ระดับน้ำมันถึงขีดเต็ม อย่าเติมน้ำมันเครื่องมากเกินไป หากระดับน้ำมันอยู่ระหว่างขีดเต็มกับขีดเติม ไม่ต้องเติมน้ำมัน
จอดรถบนพื้นราบ
ดึงเบรกมือ
ดับเครื่องยนต์และดึงกุญแจออก
ดึงก้านวัดออกและเช็ดให้สะอาดด้วยผ้าขี้ริ้ว (รูป 35)

สอดก้านวัดลงในท่อ ดูให้แน่ใจว่าสอดลงไปจนสุด (รูป 35)
ดึงก้านวัดออกและตรวจสอบระดับน้ำมันเครื่อง (รูป 35)
หากน้ำมันเหลือน้อย เปิดฝาเติม (รูป 35) และเติมน้ำมันพอให้ระดับถึงขีดเต็มบนก้านวัด
Note: ขณะเติมน้ำมัน ให้ดึงก้านวัดออกมาเพื่อระบายอากาศ เติมน้ำมันช้าๆ และตรวจเช็คระดับน้ำมันบ่อยๆ ในระหว่างขั้นตอนนี้ อย่าเติมน้ำมันเครื่องมากเกินไป
Important: ขณะเติมน้ำมันเครื่องหรือเติมน้ำมัน ต้องมีช่องว่างระหว่างอุปกรณ์เติมน้ำมันกับรูเติมน้ำมันในฝาครอบวาล์วตามที่แสดงใน รูป 36 ช่องว่างมีความจำเป็นเพื่อให้อากาศระบายออกมาได้ขณะเติม ซึ่งป้องกันไม่ให้น้ำมันไหลเข้าสู่ช่องระบาย

ใส่ก้านวัดกลับเข้าที่ให้แน่นหนา (รูป 35)
| ระยะการซ่อมบำรุง | ขั้นตอนการบำรุงรักษา |
|---|---|
| หลังจาก 50 ชั่วโมงแรก |
|
| ทุก 200 ชั่วโมง |
|
ยกกระบะท้ายขึ้น และวางก้านค้ำยันนิรภัยบนกระบอกสูบลิฟต์ที่ยืดออกเพื่อยกกระบะท้ายไว้
เปิดจุกระบายและปล่อยให้น้ำมันไหลลงในอ่างระบาย (รูป 37)

เมื่อน้ำมันหยุดไหล ปิดจุกระบาย
ถอดตัวกรองน้ำมันเครื่อง (รูป 37)
ทาน้ำมันสะอาดบางๆ ลงบนซีลตัวกรองชิ้นใหม่ก่อนขันสกรู
ขันสกรูตัวกรองจนกว่าปะเก็นสัมผัสกับแผ่นยึด จากนั้น ขันตัวกรองน้ำมัน ½ ถึง ⅔ รอบ
Note: อย่าขันแน่นเกินไป
เติมเฉพาะน้ำมันที่กำหนดในห้องข้อเหวี่ยง
Note: พนักงานซ่อมบำรุงผลิตภัณฑ์เพื่อการพาณิชย์ของ Toro เท่านั้นที่สามารถเข้าถึงข้อมูลรหัสข้อบกพร่องของเครื่องยนต์ได้
จอดรถบนพื้นราบ
ดึงเบรกมือ
ดับเครื่องยนต์และดึงกุญแจออก
ติดต่อตัวแทนบริการที่ได้รับอนุญาต
| ระยะการซ่อมบำรุง | ขั้นตอนการบำรุงรักษา |
|---|---|
| ก่อนการใช้งานแต่ละครั้งหรือทุกวัน |
|
วางภาชนะสะอาดใต้ตัวกรองเชื้อเพลิง (รูป 38)
คลายจุกระบายที่ด้านล่างของกล่องตัวกรอง

ขันจุกระบายที่ด้านล่างของกล่องตัวกรองให้แน่น
| ระยะการซ่อมบำรุง | ขั้นตอนการบำรุงรักษา |
|---|---|
| ทุก 400 ชั่วโมง |
|
ระบายน้ำจากเครื่องแยกน้ำ โปรดดู การระบายตัวกรองเชื้อเพลิง/เครื่องแยกน้ำ
ทำความสะอาดบริเวณที่ยึดตัวกรอง (รูป 38)
ถอดตัวกรองและเช็ดทำความสะอาดพื้นผิวยึด
หล่อลื่นปะเก็นบนตัวกรองด้วยน้ำมันสะอาด
ติดตั้งตัวกรองชิ้นใหม่ด้วยมือ โดยหมุนจนกว่าปะเก็นจะสัมผัสกับพื้นผิวยึด จากนั้นขันตัวกรองเพิ่มอีก ½ รอบ
ขันจุกระบายที่ด้านล่างของกล่องตัวกรองให้แน่น
| ระยะการซ่อมบำรุง | ขั้นตอนการบำรุงรักษา |
|---|---|
| ทุก 400 ชั่วโมง |
|
ตรวจสอบท่อน้ำมัน ข้อต่อ และข้อรัดเพื่อมองหาสัญญาณการรั่วไหล การเสื่อมสภาพ ความชำรุด หรือข้อต่อหลวม
Note: ซ่อมแซมส่วนประกอบของระบบน้ำมันที่เสียหายหรือรั่วไหลก่อนใช้รถ
ตัดการเชื่อมต่อแบตเตอรี่ก่อนซ่อมบำรุงอุปกรณ์ ถอดขั้วลบออกก่อน ตามด้วยขั้วบวก ต่อขั้วบวกก่อน ตามด้วยขั้วลบ
ชาร์จแบตเตอรี่ในพื้นที่เปิดโล่งที่ระบายอากาศได้ดี ห่างจากประกายไฟและเปลวไฟ ถอดปลั๊กเครื่องชาร์จก่อนต่อหรือตัดการเชื่อมต่อแบตเตอรี่ สวมใส่ชุดป้องกันและใช้เครื่องมือมีฉนวน
การพ่วงสตาร์ทรถอาจเป็นอันตรายได้ เพื่อหลีกเลี่ยงไม่ให้ผู้ใดได้รับบาดเจ็บหรือส่วนประกอบไฟฟ้าในรถเสียหาย ให้ปฏิบัติตามคำเตือนต่อไปนี้:
ห้ามพ่วงสตาร์ทกับแหล่งจ่ายไฟฟ้ากระแสตรงที่มีกำลังไฟฟ้าสูงกว่า 15 โวลต์ เพราะจะทำให้ระบบไฟฟ้าเสียหาย
ห้ามพยายามพ่วงสตาร์ทแบตเตอรี่ที่ประจุหมดซึ่งถูกแช่แข็ง เพราะแบตเตอรี่อาจแตกหรือระเบิดระหว่างการพ่วงสตาร์ทได้
ปฏิบัติตามคำเตือนเกี่ยวกับแบตเตอรี่ทั้งหมดขณะกำลังพ่วงสตาร์ทรถ
ตรวจสอบให้แน่ใจว่ารถไม่แตะกับรถที่ใช้พ่วงสตาร์ต
การต่อสายไฟเข้ากับขั้วที่ไม่ถูกต้องอาจทำให้มีผู้ได้รับบาดเจ็บและ/หรือส่วนประกอบไฟฟ้าในรถเสียหาย
บีบฝาครอบแบตเตอรี่ เพื่อปลดแถบจากฐานแบตเตอรี่ และถอดฝาครอบแบตเตอรี่ออกจากฐานแบตเตอรี่ (รูป 41)

ต่อสายพ่วงระหว่างขั้วบวกของแบตเตอรี่ทั้ง 2 ชุด (รูป 42)
Note: ขั้วบวกสังเกตได้จากสัญลักษณ์ + ที่ด้านบนของฝาครอบแบตเตอรี่
ต่อปลายด้านหนึ่งของสายพ่วงเข้ากับขั้วลบของแบตเตอรี่ในรถอีกคัน
Note: ขั้วลบระบุด้วย "NEG” บนฝาครอบแบตเตอรี่
Note: อย่าต่อปลายอีกด้านของสายพ่วงเข้ากับขั้วลบของแบตเตอรี่ที่ไม่มีประจุแล้ว ต่อสายพ่วงเข้ากับเครื่องยนต์หรือโครงรถ อย่าต่อสายพ่วงเข้ากับระบบเชื้อเพลิง

สตาร์ทเครื่องยนต์ของรถคันที่ใช้พ่วงสตาร์ท
Note: ปล่อยให้ทำงานสักครู่ จากนั้นสตาร์ทรถของคุณ
ถอดสายพ่วงขั้วลบออกจากเครื่องยนต์ของคุณก่อน จากนั้นจากแบตเตอรี่ในรถอีกคัน
ติดตั้งฝาครอบแบตเตอรี่เข้ากับฐานแบตเตอรี่
| ระยะการซ่อมบำรุง | ขั้นตอนการบำรุงรักษา |
|---|---|
| ทุก 50 ชั่วโมง |
|
น้ำอิเล็กโทรไลต์ในแบตเตอรี่ประกอบด้วยกรดซัลฟูริก ซึ่งเป็นอันตรายหากรับประทานหรือทำให้เป็นแผลไหม้รุนแรง
ห้ามดื่มหรือให้น้ำอิเล็กโทรไลต์สัมผัสผิวหนัง ดวงตา หรือเสื้อผ้า สวมใส่แว่นนิรภัยเพื่อป้องกันดวงตาและสวมถุงมือยางเพื่อปกป้องมือ
เมื่อเติมน้ำกลั่นในแบตเตอรี่ ต้องเตรียมน้ำสะอาดไว้ใกล้ๆ เสมอเพื่อล้างผิวหนัง
รักษาความสะอาดแบตเตอรี่และชาร์จให้เต็มอยู่เสมอ
หากขั้วแบตเตอรี่สึกหรอ ทำความสะอาดโดยใช้น้ำ 4 ส่วน ผสมกับผงฟู 1 ส่วน
ทาจาระบีบางๆ ที่ขั้วแบตเตอรี่เพื่อป้องกันการกัดกร่อน
รักษาระดับอิเล็กโทรไลต์ของแบตเตอรี่
รักษาความสะอาดส่วนบนของแบตเตอรี่ โดยล้างเป็นครั้งคราวด้วยแปรงจุ่มน้ำผสมแอมโมเนียหรือผสมโซดาไบคาร์บอเนต ล้างพื้นผิวด้านบนด้วยน้ำหลังจากทำความสะอาด อย่าเปิดฝาเติมขณะทำความสะอาด
ตรวจสอบให้แน่ใจว่าสายไฟแบตเตอรี่ยึดกับขั้วแน่นหนา เพื่อให้ขั้วไฟฟ้าสัมผัสกันดี
รักษาระดับอิเล็กโทรไลต์ในเซลล์แบตเตอรี่ด้วยน้ำกลั่นหรือน้ำดีมิน อย่าเติมน้ำในเซลล์เกินด้านล่างของแหวนเติมภายในแต่ละเซลล์
หากคุณจัดเก็บรถไว้ในสถานที่ที่มีอุณหภูมิสูงมาก แบตเตอรี่จะหมดเร็วมากกว่ารถที่จัดเก็บในสถานที่ที่อากาศเย็น
| ระยะการซ่อมบำรุง | ขั้นตอนการบำรุงรักษา |
|---|---|
| ทุก 100 ชั่วโมง |
|
จอดรถบนพื้นราบ
ดึงเบรกมือ
ดับเครื่องยนต์และดึงกุญแจออก
ทำความสะอาดบริเวณรอบจุกเติม/เช็คของชุดเฟืองท้าย (รูป 43)

เปิดจุกเติม/เช็ค และตรวจสอบระดับน้ำมัน
Note: น้ำมันควรสูงถึงระดับรู
หากน้ำมันเหลือน้อย ให้เติมน้ำมันที่กำหนด
ปิดจุกเติม/เช็ค
| ระยะการซ่อมบำรุง | ขั้นตอนการบำรุงรักษา |
|---|---|
| ทุก 800 ชั่วโมง |
|
ข้อมูลจำเพาะของน้ำมันชุดเฟืองท้าย: น้ำมันไฮดรอลิก Mobil 424
จอดรถบนพื้นราบ
ดึงเบรกมือ
ดับเครื่องยนต์และดึงกุญแจออก
ทำความสะอาดบริเวณรอบจุกระบายด้านข้างของชุดเฟืองท้าย (รูป 43)
วางอ่างระบายใต้จุกระบาย
เปิดจุกระบายและปล่อยให้น้ำมันไหลลงในอ่างระบาย
ปิดและขันจุกระบายเมื่อน้ำมันหยุดไหล
ทำความสะอาดบริเวณรอบจุกเติม/เช็คที่ด้านล่างของชุดเฟืองท้าย
เปิดจุกเติม/เช็ค และเติมน้ำมันที่กำหนดจนกว่าระดับน้ำมันจะสูงถึงรู
ปิดจุกเติม/เช็ค
| ระยะการซ่อมบำรุง | ขั้นตอนการบำรุงรักษา |
|---|---|
| ทุก 200 ชั่วโมง |
|
ตรวจสอบหัวเพลาความเร็วคงที่เพื่อหารอยแตก รู หรือความหลวม หากพบความเสียหายใดๆ ติดต่อตัวแทนบริการที่ได้รับอนุญาตเพื่อซ่อมแซม
| ระยะการซ่อมบำรุง | ขั้นตอนการบำรุงรักษา |
|---|---|
| หลังจาก 10 ชั่วโมงแรก |
|
| ทุก 200 ชั่วโมง |
|
เปลี่ยนเกียร์ไปตำแหน่งเกียร์ว่าง
ถอดหมุดเคลวิสที่ยึดสายเกียร์เข้ากับก้านเกียร์ของเพลาส่งกำลัง (รูป 44)

คลายน็อตสวมทับเคลวิสและปรับหมุดเคลวิสแต่ละตัว เพื่อให้ระยะฟรีเพลย์ของสายเกียร์เท่ากันทั้งเดินหน้าและถอยหลัง สัมพันธ์กับรูก้านเกียร์ของเพลาส่งกำลัง (โดยที่ระยะฟรีเพลย์ของเพลาส่งกำลังยกขึ้นไปในทิศทางเดียวกัน)
ติดตั้งหมุดเคลวิสและขันน็อตสวมทับให้แน่นเมื่อเสร็จ
| ระยะการซ่อมบำรุง | ขั้นตอนการบำรุงรักษา |
|---|---|
| ทุก 200 ชั่วโมง |
|
ถอดหมุดเคลวิสที่ยึดสายเกียร์สูง-ต่ำเข้ากับเพลาส่งกำลัง (รูป 44)
คลายน็อตสวมทับเคลวิสและปรับหมุดเคลวิส เพื่อให้รูเคลวิสตรงกับรูในโครงยึดเพลาส่งกำลัง
ติดตั้งหมุดเคลวิสและขันน็อตสวมทับให้แน่นเมื่อเสร็จสิ้น
| ระยะการซ่อมบำรุง | ขั้นตอนการบำรุงรักษา |
|---|---|
| ทุก 200 ชั่วโมง |
|
โยกคันโยกล็อกเฟืองท้ายไปยังตำแหน่งปิด
คลายหมุดเคลวิสที่ยึดสายล็อกเฟืองท้ายเข้ากับโครงยึดบนเพลาส่งกำลัง (รูป 45)

ปรับน็อตสวมทับเพื่อให้มีช่องว่างขนาด 0.25 ถึง 1.5 มม. (0.01 ถึง 0.06 นิ้ว) ระหว่างตะขอสปริงกับ OD ของรูในคันเพลาส่งกำลัง
ขันน็อตสวมทับให้แน่นเมื่อเสร็จสิ้น
| ระยะการซ่อมบำรุง | ขั้นตอนการบำรุงรักษา |
|---|---|
| ทุก 100 ชั่วโมง |
|
ข้อมูลจำเพาะแรงดันลมยางล้อหน้า: 220 กิโลปาสกาล (32 ปอนด์ต่อตร.นิ้ว)
ข้อมูลจำเพาะแรงดันลมยางล้อหลัง: 124 กิโลปาสกาล (18 ปอนด์ต่อตร.นิ้ว)
อุบัติเหตุ เช่น การชนขอบทาง อาจสร้างความเสียหายต่อยางหรือขอบล้อได้ และยังทำให้ล้อไม่ตรง ดังนั้นให้ตรวจสอบสภาพยางหลังเกิดอุบัติเหตุ
Important: ตรวจสอบแรงดันลมยางเป็นประจำเพื่อรับรองแรงดันที่เหมาะสม หากยางไม่มีแรงดันลมยางที่เหมาะสม ยางอาจสึกหรอก่อนกำหนด และอาจส่งผลให้เพลาขับเคลื่อน 4 ล้อหักงอได้
รูป 46 เป็นตัวอย่างยางสึกหรอที่เกิดจากยางแบน

รูป 47 เป็นตัวอย่างยางสึกหรอที่เกิดจากยางบวม

| ระยะการซ่อมบำรุง | ขั้นตอนการบำรุงรักษา |
|---|---|
| ทุก 400 ชั่วโมง |
|
ตรวจสอบให้แน่ใจว่าแรงดันยางถูกต้อง แล้วค่อยตรวจสอบการตั้งศูนย์ล้อหน้า โปรดดู การตรวจสอบแรงดันลมยาง
คนขับต้องขึ้นไปนั่งบนเบาะนั่งหรือวางสิ่งของที่มีน้ำหนักเท่ากับน้ำหนักเฉลี่ยของคนขับไว้บนเบาะ
คนขับหรือสิ่งของดังกล่าวต้องอยู่บนเบาะตลอดขั้นตอนการตั้งศูนย์ล้อหน้า
บนพื้นราบ ดันรถไปข้างหลัง 2 ถึง 3 เมตร (6 ถึง 10 ฟุต) จากนั้นดันกลับมาข้างหน้าที่ตำแหน่งเริ่มต้น
วิธีนี้ช่วยให้ระบบกันสะเทือนของอุปกรณ์อยู่ในตำแหน่งทำงานตามปกติ
ตรวจสอบให้แน่ใจว่าล้อหันตรงไปข้างหน้า
วัดระยะห่างระหว่างล้อหน้าที่ความสูงเพลา ทั้งด้านหน้าและด้านหลังของล้อ (รูป 48)
โทอินของล้อหน้าควรอยู่ที่ 0 ± 6 มม. (0 ± 1/4 นิ้ว)
Important: ตรวจสอบค่าที่วัดได้จากที่เดิมบนยาง รถควรจอดบนพื้นราบโดยที่ยางหันตรงไปข้างหน้า

หากโทอินของล้อหน้าไม่ถูกต้อง ให้ปรับตามขั้นตอนต่อไปนี้:
คลายน็อตสวมทับที่กลางคันส่ง (รูป 49)

หมุนคันส่งทั้งสองเท่าๆ กันเพื่อให้ด้านหน้ายางหันเข้าหรือหันออก
ขันน็อตสวมทับของคันส่งเมื่อการปรับโทอินถูกต้องแล้ว
ขันน็อตสวมทับของคันส่งจนได้แรงบิด 62 ถึง 74 นิวตันเมตร (45 ถึง 55 ฟุต-ปอนด์)
หลังจากปรับโทอินเสร็จแล้ว ตรวจสอบว่าล้อสามารถหมุนจนสุดทั้งสองทิศทางเมื่อหมุนพวงมาลัย
ไม่ควรมีชิ้นส่วนใดของเครื่องยนต์สัมผัสกันขณะที่คุณหมุนพวงมาลัยไปด้านหนึ่งจนสุดแล้วหมุนกลับมายังอีกด้านหนึ่งจนสุด ทำการปรับ ถ้าจำเป็น
| ระยะการซ่อมบำรุง | ขั้นตอนการบำรุงรักษา |
|---|---|
| หลังจาก 2 ชั่วโมงแรก |
|
| หลังจาก 10 ชั่วโมงแรก |
|
| ทุก 200 ชั่วโมง |
|
ข้อมูลจำเพาะค่าแรงบิดสำหรับขันน็อกล็อกล้อ: 109 ถึง 122 นิวตันเมตร (80 ถึง 90 ฟุตปอนด์)
ขันน็อตล็อกที่ล้อหน้าและล้อหลังในรูปแบบไขว้กันไปมาตามที่แสดงใน รูป 50 จนได้แรงบิดที่กำหนด

น้ำยาหล่อเย็นเครื่องยนต์เป็นพิษ ห้ามรับประทาน และเก็บให้ห่างจากมือเด็กและสัตว์เลี้ยง
การระบายน้ำยาหล่อเย็นที่ร้อนและมีแรงดัน หรือการสัมผัสหม้อน้ำร้อนและชิ้นส่วนรอบๆ อาจทำให้ผิวหนังถูกลวกรุนแรง
ปล่อยให้เครื่องยนต์เย็นลงอย่างน้อย 15 นาทีก่อนถอดฝาหม้อน้ำเสมอ
ใช้ผ้าขี้ริ้วเมื่อเปิดฝาหม้อน้ำ และเปิดฝาช้าๆ เพื่อปล่อยไอน้ำออก
อย่าขับรถโดยที่ฝาครอบไม่เข้าที่
เก็บนิ้ว มือ และเสื้อผ้าให้ห่างจากพัดลมหมุนและสายพานขับ
ดับเครื่องยนต์และดึงกุญแจออกก่อนการบำรุงรักษา
| ระยะการซ่อมบำรุง | ขั้นตอนการบำรุงรักษา |
|---|---|
| ก่อนการใช้งานแต่ละครั้งหรือทุกวัน |
|
ความจุระบบน้ำหล่อเย็น: 3.7 ลิตร (4 แกลลอนสหรัฐ)
ประเภทน้ำหล่อเย็น: ส่วนผสมน้ำกับน้ำยาป้องกันการแข็งตัวเอธิลีนไกลคอลถาวรสัดส่วน 50/50
หากเครื่องยนต์กำลังทำงานและมีแรงดัน น้ำหล่อเย็นที่ร้อนอาจดันออกมาและลวกผิวหนังได้
อย่าเปิดหรือเติมน้ำหล่อเย็นในหม้อน้ำ เพราะจะทำให้อากาศเข้าไปในระบบและส่งผลให้เครื่องยนต์เสียหาย เติมเฉพาะน้ำหล่อเย็นเครื่องยนต์ลงในหม้อน้ำเท่านั้น
อย่าเปิดฝาหม้อน้ำในขณะที่เครื่องยนต์กำลังทำงาน
ใช้ผ้าขี้ริ้วเมื่อเปิดฝาหม้อน้ำ และเปิดฝาช้าๆ เพื่อปล่อยไอน้ำออก
จอดอุปกรณ์บนพื้นราบ
โยกคันเกียร์ไปตำแหน่ง P (จอด)
ดับเครื่องยนต์และดึงกุญแจออก
ตรวจสอบระดับน้ำหล่อเย็นภายในถังเก็บน้ำ

Note: ระดับน้ำหล่อเย็นควรถึงใต้ช่องเติมขณะที่เครื่องยนต์เย็นอยู่
หากน้ำหล่อเย็นเหลือน้อย เปิดฝาถังน้ำหล่อเย็น แล้วเติมน้ำยาป้องกันการแข็งตัวที่มีส่วนผสมของเอธิลีนไกลคอล 50% และน้ำกลั่น 50% ที่ใช้เทคโนโลยีสารเพิ่มคุณภาพอินทรีย์ (OAT)
อย่าเติมจนล้น
ใช้มือปิดฝาถังให้แน่น
| ระยะการซ่อมบำรุง | ขั้นตอนการบำรุงรักษา |
|---|---|
| ก่อนการใช้งานแต่ละครั้งหรือทุกวัน |
|
จอดรถบนพื้นราบ
ดึงเบรกมือ
ดับเครื่องยนต์และดึงกุญแจออก
ทำความสะอาดบริเวณเครื่องยนต์ให้ปราศจากเศษวัสดุ
ปลดสลักหรือถอดสกรีนหม้อน้ำออกจากด้านหน้าของหม้อน้ำ (รูป 52)

หมุนสลักและหมุนคูลเลอร์น้ำมันออกห่างจากหม้อน้ำ ถ้าติดตั้งอยู่(รูป 53)

ทำความสะอาดหม้อน้ำ คูลเลอร์น้ำมัน และสกรีนด้วยการเป่าลม
Note: เป่าเศษวัสดุออกจากหม้อน้ำ
ติดตั้งคูลเลอร์และสกรีนเข้ากับหม้อน้ำ
| ระยะการซ่อมบำรุง | ขั้นตอนการบำรุงรักษา |
|---|---|
| ทุก 1,000 ชั่วโมง |
|
ความจุระบบน้ำหล่อเย็น: 3.7 ลิตร (4 แกลลอนสหรัฐ)
ประเภทน้ำหล่อเย็น: ส่วนผสมน้ำกับน้ำยาป้องกันการแข็งตัวเอธิลีนไกลคอลถาวรสัดส่วน 50/50
ติดต่อตัวแทนจำหน่ายของ Toro ที่ได้รับอนุญาต
| ระยะการซ่อมบำรุง | ขั้นตอนการบำรุงรักษา |
|---|---|
| ก่อนการใช้งานแต่ละครั้งหรือทุกวัน |
|
| ทุก 1,000 ชั่วโมง |
|
ประเภทน้ำมันเบรก: DOT 3
จอดรถบนพื้นราบ
ดึงเบรกมือ
ดับเครื่องยนต์และดึงกุญแจออก
เปิดกระโปรงรถขึ้นเพื่อเข้าถึงกระบอกสูบเบรกหลักและถังน้ำมันเบรก (รูป 54)

ตรวจสอบว่าระดับน้ำมันถึงขีดเต็มบนถังน้ำมันเบรก (รูป 55)

ถ้าน้ำมันเหลือน้อย ทำความสะอาดบริเวณรอบๆ ฝา เปิดฝาถังน้ำมัน และเติมน้ำมันเบรกที่กำหนดลงไปจนถึงระดับที่เหมาะสม (รูป 55)
Note: อย่าเติมน้ำมันเบรกลงในถังมากเกินไป
| ระยะการซ่อมบำรุง | ขั้นตอนการบำรุงรักษา |
|---|---|
| หลังจาก 10 ชั่วโมงแรก |
|
| ทุก 200 ชั่วโมง |
|
ถอดด้ามยางจากคันเบรกมือ (รูป 56)

คลายสกรูตั้งค่าที่ยึดลูกบิดกับคันเบรกมือ (รูป 57)

หมุนลูกบิด (รูป 57) จนได้แรงบิด 20 ถึง 22 กก. (45 ถึง 50 ฟุตปอนด์) ให้คันเบรกทำงาน
ขันสกรูตั้งค่าให้แน่นเมื่อเสร็จสิ้น (รูป 57)
Note: หากคุณไม่สามารถปรับเบรกมือได้โดยการปรับคันเบรกมือ ให้คลายด้ามจับที่ตรงกลางการปรับ และปรับสายเบรกที่อยู่ด้านหลัง จากนั้นทำซ้ำขั้นตอน 3
ใส่ด้ามยางลงในคันเบรกมือ (รูป 56)
| ระยะการซ่อมบำรุง | ขั้นตอนการบำรุงรักษา |
|---|---|
| ทุก 200 ชั่วโมง |
|
Note: ถอดกระโปรงหน้าเพื่อให้ดำเนินการได้ง่าย
ถอดสลักปลายแยกและหมุดเคลวิสที่ยึดก้ามปูกระบอกสูบหลักเข้ากับเดือยแป้นเบรก (รูป 58)

ยกแป้นเบรกขึ้น (รูป 59) จนแตะกับโครงรถ
คลายน็อตสวมทับที่ยึดก้ามปูเข้ากับเพลากระบอกสูบหลัก (รูป 59)
ปรับก้ามปูจนกว่ารูจะเรียงตรงกับรูของเดือยแป้นเบรก
ยึดก้ามปูเข้ากับเดือยแป้นด้วยหมุดเคลวิสและสลักปลายแยก
ขันน็อตสวมทับยึดก้ามปูเข้ากับเพลากระบอกสูบหลักให้แน่น
Note: กระบอกสูบหลักของเบรกต้องปล่อยแรงดันเมื่อปรับถูกต้องแล้ว

| ระยะการซ่อมบำรุง | ขั้นตอนการบำรุงรักษา |
|---|---|
| หลังจาก 10 ชั่วโมงแรก |
|
| ทุก 200 ชั่วโมง |
|
ยกกระบะท้ายขึ้น และวางก้านค้ำยันนิรภัยบนกระบอกสูบลิฟต์ที่ยืดออกเพื่อยกกระบะท้ายให้มั่นคง
ตรวจสอบความตึงโดยกดสายพานที่ช่วงกลางระหว่างเพลาข้อเหวี่ยงกับรอกอัลเทอร์เนเตอร์ด้วยแรง 10 กก. (22 ปอนด์) (รูป 60)
Note: สายพานใหม่ควรเบน 8 ถึง 12 มม. (0.3 ถึง 0.5 นิ้ว)
Note: สายพานใช้แล้วควรเบน 10 ถึง 14 มม. (0.4 ถึง 0.55 นิ้ว) หากการเบนไม่ถูกต้อง ดำเนินการในขั้นตอนถัดไป ถ้าถูกต้อง ใช้งานรถต่อไปได้
หากต้องการปรับความตึงสายพาน ให้ดำเนินการดังนี้:
| ระยะการซ่อมบำรุง | ขั้นตอนการบำรุงรักษา |
|---|---|
| ทุก 200 ชั่วโมง |
|
Note: คุณสามารถปรับสายแป้นคลัตช์ได้ที่หัวหมูเกียร์หรือที่เดือยแป้นคลัตช์ คุณสามารถถอดกระโปรงหน้าออกได้เพื่อให้เข้าถึงเดือยแป้นได้ง่าย
คลายน็อตสวมทับที่ยึดสายคลัตช์เข้ากับโครงยึดบนหัวหมูเกียร์ (รูป 61)
Note: ถ้าต้องการปรับเพิ่มเติม คุณอาจต้องถอดและหมุนข้อต่อกลม

ถอดสปริงคืนกลับจากคันคลัตช์
ปรับน็อตสวมทับหรือข้อต่อกลมจนขอบด้านหลังของแป้นคลัตช์ห่างจากด้านบนของแผ่นพื้นรูปเพชร 9.2 ถึง 9.8 ซม. (3⅝ ถึง 3⅞ นิ้ว) ขณะที่กดแรง 1.8 กก. (4 ปอนด์) ลงบนแป้น (รูป 62)

Note: แรงกดใช้เพื่อให้แบริ่งปล่อยคลัตช์แตะกับนิ้วแผ่นแรงดันเล็กน้อย
ขันน็อตสวมทับหลังจากปรับถูกต้องแล้ว
ตรวจสอบให้ได้ระยะ 9.2 ถึง 9.8 ซม. (3⅝ ถึง 3⅞ นิ้ว) หลังจากขันน็อตสวมทับแน่นแล้วเพื่อให้การปรับมีความเหมาะสม
Note: ปรับอีกครั้ง ถ้าจำเป็น
ต่อสปริงคืนกลับเข้ากับคันคลัตช์
Important: ตรวจสอบให้แน่ใจว่าปลายก้านวางตั้งฉากกับหัวกลม ไม่บิด และขนานกับแป้นคลัตช์หลังจากขันน็อตสวมทับแน่นแล้ว (รูป 63)
Note: ระยะฟรีเพลย์ของคลัตช์ไม่ควรน้อยกว่า 19 มม. (¾ นิ้ว)

จอดรถบนพื้นราบ ดึงเบรกมือ ดับเครื่องยนต์ และดึงกุญแจออก
ปรับข้อต่อกลมบนสายคันเร่ง (รูป 64) เพื่อให้มีช่องว่าง 2.54 ถึง 6.35 มม. (0.100 ถึง 0.250 นิ้ว) ระหว่างก้านแป้นคันเร่งกับด้านบนของแผ่นพื้นลายเพชร (รูป 65) เมื่อคุณกดด้วยแรง 11.3 กก. (25 ปอนด์) ที่ตรงกลางของแป้น
Note: เครื่องยนต์จะต้องไม่ทำงาน และสปริงคืนกลับต้องติดอยู่
ขันน็อตล็อกให้แน่น (รูป 64)


Important: ความเร็วเดินสูง สูงสุดคือ 3,650 รอบต่อนาที อย่าปรับการหยุดเดินรอบสูง
ไปพบแพทย์ทันทีหากโดนน้ำมันฉีดใส่ผิวหนัง น้ำมันที่ฉีดโดนร่างกายจะต้องให้แพทย์ผ่าตัดออกภายในสองถึงสามชั่วโมง
ก่อนถอดหรือทำงานใดๆ กับระบบไฮดรอลิก ให้ระบายแรงดันทั้งหมดในระบบโดยการปิดเครื่องยนต์ หมุนดัมพ์วาล์วจากยกขึ้นเป็นลดลง และ/หรือลดระดับกระบะท้ายและอุปกรณ์ต่อพ่วงลง ตั้งคันไฮโดรลิกแบบแนวตรงในตำแหน่งลอย อย่าทำงานใต้ท้องรถที่ยกกระบะท้ายขึ้น โดยไม่มีการหนุนกระบะด้วยอุปกรณ์นิรภัย
ตรวจสอบให้แน่ใจว่าท่ออ่อนน้ำมันไฮดรอลิกและท่อระบบมีสภาพดี และข้อต่อและการเชื่อมต่อระบบไฮดรอลิกทั้งหมดแน่นหนาก่อนจ่ายแรงดันเข้าไปในระบบไฮดรอลิก
เก็บมือและร่างกายออกห่างจากจุดรั่วรูเข็มหรือหัวฉีดที่ฉีดน้ำมันไฮดรอลิกแรงดันสูง
ใช้กระดาษลังหรือกระดาษหาจุดรั่วของระบบไฮดรอลิก
ประเภทน้ำมันเพลาส่งกำลัง: Dexron III ATF
| ระยะการซ่อมบำรุง | ขั้นตอนการบำรุงรักษา |
|---|---|
| ก่อนการใช้งานแต่ละครั้งหรือทุกวัน |
|
จอดรถบนพื้นราบ
ดึงเบรกมือ
ดับเครื่องยนต์และดึงกุญแจออก
ทำความสะอาดบริเวณรอบๆ ก้านวัด (รูป 66)

หมุนคลายก้านวัดออกจากด้านบนของเพลาส่งกำลังและเช็ดด้วยผ้าขี้ริ้วสะอาด
ขันก้านวัดลงในเพลาส่งกำลัง และดูให้แน่ใจว่าสอดลงไปจนสุดแล้ว
หมุนคลายก้านวัดและตรวจสอบระดับน้ำมัน
Note: น้ำมันควรถึงด้านบนของส่วนราบของก้านวัด
หากน้ำมันเหลือน้อย เติมน้ำมันที่กำหนดพอให้ถึงระดับที่เหมาะสม โปรดดู ข้อมูลจำเพาะน้ำมันเพลาส่งกำลัง/ไฮดรอลิก
| ระยะการซ่อมบำรุง | ขั้นตอนการบำรุงรักษา |
|---|---|
| ทุก 800 ชั่วโมง |
|
ความจุน้ำมันไฮดรอลิก: 7 ลิตร (7.5 ควอร์ตสหรัฐ)
จอดรถบนพื้นราบ
ดึงเบรกมือ
ดับเครื่องยนต์และดึงกุญแจออก
เปิดจุกระบายจากด้านข้างของถังน้ำมัน และปล่อยให้น้ำมันไฮดรอลิกไหลลงในอ่างระบาย (รูป 67)

จดบันทึกทิศทางของท่ออ่อนไฮดรอลิก และข้อต่อ 90° ที่ต่อไปยังตะแกรงที่ด้านข้างของถังน้ำมัน (รูป 68)
ถอดท่อไฮดรอลิกและข้อต่อ 90°
ถอดตะแกรงและทำความสะอาดด้วยการล้างด้านหลังด้วยน้ำยาชะล้างน้ำมันที่สะอาด
Note: วางตากลมให้แห้งก่อนติดตั้ง

ติดตั้งตะแกรง
ติดตั้งท่ออ่อนไฮดรอลิกและข้อต่อ 90° เข้ากับตะแกรงในทิศทางเดิม
ปิดและขันจุกระบายให้แน่น
เติมน้ำมันไฮดรอลิกที่กำหนดลงในถังประมาณ 7 ลิตร (7.5 ควอร์ตสหรัฐ) โปรดดู การตรวจสอบระดับน้ำมันเพลาส่งกำลัง/ไฮดรอลิก
สตาร์ทเครื่องยนต์ และปล่อยให้เครื่องยนต์ทำงานเพื่อเติมระบบไฮดรอลิก
ตรวจสอบระดับน้ำมันไฮดรอลิก และเติมถ้าจำเป็น
Important: ใช้เฉพาะน้ำมันไฮดรอลิกที่กำหนดเท่านั้น น้ำมันชนิดอื่นทำให้ระบบเสียหายได้
| ระยะการซ่อมบำรุง | ขั้นตอนการบำรุงรักษา |
|---|---|
| หลังจาก 10 ชั่วโมงแรก |
|
| ทุก 800 ชั่วโมง |
|
Important: การใช้ตัวกรองอื่นๆ อาจทำให้การรับประกันส่วนประกอบบางอย่างเป็นโมฆะ
จอดรถบนพื้นราบ
ดึงเบรกมือ
ดับเครื่องยนต์และดึงกุญแจออก
ทำความสะอาดบริเวณที่ยึดตัวกรอง
วางอ่างระบายใต้ตัวกรองและถอดตัวกรองออก (รูป 69)

หล่อลื่นปะเก็นบนตัวกรองใหม่
ตรวจสอบให้แน่ใจว่าบริเวณที่ยึดตัวกรองสะอาด
ขันสกรูตัวกรองจนกว่าปะเก็นสัมผัสกับแผ่นยึด และขันตัวกรองอีก ½ รอบ
สตาร์ทเครื่องยนต์ และปล่อยให้เครื่องยนต์ทำงานประมาณ 2 นาทีเพื่อไล่อากาศออกจากระบบ
ดับเครื่องยนต์และตรวจสอบระดับน้ำมันไฮดรอลิกเพื่อหาการรั่วไหล
ถังน้ำมันเติมน้ำมันไฮดรอลิกคุณภาพสูงมาแล้วจากโรงงาน ตรวจสอบระดับน้ำมันไฮดรอลิกก่อนสตาร์ทเครื่องยนต์ครั้งแรก และทุกวันหลังจากนั้น โปรดดู การตรวจสอบระดับน้ำมันไฮดรอลิกการไหลสูง
น้ำมันเปลี่ยนทดแทนที่แนะนำ: น้ำมันไฮดรอลิกชนิดยืดอายุการใช้งาน Toro PX มีจัดจำหน่ายแบบถัง 19 ลิตร (5 แกลลอนสหรัฐ) หรือถัง 208 ลิตร (55 แกลลอนสหรัฐ)
Note: รถที่ใช้น้ำมันเปลี่ยนทดแทนที่แนะนำไม่จำเป็นต้องเปลี่ยนน้ำมันและตัวกรองบ่อยๆ เหมือนกับการใช้น้ำมันเปลี่ยนทดแทนแบบอื่น
น้ำมันทางเลือก: หากไม่มีน้ำมันไฮดรอลิกชนิดยืดอายุการใช้งาน Toro PX จัดจำหน่าย คุณสามารถใช้น้ำมันไฮดรอลิกชนิดปิโตรเลียมทั่วไปที่มีข้อมูลจำเพาะตรงกับช่วงที่ระบุไว้สำหรับคุณสมบัติวัสดุต่อไปนี้ทั้งหมดและได้ตามมาตรฐานอุตสาหกรรม อย่าใช้น้ำมันสังเคราะห์ ปรึกษาตัวแทนจำหน่ายน้ำมันหล่อลื่นเพื่อค้นหาผลิตภัณฑ์ที่เหมาะสม
Note: Toro ไม่รับผิดชอบความเสียหายจากการใช้น้ำมันเปลี่ยนทดแทนที่ไม่เหมาะสม ดังนั้นควรใช้ผลิตภัณฑ์จากผู้ผลิตที่มีชื่อเสียงน่าเชื่อถือเท่านั้น
| คุณสมบัติวัสดุ: | ||
| ความหนืด, ASTM D445 | cSt ที่ 40°C (104°F) 44 ถึง 48 | |
| ดัชนีความหนืด ASTM D2270 | 140 ขึ้นไป | |
| จุดไหลเท, ASTM D97 | -37°C ถึง -45°C (-34°F ถึง -49°F) | |
| ข้อมูลจำเพาะของอุตสาหกรรม: | Eaton Vickers 694 (I-286-S, M-2950-S/35VQ25 หรือ M-2952-S) | |
Note: น้ำมันไฮดรอลิกส่วนใหญ่เกือบจะไม่มีสี ทำให้การมองหาจุดรั่วได้ยาก สีย้อมน้ำมันไฮดรอลิกสีแดงมีจัดจำหน่ายเป็นขวดขนาด 20 มล. ซึ่งขวดหนึ่งก็เพียงพอแล้วสำหรับน้ำมันไฮดรอลิก 15 ถึง 22 ลิตร สามารถแจ้งหมายเลขสั่งซื้ออะไหล่ 44-2500 กับตัวแทนจำหน่าย Toro ที่ได้รับอนุญาต
| ระยะการซ่อมบำรุง | ขั้นตอนการบำรุงรักษา |
|---|---|
| ก่อนการใช้งานแต่ละครั้งหรือทุกวัน |
|
จอดรถบนพื้นราบ
ดึงเบรกมือ
ดับเครื่องยนต์และดึงกุญแจออก
ทำความสะอาดบริเวณรอบช่องเติมและฝาของถังไฮดรอลิก (รูป 70)
เปิดฝาออกจากช่องเติม

ดึงก้านวัด (รูป 70) ออกจากช่องเติมและเช็ดด้วยผ้าขี้ริ้วสะอาด
สอดก้านวัดลงในช่องเติม จากนั้นดึงออกมาดูระดับน้ำมัน
Note: ระดับน้ำมันควรอยู่ระหว่าง 2 ขีดบนก้านวัด
หากน้ำมันเหลือน้อย เติมน้ำมันที่เหมาะสมพอให้ระดับถึงขีดบน โปรดดู (การเปลี่ยนน้ำมันไฮดรอลิกการไหลสูงและตัวกรอง)
ใส่ก้านวัดเข้าที่และปิดฝาช่องเติม
สตาร์ทเครื่องยนต์และเปิดอุปกรณ์ต่อพ่วง
Note: ปล่อยให้ทำงานประมาณ 2 นาทีเพื่อไล่อากาศออกจากระบบ
Important: รถต้องทำงานก่อนสตาร์ทระบบไฮดรอลิกการไหลสูง
ดับเครื่องยนต์และอุปกรณ์ต่อพ่วง จากนั้นตรวจสอบการรั่วไหล
| ระยะการซ่อมบำรุง | ขั้นตอนการบำรุงรักษา |
|---|---|
| ทุก 800 ชั่วโมง |
|
| ทุก 1,000 ชั่วโมง |
|
| ทุก 2,000 ชั่วโมง |
|
ความจุถังน้ำมันไฮดรอลิก:ประมาณ 15 ลิตร (4 แกลลอนสหรัฐ)
จอดรถบนพื้นราบ
ดึงเบรกมือ
ดับเครื่องยนต์และดึงกุญแจออก
ทำความสะอาดรอบๆ บริเวณที่ยึดตัวกรองการไหลสูง (รูป 69)
วางอ่างระบายใต้ตัวกรองและถอดตัวกรองออก
Note: หากน้ำมันไม่ระบายออกมา ถอดและอุดท่อไฮดรอลิกที่ไปยังตัวกรอง
หล่อลื่นปะเก็นซีลตัวกรองชิ้นใหม่ และหมุนตัวกรองลงในหัวตัวกรองด้วยมือจนปะเก็นสัมผัสกับหัวตัวกรอง จากนั้นหมุนต่ออีก 3/4 รอบ ตัวกรองควรผนึกแน่นหนาดี
เติมน้ำมันไฮดรอลิกลงในถังประมาณ 15 ลิตร (4 แกลลอนสหรัฐ)
สตาร์ทเครื่องยนต์ และปล่อยให้เดินรอบเบาประมาณ 2 นาทีเพื่อให้น้ำมันไหลเวียน และไล่อากาศที่ติดอยู่ในระบบ
ดับเครื่องยนต์และตรวจสอบระดับน้ำมัน
ตรวจสอบระดับน้ำมันให้ถูกต้อง
ทิ้งน้ำมันด้วยวิธีที่ถูกต้อง
กระบะท้ายสามารถยกขึ้นได้ในกรณีฉุกเฉินโดยไม่ต้องสตาร์ทเครื่องยนต์ ด้วยสตาร์ทเตอร์หมุนหรือโดยการจัมป์ระบบไฮดรอลิก
หมุนข้อเหวี่ยงสตาร์ทเตอร์ขณะจับคันโยกลิฟต์ไว้ในตำแหน่งยก ให้สตาร์ทเตอร์ทำงาน 10 วินาที จากนั้นรอ 60 วินาทีก่อนจะหมุนสตาร์ทเตอร์อีกครั้ง หากเครื่องยนต์ไม่ติด คุณต้องขนของลงและถอดกระบะท้าย (อุปกรณ์ต่อพ่วง) เพื่อซ่อมเครื่องยนต์หรือเพลาส่งกำลัง
กระบะท้ายที่บรรทุกของอยู่ซึ่งยกขึ้นโดยไม่มีก้านค้ำยันนิรภัยที่ถูกต้องอาจตกลงมาโดยไม่คาดคิด การทำงานใต้กระบะท้ายที่ยกขึ้นโดยไม่มีก้านค้ำยันอาจทำให้คุณหรือผู้อื่นได้รับบาดเจ็บได้
ก่อนซ่อมบำรุงหรือทำการปรับใดๆ กับรถ ให้จอดรถบนพื้นราบ ดึงเบรกมือ ดับเครื่องยนต์ และดึงกุญแจออก
ขนสิ่งของที่บรรทุกลงจากกระบะท้ายหรือถอดอุปกรณ์ต่อพ่วงอื่นๆ และสอดก้านค้ำยันนิรภัยไว้ที่ก้านกระบอกสูบที่ยืดออกเต็มที่ก่อนจะทำงานใต้กระบะท้ายที่ยกขึ้น
คุณต้องมีท่ออ่อนไฮดรอลิก 2 เส้น แต่ละเส้นต้องมีข้อต่อสวมเร็วทั้งตัวผู้และตัวเมีย ซึ่งพอดีกับข้อต่อสวมของรถเพื่อใช้วิธีนี้
ถอยรถอีกคันขึ้นท้ายของรถคันที่ใช้การไม่ได้
Important: ระบบไฮดรอลิกของรถใช้ Dexron III ATF ตรวจสอบให้แน่ใจว่ารถคันที่จะใช้จัมป์ระบบไฮดรอลิกใช้น้ำมันที่เท่าเทียมกัน เพื่อป้องกันการปนเปื้อนในระบบ
ที่รถทั้งสองคัน ให้ถอดท่ออ่อนที่ข้อต่อสวมเร็ว 2 เส้นจากท่ออ่อนที่ยึดกับโครงยึดข้อต่อสวม (รูป 71)

ที่รถคันที่เสีย ต่อท่ออ่อนจัมป์ 2 เส้นไปยังท่ออ่อนที่ถอดออกมา (รูป 72)
ปิดฝาข้อต่อที่ไม่ได้ใช้

ที่รถอีกคัน ต่อท่ออ่อน 2 เส้นเข้ากับข้อต่อสวมที่ยังอยู่ในโครงยึดข้อต่อสวม (ต่อท่ออ่อนด้านบนเข้ากับข้อต่อสวมด้านบน และท่ออ่อนด้านล่างกับข้อต่อสวมด้านล่าง) (รูป 73)
ปิดฝาข้อต่อที่ไม่ได้ใช้

กันผู้ที่อยู่รอบข้างทุกคนให้ออกห่างจากรถ
สตาร์ทรถคันที่สอง และโยกคันโยกลิฟต์ไปยังตำแหน่งยก ซึ่งจะยกกระบะท้ายของรถคันที่เสียขึ้นมา
โยกคันโยกลิฟต์ไฮดรอลิกไปยังตำแหน่งว่าง และล็อกคันโยก
ติดตั้งก้านค้ำยันกระบะท้ายเข้ากับกระบอกสูบลิฟต์ที่ยืดออก โปรดดู การใช้ก้านค้ำยันหนุนกระบะท้าย
Note: ขณะที่ดับเครื่องยนต์รถทั้งสองคัน โยกคันโยกลิฟต์ไปข้างหลังและไปข้างหน้าเพื่อคลายแรงดันจากระบบ และช่วยให้การถอดข้อต่อสวมเร็วได้ง่ายขึ้น
หลังจากทำตามขั้นตอนเสร็จแล้ว ถอดท่ออ่อนจัมป์และต่อท่ออ่อนไฮดรอลิกไปยังรถทั้งสองคัน
Important: ตรวจสอบระดับน้ำมันไฮดรอลิกในรถทั้งสองคันก่อนกลับไปใช้งานต่อ
ล้างรถตามที่จำเป็นโดยใช้น้ำเปล่าหรือน้ำผสมน้ำยาทำความสะอาดอ่อน ๆ คุณอาจใช้ผ้าขี้ริ้วล้างรถได้
Important: อย่าใช้น้ำกร่อยหรือน้ำหมุนเวียนล้างรถ
Important: อย่าใช้เครื่องฉีดน้ำแรงดันในการล้างรถ เครื่องฉีดน้ำแรงดันอาจสร้างความเสียหายให้ระบบไฟฟ้า ทำให้สติกเกอร์ที่สำคัญหลุดหาย หรือล้างจาระบีที่จำเป็นที่จุดเสียดสี หลีกเลี่ยงการใช้น้ำมากเกินไปใกล้กับแผงควบคุม เครื่องยนต์ และแบตเตอรี่
Important: อย่าล้างรถขณะที่เครื่องยนต์กำลังทำงาน การสร้างรถในขณะที่เครื่องยนต์ทำงานอยู่อาจส่งผลให้เครื่องยนต์ภายในเสียหาย
ดับเครื่องยนต์ ถอดกุญแจ และรอให้รถหยุดนิ่งก่อนจะลุกออกจากที่นั่งคนขับ รอให้เครื่องยนต์เย็นลงก่อนปรับ ซ่อมบำรุง ทำความสะอาด หรือจัดเก็บรถ
อย่าจัดเก็บรถหรือภาชนะบรรจุน้ำมันในที่ที่มีเปลวไฟ ประกายไฟ หรือไฟนำร่อง เช่น บนเครื่องทำน้ำร้อน หรือเครื่องใช้ไฟฟ้าอื่นๆ
| ระยะการซ่อมบำรุง | ขั้นตอนการบำรุงรักษา |
|---|---|
| หลังจาก 50 ชั่วโมงแรก |
|
| ทุก 200 ชั่วโมง |
|
| ทุก 400 ชั่วโมง |
|
| ทุก 600 ชั่วโมง |
|
จอดรถบนพื้นราบ ดึงเบรกมือ ดับเครื่องยนต์ และดึงกุญแจออก
ทำความสะอาดฝุ่นและคราบจากรถทั้งคัน รวมถึงด้านนอกเครื่องยนต์ ครีบหัวกระบอกสูบ และตัวเรือนเครื่องเป่า
ตรวจสอบเบรก โปรดดู การตรวจสอบระดับน้ำมันเบรก
ซ่อมบำรุงระบบกรองอากาศ โปรดดู การซ่อมบำรุงระบบกรองอากาศ
ผนึงช่องอากาศเข้าและช่องอากาศออกด้วยเทปทนฝนและแดด
อัดจาระบีรถ โปรดดู การอัดจาระบีแบริ่งและบุชชิ่ง
เปลี่ยนน้ำมันเครื่องและตัวกรองน้ำมัน โปรดดู การเปลี่ยนน้ำมันเครื่องและตัวกรองน้ำมันเครื่อง
ล้างถังเชื้อเพลิงด้วยน้ำมันดีเซลที่ใหม่และสะอาด
ยึดข้อต่อระบบเชื้อเพลิงทั้งหมดให้แน่น
ตรวจสอบแรงดันลมยาง โปรดดู การตรวจสอบแรงดันลมยาง
ตรวจสอบการป้องกันการแช่แข็ง และเติมส่วนผสมน้ำกับน้ำยาป้องกันการแช่แข็งในสัดส่วน 50/50 ตามที่จำเป็นสำหรับอุณหภูมิความเย็นที่คาดการณ์ไว้ในพื้นที่ของคุณ
ถอดแบตเตอรี่จากแชสซี ตรวจสอบระดับอิเล็กโทรไลต์ และชาร์จให้เต็ม โปรดดู การซ่อมบำรุงแบตเตอรี่
Note: อย่าต่อสายไฟแบตเตอรี่เข้ากับเสาขั้วแบตเตอรี่ในระหว่างจัดเก็บ
Important: แบตเตอรี่ต้องชาร์จจนเต็มเพื่อป้องกันการแช่แข็ง และความเสียหายเมื่ออุณหภูมิต่ำกกว่า 0°C (32°F) แบตเตอรี่ที่ชาร์จจนเต็มจะรักษาประจุได้ประมาณ 50 วันในอุณหภูมิที่ต่ำกว่า 4°C (40°F) หากอุณหภูมิจะสูงกว่า 4°C (40°F) ตรวจสอบระดับน้ำในแบตเตอรี่และชาร์จแบตเตอรี่ทุกๆ 30 วัน
ตรวจสอบและขันสลัก น็อต และสกรูทั้งหมด ซ่อมแซมหรือเปลี่ยนชิ้นส่วนที่ชำรุดเสียหาย
ซ่อมสีรอยขีดข่วนและพื้นผิวที่เปิดถึงโลหะทั้งหมด
สีสามารถซื้อได้จากตัวแทนบริการที่ได้รับอนุญาต
จัดเก็บรถในพื้นที่จัดเก็บหรือโรงรถที่แห้งและสะอาด
คลุมรถเพื่อป้องกันและรักษาความสะอาด
| Problem | Possible Cause | Corrective Action |
|---|---|---|
| ถอดข้อต่อสวมเร็วได้ยาก |
|
|
| พวงมาลัยพาวเวอร์หักเลี้ยวยาก |
|
|
| ข้อต่อไฮดรอลิกรั่ว |
|
|
| อุปกรณ์ต่อพ่วงไม่ทำงาน |
|
|
| เครื่องยนต์ไม่สตาร์ท |
|
|