Entretien
Note: Los lados derecho e izquierdo de la máquina se determinan desde la posición normal del operador.
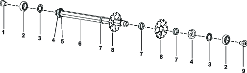
Desmontaje del conjunto de cuchillas de la escarificadora
Desmonte el conjunto de cuchillas de la escarificadora cuando necesite cambiar la cuchilla o sustituir los cojinetes
-
Fije la tuerca autoblocante en el extremo del conjunto, que contiene la arandela, en un tornillo.
Note: No retire la arandela ni la tuerca en este lado del conjunto.
-
Retire el perno de cabeza hexagonal, el cojinete y la junta flocada.
-
En el otro extremo del eje, retire el inserto roscado acanalado de la izquierda.
Prudence
Las cuchillas están muy afiladas y pueden tener rebabas que cortarían las manos.
Lleve guantes y extreme la precaución al retirar las cuchillas del eje.
-
Retire el cojinete, la junta flocada, las cuchillas y los espaciadores. Limpie y lubrique el eje con una capa ligera de grasa para simplificar el montaje.

-
Aplique fijador de roscas de resistencia media (por ejemplo, Loctite 243 azul) a las roscas del inserto acanalado, del perno de cabeza hexagonal y de la contratuerca al ensamblar el conjunto de cuchillas escarificadoras.
Important: El orden de desmontaje es extremadamente importante. No invierta las cuchillas al desmontarlas ni invierta el orden al montarlas. Observe el taladro de posicionamiento de cada cuchilla. El taladro de posicionamiento se utiliza durante el montaje para obtener una hélice correcta. Gire la cuchilla con el taladro de posicionamiento 1 con la hélice plana en sentido antihorario en cada cuchilla para lograr la hélice adecuada del conjunto de cuchillas de la escarificadora.

-
Apriete el inserto roscado acanalado, el perno hexagonal y la tuerca autoblocante a entre 108 y 135 N∙m.
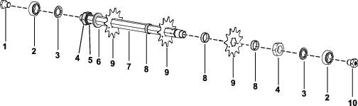
Desmontaje del conjunto de cuchillas de la escarificadora
Desmonte el conjunto de cuchillas de la escarificadora cuando necesite cambiar la cuchilla o sustituir los cojinetes
-
Fije la tuerca autoblocante en el extremo del conjunto, que contiene la arandela, en un tornillo.
Note: No retire la arandela ni la tuerca en este lado del conjunto.
-
Retire el perno de cabeza hexagonal, el cojinete y la junta flocada.
-
En el otro extremo del eje, retire el inserto roscado acanalado de la izquierda.
Prudence
Las cuchillas están muy afiladas y pueden tener rebabas que cortarían las manos.
Lleve guantes y extreme la precaución al retirar las cuchillas del eje.
-
Retire el cojinete, la junta flocada, las cuchillas y los espaciadores. Limpie y lubrique el eje con una capa ligera de grasa para simplificar el montaje.
Note: El conjunto de cuchillas de acero de muelle cuenta con una arandela grande y una cuchilla adicional instalada antes del primer espaciador, tal y como se muestra a continuación.

-
Aplique fijador de roscas de resistencia media (por ejemplo, Loctite 243 azul) a las roscas del inserto acanalado, del perno de cabeza hexagonal y de la contratuerca al ensamblar el conjunto de cuchillas escarificadoras.
-
Apriete el inserto roscado acanalado, el perno hexagonal y la tuerca autoblocante a entre 108 y 135 N∙m.
Mantenimiento del rodillo
Para facilitar el mantenimiento del rodillo están disponibles el Kit de reacondicionamiento de rodillos para green (Pieza 140-5552) y el Kit de herramientas para el reacondicionamiento de rodillos para green (Pieza 140-5553) (Figure 9). El Kit de reacondicionamiento de rodillos incluye todos los cojinetes, tuercas de cojinete, juntas y retenes necesarios para reacondicionar un rodillo.
El Kit de herramientas para el reacondicionamiento del rodillo incluye todas las herramientas e instrucciones de instalación necesarias para reacondicionar un rodillo con el kit de reacondicionamiento de rodillos. Consulte el catálogo de piezas o póngase en contacto con su Distribuidor Autorizado Toro si necesita ayuda.



, que significa: Cuidado, Advertencia o Peligro
– instrucción relativa a la seguridad personal. El incumplimiento
de estas instrucciones puede dar lugar a lesiones personales o la
muerte.



