Mantenimiento
Note: Les côtés gauche et droit de la machine sont déterminés d'après la position d'utilisation normale.
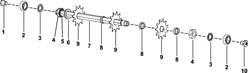
Démontage de l'ensemble lames du défeutreur
Démontez l'ensemble lames du défeutreur chaque fois que vous devez remplacer une lame individuelle ou des roulements.
-
Bloquez l'écrou de blocage à l'extrémité de l'ensemble, qui contient la rondelle, dans un étau.
Note: Ne retirez pas la rondelle ou l'écrou de ce côté de l'ensemble.
-
Retirez le boulon à tête hexagonale, le roulement et le joint floqué.
-
À l'autre extrémité de l'arbre, retirez l'insert cannelé fileté à gauche.
Cuidado
Les lames sont extrêmement coupantes et peuvent vous entailler les mains si elles comportent des bavures.
Portez des gants et déposez les lames de l'arbre avec précaution.
-
Retirez le roulement, le joint floqué, les lames et les entretoises. Nettoyez et lubrifiez l'arbre avec une fine couche de graisse pour faciliter le montage.

-
Appliquez du frein-filet moyenne résistance (tel que Loctite 243 bleu) sur le filetage de l'insert cannelé, du boulon à tête hexagonale et de l'écrou de blocage lors du montage des lames du défeutreur.
Important: L'ordre de démontage est extrêmement important. N'intervertissez pas les lames lors du démontage et n'inversez pas l'ordre de remontage. Notez le trou de repérage dans chaque lame. Le trou de repérage est utilisé lors du montage pour obtenir le pas hélicoïdal correct. En vous aidant du trou de repérage, tournez chaque lame successive d'un méplat de l'arbre dans le sens antihoraire pour obtenir le pas hélicoïdal correct pour l'ensemble lames.

-
Serrez l'insert cannelé fileté, le boulon à tête hexagonale et l'écrou de blocage à un couple de 108 à 135 N·m.
Démontage de l'ensemble lames du défeutreur
Démontez l'ensemble lames du défeutreur chaque fois que vous devez remplacer une lame individuelle ou des roulements.
-
Bloquez l'écrou de blocage à l'extrémité de l'ensemble, qui contient la rondelle, dans un étau.
Note: Ne retirez pas la rondelle ou l'écrou de ce côté de l'ensemble.
-
Retirez le boulon à tête hexagonale, le roulement et le joint floqué.
-
À l'autre extrémité de l'arbre, retirez l'insert cannelé fileté à gauche.
Cuidado
Les lames sont extrêmement coupantes et peuvent vous entailler les mains si elles comportent des bavures.
Portez des gants et déposez les lames de l'arbre avec précaution.
-
Retirez le roulement, le joint floqué, les lames et les entretoises. Nettoyez et lubrifiez l'arbre avec une fine couche de graisse pour faciliter le montage.
Note: Le jeu de lames acier à ressort est doté d'une grande rondelle et d'une lame supplémentaire montée avant la première entretoise, comme montré ci-dessous.

-
Appliquez du frein-filet moyenne résistance (tel que Loctite 243 bleu) sur le filetage de l'insert cannelé, du boulon à tête hexagonale et de l'écrou de blocage lors du montage des lames du défeutreur.
-
Serrez l'insert cannelé fileté, le boulon à tête hexagonale et l'écrou de blocage à un couple de 108 à 135 N·m.
Entretien du rouleau
Le kit de remise à neuf de rouleau pour greens (réf. 140-5552) et le kit d'outillage pour remise à neuf de rouleau pour greens (réf. 140-5553) (Figura 9) sont disponibles pour l'entretien du rouleau. Le kit de remise à neuf de rouleau comprend tous les roulements, écrous de roulements et joints nécessaires pour la remise à neuf d'un rouleau.
Le kit d'outillage pour remise à neuf de rouleau comprend tous les outils et toutes les instructions d'installation nécessaires pour remettre un rouleau à neuf avec le kit de remise à neuf. Consultez le catalogue de pièces ou adressez-vous à votre distributeur Toro agréé.



) et la mention Prudence,
Attention ou Danger. Le non respect de ces instructions peut entraîner
des blessures graves ou mortelles.



