| 整備間隔 | 整備手順 |
|---|---|
| 使用するごとまたは毎日 |
|
この製品は、公道以外の場所で主に人や資材を運搬することを目的として製造されている汎用作業車です。この機械は本来の目的から外れた使用をすると運転者本人や周囲の人間に危険な場合があります。
この説明書を読んで製品の運転方法や整備方法を十分に理解し、他人に迷惑の掛からないまた適切な方法でご使用ください。この製品を適切かつ安全に使用するのはお客様の責任です。
製品の安全や取り扱い講習、アクセサリなどに関する情報、代理店についての情報の入手、お買い上げ製品の登録などをネットで行っていただくことができます:www.Toro.com
整備について、また純正部品についてなど、分からないことはお気軽に弊社代理店またはカスタマーサービスにおたずねください。お問い合わせの際には、必ず製品のモデル番号とシリアル番号をお知らせください。図 1 にモデル番号とシリアル番号の表示位置を示します。いまのうちに番号をメモしておきましょう。
Important: シリアル番号デカルについている QR コード(無い場合もあります)をモバイル機器でスキャンすると、製品保証、パーツその他の製品情報にアクセスできます。

この製品は、関連するEU規制に適合しています; 詳細については、DOC シート(規格適合証明書)をご覧ください。
このマシンにテレマティクスデバイスが装備されている場合、Toro認定代理店にお問い合わてデバイスをアクティベートしてください。
カリフォルニア州
第65号決議による警告
この製品の電源コードには鉛が使用されており、カリフォルニア州では発ガン性や先天性異常を引き起こす物質とされています。取り扱い後は手をよく洗ってください。
バッテリーやバッテリー関連製品には鉛が含まれており、カリフォルニア州では発ガン性や先天性異常を引き起こす物質とされています。取り扱い後は手をよく洗ってください。
危険警告記号(図 2)は、このマニュアルと実機上とに表示され、事故防止のために守るべき重要な注意事項を示します。

危険警告記号に続いて、危険、警告、または注意という文字が表示され、危険についての具体的な内容が示されます。
危険:人命に関わる重大な潜在的危険を意味します。この注意を守らないと死亡事故や重大な人身事故が起こります。
警告:人命に関わる潜在的危険を意味します。この注意を守らないと死亡事故や重大な人身事故が起こる恐れがあります。
注意:安全に関わる潜在的危険を意味します。この注意を守らないとけがをする可能性があります。
この他に2つの言葉で注意を促しています。重要「重要」は製品の構造などについての注意点を、注はその他の注意点を表しています。
この機械は人身事故を引き起こす能力がある。重大な人身事故を防ぐため、すべての注意事項を厳守してください。
マシンを始動する前に必ずこのオペレーターズマニュアルをお読みになり、内容をよく理解してください。この製品を使用する人すべてが製品を良く知り、警告の内容を理解してください。
この機械を運転する時は常に十分な注意を払ってください。運転中は運転操作に集中してください;注意散漫は事故の大きな原因となります。
機械の可動部の近くには絶対に手足を近づけないでください。
ガードなどの安全保護機器が正しく取り付けられていない時は、運転しないでください。
作業場所に、無用の大人、子供、ペットなどを近づけないでください。子供に運転させないでください。
整備を行う前には、必ず車両を停止させ、スイッチを切り、キーを抜き取ってください。
間違った使い方や整備不良は負傷などの人身事故につながります。事故を防止するため、以下に示す安全上の注意や安全注意標識
のついている遵守事項は必ずお守りください 「注意」、「警告」、および「危険」
の記号は、人身の安全に関わる注意事項を示しています。これらの注意を怠ると死亡事故などの重大な人身事故が発生する恐れがあります。
![]() |
セーフティラベルや指示は危険な個所のオペレーターから見やすい部分に貼付してあります。破損したりはがれたりした場合は新しいラベルを貼り直してください。 |

















この作業に必要なパーツ
| ハンドル | 1 |
| ねじ | 5 |
| スプリング | 2 |
| ホイールカバー | 1 |
| ホイールクリップ | 1 |
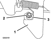
手順については図 3を参照してください。
ハンドルをステアリング シャフトにはめ込む。
ハンドルが正しくセンタリングされている(平らな底面が床面と平行になっている)ことを確認する。
ロックナットでハンドルをステアリングシャフトに固定する。
ロックナットを 27 N·m(2.63 kg.m = 20 ft-lb)にトルク締めする。
ねじ 2 本とスプリング 2 本を使用してホイールクリップをホイールカバーに取り付ける。
ねじ 3 本を使用してハンドルカバーを取り付ける。
ねじ 5 本を 0.6 N·m(1.15 kg.m = 5 in-lb)にトルク締めする。

マシンを充電する; リチウムイオンバッテリー用の充電器についてを参照。
初めてマシンを運転する前に、ブレーキオイルの量を点検する;ブレーキオイル量の点検 を参照。
初めてマシンを運転する前に、トランスアクスルオイルの量を点検する;トランスアクスルオイルの量を点検する を参照。
タイヤ空気圧を点検する; タイヤ空気圧を点検するを参照。
ブレーキの性能を最大限に発揮させるために、使用前にブレーキの「慣らし掛け」を行ってください。
フルスピードで走行してブレーキを掛け、タイヤをロックさせないで急停車する。
これを10回繰り返す。ブレーキがオーバーヒートしないように停止と停止の間に1分間の間隔を空ける。

Note: 説明のために図 5ステアリングホイールを取り外しています。

アクセルペダルを使って車両の走行速度を調整します。アクセルペダルを踏み込むと走行を開始します。ペダルをさらに踏み込むと走行速度が上がります。ペダルから足を離すと走行を停止し、車両の動作が停止します。
通常モードの前進最高速度は 26km/h です。
エコノミーモードの前進最高速度は 18 km/h です。
ブレーキペダルを踏み込むと車両は減速または停止します。
ブレーキが摩耗したり正しく調整されていなかったりすると人身事故を起こす危険がある。
ブレーキペダルを一杯に踏み込んだ時にペダルと運転台の床との隙間が 25 mm 以下の場合はブレーキの調整または修理を行うこと。
方向セレクタ(図 5)には 2 つの位置:前進と後退があります。
Note: どの位置にセットしても構いませんが、走行するためには、前進 または 後退 位置にセットする必要があります。
スイッチ(図 5)を押すと警笛が鳴ります。
ライトスイッチ(図 5)ヘッドライトの点灯と消灯を行います。スイッチを上にするとヘッドライトが点灯します。スイッチを下にするとヘッドライトが消灯します。
USB ポート(図 5)は、モバイル機器などの電源としてご利用ください。
Important: USB ポートを使用していない時は、ゴム製プラグでポートを保護してください。
キースイッチ(図 5)は車両の始動と停止を行うほか、車両をトランスポートモードにするスイッチです。
キースイッチには 3 つの位置があります:ONとOFFとトランスポートです。
右に回すとON となって走行ができるようになります。
運転を終了するときには、キーを左に回してOFFにしてください。車両から離れるときは、必ずキー抜き取ってください。
駐車ブレーキを解除するには、キー スイッチを回転させて 5 秒間押し続けて、トランスポート 位置に入れます。
ディスプレイは、マシンについての状態(運転状態、故障診断など)の情報を表示します(図 6)。

起動画面、走行画面、充電画面があります(図 7、図 8、図 9)。
図 8 は走行画面の一例です。起動画面はキーを ON 位置にした後で数秒間表示され、その後に走行画面となります。



進行方向を変えると、走行画面に方向位置(図 10)が表示されます。

走行中は、走行画面に走行速度(図 11)が表示されます。

マシンに問題が発生したときには不具合コード(図 12)が表示されます。

運転中、ディスプレイにバッテリー温度低下インジケータ(図 13)が表示された場合はマシンのパフォーマンスが変化し、バッテリーの温度が 0°C 以上になると元に戻ります。

充電画面でバッテリー低温インジケータ(図 14)が表示された場合は、バッテリーの温度が低すぎて充電できないことを示します。

![]() | 方向:前進位置 |
![]() | トランスポート:ニュートラル位置 |
![]() | 方向:後退位置 |
![]() | 駐車ブレーキが掛かったまま。 |
![]() | アワーメータ |
![]() | バッテリー電圧 |
![]() | バッテリーの充電レベル |
![]() |
バッテリー充電中 |
![]() |
バッテリーの電圧低下 |
![]() | エコモードが ON |
![]() | アクティブな不具合 |
![]() | バッテリー高温インジケータ:バッテリー温度が 67°C°Fを超過 |
![]() | バッテリー低温インジケータ:バッテリー温度が 0°C°未満 |
![]() | バッテリー温度が低すぎて充電不能 |
ボンネットの下にあるスーパーバイザー速度制限スイッチ (図 15) には、PERFORMANCEとECONOMYの2つのポジションがあります。スイッチを右に回してECONOMY位置にすると、最高速度が 18 km/hに制限されます。スイッチを左に回してPERFORMANCE位置にすると、最高速度が 26 km/hに制限されます。

助手席用の手すりと腰部ガードが、ダッシュパネルの右側と各座席の外側についています(図 16)。

Note: 仕様および設計は予告なく変更される場合があります。
| ベース重量 | 乾燥重量 571 kg |
| 定格容量(平坦路面の場合) | 総重量 767 kg(オペレータおよび助手席乗員の体重をそれぞれ 90.7 kg とし、積載物、トレーラトング重量、トレーラの総重量、アクセサリの重量を含む) |
| 車両総重量(平坦地で) | 1,338 kg(上記重量を全て含む) |
| 最大積載量(平坦路面の場合) | 567kg (トレーラトング重量とトレーラの総重量を含む) |
| 牽引能力: | |
| 標準ヒッチ | トング重量:45 kg |
| トレーラ総重量:363 kg | |
| ヘビーデューティーヒッチ | トング重量:45 kg |
| トレーラ総重量:544 kg | |
| 全幅: | 155 cm |
| 全長 | 307 cm |
| 地上高 | 28 cm(車両前部:乗員や荷物を乗せない); 17 cm(車両後部:乗員や荷物を乗せない) |
| ホイールベース | 206 cm |
| トレッド(センターライン間) | 125 cm(前)、120 cm(後) |
| 荷台長さ | 外寸で113 cm、137 cm |
| 荷台幅 | 125 cm(内法) 155 cm(外側寸法:フェンダの外側で計測) |
| 荷台高さ | 25 cm(内法) |
Toroが認定した各種のアタッチメントやアクセサリがそろっており、機械の機能をさらに広げることができます。詳細は弊社の正規サービスディーラ、または代理店へお問い合わせください;弊社のウェブサイト www.Toro.com でもすべての認定アタッチメントとアクセサリをご覧になることができます。
いつも最高の性能と安全性を維持するために、必ずToroの純正部品をご使用ください。他社の部品やアクセサリを御使用になると危険な場合があり、製品保証を受けられなくなる場合がありますのでおやめください。
子供、講習を受けていない大人、安全運転に必要な身体的能力を持たない人などには、絶対に運転させないでください。地域によっては機械のオペレータに年齢制限を設けていることがありますのでご注意ください。オーナーは、オペレータ全員にトレーニングを受講させる責任があります。
各部の操作方法や本機の正しい使用方法、警告表示などに十分慣れ、安全に運転できるようになりましょう。
マシンを停止させ、キーを抜き取り、各部の動作が完全に停止したのを確認してから運転位置を離れる。調整、整備、清掃、格納などは、車両が十分に冷えてから行ってください。
車両の緊急停止方法に慣れておきましょう。
車両に備え付けてある手すりの数(運転者と助手の2人)以外の人を乗せないでください。
安全装置やステッカー類が所定の場所あることを確認してください。機能しない安全装置はすべて交換、読めないステッカーはすべて貼り替えてください。これらが正しく機能しない時には機械を使用しないでください。
| 整備間隔 | 整備手順 |
|---|---|
| 使用するごとまたは毎日 |
|
毎日の運転前に、に記載されている「使用ごと/毎日の点検整備」を行ってください。
| 整備間隔 | 整備手順 |
|---|---|
| 使用するごとまたは毎日 |
|
タイヤ空気圧の仕様: 0.55-1.03 bar (0.6-1.5 kg/cm2 = 8-22 psi)
Important: ただし、タイヤメーカーが指定している最大値(タイヤ側面に記載されています)を超えないでください。
Note: 適性空気圧は、車両に積載する重量によって変わります。
タイヤ空気圧を点検する。
Note: タイヤ空気圧の適正範囲は、前後のタイヤとも 0.55-1.03 bar (0.56-1.54 kg/cm2 = 8-22 psi)です。
空気圧が低い ほうが踏圧が低くなり、乗り心地も良く、タイヤ跡も残りにくくなりますが、
積載する重量が大きいときや、高速で走行する場合にはタイヤ空気圧を高めに設定してください。
必要に応じタイヤに空気を入れるか抜くかして適正圧に調整してください。

| 整備間隔 | 整備手順 |
|---|---|
| 使用開始後最初の 100 時間 |
|
新しい車両の性能がフルに発揮され永くお使いいだけるよう、以下のガイドラインを守ってください。
ブレーキの慣らし掛けができていることを確認する;組立の章の慣らし掛けの項を参照。
ブレーキオイルの量を点検する;ブレーキオイル量の点検を参照。
初期整備については を参照する。
前後のサスペンションの位置を点検し、必要に応じて調整を行う;前輪の整列調整を参照。
バッテリーの性能と寿命を最大限に延ばすために、マシン受領時にバッテリーを満充電するようにしてください。
オーナーやオペレータは自分自身や他の安全に責任があり、オペレータやユーザーの注意によって物損事故や人身事故を防止することができます。
座席以外の場所に人を乗せないでください。荷台に人を乗せないでください。作業場所から人や動物を十分に遠ざけてください。
目の保護具、長ズボン、丈夫で滑りにくい履物を含む適切な服装を着用してください。長い髪は束ねてください。ゆるい装飾品やだぶついた服は身に着けないでください。
この機械を運転する時は常に十分な注意を払ってください。運転中は運転操作に集中してください;注意散漫は事故の大きな原因となります。
疲れている時、病気の時、アルコールや薬物を摂取した時は運転しないでください。
アタッチメントに過負荷を掛けないでください。また、車両総重量(GVW)の範囲内で使用してください。
重い荷を搬送している時は、ブレーキと旋回に十分注意してください。
また、荷台からはみ出すように積載した場合も、車両の安定性が損なわれます。定格重量以上に積載しないでください。
車両に固定するのが難しいものを搭載している時はハンドリング、ブレーキング、車両の安定性に影響が出ます。車体に固定できない資材を搬送している時は、ハンドル操作とブレーキ操作に注意してください。
不整地、ラフ、凹凸のある場所、縁石の近く、穴の近くなど路面が一定でない場所では必ず減速してください。また、そのような場所を走行する場合には、積荷を減らしてください。車体が揺れると重心が移動し、運転が不安定になります。
マシンを始動する前に、駐車ブレーキが掛かっており、操作位置にいることを確認してください。
運転中は必ず全員が着席してください。可能な限り両手でハンドルを握り、助手席の人は必ず手すりを握ってください。また、手足を車外に出さないようししてください。
運転は良好な視界のもとで行ってください。隠れた穴、わだち、盛り上がり、石などの見えない障害に警戒を怠らないでください。不整地では機体が転倒する可能性があります。深い芝生に隠れて障害物が見えないことがあります。見通しの悪い曲がり角や、茂み、立ち木などの障害物の近くでは安全に十分注意してください。
段差や溝、大きく盛り上がった場所の近くなどで運転しないでください。万一車輪が段差や溝に落ちたり、地面が崩れたりすると、機体が瞬時に転倒し、非常に危険です。
頭上の危険物に注意し、低く垂れ下がった木の枝、門、歩道橋などの下を通り抜けるときは安全を必ず確認してください。
バックするときには、足元と後方の安全に十分な注意を払ってください。
この車両で公道上を走行する場合には、各地域の法令などに従い、また、ヘッドライド、方向指示器、低速走行車両表示など、定められたアクセサリを必ず装備してください。
万一、機体に異常な振動を感じたら、直ちに運転を中止し、車両のスイッチを切り、本機の全ての動作が停止するのを待ち、それから点検にかかってください。破損部は必ず修理・交換してから運転するようにしてください。
路面がぬれているときは、車両の停止距離が長くなります。ブレーキが濡れて利かなくなった、平らな場所で、ブレーキペダルを軽く踏み込んだまましばらく低速で運転しましょう。
車両後部が軽いとブレーキを掛けたときに後輪がロックしやすくなり、ロックすると車両を制御できなくなって危険です。
モータが回転中や停止直後にモータ本体に触れると火傷の危険がありますから、手を触れないでください。
エンジンの掛かっているマシンからは離れないでください。
運転位置を離れる前に:
平らな場所に駐車する。
駐車ブレーキが掛かっていることを確認する。
エンジンを止め、キーを抜き取る。
全ての動きが停止するのを待つ。
落雷の危険がある時には運転しないでください。
Toro社が承認したアクセサリおよびアタッチメントのみを使用してください。
Note: この車両用のアクセサリとして、2 柱式 ROPS (横転保護バー)があります。段差や小川、池、の近くを走行したり、ラフや法面、不整地に乗り入れることが多い場合には、ROPS を取り付けてください。詳細については弊社代理店におたずねください。
斜面はスリップや転倒などを起こしやすく、これらは重大な人身事故につながります。
各斜面の実地調査を行い、乗り入れて良い斜面、乗り入れてはいけない斜面を決めておくようにしましょう。この調査においては、常識を十分に働かせてください。
斜面での作業に自信が持てない時は、作業を行わないでください。
斜面では動作も運転操作もゆっくりと行うことが原則です。走行速度や走行方向を突然変えないでください。
ぬれた場所での運転は避けてください。走行できなくなる可能性があります。タイヤが走行力を維持していても転倒する場合があります。
斜面ではまっすぐに上るか下るかしてください。。
坂を登りきれないと感じた時は、ゆっくりとブレーキを踏み、バックで、まっすぐに ゆっくりと下がってください。
斜面を登りながらや下りながらの旋回は危険です。斜面で旋回しなければいけないときは、十分に減速し、慎重に操作してください。
車両重量が大きいときは斜面での安定が悪くなります。斜面で運転する時や重心の高いものを積んで走る時には重量をなるべく軽くし、速度を落として運転してください。荷台に資材を積む場合には、荷崩れを起こさないようにしっかりと固定してください。荷崩れしやすいもの(液体、石、砂など)は十分に注意してください。
斜面での発進・停止・旋回は避けてください。特に荷を積んでいる場合はこの注意を守ってください。下り坂では平地に比べて停止に長い距離が必要になります。斜面で停止しなければならない場合には、転倒の危険を避けるために急停止や急な速度変更をしないでください。バックで斜面を下っているときに急ブレーキを掛けないでください。後方に転倒する危険があります。
荷台に荷物を積んで運転するときや、トレーラなどの牽引を行う場合、またこれらを同時に行う場合には、定格総積載重量(GWV)を守ってください;仕様を参照。
また、荷物は荷台に均等に積んで、車両の安定性を確保してください。
ダンプする時には、後方に人がいないことを確認してください。
斜面を横切るように駐車した状態では、ダンプ操作をしないでください。重心の急変により車両が転倒する危険があります。
上昇させた荷台が万一落下すると、荷台の下にいる人に非常に危険である。
荷台の下で作業する時は、必ず支持棒で荷台を支えておく。
荷台の下で作業するときは荷台を空にしておく。
荷台を上昇させたままで走行すると転倒の危険が増大する。また、荷台を上昇させたままで走行すると荷台が破損させる可能性もある。
運転する時は必ず荷台を下げておく。
ダンプ操作を終えたら必ず荷台を下げるようにする。
荷台の後部に積荷が集中していると、ラッチを開けた際に荷台が急に開いて周囲の人間がけがをする恐れがある。
積荷はできる限り荷台の中央に載せる。
ラッチを開放する際には、荷台を手でしっかりと押さえ、荷台に寄りかかっている人間や荷台のすぐ後ろに人がいないことを確認する。
整備のために荷台を上昇させる際には、荷台から積荷をすべて降ろす。
テールゲートを開いて砂、砂利、木材チップなどの資材を降ろした後は、テールゲートの蝶番部分にこれらの資材が残っている場合があります。テールゲートを閉める前に、以下のことを行ってください。
蝶番部分に残っている砂などを手で除去する。
テールゲートを 45°程度の角度にする(図 21)。

この位置から、テールゲートを小刻みに前後に振るように数回往復させる(図 21)。
Note: この動作によって蝶番部分からさらに砂などが除去されます。
テールゲートを元のように開いて、蝶番部分に砂などが残っていないかチェックする。
蝶番部分に残っている砂などが完全になくなるまで、ステップ 1 - 4 を繰り返す。
テールゲートを立てて閉じ、ロックフランジ(テールゲート側)がテールゲートポケット(荷台側)と面一になるようにする(図 20)。
Note: テールゲートを前後に動かして、ロックフランジ(テールゲート側)をテールゲートフランジの間にある縦溝に合わせる。
荷台の背部まで、テールゲートを下げる(図 20)。
Note: この状態で、テールゲートのロックフランジは、荷台のテールゲートフランジによって完全に固定される。
バッテリーシステムの充電レベルを確認するには、ディスプレイを見てください;ディスプレイを参照。
バッテリー残量が低下すると(10%未満)、ディスプレイに残量低下アイコンがに表示されます。運転中にこれが表示された場合には、所定の充電場所に戻って充電を行ってください;リチウムイオンバッテリー用の充電器についてを参照。
バッテリーの充電レベルがブランクの時は、低速(5 km/h)で走行してください。
Important: 斜面で停止するときは、通常ブレーキで完全停止してください。アクセルペダルで車両を斜面に停止させておくとモータの過熱やバッテリーの消耗が発生します。
アクセルペダルから足を離す。
ゆっくりとブレーキペダルを踏み込んでブレーキを掛けて車両を完全に停止させる。車両が完全に停止すると自動的に駐車ブレーキが作動します。
Note: 停止距離は積荷や走行速度などの条件によって異なります。
荷台に資材を積み込みや資材の搬送運転には、以下の注意点を守ってください:
荷台に積むことのできる重量を守ってください。これらについては、仕様に記載してあります。また、車両最大定格総重量は機体の銘板に表示してあります。
Note: 積荷などの定格値は、平地での使用についての数字ですからご注意ください。
傾斜地や不整地で資材の運搬を行う場合には、通常よりも積荷を減らしてください。
また、背の高い資材を運ぶとき(および袋入りの肥料を荷台に積み上げて運ぶときなどのように車両全体の重心が高くなるような積荷を積んでいる場合)にも、積荷を減らしてください。積荷はできるだけ低く積んでください。積荷によって後方の視界がさえぎられないようにしてください。
荷の重心が荷台の中央にくるように荷台は以下のように使用してください:
荷重を荷台の左右にバランスよく配分してください。
Important: どちらかに片寄った積み方をすると転倒事故を起こす危険が高くなります。
荷台の前後方向にも重量をバランスよく配分してください。
Important: 後輪の車軸よりも後ろに荷物を積みすぎると前輪に掛かる荷重が小さくなり、ハンドルの効きが悪くなるだけでなく、最悪の場合後ろのめりに転倒します。
荷台からはみ出るような積み方しかできない場合には、運転に十二分に注意してください。特に、そのような荷物を積んだ結果として車両全体の重心が車両の中心にない場合には非常に慎重な運転が必要です。
可能な限り、積荷はロープで縛るなどして荷台に確実に固定してください。
液剤を搭載して斜面を登り下りする際には十分に注意してください。急加速、急減速、急停止を避け、凹凸の多い場所では特に注意してください。
荷台の容量は 0.37 m3です。荷物の種類によっては荷台に一杯に積むと積載オーバーになりますから注意が必要です。
積荷の種類と重量との関係については以下の表を参照してください:
| 資材名 | 密度 | 荷台の最大積載量(平坦路面の場合) |
| 砂利, 乾燥 | 1,522 kg/m3 (43.09 kg/ft3) | 満載 |
| 砂利, ぬれた状態 | 1,922 kg/m3 (54.43 kg/ft3) | 荷台に¾ |
| 砂, 乾燥 | 1,442 kg/m3 (40.82 kg/ft3) | 満載 |
| 砂, ぬれた状態 | 1,922 kg/m3 (54.43 kg/ft3) | 荷台に¾ |
| 木材 | 721 kg/m3 (20.41 kg/ft3) | 満載 |
| バーク | <721 kg/m3 (<45 lb/ft3) | 満載 |
| 土嚢 | 1,602 kg/m3 (100 lb/ft3) | 荷台に¾(おおよそ) |
運転位置を離れる前に:
平らな場所に駐車する。
駐車ブレーキが掛かっていることを確認する。
エンジンを止め、キーを抜き取る。
全ての動きが停止するのを待つ。
調整、整備、清掃、格納などは、車両が十分に冷えてから行ってください。
ガス湯沸かし器のパイロット火やストーブなど裸火や火花を発するものがある近くでは、本機を保管・格納しないでください。
マシン各部が良好な状態にあり、ボルトナット類が十分にしまっているか常に点検してください。
必要に応じてシートベルトの清掃と整備を行ってください。
摩耗、破損したり読めなくなったステッカーは交換してください。
警告:火災と感電の危険;バッテリーには整備可能な部分はありません。
使用している電源と充電器の電圧仕様が一致していることを確認してください。
湿った環境ではマシンを充電しないでください。雨や雪から守ってください。
Toroが発売していない、または推奨していないアクセサリを使用すると、火災、感電その他の人身事故が起こる恐れがあります。
バッテリーの爆発事故を防止するために、充電器の近くで使用する機器については以下の注意を必ずお守りください。
バッテリーを充電しすぎると爆発性のガスが発生することがあります。
バッテリーの整備が必要になった場合には、弊社正規ディストリビュータにご連絡ください。
子供やトレーニングを受けていない大人には、絶対に充電器の操作や整備をさせないでください。地域によっては機械のオペレータに年齢制限を設けていることがありますのでご注意ください。オーナーは、オペレータ全員にトレーニングを受講させる責任があります。
ご使用になる前に全部の注意事項に目を通し、充電器の取り扱いに際してはそれらの注意事項を必ず守ってください。充電器の正しい使用方法に慣れてください。
充電中は周囲に人、特に子供を近づけないでください。
充電は、マシンが完全に機能を停止した後に開始してください。これを怠るとアーク放電が発生する危険があります。
充電器はこの取扱説明書に指定されている電圧範囲内でのみ使用し、Toroが承認した電源コードのみを使用してください。
適切な充電器と電源コードについては、Toro正規代理店にお問い合わせください。
凍結したバッテリーは、充電しないでください。
コードはていねいに取り扱ってください。充電器の電源コードを引っ張って充電器をコンセントから外したりしないでください。コードは熱、油、鋭利な刃物から遠ざけて保管してください。
充電器は、アース端子付きのコンセントに直接接続して使用してください。アースされていないコンセントのご使用はお控えください(アース付きアダプタも使用しないでください)。
付属のコードを改造しないでください。
リチウムイオン電池を扱う場合は、指輪、ブレスレット、ネックレス、腕時計などの金属製品は外してください。リチウムイオンバッテリーは非常に大きなエネルギーを蓄えており大火傷を負う危険があります。
この取扱説明書に指定されている充電アンペア数に対応できる延長コードを使ってください。屋外で充電する場合は、屋外用の延長コードを使ってください。
コンセントに差し込まれている間にコードに傷が付いた場合には、コンセントから抜きとり、弊社サービスディーラから代わりのコードを購入してください。
以下の場合は充電器をコンセントから抜いてください: 使用していないとき、充電器を別の場所に移動するとき、充電器に整備作業を施すとき。
充電器を分解しないでください。
整備や修理が必要になった場合には、トロ正規ディストリビュータにご連絡ください。
感電事故を防ぐため、充電器の保守作業や清掃作業は必ずプラグをコンセントから抜いて行ってください。
機体に貼ってある安全ラベルや説明ラベルは必要に応じて新しいものに貼り替えてください。
破損したコードやプラグを充電器に使用しないでください。新しいコードは弊社正規代理店にてお求めください。
充電器が破損している場合は使用しないでください。 Toroの正規代理店にそれをお持ちください。
緊急時には、短距離に限り、マシンを牽引または押して移動することができますが、この方法は緊急用以外には使用しないでください。
牽引時の速度が速すぎると、ハンドル操作ができなくなって人身事故となる危険がある。
牽引速度は時速 8 km/h 以下を厳守すること。
牽引作業は二人で行います。移動距離が長くなる場合は、トラックやトレーラに積んで移送してください。
マシーン前部にある牽引トングにロープなどの牽引索を取り付ける。
駐車ブレーキを解除するには、キースイッチを所定の位置で5 秒間長押ししてトランスポート位置に入れてください。
Note: ディスプレイ上に N の文字(ニュートラルの意味)が表示されます。
ワークマンでトレーラやアタッチメントを牽引することができます。この車両用の牽引ヒッチを販売しています。詳細については弊社の正規代理店に問い合わせてください。
ワークマン自体やトレーラ自体が過積載にならないように注意してください。マシンまたはトレーラーのいずれかに過負荷がかかると、性能が低下したり、ブレーキ、トランスアクスル、ステアリング、サスペンション、車体構造、タイヤに損傷が生じる可能性があります。
必ず積載重量の60%をトレーラの前側に振り分けてください。これにより、ヒッチプレートに掛かる負荷がトレーラの総重量(グロス)の約10%となります。
牽引するときには、ある程度の重量物を必ず荷台に積載してブレーキ性能を確保してください。但し車両総重量やトング総重量を超えないでください。
トレーラを牽引した状態で斜面に駐車しないでください。やむを得ず坂道に駐車する場合は、トレーラーのタイヤに車止めをしてください。
米国運輸省および各国の輸送当局では、リチウムイオン電池の輸送について、特別な梱包を使用すること及び認定を受けた運送業者のみが輸送することを義務付けています。米国内においては、バッテリーをマシンに取り付けてバッテリー駆動機械となったものについては、いくつかの規制要件に従って搬送を行うことができます。バッテリーや、バッテリーを搭載した機械を搬送するに当たってどのような規制が存在するかは、米国内の規制については米国交通省へ、米国外においては各国や地域の所轄政府機関にお問い合わせください。
バッテリーの輸送の詳細については、Toro正規代理店におたずねください。
マシンに充電中に水に触れると感電して人身事故となり、最悪の場合死亡する危険がある。
ぬれた手でプラグや充電器を操作したり、水たまりに立ったまま操作しないこと。
雨の中やぬれた場所で充電しないでください。
感電事故を防止するため、この充電器ではアース付き3又プラグ(タイプB)を使用しています。付属のプラグがコンセントに合わない場合には、Toro正規代理店にて適合するプラグをお求めください。
充電器や電源コードを変えないでください。
Important: 電源コードの被覆が割れたり穴が開いたりしていないか、定期的に点検してください。破損しているコードを使用しないでください。コードを水たまりの上やぬれた芝生の上に配線しないでください。
電源の条件については図 24を参照してください。

マシーン充電器の出力部に電源コードを接続する(図 25)。
破損したコードは感電事故や火災の原因となる。
充電器を使用する前に電源コードを十分に点検すること。コードが破損している場合は、新しいコードが入手できるまで充電を行わないこと。

電源コードに付いているコンセント用プラグを、アース付きの電源コンセントに接続する。
Toro 社が供給したバッテリー充電器以外の充電器でバッテリーを充電すると、高熱を発生したりするなどして製品の破損や施設の損傷、人身事故などを起こす恐れがある。
バッテリーの充電には Toro が提供した充電器を使用すること。
充電のための推奨温度: 0° - 45°C
Important: 充電は、推奨された温度範囲で行ってください。
Note: 所定の動作範囲を外れた温度では充電器は正常に機能しません。ディスプレイ上に高温または低温インジケータが表示されます。
充電状態はディスプレイに表示されます。
不具合がある場合には、ディスプレイにエラーメッセージが表示されます。不具合を解消するには、マシンのサービスマニュアルを参照してください。
マシーンの充電器出力部から電源コードを外す。
破損防止のため、充電器コードを収納場所に収納する。
マシンを作動させる
充電量を点検する;ディスプレイを参照。
適切な訓練を受けていない人には機械の整備をさせないでください。
運転位置を離れる前に:
平らな場所に駐車する。
駐車ブレーキが掛かっていることを確認する。
エンジンを止め、キーを抜き取る。
全ての動きが停止するのを待つ。
調整、整備、清掃、格納などは、車両が十分に冷えてから行ってください。
機体の下で作業する場合には、必ずジャッキスタンドで機体を確実に支えてください。
また、荷台を上げて作業する場合には、かならず荷台安全サポートで荷台を固定してください。
整備中に、車両搭載のバッテリーを充電しないでください。
ねじ類は十分に締めつけ、常に機械全体の安全を心掛けてください。
火災防止のため、車両に、余分なグリス、草や木の葉、ほこりなどが溜まらないようご注意ください。
可能な限り、車両を稼働させながらの整備はしないでください。可動部に近づかないでください。
動作させながら調整を行わなければならない時は、手足や頭や衣服を可動部に近づけないように十分ご注意ください。周囲に人を近づけないこと。
推奨定期整備計画に従って駐車ブレーキの点検を行い、必要に応じて調整や整備を行ってください。
マシン各部が良好な状態にあり、ボルトナット類が適切に締まっているか常に点検してください。擦り切れたり破損したりしたステッカーは貼り替えてください。
安全装置の作動を妨げるようなことや、安全装置による保護を弱めるようなことは絶対にしないでください。
大がかりな修理が必要になった時や補助が必要な時は、Toro 正規代理店にご相談ください。
機体の改造を行うと、機械の挙動や性能、耐久性などが変化し、そのために事故が起きる可能性があります。このような使い方をすると Toro® の製品保証が適用されなくなります。
| 整備間隔 | 整備手順 |
|---|---|
| 使用開始後最初の 100 時間 |
|
| 使用するごとまたは毎日 |
|
| 100運転時間ごと |
|
| 200運転時間ごと |
|
| 300運転時間ごと |
|
| 400運転時間ごと |
|
| 800運転時間ごと |
|
| 1000運転時間ごと |
|
Note: www.Toro.com から、電気回路図を無料でダウンロードすることができます。弊社ホームページからマニュアルへのリンクをご活用ください。
適切な保守整備を行わないと車両が故障・破損したり、搭乗者や周囲の人間まで巻き込む人身事故を起こす恐れがある。
マニュアルに記載された作業を行って、マシンをいつも適切な状態に維持することが重要である。
許可を受けた有資格者以外には保守、修理、調整、点検などの作業をさせないでください。
作業場には危険物を置かぬようにし、また、防火機 器を備えること。オイルなどの液体の量の点検に、直火を使用しないこと。
可燃性の溶剤を使ってパーツ(部品)を洗浄する時には必ず密閉型の洗浄容器を使うこと。
始動キーをつけたままにしておくと、誰でもいつでもマシンを始動させることができ、危険である。
整備を行う前には、エンジンを止め、キーをスイッチから抜き取ること。
このページをコピーして使ってください。
| 点検項目 | 第週 | ||||||
|---|---|---|---|---|---|---|---|
| 月 | 火 | 水 | 木 | 金 | 土 | 日 | |
| ブレーキと駐車ブレーキの作動状態。 | |||||||
| 走行方向選択スイッチの動作を点検する。 | |||||||
| ブレーキオイルの量を点検する。 | |||||||
| 運転操作時に異常音がないか点検する。 | |||||||
| タイヤ空気圧を点検する。 | |||||||
| オイル漏れがないか点検する。 | |||||||
| 計器類の動作。 | |||||||
| アクセルの作動状態を点検する。 | |||||||
| 塗装傷のタッチアップを行う。 | |||||||
| マシンを洗浄する。 | |||||||
| 塗装傷のタッチアップを行う。 | |||||||
Important: 以下のような条件で使用する場合には、保守間隔を通常の半分に短縮し、より頻繁な整備を行ってください:
砂漠、荒れ地での使用
酷寒地(気温10℃以下)での使用
トレーラ作業
非常にほこりの多い条件下での頻繁な使用
建設現場での使用
泥地、砂地、濡れた場所など車体が汚れる場所で長時間の作業を行った後は、以下を行ってください:
使用が終わったらできるだけすぐにブレーキの洗浄と点検を行ってください。これにより無用な摩耗を防止することができる。
水または水と刺激の少ない洗剤で車体を洗浄する。
Important: 塩分を含んだ水や処理水は機体の洗浄に使用しないでください。
平らな場所に駐車する。
駐車ブレーキが掛かっていることを確認する。
エンジンを止め、キーを抜き取る。
ジャッキアップされている車体は不安定である。万一ジャッキが外れると、下にいる人間に大怪我を負わせる危険が大きい。
ジャッキアップした状態では車両を始動しない。
車両から降りる時は必ずスイッチからキーを抜いておく。
ジャッキなどで浮かせた車両には輪止めを掛ける。
床から車両を浮かせたら必ずジャッキスタンドで支える。
Important: 保守整備のためにエンジンを掛ける場合には、車両後部をジャッキアップする必要があります;後アクスルにジャッキを掛け、25 mm 程度ジャッキアップしてください。

| 整備間隔 | 整備手順 |
|---|---|
| 300運転時間ごと |
|
グリスの仕様: Mobilgrease XHP™-222
機体の前部を持ち上げてジャッキスタンドで支える。
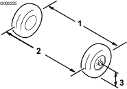
ホイールをハブに固定しているラグナット(4個)を外す(図 29)。

ブレーキアセンブリ用のブラケットをスピンドルに固定しているフランジヘッドボルト(⅜" x ¾")を外してスピンドルからブレーキを取り外す (図 30)。
Note: ブレーキアセンブリを確実に支持してから次の工程に進んでください。

ハブからダストキャップを取る(図 31)。

スピンドルとスピンドルナットから、コッターピンとナットリテーナを外す(図 31)。
スピンドルからスピンドルナットを外し、スピンドルからハブ&ローラアセンブリを取り出す (図 31 と 図 32)。

スピンドルをウェスできれいに拭く。
マシンの反対側のハブとロータについても 1から7 の作業を行う。
ハブから外側のベアリングとベアリングレースを取る(図 33)。

ハブから、シール、内側のベアリングを外す(図 33)。
シールをきれいに拭いて摩耗や破損がないか点検する。
Note: シールの洗浄には溶剤を使用しないでください。過度な磨耗や破損が見られた場合はシールを交換する。
ベアリングとレースをきれいに拭いて摩耗や破損がないか点検する。
Note: 摩耗・破損しているパーツはすべて交換してください。ベアリングとレースの水気や汚れを完全に取り除いてください。
ハブについているグリス、ごみなどをきれいに取り除く(図 33)。
ベアリングに所定のグリスを詰める。
キャビティの50-80 %程度にグリスを詰める(図 33)。
ハブの内側に内側ベアリングを取り付け、シールをはめる(図 33)。
もう一方のハブにも、ステップ1-8の作業を行う。
スピンドルに所定のグリスを薄く塗る(図 34)。

ハブとロータをスピンドルに取り付ける。ロータを内側にすること(図 34)。
スピンドルに外側ベアリングを取り付けてレースにはめる(図 34)。
スピンドルにタブワッシャを取り付ける(図 34)。
スピンドルにスピンドルナットを取り付け、ハブを回してベアリングを着座させながらナットを 15 N∙m(1.52 kg.m = 11 ft-lb)に締めつける(図 34)。
ハブが自由に回転できるところまでスピンドルをゆるめる。
スピンドルナットを 170-225 N·m(2.0-2.6 kg.m = 15-20 in-lb)にトルク締めする。
ナットの上からリテーナを取り付け、リテーナのスロットとスピンドルのスロットが整列しているかどうか確かめる(図 35)。
Note: スロット同士が整列していない場合は、スピンドルナットを締めて整列させてください。ただし、その時の最大トルクが 2.26 N·m (0.23 kg.m = 20 in-lb)を超えないようにしてください。

コッターピンを取り付け、ピンの足をリテーナに巻き付けるように曲げる(図 35)。
ハブにダストキャップを取り付ける(図 35)。
マシンの反対側のハブとロータについても 1から10 の作業を行う。
フランジヘッドボルト(⅜" x ¾")2本をきれいに拭き、ねじ山に中程度の強さのロッキングコンパウンドを塗る。
ブレーキパッドをロータのそれぞれの側に合わせ(図 30)、キャリパブラケットの穴と、スピンドルフレームのブレーキ取り付け部の穴を整列させる(図 34)。
キャリバブラケットをスピンドルフレームに固定する(図 30);フランジヘッドボルト(⅜" x ¾")2本を使用する。
フランジヘッドボルト(2本)を 47-54 N·m (4.6-6.2 kg.m = 35ー40 ft-lb)にトルク締めする。
ホイールをハブに取りつける。空気バルブを外側に向けて取り付けること(図 29)。
Note: ホイールがハブと面一になるように取り付けてください。
ラグナットを使用して、ハブにホイールを取り付ける(図 29)。
ラグナットを 108-122 N.m(9.7-12.5 kg.m = 80-90 ft-lb)にトルク締めする。
マシンの反対側のブレーキとホイールについても 1-5 の作業を行う。
充電器が接続されている場合は充電コードを外す。
荷台を上げる。
図 36のように、バッテリー遮断スイッチを希望位置にセットする。

Note: マシンには少なくとも4個のリチウムイオン電池が搭載されている。
リチウムイオンバッテリーは、国や地域の法令に従って廃棄やりサイクルを行ってください。万一バッテリーに問題が発生したり検査の必要が生じた場合には、弊社ディストリビュータにご相談ください。
バッテリーを開けないでください。万一バッテリーに不具合が発生した場合には、弊社ディストリビュータにご相談ください。
バッテリーには高電圧部があり、これに触れると感電やけどなどを負う危険がある。
バッテリーを開けないこと。
万一ケースが割れた場合には、バッテリーの取り扱いに細心の注意を払うこと。
バッテリーパックの充電は必ず専用の充電器で行うこと。
リチウムイオンバッテリーは、所定の仕事を行うことのできる十分な電力の蓄積を、製品寿命の最後まで行えるように作られています。
バッテリーの寿命を最大限に延ばして十分な利用ができるよう、以下の注意点をお守りください。
バッテリーを開けないでください。
マシン搭載状態で保管する場合は、直射日光、熱源、雨などを避けられる場所で、涼しく、汚れていない、乾燥したガレージなどを使ってください。バッテリーの長期保管処理 で指定された温度範囲を超えるような場所で保管しないでください。この範囲外の温度では、バッテリーが破損します。 保管中の高温、特に高充電状態で高温にさらされると、バッテリーの寿命が低下します。
マシンを使用しない期間が 10 日間を超える場合には、直射日光のあたらない乾燥した涼しい場所で雨や湿気を避けてマシンを格納してください。
必要な時以外はライトを使わないでください。
Important: 電気修理はすべてトロの正規代理店にお任せください。
充電器を乱暴に扱ったり、風雨にさらしたりしないでください。それ以外にできる整備はほとんどありません。
充電器のケースとコードを使用後、軽く湿らせた布できれいに拭いてください。
Note: 端子についている誘電グリスは除去しないでください。
清掃後のコードは輪にして保管。
コードが損傷していないか定期的に点検し、交換が必要な時はToroの承認する製品を入手してください。
仕様: パーツカタログ を参照。
バッテリー電源を切る。バッテリー遮断スイッチの使用方法を参照方 。
フードを開ける。
ランプアセンブリのコネクタから、ハーネス用のコネクタを外す(図 39)。

ヘッドライトをヘッドライトブラケットに固定しているスピードクリップを外す(図 39)。
Note: 取り外した部品はすべて新しいヘッドライトの取り付けに使用する。
ヘッドライトアセンブリ全体を前に押出して、前バンパーから外す(図 39)。
取り付け穴に新しいヘッドライトを取り付ける(図 39)。
Note: 柱状の合いマーク突起がバンパー後部の取り付けブラケットの穴にそろうように取り付けること。
先ほどステップ4で外したスピードクリップを使って、ヘッドライトアセンブリを固定する。
ハーネス用のコネクタを、新しいランプアセンブリのコネクタに接続する(図 39)。
ヘッドライトの向きの調整を行う;ヘッドライトの調整を参照。
ヘッドライトアセンブリの交換や取り外しを行った場合には、以下の手順でヘッドライトの向きの調整を行ってください。
平らな場所で、ヘッドライトを壁に向け、ライトと壁の距離が 7.6 m 程度になるように駐車する(図 40)。
床からヘッドライトの中心までの高さを測り、壁の同じ高さの場所に印をつける。
キーを ON 位置に回してヘッドライトを点灯させる。
ヘッドライトを点灯させてライトの向きをチェックする。
ヘッドライトのビームの最も明るい部分が、壁に付けた印の約 20 cm 下を照らしていればよい(図 40)。

ヘッドライトアセンブリの裏側部分にある調整ねじ(図 39)を回してヘッドライトアセンブリの角度を変えてビームの方向を調整する。
バッテリー電源を繋ぐ。バッテリー遮断スイッチの使用方法を参照方 。
| 整備間隔 | 整備手順 |
|---|---|
| 100運転時間ごと |
|
タイヤとリムの劣化・磨耗状態を点検する。
Note: 運転中に縁石にぶつけるなどした場合、リムが破損したり、トーインが狂ったりする可能性がありますから、このような事故の後では必ず点検してください。
ホイールナットを 108-122 N·m(9.7-12.5 kg.m = 80-90 ft-lb)にトルク締めする。
| 整備間隔 | 整備手順 |
|---|---|
| 100運転時間ごと |
|
タイヤの空気圧を点検し、前輪の空気圧が0.8 bar(0.84 kg/cm2 = 12 psi)に調整されていることを確認する。
運転席に人を着席させるか、運転士の平均的な体重と同じ重さのおもりを運転席に載せるかする。運転席に着席した人または運転士代わりのおもりは、以下の調整作業中、ずっと運転席にいる必要がある。
水平な床の上で、車両を 2-3 m まっすぐにバックさせた後、まっすぐ前に押して元の位置に戻す。これにより、サスペンションが通常の作動状態にセットされる。
必要な工具:スパナレンチ(Toro P/N132-5069;購入はトロ代理店へ)
Important: キャンバの調整は、車両前部にアタッチメントを付けて使用する時、またはタイヤの摩耗が不均一な時以外は行わないでください。
左右の車輪のキャンバを点検する;ニュートラル(ゼロ)に近いほど良い。
Note: タイヤの調整は、トレッドが均等に接地するように(偏摩耗しないように)してください。
キャンバの調整が必要な場合には、スパナレンチでショックアブソーバのカラーを回してホイールを整列させる(図 43)。

Important: トーインの調整を行う前に、キャンバがニュートラル(ゼロに近いほど良い)になっていることを確認してください;キャンバの調整を参照。
| 整備間隔 | 整備手順 |
|---|---|
| 100運転時間ごと |
|
トランスアクスルについている補給プラグを外す(図 46)。
Note: オイルが補給プラグの穴まであれば適正である。

液面が低い場合は、フィルプラグを取り外し、指定された液[ トランスアクスルオイルの交換に表示]を穴からなくなるまで追加する(図 46)。
補給プラグを取り付け、27-41 N·m(2.8-4.1kg.m=20-30 ft-lb)にトルク締めする。
| 整備間隔 | 整備手順 |
|---|---|
| 100運転時間ごと |
|
| 800運転時間ごと |
|
流体タイプ:モービル424
オイルの量: 0.95 リットル
| 整備間隔 | 整備手順 |
|---|---|
| 100運転時間ごと |
|
Important: ブレーキは極めて重要な安全装置です。十分な機能と安全性を確保するために、所定期間ごとに入念に点検してください。
ブレーキライニングが磨耗や破損していないか点検する。ライニング(ブレーキパッド)の厚みが 1.6 mm 以下となっている場合には、ブレーキライニングを交換する。
ブレーキプレートなどに磨耗や変形が発生していないか点検する。変形しているものは交換してください。
ブレーキ ライン、継手、クランプに、漏れ・劣化・接続の緩みなどの兆候がないか点検する。
Note: マシンを使う前に、ブレーキシステムのコンポーネントが破損または漏れている場合は修理する。
ブレーキオイルの量を点検する;ブレーキオイル量の点検を参照。
| 整備間隔 | 整備手順 |
|---|---|
| 使用するごとまたは毎日 |
|
ブレーキオイルのタイプ: DOT 3
| 整備間隔 | 整備手順 |
|---|---|
| 1000運転時間ごと |
|
代理店に連絡してください。
| 整備間隔 | 整備手順 |
|---|---|
| 使用するごとまたは毎日 |
|
必要に応じて水または水と刺激の少ない洗剤で車体を洗浄する。柔らかい布などを使っても構いません。
Important: 塩分を含んだ水や処理水は機体の洗浄に使用しないでください。
Important: 圧力洗浄機を使っての清掃は避けてください。電装部や潤滑部に水が浸入すると、問題が起こりやすくなります。コントロールパネルや、モータ、モータのコントローラ、チャージャ、ダッシュボードの裏側に大量の水をかけないようにしてください。
マシンを停止させ、キーを抜き取り、各部の動作が完全に停止したのを確認してから運転位置を離れる。調整、整備、清掃、格納などは、車両が十分に冷えてから行ってください。
オーナーは、充電・保管エリア(施設)と作業内容をを定期的に検査し、要件が満たされていることを確認する責任があります。
| 整備間隔 | 整備手順 |
|---|---|
| 200運転時間ごと |
|
| 400運転時間ごと |
|
マシンを平らな場所に駐車し、マシンの電源を切り、キーを取り外す。
モータハウジングの外側をふくめた車両の外側全体を洗浄する。
Important: 機体は中性洗剤と水で洗うことができます。ただし高圧洗浄器は使用しないでください。高圧の水で洗浄すると電気系統やグリス部へ水が浸入する恐れがあります。また、コントロールパネルやヘッドライド、モータ、バッテリー部に大量の水をかけないようにしてください。
ブレーキを点検する;ブレーキの点検を参照。
タイヤ空気圧を点検する;オイル類の量とタイヤ空気圧を点検するを参照。
機体各部のゆるみを点検し、必要な締め付けや交換、修理を行う。破損個所はすべて修理する。
機体の塗装がはげていればタッチアップ修理をする。
Note: ペイントはトロの正規代理店から入手することができる。
機体にはカバーを掛けておく。
Note: バッテリーは機体から取り外さずに保管することができます。
以下の表に従って、保管場所の温度に合わせた保管を行ってください。
| 保管温度 | 適正保管期間 |
| 45° – 55°C | 1 週間 |
| 25° – 45°C | 3 週間 |
| -20° – 25°C | 52 週間 |
Important: この範囲外の温度では、バッテリーに問題が発生します。バッテリーを保存する場所の気温はバッテリーの寿命に影響します。非常に気温の高いところに長期間格納すると、バッテリーの寿命が短くなります。室温が 25℃を超える場合は、表に示した適正期間を超えて保管しないてください。
格納前にバッテリーの充電状態を 40% - 60% (50.7V - 52.1V) に調整してください。
Note: 充電状態 50% の時がバッテリー寿命を最も延長できます。満充電 100% で保管するとバッテリーの寿命は短くなります。長期間にわたって格納する場合には 60% 程度まで充電しておいてください。
そして6ヶ月ごとにバッテリーをチェックして、充電残量を 40% - 60% に維持してください。残量が40% 未満になっていたら、40% ー 60% まで充電してください。
充電が終了したら、バッテリー充電器を電源から切り離してください。
充電器を電源から切り離さず、マシンに接続したままにすると、バッテリーが満充電された時点で充電器の電源が切れ、再接続しないと次の充電は行われません。