| Underhållsintervall | Underhållsförfarande |
|---|---|
| Varje användning eller dagligen |
|
Det här är en maskin med flera funktioner som är avsedd att användas av yrkesförare som har anlitats för kommersiellt arbete. Den är främst konstruerad för att klippa gräs på välunderhållna parkgräsmattor, golfbanor, sportanläggningar och kommersiella anläggningar. Det kan medföra fara för dig och kringstående om maskinen används i andra syften än vad som avsetts.
Läs den här informationen noga så att du lär dig att använda och underhålla produkten på rätt sätt och för att undvika person- och produktskador. Du är ansvarig för att produkten används på ett korrekt och säkert sätt.
Besök www.Toro.com om du behöver utbildningsmaterial för säkerhet och drift, information om tillbehör, hjälp med att hitta en återförsäljare eller om du vill registrera din produkt.
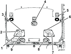
Kontakta en auktoriserad återförsäljare eller Toros kundservice och ha produktens modell- och artikelnummer till hands om du har behov av service, Toro-originaldelar eller ytterligare information. Figur 1 visar var på produkten modell- och serienumren sitter. Skriv numren i det tomma utrymmet.
Important: Skanna rutkoden på serienummerdekalen (i förekommande fall) med en mobil enhet för att få tillgång till information om garanti, reservdelar och annat.

I den här bruksanvisningen anges potentiella risker och alla säkerhetsmeddelanden har markerats med en varningssymbol (Figur 2), som anger fara som kan leda till allvarliga personskador eller dödsfall om föreskrifterna inte följs.

Två ord används också i den här bruksanvisningen för att markera information. Viktigt anger speciell teknisk information och Observera anger allmän information som bör ges särskild uppmärksamhet.
Denna produkt uppfyller alla relevanta europeiska direktiv. Mer information finns i den separata produktspecifika överensstämmelseförklaringen.
Det är ett brott mot avsnitt 4442 eller 4443 i Kaliforniens Public Resource Code att använda eller köra motorn på skogs-, busk- eller grästäckt mark om motorn inte är utrustad med en gnistsläckare som är i fullgott skick, vilket anges i avsnitt 4442, eller utan att motorn är konstruerad, utrustad och underhållen för att förhindra brand.
Den bifogade bruksanvisningen till motorn tillhandahålls för information om den amerikanska miljömyndigheten EPA:s (US Environmental Protection Agency) och Kaliforniens lagstiftning om utsläppskontroll för emissionssystem, underhåll och garanti. Extra bruksanvisningar kan beställas från motortillverkaren.
KALIFORNIEN
Proposition 65 Varning
Avgaserna från dieselmotorer och vissa avgaskomponenter innehåller ämnen som av den amerikanska delstaten Kalifornien anses orsaka cancer, fosterskador och andra fortplantningsskador.
Batteripoler och kabelanslutningar med tillbehör innehåller bly och blyföreningar, kemikalier som den amerikanska delstaten Kalifornien anser kan orsaka cancer och fortplantningsskador. Tvätta händerna efter hantering.
Användning av produkten kan orsaka kemikalieexponering som av den amerikanska delstaten Kalifornien anses orsaka cancer, fosterskador och andra fortplantningsskador.
Maskinen kan slita av händer och fötter och kasta omkring föremål. Följ alltid alla säkerhetsanvisningar för att undvika allvarliga personskador.
Läs och se till att du har förstått innehållet i den här bruksanvisningen innan du startar motorn.
Var fullt koncentrerad på maskinen när du använder den. Delta inte i aktiviteter som kan distrahera dig, eftersom personskador eller skador på egendom då kan uppstå.
Kör endast maskinen om skydd och andra säkerhetsanordningar sitter på plats och fungerar.
Håll händer och fötter borta från rörliga delar. Håll avstånd till utkastaröppningen.
Håll kringstående och barn borta från arbetsområdet. Låt aldrig barn använda maskinen.
Stäng av motorn, ta ut nyckeln och vänta tills alla rörliga delar har stannat innan du kliver ur förarsätet. Låt maskinen svalna innan du utför service, justerar, rengör eller ställer den i förvar.
Felaktigt bruk eller underhåll av maskinen kan leda till
personskador. För att minska risken för skador ska du alltid
följa säkerhetsanvisningarna och uppmärksamma varningssymbolen
. Symbolen betyder Var försiktig,
Varning eller Fara – anvisning om personsäkerhet. Underlåtenhet
att följa anvisningarna kan leda till personskador eller dödsfall.
![]() |
Säkerhetsdekalerna och anvisningarna är fullt synliga för föraren och finns nära alla potentiella farozoner. Ersätt dekaler som har skadats eller saknas. |
































Fästs över artikelnr 117-2754 för CE-märkta maskiner.





Note: Vänster och höger sida på maskinen är lika med förarens vänstra respektive högra sida vid normal körning.
Smörj maskinen före användning. Se Smörjning.
Important: Om du inte smörjer maskinen på rätt sätt kommer viktiga komponenter att gå sönder i förtid.
Kontrollera lufttrycket i däcken, se Kontrollera däcktrycket.
Important: Se till att ha rätt tryck i alla däck så att du får en bra klippkvalitet och maskinen fungerar som den ska. Däcken får inte vara för löst pumpade.
Kontrollera motoroljenivån, se Kontrollera oljenivån i motorn.
Kontrollera hydraulvätskenivån, se Kontrollera hydraulvätskan.
Kontrollera kylsystemet, se Kontrollera kylsystemet.
Kontrollera planetväxeloljan, se Kontrollera planetväxeloljan.
Kontrollera oljan i bakaxeln, se Kontrollera oljan i bakaxeln.
Kontrollera smörjmedlet i den bakre axelns växellåda, se Kontrollera smörjmedlet i den bakre axelns växellåda.
Delar som behövs till detta steg:
| Dekal med uppgift om tillverkningsår | 1 |
Montera dekalen med uppgifter om tillverkningsår som medföljer de lösa delarna och CE-satsen (säljs separat) för maskiner som kräver CE-efterlevnad (Figur 3).

Note: Vänster och höger sida på maskinen är lika med förarens vänstra respektive högra sida vid normal körning.
Bekanta dig med alla reglage innan du startar motorn och använder maskinen.

Du stannar maskinen genom att försiktigt lyfta foten från gaspedalen och låta pedalen återgå till NEUTRALLäGET (Figur 4).
De finns två fotpedaler som styr separata hjulbromsar och gör det lättare att svänga, parkera och köra i backar. En låspinne kopplar ihop pedalerna vid parkeringsbromsning och transport (Figur 4).
Pedallåsspärren kopplar samman pedalerna så att parkeringsbromsen kan läggas i (Figur 4).
Tryck ned rattlutningsspaken för att luta ratten till önskat läge, och släpp sedan upp spaken för att låsa fast ratten i det läget (Figur 4).
Koppla in parkeringsbromsen genom att ansluta de två pedalerna till varandra med låsspärren som finns bakom pedalbeläggen, och tryck ned parkeringsbromsspärren och bromspedalerna samtidigt (Figur 4). För att koppla ur parkeringsbromsen trycker du på bromspedalerna. Spärren kopplas då ur så att pedalerna kan återgå till det urkopplade läget. Kontrollera att pedalerna har dragits tillbaka helt när du har kopplat ur parkeringsbromsen.
Tändningslåset (Figur 5) har tre lägen: AV, På/FöRVäRMNING och START.

Motorhastighetsknappen (Figur 5) har två lägen för ändring av motorhastigheten. Tryck kort på knappen för att öka eller minska motorhastigheten i steg om 100 varv/minut. Håll knappen nedtryckt om du vill växla till hög eller låg tomgång automatiskt (beroende på vilken ände av knappen som hålls nedtryckt).
Kraftuttagsbrytaren har två lägen: UTDRAGEN (START) och INTRYCKT (STOPP). Dra ut kraftuttagsbrytaren för att koppla in klippdäckets knivar. Tryck in knappen för att koppla ur klippdäckets knivar (Figur 5).
Reglaget för hög/låg hastighet tillåter ett högre hastighetsläge vid förflyttning av maskinen (Figur 5).
Klippdäcken fungerar inte i högt läge. För att du ska kunna växla mellan det HöGA och LåGA läget måste däcken vara uppfällda, kraftuttaget och farthållaren vara urkopplade, gaspedalen vara i NEUTRALLäGET och maskinen måste röra sig i en låg hastighet.
Med lyftbrytarna kan du höja och sänka klippenheterna (Figur 5). Tryck brytarna framåt för att sänka ned klippenheterna och bakåt för att höja upp dem. När du startar maskinen med klippenheterna i det nedre läget ska du trycka ned lyftbrytaren så att klippenheterna kan flyta och klippa.
Note: Det går inte att sänka klippenheterna i det höga hastighetsläget, och det går varken att höja eller sänka dem om du inte sitter i sätet när motorn är igång. Klippenheterna sänks när nyckeln är i läget På och du sitter i sätet.
Omkopplaren för farthållaren låses i pedalläget så att önskad hastighet bibehålls (Figur 6). Om du trycker baktill på omkopplaren stängs farthållaren av, om omkopplaren är i mittläget aktiveras farthållaren och om du trycker framtill på omkopplaren ställs den önskade hastigheten in.
Note: Pedalläget avaktiveras också om du trycker på någon av bromspedalerna eller för gaspedalen till BACKLäGET i en sekund.

Använd kraftuttagsporten för att driva extra elektriska tillbehör (Figur 6).
För spaken på sidan om sätet utåt, skjut sätet till önskat läge och släpp sedan spaken för att låsa sätet i det läget (Figur 7).

Vrid på ratten för att justera armstödets vinkel (Figur 7).
Flytta spaken för att justera ryggstödets vinkel (Figur 7).
Viktmätaren anger när sätet har anpassats efter förarens vikt (Figur 7). Justera höjden genom att ställa in fjädringen i det gröna området.
Använd den här spaken för att göra justeringar efter förarens vikt (Figur 7). Dra upp spaken för att öka lufttrycket och tryck ner spaken för att minska lufttrycket. Sätet är korrekt justerat när viktmätaren är i det gröna området.

Ställer in cirkulation av befintlig luft i hytten eller luftintag utifrån (Figur 8).
Ställ in reglaget på luftcirkulation när luftkonditioneringen används.
Ställ in reglaget på luftintag när värmaren eller fläkten används.
Vrid fläktreglaget för att reglera fläktens hastighet (Figur 8).
Vrid temperaturreglaget för att reglera lufttemperaturen i hytten (Figur 8).
Använd den här omkopplaren för att slå på och av vindrutetorkarna (Figur 8).
Använd den här brytaren för att slå på och av luftkonditioneringen (Figur 8).
Använd det här eluttaget på 15 A och 12 V DC för att strömsätta kompatibla enheter (Figur 8).
Använd den här omkopplaren för att slå på och av strålkastarna och bakljusen (Figur 8).
Använd den här omkopplaren för att slå på och av varningsblinkers (Figur 8).
Lyft upp spärrarna för att öppna vindrutan (Figur 9). Tryck in spärren så att vindrutan låses i öPPET läge. Dra spärren utåt och nedåt för att stänga och säkra vindrutan.

Lyft upp spärrarna för att öppna bakrutan. Tryck på spärren för att låsa fönstret i det öPPNA läget. Dra spärren utåt och nedåt för att stänga och säkra rutan (Figur 9).
Important: Stäng bakrutan innan du öppnar motorhuven, annars kan det bli skador på motorhuven eller fönstret.
På LCD-skärmen InfoCenter (Figur 5) visas information om maskinen, till exempel driftstatus, diagnostik och övrig information om maskinen.
Vilka skärmar som visas beror på vilka knappar du väljer. Knapparnas funktioner kan ändras beroende på omständigheterna.

| Beskrivning | Figur 10referens | Mått och vikt | |
| Höjd med hytt | A | 237 cm | |
| Höjd med störtbågen uppfälld | I | 217 cm | |
| Höjd med störtbågen nedfälld | K | 173 cm | |
| Total maskinlängd | H | 186 cm | |
| Längd för förvaring | G | 184 cm | |
| Klippbredd | |||
| total | D | 315 cm | |
| främre klippenhet | 137 cm | ||
| sidoklippenhet | 94 cm | ||
| främre klippenhet och en sidoklippenhet | 226 cm | ||
| Total maskinbredd | |||
| med klippenheterna nere | E | 323 cm | |
| med upphöjda klippenheter (transportläge) | C | 180 cm | |
| Hjulbas | F | 141 cm | |
| Spårvidd (däck mitt till mitt) | |||
| fram | B | 114 cm | |
| bak | J | 107 cm | |
| Markfrigång | 15 cm | ||
| Nettovikt med hytt | 2 165 kg | ||
| Nettovikt med störtbåge | 1 922 kg | ||
Note: Specifikationer och utformning kan ändras utan föregående meddelande.
Det finns ett urval av godkända Toro-redskap och -tillbehör som du kan använda för att förbättra och utöka maskinens kapacitet. Kontakta en auktoriserad serviceverkstad eller Toro-återförsäljare eller gå till www.Toro.com för att se en lista över alla godkända redskap och tillbehör.
Använd endast Toros originalreservdelar och tillbehör. Det kan vara farligt att använda reservdelar och tillbehör från andra tillverkare och det kan göra produktgarantin ogiltig.
Note: Vänster och höger sida på maskinen är lika med förarens vänstra respektive högra sida vid normal körning.
Låt aldrig barn eller någon som inte har fått utbildning använda eller utföra underhåll på maskinen. Lokala föreskrifter kan begränsa förarens ålder. Det är ägaren som ansvarar för att utbilda alla förare och mekaniker.
Lär dig hur du använder utrustningen på ett säkert sätt och bekanta dig med manöverorgan och säkerhetsskyltar.
Stäng av motorn, ta ut nyckeln och vänta tills alla rörliga delar har stannat innan du kliver ur förarsätet. Låt maskinen svalna innan du utför service, justerar, rengör eller ställer den i förvar.
Lär dig att stanna maskinen och stänga av motorn snabbt.
Kontrollera att förarkontroller, säkerhetsbrytare och skydd sitter fast och fungerar som de ska. Kör inte maskinen om dessa inte fungerar som de ska.
Före klippning ska du alltid kontrollera att knivarna, knivbultarna och klippenheterna är i gott fungerande skick. Byt ut slitna eller skadade knivar och skruvar i satser så att balanseringen bibehålls.
Inspektera området där maskinen ska användas och ta bort föremål som maskinen kan slunga iväg.
Denna produkt genererar ett elektromagnetiskt fält. Om du använder en implanterbar elektronisk medicinteknisk produkt ska du kontakta din vårdgivare innan du använder den här produkten.
Var ytterst försiktig när du hanterar bränsle. Det är brandfarligt och dess ångor är explosiva.
Släck alla cigaretter, cigarrer, pipor och allt annat som brinner.
Använd endast en godkänd bränsledunk.
Ta inte bort tanklocket och fyll inte på bränsle i bränsletanken medan motorn är igång eller fortfarande är varm.
Fyll inte på eller tappa ut bränsle från maskinen i ett slutet utrymme.
Förvara inte maskinen eller bränslebehållaren i närheten av en öppen låga, gnista eller tändlåga, t.ex. nära en varmvattenberedare eller någon annan utrustning.
Om du spiller ut bränsle ska du inte försöka starta motorn. Undvik att skapa några gnistor tills bränsleångorna har skingrats.
Innan du startar motorn och använder maskinen ska du kontrollera oljenivån i motorns vevhus. Se Kontrollera oljenivån i motorn.
Innan du startar motorn och börjar använda maskinen bör du kontrollera kylsystemet; se Kontrollera kylsystemet.
Innan du startar motorn och börjar använda maskinen bör du kontrollera hydraulsystemet; se Kontrollera hydraulvätskan.
Töm ut vatten eller andra föroreningar från vattenseparatorn. Se Utföra service på vattenseparatorn.
Bränsletankens kapacitet:79 liter
Important: Använd endast dieselbränsle med mycket låg svavelhalt. Bränsle med högre svavelhalt försämrar dieseloxideringskatalysatorn (DOC), vilket orsakar funktionsproblem och förkortar livslängden på motorkomponenterna.Underlåtenhet att följa nedanstående försiktighetsåtgärder kan skada motorn.
Använd aldrig fotogen eller bensin istället för dieselbränsle.
Blanda aldrig fotogen eller använd motorolja med dieselbränslet.
Förvara aldrig bränsle i behållare med zinkplätering på insidan.
Använd inte bränsletillsatser.
Cetantal: 45 eller högre
Svavelhalt: mycket låg svavelhalt (< 15 ppm)
| Specifikationer för dieselbränsle | Plats |
| ASTM D975 | USA |
| Nr 1-D S15 | |
| Nr 2-D S15 | |
| EN 590 | EU |
| ISO 8217 DMX | Internationell |
| JIS K2204 klass nr 2 | Japan |
| KSM-2610 | Korea |
Använd endast ren, färsk diesel eller biogasbränslen.
Köp inte mer bränsle än vad som går åt inom 180 dagar så att det garanterat är färskt.
Använd diesel för sommarbruk (nr 2-D) vid temperaturer över −7 °C och bränsle för vinterbruk (nr 1-D eller en blandning av nr 1-D/2-D) under −7 °C.
Note: Användning av bränsle för vinterbruk vid lägre temperaturer ger lägre flampunkts- och flytpunktsegenskaper, vilket gör att maskinen startar lättare och att inte bränslefiltret sätts igen i lika hög grad.Om diesel för sommarbruk används vid temperaturer över −7 °C bidrar det till att pumpen håller längre och har större effekt jämfört med bränsle för vinterbruk.
Maskinen kan också använda ett biodieselbränsle, upp till B20 (20 % biodiesel, 80 % petrodiesel).
Svavelhalt: mycket låg svavelhalt (< 15 ppm)
Specifikation för biodieselbränsle: ASTM D6751 eller SS-EN 14214
Specifikation för blandat bränsle: ASTM D975, SS-EN 590 eller JIS K2204
Important: Petroleumdieselandelens svavelhalt måste vara mycket låg.
Vidta följande säkerhetsåtgärder:
Biodieselblandningar kan skada målade ytor.
Använd B5 (andel biodiesel är 5 %) eller blandningar med mindre biodieselandel vid kallt väder.
Kontrollera tätningar, slangar och packningar som kommer i kontakt med bränsle, eftersom de kan försämras över tiden.
Vid byte till biodieselblandningar kan bränslefiltret sättas igen i början.
Kontakta en auktoriserad Toro-återförsäljare för mer information om biodieselbränsle.

Fyll på tanken med dieselbränsle (nr 2-D) till ungefär 6–13 mm under tankens, inte påfyllningsrörets, övre kant.
Note: Fyll om möjligt på tanken varje gång maskinen har använts. Detta minskar eventuell ansamling av kondens i bränsletanken.
| Underhållsintervall | Underhållsförfarande |
|---|---|
| Varje användning eller dagligen |
|
Ett lågt däcktryck minskar maskinens stabilitet på lutande underlag. Detta kan göra så att maskinen välter, vilket i sin tur kan leda till personskador eller dödsfall.
Däcken får inte vara för löst pumpade.
Lufttrycket i däcken ska vara 1,72–2,07 bar.
Important: Upprätthåll rekommenderat tryck i alla däck för att få god klippkvalitet och korrekt maskindrift. Däcken får inte vara för löst pumpade.Kontrollera lufttrycket i samtliga däck innan du kör maskinen.

| Underhållsintervall | Underhållsförfarande |
|---|---|
| Efter den första timmen |
|
| Efter de första 10 timmarna |
|
| Var 200:e timme |
|
Om hjulmuttrarna inte dras åt med korrekt åtdragningsmoment kan det leda till personskador.
Dra åt hjulmuttrarna till rätt momentvärde.
Dra åt hjulmuttrarna till 115–136 Nm i den ordning som visas i Figur 13 och Figur 14.


Sitt på sätet när du justerar backspegeln, så att du får en så bra sikt som möjligt genom bakrutan (Figur 15) Dra spaken bakåt för att luta spegeln och minska ljusstyrkan och risken att bli bländad.
Sitt på sätet och be någon att hjälpa dig att justera sidospeglarna så att du ser sidorna av maskinen så bra som möjligt (Figur 15).

Lossa monteringsmuttrarna och rikta in strålkastarna så att de pekar rakt framåt.
Note: Dra inte åt monteringsmuttern hårdare än vad som krävs för att hålla strålkastaren i rätt position.
Lägg en platt plåt över strålkastarens framsida.
Montera en magnetisk gradskiva på plåten.
Håll enheten på plats, luta försiktigt strålkastaren nedåt med 3° och dra sedan åt muttern.
Upprepa proceduren med den andra strålkastaren.
Undvik vältolyckor som kan leda till livshotande personskador genom att hålla vältskyddet i upprätt låst läge och använda säkerhetsbältet.
Kontrollera att sätesspärren håller sätet på plats.
Det finns inget vältskydd om störtbågen är nedfälld.
Kör inte maskinen på ojämn mark eller i en sluttning med störtbågen nedfälld.
Fäll inte ned störtbågen om det inte är absolut nödvändigt.
Använd inte säkerhetsbältet om störtbågen är nedfälld.
Kör långsamt och försiktigt.
Fäll upp störtbågen så snart som det finns tillräckligt med utrymme.
Var mycket uppmärksam på utrymmen ovanför dig (dvs. grenar, dörrar, elektriska sladdar) innan du kör under ett föremål och vidrör dem inte.


Det går att justera klipphöjden från 25 till 127 mm i steg om 13 mm. Justera klipphöjden på mittklippenheten genom att placera svänghjulsaxlarna i svänghjulsgafflarnas övre eller nedre hål, lägga till eller ta bort ett jämnt antal distansbrickor från svänghjulsgafflarna och fästa den bakre kedjan i önskat hål.
Ställ maskinen på ett plant underlag.
Starta motorn och höj klippenheterna för att ändra klipphöjden.
Stäng av motorn, koppla in parkeringsbromsen och ta ut nyckeln ur tändningslåset när klippenheten har höjts.
Sätt svänghjulsaxlarna i samma hål i alla svänghjulsgafflar.

Note: Om du använder en klipphöjd på 64 mm eller mer måste du montera axelbulten i det nedre svänghjulsgaffelhålet för att undvika att gräs ansamlas mellan hjulet och gaffeln. Om gräs ansamlas när du använder en klipphöjd på under 64 mm ska du köra maskinen baklänges så att gräsklippet dras bort från hjulet och gaffeln.
Ta bort spännlocket från spindelaxeln och skjut ut spindeln ur svänghjulsarmen (Figur 18).
Placera de två mellanläggen på spindelaxeln såsom de satt från början.
Note: Mellanläggen krävs för att man ska få jämn höjd över klippenheternas hela bredd. Skjut på ett lämpligt antal 13 mm distansbrickor (enligt tabellen nedan) på spindelaxeln för att få önskad klipphöjd. Skjut sedan på brickan på axeln.
Ta hjälp av tabellen nedan för att kontrollera vilka distansbrickor som bör kombineras för inställningen (Figur 19):

För svänghjulsspindeln genom den främre svänghjulsarmen.
Montera mellanläggen (såsom de satt från början) och de återstående distansbrickorna på spindelaxeln.
Sätt tillbaka spännlocket så att allt sitter stadigt.
Ta bort den hårnålssprint och sprintbult som håller fast klipphöjdskedjorna på klippenhetens bakre del (Figur 20).

Montera klipphöjdskedjorna i önskat klipphöjdshål med hjälp av sprintbulten och hårnålssprinten (Figur 21).

Note: Om du vill ha en klipphöjd på 25 mm, 38 mm eller ibland 51 mm, ska du flytta medarna och klipphöjdshjulen till det högsta läget.
Om du vill justera vingklippenheternas klipphöjd ska du lägga till eller ta bort lika många distansbrickor från varje hjulgaffel, sätta svänghjulsaxlarna i de höga eller låga klipphöjdshålen i svänghjulsgafflarna och fästa svängarmarna i de valda fästhålen för klipphöjdsinställningen.
Sätt svänghjulsaxlarna i samma hål i alla svänghjulsgafflar (Figur 22 och Figur 24).
Ta bort spännlocket från spindelaxeln och skjut ut spindeln ur svänghjulsarmen (Figur 22).

Placera de två mellanläggen på spindelaxeln såsom de satt från början.
Note: Mellanläggen krävs för att man ska få jämn höjd över hela klippenheternas bredd. Skjut på ett lämpligt antal 13 mm distansbrickor (enligt tabellen nedan) på spindelaxeln för att nå önskad klipphöjd. Skjut sedan på brickan på axeln.
Ta hjälp av tabellen nedan för att kontrollera vilka distansbrickor som bör kombineras för inställningen (Figur 23).

För svänghjulsspindeln genom den främre svänghjulsarmen.
Montera mellanläggen (såsom de satt från början) och de återstående distansbrickorna på spindelaxeln.
Ta bort hårnålssprinten och sprintbulten från svänghjulsarmarna (Figur 24).
Vrid spännstången för att höja eller sänka svängarmen tills hålen befinner sig i linje med de utvalda fästhålen för klipphöjdsinställning i klippdäckens ram (Figur 24 och Figur 25).


Sätt i sprintbultarna och hårnålssprintarna.
Vrid spännstången moturs och dra åt med handen för att spänna justeringen.
Montera medarna i det nedre läget när du använder klipphöjder över 64 mm och i det övre läget när du använder klipphöjder under 64 mm.

Montera klippdäckets valsar i det nedre läget vid en klipphöjd över 64 mm och i det övre läget vid en klipphöjd under 64 mm.

Important: Var försiktig när en kniv roteras på maskiner med flera knivar, eftersom den kan få även andra knivar att börja rotera.
För att klippenheten ska fungera optimalt måste det vara ett spel på 10–16 mm mellan sidospetsarna och mittklippdäckets knivar (Figur 28).
Lyft klippenheten så att knivarna är synliga och palla upp mittdäckdelen så att den inte kan falla ned av en olyckshändelse.
Note: Vingdäcken måste vara horisontella med mittklippenheten.
Vrid en mittkniv och en intilliggande sidokniv så att knivspetsarna befinner sig i linje. Mät avståndet mellan knivspetsarna (Figur 28).
Note: Avståndet ska vara cirka 10 till 16 mm..

Använd justerskruven på klippenhetens bakre svänglänk för att justera avståndet (Figur 29).
Lossa kontramuttern på justeringsbulten.
Lossa eller dra åt justeringsbultarna tills du når ett spel på 10 till 16 mm och dra sedan åt kontramuttern.
Gör om samma sak på enhetens andra sida.

På grund av varierande gräsförhållanden och olika motviktsinställningar på traktorenheten ska du provklippa en bit av gräsmattan och kontrollera utseendet innan den riktiga klippningen påbörjas.
Ställ in alla klippenheter till önskad klipphöjd. Se Justera klipphöjden.
Kontrollera och justera lufttrycket i maskinens fram- och bakdäck till mellan 1,72 och 2,07 bar.
Kontrollera och justera lufttrycket i alla klippenhetens svänghjul till 3,45 bar.
Kontrollera laddningen och motviktstrycket med motorn på HöG TOMGåNG och använd hydrauliska testportar.
Note: Justera motvikten till 22,41 bar.
Kontrollera att knivarna inte är böjda. Se Kontrollera om någon kniv är böjd.
Klipp gräset på ett testområde och kontrollera att alla klippenheter klipper med samma höjd.
Om det behövs ytterligare klippdäcksjusteringar ska du välja ut en plan yta med en rak kant på minst två meter.
Öka klipphöjden till 7,6–10,1 cm för att göra det lättare att mäta knivplanet. Se Justera klipphöjden.
Sänk ned klippenheterna på ett plant underlag och avlägsna kåporna som sitter ovanpå klippenheterna.
Lossa flänsmuttern som fäster mellanremskivan för att minska remspänningen på respektive klippenhet.
Note: Använd helst Toro-verktyget (artikelnr 121–3874) för att dra åt spännlocket.
Rotera kniven på varje spindel tills ändarna vetter framåt/bakåt.
Mät från golvet till längst fram på skäreggen.
Justera mellanläggen (3 mm) på de främre svänghjulsgafflarna så att de stämmer överens med klipphöjdsdekalen (Figur 30). Se Justera klipphöjden.

Rotera kniven på varje spindel tills ändarna är riktade framåt/bakåt.
Mät från golvet till längst fram på skäreggen.
Justera mellanläggen (3 mm) på de främre svänghjulsarmarna så att de stämmer överens med klipphöjdsdekalen (Figur 31).
Note: När det endast gäller utsidesknivens spindel hänvisas till Justera klipphöjden.

Placera knivarna sida vid sida på den yttre spindeln på båda sidoklippenheterna.
Note: Mät från golvet till spetsen på skäreggen på båda enheterna och jämför måtten. Måtten får inte skilja sig åt med mer än 3 mm. Gör inga inställningar just nu.
Placera knivarna sida vid sida på sidoklippenhetens inre spindel och motsvarande yttre spindel på den främre klippenheten.
Note: Mät från golvet till spetsen på skäreggen på sidoklippenhetens inre egg till motsvarande yttre egg på den främre klippenheten. Jämför sedan måtten. Sidoklippdäckets mått ska vara inom 3 mm från den främre klippenheten.
Note: Alla svänghjulen på de tre klippenheterna ska stå kvar på marken när en motvikt används.
Note: Om en justering krävs för att klippningen ska bli lika vid den främre klippenheten och sidoklippenheterna, ska du enbart justera sidoklippenheterna.
Om den inre eggen på sidoklippenheten är för hög i förhållande till den yttre eggen på den främre klippenheten, tar du bort ett mellanlägg från botten av den främre inre svänghjulsarmen på sidoklippenheten (Figur 31).
Note: Kontrollera återigen måtten mellan sidoklippenheternas yttre eggar och mellan sidoklippenhetens inre egg och den främre klippenhetens yttre egg.
Om den inre eggen fortfarande är för hög tar du bort ytterligare ett mellanlägg från botten av den främre inre svänghjulsarmen på sidoklippenheten och ett mellanlägg från den främre yttre svänghjulsarmen på sidoklippenheten.
Om den inre eggen på sidoklippenheten är för låg i förhållande till den yttre eggen på den främre klippenheten, lägger du till ett mellanlägg i botten på den främre inre svänghjulsarmen på sidoklippenheten.
Note: Kontrollera återigen måtten mellan sidoklippenheternas yttre eggar och mellan sidoklippenhetens inre egg och den främre klippenhetens yttre egg.
Om den inre eggen fortfarande är för låg lägger du till ytterligare ett mellanlägg i botten av sidoklippenhetens främre inre svänghjulsarm och ett mellanlägg på sidoklippenhetens främre yttre svänghjulsarm.
När klipphöjden är densamma vid eggarna på den främre klippenheten och sidoklippenheterna ska du kontrollera att sidoklippdäckets lutning fortfarande är 8–11 mm.
Note: Justera vid behov.
| Underhållsintervall | Underhållsförfarande |
|---|---|
| Varje användning eller dagligen |
|
Maskinen har säkerhetsbrytare i det elektriska systemet. De här brytarna kopplar antingen ur traktorenheten eller kraftuttaget när du kliver ur sätet. Om du kopplar ur kraftuttaget och kopplar in parkeringsbromsen innan du lämnar sätet fortsätter motorn att gå.
Kör maskinen sakta till ett stort och öppet område. Sänk ned klippenheten, stäng av motorn och koppla in parkeringsbromsen.
Sitt på sätet och tryck på gaspedalen. Försök att starta motorn. Motorn ska inte starta. Om motorn startar finns det ett funktionsfel i säkerhetssystemet som måste åtgärdas innan arbetet återupptas.
Sitt på sätet, starta motorn och koppla in kraftuttaget. Res dig ur sätet när kraftuttaget är inkopplat. Kraftuttaget bör kopplas ur efter en liten fördröjning. Om kraftuttaget startar ändå finns det ett funktionsfel i säkerhetssystemet som bör åtgärdas innan arbetet återupptas.
Sitt på sätet, lägg i parkeringsbromsen och starta motorn. Flytta gaspedalen så att den inte ligger i NEUTRALLäGET. InfoCenter bör visa ”traction not allowed” (hjuldrivning ej tillåten) och maskinen bör stå stilla. Om maskinen inte står stilla föreligger ett funktionsfel i säkerhetssystemet som bör åtgärdas innan arbetet återupptas.
| Atomic-kniv | Kniv med plant segel | Kniv med standardsegel | Kniv med medelsegel | |
| Gräsförhållanden | Vått och klibbigt, tillväxt under våren | Tunt eller glest gräs | Normal klippning | Alla förhållanden till kraftig tillväxt |
| Lövkompostering | Fungerar bra | Använd inte | Fungerar bra | Fungerar bra |
| Fördelar | Mindre lyft, bryter upp gräsklipp med klumpar | Ger inte upphov till ett stort luftflöde vid dammiga, sandiga och glesa gräsmattor | Bra prestanda i allmänhet | Mer lyft och mindre turbulens än för standardknivar, i överlag bra |
| Nackdelar | Mindre lyft och mindre spridning under krävande förhållanden | Rekommenderas inte för normala till tunga förhållanden |
På displayen visas information om maskinen, till exempel driftsstatus, diagnosinformation och övrig information om maskinen. Det finns flera skärmar i InfoCenter-skärmen. Du kan växla mellan skärmarna när som helst genom att trycka på någon av skärmknapparna och sedan välja önskad riktningspil.

Note: Varje knapps funktion kan ändras beroende på vad tillfället kräver. Vid varje knapp visas en ikon som förklarar den aktuella funktionen.
![]() | Timmätare |
![]() | Sidändring |
![]() | Inställningar för virtuellt pedalstopp |
![]() | Glödstiften har aktiverats. |
![]() | Föraren måste sitta på sätet. |
![]() | Parkeringsbromsen är åtdragen. |
![]() | Motorns kylvätsketemperatur (°C eller °F) |
![]() | Hjuldrivning eller gaspedal |
![]() | Farthållaren är aktiverad. |
![]() | Begäran om återställnings-/standbyregenerering |
| Förfrågan om parkerad regenerering eller återhämtningsregenerering | |
![]() | En parkerad regenerering eller en återhämtningsregenerering pågår. |
![]() | Hög avgastemperatur |
![]() | Fel i Nox-kontrolldiagnos. Kör tillbaka maskinen till verkstaden och kontakta en auktoriserad Toro-återförsäljare (programvaruversion U eller senare). |
![]() | Kraftuttaget är inaktiverat. |
![]() | Kraftuttaget är inkopplat. |
![]() | Batteri |
![]() | Bränslenivå |
![]() | Varning |
![]() | Aktiv |
![]() | Inaktiv |
![]() | Föregående |
![]() | Nästa |
![]() | Klippenheterna höjs. |
![]() | Klippenheterna sänks. |
![]() | Föregående skärm |
![]() | Snabbt |
![]() | Långsamt |
![]() | Öka värdet |
![]() | Minska värdet |
![]() | Meny |
![]() | Bläddra uppåt/nedåt |
![]() | Bläddra åt vänster/höger |
![]() | Låst |
![]() | PIN-kod |
Tryck på menyåtkomstknappen i huvudskärmen för att få åtkomst till InfoCenters menysystem. Då kommer du till huvudmenyn. Se följande tabeller för en sammanfattning av vilka alternativ som finns tillgängliga från menyerna:
| Huvudmeny – menyobjekt | Beskrivning |
| Fel | Felmenyn innehåller en lista med de senaste maskinfelen som uppstått. Läs servicehandboken eller kontakta en auktoriserad Toro-återförsäljare för mer information om felmenyn och den information som finns där. |
| Service | Servicemenyn innehåller information om maskinen som t.ex. antal brukstimmar och andra liknande siffror. |
| Diagnostik | Diagnostikmenyn visar statusen för alla brytare, givare och styruteffekt på maskinen. Du kan använda den här menyn för att felsöka vissa problem och snabbt se vilka maskinreglage som är På och vilka som är AV. |
| Inställningar | Med hjälp av inställningsmenyn kan du anpassa och ändra konfigurationsvariabler på skärmen. |
Maskininställningar![]() | På menyn Maskininställningar kan du justera tröskelvärdena för Auto. tomgång, hastighet, smart strömförsörjning, backningslarm och lutningssensor. |
| Om | I menyn Om står maskinens modellnummer, artikelnummer och programvaruversion. |
| Service – menyobjekt | Beskrivning |
| Hours | Anger det totala antal timmar som maskinen, motorn och kraftuttaget har varit på samt antalet timmar som maskinen har transporterats och när det är dags för service. |
| Counts | Anger händelser som har inträffat i maskinen. |
| DPF-regenerering | Alternativ för regenerering av dieselpartikelfiltret och undermenyer för det |
| Omvänd fläkt | Gör att du kan starta en omvänd fläktcykel. |
Bränsleförbrukning![]() | Visar den genomsnittliga bränsleförbrukningen. |
Gaspedal![]() | Listar gaspedalens kalibreringsvärden och gör det möjligt att kalibrera gaspedalen. |
| Diagnostik – menyobjekt | Beskrivning |
| Vänster däck | Anger in- och utdata för dessa komponenter. |
| Mittdäck | |
| Höger däck | |
| Gaspedal | |
| Hjuldrivning | |
| Hög/lågt intervall | |
| Krafttuttag | |
| Motor | |
| Farthållare | |
| Lampsats |
| Inställningar – menyobjekt | Beskrivning |
| Ange PIN-kod | Med en PIN-kod kan en person (arbetsledare/mekaniker) som har godkänts av företaget få åtkomst till låsta menyer. |
Låsta inställningar![]() | Ger en person som har auktoriserats av ditt företag att inneha PIN-koden åtkomst till låsta inställningar. |
Återställ standardvärden![]() | Återställer inställningarna till standardinställningarna. |
| Bakgrundsbelysning | Styr LCD-skärmens ljusstyrka. |
| Språk | Styr språken som används på InfoCenter*. |
| Teckenstorlek | Styr storleken på teckensnittet på skärmen. |
| Enheter | Styr vilka enheter som används på InfoCenter (brittiska eller metriska). |
Note: Menyn Maskininställningar visas endast när PIN-koden har angetts.
Maskininställningar – menyobjekt![]() | Beskrivning |
Auto. tomgång ![]() | Styr den tid det tar innan motorn går på tomgång när maskinen inte används |
Klipphastighet ![]() | Styr den maximala hastigheten under klippning (lågt område). |
Transporthastighet ![]() | Styr den maximala hastigheten under transport (högt område). |
Smart Power ![]() | Aktiverar/inaktiverar Smart Power. |
Backningslarm ![]() | Anger att det finns ett installerat backningslarm. |
Installerad lutningssensor ![]() | Anger att det finns en installerad lutningssensor. |
| Om – menyobjekt | Beskrivning |
| Modell | Visar maskinens modellnummer. |
| Art.nr | Visar maskinens artikelnummer. |
| S/W Rev | Visar programvaruversionen för den primära styrenheten. |
| Steg V | Visar Ja eller Nej beroende på motor. |
XDM-2700![]() | Visar programvaruversionen för InfoCenter |
CAN![]() | Visar statusen för maskinens kommunikationsbuss |
Prog.rev-S![]() | Visar programvaruversionen för den sekundära styrenheten. |
Låst
under Låsta menyer – endast tillgänglig med PIN-kod
Det finns inställningar för driftskonfigurering som kan justeras i INSTäLLNINGARNA för InfoCenter. Använd LåST MENY för att låsa dessa inställningar.
Note: Den initiala lösenordskoden har programmerats av återförsäljaren vid leverans.
Note: Den fabriksinställda PIN-koden för maskinen är antingen 0000 eller 1234.Om du har ändrat PIN-koden och därefter glömt den nya koden kan du kontakta en auktoriserad Toro-återförsäljare för att få hjälp.
Från HUVUDMENYN bläddrar du ner till menyn INSTäLLNINGAR och trycker på välja-knappen (Figur 33).

I menyn INSTäLLNINGAR bläddrar du till ANGE PIN-KOD och trycker på välja-knappen (Figur 34A).

Ange PIN-koden genom att trycka på navigeringsknapparna uppåt eller nedåt tills den rätta första siffran visas. Tryck sedan på höger navigeringsknapp för att gå till nästa siffra (Figur 34B och Figur 34C). Upprepa detta steg tills den sista siffran har angetts.
Tryck på välja-knappen.
Note: Om PIN-koden accepteras på skärmen och den låsta menyn låses upp visas ordet ”PIN” i skärmens övre högra hörn.
Spärra den låsta menyn genom att vrida tändningslåset till det AVSTäNGDA läget och sedan till det PåSLAGNA läget.
I SETTINGS (Inställningar) bläddrar du ner till PROTECT SETTINGS (Lås inställn).
Om du vill visa och ändra inställningarna
utan att ange en PIN-kod använder du välja-knappen och ändrar
inställningen för LåS INSTäLLN. till
(Av).
Om du vill visa och ändra inställningarna
med en PIN-kod använder du välja-knappen för att ändra LåS INSTäLLN. till
(På). Ställ sedan
in PIN-koden och vrid nyckeln i tändningslåset till läget AV och sedan till läget På.
Timern Dags för service nollställer timmarna till service efter att en planerad underhållsåtgärd har utförts.
I INSTäLLNINGAR bläddrar du till ANGE PIN-KOD och trycker på välja-knappen.
Ange PIN-kod. Se Åtkomst till låsta menyer.
I SERVICE navigerar du till TIMMAR och trycker på knappen välj.
Bläddra ner till DAGS FöR SERVICE.
Note: Om det är dags för service så visas NU bredvid DAGS FöR SERVICE.
Markera serviceintervallet och tryck på valknappen.
Note: Du hittar serviceintervallet (250 timmar, 500 timmar osv.) bredvid DAGS FöR SERVICE.Serviceintervall är ett låst menyalternativ.
När skärmen ÅTERSTÄLLA SERVICETIMER? visas trycker du på välja-knappen för JA eller på tillbaka-knappen för NEJ.
När du har valt JA rensas intervallskärmen och återgår till valen för servicetimmar.
Bläddra ned till Auto. tomgång i inställningsmenyn.
Tryck på den inre högra eller vänstra knappen för att ändra tiden för Auto. tomgång mellan AV, 8 S, 10 S, 15 S, 20 S och 30 S.
I huvudmenyn bläddrar du ned till Klipphast. och trycker på högerknappen.
Använd den inre högra knappen för att öka den maximala klipphastigheten (50 %, 75 % eller 100 %).
Använd den inre vänstra knappen för att minska den maximala klipphastigheten (50 %, 75 % eller 100 %).
Tryck på vänsterknappen för att avsluta.
I huvudmenyn bläddrar du ned till Transporthastighet och trycker på högerknappen.
Använd den inre högra knappen för att öka den maximala transporthastigheten (50 %, 75 % eller 100 %).
Använd den inre vänstra knappen för att minska den maximala transporthastigheten (50 %, 75 % eller 100 %).
Tryck på vänsterknappen för att avsluta.
När du är klar med den låsta menyn trycker du på vänsterknappen för att stänga huvudmenyn och sedan på vänsterknappen för att stänga menyn Kör.
I INSTäLLNINGAR bläddrar du ner till SMART POWER.
Tryck på den högra navigeringsknappen för att växla mellan På och AV.

Blinkande rött sken – aktivt fel
Fast rött sken – aktiv rekommendation
Fast grönt sken – normal drift
Blinkande grönt – kod uppdateras
Ägaren/operatören kan förebygga olyckor samt ansvarar för olyckor som kan ge upphov till personskador eller skador på egendom.
Använd lämpliga kläder, inklusive ögonskydd, långbyxor, rejäla och halkfria skor samt hörselskydd. Sätt upp långt hår och använd inte hängande smycken eller löst sittande kläder.
Kör inte maskinen om du är sjuk, trött eller påverkad av alkohol eller läkemedel.
Var fullt koncentrerad på maskinen när du använder den. Delta inte i aktiviteter som kan distrahera dig, eftersom personskador eller skador på egendom då kan uppstå.
Se till att alla drivenheter är i neutralläge, parkeringsbromsen är inkopplad och att du sitter i förarsätet innan du startar motorn.
Skjutsa inte passagerare på maskinen och håll kringstående och barn på säkert avstånd från arbetsområdet.
Använd endast maskinen om du har god sikt, så att du kan undvika gropar och dolda faror.
Undvik att klippa vått gräs. Försämrat grepp kan göra att maskinen glider.
Håll händer och fötter borta från rörliga delar. Håll avstånd till utkastaröppningen.
Titta bakåt och nedåt innan du backar för att se till att vägen är fri.
Var försiktig när du närmar dig hörn med skymd sikt, buskage, träd eller andra objekt som kan försämra sikten.
Stanna knivarna när du inte klipper gräs.
Stanna maskinen, ta ut nyckeln och vänta tills alla rörliga delar har stannat innan du undersöker redskapet om du kör på ett föremål eller om maskinen vibrerar på ett onormalt sätt. Reparera alla skador innan du börjar köra maskinen igen.
Sakta ned och var försiktig när du svänger och korsar vägar och trottoarer med maskinen. Lämna alltid företräde.
Koppla ur klippenhetens drivenhet, stäng av motorn, ta ut nyckeln och vänta tills alla rörelser har avstannat innan du justerar klipphöjden (såvida du inte kan justera den från arbetsläget).
Kör endast motorn i välventilerade utrymmen. Avgaser innehåller koloxid, vilket är dödligt om det andas in.
Lämna aldrig en maskin som är i gång utan uppsikt.
Innan du kliver ur förarsätet ska du göra följande:
Ställ maskinen på ett plant underlag.
Koppla ur kraftuttaget och sänk ner redskapen.
Koppla in parkeringsbromsen.
Stäng av motorn och ta ut nyckeln.
Vänta tills alla rörliga delar har stannat.
Använd endast maskinen när sikten är god. Använd inte maskinen när det finns risk för blixtnedslag.
Använd inte maskinen som bogserfordon.
Använd endast tillbehör, redskap och reservdelar som har godkänts av Toro.
Använd endast farthållaren (om sådan finns) när du kan köra maskinen i ett öppet och plant område som är fritt från hinder och där maskinen kan köras med en konstant hastighet utan avbrott.
Vältskyddet är en inbyggd, effektiv säkerhetsanordning.
Ta inte bort några vältskyddsdelar från maskinen.
Kontrollera att säkerhetsbältet fäster vid maskinen.
Dra bältesremmen över knät och spänn fast säkerhetsbältet i spännet på andra sidan sätet.
För att lossa säkerhetsbältet ska du hålla i bältet, trycka på knappen på spännet för att frigöra bältet och styra in det i den automatiska indragningens öppning. Säkerställ att du kan lossa säkerhetsbältet snabbt i en nödsituation.
Var mycket uppmärksam på hinder som kan finnas ovanför dig och vidrör dem inte.
Håll vältskyddet i säkert bruksskick genom att regelbundet inspektera det noga och kontrollera att det inte är skadat samt hålla alla fästelement åtdragna.
Byt ut skadade vältskyddsdelar. Reparera eller ändra dem inte.
En hytt som monteras av Toro har en störtbåge.
Använd alltid säkerhetsbältet.
Håll den fällbara störtbågen i upprätt låst läge, och använd säkerhetsbältet när du kör maskinen med störtbågen uppfälld.
Störtbågen ska endast fällas ned tillfälligt när så behövs. Använd inte säkerhetsbältet när störtbågen är nedfälld.
Tänk på att det inte finns något vältskydd när störtbågen är nedfälld.
Kontrollera området som ska klippas och ha aldrig störtbågen nedfälld i närheten av sluttningar, stup eller vattendrag.
Sluttningar är en betydande faktor vid olyckor som orsakas av att föraren förlorat kontrollen eller att maskinen välter, vilket kan innebära livsfara eller leda till allvarliga personskador. Du ansvarar för säker drift i sluttningar. Du måste vara extra försiktig när du kör maskinen i en sluttning.
Utvärdera förhållandena på platsen för att bedöma om sluttningen är säker för körning av maskinen, bland annat genom att undersöka hela arbetsplatsen. Använd alltid sunt förnuft och ett gott omdöme när du utför kontrollen.
Gå igenom instruktionerna för körning av maskinen i sluttningar nedan och fastställ om maskinen kan användas under de förhållanden som råder på den platsen och den dagen. Förändringar i terrängen kan leda till att maskinens manövrering i sluttningar förändras.
Undvik att starta, stänga av eller svänga med maskinen i sluttningar. Undvik att göra plötsliga ändringar i hastighet eller riktning. Sväng långsamt och successivt.
Använd inte maskinen under förhållanden där det råder tvekan om dragkraft, styrning eller stabilitet.
Avlägsna eller märk ut hinder såsom diken, hål, fåror, gupp, stenar och andra dolda faror. Det kan finnas dolda hinder i högt gräs. Ojämn terräng kan göra att maskinen välter.
Observera att maskinen kan tappa drivkraft om maskinen körs på vått gräs, tvärs över sluttningar eller nedför en sluttning. Drivhjul som tappar drivkraft kan leda till att maskinen glider och att du förlorar kontrollen över bromsning och styrning.
Var mycket försiktig när du använder maskinen nära stup, diken, flodbäddar, vattendrag eller andra faror. Maskinen kan välta plötsligt om ett hjul kör över en kant eller kanten ger med sig. Håll ett säkert avstånd mellan maskinen och riskfyllda områden.
Identifiera faror nere vid slutet av sluttningen. Klipp sluttningen med en handgräsklippare om det finns faror.
Om möjligt ska klippenheterna hållas nedsänkta mot marken när du kör maskinen i sluttningar. Om klippenheterna höjs vid körning i sluttningar kan maskinen bli ostadig.
Var mycket försiktig när du använder gräsuppsamlingssystem och andra redskap. De kan ändra maskinens stabilitet och leda till att du förlorar kontrollen.
Öva på att köra maskinen, eftersom den har en hydrostatisk transmission och dess egenskaper kan skilja sig från andra maskiner för gräsunderhåll. Faktorer att tänka på vid manövrering av traktorenheten, klippenheten eller andra redskap är att transmissionen, motorvarvtalet och belastningen på knivarna eller andra arbetsredskap påverkar maskindriften.
Med Toro Smart Power™ behöver du inte lyssna på motorvarvtalet när tung last dras. Tack vare Smart Power-drivningen kör inte maskinen fast under tunga klippförhållanden eftersom den automatiskt styr maskinhastigheten och optimerar klipprestandan.
Bromsarna kan användas för att svänga med maskinen. De ska dock användas med försiktighet, i synnerhet på mjukt eller vått gräs eftersom gräsmattan kan få revor av misstag. En annan fördel med bromsarna är att de upprätthåller drivningen. Under vissa lutningsförhållanden slirar motlutshjulet och förlorar fästet. Om denna situation skulle uppstå, trycker du ner motlutsbromsen gradvis och med jämna mellanrum tills motlutshjulet slutar att slira, vilket ökar drivningen på medlutshjulet.
Drivhjälp aktiveras automatiskt och kräver ingen åtgärd från föraren. När hjulet börjar slira delas flödet automatiskt mellan fram- och bakhjulen för att minimera hjulslirning och friktionsförlust.
Koppla ur samtliga reglage och för gasreglaget till det LåNGSAMMA läget innan du stänger av motorn. Om du flyttar gasreglaget till det LåNGSAMMA läget sänks motorvarvtalet och bullernivån samtidigt som vibrationerna minskas. Vrid nyckeln till läget OFF för att stänga av motorn. Ta ut nyckeln om du lämnar förarsätet.
Höj upp klippenheterna och fäst transportspärrarna innan du transporterar maskinen (Figur 36).

Starta motorn och kör den på HALV TOMGåNG tills den är uppvärmd. Ställ motorhastighetsknappen i läget för HöG TOMGåNG, lyft upp klippenheterna, koppla ur parkeringsbromsen, tryck på gaspedalen för framåtkörning och kör försiktigt till en öppen plats.
Öva på att köra framåt och backa samt starta och stanna maskinen. Stanna maskinen genom att ta bort foten från gaspedalen och låta pedalen återgå till NEUTRALLäGE, eller trampa ned backningspedalen.
Note: När du kör nedför en sluttning med maskinen kan du behöva använda backningspedalen för att stanna.
Öva på att köra runt hinder med klippenheterna uppe respektive nere. Var försiktig när du kör i trånga utrymmen, så att du inte skadar maskinen eller klippenheterna.
Kör alltid långsamt på ojämnt underlag.
Om det finns ett hinder i vägen lyfter du klippenheterna så att du kan klippa runt hindret.
När maskinen transporteras från ett arbetsområde till ett annat ska klippenheterna höjas upp helt och hållet, kraftuttaget kopplas ur, skjutreglaget för klippning/transport föras till TRANSPORTLäGET och gasreglaget föras till det SNABBA läget.
Motviktssystemet bevarar det hydrauliska baktrycket på däcklyftcylindrarna. Detta tryck förbättrar drivkraften genom att överföra klippdäckets vikt till gräsklipparens drivhjul. Motviktstrycket har ställts in på fabriken för optimal jämvikt mellan klippresultat och dragkraft vid de flesta gräsförhållanden.
Om du minskar motviktsinställningen kan du få en stabilare klippenhet, men dragkraften kan minska. Om du ökar motviktsinställningen kan dragkraften öka, men klippresultatet kan bli sämre. Mer information om hur du justerar motviktstrycket finns i servicehandboken till traktorenheten.
Important: Vid nödbromsning ska du ta bort foten från gaspedalen och sedan trycka ner bromspedalerna.
Endast i lågt läge kan du använda bromsarna individuellt för att svänga eller förbättra väggreppet. Utför följande när du använder bromsarna individuellt:
Koppla loss pedallåsspärren (Figur 4).
För hjälp att svänga ska du trycka ned bromspedalen på den sida som du vill svänga mot. Detta möjliggör en snävare svängradie.
Note: Var försiktig när du använder bromsarna var för sig, i synnerhet på mjukt eller vått gräs eftersom gräsmattan kan få revor av misstag.
För bättre väggrepp ska du trycka försiktigt på bromspedalen för det framhjul som slirar. Under vissa lutningsförhållanden slirar motlutshjulet och förlorar fästet. Om denna situation skulle uppstå, trycker du ner motlutsbromsen gradvis och med jämna mellanrum tills motlutshjulet slutar att slira, vilket ökar drivningen på medlutshjulet.
Med Smart Power behöver inte föraren lyssna på motorvarvtalet när tung last dras. Tack vare Smart Power-drivningen kör inte maskinen fast under tunga klippförhållanden eftersom den automatiskt styr maskinhastigheten och optimerar klipprestandan.
Note: Som standard är den smarta strömfunktionen På.
Fläktens hastighet styrs av hydraulvätskans temperatur och motorkylvätskans temperatur. När hydraulvätskan eller kylvätsketemperaturen stiger till en viss temperatur startar en omvänd fläktcykel automatiskt. Denna funktion blåser bort skräp från den bakre skärmen och sänker kylvätskans och hydraulvätskan temperaturer.
Du kan genomföra en manuellt påbörjad backningscykel från servicemenyn eller genom att samtidigt trycka på den inre högra och vänstra knappen från en KöRSKäRM när fläktikonerna visas i snabbmenyn. Vi rekommenderar att du startar den omvända fläktfunktionen manuellt innan du lämnar arbetsområdet eller kör in i underhålls- eller förvaringsutrymmen.
Note: När din begäran känns igen visas en tillfällig skärm (under 3–4 sekunder) med en fläkt inuti en rektangel. Det betyder att din begäran skickades, men att det finns vissa villkor som förhindrar att fläkten vänds.
Maskinen är utrustad med automatisk tomgång som automatiskt låter motorn gå på tomgång när nedanstående funktioner inte används under en förinställd tid som har ställts in på InfoCenter.
Gaspedalen återgår till NEUTRALLäGET.
Kraftuttaget (PTO) är urkopplat.
Ingen av lyftbrytarna aktiveras.
När någon av funktionerna ovan initieras, återgår maskinen automatiskt till föregående gasläge.
Omkopplaren för farthållaren låses i pedalläget så att önskad hastighet bibehålls. Om du trycker baktill på omkopplaren stängs farthållaren av, om omkopplaren är i mittläget aktiveras farthållaren och om du trycker framtill på omkopplaren ställs den önskade hastigheten in.
Note: Farthållaren avaktiveras om du trycker på någon av bromspedalerna eller för gaspedalen till backläget i en sekund.
Important: Bränslesystemet kommer automatiskt att avluftas i följande fall:
Vid den första starten av en ny maskin.
Motorn har stannat till följd av att bränslet har tagit slut.
Underhåll har utförts på komponenter i bränslesystemet.
Ta bort foten från gaspedalen och se till att pedalen är i neutralläge. Se till att parkeringsbromsen ligger i.
Flytta motorhastighetsknappen till läget för LåG TOMGåNG.
Vrid tändningsnyckeln till KöRLäGET.
Note: Glödstiftslampan tänds.
Vid tändningsnyckeln till STARTLäGET när glödindikatorn slocknar. Släpp nyckeln omedelbart när motorn startar och låt den gå tillbaka till KöRLäGET.
Important: Kör inte startmotorn i mer än 30 sekunder åt gången, annars kan det uppstå fel på startmotorn i förtid. Om motorn inte startar efter 30 sekunder vrider du nyckeln till läget OFF. Undersök reglagen och procedurerna, vänta ytterligare 30 sekunder och upprepa startproceduren.
Låt motorn bli varm på mellanhög hastighet (utan belastning), och flytta sedan gasreglaget till önskad position.
Important: Låt motorn gå på tomgång i fem minuter innan du stänger av den efter arbete under full belastning. Om detta inte görs kan resultatet bli turboladdningsproblem.
Important: Låt motorn gå på tomgång i fem minuter innan du stänger av den efter arbete under full belastning. Detta gör att turboladdaren hinner svalna innan motorn stängs av. Om detta inte görs kan det resultera i turboladdningsproblem.
Note: Sänk ner klippenheterna till marken när maskinen är parkerad. Detta frigör den hydrauliska belastningen från systemet, förhindrar slitage på systemets delar och förebygger även att klippenheterna sänks ned av misstag.
För gasreglaget bakåt till det LåNGSAMMA läget.
För kraftuttagsbrytaren till URKOPPLAT läge.
Koppla in parkeringsbromsen.
Vrid tändningsnyckeln till läget AV.
Ta ut nyckeln ur tändningslåset för att undvika oavsiktlig start.
Motorhastighetsknappen har två lägen för ändring av motorhastigheten. Om du trycker kort på knappen kan motorhastigheten ökas eller minskas i steg om 100 varv/minut. Om du håller knappen intryckt går maskinen automatiskt till HöG eller LåG TOMGåNG, beroende på vilken sida av knappen du trycker in.
Arbetsledare (låst meny)
Med den här funktionen kan arbetsledaren ställa in den högsta klipphastigheten som föraren kan klippa vid (lågt område) i steg om 5 % på mellan 30 % och 100 %.
Operatör
Med den här funktionen kan föraren justera den maximala
klipphastigheten (lågt område) inom arbetsledarens förinställda
inställningar. När du är på InfoCenters startskärm
eller huvudskärm trycker du på mittknappen (ikonen
) för att justera hastigheten.
Note: När du växlar mellan låga och höga områden överförs inställningarna baserat på den tidigare inställningen. Inställningarna återställs när maskinen stängs av.
Note: Du kan även använda denna funktion med farthållaren.
Arbetsledare (låst meny)
Med den här funktionen kan arbetsledaren ställa in den högsta transporthastigheten som föraren kan transportera vid (högt område) i steg om 5 % på mellan 30 % och 100 %.
Mer information om hur du ställer in transporthastigheten finns i Ställa in den maximala tillåtna transporthastigheten.
Operatör
Med den här funktionen kan föraren justera den maximala
transporthastigheten (högt område) inom arbetsledarens
förinställda inställningar. När du är på
InfoCenters startskärm eller huvudskärm trycker du på
mittknappen (ikonen
) för att justera hastigheten.
Note: När du växlar mellan låga och höga områden överförs inställningarna baserat på den tidigare inställningen. Inställningarna återställs när maskinen stängs av.
Note: Du kan även använda denna funktion tillsammans med farthållaren.
Dieselpartikelfiltret (DPF) avlägsnar sot från motoravgaser.
DPF-regenereringsprocessen använder värme från motoravgaserna som ökar genom katalysatorn så att den ackumulerade soten i askan minskas.
Kom ihåg följande för att hålla DPF ren:
Kör motorn på fullt varvtal när det är möjligt för att åstadkomma DPF-regenerering.
Använd rätt motorolja.
Minimera den tid som motorn går på tomgång.
Använd endast diesel med extremt låg svavelhalt.
Använd och underhåll maskinen med dieselpartikelfiltrets funktioner i åtanke. Motor under belastning skapar i allmänhet tillräcklig avgastemperatur för DPF-regenerering.
Important: Minimera tiden som du låter motorn gå på tomgång eller kör motorn på ett lägre varvtal för att minska ansamlingen av sot i DPF.
Avgastemperaturen är mycket hög (ca 600 °C) under DPF-regenereringen. Heta avgaser kan skada dig eller andra människor.
Kör inte motorn i ett slutet utrymme.
Se till att det inte finns något brännbart material runt avgassystemet.
Säkerställ att den heta avgasen inte vidrör ytor som kan skadas av värme.
Rör inte vid heta avgassystemskomponenter.
Stå inte vid eller i närheten av maskinens avgasrör.
| Symbol | Definition |
![]() | • Symbol för parkerings- eller återhämtningsregenerering – regenerering begärs. |
| • Utför regenerering omedelbart. | |
![]() | • En regenerering har bekräftats och begäran behandlas. |
![]() | • En regenerering pågår och avgastemperaturen är förhöjd. |
![]() | • Funktionsfel i NOx-styrsystemet – underhåll av maskinen krävs. |
| Typ av regenerering | Förhållanden som leder till DPF-regenerering | Beskrivning av DPF-drift |
|---|---|---|
| Passiv | Inträffar under normal användning av maskinen vid högt motorvarvtal eller hög motorbelastning | • InfoCenter visar inte en symbol som anger passiv regenerering. |
| • Under passiv regenerering bearbetar dieselpartikelfiltret mycket varma avgaser, oxiderar skadliga utsläpp och bränner sot till aska. | ||
| Stöd | Inträffar till följd av låga motorvarvtal och låg motorbelastning, eller efter det att datorn har upptäckt att dieselpartikelfiltret är tilltäppt av sot | • InfoCenter visar ingen ikon som anger stödregenerering. |
| • Under stödregenereringen justerar motorns dator motorns inställningar för att höja avgastemperaturen. | ||
| Återställning | Inträffar var 100:e timme | • När symbolen för hög avgastemperatur visas i InfoCenter pågår
en regenerering. |
| Den uppstår även om normal motordrift överträffar den tillåtna ackumuleringsmängden för sot i filtret | ||
| • Vid återställningsregenerering upprätthåller motorns dator en förhöjd motorhastighet för att säkerställa filterregenerering. |
| Typ av regenerering | Förhållanden som leder till DPF-regenerering | Beskrivning av DPF-drift |
|---|---|---|
| Parkerad | Inträffar om datorn fastställer att den automatiska DPF-rengöringen inte är tillräcklig. | • När en symbol för
återställning-standby/parkerad regenerering eller återhämtningsregenerering eller en regenerering begärs. |
| Inträffar även när du initierar en parkerad regenerering | ||
| Kan inträffa om spärrad regenerering initieras så att den automatiska DPF-rengöringen inte kan aktiveras | • Genomför en parkerad regenerering så snart som möjligt så att du slipper behöva genomföra en återhämtningsregenerering. | |
| Detta kan inträffa som en följd av användning av fel bränsle eller motorolja | • En parkerad regenerering tar 30–60 minuter. | |
| • Tanken måste vara minst ¼ full. | ||
| • Du måste parkera maskinen för att kunna genomföra en parkerad regenerering. | ||
| Återställning | Inträffar när en begäran om parkerad återställning har ignorerats, vilket leder till att DPF blir ordentligt igensatt | • När en symbol för återställning-standby/parkerad
regenerering eller återhämtningsregenerering eller en återhämtningsregenerering
begärs. |
| • En återhämtningsregenerering tar upp till tre timmar att slutföra. | ||
| • Tanken måste vara minst halvfull. | ||
| • Du måste parkera maskinen för att kunna genomföra en återställningsregenerering. |
I HUVUDMENYN bläddrar du ner till SERVICE och trycker på välja-knappen.
I SERVICE bläddrar du till DPF-REGENERERING och trycker på välja-knappen.
Välj den regenereringsfunktion du behöver.

Gå till menyn DPF REGENERATION (DPF-regenerering) och bläddra fram till LAST REGEN (Senaste regenerering).
Välj posten SENASTE REGENERERING.
Använd fältet LAST REGEN för att avgöra hur många timmar du har kört motorn sedan den senaste parkerade regenereringen eller återställnings- och återhämtningsregenereringen.
Tryck på tillbaka-knappen för att återgå till skärmen DPF-REGENERERING.

En återställningsregenerering leder till ökade motoravgaser. Om maskinen ska användas runt träd, snår, högt gräs eller andra temperaturkänsliga plantor eller material kan du använda inställningen INHIBIT REGEN för spärrad regenerering så att inte motordatorn utför en återställningsregenerering.
Note: Alternativet INHIBIT REGEN (spärra regenerering) används alltid när underhåll utförs på maskinen i ett slutet område.
Note: Om du ställer in att regenerering ska spärras i InfoCenter visar InfoCenter ett meddelande var femtonde minut medan motorn begär en återställningsregenerering.
Important: När du stänger av motorn och startar den igen återgår inställningarna för Inhibit Regen automatiskt till AV.
Gå till menyn{ DPF REGENERATION (DPF-regenerering) och bläddra ner till INHIBIT REGEN (spärra regenerering).
Markera posten INHIBIT REGEN (spärra regenerering).
Ändra inställningen för spärrad regenerering från AV till På.
Kontrollera att maskinen har tillräckligt med bränsle i tanken för den typ av regenerering du ska utföra:
Parkerad regenerering: Se till tanken är minst ¼ full.
Återställningsregenerering: Se till att tanken är minst halvfull.
Flytta maskinen utomhus till ett område utan brandfarligt material eller föremål som kan skadas av värme.
Parkera maskinen på ett plant underlag, flytta alla reglage till NEUTRALLÄGET, koppla ur kraftuttaget och sänk ned klippenheterna.
Koppla in parkeringsbromsen och låt motorn nå låg tomgång.
När motorns dator begär en parkerad regenerering ska du följa uppmaningarna i InfoCenter.
Important: Maskinens dator avbryter DPF-regenereringen om du ökar motorvarvtalet från låg tomgång eller kopplar ur parkeringsbromsen.
Gå till menyn DPF REGENERATION (DPF-regenerering) och bläddra ner till PARKED REGEN (parkerad regenerering) eller RECOVERY REGEN (återhämtningsregenerering).
Välj posten för PARKED REGEN (Parkerad regenerering) eller RECOVERY REGEN (Återhämtningsregenerering).
Note: För att initiera en återhämtningsregenerering måste du ange rätt PIN-kod.
Kontrollera via skärmen REGEN PARAMETERS (regenereringsparametrar) att minst en fjärdedel av tanken är fylld om du ska utföra en parkerad regenerering eller att den är minst halvfull om du ska utföra en återhämtningsregenerering. Kontrollera att parkeringsbromsen är inkopplad och att motorvarvtalet är inställt på låg tomgång. Tryck på valknappen för att fortsätta.
På skärmen INITIATE DPF REGEN (initiera DPF-regenerering) trycker du på knappen nästa för att fortsätta.
InfoCenter visar meddelandet INITIATE DPF REGEN (Initiera DPF-regenerering).
Note: Tryck vid behov på ikonen avbryt för att avbryta regenereringsprocessen.
Ett meddelande om tidsspannet för slutföring visas i InfoCenter.
InfoCenter visar startskärmen och en bekräftelsesymbol
för regenerering
.
Note: Medan DPF-regenereringen pågår visas symbolen för
hög avgastemperatur
i InfoCenter.
När motorns dator har slutfört en parkerad regenerering eller återhämtningsregenerering visas ett meddelande i InfoCenter. Tryck på valfri knapp för att återgå till startskärmen.
Note: Om regenereringen inte slutförs följer du anvisningarna och trycker på valfri knapp för att gå till startskärmen.
Använd inställningarna PARKED REGEN CANCEL (avbryt parkerad regenerering) eller RECOVERY REGEN CANCEL (avbryt återhämtningsregenerering) för att avbryta körningen av en parkerad regenerering eller återhämtningsregenerering.
Gå till menyn
Tryck på välja-knappen för att avbryta en parkerad regenerering eller återhämtningsregenerering.

Byt klippmönster ofta för att undvika ett dåligt klippresultat till följd av upprepad klippning i en och samma riktning.
Se felsökningsguiden för klippresultatsproblem på www.Toro.com.
Börja klippningen genom att koppla in klippenheterna och därefter köra långsamt mot det område som ska klippas.
Om du vill klippa vissa områden i ett randigt mönster med räta linjer letar du reda på ett träd eller något annat föremål längre bort och kör rakt emot det.
Gör en droppformad sväng för att snabbt komma i läge för nästa klippsträcka så snart de främre klippenheterna når klippområdets kant.
Samlarskärmar som skruvas fast finns tillgängliga för klippenheterna. Samlarskärmarna fungerar utmärkt om du underhåller gräset regelbundet så att inte mer än 2,5 cm avlägsnas vid varje klippning. Om för mycket av gräsets längd klipps av när samlarskärmarna är monterade kan slutresultatet efter klippning försämras och behovet av större motoreffekt märkas. Samlarskärmarna fungerar även bra till att sönderdela löv på hösten.
Klipp maximalt av 25 mm eller högst en tredjedel av grässtrået. Vid klippning av ovanligt frodigt och tätt gräs kan du behöva höja klipphöjdsinställningen.
En slipad kniv klipper rent utan att slita och rycka av grässtråna som ett slött knivblad. Om gräset slits och rycks av gulnar det i ändarna, vilket försämrar tillväxten och ökar risken för sjukdomar. Kontrollera att kniven hålls i gott skick och att seglet är helt.
Se till så att klippkamrarna är i bra skick. Räta ut eventuella böjda komponenter i kamrarna för att säkerställa korrekt spel mellan knivspets och kammare.
Tvätta maskinen ordentligt efter klippningen. Använd en trädgårdsslang utan munstycke så att tätningar och lager inte förorenas eller skadas av ett för högt vattentryck. Se till att smuts och gräsklipp inte kommer i kontakt med kylaren och oljekylaren. Inspektera maskinen efter rengöring för att säkerställa att det inte finns hydraulvätskeläckor, skador eller slitage på hydrauliska och mekaniska delar. Kontrollera även att klippenheternas knivar är vassa.
Stäng av motorn, ta ut nyckeln och vänta tills alla rörliga delar har stannat innan du kliver ur förarsätet. Låt maskinen svalna innan du utför service, justerar, rengör eller ställer den i förvar.
Ta bort gräs och skräp från klippenheterna, ljuddämparna och motorrummet för att undvika eldsvåda. Torka upp eventuellt olje- eller bränslespill.
Om klippenheterna är i transportläget ska du använda det positiva låset (om så utrustad) innan du lämnar maskinen utan uppsikt.
Låt motorn svalna innan maskinen ställs undan i ett slutet utrymme.
Ta ut nyckeln och stäng av bränsletillförseln (i förekommande fall) vid förvaring och transport.
Förvara aldrig maskinen eller bränslebehållaren i närheten av en öppen låga, gnista eller tändlåga, t.ex. på en varmvattenberedare eller någon annan anordning.
Underhåll och rengör säkerhetsbälten vid behov
I nödfall kan du skjuta maskinen framåt genom att aktivera förbikopplingsventilen i den varierbara hydraulpumpen och sedan knuffa eller bogsera maskinen.
Important: Knuffa eller bogsera inte maskinen snabbare än 3–4,8 km/h eftersom transmissionen kan skadas.Förbikopplingsventilen måste alltid vara öppen när maskinen knuffas eller bogseras.
Höj sätet och lokalisera förbikopplingsventilerna som är placerade under bränsletankens framsida (Figur 40).

Vrid varje ventil tre varv moturs för att öppna ventilen och låta oljan avledas internt.
Note: Öppna inte mer än tre varv. Eftersom vätskan avleds kan maskinen flyttas långsamt utan att transmissionen skadas.
Knuffa eller bogsera maskinen.
Sluta knuffa eller bogsera maskinen och stäng förbikopplingsventilerna. Dra åt ventilen till 70 Nm.
Important: Kontrollera att förbikopplingsventilen är stängd innan du startar motorn. Om motorn körs med öppen förbikopplingsventil överhettas transmissionen.
Important: Om du måste knuffa eller bogsera maskinen bakåt måste även backventilen i fyrhjulsdrivningens grenrör förbikopplas.För att förbikoppla backventilen ska en slang kopplas till tryckkontrollporten för backdrift på hydrostaten och till porten mellan portarna M8 och P2 på bakhjulsdrivningens grenrör, som sitter bakom framhjulet. Slangpaketet innefattar en slang (artikelnr 95-8843), två kopplingar (artikelnr 95-0985) och två hydraulkopplingar (artikelnr 340-77).
Mekaniska eller hydrauliska domkrafter kan eventuellt inte stödja maskinen utan kan orsaka allvarliga skador.
Använd domkraft för att stötta maskinen.
Använd inte hydrauliska domkrafter.
Det finns domkraftspunkter i fram och bak på maskinen.
På ramen på båda framhjulens insida
Mitt på bakaxeln
Ta ut nyckeln och stäng av bränsletillförseln (i förekommande fall) vid förvaring och transport.
Var försiktig när du lastar på eller av maskinen från en släpvagn eller lastbil.
Använd ramper i fullbredd när du lastar maskinen på en släpvagn eller lastbil.
Bind fast maskinen så att den sitter säkert.
Det finns fästpunkter fram och bak på maskinen (Figur 41).
Note: Använd DOT-godkända spännband med korrekt märkvärde i de fyra hörnen när maskinen ska fästas.
Två framtill på förarplattformen
Bakre stötdämpare

Note: Vänster och höger sida på maskinen är lika med förarens vänstra respektive högra sida vid normal körning.
Important: Mer information om underhållsrutiner finns i bruksanvisningen till motorn.
Note: Hämta en kostnadsfri kopia av elschemat eller hydraulschemat på www.Toro.com. Klicka på länken Manuals och sök efter din maskin.
Important: Om du utför maskinunderhåll och kör motorn med ett avgasrör ska inställningen för spärrad regenerering vara På. Se Ställa in Inhibit Regen (spärra regenerering).
Innan du kliver ur förarsätet ska du göra följande:
Ställ maskinen på ett plant underlag.
Koppla ur kraftuttaget och sänk ner redskapen.
Koppla in parkeringsbromsen.
Stäng av motorn och ta ut nyckeln.
Vänta tills alla rörliga delar har stannat.
Om du lämnar nyckeln i tändningslåset kan någon råka starta motorn av misstag och skada dig eller någon annan person allvarligt. Ta ut nyckeln ur tändningslåset innan du utför något underhåll.
Låt maskinens komponenter svalna innan du utför underhåll.
Om klippenheterna är i transportläget ska du använda det positiva låset (i förekommande fall) innan du lämnar maskinen utan uppsikt.
Utför om möjligt inget underhåll på maskinen medan motorn är igång. Håll dig på avstånd från rörliga delar.
Stötta upp maskinen med pallbockar när du arbetar under maskinen.
Lätta försiktigt på trycket i komponenter med lagrad energi.
Håll alla maskindelar i gott bruksskick och samtliga beslag åtdragna, i synnerhet knivens fästelement.
Byt ut alla slitna eller skadade dekaler.
Använd endast originalreservdelar och tillbehör från Toro för att garantera en säker, optimal prestanda för maskinen. Det kan vara farligt att använda reservdelar från andra tillverkare och det kan göra produktgarantin ogiltig.
| Underhållsintervall | Underhållsförfarande |
|---|---|
| Efter den första timmen |
|
| Efter de första 10 timmarna |
|
| Efter de första 50 timmarna |
|
| Efter de första 200 timmarna |
|
| Varje användning eller dagligen |
|
| Var 25:e timme |
|
| Var 50:e timme |
|
| Var 100:e timme |
|
| Var 200:e timme |
|
| Var 250:e timme |
|
| Var 400:e timme |
|
| Var 500:e timme |
|
| Var 800:e timme |
|
| Var 1000:e timme |
|
| Var 2000:e timme |
|
| Var 3000:e timme |
|
| Före förvaring |
|
| Vartannat år |
|
Om du lämnar nyckeln i tändningslåset kan någon råka starta motorn av misstag och skada dig eller någon annan person allvarligt.
Ta ut nyckeln ur tändningslåset innan du utför något underhåll.
Kopiera sidan och använd den regelbundet.
| Kontrollpunkt | Vecka: | ||||||
|---|---|---|---|---|---|---|---|
| Måndag | Tisdag | Onsdag | Torsdag | Fredag | Lördag | Söndag | |
| Kontrollera att säkerhetssystemet fungerar. | |||||||
| Kontrollera bromsens funktion. | |||||||
| Kontrollera oljenivån i motorn. | |||||||
| Kontrollera vätskenivån i kylsystemet. | |||||||
| Töm vatten-/bränsleseparatorn. | |||||||
| Kontrollera luftfiltret, dammkåpan och luftningsventilen. | |||||||
| Undersök ovanliga motorljud.1 | |||||||
| Undersök om det finns skräp i kylaren eller gallret. | |||||||
| Kontrollera om det finns missljud vid körning/användning. | |||||||
| Kontrollera hydraulvätskenivån. | |||||||
| Kontrollera att det inte finns skador på hydraulslangarna. | |||||||
| Kontrollera att systemet inte har några oljeläckor. | |||||||
| Kontrollera bränslenivån. | |||||||
| Kontrollera däcktrycket. | |||||||
| Kontrollera instrumentfunktionen. | |||||||
| Kontrollera klipphöjdsinställningen. | |||||||
| Smörj alla smörjnipplarna.2 | |||||||
| Rengör maskinen. | |||||||
| Bättra på skadad lack. | |||||||
|
1 Undersök glödstift och insprutningsmunstycken om motorn är svårstartad, om den avger överdrivet mycket rök eller vid ojämn gång. 2 Omedelbart efter varje tvätt, oavsett intervallet i listan. |
|||||||
Important: Information om ytterligare underhållsrutiner finns i bruksanvisningen till motorn.
| Kontrollen utförd av: | ||
| Artikel | Datum | Information |
Lossa och öppna motorhuven.
Ta bort hårnålssprinten som fäster motorhuvstappen till fästskivorna (Figur 44).

Skjut motorhuven åt höger, lyft den andra sidan och drag ut den ur fästena.
Note: Montera motorhuven genom att utföra stegen i omvänd ordning.
| Underhållsintervall | Underhållsförfarande |
|---|---|
| Var 50:e timme |
|
Maskinen har smörjnipplar som måste smörjas regelbundet med fett nr 2 på litiumbas. Smörj även maskinen omedelbart efter varje tvätt.
Smörjnipplarnas placering och antal:
Note: Du kan behöva höja upp klippenheten för att komma åt smörjnipplarna för spärrtappen och den nedre svänglänken.
2 spärrtappar (Figur 49)
Note: Du kan behöva slå till spärrarna manuellt för att få tillgång till smörjnipplarna (Figur 48). Använd en bändare för att stänga och öppna spärren.
2 bussningar för hjulgaffelaxeln (Figur 50)
3 spindelaxellager – sitter under skivan (Figur 51)
2 vridfästebussningar för mellandrevsarmen (Figur 51)




De fyra vingdäcklyftcylindrarna (Figur 54)

1 bussning för hjulgaffelaxeln (Figur 55)
2 spindelaxellager (vardera sida) – sitter under skivan
1 vridfästebussning för mellandrevsarmen – sitter på mellandrevsarmen

Stäng av motorn och ta ut nyckeln innan du kontrollerar oljenivån eller fyller på olja i vevhuset.
Ändra inte varvtalshållarens inställning och övervarva inte motorn.
Använd högkvalitativ motorolja med låg askhalt som uppfyller eller överträffar följande specifikationer:
API-servicekategori CJ-4 eller högre
ACEA-servicekategori E6
JASO-servicekategori DH-2
Important: Om motorolja av annan typ än API CJ-4 eller högre, ACEA E6 eller JASO DH-2 används kan detta orsaka att dieselpartikelfiltret täpps igen eller att motorn skadas.
Använd motorolja med följande viskositetsgrad:
Rekommenderad olja: SAE 15W-40 (över –18 °C) F)
Alternativ olja: SAE 10W-30 eller 5W-30 (alla temperaturer)
Toro Premium-motorolja med en oljeviskositet på 15W-40 eller 10W-30 kan köpas hos auktoriserade Toro-återförsäljare. Artikelnummer hittar du i reservdelskatalogen.
| Underhållsintervall | Underhållsförfarande |
|---|---|
| Varje användning eller dagligen |
|
Motorn levereras med olja i vevhuset. Oljenivån måste dock kontrolleras innan och efter motorn startas första gången.
Important: Kontrollera motoroljan dagligen. Om oljenivån är ovanför markeringen Full på oljestickan kan motoroljan vara utspädd med bränsle.Om oljenivån är ovanför markeringen Full ska du byta motoroljan.
Det är bäst att kontrollera motoroljan när motorn är kall, innan den har startats för dagen. Om motorn redan har varit igång, ska du låta oljan rinna tillbaka ned till sumpen i minst 10 minuter innan du kontrollerar den. Fyll på olja tills nivån når upp till markeringen ”Full” på oljestickan om nivån ligger på eller under markeringen ”Add”.Fyll inte på för mycket olja i motorn.
Important: Motoroljenivån ska ligga mellan den övre och den nedre markeringen på oljestickan. Motorn kan gå sönder om du kör den med för mycket eller för lite olja.
Kontrollera motoroljenivån, se Figur 56.

Note: När du använder annan olja bör du tappa ut all gammal olja ur vevhuset innan du fyller på ny olja.
Cirka 5,7 liter med filtret.
| Underhållsintervall | Underhållsförfarande |
|---|---|
| Var 500:e timme |
|
Starta motorn och låt den gå i fem minuter så att oljan värms upp.
Parkera maskinen på ett jämnt underlag, stäng av motorn, ta ur nyckeln och vänta tills alla rörliga delar har stannat innan du lämnar förarplatsen.
Byt motorns olja och filter (Figur 57).

Fyll på olja i vevhuset.
Ställ in serviceindikatorn i InfoCenter. Se Ställa in timern för Dags för service.
| Underhållsintervall | Underhållsförfarande |
|---|---|
| Varje användning eller dagligen |
|
| Var 50:e timme |
|
| Var 400:e timme |
|
Undersök om luftrenarhuset har skador som skulle kunna orsaka en luftläcka. Byt ut den om den är skadad. Kontrollera hela intagssystemet och leta efter läckor, skador eller lösa slangklämmor.
Utför service på luftrenarfiltret bara när serviceindikatorn anger att det krävs (Figur 58). Om du byter luftfiltret tidigare ökar det risken för att smuts kommer in i motorn när filtret tas bort.

Important: Försäkra dig om att kåpan sitter som den ska och sluter tätt runt luftrenarhuset.
Byt ut luftrenaren (Figur 59).

Note: Rengör inte det använda filtret eftersom det då finns risk för att filtret skadas.
Important: Försök aldrig att rengöra säkerhetsfiltret (Figur 60). Byt ut säkerhetsfiltret mot ett nytt var tredje gång huvudfiltret servas.

Nollställ indikatorn (Figur 58) om den är röd.
| Underhållsintervall | Underhållsförfarande |
|---|---|
| Var 3000:e timme |
|
Om motorfel (Kontrollera motor), (Kontrollera motor) eller (Kontrollera motor) visas i InfoCenter (Figur 61) ska du rengöra sotfiltret genom att följa stegen nedan:



I avsnittet om motorn i servicehandboken finns information om demontering och montering av dieseloxideringskatalysatorn och sotfiltret i dieselpartikelfiltret.
Kontakta en auktoriserad Toro-återförsäljare om du behöver reservdelar eller service av dieseloxideringskatalysatorn och sotfiltret.
Kontakta en auktoriserad Toro-återförsäljare för att låta dem återställa motorns styrenhet när du har monterat ett rent dieselpartikelfilter.
| Underhållsintervall | Underhållsförfarande |
|---|---|
| Var 1000:e timme |
|
| Före förvaring |
|
Utöver vid de angivna serviceintervallen ska tanken tömmas och rengöras om bränslesystemet förorenas eller om du ställer maskinen i förvaring under en längre period. Använd rent bränsle för att spola ur tanken.
| Underhållsintervall | Underhållsförfarande |
|---|---|
| Var 400:e timme |
|
Kontrollera om bränsleledningarna har skadats eller försämrats på något annat sätt, eller om det finns lösa anslutningar.
| Underhållsintervall | Underhållsförfarande |
|---|---|
| Varje användning eller dagligen |
|
| Var 400:e timme |
|
Serva vattenseparatorn enligt Figur 62.
När du har bytt ut vattenseparatorn ska du vrida nyckeln till ON i 10 sekunder utan att starta motorn. Vrid nyckeln till det avstängda läget och upprepa detta två gånger.

| Underhållsintervall | Underhållsförfarande |
|---|---|
| Var 400:e timme |
|
Gör rent området kring bränslefilterhuvudet (Figur 63).

Demontera filtret och rengör filterhuvudets monteringsyta (Figur 63).
Smörj filterpackningen med ren motorsmörjolja. Mer information finns i bruksanvisningen till motorn.
Montera den torra filterskålen för hand och vrid tills packningen kommer i kontakt med filterhuvudet, och vrid den sedan ytterligare ett halvt varv.
Flöda bränslesystemet för att avlufta det. Se Flöda bränslesystemet.
Snapsa bränslesystemet innan du startar motorn för första gången, om tanken har tömts på bensin eller efter underhåll av bränslesystemet (t.ex. efter att du har tömt filtret/vattenseparatorn eller bytt bränsleslang).
Innan du snapsar bränslesystemet ska du utföra följande steg:
Kontrollera att det finns bränsle i bränsletanken.
Utför följande steg för att snapsa filtret och ledningarna till högtryckspumpen för att förhindra slitage och skador på pumpen:
Vrid nyckeln till läget På i 15–20 sekunder.
Vrid nyckeln till läget AV i 30–40 sekunder.
Note: Detta gör att styrenheten stängs av.
Vrid nyckeln till läget På i 15–20 sekunder.
Kontrollera om det finns några läckor runt filter och slangar.
Important: Snapsa inte bränslesystemet genom att använda startmotorn för att dra runt motorn.
Koppla bort batteriet innan reparation utförs på maskinen. Lossa minuskabelanslutningen först och pluskabelanslutningen sist. Återanslut pluskabelanslutningen först och minuskabelanslutningen sist.
Ladda batteriet i ett öppet och välventilerat utrymme, på avstånd från gnistor och öppna lågor. Koppla ur laddaren innan batteriet ansluts eller kopplas bort. Använd skyddskläder och isolerade verktyg.
| Underhållsintervall | Underhållsförfarande |
|---|---|
| Var 25:e timme |
|
| Var 50:e timme |
|
Important: Lossa minuskabeln från batteriet innan svetsning företas på maskinen så att skador på det elektriska systemet kan undvikas.
Note: Se till att hålla kabelanslutningarna och batterilådan rena eftersom ett smutsigt batteri långsamt laddas ur. Rengör batteriet genom att tvätta hela lådan med en lösning bestående av natriumbikarbonat och vatten. Skölj med rent vatten. Fetta in batteripoler och kabelskor med smörjfett av typen Grafo 112X (skinover) (Toro artikelnr 505-47) eller vaselin för att förhindra korrosion.
Öppna batterikåpan på sidan av höljet (Figur 64).
Note: Tryck ned den plana ytan ovanför batterikåpan för att göra det enklare att ta bort kåpan (Figur 64).


Ta bort gummiskon från plusterminalen och inspektera batteriet.
Batteriets kabelanslutningar eller verktyg av metall kan orsaka kortslutning mot metall och orsaka gnistor. Gnistor kan få batterigaserna att explodera, vilket kan leda till personskador.
Vid avlägsnande eller installation av batteriet får du inte låta batterianslutningarna komma i kontakt med några av maskinens metalldelar.
Låt inte metallverktyg kortslutas mellan batterianslutningarna och maskinens metalldelar.
Felaktig dragning av batterikablarna kan skada maskinen och kablarna samt orsaka gnistor. Gnistor kan få batterigaserna att explodera, vilket kan leda till personskador.
Lossa alltid batteriets minuskabel (svart) innan pluskabeln (röd) lossas.
Anslut alltid pluskabeln (röd) innan du ansluter minuskabeln (svart).
Fetta in båda batterianslutningar med smörjfett av typen Grafo 112X (skin-over), (Toro-artikelnr 505-47), vaselin eller ett lättare fett för att förhindra korrosion.
Trä gummiskon över den positiva anslutningen.
Stäng batterikåpan.
Traktorenhetens säkringar sitter under elcentralens lock (Figur 66, Figur 67 och Figur 68).
Ta bort de två skruvarna som håller fast elcentralens lock vid ramen och ta bort locket (Figur 66).



Hyttsäkringarna sitter i säkringsdosan i hyttens takklädsel (Figur 69 och Figur 70).
Note: Endast modeller med hytt


| Underhållsintervall | Underhållsförfarande |
|---|---|
| Var 400:e timme |
|
Använd en högkvalitativ olja av typen SAE 85W-140 när du byter ut oljan.
Ställ maskinen på en plan yta och placera hjulen så att en kontrollplugg är i läget klockan 12 och den andra är i läget klockan 3 (Figur 72).

Ta bort pluggen som sitter i läget klockan 3 (Figur 72).
Note: Oljenivån ska vara vid botten av kontrollplugghålet.
Om oljenivån är låg ska du ta bort pluggen som är i läget klockan 12 och fylla på med olja tills den rinner ut ur hålet som är i läget klockan 3.
Sätt i båda pluggarna.
| Underhållsintervall | Underhållsförfarande |
|---|---|
| Efter de första 50 timmarna |
|
| Var 800:e timme |
|
Använd en högkvalitativ olja av typen SAE 85W-140.
Ställ maskinen på ett jämnt underlag och placera hjulen så att en kontrollplugg befinner sig i det lägsta läget (klockan 6) (Figur 73).

Placera kärlet under planetnavet, ta bort pluggen och låt oljan rinna ner i kärlet.
Placera ett kärl under bromshuset, ta bort pluggen och låt oljan rinna ned i kärlet (Figur 74).

Sätt i pluggen i bromshuset när all olja har tappats av från båda ställena.
Rotera hjulet tills det öppna plugghålet i planetväxlen är i läget klockan 12.
Fyll långsamt på planetväxeln med 0,65 liter högkvalitativ växelolja av typen SAE 85W-140 genom det öppna hålet.
Important: Om planetväxeln blir full innan 0,65 liter olja har tillsatts ska du vänta i en timme, eller sätta tillbaka pluggen och flytta maskinen cirka tre meter så att oljan fördelas i bromssystemet. Ta sedan bort pluggen och fyll på resterande olja.
Montera pluggen igen.
Upprepa proceduren på den motsatta planetväxeln/bromsen.
| Underhållsintervall | Underhållsförfarande |
|---|---|
| Var 400:e timme |
|
Bakaxeln är fylld med olja av typen SAE 85W-140. Kontrollera oljenivån innan motorn startas för första gången och enligt rekommendationen. Kapaciteten är 2,4 liter. Gör en visuell läckagekontroll varje dag.
Ställ maskinen på en plan yta.
Ta bort en kontrollplugg från axelns ena sida och se till att oljan når upp till botten av hålet (Figur 75).
Note: Ta bort påfyllningspluggen om nivån är låg, och tillsätt tillräckligt med olja så att nivån når botten av kontrollhålet.

| Underhållsintervall | Underhållsförfarande |
|---|---|
| Var 400:e timme |
|
Växellådan är fylld med växelolja av typen SAE 85W-140. Kapaciteten är 0,5 liter. Gör en visuell läckagekontroll varje dag.
Ställ maskinen på en plan yta.
Ta bort kontroll-/påfyllningspluggen på växellådans vänstra sida, och kontrollera att oljan når upp till botten av hålet (Figur 76).
Note: Fyll på tillräckligt med olja så att den når botten av hålet om nivån är för låg.

| Underhållsintervall | Underhållsförfarande |
|---|---|
| Efter de första 200 timmarna |
|
| Var 800:e timme |
|
Ställ maskinen på en plan yta.
Gör rent runt de tre avtappningspluggarna; en på varje ände och en i mitten (Figur 77).
Ta bort kontrollpluggarna så går det lättare att tömma ut oljan.
Ta bort avtappningspluggarna så att oljan kan rinna ned i kärlen.

Gör rent omkring avtappningspluggen på botten av växellådan (Figur 78).
Ta bort avtappningspluggen från växellådan och låt oljan rinna ner i ett kärl.
Note: Ta bort påfyllningspluggen så går det lättare att tömma ut oljan.

Fyll på tillräckligt med olja så att nivån når till botten av kontrollhålet. Se Byta oljan i bakaxeln och Kontrollera smörjmedlet i den bakre axelns växellåda.
Montera pluggarna.
| Underhållsintervall | Underhållsförfarande |
|---|---|
| Var 800:e timme |
|
Mät avståndet från mitt till mitt (vid axelhöjd) framtill och baktill på styrhjulen.
Note: Det främre måttet ska vara 6 mm mindre än det bakre måttet.
Lossa klämmorna på dragstängernas bägge ändar för att justera avståndet.
Vrid dragstångens ände för att flytta däckets främre del inåt eller utåt.
Dra åt dragstängernas klämmor när justeringen är korrekt.
Sänk ned vingklippenheterna till marken.
Hissa upp maskinens främre del en bra bit över marken och stötta med domkrafter.
Vrid klippdäcket framåt så att du kan ta av däcket.
Motorns kylvätska kan orsaka förgiftning vid förtäring. Förvara den utom räckhåll för barn och husdjur.
Het kylvätska som sprutas ut under tryck kan orsaka allvarliga brännskador, och detsamma gäller om man vidrör den heta kylaren eller närliggande delar.
Låt motorn svalna i minst 15 minuter innan du öppnar kylarlocket.
Ta hjälp av en trasa för att öppna kylarlocket och öppna locket sakta så att ånga kan komma ut.
Kör inte maskinen om inte kåporna sitter på plats.
Håll fingrar, händer och kläder borta från den roterande fläkten och drivremmen.
Kylvätsketanken fylls på fabriken med en 50/50-blandning av vatten och etylenglykolbaserad kylvätska med längre livslängd.
Important: Använd endast kommersiellt tillgängliga kylvätskor som uppfyller specifikationerna som anges i tabellen för kylvätskestandarder med längre livslängd (Extended Life Coolant Standards Table).Använd inte konventionell (grön), oorganisk syra-teknik (IAT) som kylvätska i maskinen. Blanda inte konventionell kylvätska med kylvätska med längre livslängd.
|
Typ av etylenglykolkylvätska |
Typ av korrosionshämmare |
|
Långlivad frostskyddad |
Organisk syra-teknik (OAT) |
|
Important: Förlita dig inte på färgen på kylvätskan för att identifiera skillnaden mellan konventionella (gröna), oorganiska syra-teknik (IAT) kylvätskor och kylvätskor med längre livslängd.Kylvätsketillverkare färgar ibland kylvätska med längre livslängd i någon av följande färger: röd, rosa, orange, gul, blå, turkos, lila och grön. Använd kylvätska som uppfyller specifikationerna som anges i tabellen för kylvätskestandarder med längre livslängd. |
|
|
ATSM International |
SAE International |
|
D3306 och D4985 |
J1034, J814 och 1941 |
Important: Kylvätskekoncentrationen ska vara en 50/50-blandning av kylvätska och vatten.
Rekommenderat: blanda kylvätska från ett koncentrat med destillerat vatten.
Rekommenderat alternativ: om destillerat vatten inte är tillgängligt bör du använda en färdigblandad kylvätska istället för ett koncentrat.
Minimikrav: om varken destillerat vatten eller färdigblandad kylvätska finns tillgängligt ska du blanda den koncentrerade kylvätskan med rent drickbart vatten.
| Underhållsintervall | Underhållsförfarande |
|---|---|
| Varje användning eller dagligen |
|
Kontrollera kylvätskenivån varje dag. Systemet rymmer 8,5 liter.
Roterande fläktar och drivremmar kan orsaka personskador.
Maskinen får endast köras om skydden sitter på plats.
Håll fingrar, händer och kläder borta från den roterande fläkten och drivremmen.
Stäng av motorn och ta ut nyckeln innan du utför något underhåll.
Ta av kylarlocket locket till expansionstanken försiktigt (Figur 79).
Kontrollera kylvätskenivån i kylaren.
Note: Kylaren ska fyllas upp till påfyllningsrörets översta del och expansionstanken ska fyllas upp till ”Full”-markeringen.

Tillsätt en 50/50-blandning av vatten och frostskyddsmedel med etylenglykol om kylmedelnivån är låg.
Important:
Sätt tillbaka kylarlocket och locket till expansionstanken.
| Underhållsintervall | Underhållsförfarande |
|---|---|
| Var 100:e timme |
|
| Vartannat år |
|
Ta bort skräp från kylaren/oljekylaren dagligen. Rengör dem oftare vid smutsiga förhållanden.
Den här maskinen är försedd med ett hydrauldrivet fläktsystem som automatiskt (eller manuellt) körs bakåt när skräp behöver avlägsnas från kylaren/oljekylaren och gallret. Med den här funktionen går det snabbare att rengöra maskinens kylare/oljekylare, men den eliminerar inte behovet av rutinrengöring. Regelbunden rengöring och kontroll måste fortfarande utföras på kylaren/oljekylaren.
Stäng av motorn och ta ut nyckeln.
Rengör motorområdet noga och ta bort allt skräp.
Rengör på båda sidor om kylaren/oljekylaren ordentligt med tryckluft (Figur 80).
Note: Börja från fläktsidan och blås skräpet bakåt. Rengör sedan bakifrån och blås framåt. Upprepa detta flera gånger tills alla beläggningar och allt skräp är borta.
Important: Om du rengör kylaren/oljekylaren med vatten, kan det medföra att rost uppkommer tidigt och att delar skadas.

Stäng huven.
Justera fotbromsarna om bromspedalens rörelseavstånd överstiger 25 mm eller om bromsarna inte fungerar effektivt. Det fria spelet är det avstånd bromspedalen förflyttar sig innan bromsmotståndet känns av.
Koppla ur låsspärren från bromspedalen så att båda pedalerna fungerar oberoende av varandra.
För att minska bromspedalernas fria spel ska du dra åt bromsarna som följer:
Lossa frontmuttern på den gängade änden av bromsvajern (Figur 81).

Dra åt den bakre muttern för att dra vajern bakåt tills bromspedalernas rörelseavstånd är mellan 13 och 25 mm.
Dra åt de främre muttrarna efter att bromsarna har justerats korrekt.
| Underhållsintervall | Underhållsförfarande |
|---|---|
| Efter de första 10 timmarna |
|
| Var 100:e timme |
|
Om remmen är korrekt spänd kan den böjas ned 10 mm med en kraft på 44 N mitt emellan remskivorna.
Om nedböjningen inte är 10 mm lossar du generatorns fästbultar (Figur 82).
Note: Öka eller minska generatorremmens spänning och dra åt bultarna. Kontrollera remmens nedböjning igen för att säkerställa att spännkraften är korrekt.

| Underhållsintervall | Underhållsförfarande |
|---|---|
| Efter de första 10 timmarna |
|
| Var 100:e timme |
|
Endast modeller med hytt
Kontrollera remmens skick och spännkraft (Figur 82) var 100:e körtimme.
Om remmen är korrekt spänd kan den böjas ned 10 mm med en kraft på 44 N mitt emellan remskivorna.
Om nedböjningen inte är 10 mm ska du lossa mellanremskivans fästbult (Figur 82). Öka eller minska kompressorremmens spänning och dra åt bulten. Kontrollera remmens nedböjning igen för att säkerställa att spännkraften är korrekt.
| Underhållsintervall | Underhållsförfarande |
|---|---|
| Efter de första 10 timmarna |
|
| Var 50:e timme |
|
Vid korrekt spänning ska förlängningsfjäderns inre mått (från krok till krok) vara cirka 8,3 till 9,5 cm. När fjäderspänningen är korrekt ska du justera stoppskruven (vagnsskruven) tills det finns ett spel på cirka 2 till 5 mm mellan skruvens huvud och mellandrevsarmen (Figur 83).
Note: Kontrollera att remmen sitter på fjädersidan av remstyrningen (Figur 83).

| Underhållsintervall | Underhållsförfarande |
|---|---|
| Var 800:e timme |
|
Knivdrivremmen spänns av en fjäderbelastad remskiva, och remmen är mycket hållbar. Efter många timmars användning kan dock remmen visa tecken på slitage. Tecken på remslitage: gnissel när remmen roterar, slirande knivar vid gräsklippning, fransiga remkanter, brännmärken och sprickor. Byt ut remmen om något av dessa tillstånd uppkommer.
Sänk ned klippdäcket till verkstadsgolvet och ta bort remkåporna från klippdäckets ovansida och lägg dem åt sidan.
Lossa öglebulten (Figur 83).
Lossa flänsmuttern som håller fast stoppskruven på monteringsfliken och flytta mellanremskivan bort från remmen (Figur 83).
Note: Lossa muttern tillräckligt för att mellandrevsarmen ska kunna passera stoppskruven.
Note: Om du måste ta bort stoppbulten från monteringsfliken ska du se till att sätta tillbaka den i det hål som medför att stoppbultens huvud riktas in efter mellandrevsarmen.
Avlägsna de bultar som fäster hydraulmotorn på klippdäcket (Figur 84).

Lyft av motorn från klippdäcket och lägg den ovanpå klippdäcket.
Ta bort den gamla remmen runt spindelskivorna och mellanremskivan.
Dra den nya remmen runt spindelskivorna och mellanremskiveenheten.
Sätt tillbaka hydraulmotorn på klippdäcket när du har dragit remmen runt skivorna. Montera motorn på klippdäcket med de bultar som du tog bort tidigare.
Note: Kontrollera att remmen sitter på fjädersidan av remstyrningen (Figur 83).
Sätt fast förlängningsfjädern (Figur 83) i öglebulten och spänn remmen på följande sätt:
Vid korrekt spänning ska förlängningsfjäderns inre mått (från krok till krok) vara cirka 8,3 till 9,5 cm.
När du har uppnått korrekt fjäderspänning ska du justera stoppskruven (vagnsskruven) tills det finns ett spel på cirka 2 till 5 mm mellan skruvens huvud och mellandrevsarmen.
Sök omedelbart läkare om du träffas av en stråle hydraulvätska och vätskan tränger in i huden. Vätska som trängt in i huden måste opereras bort inom några få timmar av en läkare.
Se till att alla hydrauloljeslangar och -ledningar är i gott skick och att alla hydraulanslutningar och -kopplingar är ordentligt åtdragna innan hydraulsystemet trycksätts.
Håll kropp och händer borta från småläckor eller munstycken som sprutar ut hydraulvätska under högtryck.
Använd en kartong- eller pappersbit för att hitta hydraulläckor.
Lätta på allt tryck i hydraulsystemet på ett säkert sätt innan något arbete utförs i hydraulsystemet.
Tanken fylls med hydraulvätska av hög kvalitet på fabriken. Kontrollera hydraulvätskenivån innan motorn startas för första gången och därefter dagligen. Se Byta hydraulvätskan.
Rekommenderad hydraulvätska: Toro PX-hydraulvätska med förlängd hållbarhet. Finns i spannar om 19 liter eller fat om 208 liter.
Note: Om den rekommenderade utbytesvätskan används behöver maskinens vätska och filter inte bytas ut lika ofta.
Alternativa hydraulvätskor: Om Toro PX-hydraulvätska med förlängd hållbarhet inte är tillgänglig kan du använda en annan vanlig, oljebaserad hydraulvätska med specifikationer som faller inom det angivna området för samtliga materialegenskaper nedan och som uppfyller branschstandarderna. Använd inte syntetisk vätska. Rådgör med din smörjmedelsdistributör för att hitta en lämplig produkt.
Note: Toro ansvarar inte för skador som uppstått till följd av att felaktiga vätskor använts. Använd därför endast produkter från ansedda tillverkare som ansvarar för sina rekommendationer.
| Materialegenskaper: | ||
| Viskositet, ASTM D445 | cSt vid 40 °C: 44 till 48 | |
| Viskositetsindex, ASTM D2270 | 140 eller högre | |
| Flytpunkt, ASTM D97 | -37 °C till -45 °C | |
| Branschspecifikationer: | Eaton Vickers 694 (I-286-S, M-2950-S/35VQ25 eller M-2952-S) | |
Note: Många hydraulvätskor är nästintill färglösa vilket gör det svårt att upptäcka läckor. Det finns en rödfärgstillsats till hydraulvätskan i flaskor om 20 ml. En flaska räcker till 15–22 liter hydraulvätska. Beställ artikelnr 44-2500 från en auktoriserad Toro-återförsäljare.
Important: Toro Premium Synthetic Biodegradable Hydraulic Fluid är den enda syntetiska, biologiskt nedbrytbara hydraulvätskan som godkänts av Toro. Vätskan kan blandas med de elastomerer som används i Toros hydraulsystem och kan användas i många olika temperaturer. Vätskan kan blandas med traditionella mineraloljor, men för största möjliga biologiska nedbrytbarhet och prestanda bör hydraulsystemet sköljas noga så att inga traditionella oljor finns kvar. Du kan köpa oljan i dunkar om 19 liter eller fat om 208 liter hos en auktoriserad Toro-återförsäljare.
| Underhållsintervall | Underhållsförfarande |
|---|---|
| Varje användning eller dagligen |
|
Ställ maskinen på en plan yta, sänk ned klippenheterna, stäng av motorn och ta ut nyckeln ur tändningslåset.
Kontrollera hydraulvätskenivån (Figur 85).

| Underhållsintervall | Underhållsförfarande |
|---|---|
| Var 800:e timme |
|
| Var 2000:e timme |
|
| Vartannat år |
|
Om hydraulvätskan förorenas måste hydraulsystemet spolas. Förorenad hydraulvätska är mjölkaktig eller svart jämfört med ren olja. Kontakta en auktoriserad Toro-återförsäljare för att få hjälp.
Ställ maskinen på ett plant underlag, sänk ned klippenheterna, stäng av motorn och ta ut nyckeln.
Ta bort avtappningspluggen från tankens framsida och låt hydraulvätskan rinna ner i ett stort uppsamlingstråg.
Sätt tillbaka och dra åt pluggen när hydraulvätskan har slutat rinna.
Fyll tanken (Figur 86) med hydraulvätska. Se Kontrollera hydraulvätskan.
Important: Använd endast specificerade hydrauloljor. Andra vätskor skadar systemet.

Sätt på tanklocket, starta motorn och använd samtliga hydraulreglage så att hydraulvätskan sprids i hela systemet.
Note: Kontrollera även att det inte finns några läckor och stäng sedan av motorn.
Kontrollera vätskenivån och fyll på tillräckligt så att nivån når upp till markeringen ”Full” på oljestickan.
Note: Fyll inte på för mycket.
| Underhållsintervall | Underhållsförfarande |
|---|---|
| Var 800:e timme |
|
| Var 1000:e timme |
|
Använd följande ersättningsfilter från Toro:
Artikelnr 94-2621 för maskinens baksida (klippenheten)
Artikelnr 75-1310 för maskinens framsida (laddning)
Important: Om något annat filter används kan garantin för några av komponenterna bli ogiltig.
Ställ maskinen på en plan yta, sänk ned klippenheterna, koppla in parkeringsbromsen, stäng av motorn och ta ut nyckeln ur tändningslåset.
Byt ut hydraulfiltren (Figur 87).

Starta motorn och låt den gå i cirka två minuter så att systemet luftas. Stäng av motorn och undersök om det finns några läckor.
| Underhållsintervall | Underhållsförfarande |
|---|---|
| Vartannat år |
|
Hydraulvätska som läcker ut under tryck kan tränga in i huden och orsaka skada.
Uppsök läkare omedelbart om du träffas av en stråle hydraulvätska och vätskan tränger in i huden.
Kontrollera att alla hydrauloljeslangar och -ledningar är i gott skick och att alla hydraulanslutningar och -kopplingar är ordentligt åtdragna innan hydraulsystemet trycksätts.
Håll kropp och händer borta från småläckor eller munstycken som sprutar ut hydraulvätska under högtryck.
Använd en kartong- eller pappersbit för att hitta hydraulläckor.
Lätta på allt tryck i hydraulsystemet på ett säkert sätt innan något arbete utförs i hydraulsystemet.
Undersök hydraulledningarna och slangarna dagligen och kontrollera om det finns läckor, vridna ledningar, lösa fäststöd, slitage, lösa beslag, väderslitage och kemiskt slitage. Reparera alla eventuella skador innan du använder maskinen igen.
Kontrollporten för motvikt används för testning av trycket i motviktskretsen (Figur 88). Det motviktstryck som rekommenderas är 22,41 bar. Om du vill justera motviktstrycket lossar du låsmuttern, vrider ställskruven (Figur 88) medurs för att öka trycket eller moturs för att minska trycket och drar åt låsmuttern. Motorn måste vara igång, däcket vara nedsänkt och i det rörliga läget för att trycket ska kunna kontrolleras.
Note: Svänghjulen på alla tre klippenheterna ska stå kvar på marken när motvikten justeras och när en motvikt används.

Note: Du kan vända (luta) mittklippenheten. Detta är dock inte nödvändigt.
Lyft upp mittklippenheten en aning från golvet, koppla in parkeringsbromsen, stäng av motorn och ta ut nyckeln.
Ta bort den hårnålssprint som håller fast dämparna på lyftarmarna (Figur 89).

Vänd dämparen mot däckhuset.
Ta bort den hårnålssprint och sprintbult som håller fast klipphöjdskedjorna på klippenhetens bakre del (Figur 90).

Starta motorn och höj långsamt upp mittklippenheten.
Höj långsamt upp varje sidoklippenhet tills tyngdpunkten flyttas och däcket börjar rotera i det upprätta läget.
Stäng av motorn och ta ur tändningsnyckeln.
Sänk långsamt ned vingklippenheterna tills tyngdpunkten flyttas och mittklippenheten roterar nedåt.
Sitt i förarsätet, starta motorn och sänk mittklippenheten tills den lyfter något från golvet.
Stäng av motorn, vänta tills alla delar har stannat och ta ut nyckeln.
Fäst klipphöjdskedjorna baktill på klippenheten.
Vänd dämparna uppåt till önskat läge och fäst dem med en hårnålssprint och en saxsprint.
Klippdäckets lutning är skillnaden i klipphöjd mellan knivplanets främre del och knivplanets bakre del. Använd en lutning på 8–11 mm. Det innebär att knivbladets bakkant är 8–11 mm högre än dess framkant.
Placera maskinen på en jämn yta på verkstadsgolvet.
Ställ in klippenheten på önskad klipphöjd.
Rotera en kniv så att den är riktad rakt framåt.
Använd en kort linjal och mät från golvet till längst fram på knivbladet.
Rotera knivspetsen så att den pekar bakåt och mät avståndet från golvet till knivens spets.
Subtrahera frammåtten med bakmåtten för att räkna ut knivens lutning.
Lossa kontramuttrarna överst eller underst på klipphöjdskedjans U-bult (Figur 91).
Justera den andra mutteruppsättningen för att höja eller sänka klippdäckets bakre del och få rätt lutning.
Dra åt kontramuttrarna.

Ta bort de huvudskruvar och muttrar som fäster svänghjulsarmen på hjulgaffeln (Figur 92).
Flytta mellanläggen på lämpligt sätt för att höja eller sänka svänghjulet tills klippenhetens lutning är korrekt.
Montera sexkantskruvarna och muttrarna.

På svänghjulsarmarna har bussningar pressats in i den övre och nedre delen av röret, och efter många körtimmar slits dessa bussningar. Kontrollera bussningarna genom att flytta hjulgafflarna bakåt och framåt och från ena sidan till den andra. Om svänghjulsspindeln är lös inuti bussningarna ska bussningarna bytas ut.
Höj upp klippenheten så att hjulen lyfter från golvet och palla upp klippenheten så att den inte kan falla.
Ta bort spännlocket, distansbrickan eller -brickorna och tryckbrickan från svänghjulsspindelns ovansida.
Dra ut svänghjulsspindeln ur monteringsröret.
Note: Låt tryckbrickan och distansbrickan eller -brickorna sitta kvar längst ned på spindeln.
Skjut in ett pinndorn upptill eller nedtill i monteringsröret och skjut ut bussningen ur röret (Figur 93).

Skjut ut den andra bussningen ur röret.
Rengör insidan på rören och ta bort all smuts.
Stryk på fett på insidan och utsidan av de nya bussningarna.
Skjut in bussningarna i monteringsröret med hjälp av en hammare och en platt skiva.
Undersök om svänghjulsspindeln är sliten och byt ut den om den är skadad.
Skjut svänghjulsspindeln genom bussningarna och monteringsröret.
Skjut på tryckbrickan och distansbrickan/-brickorna på spindeln och montera spännlocket på svänghjulsspindeln så att alla delar sitter stadigt.
| Underhållsintervall | Underhållsförfarande |
|---|---|
| Var 800:e timme |
|
Lossa låsmuttern från den skruv som håller fast svänghjulet mellan svänghjulsgaffeln (Figur 94) eller svänghjulsarmen (Figur 95).
Note: Fatta tag i svänghjulet och skjut ut skruven ur gaffeln eller svängarmen.


Ta bort lagret från hjulnavet och låt lagerdistansbrickan falla ut (Figur 94 och Figur 95).
Ta bort lagret från hjulnavets motsatta sida.
Kontrollera om lagren, distansbrickan eller insidan av hjulnavet är slitna och byt ut skadade delar.
Montera ihop svänghjulet igen genom att skjuta in lagret i hjulnavet.
Note: Tryck på lagrets yttre yta när du monterar lagren.
För in lagerdistansbrickan i hjulnavet och skjut in det andra lagret i den öppna änden på hjulnavet så att lagerdistansbrickan sitter fast inuti hjulnavet.
Sätt svänghjulet i hjulgaffeln och fäst det med skruven och låsmuttern.
Gångjärnsskyddet förhindrar att skräp frigörs från gångjärnspunkterna mellan klippenheterna. Byt ut kåpan/kåporna om de skadas eller blir slitna.

Kontrollera om kniven är sliten eller skadad med jämna mellanrum.
Var försiktig när du kontrollerar knivarna. Linda in knivarna i något eller ta på dig handskar, och var försiktig när du servar knivarna. Knivarna får endast bytas ut eller slipas – de ska aldrig rätas ut eller svetsas.
Var försiktig vid hantering av maskiner med flera knivar, eftersom en roterande kniv kan få andra knivar att rotera.
Om du kör på något föremål ska nu noga kontrollera om maskinen har skadats och reparera eventuella skador innan du startar och kör maskinen. Dra åt samtliga muttrar på spindelskivorna till 176–203 Nm.
Ställ maskinen på ett plant underlag, höj upp klippenheten, koppla in parkeringsbromsen, flytta gaspedalen till NEUTRALLäGET, för kraftuttagsspaken till AVSTäNGT läge, stäng av motorn och ta ut tändningsnyckeln.
Note: Palla upp klippenheten så att den inte kan falla av en olyckshändelse.
Rotera kniven tills ändarna är riktade framåt och bakåt och mät från klippenhetens insida till skäreggen framtill på knivbladet (Figur 97).
Note: Notera måttet.

Vrid motsatt ände på kniven framåt och mät avståndet mellan klippenheten och knivseggen vid samma position som i steg 2.
Note: Skillnaden mellan måtten i steg 2 och 3 får inte överstiga 3 mm. Om detta mått överstiger 3 mm är kniven böjd och måste bytas ut. Se Demontera och montera klippenhetsknivarna.
Byt en kniv om den har träffats av ett hårt föremål, om kniven är obalanserad eller böjd. Använd alltid originalknivar från Toro för att garantera säkerhet och optimal prestanda.
Ställ maskinen på ett plant underlag, höj upp klippenheten till transportläget, koppla in parkeringsbromsen, stäng av motorn och ta ut nyckeln.
Note: Palla upp eller lås klippenheten så att den inte kan falla av en olyckshändelse.
Fatta tag i knivens ände med en trasa eller en tjockt vadderad handske.
Ta bort knivskruven, antiskalpbehållaren och kniven från spindelaxeln (Figur 98).

Montera kniven, antiskalpbehållaren och knivskruven och dra åt knivskruven till 115–149 Nm.
Important: Knivens böjda del måste alltid vara vänd mot klippenhetens insida för att klippningen ska bli rätt.
Note: Om du har kört på något föremål ska du dra åt samtliga muttrar på spindelskivorna till 115–149 Nm.
Både eggar och segel (den uppåtvända delen mittemot eggen) bidrar till en god klippkvalitet.
Håll knivarna slipade under klippsäsongen. Vassa knivar ger ett bra klippresultat utan att de sliter eller rycker av grässtråna.
Kontrollera om knivarna är slitna eller skadade. Seglet lyfter gräset rakt upp och bidrar därmed till en jämn klippning. Dock slits det under arbetet.
Ställ maskinen på ett plant underlag, höj upp klippenheten, koppla in parkeringsbromsen, för gaspedalen till NEUTRALLäGET, för kraftuttagsspaken till AVSTäNGT läge, stäng av motorn och ta ut nyckeln ur tändningslåset.
Undersök knivseggarna noggrant, i synnerhet där knivens flata och böjda del möts (Figur 99).
Note: Kontrollera kniven innan du använder gräsklipparen, eftersom sand och slipande material kan slita bort metallen mellan knivens flata och böjda delar. Byt ut kniven om den är sliten (Figur 99).

Kontrollera samtliga knivseggar och vässa dem om de är slöa eller har fått hack (Figur 100).
Note: Slipa endast knivseggens översta del och behåll den ursprungliga skärvinkeln för bästa skärpa (Figur 100). Kniven förblir balanserad om lika mycket metall avlägsnas från båda eggarna.

Note: Demontera knivarna och slipa dem med en slipmaskin. När du har slipat knivseggarna monterar du kniven med antiskalpbehållaren och knivskruven. Se Demontera och montera klippenhetsknivarna.
Om knivarna är felpassade på någon av klippenheterna ser gräset randigt ut efter klippningen. Du kan korrigera problemet genom att se till att knivarna är raka.
Parkera maskinen på en plan yta.
Öka klipphöjden till det högsta läget. Se Justera klipphöjden.
Sänk ned klippenheten på ett plant underlag och avlägsna kåporna som sitter ovanpå klippenheten.
Lossa den flänsmutter som håller fast mellanremskivan för att lätta på remspänningen.
Rotera knivarna tills ändarna är riktade framåt och bakåt, och mät från golvet till knivseggens spets. Notera måttet.
Rotera sedan samma kniv så att dess motsatta ände är riktad framåt, och mät avståndet på nytt. Skillnaden mellan måtten får inte överstiga 3 mm. Om skillnaden är större än 3 mm är kniven böjd och måste bytas ut. Mät alla knivarna.
Jämför de yttre knivarnas mått med mittkniven.
Note: Mittkniven får inte vara mer än 10 mm lägre än de yttre knivarna. Om mittkniven är mer än 10 mm lägre än de yttre knivarna ska du gå vidare till steg 8 och lägga till mellanlägg mellan spindelhuset och klippenhetens underdel.
Ta bort bultarna, planbrickorna, låsbrickorna och muttrarna från den yttre spindeln på den plats där mellanlägg måste läggas till.
Note: Lägg till ett mellanlägg (artikelnr 3256-24) mellan spindelhuset och klippenhetens underdel för att höja upp eller sänka ned kniven. Fortsätt att kontrollera knivarnas inriktning och lägg till mellanlägg tills knivspetsarna befinner sig inom de mått som krävs.
Important: Använd inte mer än tre mellanlägg vid något av hålen. Om fler än ett mellanlägg läggs till vid något av hålen, måste färre mellanlägg monteras vid de intilliggande hålen.
Justera mellanremskivan och montera remkåporna.
Important: Var försiktig runt hyttens tätningar och lampor (Figur 101). Om du använder en högtryckstvätt, håll spridaren på minst 60 cm avstånd från maskinen. Använd inte högtryckstvätten direkt på hyttens tätningar, lampor och på det bakre överhänget.

| Underhållsintervall | Underhållsförfarande |
|---|---|
| Var 250:e timme |
|
Ta bort de skruvar och galler som sitter över luftfiltren både i och bakom hytten (Figur 102 och Figur 103).


Rengör filtren genom att blåsa ren, oljefri tryckluft genom dem.
Important: Om något filter har ett hål, en reva eller någon annan skada ska filtret i fråga bytas ut.
Montera filtren och gallren igen med vingskruvarna.
Syftet med hyttens förfilter är att förhindra att skräp av större storlek som gräs och löv kommer in i hyttens filter.
Vrid skärmskyddet nedåt.
Rengör filtret med vatten.
Note: Använd inte en högtryckstvätt.
Important: Om filtret har ett hål, en reva eller någon annan skada ska filtret i fråga bytas ut.
Låt förfiltret torka innan du monterar det i maskinen.
Vrid filterenheten runt flikarna tills spärren låser fast i spärrenheten (Figur 104).

| Underhållsintervall | Underhållsförfarande |
|---|---|
| Var 250:e timme |
|
Stäng av motorn och ta ut nyckeln.
Ta bort de sex muttrarna och brickorna i hyttens bakre nedre del (Figur 105).

Ta bort hyttaket genom att avlägsna de 22 bultar som håller taket på plats (Figur 106).

Ta bort luftfiltren (Figur 106).
Ta bort och rengör luftkonditioneringsspolarna (Figur 106).
Byt ut luftkonditioneringsspolarna, luftfiltren och hyttaket.
Stäng av motorn, ta ut nyckeln och vänta tills alla rörliga delar har stannat innan du kliver ur förarsätet. Låt maskinen svalna innan du utför service, justerar, rengör eller ställer den i förvar.
Förvara inte maskinen eller bränslebehållaren i närheten av en öppen låga, gnista eller tändlåga, t.ex. nära en varmvattenberedare eller någon annan utrustning.
Important: Använd inte bräckt eller återvunnet vatten (gråvatten) när du gör rent maskinen.
Rengör traktorenheten, klippenheterna och motorn ordentligt.
Kontrollera däcktrycket. Pumpa upp alla däck på traktorenheten till mellan 0,82 och 1,03 bar.
Kontrollera alla fästelement och dra åt dem om de är lösa.
Smörj alla smörjnipplar och böjaxlar. Torka av överflödigt fett.
Sandpappra lätt och måla i områden där färgen har skrapats av, flagat eller rostat. Reparera eventuella bucklor i metallchassit.
Serva batteriet och kablarna på följande sätt:
Ta bort batteriets kabelanslutningar från batteripolerna.
Note: Lossa alltid minuskabelanslutningen först och pluskabelanslutningen sist. Återanslut alltid pluskabelanslutningen först och minuskabelanslutningen sist.
Rengör batteriet, kabelanslutningarna och polerna med en stålborste och bakpulverlösning.
Fetta in kabelanslutningar och batteripoler med smörjfett av typen Grafo 112X (skin-over) (artikelnr 505-47) eller vaselin för att förhindra korrosion.
Ladda långsamt upp batteriet i 24 timmar var 60:e dag för att förhindra att det blysulfateras.
Töm motoroljan från kärlet och sätt tillbaka avtappningspluggen.
Ta bort och kasta oljefiltret. Montera ett nytt oljefilter.
Fyll på oljekärlet med rätt mängd motorolja.
Vrid om nyckeln i tändningslåset till läget På, starta motorn och låt den gå på tomgång i cirka två minuter.
Vrid om nyckeln i tändningslåset till läget AV.
Tappa noga ur allt bränsle ur bränsletanken, bränsleledningarna och bränslefiltret/vattenseparatorn.
Spola bränsletanken med färskt, rent dieselbränsle.
Dra åt alla anslutningar i bränslesystemet.
Rengör och serva luftrenaren ordentligt.
Täta luftrenarens inlopp och avgasutloppet med väderbeständig tejp.
Kontrollera frostskyddsmedlet och fyll på vid behov så att maskinen klarar de lägsta temperaturerna under vintern.