| Huoltoväli | Huoltotoimenpide |
|---|---|
| Aina ennen käyttöä tai päivittäin |
|
Tämä kone on yleisajoyksikkö, joka on tarkoitettu ammattimaiseen kaupalliseen käyttöön. Se on tarkoitettu pääasiassa puistojen, golfkenttien, urheilukenttien ja kaupallisten kiinteistöjen viheralueiden ruohon leikkaamiseen. Tuotteen käyttäminen muuhun kuin sen aiottuun käyttötarkoitukseen voi olla vaarallista käyttäjälle ja sivullisille.
Lue nämä tiedot huolellisesti, jotta oppisit käyttämään ja huoltamaan laitetta asianmukaisesti sekä välttämään tapaturmia ja tuotevaurioita. Olet itse vastuussa tuotteen asianmukaisesta ja turvallisesta käytöstä.
Käy osoitteessa www.Toro.com, jos tarvitset tuoteturvallisuuteen ja käyttökoulutukseen liittyviä materiaaleja, tietoja lisävarusteista tai lähimmästä jälleenmyyjästä tai haluat rekisteröidä tuotteesi.
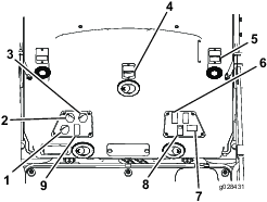
Aina kun tarvitset huoltoa, alkuperäisiä Toro-varaosia tai lisätietoja, ota yhteys valtuutettuun huoltoliikkeeseen tai Toron asiakaspalveluun. Ota tällöin tuotteen malli- ja sarjanumerot valmiiksi esiin. Kuva 1 näyttää laitteen malli ja sarjanumeron sijainnin. Kirjoita numerot annettuun tilaan.
Important: Skannaa sarjanumerokilvessä (jos varusteena) oleva QR-koodi mobiililaitteella, niin saat tuotetietoja sekä takuu- ja varaosatietoja.

Tässä käyttöoppaassa esiintyvä varoitusmerkintä (Kuva 2) ilmaisee vaaratilannetta, josta saattaa olla seurauksena vakava tapaturma tai jopa kuolema, jos suositellut varotoimenpiteet laiminlyödään.

Tässä käyttöoppaassa käytetään kahta termiä tietojen korostamiseksi. Tärkeää kiinnittää huomiota mekaanisiin erikoistietoihin ja Huomautus korostaa erityishuomion ansaitsevia yleistietoja.
Tämä tuote on asianmukaisten eurooppalaisten direktiivien mukainen. Lisätietoja on erillisessä tuotekohtaisessa vaatimustenmukaisuusvakuutuksessa.
Kalifornian lain (California Public Resource Code) pykälät 4442 ja 4443 kieltävät tämän moottorin käytön metsä-, pensaikko- tai ruohopeitteisillä mailla, jos moottoria ei ole varustettu pykälässä 4442 mainitulla hyvässä käyttökunnossa pidetyllä kipinänsammuttimella tai jos moottoria ei ole suojattu, varustettu ja huollettu palovaaran ehkäisemiseksi.
Mukana toimitettavassa moottorin käyttöoppaassa on Yhdysvaltojen ympäristönsuojeluelimeen EPA:han (Environmental Protection Agency) ja Kalifornian päästöjärjestelmien päästöjen valvontasääntöihin sekä kunnossapitoon ja takuuseen liittyviä tietoja. Käyttöoppaita voi tilata moottorin valmistajalta.
KALIFORNIA
Lakiesityksen 65 mukainen varoitus
Dieselmoottorin tuottamat pakokaasut ja jotkin niiden aineosat sisältävät kemikaaleja, jotka Kalifornian osavaltion tietojen mukaan aiheuttavat syöpää, synnynnäisiä epämuodostumia tai muuta lisääntymiseen liittyvää haittaa.
Akun liitännät, navat ja niihin liittyvät lisävarusteet sisältävät lyijyä ja lyijy-yhdisteitä, joiden tiedetään aiheuttavan syöpää ja haittaavan lisääntymistä. Pese kädet, kun olet käsitellyt näitä osia.
Tämän tuotteen käyttäminen voi altistaa kemikaaleille, jotka Kalifornian osavaltion tietojen mukaan aiheuttavat syöpää, synnynnäisiä epämuodostumia tai muuta lisääntymiseen liittyvää haittaa.
Tämä tuote voi katkaista jalan tai käden sekä singota esineitä. Noudata aina kaikkia turvallisuusohjeita, jotta vakavilta loukkaantumisilta vältytään.
Lue ja sisäistä tämän käyttöoppaan sisältö ennen moottorin käynnistämistä.
Koneen käyttö vaatii käyttäjän täyden huomion. Jos käyttäjän huomio keskittyy muualle, saattaa seurata henkilö- tai omaisuusvahinko.
Älä käytä konetta ilman paikallaan olevia ja asianmukaisesti toimivia suojuksia ja muita suojalaitteita.
Pidä kädet ja jalat etäällä pyörivistä osista. Pysy etäällä heittoaukosta.
Älä päästä sivullisia ja lapsia käyttöalueelle. Älä anna lasten käyttää konetta.
Sammuta moottori, irrota virta-avain ja odota, että kaikki liikkuvat osat pysähtyvät, ennen kuin poistut käyttäjän paikalta. Anna koneen jäähtyä ennen sen säätöä, huoltoa, puhdistusta tai varastointia.
Laitteen asiaton käyttö tai huolto voi aiheuttaa tapaturman.
Vähennä loukkaantumisriskiä noudattamalla näitä
turvallisuusohjeita ja huomioimalla aina varoitusmerkki
, joka tarkoittaa varoitusta,
vaaraa tai hengenvaaraa – henkilöturvallisuusohjeet. Ohjeiden
laiminlyönti saattaa johtaa henkilövahinkoon tai kuolemaan.
![]() |
Turva- ja ohjetarrat on sijoitettu hyvin näkyville paikoille mahdollisten vaara-alueiden lähettyville. Korvaa vioittuneet tai kadonneet tarrat uusilla. |
































Kiinnitä osanumeron 117-2754 päälle CE-koneisiin.





Note: Koneen vasen ja oikea puoli määritellään normaalista käyttöasennosta käsin.
Rasvaa kone ennen käyttöä. Katso kohta Voitelu.
Important: Koneen rasvauksen laiminlyönti saattaa aiheuttaa tärkeiden osien ennenaikaisen vioittumisen.
Tarkista rengaspaine. Katso kohta Rengaspaineen tarkistus.
Important: Pidä rengaspaineet oikeissa lukemissa, jotta leikkuujälki pysyy hyvänä ja kone toimii oikein. Älä käytä liian alhaisia rengaspaineita.
Tarkista moottoriöljyn määrä. Katso kohta Moottoriöljyn määrän tarkistus.
Tarkista hydraulinesteen määrä. Katso kohta Hydraulinesteen tarkistus.
Tarkista jäähdytysjärjestelmä. Katso kohta Jäähdytysjärjestelmän tarkastus.
Tarkista planeettapyörästön öljy. Katso kohta Planeettapyörästön öljyn tarkistus.
Tarkista taka-akselin voiteluaine. Katso kohta Taka-akselin voiteluaineen tarkistus.
Tarkista taka-akselin vaihteiston voiteluaine. Katso kohta Taka-akselin vaihteiston voiteluaineen tarkistus.
Vaiheeseen tarvittavat osat:
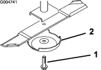
| Valmistusvuoden tarra | 1 |
Kiinnitä toimitettaviin irto-osiin ja erikseen myytävään CE-sarjaan sisältyvä valmistusvuoden tarra koneisiin, joiden on täytettävä CE-vaatimukset (Kuva 3).

Note: Koneen vasen ja oikea puoli määritellään normaalista käyttöasennosta käsin.
Tutustu kaikkiin ohjauslaitteisiin, ennen kuin käynnistät moottorin ja käytät konetta.

Kun haluat pysäyttää koneen, nosta jalkaa ajopolkimelta, kunnes poljin palautuu VAPAA-asentoon (Kuva 4).
Koneessa on kaksi jarrupoljinta kahta erillistä pyöräjarrua varten. Niiden avulla voidaan helpottaa kääntymistä ja pysäköintiä sekä parantaa pitoa rinteissä. Polkimet voidaan salvata yhteen seisontajarrukäyttöä ja kuljetusta varten (Kuva 4).
Polkimen lukitussalpa yhdistää polkimet seisontajarrun kytkemistä varten (Kuva 4).
Paina ohjauspyörän kallistusvipu alas ja kallista ohjauspyörä haluamaasi asentoon. Lukitse sitten säätö vapauttamalla vipu (Kuva 4).
Kun haluat kytkeä seisontajarrun, liitä kaksi poljinta yhteen polkimien takana sijaitsevalla lukitussalvalla, paina kumpikin poljin alas ja paina seisontajarrun salpa alas jarrupolkimia painettaessa (Kuva 4). Vapauta seisontajarru painamalla jarrupolkimia, jolloin salpa irtoaa ja polkimet siirtyvät vapautettuun asentoon. Varmista seisontajarrun vapautuksen jälkeen, että polkimet ovat kokonaan vapautetussa asennossa.
Avainkytkimessä (Kuva 5) on kolme asentoa: PYSäYTYS, KäYNNISSä/ESILäMMITYS ja KäYNNISTYS.

Moottorin nopeuskytkimessä (Kuva 5) on kaksi tilaa, joilla moottorin nopeutta voi muuttaa. Moottorin nopeutta voidaan nostaa tai laskea 100 kierr./min:n askelin napauttamalla kytkintä. Kun kytkintä pidetään painettuna, moottori siirtyy automaattisesti korkealle tai alhaiselle joutokäyntinopeudelle sen mukaan, kumpaa kytkimen päätä painetaan.
Voimanulosoton kytkimessä on kaksi asentoa: ULOS (KäYNNISTYS) ja SISääN (PYSäYTYS). Kytke leikkuupöydän terät vetämällä voimanulosoton painike ulos. Vapauta leikkuupöydän terät painamalla painike alas (Kuva 5).
Ylemmän ja alemman nopeuden säätökytkimellä voidaan nostaa nopeusaluetta koneen kuljettamista varten (Kuva 5).
Leikkuupöydät eivät toimi ylemmällä nopeusalueella. Kun haluat vaihtaa moottorin nopeutta YLEMMäN ja ALEMMAN nopeusalueen välillä, nosta leikkuupöydät, vapauta voimanulosotto ja vakionopeussäädin, siirrä ajopoljin VAPAA-asentoon ja aja konetta alhaisella nopeudella.
Nostokytkimillä nostetaan ja lasketaan leikkuuyksiköt (Kuva 5). Laske leikkuuyksiköt painamalla kytkimet eteenpäin ja nosta leikkuuyksiköt painamalla kytkimet taaksepäin. Kun käynnistät koneen ja leikkuuyksiköt ovat ala-asennossa, paina nostokytkin alas, jolloin leikkuuyksiköt kelluvat ja leikkaavat.
Note: Leikkuuyksiköitä ei voi laskea ylemmällä nopeusalueella. Ne eivät myöskään nouse tai laskeudu, jos käyttäjä on poissa istuimelta moottorin käydessä. Lisäksi leikkuuyksiköt laskeutuvat, kun avain on KäYNNISSä-asennossa ja kuljettaja istuu istuimella.
Vakionopeussäätimen kytkimellä voidaan lukita polkimen asento ja säilyttää haluttu ajonopeus (Kuva 6). Vakionopeussäädin poistetaan käytöstä painamalla kytkimen takaosaa, kytkimen keskiasento ottaa vakionopeussäätimen käyttöön ja kytkimen etuosalla määritetään haluttu ajonopeus.
Note: Polkimen asento voidaan vapauttaa myös painamalla joko jarrupoljinta tai siirtämällä ajopoljin PERUUTUS-asentoon yhden sekunnin ajaksi.

Käytä pistorasiaporttia, jos haluat syöttää virtaa sähkötoimisiin lisävarusteisiin (Kuva 6).
Siirrä istuimen sivulla olevaa säätövipua eteenpäin, liu’uta istuin haluamaasi asentoon ja vapauta vipu, niin istuin lukittuu asentoonsa (Kuva 7).

Säädä käsinojan kulmaa kiertämällä nuppia (Kuva 7).
Säädä istuimen selkänojan kulmaa siirtämällä vipua (Kuva 7).
Painomittari näyttää, kun istuin on säädetty käyttäjän painon mukaan (Kuva 7). Säädä korkeutta siten, että jousitus osuu vihreällä merkitylle alueelle.
Tällä vivulla säädetään istuin vastaamaan käyttäjän painoa (Kuva 7). Voit nostaa ilmanpainetta vetämällä vipua ylös ja laskea painetta painamalla vipua alas. Säätö on oikea, kun painomittari on vihreällä alueella.

Asettaa ohjaamon joko kierrättämään ohjaamossa olevaa ilmaa tai ottamaan raitisilmaa ohjaamon ulkopuolelta (Kuva 8).
Aseta säädin kierrätysasentoon, kun ilmastointilaite on käytössä.
Aseta säädin ottamaan raitisilmaa, kun lämmitin tai puhallin on käytössä.
Säädä puhaltimen nopeutta kääntämällä puhaltimen ohjausnuppia (Kuva 8).
Säädä ohjaamon lämpötilaa kääntämällä lämpötilan ohjausnuppia (Kuva 8).
Tällä kytkimellä kytketään tuulilasinpyyhkimet käyttöön ja pois käytöstä (Kuva 8).
Tällä kytkimellä kytketään ilmastointilaite käyttöön ja pois käytöstä (Kuva 8).
Tästä 15 ampeerin, 12 voltin tasavirtaliitännästä voi ottaa sähkövirtaa yhteensopiville lisälaitteille (Kuva 8).
Tällä kytkimellä sytytetään ja sammutetaan ajovalot ja takavalo (Kuva 8).
Tällä kytkimellä kytketään varoitusvilkut käyttöön ja pois käytöstä (Kuva 8).
Avaa tuulilasi nostamalla salpoja ylöspäin (Kuva 9). Lukitse tuulilasi AVOIMEEN asentoon painamalla salpa pohjaan. Sulje ja lukitse tuulilasi vetämällä salpaa ulos ja painamalla se alas.

Avaa takaikkuna nostamalla salpoja ylöspäin. Lukitse ikkuna AVOIMEEN asentoon painamalla salpaa sisään. Sulje ja lukitse ikkuna vetämällä salpaa ulos ja painamalla se alas (Kuva 9).
Important: Sulje takaikkuna ennen konepellin avaamista, jotta konepelti ja takaikkuna eivät vahingoitu.
Tietokeskuksen LCD-näytössä (Kuva 5) on tietoja koneen käyttötilasta, vianmääritystietoja ja muita koneeseen liittyviä tietoja.
Näytettävät näytöt riippuvat valituista painikkeista. Kunkin painikkeen käynnistämä toiminto vaihtelee tilanteen mukaan.

| Kuvaus | Kuva 10 viite | Mitta tai paino | |
| Korkeus ohjaamon kanssa | A | 237 cm | |
| Korkeus turvakaari nostettuna | I | 217 cm | |
| Korkeus turvakaari laskettuna | K | 173 cm | |
| Kokonaispituus | H | 186 cm | |
| Säilytyspituus | G | 184 cm | |
| Leikkuuleveys | |||
| kokonaisleveys | D | 315 cm | |
| etuleikkuuyksikkö | 137 cm | ||
| sivuleikkuuyksikkö | 94 cm | ||
| etu- ja yksi sivuleikkuuyksikkö | 226 cm | ||
| Kokonaisleveys | |||
| leikkuuyksiköt alhaalla | E | 323 cm | |
| leikkuuyksiköt ylhäällä (kuljetusasento) | C | 180 cm | |
| Akseliväli | F | 141 cm | |
| Raideväli (renkaan keskeltä keskelle) | |||
| eturenkaat | B | 114 cm | |
| takarenkaat | J | 107 cm | |
| Maavara | 15 cm | ||
| Nettopaino ohjaamon kanssa | 2 165 kg | ||
| Nettopaino turvakaaren kanssa | 1 922 kg | ||
Note: Ominaisuuksia ja rakennetta voidaan muuttaa ilmoittamatta.
Koneeseen on saatavana valikoima Toron hyväksymiä lisälaitteita ja -varusteita, joiden avulla voidaan parantaa ja laajentaa sen ominaisuuksia. Ota yhteys valtuutettuun huoltoliikkeeseen tai valtuutettuun Toro-jälleenmyyjään tai siirry osoitteeseen www.Toro.com, jossa on luettelo hyväksytyistä lisälaitteista ja -varusteista.
Käytä vain aitoja Toro-varaosia ja -lisävarusteita. Muiden valmistajien varaosat ja lisävarusteet voivat osoittautua vaarallisiksi, ja niiden käyttö voi johtaa tuotteen takuun raukeamiseen.
Note: Koneen vasen ja oikea puoli määritellään normaalista käyttöasennosta käsin.
Älä anna lasten tai kouluttamattomien henkilöiden käyttää tai huoltaa laitetta. Paikalliset säännökset saattavat asettaa rajoituksia käyttäjän iälle. Omistaja vastaa käyttäjien ja mekaanikkojen koulutuksesta.
Tutustu laitteen turvallisen käytön ohjeisiin, ohjauslaitteisiin ja turvamerkintöihin.
Sammuta moottori, irrota virta-avain ja odota, että kaikki liikkuvat osat pysähtyvät, ennen kuin poistut käyttäjän paikalta. Anna koneen jäähtyä ennen sen säätöä, huoltoa, puhdistusta tai varastointia.
Selvitä, kuinka koneen saa pysäytettyä ja moottorin sammutettua nopeasti.
Tarkista, että käyttäjän pitokytkimet, turvakytkimet ja suojukset ovat paikoillaan ja toimivat oikein. Älä käytä konetta, mikäli ne eivät toimi kunnolla.
Tarkasta aina ennen liikkumista, että terät, teräpultit ja leikkuujärjestelmät ovat hyvässä käyttökunnossa. Vaihda kuluneet tai vaurioituneet terät ja pultit sarjoissa, jotta tasapaino säilyisi.
Tarkasta koneen käyttöalue ja poista siltä kaikki esineet, joita kone voi singota.
Tämä tuote luo sähkömagneettisen kentän. Jos käytät implantoitavaa elektronista lääkinnällistä laitetta, ota yhteys terveydenhuollon ammattilaiseen ennen tämän tuotteen käyttöä.
Käsittele polttoainetta erittäin varovasti. Se on tulenarkaa, ja höyryt räjähtävät herkästi.
Sammuta savukkeet, sikarit, piiput ja muut sytytyslähteet.
Käytä vain hyväksyttyä polttoaineastiaa.
Älä irrota polttoainesäiliön korkkia tai täytä polttoainesäiliötä moottorin ollessa käynnissä tai kuuma.
Älä lisää tai tyhjennä polttoainetta suljetussa tilassa.
Älä säilytä konetta tai polttoainesäiliötä tilassa, jossa on avotuli, kipinöitä tai varmistusliekki (esimerkiksi vedenlämmitin tai muu vastaava laite).
Jos polttoainetta roiskuu, älä yritä käynnistää moottoria. Vältä luomasta minkäänlaisia kipinälähteitä, ennen kuin polttoainehöyryt ovat hälvenneet.
Tarkista moottorin kampikammion öljymäärä ennen moottorin käynnistämistä ja koneen käyttämistä. Katso kohta Moottoriöljyn määrän tarkistus.
Ennen kuin käynnistät moottorin ja käytät konetta, tarkasta jäähdytysjärjestelmä. Katso kohta Jäähdytysjärjestelmän tarkastus.
Ennen kuin käynnistät moottorin ja käytät konetta, tarkasta hydraulijärjestelmä. Katso kohta Hydraulinesteen tarkistus.
Tyhjennä vesi tai muut kertymät vedenerottimesta. Katso kohta Vedenerottimen huolto.
Polttoainesäiliön tilavuus: 79 l
Important: Käytä vain erittäin vähärikkistä dieselpolttoainetta. Suuremman rikkipitoisuuden polttoaine haurastuttaa hapetuskatalysaattoria, mikä aiheuttaa käyttöongelmia ja lyhentää moottorin osien käyttöikää.Seuraavien varoitusten laiminlyönti saattaa vaurioittaa moottoria.
Dieselpolttoaineen sijasta ei saa käyttää paloöljyä tai bensiiniä.
Dieselpolttoaineeseen ei saa sekoittaa paloöljyä tai käytettyä moottoriöljyä.
Polttoainetta ei sää säilyttää säiliöissä, joiden sisäpinta on sinkitty.
Polttoaineen lisäaineita ei saa käyttää.
Setaaniluku: 45 tai korkeampi
Rikkipitoisuus: Erittäin vähärikkinen (<15 ppm)
| Dieselpolttoaineen tiedot | Sijainti |
| ASTM D975 | Yhdysvallat |
| Nro 1-D S15 | |
| Nro 2-D S15 | |
| EN 590 | Euroopan unioni |
| ISO 8217 DMX | Kansainvälinen |
| JIS K2204, luokitus nro 2 | Japani |
| KSM-2610 | Korea |
Käytä vain puhdasta, tuoretta dieselpolttoainetta tai biodieselpolttoaineita.
Jotta polttoaine olisi tuoretta, osta sitä vain 180 päivän tarpeeseen.
Käytä kesälaatuista dieselpolttoainetta (nro 2-D) yli –7 °C:n lämpötiloissa ja talvilaatuista dieselpolttoainetta (nro 1-D tai nro 1-D / nro 2-D -seosta) alle –7 °C:n lämpötiloissa.
Note: Talvilaatuisen polttoaineen leimahduspiste on alhaisempi, ja sen kylmävirtausominaisuudet helpottavat käynnistystä ja vähentävät polttoainesuodattimen tukkeutumista.Kesälaatuisen polttoaineen käyttö lämpötilan ollessa yli –7 °C pidentää polttoainepumpun käyttöikää ja antaa talvilaatuista polttoainetta enemmän tehoa.
Tässä laitteessa voidaan käyttää myös polttoaineseosta, jossa on enintään 20 % biodieseliä (B20).
Rikkipitoisuus: Erittäin vähärikkinen (<15 ppm)
Biodieselpolttoaineen tiedot: ASTM D6751 tai EN 14214
Polttoaineseoksen tiedot: ASTM D975, EN 590 tai JIS K2204
Important: Petrodieselosuuden rikkipitoisuuden on oltava erittäin alhainen.
Noudata seuraavia varo-ohjeita:
Biodieselseokset voivat vahingoittaa maalattuja pintoja.
Käytä kylmällä säällä korkeintaan B5-seosta (biodieselpitoisuus 5 %).
Tarkkaile polttoaineen kanssa kosketuksiin joutuvia tiivisteitä ja letkuja, sillä ne voivat haurastua ajan mittaan.
Polttoainesuodattimeen voi muodostua tukoksia jonkin aikaa biodieselseosten käytön aloittamisen jälkeen.
Lisätietoja biodieselistä saa valtuutetulta Toro-jälleenmyyjältä.

Täytä säiliö noin 6–13 mm säiliön – ei täyttökaulan – yläreunan alapuolelle dieselpolttoaineella (nro 2-D).
Note: Täytä polttoainesäiliö aina käytön jälkeen, jos mahdollista. Tämä estää kosteutta tiivistymästä polttoainesäiliön sisälle.
| Huoltoväli | Huoltotoimenpide |
|---|---|
| Aina ennen käyttöä tai päivittäin |
|
Alhainen rengaspaine vähentää koneen vakautta rinteessä. Sen seurauksena kone voi kaatua, mikä voi johtaa tapaturmaan tai kuolemaan.
Älä käytä liian alhaisia rengaspaineita.
Renkaiden oikea ilmanpaine on 1,72–2,07 bar.
Important: Pidä renkaiden paineet suositelluissa rajoissa, jotta leikkuujäljen laatu pysyy hyvänä ja kone toimii oikein. Älä käytä liian alhaisia rengaspaineita.Tarkista kaikkien renkaiden rengaspaineet ennen koneen käyttöä.

| Huoltoväli | Huoltotoimenpide |
|---|---|
| Ensimmäisen käyttötunnin jälkeen |
|
| 10 ensimmäisen käyttötunnin jälkeen |
|
| 200 käyttötunnin välein |
|
Pyöränmuttereiden väärä kireys saattaa johtaa henkilövahinkoihin.
Kiristä pyöränmutterit asianmukaiseen momenttiin.
Kiristä pyöränmutterit momenttiin 115–136 N∙m oikeassa järjestyksessä (Kuva 13 ja Kuva 14).


Istu istuimella ja säädä taustapeiliä niin, että näet sen kautta hyvin ulos takaikkunasta (Kuva 15). Voit vähentää valon aiheuttamaa häikäisyä vetämällä vipua taaksepäin, jolloin peili kallistuu.
Istu istuimella ja pyydä toista henkilöä säätämään sivupeilejä niin, että näet ajoneuvon ympäristön hyvin niiden kautta (Kuva 15).

Löysää asennusmuttereita ja aseta molemmat ajovalot niin, että ne osoittavat suoraan eteenpäin.
Note: Kiristä asennusmutteria juuri sen verran, että ajovalo pysyy asennossaan.
Aseta tasainen metallilevy ajovalon etuosan päälle.
Kiinnitä levyyn magneettinen astelevy.
Pidä kokoonpanoa paikallaan ja kallista ajovaloa varovasti kolme astetta alaspäin. Kiristä sitten mutteri.
Toista toimenpide toiselle ajovalolle.
Kaatumisesta aiheutuvan loukkaantumisen tai kuoleman välttämiseksi turvakaari on pidettävä nostettuna lukitussa asennossa ja turvavyötä on käytettävä.
Varmista, että istuin on kiinnitetty istuimen salvalla.
Kaatumissuojausta ei ole, kun turvakaari on alhaalla.
Älä käytä konetta epätasaisessa maastossa tai rinteessä, jos turvakaari on alhaalla.
Laske turvakaari vain silloin, kun se on aivan välttämätöntä.
Älä käytä turvavyötä, kun turvakaari on alhaalla.
Aja hitaasti ja varovasti.
Nosta turvakaari ylös heti, kun tilaa on riittävästi.
Tarkista vapaa alikulkukorkeus (esim. puiden oksat, porttikäytävät, sähkölinjat) ennen kuin ajat mahdollisen esteen alitse. Varo osumasta esteeseen.


Leikkuukorkeutta voidaan säätää 25–127 mm:n korkeudelle 13 mm:n välein. Kun haluat säätää keskimmäisen leikkuuyksikön leikkuukorkeutta, aseta kääntöpyörän akselit kääntöpyörän haarukoiden ylempiin tai alempiin reikiin, lisää tai poista yhtä suuri määrä välikappaleita kääntöpyörän haarukoista ja asenna takaketju haluttuun reikään.
Pysäköi kone tasaiselle alustalle.
Käynnistä moottori ja nosta leikkuuyksiköt, jotta leikkuukorkeutta voidaan muuttaa.
Sammuta moottori, kytke seisontajarru ja irrota avain virtalukosta leikkuuyksikön noston jälkeen.
Aseta kääntöpyörän akselit kääntöpyörän haarukoihin toisiaan vastaaviin reikiin.

Note: Kun konetta käytetään 64 mm:n tai sitä korkeammalla leikkuukorkeudella, asenna akselipultti kääntöpyörän haarukan alempaan reikään, jotta pyörän ja haarukan väliin ei keräänny ruohoa. Kun konetta käytetään alemmalla leikkuukorkeudella kuin 64 mm ja siihen kertyy ruohoa, poista leikkuujätteet pyörän ja haarukan alueelta ajamalla konetta vastakkaiseen suuntaan.
Irrota kiristyskanta kara-akselista ja liu’uta kara pois kääntöpyörän varresta (Kuva 18).
Asenna kaksi välilevyä kara-akselille alkuperäisasennuksen mukaisesti.
Note: Nämä välilevyt edellyttävät, että leikkuuyksiköt ovat vaakasuorassa koko leveydeltään. Liu’uta sopiva määrä 13 mm:n välikappaleita (ks. alla oleva taulukko) kara-akselille halutun leikkuukorkeuden saavuttamiseksi. Liu’uta sitten aluslaatta akselin päälle.
Määritä asetukseen sopiva välikappalemäärä seuraavan taulukon avulla (Kuva 19):

Paina kääntöpyörän kara etummaisen kääntöpyörän varren läpi.
Asenna välilevyt (alkuperäisasennuksen mukaisesti) sekä jäljellä olevat välikappaleet kara-akselille.
Varmista kokoonpano asentamalla kiristyskanta.
Irrota sokka ja liitintappi, jotka kiinnittävät leikkuukorkeusketjut leikkuuyksikön takaosaan (Kuva 20).

Asenna leikkuukorkeusketjut haluttuun leikkuukorkeuden reikään liitintapilla ja sokalla (Kuva 21).

Note: Kun leikkuukorkeus on 25 mm, 38 mm tai toisinaan 51 mm, jalakset ja johtopyörät on siirrettävä yläasentoon.
Sivuleikkuuyksiköiden leikkuukorkeutta säädetään lisäämällä tai poistamalla yhtä suuri määrä välikappaleita kääntöpyörän haarukoista, asettamalla kääntöpyörän akselit haarukoissa oleviin suuren tai pienen leikkuukorkeuden aukkoihin ja asentamalla tapit valitun leikkuukorkeuden kannatinreikiin.
Aseta kääntöpyörän akselit kääntöpyörän haarukoihin toisiaan vastaaviin reikiin (Kuva 22 ja Kuva 24).
Irrota kiristyskanta kara-akselista ja liu’uta kara pois kääntöpyörän varresta (Kuva 22).

Asenna kaksi välilevyä kara-akselille alkuperäisasennuksen mukaisesti.
Note: Näiden välilevyjen avulla leikkuuyksiköt saadaan vaakasuoraan koko leveydeltään. Liu’uta sopiva määrä 13 mm:n välikappaleita (katso alla oleva taulukko) kara-akselille halutun leikkuukorkeuden saavuttamiseksi. Liu’uta sitten aluslaatta akselin päälle.
Määritä asetukseen sopiva välikappalemäärä seuraavan taulukon avulla (Kuva 23).

Paina kääntöpyörän kara etummaisen kääntöpyörän varren läpi.
Asenna välilevyt (alkuperäisasennuksen mukaisesti) sekä jäljellä olevat välikappaleet kara-akselille.
Irrota sokka ja liitintapit kääntöpyörän varsista (Kuva 24).
Nosta tai laske vartta kiristystankoa pyörittämällä, kunnes kaikki reiät on kohdistettu valittuihin leikkuukorkeuden kannatinreikiin leikkuupöydän rungossa (Kuva 24 ja Kuva 25).


Aseta liitintapit paikoilleen ja asenna sokat.
Pyöritä kiristystankoa vastapäivään (sormin kiristäen), jotta säätöön tulee jännitystä.
Aseta jalakset ala-asentoon ajettaessa yli 64 mm:n leikkuukorkeuksilla ja yläasentoon leikkuukorkeuden ollessa alle 64 mm.

Aseta leikkuupöydän rullat ala-asentoon ajettaessa yli 64 mm:n leikkuukorkeudella ja yläasentoon leikkuukorkeuden ollessa alle 64 mm.

Important: Ole varovainen käsitellessäsi moniteräisiä koneita, sillä yhden terän kääntäminen saattaa kääntää myös muita teriä.
Jotta leikkuuyksikkö toimisi oikein, sivuleikkuupöytien ja keskimmäisen leikkuupöydän terien kärkien välillä on oltava 10–16 mm:n etäisyys (Kuva 28).
Nosta leikkuuyksikkö, jotta terät tulevat näkyviin, ja tue keskimmäinen leikkuupöytä niin, ettei se voi pudota vahingossa.
Note: Sivuleikkuupöytien on oltava keskimmäiseen leikkuuyksikköön nähden vaakasuorassa.
Pyöritä keskimmäistä ja viereistä sivuterää niin, että terien kärjet ovat linjassa. Mittaa terien kärkien välinen etäisyys (Kuva 28).
Note: Etäisyyden pitäisi olla noin 10–16 mm..

Säädä etäisyyttä leikkuuyksikön taemman kääntövarren säätöpultin avulla (Kuva 29).
Löysää säätöpultin vastamutteria.
Löysää tai kiristä säätöpultteja, kunnes väli on 10–16 mm, ja kiristä sitten vastamutteri.
Tee sama leikkuuyksikön vastakkaisessa päässä.

Nurmiolojen ja ajoyksikön vastapainoasetusten erojen vuoksi kannattaa tehdä koeleikkuu ja tarkastaa leikkuujälki ennen varsinaisen leikkuun aloittamista.
Aseta kaikki leikkuuyksiköt haluamaasi leikkuukorkeuteen. Katso kohta Leikkuukorkeuden säätö.
Tarkista koneen etu- ja takarenkaiden ilmanpaineet ja säädä ne arvoon 1,72–2,07 bar.
Tarkista leikkuuyksikön kaikkien kääntöpyörien ilmanpaineet ja säädä ne arvoon 3,45 bar.
Tarkista lataus- ja vastapainopaineet moottorin käydessä KORKEIMMALLA joutokäyntinopeudella käyttämällä hydraulitestiportteja.
Note: Säädä vastapainon paineeksi 22,41 bar.
Tarkista, että terät eivät ole taipuneet. Katso kohta Taipuneen terän tarkistus.
Leikkaa ruohoa koealueelta ja varmista, että kaikki leikkuuyksiköt ovat samalla leikkuukorkeudella.
Jos leikkuupöytiä on vielä säädettävä, aja kone tasaiselle alustalle käyttäen apuna vähintään 2 m:n suorasyrjäviivainta.
Terätason mittaamisen helpottamiseksi leikkuukorkeus on nostettava 7,6–10,1 cm:iin. Katso kohta Leikkuukorkeuden säätö.
Laske leikkuuyksiköt tasaiselle alustalle ja irrota leikkuuyksiköiden päällä olevat suojukset.
Löysää kiristinpyörän kiinnittävää laippamutteria, jotta hihna löystyy jokaisessa leikkuuyksikössä.
Note: Kiristyskannan kiristämiseen suositellaan Toro-työkalua (osanro 121-3874).
Käännä terää kullakin karalla, kunnes päät osoittavat eteen- ja taaksepäin.
Mittaa lattiasta leikkuuterän etukärkeen.
Säädä etummaisen kääntöpyörän haarukoiden välilevyjä (3 mm tai ⅛ tuumaa) vastaamaan leikkuukorkeuden tarraa (Kuva 30). Katso kohta Leikkuukorkeuden säätö.

Käännä jokaisen karan terää, kunnes päät osoittavat eteen- ja taaksepäin.
Mittaa lattiasta leikkuuterän etukärkeen.
Säädä etummaisen kääntöpyörän varsien välilevyjä (3 mm tai ⅛ tuumaa) vastaamaan leikkuukorkeuden tarraa (Kuva 31).
Note: Katso terän ulkokaraa koskevat ohjeet kohdasta Leikkuukorkeuden säätö.

Aseta terä sivuttain molempien sivuleikkuuyksiköiden ulkokaralle.
Note: Mittaa etäisyys lattiasta kummankin yksikön leikkuusärmän kärkeen ja vertaa lukemia. Näiden lukemien on oltava 3 mm:n sisällä toisistaan. Älä tee mitään säätöjä tässä vaiheessa.
Aseta terä sivuttain sivuleikkuuyksikön sisäkaralle sekä vastaavalle etuleikkuuyksikön ulkokaralle.
Note: Mittaa etäisyys lattiasta leikkuusärmän kärkeen sivuleikkuuyksikön sisäreunasta sekä vastaavasta etuleikkuuyksikön ulkoreunasta ja vertaa lukemia. Sivuleikkuupöydän lukemien on oltava 3 mm:n sisällä etuleikkuuyksikön lukemista.
Note: Kaikkien kolmen leikkuuyksikön kääntöpyörien on pysyttävä maassa, kun vastapaino on asetettu oikein.
Note: Jos on tehtävä säätöjä etu- ja sivuleikkuuyksiköiden leikkauksen sovittamiseksi, säädöt tehdään vain sivuleikkuuyksiköihin.
Jos sivuleikkuuyksikön sisäreuna on liian korkealla suhteessa etuleikkuuyksikön ulkoreunaan, poista yksi välilevy sivuleikkuuyksikön etumaisen sisäkääntöpyörän varren alaosasta (Kuva 31).
Note: Tarkista mittaukset molempien puolien sivuleikkuuyksiköiden ulkoreunoista sekä sivuleikkuuyksikön sisäreunan ja etuleikkuuyksikön ulkoreunan väliltä uudelleen.
Jos sisäreuna on yhä liian korkealla, poista yksi välilevy lisää sivuleikkuuyksikön sisemmän etukääntöpyörän varren alaosasta ja yksi välilevy sivuleikkuuyksikön ulomman etukääntöpyörän varresta.
Jos sivuleikkuuyksikön sisäreuna on liian alhaalla suhteessa etuleikkuuyksikön ulkoreunaan, lisää yksi välilevy sivuleikkuuyksikön etumaisen sisäkääntöpyörän varren alaosaan.
Note: Tarkista mittaus molempien puolien sivuleikkuuyksiköiden ulkoreunoista sekä sivuleikkuuyksikön sisäreunan ja etuleikkuuyksikön ulkoreunan väliltä uudelleen.
Jos sisäreuna on yhä liian matalalla, lisää toinen välilevy sivuleikkuuyksikön sisemmän etukääntöpyörän varren alaosaan ja lisää yksi välilevy sivuleikkuuyksikön ulomman etukääntöpyörän varteen.
Kun etu- ja sivuleikkuuyksiköiden reunojen leikkuukorkeudet vastaavat toisiaan, varmista, että sivuleikkuupöydän kaltevuus on yhä 8–11 mm.
Note: Säädä tarvittaessa.
| Huoltoväli | Huoltotoimenpide |
|---|---|
| Aina ennen käyttöä tai päivittäin |
|
Koneen sähköjärjestelmässä on turvakytkimet. Kytkimet estävät joko ajoyksikön tai voimanulosoton toiminnan, kun käyttäjä poistuu istuimelta. Jos vapautat voimanulosoton ja kytket seisontajarrun ennen kuin poistut istuimelta, moottori pysyy käynnissä.
Aja kone hitaasti laajalle ja avoimelle alueelle. Laske leikkuuyksikkö, sammuta moottori ja kytke seisontajarru.
Istuudu istuimelle ja paina ajopoljinta. Yritä käynnistää moottori. Moottori ei saa käynnistyä. Jos moottori käynnistyy, turvajärjestelmässä on vika, joka on korjattava ennen koneen käyttöä.
Istu istuimelle, käynnistä moottori ja kytke voimanulosotto. Istu istuimella voimanulosoton ollessa kytketty ja nouse istuimelta. Voimanulosoton pitäisi vapautua pienen viiveen jälkeen. Jos voimanulosoton vipu kytkeytyy päälle, turvajärjestelmässä on vika, joka on korjattava ennen koneen käyttöä.
Istuudu istuimelle, kytke käsijarru päälle ja käynnistä moottori. Siirrä ajopoljin pois VAPAA-asennosta. Tietokeskuksessa näkyy viesti ”ajo kielletty”, eikä koneen pitäisi liikkua. Jos kone liikkuu, turvajärjestelmässä on vika, joka on korjattava ennen koneen käyttöä.
| Atomic-terä | Tasasiipiterä | Normaali siipiterä | Keskitasoinen siipiterä | |
| Nurmiolosuhteet | Märkä, tahmea ja kevätkasvu | Kevyt tai harva nurmi | Normaali leikkuu | Kaikki olosuhteet tai voimakas kasvu |
| Lehtien levitys | Toimii hyvin | Älä käytä | Toimii hyvin | Toimii hyvin |
| Edut | Vähemmän nostoa, hajottaa paakkuuntuneen leikkuujätteen | Ei aiheuta paljon ilmavirtausta pölyisellä, hiekkaisella ja harvalla nurmella | Yleisesti hyvä suorituskyky | Enemmän nostoa ja vähemmän pyörrettä kuin normaalilla terällä, yleisesti hyvä |
| Haitat | Vähemmän nostoa ja vähemmän levitystä raskaissa olosuhteissa | Ei suositella normaaleihin tai raskaisiin olosuhteisiin |
Näytössä on tietoja koneen käyttötilasta, vianmääritystietoja ja muita koneeseen liittyviä tietoja. Näytössä on useita näyttöruutuja. Näyttöjen välillä voidaan siirtyä milloin tahansa painamalla jotakin näyttöpainiketta ja valitsemalla sitten sopiva nuolen suunta.

Note: Kunkin painikkeen käynnistämä toiminto vaihtelee tilanteen mukaan. Jokaisessa painikkeessa näkyy kuvake, joka ilmaisee painikkeen sillä hetkellä käytössä olevan toiminnon.
![]() | Tuntilaskuri |
![]() | Sivun vaihto |
![]() | Virtual Pedal Stop ‑ominaisuuden asetukset |
![]() | Hehkutulpat ovat käytössä. |
![]() | Kuljettajan on oltava istuimella. |
![]() | Seisontajarru on kytkettynä. |
![]() | Moottorin jäähdytysnesteen lämpötila (°C tai °F) |
![]() | Ajo tai ajopoljin |
![]() | Vakionopeussäädin on kytketty. |
![]() | Nollaus odottaa -regeneraatiopyyntö |
| Pysäköinti- tai palautusregeneraatiopyyntö | |
![]() | Pysäköinti- tai palautusregeneraatio on käynnissä. |
![]() | Korkea pakokaasujen lämpötila |
![]() | Typpioksidipäästöjen seurannassa toimintahäiriö. Palauta kone myyntipisteeseen ja ota yhteys valtuutettuun Toro-jälleenmyyjään (ohjelmistoversio U ja sitä uudemmat). |
![]() | Voimanulosotto on pois käytöstä. |
![]() | Voimanulosotto on käytössä. |
![]() | Akku |
![]() | Polttoainemäärä |
![]() | Varoitus |
![]() | Aktiivinen |
![]() | Ei aktiivinen |
![]() | Edellinen |
![]() | Seuraava |
![]() | Leikkuuyksiköt nousevat. |
![]() | Leikkuuyksiköt laskeutuvat. |
![]() | Edellinen näyttö |
![]() | Nopea |
![]() | Hidas |
![]() | Nosta arvoa |
![]() | Laske arvoa |
![]() | Valikko |
![]() | Vieritä ylös/alas |
![]() | Vieritä vasemmalle/oikealle |
![]() | Lukittu |
![]() | PIN-käyttökoodi |
Avaa tietokeskuksen valikko painamalla päänäytössä valikkopainiketta. Esiin tulee päävalikko. Valikkojen toiminnot on merkitty lyhyesti seuraaviin taulukoihin:
| Päävalikko – valikon kohta | Kuvaus |
| Viat | Viat-valikossa on lueteltu koneen viimeaikaiset viat. Lisätietoja Viat-valikosta ja sen sisältämistä tiedoista saa huolto-oppaasta tai valtuutetulta Toro-jälleenmyyjältä. |
| Huolto | Huoltovalikossa on koneeseen liittyviä tietoja, kuten käyttötuntimerkintöjä ja muita vastaavia lukuja. |
| Diagnostiikka | Diagnostiikka-valikossa näkyy koneen kaikkien kytkinten, antureiden ja ohjainten ulostulojen tila. Sitä voi käyttää joidenkin ongelmien vianmääritykseen, koska siitä näkee nopeasti, mitkä koneen ohjaimet ovat KäYTöSSä ja mitkä POIS KäYTöSTä. |
| Asetukset | Asetukset-valikossa voi muokata näytön asetusten muuttujia. |
Machine Settings (Koneen asetukset)![]() | Machine Settings (Koneen asetukset) -valikon avulla voit säätää automaattisen joutokäynnin, nopeuden, Smart Powerin, peruutushälyttimen ja kaltevuusanturin kynnysarvoja. |
| Tietoja | Tietoja-valikossa on mainittu koneen mallinumero, sarjanumero ja ohjelmiston versio. |
| Huolto – valikon kohta | Kuvaus |
| Hours (tunnit) | Näyttää kokonaisajan, jonka kone, moottori ja voimanulosotto ovat olleet käytössä, sekä ajan, jonka verran konetta on kuljetettu ja milloin se on huollettava. |
| Counts | Näyttää koneen laskennat. |
| DPF Regeneration (Hiukkassuodattimen regeneraatio) | Dieselhiukkassuodattimen regeneraatio ja hiukkassuodattimen alivalikot |
| Fan Reverse (Taaksepäinpuhallus) | Mahdollistaa taaksepäinpuhallusjakson aloittamisen. |
Fuel Rate (Polttoaineen virtausnopeus)![]() | Näyttää keskimääräisen polttoaineen virtausnopeuden. |
Traction Pedal (Ajopoljin)![]() | Näyttää ajopolkimen säätöarvot ja mahdollistaa ajopolkimen säädön. |
| Diagnostiikka – valikon kohta | Kuvaus |
| Left Deck (Vasen leikkuupöytä) | Ilmaisee näiden komponenttien tulon ja lähdön. |
| Center Deck (Keskimmäinen leikkuupöytä) | |
| Right Deck (Oikea leikkuupöytä) | |
| Traction Pedal (Ajopoljin) | |
| Traction (Veto) | |
| Ylempi/alempi nopeusalue | |
| PTO (Voimanulosotto) | |
| Engine (Moottori) | |
| Cruise Control (Vakionopeussäädin) | |
| Valosarja |
| Asetukset – valikon kohta | Kuvaus |
| Anna PIN-koodi | Antaa käyttäjän (viheriön hoitaja / mekaanikko), jolle tämän yritys on antanut PIN-koodin, käyttää suojattuja valikoita. |
Protected Settings (Suojatut asetukset)![]() | Antaa käyttäjän, jolle tämän yritys on antanut PIN-koodin, käyttää suojattuja asetuksia. |
Reset Defaults (Oletusasetusten nollaus)![]() | Palauttaa asetukset oletusasetuksiin. |
| Backlight (Taustavalo) | Säätää LCD-näytön kirkkauden. |
| Kieli | Tietokeskuksessa käyttävien kielten hallinta* |
| Font Size (Fonttikoko) | Määrittää fontin koon näytössä. |
| Yksiköt | Kontrolloi tietokeskuksen yksiköitä (brittiläiset mitat tai metrijärjestelmä). |
Note: Machine Settings (Koneen asetukset) -valikko tulee näkyviin vain, kun PIN-koodi on syötetty.
Machine Settings (Koneen asetukset) – valikkokohde![]() | Kuvaus |
Automaattinen joutokäynti ![]() | Säätelee aikaa, jonka jälkeen käyttämätön kone siirtyy joutokäyntitilaan |
Mow Speed (Leikkuunopeus) ![]() | Säätelee enimmäisnopeutta leikattaessa (alempi nopeusalue). |
Transport Speed (Kuljetusnopeus) ![]() | Säätelee enimmäisnopeutta, kun laitetta kuljetetaan (ylempi nopeusalue). |
Smart Power ![]() | Kytkee Smart Power -tilan päälle ja pois. |
Backup Alarm (Peruutushälytin) ![]() | Ilmaisee, että peruutushälytin on asennettu. |
Slope Sensor Installed (Kaltevuusanturi asennettu) ![]() | Osoittaa, että kaltevuusanturi on asennettu. |
| Tietoja – valikon kohta | Kuvaus |
| Malli | Näyttää koneen mallinumeron. |
| SN | Näyttää koneen sarjanumeron. |
| S/W Rev | Näyttää ensisijaisen ohjaimen ohjelmiston version. |
| Stage V (Vaihe V) | Näyttää kyllä tai ei moottorista riippuen. |
XDM-2700![]() | Näyttää tietokeskuksen ohjelmiston version. |
CAN (CAN-väylä)![]() | Näyttää koneen tietoliikenneväylän tilan. |
S/W Rev-S (Ohjelmistoversio – toissij.)![]() | Näyttää toissijaisen ohjaimen ohjelmistoversion. |
Suojatuissa
valikoissa – pääsy vain PIN-koodilla
Tietokeskuksen ASETUKSISSA on käyttökokoonpanoasetuksia, joita voidaan säätää. Lukitse nämä asetukset PROTECTED MENU (Suojattu valikko) -valikossa.
Note: Jälleenmyyjä ohjelmoi alkuperäisen käyttökoodin toimitushetkellä.
Note: Koneen oletus-PIN on joko 0000 tai 1234.Jos vaihdoit PIN-koodin ja unohdit uuden koodin, ota yhteys valtuutettuun Toro-jälleenmyyjään.
Etsi PääVALIKOSTAASETUKSET-valikko ja paina valintapainiketta (Kuva 33).

Etsi ASETUKSET-valikosta ANNA PIN-KOODI ja paina valintapainiketta (Kuva 34A).

PIN-koodi syötetään painamalla navigointipainikkeita ylös/alas, kunnes oikea ensimmäinen numero tulee näkyviin, ja siirtymällä sitten toiseen numeroon painamalla oikeanpuoleista navigointipainiketta (Kuva 34B ja Kuva 34C). Toista, kunnes kaikki numerot on annettu.
Paina valintapainiketta.
Note: Jos näyttö hyväksyy PIN-koodin ja suojattu valikko avataan, näytön oikeassa yläkulmassa näkyy sana ”PIN”.
Voit lukita suojatun valikon kääntämällä avainkytkimen PYSäYTYS-asentoon ja sitten KäYNNISSä-asentoon.
Vieritä kohdassa SETTINGS (Asetukset) kohtaan PROTECT SETTINGS (Suojaa asetukset).
SUOJAA ASETUKSET voidaan
vaihtaa
(Pois)
‑tilaan valintapainikkeella. Tällöin asetuksia voidaan tarkastella
ja muuttaa ilman PIN-koodia.
Näytä ja muuta asetuksia PIN-koodilla vaihtamalla SUOJAA ASETUKSET ‑kohta
(Päällä)
‑tilaan valintapainikkeella, asettamalla PIN-koodi ja kääntämällä
avain virtalukossa PYSäYTYS-asentoon
ja sitten KäYNNISSä-asentoon.
Huollon määräajan ajastin nollaa huollon määräajan, kun aikataulun mukaiset huoltotoimenpiteet on suoritettu.
Vieritä kohdassa SETTINGS (Asetukset) kohtaan ENTER PIN (Anna PIN-koodi) ja paina valintapainiketta.
Anna PIN-koodi. Katso kohta Suojattujen valikoiden käyttö.
Siirry kohdassa SERVICE (Huolto) kohtaan HOURS (Ajat) ja paina valintapainiketta.
Vieritä kohtaan HUOLLON MääRäAIKA.
Note: Jos huollon määräaika on nyt, kohdan HUOLLON MääRäAIKA vieressä lukee NOW (NYT).
Korosta huoltoväli ja paina valintapainiketta.
Note: Huoltoväli (250 Hrs, 500 Hrs jne.) on kohdan SERVICE DUE (Huollon määräaika) vieressä.Huoltoväli sisältyy suojattuun valikkoon.
Kun näyttöön ilmestyy teksti RESET SERVICE TIMER? (NOLLATAANKO HUOLTOAJASTIN?), valitse valintapainikkeella YES (Kyllä) tai paluupainikkeella NO (Ei).
Kun olet valinnut YES (Kyllä), huoltovälinäyttö tyhjenee ja huoltoaikavalinnat tulevat uudelleen näkyviin.
Siirry Asetukset-valikon kohtaan Automaattinen joutokäynti.
Vaihda sisempää oikeaa tai vasenta painiketta painamalla automaattisen joutokäynnin asetukseksi POIS, 8S, 10S, 15S, 20S tai 30S.
Etsi Asetukset-valikosta suojattu valikko ja paina oikeaa painiketta.
Lisää enimmäisleikkuunopeutta (50 %, 75 % tai 100 %) painamalla sisempää oikeaa painiketta.
Vähennä enimmäisleikkuunopeutta (50 %, 75 % tai 100 %) painamalla sisempää vasenta painiketta.
Poistu valikosta painamalla vasemmanpuoleista painiketta.
Etsi Asetukset-valikosta kohta Transport Speed (kuljetusnopeus) ja paina oikeanpuoleista painiketta.
Lisää enimmäiskuljetusnopeutta (50 %, 75 % tai 100 %) painamalla sisempää oikeaa painiketta.
Vähennä enimmäiskuljetusnopeutta (50 %, 75 % tai 100 %) painamalla sisempää vasenta painiketta.
Poistu valikosta painamalla vasenta painiketta.
Kun olet lopettanut asetusten säätämisen suojatussa valikossa, siirry päävalikkoon painamalla vasenta painiketta. Siirry sitten ajovalikkoon painamalla vasenta painiketta.
Vieritä kohdassa SETTINGS (Asetukset) kohtaan SMART POWER.
Kytke toiminto PääLLE tai POIS painamalla oikeaa navigointipainiketta.

Valo vilkkuu punaisena: aktiivinen vika
Jatkuva punainen: aktiivinen ilmoitus
Jatkuva vihreä: normaali toiminta
Vilkkuva vihreä: päivitetään koodia
Omistaja ja käyttäjä voivat estää loukkaantumisia tai omaisuusvahinkoja aiheuttavat tapaturmat ja ovat siksi vastuussa niistä.
Pukeudu asianmukaisesti. Käytä silmäsuojaimia, pitkiä housuja, tukevia liukastumisen estäviä kenkiä ja kuulosuojaimia. Sido pitkät hiukset. Älä käytä löysiä vaatteita tai riippuvia koruja.
Älä käytä konetta sairaana, väsyneenä tai alkoholin tai huumaavien aineiden vaikutuksen alaisena.
Koneen käyttö vaatii käyttäjän täyden huomion. Jos käyttäjän huomio keskittyy muualle, saattaa seurata henkilö- tai omaisuusvahinko.
Varmista ennen moottorin käynnistämistä, että kaikki käytöt ovat vapaalla ja että seisontajarru on kytketty. Käynnistä moottori ollessasi käyttäjän paikalla.
Älä kuljeta matkustajia koneessa äläkä päästä sivullisia tai lapsia käyttöalueelle.
Käytä konetta vain, kun näkyvyys on hyvä, jotta vältät kuopat ja piilevät vaarat.
Vältä märän ruohon leikkuuta. Heikentynyt pito voi aiheuttaa koneen luisumisen.
Pidä kädet ja jalat etäällä pyörivistä osista. Pysy etäällä heittoaukosta.
Varmista ennen peruuttamista, että reitti on vapaa, katsomalla taakse ja alas.
Ole varovainen lähestyessäsi kulmia, joissa on huono näkyvyys, pensaita, puita tai muita näköesteitä.
Pysäytä terät, jos et leikkaa ruohoa.
Jos kone osuu esteeseen tai tärisee epätavallisesti, pysäytä kone, irrota virta-avain ja odota, että kaikki liikkuvat osat ovat pysähtyneet, ennen kuin tarkastat lisälaitteen. Suorita tarvittavat korjaukset ennen koneen käytön jatkamista.
Hidasta ja ole varovainen kääntyessäsi koneella ja ylittäessäsi teitä ja jalkakäytäviä. Anna muille aina etuajo-oikeus.
Kytke leikkuuyksikön käyttö pois, sammuta moottori, irrota virta-avain ja odota, että kaikki liike on pysähtynyt, ennen kuin säädät leikkuukorkeutta (ellei sitä voi säätää käyttäjän paikalta).
Käytä moottoria vain tiloissa, joissa on hyvä ilmanvaihto. Pakokaasut sisältävät hiilimonoksidia, joka on hengenvaarallinen hengitettäessä.
Älä jätä käynnissä olevaa konetta ilman valvontaa.
Suorita seuraavat toimenpiteet ennen käyttäjän paikalta poistumista:
Pysäköi kone tasaiselle alustalle.
Vapauta voimanulosotto ja laske lisälaitteet alas.
Kytke seisontajarru.
Sammuta moottori ja irrota virta-avain.
Odota, että kaikki liikkuvat osat ovat pysähtyneet.
Käytä konetta vain, kun näkyvyys on hyvä. Älä käytä konetta ukonilman aikana.
Älä käytä konetta hinaukseen.
Käytä vain Toron hyväksymiä lisävarusteita, lisälaitteita ja varaosia.
Käytä vakionopeussäädintä (jos varusteena) vain silloin, kun konetta voidaan käyttää avoimella ja tasaisella alueella, jossa ei ole esteitä ja jossa kone voi liikkua tasaisella nopeudella keskeytyksettä.
Kaatumissuojausjärjestelmä on keskeinen ja tehokas turvalaite.
Älä irrota mitään kaatumissuojausjärjestelmän osia koneesta.
Varmista, että turvavyö on kiinnitetty koneeseen.
Vedä turvavyön hihna vatsasi yli ja kiinnitä vyö istuimen toisella puolella olevaan solkeen.
Kun haluat irrottaa turvavyön, pitele siitä kiinni, vapauta se painamalla soljen painiketta ja ohjaa se automaattiseen sisäänvetoaukkoon. Varmista, että turvavyö on nopeasti avattavissa hätätilanteessa.
Tarkista vapaa alikulkukorkeus ja varo osumasta esteisiin.
Pidä kaatumissuojausjärjestelmä turvallisessa käyttökunnossa tarkistamalla se vaurioiden varalta säännöllisesti ja pitämällä kaikki kiinnittimet tiukalla.
Vaihda vaurioituneet kaatumissuojausjärjestelmän osat. Älä korjaa tai muuta niitä.
Toron asentama ohjaamo toimii turvakaarena.
Käytä aina turvavyötä.
Taittuva turvakaari on pidettävä nostettuna ja lukitussa asennossa ja turvavyötä on käytettävä koneen käytön aikana, kun turvakaari on yläasennossa.
Laske taittuva turvakaari väliaikaisesti vain silloin, kun se on välttämätöntä. Älä käytä turvavyötä, kun turvakaari on alhaalla.
Huomaa, että kaatumissuojausta ei ole, kun taittuva turvakaari on alhaalla.
Tutki leikattava alue, äläkä koskaan taita taittuvaa turvakaarta alas alueilla, joilla on rinteitä, pudotuksia tai vettä.
Rinteissä on huomattava koneen hallinnan menettämisen ja kaatumisen vaara. Tällaiset onnettomuudet voivat aiheuttaa vakavan tapaturman tai kuoleman. Käyttäjä on vastuussa turvallisesta käytöstä rinteissä. Koneen käyttö rinteissä edellyttää erityistä huolellisuutta.
Käyttäjän on arvioitava leikkuupaikan olosuhteet ja tarkastettava käyttöpaikka ja määritettävä niiden perusteella, onko rinne turvallinen koneen käyttöön. Tämä tarkastus on tehtävä huolellisesti ja harkiten.
Kun käytät konetta rinteissä, tarkista alla olevat ohjeet ja määritä, voidaanko konetta käyttää kyseisellä paikalla ja kyseisissä olosuhteissa. Maaston muutokset voivat vaikuttaa koneen käyttöön rinteissä.
Vältä koneen käynnistämistä, pysäyttämistä tai kääntämistä rinteissä. Vältä nopeuden tai suunnan äkillistä muuttamista. Käänny hitaasti ja vähän kerrallaan.
Älä käytä konetta olosuhteissa, joissa pito, ohjaus tai vakaus ovat kyseenalaisia.
Poista tai merkitse esteet, kuten ojat, kuopat, urat, töyssyt, kivet tai muut piilevät vaarat. Korkea ruoho voi peittää esteet. Maaston epätasaisuudet voivat kaataa koneen.
Huomaa, että koneen käyttö märässä ruohossa, poikittain rinteissä tai alamäessä saattaa johtaa koneen pidon menettämiseen. Pidon menetys vetopyörissä saattaa aiheuttaa luisumisen ja jarrujen ja ohjauksen hallinnan menetyksen.
Käytä konetta erityisen varovasti pudotusten, ojien, vallien, vesiesteiden tai muiden vaarojen lähellä. Kone voi kaatua yllättäen, jos pyörä menee reunan yli tai jos reuna sortuu. Määritä suoja-alue koneen ja mahdollisen vaaran välille.
Tunnista vaarat rinteen juurella. Jos vaaroja on, leikkaa rinne kävellen ohjattavalla ruohonleikkurilla.
Jos mahdollista, pidä leikkuuyksiköt laskettuina alas rinteissä käytön aikana. Leikkuuyksiköiden nostaminen rinteissä käytön aikana voi heikentää koneen vakautta.
Ole erittäin varovainen käyttäessäsi ruohonkeräysjärjestelmiä tai muita lisälaitteita. Ne voivat vaikuttaa koneen vakauteen ja aiheuttaa hallinnan menetyksen.
Harjoittele koneella ajamista, koska siinä on hydrostaattinen vaihteisto ja se on ominaisuuksiltaan erilainen kuin monet nurmikonhoitokoneet. Ajoyksikköä, leikkuuyksikköä tai muita lisälaitteita käytettäessä kannattaa huomioida, että muun muassa vaihteiston toiminta, moottorin käyntinopeus ja leikkuuterien tai muiden lisälaitteiden kuormitus vaikuttavat koneen tehokkuuteen.
Toro Smart Power™ -ominaisuuden ansiosta kuljettajan ei tarvitse kuulostella moottorin nopeutta raskaassa kuormituksessa. Smart Power ehkäisee moottorin juuttumista raskaissa leikkuuolosuhteissa säätelemällä automaattisesti koneen nopeutta ja optimoimalla leikkuutuloksen.
Jarruja voidaan käyttää apuna käännettäessä konetta. Käytä jarruja kuitenkin varovasti varsinkin pehmeässä tai kosteassa ruohikossa, koska nurmikko voi tällöin rikkoutua. Toinen jarruista saatava hyöty on ajotoiminnon ylläpitäminen. Esimerkiksi joissakin rinneolosuhteissa ylämäen pyörä voi luistaa ja menettää pidon. Paina tällaisessa tilanteessa ylämäen jarrupoljinta vähitellen ja katkonaisesti, kunnes ylämäen puoleinen pyörä lakkaa luistamasta. Näin alamäen puoleisen pyörän pito paranee.
Vetoapu on automaattinen, eikä kuljettajan tarvitse käyttää sitä. Kun pyörä alkaa luisua, virtaus jakautuu automaattisesti etu- ja takapyörien välillä, jotta pyörän luisto olisi mahdollisimman vähäinen ja pito mahdollisimman hyvä.
Ennen moottorin sammuttamista kytke kaikki ohjauslaitteet pois päältä ja siirrä kaasuvipu HIDAS-asentoon. Kun kaasuvipu on HIDAS-asennossa, moottorin pyörintänopeus laskee ja melu sekä tärinä vähenevät. Sammuta moottori kääntämällä virta-avain PYSäYTYS-asentoon. Irrota virta-avain, jos poistut käyttäjän paikalta.
Ennen koneen siirtämistä toiseen paikkaan nosta leikkuuyksiköt ja kiinnitä kuljetuslukitsimet (Kuva 36).

Käynnistä moottori ja käytä sitä PUOLINOPEALLA JOUTOKäYNNILLä, kunnes se lämpenee. Vaihda moottorin nopeus KORKEALLE JOUTOKäYNNILLE, nosta leikkuuyksiköt, vapauta seisontajarru, paina ajopoljinta ja aja varovasti avoimelle alueelle.
Harjoittele ajoa eteen- ja taaksepäin sekä liikkeelle lähtöä ja pysähtymistä. Kun haluat pysäyttää koneen, ota jalka pois ajopolkimelta ja anna sen palata VAPAA-asentoon, tai pysäytä kone painamalla peruutuspoljinta.
Note: Jos ajat alas rinnettä, saatat joutua käyttämään peruutuspoljinta pysähtymiseen.
Harjoittele esteiden kiertoa leikkuuyksiköt laskettuna ja nostettuna. Varo vahingoittamasta konetta tai leikkuuyksiköitä ajaessasi kapeista väleistä.
Aja aina hitaasti epätasaisilla alueilla.
Jos tiellä on este, nosta leikkuuyksiköitä, jotta pääset leikkaamaan helposti sen ympäriltä.
Kun konetta kuljetetaan työalueelta toiselle, nosta leikkuuyksiköt täysin ylös, vapauta voimanulosotto, paina leikkuunohjauskytkin KULJETUS-asentoon ja aseta kaasuvipu NOPEA-asentoon.
Vastapainojärjestelmä pitää yllä leikkuupöydän nostosylintereiden hydraulista vastapainetta. Tämä paine parantaa vetoa siirtämällä leikkuupöydän painon leikkurin vetopyörille. Vastapainon paine on asetettu tehtaalla niin, että leikkuujälki ja vetokyky ovat mahdollisimman hyvässä tasapainossa useimmissa nurmiolosuhteissa.
Vastapainon asetusta vähentämällä voi lisätä leikkuuyksikön vakautta, mutta samalla vetokyky voi heiketä. Vetokykyä voi lisätä kasvattamalla vastapainon asetusta, mutta tämä voi heikentää leikkuujälkeä. Vastapainon paineen säädöstä on lisätietoja ajoyksikön huolto-oppaassa.
Important: Hätäjarrutuksissa ota jalka pois ajopolkimelta ja paina sitten jarrupolkimia.
Jarruja voi käyttää yksittäin kääntymiseen tai pidon parantamiseen vain alhaisilla nopeuksilla. Kun käytät jarruja yksittäin, toimi seuraavasti:
Irrota polkimien lukitussalpa (Kuva 4).
Jos haluat apua kääntymiseen, paina kääntymispuolta vastaavaa jarrupoljinta. Se mahdollistaa pienemmän kääntösäteen.
Note: Käytä yksittäisiä jarruja varovasti varsinkin pehmeässä tai kosteassa ruohikossa, koska nurmi voi tällöin rikkoutua.
Jos haluat lisää pitoa, paina kevyesti sitä jarrupoljinta, joka vastaa luistavaa eturengasta. Esimerkiksi joissakin rinneolosuhteissa ylämäen pyörä voi luistaa ja menettää pidon. Paina tällaisessa tilanteessa ylämäen jarrupoljinta vähitellen ja katkonaisesti, kunnes ylämäen puoleinen pyörä lakkaa luistamasta. Näin alamäen puoleisen pyörän pito paranee.
Smart Power -ominaisuuden ansiosta kuljettajan ei tarvitse kuunnella moottorin nopeutta raskaassa kuormituksessa. Smart Power ehkäisee moottorin juuttumista raskaissa leikkuuolosuhteissa säätelemällä automaattisesti koneen nopeutta ja optimoimalla leikkuutuloksen.
Note: Smart Power -ominaisuus on oletusarvoisesti KäYTöSSä.
Hydraulinesteen ja moottorin jäähdytysnesteen lämpötila säätelevät koneen puhaltimen nopeutta. Taaksepäinpuhallusjakso käynnistyy automaattisesti, kun hydraulineste tai jäähdytysneste saavuttaa tietyn lämpötilan. Toiminto puhaltaa roskat takasäleiköstä sekä laskee moottorin jäähdytysnesteen ja hydraulinesteen lämpötilaa.
Puhaltimen taaksepäinpuhallusjakso voidaan käynnistää ja suorittaa manuaalisesti huoltovalikosta painamalla näytössä RUN SCREEN (Ajonäyttö) yhtä aikaa sisempää oikeaa ja vasenta painiketta, kun puhallinkuvakkeet näkyvät kontekstivalikossa. Taaksepäinpuhallus on suositeltavaa käynnistää manuaalisesti ennen työskentelyalueelta poistumista sekä ennen koneen viemistä huolto- tai säilytystilaan.
Note: Kun pyyntösi tunnistetaan, tilapäisessä näytössä (3–4 sekuntia) näkyy puhallin suorakulmion sisällä. Tämä tarkoittaa, että pyyntösi lähetettiin, mutta tietyt ehdot estävät taaksepäinpuhalluksen.
Koneessa on automaattinen joutokäyntitoiminto, joka vaihtaa moottorin joutokäynnille, kun seuraavia toimintoja ei ole käytetty tietokeskuksessa määritettyyn aikaan.
Ajopoljin palautetaan VAPAA-asentoon.
PTO on pois päältä.
Nostokytkimet eivät ole käytössä.
Kun jotakin yllä mainituista toiminnoista käytetään, koneen kaasu palaa automaattisesti aikaisempaan tilaan.
Vakionopeussäätimen kytkimellä voidaan lukita polkimen asento ja säilyttää haluttu ajonopeus. Vakionopeussäädin poistetaan käytöstä painamalla kytkimen takaosaa, kytkimen keskiasento ottaa vakionopeussäätimen käyttöön ja kytkimen etuosalla määritetään haluttu ajonopeus.
Note: Vakionopeussäädin voidaan poistaa käytöstä myös painamalla jarrupoljinta tai siirtämällä ajopoljin peruutusasentoon sekunnin ajaksi.
Important: Polttoainejärjestelmä ilmaa itsensä automaattisesti seuraavissa tilanteissa:
Käynnistettäessä uusi kone ensimmäistä kertaa.
Moottori on pysähtynyt polttoaineen loppumisen vuoksi.
Polttoainejärjestelmää on huollettu.
Nosta jalka ajopolkimelta ja tarkista, että se on vapaalla. Tarkista, että seisontajarru on kytkettynä.
Siirrä moottorin nopeuskytkin ALHAISEN JOUTOKäYNTINOPEUDEN asentoon.
Käännä virta-avain KäYNNISSä-asentoon.
Note: Hehkutulppien merkkivalo syttyy.
Kun hehkutulppien merkkivalo sammuu, käännä virta-avain KäYNNISTYS-asentoon. Vapauta virta-avain heti moottorin käynnistyttyä ja anna sen palata KäYNNISSä-asentoon.
Important: Älä käytä käynnistysmoottoria yli 30 sekuntia yhdellä kertaa, koska se voi vaurioitua. Jos moottori ei käynnisty 30 sekunnin kuluessa, käännä virta-avain POIS-asentoon, tarkista ohjauslaitteet ja toimenpiteet, odota vielä 30 sekuntia ja yritä käynnistää uudelleen.
Anna moottorin lämmetä keskinopeuksilla (ilman kuormaa) ja siirrä sitten kaasuvipu haluttuun asentoon.
Important: Kun konetta on käytetty täydellä kuormalla, anna moottorin käydä joutokäynnillä viisi minuuttia, ennen kuin sammutat sen. Muutoin turboahtimeen voi tulla vikoja.
Important: Kun konetta on käytetty täydellä kuormalla, anna moottorin käydä joutokäynnillä viisi minuuttia, ennen kuin sammutat sen. Näin turboahdin ehtii jäähtyä ennen moottorin sammuttamista. Muutoin turboahtimeen voi tulla vikoja.
Note: Laske leikkuuyksiköt maahan aina, kun kone on pysäköitynä. Tämä vähentää hydraulijärjestelmän kuormitusta, ehkäisee järjestelmän osien kulumista ja estää myös leikkuuyksiköiden laskemisen vahingossa.
Siirrä kaasuvipua taaksepäin HITAALLE.
Siirrä voimanulosoton kytkin POIS-asentoon.
Kytke seisontajarru.
Käännä virta-avain PYSäYTYS-asentoon.
Irrota avain virtalukosta, jotta moottori ei käynnisty vahingossa.
Moottorin nopeuskytkimessä on kaksi tilaa, joilla moottorin nopeutta voi muuttaa. Moottorin nopeutta voidaan nostaa tai laskea 100 kierr./min kerrallaan napauttamalla kytkintä. Kun kytkintä pidetään painettuna, moottori siirtyy automaattisesti KORKEIMMALLE tai ALHAISIMMALLE JOUTOKäYNTINOPEUDELLE sen mukaan, kumpaa kytkimen puolta painetaan.
Työnvalvoja (suojattu valikko)
Toiminnon avulla työnvalvoja voi määrittää käyttäjän käytössä olevan enimmäisleikkuunopeuden tasoksi 5 %:n askelin 30–100 % (alempi nopeusalue).
Kuljettaja
Toiminnon avulla kuljettaja voi säätää enimmäisleikkuunopeutta
(alempi nopeusalue) työnvalvojan asettamissa rajoissa. Kun näkyvissä
on tietokeskuksen odotus- tai päänäyttö, säädä
nopeutta painamalla keskimmäistä painiketta (
-kuvake).
Note: Kun vaihdetaan alemman ja ylemmän nopeusalueen välillä, asetukset muuttuvat aiempien asetusten perusteella. Asetukset nollataan, kun koneesta katkaistaan virta.
Note: Ominaisuutta voidaan myös käyttää vakionopeussäätimen kanssa.
Työnvalvoja (suojattu valikko)
Toiminnon avulla työnvalvoja voi määrittää käyttäjän käytössä olevan enimmäiskuljetusnopeuden tasoksi 5 %:n askelin 30–100 % (ylempi nopeusalue).
Katso ohjeet kuljetusnopeuden asettamiseen kohdasta Sallitun enimmäiskuljetusnopeuden asetus.
Kuljettaja
Toiminnon avulla kuljettaja voi säätää enimmäiskuljetusnopeutta
(ylempi nopeusalue) työnvalvojan asettamissa rajoissa. Kun näkyvissä
on tietokeskuksen odotus- tai päänäyttö, säädä
nopeutta painamalla keskimmäistä painiketta (
-kuvake).
Note: Kun vaihdetaan alemman ja ylemmän nopeusalueen välillä, asetukset muuttuvat aiempien asetusten perusteella. Asetukset nollataan, kun koneesta katkaistaan virta.
Note: Ominaisuutta voidaan myös käyttää yhdessä vakionopeussäätimen kanssa.
Hiukkassuodatin (DPF) suodattaa pakokaasusta nokea.
Hiukkassuodattimen regeneraatioprosessi käyttää moottorin pakokaasun lämpöä, jota katalysaattori nostaa, kun se muuntaa kertynyttä nokea tuhkaksi.
Pidä seuraavat seikat mielessä, jotta hiukkasuodatin pysyy puhtaana:
Käytä moottoria täydellä nopeudella mahdollisuuksien mukaan, jotta hiukkassuodatin puhdistaa itsensä paremmin.
Käytä sopivaa moottoriöljyä.
Käytä moottoria mahdollisimman vähän joutokäynnillä.
Käytä vain erittäin vähärikkistä dieselpolttoainetta.
Pidä hiukkassuodattimen toiminta mielessä koneen käytön ja huollon aikana. Moottorin kuormitus tuottaa yleensä riittävän pakokaasujen lämpötilan hiukkassuodattimen regeneraatioon.
Important: Noen kertymistä hiukkassuodattimeen voidaan vähentää käyttämällä moottoria mahdollisimman vähän joutokäynnillä tai alhaisella nopeudella.
Pakokaasujen lämpötila on korkea (noin 600 °C) hiukkassuodattimen regeneraation aikana. Kuumat pakokaasut saattavat vahingoittaa käyttäjää tai sivullisia.
Älä käytä moottoria suljetussa tilassa.
Varmista, että pakokaasujärjestelmän lähellä ei ole syttyviä materiaaleja.
Varmista, että kuuma pakokaasu ei osu pintoihin, joita korkea lämpötila voi vahingoittaa.
Älä kosketa kuumaa pakokaasujärjestelmän osaa.
Älä seiso koneen pakoputken lähellä.
| Kuvake | Kuvakkeen määritelmä |
![]() | • Pysäköinti- tai palautusregeneraatiokuvake – regenerointia pyydetään. |
| • Suorita regeneraatio välittömästi. | |
![]() | • Regeneraatio on kuitattu, ja pyyntöä käsitellään. |
![]() | • Regeneraatio on käynnissä, ja pakokaasun lämpötila on koholla. |
![]() | • Typpioksidipäästöjen seurantajärjestelmän toimintahäiriö. Kone on huollettava. |
| Regeneraatiotyyppi | Hiukkassuodattimen regeneraatiota aiheuttavat olosuhteet | Hiukkassuodattimen käytön kuvaus |
|---|---|---|
| Passiivinen | Tehdään koneen normaalin käytön aikana suurella moottorin nopeudella tai kuormituksella | • Tietokeskuksessa ei näy passiivisen regeneraation kuvaketta. |
| • Passiivisen regeneraation aikana hiukkassuodatin käsittelee kuumia pakokaasuja, hapettaa haitallisia päästöjä ja polttaa nokea tuhkaksi. | ||
| Apu | Tehdään moottorin alhaisen nopeuden tai kuormituksen takia tai tietokoneen havaitessa hiukkassuodattimen alkavan tukkeutua noesta | • Tietokeskuksessa ei näy apuregeneraation kuvaketta. |
| • Apuregeneraation aikana moottorin tietokone säätää moottorin asetuksia pakokaasujen lämpötilan nostamista varten. | ||
| Nollaus | Tapahtuu 100 tunnin välein | • Kun korkean pakokaasujen lämpötilan
kuvake näkyy
tietokeskuksessa, regeneraatio on käynnissä. |
| Tapahtuu myös, jos moottorin normaali toiminta ylittää sallitun suodattimeen kertyneen nokimäärän | ||
| • Nollausregeneraation aikana moottorin tietokone ylläpitää normaalia suurempaa moottorin nopeutta suodattimen regeneraation varmistamiseksi. |
| Regeneraatiotyyppi | Hiukkassuodattimen regeneraatiota aiheuttavat olosuhteet | Hiukkassuodattimen käytön kuvaus |
|---|---|---|
| Pysäköinti | Tapahtuu, koska tietokone päättelee, että automaattinen hiukkassuodattimen puhdistus ei ole ollut riittävä. | • Kun nollaus odottaa- /
pysäköintiregeneraation tai palautusregeneraation kuvake näkyy tai regeneraatiota
pyydetään. |
| Tapahtuu myös silloin, kun käyttäjä käynnistää pysäköintiregeneraation | ||
| Voi tapahtua, koska regeneraation esto on aloitettu ja se on poistanut automaattisen hiukkassuodattimen puhdistuksen käytöstä | • Suorita pysäköintiregeneraatio mahdollisimman pian, jotta palautusregeneraatiota ei tarvita. | |
| Voi johtua väärän polttoaineen tai moottoriöljyn käytöstä | • Pysäköintiregeneraatio kestää 30–60 minuuttia. | |
| • Polttoainesäiliössä täytyy olla vähintään neljäsosan verran polttoainetta. | ||
| • Kone on pysäköitävä pysäköintiregeneraatiota varten. | ||
| Palautus | Tapahtuu, koska pysäköidyn palautuksen pyyntö on ohitettu, jolloin hiukkassuodatin voi olla vaarallisen tukossa | • Kun nollaus odottaa- / pysäköintiregeneraation
tai palautusregeneraation kuvake näytetään, palautusregeneraatiota
pyydetään. |
| • Palautusregeneraatio kestää enintään kolme tuntia. | ||
| • Polttoainesäiliön täytyy olla vähintään puoliksi täynnä. | ||
| • Kone on pysäköitävä palautusregeneraatiota varten. |
Vieritä PääVALIKOSSA alas kohtaan HUOLTO ja paina valintapainiketta.
Vieritä kohdassa HUOLTO kohtaan DPF REGENERATION (Hiukkassuodattimen regeneraatio) ja paina valintapainiketta.
Valitse tarvitsemasi regenerointitoiminto.

Avaa DPF REGENERATION (Hiukkassuodattimen regeneraatio) ‑valikko ja vieritä kohtaan LAST REGEN (Edellinen regeneraatio).
Valitse LAST REGEN (Edellinen regeneraatio) -vaihtoehto.
Määritä LAST REGEN (Edellinen regeneraatio) -kentässä, kuinka monta tuntia olet käyttänyt moottoria edellisen nollaus-, pysäköinti- tai palautusregeneraation jälkeen.
Palaa paluupainikkeella DPF REGENERATION (Hiukkassuodattimen regeneraatio) ‑näyttöön.

Nollausregeneraatio tuottaa enemmän moottorin pakokaasuja. Jos käytät laitetta puiden, pensaiden, korkean ruohon tai muiden lämpötilaherkkien kasvien tai materiaalien ympärillä, voit estää moottorin tietokonetta suorittamasta nollausregeneraatiota INHIBIT REGEN (Estä regeneraatio) -asetuksella.
Note: INHIBIT REGEN (Estä regeneraatio) -vaihtoehtoa käytetään aina, kun konetta huolletaan suljetussa tilassa.
Note: Jos asetat tietokeskuksen estämään regeneraation, tietokeskus näyttää ilmoituksen 15 minuutin välein, kun moottori pyytää nollausregeneraatiota.
Important: Kun sammutat moottorin ja käynnistät sen uudelleen, Estä regeneraatio -asetus on oletusarvoisesti POIS.
Avaa DPF REGENERATION (Hiukkassuodattimen regeneraatio) ‑valikko ja vieritä kohtaan INHIBIT REGEN (Estä regeneraatio).
Valitse INHIBIT REGEN (Estä regeneraatio) -vaihtoehto.
Vaihda regeneraation eston asetukseksi POIS tai PääLLä.
Varmista, että koneen polttoainesäiliössä on tarpeeksi polttoainetta suoritettavan regeneraatiotyypin mukaan:
Pysäköintiregeneraatio: Varmista, että polttoainesäiliössä on vähintään neljäsosan verran polttoainetta ennen pysäköintiregeneraatiota.
Palautusregeneraatio: Varmista, että polttoainesäiliö on vähintään puoliksi täynnä ennen palautusregeneraatiota.
Siirrä kone ulos alueelle, jossa ei ole syttyviä materiaaleja tai esineitä, joita korkea lämpötila voi vahingoittaa.
Pysäköi kone tasaiselle alustalle, siirrä kaikki säätimet VAPAA-asentoon, vapauta voimanulosotto ja laske leikkuuyksiköt.
Kytke seisontajarru ja anna moottorin saavuttaa alhainen joutokäyntinopeus.
Kun moottorin tietokone pyytää pysäköintiregeneraatiota, seuraa tietokeskuksessa näkyviä ohjeita:
Important: Koneen tietokone peruu hiukkassuodattimen regeneraation, jos lisäät moottorin nopeutta alhaiselta joutokäynniltä tai vapautat seisontajarrun.
Avaa DPF REGENERATION (Hiukkassuodattimen regeneraatio) ‑valikko ja vieritä kohtaan PARKED REGEN (Pysäköintiregeneraatio) tai RECOVERY REGEN (Palautusregeneraatio).
Valitse PARKED REGEN (Pysäköintiregeneraatio) tai RECOVERY REGEN (Palautusregeneraatio).
Note: Palautusregeneraation aloittaminen edellyttää, että syötät oikean PIN-koodin.
Varmista REGEN PARAMETERS (Regeneroinnin parametrit) -näytössä, että polttoainetta on ¼ säiliön tilavuudesta, jos suoritat pysäköintiregeneraatiota, tai ½ säiliön tilavuudesta, jos suoritat palautusregeneraatiota. Varmista, että seisontajarru on kytketty ja moottorin nopeus on asetettu alhaiselle joutokäynnille. Jatka painamalla valintapainiketta.
Jatka INITIATE DPF REGEN (Käynnistä hiukkassuodattimen regeneraatio) -näytössä painamalla seuraava-painiketta.
Tietokeskus näyttää viestin INITIATE DPF REGEN (Käynnistä hiukkassuodattimen regeneraatio).
Note: Peru regeneraatio tarvittaessa painamalla peruutuskuvaketta.
Tietokeskuksessa näkyy aikaa jäljellä -viesti.
Tietokeskus näyttää alkunäytön,
ja regeneraation kuittauskuvake tulee näkyviin
.
Note: Kun hiukkassuodattimen regeneraatio on käynnissä,
tietokeskuksessa näkyy korkean pakokaasujen lämpötilan
kuvake
.
Kun moottorin tietokone saa valmiiksi pysäköinti- tai palautusregeneraation, tietokeskuksessa näkyy ilmoitus. Poistu alkunäyttöön painamalla mitä tahansa painiketta.
Note: Jos regeneraatio ei valmistu, seuraa ilmoituksia ja poistu alkunäyttöön painamalla mitä tahansa painiketta.
Käynnissä olevan pysäköinti- tai palautusregeneraation voi peruuttaa PARKED REGEN CANCEL (Pysäköintiregeneraation peruutus)- tai RECOVERY REGEN CANCEL (Palautusregeneraation peruutus) -asetuksella.
Avaa DPF REGENERATION (Hiukkassuodattimen regeneraatio) -valikko ja vieritä kohtaan PARKED REGEN (Pysäköintiregeneraatio) tai RECOVERY REGEN (Palautusregeneraatio).
Peruuta pysäköintiregeneraatio tai palautusregeneraatio painamalla valintapainiketta.

Leikkuukuviota on vaihdettava usein, jotta vältetään samaan suuntaan toistuvan leikkuun aiheuttamat leikkuujäljen ongelmat.
Lisätietoja on After-cut Appearance Troubleshooting Guide -oppaassa osoitteessa www.Toro.com.
Kun aloitat leikkuun, kytke leikkuuyksiköt ja lähesty leikkuualuetta hitaasti.
Jotta nurmeen saadaan ammattimaisen suorat linjat ja raidat, joita tietyt käyttökohteet edellyttävät, etsi puu tai muu kaukana oleva kohde ja aja suoraan sitä kohti.
Heti kun etuleikkuuyksiköt saavuttavat leikkuualueen reunan, tee pisaran muotoinen käännös seuraavaa ajoa varten.
Leikkuuyksiköihin voidaan kiinnittää kiinnipultattavat levittimet. Levittimet toimivat hyvin silloin, kun ruohoa leikataan niin säännöllisesti, että kerralla leikataan korkeintaan 25 mm ruohoa. Jos leikataan liian pitkää ruohoa levittimien ollessa kiinnitettyinä, jälki saattaa huonontua ja kone saattaa tuntua vaativan enemmän tehoa nurmen leikkaamiseen. Levittimet sopivat hyvin myös lehtien silppuamiseen syksyllä.
Leikkaa yhden leikkuun aikana korkeintaan noin 25 mm tai kolmasosa ruohon korkeudesta. Poikkeuksellisen rehevää ja tiheää ruohikkoa leikattaessa leikkuukorkeutta voidaan joutua korottamaan.
Terävä terä leikkaa puhtaasti repimättä tai silppuamatta ruohoa tylsän terän lailla. Repimisen ja silppuamisen seurauksena ruoho muuttuu ruskeaksi reunoilta, kasvu heikentyy ja alttius taudeille kasvaa. Varmista, että terä on hyvässä kunnossa ja että siipi on oikein.
Varmista, että leikkuukotelot ovat hyvässä kunnossa. Oikaise mahdolliset kotelon osien taipumat, jotta terän kärkien ja kotelon etäisyys on oikea.
Pese kone leikkuun jälkeen huolellisesti puutarhaletkun avulla mutta ilman suutinta, jottei liiallinen vedenpaine aiheuttaisi veden pääsyä laitteen sisälle tai vaurioittaisi tiivisteitä tai laakereita. Varmista, että jäähdyttimessä ja öljynjäähdyttimessä ei ole likaa tai ruohosilppua. Tarkasta puhdistuksen jälkeen, että koneessa ei ole hydraulinestevuotoja ja että hydrauliosat ja mekaaniset osat eivät ole vaurioituneet tai kuluneet. Tarkista myös leikkuuyksikön terien terävyys.
Sammuta moottori, irrota virta-avain ja odota, että kaikki liikkuvat osat pysähtyvät, ennen kuin poistut käyttäjän paikalta. Anna koneen jäähtyä ennen sen säätöä, huoltoa, puhdistusta tai varastointia.
Vähennä tulipalon vaaraa poistamalla ruoho ja leikkuujäte leikkuuyksiköistä, äänenvaimentimista ja moottoritilasta. Puhdista öljy- ja polttoaineroiskeet.
Jos leikkuuyksiköt ovat kuljetusasennossa, käytä mekaanista varmistuslukkoa (jos saatavilla), ennen kuin jätät koneen ilman valvontaa.
Anna moottorin jäähtyä, ennen kuin varastoit laitteen suljettuun tilaan.
Irrota virta-avain ja sulje polttoaineen sulkuventtiili (jos asennettuna) ennen koneen varastointia tai kuljetusta.
Älä säilytä konetta tai polttoainesäiliötä tilassa, jossa on avotuli, kipinöitä tai varmistusliekki (esimerkiksi vedenlämmitin tai muu vastaava laite).
Huolla ja puhdista turvavyöt tarpeen mukaan
Hätätilanteessa konetta voidaan liikuttaa eteenpäin avaamalla hydraulisessa säätötilavuuspumpussa oleva ohitusventtiili ja työntämällä tai hinaamalla konetta.
Important: Konetta ei saa työntää tai hinata nopeammin kuin 3–4,8 km/h, muutoin vaihteistoon voi tulla sisäisiä vaurioita.Ohitusventtiilien on oltava auki aina, kun konetta työnnetään tai hinataan.
Nosta istuin, niin saat näkyviin ohitusventtiilit, jotka sijaitsevat polttoainesäiliön etuosan alla (Kuva 40).

Avaa venttiilit kääntämällä kutakin venttiiliä kolme kierrosta vastapäivään, jotta nesteen ohivirtaus alkaa.
Note: Älä avaa venttiileitä enempää kuin kolme kierrosta. Koska neste ohitetaan, konetta voidaan varovasti liikuttaa vaurioittamatta vaihteistoa.
Työnnä tai hinaa kone.
Kun kone on työnnetty tai hinattu, sulje ohitusventtiilit. Kiristä venttiili momenttiin 70 N·m.
Important: Varmista, että ohitusventtiili on suljettu ennen moottorin käynnistämistä. Jos moottoria käytetään ohitusventtiilin ollessa auki, vaihteisto ylikuumenee.
Important: Jos konetta työnnetään tai hinataan taaksepäin, nelivetojärjestelmän sulkuventtiili on ohitettava.Sulkuventtiili ohitetaan liittämällä letkukokoonpano peruutusajon hydrostaatissa sijaitsevaan paineentestausporttiin sekä eturenkaan takana olevan takavedon jakelulohkon porttien M8 ja P2 välissä sijaitsevaan porttiin. Letkukokoonpano koostuu yhdestä letkusta (osanro 95-8843), kahdesta liittimestä (osanro 95-0985) ja kahdesta hydrauliliittimestä (osanro 340-77).
Mekaaniset tai hydrauliset tunkit saattavat pettää ja aiheuttaa vakavan loukkaantumisen.
Tue kone akselipukeilla.
Älä käytä hydraulisia tunkkeja.
Laitteen etu- ja takaosassa on nostokohdat
rungossa molempien vetävien etupyörien sisäpuolella
taka-akselin keskellä.
Irrota virta-avain ja sulje polttoaineen sulkuventtiili (jos asennettuna) ennen koneen varastointia tai kuljetusta.
Ole varovainen lastatessasi konetta perävaunuun tai kuorma-autoon.
Käytä täysleveää ramppia lastatessasi konetta perävaunuun tai kuorma-autoon.
Kiinnitä kone tiukasti.
Koneen etu- ja takapuolella on kiinnityskohdat (Kuva 41).
Note: Kiinnitä kone neljästä kulmasta asianmukaisesti hyväksytyillä liinoilla.
Kaksi kuljettajan tason etuosassa
Takapuskurissa

Note: Koneen vasen ja oikea puoli määritellään normaalista käyttöasennosta käsin.
Important: Lisää huoltotoimenpiteitä on moottorin käyttöoppaassa.
Note: Kytkentä- ja hydraulikaavion voi tarvittaessa ladata maksuttomasti osoitteesta www.Toro.com etsimällä oman laitteen kotisivulla olevasta opaslinkistä.
Important: Jos huollat konetta ja käytät moottoria pakokaasut ulos rakennuksesta vievä poistokanava asennettuna, aseta regeneraation eston asetukseksi PääLLä. Katso Regeneraation eston asettaminen.
Suorita seuraavat toimenpiteet ennen käyttäjän paikalta poistumista:
Pysäköi kone tasaiselle alustalle.
Vapauta voimanulosotto ja laske lisälaitteet alas.
Kytke seisontajarru.
Sammuta moottori ja irrota virta-avain.
Odota, että kaikki liikkuvat osat ovat pysähtyneet.
Jos jätät avaimen virtalukkoon, joku voi vahingossa käynnistää moottorin ja vahingoittaa vakavasti lähellä olijoita. Irrota avain virtalukosta ennen huoltoa.
Anna koneen osien jäähtyä ennen huollon suorittamista.
Jos leikkuuyksiköt ovat kuljetusasennossa, käytä mekaanista varmistuslukkoa (jos varusteena), ennen kuin jätät koneen ilman valvontaa.
Jos mahdollista, älä huolla konetta moottorin ollessa käynnissä. Pysy etäällä liikkuvista osista.
Tue kone pukeilla, kun työskentelet koneen alla.
Vapauta paine varovasti osista, joihin on varastoitunut energiaa.
Pidä kaikki koneen osat hyvässä kunnossa ja kaikkien laitteiden kiinnitykset ja erityisesti terien kiinnikkeet tiukalla.
Vaihda kaikki kuluneet tai vaurioituneet tarrat.
Käytä vain Toro-alkuperäisvaraosia, jotta kone toimii turvallisesti ja parhaalla mahdollisella tavalla. Muiden valmistajien varaosat voivat osoittautua vaarallisiksi, ja niiden käyttö voi johtaa tuotteen takuun raukeamiseen.
| Huoltoväli | Huoltotoimenpide |
|---|---|
| Ensimmäisen käyttötunnin jälkeen |
|
| 10 ensimmäisen käyttötunnin jälkeen |
|
| 50 ensimmäisen käyttötunnin jälkeen |
|
| 200 ensimmäisen käyttötunnin jälkeen |
|
| Aina ennen käyttöä tai päivittäin |
|
| 25 käyttötunnin välein |
|
| 50 käyttötunnin välein |
|
| 100 käyttötunnin välein |
|
| 200 käyttötunnin välein |
|
| 250 käyttötunnin välein |
|
| 400 käyttötunnin välein |
|
| 500 käyttötunnin välein |
|
| 800 käyttötunnin välein |
|
| 1000 käyttötunnin välein |
|
| 2000 käyttötunnin välein |
|
| 3000 käyttötunnin välein |
|
| Ennen varastointia |
|
| Kahden vuoden välein |
|
Jos jätät avaimen virtalukkoon, joku voi vahingossa käynnistää moottorin ja vahingoittaa vakavasti lähellä olijoita.
Irrota avain virtalukosta ennen huollon aloitusta.
Ota tästä sivusta kopioita.
| Tarkistettavat kohdat | Viikolle: | ||||||
|---|---|---|---|---|---|---|---|
| Maanantai | Tiistai | Keskiviikko | Torstai | Perjantai | Lauantai | Sunnuntai | |
| Tarkista turvajärjestelmän toiminta. | |||||||
| Tarkista jarrujen toiminta. | |||||||
| Tarkista moottoriöljyn määrä. | |||||||
| Tarkista jäähdytysjärjestelmän nesteen määrä. | |||||||
| Tyhjennä veden/polttoaineen erotin. | |||||||
| Tarkista ilmansuodatin, pölykansi ja paineventtiili. | |||||||
| Kuuntele, kuuluuko moottorista epätavallisia ääniä.1 | |||||||
| Tarkista, ettei jäähdyttimessä ja säleikössä ole roskia | |||||||
| Kuuntele, kuuluuko käytettäessä epätavallisia ääniä. | |||||||
| Tarkista hydraulinesteen määrä. | |||||||
| Tarkista, ettei hydrauliletkuissa ole vaurioita. | |||||||
| Tarkista nestevuodot. | |||||||
| Tarkista polttoaineen määrä. | |||||||
| Tarkista rengaspaine. | |||||||
| Tarkista mittareiden toiminta. | |||||||
| Tarkista leikkuukorkeussäätö. | |||||||
| Voitele kaikki rasvanipat.2 | |||||||
| Koneen puhdistus. | |||||||
| Korjaa maalipinnan vauriot. | |||||||
|
1Tarkasta hehkutulppa ja ruiskutussuuttimet, jos käynnistys on hidas, savua on liikaa tai käyntiääni on karkea. 2Välittömästi jokaisen pesun jälkeen luettelon mukaisesta huoltovälistä huolimatta. |
|||||||
Important: Lisää huoltotoimenpiteitä on moottorin käyttöohjeessa.
| Tarkastuksen suoritti: | ||
| Vika | Päivämäärä | Huomio |
Irrota salpa ja nosta konepelti.
Irrota sokka, joka kiinnittää konepellin saranatapin asennuskannattimiin (Kuva 44).

Liu’uta konepeltiä oikealle, nosta toista päätä ja vedä konepelti kannattimistaan.
Note: Asenna konepelti takaisin päinvastaisessa järjestyksessä.
| Huoltoväli | Huoltotoimenpide |
|---|---|
| 50 käyttötunnin välein |
|
Koneessa on rasvanippoja, jotka on voideltava säännöllisesti litiumpohjaisella yleisrasvalla nro 2. Voitele lisäksi kone välittömästi jokaisen pesun jälkeen.
Rasvanippojen sijainnit ja määrät ovat seuraavat:
Note: Leikkuuyksikköä on ehkä nostettava, jotta alemman yhdystangon ja lukkotapin rasvanipat tulevat näkyviin.
Lukkotapit, 2 (Kuva 49)
Note: Salvat on ehkä vapautettava manuaalisesti, jotta rasvanippoihin pääsee käsiksi (Kuva 48). Sulje ja avaa salpa sorkkaraudalla.
Kääntöpyörän haarukka-akselin holkit, 2 (Kuva 50)
Kara-akselin laakerit (hihnapyörän alla), 3 (Kuva 51)
Kiristinpyörän varren tappiholkit, 2 (Kuva 51)




Neljän sivuleikkuupöydän nostosylinteri (Kuva 54)

Kääntöpyörän haarukka-akselin holkki, 1 (Kuva 55)
Kara-akselin laakerit (hihnapyörän alla), 2 (kummallakin puolella)
Kiristinpyörän varren tappiholkit (kiristinpyörän varressa), 1

Sammuta moottori ja irrota virta-avain ennen öljyn tarkistusta tai lisäystä kampikammioon.
Älä muuta kierrosnopeussäätimen nopeutta tai käytä moottoria ylikierroksilla.
Käytä vähintään seuraavien määritysten mukaista korkealaatuista, vähätuhkaista moottoriöljyä:
API-huoltoluokitus CJ-4 tai korkeampi
ACEA-huoltoluokitus E6
JASO-huoltoluokitus DH-2
Important: Jos käytetään moottoriöljyä, jonka luokitus ei ole API CJ-4 tai korkeampi, ACEA E6 tai JASO DH-2, hiukkassuodatin saattaa tukkeutua tai moottori vahingoittua.
Käytä seuraavaa moottoriöljyn viskositeettiluokitusta:
Suositus: SAE 15W-40 (yli -18 °C) F)
Vaihtoehto: SAE 10W-30 tai 5W-30 (kaikki lämpötilat)
Toro Premium -moottoriöljyä on saatavana valtuutetulta Toro-jälleenmyyjältä (viskositeettiluokitus 15W-40 tai 10W-30). Lisätietoja osanumeroista on osaluettelossa.
| Huoltoväli | Huoltotoimenpide |
|---|---|
| Aina ennen käyttöä tai päivittäin |
|
Moottori toimitetaan kampikammio öljyllä täytettynä, mutta öljymäärä on kuitenkin tarkistettava ennen moottorin ensimmäistä käynnistystä ja sen jälkeen.
Important: Tarkista moottoriöljy päivittäin. Jos moottoriöljyn määrä on mittatikun Full-merkin yläpuolella, moottoriöljyyn on ehkä sekoittunut polttoainetta.Jos moottoriöljyn määrä on Full-merkin yläpuolella, vaihda moottoriöljy.
Paras aika tarkistaa moottoriöljy on moottorin ollessa viileä ennen päivän ensimmäistä käynnistystä. Jos moottori on ollut käynnissä, anna öljyn valua takaisin öljypohjaan ainakin 10 minuutin ajan ennen tarkistusta. Jos öljyn taso on mittatikun Add-merkinnän kohdalla tai sen alapuolella, lisää öljyä mittatikun Full-merkintään saakka.Älä täytä moottoria liian täyteen öljyä.
Important: Pidä moottoriöljyn määrä mittatikun ylä- ja alarajojen välissä. Moottori saattaa pysähtyä, jos öljyä on sitä käytettäessä liian vähän tai liian paljon.
Tarkista moottoriöljyn määrä. Katso kohta Kuva 56.

Note: Kun käytät eri öljyä, tyhjennä kaikki vanha öljy kampikammiosta ennen uuden öljyn lisäämistä.
Noin 5,7 litraa suodattimen kanssa
| Huoltoväli | Huoltotoimenpide |
|---|---|
| 500 käyttötunnin välein |
|
Käynnistä moottori ja anna sen käydä viiden minuutin ajan, jotta öljy lämpenee.
Pysäköi kone tasaiselle alustalle, sammuta moottori, irrota virta-avain ja odota, että kaikki liikkuvat osat ovat pysähtyneet, ennen kuin poistut käyttäjän paikalta.
Vaihda moottoriöljy ja suodatin (Kuva 57).

Lisää öljyä kampikammioon.
Jos haluat asettaa huollon määräajan ajastuksen tietokeskuksessa, katso kohta Huollon määräajan ajastimen asetus.
| Huoltoväli | Huoltotoimenpide |
|---|---|
| Aina ennen käyttöä tai päivittäin |
|
| 50 käyttötunnin välein |
|
| 400 käyttötunnin välein |
|
Tarkista, ettei ilmanpuhdistimen rungossa ole vaurioita, jotka voivat aiheuttaa ilmavuodon. Vaihda se, jos se on vaurioitunut. Tarkista, että ilmanottojärjestelmässä ei ole vuotoja, vaurioita tai löysiä letkunkiristimiä.
Huolla ilmanpuhdistimen suodatin vain silloin, kun huoltoilmaisin edellyttää sitä (Kuva 58). Ilmansuodattimen tarpeeton vaihtaminen kasvattaa mahdollisuutta, että moottoriin pääsee likaa suodattimen irrotuksen yhteydessä.

Important: Tarkista, että suojus on asetettu oikein ja että se on tiiviisti ilmanpuhdistimen rungon ympärillä.
Vaihda ilmanpuhdistin (Kuva 59).

Note: Älä puhdista käytettyä elementtiä, sillä elementin materiaali saattaa vaurioitua.
Important: Älä koskaan yritä puhdistaa varosuodatinta (Kuva 60). Vaihda varosuodatin joka kolmannella pääsuodattimen huoltokerralla.

Palauta ilmaisin (Kuva 58), jos se näyttää punaista.
| Huoltoväli | Huoltotoimenpide |
|---|---|
| 3000 käyttötunnin välein |
|
Jos moottoriviat , tai näkyvät tietokeskuksessa (Kuva 61), puhdista nokisuodatin seuraavalla tavalla:



Tietoja hapetuskatalysaattorin ja hiukkassuodattimen nokisuodattimen purkamisesta ja kokoamisesta on huolto-oppaan moottoria koskevassa kohdassa.
Hapetuskatalysaattorin ja nokisuodattimen varaosia tai huoltoa saa ottamalla yhteyden valtuutettuun Toro-jälleenmyyjään.
Ota yhteys valtuutettuun Toro-jälleenmyyjään ja anna tämän nollata moottorin ECU puhtaan hiukkassuodattimen asennuksen jälkeen.
| Huoltoväli | Huoltotoimenpide |
|---|---|
| 1000 käyttötunnin välein |
|
| Ennen varastointia |
|
Tyhjennä ja puhdista polttoainesäiliö aikataulun mukaisten huoltovälien ulkopuolella, jos polttoainejärjestelmä likaantuu tai jos kone on tarkoitus varastoida pitkäksi aikaa. Huuhtele säiliö puhtaalla polttoaineella.
| Huoltoväli | Huoltotoimenpide |
|---|---|
| 400 käyttötunnin välein |
|
Tarkasta, että polttoaineputkissa ei ole haurastumia, vaurioita tai löysiä liitäntöjä.
| Huoltoväli | Huoltotoimenpide |
|---|---|
| Aina ennen käyttöä tai päivittäin |
|
| 400 käyttötunnin välein |
|
Huolla vedenerotin (Kuva 62).
Kun olet vaihtanut vedenerottimen, käännä avain KäYNNISSä-asentoon 10 sekunniksi, mutta älä käynnistä moottoria. Käännä avain pysäytysasentoon ja toista tämä vielä kaksi kertaa.

| Huoltoväli | Huoltotoimenpide |
|---|---|
| 400 käyttötunnin välein |
|
Puhdista polttoainesuodatinpään ympäristö (Kuva 63).

Irrota suodatin ja puhdista suodatinpään asennuspinta (Kuva 63).
Voitele suodattimen tiiviste puhtaalla voitelevalla moottoriöljyllä. Katso lisätietoja moottorin käyttöoppaasta.
Asenna kuiva suodatinkotelo käsin, kunnes tiiviste koskettaa suodatinpäätä. Kierrä sitten vielä puoli kierrosta.
Poista ilma esitäyttämällä polttoainejärjestelmä. Katso kohta Polttoainejärjestelmän esitäyttö.
Esitäytä polttoainejärjestelmä ennen moottorin käynnistämistä ensimmäistä kertaa, polttoaineen loppumisen jälkeen tai polttoainejärjestelmän huollon jälkeen (esimerkiksi suodattimen/vedenerottimen tyhjentämisen tai polttoaineletkun vaihtamisen jälkeen).
Esitäytä polttoainejärjestelmä seuraavasti:
Varmista, että polttoainesäiliössä on polttoainetta.
Esitäytä suodatin ja letkut korkeapainepumppuun noudattamalla seuraavia vaiheita, jotta ehkäistään pumpun kuluminen ja vahingoittuminen:
Käännä virta-avain KäYNNISSä-asentoon 15–20 sekunniksi.
Käännä virta-avain PYSäYTYS-asentoon 30–40 sekunniksi.
Note: Näin elektroninen ohjausyksikkö sammuu.
Käännä virta-avain KäYNNISSä-asentoon 15–20 sekunniksi.
Tarkista suodatin ja letkut vuotojen varalta.
Important: Älä esitäytä polttoainejärjestelmää pyörittämällä moottoria käynnistysmoottorilla.
Irrota akun kytkennät ennen kuin korjaat konetta. Irrota ensin miinusnavan akkukenkä ja vasta sitten plusnavan akkukenkä. Kytke ensin plusnavan akkukenkä ja vasta sitten miinusnavan akkukenkä.
Lataa akku avoimessa tilassa, jossa on hyvä ilmanvaihto, kaukana kipinöistä ja avotulesta. Irrota laturin virtajohto ennen kuin kytket laturin akkuun tai irrotat sen akusta. Käytä suojavaatetusta ja eristettyjä työkaluja.
| Huoltoväli | Huoltotoimenpide |
|---|---|
| 25 käyttötunnin välein |
|
| 50 käyttötunnin välein |
|
Important: Ennen kuin hitsaat konetta, irrota miinuskaapeli akusta, jotta sähköjärjestelmä ei vaurioidu.
Note: Pidä liittimet ja koko akkukotelo puhtaana, koska likainen akku purkautuu vähitellen. Puhdista akku pesemällä koko kotelo liuoksella, jossa on ruokasoodaa ja vettä. Huuhtele puhtaalla vedellä. Päällystä akkunavat ja kaapeliliittimet Grafo 112X -rasvalla (pintaan) (Toron rasvalla osanro 505-47) tai vaseliinilla ruostumisen ehkäisemiseksi.
Avaa akun suojus, joka sijaitsee suojapeitteen sivussa (Kuva 64).
Note: Voit helpottaa suojuksen irrottamista painamalla akun suojuksen yläosassa olevaa tasaista aluetta (Kuva 64).


Poista kumisuojus plusnavasta ja tarkista akku.
Akun navat tai metallityökalut voivat aiheuttaa oikosulun koskettaessaan metalliosia, mistä voi seurata kipinöitä. Kipinät voivat saada akun kaasut räjähtämään ja aiheuttaa siten henkilövahingon.
Kun irrotat tai asennat akun, älä anna akun napojen koskettaa koneen metalliosia.
Älä anna metallityökalujen aiheuttaa oikosulkua akun napojen ja koneen metalliosien välille.
Akun kaapeleiden virheellinen asennus voi vahingoittaa konetta ja kaapeleita aiheuttaen kipinöitä. Kipinät voivat saada akun kaasut räjähtämään ja aiheuttaa siten henkilövahingon.
Irrota aina akun miinuskaapeli (musta) ennen pluskaapelin (punainen) irrottamista.
Kytke aina akun pluskaapeli (punainen) ennen miinuskaapelin (musta) kytkemistä.
Voitele molemmat akkuliitännät Grafo 112X -suojarasvalla (Toron osanro 505-47), vaseliinilla tai kevyellä rasvalla ruostumisen ehkäisemiseksi.
Vedä kumisuojus akun plusnavan päälle.
Sulje akun suojus.
Ajoyksikön sulakkeet sijaitsevat virtakeskuksen kannen alla (Kuva 66, Kuva 67 ja Kuva 68).
Irrota kaksi ruuvia, joilla virtakeskuksen kansi on kiinnitetty runkoon, ja irrota kansi (Kuva 66).



Ohjaamon sulakkeet sijaitsevat sulakerasiassa ohjaamon sisäkatossa (Kuva 69 ja Kuva 70).
Note: Vain ohjaamomalli


| Huoltoväli | Huoltotoimenpide |
|---|---|
| 400 käyttötunnin välein |
|
Lisää tarvittaessa korkealaatuista SAE 85W-140 -vaihteistoöljyä.
Tarkista, että kone on tasaisella alustalla. Aseta pyörä siten, että yksi tarkistustulppa on kello 12:n asennossa ja toinen tulppa kello 3:n asennossa (Kuva 72).

Irrota kello kolmen asennossa oleva tulppa (Kuva 72).
Note: Öljyn pinnan tulee ulottua tarkistustulpan aukon alareunaan saakka.
Jos öljyn pinta on matalalla, irrota kello 12:n asennossa oleva tulppa ja lisää öljyä, kunnes sitä alkaa virrata ulos kello kolmen asennossa olevasta aukosta.
Asenna molemmat tulpat.
| Huoltoväli | Huoltotoimenpide |
|---|---|
| 50 ensimmäisen käyttötunnin jälkeen |
|
| 800 käyttötunnin välein |
|
Käytä korkealaatuista SAE 85W-140 -vaihteistoöljyä.
Tarkista, että kone on tasaisella alustalla. Aseta pyörä siten, että jokin tarkistustulppa on alimmassa (kello kuuden) asennossa (Kuva 73).

Aseta tyhjennysastia planeettapyörän navan alle, irrota tulppa ja valuta öljy.
Aseta tyhjennysastia jarrurummun alle, irrota tyhjennystulppa ja valuta öljy (Kuva 74).

Kun kaikki öljy on valunut molemmista paikoista, asenna tulppa jarrurumpuun.
Käännä pyörää niin, että planeettapyörästön avoin tulpan aukko on kello 12:n asennossa.
Lisää avoimen aukon kautta planeettapyörästöön hitaasti 0,65 litraa korkealaatuista SAE 85W-140 -vaihteistoöljyä.
Important: Jos planeettapyörästö on täynnä, ennen kuin öljyä on lisätty 0,65 litraa, odota yksi tunti tai asenna tulppa ja liikuta konetta noin kolme metriä, jotta öljy leviää jarrujärjestelmään. Irrota sitten tulppa ja lisää jäljellä oleva öljy.
Asenna tulppa.
Toista menettely vastakkaisella planeettapyörästö-/jarrukokoonpanolla.
| Huoltoväli | Huoltotoimenpide |
|---|---|
| 400 käyttötunnin välein |
|
Taka-akseli on täytetty SAE 85W-140 -vaihteistoöljyllä. Tarkista voiteluaineen määrä ennen moottorin ensimmäistä käynnistystä ja sen jälkeen suosituksen mukaan. Tilavuus on 2,4 litraa. Tarkista järjestelmä silmämääräisesti päivittäin vuotojen varalta.
Pysäköi kone tasaiselle alustalle.
Irrota tarkistustulppa akselin päästä ja varmista, että voiteluaineen pinta on aukon alareunan tasolla (Kuva 75).
Note: Jos voiteluainetta on liian vähän, irrota täyttötulppa ja lisää riittävästi voiteluainetta, jotta voiteluaineen pinta nousee tarkistustulppien aukkojen alareunan tasolle.

| Huoltoväli | Huoltotoimenpide |
|---|---|
| 400 käyttötunnin välein |
|
Vaihteisto on täytetty SAE 85W-140 -vaihteistoöljyllä. Järjestelmän tilavuus on 0,5 litraa. Tarkista järjestelmä silmämääräisesti vuotojen varalta päivittäin.
Pysäköi kone tasaiselle alustalle.
Irrota tarkistus-/täyttötulppa vaihteiston vasemmalta puolelta ja varmista, että voiteluaineen pinta on aukon alareunan tasolla (Kuva 76).
Note: Jos voiteluainetta on vähän, lisää sitä, kunnes sen pinta on aukon alareunan tasolla.

| Huoltoväli | Huoltotoimenpide |
|---|---|
| 200 ensimmäisen käyttötunnin jälkeen |
|
| 800 käyttötunnin välein |
|
Vie kone tasaiselle alustalle.
Puhdista alue kolmen tyhjennystulpan ympäriltä, yksi kummassakin päässä ja yksi keskellä (Kuva 77).
Irrota tarkistustulpat, jotta öljy virtaa paremmin.
Irrota tyhjennystulpat, jotta öljy pääsee virtaamaan astioihin.

Puhdista alue vaihteiston pohjassa olevan tyhjennystulpan ympäriltä (Kuva 78).
Irrota tyhjennystulppa vaihteistosta ja valuta öljy astiaan.
Note: Irrota täyttötulppa, jotta öljy virtaa paremmin.

Lisää öljyä sen verran, että öljyn pinta ulottuu tarkastusaukkojen alareunaan. Katso kohdat Taka-akselin voiteluaineen vaihto ja Taka-akselin vaihteiston voiteluaineen tarkistus.
Asenna tulpat.
| Huoltoväli | Huoltotoimenpide |
|---|---|
| 800 käyttötunnin välein |
|
Mittaa keskeltä keskelle -etäisyys (akselikorkeudella) ohjaavien pyörien etu- ja takapuolella.
Note: Etupuolen mitan on oltava 6 mm pienempi kuin takapuolen mitan.
Löysää raidetankojen molemmissa päissä olevia kiristimiä ennen säätöä.
Pyöritä raidetangon päätä, jolloin renkaan etupuoli liikkuu sisään- tai ulospäin.
Kiristä raidetankojen kiristimet, kun säätö on oikea.
Laske sivuleikkuuyksiköt maahan.
Nosta koneen etuosaa maasta useiden senttien verran ja tue se pukeilla.
Katso kohta Keskimmäisen leikkuuyksikön kääntäminen (kallistaminen) pystyasentoon.
Käännä leikkuupöytää eteenpäin, jotta voit irrottaa renkaan.
Jäähdytysneste on myrkyllistä. Pidä poissa lasten ja lemmikkieläinten ulottuvilta.
Paineella suihkuava kuuma jäähdytysneste, kuuma jäähdytin ja sitä ympäröivät osat voivat aiheuttaa vakavia palovammoja.
Anna moottorin jäähtyä ainakin 15 minuuttia ennen jäähdyttimen korkin irrottamista.
Käytä korkkia käsitellessäsi liinaa ja aukaise korkki hitaasti, jotta paine pääsee pois.
Älä käytä konetta, jos suojukset eivät ole paikoillaan.
Pidä sormet, kädet ja vaatteet etäällä pyörivästä tuulettimesta ja käyttöhihnasta.
Jäähdytysnestesäiliö on täytetty tehtaalla veden ja etyleeniglykolipohjaisen käyttöikää pidentävän jäähdytysnesteen seoksella (seossuhde 50:50).
Important: Käytä vain kaupallisesti saatavia jäähdytysnesteitä, jotka täyttävät Käyttöikää pidentävien jäähdytysnesteiden vaatimukset -taulukossa luetellut määritykset.Älä käytä koneessa tavallista (vihreää) epäorgaaniseen happotekniikkaan (IAT) perustuvaa jäähdytysnestettä. Älä sekoita tavallista jäähdytysnestettä ja käyttöikää pidentävää jäähdytysnestettä keskenään.
|
Etyleeniglykolijäähdytysnesteen tyyppi |
Korroosionestoaineen tyyppi |
|
Käyttöikää pidentävät jäätymisenestoaineet |
Orgaaninen happotekniikka (OAT) |
|
Important: Älä yritä erottaa tavallista (vihreää) epäorgaaniseen happotekniikkaan (IAT) perustuvaa ja käyttöikää pidentävää jäähdytysnestetyyppiä toisistaan värin perusteella.Jäähdytysnestevalmistajat voivat värjätä käyttöikää pidentävää jäähdytysnestettä joillakin seuraavista väreistä: punainen, vaaleanpunainen, oranssi, keltainen, sininen, sinivihreä, violetti ja vihreä. Käytä jäähdytysnestettä, joka täyttää Käyttöikää pidentävien jäähdytysnesteiden vaatimukset -taulukossa luetellut määritykset. |
|
|
ATSM International |
SAE International |
|
D3306 ja D4985 |
J1034, J814 ja 1941 |
Important: Jäähdytysneste on sekoitettava veteen, ja seoksen suhteen on oltava 50/50.
Suositus: kun sekoitukseen käytetään jäähdytysnestetiivistettä, se on sekoitettava tislattuun veteen.
Suositeltu vaihtoehto: jos tislattua vettä ei ole saatavilla, käytä tiivisteen sijaan valmiiksi sekoitettua jäähdytysnestettä.
Vähimmäisvaatimus: jos tislattua vettä ja valmiiksi sekoitettua jäähdytysnestettä ei ole saatavilla, sekoita jäähdytysnestetiiviste puhtaaseen juomakelpoiseen veteen.
| Huoltoväli | Huoltotoimenpide |
|---|---|
| Aina ennen käyttöä tai päivittäin |
|
Tarkista jäähdytysnesteen määrä jokaisen päivän alussa. Järjestelmän tilavuus on 8,5 litraa.
Pyörivät tuulettimet tai käyttöhihnat voivat aiheuttaa henkilövahingon.
Älä käytä konetta, jos suojukset eivät ole paikoillaan.
Pidä sormet, kädet ja vaatteet etäällä pyörivästä tuulettimesta ja käyttöhihnasta.
Sammuta moottori ja irrota virta-avain ennen huoltotoimenpiteiden suorittamista.
Irrota varovasti jäähdyttimen korkki ja paisuntasäiliön korkki (Kuva 79).
Tarkista jäähdyttimen jäähdytysnesteen määrä.
Note: Jäähdytysnestettä on oltava täyttökaulan yläreunaan saakka ja paisuntasäiliön Full-merkkiin saakka.

Jos jäähdytysnestettä on liian vähän, lisää veden ja etyleeniglykolipakkasnesteen seosta (seossuhde 50:50).
Important:
Asenna jäähdyttimen korkki ja paisuntasäiliön korkki.
| Huoltoväli | Huoltotoimenpide |
|---|---|
| 100 käyttötunnin välein |
|
| Kahden vuoden välein |
|
Poista lika jäähdyttimestä ja öljynjäähdyttimestä päivittäin. Puhdista ne useammin likaisissa olosuhteissa.
Koneessa on hydraulikäyttöinen puhallinjärjestelmä, joka poistaa jäähdyttimeen/öljynjäähdyttimeen ja säleikköön kertyneet roskat automaattisesti (tai manuaalisesti) puhaltamalla taaksepäin. Tämä toiminto voi vähentää jäähdyttimen/öljynjäähdyttimen puhdistukseen kuluvaa aikaa, mutta tavanomaiset puhdistustoimet on kuitenkin suoritettava. Jäähdytin/öljynjäähdytin on yhä puhdistettava ja tarkastettava ajoittain.
Sammuta moottori, irrota virta-avain ja nosta konepelti ylös.
Puhdista moottoritila huolellisesti roskista.
Puhdista jäähdyttimen/öljynjäähdyttimen molemmat sivut perusteellisesti paineilmalla (Kuva 80).
Note: Aloita tuulettimen puolelta ja puhalla roskat pois taaksepäin. Puhdista sitten takaa alkaen ja puhalla eteenpäin. Toista tämä toimenpide useita kertoja, kunnes roskia ei enää ole.
Important: Jäähdyttimen/öljynjäähdyttimen puhdistaminen vedellä voi edistää ennenaikaista ruostumista ja osien vaurioitumista.

Sulje konepelti.
Säädä käyttöjarruja, jos jarrupolkimissa on vapaata liikettä yli 25 mm tai jos jarrut eivät toimi tehokkaasti. Vapaa liike on etäisyys, jonka jarrupoljin liikkuu, ennen kuin jarruvastus tuntuu.
Vapauta lukitussalpa jarrupolkimista, jotta molemmat polkimet toimivat itsenäisesti toisiinsa nähden.
Pienennä jarrupolkimien vapaaliikettä kiristämällä jarruja seuraavasti:
Löysää jarrukaapelin kierteisessä päässä olevaa etummaista mutteria (Kuva 81).

Siirrä kaapelia taaksepäin kiristämällä takimmaista mutteria, kunnes jarrupolkimissa on 13–25 mm vapaata liikettä.
Kiristä etummaiset mutterit, kun jarrut on säädetty oikein.
| Huoltoväli | Huoltotoimenpide |
|---|---|
| 10 ensimmäisen käyttötunnin jälkeen |
|
| 100 käyttötunnin välein |
|
Kireys on oikea, kun hihna painuu 10 mm hihnapyörien puolivälistä, kun sitä painetaan 44 N:n voimalla.
Jos painuma ei ole 10 mm, löysää laturin kiinnityspultteja (Kuva 82).
Note: Löysää tai kiristä laturin hihnaa ja kiristä pultit. Varmista oikea kireys tarkistamalla hihnan painuma uudelleen.

| Huoltoväli | Huoltotoimenpide |
|---|---|
| 10 ensimmäisen käyttötunnin jälkeen |
|
| 100 käyttötunnin välein |
|
Vain ohjaamomalli
Tarkista hihnan kunto ja kireys (Kuva 82) 100 käyttötunnin välein.
Kireys on oikea, kun hihna painuu 10 mm hihnapyörien puolivälistä, kun sitä painetaan 44 N:n voimalla.
Jos painuma ei ole 10 mm, löysää kiristinpyörän kiinnityspulttia (Kuva 82). Löysää tai kiristä kompressorin hihnaa ja kiristä pultti. Varmista oikea kireys tarkistamalla hihnan painuma uudelleen.
| Huoltoväli | Huoltotoimenpide |
|---|---|
| 10 ensimmäisen käyttötunnin jälkeen |
|
| 50 käyttötunnin välein |
|
Kun kireys on oikea, vetojousen sisäpituus (koukusta koukkuun) on noin 8,3–9,5 cm. Kun jousen kireys on oikea, säädä pysäytinpulttia (lukkopulttia), kunnes pultin pään ja kiristinpyörän varren väli on noin 2–5 mm (Kuva 83).
Note: Varmista, että hihna on jousen puolella hihnaohjaimeen nähden (Kuva 83).

| Huoltoväli | Huoltotoimenpide |
|---|---|
| 800 käyttötunnin välein |
|
Terän käyttöhihna, jota kiristetään jousikuormitteisen kiristinpyörän avulla, on erittäin kestävä. Hihna kuitenkin kuluu ajan mittaan. Kuluneen hihnan merkkejä ovat esimerkiksi vinkuminen hihnan pyöriessä, luistavat terät ruohoa leikattaessa, rispaantuneet reunat, palojäljet ja murtumat. Vaihda hihna, jos jokin näistä tiloista ilmenee.
Laske leikkuupöytä työpajan lattialle, irrota hihnasuojukset leikkuupöydän päältä ja aseta ne syrjään.
Löysää silmukkapulttia (Kuva 83).
Löysää laippamutteria, jolla pysäytinpultti on kiinni kiinnityskielekkeessä, ja siirrä kiristinpyörä irti hihnasta (Kuva 83).
Note: Löysää mutteria riittävästi, jotta kiristinpyörän varsi pääsee pysäytinpultin ohi.
Note: Jos pysäytinpultti on irrotettava kiinnityskielekkeestä, se on asennettava aukkoon, joka kohdistaa pysäytinpultin kiristinpyörän varteen.
Irrota pultit, jotka kiinnittävät hydraulimoottorin leikkuupöytään (Kuva 84).

Nosta moottori pois leikkuupöydästä ja aseta se leikkuupöydän päälle.
Irrota vanha hihna karapyörien ja kiristinpyörän ympäriltä.
Asenna uusi hihna karapyörien ja kiristinpyöräkokoonpanon ympärille.
Sijoita hydraulimoottori leikkuupöytään asennettuasi hihnan pyörien ympärille. Asenna moottori leikkuupöytään aiemmin irrotetuilla pulteilla.
Note: Varmista, että hihna on jousen puolella hihnaohjaimeen nähden (Kuva 83).
Kiinnitä jatkojousi (Kuva 83) silmukkapulttiin ja kiristä hihna seuraavasti:
Kun kireys on oikea, vetojousen sisäpituus (koukusta koukkuun) on noin 8,3–9,5 cm.
Kun jousen kireys on oikea, säädä pysäytinpulttia (lukkopulttia), kunnes pultin pään ja kiristinpyörän varren väli on noin 2–5 mm.
Jos nestettä pääsee ihon alle, hakeudu välittömästi lääkäriin. Lääkärin on poistettava neste kirurgisesti muutaman tunnin sisällä.
Varmista, että kaikki hydrauliletkut ja -putket ovat hyvässä kunnossa ja että kaikki hydrauliputkien liitokset ja kiinnitykset ovat tiukalla, ennen kuin lisäät hydraulijärjestelmän painetta.
Pidä keho ja kädet kaukana vuotavista rei’istä ja suuttimista, joista suihkuaa korkeapaineista hydraulinestettä.
Etsi hydraulinestevuotoja pahvin tai paperin avulla.
Poista paine varovasti hydraulijärjestelmästä, ennen kuin huollat järjestelmää.
Säiliö on täytetty tehtaalla korkealaatuisella hydraulinesteellä. Tarkista hydraulinesteen taso ennen moottorin ensimmäistä käynnistystä ja sen jälkeen päivittäin. Katso kohta Hydraulinesteen vaihto.
Suositeltu hydraulineste: Toro PX Extended Life Hydraulic Fluid (saatavana 19 litran astioissa tai 208 litran tynnyreissä).
Note: Kun koneessa käytetään suositeltua nestettä, neste ja suodatin voidaan vaihtaa harvemmin.
Vaihtoehtoiset hydraulinesteet: Jos Toro PX Extended Life Hydraulic Fluid -nestettä ei ole saatavana, voidaan käyttää muita tavallisia, öljypohjaisia hydraulinesteitä, jotka täyttävät kaikki jäljempänä luetellut vaatimukset (ominaisuudet ja standardit). Älä käytä synteettistä nestettä. Pyydä voiteluaineiden jälleenmyyjältä neuvoja sopivan tuotteen valitsemiseen.
Note: Toro ei vastaa vääränlaisten nesteiden käytöstä aiheutuneista vaurioista, joten käytä vain sellaisten tunnettujen valmistajien tuotteita, joiden luokituksiin voi luottaa.
| Ominaisuudet: | ||
| Viskositeetti, ASTM D445 | cSt / 40 °C 44–48 | |
| Viskositeetti-indeksi, ASTM D2270 | 140 tai korkeampi | |
| Jähmepiste, ASTM D97 | -37 °C – -45 °C | |
| Standardit: | Eaton Vickers 694 (I-286-S, M-2950-S/35VQ25 tai M-2952-S) | |
Note: Monet hydraulinesteet ovat lähes värittömiä, mikä vaikeuttaa vuotojen toteamista. Hydraulinesteelle tarkoitettua punaista värilisäainetta on saatavana 20 ml:n pulloissa. Yksi pullo riittää 15–22 litralle hydraulinestettä. Tilaa valtuutetulta Toro-jälleenmyyjältäsi, osanro 44-2500.
Important: Toro Premium Synthetic Biodegradable Hydraulic Fluid on ainoa Toron hyväksymä luonnossa hajoava synteettinen neste. Neste on yhteensopiva Toro-hydraulijärjestelmissä käytettyjen elastomeerien kanssa, ja sitä voidaan käyttää useissa lämpötiloissa. Neste on yhteensopiva perinteisten mineraaliöljyjen kanssa, mutta paras mahdollinen luonnossa hajoavuus ja suorituskyky saavutetaan huuhtelemalla perinteinen neste perusteellisesti pois hydraulijärjestelmästä. Öljyä on saatavana 19 litran astioissa tai 208 litran tynnyreissä valtuutetulta Toro-jälleenmyyjältä.
| Huoltoväli | Huoltotoimenpide |
|---|---|
| Aina ennen käyttöä tai päivittäin |
|
Sijoita kone tasaiselle alustalle, laske leikkuuyksiköt, sammuta moottori ja irrota avain virtalukosta.
Tarkista hydraulinesteen määrä (Kuva 85).

| Huoltoväli | Huoltotoimenpide |
|---|---|
| 800 käyttötunnin välein |
|
| 2000 käyttötunnin välein |
|
| Kahden vuoden välein |
|
Jos hydraulineste likaantuu, hydraulijärjestelmä on huuhdeltava. Likaantunut neste näyttää maitomaiselta tai mustalta puhtaaseen öljyyn verrattuna. Neuvoja saa valtuutetulta Toro-jälleenmyyjältä.
Pysäköi kone tasaiselle alustalle, laske leikkuuyksiköt, sammuta moottori ja irrota virta-avain.
Irrota säiliön pohjan etuosassa oleva tyhjennystulppa ja anna hydraulinesteen valua suureen tyhjennysastiaan.
Kun hydraulinestettä ei enää valu, aseta tulppa takaisin paikalleen ja kiristä se.
Täytä säiliö hydraulinesteellä (Kuva 86). Katso kohta Hydraulinesteen tarkistus.
Important: Käytä vain ohjeissa mainittuja hydraulinesteitä. Muut nesteet vahingoittavat järjestelmää.

Asenna säiliön korkki, käynnistä moottori ja käytä kaikkia hydraulisia laitteita, jotta hydraulineste leviää koko järjestelmään.
Note: Varmista myös, että vuotoja ei ole. Sammuta sitten moottori.
Tarkista nestemäärä ja lisää nestettä mittatikun Full-merkintään saakka.
Note: Älä täytä liikaa.
| Huoltoväli | Huoltotoimenpide |
|---|---|
| 800 käyttötunnin välein |
|
| 1000 käyttötunnin välein |
|
Käytä seuraavia Toro-vaihtosuodattimia:
Osanro 94-2621 koneen takaosassa (leikkuuyksikkö)
osanro 75-1310 koneen etuosassa
Important: Muiden suodattimien käyttö saattaa mitätöidä joidenkin osien takuun.
Sijoita kone tasaiselle alustalle, laske leikkuuyksiköt, kytke seisontajarrut, sammuta moottori ja irrota avain virtalukosta.
Vaihda hydraulisuodattimet (Kuva 87).

Käynnistä moottori ja anna sen käydä pari minuuttia, jotta kaikki ilma purkautuu järjestelmästä. Sammuta sitten moottori ja tarkista, että järjestelmässä ei ole vuotoja.
| Huoltoväli | Huoltotoimenpide |
|---|---|
| Kahden vuoden välein |
|
Paineella suihkuava hydraulineste voi läpäistä ihon ja aiheuttaa vammoja.
Jos nestettä joutuu ihon alle, hakeudu välittömästi lääkäriin.
Varmista, että kaikki hydrauliletkut ja -putket ovat hyvässä kunnossa ja että kaikki hydrauliputkien liitokset ja liittimet ovat tiukalla, ennen kuin lisäät hydraulijärjestelmän painetta.
Pidä keho ja kädet kaukana vuotavista rei’istä ja suuttimista, joista suihkuaa korkeapaineista hydraulinestettä.
Etsi hydraulinestevuotoja pahvin tai paperin avulla.
Poista paine varovasti hydraulijärjestelmästä, ennen kuin huollat järjestelmää.
Tarkista päivittäin, ettei hydrauliletkuissa ja -putkissa ole vuotoja, kulumia, säävahinkoja tai kemiallisia vaurioita ja etteivät letkut ole kiertyneet eivätkä kiinnitykset tai liitännät löystyneet. Suorita kaikki tarvittavat korjaukset ennen koneen käyttöä.
Vastapainon testiportilla testataan vastapainopiirin paine (Kuva 88). Suositeltu vastapainon paine on 22,41 bar. Säädä vastapainon painetta löysäämällä lukkomutteria ja kiertämällä säätöruuvia (Kuva 88) myötäpäivään, kun haluat lisätä painetta, ja kiertämällä ruuvia vastapäivään, kun haluat laskea painetta. Kiristä sitten lukkomutteri. Painetta tarkistettaessa moottorin on oltava käynnissä ja leikkuupöydän on oltava alhaalla ja kellunta-asennossa.
Note: Kaikkien kolmen leikkuuyksikön kääntöpyörien on pysyttävä maassa, kun vastapainoa säädetään ja kun se on käytössä.

Note: Keskimmäistä leikkuuyksikköä voi kääntää (kallistaa), mutta se ei ole välttämätöntä.
Nosta keskimmäinen leikkuuyksikkö hieman irti maasta, kytke seisontajarru, sammuta moottori ja irrota avain virtalukosta.
Irrota sokka, joka kiinnittää vaimentimet nostovarsiin (Kuva 89).

Käännä vaimenninta kohti leikkuupöydän koteloa.
Irrota sokka ja liitintappi, jotka kiinnittävät leikkuukorkeusketjut leikkuuyksikön takaosaan (Kuva 90).

Käynnistä moottori ja nosta keskimmäistä leikkuuyksikköä hitaasti.
Nosta kumpaakin sivuleikkuupöytää hitaasti, kunnes painopiste siirtyy ja leikkuupöytä alkaa kääntyä pystyasentoon.
Sammuta moottori ja irrota virta-avain.
Laske sivuleikkuuyksiköitä hitaasti, kunnes painopiste siirtyy ja keskimmäinen leikkuuyksikkö kääntyy alas.
Istuudu istuimelle, käynnistä moottori ja laske keskimmäistä leikkuuyksikköä, kunnes se on vain vähän irti maasta.
Sammuta moottori, odota, että kaikki liikkuvat osat ovat pysähtyneet, ja irrota avain virtalukosta.
Kiinnitä leikkuukorkeusketjut leikkuuyksikön takaosaan.
Käännä vaimentimet ylös paikalleen ja kiinnitä ne liitintapilla ja sokalla.
Leikkuupöydän kaltevuus tarkoittaa leikkuukorkeuden erotusta terätason etureunan ja takareunan välillä. Terän kaltevuuden on oltava 8–11 mm. Tällöin terätason takareuna on 8–11 mm korkeammalla kuin etureuna.
Pysäköi kone tasaiselle alustalle työpajan lattialle.
Aseta leikkuuyksikkö haluttuun leikkuukorkeuteen.
Käännä terä osoittamaan suoraan eteenpäin.
Mittaa lyhyen viivaimen avulla etäisyys lattiasta terän etukärkeen.
Käännä terän kärki taakse ja mittaa etäisyys lattiasta terän kärkeen.
Laske terän kaltevuus vähentämällä etumitta takamitasta.
Löysää vastamuttereita leikkuukorkeusketjun U-pultin ylä- tai alapäästä (Kuva 91).
Nosta tai laske leikkuupöydän takaosaa ja aseta oikea leikkuupöydän kaltevuus säätämällä toista mutterisarjaa.
Kiristä vastamutterit.

Irrota kantaruuvit ja mutterit, joilla kääntöpyörän varsi on kiinni kääntöpyörän haarukassa (Kuva 92).
Nosta tai laske kääntöpyörää sijoittamalla välilevyt niin, että leikkuuyksikkö on oikeassa kaltevuudessa.
Asenna kantaruuvit ja mutterit.

Kääntöpyörien varsien holkit on painettu putken ylä- ja alapäähän, ja runsaan käytön jälkeen holkit kuluvat. Tarkasta holkit siirtämällä kääntöpyörän haarukkaa edestakaisin ja sivulta toiselle. Jos kääntöpyörän kara on löysällä holkkien sisällä, vaihda holkit.
Nosta leikkuuyksikköä siten, että pyörät irtoavat maasta, ja tue leikkuuyksikkö siten, ettei se pääse putoamaan.
Irrota kiristyskanta, välilevyt ja aluslaatta kääntöpyörän karan päältä.
Vedä kääntöpyörän kara ulos asennusputkesta.
Note: Jätä aluslaatta ja välilevyt karan alaosaan.
Aseta pistepuikko asennusputken ylä- tai alapäähän ja vedä holkki ulos putkesta (Kuva 93).

Ota toinen holkki putkesta.
Puhdista putkien sisäpuoli.
Levitä rasvaa uusien holkkien sisä- ja ulkopintaan.
Käytä vasaraa ja litteää levyä ja siirrä holkit asennusputkeen.
Tarkasta, ettei kääntöpyörän karassa ole kulumia, ja vaihda se tarvittaessa.
Työnnä kääntöpyörän kara holkkien ja asennusputken läpi.
Liu’uta painealuslaatta ja välilevyt karaan ja asenna kiristyskanta kääntöpyörän karaan, jotta kaikki osat pysyvät paikoillaan.
| Huoltoväli | Huoltotoimenpide |
|---|---|
| 800 käyttötunnin välein |
|
Irrota lukkomutteri pultista, jolla kääntöpyöräkokoonpano on kiinnitetty kääntöpyörän haarukan (Kuva 94) tai kääntöpyörän varren (Kuva 95) väliin.
Note: Tartu kääntöpyörään ja irrota pultti haarukasta tai kääntövarresta.


Irrota laakeri pyörännavasta ja päästä laakerin välikappale putoamaan (Kuva 94 ja Kuva 95).
Irrota laakeri pyörännavan vastakkaiselta puolelta.
Tarkasta, etteivät laakerit, välilevy ja pyörännavan sisäpuoli ole kuluneet, ja vaihda vaurioituneet osat.
Työnnä laakeri pyörännapaan kääntöpyörän kokoamista varten.
Note: Asentaessasi laakereita paina laakerin ulompaa vierintäpintaa.
Liu’uta välikappale pyörännapaan. Työnnä toinen laakeri pyörännavan avoimeen päähän siten, että se kiinnittyy pyörännavan sisällä olevaan laakerin välikappaleeseen.
Asenna kääntöpyöräkokoonpano kääntöpyörän haarukan väliin ja kiinnitä se pultilla ja lukkomutterilla.
Saranasuojus estää roskia pääsemästä leikkuuyksiköiden saranakohtien läpi. Jos suojus vahingoittuu tai kuluu, vaihda se.

Terä on tarkistettava säännöllisesti kulumisen ja vaurioiden varalta.
Ole varovainen, kun tarkastat teriä. Kiedo terien ympärille esimerkiksi kangas tai käytä käsineitä ja noudata varovaisuutta teriä huoltaessasi. Terät saa ainoastaan vaihtaa tai teroittaa. Niitä ei saa suoristaa eikä hitsata.
Ole varovainen käsitellessäsi moniteräisiä koneita, sillä yhden terän kääntäminen saattaa kääntää myös muita teriä.
Jos kone osuu vieraaseen esineeseen, tarkasta, onko koneessa vaurioita, ja korjaa ne ennen laitteen käynnistämistä ja käyttämistä. Kiristä kaikki karapyörän mutterit momenttiin 176–203 N∙m.
Sijoita kone tasaiselle alustalle. Nosta leikkuuyksikkö, kytke seisontajarru, aseta ajopoljin VAPAA-asentoon, aseta voimanulosoton vipu POIS-asentoon, sammuta moottori ja irrota virta-avain.
Note: Tue leikkuuyksikkö siten, ettei se pääse vahingossa putoamaan alas.
Käännä terää, kunnes päät osoittavat eteen- ja taaksepäin. Mittaa etäisyys leikkuuyksikön sisäpinnasta terän etuosan leikkuusärmään (Kuva 97).
Note: Merkitse tämä mitta muistiin.

Käännä terän vastakkainen pää osoittamaan eteenpäin ja mittaa leikkuuyksikön ja terän leikkuusärmän etäisyys samassa asennossa kuin vaiheessa 2.
Note: Vaiheiden 2 ja 3 välisten mittojen ero ei saa olla yli 3 mm. Jos ero on yli 3 mm, terä on vaihdettava, koska se on taipunut. Katso kohta Leikkuuyksiköiden terien irrotus ja asennus.
Vaihda terä, jos se osuu kiinteään esineeseen tai jos se on epätasapainossa tai taipunut. Käytä aina alkuperäisiä Toro-vaihtoteriä, jotta turvallisuus ja suorituskyky olisivat parhaat mahdolliset.
Pysäköi kone tasaiselle alustalle, nosta leikkuuyksikkö kuljetusasentoon, kytke seisontajarru, sammuta moottori ja irrota virta-avain.
Note: Tue tai lukitse leikkuuyksikkö siten, ettei se pääse vahingossa putoamaan alas.
Tartu terän päähän liinan tai paksun hansikkaan avulla.
Irrota teräpultti, nurmisuojakupu ja terä kara-akselista (Kuva 98).

Asenna terä, nurmisuojakupu ja teräpultti ja kiristä teräpultti momenttiin 115–149 N∙m.
Important: Terän kaarevan puolen on osoitettava leikkuuyksikön sisäpuolta kohti, jotta leikkuujäljestä tulee moitteeton.
Note: Jos terä on osunut vieraaseen esineeseen, kiristä kaikki karapyörän mutterit momenttiin 115–149 N·m.
Sekä leikkuusärmät että siipi, eli ylöspäin käännetty osa leikkuusärmää vastapäätä, vaikuttavat leikkuutulokseen.
Pidä terät terävinä koko leikkuukauden ajan. Kun terät ovat terävät, ne leikkaavat siististi repimättä tai silppuamatta ruohoa.
Tarkista, että terät eivät ole kuluneet tai vaurioituneet. Siipi nostaa ruohon suoraksi pystyyn ja tuottaa tasaisen leikkuutuloksen. Siipi kuluu vähitellen käytön aikana.
Pysäköi kone tasaiselle alustalle. Nosta leikkuuyksikkö, kytke seisontajarru, aseta ajopoljin VAPAA-asentoon, aseta voimanulosoton vipu POIS-asentoon, sammuta moottori ja irrota avain virtalukosta.
Tarkasta terän leikkuusärmät huolellisesti, varsinkin kohdat, joissa terän tasaiset ja käyrät osat kohtaavat (Kuva 99).
Note: Tarkista terä ennen leikkurin käyttöä, koska hiekka ja hankaavat materiaalit voivat kuluttaa metallia, jolla terän tasaiset ja käyrät osat liittyvät toisiinsa. Vaihda terä, jos siinä on kulumisen merkkejä (Kuva 99).

Tarkasta kaikkien terien leikkuusärmät ja teroita tylsät tai urautuneet leikkuusärmät (Kuva 100).
Note: Teroita vain leikkuusärmän yläosa ja säilytä alkuperäinen leikkuukulma, jotta terävyys säilyy (Kuva 100). Terä säilyttää tasapainonsa, kun molemmista leikkuusärmistä poistetaan metallia yhtä paljon.

Note: Irrota terät ja teroita ne hiomalaitteessa. Asenna leikkuusärmien teroituksen jälkeen terä, nurmisuojakupu ja teräpultti. Katso Leikkuuyksiköiden terien irrotus ja asennus.
Jos saman leikkuuyksikön terät ovat epätasapainossa, ruohon leikkausjäljessä on raitoja. Ongelma voidaan korjata varmistamalla, että terät ovat suorassa.
Pysäköi kone tasaiselle alustalle.
Nosta leikkuukorkeus ylimpään asentoon. Lisätietoja on kohdassa Leikkuukorkeuden säätö.
Laske leikkuuyksikkö tasaiselle alustalle ja irrota leikkuuyksikön päällä olevat suojukset.
Löysää kiristinpyörän kiinnittävää laippamutteria, jotta hihna löystyy.
Käännä teriä, kunnes päät osoittavat eteen- ja taaksepäin. Mittaa etäisyys lattiasta leikkuusärmän etukärkeen. Merkitse tämä mitta muistiin.
Käännä samaa terää siten, että sen vastakkainen pää osoittaa eteenpäin, ja mittaa uudelleen. Näiden etäisyyksien välinen ero saa olla korkeintaan 3 mm. Jos etäisyys on yli 3 mm, vaihda terä, koska se on taipunut. Mittaa kaikki terät.
Vertaa ulkoterien mittoja keskiterän mittaan.
Note: Keskiterä ei saa olla yli 10 mm alempana kuin ulkoterät. Jos keskiterä on yli 10 mm alempana kuin ulkoterät, siirry vaiheeseen 8 ja lisää välilevyjä karakotelon ja leikkuuyksikön alareunan väliin.
Irrota pultit, litteät aluslaatat, varmistuslaatat ja mutterit ulommasta karasta alueelta, jolle välilevyt on lisättävä.
Note: Nosta tai laske terää lisäämällä välilevy (osanro 3256-24) karakotelon ja leikkuuyksikön alareunan väliin. Tarkasta koko ajan terien kohdistus ja lisää välilevyjä, kunnes terien kärjet ovat halutun mitan etäisyydellä.
Important: Älä käytä missään aukossa useampaa kuin kolmea välilevyä. Jos lisäät johonkin aukkoon useamman kuin yhden välilevyn, käytä viereisissä aukoissa vähemmän levyjä.
Säädä kiristinpyörä ja asenna hihnan suojukset.
Important: Käsittele ohjaamon tiivisteitä ja valoja varovaisesti (Kuva 101). Jos käytät painepesuria, pidä pesurin suutin ainakin 60 cm:n päässä koneesta. Älä pese ohjaamon tiivisteitä ja valoja tai takaulokkeen alapuolta suoraan painepesurilla.

| Huoltoväli | Huoltotoimenpide |
|---|---|
| 250 käyttötunnin välein |
|
Irrota ruuvit ja säleiköt ohjaamon sisällä ja takana olevista ilmansuodattimista (Kuva 102 ja Kuva 103).


Puhdista suodattimet puhaltamalla puhdasta, öljytöntä paineilmaa niiden läpi.
Important: Vaihda suodatin, jos siinä on reikä, repeämä tai muu vaurio.
Asenna suodattimet ja säleikkö ja kiinnitä ne siipiruuveilla.
Ohjaamon esisuodattimen tarkoitus on estää suuria roskia, kuten ruohonkorsia ja lehtiä, päätymästä ohjaamon suodattimiin.
Käännä sihdin suojus alas.
Puhdista suodatin vedellä.
Note: Älä käytä painepesuria.
Important: Vaihda suodatin, jos siinä on reikä, repeämä tai muu vaurio.
Anna esisuodattimen kuivua ennen kuin asennat sen koneeseen.
Käännä suodattimen sihtiä kielekkeissä, kunnes salpa lukittuu salvan kannatinkokoonpanoon (Kuva 104).

| Huoltoväli | Huoltotoimenpide |
|---|---|
| 250 käyttötunnin välein |
|
Sammuta moottori ja irrota virta-avain.
Irrota kuusi mutteria ja aluslaattaa ohjaamon takaosan alta (Kuva 105).

Irrota ohjaamon katto-osa irrottamalla 22 pulttia, joilla katto on kiinnitetty (Kuva 106).

Irrota ilmansuodattimet (Kuva 106).
Irrota ja puhdista ilmastointilaitteen jäähdytyselementit (Kuva 106).
Asenna ilmastointilaitteen jäähdytyselementit, ilmansuodattimet ja ohjaamon katto takaisin paikoilleen.
Sammuta moottori, irrota virta-avain ja odota, että kaikki liikkuvat osat pysähtyvät, ennen kuin poistut käyttäjän paikalta. Anna koneen jäähtyä ennen sen säätöä, huoltoa, puhdistusta tai varastointia.
Älä säilytä konetta tai polttoainesäiliötä tilassa, jossa on avotuli, kipinöitä tai varmistusliekki (esimerkiksi vedenlämmitin tai muu vastaava laite).
Important: Älä puhdista konetta suolapitoisella tai kierrätetyllä vedellä.
Puhdista ajoyksikkö, leikkuuyksiköt ja moottori huolellisesti.
Tarkista rengaspaine. Täytä kaikki ajoyksikön renkaat paineeseen 0,83–1,03 bar.
Tarkista, etteivät kiinnikkeet ole löysällä, ja kiristä tarvittaessa.
Rasvaa kaikki rasvanipat ja nivelet. Pyyhi pois ylimääräinen voiteluaine.
Hio varovasti ja maalaa korjausmaalilla maalipinnat, jotka ovat naarmuuntuneet, lohkeilleet tai ruostuneet. Korjaa kaikki metallirungossa olevat kolhut.
Huolla akku ja kaapelit seuraavasti:
Irrota akkuliittimet akun navoista.
Note: Irrota ensin miinusnavan akkukenkä ja vasta sitten plusnavan akkukenkä. Kytke ensin plusnavan akkukenkä ja vasta sitten miinusnavan akkukenkä.
Puhdista akku, akkukengät ja navat teräsharjalla ja ruokasoodaliuoksella.
Voitele kaapeliliittimet ja akun navat Grafo 112X -suojarasvalla (osanumero 505-47) tai vaseliinilla ruostumisen ehkäisemiseksi.
Lataa akku hitaasti 60 päivän välein 24 tunnin ajan, jotta akkuun ei muodostu lyijysulfaattia.
Tyhjennä moottoriöljy öljysäiliöstä ja asenna tyhjennystulppa paikalleen.
Irrota ja hävitä öljynsuodatin. Asenna uusi öljynsuodatin.
Lisää öljysäiliöön ilmoitettu määrä moottoriöljyä.
Käännä virta-avain KäYNNISSä-asentoon, käynnistä moottori ja käytä sitä joutokäynnillä noin kahden minuutin ajan.
Käännä virta-avain PYSäYTYS-asentoon.
Tyhjennä kaikki polttoaine perusteellisesti polttoainesäiliöstä ja letkuista sekä polttoainesuodatin-/vedenerotinkokoonpanosta.
Huuhtele polttoainesäiliö tuoreella ja puhtaalla dieselpolttoaineella.
Varmista kaikki polttoainejärjestelmän liitännät.
Puhdista ja huolla ilmanpuhdistinjärjestelmä perusteellisesti.
Tiivistä ilmanpuhdistimen imuaukko sekä pakoaukko säänkestävällä teipillä.
Tarkista pakkassuojaus ja lisää pakkasnestettä alueella odotettavissa olevan alimman lämpötilan mukaan.