| Huoltoväli | Huoltotoimenpide |
|---|---|
| Aina ennen käyttöä tai päivittäin |
|
Tämä kone on ajettava kelateräviheriöleikkuri, joka on tarkoitettu ammattimaiseen kaupalliseen käyttöön. Se on tarkoitettu pääasiassa viheralueiden ruohonleikkuuseen. Tuotteen käyttäminen muuhun kuin sen aiottuun käyttötarkoitukseen voi olla vaarallista käyttäjälle ja sivullisille.
Lue nämä tiedot huolellisesti, jotta oppisit käyttämään ja huoltamaan laitetta asianmukaisesti sekä välttämään tapaturmia ja tuotevaurioita. Olet itse vastuussa tuotteen asianmukaisesta ja turvallisesta käytöstä.
Osoitteessa www.Toro.com on lisätietoja, jos tarvitset esimerkiksi turvallisuuteen liittyviä vinkkejä, käyttökoulutukseen liittyviä materiaaleja, tietoja lisävarusteista tai lähimmästä jälleenmyyjästä tai jos haluat rekisteröidä tuotteesi.
Aina kun tarvitset huoltoa, alkuperäisiä Toro-varaosia tai lisätietoja, ota yhteys valtuutettuun Toro-jälleenmyyjään. Ota tällöin tuotteesi malli- ja sarjanumerot valmiiksi esiin. Kuva 1 näyttää laitteen malli ja sarjanumeron sijainnin. Kirjoita numerot annettuun tilaan.
Important: Skannaa sarjanumerokilvessä (jos varusteena) oleva QR-koodi mobiililaitteella, niin saat tuotetietoja sekä takuu- ja varaosatietoja.

Tässä käyttöoppaassa esiintyvä varoitusmerkintä (Kuva 2) ilmaisee vaaratilannetta, josta saattaa olla seurauksena vakava tapaturma tai jopa kuolema, jos suositellut varotoimenpiteet laiminlyödään.

Tässä käyttöoppaassa käytetään kahta termiä tietojen korostamiseksi. Tärkeää kiinnittää huomiota mekaanisiin erikoistietoihin ja Huomautus korostaa erityishuomion ansaitsevia yleistietoja.
Tämä tuote on asiaankuuluvien eurooppalaisten direktiivien mukainen. Lisätietoja on erillisessä tuotekohtaisessa vaatimustenmukaisuusvakuutuksessa.
Kalifornian lain (California Public Resource Code) pykälät 4442 ja 4443 kieltävät tämän moottorin käytön metsä-, pensaikko- tai ruohopeitteisillä mailla, jos moottoria ei ole varustettu pykälässä 4442 mainitulla hyvässä käyttökunnossa pidetyllä kipinänsammuttimella tai jos moottoria ei ole suojattu, varustettu ja huollettu palovaaran ehkäisemiseksi.
Mukana toimitettavassa moottorin käyttöoppaassa on Yhdysvaltojen ympäristönsuojeluelimeen EPA:han (Environmental Protection Agency) ja Kalifornian päästöjärjestelmien päästöjen valvontasääntöihin sekä kunnossapitoon ja takuuseen liittyviä tietoja. Käyttöoppaita voi tilata moottorin valmistajalta.
Jos koneessa on telematiikkalaite, saat ohjeet laitteen aktivointiin valtuutetulta Toro-jälleenmyyjältä.
KALIFORNIA
Lakiesityksen 65 mukainen varoitus
Dieselmoottorin tuottamat pakokaasut ja jotkin niiden aineosat sisältävät kemikaaleja, jotka Kalifornian osavaltion tietojen mukaan aiheuttavat syöpää, synnynnäisiä epämuodostumia tai muuta lisääntymiseen liittyvää haittaa.
Akun liitännät, navat ja niihin liittyvät lisävarusteet sisältävät lyijyä ja lyijy-yhdisteitä, joiden tiedetään aiheuttavan syöpää ja haittaavan lisääntymistä. Pese kädet, kun olet käsitellyt näitä osia.
Tämän tuotteen käyttäminen voi altistaa kemikaaleille, jotka Kalifornian osavaltion tietojen mukaan aiheuttavat syöpää, synnynnäisiä epämuodostumia tai muuta lisääntymiseen liittyvää haittaa.
Tämä tuote voi katkaista jalan tai käden sekä singota esineitä.
Lue ja sisäistä tämän käyttöoppaan sisältö ennen moottorin käynnistämistä.
Koneen käyttö vaatii käyttäjän täyden huomion. Jos käyttäjän huomio keskittyy muualle, saattaa seurata henkilö- tai omaisuusvahinko.
Älä laita käsiä tai jalkoja koneen liikkuvien osien lähelle.
Älä käytä konetta ilman paikallaan olevia ja asianmukaisesti toimivia suojuksia ja muita suojalaitteita.
Älä päästä sivullisia ja lapsia käyttöalueelle. Älä anna lasten käyttää konetta.
Sammuta kone, irrota virta-avain ja odota, että kaikki liikkuvat osat pysähtyvät, ennen kuin poistut käyttäjän paikalta. Anna koneen jäähtyä ennen sen säätöä, huoltoa, puhdistusta tai varastointia.
Laitteen asiaton käyttö tai huolto voi aiheuttaa tapaturman.
Vähennä loukkaantumisriskiä noudattamalla näitä
turvallisuusohjeita ja huomioimalla aina varoitusmerkki
, joka tarkoittaa
varoitusta, vaaraa tai hengenvaaraa – henkilöturvallisuusohjeet.
Ohjeiden laiminlyönti saattaa johtaa henkilövahinkoon tai
kuolemaan.
![]() |
Turva- ja ohjetarrat on sijoitettu hyvin näkyville paikoille mahdollisten vaara-alueiden lähettyville. Korvaa vioittuneet tai kadonneet tarrat uusilla. |













Vaiheeseen tarvittavat osat:
| Turvakaari | 1 |
| Pultti (½ × 3¾ tuumaa) | 4 |
| Laippamutteri (½ tuumaa) | 4 |
Irrota kuljetuslaatikon ylätuki kuljetuslaatikosta.
Poista turvakaari kuljetuslaatikosta.
Irrota kolme pulttia, joilla oikean sivun suojus on kiinnitetty koneeseen, ja irrota suojus.
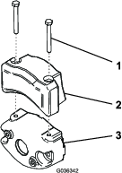
Irrota kaksi pulttia, joilla sulakerasian kannatin on kiinnitetty kaatumissuojausjärjestelmän kannattimeen (Kuva 3).

Kohdista sulakerasian kannatin oikeanpuoleiseen kaatumissuojausjärjestelmän kannattimeen ja asenna turvakaari koneen sivuilla oleviin kaatumissuojausjärjestelmän kannattimiin neljällä pultilla (½ × 3¾ tuumaa) ja neljällä laippamutterilla (½ tuumaa).
Kiristä kiinnikkeet momenttiin 136–149 N·m.
Kiinnitä oikean sivun suojus koneeseen kolmella aiemmin irrotetulla pultilla.
Vaiheeseen tarvittavat osat:
| Istuinsarja (tilattava erikseen; ota yhteys valtuutettuun Toro-jälleenmyyjään) | 1 |
Hanki soveltuva istuinsarja jälleenmyyjältä ja asenna se koneeseen. Katso sarjan asennusohjeet.
Vaiheeseen tarvittavat osat:
| Ohjauspyörä | 1 |
| Lukkomutteri (1½ tuumaa) | 1 |
| Aluslaatta | 1 |
| Ohjauspyörän keskiö | 1 |
Vaiheeseen tarvittavat osat:
| Telematiikkalaite | 1 |
| Laitteen kannatin | 1 |
| Telematiikan johdinsarja | 1 |
| Kuusiopultti (#10 × 1 tuumaa) | 4 |
| Lukkomutteri (#10) | 4 |
| U-pultti | 1 |
| Laippamutteri (⅜ tuumaa) | 2 |
| Nippuside | 4 |
Kiinnitä telematiikkalaite laitteen kannattimeen (Kuva 7) neljällä kuusiopultilla (#10 × 1 tuumaa) ja neljällä lukkomutterilla (#10) .

Kiinnitä laitteen kannatin turvakaaren käyttöoppaan säilytysputken yläpuoliselle alueelle U-pultilla ja kahdella laippamutterilla (⅜ tuumaa) (Kuva 8).

Kytke telematiikan johdinsarjan P02-liitin (Kuva 9) telematiikkalaitteeseen.

Irrota oikean sivun suojus (Kuva 10) koneesta.

Vie johdinsarja turvakaarta pitkin ja kytke johdinsarjan P01-liitin koneen johdinsarjan P49-liittimeen (Kuva 11).
Kiinnitä telematiikan johdinsarja pääjohdinsarjaan nippusiteellä (Kuva 11).

Kiinnitä johdinsarja turvakaareen nippusiteillä kuvan mukaisesti.

Asenna oikean sivun suojus koneeseen (Kuva 10).
Lataa akku. Katso kohta Akun lataus.
Vaiheeseen tarvittavat osat:
| Ruohonkeräimen koukku | 6 |
| Laippapultit | 12 |
Asenna kuusi ruohonkeräimen koukkua tukivarren tankojen päihin 12 laippapultilla (Kuva 13).

Vaiheeseen tarvittavat osat:
| Mittapalkki | 1 |
| Leikkuuyksikkö (tilaa valtuutetulta Toro-jälleenmyyjältä) | 3 |
| Ruohonkeräin | 3 |
| Sähköisen kelamoottorin vastapaino | 3 |
| Kantaruuvi | 6 |
| O-rengas | 3 |
Valmistele leikkuuyksiköt asennusta varten. Katso ohjeet leikkuuyksikön käyttöoppaasta.
Levitä rasvaa käytön kytkentäkappaleen sisäpinnalle.
Asenna O-rengas kumpaankin kelamoottoriin kuvan mukaisesti (Kuva 14).

Asenna sähköisen kelamoottorin vastapaino. Katso kohta Sähköisten vastapainojen asennus.
Asenna leikkuuyksiköt. Katso kohta Leikkuuyksiköiden asennus.
Koneessa on leikkuusäätötoiminto, joka vaihtelee kelojen nopeutta koneen nopeuden mukaisesti niin, että leikkuujälki pysyy tasaisena. Tämä varmistaa tasaisen, korkealaatuisen ruohonleikkuun ja yhtenäisen leikkuujäljen. Leikkuusäätötoiminto on automaattisesti pois käytöstä. Jos haluat määrittää toiminnon ja kytkeä sen päälle, katso kohta Leikkuusäätötoiminnon säätö.
Vaiheeseen tarvittavat osat:
| Painosarja, osanumero 121-6665 (ostettava erikseen) Huom. Tätä sarjaa ei tarvita yksiköissä, joihin on asennettu kolmipyörävetosarja. | 1 |
Painosarjalla 121-6665 varustettuna tämä yksikkö on standardien EN ISO 5395:2013 ja ANSI B71.4-2017 mukainen.
Note: Mikäli yksikössä on kolmipyörävetosarja, siinä ei tarvitse käyttää lisäpainoja standardien EN ISO 5395:2013 ja ANSI B71.4-2017 vaatimusten täyttämiseksi.
Vaiheeseen tarvittavat osat:
| CE-suojussarja – osanumero 04443 (myydään erikseen) | 1 |
Asenna CE-suojussarja. Katso Greensmaster 3420 TriFlex -ajoyksikön CE-suojussarjan asennusohjeet.
Vaiheeseen tarvittavat osat:
| Varoitustarra (osanumero 136-8505) | 1 |
| CE-merkintätarra | 1 |
| Valmistusvuoden tarra | 1 |
Jos tätä konetta käytetään maassa, jossa noudatetaan CE-standardeja, suorita seuraavat toimenpiteet suojussarjan asentamisen jälkeen:
Renkaat on ylitäytetty tehtaalla kuljetusta varten. Vähennä paine sopivaksi ennen koneen käynnistämistä. Katso kohta Rengaspaineen tarkistus.
Aja jarrut sisään. Katso kohta Jarrujen sisäänajo.

Ajopolkimella (Kuva 19) on kolme toimintoa: eteenpäin ajo, peruutus ja koneen pysäytys. Kun haluat koneen liikkuvan eteenpäin, paina polkimen yläosaa. Kun haluat koneen liikkuvan taaksepäin tai kun tarvitset apua jarrutukseen, paina polkimen alaosaa. Kun päästät polkimen vapaalle, kone pysähtyy. Käyttömukavuuden takaamiseksi älä pidä kantapäätä peruutuspolkimella, kun ajat eteenpäin (Kuva 20).


Ajonopeudet ovat seuraavat:
leikkuunopeus eteenpäin 3,2–8 km/h
enimmäiskuljetusnopeus 16 km/h
peruutusnopeus 4,0 km/h.
Paina poljinta (Kuva 19) ja nosta tai laske ohjausvarsi sopivalle korkeudelle. Lukitse varsi paikalleen vapauttamalla poljin.
Kaasuvivulla (Kuva 21) ohjataan moottorin kierrosnopeutta. Lisää moottorin kierrosnopeutta siirtämällä kaasuvipu NOPEA-asentoon ja hidasta nopeutta siirtämällä vipu HIDAS-asentoon.
Note: Kaasuvivulla ei voi sammuttaa moottoria.

Kun vipua (Kuva 21) siirretään käytön aikana eteenpäin, leikkuuyksiköt laskeutuvat alas ja kelat käynnistyvät. Kun haluat pysäyttää kelat ja nostaa leikkuuyksiköt, vedä vipua taaksepäin. Voit pysäyttää kelat nostamatta leikkuuyksiköitä vetämällä vipua hetkeksi taaksepäin ja päästämällä sen sitten irti. Käynnistä kelat siirtämällä vipua eteenpäin.
Toiminnonohjausvivulla (Kuva 21) voidaan valita kaksi erilaista ajotoimintoa ja Vapaa-asento. Vipu voidaan siirtää leikkuusta kuljetukselle ja kuljetuksesta leikkuulle (ei vapaalle) koneen liikkuessa, eikä tästä seuraa vahinkoa.
TAKA-ASENTO – vapaa-asento, käytä kelojen läppäykseen
KESKIASENTO – käytä ruohonleikkuuseen
ETUASENTO – käytä ajaessa työskentelyalueelta toiselle
Käynnistä moottori työntämällä virta-avain virtalukkoon (Kuva 21) ja kääntämällä avainta myötäpäivään KäYNNISTYS-asentoon. Vapauta avain heti, kun moottori käynnistyy. Avain siirtyy KäYNNISSä-asentoon. Sammuta moottori kääntämällä avainta vastapäivään PYSäYTYS-asentoon.
Kytke seisontajarru vetämällä jarruvipua (Kuva 22). Vapauta se puristamalla jarruvivun alapuolella olevaa vapautusvipua ja laskemalla se vapautusasentoon. Kytke seisontajarru aina ennen koneelta poistumista.

Tietokeskuksen näytössä on tietoja koneen käyttötilasta, diagnostiikkatietoja ja muita koneeseen liittyviä tietoja.

Note: Kunkin painikkeen käynnistämä toiminto vaihtelee tilanteen mukaan. Jokaisessa painikkeessa näkyy kuvake, joka ilmaisee painikkeen sillä hetkellä käytössä olevan toiminnon.
Navigointipainikkeilla voit siirtyä päätietonäytön, eReel-moottorinäytön ja valikkokohtien välillä:
Päätietonäyttö (Kuva 24): näyttää koneen senhetkiset tiedot, kun virta-avain on KäYNNISSä-asennossa.

eReel-moottorinäyttö (Kuva 25): näyttää kunkin leikkuuyksikön moottorin nopeuden ja virran.

Päävalikko: katso kohta Valikoiden käyttö.
![]() | Tuntilaskuri |
![]() | Toiminnonohjauskytkin on VAPAA-asennossa. |
![]() | Toiminnonohjauskytkin on KULJETUS-asennossa. |
![]() | Toiminnonohjauskytkin on LEIKKUU-asennossa. |
![]() | Kuljettajan on oltava istuimella. |
![]() | Seisontajarru on kytkettynä. |
![]() | Käynnistä moottori. |
![]() | Moottori |
![]() | Moottorin jäähdytysneste |
![]() | Hehkutulppa |
![]() | Voimanulosotto on käytössä. |
![]() | Voimanulosotto on vapautettu. |
![]() | Akku |
![]() | Leikkuuyksiköitä nostetaan. |
![]() | Leikkuuyksiköitä lasketaan. |
![]() | Aktiivinen |
![]() | Ei aktiivinen |
![]() | Edellinen |
![]() | Seuraava |
![]() | Lisää |
![]() | Vähennä |
![]() | Edellinen näyttö |
![]() | Seuraava näyttö |
![]() | Nosta arvoa |
![]() | Laske arvoa |
![]() | Valikko |
![]() | Vieritä ylös/alas |
![]() | Vieritä vasemmalle/oikealle |
Avaa tietokeskuksen valikko painamalla päänäytössä VALIKKOPAINIKETTA. Esiin tulee PääVALIKKO. Valikkojen toiminnot on merkitty lyhyesti seuraaviin taulukoihin:
| Valikon kohta | Kuvaus |
| VIKA | VIAT-valikossa on lueteltu koneen viimeaikaiset viat. Lisätietoja VIAT-valikosta ja sen sisältämistä tiedoista saa huolto-oppaasta tai valtuutetulta Toro-jälleenmyyjältä. |
| HUOLTO | HUOLTO-valikossa on koneeseen liittyviä tietoja, kuten käyttötunnit ja muita vastaavia lukuja. Katso taulukko Service (Huolto). |
| DIAGNOSTICS (DIAGNOSTIIKKA) | DIAGNOSTIIKKA-valikossa on lueteltu koneen tilat. Sitä voi käyttää joidenkin ongelmien vianmääritykseen, koska siitä näkee helposti, mitkä koneen ohjaimet ovat käytössä ja mitkä pois käytöstä. |
| ASETUKSET | ASETUKSET-valikossa voi muokata tietokeskuksen näytön asetuksia. Katso taulukko Asetukset. |
MACHINE SETTINGS (Koneen asetukset) ![]() | KONEEN ASETUKSET ‑valikossa voi säätää koneen asetuksia, kuten kelanopeutta, enimmäisleikkuunopeutta ja enimmäiskuljetusnopeutta. Katso taulukko Koneen asetukset. |
| ABOUT | TIETOJA-valikossa on mainittu koneen mallinumero, sarjanumero ja ohjelmiston versio. Katso taulukko Tietoja. |
| Valikon kohta | Kuvaus |
| HOURS | Näyttää kokonaisajan, jonka kone, moottori, kelat, läppäys ja puhallin ovat olleet käytössä, sekä ajan, jonka verran konetta on kuljetettu ja kuinka kauan se on ollut ylikuumentunut. |
| COUNTS | Näyttää koneen esilämmitysten ja käynnistysten määrän. |
| BACKLAP | Läppäyksen kytkeminenPääLLä/POIS-tilaan (kun läppäys on päällä, se voidaan kytkeä pois käytöstä tällä asetuksella tai kääntämällä virta-avain pysäytys-asentoon). |
| Valikon kohta | Kuvaus |
| ANNA PIN-KOODI | Antaa käyttäjän (viheriön hoitaja / mekaanikko), jolle tämän yritys on antanut PIN-koodin, käyttää suojattuja valikoita. |
| BACKLIGHT | LCD-näytön kirkkauden säätö |
| LANGUAGE | Tietokeskuksessa käyttävien kielten kontrollointi |
| FONTTIKOKO | Määrittää fontin koon tietokeskuksessa. |
| UNITS | Kontrolloi tietokeskuksen yksiköitä. Valikon vaihtoehdot ovat englantilainen (brittiläiset mitat) tai metrinen (metrijärjestelmä). |
PROTECT SETTINGS ![]() | Suojattujen valikoiden kontrollointi. |
OLETUSASETUSTEN NOLLAUS![]() | Tietokeskuksen oletusasetusten palautus. |
| Valikon kohta | Kuvaus |
OLETUSASETUSTEN NOLLAUS![]() | Tietokeskuksen oletusasetusten palautus. |
RAISE DELAY (Noston viive) ![]() | Keskimmäisen leikkuuyksikön noston viiveajan kontrollointi. |
LOWER DELAY (Laskun viive) ![]() | Keskimmäisen leikkuuyksikön laskun viiveajan kontrollointi. |
TAPOFF TIME (Kelojen pysäytysaika) ![]() | Kelojen pysäytyksen viiveen kontrollointi. |
REEL SPEED (Kelanopeus) ![]() | Säätää terän nopeutta leikkuuyksiköissä. |
BACKLAP SPEED (Läppäysnopeus) ![]() | Läppäyksen nopeuden kontrollointi. |
CLIP CONTROL (Leikkuun säätö) ![]() | Automaattisen leikkuusäätötoiminnon kytkeminen päälle tai pois. |
TERIEN MääRä![]() | Kelojen terien lukumäärän valinta. Tämä asetus on tarpeellinen ainoastaan, jos CLIP CONTROL (Leikkuun säätö) on PääLLä. |
BACKLAP SPEED ![]() | Halutun leikkuukorkeuden asetus. Tämä asetus on tarpeellinen ainoastaan, jos LEIKKUUN SääTö on PääLLä. |
| Valikon kohta | Kuvaus |
| MODEL | Näyttää koneen mallinumeron. |
| SN | Näyttää koneen sarjanumeron. |
| S/W REV | Näyttää pääohjaimen ohjelmiston version. |
XDM-2700 ![]() | Näyttää tietokeskuksen ohjelmiston version. |
CUTTING UNIT 1![]() | Näyttää keskimmäisen leikkuuyksikön moottorin ohjelmistoversion. |
CUTTING UNIT 2![]() | Näyttää vasemmanpuoleisen etuleikkuuyksikön moottorin ohjelmistoversion. |
CUTTING UNIT 3![]() | Näyttää oikeanpuoleisen etuleikkuuyksikön moottorin ohjelmistoversion. |
GENERATOR (Laturi) ![]() | Näyttää laturin sarjanumeron. |
Note:
Suojatuissa
valikoissa – pääsy vain PIN-koodilla. Katso kohta Suojattujen valikoiden käyttö.
Note: Koneen oletus-PIN on joko 0000 tai 1234.Jos vaihdoit PIN-koodin ja unohdit uuden koodin, ota yhteys valtuutettuun Toro-jälleenmyyjään.
Etsi PääVALIKOSTAASETUKSET-valikko ja paina valintapainiketta (Kuva 26).

Etsi ASETUKSET-valikosta ANNA PIN-KOODI ja paina valintapainiketta (Kuva 27A).

PIN-koodi syötetään painamalla navigointipainikkeita ylös/alas, kunnes oikea ensimmäinen numero tulee näkyviin, ja siirtymällä sitten toiseen numeroon painamalla oikeanpuoleista navigointipainiketta (Kuva 27B ja Kuva 27C). Toista, kunnes kaikki numerot on annettu.
Paina valintapainiketta (Kuva 27D).
Note: Jos näyttö hyväksyy PIN-koodin ja suojattu valikko
avataan, näytön oikeassa yläkulmassa näkyy
.
Voit lukita suojatun valikon kääntämällä avainkytkimen PYSäYTYS-asentoon ja sitten KäYNNISSä-asentoon.
Vieritä kohdassa SETTINGS (Asetukset) kohtaan PROTECT SETTINGS (Suojaa asetukset).
SUOJAA ASETUKSET voidaan
vaihtaa
(Pois)
‑tilaan valintapainikkeella. Tällöin asetuksia voidaan tarkastella
ja muuttaa ilman PIN-koodia.
Näytä ja muuta asetuksia PIN-koodilla vaihtamalla SUOJAA ASETUKSET ‑kohta
(Päällä)
‑tilaan valintapainikkeella, asettamalla PIN-koodi ja kääntämällä
avain virtalukossa PYSäYTYS-asentoon
ja sitten KäYNNISSä-asentoon.

Valo vilkkuu punaisena: aktiivinen vika
Jatkuva punainen: aktiivinen ilmoitus
Jatkuva sininen: kalibrointi-/valintaikkunaviestit
Jatkuva vihreä: normaali toiminta
Keskimmäisen leikkuuyksikön noston ja laskun viiveaikoja voidaan säätää tietokeskuksessa välillä 1–10 seuraavan taulukon mukaisesti. Tehtaan oletusasetus on 6 (375 ms), ja se on optimoitu leikkuunopeudelle 6,1 kilometriä tunnissa.
| Kierrosnumero | Viiveaika (sekuntia) |
| 1 | 0,100 |
| 2 | 0,150 |
| 3 | 0,200 |
| 4 | 0,250 |
| 5 | 0,300 |
| 6 | 0,375 |
| 7 | 0,475 |
| 8 | 0,600 |
| 9 | 0,750 |
| 10 | 0,925 |
Kelojen pysäytyksen viivettä kontrolloivan toiminnon avulla voidaan kytkeä leikkuuyksiköt pois käytöstä niitä nostamatta. Toimintoa voidaan säätää tietokeskuksessa. Viiveasetus merkitsee enimmäisaikaa, jonka lasku-/nosto-ohjausvipu pysyy nostoasennossa toiminnon käynnistämiseksi. Tehtaan oletusasetus on 1, jolla toiminto kytketään pois käytöstä.
| Kierrosnumero | Viiveaika (sekuntia) |
| 1 | Pois |
| 2 | 0,050 |
| 3 | 0,100 |
| 4 | 0,150 |
| 5 | 0,200 |
| 6 | 0,250 |
| 7 | 0,300 |
| 8 | 0,350 |
| 9 | 0,400 |
| 10 | 0,450 |
Jotta saavutettaisiin tasainen, korkealuokkainen leikkuulaatu ja leikkuujälki, koneessa on leikkuusäätötoiminto, joka vaihtelee kelojen nopeutta koneen nopeuden mukaisesti niin, että leikkuujälki pysyy tasaisena. Tämä toiminto on automaattisesti POIS käytöstä. Jos otat tämän toiminnon käyttöön, varmista, että terien määrä ja leikkuukorkeus on määritetty soveltuviin arvoihin ASETUKSET-valikossa.
Leikkuusäätötoiminto vaihtelee kelojen nopeutta automaattisesti koneen nopeuden mukaan. Jos et käytä leikkuusäätötoimintoa, säädä kelan nopeus manuaalisesti seuraavalla tavalla:
Valitse leikkuukorkeus, johon leikkuuyksiköt on asetettu.
Valitse olosuhteisiin parhaiten sopiva ajonopeus.
Määritä 5-, 8-, 11- tai 14-lehtiselle leikkuuyksikölle sopiva kelanopeuden asetus kaavion avulla (Kuva 29).

Aloita kelanopeuden säätö avaamalla tietokeskuksen päävalikko ja etsimällä kohta ASETUKSET.
Etsi ASETUKSET-valikossa kohta REEL SPEED (Kelanopeus) ja valitse haluttu kelan nopeus soveltuvalla painikkeella.
Vikalokin ilmaisimen kuvake näytetään päänäytössä, jos koneeseen tulee vika. Kun kuvake on näkyvissä, Viat-valikossa näkyy uusi lokitapahtuma, jonka avulla käyttäjä tai jälleenmyyjä voi määrittää ongelman.
Vikaluettelon saa valtuutetulta Toro-jälleenmyyjältä tai huolto-oppaasta.
Istuimen säätövipu on istuimen vasemmassa etukulmassa (Kuva 30). Sen avulla istuinta voi säätää eteen- ja taaksepäin.
Note: Jos säätövaraa on oltava enemmän, istuimen liukukiskojen ja jalustan väliset neljä mutteria voidaan irrottaa ja istuimen liukukiskot voidaan siirtää toisiin kiinnitysaukkoihin.

Sulje istuimen takana ja polttoainesäiliön alla oleva polttoaineen sulkuventtiili (Kuva 31), kun kone varastoidaan tai kun sitä siirretään kuorma-autolla tai peräkärryllä.

Ennen kuin asennat, irrotat tai huollat leikkuuyksiköitä, katkaise leikkuuyksiköiden virransyöttö irrottamalla leikkuuyksikön virtaliittimet toisistaan (Kuva 32). Ne sijaitsevat turvakaaren alla ajoyksikön vasemmalla puolella. Kytke liittimet ennen koneen käyttöä.

Jos virransyöttöä leikkuuyksiköihin ei katkaista, joku saattaa vahingossa käynnistää leikkuuyksikön, mikä voi johtaa käsien ja jalkojen vakavaan loukkaantumiseen.
Irrota aina leikkuuyksikön virtaliittimet toisistaan ennen leikkuuyksiköiden huoltoa.
Note: Ominaisuuksia ja rakennetta voidaan muuttaa ilmoittamatta.
| Leikkuuleveys | 151 cm |
| Maavara vähintään (koneen keskilinjassa) | 11 cm |
| Raideväli (renkaan keskiviivaan) | 128 cm |
| Raideväli (renkaan ulkoreunaan) | 154 cm |
| Akseliväli | 119 cm |
| Kokonaispituus (keräimet asennettuina) | 249 cm |
| Kokonaisleveys | 179 cm |
| Kokonaiskorkeus | 205 cm |
| Nettopaino, kun käytössä on 8-lehtiset kelat | 766 kg |
| Nettopaino, kun käytössä on 11-lehtiset kelat | 770 kg |
Koneeseen on saatavana valikoima Toron hyväksymiä lisälaitteita ja -varusteita, joiden avulla voidaan parantaa ja laajentaa sen ominaisuuksia. Ota yhteys valtuutettuun huoltoliikkeeseen tai valtuutettuun Toro-jälleenmyyjään tai siirry osoitteeseen www.Toro.com, jossa on luettelo hyväksytyistä lisälaitteista ja -varusteista.
Käytä vain aitoja Toro-varaosia ja -lisävarusteita, jotta kone toimisi parhaalla mahdollisella tavalla ja sen turvasertifiointi pysyisi voimassa. Muiden valmistajien varaosat ja lisävarusteet voivat osoittautua vaarallisiksi, ja niiden käyttö voi johtaa tuotteen takuun raukeamiseen.
Note: Koneen vasen ja oikea puoli määritellään normaalista käyttöasennosta käsin.
Älä anna lasten tai kouluttamattomien henkilöiden käyttää tai huoltaa laitetta. Paikalliset säännökset saattavat asettaa rajoituksia käyttäjän iälle. Omistaja vastaa käyttäjien ja mekaanikkojen koulutuksesta.
Tutustu laitteen turvallisen käytön ohjeisiin, ohjauslaitteisiin ja turvamerkintöihin.
Kytke seisontajarru, sammuta kone, irrota virta-avain ja odota, että kaikki liikkuvat osat pysähtyvät, ennen kuin poistut käyttäjän paikalta. Anna koneen jäähtyä ennen säätöä, huoltoa, puhdistusta tai varastointia.
Selvitä, miten kone voidaan pysäyttää ja moottori sammuttaa nopeasti.
Tarkista, että käyttäjän pitokytkimet, turvakytkimet ja suojalaitteet ovat paikoillaan ja toimivat oikein. Älä käytä konetta, mikäli ne eivät toimi kunnolla.
Tarkasta aina ennen leikkaamista, että leikkuuyksiköt ovat hyvässä käyttökunnossa.
Tarkasta koneen käyttöalue ja poista siltä kaikki esineet, joita kone voi singota.
Käsittele polttoainetta erittäin varovasti. Se on tulenarkaa, ja höyryt räjähtävät herkästi.
Sammuta savukkeet, sikarit, piiput ja muut sytytyslähteet.
Käytä vain hyväksyttyä polttoaineastiaa.
Älä irrota polttoainesäiliön korkkia tai täytä polttoainesäiliötä moottorin ollessa käynnissä tai kuuma.
Älä lisää tai tyhjennä polttoainetta suljetussa tilassa.
Älä säilytä konetta tai polttoainesäiliötä tilassa, jossa on avotuli, kipinöitä tai varmistusliekki (esimerkiksi vedenlämmitin tai muu vastaava laite).
Jos polttoainetta roiskuu, älä yritä käynnistää moottoria. Vältä luomasta minkäänlaisia kipinälähteitä, ennen kuin polttoainehöyryt ovat hälvenneet.
Polttoainesäiliön tilavuus: 22,7 litraa
Suositeltu polttoaine:
Parhaat tulokset saadaan käyttämällä vain puhdasta, tuoretta dieselpolttoainetta tai biodieseliä, jonka rikkipitoisuus on alhainen (<500 ppm) tai erittäin alhainen (<15 ppm). Setaaniluvun on oltava vähintään 40. Jotta polttoaine olisi tuoretta, osta sitä vain 180 päivän tarpeeseen.
Käytä kesälaatuista dieselpolttoainetta (nro 2-D) yli –7 °C:n lämpötiloissa ja talvilaatuista dieselpolttoainetta (nro 1-D tai nro 1-D / nro 2-D -seosta) alle –7 °C:n lämpötiloissa. Talvilaatuisen polttoaineen leimahduspiste on alhaisempi, ja sen kylmävirtausominaisuudet helpottavat käynnistystä ja vähentävät polttoainesuodattimen tukkeutumista.
Note: Kesälaatuisen polttoaineen käyttö lämpötilan ollessa yli –7 °C pidentää polttoainepumpun käyttöikää ja antaa talvilaatuista polttoainetta enemmän tehoa.
Tässä laitteessa voidaan käyttää myös polttoaineseosta, jossa on enintään 20 % biodieseliä (B20). Seoksen petrodieselosuuden rikkipitoisuuden on oltava alhainen tai erittäin alhainen. Noudata seuraavia varo-ohjeita:
Polttoaineen biodieselosuuden on oltava ASTM D6751:n tai EN 14214:n mukainen.
Polttoaineseoksen koostumuksen on oltava ASTM D975:n tai EN 590:n mukainen.
Biodieselseokset voivat vahingoittaa maalattuja pintoja.
Käytä kylmällä säällä korkeintaan B5-seosta (biodieselpitoisuus 5 %).
Tarkkaile polttoaineen kanssa kosketuksiin joutuvia tiivisteitä ja letkuja, sillä ne voivat haurastua ajan mittaan.
Polttoainesuodattimeen voi muodostua tukoksia jonkin aikaa biodieselseosten käytön aloittamisen jälkeen.
Lisätietoja biodieselistä saa valtuutetulta Toro-jälleenmyyjältä.
Puhdista polttoainesäiliön korkin ympäristö ja irrota korkki (Kuva 33).

Lisää määritettyä polttoainetta polttoainesäiliöön, kunnes pinta on 25 mm täyttökaulan alareunan alapuolella. Säiliöön jäävä tila sallii polttoaineen laajenemisen.
Important: Polttoainesäiliötä ei saa täyttää aivan täyteen.
Asenna korkki.
Note: Kun korkki on paikoillaan, kuuluu naksahdus.
Pyyhi läikkynyt polttoaine pois.
| Huoltoväli | Huoltotoimenpide |
|---|---|
| Aina ennen käyttöä tai päivittäin |
|
Suorita seuraavat toimet ennen koneen käynnistystä päivittäin:
Tarkista moottoriöljyn määrä. Katso kohta Moottoriöljyn tarkistus.
Tyhjennä vesi polttoainesuodattimesta. Katso kohta Veden tyhjennys polttoainesuodattimesta.
Tarkista jäähdytysjärjestelmä. Katso kohta Jäähdytysjärjestelmän huolto.
Tarkista rengaspaine. Katso kohta Rengaspaineen tarkistus.
Tarkista hydraulinesteen määrä. Katso kohta Hydraulinesteen määrän tarkistus.
Tarkista kelan ja kiinteän terän kosketus. Katso kohta Kelan ja kiinteän terän kosketuksen tarkistus.
Omistaja ja käyttäjä voivat estää loukkaantumisia tai omaisuusvahinkoja aiheuttavat tapaturmat ja ovat siksi vastuussa niistä.
Pukeudu asianmukaisesti. Käytä silmäsuojaimia, pitkiä housuja, tukevia liukastumisen estäviä kenkiä ja kuulosuojaimia. Sido pitkät hiukset. Älä käytä löysiä vaatteita tai riippuvia koruja.
Älä käytä konetta sairaana, väsyneenä tai alkoholin tai huumaavien aineiden vaikutuksen alaisena.
Koneen käyttö vaatii käyttäjän täyden huomion. Jos käyttäjän huomio keskittyy muualle, saattaa seurata henkilö- tai omaisuusvahinko.
Varmista ennen moottorin käynnistämistä, että kaikki käytöt ovat vapaalla ja että seisontajarru on kytketty. Käynnistä moottori ollessasi käyttäjän paikalla.
Älä kuljeta koneessa matkustajia.
Älä päästä sivullisia ja lapsia käyttöalueelle. Jos läsnä on oltava työtovereita, varmista, että ruohonkeräimet on asennettu koneeseen.
Käytä konetta vain, kun näkyvyys on hyvä, jotta vältät kuopat ja piilevät vaarat.
Vältä märän ruohon leikkuuta. Heikentynyt pito voi aiheuttaa koneen luisumisen.
Pidä kädet ja jalat etäällä leikkuuyksiköistä.
Varmista ennen peruuttamista, että reitti on vapaa, katsomalla taakse ja alas.
Ole varovainen lähestyessäsi kulmia, joissa on huono näkyvyys, pensaita, puita tai muita näköesteitä.
Pysäytä leikkuuyksiköt aina, kun et leikkaa ruohoa.
Hidasta ja ole varovainen kääntyessäsi koneella ja ylittäessäsi teitä ja jalkakäytäviä. Anna muille aina etuajo-oikeus.
Käytä moottoria vain tiloissa, joissa on hyvä ilmanvaihto. Pakokaasut sisältävät hiilimonoksidia, joka on hengenvaarallinen hengitettäessä.
Älä jätä käynnissä olevaa konetta ilman valvontaa.
Tee seuraavat toimet ennen käyttäjän paikalta poistumista:
Pysäköi kone tasaiselle alustalle.
Laske leikkuuyksiköt maahan ja varmista, että ne on kytketty pois.
Kytke seisontajarru.
Sammuta moottori ja irrota virta-avain.
Odota, että kaikki liikkuvat osat ovat pysähtyneet.
Käytä laitetta vain, kun näkyvyys on hyvä ja kun sääolosuhteet ovat hyvät. Älä käytä konetta ukonilman aikana.
Älä irrota mitään kaatumissuojausjärjestelmän osia koneesta.
Varmista, että turvavyö on kiinnitetty ja nopeasti avattavissa hätätilanteessa.
Käytä aina turvavyötä.
Tarkista vapaa alikulkukorkeus ja varo osumasta esteisiin.
Pidä kaatumissuojausjärjestelmä turvallisessa käyttökunnossa tarkistamalla se vaurioiden varalta säännöllisesti ja pitämällä kaikki kiinnittimet tiukalla.
Vaihda kaikki vaurioituneet kaatumissuojausjärjestelmän osat. Älä korjaa tai muuta niitä.
Rinteissä on huomattava koneen hallinnan menettämisen ja kaatumisen vaara. Tällaiset onnettomuudet voivat aiheuttaa vakavan tapaturman tai kuoleman. Käyttäjä on vastuussa turvallisesta käytöstä rinteissä. Koneen käyttö rinteissä edellyttää erityistä huolellisuutta.
Käyttäjän on arvioitava leikkuupaikan olosuhteet ja tarkastettava käyttöpaikka ja määritettävä niiden perusteella, onko rinne turvallinen koneen käyttöön. Tämä tarkastus on tehtävä huolellisesti ja harkiten.
Kun käytät konetta rinteissä, tarkista alla olevat ohjeet. Ennen kuin aloitat koneen käytön, tarkista työskentelyalueen olosuhteet ja arvioi, voitko käyttää konetta kyseisellä paikalla ja vallitsevissa olosuhteissa. Maaston muutokset voivat vaikuttaa koneen käyttöön rinteissä.
Vältä koneen käynnistämistä, pysäyttämistä tai kääntämistä rinteissä. Vältä nopeuden tai suunnan äkillistä muuttamista. Käänny hitaasti ja vähän kerrallaan.
Älä käytä konetta olosuhteissa, joissa pito, ohjaus tai vakaus ovat kyseenalaisia.
Poista tai merkitse esteet, kuten ojat, kuopat, urat, töyssyt, kivet tai muut piilevät vaarat. Korkea ruoho voi peittää esteet. Maaston epätasaisuudet voivat kaataa koneen.
Huomaa, että koneen käyttö märässä ruohossa, poikittain rinteissä tai alamäessä saattaa johtaa koneen pidon menettämiseen. Pidon menetys vetopyörissä saattaa aiheuttaa luisumisen ja jarrujen ja ohjauksen hallinnan menetyksen.
Käytä konetta erityisen varovasti pudotusten, ojien, vallien, vesiesteiden tai muiden vaarojen lähellä. Kone voi kaatua yllättäen, jos pyörä menee reunan yli tai jos reuna sortuu. Määritä suoja-alue koneen ja mahdollisen vaaran välille.
Tunnista vaarat rinteen juurella. Jos vaaroja on, leikkaa rinne kävellen ohjattavalla ruohonleikkurilla.
Jos mahdollista, pidä koneen leikkuuyksiköt laskettuina alas, kun käytät konetta rinteissä. Leikkuuyksiköiden nostaminen rinteissä käytön aikana voi heikentää koneen vakautta.
Ole erittäin varovainen käyttäessäsi ruohonkeräysjärjestelmiä tai muita lisälaitteita. Ne voivat vaikuttaa koneen vakauteen ja aiheuttaa hallinnan menetyksen.
Katso sisäänajojakson suositellut öljynvaihto- ja huolto-ohjeet koneen mukana toimitetusta moottorin käyttöoppaasta.
Sisäänajoon tarvitaan vain kahdeksan käyttötuntia.
Koska ensimmäiset käyttötunnit ovat erittäin tärkeitä koneen tulevan luotettavuuden kannalta, seuraa sen toimintoja ja toimintaa tarkkaavaisesti, jotta mahdolliset pienet viat voidaan korjata, ennen kuin ne pahenevat. Tarkasta kone usein sisäänajon aikana öljynvuodon merkkien, löysien kiinnittimien tai muiden vikojen varalta.
Important: Älä käytä eetteriä tai muun tyyppisiä käynnistysnesteitä.
Note: Polttoainejärjestelmä on ehkä ilmattava ennen moottorin käynnistystä kaikissa seuraavissa tilanteissa:
Käynnistettäessä uutta moottoria ensimmäisen kerran.
Moottori on sammunut polttoaineen loppumisen vuoksi.
Polttoainejärjestelmää on huollettu eli suodatin on vaihdettu jne.
Katso lisäohjeet moottorin käyttöoppaasta.
Istu istuimelle, lukitse seisontajarru, vapauta leikkuunohjausvipu ja siirrä toiminnonohjausvipu VAPAA-asentoon.
Nosta jalka ajopolkimelta ja varmista, että poljin on VAPAA-asennossa.
Siirrä kaasuvipu HIDAS-asentoon.
Työnnä avain virtalukkoon ja käännä se KäYNNISSä-asentoon. Pidä avainta KäYNNISSä-asennossa, kunnes hehkutulppien merkkivalo sammuu (noin 6 sekuntia).
Käännä virta-avain KäYNNISTYS-asentoon.
Important: Käytä käynnistysmoottoria korkeintaan 10 sekuntia, jotta se ei ylikuumene. Odota 10 sekunnin yhtäjaksoisen käynnistämisen jälkeen minuutin verran, ennen kuin yrität uudelleen.
Vapauta avain moottorin käynnistyttyä ja anna sen palata KäYNNISSä-asentoon.
Anna moottorin lämmetä muutaman minuutin ajan ennen käyttöä.
Important: Kun moottori käynnistetään ensimmäisen kerran tai kun se on huollettu, aja koneella eteen- ja taaksepäin 1–2 minuutin ajan. Tarkasta ohjauksen toiminta kääntämällä ohjauspyörää vasemmalle ja oikealle. Sammuta sitten moottori ja odota, että kaikki liikkuvat osat pysähtyvät. Katso kohta Moottorin sammutus. Tarkista, ettei öljyvuotoja, irtonaisia osia tai muita havaittavia vikoja ole.
Siirrä kaasuvipu NOPEA-asentoon.
Siirrä leikkuunohjausvipua eteenpäin hetkeksi.
Leikkuuyksiköiden tulee laskeutua alas ja kaikkien kelojen kääntyä.
Note: Toiminnonohjausvivun tulee olla keskiasennossa (leikkuu), jotta kelat kääntyvät, kun leikkuuyksiköt lasketaan.
Siirrä leikkuunohjausvipua taaksepäin.
Leikkuukelojen tulee pysähtyä ja leikkuuyksiköiden nousta kokonaan kuljetusasentoon.
Pidä kone paikoillaan kytkemällä jarru, ja paina ajopolkimen ylä- ja alaosaa (ajo ja peruutus).
Jatka tätä 1–2 minuuttia. Siirrä toiminnonohjausvipu VAPAA-asentoon, kytke seisontajarru ja sammuta moottori.
Tarkasta nestevuotojen varalta ja kiristä hydrauliliitännät, jos on vuotoja.
Note: Kun kone on uusi ja laakerit ja kelat tiukat, tähän tarkastukseen on käytettävä kaasuvivun NOPEA-asentoa. Nopea-asentoa ei välttämättä tarvita sisäänajon jälkeen.
Note: Jos nestettä vuotaa edelleen, kysy neuvoa valtuutetulta Toro-jälleenmyyjältä ja hanki tarvittavat varaosat tarvittaessa.
Important: Vähäinen määrä nestettä moottorissa tai rengastiivisteissä on normaalia. Jotta tiivisteet toimisivat oikein, niissä on oltava hieman voiteluainetta.
Siirrä kaasuvipu HIDAS-asentoon, vedä leikkuunohjausvipu taakse ja siirrä toiminnonohjausvipu VAPAA-asentoon.
Sammuta moottori kääntämällä virta-avain PYSäYTYS-asentoon. Irrota avain virtalukosta, jotta moottori ei käynnisty vahingossa.
Sulje polttoaineen sulkuventtiili ennen koneen varastoimista.
| Huoltoväli | Huoltotoimenpide |
|---|---|
| Aina ennen käyttöä tai päivittäin |
|
Jos turvakytkimet ovat irronneet tai vaurioituneet, laite saattaa toimia odottamattomalla tavalla ja aiheuttaa henkilövahinkoja.
Älä kajoa turvakytkimiin.
Tarkista turvakytkimien toimivuus päivittäin ja vaihda mahdolliset vaurioituneet kytkimet ennen koneen käyttämistä.
Turvajärjestelmän tarkoituksena on estää koneen käyttö silloin, kun koneen käyttäjä altistuisi tapaturmalle tai laitteelle aiheutuisi vahinkoa.
Turvajärjestelmä huolehtii siitä, että moottori käynnistyy vain, kun:
Ajopoljin on VAPAA-asennossa.
Toiminnonohjausvipu on VAPAA-asennossa.
Turvajärjestelmä huolehtii siitä, että kone liikkuu vain, kun:
Seisontajarru on vapautettuna.
Istut käyttäjän istuimella.
Toiminnonohjausvipu on LEIKKUU- tai KULJETUS-asennossa.
Turvajärjestelmä huolehtii siitä, että kelat toimivat vain, kun toiminnonohjausvipu on LEIKKUU-asennossa.
| Huoltoväli | Huoltotoimenpide |
|---|---|
| Aina ennen käyttöä tai päivittäin |
|
Varmista turvajärjestelmän toimivuus tekemällä seuraavat tarkistukset päivittäin:
Istu istuimelle, siirrä ajopoljin VAPAA-asentoon, siirrä toiminnonohjausvipu VAPAA-asentoon ja kytke seisontajarru.
Yritä liikuttaa ajopoljinta eteen- ja taaksepäin.
Jos poljin ei liiku, turvajärjestelmä toimii oikein. Korjaa ongelma, jos kone ei toimi asianmukaisesti.
Istu istuimelle, siirrä ajopoljin VAPAA-asentoon, siirrä toiminnonohjausvipu VAPAA-asentoon ja kytke seisontajarru.
Siirrä toiminnonohjausvipu LEIKKUU- tai KULJETUS-asentoon ja yritä käynnistää moottori.
Jos moottori ei pyörähdä tai käynnisty, turvajärjestelmä toimii oikein. Korjaa ongelma, jos kone ei toimi asianmukaisesti.
Istu istuimelle, siirrä ajopoljin VAPAA-asentoon, siirrä toiminnonohjausvipu VAPAA-asentoon ja kytke seisontajarru.
Käynnistä moottori ja siirrä toiminnonohjausvipu LEIKKUU- tai KULJETUS-asentoon.
Jos moottori sammuu, turvajärjestelmä toimii oikein.
Korjaa ongelma, jos kone ei toimi asianmukaisesti.
Istu istuimelle, siirrä ajopoljin VAPAA-asentoon, siirrä toiminnonohjausvipu VAPAA-asentoon ja kytke seisontajarru.
Käynnistä moottori.
Vapauta seisontajarru, siirrä toiminnonohjausvipu LEIKKUU-asentoon ja nouse istuimelta.
Jos moottori sammuu, turvajärjestelmä toimii oikein. Korjaa ongelma, jos kone ei toimi asianmukaisesti.
Istu istuimelle, siirrä ajopoljin VAPAA-asentoon, siirrä toiminnonohjausvipu VAPAA-asentoon ja kytke seisontajarru.
Käynnistä moottori.
Laske leikkuuyksiköt alas siirtämällä leikkuunohjausvipu eteenpäin. Leikkuuyksiköiden tulisi laskeutua, mutta ne eivät saa alkaa pyöriä.
Jos ne alkavat pyöriä, turvajärjestelmä ei toimi oikein. Ongelma on korjattava ennen koneen käyttöä.
Varmista, että leikkuuyksiköt on nostettu kokonaan.
Siirrä toiminnonohjausvipu KULJETUS-asentoon.
Kun ajat alas jyrkkiä rinteitä, hidasta konetta jarruilla, jotta et menetä koneen hallintaa.
Hidasta aina epätasaisia alueita lähestyessäsi ja ylitä kummut varovaisesti.
Opettele tuntemaan koneen leveys. Älä yritä ajaa lähellä toisiaan olevien kohteiden välistä, jottet aiheuttaisi kalliita vaurioita ja työn viivästymistä.
Important: Jos malliin mahdollisesti kuuluva vuodonilmaisin hälyttää tai huomaat öljyvuodon viheriötä leikattaessa, nosta leikkuuyksiköt välittömästi, aja pois viheriöltä ja pysäytä kone viheriön ulkopuolella. Selvitä vuodon syy ja korjaa vika.
Ennen viheriön leikkuuta kannattaa koneen perustoimintoja (kuten käynnistämistä ja pysäyttämistä, leikkuuyksiköiden nostamista ja laskemista ja kääntymistä) harjoitella esteettömällä alueella.
Tarkista, ettei viheriöllä ole jätteitä, poista lippu reiästä ja määrittele paras ruohonleikkaussuunta. Valitse suunta edellisen leikkaussuunnan perusteella. Leikkaa ruoho aina edellisen leikkausmallin vastaisesti. Näin ruohonkorret eivät niin helposti taivu alas, jolloin niitä on vaikea saada kelaterien ja kiinteän terän väliin.
Kun lähestyt viheriötä, pidä toiminnonohjausvipu LEIKKUU-asennossa ja kaasu täydellä nopeudella.
Aloita viheriön yhdeltä reunalta, jotta leikkuussa voidaan käyttää nauhamenetelmää.
Note: Näin ruoho tiivistyy vähemmän ja leikkuukuviosta tulee siisti.
Työnnä leikkuunohjausvipua eteenpäin, kun ruohonkeräimien etureunat ylittävät viheriön ulkoreunan.
Note: Tämä laskee leikkuuyksiköt nurmelle ja käynnistää kelat.
Important: Keskimmäinen leikkuuyksikkö laskeutuu ja nousee hieman etuleikkuuyksiköiden jälkeen. Harjoittele tämän vuoksi ajoitusta, jotta leikkuuta ei tarvitse siistiä jälkikäteen.
Note: Keskimmäisen leikkuuyksikön nostamisen ja laskemisen viive riippuu hydraulinesteen lämpötilasta. Kylmä hydraulineste pidentää viivettä. Nesteen lämpötilan noustessa viive lyhenee.
Kun leikkaat edellisen leikkuukaistan vierestä, leikkaa hieman myös edellistä kaistaa.
Note: Jotta suora linja ja yhdenmukainen etäisyys edellisen leikkuukaistan reunasta olisi helpompi säilyttää, kuvittele kiintopiste noin 1,8–3 metrin päähän koneen eteen leikkaamattoman viheriön reunaan (Kuva 35). Käytä myös ohjauspyörän ulkoreunaa kiintopisteen määrittämisessä: kohdista ohjauspyörän reuna kiintopisteeseen, jota pidät aina samalla etäisyydellä koneen etuosasta.
Kun keräimien etureuna ylittää viheriön reunan, vedä leikkuunohjausvipu taaksepäin ja vapauta se vasta, kun kaikki leikkuuyksiköt ovat nousseet. Tämä pysäyttää kelat ja nostaa leikkuuyksiköt.
Important: Ajoita tämä vaihe oikein, jotta reuna-aluetta ei leikata. Viheriöstä kannattaa kuitenkin leikata mahdollisimman suuri osa, jotta ulkolaidalle jää mahdollisimman vähän ruohoa leikattavaksi.
Lyhennä työaikaa ja helpota leikkuukaistojen kohdistamista ohjaamalla kone hetkeksi vastakkaiseen suuntaan ja kääntymällä sitten leikkaamattoman alueen suuntaan. Tästä muodostuu pisaranmuotoinen käännös (Kuva 34), jolla kone on helppo kohdistaa nopeasti seuraavaa ajoa varten.

Note: Käännökset on hyvä pitää mahdollisimman lyhyinä paitsi jos sää on lämmin, jolloin suurempi kaari vähentää nurmen vahingoittumisen mahdollisuutta.

Note: Ohjauspyörä ei palaa alkuperäiseen asentoonsa käännöksen jälkeen.
Important: Älä koskaan pysäytä konetta viheriölle leikkuuyksiköiden ollessa käynnissä, koska tämä voi vahingoittaa nurmea. Koneen pysäyttäminen märälle nurmelle voi aiheuttaa jälkiä tai painumia.
Leikkaa lopuksi viheriön ulkolaita. Leikkaa edelliseen leikkuuseen nähden vastakkaiseen suuntaan.
Note: Säädä koneen nopeutta kaasuvivulla, kun leikkaat ulkolaitaa. Näin leikkuu määräytyy viheriön mukaan ja kolmoisrenkaan muodostumista voidaan mahdollisesti ehkäistä.
Note: Huomioi aina sää ja nurmiolosuhteet, ja muista leikata edelliseen leikkuuseen nähden vastakkaiseen suuntaan.
Kun olet leikannut viheriön ulkolaidan, pysäytä kelat napauttamalla leikkuunohjausvipua taaksepäin ja aja pois viheriöltä. Kun kaikki leikkuuyksiköt ovat poissa viheriöltä, nosta ne.
Note: Näin viheriölle jää mahdollisimman vähän ruohopaakkuja.
Aseta lippu takaisin reikään.
Tyhjennä kaikki leikkuujätteet ruohonkeräimistä ennen kuin siirrät koneen seuraavalle viheriölle.
Note: Märät ja raskaat leikkuujätteet rasittavat keräimiä liiaksi ja lisäävät koneeseen turhaa painoa, mikä lisää koneen järjestelmien (kuten moottorin, hydraulijärjestelmän, jarrujen jne.) kuormitusta.
Kytke seisontajarru, sammuta moottori, irrota virta-avain ja odota, että kaikki liikkuvat osat pysähtyvät, ennen kuin poistut käyttäjän paikalta. Anna koneen jäähtyä ennen sen säätöä, huoltoa, puhdistusta tai varastointia.
Ehkäise tulipalovaaraa poistamalla ruoho ja roskat leikkuuyksiköistä ja käytöistä. Puhdista öljy- ja polttoaineroiskeet.
Sulje polttoaineen sulkuventtiili koneen varastoinnin tai kuljetuksen ajaksi.
Kytke lisälaitteen käyttö pois aina, kun kuljetat konetta tai kun sitä ei käytetä.
Anna moottorin jäähtyä ennen koneen varastointia suljettuun tilaan.
Huolla ja puhdista turvavyöt tarpeen mukaan.
Älä säilytä konetta tai polttoainesäiliötä tilassa, jossa on avotuli, kipinöitä tai varmistusliekki (esimerkiksi vedenlämmitin tai muu vastaava laite).
Hinaa ainoastaan koneella, jossa on hinausta varten suunniteltu vetoaisa. Älä kiinnitä hinattavaa laitetta muualle koneeseen kuin vetokoukkuun.
Noudata valmistajan suosituksia, jotka koskevat hinattavien laitteiden painoa ja rinteissä vetämistä. Rinteissä hinattavan laitteen paino voi johtaa pidon menetykseen ja ajoneuvon hallinnan menetykseen.
Älä koskaan anna lasten tai muiden henkilöiden olla hinattavan laitteen sisällä tai päällä.
Aja hinattaessa hitaasti ja varaa pysähtymiseen normaalia enemmän etäisyyttä.
| Huoltoväli | Huoltotoimenpide |
|---|---|
| Aina ennen käyttöä tai päivittäin |
|
Pese kone leikkuun jälkeen huolellisesti puutarhaletkun avulla mutta ilman suutinta, jottei liiallinen vedenpaine aiheuta veden pääsyä laitteen sisälle tai vaurioita tiivisteitä tai laakereita. Älä pese lämmintä moottoria tai sähköliitäntöjä vedellä.
Important: Älä puhdista konetta suolapitoisella tai kierrätetyllä vedellä.
Important: Älä pese konetta painepesurilla. Painepesu voi vahingoittaa sähköjärjestelmää, irrottaa tärkeitä tarroja tai huuhtoa pois tarpeellisen rasvan kitkakohdista. Älä käytä liian paljon vettä kojetaulun, moottorin ja akun läheisyydessä.
Important: Älä pese konetta moottorin ollessa käynnissä. Koneen peseminen moottorin käydessä voi vaurioittaa moottorin sisäosia.
Koneen puhdistamisen jälkeen tee seuraavat toimenpiteet:
Tarkasta kone mahdollisten hydraulinestevuotojen ja hydrauliosien tai muiden mekaanisten osien vaurioiden tai kulumien varalta.
Tarkista leikkuuyksikköjen terävyys.
Voitele jarruakselikokoonpano SAE 30 -öljyllä tai suihkuta siihen voiteluainetta, jotta kokoonpano ei ruostu. Tämä auttaa myös pitämään koneen suorituskyvyn hyvänä seuraavassakin leikkuussa.
Ole varovainen lastatessasi konetta perävaunuun tai kuorma-autoon.
Käytä täysleveää ramppia lastatessasi konetta perävaunuun tai kuorma-autoon.
Kiinnitä kone tiukasti hihnoilla, ketjuilla, kaapeleilla tai köysillä. Etu- ja takahihna on suunnattava alas- ja ulospäin koneesta (Kuva 36).

Hätätapauksessa konetta voidaan hinata enintään 0,4 kilometriä.
Important: Koneen suurin hinausnopeus on 3–5 km/h, jotta vetojärjestelmä ei vahingoitu. Jos konetta on siirrettävä yli 0,4 km, käytä kuljetukseen lava-autoa tai perävaunua.
Paikanna pumpusta ohitusventtiili (Kuva 37).

Avaa ohitusventtiili kääntämällä sitä kolme kierrosta vastapäivään.
Kiristä ohitusventtiili momenttiin 12 N·m ennen moottorin käynnistämistä.
Important: Älä käynnistä moottoria ohitusventtiilin ollessa auki.
Koneen kunnossapidon laiminlyönti voi aiheuttaa koneen järjestelmien ennenaikaisen vioittumisen, mikä voi johtaa käyttäjän tai sivullisten loukkaantumiseen.
Pidä kone hyvin huollettuna ja hyvässä toimintakunnossa näiden ohjeiden mukaisesti.
Note: Koneen vasen ja oikea puoli määritellään normaalista käyttöasennosta käsin.
Note: Kytkentä- ja hydraulikaavion voi tarvittaessa ladata maksuttomasti osoitteesta www.Toro.com etsimällä oman laitteen kotisivulla olevasta opaslinkistä.
Important: Lisää huoltotoimenpiteitä on moottorin käyttöoppaassa.
Jos jätät avaimen virtalukkoon, joku voi vahingossa käynnistää moottorin ja vahingoittaa vakavasti lähellä olijoita.
Irrota avain virtalukosta ja irrota sytytystulppien johdot ennen huoltotoimenpiteitä. Aseta johdot sivuun, jotta ne eivät voi vahingossa koskettaa sytytystulppia.
Suorita seuraavat toimenpiteet ennen käyttäjän paikalta poistumista:
Pysäköi kone tasaiselle alustalle.
Vapauta leikkuuyksiköt.
Kytke seisontajarru.
Sammuta moottori ja irrota virta-avain.
Odota, että kaikki liikkuvat osat ovat pysähtyneet.
Anna koneen osien jäähtyä ennen huollon suorittamista.
Jos mahdollista, älä huolla konetta moottorin ollessa käynnissä. Pysy etäällä liikkuvista osista.
Tue kone pukeilla, kun työskentelet koneen alla.
Vapauta paine varovasti osista, joihin on varastoitunut energiaa.
Pidä kaikki koneen osat hyvässä kunnossa ja kaikki kiinnitystarvikkeet tiukalla.
Vaihda kaikki kuluneet tai vaurioituneet tarrat.
Käytä vain Toro-alkuperäisvaraosia, jotta kone toimii turvallisesti ja parhaalla mahdollisella tavalla. Muiden valmistajien varaosat voivat osoittautua vaarallisiksi, ja niiden käyttö voi johtaa tuotteen takuun raukeamiseen.
| Huoltoväli | Huoltotoimenpide |
|---|---|
| Ensimmäisen käyttötunnin jälkeen |
|
| 8 ensimmäisen käyttötunnin jälkeen |
|
| 10 ensimmäisen käyttötunnin jälkeen |
|
| 50 ensimmäisen käyttötunnin jälkeen |
|
| Aina ennen käyttöä tai päivittäin |
|
| 50 käyttötunnin välein |
|
| 100 käyttötunnin välein |
|
| 200 käyttötunnin välein |
|
| 400 käyttötunnin välein |
|
| 500 käyttötunnin välein |
|
| 800 käyttötunnin välein |
|
| 1000 käyttötunnin välein |
|
| 2000 käyttötunnin välein |
|
| Vuosittain |
|
| Kahden vuoden välein |
|
Ota tästä sivusta kopioita.
| Tarkistettavat kohdat | Viikolle: | ||||||
|---|---|---|---|---|---|---|---|
| Ma | Ti | Ke | To | Pe | La | Su | |
| Tarkista turvajärjestelmän toiminta. | |||||||
| Tarkista mittareiden toiminta. | |||||||
| Tarkista jarrujen toiminta. | |||||||
| Tarkista/tyhjennä polttoainesuodatin/vedenerotin. | |||||||
| Tarkista polttoaineen määrä. | |||||||
| Tarkista hydraulinesteen määrä. | |||||||
| Tarkista moottoriöljyn määrä. | |||||||
| Puhdista säleikkö ja jäähdytin. | |||||||
| Tarkista ilmansuodatin. | |||||||
| Tarkista, kuuluuko moottorista epätavallisia ääniä. | |||||||
| Tarkista kelan ja kiinteän terän kohdistus. | |||||||
| Tarkista, ettei hydrauliletkuissa ole vaurioita. | |||||||
| Tarkista nestevuodot. | |||||||
| Tarkista rengaspaine. | |||||||
| Tarkista leikkuukorkeussäätö. | |||||||
| Korjaa maalipinnan vauriot. | |||||||
| Pese kone. | |||||||
| Tarkastuksen suoritti: | ||
| Vika | Päivämäärä | Huomio |
| Huoltoväli | Huoltotoimenpide |
|---|---|
| 400 käyttötunnin välein |
|
Voitele rasvanippa litiumpohjaisella rasvalla nro 2.
Pyyhi rasvanippa puhtaaksi, ettei epäpuhtauksia pääse laakeriin tai holkkiin (Kuva 38).

Pumppaa rasvaa laakeriin tai holkkiin, kunnes rasvaa näkyy selvästi. Pyyhi pois ylimääräinen rasva.
Moottori on sammutettava ennen öljyn tarkistusta tai lisäystä kampikammioon.
Älä muuta kierrosnopeussäätimen nopeutta tai käytä moottoria ylikierroksilla.
| Huoltoväli | Huoltotoimenpide |
|---|---|
| 200 käyttötunnin välein |
|
Tarkista, ettei ilmanpuhdistimen rungossa ole vaurioita, jotka voivat aiheuttaa ilmavuodon. Vaihda ilmanpuhdistimen runko, jos se on vaurioitunut. Tarkista, että ilmanottojärjestelmässä ei ole vuotoja, vaurioita tai löysiä letkunkiristimiä.
Ilmansuodattimen tarpeeton vaihtaminen kasvattaa mahdollisuutta, että moottoriin pääsee likaa suodattimen irrotuksen yhteydessä.
Tarkista, että suojus on asetettu oikein ja että se on tiiviisti ilmanpuhdistimen rungon ympärillä.
Vapauta lukitsimet, joilla ilmanpuhdistimen suojus on kiinni ilmanpuhdistimen rungossa (Kuva 39).

Irrota ilmanpuhdistimen rungon suojus.
Ennen kuin irrotat suodattimen, poista pääsuodattimen ja kotelon väliin kertynyt lika matalapaineisella (2,75 bar, puhdas ja kuiva) ilmalla. Puhdistaminen estää lian joutumisen ilmanottoon pääsuodattimen irrottamisen yhteydessä.
Important: Älä käytä korkeapaineista ilmaa, joka voi työntää lian suodattimen läpi ilmanottokanavaan.
Irrota ja vaihda pääsuodatin seuraavasti:
Important: Älä puhdista käytettyä elementtiä.
Tarkasta uusi suodatin kuljetusvaurioiden varalta. Älä käytä vaurioitunutta elementtiä.
Irrota vanha suodatin varovasti, vedä se pois suodattimen rungosta ja hävitä se.
Työnnä uusi suodatin paikoilleen puristamalla samalla elementin ulkokehää, jotta se asettuu koteloon. Tarkista samalla suodattimen tiivistetty pää ja runko.
Important: Älä paina suodattimen joustavaa keskikohtaa.
Puhdista irrotettavassa suojuksessa oleva lianpoistoaukko. Irrota kuminen poistoventtiili suojuksesta, puhdista ontelo ja asenna poistoventtiili takaisin.
Asenna suojus siten, että kuminen poistoventtiili osoittaa alaspäin, eli noin kello viiden ja kello seitsemän välille päästä katsottuna.
Kiinnitä lukitsimet (Kuva 39).
| Huoltoväli | Huoltotoimenpide |
|---|---|
| Aina ennen käyttöä tai päivittäin |
|
Moottorin kampikammiossa on toimitettaessa 3,7 litraa öljyä (öljynsuodatin mukaan lukien). Öljymäärä on kuitenkin tarkistettava ennen moottorin ensimmäistä käynnistystä ja sen jälkeen.
Käytä seuraavien määritysten mukaista korkealaatuista moottoriöljyä:
Vaadittu API-luokitus: CH-4, CI-4 tai korkeampi.
Suositus: SAE 10W–30
Vaihtoehto: SAE 15W–40
Toro Premium -moottoriöljyä on saatavana jälleenmyyjältä (viskositeetti 10W–30). Lisätietoja osanumeroista on osaluettelossa.
Note: Paras aika tarkistaa moottoriöljy on moottorin ollessa viileä ennen päivän ensimmäistä käynnistystä. Jos moottori on ollut käynnissä, anna öljyn valua takaisin öljypohjaan ainakin 10 minuutin ajan ennen tarkistusta. Jos öljyn taso on mittatikun Add-merkinnän kohdalla tai sen alapuolella, lisää öljyä mittatikun FULL-merkintään saakka. Älä täytä liikaa.
Important: Pidä moottoriöljyn määrä mittatikun ylä- ja alarajojen välissä. Moottori saattaa pysähtyä, jos öljyä on sitä käytettäessä liian vähän tai liian paljon.
Pysäköi kone tasaiselle alustalle.
Irrota mittatikku ja pyyhi se puhtaalla liinalla (Kuva 41).
Important: Irrota mittatikku siksi aikaa, kun lisäät moottoriin öljyä. Öljyä lisättäessä on varmistettava, että öljykaatimen ja täyttöaukon väliin jää ilmarako kuvan mukaisesti (Kuva 40). Ilmarako on välttämätön säiliössä olevan ilman poistumista varten, ja se estää öljyn pääsyn huohottimeen.


Työnnä mittatikku putkeen ja tarkista, että se asettuu kunnolla paikalleen.
Irrota mittatikku putkesta ja tarkista öljymäärä
Note: Jos öljypinta on alhaalla, irrota täyttöaukon korkki venttiilikopasta ja lisää öljyä hitaasti, kunnes pinta ulottuu mittatikun Full-merkkiin saakka.Lisää öljyä hitaasti ja tarkista määrä useamman kerran täyttämisen aikana. Älä täytä liikaa.
Aseta mittatikku paikalleen.
Käynnistä moottori, käytä joutokäynnillä 30 sekunnin ajan ja sammuta moottori. Odota 30 sekuntia ja toista vaiheet 2–5.
Asenna täyttöaukon korkki ja mittatikku huolellisesti paikoilleen.
| Huoltoväli | Huoltotoimenpide |
|---|---|
| 50 ensimmäisen käyttötunnin jälkeen |
|
| 100 käyttötunnin välein |
|
Poista öljyn tyhjennystulppa ja anna öljyn valua tyhjennysastiaan. Kun öljyä ei enää valu, asenna tyhjennystulppa takaisin (Kuva 42).

Irrota öljynsuodatin (Kuva 43). Levitä ohut kerros puhdasta öljyä uuden suodattimen tiivisteeseen.

Kierrä suodatin käsin paikoilleen, kunnes tiiviste koskettaa suodattimen istukkaa. Kiristä sitten vielä puoli kierrosta tai ¾-kierrosta. Älä kiristä liikaa.
Lisää öljyä kampikammioon. Katso Moottoriöljyn tarkistus.
Hävitä käytetty öljy asianmukaisesti.
| Huoltoväli | Huoltotoimenpide |
|---|---|
| Aina ennen käyttöä tai päivittäin |
|
Pysäköi kone tasaiselle alustalle ja sammuta moottori.
Aseta tyhjennysastia polttoainesuodattimen alle.
Avaa polttoainesuodattimen tyhjennystulppaa noin yksi kierros ja tyhjennä kertynyt vesi (Kuva 44).

Kiristä tulppa tyhjennyksen jälkeen.
Note: Koska kertynyt vesi on sekoittunut dieselpolttoaineeseen, polttoainesuodatin on tyhjennettävä sopivaan astiaan ja hävitettävä asianmukaisesti.
| Huoltoväli | Huoltotoimenpide |
|---|---|
| 500 käyttötunnin välein |
|
Sulje polttoaineen sulkuventtiili (Kuva 45) polttoainesäiliön alta.

Puhdista suodatinkotelon kiinnitysalueen ympäristö (Kuva 46).
Aseta tyhjennysastia polttoainesuodattimen alle.
Avaa suodattimen tyhjennystulppa (Kuva 46).

Kierrä suodatinkotelo auki ja hävitä se paikallisten määräysten mukaan.
Kierrä suodatin käsin paikoilleen, kunnes tiiviste koskettaa suodattimen istukkaa. Kiristä sitten vielä puoli kierrosta tai ¾-kierrosta.
Tarkista, että suodattimen tyhjennystulppa on suljettu. Avaa polttoaineen sulkuventtiili.
| Huoltoväli | Huoltotoimenpide |
|---|---|
| Kahden vuoden välein |
|
Tarkista, että polttoaineputkissa ei ole haurastumia, vaurioita tai löysiä liitäntöjä.
Irrota akun kytkennät ennen kuin korjaat konetta. Irrota ensin miinusnavan akkukenkä ja vasta sitten plusnavan akkukenkä. Kytke ensin plusnavan akkukenkä ja vasta sitten miinusnavan akkukenkä.
Lataa akku avoimessa tilassa, jossa on hyvä ilmanvaihto, kaukana kipinöistä ja avotulesta. Irrota laturin virtajohto ennen kuin kytket laturin akkuun tai irrotat sen akusta. Käytä suojavaatetusta ja eristettyjä työkaluja.
Akun navat tai metallityökalut voivat aiheuttaa oikosulun koskettaessaan metalliosia, mistä voi seurata kipinöitä. Kipinät voivat saada akun kaasut räjähtämään ja aiheuttaa siten henkilövahingon.
Kun irrotat tai asennat akun, älä anna akun napojen koskettaa koneen metalliosia.
Älä anna metallityökalujen aiheuttaa oikosulkua akun napojen ja koneen metalliosien välille.
Akun kaapeleiden virheellinen asennus voi vahingoittaa konetta ja kaapeleita aiheuttaen kipinöitä. Kipinät voivat saada akun kaasut räjähtämään ja aiheuttaa siten henkilövahingon.
Irrota aina akun miinuskaapeli (musta) ennen pluskaapelin (punainen) irrottamista.
Akun kaapeleiden virheellinen asennus voi vahingoittaa konetta ja kaapeleita aiheuttaen kipinöitä. Kipinät voivat saada akun kaasut räjähtämään ja aiheuttaa siten henkilövahingon.
Kytke aina akun pluskaapeli (punainen) ennen miinuskaapelia (musta).
Akun navat tai metallityökalut voivat aiheuttaa oikosulun koskettaessaan koneen metalliosia, mistä voi seurata kipinöitä. Kipinät voivat saada akun kaasut räjähtämään ja aiheuttaa siten henkilövahingon.
Kun irrotat tai asennat akun, älä anna akun napojen koskettaa koneen metalliosia.
Älä anna metallityökalujen aiheuttaa oikosulkua akun napojen ja koneen metalliosien välille.
Kytke akku irti. Katso kohta Akun irrotus.
Irrota kiinnittimet, joilla akku on kiinnitetty alustaan (Kuva 49), ja nosta akku ulos.

Kytke 2–4 A:n akkulaturi akun napoihin. Lataa akkua vähintään kahden tunnin ajan neljän ampeerin virralla tai vähintään neljän tunnin ajan kahden ampeerin virralla, kunnes ominaispaino on vähintään 1,250, lämpötila on vähintään 16 °C ja kaikki kennot muodostavat kaasukuplia.
Akun latauksen yhteydessä syntyy räjähdysherkkiä kaasuja.
Älä tupakoi akun lähettyvillä. Älä päästä kipinöitä tai liekkejä kosketuksiin akun kanssa.
Important: Jos akkua ei ladata vähintään yllä olevaa aikaa, sen käyttöikä saattaa lyhentyä.
Kun akku on latautunut, irrota laturi virtalähteestä ja akun navoista.
Aseta akku akkualustalle ja kiinnitä se aiemmin irrotetuilla tangoilla ja kiinnittimillä (Kuva 49).
Kytke akku. Katso kohta Akun kytkentä.
Jos kone on käynnistettävä kaapeleilla, vaihtoehtoista plusnapaa (käynnistyssolenoidissa) voidaan käyttää akun plusnavan sijaan (Kuva 52).

| Huoltoväli | Huoltotoimenpide |
|---|---|
| Aina ennen käyttöä tai päivittäin |
|
Vaihtele kaikkien kolmen renkaan painetta nurmiolojen mukaan välillä 0,83 bar – 1,10 bar.
| Huoltoväli | Huoltotoimenpide |
|---|---|
| Ensimmäisen käyttötunnin jälkeen |
|
| 10 ensimmäisen käyttötunnin jälkeen |
|
| 200 käyttötunnin välein |
|
Pyöränmuttereiden väärä kireys saattaa johtaa henkilövahinkoihin.
Kiristä pyöränmutterit ilmoitettuun momenttiin ohjeistetuin aikavälein.
Pyöränmutterien kiristysmomentti: 95–122 N·m
Note: Jotta kireys jakautuu tasaisesti, kiristä pyöränmutterit ristiin.
Jos kone liikkuu ajopolkimen ollessa VAPAA-asennossa, vapaa-asennon mekanismia on säädettävä.
Varmista, että ohitusventtiili on suljettu.
Nosta ja tue koneen runko niin, että yksi etupyörä on irti maasta.
Note: Jos koneeseen on asennettu kolmipyörävetosarja, nosta ja tue myös takapyörä.
Käynnistä moottori, siirrä kaasu HIDAS-asentoon ja tarkista, että maasta irti oleva etupyörä ei pyöri.
Jos pyörä pyörii, sammuta moottori ja toimi seuraavasti:
Löysää mutteria, joka kiinnittää epäkeskon hydrostaatin yläosaan (Kuva 53).

Siirrä toiminnonohjausvipu VAPAA-asentoon ja kaasuvipu HIDAS-asentoon. Käynnistä moottori.
Käännä epäkeskoa, kunnes kone ei liiku kumpaankaan suuntaan. Kun pyörä lakkaa pyörimästä, lukitse epäkesko ja säätö kiristämällä mutteri (Kuva 53). Tarkista säätö kaasuvivun ollessa HIDAS ja NOPEA-asennoissa.
Note: Jos pyörä kääntyy edelleen epäkeskon ollessa ääriasennossa, ota yhteys valtuutettuun Toro-jälleenmyyjään tai katso lisäohjeita huolto-oppaasta.
Ajopoljin on säädetty enimmäiskuljetusnopeudelle, mutta säätö voi olla tarpeen, jos poljin saavuttaa täyden liikkumavaran ennen kuin se koskettaa polkimen pysäytintä, tai jos kuljetusnopeutta halutaan vähentää.
Jos haluat saavuttaa enimmäiskuljetusnopeuden, aseta toiminnonohjausvipu KULJETUS-asentoon ja paina ajopoljinta. Jos poljin koskettaa pysäytintä (Kuva 54) ennen kuin vaijerissa tuntuu kireyttä, tee seuraavat säätötoimenpiteet:

Aseta toiminnonohjausvipu KULJETUS-asentoon ja löysää lukkomutteri, joka kiinnittää polkimen pysäyttimen lattialevyyn (Kuva 54).
Kiristä polkimen pysäytintä, kunnes se ei kosketa ajopolkimeen.
Paina ajopoljinta edelleen kevyesti ja säädä polkimen pysäytintä siten, että se koskettaa polkimen tankoon ja kiristä mutterit.
Important: Vaijeri ei saa olla liian kireällä, koska se lyhentää vaijerin käyttöikää.
Paina ajopoljinta ja löysää lukkomutteria, joka kiinnittää polkimen pysäyttimen lattialevyyn.
Löysää polkimen pysäytintä, kunnes haluttu kuljetusnopeus on saavutettu.
Kiristä polkimen pysäyttimen kiinnittävä lukkomutteri.
Leikkuunopeudeksi on asetettu tehtaalla 6,1 km/h.
Eteenpäin ajon nopeudeksi voidaan säätää 0–8 km/h.
Löysää keskiötapin vastamutteria (Kuva 55).
Löysää mutteria, joka kiinnittää lukitus- ja leikkuukiinnikkeet polkimen tappiin.

Käännä keskiötappia myötäpäivään, kun haluat vähentää leikkuunopeutta, ja vastapäivään, kun haluat lisätä leikkuunopeutta.
Lukitse säätö kiristämällä keskiötappi ja polkimen tapin mutteri (Kuva 55). Tarkista asetus ja säädä tarvittaessa.
Jäähdytysneste on myrkyllistä. Pidä poissa lasten ja lemmikkieläinten ulottuvilta.
Paineella suihkuava kuuma jäähdytysneste, kuuma jäähdytin ja sitä ympäröivät osat voivat aiheuttaa vakavia palovammoja.
Anna moottorin jäähtyä ainakin 15 minuuttia ennen jäähdyttimen korkin irrottamista.
Käytä korkkia käsitellessäsi liinaa ja aukaise korkki hitaasti, jotta paine pääsee pois.
| Huoltoväli | Huoltotoimenpide |
|---|---|
| Aina ennen käyttöä tai päivittäin |
|
Säleikkö ja jäähdytin on pidettävä puhtaina, jotta järjestelmä ei ylikuumene. Tarkista säleikkö ja jäähdytin päivittäin tai tarvittaessa tunneittain. Puhdista osat pölyisissä ja likaisissa oloissa tätäkin useammin.
Irrota jäähdyttimen säleikkö (Kuva 56).

Työskentele jäähdyttimen tuulettimen puolelta käsin ja puhalla jäähdytin puhtaaksi paineilmalla.
Puhdista ja asenna säleikkö.
| Huoltoväli | Huoltotoimenpide |
|---|---|
| Aina ennen käyttöä tai päivittäin |
|
Jäähdytysjärjestelmän tilavuus on noin 4,6 litraa.
Täytä jäähdytysjärjestelmä aina veden ja etyleeniglykolikestopakkasnesteen seoksella (seossuhde 50/50). Tarkista jäähdytysnesteen määrä jokaisen työpäivän alussa ennen moottorin käynnistämistä.
Jos moottori on juuri sammutettu, kuuma, paineenalainen jäähdytysneste saattaa roiskua ja aiheuttaa palovammoja.
Älä aukaise jäähdyttimen korkkia moottorin käydessä.
Käytä korkkia käsitellessäsi liinaa ja aukaise korkki hitaasti, jotta paine pääsee pois.
Pysäköi kone tasaiselle alustalle.
Tarkista jäähdytysnesteen määrä (Kuva 56 ja Kuva 57).
Sen tulee olla paisuntasäiliön kyljessä olevien viivojen välissä, kun moottori on kylmä.

Jos jäähdytysnestettä on liian vähän, irrota paisuntasäiliön korkki ja lisää veden ja etyleeniglykolipakkasnesteen seosta (seossuhde 50:50). Älä täytä liikaa.
Asenna paisuntasäiliön korkki.
| Huoltoväli | Huoltotoimenpide |
|---|---|
| Vuosittain |
|
Paina jarruja voimakkaasti ja aja konetta leikkuunopeudella, kunnes jarrut ovat kuumat. Tämän huomaa jarrujen hajusta. Jarrujen säätö saattaa olla tarpeellista sisäänajon jälkeen. Katso kohta Jarrujen säätö.
Jos jarru ei pidä konetta paikallaan pysäköinnin aikana, jarruja voidaan säätää jarrurummun lähellä sijaitsevan laipiokiinnikkeen avulla. Ota yhteys valtuutettuun huoltoliikkeeseen tai katso lisätietoja huolto-oppaasta.
Note: Aja jarrut sisään vuosittain. Katso Jarrujen sisäänajo.
| Huoltoväli | Huoltotoimenpide |
|---|---|
| 8 ensimmäisen käyttötunnin jälkeen |
|
Varmista, että hihna on kiristetty oikein. Näin varmistetaan koneen toiminta ja estetään turha kuluminen.
Pysäköi kone tasaiselle alustalle, sammuta moottori, kytke seisontajarru, irrota virta-avain ja odota, että kaikki liikkuvat osat ovat pysähtyneet.
Paina hihnaa peukalolla hihnapyörien väliltä kohtuullisen voimakkaasti (10 kg). Hihnan tulisi painua 7–9 mm. Jos näin ei tapahdu, säädä hihnan kireyttä seuraavasti:

Löysää pultit, joilla laturi on kiinnitetty moottoriin ja säätimeen.
Tarkista, onko hihnassa kulumia tai vaurioita, ja vaihda tarvittaessa.
Säädä hihnan kireys oikeaksi vetämällä laturia ulos laturin ja moottorilohkon väliin asetetun vivun avulla. Kiristä sitten pultit.
Jos nestettä pääsee ihon alle, hakeudu välittömästi lääkäriin. Lääkärin on poistettava neste kirurgisesti muutaman tunnin sisällä.
Varmista, että kaikki hydrauliletkut ja -putket ovat hyvässä kunnossa ja että kaikki hydrauliputkien liitokset ja kiinnitykset ovat tiukalla, ennen kuin lisäät hydraulijärjestelmän painetta.
Pidä keho ja kädet kaukana vuotavista rei’istä ja suuttimista, joista suihkuaa korkeapaineista hydraulinestettä.
Etsi hydraulinestevuotoja pahvin tai paperin avulla.
Poista paine varovasti hydraulijärjestelmästä, ennen kuin huollat järjestelmää.
Important: Käytetyn hydraulinesteen tyypistä riippumatta väylien leikkuuseen, pystysuuntaiseen verticutting-leikkuuseen tai leikkuuseen yli 29 °C:n lämpötilassa käytettyihin koneisiin on asennettava öljynjäähdytinsarja (osanro 117-9314).
Säiliö on täytetty tehtaalla korkealaatuisella hydraulinesteellä. Tarkista hydraulinesteen taso ennen moottorin ensimmäistä käynnistystä ja sen jälkeen päivittäin. Katso kohta Hydraulinesteen määrän tarkistus.
Suositeltu hydraulineste: Toro PX Extended Life Hydraulic Fluid (saatavana 19 litran astioissa tai 208 litran tynnyreissä).
Note: Kun koneessa käytetään suositeltua nestettä, neste ja suodatin voidaan vaihtaa harvemmin.
Vaihtoehtoiset hydraulinesteet: Jos Toro PX Extended Life Hydraulic Fluid -nestettä ei ole saatavana, voidaan käyttää muita tavallisia, öljypohjaisia hydraulinesteitä, jotka täyttävät kaikki jäljempänä luetellut vaatimukset (ominaisuudet ja standardit). Älä käytä synteettistä nestettä. Pyydä voiteluaineiden jälleenmyyjältä neuvoja sopivan tuotteen valitsemiseen.
Note: Toro ei vastaa vääränlaisten nesteiden käytöstä aiheutuneista vaurioista, joten käytä vain sellaisten tunnettujen valmistajien tuotteita, joiden luokituksiin voi luottaa.
| Ominaisuudet: | ||
| Viskositeetti, ASTM D445 | cSt / 40 °C 44–48 | |
| Viskositeetti-indeksi, ASTM D2270 | 140 tai korkeampi | |
| Jähmepiste, ASTM D97 | -37 °C – -45 °C | |
| Standardit: | Eaton Vickers 694 (I-286-S, M-2950-S/35VQ25 tai M-2952-S) | |
Note: Monet hydraulinesteet ovat lähes värittömiä, mikä vaikeuttaa vuotojen toteamista. Hydraulinesteelle tarkoitettua punaista värilisäainetta on saatavana 20 ml:n pulloissa. Yksi pullo riittää 15–22 litralle hydraulinestettä. Tilaa valtuutetulta Toro-jälleenmyyjältäsi, osanro 44-2500.
Important: Toro Premium Synthetic Biodegradable Hydraulic Fluid on ainoa Toron hyväksymä luonnossa hajoava synteettinen neste. Neste on yhteensopiva Toro-hydraulijärjestelmissä käytettyjen elastomeerien kanssa, ja sitä voidaan käyttää useissa lämpötiloissa. Neste on yhteensopiva perinteisten mineraaliöljyjen kanssa, mutta paras mahdollinen luonnossa hajoavuus ja suorituskyky saavutetaan huuhtelemalla perinteinen neste perusteellisesti pois hydraulijärjestelmästä. Öljyä on saatavana 19 litran astioissa tai 208 litran tynnyreissä valtuutetulta Toro-jälleenmyyjältä.
| Huoltoväli | Huoltotoimenpide |
|---|---|
| Aina ennen käyttöä tai päivittäin |
|
Hydraulinestesäiliö on täytetty tehtaalla korkealaatuisella hydraulinesteellä. Tarkista hydraulinesteen määrä päivittäin ennen koneen käyttöä. Koneessa on hydraulinesteen määrän tarkistusta varten joko mittatikku tai valkoinen muovi-ikkuna hydraulinestesäiliön etupuolella (istuimen takana koneen vasemmalla puolella). Nesteen pitäisi yltää ikkunan tai mittatikun merkkien väliin. Jos näin ei ole, lisää sopivaa nestettä.
Katso Kuva 59 tätä toimenpidettä varten.

Pysäköi kone tasaiselle alustalle.
Note: Varmista, että kone on jäähtynyt, jotta neste on kylmää.
Tarkista nestetaso koneesi säiliöstä:
Jos säiliössä on tarkastuslasi, tarkista öljyn taso siitä ja jatka kohtaan 5.
Jos säiliössä ei ole tarkastuslasia, etsi mittatikku hydraulisäiliön yläosasta ja jatka kohtaan 3.
Irrota mittatikku ja pyyhi se puhtaalla liinalla, ruuvaa sitten mittatikku säiliöön.
Irrota mittatikku ja tarkista nestemäärä. Jos nestepinta on mittatikun merkkien välissä, nestettä on riittävästi. Jos pinta ei ole merkkien välissä, nestettä pitää lisätä.
Irrota hydraulinestesäiliön korkki tai mittatikku (koneesta riippuen) ja lisää säiliöön hitaasti oikeanlaista korkealaatuista hydraulinestettä, kunnes pinta ulottuu tarkastuslasin kahden viivan tai mittatikun kahden merkin väliin.
Asenna korkki tai mittatikku ja pyyhi läikkynyt neste pois.
Important: Tarkista hydraulinesteen määrä ennen moottorin ensimmäistä käynnistystä, ja sen jälkeen päivittäin.
| Huoltoväli | Huoltotoimenpide |
|---|---|
| 800 käyttötunnin välein |
|
| 1000 käyttötunnin välein |
|
| 2000 käyttötunnin välein |
|
Hydraulinestetilavuus: 25,7 l
Jos neste saastuu, ota yhteys valtuutettuun Toro-jälleenmyyjään, sillä koko järjestelmä on huuhdeltava. Saastunut neste näyttää maitomaiselta tai mustalta puhtaaseen nesteeseen verrattuna.
Puhdista suodattimen kiinnitysalueen ympäristö (Kuva 60). Aseta tyhjennysastia suodattimen alle ja irrota suodatin.

Note: Jos nestettä ei tyhjennetä, irrota suodattimeen menevä hydrauliputki ja tuki se tulpalla.
Täytä uusi suodatin oikeanlaisella hydraulinesteellä. Voitele tiivisterengas ja pyöritä sitä kiinni käsin, kunnes tiiviste koskettaa suodatinpäähän. Kiristä sitten vielä ¾-kierrosta.
Täytä hydraulisäiliö hydraulinesteellä. Katso kohdat Hydraulinesteen laatuvaatimukset ja Hydraulinesteen määrän tarkistus.
Käynnistä kone ja käytä sitä joutokäynnillä 3–5 minuuttia, jotta neste kiertää ja jotta järjestelmässä oleva ilma poistuu. Sammuta moottori ja tarkista nesteen määrä.
Hävitä neste ja suodatin asianmukaisesti.
| Huoltoväli | Huoltotoimenpide |
|---|---|
| Aina ennen käyttöä tai päivittäin |
|
Tarkista päivittäin, ettei hydrauliletkuissa ja -putkissa ole vuotoja, kulumia, säävahinkoja tai kemiallisia vaurioita ja etteivät letkut ole kiertyneet eivätkä kiinnitykset tai liitännät löystyneet. Suorita kaikki tarvittavat korjaukset ennen koneen käyttöä.
Kulunut tai vaurioitunut terä tai kiinteä terä voi rikkoutua ja pala voi sinkoutua käyttäjää tai ohikulkijaa päin, mikä voi aiheuttaa vakavan henkilövahingon tai kuoleman.
Terät ja kiinteät terät on tarkistettava säännöllisesti liiallisen kulumisen ja vaurioiden varalta.
Ole varovainen, kun tarkastat teriä. Käytä käsineitä ja noudata varovaisuutta keloja huoltaessasi. Terät ja kiinteät terät saa ainoastaan vaihtaa tai läpätä. Niitä ei saa suoristaa eikä hitsata.
Ole varovainen käsitellessäsi monen leikkuuyksikön koneita, sillä yhden leikkuuyksikön kääntäminen saattaa kääntää muiden leikkuuyksiköiden keloja.
Note: Kun teroitat teriä, säädät leikkuukorkeutta tai muuten huollat leikkuuyksikköjä, suojaa leikkuuyksiköiden kelamoottorit vaurioilta asettamalla ne tukivarsien edessä olevaan säilytyspaikkaan.
Important: Älä nosta ripustusta kuljetusasentoon, kun kelamoottorit ovat kannattimissa koneen rungossa. Tämä voi vaurioittaa moottoreita tai letkuja.
Important: Jos leikkuuyksikköä on kallistettava, nosta leikkuuyksikön takaosa siten, että runkopalkin säätöruuvien mutterit eivät nojaa työpintaan (Kuva 61).

Kiinnitä sähköinen vastapaino nykyiseen vastapainoon kahdella kantaruuvilla kuvan mukaisesti (Kuva 62).

Irrota leikkuuyksikön virtaliittimet. Katso Leikkuuyksikön virtaliittimet.
Jos virransyöttöä leikkuuyksiköihin ei katkaista, joku saattaa vahingossa käynnistää leikkuuyksikön, mikä voi johtaa käsien ja jalkojen vakavaan loukkaantumiseen.
Irrota aina leikkuuyksikön virrankatkaisuliittimet toisistaan ennen leikkuuyksiköiden huoltoa.
Nosta jalkatukea ja käännä se auki, jolloin keskimmäisen leikkuuyksikön asennuskohtaan päästään käsiksi (Kuva 63).
Sormet voivat jäädä puristuksiin, jos jalkatuki putoaa takaisin paikalleen.
Pidä sormet poissa jalkatuen paikalta sen ollessa avattuna.

Aseta leikkuuyksikkö keskimmäisen tukivarren alle.
Kun tukivarren tangon salvat osoittavat ylöspäin (ovat auki) (Kuva 64), paina tukivartta alas niin, että tanko osuu kohdakkain leikkuuyksikön yläosassa olevan tangon kanssa (Kuva 65).


Paina salvat kiinni leikkuuyksikön tangon ympäri ja lukitse ne paikalleen (Kuva 64).
Note: Salvat napsahtavat ja tunnet, kun ne lukittuvat paikalleen oikein.
Päällystä leikkuuyksikön moottorin ura-akseli puhtaalla rasvalla (Kuva 66).
Aseta moottori leikkuuyksikön vasemmalle puolelle (käyttäjän paikalta katsottuna) ja vedä leikkuuyksikössä olevaa moottorin kiinnitystankoa moottoria kohti, kunnes moottorin kummaltakin puolelta kuuluu napsahdus (Kuva 66).

Asenna ruohonkeräin tukivarressa oleviin koukkuihin.
Toista toimenpide muille leikkuuyksiköille.
Kytke leikkuuyksikön virtaliittimet. Katso Leikkuuyksikön virtaliittimet.
Irrota leikkuuyksikön virtaliittimet. Katso Leikkuuyksikön virtaliittimet.
Jos virransyöttöä leikkuuyksiköihin ei katkaista, joku saattaa vahingossa käynnistää leikkuuyksikön, mikä voi johtaa käsien ja jalkojen vakavaan loukkaantumiseen.
Irrota aina leikkuuyksikön virrankatkaisuliittimet toisistaan ennen leikkuuyksiköiden huoltoa.
Pysäköi kone puhtaalle ja tasaiselle alustalle, laske leikkuuyksiköt maahan, kunnes iskunvaimentimien sylinterit ovat kokonaan pidentyneinä, sammuta moottori ja kytke seisontajarru.
Paina moottorin kiinnitystanko ulos moottorin urista kohti leikkuuyksikköä ja irrota moottori leikkuuyksiköstä.

Siirrä moottori tukivarren edessä olevaan säilytyspaikkaan (Kuva 68).

Note: Kun teroitat teriä, säädät leikkuukorkeutta tai muuten huollat leikkuuyksikköjä, suojaa leikkuuyksiköiden kelamoottorit vaurioilta asettamalla ne tukivarsien edessä olevaan säilytyspaikkaan.
Important: Älä nosta ripustusta kuljetusasentoon, kun kelamoottorit ovat kannattimissa koneen rungossa. Tämä voi vaurioittaa moottoreita tai letkuja. Jos ajoyksikköä on siirrettävä ilman, että leikkuuyksiköt ovat asennettuina, kiinnitä ne tukivarsiin nippusiteillä.
Avaa salvat irrotettavan leikkuuyksikön tukivarren tangolta (Kuva 64).
Irrota salvat leikkuuyksikön tangolta.
Vieritä leikkuuyksikkö pois tukivarren alta.
Toista vaiheet 3–7 muiden leikkuuyksiköiden kohdalla tarvittaessa.
Kytke leikkuuyksikön virtaliittimet. Katso Leikkuuyksikön virtaliittimet.
| Huoltoväli | Huoltotoimenpide |
|---|---|
| Aina ennen käyttöä tai päivittäin |
|
Tarkista kelan ja kiinteän terän kosketus joka päivä ennen koneen käyttöä, vaikka leikkuun laatu olisikin täysin hyväksyttävää. Kelan ja kiinteän terän on kosketettava toisiaan kevyesti koko pituudeltaan. Katso lisätietoja leikkuuyksikön käyttöoppaasta.
Ennen kelojen tarkistusta irrota leikkuuyksikön virtaliittimet toisistaan. Katso Leikkuuyksikön virtaliittimet. Kytke lopuksi liittimet yhteen.
Kelojen tai muiden liikkuvien osien koskettaminen saattaa johtaa loukkaantumiseen.
Pidä sormet, kädet ja vaatteet etäällä keloista ja muista liikkuvista osista.
Älä yritä kääntää keloja kädellä tai jalalla moottorin käydessä.
Pysäköi kone tasaiselle alustalle, laske leikkuuyksiköt alas, sammuta moottori, irrota virta-avain ja kytke seisontajarru.
Irrota muovisuojus istuimen vasemmalta puolelta.
Tee kaikille läpättäville leikkuuyksiköille asianmukaiset kelan ja kiinteän terän kohdistukset läppäystä varten. Katso leikkuuyksikön käyttöopas.
Käynnistä moottori ja anna sen käydä alhaisella joutokäynnillä. Jos moottori sammuu, lisää sen nopeutta.
Valitse tietokeskuksen ohjaustaulussa HUOLTO-valikosta kohta BACKLAP (läppäys).
Valitse kohdassa BACKLAP (läppäys) vaihtoehto PääLLä.
Avaa päävalikko ja etsi kohta Asetukset.
Etsi ASETUKSET-valikosta kohta LäPPäYKSEN KäYNTINOPEUS ja aseta haluttu läppäysnopeus käyttämällä painiketta ±.
Siirrä toiminnonohjausvipu VAPAA-asentoon ja aloita määritettyjen kelojen läppäys siirtämällä leikkuunohjausvipua eteenpäin.
Lisää läppäysainetta pitkävartisella harjalla. Älä käytä lyhytvartista harjaa.
Jos kelat pysähtyvät tai toimivat epäsäännöllisesti läppäyksen aikana, valitse suurempi kelanopeus, kunnes nopeus vakaantuu.
Jos haluat säätää leikkuuyksikköjä läppäyksen aikana, pysäytä kelat siirtämällä leikkuunohjausvipua taaksepäin ja sammuta moottori. Kun säädöt on tehty, toista vaiheet 4–10.
Toista toimenpiteet kaikille läpättäville leikkuuyksiköille.
Kun olet valmis, valitse tietokeskuksen BACKLAP-asetukseksi (läppäys) POIS tai käännä virta-avain PYSäYTYS-asentoon, jolloin kone alkaa jälleen leikata eteenpäin.
Pese läppäysaine kokonaan pois leikkuuyksiköistä. Kohdista leikkuuyksikön kela ja kiinteä terä tarvittaessa. Siirrä leikkuuyksikön kelanopeuden säädin haluttuun leikkuuasentoon.
Sammuta kone, irrota virta-avain ja odota, että kaikki liikkuvat osat pysähtyvät, ennen kuin poistut käyttäjän paikalta. Anna koneen jäähtyä ennen säätöä, huoltoa, puhdistusta tai varastointia.
Älä säilytä konetta tai polttoainesäiliötä tilassa, jossa on avotuli, kipinöitä tai varmistusliekki (esimerkiksi vedenlämmitin tai muu vastaava laite).
Jos haluat varastoida koneen pidemmäksi aikaa, toimi sitä ennen seuraavasti:
Katso kohta Turvallisuus varastoinnin aikana.
Poista kerääntynyt lika ja vanhat leikkuujätteet. Teroita terät ja kiinteät terät. Katso tarvittaessa ohjeita leikkuuyksikön käyttöoppaasta. Käytä ruosteenestoainetta kiinteisiin teriin ja teriin. Rasvaa ja öljyä kaikki voitelukohdat.
Nosta pyörät tukien varaan, jotta renkailla ei ole painoa.
Tyhjennä ja vaihda hydraulineste ja suodatin, tarkista hydrauliputket ja liitännät. Vaihda tarvittaessa. Katso Hydraulinesteen ja -suodattimen vaihto ja Hydrauliletkujen ja -putkien tarkistus.
Tyhjennä polttoainesäiliö kokonaan. Käytä moottoria, kunnes se sammuu polttoaineen loputtua. Vaihda polttoainesuodatin. Katso Polttoainesuodattimen / vedenerottimen suodattimen vaihto.
Kun moottori on vielä lämmin, tyhjennä öljy kampikammiosta. Täytä uudelleen tuoreella öljyllä. Katso Moottoriöljyn ja öljynsuodattimen vaihto.
Puhdista lika ja roskat sylinteristä, sylinterinkannen rivoista ja tuulettimen kotelosta.
Irrota akku ja lataa se täyteen. Säilytä sitä hyllyllä tai koneessa. Älä kytke kaapeleita, jos akkua säilytetään koneessa. Varastoi akku viileään tilaan, jotta sen lataus purkautuu mahdollisimman hitaasti.
Jos mahdollista, säilytä kone lämpimässä, kuivassa paikassa.