Kunnossapito
Note: Koneen vasen ja oikea puoli määritellään normaalista käyttöasennosta käsin.
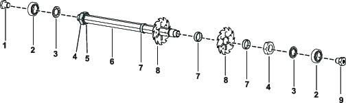
Harateräkokoonpanon purku
Pura harateräkokoonpano, kun terä tai laakerit on vaihdettava.
-
Kiinnitä kokoonpanon aluslaatan sisältävässä päässä oleva vastamutteri ruuvipenkkiin.
Note: Älä irrota aluslaattaa tai mutteria kokoonpanon tältä puolelta.
-
Irrota kuusiopultti, laakeri ja nukkatiiviste.
-
Irrota akselin toisella puolella vasenkätisten kierteiden uraholkki.
Varoitus
Terät ovat erittäin teräviä, ja niissä oleva jäyste voi viiltää käsiä.
Käytä käsineitä ja irrota terät akselilta varovasti.
-
Irrota laakeri, nukkatiiviste, terät ja välikappaleet. Puhdista ja voitele akseli kevyesti rasvalla, jolloin kokoaminen on helpompaa.

-
Kun kokoat harateräkokoonpanoa, levitä keskivahvaa kierrelukitetta (esim. Blue Loctite 243) uraholkin, kuusiopultin ja vastamutterin kierteisiin.
Important: On erittäin tärkeää varmistaa oikea asennusjärjestys. Varmista, että terien paikat eivät vaihdu purkamisen yhteydessä tai että asennusjärjestys ei vaihdu kokoamisen yhteydessä. Kiinnitä huomiota merkkireikään kussakin terässä. Merkkireikien tarkoitus on varmistaa oikea kierremuoto asennuksen yhteydessä. Käännä terää edelliseen terään nähden yhden kuusikulman tahkon verran vastapäivään käyttäen merkkireikää apuna, jotta harateräkokoonpanon kierremuoto on oikea.

-
Kiristä kierteinen uraholkki, kuusiopultti ja vastamutteri momenttiin 108–135 N·m.
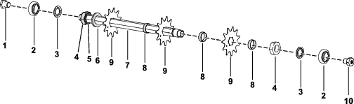
Harateräkokoonpanon purku
Pura harateräkokoonpano, kun terä tai laakerit on vaihdettava.
-
Kiinnitä kokoonpanon aluslaatan sisältävässä päässä oleva vastamutteri ruuvipenkkiin.
Note: Älä irrota aluslaattaa tai mutteria kokoonpanon tältä puolelta.
-
Irrota kuusiopultti, laakeri ja nukkatiiviste.
-
Irrota akselin toisella puolella vasenkätisten kierteiden uraholkki.
Varoitus
Terät ovat erittäin teräviä, ja niissä oleva jäyste voi viiltää käsiä.
Käytä käsineitä ja irrota terät akselilta varovasti.
-
Irrota laakeri, nukkatiiviste, terät ja välikappaleet. Puhdista ja voitele akseli kevyesti rasvalla, jolloin kokoaminen on helpompaa.
Note: Jousiterästeräsettiin kuuluu suuri aluslaatta ja lisäterä, jotka asennetaan ennen ensimmäistä välikappaletta alla olevan kuvan mukaisesti.

-
Kun kokoat harateräkokoonpanoa, levitä keskivahvaa kierrelukitetta (esim. Blue Loctite 243) uraholkin, kuusiopultin ja vastamutterin kierteisiin.
-
Kiristä kierteinen uraholkki, kuusiopultti ja vastamutteri momenttiin 108–135 N·m.
Rullan huolto
Rullan huoltoa varten on saatavana viheriöjyrän korjaussarja (osanro 140-5552) ja viheriöjyrän korjaussarjan työkalusarja (osanro 140-5553) (Kuva 9). Rullan korjaussarja sisältää kaikki rullan korjauksessa tarvittavat laakerit, laakerimutterit ja tiivisteet.
Rullan korjaussarjan työkalusarja sisältää kaikki rullan korjaussarjan käytössä tarvittavat työkalut ja asennusohjeet. Lisätietoja saa osaluettelosta tai valtuutetulta Toro-jälleenmyyjältä.



, joka tarkoittaa varoitusta,
vaaraa tai hengenvaaraa – henkilöturvallisuusohjeet. Ohjeiden
laiminlyönti saattaa johtaa henkilövahinkoon tai kuolemaan.



