Underhåll
Note: Vänster och höger sida på maskinen är lika med förarens vänstra respektive högra sida vid normal körning.
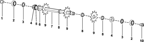
Plocka isär cylinderknivenheten för tovigt, högvuxet gräs
Plocka isär cylinderknivenheten för tovigt högvuxet gräs när du behöver byta ut en kniv eller ersätta kullagren.
-
Fäst kontramuttern på änden av enheten, som innehåller brickan, i ett skruvstäd.
Note: Ta inte bort brickan eller muttern på den här sidan av enheten.
-
Ta bort sexkantsskruven samt kullagret och tätningen.
-
Ta bort den vänstra räfflade insatsen på andra änden av axeln.
Var försiktig
Knivarna är mycket vassa och kan ha borrskägg som kan göra att du skär dig.
Använd handskar och var försiktig när du tar bort knivarna från axeln.
-
Ta bort kullagren, tätningen, knivarna och distansbrickorna. Rengör och smörj axeln med en lätt beläggning av fett för att förenkla monteringen.

-
Applicera medelstark gängtätningsmassa (t.ex. Blue Loctite 243) på gängorna på den räfflade insatsens gångjärn, sexkantsskruven och kontramuttern när du monterar cylinderknivenheten för tovigt, högvuxet gräs.
Important: Det är extremt viktigt att du plockar isär enheten i rätt ordning. Vänd inte på knivarna när du plockar isär enheten, och montera inte heller i omvänd ordning. Observera styrhålet i varje kniv. Styrhålet är till för montering och för att erhålla rätt helix. Rotera kniven med hjälp av styrhål 1 helix platt moturs för var och en av knivarna för att uppnå rätt monteringshelix för cylinderknivenheten för tovigt, högvuxet gräs.

-
Dra åt den räfflade insatsen, insexskruven och kontramuttern till 108–135 Nm.
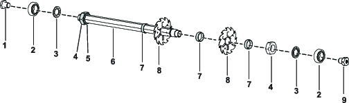
Plocka isär cylinderknivenheten för tovigt, högvuxet gräs
Plocka isär cylinderknivenheten för tovigt högvuxet gräs när du behöver byta ut en kniv eller ersätta kullagren.
-
Fäst kontramuttern på änden av enheten, som innehåller brickan, i ett skruvstäd.
Note: Ta inte bort brickan eller muttern på den här sidan av enheten.
-
Ta bort sexkantsskruven samt kullagret och tätningen.
-
Ta bort den vänstra räfflade insatsen på andra änden av axeln.
Var försiktig
Knivarna är mycket vassa och kan ha borrskägg som kan göra att du skär dig.
Använd handskar och var försiktig när du tar bort knivarna från axeln.
-
Ta bort kullagren, tätningen, knivarna och distansbrickorna. Rengör och smörj axeln med en lätt beläggning av fett för att förenkla monteringen.
Note: Fjäderstålskniven har en stor bricka och ytterligare en kniv monterad framför den första distansbrickan enligt bilden nedan.

-
Applicera medelstark gängtätningsmassa (t.ex. Blue Loctite 243) på gängorna på den räfflade insatsens gångjärn, sexkantsskruven och kontramuttern när du monterar cylinderknivenheten för tovigt, högvuxet gräs.
-
Dra åt den räfflade insatsen, insexskruven och kontramuttern till 108–135 Nm.
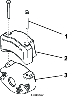
Serva rullen
Ombyggnadssatsen för greenvält (artikelnr 140-5552) och verktygssatsen för ombyggnad av greenvält (artikelnr 140-5553) (Figur 9) finns tillgängliga för att serva rullen. Ombyggnadssatsen för rulle innehåller alla lager, lagermuttrar och tätningar som krävs för att bygga om en rulle.
Verktygssatsen för ombyggnad av rulle omfattar alla verktyg och monteringsanvisningar som krävs för att bygga om en rulle med ombyggnadssatsen. Titta i reservdelskatalogen eller kontakta en auktoriserad Toro-återförsäljare om du behöver hjälp.



. Symbolen betyder Var försiktig,
Varning eller Fara – anvisning om personsäkerhet. Underlåtenhet
att följa anvisningarna kan leda till personskador eller innebära
livsfara.



