| Onderhoudsinterval | Onderhoudsprocedure |
|---|---|
| Bij elk gebruik of dagelijks |
|
Wanneer het juist is gemonteerd, bouwt dit werktuig de machine om tot een speciaal gazonspuitvoertuig en het is bedoeld voor gebruik door professionele bestuurders bij commerciële toepassingen. Het systeem is met name ontworpen voor sproeien op goed onderhouden gazons in parken, golfbanen en sportvelden.
Lees deze informatie zorgvuldig door, zodat u weet hoe u dit product op de juiste wijze moet gebruiken en onderhouden en om letsel en schade aan de machine te voorkomen. U bent verantwoordelijk voor het juiste en veilige gebruik van de machine.
Ga naar www.Toro.com voor meer informatie, inclusief veiligheidstips, instructiemateriaal, informatie over accessoires, hulp bij het vinden van een dealer of om uw product te registreren.
Als u service, originele Toro onderdelen of aanvullende informatie nodig hebt, kunt u contact opnemen met een erkende servicedealer of met de klantenservice van Toro. U dient hierbij altijd het modelnummer en het serienummer van het product te vermelden. De locatie van het plaatje met het modelnummer en het serienummer van het product is aangegeven op Figuur 1. U kunt de nummers noteren in de ruimte hieronder.
Important: Belangrijk: U kunt met uw mobiel apparaat de QR-code op het plaatje met het serienummer (indien aanwezig) scannen om toegang te krijgen tot de garantie, onderdelen en andere productinformatie.

Er worden in deze handleiding een aantal mogelijke gevaren en een aantal veiligheidsberichten genoemd met de volgende veiligheidssymbolen (Figuur 2), die duiden op een gevaarlijke situatie die ernstig of fataal lichamelijk letsel tot gevolg kan hebben als u de veiligheidsvoorschriften niet in acht neemt.

Er worden in deze handleiding twee woorden gebruikt om uw aandacht op bijzondere informatie te vestigen. Belangrijk attendeert u op bijzondere technische informatie en Opmerking duidt op algemene informatie die bijzondere aandacht verdient.
Dit product voldoet aan alle relevante Europese richtlijnen; zie voor details de aparte productspecifieke conformiteitsverklaring.
Als de machine zonder een goed werkende vonkenvanger, zoals omschreven in sectie 4442, of een goed onderhouden, brandveilige motor wordt gebruikt in een bosgebied of op een met dicht struikgewas of gras begroeid terrein, handelt de bestuurder in strijd met de bepalingen van sectie 4442 of 4443 van de Wet op de Openbare Hulpbronnen (Public Resources Code) van de Staat Californië.
CALIFORNIË
Proposition 65 Waarschuwing
Gebruik van dit product kan leiden tot blootstelling aan chemische stoffen waarvan de Staat Californië weet dat ze kanker, geboorteafwijkingen en andere schade aan het voortplantingssysteem veroorzaken.
Onjuist gebruik of onderhoud door de gebruiker of eigenaar kan letsel veroorzaken. Om het risico op letsel te verkleinen, dient u zich aan de volgende veiligheidsinstructies te houden en altijd op het veiligheidssymbool (Figuur 2) te letten, dat betekent: Voorzichtig, Waarschuwing of Gevaar – instructie voor persoonlijke veiligheid. Niet-naleving van de instructie kan leiden tot lichamelijk of dodelijk letsel.
Dit product kan lichamelijk letsel veroorzaken. Volg altijd alle veiligheidsinstructies op om ernstig letsel te voorkomen.
Lees deze Gebruikershandleiding en zorg ervoor dat u deze begrijpt voordat u de motor start.
Geef uw volledige aandacht als u de machine gebruikt. Zorg ervoor dat u met niets anders bezig bent waardoor u kunt worden afgeleid, anders kan er letsel ontstaan of kan eigendom worden beschadigd.
Gebruik geschikte persoonlijke beschermingsmiddelen (PPE) om te voorkomen dat u in aanraking komt met chemische stoffen. Chemische stoffen die worden gebruikt in het spuitsysteem kunnen gevaarlijk en giftig zijn.
Houd handen en voeten uit de buurt van de bewegende onderdelen van de machine.
Gebruik de machine enkel als de nodige schermen en andere beveiligingsmiddelen aanwezig zijn en naar behoren werken.
Ga niet in het spuitgebied van de spuitdoppen staan; hou er rekening mee dat de chemische stoffen kunnen verwaaien. Laat geen omstanders of kinderen het werkgebied betreden.
Laat kinderen nooit de machine bedienen.
Parkeer de machine op een horizontaal vlak, stel de parkeerrem in werking, zet de motor af, verwijder het contactsleuteltje (indien aanwezig) en wacht totdat alle bewegende onderdelen tot stilstand zijn gekomen voordat u de bestuurderspositie verlaat. Laat de machine afkoelen voordat u er instellingen of onderhoud aan verricht, of de machine schoonmaakt of stalt.
Onjuist gebruik of onderhoud van deze machine kan letsel tot
gevolg hebben. Om het risico op letsel te verkleinen, dient u zich
aan de volgende veiligheidsinstructies te houden en altijd op het
veiligheidssymbool
te letten, dat betekent Voorzichtig, Waarschuwing
of Gevaar – instructie voor persoonlijke veiligheid. Niet-naleving
van deze instructies kan leiden tot lichamelijk of dodelijk letsel.
Niet alle werktuigen die kunnen worden gekoppeld aan deze machine worden in deze handleiding beschreven. Raadpleeg de gebruikershandleiding die bij elk werktuig is geleverd voor aanvullende veiligheidsinstructies.
![]() |
Veiligheidsstickers en veiligheidsinstructies zijn gemakkelijk zichtbaar voor de bestuurder en bevinden zich bij plaatsen waar gevaar kan ontstaan. Vervang alle beschadigde of ontbrekende stickers. |

















Important: Model 41240 met serienummer 416500000 of hoger kunt u enkel monteren op handgeschakelde Workman HDX machines.
Note: Bepaal vanuit de normale bedieningspositie de linker- en rechterzijde van de machine.
Note: Als u vragen hebt of verdere informatie wenst over het spuitbedieningssysteem, raadpleeg dan de Gebruikershandleiding die bij het systeem werd geleverd.
Important: Deze spuitmachine wordt verkocht zonder spuitdoppen.Om de spuitmachine te gebruiken, moet u spuitdoppen aanschaffen en monteren. Neem voor informatie over de verkrijgbare spuitboomset en accessoires contact op met een erkende Toro verdeler. Nadat u de spuitdoppen hebt geïnstalleerd en voordat u de spuitmachine voor de eerste keer gaat gebruiken, moet u de omloopkleppen van de spuitbomen instellen zodat de druk en de gebruiksdosis voor alle spuitbomen hetzelfde blijft als u 1 of meer spuitbomen uitschakelt. Zie De vloeistofstroom van de spuitmachine kalibreren.
Important: Voor de Multi Pro WM gazonspuitmachine moet een rolbeugel met 4 stangen of cabine gemonteerd worden op de Workman.
De volledige laadbak weegt ongeveer 95 kg. U kunt gewond raken als u de laadbak zonder hulp probeert te verwijderen.
Probeer de laadbak niet in uw eentje te monteren of te verwijderen.
Laat 2 of 3 mensen u helpen of gebruik een kraan.
Zet de machine op een horizontaal vlak, stel de parkeerrem in werking en zet de motor af.
Zet de hydraulische hefhendel naar voren en laat de laadbak zakken tot de gaffelpennen van de hefcilinders aan de kant van de cilinderstang loszitten in de montagesleuven van de montageplaten van de laadbak.
Zet de hydraulische hefhendel vrij, schakel de vergrendeling van het hydraulische hefsysteem in, zet de motor uit en verwijder het sleuteltje; raadpleeg de Gebruikershandleiding van uw machine.
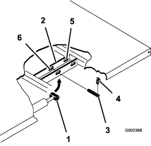
Verwijder de lynchpennen van de uiteinden van de gaffelpennen van de cilinderstang (Figuur 3).

Verwijder de gaffelpennen waarmee de uiteinden van de cilinderstang bevestigd zijn aan de montageplaten van de laadbak; druk hierbij de pennen naar de middellijn van de machine (Figuur 3).
Verwijder de lynchpennen en gaffelpennen waarmee de draaibeugels van de laadbak bevestigd zijn aan de framekanalen van de machine (Figuur 4).

Hef de laadbak van het voertuig.
Sla de hefcilinders op in de opslagklemmen.
Benodigde onderdelen voor deze stap:
| Achteraftakas, Workman-voertuig voor zwaar gebruik (modellen uit de HD-serie met manuele transmissie) | 1 |
| Egalisatieset voor Multi Pro WM gazonspuitmachine, Workman multifunctioneel voertuig met manuele transmissie (modellen uit de HD-serie met manuele transmissie) | 1 |
Voor Workman-modellen uit de HD- en HDX-serie met een manuele transmissie dient u de volledige montageprocedure van de achteraftakas voor Workman-voertuigen voor zwaar gebruik uit te voeren; raadpleeg de Montage-instructies van de achteraftakas voor Workman-voertuigen voor zwaar gebruik.
Gebruik een hefwerktuig met een hefvermogen van 408 kg om het tankframe van de verzendkist te tillen. Bevestig het werktuig aan de hefpunten (2 vooraan en 2 achteraan) (Figuur 5).
Note: Zorg dat het tankframe hoog genoeg getild is om de krikken te plaatsen.

Voor handgeschakelde Workman modellen uit de HD- en HDX-serie moet u de procedure van de egalisatieset voor Multi Pro WM gazonspuitmachines voor handgeschakelde Workman multifunctionele werkvoertuigen uitvoeren.
Benodigde onderdelen voor deze stap:
| Bevestigingsbeugels | 2 |
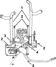
Verwijder de 2 achterste flenskopbouten en 2 flensborgmoeren waarmee de steunbeugel voor de motorbuis bevestigd is aan het frame van de machine (Figuur 6).
Note: Bewaar de bevestigingen voor toekomstig gebruik.

Draai de hefcilinder zodat er ruimte is voor de montage van de bevestigingsbeugel voor het tankframe (Figuur 6).
Monteer de bevestigingsbeugels op de steunbeugel en het frame; gebruik hierbij de 2 flenskopbouten en de flensborgmoer die u verwijderd hebt in stap 1 (Figuur 7).

Draai de bouten en moeren vast met een torsie van 91 tot 113 N·m.
Herhaal stap 1 en 4 aan de andere kant van de machine.
Benodigde onderdelen voor deze stap:
| Tank en tankframe | 1 |
| Gaffelpennen | 2 |
| Borgpen | 2 |
| R-pennen | 2 |
| Lynchpennen | 4 |
| Bout (½" x 1½") | 2 |
| Moeren (½") | 2 |
Bij het omgaan met de spuittankconstructie moet u rekening houden met een risico op opgeslagen energie. Als de constructie niet goed is vastgezet bij het monteren of verwijderen, waardoor u of anderen letsel kunnen oplopen.
Gebruik altijd riemen en een hefinrichting om de spuittankconstructie te ondersteunen tijdens monteren, verwijderen en onderhoudswerkzaamheden waarbij u bevestigingsmateriaal verwijdert.
Gebruik een hefinstallatie om het tankframe (Figuur 8) op te tillen en plaats deze op het frame van de machine met de pomp en de kleppen naar achteren gericht.
Note: Vraag iemand om u te helpen bij de volgende stappen.

Laat het tankframe langzaam op het frame van de machine zakken.
Schuif de hefcilinders uit tot de beugels van het tankframe, en lijn de cilinderfittings uit met de openingen in de beugels van het tankframe (Figuur 9).

Bevestig het tankframe aan beide zijden van de machine aan de hefcilinders met de gaffelpennen en de R-pennen.
Houd de openingen in de scharnierende lippen aan de achterkant van het tankframe recht voor de openingen in de draaibuis van de laadbak aan het uiteinde van het machineframe (Figuur 10).

Monteer een borgpen en 2 lynchpennen aan de scharnierende lip om het tankframe te bevestigen aan het frame van de machine (Figuur 10).
Schuif de hefcilinders naar buiten om de tank omhoog te brengen en het gewicht ervan te ondersteunen.
Note: Maak de tank los van het hefwerktuig.
Verwijder de laadbakbeveiliging van de opberghaken op de achterkant van het paneel van de rolbeugel (Figuur 11).

Druk de laadbakbeveiliging op de cilinderstang, waarbij u ervoor moet zorgen dat de beide uiteinden van de laadbakbeveiliging rusten op het uiteinde van de cilinderbus en het uiteinde van de cilinderstang (Figuur 12).

Verwijder de kabelbinder waarmee het aftapventiel en de slang van de spuittank aan het kanaal van de steun zijn bevestigd (Figuur 13).

Zet het aftapventiel en de slang aan de buitenkant van het kanaal van de steun (Figuur 14A).

Verwijder de 2 flenskopbouten (5/16" x ⅝") uit de behuizing van het aftapventiel (Figuur 14).
Bevestig het aftapventiel aan de beugel van het aftapventiel (Figuur 14B); gebruik de 2 flenskopbouten (5/16" x ⅝") die u verwijderd hebt in stap 3.
Draai 2 flenskopbouten met de hand vast (Figuur 14B).
Als accukabels verkeerd worden verbonden, kan dit schade aan de spuitmachine en de kabels tot gevolg hebben en vonken veroorzaken. Hierdoor kunnen accugassen tot ontploffing komen en lichamelijk letsel veroorzaken.
Maak altijd de minkabel (zwart) van de accu los voordat u de pluskabel (rood) losmaakt.
Sluit altijd de pluskabel (rood) van de accu aan voordat u de minkabel (zwart) aansluit.
Accupolen of metalen gereedschappen kunnen kortsluiting maken met metalen onderdelen van de machine, waardoor vonken kunnen ontstaan. Hierdoor kunnen accugassen tot ontploffing komen en lichamelijk letsel veroorzaken.
Zorg ervoor dat bij het verwijderen of installeren van de accu de accupolen niet in aanraking komen met metalen onderdelen van de machine.
Voorkom dat metalen gereedschappen kortsluiting veroorzaken tussen de accupolen en metalen onderdelen van de machine.
Zoek aan de sproeierkabelboom de aansluiting met 3 contacten van de snelheidssensor en de stekker met 3 pinnen van het voertuigcircuit.
Aan de transaxle van de machine sluit u de stekker met 3 pinnen van de machinekabelboom voor de snelheidssensor aan op de aansluiting met 3 contacten van de spuitmachinekabelboom voor de snelheidssensor (Figuur 16).

Sluit de voertuigstekker met 3 pinnen van de spuitmachinekabelboom aan op de aansluiting met 3 contacten van de kabelboom van de machine.
Raadpleeg de Montage-instructies van de egalisatieset voor de Multi Pro WM gazonspuitmachine (handgeschakeld Workman multifunctioneel werkvoertuig).
Benodigde onderdelen voor deze stap:
| Montagebeugel voor paneel | 1 |
| Flensborgmoer (5/16") | 3 |
| Flenskopbout (5/16") | 3 |
| Plastic lagerbus | 2 |
| Bedieningspaneel | 1 |
| Borgpen | 1 |
| Handknop | 1 |
Note: Op sommige Workman-voertuigen wordt de bevestigingsplaat van het bedieningspaneel op het dashboard gemonteerd op de plaats waar de beugel voor de optionele gashendel is gemonteerd. Als de gashendelset is gemonteerd, moet u de beugel van de gashendel van het dashboard verwijderen, de bevestigingsplaat van de bedieningskast uitlijnen met het dashboard, en de gashendelbeugel bovenop de bevestigingsplaat monteren. Raadpleeg de Montage-instructies van de gashendelset om na te gaan hoe u de gashendel dient te verwijderen en te monteren.
Verwijder de 3 bouten en 3 moeren waarmee het dashboard onderaan in het midden bevestigd is aan de bevestigingsbeugel van het dashboard (Figuur 17).
Note: Op sommige oudere Workman-modellen worden 4 bouten en flensmoeren gebruikt.
Note: Gooi de bouten en moeren weg.

Lijn de gaten in de montagebeugel voor het bedieningspaneel uit met de gaten die u geboord hebt in het dashboard en de steunbeugel (Figuur 17).
Bevestig de montagebeugel, het dashboard en de steunbeugel met de 3 flenskopbouten (5/16" x 1") en 3 flensborgmoeren (5/16").
Draai de bouten en moeren vast (Figuur 17).
Steek de 2 plastic lagerbussen in de montagebeugel (Figuur 17).
Verwijder de R-pen waarmee de draaipen van het bedieningspaneel bevestigd is aan de opberghaak op de sproeiertank.
Monteer het bedieningspaneel op de montagebeugel en bevestig het bedieningspaneel met de borgpen (Figuur 18).
Note: Zorg dat de borgpen over de draaipen gedraaid is zodat de borgpen stevig vastzit.

Monteer de handknop en draai deze vast om te voorkomen dat het paneel draait tijdens de bediening (Figuur 18).
Benodigde onderdelen voor deze stap:
| J-clips | 3 |
| Bout (¼" x ¾") | 1 |
| Flensmoer (¼") | 1 |
Bevestig 2 J-clips met de aanwezige schroeven aan het middelste bedieningspaneel.

Monteer een J-clip achter de bestuurdersstoel met behulp van een bout (¼ x ½ inch) en een flensmoer (¼ inch).

Bevestig de kabelboom van het bedieningspaneel aan het bedieningspaneel en de kap van de rolbeugel met behulp van J-clips.
Koppel de stekker met 3 pinnen van de achterste kabelboom voor de spuitmachine uit met de connector met 3 contacten van de voorste kabelboom die aan het bedieningspaneel bevestigd is.

Druk de stekker met 24 pinnen van de achterste kabelboom voor de spuitmachine in de connector met 24 contacten van de voorste kabelboom die aan het bedieningspaneel bevestigd is.
Kantel het hendeltje op de 24-pinconnector om de stekkers aan elkaar te bevestigen.
Benodigde onderdelen voor deze stap:
| Zekeringsticker (127-3966) | 1 |
Leid bij het bedieningspaneel van de spuitmachine de aftakking van de voorste kabelboom met de zekeringhouders tussen de onderkant van het dashboard en de dwarsbuis van het machinechassis, en omlaag naar de voorzijde van de zekeringhouder van de machine (Figuur 22).

Zoek de niet-geïsoleerde aansluiting aan het uiteinde van de vrije, gele stroomdraad van de zekeringhouder voor de machine, en de geïsoleerde platte aansluiting aan het uiteinde van de gele stroomdraad voor opties van de zekeringhouder van de bedrading van de spuitmachine (Figuur 23).

Verbind de niet-geïsoleerde aansluiting van de zekeringhouder voor de machine met de geïsoleerde platte aansluiting van de zekeringhouder van de spuitmachine (Figuur 23).
Lijn de T-fittings van de zekeringhouder van de spuitmachine uit met de T-sleuven van de zekeringhouder voor de machine en schuif de zekeringhouder van de spuitmachine in de sleuven tot de zekeringhouder niet verder kan (Figuur 24).

Breng de zekeringsticker aan in de buurt van de zekeringhouder van de spuitmachine.
Benodigde onderdelen voor deze stap:
| Bout van accupool | 2 |
| Klemmoer | 2 |
| Kapje – breed (accupool – rood) | 1 |
Als accukabels verkeerd worden geleid, kan dit schade aan de spuitmachine en de kabels tot gevolg hebben en vonken veroorzaken. Hierdoor kunnen accugassen tot ontploffing komen, waardoor lichamelijk letsel kan ontstaan.
Sluit altijd de pluskabel (rood) van de accu aan voordat u de minkabel (zwart) aansluit.
Verwijder de moeren en T-bouten aan de klemmen van de plus- en minkabel van de accu (Figuur 25).
Note: U hebt de moeren en T-bouten niet meer nodig.

Verwijder het smalle kapje van de plus-kabel van de accu (Figuur 26).
Note: U hebt het smalle accukapje niet meer nodig.

Breng het brede accukapje aan op de plus-kabel van de accu; zie Figuur 26.
Note: Schuif het kapje zo ver over de kabels dat u bij de accuklem kunt.
Lijn het ringcontact van de zekeringdraad (kabelboom van spuitmachine) uit door het brede accukapje; zie Figuur 27.

Monteer losjes een bout en klemmoer op de klem van de plus- en min-kabel (Figuur 28).

Bevestig het ringcontact van de zekeringdraad (kabelboom van spuitmachine) aan de bout van de accupool die u met een klemmoer op de pluskabel hebt bevestigd (Figuur 29).

Bevestig de ringaansluiting van de min-kabel (zwart – kabelboom van spuitmachine) aan de bout van de accupool die u met een klemmoer op de min-kabel hebt bevestigd (Figuur 29).
Monteer de plus-kabel van de accu op de pluspool van de accu en draai de klemmoer met de hand vast (Figuur 30).

Monteer de minkabel van de accu op de minpool van de accu en draai de klemmoer met de hand vast.
Knijp de zijkanten van het accudeksel samen, lijn de lipjes van het deksel uit met de gleuven in de accubasis en laat het accudeksel los (Figuur 31).

Benodigde onderdelen voor deze stap:
| Bout (½" x 1½") | 2 |
| Borgmoer (½") | 2 |
Start de machine en til het tankframe een beetje van de grond met de hefcilinders.
Verwijder de laadbakbeveiliging van de hefcilinder en plaats de beveiliging in de opberghaken aan de achterzijde van het paneel van de rolbeugel (Figuur 32 en Figuur 33).


Gebruik hefcilinders om de tank langzaam op het frame te laten zakken.
Note: Laat een andere persoon het tankframe in de gaten houden terwijl het zakt. Controleer op slangen en draden die gekneld of geplooid kunnen worden.
Controleer of het tankframe recht op het frame van de machine staat.
Verwijder de inspectieluiken aan weerszijden van het tankframe (Figuur 34).

Controleer of de slangen en bedrading die u kunt zien door de opening in het tankframe bekneld of geknikt zijn.
Important: Als er slangen of kabels op het tankframe bekneld of geknikt zijn, moet u het tankframe optillen, de positie veranderen en de betreffende slangen of kabels weer vastzetten.
Plaats de voorste bevestigingsbeugels op een lijn met de bevestigingsbeugels die u eerder hebt gemonteerd in De bevestigingsbeugels voor het tankframe monteren.
Maak de bevestigingsbeugel van het tankframe aan beide kanten van de machine vast aan de laadbakbeugel op het frame; gebruik hierbij een bout (½" x 1½") en een borgmoer (½") zoals wordt getoond in Figuur 34.
Haal de bout en borgmoer aan met 91 tot 113 N·m.
Herhaal stappen 7 tot en met 9 voor de andere kant van het tankframe en de machine.
Benodigde onderdelen voor deze stap:
| Middelste spuitboom | 1 |
| Bout (⅜" x 1") | 10 |
| Flensborgmoer (⅜") | 10 |
| Transporthouder van spuitbomen | 2 |
| Bout (½" x 1¼") | 4 |
| Flensmoer (½") | 4 |
Bevestig een hefwerktuig aan de middelste spuitboom en neem deze uit de verzendkist.
Plaats de transporthouders van de spuitbomen op een lijn met de middelste spuitboom (Figuur 35).

Bevestig de houders aan de spuitboom (Figuur 35 en Figuur 36); gebruik hierbij 6 bouten (⅜" x 1") en 6 flensborgmoeren (⅜").

Haal de bouten en moeren aan met 37 tot 45 N·m.
Schakel de machine in, verwijder de laadbakbeveiliging van de hefcilinder en berg de beveiliging op, laat het tankframe zakken, schakel de machine uit en haal het sleuteltje uit de startschakelaar.
Lijn het onderste gat in de montagebeugels van de middelste spuitboom uit met het op twee na onderste gat in de spuitboomdragers van het tankframe van de spuitmachine; zie Figuur 37.
Note: Zet indien nodig de spuitboomdragers los en stel deze af op basis van de middelste spuitboom om de openingen beter uit te lijnen. Haal de bouten en moeren aan met 67 tot 83 N·m.

Monteer de middelste spuitboom aan het tankframe van de spuitmachine; gebruik hierbij 4 bouten (½" x 1¼") en 4 borgmoeren (½").
Haal de bouten en moeren aan met 67 tot 83 N·m.
Raadpleeg de montage-instructies van de egalisatieset voor de Multi Pro WM gazonspuitmachine (handgeschakeld Workman multifunctioneel werkvoertuig).
Benodigde onderdelen voor deze stap:
| Linkerspuitboom | 1 |
| Rechterspuitboom | 1 |
| Flenskopbouten (⅜" x 1¼") | 8 |
| Steunplaten | 8 |
| Flensborgmoeren (⅜") | 8 |
| Gaffelpen | 2 |
| R-pen | 2 |
De spuitbomen wegen elk ongeveer 14 kg).
Verwijder de 4 flenskopbouten (⅜" x 1¼"), 4 steunplaten en 4 flensborgmoeren (⅜") van de scharnierbeugel van de middelste spuitboom.
Draai de draaibeugels aan de uiteinden van de middelste spuitboom zodat de beugels verticaal uitgelijnd zijn (Figuur 38).

Til de buitenste spuitboomen op en lijn de gaten in de driehoekige bevestigingsplaat aan het uiteinde van de buitenste spuitboom uit met de gaten in de draaibeugel.
Note: Zorg ervoor dat de spuitdoppenhouders naar achteren wijzen.
Monteer de scharnierplaat op de driehoekige plaat met de 4 flenskopbouten, 4 steunplaten en 4 flensborgmoeren (Figuur 38) die u verwijderd hebt in stap 1.
Haal de bouten en moeren aan met 37 tot 45 N·m.
Lijn het stanguiteinde van de hefcilinder van de spuitboom uit met de gaten in het montagepunt van de draaibeugel (Figuur 38).

Bevestig het stanguiteinde aan de draaibeugel; gebruik hierbij een gaffelpen en een R-pen (Figuur 38).
Herhaal stap 1 tot 5 aan de andere kant van de middelste spuitboom met de tegenoverliggende spuitboom.
Note: Voordat u deze procedure voltooit, dient u ervoor te zorgen dat de spuitdoppenhouders naar achteren wijzen.
Benodigde onderdelen voor deze stap:
| Slangklemmen | 3 |
| R-klem | 2 |
| Borstbout | 2 |
| Ring | 2 |
| Moer | 2 |
Leid de slangen van de spuitboomgedeelten zoals wordt getoond in Figuur 40 en Figuur 41.


Bevestig de spuitboomslangen aan de voorzijde van de middelste spuitboom (Figuur 40 en Figuur 41); gebruik hierbij 1 R-klem, 1 borstbout (5/16" x 1"), 1 borgmoer (5/16") en 1 ring (5/16").
Breng de slang van de spuitboom aan over de geribde T-fitting en zet de slang vast met een slangklem (Figuur 40 en Figuur 41).
Note: Breng een laagje vloeibare zeep aan op de slangribbel van de T-fitting om de slang gemakkelijker te kunnen monteren.
Herhaal stap 1 tot en met 3 voor de slang naar de spuitboom aan de andere zijde van de spuitmachine.
Leid de slang van de middelste spuitboom zoals wordt getoond in Figuur 42.

Breng de slang van de spuitboom aan over de geribde T-fitting van de middelste spuitboom en zet de slang vast met een slangklem (Figuur 42).
Note: Breng een laagje vloeibare zeep aan op de slangribbel van de T-fitting om de slang gemakkelijker te kunnen monteren.
De spuitdoppen waarmee u chemische stoffen spuit, zijn verschillend, afhankelijk van de benodigde gebruiksdosis; daarom worden de spuitdoppen niet geleverd bij de machine. Om de goede spuitdoppen te verkrijgen, dient u contact op te nemen met een erkende Toro distributeur en deze de volgende informatie te verschaffen:
De aanbevolen gebruiksdosis in liter per hectare, Amerikaanse gallons per acre of Amerikaanse gallons per 1000 vierkante voet.
De beoogde rijsnelheid van de machine in kilometers per uur of mijl per uur.
Schroef of steek de spuitdop met een pakking in de aansluiting voor de spuitdop.
Schuif de aansluiting van de spuitdop op een fitting op een spuitdoppenhouder.
Draai de spuitdop rechtsom totdat de nokken op de aansluiting vastklikken.
Controleer of de opening van de spuitdop.
Zie de Montage-instructies van de spuitdoppen voor meer informatie.
Benodigde onderdelen voor deze stap:
| Watertank | 1 |
| 90° knie (¾" NPT) | 1 |
| 90° tapkraan | 1 |
| Bevestigingsplaat van de watertank | 1 |
| Montageband | 4 |
| Flenskopbout (5/16" x ⅝") | 4 |
| Flensborgmoer (5/16") | 10 |
| Steunbuis (watertank) | 1 |
| Contramoer (5/16") | 1 |
| Bout (5/16" x 1") | 1 |
| Borstbout (½" x 1-15/16") | 2 |
| Bout (5/16 x 2¼") | 2 |
| Ring (5/16") | 2 |
Monteer de watertank op de beugel van de watertank; gebruik hierbij de 2 montagebanden, 4 flenskopbouten (5/16" x ⅝") en 4 flensborgmoeren (5/16") zoals afgebeeld op Figuur 43.
Note: Zorg dat de knie en de tapkraan aan dezelfde zijde van de tank zitten als de sticker van de watertank.

Haal de bouten en moeren aan met 20 tot 25 N·m.
Lijn de steunbuis van de watertank uit met het steunkanaal van de tank (Figuur 44).

Lijn de openingen in de steunbuis uit met de openingen in het kanaal (Figuur 44).
Bevestig de buis aan het kanaal (Figuur 44) met de 2 borstbouten (½" x 1-15/16") en 2 flensborgmoeren (5/16").
Haal de bouten en moeren aan met 20 tot 25 N·m.
Schroef de contramoer (5/16") in de bout (5/16" x 1"); zie Figuur 44.
Schroef de bout (5/16" x 1") en de contramoer in de lasmoer onderaan het steunkanaal van de tank, en draai de bout en de contramoer handmatig aan (Figuur 44).
Note: Voor de Multi Pro WM gazonspuitmachine moet een rolbeugel met 4 stangen of cabine gemonteerd worden op de Workman.
Monteer de watertank en bevestigingsplaat op de steunbuis met de 2 bouten (5/16" x 2½") en 2 flensborgmoeren (5/16") zoals in Figuur 45.

Haal de bouten en moeren aan met 20 tot 25 N·m.
Benodigde onderdelen voor deze stap:
| Anti-overloopaansluiting | 1 |
| Flenskopbout (5/16" x ¾") | 1 |
Plaats het aansluitpunt op de schroefdraadopening in de tank (Figuur 46) en zet de aansluiting vast met een flenskopbout (5/16" x ¾").

Benodigde onderdelen voor deze stap:
| Voorste assteun | 2 |
| Achterste assteun | 2 |
| Borgpen | 4 |
| Gaffelpen (4½") | 2 |
| Gaffelpen (3") | 2 |
| Knop | 2 |
Steek de voorste assteunen ondersteboven in het frame bij de voorste bevestigingspunten (Figuur 47).

Zet de voorste assteunen vast met de 2 gaffelpennen (3") en 2 borgpennen door het middelste gat van de assteunen.
Steek de achterste assteunen van onderen naar boven in het frame bij de achterste bevestigingspunten (Figuur 48).

Zet de achterste assteunen vast met de 4 gaffelpennen (4½") en 4 borgpennen door het laatste gat van de assteunen.

Note: Dit InfoCenter met 6 knoppen is enkel beschikbaar voor de HDX handgeschakelde Workman. Hebt u een Workman HDX met automatische transmissie, blijf dan het InfoCenter met 3 knoppen gebruiken.
Het InfoCenter lcd-scherm toont informatie over uw machine en het accupack, zoals de huidige accuspanning, snelheid, diagnostische informatie, enz. Ga voor meer informatie naar Het InfoCenter gebruiken.
De hoofdschakelaar van de spuitbomen (Figuur 49) bevindt zich aan de zijkant van de bedieningseenheid, rechts van de bestuurdersstoel. Hiermee kunt u starten of stoppen met spuiten. Druk op de schakelaar om het spuitsysteem in of uit te schakelen.
De schakelaars voor de linker-, middelste en rechterspuitboom bevinden zich op het bedieningspaneel (Figuur 49). Zet de schakelaars naar voren om de corresponderende spuitboom in te schakelen en naar achteren om deze uit te schakelen. Als de schakelaar is aangezet, brandt er een lampje op de schakelaar. Deze schakelaars kunnen uitsluitend worden gebruikt voor de bediening van het spuitsysteem als de hoofdschakelaar van de spuitbomen is aangezet.
De schakelaar voor de gebruiksdosis bevindt zich op de linkerzijde van het bedieningspaneel (Figuur 49). U moet de schakelaar omhoog drukken en in die positie blijven houden om de gebruiksdosis te verhogen, of indrukken en ingedrukt houden om de gebruiksdosis te verminderen.
De liftschakelaars van de spuitbomen bevinden zich op het bedieningspaneel en dienen om de linker of rechter spuitboom omhoog te brengen.
De regelklep bevindt zich achter de tank (Figuur 50). Met de regelklep bepaalt u de hoeveelheid vloeistof die naar de spuitboomkleppen moet gaan en de retourdosis naar de tank.

De vloeistofstroommeter meet de doorstroomhoeveelheid van de vloeistof naar de kleppen van de spuitbomen (Figuur 50).
Gebruik de kleppen van de spuitboomgedeelten om de spuitdruk naar de spuitdoppen in de middelste en de linker- en rechterspuitboom in en uit te schakelen (Figuur 50).
De omloopkleppen van de spuitbomen (Figuur 51 leiden de vloeistofstroom van een spuitboom naar de tank als u de spuitboom uitschakelt. U kunt deze kleppen afstellen om ervoor te zorgen dat de druk van de spuitbomen constant blijft, ongeacht welke spuitbomen zijn ingeschakeld; zie De omloopkleppen van de spuitbomen kalibreren.

Deze klep bevindt zich links achteraan de tank (Figuur 52). Draai de knop op de klep in de 6 uur om de inhoud van de tank te mengen en op 8 uur om te stoppen met mengen.

Note: Modellen uit de HD-serie met manuele transmissie – Om te mengen, moet u de aftakas en de koppeling inschakelen en de motor hoger dan stationair laten lopen. Als u stopt met sproeien en de inhoud van de tank wilt mengen, moet u de schakelhendel in de NEUTRAALSTAND zetten, de koppeling laten opkomen, de parkeerrem in werking stellen en de gashendel (indien aanwezig) instellen.
De spuitpomp bevindt zich aan de achterkant van de machine.
Zet de hendel van de aftakas op het middelste bedieningspaneel van de machine AAN om de pomp in te schakelen; zet de hendel van de aftakas UIT om de pomp te stoppen. Raadpleeg de Gebruikershandleiding van het Workman HDX multifunctioneel werkvoertuig.

Note: Specificaties en ontwerp kunnen zonder voorafgaande kennisgeving worden gewijzigd.
| Basisgewicht van spuitsysteem (exclusief gewicht van voertuig) | 424 kg |
| Tankinhoud | 757 l |
| Totale lengte van machine met standaard spuitsysteem | 422 cm |
| Totale hoogte van machine met standaard spuitsysteem tot de bovenkant van de tank | 147 cm |
| Totale hoogte van machine met standaard spuitsysteem als de spuitbomen kruislings zijn ingeklapt. | 234 cm |
| Totale breedte van machine met standaard spuitsysteem als de spuitbomen kruislings zijn ingeklapt. | 175 cm |
Een selectie van door Toro goedgekeurde werktuigen en accessoires is verkrijgbaar voor gebruik met de machine om de mogelijkheden daarvan te verbeteren en uit te breiden. Neem contact op met een erkende servicedealer of een erkende Toro verdeler, of bezoek www.Toro.com voor een lijst van alle goedgekeurde werktuigen en accessoires.
Om de beste prestaties te verkrijgen en ervoor te zorgen dat de veiligheidscertificaten van de machine blijven gelden, moet u ter vervanging altijd originele onderdelen en accessoires van Toro aanschaffen.
Note: Bepaal vanuit de normale bedieningspositie de linker- en rechterzijde van de machine.
Note: Als u het voertuig op een aanhangwagen moet transporteren met de spuitmachine gemonteerd, zorg er dan voor dat de spuitbomen goed vastgebonden zijn.
Laat kinderen of personen die geen instructie hebben ontvangen, de machine nooit gebruiken of onderhoudswerkzaamheden daaraan verrichten. Plaatselijke voorschriften kunnen nadere eisen stellen aan de leeftijd van degene die met de machine werkt. De eigenaar is verantwoordelijk voor de instructie van alle bestuurders en technici.
Zorg ervoor dat u vertrouwd raakt met de bedieningsorganen en de veiligheidssymbolen, en weet hoe u de machine veilig kunt gebruiken.
Doe het volgende voordat u de bestuurdersstoel verlaat:
Parkeer de machine op een horizontaal oppervlak.
Zet de transmissie in de NEUTRAALSTAND.
Stel de parkeerrem in werking.
Zet de motor uit en verwijder het sleuteltje (indien aanwezig).
Wacht totdat alle bewegende onderdelen tot stilstand zijn gekomen.
Zorg ervoor dat u weet hoe u de machine en de motor snel kunt stoppen.
Controleer de aanwezigheid en goede werking van de dodemansinrichtingen, veiligheidsschakelaars en afschermingen. Gebruik de machine uitsluitend als deze naar behoren werken.
Als de machine niet goed werkt of op enige wijze is beschadigd, mag u de machine niet gebruiken. Verhelp het probleem alvorens de machine of het werktuig te gebruiken.
Zorg ervoor dat alle aansluitstukken van de vloeistofleidingen vastzitten en alle slangen in goede staat verkeren voordat u druk zet op het systeem.
Chemische stoffen die worden gebruikt in het spuitsysteem kunnen gevaarlijk en giftig zijn voor de gebruiker, omstanders en dieren en kunnen planten, de bodem of eigendommen beschadigen.
Lees de informatie over de chemische stoffen. Weiger de machine te gebruiken of te bedienen als deze informatie niet beschikbaar is.
Voordat u onderhoud uitvoert aan een spuitsysteem, moet u ervoor zorgen dat dit drie keer is gespoeld en geneutraliseerd volgens de instructies van de fabrikant(en) van de chemische stoffen en moeten alle kleppen 3 cyclussen hebben doorlopen.
Controleer of er voldoende water en zeep in de buurt is, en als u in contact komt met chemische stoffen, moet u deze onmiddellijk afspoelen.
U moet de waarschuwingsetiketten en de veiligheidsinformatiebladen voor alle gebruikte chemische stoffen zorgvuldig lezen en in acht nemen, en uzelf beschermen volgens de instructies van de fabrikant van de chemische stoffen.
Bescherm altijd uw lichaam als u chemische stoffen gebruikt. Om te voorkomen dat u in aanraking komt met chemische stoffen, dient u geschikte persoonlijke beschermingsmiddelen (PPE) te gebruiken, zoals:
oogbescherming, veiligheidsbril en/of gelaatsscherm
een chemicaliënpak
een stof- of filtermasker
handschoenen die bestand zijn tegen chemicaliën
rubberen laarzen of ander stevig schoeisel
schone reservekleding, zeep en wegwerphanddoeken om uzelf schoon te maken
Zorg ervoor dat een goede training hebt gekregen voordat u omgaat met chemische stoffen.
Gebruik de juiste chemische stof voor het werk.
Houd u aan de instructies van de fabrikant voor het veilig gebruik van de chemische stof. Overschrijd de aanbevolen systeembedrijfsdruk niet.
De machine niet vullen, kalibreren of reinigen wanneer er mensen, in het bijzonder kinderen, of huisdieren in de buurt zijn.
Zorg voor een goede ventilatie van de ruimte waar u werkt met chemische stoffen.
Niet eten, drinken of roken als u in de buurt van chemische stoffen werkt.
Spuitdoppen niet schoonmaken door erin te blazen of ze in uw mond te nemen.
Was uw handen en andere onbedekte lichaamsdelen altijd zo snel mogelijk nadat u met chemische stoffen hebt gewerkt.
Bewaar chemische stoffen in hun originele verpakking op een veilige plaats.
Voer ongebruikte chemische stoffen en verpakkingen voor chemische stoffen af volgens de instructies van de fabrikant en de plaatselijk geldende voorschriften.
Chemische stoffen en dampen in de tank zijn gevaarlijk; blijf altijd buiten de tank en houd uw hoofd nooit boven of in de opening van een tank.
Volg alle plaatselijke voorschriften met betrekking tot het strooien of spuiten van chemicaliën op.
Note: Dit InfoCenter met 6 knoppen is enkel beschikbaar voor de HDX handgeschakelde Workman. Hebt u een Workman HDX met automatische transmissie, blijf dan het InfoCenter met 3 knoppen gebruiken.
Het InfoCenter lcd-scherm toont informatie zoals de bedrijfsmodus en diverse diagnostieken en andere informatie over de machine. Het InfoCenter heeft een welkomstpagina en een hoofdscherm. U kunt te allen tijde heen en weer gaan tussen de welkomstpagina en het hoofdscherm door om het even welke knop in het InfoCenter te bedienen en dan op de overeenkomstige pijl te drukken.

Note: De knoppen kunnen verschillende functies vervullen afhankelijk van welke functie op dat moment actief is. Het lcd-scherm toont een pictogram boven elke knop dat de huidige functie weergeeft.
![]() | Menu van | ![]() | Tank is leeg (minder dan 10% volume) | |
![]() | Omhoog/omlaag scrollen | ![]() | Tankvolume is laag (10% tot 29%) | |
![]() | Naar links/rechts scrollen | ![]() | Tank is half vol (30% tot 69%) | |
![]() | Vorig scherm | ![]() | Tank is vol (70% tot 100%) | |
![]() | Waarde verlagen | ![]() | Verhoog het tankvolume met 3,8 liter (1 gallon) | |
![]() | Waarde verhogen | ![]() | Verhoog het tankvolume met 38,9 liter (10 gallon) | |
![]() | Aanvaarden | ![]() | Verhoog het tankvolume met 25 liter | |
![]() | Bewaren | ![]() | Spuitboom is uitgeschakeld | |
![]() | Pincode | ![]() | Spuitboom is actief | |
![]() | Menu (storingen) afsluiten | ![]() | Alle gebieden verwijderen | |
![]() | Accuspanning | ![]() | Actief gebied verwijderen | |
![]() | Urenteller | ![]() | Gespoten gebieden | |
![]() | Vergrendeld | ![]() | Scherm Alle gebieden | |
![]() | Navigeer naar een spuitgebied | |||
![]() | Navigeer naar een spuitgebied |
Druk in het hoofdscherm op de knop Terug om naar het InfoCenter display menusysteem te gaan. U gaat naar het hoofdmenu. Raadpleeg de volgende tabellen voor een overzicht van de opties die u hebt in de menu's.
Beveiligd
menu – enkel toegankelijk met de pincode
| Menu-item | Beschrijving |
| Kalibratie - Calibration | Het kalibratiemenu dient voor de kalibratie van de vloeistofstroommeter en snelheidssensor. |
| Instellingen - Settings | In het menu Instellingen kunt u de configuratievariabelen van het display aanpassen en wijzigen. |
| Machine-instellingen - machine Settings | In het menu Machine-instellingen kunt u machinevariabelen configureren. |
| Onderhoud - Service | Het menu Onderhoud bevat informatie over de machine, zoals bedrijfsuren en machinestoringen. |
| Diagnostiek - Diagnostics | Het menu Diagnostiek geeft de status van elke machineschakelaar, sensor en bedieningsoutput aan. U kunt dit menu gebruiken om sommige problemen op te lossen. In het menu ziet u namelijk welke onderdelen in- en uitgeschakeld zijn. |
| Over - About | In het menu Over ziet u het modelnummer, het serienummer en de versie van de software op uw machine. |
| Menu-item | Beschrijving |
| Test snelheid - Test Speed | Instelling van de testsnelheid voor kalibratie. |
| Vloeistofkalibratie - Flow Cal | Kalibratie van de vloeistofstroommeter. |
| Snelheidskalibratie - Speed Cal | Kalibratie van de snelheidssensor. |
| Standaard kalibratie van vloeistofstroom gebruiken - Use default flow calibration | Zet de kalibratie van de vloeistofstroom op het standaard berekende gemiddelde, niet het werkelijke volume. |
| Standaard snelheidskalibratie gebruiken - Use default speed calibration | Zet de kalibratie van de snelheid op het standaard berekende gemiddelde, niet de werkelijke snelheid. |
| Menu-item | Beschrijving |
| PIN wijzigen | Geeft een door uw bedrijf geautoriseerde persoon (toezichthouder/mecanicien) toegang tot de beveiligde menu's met een pincode. |
Beveiligde instellingen - Protect Settings ![]() | Instellen van de mogelijkheid tot het wijzigen van instellingen in beveiligde menu's. . |
Standaardwaarden herstellen - Reset Defaults ![]() | Herstelt de standaardwaarden. |
| Achtergrondverlichting - Backlight | Regelt de helderheid van het lcd.. |
| Taal - Language | Bepaalt de taal die gebruikt wordt op het display. |
| Eenheden - Units | Bepaalt de eenheden die gebruikt worden op het display (Amerikaans, ‘Turf’ of metrisch). |
| Menu-item | Beschrijving |
| Waarschuwing tank - Tank Alert | Instellen van de waarschuwing laag tankvolume. |
Linker spuitboom - Left Boom ![]() | Instelling van de breedte van de linker spuitboom. |
Middelste spuitboom - Center boom ![]() | Instelling van de breedte van de middelste spuitboom. |
Rechter spuitboom - Right boom ![]() | Instelling van de breedte van de rechter spuitboom. |
Standaardwaarden herstellen - Reset Defaults ![]() | Herstelt de standaardwaarden. |
| Menu-item | Beschrijving |
| Storingen - Faults | Het menu Faults bevat een lijst met de recente machinestoringen. Raadpleeg de Onderhoudshandleiding of neem contact op met een erkende Toro distributeur voor meer informatie over het menu Storingen en de informatie die het bevat. |
| Uren - Hours | Het totale aantal bedrijfsuren van de machine, motor en aftakas, alsook het aantal uren dat de machine getransporteerd is geweest en de tijd tot het volgende onderhoudsinterval. |
Doorstroomhoeveelheid - Flow Rate ![]() | Toont de huidige doorstroomhoeveelheid (debiet). |
Vloeistofkalibratie - Flow Cal Value![]() | Toont de huidige vermenigvuldigingsfactor voor het berekenen van het verschil tussen de aangenomen stroom en de gekalibreerde stroom. |
Snelheidskalibratiewaarde - Speed Cal Value![]() | Toont de huidige vermenigvuldigingsfactor voor het berekenen van het verschil tussen de aangenomen snelheid en de gekalibreerde snelheid. |
| Menu-item | Beschrijving |
| Pompen - Pumps | Naar de opties voor korte spoeling en geplande spoeling. |
| Spuitbomen - Booms | Invoer en uitvoer van de spuitbomen |
| Motorinschakeling - Engine Run | Invoer en uitvoer van de motorinschakeling. |
| Menu-item | Beschrijving |
| Model | Toont het modelnummer van de machine. |
| Serienummer - SN | Toont het serienummer van de machine. |
| Softwareversie - S/W Revision | De softwareversie van de hoofdcontroller. |
XDM-2700 ![]() | De softwareversie van het InfoCenter. |
CAN-statistieken - CAN Stats ![]() | Overzicht van de CAN-bus. |
In het Instellingenmenu van het display kunt u configuratie-instellingen voor de bediening veranderen. U kunt deze instellingen vergrendelen met behulp van het beveiligde menu.
Note: Bij levering van de machine is de oorspronkelijke code geprogrammeerd door uw distributeur.
Note: Standaard staat de pincode van uw machine ingesteld op 0000 of 1234.
Als u de pincode heeft gewijzigd en vergeten bent, neem dan contact op met uw erkende Toro- distributeur voor hulp.
Scrol in het Hoofdmenu naar beneden naar Instellingen en druk op de selectieknop.

Scrol in Instellingen naar Pincode invoeren en druk op de selectieknop .
Om de pincode in te voeren, drukt u op de navigatieknoppen omhoog/omlaag tot het eerste gewenste cijfer verschijnt. Druk dan op de rechter navigatieknop om naar het volgende cijfer te gaan. Herhaal deze stap tot het laatste cijfer ingevoerd is.
Druk op de selectieknop .
Note: Als het display de pincode aanvaardt en het beveiligde menu is ontgrendeld, wordt het woord ‘PIN’ weergegeven in de rechter bovenhoek van het scherm.
Om het beveiligde menu weer te vergrendelen, draait u de contactschakelaar naar de Uit-stand en vervolgens naar Aan.

Scrol in Instellingen omlaag tot u Instellingen beveiligen ziet.
Om de instellingen te bekijken en te veranderen zonder een pincode in te voeren, zet u met de selectieknop Instellingen beveiligen op Uit.
Om de instellingen te bekijken en veranderen met een pincode, stelt u met de selectieknop Instellingen beveiligen in op Aan. Stel vervolgens de pincode in, en draai het contactsleuteltje naar de Uit-stand en daarna weer Aan.
Selecteer Machine-instellingen.
Selecteer Tankwaarschuwing.

Gebruik de pijltjestoetsen om de minimale hoeveelheid in de tank in te stellen waarbij de waarschuwing zal worden weergegeven tijdens het werk met de spuitmachine.
Selecteer Machine-instellingen.
Selecteer de spuitboom die u wilt updaten.
Gebruik de pijltjestoetsen om de grootte van de spuitboom in stappen van 1 inch (2,5 cm) te wijzigen.
| Instelling | Standaardwaarde |
| Test snelheid | 0,0 |
| Spuittankwaarschuwing | 1 gal/l |
| Linker spuitboom | 80" (7,62 cm) |
| Middelste spuitboom | 60" (7,62 cm) |
| Rechter spuitboom | 80" (7,62 cm) |
Selecteer Machine-instellingen en Standaardwaarden herstellen.
Note: Als u het volume verandert, wordt de tankwaarschuwing gereset.
Druk op de knop ENTER om naar rechts te navigeren. Op het display wordt het huidige tankvolume weergegeven.
Druk op de knop om het tankvolume te verhogen of te verlagen.
Druk op de pijltjestoetsen omhoog of omlaag om naar ±10 (voor imperiaal stelsel) of ±25 (voor metrisch stelsel) te gaan.
Druk op de pijltjestoetsen naar links of rechts om het volume met 1 stap te wijzigen.

Deze schermen geven het volgende weer:
Gespoten gebied (acres, hectares of 1000 ft2)
Gespoten volume (Amerikaanse gallons of liters)
Het oppervlak en volume nemen toe totdat u deze gegevens weer reset. Voor elke spuittaak op uw site kunt u een afzonderlijk deelgebied gebruiken. U kunt tot 20 deelgebieden gebruiken.
Note: Zorg ervoor dat u naar het deelgebied navigeert waar u aan het werk bent voordat u begint met spuiten. Het deelgebied dat op het scherm wordt getoond, is het actieve deelgebied voor dekkingsaccumulatie.
Druk op de knop Terug om naar het scherm Totale oppervlakte te gaan.
Druk op de knop met het pijltje naar rechts om de gegevens van de Totale oppervlakte te resetten.
Note: Door de informatie over de totale oppervlakte en het totale volume in het scherm Totale oppervlakte te resetten, worden alle gegevens voor elk deelgebied gereset.

Druk op de knop Terug om naar het scherm Deelgebied te gaan.
Druk op de knop omhoog om de gegevens van het deelgebied te resetten.

Meldingen voor de bestuurder verschijnen automatisch op het InfoCenterscherm wanneer een machinefunctie bijkomende handelingen vereist. Bijvoorbeeld, als u probeert de motor te starten terwijl u het tractiepedaal indrukt, wordt de melding weergegeven dat het tractiepedaal in NEUTRAAL moet staan.
Druk op een willekeurige knop op het display om de melding te wissen.
| Bestuurdersadvies-code | Beschrijving |
|---|---|
| 200 | Start geblokkeerd – pompschakelaar actief |
| 201 | Start geblokkeerd – niet in NEUTRAALSTAND |
| 202 | Start geblokkeerd – niet op stoel |
| 203 | Start geblokkeerd – gashendel niet in uitgangsstand |
| 204 | Start geblokkeerd – starter te lang geactiveerd |
| 205 | Parkeerrem ingeschakeld |
| 206 | Pompstart geblokkeerd – spuitboom actief |
| 207 | Pompstart geblokkeerd – motortoerental hoog |
| 208 | Gashendel/snelheidsvergrendeling geblokkeerd – pomp niet actief |
| 209 | Gashendelvergrendeling geblokkeerd – parkeerrem niet ingeschakeld |
| 210 | Snelheidsvergrendeling geblokkeerd – bestuurder niet in bestuurdersstoel of de parkeerrem is ingeschakeld |
| 211 | Gashendel/snelheidsvergrendeling geblokkeerd – koppeling of bedrijfsrem ingeschakeld |
| 212 | Waarschuwing – tank bijna leeg |
| 213 | Spoelpomp AAN |
| 220 | Vloeistofstroom-sensor kalibratie |
| 221 | Vloeistofstroom-sensor kalibratie – vul tank met water en voor vulvolume in |
| 222 | Vloeistofstroom-sensor kalibratie – schakel de pomp in |
| 223 | Vloeistofstroom-sensor kalibratie – schakel alle spuitbomen in |
| 224 | Vloeistofstroom-sensor kalibratie – kalibratie gestart |
| 225 | Vloeistofstroom-sensor kalibratie – kalibratie voltooid |
| 226 | Vloeistofstroom-sensor kalibratie – kalibratiemodus verlaten |
| 231 | Snelheidssensor kalibratie |
| 232 | Snelheidssensor kalibratie – vul de watertank, druk op Volgende |
| 233 | Snelheidssensor kalibratie – vul de spuitmachine voor de helft met water, druk op Volgende |
| 234 | Snelheidssensor kalibratie – voor de kalibratie-afstand in, druk op Volgende |
| 235 | Snelheidssensor kalibratie – markeer en rij de ingegeven afstand met uitgeschakelde spuitbomen |
| 236 | Snelheidssensor kalibratie – snelheidssensor kalibratie wordt uitgevoerd |
| 237 | Snelheidssensor kalibratie – snelheidssensor kalibratie voltooid |
| 238 | Snelheidssensor kalibratie – schakel de spuitbomen uit |
| 241 | Kalibratie buiten bereik, standaardwaarde gebruikt |
Voer elke dag de volgende controles uit voordat u de spuitmachine gaat gebruiken:
Controleer de bandenspanning.
Note: De banden van deze machine verschillen van autobanden: zij vereisen een lagere spanning om compactie en beschadiging van de grasmat te voorkomen.
Controleer het peil van alle vloeistoffen. Indien het peil te laag is, moet u bijvullen met de vereiste hoeveelheid vloeistof volgens de specificaties.
Controleer of het rempedaal werkt.
Controleer of de verlichting werkt.
Draai het stuurwiel naar links en naar rechts om de stuurreactie te controleren.
Zet de motor af en controleer op olielekken, losse onderdelen en andere waarneembare defecten.
Indien een van bovengenoemde zaken niet in orde is, moet u de monteur hiervan op de hoogte stellen of contact opnemen met de bedrijfsleiding voordat u die dag met de spuitmachine gaat werken. De supervisor kan u verzoeken dagelijks andere controles uit te voeren. Vraag daarom welke controles u moet uitvoeren.
Note: Raadpleeg de selectiegids met spuitdoppen die verkrijgbaar is bij uw erkende Toro verdeler.
De spuitdoppenhouders zijn geschikt voor de 3 verschillende spuitdoppen.
Breng de spuitmachine tot stilstand op een horizontale ondergrond, zet de motor af, stel de parkeerrem in werking en verwijder het sleuteltje.
Zet de hoofdschakelaar van de spuitbomen en de schakelaar van de spuitpomp UIT.
Draai de spuitdoppenhouder in beide richtingen op de juiste spuitdop.
Voer een kalibratie van de vloeistofstroom uit; zie De vloeistofstroom van de spuitmachine kalibreren.
Standaard uitrusting; zuigkorf 50 mesh (blauw)
Gebruik de zuigkorftabel om na te gaan welk gaas u dient te gebruiken voor uw spuitdoppen op basis van chemische producten of oplossingen met een viscositeit gelijkwaardig met die van water.
| Kleurcode spuitdop (doorstroomhoeveelheid) | Grootte van gaas* | Kleurcode van filter |
|---|---|---|
| Geel (0,2 gpm) | 50 | Blauw |
| Rood (0,4 gpm) | 50 | Blauw |
| Bruin (0,5 gpm) | 50 (of 30) | Blauw (of groen) |
| Grijs (0,6 gpm) | 30 | Groen |
| Wit (0,8 gpm) | 30 | Groen |
| Blauw (1,0 gpm) | 30 | Groen |
| Groen (1,5 gpm) | 30 | Groen |
| *De gaasgrootte van de zuigkorven in deze tabel gaat uit van chemische producten of oplossingen met een viscositeit gelijkwaardig met die van water. | ||
Important: Als u chemicaliën met een hogere viscositeit (dikker) of oplossingen met bevochtigbare poeders gebruikt, dient u mogelijk een gaas met grotere openingen te gebruiken voor de optionele zuigkorf; zie Figuur 61.

Bij het spuiten met een hogere gebruiksdosis kunt u overwegen een grover aanzuiggaas te gebruiken, zie Figuur 62.

Enkele leverbare schermgroottes:
Standaard uitrusting; zuigkorf 50 mesh (blauw)
Gebruik de drukfiltertabel om na te gaan welk gaas u dient te gebruiken voor uw spuitdoppen op basis van chemische producten of oplossingen met een viscositeit gelijkwaardig met die van water.
| Kleurcode spuitdop (doorstroomhoeveelheid) | Grootte van gaas* | Kleurcode van filter |
|---|---|---|
| Zoals vereist voor chemicaliën of oplossingen met lage viscositeit of kleine gebruiksdosissen | 100 | Groen |
| Geel (0,2 gpm) | 80 | Geel |
| Rood (0,4 gpm) | 50 | Blauw |
| Bruin (0,5 gpm) | 50 | Blauw |
| Grijs (0,6 gpm) | 50 | Blauw |
| Wit (0,8 gpm) | 50 | Blauw |
| Blauw (1,0 gpm) | 50 | Blauw |
| Groen (1,5 gpm) | 50 | Blauw |
| Zoals vereist voor chemicaliën of oplossingen met hoge viscositeit of grote gebruiksdosissen | 30 | Rood |
| Zoals vereist voor chemicaliën of oplossingen met hoge viscositeit of grote gebruiksdosissen | 16 | Bruin |
| *De gaasgrootte van de drukfilters in deze tabel gaat uit van chemische producten of oplossingen met een viscositeit gelijkwaardig met die van water. | ||
Important: Als u chemicaliën met een hogere viscositeit (dikker) of oplossingen met bevochtigbare poeders gebruikt, dient u mogelijk een gaas met grotere openingen te gebruiken voor het optionele drukfilter; zie Figuur 63.

Wanneer u met een hogere gebruiksdosis spuit, overweeg dan een groter gaas voor het optionele drukfilter; zie Figuur 64.

Note: Gebruik een optioneel spuitdopfilter om de kop van de spuitdop te beschermen en de levensduur ervan te verlengen.
Gebruik de spuitdopfiltertabel om na te gaan welk gaas u dient te gebruiken voor uw spuitdoppen op basis van chemische producten of oplossingen met een viscositeit gelijkwaardig met die van water.
| Kleurcode spuitdop (doorstroomhoeveelheid) | Grootte van filtergaas* | Kleurcode van filter |
|---|---|---|
| Geel (0,2 gpm) | 100 | Groen |
| Rood (0,4 gpm) | 50 | Blauw |
| Bruin (0,5 gpm) | 50 | Blauw |
| Grijs (0,6 gpm) | 50 | Blauw |
| Wit (0,8 gpm) | 50 | Blauw |
| Blauw (1,0 gpm) | 50 | Blauw |
| Groen (1,5 gpm) | 50 | Blauw |
| *De gaasgrootte van de spuitdopfilters in deze tabel gaat uit van chemische producten of oplossingen met een viscositeit gelijkwaardig met die van water. | ||
Important: Als u chemicaliën met een hogere viscositeit (dikker) of oplossingen met bevochtigbare poeders gebruikt, dient u mogelijk een gaas met grotere openingen te gebruiken voor het optionele spuitdopfilter; zie Figuur 65.

Wanneer u met een hogere gebruiksdosis spuit, overweeg dan een groter gaas voor het spuitdopfilter; zie Figuur 66.

Important: Doe geen hergebruikt water (grijs water) in de watertank.
Note: De watertank is bedoeld als bron van schoon water zodat u chemicaliën van uw huid, ogen of andere oppervlakken kunt spoelen bij onbedoelde blootstelling. Vul de schoonwatertank altijd met schoon water voordat u gaat werken met chemische stoffen.
De watertank bevindt zich op de rolbeugel, achter de bestuurdersstoel (Figuur 67). Deze bevat schoon water, waarmee u uw ogen, uw huid andere oppervlakken kunt schoonspoelen als deze per ongeluk in contact zijn gekomen met chemische stoffen.
Om de tank te vullen, schroeft u de dop bovenaan de tank los en vult u deze met schoon water. Plaats de dop terug.
Om de tapkraan van de watertank te openen, moet u de hendel op de kraan draaien.

Monteer de voormengset voor chemische stoffen als u optimale mengprestaties wenst en de externe tank zo schoon mogelijk wilt houden.
Important: Gebruik indien mogelijk geen teruggewonnen water (grijs water) in de spuittank.
Important: De chemische stoffen die u gebruikt, moeten geschikt zijn voor VitonTM (raadpleeg het fabrieksetiket; dit moet aangeven of de chemische stoffen geschikt zijn). Chemische stoffen die niet geschikt zijn voor VitonTM tasten de O-ringen in de spuitmachine aan waardoor lekkage ontstaat.
Important: Als u de tank voor de eerste keer gevuld hebt, controleert u de tankbanden op speling. Indien nodig vastzetten.
Verwijder de conditioner uit het spuitsysteem door de secties te laten werken.
Parkeer de machine op een horizontaal oppervlak, zet de bedieningshendels in de neutraalstand, stel de parkeerrem in werking, schakel de motor uit en verwijder het sleuteltje.
Controleer of de aftapklep van de tank gesloten is.
Bepaal hoeveel water u moet mengen met de hoeveelheid van de chemische stoffen die u nodig hebt volgens de voorschriften van de fabrikant van de chemische stoffen.
Open het deksel van de spuittank.
Note: Het tankdeksel bevindt zich in het midden op de tank. Om dit te openen, moet u de voorste helft van het deksel naar links draaien en open klappen. U kunt de zeef aan de binnenzijde verwijderen om deze te reinigen. Om de tank af te sluiten, moet u het deksel dichtdoen en de voorste helft van het deksel naar rechts draaien.
Giet ongeveer ¾ van de benodigde hoeveelheid water in de spuittank via de anti-overloopaansluiting.
Important: U moet de tank altijd vullen met schoon water. Giet nooit concentraat in een lege tank.

Start de motor, schakel de aftakas in en zet de gashendel open indien deze aanwezig is.
Zet de mengschakelaar AAN.
Voeg de correcte hoeveelheid het chemische concentraat toe in de tank volgens de instructies van de fabrikant.
Important: Als u een bevochtigbaar poeder gebruikt, moet u dit met een kleine hoeveelheid water tot een dikke massa mengen voordat u dit toevoegt.
Giet de rest van het water in de tank.
Note: Voor een betere menging kunt u de gebruiksdosis verlagen.
| Onderhoudsinterval | Onderhoudsprocedure |
|---|---|
| Bij elk gebruik of dagelijks |
|
Important: De bevestigingen van de tankbanden te vast aandraaien kan vervorming en beschadiging van de tank en banden veroorzaken.
Vul de hoofdtank met water.
Controleer of u de tankbanden op de tank kunt bewegen (Figuur 69).

Als de tankbanden te los om de tank heen zitten, draai dan de flensborgmoeren en de bouten bovenaan de banden aan tot de banden gelijk komen met het oppervlak van de tank (Figuur 69).
Note: Zet de banden van de tank niet te vast.
Note: Voordat u de spuitmachine voor het eerst gebruikt, als u de spuitdoppen vervangt, of als dit om een andere reden nodig is, dient u de vloeistofstroom, snelheid en omloopkleppen van de spuitbomen te kalibreren.
Vul de spuittank van de spuitmachine met schoon water.
Note: Zorg dat er genoeg water in de tank is om alle kalibratieprocedures te voltooien.
Laat de linker- en rechterspuitboom zakken.
Schakel de beveiligde instellingen uit; zie Het InfoCenter gebruiken.
Door de gebruiker verstrekte benodigdheden: Stopwatch die op ± 1/10 van een seconde nauwkeurig kan meten en een opvangbeker met een schaalverdeling in 50 ml.
Note: Om de spuitstroom te kalibreren voor machines zonder gasbegrenzer zijn 2 personen nodig.
Zet de transmissie op NEUTRAAL.
Stel de parkeerrem in werking en start de motor.
Schakel de pomp van de spuitmachine in en activeer de mengfunctie.
Trap het gaspedaal in totdat de motor het maximale toerental bereikt.
Stel het motortoerental als volgt in:
Voor machines zonder optionele gasbegrenzer – laat 1 persoon het gaspedaal induwen tot de motor het maximale toerental bereikt.
Note: Laat de andere persoon monsters van de spuitdoppen nemen.
Voor machines met optionele gasbegrenzer drukt u het gaspedaal in tot de motor het maximale toerental bereikt. Schakel dan de gasbegrenzer in; raadpleeg de bedieningsinstructies voor de gashendelset van uw Workman.
Zet de 3 afzonderlijke schakelaars en de hoofdschakelaar van de spuitbomen op AAN.
Bereid u voor op een opvangtest met de opvangbeker met schaalverdeling.
Begin bij 2,76 bar en gebruik de gebruiksdosisschakelaar om de spuitdruk aan te passen tot een opvangtest de hoeveelheden in de tabel hieronder oplevert.
Note: Neem 3 monsters van 15 seconden en neem het gemiddelde van de verzamelde hoeveelheden water.
| Kleur spuitdop | Milliliter opgevangen in 15 seconden | Ounces opgevangen in 15 seconden | ||
|---|---|---|---|---|
| Geel | 189 | 6,4 | ||
| Rood | 378 | 12,8 | ||
| Bruin | 473 | 16,0 | ||
| Grijs | 567 | 19,2 | ||
| Wit | 757 | 25,6 | ||
| Blauw | 946 | 32,0 | ||
| Groen | 1419 | 48,0 | ||
Wanneer de opvangtest de hoeveelheden in de onderstaande tabel oplevert, VERGRENDELT u de controleknop van de dosis.
Zet de hoofdschakelaar van de spuitbomen op UIT.
Ga in het InfoCenter naar het kalibratiemenu en selecteer FLOW CAL als volgt:
Note: U kunt op elk moment het pictogram van het hoofdscherm selecteren om de kalibraties te annuleren.
Druk tweemaal op de middelste selectieknop van het InfoCenter om naar de menu's te gaan.
Ga naar het kalibratiemenu door de rechterselectieknop van het InfoCenter in te drukken.
Selecteer FLOW CAL en druk op de rechterselectieknop van het InfoCenter.
In het volgende scherm voert u de gekende hoeveelheid water in die uit de spuitbomen zal worden gesproeid voor de kalibratieprocedure; raadpleeg de onderstaande tabel.
Druk op de rechter selectieknop van het InfoCenter.
Gebruik de symbolen (+) en (-) om het vloeistofvolume in te voeren volgens de onderstaande tabel.
| Kleur spuitdop | Liter | Amerikaanse gallons |
| Geel | 42 | 11 |
| Rood | 83 | 22 |
| Bruin | 106 | 28 |
| Grijs | 125 | 33 |
| Wit | 167 | 44 |
| Blauw | 208 | 55 |
| Groen | 314 | 83 |
Schakel de hoofdschakelaar van de spuitbomen 5 minuten lang in.
Note: Terwijl de machine spuit, zal het InfoCenter de gemeten hoeveelheid vloeistof weergeven.
Laat de machine 5 minuten spuiten en vink het vakje af door de middelste knop van het InfoCenter in te drukken.
Note: Het is niet erg als de hoeveelheid die tijdens het kalibratieproces wordt weergegeven niet overeenstemt met de gekende hoeveelheid water die u in het InfoCenter hebt ingevoerd.
Zet de hoofdschakelaar van de spuitbomen uit en vink het vakje af door de middelste knop van het InfoCenter in te drukken.
Note: De kalibratie is nu voltooid.
Zorg dat de spuittank gevuld is met water.
Duid op een open, vlak terrein een afstand van 45 tot 152 m aan.
Note: Markeer een afstand van 152 meter voor een nauwkeuriger resultaat.
Start de motor en rij naar het begin van de aangeduide zone.
Note: Zet het midden van de voorste wielen precies boven de startlijn voor het meest nauwkeurige resultaat.
Ga in het InfoCenter naar het kalibratiemenu en selecteer Speed Calibration.
Note: U kunt op elk moment het pictogram van het hoofdscherm selecteren om de kalibratie te annuleren.
Selecteer de volgende pijl (→) in het InfoCenter.
Gebruik de symbolen (+) en (-) om de gemarkeerde afstand in te voeren in het InfoCenter.
Schakel de machine in eerste versnelling en rij de gemarkeerde afstand met vol gas in een rechte lijn.
Stop de machine op de gemarkeerde afstand en selecteer het vinkje in het InfoCenter.
Note: Vertraag en stop met het midden van de voorwielen precies op de lijn voor het meest nauwkeurige resultaat.
Note: De kalibratie is nu voltooid.
Voordat u de spuitmachine voor het eerst gebruikt, als u de spuitdoppen vervangt, of als dit om een andere reden nodig is, dient u de vloeistofstroom en de snelheid te kalibreren en de omloop van de spuitbomen in te stellen.
Important: Kies een open en vlak terrein om deze procedure uit te voeren.
Note: Om de omloopleiding van de spuitbomen te kalibreren voor machines zonder gasbegrenzer zijn 2 personen nodig.
Zorg dat de spuittank gevuld is met water.
Zet de transmissie op NEUTRAAL.
Stel de parkeerrem in werking en start de motor.
Zet de 3 spuitboomschakelaars in de stand AAN, maar laat de hoofdschakelaar van de spuitbomen UIT.
Zet de pompschakelaar op AAN en zet de mengschakelaar op aan.
Stel het motortoerental als volgt in:
Voor machines zonder optionele gasbegrenzer – laat 1 persoon het gaspedaal induwen tot de motor het maximale toerental bereikt.
Note: Laat de andere persoon de omloopkleppen van de spuitbomen afstellen.
Voor machines met optionele gasbegrenzer drukt u het gaspedaal in tot de motor het maximale toerental bereikt. Schakel dan de gasbegrenzer in; raadpleeg de bedieningsinstructies voor de gashendelset van uw Workman.
Ga in het InfoCenter naar het kalibratiemenu en selecteer Test Speed.
Note: U kunt op elk moment het pictogram van het hoofdscherm selecteren om de kalibratie te annuleren.
Gebruik de symbolen (+) en (-) om een testsnelheid van 5,6 km/u in te voeren en selecteer dan het pictogram van het hoofdscherm.
Stel met behulp van de schakelaar de gebruiksdosis in aan de hand van de volgende tabel.
| Kleur spuitdop | SI (metrisch) | Engels | Turf |
| Geel | 159 liter/ha | 17 gpa | 0,39 gpk |
| Rood | 319 liter/ha | 34 gpa | 0,78 gpk |
| Bruin | 394 liter/ha | 42 gpa | 0,96 gpk |
| Grijs | 478 liter/ha | 51 gpa | 1,17 gpk |
| Wit | 637 liter/ha | 68 gpa | 1,56 gpk |
| Blauw | 796 liter/ha | 85 gpa | 1,95 gpk |
| Groen | 1190 liter/ha | 127 gpa | 2,91 gpk |
Schakel de linkerspuitboom uit en stel de omloopklep van de linkerspuitboom (Figuur 70) zodanig in dat de drukmeter de eerder gewijzigde waarde aangeeft (doorgaans 2,76 bar).
Note: De nummeraanduidingen van de omloopklep dienen enkel ter referentie.

Schakel de linkerspuitboom in en de rechterspuitboom uit.
Stel de omloopklep van de rechterspuitboom (Figuur 70) zodanig in dat de drukmeter de eerder gewijzigde waarde aangeeft (doorgaans 2,76 bar).
Schakel de rechterspuitboom in en de middelste spuitboom uit.
Stel de omloopklep van de middelste spuitboom (Figuur 70) zodanig in dat de drukmeter de eerder gewijzigde waarde aangeeft (doorgaans 2,76 bar).
Zet alle spuitboomschakelaars uit.
Zet de spuitpomp uit.
Note: De kalibratie is nu voltooid.
| Onderhoudsinterval | Onderhoudsprocedure |
|---|---|
| Jaarlijks |
|
Important: Kies een open en vlak terrein om deze procedure uit te voeren.
Note: Om de mengomloopklep te kalibreren voor machines zonder gasbegrenzer zijn 2 personen nodig.
Zorg dat de spuittank gevuld is met water.
Ga na of de mengregelklep open is. Als deze aangepast is, opent u ze nu volledig.
Zet de transmissie op NEUTRAAL.
Stel de parkeerrem in werking en start de motor.
Schakel de pomp van de spuitmachine in.
Stel het motortoerental als volgt in:
Voor machines zonder optionele gasbegrenzer – laat 1 persoon het gaspedaal induwen tot de motor het maximale toerental bereikt.
Note: Laat de andere persoon monsters van de spuitdoppen nemen.
Voor machines met optionele gasbegrenzer drukt u het gaspedaal in tot de motor het maximale toerental bereikt. Schakel dan de gasbegrenzer in; raadpleeg de bedieningsinstructies voor de gashendelset van uw Workman.
Zet de 3 schakelaars van de afzonderlijke spuitboomkleppen UIT.
Zet de hoofdschakelaar van de spuitbomen op AAN.
Stel de systeemdruk in op MAXIMUM.
Zet de mengschakelaar op UIT en lees de stand van de drukmeter af.
Als de stand 6,9 bar blijft, is de mengomloopklep juist gekalibreerd.
Als de drukmeter een andere stand aangeeft, gaat u door met de volgende stap.
Stel de mengomloopklep (Figuur 72) achteraan de mengklep in tot de drukmeter 6,9 bar aangeeft.

Druk de pompschakelaar naar de stand UIT, zet de gashendel op STATIONAIR en draai de startschakelaar naar de stand UIT.
Note: Stel de omloopklep van de spuitboomhoofdschakelaar af om de vloeistofstroom die naar de mengdoppen in de tank wordt geleid te verkleinen of vergroten wanneer de hoofdschakelaar van de spuitbomen op UIT staat.
Zorg dat de spuittank gevuld is met water.
Stel de parkeerrem in werking.
Zet de transmissie op NEUTRAAL.
Schakel de pomp van de spuitmachine in.
Zet de mengschakelaar op AAN.
Zet de hoofdschakelaar van de spuitbomen op UIT.
Stel het motortoerental als volgt in:
Voor machines zonder optionele gasbegrenzer – laat 1 persoon het gaspedaal induwen tot de motor het maximale toerental bereikt.
Note: Laat de andere persoon monsters van de spuitdoppen nemen.
Voor machines met optionele gasbegrenzer drukt u het gaspedaal in tot de motor het maximale toerental bereikt. Schakel dan de gasbegrenzer in; raadpleeg de bedieningsinstructies voor de gashendelset van uw Workman.
Stel de omloophendel van de spuitboomhoofdschakelaar af om te bepalen in welke mate de inhoud van de tank gemengd wordt (Figuur 72).
Verlaag de gasinstelling naar stationair.
Zet de mengschakelaar en de pompschakelaar op UIT.
Zet de motor af.
De spuitpomp bevindt zich aan de achterkant van de machine (Figuur 73).

De eigenaar/bestuurder is verantwoordelijk voor ongevallen die kunnen leiden tot lichamelijk letsel en materiële schade, en hij kan zulke ongevallen voorkomen.
Draag geschikte kleding en uitrusting, zoals oogbescherming, een lange broek, stevige schoenen met een gripvaste zool en gehoorbescherming. Draag lang haar niet los en draag geen losse kleding of juwelen.
Draag geschikte persoonlijke beschermende uitrusting volgens de aanwijzingen in het hoofdstuk Chemische veiligheid.
Geef uw volledige aandacht als u de machine gebruikt. Zorg ervoor dat u met niets anders bezig bent waardoor u kunt worden afgeleid, anders kan er letsel ontstaan of kan eigendom worden beschadigd.
Gebruik de machine niet als u ziek, moe of onder de invloed van alcohol, medicijnen of drugs bent.
Vervoer niet meer dan 1 passagier op de machine; de passagier mag alleen op de daartoe bestemde zitplaats zitten.
Bedien de machine uitsluitend als de zichtbaarheid goed is. Vermijd putten en verborgen gevaren.
Voordat u de motor start: zorg dat u zich in de bestuurderspositie bevindt en de transmissie in de NEUTRAALSTAND staat.
Blijf zitten wanneer de machine in beweging is. Houd indien mogelijk het stuurwiel met beide handen vast en houd uw armen en benen altijd binnen het compartiment van de bestuurder.
Wees voorzichtig bij het naderen van blinde hoeken, struiken, bomen, en andere objecten die uw zicht kunnen belemmeren.
Voordat u achteruitrijdt, moet u achterom kijken om er zeker van te zijn dat er zich niemand achter u bevindt. Rij langzaam achteruit.
Spuit nooit als er mensen, met name kinderen, en huisdieren in de buurt zijn.
Gebruik de machine niet in de buurt van steile hellingen, greppels of dijken. De machine kan plotseling omslaan als een wiel over de rand komt, of als de rand afbrokkelt.
Neem gas terug als u moet rijden op oneffen terrein en vlak langs wegranden, kuilen en andere plotse veranderingen in het terrein. De lading kan gaan schuiven waardoor de machine haar stabiliteit verliest.
Stop de machine, zet de motor uit, verwijder het sleuteltje, stel de parkeerrem in werking en controleer op schade als u een voorwerp heeft geraakt of de machine abnormaal begint te trillen. Voer alle noodzakelijke reparaties uit voordat u de machine weer in gebruik neemt.
Verminder uw snelheid en wees voorzichtig als u een bocht maakt of wegen en voetpaden oversteekt met de machine. Verleen altijd voorrang.
Wees extra voorzichtig als u de machine gebruikt op een nat oppervlak, in ongunstige weersomstandigheden, bij hogere snelheden of als de machine zwaar geladen is. De stoptijd en de remweg zullen groter zijn in deze omstandigheden.
Raak de motor of de geluiddemper niet aan als de motor loopt of direct nadat u deze heeft afgezet. Deze kunnen heet zijn en brandwonden veroorzaken.
Doe het volgende voordat u de bestuurdersstoel verlaat:
Parkeer de machine op een horizontaal oppervlak.
Zet de transmissie in de NEUTRAALSTAND.
Schakel de spuitpomp uit.
Stel de parkeerrem in werking.
Zet de motor uit en verwijder het sleuteltje (indien aanwezig).
Wacht totdat alle bewegende onderdelen tot stilstand zijn gekomen.
Laat de motor nooit lopen in een ruimte waar uitlaatgassen zich kunnen verzamelen.
Gebruik de machine niet als het kan bliksemen.
Gebruik alleen accessoires en werktuigen die door Toro zijn goedgekeurd.
Om de Multi Pro WM te gebruiken, moet u eerst de spuittank vullen. Vervolgens spuit u de oplossing op het werkgebied en als u daarmee klaar bent, reinigt u de tank. Het is belangrijk dat u deze drie stappen vlak na elkaar uitvoert om schade aan de spuitmachine te voorkomen. Zo kunt u beter chemische stoffen niet 's avonds in de tank gieten en mengen en pas de volgende ochtend gaan spuiten. Hierdoor worden de chemische stoffen gescheiden, hetgeen schade kan toebrengen aan de onderdelen van de spuitmachine.
Important: De markeringen op de tank zijn uitsluitend bedoeld als referentie en kunnen niet als nauwkeurig worden beschouwd voor kalibratie.
Chemische stoffen zijn gevaarlijk en kunnen lichamelijk letsel veroorzaken.
Lees de aanwijzingen op het fabrieksetiket voordat u gaat werken met chemische stoffen, en neem alle aanbevelingen en voorzorgsmaatregelen van de fabrikant in acht.
Zorg ervoor dat uw huid niet in contact komt met chemische stoffen. Als dit toch gebeurt, moet u de desbetreffende plek grondig afspoelen met zeep en schoon water.
Draag een veiligheidsbril of andere beschermende uitrusting volgens de aanbevelingen van de fabrikant van de chemische stoffen.
De Multi Pro WM heeft een hoge duurzaamheid, zodat deze de vereiste levensduur heeft. Om speciale redenen zijn op verscheidene plaatsen op uw spuitmachine verschillende materialen gebruikt om dit doel te verwezenlijken. Helaas bestaat er geen enkele materiaal dat perfect is voor alle voorzienbare spuitwerkzaamheden.
Sommige chemische stoffen zijn agressiever dan andere en elke chemische stof reageert anders met verschillende materialen. Een aantal vaste stoffen (zoals bevochtigbaar poeder, houtskool) heeft een sterker schurende werking en veroorzaakt meer slijtage. Als een chemische stof verkrijgbaar is in een samenstelling die de levensduur van de spuitmachine verlengt, adviseren wij u deze te gebruiken.
Verder moet u natuurlijk altijd uw machine en spuitsysteem na gebruik grondig reinigen. Dit garandeert een langdurig en probleemloos gebruik van de spuitmachine.
Important: Om ervoor te zorgen dat de oplossing goed gemengd blijft, moet u de mengfunctie steeds gebruiken als er een oplossing in de tank zit. Om te mengen, moet u de aftakas inschakelen en de motor sneller dan stationair laten draaien. Als u de machine stopt en wilt gaan mengen, moet u de schakelhendel in de NEUTRAALSTAND zetten, de parkeerrem in werking stellen, de aftakas inschakelen, de koppeling laten opkomen, en de gashendel (indien aanwezig) open zetten.
Note: Deze procedure gaat ervan uit dat de aftakas ingeschakeld is (modellen uit de HD-serie met manuele transmissie) en de spuitboomkleppen gekalibreerd zijn.
Breng de spuitbomen omlaag.
Zet de hoofdschakelaar van de spuitbomen op UIT.
Zet de gewenste spuitboomschakelaars in de AAN-stand.
Rij naar het gebied waar u gaat spuiten.
Ga naar het gebruiksdosisscherm van het InfoCenter en stel de gewenste gebruiksdosis als volgt in:
Zorg dat de schakelaar van de pomp AAN staat.
Voor modellen uit de HD serie met een manuele transmissie stelt u het gewenste versnellingenbereik in.
Begin met de gewenste snelheid te rijden.
Controleer of de monitor de correcte gebruiksdosis toont. Indien nodig gebruikt u de schakelaar voor de gebruiksdosis om de gewenste gebruiksdosis te verkrijgen.
Rij terug naar het terrein waar u spuitwerkzaamheden uitvoert.
Zet de hoofdschakelaar van de spuitbomen op AAN en begin met spuiten.
Note: Als de tank bijna leeg is, kan het mengen leiden tot schuimvorming in de tank. Zet de mengklep uit om dit te voorkomen. Als alternatief kunt u ook een antischuimmiddel in de tank gebruiken.
Als u klaar bent met spuiten, zet u de hoofdschakelaar UIT om alle spuitbomen uit te schakelen. Daarna schakelt u de aftakas uit (modellen uit de HD serie met manuele transmissie).
Important: In sommige omstandigheden kan de hitte van de motor, de radiateur en de knaldemper schade toebrengen aan het gras als de spuitmachine wordt gebruikt in een stationaire stand. De machine loopt stationair als u de spuitvloeistof in de tank mengt, handmatig spuit met een spuitpistool of een loopspuitboom gebruikt.
Neem de volgende voorzorgsmaatregelen:
Spuit nooit in een stationaire stand bij zeer hete en/of droge omstandigheden. Tijdens deze perioden kan het gazon immers meer te lijden hebben.
Parkeer nooit op het gazon als u spuit in de stationaire stand. Parkeer op een pad als dit mogelijk is.
Beperk zo veel mogelijk de tijd dat u de machine op een bepaald stuk van het gazon laat draaien. De mate van grasbeschadiging is afhankelijk van de tijd en de temperatuur.
Stel het motortoerental zo laag mogelijk af om de gewenste druk en stroom te verkrijgen. Dit beperkt de hitte die wordt ontwikkeld en de snelheid van de lucht die de koelventilator voortbrengt.
Laat de hitte naar boven ontsnappen vanuit het motorcompartiment door de stoel omhoog te zetten als de machine wordt gebruikt in de stationaire stand, zodat de hitte niet via de onderkant van de machine wordt afgevoerd.
Met de hefschakelaars van de spuitbomen op het bedieningspaneel van de spuitmachine kunt u de buitenste spuitbomen in de transportstand of in de spuitstand zetten zonder dat u de bestuurdersstoel hoeft te verlaten. Breng de machine indien mogelijk tot stilstand voordat u de positie van de spuitbomen verandert.
Stel de hendel van de hydraulische hefinrichting in werking en vergrendel hem om te zorgen voor de hydraulische bekrachtiging die nodig is om de spuitboomlift te bedienen.
Duw de hendel van de hydraulische hefinrichting naar voren.

Beweeg de vergrendeling van de hydraulische hefinrichting naar links om de vergrendeling in werking te stellen.
Voer de volgende stappen uit om de buitenste spuitbomen in de SPUITstand te zetten:
Parkeer de machine op een horizontaal oppervlak.
Laat de buitenste spuitbomen zakken met behulp van de hefschakelaars van de spuitbomen.
Note: Wacht totdat de buitenste spuitbomen volledig zijn uitgeklapt in de spuitstand.
Voer het spuiten uit en voer dan de volgende stappen uit om de buitenste spuitbomen in de transportstand te zetten:
Parkeer de machine op een horizontaal oppervlak.
Laat een van de buitenste spuitbomen omhoog komen met behulp van de hefschakelaars van de spuitbomen.
Laat de andere buitenste spuitbomen omhoog komen met behulp van de hefschakelaars van de spuitbomen.
Hef de spuitbomen op totdat zij geheel kruiselings over elkaar in de transportstand in de transporthouder zijn gezet en de hefcilinders volledig zijn teruggetrokken.
Important: Laat de hefschakelaar(s) van de spuitbomen los zodra de buitenste spuitbomen de gewenste stand hebben bereikt. De actuators tot tegen de mechanische begrenzers laten bewegen kan de hefcilinders en/of andere hydraulische componenten beschadigen.
Important: Zorg ervoor dat de spuitbomen in de transportstand niet in aanraking komen met laag overhangende objecten, dit kan de spuitbomen beschadigen.
Important: De spuitbomen kunnen beschadigd raken als zij niet gekruist worden getransporteerd in de transporthouder.

Important: Om schade aan de hefcilinder te voorkomen, moet u ervoor zorgen dat de actuators volledig zijn ingetrokken voordat u de machine gaat transporteren.
Overlap geen stukken waar u eerder hebt gespoten.
Controleer of er geen spuitdoppen zijn verstopt. Vervang versleten of beschadigde spuitdoppen.
Schakel met de hoofdschakelaar de spuitbomen uit voordat u de spuitmachine tot stilstand brengt. Nadat u de machine tot stilstand hebt gebracht, moet u met de motortoerentalbegrenzer van de neutraalstand de motor op toeren houden, zodat het mengen blijft doorgaan.
U verkrijgt betere resultaten als de spuitmachine in beweging is wanneer u de spuitbomen inschakelt.
Let op veranderingen in de gebruiksdosis die kunnen aangeven dat uw snelheid te hoog is voor het bereik van de spuitdoppen of dat er problemen zijn met het spuitsysteem.
Als een spuitdop tijdens het spuiten verstopt raakt, moet u de spuitdop als volgt schoonmaken:
Parkeer de veldspuit op een gelijke ondergrond, zet de motor af en stel de parkeerrem in werking.
Zet de hoofdschakelaar op UIT en zet vervolgens de schakelaar van de spuitpomp op UIT.
Verwijder de verstopte spuitdop en maak deze schoon met een spuitfles met water en een tandenborstel.
Monteer de spuitdop.
Parkeer de machine op een horizontaal vlak, stel de parkeerrem in werking, zet de motor af, verwijder het contactsleuteltje en wacht totdat alle bewegende onderdelen tot stilstand zijn gekomen voordat u de machine verlaat.
Aan het einde van de werkdag moet u al het chemisch restmateriaal van de buitenkant van de machine wassen; raadpleeg het hoofdstuk over Chemische veiligheid.
Laat de motor afkoelen voordat u de machine in een afgesloten ruimte stalt.
Onderhoud en reinig de veiligheidsgordel(s) indien nodig.
Stal de machine of het brandstofvat nooit in de buurt van een open vuur, vonken of een waakvlam zoals die van een boiler of een ander apparaat.
Zorg ervoor dat alle onderdelen van de machine in goede staat verkeren en alle bevestigingselementen stevig vastzitten.
Vervang versleten, beschadigde en ontbrekende stickers.
Important: Gebruik geen brak of teruggewonnen water om de machine schoon te maken.
Parkeer de machine op een horizontaal oppervlak, stel de parkeerrem in werking, schakel de motor uit en verwijder het sleuteltje.
Ga naar de aftapplug aan de rechterkant van de machine (Figuur 76).

Open de klep en laat al het resterende materiaal uit de tank lekken (Figuur 77).
Important: Voer chemisch afval af volgens de plaatselijk geldende voorschriften en de instructies van de fabrikant van het materiaal.

Sluit de aftapklep (Figuur 77).
| Onderhoudsinterval | Onderhoudsprocedure |
|---|---|
| Jaarlijks |
|
Important: U moet de spuitmachine altijd onmiddellijk na elk gebruik leeg laten lopen en reinigen. Indien u dit nalaat, kan dit tot gevolg hebben dat de chemische stoffen uitdrogen of dik worden in de leidingen, waardoor de pomp en andere onderdelen verstopt raken.
Gebruik de goedgekeurde spoelset voor deze machine. Neem voor meer informatie contact op met uw erkende Toro verdeler.
Reinig het spuitsysteem na elke spuitbeurt. Om het spuitsysteem grondig te reinigen, moet u als volgt te werk gaan:
Spoel het systeem 3 keer om.
Gebruik de reinigings- en neutraliseermiddelen die worden aanbevolen door de fabrikanten van de chemische stoffen.
Gebruik zuiver, schoon water (zonder reinigings- en neutraliseermiddelen) voor de laatste spoelbeurt.
Vul de tank met minstens 190 liter schoon water en sluit het deksel.
Note: Indien nodig kunt u een reinigings-/neutraliseermiddel toevoegen aan het water. Gebruik alleen schoon water voor de laatste spoeling.
Laat de spuitbomen neer in de spuitstand.
Start de motor en zet de pompschakelaar op AAN.
Zet de gashendel in een hogere stationaire stand.
Zorg dat de mengschakelaar op AAN staat en zet de druk op een hoge instelling met behulp van de schakelaar voor de gebruiksdosis.
Zet de hoofdschakelaar van de spuitbomen en de afzonderlijke spuitboomschakelaars op AAN om te beginnen met spuiten.
Laat al het water in de tank via de spuitdoppen naar buiten spuiten.
Controleer of alle spuitdoppen naar behoren werken.
Zet de hoofdschakelaar van de spuitbomen op UIT, schakel de pomp van de spuitmachine uit en zet de motor af.
Herhaal stappen 1 tot en met 9 nog minstens 2 keer om er zeker van te zijn dat het spuitsysteem volkomen is gereinigd.
Important: U moet deze procedure altijd minstens drie keer uitvoeren om er zeker van te zijn dat het spuitsysteem helemaal schoon is, om schade aan het systeem te voorkomen.
Reinig de zuigkorf en het drukfilter; zie Zuigkorf reinigen en Drukfilter reinigen.
Important: Als u bevochtigbaar poeder gebruikt, moet u de zuigkorf na elke tank reinigen.
Spuit met een tuinslang de buitenkant van de spuitmachine schoon. Gebruik hierbij schoon water.
Verwijder de spuitdoppen en reinig ze met de hand. Vervang versleten of beschadigde spuitdoppen.
| Onderhoudsinterval | Onderhoudsprocedure |
|---|---|
| Bij elk gebruik of dagelijks |
|
Plaats de machine op een horizontaal oppervlak, stel de parkeerrem in werking, schakel de spuitpomp uit, zet de motor af en verwijder het sleuteltje.
Verwijder bovenaan de spuittank de borgclip waarmee de slangfitting bevestigd is aan de grote slang van de behuizing van de zuigkorf (Figuur 78).

Verwijder de slang en de slangfitting van de behuizing van de zuigkorf (Figuur 78).
Trek de zuigkorf uit zijn behuizing in de tank (Figuur 79).

Reinig de zuigkorf met schoon water.
Important: Vervang de zuigkorf als deze beschadigd is of niet goed kan worden gereinigd.
Plaats de zuigkorf in het huis totdat deze goed op zijn plaats zit.
Lijn de slang en de slangfitting uit met de behuizing van de korf bovenaan de tank en bevestig de fitting en de behuizing met de borgclip die u verwijderd hebt in stap 2.
| Onderhoudsinterval | Onderhoudsprocedure |
|---|---|
| Bij elk gebruik of dagelijks |
|
Plaats de machine op een horizontaal oppervlak, stel de parkeerrem in werking, schakel de spuitpomp uit, zet de motor af en verwijder het sleuteltje.
Plaats een opvangbak onder het drukfilter (Figuur 80).

Draai de aftapdop linksom en neem ze van de bak van het drukfilter (Figuur 80).
Note: Laat de bak volledig leeglopen.
Draai de bak linksom en verwijder de filterkop (Figuur 80).
Verwijder het drukfilterelement (Figuur 80).
Reinig het filterelement met schoon water.
Important: Vervang het filter als dit beschadigd is of niet grondig kan worden gereinigd.
Controleer de pakking voor de aftapplug (in de bak) en de pakking voor de bak (in de filterkop) op schade en slijtage (Figuur 80).
Important: Vervang beschadigde of versleten pakkingen voor de plug, de bak of beide.
Monteer het drukfilterelement in de filterkop (Figuur 80).
Note: Zorg dat het filterelement stevig in de filterkop zit.
Maak de bak handmatig vast op de filterkop (Figuur 80).
Monteer de aftapdop op de fitting onderaan de bak en draai de dop handmatig vast (Figuur 80).
Plaats de machine op een horizontaal oppervlak, stel de parkeerrem in werking, schakel de spuitpomp uit, zet de motor af en verwijder het sleuteltje.
Neem de spuitdop uit de houder Figuur 81

Verwijder het spuitdopfilter (Figuur 81).
Reinig het spuitdopfilter met schoon water.
Important: Vervang de zuigkorf als deze beschadigd is of niet goed kan worden gereinigd.
Monteer het spuitdopfilter (Figuur 81).
Note: Verzeker dat het filter goed op zijn plaats zit.
Monteer de spuitdop op de spuitdophouder (Figuur 81).
| Onderhoudsinterval | Onderhoudsprocedure |
|---|---|
| Na elk gebruik |
|
Specificatie conditioner: propyleenglycol ‘niet-toxisch antivriesmiddel’ met corrosieremmer
Important: Gebruik alleen propyleenglycol met corrosieremmer. Gebruik geen recyclede propyleenglycol. Gebruik geen antivriesmiddel op basis van ethyleenglycol.Gebruik geen propyleenglycol waaraan oplosbare alcoholen (methanol, ethanol of isopropanol) of pekelproducten zijn toegevoegd.
Rij de machine naar een horizontaal oppervlak, stel de parkeerrem in werking, schakel de motor uit en verwijder het sleuteltje.
Voeg als volgt conditioner toe aan de tank:
Voor propyleenglycol antivriesmiddel dat klaar is om te gebruiken (voorgemengd): voeg 37,8 liter propyleenglycol antivriesmiddel toe in de tank.
Voor geconcentreerd propyleenglycol antivriesmiddel voert u de volgende stappen uit:
Voeg in de spuittank een mengsel van 37,8 liter toe dat bestaat uit propyleenglycol antivriesmiddel en water. Bereid het antivriesmengsel voor zoals aangegeven door de fabrikant voor een concentraat dat geschikt is voor temperaturen tot minimaal -45 °C.
Important: Gebruik uitsluitend schoon water om de spuitmachine te reinigen.
Start de motor en zet de spuitpompschakelaar op AAN.
Trap het gaspedaal in om het motortoerental te verhogen.
Zet de mengschakelaar op AAN.
Laat de conditioner en de wateroplossing gedurende 3 minuten of langer circuleren.
Aanbevolen tool: een doorzichtige maatbeker.
Rij de machine naar het gebied met de afvoerplaat en stel de parkeerrem in werking.
Laat de buitenste spuitbomen neer.
Zet de schakelaars voor de linker, middelste en rechter spuitboom en de hoofdschakelaar van de spuitbomen op AAN.
Laat het spuitsysteem spuiten totdat de spuitdoppen de conditioner hebben afgevoerd.
Note: De meeste propyleenglycol antivriesmiddelen hebben een roze kleur. Gebruik de maatbeker om bij verschillende spuitdoppen monsters te nemen van de uitstroming van de spuitmachine.
Zet de hoofdschakelaar van de spuitbomen, de 3 schakelaars van de spuitbomen, de mengschakelaar, de spuitpompschakelaar en de motor uit en verwijder het sleuteltje.
Voor informatie over het transporteren of slepen van de machine kunt u de Gebruikershandleiding van uw Workman raadplegen.
Important: Maak de buitenste spuitbomen vast aan de transporthouders van de spuitbomen.
Note: Download het elektrische of hydraulische schema gratis op www.Toro.com; u kunt uw machine zoeken via de link Handleidingen op de hoofdpagina.
Note: Bepaal vanuit de normale bedieningspositie de linker- en rechterzijde van de machine.
Doe het volgende voordat u de bestuurdersstoel verlaat:
Parkeer de machine op een horizontaal oppervlak.
Zet de transmissie in de NEUTRAALSTAND.
Stel de parkeerrem in werking.
Zet de motor uit en verwijder het sleuteltje (indien aanwezig).
Wacht totdat alle bewegende onderdelen tot stilstand zijn gekomen.
Laat de onderdelen van de machine afkoelen voordat u onderhoudswerkzaamheden uitvoert.
De machine mag uitsluitend worden onderhouden, gerepareerd, afgesteld of geïnspecteerd door vakbekwame en erkende technici.
Reinig en spoel de spuitmachine grondig voordat u onderhoudswerkzaamheden uitvoert; raadpleeg het onderdeel Chemische veiligheid.
Chemische stoffen die worden gebruikt in het spuitsysteem kunnen gevaarlijk en giftig zijn voor de gebruiker, omstanders, dieren, planten, de bodem of eigendommen.
U moet de waarschuwingsetiketten en de veiligheidsinformatiebladen voor alle gebruikte chemische stoffen zorgvuldig lezen en in acht nemen, en uzelf beschermen volgens de instructies van de fabrikant van de chemische stoffen.
Bescherm altijd uw huid als u in de buurt van chemische stoffen bent. Om te voorkomen dat u in aanraking komt met chemische stoffen, dient u geschikte persoonlijke beschermingsmiddelen (PPE) te gebruiken, waaronder de volgende:
oogbescherming, veiligheidsbril en/of gelaatsscherm
een chemicaliënpak
een stof- of filtermasker
handschoenen die bestand zijn tegen chemicaliën
rubberen laarzen of ander stevig schoeisel
schone reservekleding, zeep en wegwerphanddoeken om uzelf schoon te maken
Weiger de machine te gebruiken of er werkzaamheden aan te verrichten als deze informatie niet beschikbaar is.
De machine niet vullen, kalibreren of reinigen wanneer er mensen, in het bijzonder kinderen, of huisdieren in de buurt zijn.
Zorg voor een goede ventilatie van de ruimte waar u werkt met chemische stoffen.
Zorg ervoor dat er schoon water voorhanden is, in het bijzonder als u de spuittank vult.
Niet eten, drinken of roken als u in de buurt van chemische stoffen werkt.
Spuitdoppen niet schoonmaken door erin te blazen of ze in uw mond te nemen.
Was uw handen en andere onbedekte lichaamsdelen altijd zo snel mogelijk nadat u met chemische stoffen hebt gewerkt.
Chemische stoffen en dampen in de tank zijn gevaarlijk; blijf altijd buiten de tank en houd uw hoofd nooit boven of in de opening van een tank.
Om de machine in goede staat te houden moet u verzekeren dat alle bevestigingsmiddelen goed zijn aangetrokken.
Om het risico van brand te verminderen, moet u de omgeving van de motor vrij van overtollig vet, chemische stoffen, gras, bladeren en vuil houden.
Als u de motor moet laten lopen om onderhouds- of afstelwerkzaamheden uit te voeren, moet u uw kleding, handen, voeten en andere lichaamsdelen uit de buurt van de motor en bewegende delen houden. Houd iedereen op afstand.
Stel de rijsnelheid van de machine niet af. Ten behoeve van de veiligheid en een nauwkeurige afstelling moet u de rijsnelheid laten controleren door een erkende Toro verdeler.
Indien een belangrijke reparatie nodig is of u technische hulp wilt, moet u contact opnemen met een erkende Toro verdeler.
Elke aanpassing van deze machine die gevolgen heeft voor de werking, prestaties, levensduur of het gebruik van de machine, kan lichamelijk of dodelijk letsel veroorzaken. Dergelijke veranderingen kunnen ertoe leiden dat de garantie op het product komt te vervallen.
Ondersteun de machine met assteunen als u onder de machine werkt.
Haal voorzichtig de druk van onderdelen met opgeslagen energie.
| Onderhoudsinterval | Onderhoudsprocedure |
|---|---|
| Bij elk gebruik of dagelijks |
|
| Na elk gebruik |
|
| Om de 50 bedrijfsuren |
|
| Om de 100 bedrijfsuren |
|
| Om de 200 bedrijfsuren |
|
| Om de 400 bedrijfsuren |
|
| Jaarlijks |
|
Important: Raadpleeg de gebruikershandleiding van uw machine en de handleiding van de motor voor bijkomende onderhoudsprocedures.
Kopieer deze pagina ten behoeve van gebruik bij routinecontroles.
| Gecontroleerd item | Voor week van: | ||||||
|---|---|---|---|---|---|---|---|
| Ma. | Di. | Wo. | Do. | Vr. | Za. | Zo. | |
| Werking van rem en parkeerrem controleren. | |||||||
| Werking van schakelinrichting/neutraalstand controleren. | |||||||
| Brandstofpeil controleren. | |||||||
| Motoroliepeil controleren voordat u de tank vult. | |||||||
| Transaxle-oliepeil controleren voordat u de tank vult. | |||||||
| Luchtfilter controleren voordat u de tank vult. | |||||||
| Koelribben van de motor controleren voordat u de tank vult. | |||||||
| Controleren of motor ongewone geluiden maakt. | |||||||
| Controleren op ongewone geluiden tijdens het gebruik. | |||||||
| De bandenspanning controleren. | |||||||
| Controleren op lekkages. | |||||||
| Werking van instrumenten controleren. | |||||||
| Werking van het gaspedaal controleren. | |||||||
| Zuigkorf reinigen. | |||||||
| Toespoor controleren. | |||||||
| Vet in alle smeernippels spuiten.1 | |||||||
| Beschadigde lak bijwerken. | |||||||
1Onmiddellijk na elke wasbeurt, ongeacht het voorgeschreven interval
| Controle uitgevoerd door: | ||
| Item | Datum | Informatie |
| 1 | ||
| 2 | ||
| 3 | ||
| 4 | ||
| 5 | ||
| 6 | ||
| 7 | ||
| 8 | ||
| 9 | ||
| 10 | ||
Als u het sleuteltje in de starterschakelaar laat, bestaat de kans dat iemand de motor per ongeluk start, waardoor u en omstanders ernstig letsel kunnen oplopen.
Haal het sleuteltje uit de starterschakelaar en maak de min-abel los van de accu voordat u onderhoudswerkzaamheden uitvoert. Druk de kabel opzij zodat deze niet onbedoeld contact kan maken met de accupool.
Bij het omgaan met de spuittankconstructie moet u rekening houden met een risico op opgeslagen energie. Als de constructie niet goed is vastgezet bij het monteren of verwijderen, waardoor u of anderen letsel kunnen oplopen.
Gebruik altijd riemen en een hefinrichting om de spuittankconstructie te ondersteunen tijdens monteren, verwijderen en onderhoudswerkzaamheden waarbij u bevestigingsmateriaal verwijdert.
U kunt de tank omhoog brengen om goed bij de motor en overige interne onderdelen te kunnen. Kantel het verlengstuk van de spuitboom naar voren om het gewicht gelijkmatiger te verdelen.
Laat de spuittank leeglopen.
Parkeer het voertuig op een horizontaal oppervlak.
Gebruik de bedieningsschakelaars van de spuitboom om de spuitboomverlenging ongeveer 45° omhoog te brengen.
Stel de parkeerrem in werking, zet de motor af en verwijder het contactsleuteltje.
Koppel de accu af.
Verwijder de veiligheidsbouten uit de voorzijde van de steunbalk (Figuur 82).

Koppel de kabelboom van het middelste bedieningspaneel af en maak de hoofdkabelboom los om speling te verkrijgen.
Vouw de spuitboomverlengingen naar voren langs de tankconstructie om het gewicht gelijkmatiger te verdelen en om achteroverkantelen te voorkomen.
Breng de tankconstructie omhoog totdat de hefcilinders hun uiterste positie hebben bereikt.
Verwijder de laadbakbeveiliging van de opberghaken op de achterkant van het paneel van de rolbeugel (Figuur 83).

Druk de laadbakbeveiliging op de cilinderstang, waarbij u ervoor moet zorgen dat de beide uiteinden van de laadbakbeveiliging rusten op het uiteinde van de cilinderbus en het stanguiteinde van de hefcilinder (Figuur 84).

Als u klaar bent om de tank te laten zakken, verwijdert u de laadbakbeveiliging van de cilinder en plaatst u deze in de beugels aan de achterzijde van het paneel van de rolbeugel.
Important: Probeer nooit de tankconstructie neer te laten met de laadbakbeveiliging op de cilinder.
Trek de hefcilinder terug om de tank voorzichtig op het frame te laten zakken.
Bevestig de twee bevestigingsbouten en het bevestigingsmateriaal om de tankconstructie vast te zetten.
Vouw de spuitboomverlenging naar achteren tot de uitgeschoven stand.
Gebruik de bedieningsschakelaars van de spuitboom om de spuitboomverlenging omhoog te brengen tot de TRANSPORTSTAND.
Breng de hoofdkabelboom aan om speling weg te nemen en verbind hem met de kabelboom van het middelste bedieningspaneel.
| Onderhoudsinterval | Onderhoudsprocedure |
|---|---|
| Om de 50 bedrijfsuren |
|
Type smeermiddel: Mobil XHP 461
Zoek de smeernippels van de spuitpomp op.
Note: De spuitpomp bevindt zich aan de achterkant van de machine.

Veeg de 2 uitwendige smeernippels schoon.
Pomp vet in de uitwendige smeernippels.
Veeg overtollig vet weg.
| Onderhoudsinterval | Onderhoudsprocedure |
|---|---|
| Om de 100 bedrijfsuren |
|
Important: Als u het spuitboomscharnier afspoelt met water, moet al het water en vuil van het scharnier worden verwijderd en moet u nieuw vet op het scharnier smeren.
Type vet: Nr. 2 vet op lithiumbasis
Veeg de smeernippels schoon zodat er geen ongerechtigheden kunnen binnendringen in het lager of de lagerbus.
Pomp vet in het lager of de lagerbus bij elke smeernippel Figuur 86.

Veeg overtollig vet weg.
Herhaal deze procedure bij alle draaiarmen van de spuitbomen.
Koppel de accu af voordat u reparaties aan de machine verricht. Maak eerst de minpool van de accu los en daarna de pluspool. Bevestig eerst de pluspool van de accu en daarna de minpool.
Laad de accu op in een open, goed geventileerde ruimte, uit de buurt van vonken en open vuur. Haal de oplader uit het stopcontact voordat u de accu aan- of loskoppelt.
Draag beschermende kleding en gebruik geïsoleerd gereedschap.
De zekeringenhouder van het spuitsysteem is gemonteerd op het einde van de zekeringenhouder van de machine. Vervan een doorgebrande zekerung met een zekering van hetzelfde type en ampère.

| Onderhoudsinterval | Onderhoudsprocedure |
|---|---|
| Om de 200 bedrijfsuren |
|
| Om de 400 bedrijfsuren |
|
Controleer alle slangen van het spuitsysteem op scheuren, lekken of andere schade. Controleer tegelijkertijd de aansluitingen en fittingen op soortgelijke schade. Vervang slangen en fittingen als deze beschadigd zijn.
| Onderhoudsinterval | Onderhoudsprocedure |
|---|---|
| Om de 400 bedrijfsuren |
|
Note: Kies de gewenste maasgrootte van de zuigkorf voor uw toepassing, zie Een zuigkorf kiezen.
Plaats de machine op een horizontaal oppervlak, stel de parkeerrem in werking, schakel de spuitpomp uit, zet de motor af en verwijder het sleuteltje.
Verwijder bovenaan de spuittank de borgclip waarmee de slangfitting bevestigd is aan de grote slang van de behuizing van de zuigkorf (Figuur 88).

Verwijder de slang en de slangfitting van de behuizing van de zuigkorf (Figuur 88).
Verwijder de oude zuigkorf uit de behuizing in de tank (Figuur 89).
Note: Gooi het oude filter weg.

Monteer de nieuwe zuigkorf in de behuizing.
Note: Verzeker dat de korf goed op zijn plaats zit.
Lijn de slang en de slangfitting uit met de behuizing van de korf bovenaan de tank en bevestig de fitting en de behuizing met de borgclip die u verwijderd hebt in stap 2.
| Onderhoudsinterval | Onderhoudsprocedure |
|---|---|
| Om de 400 bedrijfsuren |
|
Note: Kies de gewenste maasgrootte van de zuigkorf voor uw toepassing, zie Een drukfilter kiezen.
Plaats de machine op een horizontaal oppervlak, stel de parkeerrem in werking, schakel de spuitpomp uit, zet de motor af en verwijder het sleuteltje.
Plaats een opvangbak onder het drukfilter (Figuur 90).

Draai de aftapdop linksom en neem ze van de bak van het drukfilter (Figuur 90).
Note: Laat de bak volledig leeglopen.
Draai de bak linksom en verwijder de filterkop (Figuur 90).
Verwijder het oude drukfilterelement (Figuur 90).
Note: Gooi het oude filter weg.
Controleer de pakking voor de aftapplug (in de bak) en de pakking voor de bak (in de filterkop) op schade en slijtage (Figuur 90).
Note: Vervang beschadigde of versleten pakkingen voor de plug, de bak of beide.
Monteer het nieuwe drukfilterelement in de filterkop (Figuur 90).
Note: Zorg dat het filterelement stevig in de filterkop zit.
Maak de bak handmatig vast op de filterkop (Figuur 90).
Monteer de aftapdop op de fitting onderaan de bak en draai de dop handmatig vast (Figuur 90).
Note: Kies de gewenste maasgrootte van het spuitdopfilter voor uw toepassing, zie Een spuitdopfilter kiezen (optioneel).
Plaats de machine op een horizontaal oppervlak, stel de parkeerrem in werking, schakel de spuitpomp uit, zet de motor af en verwijder het sleuteltje.
Neem de spuitdop uit de houder Figuur 91

Verwijder het oude spuitdopfilter (Figuur 91).
Note: Gooi het oude filter weg.
Monteer het nieuwe spuitdopfilter (Figuur 91).
Note: Verzeker dat de korf goed op zijn plaats zit.
Monteer de spuitdop op de spuitdophouder (Figuur 91).
| Onderhoudsinterval | Onderhoudsprocedure |
|---|---|
| Om de 400 bedrijfsuren |
|
Note: De volgende onderdelen zijn onderhevig aan slijtage door gebruik, tenzij deze gebreken vertonen, en vallen niet onder de dekking van de garantie op deze machine.
Laat een erkende Toro distributeur de volgende inwendige onderdelen van de pomp op schade controleren:
Pompmembraan
Pompterugslagkleppen
Vervang deze onderdelen indien noodzakelijk.
| Onderhoudsinterval | Onderhoudsprocedure |
|---|---|
| Om de 400 bedrijfsuren |
|
Plaats de machine op een horizontaal oppervlak, stel de parkeerrem in werking, schakel de spuitpomp uit, zet de motor af en verwijder het sleuteltje.
Zet de spuitbomen in de spuitstand en ondersteun de spuitbomen met steunen of hijsbanden en hijsvoorzieningen.
Verwijder de bout en moer waarmee draaipen bevestigd is, en verwijder de pen (Figuur 92).

Verwijder de spuitboom en de draaibeugel van het eindkanaal van het middelste frame om bij de nylon draaibussen te kunnen komen.
Verwijder de draaibussen van de voor- en achterkant van de draaibeugel en controleer deze (Figuur 92).
Note: Vervang versleten of beschadigde bussen.
Smeer de nylon draaibussen in met een beetje olie en monteer de bussen in de draaibeugel (Figuur 92).
Lijn de openingen in de draaibeugel uit met de openingen in het eindkanaal (Figuur 92).
Plaats de draaipen en zet deze vast met de flensbout en de flensborgmoer die u in stap 3 verwijderd hebt.
Herhaal stap 2 tot en met 8 voor de andere buitenste spuitboom.
De volgende procedure kan worden gebruikt voor het instellen van de actuators op het midden om linker en rechter spuitboom op hetzelfde niveau te houden.
Klap de spuitbomen in de spuitstand.
Verwijder de borgpen van de draaipen (Figuur 93).

Til de spuitboom op en verwijder de pen (Figuur 93), en laat de spuitboom langzaam op de grond zakken.
Controleer de pen op beschadigingen en vervang deze indien dit nodig is.
Zet een moersleutel op de platte kanten van de actuatorstang om deze te immobiliseren en zet vervolgens de contramoer los zodat de stang met het oog kan worden bewogen (Figuur 94).

Draai de oogstang in de actuatorstang om de uitstekende actuator te verkorten of te verlengen tot de gewenste stand (Figuur 94).
Note: Draai de stang met het oog in halve of volledige slagen zodat u de stang aan de spuitboom kunt monteren.
Zodra de gewenste positie is bereikt, bevestigt u de contramoer om de actuator en de oogstang vast te zetten.
Hef de spuitboom op zodat het draaipunt en de actuatorstang zich in een lijn bevinden.
Houd de spuitboom vast en steek de pen door het draaipunt van de spuitboom en de actuatorstang (Figuur 93).
Als de pen op zijn plaats is, laat u de spuitboom los en zet u de pen vast met de borgpen die u eerder hebt verwijderd.
Herhaal deze procedure indien nodig bij alle andere lagers van de actuatorstang.
Important: Gebruik geen brak of teruggewonnen water om de machine schoon te maken.
| Onderhoudsinterval | Onderhoudsprocedure |
|---|---|
| Om de 200 bedrijfsuren |
|
Het volledige spuitsysteem grondig uitspoelen en aftappen.
Verwijder de vloeistofstroommeter en spoel deze af met schoon water.
Verwijder de borgring aan de stroomopwaartse kant (Figuur 95).

Reinig de turbine en de turbinenaaf om metaalvijlsel en bevochtigbaar poeder te verwijderen.
Controleer de turbinebladen op slijtage.
Note: Houd de turbine in uw hand en laat deze draaien. De turbine moet vrij kunnen draaien en mag niet te veel aanlopen. Als de turbine niet vrij draait of erg aanloopt, moet u deze vervangen.
Monteer de vloeistofstroommeter.
Gebruik lichte luchtdruk (0,34 bar) om ervoor te zorgen dat de turbine vrij draait.
Note: Als de turbine niet vrij draait, geef dan de zeskantige pal aan de onderkant van de turbinenaaf 1/16 draai tot de turbine vrij draait.
Doe het volgende voordat u de bestuurdersstoel verlaat:
Parkeer de machine op een horizontaal oppervlak.
Schakel de spuitpomp uit.
Stel de parkeerrem in werking.
Zet de motor uit en verwijder het sleuteltje (indien aanwezig).
Wacht totdat alle bewegende onderdelen tot stilstand zijn gekomen.
Laat de machine afkoelen voordat u er instellingen of onderhoud aan verricht, of de machine schoonmaakt of stalt.
Bewaar de machine en het brandstofvat niet op plaatsen waar open vlammen, vonken of waakvlammen (bv. van een boiler of een ander toestel) aanwezig kunnen zijn.
Voer de volgende procedures uit:
Important: Gebruik geen brak of teruggewonnen water om de machine schoon te maken.
Parkeer de machine op een horizontaal vlak, stel de parkeerrem in werking, zet de spuitpomp en de motor af, verwijder het contactsleuteltje en wacht totdat alle bewegende onderdelen tot stilstand zijn gekomen voordat u de machine verlaat.
Note: Voor modellen uit de HD-serie en de HDX-serie met een handgeschakelde versnellingsbak schakelt u de aftakas uit.
Verwijder vuil en vet van het hele voertuig, inclusief de buitenkant van de koelribben van de cilinderkop en de ventilatorbehuizing.
Important: U kunt het voertuig met een mild reinigingsmiddel en water wassen. Doe dit niet met een hogedrukreiniger. Daardoor kan het elektrische systeem worden beschadigd of noodzakelijk vet op wrijvingspunten worden weggespoeld. Gebruik niet te veel water in de buurt van het bedieningspaneel, de verlichting, de motor en de accu.
Verplaats de machine naar het gebied met de afvoerplaat, stel de parkeerrem in werking, schakel de spuitpomp uit, zet de motor af, verwijder het contactsleuteltje en wacht totdat alle bewegende onderdelen tot stilstand zijn gekomen voordat u de bestuurdersplaats verlaat.
Laat de schoonwatertank leeglopen en laat de tapkraan open.
Laat de spuittank zo grondig mogelijk leeglopen.
Bereid een roestwerend, niet-alcoholgebaseerd antivriesmiddel voor motorvoertuigen voor; zie De conditioner voorbereiden.
Verwijder 1 van de drukgevoelige buizen van de push-to-connect koppelingen zoals getoond in Figuur 96.

Start de motor en laat de buitenste spuitbomen neer.
Laat de spuitpomp een paar minuten lopen zodat de antivries voor motorvoertuigen door het spuitsysteem en eventueel gemonteerde spuitaccessoires stroomt.
Zet de schakelaars van de linker-, middelste en rechterspuitboom AAN.
Zet de hoofdschakelaar van de spuitbomen AAN en controleer het volgende:
Zorg dat er antivriesmiddel uit het afgekoppelde uiteinde van de drukmeetbuis stroomt.
Laat de spuitdop spuiten tot het antivriesmiddel voor motorvoertuigen zichtbaar is.
Zet de hoofdschakelaar van de spuitbomen op UIT.
Draai de pompschakelaar op UIT.
Laat de buitenste spuitbomen omhoog komen met behulp van de hefschakelaars van de spuitbomen.
Hef de spuitbomen op totdat zij geheel kruiselings over elkaar in de transportstand in de transporthouder zijn gezet en de hefcilinders volledig zijn teruggetrokken.
Note: Zorg ervoor dat de hefcilinders volledig zijn teruggetrokken om beschadiging van de actuatorstang te voorkomen.
Zet de motor af.
Laat de spuittank zo grondig mogelijk leeglopen.
Smeer de spuitmachine; zie Smering.
Controleer alle bouten, schroeven en moeren en draai deze vast.
Note: Vervang of repareer versleten of beschadigde onderdelen.
Controleer de staat van alle spuitslangen.
Note: Vervang versleten en beschadigde slangen.
Draai alle slangaansluitingen vast.
Werk alle krassen en afgebladderde metaaloppervlakken bij met lak die verkrijgbaar is bij uw erkende Toro distributeur.
Indien nodig, maak de machine klaar voor langduring stalling, raadpleeg de Gebruikershandleiding van uw machine.
Stal de machine in een schone, droge garage of opslagruimte.
Dek de machine af om deze te beschermen en schoon te houden.
Plaats de drukgevoelige buis in de pushh-to-connect koppeling tot deze niet meer verder kan (Figuur 97).

Sluit de tapkraan van de schoonwatertank.
Voeg brandstof toe aan de brandstoftank.
Geef de machine een onverhoudsbeurt; raadpleeg de Gebruikershandleiding van uw machine.
Vermogen hefwerktuig: 408 kg
Bij het omgaan met de spuittankconstructie moet u rekening houden met een gevaar door opgeslagen energie. Als de constructie niet goed is vastgezet bij het monteren of verwijderen kan deze bewegen of vallen, waardoor u of anderen letsel kunnen oplopen.
Gebruik altijd riemen en een hefinrichting om de spuittankconstructie te ondersteunen tijdens monteren, verwijderen en onderhoudswerkzaamheden waarbij u bevestigingsmateriaal verwijdert.
Koppel de accukabels los van de accu; zie De accu afkoppelen.
Maak de zekeringhouder van de spuitmachine los van de zekeringhouder van de machine, en koppel de bedrading tussen de 2 zekeringhouders los; zie De zekeringenhouder van de spuitmachine monteren.
Verwijder de kabelboom van de J-clips; zie De achterste kabelboom van de spuitmachine naar het bedieningspaneel leiden.
Zet de handknop onder het paneel los en verwijder de R-pen; zie Het bedieningspaneel op de machine monteren.
Maak de kabels waarmee de zekeringhouder voor de spuitmachine aangesloten is op de zekeringhouder van de machine los; zie De zekeringenhouder van de spuitmachine monteren.
Maak de zekeringhouder van de spuitmachine los van de zekeringhouder van de machine; zie De zekeringenhouder van de spuitmachine monteren.
Verwijder het paneel van de montagebeugel van het paneel aan het dashboard van de machine en lijn de draaipen van het bedieningspaneel uit met de opberghaak aan de voorste tankband (Figuur 98); zie Het bedieningspaneel op de machine monteren.

Monteer het paneel op de beugel en bevestig de draaipen met de R-pen aan de beugel (Figuur 98).
Vermogen hefwerktuig: 408 kg
Zet de voorste assteun op een lijn met de assteunbeugel aan de voorkant van de tank (Figuur 99).

Steek de assteun in de beugel tot het middelste gat in de horizontale buis van de assteun op één lijn is met het gat bovenaan de beugel (Figuur 99).
Steek de gaffelpen (½" x 3") in de gaten in de assteun en beugel, en bevestig de gaffelpen met een R-pen (5/32" x 2⅝").
Draai een borgknop in de assteunbeugel en draai deze handvast (Figuur 99).
Lijn de achterste assteun uit met de beugel van de achterste assteun (Figuur 100).

Lijn het gat bovenaan de assteun uit met het gat in het tankframe (Figuur 100).
Bevestig de assteun aan de beugel en het frame met 2 gaffelpennen (½" x 4½") en 2 R-pennen (5/32" x 2⅝") zoals in Figuur 100.
Herhaal stap 1 tot 7 voor de voorste en achterste assteun aan de andere zijde van het tankframe.
Gebruik de steunpoot en het voorste assteunverlengstuk om de assteunen te verlengen.

Laat de spuitbomen zakken tot ongeveer 45° en draai ze dan naar voren (Figuur 102).

Verwijder aan beide kanten van de machine de 2 bouten (½" x 1½") en 2 borgmoeren (½") waarmee de steunbeugel voor het tankframe bevestigd is aan de machine, zie Het tankframe laten zakken.
Til het tankframe op met de hefcilinders, monteer de cilindervergrendeling, en doe het volgende:
Note: Zie De tank overeind zetten.
Voor Workman-modellen uit de HD- en HDX-serie met manuele transmissie koppelt u de aftakas los van de transaxle; raadpleeg de montage-instructies van de egalisatieset voor de Multi Pro WM gazonspuitmachine, Workman multifunctioneel voertuig met manuele transmissie.
Koppel de bedrading van de snelheidssensor af; zie De kabelboom van de snelheidssensor aansluiten (modellen uit de HD-serie met manuele transmissie).
Verwijder de cilindervergrendeling en laat het tankframe zakken met de hefcilinders; zie De tankconstructie omlaag brengen.
Bevestig het hefwerktuig aan de horizontale buizen van de voorste assteunen en de verticale stang van de achterste assteunen (Figuur 102).
Breng de tankconstructie 7,5 tot 10 cm omhoog en verwijder de lynchpennen en gaffelpennen waarmee de hefcilinders aan de tank zijn bevestigd.
Til het tankframe hoog genoeg van de machine om het frame van de machine te kunnen nemen (Figuur 102).
Rij het voertuig voorzichtig naar voren, onder het tankframe uit.
Laat het tankframe langzaam neer op de grond.
| Problem | Possible Cause | Corrective Action |
|---|---|---|
| Een spuitboom werkt niet. |
|
|
| Een spuitboom kan niet worden uitgeschakeld. |
|
|
| Een klep van een spuitboom lekt. |
|
|
| De spuitdop(pen) druppelt/druppelen wanneer de spuitboomschakelaar(s) uitgeschakeld wordt/worden. |
|
|
| De druk daalt als u een spuitboom inschakelt. |
|
|
