| Périodicité d'entretien | Procédure d'entretien |
|---|---|
| À chaque utilisation ou une fois par jour |
|
Cette tondeuse autoportée à lames rotatives est destinée au grand public, aux professionnels et aux utilisateurs temporaires. Elle est principalement conçue pour tondre les pelouses entretenues régulièrement des terrains privés et commerciaux. Elle n'est pas conçue pour couper les broussailles ni pour un usage agricole.
Lisez attentivement cette notice pour apprendre comment utiliser et entretenir correctement votre produit, et éviter de l'endommager ou de vous blesser. Vous êtes responsable de l'utilisation sûre et correcte du produit.
Vous pouvez contacter Toro directement sur www.Toro.com pour tout document de formation à la sécurité et à l'utilisation des produits, pour tout renseignement concernant un produit ou un accessoire, pour obtenir l'adresse des dépositaires ou pour enregistrer votre produit.
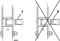
Pour obtenir des prestations de service, des pièces Toro d'origine ou des renseignements complémentaires, munissez-vous des numéros de modèle et de série du produit et contactez un dépositaire-réparateur ou le service client Toro agréé. La Figure 1 indique l'emplacement des numéros de modèle et de série du produit. Inscrivez les numéros dans l'espace réservé à cet effet.
Important: Avec votre appareil mobile, vous pouvez scanner le code QR (le cas échéant) sur l’autocollant du numéro de série afin d’accéder à l'information sur la garantie, les pièces et autres renseignements concernant le produit.

Les mises en garde de ce manuel soulignent des dangers potentiels et sont signalées par le symbole de sécurité (Figure 2), qui indique un danger pouvant entraîner des blessures graves ou mortelles si les précautions recommandées ne sont pas respectées.

Ce manuel utilise deux termes pour faire passer des renseignements essentiels. Important pour attirer l'attention sur une information d'ordre mécanique spécifique, et Remarque pour souligner une information d'ordre général méritant une attention particulière.
Vous commettez une infraction à la section 4442 ou 4443 du Code des ressources publiques de Californie si vous utilisez cette machine dans une zone boisée, broussailleuse ou recouverte d'herbe, à moins d'équiper le moteur d'un pare-étincelles en bon état, tel que défini dans la section 4442, ou à moins que le moteur soit construit, équipé et entretenu correctement pour prévenir les incendies.
Couple brut ou net :
Ce produit est conforme à toutes les directives européennes pertinentes. Pour plus de renseignements, reportez-vous à la Déclaration de conformité spécifique du produit fournie séparément. Le couple brut ou net de ce moteur a été calculé en laboratoire par le constructeur du moteur selon la norme SAE J1940 ou J2723 de la Society of Automotive Engineers. Étant configuré pour satisfaire aux normes de sécurité, antipollution et d'exploitation, le moteur monté sur cette classe de tondeuse aura un couple effectif nettement inférieur. Reportez-vous au manuel du constructeur du moteur fourni avec la machine.
Reportez-vous au manuel du constructeur du moteur fourni avec la machine.
CALIFORNIE
Proposition 65 - Avertissement
L'état de Californie considère les gaz d'échappement des moteurs diesel et certains de leurs composants comme susceptibles de provoquer des cancers, des malformations congénitales et autres troubles de la reproduction.
Les bornes de la batterie et accessoires connexes contiennent du plomb et des composés de plomb. L'état de Californie considère ces substances chimiques comme susceptibles de provoquer des cancers et des troubles de la reproduction. Lavez-vous les mains après avoir manipulé la batterie.
L'utilisation de ce produit peut entraîner une exposition à des substances chimiques considérées pas l'état de Californie comme capables de provoquer des cancers, des anomalies congénitales ou d'autres troubles de la reproduction.
Ce produit peut sectionner les mains ou les pieds et projeter des objets. Respectez toujours toutes les consignes de sécurité pour éviter des blessures graves.
L'utilisation de ce produit à d'autres fins que celle qui est prévue peut être dangereuse pour l'utilisateur et les personnes à proximité.
Gardez toujours l'arceau de sécurité complètement relevé et bloqué en position, et attachez la ceinture de sécurité.
Accordez toute votre attention à l'utilisation de la machine. Ne faites rien d’autre qui puisse vous distraire, au risque de causer des dommages corporels ou matériels.
N'utilisez pas la machine près de fortes dénivellations, fossés, berges, étendues d'eau ou tout autre danger, ni sur des pentes de plus de 15 degrés.
Vous devez lire et comprendre le contenu de ce Manuel de l'utilisateur avant de démarrer le moteur.
N'approchez pas les mains ou les pieds des composants mobiles de la machine.
N'utilisez pas la machine si tous les capots et autres dispositifs de protection appropriés ne sont pas en place et en bon état de marche.
N'admettez jamais d'enfants ni qui que ce soit dans le périmètre de travail. N'autorisez jamais un enfant à utiliser la machine.
Arrêtez la machine, coupez le moteur et enlevez la clé avant d'effectuer un entretien, de faire le plein de carburant ou d'éliminer une obstruction sur la machine.
L'usage ou l'entretien incorrect de cette machine peut occasionner des accidents. Pour réduire les risques d'accidents et de blessures, respectez les consignes de sécurité qui suivent. Tenez toujours compte des mises en garde signalées par le symbole de sécurité et la mention Prudence, Attention ou Danger. Le non respect de ces instructions peut entraîner des blessures graves voire mortelles.
Vous trouverez d'autres consignes de sécurité, le cas échéant, en vous reportant aux sections respectives dans ce manuel.

![]() |
Des autocollants de sécurité et des instructions bien visibles par l'opérateur sont placés près de tous les endroits potentiellement dangereux. Remplacez tout autocollant endommagé ou manquant. |


























Familiarisez-vous avec toutes les commandes avant de mettre le moteur en marche et d'utiliser la machine.

Reportez-vous au Guide du logiciel pour une explication détaillée de l'interface utilisateur qui vous permet d'accéder aux données, de remettre les compteurs à zéro, de modifier les réglages du système et de dépanner l’équipement.

L’écran d’information affiche les données relatives au fonctionnement de la machine; voir le Guide du logiciel pour plus de détails.
Les boutons multifonction sont situés au bas du panneau de commande. Les icônes affichées sur l'écran d'information au-dessus des boutons indiquent la fonction actuelle. Les boutons permettent de choisir le régime moteur et de se déplacer parmi les menus du système.
Reportez-vous au Guide du logiciel pour plus de détails.
La diode est multicolore pour indiquer l'état du système et est située sur le côté droit du panneau. Durant le démarrage, la diode passe du rouge à l'orange puis au vert pour confirmer la fonctionnalité.
Vert continu – indique un fonctionnement normal
Rouge clignotant – indique qu’une anomalie est active
Vert et orange clignotant – indique qu’une réactivation de l’embrayage est nécessaire
Reportez-vous au Guide du logiciel pour plus de détails.
Lorsqu'une anomalie se produit, un message d'erreur s'affiche, la diode devient rouge et l'alarme retentit comme suit :
Un signal sonore rapide indique des erreurs critiques.
Un signal sonore lent indique des erreurs moins graves, comme les intervalles d'entretien ou de maintenance.
Note: Durant le démarrage, l'alarme retentit brièvement pour confirmer la fonctionnalité.
Reportez-vous au Guide du logiciel pour plus de détails.
Le compteur horaire totalise les heures de fonctionnement du moteur. Il fonctionne quand le moteur tourne. Programmez les entretiens réguliers en fonction du nombre d'heures indiqué (Figure 5).
Les heures sont affichées sur l’écran Arrêt du moteur ou dans le menu Compteur horaire du moteur.
Reportez-vous au Guide du logiciel pour plus de détails.
L'accélérateur commande le régime moteur et a 3 positions de réglage : haut régime, régime économique et bas régime.
Reportez-vous au Guide du logiciel pour plus de détails.
Poussez la commande vers l’arrière pour élever le tablier central et replier les tabliers latéraux.
Poussez la commande vers l’avant pour abaisser le tablier central et déplier les tabliers latéraux.
La commande des lames (PDF) engage et désengage les lames du tablier de coupe (Figure 5).
L'indicateur LCD s'affiche sur l'écran d'information quand la commande de PDF est désengagée.
Note: Les machines équipées de l'écran d'affichage Horizon possèdent un économiseur d'embrayage qui permet au papillon de réduire automatiquement le régime du moteur quand vous désengagez la PDF. Lorsque engagez ou désengagez la PDF, le papillon alterne entre le mode TONTE et le mode TRANSPORT.
Note: Le système permet de démarrer la machine quand la PDF est engagée, mais il n'engage pas les lames. Pour engager la PDF, vous devez réinitialiser la commande de PDF en la désengageant puis en la ré-engageant.
Important: Vous devez déplier les tabliers latéraux pour pouvoir engager la PDF.
Utilisez la position de VERROUILLAGE AU POINT MORT avec le système de sécurité pour engager et déterminer la position POINT MORT.
Utilisez ce commutateur pour démarrer le moteur. Il a trois positions : DéMARRAGE, CONTACT et ARRêT.
Note: Les indicateurs LCD apparaissent lorsque chaque commande passe en mode « démarrage en sécurité » (par ex. l'indicateur s'allume lorsque vous êtes sur le siège.)
Note: L'ECU du moteur commande les bougies de préchauffage lors des démarrages à froid. Si la température du liquide de refroidissement est trop basse, le symbole de préchauffage s'affiche sur l'écran et le démarreur ne fonctionne pas quand vous tournez la clé à la position DéMARRAGE. Les bougies de préchauffage sont activées quand la clé à est à la position CONTACT ou DéMARRAGE. Quand le préchauffage a été suffisant pour la température actuelle, le symbole de préchauffage disparaît de l'écran et le moteur démarre quand vous tournez la clé à la position DéMARRAGE.
Note: Le système permet de démarrer la machine avec la PDF engagée, mais il n'engage pas les lames. Vous devez réinitialiser la PDF pour pouvoir l'engager.
Une sélection d'outils et accessoires agréés par Toro est disponible pour augmenter et améliorer les capacités de la machine. Pour obtenir la liste de tous les accessoires et outils agréés, contactez votre dépositaire-réparateur ou votre distributeur Toro agréé, ou rendez-vous sur www.Toro.com.
Pour garantir un rendement optimal et conserver la certification de sécurité de la machine, utilisez uniquement des pièces de rechange et accessoires Toro d'origine. Les pièces de rechange et accessoires d'autres constructeurs peuvent être dangereux et leur utilisation risque d'annuler la garantie de la machine.
| Largeur de coupe | 243,8 cm (96 po) |
| Largeur hors tout | Largeur de travail – 257,3 cm (101-5/16 po) |
| Largeur de transport réglée à la hauteur de coupe de 7,6 mm (3 po) – 184,2 cm (72½ po) | |
| Longueur hors tout | 247,1 cm (97¼ po) |
| Hauteur hors tout | Arceau de sécurité relevé – 182,4 cm (71-13/16 po) |
| Arceau de sécurité abaissé – 129,5 cm (51 po) | |
| Voie (entraxe des pneus, dans le sens de la largeur) | Roues motrices – 117 cm (46-1/16 po) |
| Roues pivotantes – 120,7 cm (47½ po) | |
| Empattement (entraxe des pneus des roues pivotantes à entraxe des pneus des roues motrices) | 143 cm (56-5/16 po) |
| Poids total | 1172 kg (2 584 lb) |
Note: Les côtés gauche et droit de la machine sont déterminés d'après la position d'utilisation normale.
Ne confiez jamais l'utilisation ou l'entretien de la machine à des enfants ou à des personnes non qualifiées. La réglementation locale peut imposer un âge minimum pour les utilisateurs. Le propriétaire de la machine doit assurer la formation de tous les utilisateurs et mécaniciens.
Familiarisez-vous avec le maniement correct du matériel, les commandes et les symboles de sécurité.
Apprenez à arrêter la machine et à couper le moteur rapidement.
Vérifiez toujours que les commandes de présence de l'utilisateur, les contacteurs de sécurité et les capots de protection sont en place et fonctionnent correctement. N'utilisez pas la machine en cas de mauvais fonctionnement.
Avant de tondre, vérifiez toujours que les lames, les boulons de lame et les ensembles de coupe sont en bon état de marche. Remplacez les boulons et les lames usés ou endommagés par paires pour ne pas modifier l'équilibre.
Inspectez la zone de travail et enlevez tout objet pouvant être projeté par la machine.
Examinez la zone de travail pour déterminer quels accessoires ou outils et équipements sont nécessaires pour utiliser la machine correctement et sans risque.
Pour éviter de vous blesser ou de causer des dommages matériels, manipulez le carburant avec une extrême prudence. Les vapeurs de carburant sont inflammables et explosives.
Éteignez cigarettes, cigares, pipes et autres sources d'étincelles.
Utilisez exclusivement un bidon à carburant homologué.
N'enlevez pas le bouchon du réservoir de carburant et n'ajoutez pas de carburant quand le moteur tourne ou est encore chaud.
Ne faites pas le plein du réservoir dans un local fermé.
Ne remisez pas la machine ni les bidons de carburant à proximité d'une flamme nue, d'une source d'étincelles ou d'une veilleuse, telle celle d'un chauffe-eau ou d'autres appareils.
Ne remplissez pas les bidons de carburant à l'intérieur d'un véhicule ou sur le plateau d'une remorque ou d'un camion dont le revêtement est en plastique. Posez toujours les bidons sur le sol, à l'écart du véhicule, avant de les remplir.
Descendez la machine du véhicule ou de la remorque et posez-la à terre avant de remplir le réservoir de carburant. Si cela n'est pas possible, laissez la machine dans le véhicule ou sur la remorque, mais remplissez le réservoir à l'aide d'un bidon, et non directement à la pompe.
N'utilisez pas la machine si elle n'est pas équipée du système d'échappement complet et en bon état de marche.
Maintenez le pistolet en contact avec le bord du réservoir ou du bidon jusqu'à la fin du remplissage. N'utilisez pas de dispositif de verrouillage du pistolet en position ouverte.
Si du carburant s'est répandu sur vos vêtements, changez-vous immédiatement. Essuyez tout carburant répandu.
Ne remplissez jamais excessivement le réservoir de carburant. Remettez le bouchon du réservoir de carburant en place et serrez-le fermement.
Conservez le carburant dans un récipient homologué et hors de la portée des enfants. N'achetez et ne stockez jamais plus que la quantité de carburant consommée en un mois.
Ne remplissez pas complètement le réservoir de carburant. Versez la quantité de carburant nécessaire pour que le niveau se situe entre 6 et 13 mm (¼ et ½ po) en dessous de la base du goulot de remplissage. L'espace au-dessus doit rester vide pour permettre au carburant de se dilater.
Évitez de respirer les vapeurs de carburant de façon prolongée.
N'approchez pas le visage du pistolet ou de l'ouverture du réservoir de carburant.
Évitez tout contact avec la peau et lavez tout liquide renversé à l'eau et au savon.
Le moteur fonctionne avec du gazole propre et frais ayant un indice de cétane minimum de 40. Pour garantir la fraîcheur du carburant, n'achetez pas plus que la quantité normalement consommée en un mois.
Utilisez du carburant diesel de qualité été (nº 2-D) si la température ambiante est supérieure à -7 °C (20 °F) et du carburant diesel de qualité hiver (nº 1-D ou mélange nº 1-D/2-D) en dessous de cette température. L'usage de carburant diesel de qualité hiver à basses températures réduit le point d'éclair et le point d'écoulement, ce qui facilite le démarrage et réduit les risques de séparation chimique du carburant due aux basses températures (aspect visqueux susceptible de colmater les filtres).
L'usage de carburant diesel de qualité été au-dessus de -7 °C (20 °F) contribue à prolonger la vie des composants de la pompe.
Important: N'utilisez pas de kérosène ou d'essence à la place du carburant diesel, sous peine d'endommager le moteur.
Cette machine peut aussi utiliser un mélange carburant et biodiesel jusqu'à B20 (20 % biodiesel, 80 % pétrodiesel). La partie carburant diesel doit être à très faible teneur en soufre.
Prenez les précautions suivantes :
La partie biodiesel du carburant doit être conforme à la norme ASTM D6751 ou EN 14214.
Le mélange de carburant doit être conforme à la norme ASTM D975 ou EN 590.
Les surfaces peintes peuvent être endommagées par les mélanges biodiesel.
Utilisez du B5 (teneur en biodiesel de 5 %) ou un mélange de plus faible teneur par temps froid.
Examiner régulièrement les joints et flexibles en contact avec le carburant, car ils peuvent se détériorer avec le temps.
Le filtre à carburant peut se colmater pendant quelque temps après l'adoption de mélanges au biodiesel.
Contactez votre distributeur pour plus de renseignements sur le biodiesel.
Garez la machine sur une surface plane et horizontale.
Serrez le frein de stationnement.
Coupez le moteur et enlevez la clé.
Nettoyez la surface autour du bouchon du réservoir de carburant.
Remplissez le réservoir de carburant jusqu'au bas du goulot de remplissage (Figure 7).
Note: Ne remplissez pas complètement le réservoir de carburant. L'espace vide dans le réservoir permet au carburant de se dilater.

Avant de démarrer la machine chaque jour, effectuez les procédures décrites à la section .
Les moteurs neufs demandent un certain temps pour développer toute leur puissance. Les tabliers de coupe et les systèmes d'entraînement neufs présentent plus de friction, ce qui augmente la charge sur le moteur. Prévoyez 40 à 50 heures de rodage pour les machines neuves pour leur permettre de développer toute leur puissance et procurer des performances optimales.
Pour éviter de vous blesser, parfois mortellement, en vous retournant, gardez l'arceau de sécurité complètement déployé et bloqué dans cette position, et attachez la ceinture de sécurité.
Vérifiez que le siège est fixé à la machine.
La protection antiretournement est inexistante si l'arceau de sécurité est abaissé.
N'abaissez l'arceau de sécurité qu'en cas d'absolue nécessité.
N'attachez pas la ceinture de sécurité lorsque l'arceau de sécurité est abaissé.
Conduisez lentement et prudemment.
Déployez l'arceau de sécurité dès que possible.
Vérifiez précisément la hauteur libre avant de passer sous un obstacle (par ex. branches, portes, câbles électriques, etc.) et évitez de le toucher.
Important: N'abaissez l'arceau de sécurité qu'en cas d'absolue nécessité.
Important: Attachez toujours la ceinture de sécurité quand l'arceau de sécurité est relevé.
Levez l'arceau de sécurité à la position d'utilisation et tournez les boutons de sorte à les déplacer partiellement dans les rainures (Figure 9).
Redressez complètement l'arceau de sécurité tout en poussant sur la partie supérieure; les goupilles s'engagent en position quand les trous sont en face (Figure 9).
Appuyez sur l'arceau de sécurité et vérifiez que les deux goupilles sont engagées (Figure 9).

Si les contacteurs de sécurité sont déconnectés ou endommagés, la machine peut se mettre en marche inopinément et causer des blessures.
Ne modifiez pas abusivement les contacteurs de sécurité.
Vérifiez chaque jour le fonctionnement des contacteurs de sécurité et remplacez ceux qui sont endommagés avant d'utiliser la machine.
Le système de sécurité est conçu pour empêcher le démarrage du moteur, sauf si :
Le frein de stationnement est serré.
La commande des lames (PDF) est désengagée.
Les leviers de commande de déplacement sont en position de BLOCAGE DU POINT MORT.
Le système de sécurité est également conçu pour couper le moteur si vous sortez les leviers de commande de déplacement de la position de BLOCAGE DU POINT MORT alors que le frein de stationnement est serré, ou si vous quittez le siège alors que la PDF est engagée.
L’écran d’affichage Horizon comporte des symboles qui indiquent à l'utilisateur quand le composant de verrouillage de sécurité est à la position correcte. Lorsque le composant est à la position correcte, le symbole correspondant s'affiche à l’écran.

| Périodicité d'entretien | Procédure d'entretien |
|---|---|
| À chaque utilisation ou une fois par jour |
|
Contrôlez le système de sécurité avant chaque utilisation de la machine. Si le système de sécurité ne fonctionne pas comme spécifié ci-dessous, faites-le immédiatement réviser par un dépositaire-réparateur agréé.
Asseyez-vous sur le siège, serrez le frein de stationnement et amenez la commande des lames (PDF) en position ENGAGéE. Essayez de démarrer le moteur; le moteur ne doit pas démarrer.
Asseyez-vous sur le siège, serrez le frein de stationnement et amenez la commande des lames (PDF) en position DéSENGAGéE. Sortez un des leviers de commande de déplacement de la position de BLOCAGE DU POINT MORT. Essayez de démarrer le moteur; le moteur ne doit pas démarrer. Répétez la manœuvre pour l'autre levier de commande.
Asseyez-vous sur le siège, serrez le frein de stationnement, placez la commande des lames (PDF) en position DéSENGAGéE et amenez l'un des leviers de commande de déplacement à la position de BLOCAGE DU POINT MORT. Mettez alors le moteur en marche. Lorsque le moteur tourne, desserrez le frein de stationnement, engagez la commande des lames (PDF) et soulevez-vous légèrement du siège; le moteur doit s'arrêter.
Asseyez-vous sur le siège, serrez le frein de stationnement, placez la commande des lames (PDF) en position DéSENGAGéE et amenez l'un des leviers de commande de déplacement à la position de BLOCAGE DU POINT MORT. Mettez alors le moteur en marche. Lorsque le moteur tourne, centrez l'un des leviers de déplacement et déplacez la machine (en marche avant ou arrière); le moteur doit s'arrêter. Répétez l'opération pour l'autre levier de commande.
Asseyez-vous sur le siège, desserrez le frein de stationnement, DéSENGAGEZ la commande des lames (PDF) et amenez l'un des leviers de commande de déplacement à la position de BLOCAGE DU POINT MORT. Essayez de démarrer le moteur; le moteur ne doit pas démarrer.
Vous pouvez avancer ou reculer le siège. Amenez le siège à la position la plus confortable pour vous, et offrant le meilleur contrôle pour la conduite.
Poussez le levier de réglage sur le côté pour débloquer et régler le siège (Figure 11).


Le siège peut être réglé pour offrir un confort optimal. Réglez le siège à la position la plus confortable pour vous.
Pour ce faire, tournez le bouton avant dans un sens ou dans l'autre pour obtenir la position la plus confortable (Figure 13).

Le propriétaire/l'utilisateur est responsable des accidents pouvant entraîner des dommages corporels et matériels et peut les prévenir.
Portez des vêtements appropriés, y compris une protection oculaire, un pantalon, des chaussures solides à semelle antidérapante et des protecteurs d'oreilles. Si vos cheveux sont longs, attachez-les; ne portez pas de bijoux pendants.
N'utilisez pas la machine si vous êtes malade ou fatigué(e), ni sous l'emprise de l'alcool, de drogues ou de médicaments.
Ne transportez jamais de passagers sur la machine et tenez les autres personnes et les animaux domestiques à l'écart de la zone de travail.
N'utilisez la machine que si la visibilité est bonne pour éviter les trous ou autres dangers cachés.
Évitez de tondre quand l'herbe est humide, car la perte de motricité peut faire déraper la machine.
Assurez-vous que tous les embrayages sont au point mort, que le frein de stationnement est serré et que vous êtes au poste d'utilisation avant de mettre le moteur en marche.
N'approchez pas les pieds et les mains des unités de coupe. Ne vous tenez jamais devant l'ouverture d'éjection.
Avant de faire marche arrière, vérifiez que la voie est libre juste derrière la machine et sur sa trajectoire.
Faites preuve de prudence à l'approche de tournants sans visibilité, de buissons, d'arbres ou d'autres objets susceptibles de gêner la vue.
Ne tondez pas à proximité de fortes dénivellations, de fossés ou de berges. La machine pourrait se retourner brusquement si une roue passe par-dessus une dénivellation quelconque et se retrouve dans le vide, ou si un bord s'effondre.
Arrêtez toujours les lames quand vous ne tondez pas.
Arrêtez la machine, coupez le moteur, enlevez la clé et vérifiez l'état des lames si vous heurtez un obstacle ou si la machine vibre de manière inhabituelle. Effectuez toutes les réparations nécessaires avant de réutiliser la machine.
Ralentissez et faites preuve de prudence quand vous changez de direction, ainsi que pour traverser des routes et des trottoirs avec la machine. Cédez toujours la priorité.
Débrayez l'unité de coupe, coupez le moteur et enlevez la clé avant de régler la hauteur de coupe (à moins de pouvoir le faire depuis le poste de conduite).
Ne faites jamais tourner le moteur dans un local ne permettant pas d'évacuer les gaz d'échappement.
Ne laissez jamais la machine en marche sans surveillance.
Avant de quitter le poste d'utilisation (y compris pour vider les bacs de ramassage ou pour déboucher la goulotte), effectuez la procédure suivante :
Arrêtez la machine sur un sol plat et horizontal.
Désengagez la prise de force et abaissez les accessoires.
Serrez le frein de stationnement.
Coupez le moteur et enlevez la clé.
Attendez l'arrêt complet de toutes les pièces mobiles.
N'utilisez pas la machine si la foudre menace.
N'utilisez pas la machine pour tracter quoi que ce soit, à moins qu’elle ne soit équipée d’un dispositif d’attelage.
Ne modifiez pas le réglage du régulateur et ne faites pas tourner le moteur à un régime excessif.
Utilisez uniquement les accessoires et équipements agréés par Toro.
Cette machine produit au niveau de l'oreille de l'utilisateur un niveau sonore de plus de 85 dBA qui peut entraîner des déficiences auditives en cas d'exposition prolongée.

Ne retirez pas l'arceau de sécurité de la machine.
Attachez bien la ceinture de sécurité et apprenez à la détacher rapidement en cas d'urgence.
Attachez toujours la ceinture de sécurité quand l'arceau de sécurité est relevé.
Vérifiez soigneusement où se trouvent les obstacles en hauteur et ne les touchez pas.
Maintenez l'arceau de sécurité en bon état en vérifiant minutieusement et régulièrement s'il est endommagé et en gardant toutes les fixations bien serrées.
Remplacez l'arceau de sécurité s'il est endommagé. Ne le réparez pas et ne le modifiez pas.
Les pentes augmentent significativement les risques de perte de contrôle et de retournement de la machine pouvant entraîner des accidents graves, voire mortels. L'utilisateur est responsable de la sécurité d'utilisation de la machine sur les pentes. L'utilisation de la machine sur une pente, quelle qu'elle soit, demande une attention particulière. Avant d'utiliser la machine sur une pente, vous devez :
Lire et comprendre les instructions relatives à l'utilisation sur les pentes qui figurent dans le manuel et sur la machine.
Utiliser l'indicateur d'angle pour déterminer l'angle approximatif de la pente sur laquelle vous devez travailler.
Ne travaillez jamais sur des pentes de plus de 15 degrés.
Évaluer chaque jour l'état du terrain pour déterminer si la pente permet d'utiliser la machine sans risque. Faites preuve de bon sens et de discernement lors de cette évaluation. Les conditions changeantes du terrain, telle l'humidité, peuvent rapidement modifier le fonctionnement de la machine sur les pentes.
Repérez les dangers potentiels depuis le bas de la pente. N'utilisez pas la machine près de fortes dénivellations, fossés, berges, étendues d'eau ou autres dangers. La machine pourrait se retourner brusquement si une roue passe par-dessus une dénivellation quelconque et se retrouve dans le vide, ou si un bord s'effondre. Maintenez une distance de sécurité (deux fois la largeur de la machine) entre la machine et tout danger potentiel. Utilisez une tondeuse autotractée ou une débroussailleuse manuelle pour tondre sur ce type de terrain.
Évitez de démarrer, de vous arrêter ou de tourner sur les pentes. Ne changez pas soudainement de vitesse ou de direction; tournez lentement et graduellement.
N'utilisez pas la machine si l'adhérence, la direction ou la stabilité peuvent être compromises. Tenez compte du fait qu'une perte de l'adhérence peut se produire sur l'herbe humide, en travers des pentes ou dans les descentes. La perte d'adhérence des roues motrices peut faire déraper la machine et entraîner la perte du freinage et de la direction. La machine peut déraper même si les roues motrices ne tournent plus.
Enlevez ou balisez les obstacles tels que fossés, trous, ornières, bosses, rochers ou autres dangers cachés. L'herbe haute peut masquer les accidents du terrain. Les irrégularités du terrain peuvent provoquer le retournement de la machine.
Redoublez de prudence lorsque vous utilisez la machine équipée d'outils ou d'accessoires, tels des systèmes de ramassage. Ceux-ci peuvent modifier la stabilité et entraîner la perte de contrôle de la machine. Suivez les instructions d'utilisation des contrepoids.
Dans la mesure du possible, gardez le tablier de coupe abaissé au sol quand vous utilisez la machine sur des pentes. La machine peut devenir instable si vous levez le tablier de coupe pendant l'utilisation sur une pente.

Serrez toujours le frein de stationnement lorsque vous arrêtez la machine ou que vous la laissez sans surveillance.
Garez la machine sur une surface plane et horizontale.


Important: Vous devez déplier les tabliers latéraux pour pouvoir engager la PDF.
Retirez l'axe de chape et la goupille fendue qui bloquent chaque tablier latéral en position levée, et placez-les dans leur emplacement de rangement (Figure 18).

Vérifiez que personne ne se trouve près des tabliers de coupe latéraux.
Appuyez de manière prolongée sur le bas de la commande de levage des tabliers; le tablier central s'abaisse en premier, suivi des tabliers latéraux.
La commande des lames (PDF) permet de démarrer et d'arrêter la rotation des lames et des autres accessoires qu'elle entraîne.
Note: Les courroies d'entraînement subissent une usure excessive si la commande des lames (PDF) est engagée alors que la commande d'accélérateur est à mi-course ou moins.


Important: N'actionnez pas le démarreur plus de 5 secondes de suite. Si le moteur ne démarre pas, attendez 15 secondes avant de faire une nouvelle tentative. Le démarreur risque de griller si vous ne respectez pas ces consignes.
Note: Plusieurs tentatives peuvent être nécessaires pour démarrer le moteur pour la première fois après le remplissage du système d'alimentation si ce dernier était complètement vide.

Les enfants ou les personnes à proximité peuvent se blesser s'ils déplacent la machine ou essayent de l'utiliser lorsqu'elle est laissée sans surveillance.
Retirez toujours la clé et serrez le frein de stationnement si vous laissez la machine sans surveillance.

Vérifiez que personne ne se trouve près des tabliers de coupe latéraux.
Appuyez de manière prolongée sur le bas de la commande de levage des tabliers; le tablier central s'abaisse en premier, suivi des tabliers latéraux.
Garez la machine sur une surface plane et horizontale, désengagez la commande des lames et serrez le frein de stationnement.
Avant de quitter la position d'utilisation, coupez le moteur, enlevez la clé et attendez l'arrêt complet de toutes les pièces mobiles.
Retirez l'axe de chape et la goupille fendue de leur emplacement de rangement et bloquez chaque tablier latéral en position levée (Figure 23).


Les roues motrices tournent indépendamment et sont entraînées par les moteurs hydrauliques sur chaque essieu. Vous pouvez faire tourner un côté en arrière pendant que l'autre tourne en avant, ce qui fait pivoter la machine au lieu de la faire changer de direction. La maniabilité de la machine en est grandement améliorée, mais cette manière de conduire pourra demander un certain temps d'adaptation.
La commande d'accélérateur agit sur le régime moteur qui se mesure en tours/minute (tr/min). Placez la commande d'accélérateur en position HAUT RéGIME pour obtenir des performances optimales. Pour travailler, placez toujours la commande d'accélérateur en position Haut régime (plein gaz).
La machine peut tourner très rapidement. Vous risquez de perdre le contrôle de la machine et de vous blesser gravement ou d'endommager la machine.
Faites preuve d'une extrême prudence dans les virages.
Ralentissez avant de prendre des virages serrés.
Note: Le moteur s'arrête si vous actionnez les leviers de commande de déplacement alors que le frein de stationnement est serré.
Pour arrêter la machine, tirez les leviers de commande de déplacement en position POINT MORT.
Desserrez le frein de stationnement; voir Desserrage du frein de stationnement.
Amenez les leviers de commande de déplacement au centre, en position déverrouillée.
Pour vous déplacer en marche avant, poussez lentement les leviers de commande de déplacement vers l'avant (Figure 25).

Amenez les leviers de commande de déplacement au centre, en position déverrouillée.
Pour vous déplacer en marche arrière, tirez lentement les leviers en arrière (Figure 26).

Vous pouvez régler la hauteur de coupe du tablier entre 2,54 et 14 cm (1 et 5½ po) par paliers de 6,4 mm (¼ po).
Garez la machine sur une surface plane et horizontale, désengagez la commande des lames et serrez le frein de stationnement.
Appuyez sur le haut de la commande de levage des tabliers pour lever le tablier de coupe central et les tabliers latéraux.
Avant de quitter la position d'utilisation, coupez le moteur, enlevez la clé et attendez l'arrêt complet de toutes les pièces mobiles.
Réglez le tablier central comme suit :
Retirez la goupille de hauteur de coupe de la plaque de levage du tablier du côté droit du tablier central.
Insérez la goupille de hauteur de coupe dans le trou correspondant à la hauteur de coupe voulue.
Les différentes hauteurs de coupe sont indiquées sur l'autocollant apposé sur le côté de la plaque de levage du tablier.
Réglez les tabliers latéraux comme suit :
Vérifiez que les tabliers latéraux sont verrouillés en place.
Débloquez les verrous à came situés sur le profilé de hauteur de coupe du tablier latéral (Figure 27).

Retirez la goupille à anneau de la goupille de hauteur de coupe sur les profilés avant et arrière.
Placez le tablier latéral à la hauteur adéquate et reposez les goupilles de hauteur de coupe et les goupilles à anneau (Figure 27).
Verrouillez le verrou à came.
Répétez cette procédure pour l'autre tablier latéral.
Pour augmenter la plage de hauteur de coupe au besoin, réglez les roues de jauge avant et arrière du tablier latéral comme suit :
Retirez les fixations de la roue de jauge.
Montez les roues de jauge avant et arrière dans le trou qui convient (voir le tableau ci-dessous, ainsi que la Figure 28), puis reposez les fixations.
| Position du trou | Plage de hauteur de coupe |
| Trou supérieur (-1 sur l'autocollant) | 25 à 89 mm (1 à 3½ po) |
| Trou central (0 sur l’autocollant) | 51 à 114 mm (2 à 4½ po) |
| Trou inférieur (+1 sur l'autocollant) | 76 à 140 mm (3 à 5½ po) |

Répétez cette procédure pour l'autre tablier latéral.
Pour un flottement maximal du tablier, descendez les galets d'une position. Les galets doivent maintenir une garde au sol de 6 mm (¼ po). Ne réglez pas les galets de sorte qu'ils servent de support au tablier de coupe.
Garez la machine sur une surface plane et horizontale.
Désengagez la commande des lames (PDF), amenez les leviers de commande de déplacement en position de VERROUILLAGE AU POINT MORT et serrez le frein de stationnement.
Avant de quitter la position d'utilisation, coupez le moteur, enlevez la clé et attendez l'arrêt complet de toutes les pièces mobiles.
Après avoir réglé la hauteur de coupe, réglez les galets anti-scalp en retirant les fixations.
Placez les galets dans l’une des positions indiquées à la Figure 29.
Les galets maintiennent une garde au sol de 19 mm (¾ po) qui minimise les traces profondes dans le gazon, ainsi que l'usure et l'endommagement des galets.

Serrez l'écrou Nyloc (⅜ po) à un couple de 41 à 47 N·m (30 à 35 pi-lb), comme montré à la Figure 30.

Le tablier de 244 cm (96 po) comporte 13 emplacements pour les galets anti-scalp. Pour leur réglage, voir Figure 31.

Montez les patins à la position la plus basse pour les hauteurs de coupe supérieures à 51 mm (2 po) et à la position la plus haute pour les hauteurs de coupe inférieures à 51 mm (1 po).
Réglez les patins comme montré à la Figure 32.

La PDF se désengage, une alarme retentit et un graphique à barres indique la température du moteur lorsque le moteur surchauffe. La PDF ne se réengage que lorsque le moteur a refroidi suffisamment et que vous avez désengagé et ré-engagé la PDF manuellement.
Note: Si le niveau de liquide de refroidissement du moteur est en dessous du trait de repère du réservoir de trop-plein lorsque le moteur est froid, il se peut que le thermomètre de liquide de refroidissement du moteur n'indique pas la température correcte et/ou que l'alarme sonore ne retentisse pas si le moteur surchauffe.
Pour obtenir une circulation d'air maximale et des résultats optimaux, faites tourner le moteur à HAUT RéGIME. L'air doit pouvoir circuler pour bien couper l'herbe. Pour cette raison, ne sélectionnez pas une hauteur de coupe trop basse car le tablier de coupe serait alors complètement entouré d'herbe haute. Placez-vous toujours de sorte qu'un côté du tablier de coupe se trouve à l'extérieur de la zone non coupée. L'air pourra ainsi circuler librement dans le tablier de coupe.
Tondez l'herbe légèrement plus haut que d'habitude pour éviter de scalper les inégalités du terrain. La hauteur de coupe habituelle est cependant celle qui convient le mieux en général. Si la hauteur de l'herbe dépasse 15 cm (6 po), vous devrez peut-être vous y reprendre à deux fois pour obtenir un résultat acceptable.
L'idéal est de ne raccourcir l'herbe que du tiers de sa hauteur. Une coupe plus courte est déconseillée, à moins que l'herbe ne soit clairsemée, ou en automne lorsque la pousse commence à ralentir.
Alternez le sens des passages pour ne pas coucher l'herbe. L'alternance permet aussi de mieux disperser l'herbe coupée, ce qui améliore la décomposition et la fertilisation.
L'herbe pousse plus ou moins vite selon la saison. Pour conserver une hauteur de coupe régulière, tondez plus souvent au début du printemps. Réduisez la fréquence de tonte au milieu de l'été, lorsque l'herbe pousse moins vite. Si le gazon n'a pas été tondu depuis un certain temps, tondez une première fois assez haut, puis un peu plus bas 2 jours plus tard.
Ralentissez pour améliorer la qualité de la coupe dans certaines conditions.
Si le gazon est irrégulier, augmentez la hauteur de coupe pour éviter de le scalper en tondant.
Si vous immobilisez la machine en cours de tonte, un paquet d'herbe coupée peut tomber sur la pelouse. Pour éviter cela, rendez-vous dans une zone déjà tondue en laissant les lames engagées ou désengagez le tablier de coupe pendant la marche avant de la machine.
Nettoyez le dessous du tablier de coupe après chaque utilisation. Ne laissez pas l'herbe et la terre s'accumuler à l'intérieur, car la qualité de la tonte finira par en souffrir.
Utilisez une lame bien aiguisée durant toute la saison de tonte, pour obtenir une coupe nette sans arracher ni déchiqueter les brins d'herbe. L'herbe arrachée ou déchiquetée brunit sur les bords, sa croissance ralentit et elle devient plus sensible aux maladies. Après chaque utilisation, vérifiez l'état, l'usure et l'affûtage des lames. Limez les entailles éventuelles et aiguisez les lames au besoin. Remplacez immédiatement les lames endommagées ou usées par des lames Toro d'origine.
Pour éviter les risques d'incendie, enlevez les débris d'herbe coupée et autres agglomérés sur les unités de coupe, les silencieux et le compartiment moteur. Nettoyez les coulées éventuelles d'huile ou de carburant.
Coupez le moteur et enlevez la clé avant de remiser ou de transporter la machine.
Désengagez l'entraînement de l'outil quand vous transportez la machine ou qu'elle ne sert pas.
Laissez refroidir le moteur avant de ranger la machine dans un local fermé.
Ne remisez jamais la machine ni les bidons de carburant à proximité d'une flamme nue, d'une source d'étincelles ou d'une veilleuse, telle celle d'un chauffe-eau ou d'autres appareils.
Transportez la machine sur une remorque de poids-lourd ou un camion. Utilisez une rampe d'une seule pièce. Le camion ou la remorque doit être équipé(e) des freins, des éclairages et de la signalisation exigés par la loi. Lisez attentivement toutes les consignes de sécurité. Tenez-en compte pour éviter de vous blesser ou de blesser des personnes à proximité. Reportez-vous aux ordonnances locales concernant les exigences d'arrimage et de remorquage.
Il est dangereux de conduire sur la voie publique sans clignotants, éclairages, réflecteurs ou panneau « véhicule lent »; vous risquez de provoquer un accident et de vous blesser.
Ne conduisez pas la machine sur la voie publique.
Le chargement de la machine sur une remorque ou un camion augmente le risque de basculement, et donc de blessures graves ou mortelles (Figure 33).
Utilisez uniquement une rampe pleine largeur; n'utilisez pas de rampes séparées de chaque côté de la machine.
L'angle entre la rampe et le sol, ou entre la rampe et la remorque ou le camion, ne doit pas dépasser 15 degrés.
La rampe doit être au moins quatre fois plus longue que la hauteur de la remorque ou du plateau de chargement par rapport au sol. De la sorte, l'angle de la rampe ne dépassera pas 15 degrés sur un sol plat.

Le chargement de la machine sur une remorque ou un camion augmente le risque de basculement et donc de blessures graves ou mortelles.
Procédez avec la plus grande prudence lorsque vous manœuvrez la machine sur une rampe.
Montez la rampe en marche arrière et descendez-la en marche avant.
Évitez d'accélérer ou de décélérer brutalement lorsque vous conduisez la machine sur une rampe car vous pourriez en perdre le contrôle ou la faire basculer.
Si vous utilisez une remorque, attelez-la au véhicule tracteur et attachez les chaînes de sécurité.
Le cas échéant, raccordez les freins et connectez l'éclairage de la remorque.
Abaissez la rampe pour que l'angle avec le sol ne dépasse pas 15 degrés (Figure 33).
Montez la rampe en marche arrière (Figure 34).

Coupez le moteur, enlevez la clé et serrez le frein de stationnement.
Arrimez la machine près des roues pivotantes avant et du pare-chocs arrière à l'aide de sangles, chaînes, câbles ou cordes (Figure 35). Reportez-vous à la réglementation locale concernant les exigences en matière d'arrimage.

| Périodicité d'entretien | Procédure d'entretien |
|---|---|
| Après les 100 premières heures de fonctionnement |
|
| Après les 200 premières heures de fonctionnement |
|
| À chaque utilisation ou une fois par jour |
|
| Toutes les 50 heures |
|
| Toutes les 100 heures |
|
| Toutes les 200 heures |
|
| Toutes les 400 heures |
|
| Toutes les 500 heures |
|
| Toutes les 800 heures |
|
| Toutes les 2000 heures |
|
| Chaque mois |
|
| Une fois par an |
|
Important: Reportez-vous au manuel du propriétaire du moteur pour toutes procédures d'entretien supplémentaires.
Si vous laissez la clé dans le commutateur d'allumage, quelqu'un pourrait mettre le moteur en marche accidentellement et vous blesser gravement, ainsi que toute personne à proximité.
Avant tout entretien, retirez la clé du commutateur d'allumage.
Avant de réparer la machine, effectuez la procédure suivante :
Débrayez les entraînements.
Serrez le frein de stationnement.
Coupez le moteur et enlevez la clé de contact.
Débranchez le fil de la bougie.
Garez la machine sur un sol plat et horizontal.
Pour éviter les risques d'incendie, enlevez les brins d'herbe et autres débris qui sont agglomérés sur l'unité de coupe, les dispositifs d'entraînement, les silencieux et le moteur.
Nettoyez les coulées éventuelles d'huile ou de carburant.
Ne confiez pas l'entretien de la machine à des personnes non qualifiées.
Utilisez des chandelles pour soutenir la machine et/ou les composants au besoin.
Libérez la pression emmagasinée dans les composants avec précaution.
Débranchez la batterie ou le fil des bougies avant d'entreprendre des réparations. Débranchez la borne négative de la batterie avant la borne positive. Branchez toujours la borne positive avant la borne négative.
Examinez toujours les lames avec prudence. Manipulez toujours les lames avec des gants épais ou en les enveloppant dans un chiffon, et toujours avec prudence. Remplacez toujours les lames; n'essayez jamais de les redresser ou de les souder.
N'approchez jamais les mains ou les pieds des pièces mobiles. Dans la mesure du possible, évitez d'effectuer des réglages sur la machine quand le moteur est en marche.
Maintenez toutes les pièces en bon état de marche et toutes les fixations bien serrées, surtout les boulons de fixation des lames. Remplacez tous les autocollants usés ou endommagés.
Ne cherchez jamais à modifier la fonction prévue d'un dispositif de sécurité ni à réduire la protection qu'il assure. Vérifiez régulièrement qu'il fonctionne correctement.
Utilisez exclusivement des pièces de rechange Toro d'origine.
Vérifier souvent le fonctionnement du frein de stationnement. Effectuez les réglages et l'entretien éventuellement requis.
Lubrifiez plus fréquemment si vous travaillez dans des conditions très poussiéreuses ou sableuses.
Type de graisse : graisse nº 2 au lithium ou au molybdène.
Garez la machine sur une surface plane et horizontale, désengagez la commande des lames et serrez le frein de stationnement.
Avant de quitter la position d'utilisation, coupez le moteur, enlevez la clé et attendez l'arrêt complet de toutes les pièces mobiles.
Nettoyez les graisseurs avec un chiffon.
Note: Grattez la peinture qui pourrait se trouver sur l'avant des graisseurs.
Raccordez un pistolet de graissage au graisseur.
Injectez de la graisse dans les graisseurs jusqu'à ce qu'elle commence à sortir des roulements.
Essuyez tout excès de graisse.
| Périodicité d'entretien | Procédure d'entretien |
|---|---|
| Toutes les 100 heures |
|
Graissez les pivots de levage du tablier avec une huile légère en aérosol.

| Périodicité d'entretien | Procédure d'entretien |
|---|---|
| Toutes les 400 heures |
|
| Une fois par an |
|
Note: Consultez le tableau pour la périodicité d'entretien.
Reportez-vous au tableau suivant pour l'emplacement des graisseurs et le programme de graissage.
| Emplacement des graisseurs | Injections initiales | Nombre d'emplacements | Périodicité d'entretien |
|---|---|---|---|
| PDF d’entraînement du tablier | 1 | 3 | Toutes les 50 heures |
| Pivot de poulie de tension de tablier | 1 | 3 | Toutes les 400 heures ou tous les ans |
| Roulements de roues pivotantes | *0 | 4 | *Annuel |
| Pivots de roues pivotantes | *0 | 5 | Toutes les 400 heures ou tous les ans |
* Reportez-vous aux instructions de graissage spécifiques des pivots des roues pivotantes avant, et à la section Graissage des moyeux des roues pivotantes pour les instructions de graissage spécifiques des moyeux de roues pivotantes avant.
Lubrifiez les pivots des roues pivotantes avant une fois par an. Retirez l'obturateur hexagonal et le capuchon. Vissez le graisseur dans le trou et injectez de la graisse jusqu'à ce qu'elle ressorte par le haut du roulement. Retirez le graisseur et revissez l'obturateur en place. Remettez le capuchon.

| Périodicité d'entretien | Procédure d'entretien |
|---|---|
| Toutes les 50 heures |
|
Note: Pour faciliter l'accès aux joints de cardan et au joint coulissant cannelé, déposez le panneau de plancher et abaissez complètement le tablier de coupe.
Garez la machine sur une surface plane et horizontale, désengagez la commande des lames et serrez le frein de stationnement.
Avant de quitter la position d'utilisation, coupez le moteur, enlevez la clé et attendez l'arrêt complet de toutes les pièces mobiles.
Nettoyez les graisseurs avec un chiffon.
Raccordez un pistolet de graissage au graisseur.
Injectez de la graisse dans les graisseurs jusqu'à ce qu'elle commence à sortir des roulements.
Essuyez tout excès de graisse.

| Périodicité d'entretien | Procédure d'entretien |
|---|---|
| Une fois par an |
|
Garez la machine sur un sol plat et horizontal, désengagez la commande des lames et serrez le frein de stationnement.
Avant de quitter la position d'utilisation, coupez le moteur, enlevez la clé et attendez l'arrêt complet de toutes les pièces mobiles.

Levez le tablier de coupe pour permettre l'accès.
Déposez la roue pivotante de la fourche.
Déposez les protège-joints du moyeu de roue.
Déposez un des écrous d'écartement de l'arbre de la roue pivotante.
Note: Du frein-filet a été appliqué pour bloquer les écrous d'écartement sur l'arbre de roue.
Déposez l'arbre de la roue (en laissant l'autre écrou d'écartement en place).
Faites levier pour déposer les joints, et vérifiez l'état et l'usure des roulements; remplacez-les au besoin.
Garnissez les roulements de graisse universelle.
Insérez 1 roulement, assorti d'un joint neuf, dans la roue.
Note: Remplacez les joints.
Si les deux écrous d'écartement sont absents de l'arbre de roue, appliquez du frein-filet sur l'un d'entre eux et vissez-le sur l'arbre de roue, méplats tournés vers l'extérieur.
Note: Ne vissez pas complètement l'écrou d'écartement au bout de l'arbre de roue. Laissez environ 3 mm (⅛ po) entre la surface extérieure de l'écrou d'écartement et l'extrémité de l'arbre de roue dans l'écrou.
Insérez l'ensemble écrou et arbre de roue dans la roue, du côté roulement et joint neuf.
L'extrémité ouverte de la roue étant tournée vers le haut, garnissez de graisse universelle la zone à l'intérieur de la roue autour de l'arbre.
Insérez le second roulement, assorti d'un joint neuf, dans la roue.
Appliquez du frein-filet sur le filetage du second écrou d'écartement et vissez-le sur l'arbre de roue, les méplats tournés vers l'extérieur.
Serrez l'écrou à un couple de 8 à 9 N·m (75 à 80 po-lb), desserrez-le puis resserrez-le à un couple de 2 à 3 N·m (20 à 25 po-lb).
Note: Attention à ne pas faire dépasser l'arbre de roue de l'écrou.
Posez les protège-joints sur le moyeu, puis insérez la roue dans la fourche pivotante.
Montez le boulon et serrez l'écrou à fond.
Important: Pour éviter les dommages au joint et au roulement, vérifiez souvent le réglage du roulement. Faites tourner la roue pivotante. Elle ne doit pas tourner librement (plus de 1 ou 2 tours) ni présenter de jeu latéral. Si la roue tourne librement, ajustez l'écrou d'écartement jusqu'à ce que vous sentiez une légère résistance. Appliquez une autre couche de frein-filet.
Coupez le moteur avant de contrôler le niveau d'huile ou d'ajouter de l'huile dans le carter.
Gardez les mains, les pieds, le visage et toute autre partie du corps ainsi que les vêtements à l'écart du silencieux et autres surfaces brûlantes.
Vérifiez si le boîtier du filtre à air présente des dommages susceptibles d'occasionner des fuites d'air.
Remplacez le boîtier du filtre s'il est endommagé.
Vérifiez que le système d'admission ne présente pas de fuites, de dommages ou de colliers de flexible desserrés.
Faites l'entretien du filtre à air quand l'indicateur de colmatage est rouge (Figure 40).
Important: N'effectuez pas l'entretien du filtre à air trop souvent.

Vérifiez que le couvercle est parfaitement ajusté sur le boîtier du filtre à air.
| Périodicité d'entretien | Procédure d'entretien |
|---|---|
| Toutes les 400 heures |
|
Note: Remplacez-le joint en mousse du couvercle s'il est endommagé.
Important: N'utilisez pas d'air sous haute pression car il pourrait forcer des impuretés à travers le filtre et dans le conduit d'admission.
Important: Ne nettoyez pas le filtre usagé afin de ne pas en endommager le matériau.
Important: N'utilisez pas le filtre s'il est endommagé.
Important: N'appuyez pas sur la partie centrale flexible du filtre.

À la livraison, le carter moteur contient de l'huile; vérifiez toutefois le niveau d'huile avant et après le premier démarrage du moteur. Contrôlez le niveau d'huile au début de chaque journée de travail ou à chaque utilisation de la machine.
Capacité du carter : 6,6 L (7 ptes américaines) avec le filtre.
Huile moteur préférée : huile moteur haute qualité « Toro Premium Engine Oil »
Si vous utilisez une autre huile, choisissez une huile moteur de qualité à basse teneur en cendres conforme ou supérieure aux spécifications suivantes :
Classe de service API CJ-4 ou mieux
Classe de service ACEA E6
Classe de service JASO DH-2
Important: L'utilisation d'une huile moteur autre qu'une huile API CJ-4 ou mieux, ACEA E6, ou JASO DH-2 peut entraîner le colmatage du filtre à particules diesel ou endommager le moteur.
Utilisez le grade de viscosité d'huile moteur suivant :
SAE 10W-30 ou 5W-30 (toutes températures)
SAE 15W-40 (au-dessus de -18 °C [0 °F])
Note: L'huile moteur Toro Premium est en vente chez votre distributeur. Voir le catalogue de pièces ou contactez un distributeur Toro agréé pour les numéros de référence.
| Périodicité d'entretien | Procédure d'entretien |
|---|---|
| À chaque utilisation ou une fois par jour |
|
Garez la machine sur une surface plane et horizontale, abaissez le tablier de coupe, placez la commande d'accélérateur en position BAS RéGIME, coupez le moteur et enlevez la clé.
Ouvrez le capot.
Contrôlez le niveau d'huile moteur, comme montré à la Figure 42.

| Périodicité d'entretien | Procédure d'entretien |
|---|---|
| Après les 200 premières heures de fonctionnement |
|
| Toutes les 200 heures |
|
| Toutes les 400 heures |
|
| Une fois par an |
|
Dans la mesure du possible, faites tourner le moteur juste avant la vidange pour réchauffer l'huile, afin de faciliter l'écoulement et d'entraîner plus d'impuretés.
Garez la machine sur une surface plane et horizontale.
Serrez le frein de stationnement.
Coupez le moteur et enlevez la clé.
Ouvrez le capot.
Vidangez l'huile moteur, comme montré à la Figure 43.

Remplacez le filtre à huile moteur comme montré à la Figure 44.

Remplissez le carter moteur d'huile; voir Spécifications de l’huile moteur.
Les composants du système d'alimentation sont soumis à une pression élevée. L'utilisation de composants non conformes peut causer une panne du système d'alimentation, une fuite de carburant et même une explosion.
Utilisez uniquement des conduites de carburant et des filtres à carburant agréés.
| Périodicité d'entretien | Procédure d'entretien |
|---|---|
| Toutes les 50 heures |
|
Garez la machine sur une surface plane et horizontale, désengagez la commande des lames et serrez le frein de stationnement.
Avant de quitter la position d'utilisation, coupez le moteur, enlevez la clé et attendez l'arrêt complet de toutes les pièces mobiles.
Placez un bac de vidange sous le filtre à carburant et dévissez le bouchon de vidange d'environ un tour (Figure 45).

Resserrez le bouchon de vidange lorsque l'eau est vidangée et que le carburant commence à s'écouler du filtre.
Important: L'eau ou d'autres contaminants présents dans le carburant peuvent endommager la pompe à carburant et/ou d'autres composants du moteur.
| Périodicité d'entretien | Procédure d'entretien |
|---|---|
| Toutes les 400 heures |
|

| Périodicité d'entretien | Procédure d'entretien |
|---|---|
| Toutes les 800 heures |
|
Vérifiez le jeu aux soupapes. Reportez-vous au manuel du propriétaire du moteur.
| Périodicité d'entretien | Procédure d'entretien |
|---|---|
| Toutes les 400 heures |
|
Vérifiez si les conduites d'alimentation sont détériorées, endommagées, présentent des traces d'usure par frottement ou des raccords desserrés.
Débranchez la batterie avant de réparer la machine. Débranchez la borne négative de la batterie avant la borne positive. Rebranchez la borne positive avant la borne négative.
Chargez la batterie dans un endroit dégagé et bien aéré, à l'écart des flammes ou sources d'étincelles. Débranchez le chargeur avant de brancher ou de débrancher la batterie. Portez des vêtements de protection et utilisez des outils isolés.
L'électrolyte contient de l'acide sulfurique, dont l'ingestion est mortelle et qui cause de graves brûlures.
Ne buvez jamais l'électrolyte et évitez tout contact avec les yeux, la peau ou les vêtements. Portez des lunettes de protection et des gants en caoutchouc.
| Périodicité d'entretien | Procédure d'entretien |
|---|---|
| Chaque mois |
|
Les performances et la vie de la batterie seront diminuées si elle reste déchargée durant des périodes prolongées. Pour préserver les performances et la durée de vie de la batterie remisée, chargez-la lorsque la tension de circuit ouvert descend à 12,4 V.
Note: Pour éviter les dommages causés par le gel, chargez la batterie au maximum avant de la ranger pour l'hiver.
Vérifiez la tension de la batterie avec un voltmètre numérique. Trouvez la tension de la batterie dans le tableau ci-dessous et chargez-la pendant la durée recommandée pour atteindre la charge maximale de 12,6 V ou plus.
Important: Pour éviter d'endommager la batterie, vérifiez que le câble négatif (–) est débranché et que le chargeur utilisé pour la charge a une sortie de 16 V et 7 A ou moins (voir le tableau pour les réglages recommandés du chargeur).
| Tension indiquée | Charge | Charge maximum | Intervalle de charge |
|---|---|---|---|
| 12,6 V ou plus | 100 % | 16 V/7 A | Pas de charge requise |
| 12,4 V à 12,6 V | 75 % à 100 % | 16 V/7 A | 30 minutes |
| 12,2 V à 12,4 V | 50 % à 75 % | 16 V/7 A | 1 heure |
| 12,0 V à 12,2 V | 25 % à 50 % | 14,4 V/4 A | 2 heures |
| 11,7 V à 12,0 V | 0 % à 25 % | 14,4 V/4 A | 3 heures |
| 11,7 V ou moins | 0 % | 14,4 V/2 A | 6 heures ou plus |
La batterie en charge produit des gaz susceptibles d'exploser.
Ne fumez jamais à côté de la batterie et tenez-la à l'écart de toutes flammes ou sources d'étincelles.
Important: Gardez toujours la batterie chargée au maximum (densité 1,265). Cela est particulièrement important pour prévenir la dégradation de la batterie si la température tombe en dessous de 0 °C (32 °F).
Vérifiez que les bouchons de remplissage sont bien en place sur la batterie. Chargez la batterie pendant 10 à 15 minutes entre 25 et 30 A, ou pendant 30 minutes à 10 A.
Quand la batterie est chargée au maximum, débranchez le chargeur de la prise, puis débranchez les fils du chargeur des bornes de la batterie (Figure 47).
Placez la batterie dans la machine et branchez les câbles de la batterie;
Note: N'utilisez pas la machine si la batterie n'est pas branchée, au risque d'endommager le système électrique.

Vérifiez si les bornes de la batterie déchargée sont corrodées (dépôt blanc, vert ou bleu).
Vous devez les nettoyer avant d'utiliser une batterie de secours pour démarrer. Nettoyez et resserrez les connexions au besoin.
La corrosion ou des connexions desserrées peuvent causer des pointes de tension indésirables à tout moment pendant la procédure de démarrage avec la batterie de secours.
N'essayez pas de démarrer avec une batterie de secours si les bornes de la batterie à plat sont desserrées ou corrodées au risque d'endommager le moteur.
L'utilisation d'une batterie de secours alors que la batterie à plat est fissurée, gelée, ne contient pas assez d'électrolyte ou présente un élément ouvert ou en court-circuit peut provoquer une explosion et de graves blessures.
N'utilisez pas de batterie de secours si ces conditions existent.
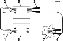
Vérifiez que la batterie de secours est une batterie au plomb en bon état, chargée au maximum à 12,6 V ou plus. Utilisez des câbles de démarrage du bon calibre (4 à 6 AWG) et assez courts pour réduire la baisse de tension entre les systèmes. Assurez-vous que la couleur et l'étiquetage des câbles correspondent à la polarité.
Si les câbles de démarrage sont mal connectés (erreur de polarité), le système électrique peut être immédiatement endommagé.
Respectez la polarité des bornes de la batterie et des câbles de démarrage lorsque vous branchez les batteries.
Note: Les instructions suivantes sont adaptées de la norme SAE J1494 Rév. Déc. 2001 – Battery Booster Cables – Surface Vehicle Recommended Practice (Câbles de démarrage – Pratique recommandée pour les véhicules de surface) (SAE – Society of Automotive Engineers).
Important: Vérifiez que les bouchons d'aération sont bien serrés et de niveau. Placez un chiffon humide, si vous en avez un, sur l'un des bouchons d'aération sur les deux batteries. Les deux machines ne doivent pas se toucher et les deux systèmes électriques doivent être hors tension et avoir la même tension nominale. Ces instructions ne concernent que les systèmes à masse négative.
Connectez le câble positif (+) à la borne positive (+) de la batterie à plat qui est reliée au démarreur ou au solénoïde (Figure 48).

Connectez l'autre extrémité du câble positif à la borne positive de la batterie de secours.
Connectez le câble négatif (–) noir à l'autre borne (négative) de la batterie de secours.
Faites la dernière connexion sur le bloc moteur de la machine en panne (pas à la borne négative de la batterie), à distance de la batterie. Tenez-vous à bonne distance de la machine.
Mettez le moteur en marche et débranchez les câbles dans l'ordre inverse de leur connexion (débranchez la connexion au bloc moteur (noir) en premier).
Le système électrique est protégé par des fusibles. Il ne nécessite donc aucun entretien. Toutefois, si un fusible grille, vérifiez l'état de la pièce ou du circuit et assurez-vous qu'il n'y a pas de court-circuit.
Déverrouillez et soulevez le capot pour accéder au porte-fusibles.
Pour remplacer un fusible, tirez dessus pour l'enlever.
Remplacez le fusible (Figure 49).

Utilisez les valves de déblocage des roues motrices pour désengager la transmission hydrostatique et déplacer la machine manuellement sans mettre le moteur en marche.
Tournez chaque vanne de dérivation d'un tour dans le sens horaire pour débloquer et dans le sens antihoraire pour réinitialiser le système (Figure 50).
Important: Ne serrez pas excessivement. Ne remorquez pas la machine.

Garez la machine sur une surface plane et horizontale, désengagez la commande des lames et serrez le frein de stationnement.
Avant de quitter la position d'utilisation, coupez le moteur, enlevez la clé et attendez l'arrêt complet de toutes les pièces mobiles.
Réglez la commande d'accélérateur à mi-course entre les positions BAS RéGIME et haut régime.
Poussez les leviers de commande de déplacement en avant jusqu'à la butée dans la fente en T.
Vérifiez de quel côté la machine se déporte.
Si elle se déporte à droite, desserrez les boulons et déplacez la plaque de butée gauche en arrière sur la fente en T gauche, jusqu'à ce que la machine se déplace en ligne droite (Figure 51).
Si elle se déporte à gauche, desserrez les boulons et déplacez la plaque de butée droite en arrière sur la fente en T droite, jusqu'à ce que la machine se déplace en ligne droite (Figure 51).
Serrez les boulons de la plaque (Figure 51).

Réglez l'alignement avant/arrière des leviers en les plaçant tous deux à la position POINT MORT, puis faites-les coulisser jusqu'à ce qu'ils soient alignés, et serrez les boulons (Figure 52).

Si l'alignement doit être corrigé d'un côté, desserrez les 2 boulons de fixation du levier de commande de déplacement du côté concerné (Figure 53).

Alignez le levier de commande de déplacement sur le levier opposé.
Resserrez les 2 boulons de fixation du levier de commande de déplacement (Figure 53).
| Périodicité d'entretien | Procédure d'entretien |
|---|---|
| Toutes les 50 heures |
|
Pression de gonflage spécifiée des pneus arrière : 1,24 bar (18 psi).
Note: Les pneus des roues pivotantes sont du type semi-pneumatique et ne nécessitent pas de contrôle de la pression.
La stabilité de la machine sur les pentes est réduite si les pneus ne sont pas suffisamment gonflés. Celle-ci risque alors de se retourner et de vous blesser, parfois mortellement.
Veillez toujours à utiliser une pression de gonflage suffisante.
Contrôlez la pression des pneus des pneus arrière. Ajoutez ou retirez de l'air jusqu'à ce que les pneus soient gonflés à la pression spécifiée.
Important: Tous les pneus doivent être gonflés à la pression correcte pour garantir de bons résultats et de bonnes performances.Contrôlez la pression de tous les pneus avant d'utiliser la machine.

| Périodicité d'entretien | Procédure d'entretien |
|---|---|
| Après les 100 premières heures de fonctionnement |
|
Serrez les écrous de roues à un couple de 115 à 142 N·m (85 à 105 pi-lb).
| Périodicité d'entretien | Procédure d'entretien |
|---|---|
| Toutes les 500 heures |
|
Garez la machine sur une surface plane et horizontale, désengagez la commande des lames et serrez le frein de stationnement.
Avant de quitter la position d'utilisation, coupez le moteur, enlevez la clé et attendez l'arrêt complet de toutes les pièces mobiles.
Déposez le capuchon protecteur de la roue pivotante et serrez le contre-écrou (Figure 55).
Continuez de serrer le contre-écrou jusqu'à ce que les rondelles élastiques soient aplaties, puis desserrez-le d'un quart de tour pour obtenir la précharge correcte des roulements (Figure 55).
Important: Veillez à placer les rondelles élastiques correctement, comme montré à la Figure 55.
Reposez le capuchon protecteur (Figure 55).

| Périodicité d'entretien | Procédure d'entretien |
|---|---|
| Toutes les 50 heures |
|
Utilisez du lubrifiant synthétique pour engrenages SAE 75W-90.
Garez la machine sur une surface plane et horizontale, et serrez le frein de stationnement.
Abaissez le tablier de coupe à la hauteur de coupe de 25 mm (1 po).
Avant de quitter la position d'utilisation, désengagez la commande des lames, coupez le moteur, enlevez la clé et attendez l'arrêt complet de toutes les pièces mobiles.
Soulevez le repose-pieds pour exposer le haut du tablier de coupe.
Retirez le bouchon de remplissage-jauge au sommet du boîtier d'engrenages et vérifiez que le niveau de lubrifiant se situe entre les repères sur la jauge (Figure 56).

Si le niveau d'huile est trop bas, faites l'appoint jusqu'à ce que le niveau se situe entre les repères sur la jauge
Important: Ne remplissez pas excessivement le boîtier d'engrenages au risque de l'endommager.
| Périodicité d'entretien | Procédure d'entretien |
|---|---|
| Après les 200 premières heures de fonctionnement |
|
| Toutes les 400 heures |
|
Si l'huile est contaminée, demandez à votre distributeur Toro de rincer le système. L’huile contaminée a un aspect laiteux ou noir comparée à de l'huile propre.
Garez la machine sur une surface plane et horizontale, et serrez le frein de stationnement.
Abaissez le tablier de coupe à la hauteur de coupe de 25 mm (1 po).
Avant de quitter la position d'utilisation, désengagez la commande des lames, coupez le moteur, enlevez la clé et attendez l'arrêt complet de toutes les pièces mobiles.
Soulevez le repose-pieds pour exposer le haut du tablier de coupe.
Retirez le bouchon de remplissage-jauge au sommet du boîtier d'engrenages et vérifiez que le niveau de lubrifiant se situe entre les repères sur la jauge (Figure 56).
Videz l'huile par l'orifice de remplissage à l'aide d'un dispositif d'aspiration ou déposez le boîtier d'engrenages du tablier et versez l'huile dans un bac de vidange.
Reposez le boîtier d'engrenages (si vous l'avez déposé pour la vidange).
Ajoutez environ 420 ml (14 oz liq.) jusqu'à ce que le niveau se situe entre les repères sur la jauge
Important: Ne remplissez pas excessivement le boîtier d'engrenages au risque de l'endommager.
L'ingestion de liquide de refroidissement moteur peut être toxique; rangez-le hors de la portée des enfants et des animaux domestiques.
Les projections de liquide de refroidissement brûlant sous pression ou le contact avec le radiateur brûlant et les pièces qui l'entourent peuvent causer des brûlures graves.
Laissez toujours refroidir le moteur pendant au moins 15 minutes avant de retirer le bouchon de radiateur.
Servez-vous d'un chiffon pour ouvrir le bouchon du radiateur et desserrez-le lentement pour permettre à la vapeur de s'échapper.
| Périodicité d'entretien | Procédure d'entretien |
|---|---|
| À chaque utilisation ou une fois par jour |
|
Liquide de refroidissement spécifié : solution 50/50 d'eau et d'antigel permanent à l'éthylène glycol
Capacité du circuit de refroidissement : 7,6 L (8 ptes américaines)
Ouvrez le capot.
Vérifiez le niveau du liquide de refroidissement dans le vase d'expansion (Figure 57).
Note: Il doit se situer entre les repères qui figurent sur le côté du réservoir.

Si le niveau du liquide de refroidissement est trop bas, enlevez le bouchon du vase d'expansion et faites l'appoint de liquide spécifié (Figure 57).
Important: Ne remplissez pas excessivement.
Revissez le bouchon du vase d'expansion.
Fermez le capot.
| Périodicité d'entretien | Procédure d'entretien |
|---|---|
| Toutes les 50 heures |
|
Nettoyez le radiateur pour éviter de faire surchauffer le moteur.
Note: Si le moteur ou le tablier de coupe s’arrête pour cause de surchauffe, vérifiez d’abord si des débris ne sont pas accumulés sur le radiateur.
Garez la machine sur une surface plane et horizontale, désengagez la commande des lames et serrez le frein de stationnement.
Avant de quitter la position d'utilisation, coupez le moteur, enlevez la clé et attendez l'arrêt complet de toutes les pièces mobiles.
Basculez le capot en avant.
Avec de l'air comprimé, soufflez les débris coincés entre les ailettes du radiateur complet, de haut en bas et de bas en haut.
S'il reste des débris, vous devrez peut-être les éliminer au jet d'eau basse pression.
Si le radiateur est propre, passez à l'opération 7.
Couvrez le moteur avec du carton ou une bâche en plastique. Pulvérisez de l'eau à travers les ailettes. Soufflez de l'air basse pression dans les deux sens.
Note: S'il reste des débris, répétez l'opération jusqu'à ce qu'ils soient complètement éliminés.
Baissez le capot.
Démarrez le moteur pour vérifier le bon fonctionnement du ventilateur.
| Périodicité d'entretien | Procédure d'entretien |
|---|---|
| Toutes les 2000 heures |
|
Garez la machine sur une surface plane et horizontale, désengagez la commande des lames et serrez le frein de stationnement.
Avant de quitter la position d'utilisation, coupez le moteur, enlevez la clé et attendez l'arrêt complet de toutes les pièces mobiles.
Basculez le capot en avant.
Vidangez le liquide de refroidissement quand le moteur est froid.
Retirez le bouchon de radiateur, placez un bac sous le radiateur et enlevez le bouchon de vidange au fond du radiateur.
Débranchez le flexible de liquide de refroidissement du refroidisseur d'huile, et vidangez le liquide du bloc-moteur (Figure 58).

Remettez en place le bouchon de vidange et les flexibles.
Remplissez le radiateur d'un mélange 50/50 d'eau et d'éthylène glycol.
Note: Il est recommandé d'utiliser le liquide de refroidissement Havoline® Xtended Life.
Laissez suffisamment d'espace (approximativement 12,7 mm [0,5 po]) pour permettre au liquide de se dilater. Versez un mélange 50/50 de liquide refroidissement dans le réservoir de trop-plein sur le côté gauche du moteur, jusqu'à ce que le niveau atteigne le repère sur le réservoir.
Faites tourner le moteur jusqu'à ce que le thermostat s'ouvre et que le liquide de refroidissement circule dans le faisceau de radiateur.
À mesure que l'air est purgé du bloc-moteur et que le niveau du liquide de refroidissement baisse, ajoutez du liquide dans le radiateur.
Lorsque le radiateur est complètement plein et qu'il est impossible de rajouter du liquide de refroidissement, laissez le moteur en marche et remettez le bouchon de radiateur.
Vérifiez que le bouchon est complètement en place en appuyant fermement dessus et en le tournant jusqu'à la butée. Une fois le bouchon en place, coupez le moteur.
| Périodicité d'entretien | Procédure d'entretien |
|---|---|
| Après les 100 premières heures de fonctionnement |
|
| Toutes les 400 heures |
|
Vérifiez que le frein de stationnement est réglé correctement. Suivez cette procédure chaque fois que vous avez déposé ou remplacé un composant du frein.
Garez la machine sur une surface plane et horizontale, désengagez la commande des lames et serrez le frein de stationnement.
Avant de quitter la position d'utilisation, coupez le moteur, enlevez la clé et attendez l'arrêt complet de toutes les pièces mobiles.
Soulevez l'arrière de la machine et soutenez-le avec des chandelles.
Déposez les roues arrière de la machine.
Enlevez les débris éventuellement présents autour du frein.
Débloquez les roues motrices; voir Utilisation des valves de déblocage des roues motrices.
Mesurez la longueur de la biellette (Figure 59).
Note: Si la biellette est fixée à la position avant, elle doit mesurer 219 mm (8⅝ po); si elle est fixée à la position arrière, elle doit mesurer 232 mm (9⅛ po).

Mesurez la longueur du ressort (Figure 59).
Note: Elle doit être de 95 mm (3¾ po).
Lorsque le ressort est à la bonne longueur, vérifiez si un espace est visible entre le tourillon et l'épaulement.
Desserrez le frein de stationnement et tournez le moyeu de roue à la main dans les deux sens.
Note: Le moyeu de roue doit bouger librement.
Si un espace est nécessaire ou si le moyeu ne bouge pas librement, procédez comme suit :
Desserrez le frein de stationnement.
Détachez et ajustez précisément la tringlerie arrière.
Raccourcissez la tringlerie pour créer un espace.
Allongez la tringlerie pour permettre à la tringlerie de bouger.
Rattachez la tringlerie arrière.
Serrez le frein de stationnement et vérifiez l'espace obtenu.
Répétez les opérations 10 à 12 jusqu'à ce qu'un espace soit visible et que le moyeu de roue tourne librement. Procédez de même de l'autre côté.
Note: Le frein doit se desserrer complètement quand le levier est en position desserrée.
Tournez la poignée de déblocage des roues motrices en position de marche; voir Utilisation des valves de déblocage des roues motrices.
Montez les roues arrière et serrez les écrous de roue à un couple de 115 à 142 N·m (85 à 105 pi-lb).
Retirez les chandelles.
Vous risquez de vous blesser gravement si vous utilisez la machine alors que le panneau de plancher est déposé, ou si vous ne déposez pas complètement le panneau de plancher pour procéder à l’entretien des composants qui sont dessous.
N'utilisez pas la machine avec le panneau de plancher déposé. Déposez complètement le panneau de plancher avant d‘entreprendre tout entretien dessous.
Pour déposer le panneau de plancher, soulevez-le et dégagez-le des ouvertures dans le cadre.

Pour poser le panneau de plancher, placez-le dans les ouvertures du cadre avant de l’abaisser en place.

| Périodicité d'entretien | Procédure d'entretien |
|---|---|
| Toutes les 50 heures |
|
Vérifiez que les courroies si elles grincent en tournant, si elles présentent des bords effilochés, des traces de brûlures ou des fissures, ou encore si les lames glissent pendant la tonte. Remplacez les courroies si elles présentent ce genre de problème.
La courroie du tablier de coupe peut montrer les signes d'usure suivants : grincement pendant la rotation, glissement des lames pendant la coupe, bords effilochés, traces de brûlures et fissures. Remplacez la courroie quand elle présente ce genre de problèmes.
Garez la machine sur une surface plane et horizontale, désengagez la commande des lames et serrez le frein de stationnement.
Avant de quitter la position d'utilisation, coupez le moteur, enlevez la clé et attendez l'arrêt complet de toutes les pièces mobiles.
Abaissez le tablier de coupe à la hauteur de coupe 76 mm (3 po).
Enlevez les deux goupilles à anneau du couvercle de courroie extérieur et déposez ce dernier (Figure 62).
Faites pivoter le couvercle de courroie intérieur vers le haut (Figure 62).

Déposez le plancher.
Insérez un rochet dans le trou carré du bras de la poulie de tension et faites tourner le bras vers l’arrière pour détendre le ressort de la poulie de tension (Figure 63).
Enlevez la courroie des poulies du tablier de coupe (Figure 63).

Installez la courroie neuve sur les poulies du tablier de coupe.
Reposez les couvercles de courroie et le plancher.
Répétez cette procédure pour la courroie de l'autre tablier latéral.
La courroie du tablier de coupe peut montrer les signes d'usure suivants : grincement pendant la rotation, glissement des lames pendant la coupe, bords effilochés, traces de brûlures et fissures. Remplacez la courroie quand elle présente ce genre de problèmes.
Garez la machine sur une surface plane et horizontale, désengagez la commande des lames et serrez le frein de stationnement.
Avant de quitter la position d'utilisation, coupez le moteur, enlevez la clé et attendez l'arrêt complet de toutes les pièces mobiles.
Abaissez le tablier de coupe à la hauteur de coupe 76 mm (3 po).
Déposez les courroies des 2 tabliers latéraux; voir Remplacement des courroies des tabliers latéraux.
Insérez un rochet dans le trou carré du bras de la poulie de tension pour détendre le ressort de la poulie de tension (Figure 64).
Enlevez la courroie des poulies du tablier de coupe (Figure 64).
Note: La courroie s’enlève au bas de la poulie du boîtier d'engrenages.

Installez la courroie neuve sur les poulies du tablier de coupe.
Reposez les courroies des 2 tabliers latéraux; voir Remplacement des courroies des tabliers latéraux.
Reposez les couvercles de courroie et le plancher.
| Périodicité d'entretien | Procédure d'entretien |
|---|---|
| Toutes les 100 heures |
|
Appliquez une force de 4,5 kg (10 lb) sur la courroie d'alternateur à mi-chemin entre les poulies.
Si vous n'obtenez pas une flèche de 10 mm (⅜ po), desserrez les boulons de fixation de l'alternateur (Figure 65).

Augmentez ou diminuez la tension de la courroie d'alternateur.
Resserrez les boulons de montage.
Contrôlez de nouveau la flèche de la courroie pour vérifier si la tension est correcte.
Les leviers de commande ont 2 positions de réglage : haute et basse. Enlevez les boulons pour régler les leviers à la hauteur qui convient le mieux à l'utilisateur.
Garez la machine sur une surface plane et horizontale, désengagez la commande des lames et serrez le frein de stationnement.
Avant de quitter la position d'utilisation, coupez le moteur, enlevez la clé et attendez l'arrêt complet de toutes les pièces mobiles.
Desserrez les boulons et les écrous à embase situés dans les leviers (Figure 66).
Réglez l'alignement avant/arrière des leviers en les plaçant tous deux à la position POINT MORT, puis faites-les coulisser jusqu'à ce qu'ils soient alignés, et serrez les boulons (Figure 67).


Si les extrémités des leviers se rencontrent, répétez cette procédure.
Les tringleries de commande de la pompe sont situées de chaque côté du réservoir de carburant, sous le siège. Tournez la tringlerie de pompe à l'aide d'une clé de 1/2 pouce pour effectuer des réglages extrêmement précis et empêcher ainsi la machine de bouger quand elle est au point mort. Les réglages doivent seulement être effectués pour le positionnement du point mort.
Le moteur doit être en marche et les roues motrices doivent tourner pour effectuer le réglage de la commande de déplacement. Les pièces mobiles et les surfaces brûlantes peuvent causer des blessures.
N'approchez pas les doigts, les mains ou les vêtements des pièces rotatives et des surfaces chaudes.
Avant de mettre le moteur en marche, appuyez sur la pédale de levage du tablier et enlevez la goupille de hauteur de coupe.
Abaissez le tablier au sol.
Soulevez l'arrière de la machine et soutenez-le avec des chandelles (ou un support équivalent).
Note: Soulevez la machine juste assez pour permettre aux roues motrices de tourner librement.
Débranchez les connexions électriques du contacteur de sécurité du siège situé sous le coussin de l'assise du siège.
Note: Le contacteur est intégré au siège.
Branchez temporairement un fil volant aux bornes du connecteur du faisceau de câblage principal.
Démarrez le moteur, faites-le tourner à plein régime et desserrez le frein.
Note: Il n'est pas nécessaire de vous assoir sur le siège car le fil volant est utilisé.
Laissez tourner le moteur 5 minutes au moins avec les leviers de commande en position de vitesse maximale en marche avant pour amener l'huile hydraulique à la température de service.
Note: Le levier de commande de déplacement doit être au point mort quand vous effectuez les réglages nécessaires.
Amenez les leviers de commande de déplacement en position POINT MORT
Réglez la longueur des tiges de pompes en tournant les doubles écrous dans le sens voulu jusqu'à ce que les roues tournent légèrement en marche arrière (Figure 68).

Amenez les leviers de commande de déplacement en position de marche arrière et, tout en appuyant légèrement sur les leviers, laissez les ressorts d'indicateur de marche arrière ramener les leviers au point mort.
Note: Les roues doivent s'arrêter de tourner ou tourner légèrement en arrière.
Coupez le moteur, débranchez le fil volant du faisceau de câbles et branchez le connecteur au contacteur du siège.
Retirez les chandelles.
Levez le tablier et mettez la goupille de hauteur de coupe en place.
Vérifiez que la machine ne se déplace pas au point mort quand le frein de stationnement est desserré.
Vous pouvez ajuster le boulon supérieur de fixation de l'amortisseur pour modifier la résistance du levier de commande de déplacement. Pour les options de montage, voir Figure 69.

Consultez immédiatement un médecin si du liquide est injecté sous la peau. Toute injection de liquide hydraulique sous la peau doit être éliminée dans les quelques heures qui suivent par une intervention chirurgicale réalisée par un médecin.
Vérifiez l'état de tous les flexibles et conduits hydrauliques, ainsi que le serrage de tous les raccords et branchements avant de mettre le système hydraulique sous pression.
N'approchez pas les mains ni aucune autre partie du corps des fuites en trou d'épingle ou des gicleurs d'où sort du liquide hydraulique sous haute pression.
Utilisez un morceau de papier ou de carton pour détecter les fuites.
Dépressurisez avec précaution le système hydraulique avant toute intervention sur le système.
Capacité du réservoir hydraulique :15,1 L (16 ptes américaines)
Liquide recommandé : Liquide « Premium Transmission/Hydraulic Tractor Fluid » (liquide hydraulique/de transmission de haute qualité pour tracteur) (en bidons de 19 litres (5 gallons) ou barils de 208 litres (55 gallons. Voir le Catalogue de pièces ou contactez un distributeur Toro agréé pour les numéros de référence).
Autres liquides : s'il est impossible de se procurer le liquide Toro, il est possible d'utiliser du liquide hydraulique Mobil® 424.
Note: Toro décline toute responsabilité en cas de dommage causé par l'utilisation de produits de remplacement inadéquats.
Note: De nombreux liquides hydrauliques sont presque incolores, ce qui rend difficile la détection des fuites. Un additif colorant rouge pour système hydraulique est disponible en bouteilles de 20 ml (⅔ oz liq). Une bouteille suffit pour 15 à 22 litres (4 à 6 gallons) de liquide hydraulique. Vous pouvez commander ces bouteilles chez les dépositaires Toro agréés (réf. 44-2500).
| Périodicité d'entretien | Procédure d'entretien |
|---|---|
| À chaque utilisation ou une fois par jour |
|
Contrôlez le niveau de liquide hydraulique avant le tout premier démarrage du moteur, puis tous les jours.
Garez la machine sur une surface plane et horizontale, désengagez la commande des lames et serrez le frein de stationnement.
Amenez les leviers de commande de déplacement en position de VERROUILLAGE AU POINT MORT et démarrez le moteur.
Note: Faites tourner le moteur au ralenti pour purger l'air du système.
Important: N'engagez pas la PDF.
Levez le tablier de coupe pour déployer les vérins de levage, coupez le moteur et enlevez la clé.
Soulevez le siège pour accéder au réservoir hydraulique.
Remettez le bouchon du réservoir hydraulique (Figure 70).

Retirez la jauge et essuyez-la sur un chiffon propre (Figure 70).
Remettez la jauge dans le goulot de remplissage, puis ressortez-la et contrôlez le niveau de liquide (Figure 71).
Note: Si le niveau n'atteint pas la zone crantée de la jauge, ajoutez une quantité suffisante de liquide hydraulique de haute qualité pour faire monter le niveau jusqu'à la zone crantée.
Important: Ne remplissez pas excessivement.

Remettez la jauge en place et vissez le bouchon à la main dans le goulot de remplissage.
Vérifiez que les flexibles et les raccords ne présentent pas de fuite.
| Périodicité d'entretien | Procédure d'entretien |
|---|---|
| Après les 200 premières heures de fonctionnement |
|
| Toutes les 400 heures |
|
| Toutes les 800 heures |
|
Désengagez la PDF, amenez les leviers de commande de déplacement à la position de VERROUILLAGE AU POINT MORT et serrez le frein de stationnement.
Placez la commande d'accélérateur en position de BAS RéGIME, coupez le moteur, enlevez la clé et attendez l'arrêt complet de toutes les pièces mobiles avant de quitter le siège.
Soulevez le siège.
Placez un grand bac de vidange sous le réservoir hydraulique, le carter de transmission et les moteurs des roues gauche et droite (Figure 72).

Enlevez chaque bouchon de vidange et vidangez le liquide hydraulique (Figure 72).
Nettoyez la surface autour du filtre à huile hydraulique et retirez le filtre (Figure 72).
Posez le filtre à huile hydraulique neuf et vissez-le dans le sens horaire jusqu'à ce que le joint en caoutchouc rejoigne l'adaptateur, puis vissez-le encore de 2/3 à 3/4 de tour.
Remettez les 4 bouchons de vidange en place.
Note: Les bouchons de vidange des moteurs de roue sont magnétiques; essuyez-les soigneusement avant de les remettre en place.
Enlevez le bouchon de l'orifice de remplissage au sommet de chaque moteur de roue (Figure 73).
Remplissez chaque moteur de roue d'environ 1,4 L (1,5 pte américaine) de liquide de transmission « Toro Ruby Transmission Fluid ».
Remettez les bouchons de remplissage en place.

Retirez le bouchon et sortez la jauge du réservoir de liquide hydraulique.
Ajoutez 7,6 L (8 ptes américaines) de liquide dans le réservoir.
Soulevez l'arrière de la machine juste assez pour permettre aux roues motrices de tourner librement et placez des chandelles (ou des supports équivalents) sous la machine.
Mettez le moteur en marche et recherchez les fuites d'huile éventuelles.
Laissez tourner le moteur pendant environ 5 minutes, puis arrêtez-le.
Après 2 minutes, contrôlez le niveau de liquide hydraulique; voir Contrôle du niveau de liquide hydraulique.
Note: Vérifiez que le tablier de coupe est de niveau avant de régler la hauteur de coupe.
Garez la machine sur une surface plane et horizontale, désengagez la commande des lames et serrez le frein de stationnement.
Avant de quitter la position d'utilisation, coupez le moteur, enlevez la clé et attendez l'arrêt complet de toutes les pièces mobiles.
Vérifiez la pression des pneus des roues motrices,
Corrigez-la à 1,24 bar (18 psi) au besoin.
Réglez le tablier de coupe à la hauteur de 102 cm (4 po).
Levez le tablier central et repliez les tabliers latéraux en appuyant sur l'arrière de la commande de levage de tablier. Maintenez la commande enfoncée jusqu'à ce que les deux tabliers latéraux soient complètement repliés.
Réglez le tablier de coupe à la hauteur de 102 cm (4 po).
Déverrouillez les verrous à came des tabliers latéraux gauche et droit (Figure 74).
Déposez et conservez la goupille à anneau de hauteur de coupe du tablier latéral (Figure 74).

Insérez la goupille de hauteur de coupe à la position 102 mm (4 po) et mettez la sangle de retenue en place.
Verrouillez chaque verrou à came de tablier latéral.
Démarrez le moteur.
Note: Le frein de stationnement doit être serré et les leviers de commande de déplacement doivent être poussés vers l'extérieur pour démarrer le moteur. Il n'est pas nécessaire que l’utilisateur soit assis sur le siège. Vérifiez que personne ne se trouve près des tabliers de coupe latéraux.
Appuyez de manière prolongée sur l’avant de la commande de levage des tabliers jusqu’à ce que le tablier central s'abaisse et que les tabliers latéraux soient entièrement dépliés à la hauteur de coupe.
Avant de quitter la position d'utilisation, coupez le moteur, enlevez la clé et attendez l'arrêt complet de toutes les pièces mobiles.
Mesurez la distance entre la surface plane et la pointe avant des lames gauche et droite du tablier central (Figure 75).
La distance obtenue doit être de 102 cm (4 po).

Tournez la vis de réglage dans le sens horaire pour augmenter la hauteur de coupe, et dans le sens antihoraire pour la diminuer.
Desserrez les écrous de blocage au sommet de chaque dispositif de réglage du tablier. Ajustez précisément le dispositif de réglage du tablier avant en le tournant pour obtenir la hauteur correcte pour les pointes des lames avant gauche et droite du tablier central (Figure 76).
Mesurez la hauteur de la pointe arrière.
Ajustez précisément les dispositifs de réglage arrière au besoin. Vous pouvez ajuster le réglage monopoint pour obtenir un réglage supplémentaire.
Mesurez jusqu'à ce que les 4 côtés soient à la bonne hauteur.
Serrez tous les écrous des bras de levage du tablier de coupe.
Si les 4 dispositifs de réglage du tablier (Figure 76) ne disposent pas d'un réglage suffisant pour produire la hauteur de coupe précise avec l’inclinaison souhaitée, vous pouvez utiliser le système monopoint pour obtenir un réglage supplémentaire.
Pour régler le système monopoint, commencez par desserrer les boulons de fixation des plaques de hauteur de coupe avant et arrière (Figure 76)
Ajustez précisément les dispositifs de réglage arrière au besoin. Vous pouvez ajuster le réglage monopoint pour obtenir un réglage supplémentaire.

Si le tablier est trop bas, serrez le boulon de réglage monopoint dans le sens horaire (Figure 77).
Si le tablier est trop haut, desserrez le boulon de réglage monopoint dans le sens antihoraire. Desserrez les boulons de fixation de plaques de hauteur de coupe avant et arrière. Ajustez précisément les dispositifs de réglage arrière au besoin. Vous pouvez ajuster le réglage monopoint pour obtenir un réglage supplémentaire.
Note: Desserrez ou serrez le boulon de réglage monopoint pour pouvoir juste déplacer les boulons de montage de la plaque de hauteur de coupe au moins du tiers de leur course dans les fentes. Cela permettra de rattraper un peu du réglage vers le haut et le bas pour les 4 timoneries de tabliers.

Serrez les boulons de fixation des plaques de hauteur de coupe avant et arrière à un couple de 37 à 45 N·m (27 à 33 pi-lb).
Mesurez la distance entre la surface plane et la pointe avant de la lame du tablier latéral gauche.
Note: La distance obtenue doit être de 102 cm (4 po).
Mesurez la distance entre la surface plane et la pointe avant de la lame du tablier latéral droit.
Note: La distance obtenue doit être de 102 cm (4 po).
Note: Comme pour le tablier central, dans la plupart des cas, vous devez régler la pointe arrière des lames latérales 6,4 mm (¼ po) plus haut que la pointe avant.
Sur les tabliers latéraux gauche et droit, la hauteur de la lame peut s'ajuster grâce à des points de réglage avant et arrière. Pour régler la hauteur d’une lame latérale, commencez par desserrer les écrous de fixation des supports de hauteur de coupe avant et arrière. Il y a quatre emplacements (deux de chaque côté du profilé), comme montré à la Figure 78.

Si le tablier est trop bas, serrez le boulon de réglage de hauteur avant (Figure 78) en tournant l’écrou inférieur dans le sens horaire.
Si le tablier est trop haut, desserrez le boulon de réglage de hauteur avant (Figure 78) en tournant l’écrou inférieur dans le sens antihoraire. Ajustez précisément les dispositifs de réglage arrière au besoin.
Réglez la hauteur de la roue arrière (Figure 78) de sorte qu'elle touche légèrement le sol, avec une pression minimale.
Mesurez l’arrière des lames latérales. Si l’une ou l’autre présente une inclinaison de moins de 1,5 mm (1/16 po), élevez l’arrière du tablier en serrant les réglages arrière gauche et droit (Figure 78) jusqu’à ce que les quatre lames présentent une inclinaison minimale de 1,5 mm (1/16 po). Réglez les roues arrière latérales de sorte qu’elles touchent légèrement le sol, avec une pression minimale. Serrez les quatre emplacements de fixation des supports arrière (Figure 78).
Serrez les écrous de blocage des supports de hauteur de coupe avant et arrière.
Pour un bon résultat, les lames doivent toujours être bien aiguisées. Il est utile de prévoir des lames de rechange pour le remplacement et le réaffûtage.
Une lame usée ou endommagée peut se briser et projeter le morceau cassé dans votre direction ou celle d'autres personnes, et infliger des blessures graves ou mortelles. N'essayez jamais de réparer une lame endommagée car vous risquez de contrevenir aux normes de sécurité du produit.
Vérifiez l'état et l'usure des lames périodiquement.
Examinez les lames avec prudence. Manipulez toujours les lames avec des gants ou en les enveloppant dans un chiffon, et toujours avec prudence. Remplacez ou aiguisez les lames seulement; n'essayez jamais de les redresser ou de les souder.
Sur les machines à plusieurs lames, n'oubliez pas que la rotation d'une lame peut entraîner celle des autres.
Garez la machine sur une surface plane et horizontale, désengagez la commande des lames et serrez le frein de stationnement.
Avant de quitter la position d'utilisation, coupez le moteur, enlevez la clé et attendez l'arrêt complet de toutes les pièces mobiles.
| Périodicité d'entretien | Procédure d'entretien |
|---|---|
| À chaque utilisation ou une fois par jour |
|
Examinez le tranchant des lames (Figure 79).
Si les lames sont émoussées ou présentent des indentations, déposez-les et aiguisez-les; voir Entretien des lames.
Inspectez les lames, et plus particulièrement l'ailette.
Remplacez immédiatement toute lame fendue, usée ou qui présente une entaille sur cette partie (Figure 79).

Désengagez la commande des lames (PDF), amenez les leviers de commande de déplacement en position de VERROUILLAGE AU POINT MORT et serrez le frein de stationnement.
Avant de quitter la position d'utilisation, coupez le moteur, enlevez la clé et attendez l'arrêt complet de toutes les pièces mobiles.
Tournez les lames dans le sens longitudinal (Figure 80).
Mesurez la distance entre la surface plane et le tranchant (position A) des lames (Figure 80).

Tournez les lames pour faire passer les pointes qui sont à l'arrière à l'avant.
Mesurez la distance entre la surface plane et le tranchant des lames, au même endroit qu'à l'opération 4.
Note: Les mesures obtenues aux opérations 4 et 5 ne doivent pas différer de plus de 3 mm (⅛ po).
Note: Si la différence est supérieure à 3 mm (⅛ po), la lame est faussée et doit être remplacée.
Une lame faussée ou endommagée peut se briser et projeter le morceau cassé dans votre direction ou celle de personnes à proximité, et causer des blessures graves ou mortelles.
Remplacez toujours une lame faussée ou endommagée par une neuve.
Ne créez jamais d'indentations dans les bords ou à la surface des lames, par exemple en les limant.
Remplacez toute lame qui a heurté un objet, qui est déséquilibrée ou faussée. Pour garantir un rendement optimal et la sécurité continue de la machine, utilisez toujours des lames Toro d'origine. Les lames d'autres constructeurs peuvent entraîner la non-conformité aux normes de sécurité.
Tenez la lame par son extrémité avec un chiffon ou un gant épais.
Enlevez de l'axe le boulon, la rondelle bombée et la lame (Figure 81).

Au moyen d'une lime, aiguisez les tranchants aux deux extrémités de la lame (Figure 82).
Note: Veillez à conserver l'angle de coupe d'origine.
Note: Limez la même quantité de métal sur chacun des deux tranchants pour ne pas déséquilibrer la lame.

Vérifiez l'équilibre de la lame en la plaçant sur un équilibreur (Figure 83).
Note: Si la lame reste horizontale, elle est équilibrée et peut être utilisée.
Note: Si la lame est déséquilibrée, limez un peu l'extrémité de l'ailette seulement (Figure 82).

Répétez cette procédure jusqu'à ce que la lame soit équilibrée.
Placez la lame sur l'axe (Figure 81).
Important: Pour obtenir une coupe correcte, l'ailette de la lame doit être dirigée en haut vers l'intérieur du carter du tablier de coupe.
Montez la rondelle bombée et le boulon de lame (Figure 81).
Note: Orientez le cône de la rondelle bombée vers la tête du boulon.
Serrez le boulon de la lame à un couple de 115 à 150 N·m (85 à 110 pi-lb).
| Périodicité d'entretien | Procédure d'entretien |
|---|---|
| À chaque utilisation ou une fois par jour |
|
Important: Ne nettoyez pas le moteur à l'eau. Utilisez de l'air comprimé basse pression. Reportez-vous au manuel du propriétaire du moteur.
Garez la machine sur une surface plane et horizontale, placez la commande des lames (PDF) en position désengagée et serrez le frein de stationnement.
Avant de quitter la position d'utilisation, coupez le moteur, enlevez la clé et attendez l'arrêt complet de toutes les pièces mobiles.
Nettoyez la zone autour du volant moteur, de la culasse, des injecteurs et de la pompe d'injection.
Éliminez tous les débris présents sur le système d'échappement.
Essuyez les dépôts excessifs de graisse ou d'huile sur le moteur et le système d'échappement.
| Périodicité d'entretien | Procédure d'entretien |
|---|---|
| À chaque utilisation ou une fois par jour |
|
Garez la machine sur une surface plane et horizontale, placez la commande des lames (PDF) en position désengagée et serrez le frein de stationnement.
Avant de quitter la position d'utilisation, coupez le moteur, enlevez la clé et attendez l'arrêt complet de toutes les pièces mobiles.
Nettoyez les dépôts d'huile, de débris ou d'herbe sur la machine et le tablier de coupe, en particulier sous les couvercles de courroie du tablier de coupe, autour du réservoir de carburant, et autour du moteur et du système d'échappement.
Levez le tablier central et les tabliers latéraux. Verrouillez chaque tablier latéral en position levée.
Nettoyez l'herbe accumulée sous le tablier de coupe et dans le déflecteur d'éjection.
L'huile moteur, les batteries, le liquide hydraulique et le liquide de refroidissement sont polluants pour l'environnement. Débarrassez-vous en conformément à la réglementation nationale et locale en matière d'environnement.
Faites refroidir le moteur avant de remiser la machine.
Ne rangez pas la machine ou le carburant près d'une flamme et ne vidangez pas le carburant à l'intérieur d'un local.
Désengagez ensuite la PDF, serrez le frein de stationnement, tournez la clé de contact à la position ARRêT et enlevez la clé.
Débarrassez l'extérieur de toute la machine, en particulier le moteur et le système hydraulique, des déchets d'herbe coupée, des saletés et de la crasse. Éliminez les saletés et les débris d'herbe sèche pouvant se trouver sur les ailettes de la culasse et le carter du ventilateur.
Important: Vous pouvez laver la machine avec de l'eau et un détergent doux. N'utilisez pas de nettoyeur haute pression. N'utilisez pas une trop grande quantité d'eau, surtout près du panneau de commande, du moteur, des pompes hydrauliques et des moteurs électriques.
Contrôlez le frein; voir Entretien des freins.
Faites l'entretien du filtre à air; voir Entretien du filtre à air.
Graissez la machine; voir Lubrification.
Vidangez l'huile moteur et remplacez le filtre à huile; voir Vidange de l'huile moteur et remplacement du filtre à huile.
Contrôlez la pression des pneus; voir Contrôle de la pression des pneus.
Vidangez le liquide hydraulique et remplacez le filtre; voir Vidange du liquide hydraulique et remplacement du filtre.
Chargez la batterie; voir Charge de la batterie.
Grattez l'herbe et les saletés éventuellement accumulées sur le dessous de la tondeuse, puis lavez cette dernière au tuyau d'arrosage.
Note: Conduisez la machine à plein régime en engageant la commande des lames (PDF) pendant 2 à 5 minutes après l'avoir lavée.
Vérifiez l'état des lames; voir Entretien des lames.
Si vous ne comptez pas utiliser la machine avant plus d'un mois, préparez-la comme suit :
Faites tourner le moteur pendant 5 minutes pour faire circuler le carburant traité dans tout le circuit d'alimentation.
Coupez le moteur, laissez-le refroidir et vidangez le réservoir de carburant.
Note: Redémarrez le moteur et laissez-le tourner jusqu'à ce qu'il s'arrête.
Débarrassez-vous du carburant correctement. Le recyclage doit être conforme à la réglementation locale en matière d'environnement.
Important: Ne conservez pas le carburant additionné de stabilisateur/conditionneur plus longtemps que recommandé par le fabricant du stabilisateur de carburant.
Contrôlez et resserrez tous les boulons, écrous et vis. Réparez ou remplacez toute pièce endommagée.
Peignez toutes les surfaces métalliques éraflées ou mises à nu. Une peinture pour retouches est disponible chez les dépositaires-réparateurs agréés.
Rangez la machine dans un endroit propre et sec, comme un garage ou une remise. Retirez la clé du commutateur d'allumage et rangez-la en lieu sûr, hors de la portée des enfants ou des personnes non autorisées. Couvrez la machine pour la protéger et la garder propre.
| Problem | Possible Cause | Corrective Action |
|---|---|---|
| Le démarreur ne fonctionne pas. |
|
|
| Le moteur ne démarre pas, démarre difficilement ou cale. |
|
|
| Le moteur perd de la puissance. |
|
|
| Le moteur surchauffe. |
|
|
| La machine ne se déplace pas. |
|
|
| La machine tire à gauche ou à droite (quand les leviers de commande de déplacement sont complètement en avant). |
|
|
| Vibrations anormales. |
|
|
| La hauteur de la tonte est irrégulière. |
|
|
| Les lames ne tournent pas. |
|
|
| L'embrayage ne s'engage pas. |
|
|


