| Vedligeholdelsesintervaller | Vedligeholdelsesprocedure |
|---|---|
| Hver anvendelse eller dagligt |
|
Denne plænetraktor med roterende skæreknive er beregnet til brug af professionelle, ansatte operatører. Den er primært beregnet til klipning af græs på velholdte plæner på private eller kommercielle ejendomme. Brug af dette produkt til andre formål end den tilsigtede anvendelse kan udsætte dig selv og omkringstående for fare.
Læs denne vejledning omhyggeligt, så du kan lære at betjene og vedligeholde produktet korrekt samt undgå person- og produktskade. Det er dit ansvar at betjene produktet korrekt og sikkert.
Besøg www. Toro.com for at få materialer om produktsikkerhed og oplæring i betjening, oplysninger om tilbehør, hjælp til at finde en forhandler eller for at registrere dit produkt.
Når du har brug for service, originale Toro-dele eller yderligere oplysninger, bedes du kontakte en autoriseret serviceforhandler eller Toros kundeservice samt have produktets model- og serienummer parat. Figur 1 angiver, hvor model- og serienummeret er placeret på produktet. Skriv numrene, hvor der er gjort plads til dette.
Important: Du kan scannne QR-koden på serienummermærkaten (hvis udstyret hermed) med din mobilenhed for at tilgå garanti, reservedele og andre produktoplysninger.

Denne betjeningsvejledning bruger to ord til at fremhæve oplysninger. Vigtigt henleder opmærksomheden på særlige mekaniske oplysninger, og Bemærk angiver generel information, som det er værd at lægge særligt mærke til.
Advarselssymbolet (Figur 2) vises både i denne vejledning og på maskinen for at identificere vigtige sikkerhedsmeddelelser, som du skal følge for at undgå ulykker. Dette symbol vises med ordet Fare, Advarsel eller Forsigtig.
Fare angiver en overhængende farlig situation, som, hvis den ikke undgås, vil resultere i dødsfald eller alvorlig personskade.
Advarsel angiver en potentielt farlig situation, som, hvis den ikke undgås, kan resultere i dødsfald eller alvorlig personskade.
Forsigtig Angiver en potentielt farlig situation, som, hvis den ikke undgås,kan resultere i mindre eller moderat personskade.

Dette produkt overholder alle relevante EU-direktiver. Yderligere oplysninger fås i den separate produktspecifikke overensstemmelseserklæring.
Se de oplysninger fra motorproducenten, som følger med maskinen.
Nettomotormoment: Denne maskines brutto- eller nettomotormoment er fastsat af motorfabrikanten på et laboratorium i henhold til Society of Automotive Engineers (SAE) J1940 eller J2723. Som følge af de ændringer, der er foretaget for at overholde diverse sikkerheds-, emissions- og driftskrav, vil det reelle motormomentet på denne plæneklippertype være betydeligt lavere. Se de oplysninger fra motorproducenten, som følger med maskinen.
CALIFORNIEN
Advarsel i henhold til erklæring nr. 65
Udstødningsgassen fra dette produkt indeholder kemikalier, der ifølge staten Californien er kræftfremkaldende samt giver fødselsskader eller andre forplantningsskader.
Brug af dette produkt kan medføre eksponering over for kemikalier, der ifølge staten Californien er kræftfremkaldende og giver medfødte defekter eller andre forplantningsskader.
Dette produkt kan afskære hænder og fødder samt udslynge genstande. Følg altid sikkerhedsanvisningerne for at undgå alvorlig personskade eller død.
Læs og forstå indholdet i denne betjeningsvejledning, før du starter motoren.
Hold omkringstående og børn på afstand.
Maskinen må aldrig betjenes eller vedligeholdes af børn eller utrænet personale. Maskinen må kun betjenes eller vedligeholdes af personer, som er ansvarlige, uddannede, fortrolige med anvisningerne og fysisk i stand til det.
Hold altid styrtbøjlen i den fuldt hævede, låste position, og brug sikkerhedsselen.
Betjen ikke maskinen i nærheden af bratte afsatser, grøfter, volde, vand og andre risikoområder eller på skråninger med en hældning på mere end 15°.
Hold hænder og fødder væk fra bevægelige maskinkomponenter.
Betjen ikke maskinen, uden at alle afskærmninger, sikkerhedskontakter og øvrige sikkerhedsanordninger er monteret og fungerer korrekt.
Sluk for motoren, tag nøglen ud, og vent, til alle bevægelige dele er standset, før du forlader førersædet. Lad maskinen køle af, inden du efterser, justerer, påfylder brændstof, rengør den eller stiller den til opbevaring.

![]() |
Sikkerheds- og instruktionsmærkaterne kan nemt ses af operatøren og er placeret tæt på potentielle risikoområder. Beskadigede eller bortkomne mærkater skal udskiftes. |






















Før du starter motoren og anvender maskinen, er det vigtigt, at du er fortrolig med alle maskinens betjeningsanordninger.

Tændingskontakten, der bruges til at starte og slukke for motoren, har 3 positioner: OFF (fra), RUN (kør) og START. Se Start af motoren.
Brug lygtekontakten til at tænde lygterne i positionen ON (til) eller slukke dem i positionen OFF (fra) (Figur 5).
Brug chokeren, før du starter en kold motor.
Gashåntaget kontrollerer motorhastigheden, og den har en trinløst regulerbar indstilling fra positionen LANGSOM til HURTIG (Figur 5).
Kontakten til regulering af skæreknive, der er markeret med et kraftudtagssymbol, indkobler og udkobler strømmen til skæreknivene (Figur 5).
Timetælleren registrerer, hvor mange timer motoren har kørt. Den kører, når motoren er i gang. Brug disse tal til planlægning af regelmæssig vedligeholdelse (Figur 6).

Der er symboler på timetælleren, som angiver med en sort trekant, at sikkerhedslåsekomponenten befinder sig i den korrekte position (Figur 6).
Når tændingskontakten drejes til positionen ON (til) i nogle få sekunder, vises batterispændingen i det område, hvor timerne normalt vises.
Batterilampen tændes, når tændingskontakten slås til, og når ladningen er under det korrekte driftsniveau (Figur 6).
Bevægelseshåndtagene bruges til at køre maskinen frem og tilbage og dreje den fra side til side (Figur 4).
Flyt bevægelseshåndtagene udad fra den midterste position til positionen NEUTRAL-LOCK (neutral låseposition), når du stiger ud af maskinen (Figur 26). Sæt altid bevægelseshåndtagene i positionen NEUTRAL-LOCK (neutral låseposition), når du standser maskinen eller efterlader den uden opsyn.
Når du slukker for motoren, skal du aktivere parkeringsbremsen for at undgå, at maskinen bevæger sig ved et uheld.
Luk brændstofafbryderventilen, når maskinen transporteres eller opbevares. Se Brug af brændstofafbryderventilen.
Note: Specifikationer og design kan ændres uden forudgående varsel.
| Skjold på 132 cm | Skjold på 152 cm | |
|---|---|---|
| Uden plæneklipperskjold | 137 cm | 140 cm |
| Deflektor oppe | 150 cm | 166 cm |
| Deflektor nede | 171 cm | 191 cm |
| Deflektor afmonteret | 141 cm | 156 cm |
| 26" dæk | |
|---|---|
| Længde | 220 cm |
| 26" dæk | |
|---|---|
| Styrtbøjle – oppe | 185 cm |
| Styrtbøjle – nede | 129 cm |
| Maskiner | Vægt |
| 132 cm maskiner | 531 til 540 kg |
| 152 cm maskiner | 535 til 590 kg |
| Trækstangens vægt | Bruttobugseringsvægt * |
|---|---|
| 22 kg | 113 kg |
* Den samlede vægt af den genstand, der bugseres (f.eks. anhænger og nyttelast, eftertrukket stråklipper, dybdelufter osv.)
Der kan fås en række forskellige Toro-godkendte redskaber og tilbehør til brug sammen med maskinen, som gør den bedre og mere alsidig. Kontakt en autoriseret serviceforhandler eller en autoriseret Toro-forhandler, eller gå ind på www.Toro.com for at få en liste over alt godkendt udstyr og tilbehør.
Brug kun originale Toro-reservedele og tilbehør for at sikre optimal ydelse og sikre, at maskinen fortsat overholder sikkerhedscertificeringen. Reservedele og tilbehør, der er fremstillet af andre producenter, kan være farlige, og brug heraf kan gøre garantien ugyldig.
Note: Maskinens venstre og højre side er som set fra den normale betjeningsposition.
Maskinen må aldrig betjenes eller vedligeholdes af børn eller utrænet personale. Vær opmærksom på, at lokale forskrifter kan angive en mindstealder for operatøren. Ejeren er ansvarlig for at træne alle operatører og mekanikere.
Efterse området, hvor maskinen skal bruges, og fjern alle objekter, som kan forstyrre betjeningen af maskinen, eller som maskinen kan risikere at udslynge.
Bliv fortrolig med anvisningerne for sikker betjening af udstyret samt med betjeningsanordningerne og sikkerhedssymbolerne.
Kontroller, at dødemandsgreb, sikkerhedskontakter og afskærmninger er korrekt fastgjort og fungerer korrekt. Betjen ikke maskinen, hvis de ikke fungerer korrekt.
Sluk for motoren, tag nøglen ud, og vent, til alle bevægelige dele er standset, før du forlader førersædet. Lad maskinen køle af, inden du efterser, justerer, påfylder brændstof, rengør den eller stiller den til opbevaring.
Før du klipper, skal du efterse maskinen for at sikre, at klippeenhederne fungerer korrekt.
Vurder terrænet for at fastsætte det mest passende udstyr og relevante redskaber eller tilbehør, der kræves for at betjene maskinen korrekt og sikkert.
Bær korrekt beklædning, herunder beskyttelsesbriller, lange bukser, skridsikkert, kraftigt fodtøj og høreværn. Sæt langt hår op, og bær ikke løstsiddende tøj eller smykker.
Kør ikke med passagerer på maskinen.
Hold omkringstående og kæledyr på afstand af maskinen, mens den er i drift. Sluk maskinen og redskabet eller redskaberne, hvis nogen kommer ind på området.
Betjen ikke maskinen, medmindre alle afskærmninger og sikkerhedsanordninger, f.eks. deflektorer og hele græsopsamleren, er på plads og fungerer korrekt. Udskift slidte eller beskadigede dele, når det er nødvendigt.
Brændstof er meget brandfarligt og yderst eksplosivt. En brand eller eksplosion forårsaget af brændstof kan give dig eller andre forbrændinger samt medføre tingsskade.
For at undgå at en statisk ladning antænder brændstoffet, skal maskinen fjernes fra lastbilen eller anhængeren og først påfyldes igen, når den er på jorden og væk fra alle andre køretøjer. Hvis dette ikke er muligt, skal du placere en transportabel brændstofbeholder på jorden væk fra alle andre køretøjer og fylde den. Påfyld derefter maskinen fra brændstofbeholderen i stedet for fra en påfyldningsdyse.
Fyld brændstoftanken udendørs på en plan grund i et åbent område, og når motoren er kold. Tør eventuelt spildt brændstof op.
Håndter ikke brændstof, mens du ryger eller i nærheden af åben ild eller gnister.
Fjern ikke brændstofdækslet, og fyld ikke brændstof på brændstoftanken, mens motoren kører eller er varm.
Hvis du spilder brændstof, må du ikke forsøge at starte motoren. Foretag dig ikke noget, der kan antænde brændstoffet, før dampene er spredt.
Opbevar brændstof i en godkendt beholder og utilgængeligt for børn.
Brændstof er farligt og kan være dødbringende, hvis det indtages. Længere tids udsættelse for dampe kan forårsage alvorlige skader og sygdomme.
Undgå længere tids indånding af dampe.
Hold hænder og ansigt væk fra dysen og brændstoftankens åbning.
Undgå at få brændstof i øjnene eller på huden.
Opbevar ikke maskinen eller brændstofbeholderen, hvor der er åben ild, gnister eller vågeblus som fx på en vandvarmer eller på andre apparater.
Betjen ikke maskinen, medmindre hele udstødningssystemet er på plads og i god driftsmæssig stand.
Påfyldningsdysen skal altid være i kontakt med kanten af åbningen i brændstoftanken eller -beholderen, indtil påfyldningen er afsluttet. Brug ikke låseenhed for slangespidsen.
Hvis du spilder brændstof på dit tøj, skal du straks skifte tøj.
Fyld ikke for meget brændstof på brændstoftanken. Sæt brændstofdækslet på igen, og stram det.
Fjern græs og andet affald fra klippeenheden, lydpotten, drevene, græsopsamleren og motorrummet for at forhindre brand. Tør spildt olie eller brændstof op.
For at opnå de bedste resultater skal du kun bruge ren, frisk (højst 30 dage gammel) blyfri benzin med et oktantal på 87 eller højere ((R+M)/2-ratingmetode).
Ethanol: Benzin med op til 10 % ethanol (gasohol) eller 15 % MTBE (metyl-tertiær-butylæter) pr. volumen accepteres. Ethanol og MTBE er ikke det samme. Benzin med 15 % ethanol (E15) pr. volumen godkendes ikke til brug. Brug aldrig benzin, der indeholder mere end 10 % ethanol pr. volumen, som f.eks. E15 (indeholder 15 % ethanol), E20 (indeholder 20 % ethanol) eller E85 (indeholder op til 85 % ethanol). Hvis der anvendes ikke-godkendt benzin, kan det medføre ydelsesproblemer og/eller beskadigelse af motoren, som muligvis ikke er dækket af garantien.
Anvend ikke benzin, der indeholder metanol.
Opbevar ikke brændstof i hverken brændstoftanken eller brændstofdunke hen over vinteren, medmindre du anvender en brændstofstabilisator.
Fyld ikke olie i benzin.
Brug af brændstofstabilisator i traktoren giver følgende fordele:
Holder brændstof frisk i længere tid, når anvendt som anvist af stabilisatorproducenten
Renser motoren, når den kører.
Forhindrer opbygning af gummiagtige lakaflejringer i brændstofsystemet, som medfører startvanskeligheder.
Important: Tilsæt aldrig brændstofadditiver, der indeholder metanol eller etanol.
Tilsæt den korrekte mængde brændstofstabilisator til brændstoffet.
Note: En brændstofstabilisator er mest effektiv, når den blandes med frisk brændstof. Brug altid brændstofstabilisator for at minimere risikoen for lakaflejringer i brændstofsystemet.
Parker maskinen på en plan overflade.
Aktiver parkeringsbremsen.
Sluk motoren, og tag nøglen ud.
Rengør området rundt om brændstoftankens dæksel.
Fyld brændstoftanken op til bunden af påfyldningsstudsen (Figur 7).
Note: Fyld ikke brændstoftanken helt op. Tomrummet i tanken giver brændstoffet plads til at udvide sig.

Før maskinen startes hver dag, skal procedurerne for Hver anvendelse/Dagligt udføres som beskrevet i .
Det tager tid, før nye motorer kommer op på fuld kraft. Der er større friktion ved nye plæneklipperskjolde og drivsystemer, hvilket betyder større motorbelastning. Giv nye maskiner en indkøringstid på 40 til 50 timer for at komme op på fuld kraft for at opnå den bedste ydelse.
Undgå personskade eller død pga. væltning: Hold styrtbøjlen i den fuldt hævede, låste position, og brug sikkerhedsselen.
Sørg for, at sædet er fastgjort til maskinen.
Du er ikke beskyttet af styrtbøjlen, når styrtbøjlen er i sænket position.
Sænk kun styrtbøjlen, når det er absolut nødvendigt.
Spænd ikke sikkerhedsselen, når styrtbøjlen er i sænket position.
Kør langsomt og forsigtigt.
Hæv styrtbøjlen, lige så snart der er plads til, at den kan hæves.
Kontroller omhyggeligt, om der er fri højde over dit hoved, dvs. om der er fri for grene, døråbninger, elektriske ledninger, før du kører under nogen genstand, og kom ikke i berøring med sådanne.
Important: Sænk kun styrtbøjlen, når det er absolut nødvendigt.
Fjern låseclipsen og stiften på begge sider af styrtbøjlen.
Sænk styrtbøjlen til sænket position.
Note: Der er to sænkede positioner som vist i Figur 9.
Monter de to stifter, og fastgør dem med låseclipsene.


Important: Brug altid sikkerhedsselen, når styrtbøjlen er i den hævede position.
Fjern låseclipsene, og afmonter de 2 stifter.
Hæv styrtbøjlen til lodret position.
Monter de 2 stifter, og fastgør dem med låseclipsene.

Hvis kontakterne til sikkerhedslåsesystemet frakobles eller bliver beskadigede, kan maskinen fungere uventet og forårsage personskade.
Pil ikke ved sikkerhedskontakterne.
Kontroller dagligt, at sikkerhedskontakterne fungerer, og udskift eventuelle beskadigede kontakter, før du betjener maskinen.
Sikkerhedslåsesystemet er udviklet med henblik på at forhindre motoren i at starte, medmindre følgende situationer opstår:
Parkeringsbremsen er aktiveret.
Kontakten til regulering af skæreknive (kraftudtag) er koblet fra.
Bevægelseshåndtagene er placeret i den NEUTRALE LåSEPOSITION.
Sikkerhedslåsesystemet er også konstrueret til at slukke motoren, når bevægelseshåndtagene flyttes fra positionen NEUTRAL-LOCK (neutral låseposition) med parkeringsbremsen aktiveret, eller hvis du rejser dig fra sædet, når kraftudtaget er indkoblet.
Timetælleren er forsynet med indikatorer, som giver brugeren besked, når låsekomponenten befinder sig i den korrekte position. Når komponenten befinder sig i den korrekte position, vises der en indikator på skærmen.

| Vedligeholdelsesintervaller | Vedligeholdelsesprocedure |
|---|---|
| Hver anvendelse eller dagligt |
|
Kontroller altid sikkerhedslåsesystemet, før du betjener maskinen. Hvis sikkerhedssystemet ikke fungerer som beskrevet i det følgende, skal der straks tilkaldes en autoriseret forhandler til at reparere sikkerhedssystemet.
Sæt dig i sædet, aktiver parkeringsbremsen, og flyt kontakten til regulering af skæreknive (kraftudtag) til positionen ON (til). Prøv at starte motoren – motoren bør ikke starte.
Sæt dig i sædet, aktiver parkeringsbremsen, og flyt kontakten til regulering af skæreknive (kraftudtag) til positionen OFF (fra). Flyt et af bevægelseshåndtagene væk fra positionen NEUTRAL-LOCK (neutral låseposition). Prøv at starte motoren: Motoren bør ikke starte. Gentag for det andet bevægelseshåndtag.
Sæt dig i sædet, aktiver parkeringsbremsen, flyt kontakten til regulering af skæreknivene (kraftudtag) til positionen OFF (fra), og flyt bevægelseshåndtagene til positionen NEUTRAL-LOCK (neutral låseposition). Start derefter motoren. Deaktiver parkeringsbremsen, indkobl kontakten til regulering af skæreknive (kraftudtag), og rejs dig derefter let fra sædet, mens motoren kører. Motoren bør nu slukke.
Sæt dig i sædet, aktiver parkeringsbremsen, flyt kontakten til regulering af skæreknivene (kraftudtag) til positionen OFF (fra), og flyt bevægelseshåndtagene til positionen NEUTRAL-LOCK (neutral låseposition). Start derefter motoren. Mens motoren kører, skal et af bevægelseshåndtagene centreres og flyttes (frem eller tilbage). Motoren bør nu slukke. Gentag fremgangsmåden for det andet bevægelseshåndtag.
Sæt dig i sædet, deaktiver parkeringsbremsen, flyt kontakten til regulering af skæreknivene (kraftudtag) til positionen OFF (fra), og flyt bevægelseshåndtagene til positionen NEUTRAL-LOCK (neutral låseposition). Prøv at starte motoren: Motoren bør ikke starte.
Sædet kan flyttes frem og tilbage. Anbring sædet i den stilling, hvor du har den bedste kontrol over maskinen og sidder mest behageligt(Figur 12).

MyRide™-ophængningssystemet kan justeres for at opnå en jævn og behagelig kørsel. Du kan justere de to bageste støddæmpere, så du hurtigt og nemt kan skifte affjedringssystemet. Indstil ophængningssystemet til den position, hvor det er mest behageligt.
Rillerne til de bageste støddæmpere har låsepositioner til reference. Du kan placere de bageste støddæmpere hvor som helst i rillen, blot ikke i låsepositionen. Den følgende illustration viser positionen for en blød eller fast kørsel og de forskellige låsepositioner (Figur 13).

Note: Sørg for, at venstre og højre bageste støddæmpere altid er justeret til samme position.
Juster bageste støddæmpere (Figur 14).


Ejeren/operatøren kan forhindre og er ansvarlig for ulykker, som kan forårsage personskade eller tingsskade.
Betjening af maskinen kræver din fulde opmærksomhed. Giv dig ikke i kast med aktiviteter, der afleder opmærksomheden, da dette kan medføre person- eller tingsskade.
Betjen ikke maskinen, hvis du er syg, træt eller påvirket af alkohol eller medicin.
Berøring af skærekniven kan medføre alvorlig personskade. Sluk for motoren, tag nøglen ud, og vent, til alle bevægelige dele er standset, før du forlader betjeningspositionen. Når du drejer nøglen til positionenOFF (fra), skal motoren slukkes, og skærekniven bør stoppe. Hvis den ikke standser, bør du straks holde op med at bruge maskinen og kontakte en autoriseret serviceforhandler.
Betjen kun maskinen i god sigtbarhed og gode vejrforhold. Betjen ikke maskinen, når der er risiko for lynnedslag.
Hold dine hænder og fødder væk fra klippeenhederne. Hold dig på afstand af udblæsningsåbningen.
Klip aldrig græs med udblæsningsdeflektoren oppe, fjernet eller ændret, medmindre der er et korrektfungerende græssamlersystem eller kværnsæt monteret.
Slå ikke græs i bakgear, medmindre det er absolut nødvendigt. Kig altid ned og bagud, inden maskinen køres baglæns.
Vær ekstremt forsigtig, når du nærmer dig blinde vinkler, buske, træer eller andre genstande, der kan blokere dit udsyn.
Stop altid skæreknivene, når du ikke klipper.
Hvis maskinen rammer en genstand eller begynder at ryste, skal du straks slukke motoren, tage nøglen ud (hvis den forefindes) og vente, indtil alle bevægelige dele standser, før du efterser maskinen for skader. Foretag alle nødvendige reparationer, inden driften genoptages.
Sænk farten, og vær forsigtig, når du vender og krydser veje og fortove med maskinen. Hold altid tilbage for andre.
Før du forlader betjeningspositionen, skal du gøre følgende:
Parker maskinen på en plan overflade.
Sørg for at udkoble kraftudtaget, og sænk redskaberne.
Aktiver parkeringsbremsen.
Sluk motoren, og tag nøglen ud.
Vent, til alle bevægelige dele standser.
Betjen kun motoren i områder med god udluftning. Udstødningsgasser indeholder kulilte, som er dødbringende, hvis de indåndes.
Efterlad aldrig en kørende maskine uden opsyn.
Bugseret udstyr må kun fastgøres ved anhængertrækket.
Betjen ikke maskinen, medmindre alle afskærmninger og sikkerhedsanordninger, f.eks. deflektorer og hele græsopsamleren, er på plads og fungerer korrekt. Udskift slidte eller beskadigede dele, når det er nødvendigt.
Brug kun tilbehør og redskaber, der er godkendt af Toro.
Denne maskine afgiver støj på mere end 85 dBA ved operatørens ører og kan give nedsat hørelse ved længere tids anvendelse.

Fjern græs og andet affald fra klippeenheden, drevene, lydpotten og motoren for at forhindre brand.
Start motoren, og hold fødderne på god afstand af skæreknivene.
Vær opmærksom på plæneklipperens udblæsningsbane, og ret udblæsningen væk fra andre. Undgå at udkaste materiale mod en mur eller forhindring, da materialet kan rikochettere tilbage mod operatøren.
Stop skæreknivene, sæt farten på maskinen ned, og vær forsigtig, når du krydser andre overflader end græs, eller når du transporterer maskinen til og fra driftsområdet.
Skift ikke motorens regulatorhastighed, og kør ikke motoren ved for høj hastighed.
Børn bliver ofte tiltrukket af maskinen og klippeaktiviteten. Gå aldrig ud fra, at børn bliver på det sted, hvor du sidst så dem.
Hold børn væk fra driftsområdet, og sørg for, at de er under opsyn af en ansvarlig voksen, der ikke er operatør.
Vær agtpågivende, og sluk maskinen, hvis børn kommer ind i driftsområdet.
Før du bakker eller drejer maskinen, skal du kigge ned og hele vejen rundt efter små børn.
Medbring ikke børn på maskinen, selv når skæreknivene ikke bevæger sig. Børn kan falde af og blive alvorligt kvæstet eller forhindre dig i at betjene maskinen på sikker vis. Børn, som tidligere har fået lov til at køre på maskinen, kan uden varsel dukke op i driftsområdet og blive kørt over af maskinen.
Styrtbøjlesystemet er en integreret og effektiv sikkerhedsanordning. Styrtbøjlesystemet må ikke fjernes eller ændres.
Styrtbøjlen beskytter dig ikke, når den er sænket.
Hold styrtbøjlen i den fuldt hævede og låste position, og brug altid sikkerhedssele, når styrtbøjlen er oppe.
Sørg for, at sikkerhedsselen kan åbnes hurtigt i nødstilfælde.
Sænk kun styrtbøjlen, når det er absolut nødvendigt. Brug ikke sikkerhedsselen, når styrtbøjlen er nede.
Hæv styrtbøjlen, lige så snart der er plads til, at den kan hæves.
Hvis hjulene skrider ud over kanter, grøfter, stejle skrænter eller vand, kan maskinen vælte, hvilket kan forårsage alvorlig personskade, i værste tilfælde med døden til følge.
Kontroller omhyggeligt, om der er fri højde over dit hoved, før du kører under genstande eller konstruktioner, og kom ikke i berøring med sådanne.
I tilfælde af væltning skal maskinen indleveres hos en autoriseret serviceforhandler, og styrtbøjlen skal efterses.
Udskift beskadigede styrtbøjlekomponenter. Du må ikke reparere eller ændre dem.
På styrtbøjlesystemet må der udelukkende anvendes og monteres tilbehør og redskaber, der er godkendt af Toro.
Skråninger er en væsentlig årsag til, at føreren mister herredømmet, eller at maskinen vælter. Sådanne ulykker kan medføre alvorlige personskader, i værste tilfælde med døden til følge. Operatøren er ansvarlig for sikker betjening på skråninger. Det kræver ekstra forsigtighed at betjene maskinen på alle former for skråninger. Før maskinen betjenes på en skråning, skal du gøre følgende:
Gennemgå og forstå instruktionerne vedrørende skråninger i betjeningsvejledningen og på maskinen.
Brug en vinkelindikator til at fastslå områdets omtrentlige hældningsvinkel.
Betjen aldrig maskinen på skråninger med en hældning på mere end 15°.
Evaluer forholdene på stedet på den pågældende dag for at fastslå, om skråningen er sikker at betjene maskinen på. Brug sund fornuft og god dømmekraft, når du foretager denne evaluering. Ændringer i terrænet, såsom fugt, kan hurtigt påvirke maskinens funktion på en skråning.
Identificer farer ved foden af skråningen. Betjen ikke maskinen i nærheden af bratte afsatser, grøfter, volde, vand og andre risikoområder. Maskinen kan pludselig vælte, hvis et hjul kører over kanten, eller hvis en kant skrider sammen. Hold sikker afstand (to gange maskinens bredde) mellem maskinen og enhver form for farekilde. Anvend en håndplæneklipper eller en græstrimmer til at klippe græsset i disse områder.
Undlad at starte, standse eller vende maskinen på skråninger. Undlad at foretage pludselige hastigheds- eller retningsskift. Drej langsomt og gradvist.
Undlad at betjene maskinen under forhold, hvor der er tvivl om traktion, styring eller stabilitet. Vær opmærksom på, at betjening af maskinen på vådt græs, på tværs af skråninger eller ned ad bakke kan medføre, at maskinen mister traktion. Mistet traktion til drivhjulene kan forårsage udskridning og mistet bremse- og styrekontrol. Maskinen kan glide, selvom drivhjulene er stoppet.
Fjern eller afmærk forhindringer, såsom grøfter, huller, hjulspor, bump, sten eller andre skjulte farekilder. Højt græs kan skjule forhindringer. Ujævnt terræn kan få maskinen til at vælte.
Udvis ekstra forsigtighed under arbejde med tilbehør eller redskaber, såsom græssamlersystemer. Disse kan ændre maskinens stabilitet og forårsage mistet herredømme. Følg vejledningerne for modvægte.
Hvis det er muligt, skal skjoldet holdes sænket til jorden under betjening på skråninger. Hævning af skjoldet under betjening på skråninger kan gøre maskinen ustabil.

Det udstyr, der skal bugseres, må kun fastgøres ved bugseringspunktet.
Anvend ikke maskinen som bugseringskøretøj, medmindre den har et anhængertræk monteret.
Bruttobugseringsvægten må ikke overstiges.
Lad aldrig børn eller andre komme i nærheden af det bugserede udstyr.
På skråninger kan vægten af det bugserede udstyr medføre traktionstab, øget risiko for væltning og mistet herredømme. Reducer den bugserede vægt, og sænk farten.
Bremselængden kan blive større i takt med vægten på en bugseret last. Kør langsomt, og vær klar til at bruge ekstra plads til at stoppe.
Foretag store sving, så redskabet holdes fri af maskinen.
Brug plæneklipperskjoldet som et trin til at komme ind til operatørens position (Figur 17).

Aktiver altid parkeringsbremsen, når du standser maskinen eller efterlader den uden opsyn.
Parker maskinen på en plan overflade.


Kontakten til regulering af skæreknivene (kraftudtag) starter og stopper skæreknivene og eventuelle motordrevne redskaber.
Note: Indkobling af kontakten til regulering af skæreknivene (kraftudtag) med gashåndtaget i "midtvejs" position eller mindre, forårsager overdrevent stort slid på drivremmene.


Du kan flytte gashåndtaget mellem positionen FAST (hurtig) og SLOW (langsom) (Figur 22).
Brug altid positionen FAST (hurtig), når du indkobler kraftudtaget.

Note: En varm eller brandvarm motor kræver muligvis ikke choker.
Important: Aktiver ikke starteren i mere end 5 sekunder ad gangen. Hvis startmotoren aktiveres i mere end 5 sekunder, kan startmotoren påføres skade. Hvis motoren ikke starter, skal du vente i 10 sekunder, før du aktiverer motorstarteren igen.

Børn eller andre omkringstående kan komme til skade, hvis de flytter eller forsøger at betjene maskinen, når operatøren ikke er til stede.
Fjern altid nøglen, og aktiver parkeringsbremsen, når du efterlader maskinen uden opsyn.


Drivhjulene drejer uafhængigt af hinanden og drives af hydraulikmotorer på hver aksel. Du kan dreje en side baglæns, mens du drejer den anden fremad, hvilket får maskinen til at rotere i stedet for at dreje. Dette forbedrer maskinens manøvredygtighed væsentligt, men der kan gå et stykke tid, før du vænner dig til, hvordan den bevæger sig.
Gashåndtaget styrer motorens omdrejningstal målt i omdrejninger pr. minut. Indstil gashåndtaget til positionen HURTIG for at opnå den bedste ydelse. Kør altid med fuld kraft ved plæneklipning.
Maskinen kan spinde meget hurtigt. Du kan miste kontrollen over maskinen og forårsage personskade eller beskadige maskinen.
Udvis forsigtighed, når du drejer.
Sæt farten ned, før du foretager skarpe sving.
Note: Motoren slukker, når du flytter traktionskontrolgrebene, mens parkeringsbremsen er aktiveret.
Stands maskinen ved at flytte bevægelseshåndtagene til positionen NEUTRAL.
Deaktiver parkeringsbremsen.
Flyt bevægelseshåndtagene til den midterste, ulåste position.
Kør fremad ved langsomt at skubbe bevægelseshåndtagene fremad (Figur 27).

Flyt bevægelseshåndtagene til den midterste, ulåste position.
Skift til bakgear ved langsomt at trække bevægelseshåndtagene bagud (Figur 28).

Plæneklipperen er udstyret med en hængslet græsdeflektor, der blæser det afklippede græs til siden og ned mod plænen.
Hvis ikke der er monteret græsdeflektor, udblæsningsdæksel eller komplet græsopsamler, udsætter du dig selv og andre for kontakt med skæreknivene og udslyngede genstande. Kontakt med plæneklipperens roterende skærekniv(e) og udslyngede genstande vil medføre personskade eller død.
Fjern aldrig græsdeflektoren fra plæneklipperskjoldet, da deflektoren leder materialerne ned mod plænen. Hvis græsdeflektoren beskadiges, skal den straks udskiftes.
Placer aldrig hænder eller fødder under plæneklipperskjoldet.
Forsøg aldrig at rense udblæsningsområdet eller skæreknivene, før du har sat kontakten til regulering af skæreknivene (kraftudtag) i positionen OFF (fra), drejet tændingskontakten til positionen OFF og taget nøglen ud af tændingskontakten.
Sørg for, at græsdeflektoren er i sænket position.
Du kan justere klippehøjden fra 38 til 140 mm i trin af 6 mm ved at sætte splitten i forskellige huller.
Skub pedalen til skjoldløft helt frem for at låse plæneklipperskjoldet i positionen TRANSPORT (også klippehøjdepositionen på 140 mm) som vist i Figur 30.
Du kan justere klippehøjden ved at fjerne pinden fra klippehøjdebeslaget (Figur 30).
Vælg det hul i klippehøjdebeslaget, som svarer til den ønskede klippehøjde, og sæt pinden i (Figur 30).
Skub pedalen til skjoldløft frem, skub transportlåsen frem, og sænk derefter langsomt plæneklipperskjoldet.

Skub op på skjoldets løftekontakt (Figur 31).

Vælg det hul i klippehøjdebeslaget, som svarer til den ønskede klippehøjde, og sæt pinden i (Figur 32).
Tryk skoldets løftekontakt ned, indtil klippehøjdeforbindelsen berører klippehøjdepinden (Figur 32) let.
Note: For stor kontakt mellem klippehøjdeforbindelsen og klippehøjdepinden kan påvirke plæneklipperskjoldets klippehøjde og nivellering negativt.

Hver gang klippehøjden ændres, skal antiskalperingsrullernes højde også justeres.
Note: Juster antiskalperingsrullerne, så rullerne ikke berører jorden i normale, flade klippeområder.
Parker maskinen på en plan overflade, udkobl kontakten til regulering af skæreknivene, og aktiver parkeringsbremsen.
Sluk for motoren, tag nøglen ud, og vent, til alle bevægelige dele er standset, før du forlader betjeningspositionen.
Juster antiskalperingsrullerne som vist i Figur 33.

For at opnå den bedste græsslåning og maksimal luftcirkulation skal motoren betjenes ved indstillingen HURTIG. Luft er nødvendigt for at kunne klippe græsset ordentligt, og derfor skal du ikke indstille klippehøjden for lavt eller lade plæneklipperskjoldet være helt omgivet af uklippet græs. Forsøg altid at holde 1 side af plæneklipperskjoldet fri for uklippet græs, så den nødvendige luft kan trækkes ind i plæneklipperskjoldet.
Klip ikke græsset helt så kort som normalt, så du kan sikre dig, at plæneklipperskjoldets klippehøjde ikke fjerner græsset helt i ujævnt terræn. Den tidligere anvendte klippehøjde er dog tit den bedste. Når du klipper græs, der er længere end 15 cm, kan det være en fordel at klippe græsset to gange for at sikre en acceptabel klippekvalitet.
Du opnår det bedste resultat ved kun at klippe en tredjedel af græsstråets længde. Det anbefales ikke at klippe mere end dette, medmindre græsbevoksningen er spredt, eller det er sent på efteråret, hvor græsset ikke længere vokser så hurtigt.
Skift mellem klipperetningen for at sikre, at græsset fortsætter med at vokse lodret. Dette medvirker også til at sprede det afklippede græs, hvilket øger nedbrydningen og gødningseffekten.
Græs vokser med forskellig hastighed på forskellige tider af året. Hvis du vil bevare den samme klippehøjde, skal græsset slås oftere i det tidlige forår. Når græssets væksthastighed falder midt på sommeren, skal du ikke slå græsset så tit. Hvis du ikke har mulighed for at slå græs over en længere periode, skal du først slå det med en høj klippehøjde og derefter igen to dage senere med en lavere højdeindstilling.
Klipningskvaliteten kan forbedres ved at køre langsommere under visse forhold.
Når du klipper en ujævn plæne, skal du hæve klippehøjden for at undgå at skalpere plænen.
Hvis fremdriften af maskinen standses, mens græsslåningen er i gang, kan du risikere, at der falder en klump afklippet græs ned på plænen. Dette kan undgås ved at flytte maskinen hen til et tidligere klippet område, mens knivene er aktiveret, eller du kan deaktivere plæneklipperskjoldet, mens du kører fremad.
Fjern afklippet græs og snavs fra undersiden af plæneklipperskjoldet efter hver anvendelse. Hvis græs og snavs ophober sig i plæneklipperskjoldet, bliver kvaliteten af græsslåningen utilfredsstillende med tiden.
Hold skærekniven(e) skarp(e) gennem hele græsslåningssæsonen, da en skarp skærekniv skærer græsset rent af uden at rive det over eller få det til at flosse. Hvis græsset rives over eller flosser, bliver spidserne brune, hvilket hæmmer væksten og øger risikoen for sygdom. Kontroller skæreknivene for skarphed hver gang efter brug samt for slid og beskadigelse. Fil eventuelle hakker ned, og slib skæreknivene, hvis det er nødvendigt. Hvis en skærekniv er beskadiget eller slidt, skal den udskiftes med det samme med en original Toro-kniv.
Aktiver parkeringsbremsen, stop motoren, fjern nøglen, og vent, til alle bevægelige dele er standset, før du forlader betjeningspositionen. Lad maskinen køle af, inden du efterser, justerer, påfylder brændstof, rengør den eller stiller den til opbevaring.
Fjern græs og andet affald fra klippeenheden, lydpotten, drevene, græsopsamleren og motorrummet for at forhindre brand. Tør spildt olie eller brændstof op.
Luk for brændstoftilførslen, og tag nøglen ud, før maskinen opbevares eller transporteres.
Luk brændstofafbryderventilen ved transport, vedligeholdelse og opbevaring (Figur 34).
Kontroller, at brændstofafbryderventilen er åben, når motoren startes.


Hænderne kan blive viklet ind i de roterende drivkomponenter under motorskjoldet, hvilket kan medføre alvorlig personskade.
Sluk for motoren, tag nøglen ud, og vent, til alle bevægelige dele standser, før drivhjulets udløsningsventiler tilgås.
Motoren og de hydrauliske drivenheder kan blive meget varme. Berøring af en varm motor eller hydrauliske drivenheder kan medføre alvorlige forbrændinger.
Vent på, at motoren og de hydrauliske drivenheder er kølet helt ned, før drivhjulets udløsningsventiler tilgås.
Drivhjulets udløsningsventiler er placeret på venstre og højre side under motorskjoldet.
Parker maskinen på en plan overflade, udkobl kontakten til regulering af skæreknivene, og aktiver parkeringsbremsen.
Sluk for motoren, tag nøglen ud, og vent, til alle bevægelige dele er standset, før du forlader betjeningspositionen.
Skub maskinen ved at flytte begge omløbshåndtag fremad og låse dem på plads (Figur 35).
Deaktiver parkeringsbremsen, inden maskinen skubbes.
Kør maskinen ved at flytte omløbshåndtagene bagud og låse dem på plads (Figur 35).

Maskinen kan trække anhængere og redskaber. Kontakt din autoriserede Toro-forhandler vedrørende tilgængelige bugsertræk.
For at kunne bruge anhængertrækket på maskinen skal du montere en styrevægtsenhed på hvert styrehjul foran på maskinen.
Din maskine kan bugsere anhængere med en maksimal bruttoanhængervægt på op til 113 kg.
Overskrid ikke maskinens anhængertræks maksimale trækstangsvægt på 22 kg.
Overlæs ikke maskinen eller anhængeren, når du kører med last eller bugserer en anhænger. Overbelastning kan forårsage dårlig ydeevne eller beskadigelse af hydrauliske drivenheder, dæk og stel.
Parker maskinen på en plan flade, udkobl kontakten til regulering af skæreknivene (kraftudtag), og aktiver parkeringsbremsen.
Sluk for motoren, tag nøglen ud, og vent, til alle bevægelige dele er standset, før du forlader betjeningspositionen.
Monter vægten på styrehjulsarmen med 2 bræddebolte (â…œ" x 1") og 2 flangemøtrikker (â…œ").
Gentag denne procedure på den anden side af maskinen.

Sæt anhængertrækkets kuglebeslag ind i modtageren bag på maskinen.
Sæt koblingstappen ind i hullet i modtageren og anhængertrækkets kuglebeslag.
Fastgør bugsertrækket ved hjælp af låseclipsen.

Brug en robust anhænger eller lastbil til at transportere maskinen. Brug en rampe med fuld bredde. Kontroller, at anhængeren eller lastbilen er udstyret med alle de nødvendige bremser, lys og de nødvendige skilte i henhold til lovgivningen. Læs alle sikkerhedsoplysninger omhyggeligt. Disse oplysninger kan hjælpe dig eller omkringstående personer med at undgå at komme til skade. Følg de lokale forskrifter vedr. krav til anhænger og bindepunkter.
Kørsel på gader og veje uden blinklys, lygter, refleksmarkeringer eller et skilt om langsomtgående køretøj kan føre til ulykker og forårsage personskade.
Kør ikke maskinen på offentlige gader og veje.
Pålæsning af en maskine på en anhænger eller lastbil øger risikoen for at vippe og kan forårsage alvorlig personskade eller død (Figur 38).
Brug kun en rampe med fuld bredde. Brug ikke individuelle ramper til hver side af maskinen.
Overskrid ikke en vinkel på 15 grader mellem rampen og jorden eller mellem rampen og anhænger eller lastbil.
Sørg for, at rampen er mindst fire gange så lang som anhængerens højde eller lastbilens ladhøjde og ned til jorden. Dette sikrer, at rampens vinkel ikke overstiger 15 grader på plan grund.

Pålæsning af en maskine på en anhænger eller lastbil øger risikoen for at vippe og kan forårsage alvorlig personskade eller død.
Vær ekstra forsigtig, når maskinen køres på en rampe.
Bak maskinen op ad rampen, og kør den fremad ned ad rampen.
Undgå pludselig acceleration eller deceleration når maskinen køres op på en rampe. Dette kan forårsage, at man mister kontrollen eller øge risikoen for at vælte.
Hvis du bruger en anhænger, skal du fastgøre den til trækkøretøjet og sætte sikkerhedskæderne på.
Tilslut om nødvendigt anhængerens bremser og lygter.
Sænk rampen, og sørg for, at vinklen mellem rampen og jorden ikke overstiger 15 grader (Figur 38).
Bak maskinen op ad rampen (Figur 39).

Sluk for motoren, tag nøglen ud, og aktiver parkeringsbremsen.
Fastgør maskinen i nærheden af de forreste styrehjul og bagstellet med remme, kæder, kabler eller reb (Figur 40). Der henvises til de lokale regler for bindepunkter.

Hvis du lader nøglen sidde i kontakten, kan andre personer utilsigtet komme til at starte motoren og forårsage alvorlig personskade på dig eller andre omkringstående. Tag nøglen ud af tændingen, før vedligeholdelsesarbejde påbegyndes.
Før du forlader førersædet, skal du gøre følgende:
Parker maskinen på en plan overflade.
Udkobl drevene.
Aktiver parkeringsbremsen.
Sluk motoren, og tag nøglen ud.
Vent, til maskinens komponenter er kølet ned, før du udfører vedligeholdelse.
Lad ikke personer, som ikke er uddannet dertil, udføre service på maskinen.
Hold hænder og fødder væk fra bevægelige dele og varme overflader. Undgå om muligt at foretage justeringer, mens motoren kører.
Tag forsigtigt trykket af komponenter, hvori der er oplagret energi.
Kontroller parkeringsbremsens funktion hyppigt. Juster og efterse den efter behov.
Pil aldrig ved sikkerhedsanordningerne. Efterse regelmæssigt, at de fungerer korrekt.
Fjern græs og snavs fra klippeenheden, lydpotten, drevene, græsopsamleren og motorrummet for at forhindre brand.
Tør spildt olie eller brændstof, og fjern snavs vædet med brændstof op.
Brug ikke udelukkende hydrauliske eller mekaniske donkrafte til at understøtte maskinen. Maskinen skal understøttes med donkrafte, når du hæver maskinen.
Hold alle dele i god driftsmæssig stand og alle beslag tilspændt, ikke mindst skæreknivsbeslag. Udskift alle slidte eller beskadigede mærkater.
Kobl kablet fra batteriets minuspol, før du reparerer maskinen.
Brug kun originale Toro-reservedele og tilbehør for at sikre optimal ydelse. Reservedele og tilbehør, der er fremstillet af andre producenter, kan være farlige, og brug heraf kan ugyldiggøre garantien.
| Vedligeholdelsesintervaller | Vedligeholdelsesprocedure |
|---|---|
| Efter de første 100 timer |
|
| Hver anvendelse eller dagligt |
|
| Efter hver anvendelse |
|
| For hver 50 timer |
|
| For hver 100 timer |
|
| For hver 200 timer |
|
| For hver 250 timer |
|
| Hver 400. driftstime eller årligt, alt efter hvad der indtræffer først |
|
| For hver 500 timer |
|
| En gang om måneden |
|
| Årlig |
|
| Årlig eller før opbevaring |
|
Important: Se betjeningsvejledningen til motoren for at få yderligere oplysninger om procedurer for vedligeholdelse.
Hvis du lader nøglen sidde i kontakten, kan andre personer utilsigtet komme til at starte motoren og forårsage alvorlig personskade på dig eller andre omkringstående.
Sluk motoren, og tag nøglen ud af tændingen, før du foretager vedligeholdelse.
Fjern splitten for at udløse plæneklipperskjoldets gardin og få adgang til den øverste del af plæneklipperskjoldet. Når du har udført vedligeholdelse, skal du montere gardinet med splitten, du fjernede tidligere.
Løsn de 2 forreste bolte, og afmonter plademetalafskærmningen for at få adgang til plæneklipperremmene og -spindlerne (Figur 41). Monter plademetalafskærmningen, og spænd boltene efter udførsel af vedligeholdelse.

Smør maskinen hyppigere under støvede eller snavsede forhold.
Fedttype: Litiumfedt nr. 2 eller molybdænbaseret fedt
Parker maskinen på en plan overflade, udkobl kontakten til regulering af skæreknivene, og aktiver parkeringsbremsen.
Sluk for motoren, tag nøglen ud, og vent, til alle bevægelige dele er standset, før du forlader betjeningspositionen.
Rengør smøreniplerne med en klud.
Note: Skrab eventuel maling af forsiden på fittingen/-erne.
Slut en smørepistol til niplen.
Pump fedt ind i delene, indtil der begynder at løbe fedt ud af lejerne.
Tør overskydende smørefedt op.
| Vedligeholdelsesintervaller | Vedligeholdelsesprocedure |
|---|---|
| For hver 100 timer |
|
Brug let olie eller smøringsspray til at smøre skjoldløftets drejeled.

| Vedligeholdelsesintervaller | Vedligeholdelsesprocedure |
|---|---|
| Årlig |
|
Parker maskinen på en plan overflade, udkobl kontakten til regulering af skæreknivene, og aktiver parkeringsbremsen.
Sluk for motoren, tag nøglen ud, og vent, til alle bevægelige dele er standset, før du forlader betjeningspositionen.
Fjern støvhætten, juster styrehjulenes drejeled, og lad støvhætten være taget af, indtil smøringen er fuldført. Se Smøring af maskinen.
Fjern den sekskantede prop.
Skru en fedtfitting ind i hullet.
Pump fedt ind i fittingen, indtil det begynder at løbe ud omkring det øverste leje.
Fjern fedtfittingen fra hullet. Monter den sekskantede prop og hætte.
| Vedligeholdelsesintervaller | Vedligeholdelsesprocedure |
|---|---|
| Årlig |
|
Parker maskinen på en plan overflade, udkobl kontakten til regulering af skæreknivene, og aktiver parkeringsbremsen.
Sluk for motoren, tag nøglen ud, og vent, til alle bevægelige dele er standset, før du forlader betjeningspositionen.
Hæv plæneklipperen med henblik på vedligeholdelse.
Afmonter styrehjulet fra styrehjulsgaflerne
Fjern pakningsafskærmningerne fra hjulnavet.

Fjern en afstandsbøsning fra akselenheden i styrehjulet.
Note: Der er påført gevindlåseklæbemiddel for at låse afstandsmøtrikkerne til akslen.
Fjern akslen (mens den anden afstandsmøtrik stadig er monteret på den) fra hjulsamlingen.
Lirk pakningerne ud, efterse lejerne for slid eller beskadigelse, og udskift dem efter behov.
Pak lejerne med universalfedt.
Sæt ét leje og én ny pakning i hjulet.
Hvis begge afstandsmøtrikker mangler fra akselsamlingen, skal der påføres gevindlåsemasse på en af afstandsmøtrikkerne, som skrues på akslen med nøglefladerne udad.
Note: Skru ikke afstandsmøtrikken hele vejen ned på akslen. Efterlad et mellemrum på cirka 3 mm fra afstandsmøtrikkens udvendige overflade til enden af akslen inde i møtrikken.
Sæt den samlede møtrik og aksel i hjulet på siden med den ny pakning og lejet.
Med den åbne side af hjulet opad fyldes det indvendige område af hjulet rundt om akslen med universalfedt.
Sæt det andet leje og den ny pakning i hjulet.
Påfør gevindlåsemasse på den anden afstandsmøtrik, og skru den på akslen med nøglefladerne udad.
Tilspænd møtrikken med et moment på 8–9 Nm, løsn møtrikken, og tilspænd den derefter til 2–3 Nm.
Note: Sørg for, at akslen ikke rager ud over møtrikkerne.
Sæt pakningsafskærmningerne over hjulnavet, og sæt hjulet i styrehjulsgaflen.
Sæt styrehjulsbolten på, og spænd møtrikken helt.
Important: Efterse lejejusteringen ofte for at forhindre skader på pakninger og lejer. Drej styrehjulsdækket. Dækket må ikke dreje frit (i mere end 1-2 omgange) eller have sidelæns spil. Hvis hjulet drejer frit, skal afstandsmøtrikkens tilspændingsmoment justeres, indtil der opstår en anelse modstand. Påfør endnu et lag gevindlåseklæbemiddel.
Hold hænder og fødder, ansigt og tøj samt andre kropsdele væk fra lydpotten og andre varme overflader. Vent, til motorkomponenterne er kølet ned, før du udfører vedligeholdelsesarbejde.
Skift ikke motorens regulatorhastighed, og kør ikke motoren ved for høj hastighed.
| Vedligeholdelsesintervaller | Vedligeholdelsesprocedure |
|---|---|
| For hver 250 timer |
|
| For hver 500 timer |
|
Note: Udfør service på luftfilteret hyppigere, hvis maskinen anvendes under meget støvede eller sandede forhold.
Parker maskinen på en plan flade, udkobl kontakten til regulering af skæreknivene (kraftudtag), og aktiver parkeringsbremsen.
Sluk for motoren, tag nøglen ud, og vent, til alle bevægelige dele er standset, før du forlader betjeningspositionen.
Åbn låsene på luftfilteret, og træk luftfilterdækslet af luftfilterhuset (Figur 44).

Rens luftfilterdækslet indvendigt med trykluft.
Skub forsigtigt primærfilteret ud af luftfilterhuset (Figur 44).
Note: Undgå at ramme husets side med filteret.
Fjern kun sikkerhedsfilteret med henblik på udskiftning.
Efterse sikkerhedsfilteret. Hvis det er snavset, skal både sikkerheds- og primærfilteret.
Important: Forsøg ikke at rense sikkerhedsfilteret. Hvis sikkerhedsfilteret er beskidt, er primærfilteret beskadiget.
Efterse primærfilteret for skader ved at kigge ind i filteret, mens du lyser med skarpt lys på filterets udvendige side. Hvis primærfilteret er beskidt, bøjet eller beskadiget, skal det udskiftes.
Note: Huller i filteret ses som lyse pletter. Rengør ikke primærfilteret.
Important: For at undgå motorskade skal begge luftfiltre og dækslet altid være monteret, når motoren betjenes.
Hvis du installerer nye filtre, skal du kontrollere hvert filter for beskadigelse opstået under forsendelsen.
Note: Benyt ikke et beskadiget filter.
Hvis du skal udskifte det indre filter, skal du forsigtigt skyde det ind i filterhuset (Figur 44).
Skub forsigtigt primærfilteret over sikkerhedsfilteret (Figur 44).
Note: Sørg for, at primærfilteret er helt på plads ved at skubbe på filterets yderste kant, mens det installeres.
Important: Tryk ikke på den bløde del i midten af filteret.
Monter luftfilterdækslet, og fastgør låsene (Figur 44).
| Vedligeholdelsesintervaller | Vedligeholdelsesprocedure |
|---|---|
| Hver anvendelse eller dagligt |
|
| For hver 100 timer |
|
| For hver 200 timer |
|
Olietype: Selvrensende olie (API-service SF, SG, SH, SJ eller SL)
Krumtaphusindhold:
Kawasaki FX691-motorer – 2,0 l med filterskift, 1,8 l uden filterskift
Kawasaki FX801-motorer – 2,3 l med filterskift, 2,1 l uden filterskift
Viskositet: Se nedenstående tabel.

Note: Selvom 10W-40-motorolie anbefales til de fleste forhold, kan det være nødvendigt at skifte olieviskositet for at tage højde for atmosfæriske forhold. Ved at bruge 20W-50-motorolie i højere omgivelsestemperaturer kan olieforbruget reduceres.
Note: Kontroller olien, mens motoren er kold.
Important: Hvis du fylder for meget eller for lidt olie på motorens krumtaphus og starter motoren, risikerer du, at motoren beskadiges.
Parker maskinen på en plan flade, udkobl kontakten til regulering af skæreknivene (kraftudtag), og aktiver parkeringsbremsen.
Sluk for motoren, tag nøglen ud, og vent, til alle bevægelige dele er standset, før du forlader betjeningspositionen.
Note: Sørg for, at motoren er afkølet, så olien har haft tid til at løbe ned i sumpen.
Rengør området omkring oliepåfyldningsdækslet og målepinden, før målepinden tages ud, for at undgå, at der kommer snavs, græs osv. i motoren (Figur 46).


Note: Bortskaf den brugte olie på et genbrugsanlæg.
Start motoren, og lad den køre i fem minutter.
Note: På denne måde opvarmes olien, så den bliver lettere at aftappe.
Parker maskinen, så dræningssiden er lidt lavere end den modsatte side. På denne måde sikres det, at al olien aftappes.
Udkobl kontakten til regulering af skæreknivene (kraftudtag), og aktiver parkeringsbremsen.
Sluk motoren, tag nøglen ud, og vent, til alle bevægelige dele er standset, før du forlader betjeningspositionen.
Dræn olien fra motoren (Figur 47).


Hæld langsomt ca. 80 % af den angivne olie i påfyldningsrøret, og tilsæt langsomt ekstra olie, så oliestanden når op til mærket Full (fuld) (Figur 48).

Start motoren, og kør til et plant område.
Kontroller oliestanden igen.
Dræn olien fra motoren. Se Skift af motorolien.
Skift motoroliefilteret (Figur 49).


Note: Sørg for, at oliefilterpakningen berører motoren, og drej derefter oliefilteret en ekstra ¾ omgang.
Fyld krumtaphuset med den korrekte nye type olie. Se Motoroliespecifikationer.
| Vedligeholdelsesintervaller | Vedligeholdelsesprocedure |
|---|---|
| For hver 100 timer |
|
Sørg for, at gnistgabet mellem midter- og sideelektroden er korrekt, før tændrøret monteres. Brug en tændrørsnøgle til at afmontere og montere tændrøret og en søgelære til at kontrollere og justere gnistgabet. Monter om nødvendigt et nyt tændrør.
Tændrørstype:
Kawasaki FX691- og FX801-motorer – NGK® BPR4ES eller tilsvarende
Gnistgab: 0,75 mm
Parker maskinen på en plan flade, udkobl kontakten til regulering af skæreknivene (kraftudtag), og aktiver parkeringsbremsen.
Sluk for motoren, tag nøglen ud, og vent, til alle bevægelige dele er standset, før du forlader betjeningspositionen.
Rengør området omkring bunden af tændrøret for at forhindre, at der slipper snavs og materiale ind i motoren.
Find og fjern tændrøret/-ene som vist i Figur 50.


Important: Rengør ikke tændrøret/tændrørene. Udskift altid tændrøret/tændrørene, når det/de har: en sort belægning, slidte elektroder, oliefilm eller revner.
Hvis der kan ses en lys brun eller grå farve på isolatoren, fungerer motoren korrekt. En sort belægning på isoleringen betyder normalt, at luftfilteret er snavset.
Indstil gnistgabet til 0,76 mm.


Under visse forhold er brændstof meget brandfarligt og yderst eksplosivt. En brand eller eksplosion forårsaget af brændstof kan give dig eller andre forbrændinger samt medføre tingsskade.
Se Brændstofsikkerhed for at få en samlet liste over brændstofrelaterede forholdsregler.
| Vedligeholdelsesintervaller | Vedligeholdelsesprocedure |
|---|---|
| For hver 500 timer |
|
Important: Monter brændstofslangerne, og fastgør dem med plastikbånd på samme måde, som de oprindeligt var monteret fra fabrikken, så brændstofslangen holdes væk fra komponenter, der kan forårsage brændstofslangeskader.
Monter aldrig et snavset filter efter at have fjernet det fra brændstofledningen.
Brændstoffilteret er placeret i nærheden af motoren foran til venstre på motoren.
Parker maskinen på en plan flade, udkobl kontakten til regulering af skæreknivene (kraftudtag), og aktiver parkeringsbremsen.
Sluk for motoren, tag nøglen ud, og vent, til alle bevægelige dele er standset, før du forlader betjeningspositionen.
Lad maskinen køle af.
Udskift brændstoffilteret (Figur 53).
Note: Sørg for, at pilen, som angiver gennemstrømningsretningen på erstatningsfilteret, peger mod motoren.

Forsøg ikke at tømme brændstoftanken. Sørg for, at en autoriseret serviceforhandler tømmer brændstoftanken og efterser komponenterne i brændstofsystemet.
Kobl kablet fra batteriets minuspol, før du reparerer maskinen.
Oplad batterier på et åbent sted med god ventilation, væk fra gnister og åben ild. Træk stikket til opladeren ud af stikkontakten, før du slutter den til eller kobler den fra batteriet. Brug beskyttelsesdragt og isoleret værktøj.
| Vedligeholdelsesintervaller | Vedligeholdelsesprocedure |
|---|---|
| En gang om måneden |
|
Batteripoler eller metalværktøj kan kortslutte mod maskinens metaldele og forårsage gnister. Gnister kan få batterigasserne til at eksplodere og medføre personskade.
Når batteriet skal fjernes eller monteres, må batteriets poler ikke berøre nogen metaldele på maskinen.
Metalværktøj må ikke kortslutte mellem batteripolerne og maskinens metaldele.
Ukorrekt afmontering af kablerne fra batteriet kan danne gnister og beskadige maskinen og kablerne. Gnister kan få batterigasserne til at eksplodere og medføre personskade.
Frakobl altid batteriets (sorte) minuskabel, før du frakobler det røde pluskabel.
Tilslut altid batteriets røde pluskabel, før du tilslutter det sorte minuskabel.
Parker maskinen på en plan flade, udkobl kontakten til regulering af skæreknivene (kraftudtag), og aktiver parkeringsbremsen.
Sluk for motoren, tag nøglen ud, og vent, til alle bevægelige dele er standset, før du forlader betjeningspositionen.
Afmonter batteriet som vist i Figur 54.


Opladning af batteriet producerer gasser, der kan eksplodere.
Der må aldrig ryges i nærheden af batteriet, og gnister og åben ild skal holdes væk fra batteriet.
Important: Batteriet skal altid være fuldt opladet (en vægtfylde på 1,265). Dette er særlig vigtigt for at forhindre, at batteriet bliver beskadiget, når temperaturen er under 0 °C.
Fjern batteriet fra chassiset. Se Afmontering af batteriet.
Oplad batteriet i 10 til 15 minutter ved 25 til 30 A eller 30 minutter ved 10 A.
Note: Batteriet må ikke overoplades.
Når batteriet er fuldt opladet, skal du tage opladeren ud af stikkontakten og dernæst frakoble opladningskablerne fra batteriets poler (Figur 55).
Monter batteriet i maskinen, og tilslut batterikablerne. Se Montering af batteriet.
Note: Kør ikke maskinen med batteriet frakoblet – der kan opstå elektriske skader.

Placer batteriet i bakken, så polerne vender væk fra hydrauliktanken (Figur 54).
Slut batteriets (røde) pluskabel til batteriets pluspol (+).
Tilslut batteriets (sorte) minuskabel og jordledningen til batteriets minuspol (–).
Note: MyRide-maskiner: Sørg for, at jordkablet ikke gnider mod slæbearmen eller det nederste stødbeslag (Figur 57).

Fastgør kablerne med 2 bolte, 2 spændeskiver og 2 låsemøtrikker (Figur 54).
Før den røde klemme over på batteriets pluspol (+).
Fastgør batteriet med gummistroppen (Figur 54).
Det elektriske system er beskyttet af sikringer. Det kræver ingen vedligeholdelse, men hvis en sikring springer, skal du efterse komponenten og kredsløbet for fejl eller kortslutning.
Sikringerne er placeret på højre konsol ved siden af sædet (Figur 57).
En sikring udskiftes ved at trække den ud og fjerne den.
Isæt en ny sikring (Figur 57).

| Vedligeholdelsesintervaller | Vedligeholdelsesprocedure |
|---|---|
| Hver anvendelse eller dagligt |
|
Efterse sikkerhedsselen for slid og flænger, og kontroller, at oprulleren og spændet fungerer korrekt. Udskift sikkerhedsselen, hvis den er beskadiget.
Udkobl kontakten til regulering af skæreknivene (kraftudtag).
Kør til et åbent, plant område, og flyt bevægelseshåndtagene til den NEUTRALE LåSEPOSITION.
Placer gashåndtaget midtvejs mellem positionen FAST (hurtig) og SLOW (langsom).
Flyt begge bevægelseshåndtag frem, indtil de begge rammer stoppene i T-rillen.
Kontroller, hvilken vej maskinen sporer.
Hvis maskinen sporer til højre, skal den sekskantede nøgle på 3/16" sættes igennem adgangshullet i venstre forreste dækselpanel, og sporingsskruen skal drejes med eller mod uret for at justere grebets bevægelse (Figur 58).
Hvis maskinen sporer til venstre, skal den sekskantede nøgle på 3/16" sættes igennem adgangshullet i højre forreste dækselpanel, og sporingsskruen skal drejes med eller mod uret for at justere grebets bevægelse (Figur 58).
Kør maskinen, og kontroller den fulde fremadgående sporing.
Gentag denne justering, indtil sporingen er korrekt.

| Vedligeholdelsesintervaller | Vedligeholdelsesprocedure |
|---|---|
| For hver 50 timer |
|
Oprethold et lufttryk i styrehjuls- og bagdækkene på 0,9 bar. Ujævnt dæktryk kan forårsage ujævn klipning. Dæktrykket skal kontrolleres, når dækkene er kolde. På denne måde fås den mest præcise trykmåling.

Kontroller og tilspænd hjullåsemøtrikkerne med et moment på 122-136 Nm.
| Vedligeholdelsesintervaller | Vedligeholdelsesprocedure |
|---|---|
| Efter de første 100 timer |
|
| For hver 500 timer |
|
Note: Kontroller, at parkeringsbremsen er justeret korrekt. Denne procedure skal følges efter de første 100 timer, eller når en bremsekomponent er blevet fjernet eller udskiftet.
Parker maskinen på en plan overflade.
Udkobl kontakten til regulering af skæreknivene (kraftudtag), flyt bevægelseshåndtagene til den NEUTRALE LåSEPOSITION, og aktiver parkeringsbremsen.
Sluk maskinen, tag nøglen ud, og vent, indtil alle bevægelige dele er standset, før du forlader betjeningspositionen.
Sæt maskinen op til at blive skubbet manuelt. Se Brug af drivhjulets udløsningsventiler.
Løft maskinens bagende, og understøt maskinen med donkrafte.
Det kan være farligt udelukkende at benytte mekaniske eller hydrauliske donkrafte til at understøtte en hævet maskine i forbindelse med eftersyn eller vedligeholdelse, eftersom donkraftene muligvis ikke kan yde tilstrækkelig støtte eller kan svigte, hvilket kan få maskinen til at styrte ned og forårsage alvorlig personskade.
Stol ikke udelukkende på mekaniske eller hydrauliske donkrafte til støtte. Anvend tilstrækkeligt med donkrafte eller lignende støtte.
Aktiver, og deaktiver parkeringsbremsen, og kontroller hvert drivdæk for at sikre, at hver bremse indkobler og udkobler.
Hvis en justering er nødvendig, skal parkeringsbremsen deaktiveres. Efterse alle komponenter i parkeringsbremseforbindelsen for slid. Udskift alle slidte komponenter (Figur 60) og gentag trin 6.

Kontroller begge fjederlængder som vist i Figur 61. Hvis en justering er nødvendig, skal fjederfastgøringsmøtrikken drejes med uret for at afkorte fjederen og mod uret for at forlænge den. Gentag trin 6.

Når justeringen er fuldført, skal donkraften fjernes eller støttes tilsvarende, og maskinen skal sænkes.
Placer maskinen i BETJENINGSPOSITIONEN. Se Brug af drivhjulets udløsningsventiler.
Du kan komme alvorligt til skade, hvis du betjener maskinen, mens vognbunden er taget af, eller hvis du undlader at fjerne vognbunden helt for at udføre vedligeholdelse af komponenterne under den.
Maskinen må ikke betjenes, når vognbunden er taget af. Fjern vognbunden helt, før du udfører vedligeholdelse under den.
For at fjerne vognbunden skal du løfte den op og trække den ud af åbningerne i stellet.
Note: For maskiner med MyRide skal du løfte gulvmåtten op, så vognbunden blotlægges.

For at montere vognbunden skal du placere den i åbningerne i stellet og sænke den på plads.

| Vedligeholdelsesintervaller | Vedligeholdelsesprocedure |
|---|---|
| For hver 50 timer |
|
Udskift remmen, hvis den er slidt. Tegnene på en slidt rem omfatter en hvinende lyd, når remmen roterer, glidende skæreknive under plæneklipning og flossede kanter, brændemærker og revner på remmen.
Parker maskinen på en plan flade, udkobl kontakten til regulering af skæreknivene (kraftudtag), og aktiver parkeringsbremsen.
Sluk for motoren, tag nøglen ud, og vent, til alle bevægelige dele er standset, før du forlader betjeningspositionen.
Sænk plæneklipperen til en klippehøjde på 76 mm.
Løsn bolten på hver remskærm.
Udløs plæneklipperskjoldets gardin ved at fjerne splitten. Se Frigivelse af plæneklipperskjoldets gardin.
Afmonter plademetalafskærmningen. Se Afmontering af plademetalafskærmningen.
Fjern remskærmene (Figur 64).

Brug en â…œ" skralde i det firkantede hul i styrearmen for at fjerne spændingen på styrefjederen (Figur 65).
Fjern remmen fra plæneklipperskjoldets remskiver og koblingsremskiven.
Fjern remstyret på den fjederbelastede styrearm (Figur 65).
Fjern den eksisterende rem.
Før den nye rem rundt om plæneklipperens remskiver og koblingsremskiven under motoren (Figur 65).

Monter remstyret på styrearmen (Figur 65).
Monter styrefjederen i det firkantede hul med ⅜" skralden (Figur 65).
Note: Sørg for, at fjederenderne er placeret i forankringsrillerne.
Monter remskærmene (Figur 66).

Parker maskinen på en plan flade, udkobl kontakten til regulering af skæreknivene (kraftudtag), og aktiver parkeringsbremsen.
Sluk for motoren, tag nøglen ud, og vent, til alle bevægelige dele er standset, før du forlader betjeningspositionen.
Fjern plæneklipperremmen. Se Udskiftning af plæneklipperremmen.
Løft maskinen, og understøt den med donkrafte.
Brug en ½" skralde eller afbryderarm i det firkantede hul i styrearmen for at fjerne spændingen på styrefjederen (Figur 67).
Fjern den eksisterende rem fra styreremskiven, hydraulikpumpens 2 drivremskiver og motorremskive (Figur 67).
Fastgør den nye rem omkring styreremskiven, motorremskiven og hydraulikpumpens 2 drivremskiver (Figur 67).
Monter styrefjederen i det firkantede hul med ½" skralden eller styrearmen.
Note: Sørg for, at fjederenderne er placeret i forankringsrillerne.
Monter plæneklipperremmen. Se Udskiftning af plæneklipperremmen.

Se Justering af bevægelseshåndtagenes forbindelse, hvis håndtagenes ender slår imod hinanden.
Du kan justere bevægelseshåndtagene til højere eller lavere for maksimal komfort.
Parker maskinen på en plan flade, udkobl kontakten til regulering af skæreknivene (kraftudtag), og aktiver parkeringsbremsen.
Sluk for motoren, tag nøglen ud, og vent, til alle bevægelige dele er standset, før du forlader betjeningspositionen.
Fjern de bolte og møtrikker, der fastholder håndtaget til styrearmsakslen.

Flyt håndtaget til det næste sæt huller. Fastgør håndtaget med boltene og møtrikkerne.
Gentag justeringen for det andet håndtag.
Parker maskinen på en plan flade, udkobl kontakten til regulering af skæreknivene (kraftudtag), og aktiver parkeringsbremsen.
Sluk for motoren, tag nøglen ud, og vent, til alle bevægelige dele er standset, før du forlader betjeningspositionen.
Løsn den øverste bolt, der fastholder håndtaget til styrearmsakslen.
Løsn den nederste bolt lige nok til, at håndtaget kan drejes foran eller bagtil. Stram begge bolte for at fastholde håndtaget i den nye position.
Gentag justeringen for det andet håndtag.

Bevægelseshåndtagenes pumpeforbindelse er placeret på hver side af maskinen under sædet. Der kan foretages finjusteringer ved at dreje endemøtrikken med en ½" topnøgle, så maskinen ikke bevæger sig i neutral position. Justeringer må kun foretages for neutral position.
Motoren skal køre, og drivhjulene skal dreje, så du kan udføre justeringerne. Kontakt med bevægelige dele eller varme overflader kan forårsage personskader.
Hold fingre, hænder og tøj væk fra roterende komponenter og varme overflader.
Parker maskinen på en plan flade, udkobl kontakten til regulering af skæreknivene (kraftudtag), og aktiver parkeringsbremsen.
Sluk for motoren, tag nøglen ud, og vent, til alle bevægelige dele er standset, før du forlader betjeningspositionen.
Træd pedalen til skjoldløftet ned, fjern klippehøjdesplitten, og sænk plæneklipperskjoldet ned på jorden
Hæv bagenden af maskinen, og støt den på donkrafte (eller lignende støtte), så den er højt nok oppe til, at drivhjulene kan dreje frit.
Tag den elektriske forbindelse ud af sædesikkerhedskontakten, der er placeret under den nederste sædehynde.
Note: Kontakten er en del af sædeenheden.
Monter midlertidigt en kortslutningsledning mellem klemmerne i hovedledningsnetstikket.
Start motoren, sæt den til fuld gas, og deaktiver parkeringsbremsen.
Note: Før motoren startes, skal det sikres, at parkeringsbremsen er aktiveret, og at bevægelseshåndtagene er ude. Du behøver ikke at sidde i sædet.
Lad maskinen køre i mindst 5 minutter med drivhåndtagene placeret i positionen til fuld fart frem for at bringe hydraulikvæsken op på driftstemperatur.
Note: Bevægelseshåndtagene skal være i neutral, når du foretager justeringer.
Flyt bevægelseshåndtagene til NEUTRAL position.
Kontroller og sørg for, at styrepladetapperne berører retur-til-neutral pladerne på de hydrauliske enheder.
Juster længden på pumpekontrolstangen ved at dreje møtrikken i den relevante retning, indtil hjulene bevæger sig langsomt baglæns (Figur 70 og Figur 71).


Flyt bevægelseshåndtagene til positionen for BAGLæNS kørsel, mens håndtaget påføres et let tryk, så omstyringsindikatorfjedrene kan bringe håndtagene tilbage til neutral position.
Note: Hjulene bør holde op med at dreje eller krybe en smule i bakgear.
Note: Du bliver muligvis nødt til at fjerne dækslet til bevægelseshåndtagene for at få adgang.
Sluk maskinen.
Fjern kortslutningsledningen fra ledningsnettet, og sæt stikket i sædekontakten.
Fjern støttebukkene
Hæv plæneklipperskjoldet, og monter klippehøjdesplitten.
Kontroller og sørg for, at maskinen ikke går i neutral, når parkeringsbremsen er deaktiveret.
Søg straks lægehjælp, hvis der sprøjtes væske ind under huden. Væske sprøjtet ind under huden skal fjernes kirurgisk inden for nogle få timer af en læge.
Sørg for, at alle slanger og rør til hydraulikvæske er i god stand, og at alle hydrauliske forbindelser og fittings slutter tæt, før der sættes tryk på det hydrauliske system.
Hold din krop og hænder væk fra splithulslækager eller dyser, der sprøjter højtrykshydraulikvæske ud.
Brug pap eller papir til at finde eventuelle hydrauliklækager.
Tag hele trykket af det hydrauliske system, før der udføres arbejde på det.
Hydraulikvæsketype: Toro® HYPR-OIL™ 500-hydraulikvæske eller kommerciel Hydro-Gear-gearkasseolie
Important: Anvend den angivne væske. Hvis der bruges en anden olie, kan det beskadige hydrauliksystemet.
Hydrauliksystemets kapacitet (uden filtre): 7,57 l
| Vedligeholdelsesintervaller | Vedligeholdelsesprocedure |
|---|---|
| Hver anvendelse eller dagligt |
|
Lad hydraulikvæsken afkøle. Kontroller oliestanden, når væsken er kold.
Kontroller ekspansionsbeholderen, og tilfør om nødvendigt Toro® HYPR-OIL™ 500-hydraulikvæske op til linjen FULL COLD (fuld kold) (Figur 72).

| Vedligeholdelsesintervaller | Vedligeholdelsesprocedure |
|---|---|
| Efter de første 100 timer |
|
Filtrene skal fjernes, før hydraulikvæsken udskiftes. Udskift begge samtidigt. Se væskespecifikationerne under Hydraulikvæskespecifikationer.
Tøm systemet for eventuel luft, når du har monteret det nye filter og fyldt væske på. Se Udluftning af hydrauliksystemet. Gentag udluftningsprocessen, indtil væsken forbliver ved linjen FULL COLD (fuld kold) i beholderen efter udluftning.
Important: Hvis denne procedure ikke udføres, kan det medføre uoprettelig skade på gearkassens drivsystem.
Parker maskinen på en plan flade, udkobl kontakten til regulering af skæreknivene (kraftudtag), og aktiver parkeringsbremsen.
Sluk for motoren, tag nøglen ud, og vent, til alle bevægelige dele er standset, før du forlader betjeningspositionen.
Lad motoren køle af.
Brug en forlænger og en 7/16" topnøgle for at få adgang til udluftningsproppen fra maskinens overside gennem hullerne i nærheden af styrtbøjlens monteringsbeslag (Figur 73).
Note: Sørg for at holde styr på udluftningsproppen efter afmontering, da den let bliver væk.

Rengør omhyggeligt området omkring filtret.
Important: Sørg for, at der ikke trænger snavs ind i hydrauliksystemet, da der ellers kan forekomme kontaminering.
Sæt en drænbakke under filteret for at opfange væsken, der drænes, når filteret og udluftningspropperne fjernes.
Fjern hydraulikvæskefilterets dæksel fra gearkassen for at dræne væsken (Figur 74).

Fjern O-ringen fra filterdækslet, og kasser O-ringen.
Når hydraulikvæsken er løbet ud af gearkassen, fjernes filteret fra gearkassehuset.
Gentag denne procedure på den anden side af maskinen.
Monter et nyt filter i gearkassen og en ny O-ring på filterdækslet.
Monter filterdækslet.
Tilspænd filterdækslet med et moment på 22,6 til 33,8 Nm.
Fjern hætten fra ekspansionsbeholderen, og fyld transakslerne med den angivne væske, indtil den korrekte væskekapacitet er nået.
Note: Det kan tage længere tid end forventet at fylde transakslerne.
Monter de udluftningspropper, du fjernede tidligere, og tilspænd propperne med et moment på 395 til 904 Ncm.
Fortsæt til Udluftning af hydrauliksystemet.
Important: Hvis proceduren under Udluftning af hydrauliksystemet ikke udføres efter udskiftning af hydraulikfiltrene og -væsken, kan det medføre uoprettelig skade på transakseldrivsystemet.
Hæv bagenden af maskinen, og støt den på donkrafte (eller lignende støtte), så den er højt nok oppe til, at drivhjulene kan dreje frit.

Start motoren, flyt gashåndtaget frem til positionen for ½ gas, og deaktiver parkeringsbremsen.
Flyt omløbshåndtagene til positionen til skubning af maskinen. Flyt langsomt bevægelseshåndtagene både frem og tilbage 5-6 gange, mens omløbsventilerne er åbne, og motoren kører.
Flyt omløbshåndtagene til positionen til betjening af maskinen.
Flyt langsomt håndtaget både frem og tilbage 5-6 gange, mens omløbsventilen er lukket, og motoren kører.
Sluk for motoren, og kontroller væskestanden i ekspansionsbeholderen. Tilsæt den foreskrevne mængde væske, indtil den når linjen FULL COLD (fuld kold) i ekspansionsbeholderen.
Gentag trin 2, indtil al luft er lukket ud af systemet.
Note: Når gearkassen har et normalt støjniveau og bevæger sig frem og tilbage uden problemer ved normal hastighed, er den udtømt.
Kontroller væskestanden i ekspansionsbeholderen en sidste gang. Tilsæt den foreskrevne væske, indtil den når linjen FULL COLD (fuld kold) på ekspansionsbeholderen.
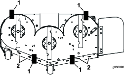
Efterse jævnligt skæreknivene for slid og skader.
Vær forsigtig, når du efterser knivene. Pak skæreknivene ind, eller bær handsker, og vær forsigtig når du efterser skæreknivene. Du må kun udskifte eller slibe skæreknivene. De må aldrig rettes ud eller svejses.
På maskiner med flere skæreknive skal du udvise forsigtighed, da én skæreknivs rotation kan få andre skæreknive til at rotere.
Udskift slidte eller beskadigede skæreknive og bolte sætvis for at bevare afbalanceringen.
For at sikre en god klippekvalitet skal skæreknivene holdes skarpe. Det kan være praktisk at have en eller flere ekstra skæreknive ved hånden i forbindelse med slibning og udskiftning.
Parker maskinen på en plan flade, udkobl kontakten til regulering af skæreknivene (kraftudtag), og aktiver parkeringsbremsen.
Sluk motoren, fjern nøglen, og tag tændrørskablerne fra tændrørene.
| Vedligeholdelsesintervaller | Vedligeholdelsesprocedure |
|---|---|
| Hver anvendelse eller dagligt |
|
Efterse skærekanterne (Figur 76).
Hvis kanterne ikke er skarpe, eller hvis de har hakker, skal skæreknivene afmonteres og slibes. Se Slibning af skæreknivene.
Efterse skæreknivene, især det buede område.
Hvis skæreknivene er beskadiget eller slidt, eller hvis der er antydning af en revne i dette område, skal der straks monteres nye skæreknive (Figur 76).

Note: Maskinen skal stå på en plan overflade, når følgende procedure udføres.
Hæv plæneklipperskjoldet til den højeste klippehøjde.
Bær tykt polstrede handsker eller anden tilstrækkelig håndbeskyttelse, drej langsomt skærekniven til en position, der gør det muligt for dig at måle afstanden mellem skærekanten og den plane flade, som maskinen befinder sig på (Figur 77).

Mål fra spidsen af skærekniven til den plane overflade (Figur 78).

Drej samme skærekniv 180 grader, så den modsatte skærekant nu befinder sig i samme position (Figur 79).

Mål fra spidsen af skærekniven til den plane overflade (Figur 80).
Note: Forskellen bør ikke være større end 3 mm.

Hvis forskellen mellem A og B er større end 3 mm, udskiftes skærekniven med en ny skærekniv. Se Afmontering af skæreknivene og Montering af skæreknivene.
Note: Hvis en bøjet skærekniv udskiftes med en ny skærekniv, og forskellen stadig er over 3 mm, er knivspindlen muligvis bøjet. Kontakt en autoriseret serviceforhandler med henblik på eftersyn.
Hvis forskellen er inden for det tilladte, skal du gå videre til næste skærekniv.
Gentag proceduren på hver skærekniv.
Udskift skæreknivene, hvis de rammer et solidt objekt, eller hvis skærekniven er ude af balance eller bøjet.
Anbring en skruenøgle på spindelakslens flade, eller hold skæreknivens ende med en klud eller en tyk polstret handske.
Fjern skæreknivsbolten, bøsningen og skærekniven fra spindelakslen (Figur 81).

Anvend en fil til at slibe begge ender af skærekniven (Figur 82).
Note: Bevar den oprindelige vinkel.
Note: Skærekniven bevarer balancen, hvis der fjernes den samme mængde materiale på begge skærekanter.

Kontroller knivens balance ved at placere den på en afbalanceringsenhed (Figur 83).
Note: Hvis skærekniven forbliver i en vandret position, er kniven afbalanceret og kan benyttes.
Note: Hvis kniven ikke er afbalanceret, skal der slibes lidt mere metal af sejlområdet (Figur 82).

Gentag denne procedure, indtil skærekniven er afbalanceret.
Monter bøsningen gennem skærekniven med bøsningsflangen på skæreknivens underside (græsside) (Figur 84).

Monter bøsningen og skærekniven på spindelakslen (Figur 85).

Påfør kobberbaseret smøremiddel eller smørefedt på gevindene på skæreknivsbolten efter behov for at forhindre, at den sidder fast. Monter skæreknivsbolten fingerstramt.
Anbring en skruenøgle på spindelakslens flade, og tilspænd skæreknivsbolten til et moment på 75 til 81 Nm.
Kontroller, at plæneklipperskjoldet er plant, hver gang du monterer plæneklipperen, eller når du ser en ujævn klipning på plænen.
Kontroller plæneklipperskjoldet for bøjede skæreknive før nivellering, og fjern og udskift bøjede skæreknive. Se Kontrol for bøjede skæreknive, før du fortsætter.
Niveller først plæneklipperskjoldet fra side til side. Derefter kan du justere den langsgående hældning.
Krav:
Maskinen skal stå på en plan overflade.
Alle dæk skal være korrekt pumpet; se Kontrol af dæktrykket.
Parker maskinen på en plan flade, udkobl kontakten til regulering af skæreknivene (kraftudtag), og aktiver parkeringsbremsen.
Sluk for motoren, tag nøglen ud, og vent, til alle bevægelige dele er standset, før du forlader betjeningspositionen.
Kontroller dæktrykket på drivdækkene. Se Kontrol af dæktrykket.
Placer plæneklipperskjoldet i transportlåsepositionen eller den højeste klippehøjdeindstilling.
Drej forsigtigt skæreknivene fra side til side.
Mål mellem knivspidsen og den flade overflade (Figur 86). Hvis ingen af målene ligger inden for 5 mm, skal de justeres. Fortsæt med denne procedure.

Kontroller den langsgående knivhældning (Figur 87). Kontroller, at den forreste knivspids er lavere end den bagerste knivspids som vist i blokhøjde- og rivetabellen. Hvis justering er nødvendig, skal denne procedure fortsættes.

Sæt antiskalperingsrullerne i de øverste huller, eller fjern dem helt, når denne justering foretages.
Hæv skjoldet til transportpositionen (140 mm).
Løsn langsomt justeringsskruen på hjælpeløftefjederen, indtil du kan fjerne skruen (Figur 88).
Note: Gem skruen til montering.

Placer to blokke (se blokhøjde- og rivetabellen) under bagkanten af klippeskjoldet – en på hver side af klippeskjoldet (Figur 89).
Flyt klippehøjdehåndtaget til position 76 mm. Se Justering af klippehøjden.
Placer to blokke under hver side af skjoldets forkant, men ikke under antiskalperingsrullebeslagene eller svejsningerne.

| Skjoldstørrelse | Forreste blokhøjde | Rive |
| Alle plæneklipperskjolde | 73 mm | 4,8 til 6,4 mm |
Drej forsigtigt skæreknivene fra side til side (Figur 86).
Sænk plæneklipperskjoldet til 76 mm-positionen. Se Justering af klippehøjden.
Løsn boltene (Figur 90) på alle fire hjørner, og kontroller, at plæneklipperskjoldet sidder sikkert på alle fire blokke.
Fjern alt slæk fra skjoldophænget, og sørg for, at skjoldets løftepedal er skubbet tilbage mod stopklodsen.
Stram de 4 bolte.

Sørg for, at blokkene passer nøjagtigt ind under skjoldet, og at alle fastgørelsesboltene er spændt til
Fortsæt nivelleringen af skjoldet ved at kontrollere den langsgående knivhældning.
Kontroller knivenes nivellering igen, og gentag skjoldnivelleringen om nødvendigt.
Hæv skjoldet til transportpositionen (140 mm).
Isæt justeringsskruen til hjælpeløftefjederen, du fjernede i trin 10.
Indstil afstanden mellem fjederen og beslaget til 22 til 29 mm.
Før der foretages servicering af plæneklipperskjoldet, eller før det fjernes, skal de fjederbelastede skjoldarme låses.
Parker maskinen på en plan flade, udkobl kontakten til regulering af skæreknivene (kraftudtag), og aktiver parkeringsbremsen.
Sluk for motoren, tag nøglen ud, og vent, til alle bevægelige dele er standset, før du forlader betjeningspositionen.
Sæt højdejusteringssplitten i klippehøjdeplaceringen på 76 mm.
Fjern remskærmene.
Løsn plæneklipperskjoldets styreremskive, og fjern plæneklipperremmen. Se Vedligeholdelse af remme.
Fjern bolte og møtrikker fra forsiden af pladen under fodstøtten.
Fjern, og gem bolte og møtrikker på begge sider af maskinen (Figur 91).
Skub skjoldet ud til højre side af maskinen.

En utildækket udblæsningsåbning kan resultere i, at maskinen udkaster genstande mod dig eller omkringstående, hvilket kan medføre alvorlig personskade. Der kan også opstå kontakt med skærekniven.
Betjen aldrig maskinen uden at have monteret en kværnafskærmning, en udblæsningsdeflektor eller et græssamlersystem.
Fjern låsemøtrikken, bolten, fjederen og afstandsbøsningen, som fastholder græsdeflektoren til akselbeslagene (Figur 92).
Fjern den beskadigede eller slidte græsdeflektor (Figur 92).

Placer afstandsbøsningen og fjederen på græsdeflektoren.
Placer den ene af fjederens J-formede ender bag skjoldets kant.
Note: Sørg for, at fjederens ene J-formede ende sidder bag skjoldets kant, før bolten monteres som vist i Figur 92.
Monter bolten og møtrikken.
Placer en af fjederens J-formede ender omkring græsdeflektoren (Figur 92).
Important: Græsdeflektoren skal kunne dreje. Løft deflektoren op, så den kan åbnes helt, og sørg for, at den drejer, så den kan sænkes helt ned.
| Vedligeholdelsesintervaller | Vedligeholdelsesprocedure |
|---|---|
| Efter hver anvendelse |
|
Parker maskinen på en plan flade, udkobl kontakten til regulering af skæreknivene (kraftudtag), og aktiver parkeringsbremsen.
Sluk for motoren, tag nøglen ud, og vent, til alle bevægelige dele er standset, før du forlader betjeningspositionen.
Hæv plæneklipperskjoldet til positionen TRANSPORT.
Brug trykluft til at rengøre ophængningssystemet.
Note: Rengør ikke støddæmperne med vand under tryk (Figur 93).

Motorolie, batterier, hydraulikvæske og motorkølervæske forurener miljøet. Bortskaf dem i henhold til den lokale gældende lovgivning.
Sluk motoren, tag nøglen ud, og vent, til alle bevægelige dele er standset, før du forlader førersædet. Lad maskinen køle af, inden du justerer, efterser, rengør eller stiller den til opbevaring.
Opbevar ikke maskinen eller brændstof i nærheden af flammer, og dræn ikke brændstoffet indendørs eller i en lukket anhænger.
Opbevar ikke maskinen eller brændstofbeholderen, hvor der er åben ild, gnister eller vågeblus som f.eks på en vandvarmer eller på andre apparater.
Udkobl kontakten til regulering af skæreknivene (kraftudtag), og aktiver parkeringsbremsen.
Sluk for motoren, tag nøglen ud, og vent, til alle bevægelige dele er standset, før du forlader betjeningspositionen.
Fjern afklippet græs og snavs fra alle maskinens ydre dele, særligt motoren og det hydrauliske system. Fjern snavs og avner fra motorens køleribber og blæserhuset.
Important: Du kan vaske maskinen med et mildt rengøringsmiddel og vand. Udsæt ikke maskinen for højtryksrensning. Undgå overdreven brug af vand, særligt i nærheden af kontrolpanelet, motoren og hydraulikpumperne.
Kontroller parkeringsbremsefunktionen. Se Justering af parkeringsbremsen.
Udfør serviceeftersyn af luftfilteret. Se Eftersyn af luftfilteret.
Smør maskinen. Se Smøring af maskinen.
Skift krumtaphusolien. Se Serviceeftersyn af motorolien.
Kontroller dæktrykket. Se Kontrol af dæktrykket.
Skift hydraulikfiltrene. Se Udskiftning af hydraulikvæsken og -filtrene.
Oplad batteriet. Se Opladning af batteriet.
Skrab enhver større ophobning af græs og snavs af plæneklipperens underside, og vask derefter plæneklipperen med en haveslange.
Note: Kør maskinen med kontakten til regulering af skæreknivene (kraftudtag) indkoblet og motoren ved høj tomgangshastighed i 2 til 5 minutter efter vask.
Kontroller skæreknivenes tilstand. Se Serviceeftersyn af skæreknivene.
Klargør maskinen til opbevaring, hvis den ikke skal bruges i mere end 30 dage. Klargør maskinen til opbevaring på følgende måde.
Tilsæt en petroleumsbaseret stabilisator til brændstoffet i tanken. Følg blandingsvejledningen fra stabilisatorfabrikanten. Anvend ikke alkoholbaseret stabilisator (ethanol eller metanol).
Note: Brændstofstabilisator er mest effektivt, når det blandes med frisk brændstof og altid anvendes.
Lad motoren køre i 5 minutter for at fordele brændstoffet i brændstofsystemet.
Sluk for motoren, lad den køle af, og dræn brændstoftanken.
Start motoren igen, og lad den køre, indtil den stopper.
Brændstof skal bortskaffes på forsvarlig vis. Genbrug olien i overensstemmelse med gældende retningslinjer.
Important: Opbevar ikke brændstof med stabilisator længere tid end anbefalet af brændstofstabilisatorens producent.
Fjern gløderøret/-ene, og besigtig deres tilstand. Se Serviceeftersyn af tændrøret/tændrørene. Når tændrøret/-ene er afmonteret fra motoren, hældes der 30 ml (to spiseskefulde) motorolie ned i tændrørshullet. Brug den elektriske starter til at tørne motoren for at fordele olien i cylinderen. Monter tændrøret/-ene. Sæt ikke kablet på tændrøret/tændrørene.
Kontroller og stram alle bolte, møtrikker og skruer. Reparer eller udskift alle beskadigede dele.
Mal alle ridsede eller blotlagte metaloverflader. Maling kan købes hos en autoriseret serviceforhandler.
Opbevar maskinen i en ren, tør garage eller på et passende sted. Tag nøglen ud af tændingskontakten, og opbevar den utilgængeligt for børn og andre uautoriserede brugere. Tildæk maskinen for at beskytte den og holde den ren.
| Problem | Possible Cause | Corrective Action |
|---|---|---|
| Motoren overopheder. |
|
|
| Starteren tørner ikke. |
|
|
| Motoren starter ikke, er svær at starte eller sætter ud. |
|
|
| Motoren mister kraft. |
|
|
| Plæneklipperen trækker til venstre eller højre (med håndtagene helt fremad) |
|
|
| Maskinen kører ikke. |
|
|
| Maskinen vibrerer unormalt. |
|
|
| Klippehøjden er ujævn. |
|
|
| Knivene roterer ikke. |
|
|
| Koblingen indkobler ikke. |
|
|


