| Częstotliwość serwisowania | Procedura konserwacji |
|---|---|
| Przed każdym użyciem lub codziennie |
|
Ta samojezdna kosiarka z obrotowymi ostrzami jest przeznaczona do użytku profesjonalnego. Przeznaczona jest przede wszystkim do koszenia trawy na dobrze utrzymanych trawnikach prywatnych lub komercyjnych. Używanie produktu w celach niezgodnych z jego przeznaczeniem może okazać się niebezpieczne dla operatora i osób postronnych.
Przeczytaj uważnie poniższe informacje, aby poznać zasady właściwej obsługi i konserwacji urządzenia, nie uszkodzić go i uniknąć obrażeń ciała. Odpowiedzialność za prawidłowe i bezpieczne użytkowanie produktu spoczywa na Tobie.
Odwiedź www.Toro.com w kwestiach dotyczących materiałów szkoleniowych z zakresu bezpieczeństwa oraz eksploatacji produktu, informacji na temat akcesoriów, pomocy w znalezieniu autoryzowanego sprzedawcy lub rejestracji urządzenia.
Aby skorzystać z serwisu, zakupić oryginalne części Toro lub uzyskać dodatkowe informacje, skontaktuj się z przedstawicielem autoryzowanego serwisu lub biurem obsługi klienta firmy Toro, a także przygotuj numer modelu i numer seryjny urządzenia. Rysunek 1 przedstawia położenie numeru modelu i numeru seryjnego na produkcie. Zapisz je w przewidzianym na to miejscu.
Important: Urządzeniem mobilnym zeskanuj kod QR na tabliczce z numerem seryjnym (jeżeli występuje), aby uzyskać informacje o gwarancji, częściach zamiennych i innych kwestiach związanych z produktem.

W niniejszej instrukcji występują 2 słowa podkreślające wagę informacji. Ważne zwraca uwagę na szczególne informacje techniczne, a Uwaga podkreśla informacje ogólne, wymagające szczególnej uwagi.
Ten symbol ostrzegawczy (Rysunek 2) występuje zarówno w instrukcji, jak i na maszynie, i oznacza ważne informacje dotyczące bezpieczeństwa, których należy przestrzegać, aby uniknąć wypadków. Ten symbol występuje ze słowem Niebezpieczeństwo, Ostrzeżenie lub Uwaga.
Niebezpieczeństwo: Wskazuje na sytuację bezpośredniego zagrożenia, która, jeśli się jej nie zapobiegnie, doprowadzi do śmierci lub poważnych obrażeń ciała.
Ostrzeżenie: Wskazuje na sytuację potencjalnego zagrożenia, która, jeśli się jej nie zapobiegnie, może doprowadzić do śmierci lub poważnych obrażeń ciała.
Uwaga: Wskazuje na sytuację potencjalnego zagrożenia, która, jeśli się jej nie zapobiegnie, może doprowadzić do niewielkich lub umiarkowanych obrażeń ciała.

Niniejsze urządzenie jest zgodne ze wszystkimi obowiązującymi dyrektywami Unii Europejskiej; szczegółowe informacje zamieszczone są w odpowiedniej deklaracji zgodności, w oddzielnym arkuszu.
Można je znaleźć w dołączonej do maszyny dokumentacji producenta silnika.
Moment obrotowy na wale lub moment użyteczny: Moment obrotowy na wale silnika lub moment użyteczny silnika został wyznaczony laboratoryjnie przez producenta silnika, zgodnie z wytycznymi Stowarzyszenia Inżynierów Motoryzacji (SAE) J1940 lub J2723. Rzeczywisty moment obrotowy silnika w kosiarce tej klasy może być znacznie niższy z powodu jej dostosowania do wymagań dotyczących bezpieczeństwa, emisji oraz eksploatacji. Można je znaleźć w dołączonej do maszyny dokumentacji producenta silnika.
KALIFORNIA
Propozycja 65 ostrzeżenie
Układ wydechowy tego urządzenia zawiera substancje chemiczne, które mogą być przyczyną powstawania raka, chorób układu oddechowego i innych schorzeń.
Użycie tego produktu może skutkować narażeniem się na działanie związków chemicznych uznanych w Stanie Kalifornia za wywołujące raka, uszkodzenia płodu lub działające szkodliwie dla rozrodczości.
Niniejszy produkt może obciąć dłonie lub stopy oraz wyrzucać przedmioty. Aby uniknąć poważnych obrażeń ciała lub śmierci, zawsze przestrzegaj wszystkich instrukcji dotyczących bezpieczeństwa.
Przed pierwszym uruchomieniem silnika należy zapoznać się z niniejszą instrukcją obsługi.
Osoby postronne i dzieci powinny znajdować się w bezpiecznej odległości.
Zabronione jest użytkowanie lub serwisowanie maszyny przez dzieci lub osoby nieprzeszkolone. Maszynę mogą obsługiwać lub serwisować jedynie osoby odpowiedzialne, przeszkolone, znające instrukcję i fizycznie do tego zdolne.
Pałąk musi zawsze znajdować się w uniesionym, zablokowanym położeniu, a pas bezpieczeństwa musi być zapięty.
Nie używaj maszyny w pobliżu stromych zboczy, rowów, nasypów, wody i innych miejsc niebezpiecznych oraz na zboczach o nachyleniu przekraczającym 15°.
Nie zbliżać dłoni ani stóp do ruchomych części maszyny.
Zabronione jest używanie maszyny bez założonych i poprawnie działających wszystkich osłon, wyłączników bezpieczeństwa oraz innych urządzeń ochronnych.
Przed opuszczeniem stanowiska operatora wyłącz silnik, wyjmij kluczyk zapłonu i odczekaj, aż wszystkie części ruchome zatrzymają się. Przed przystąpieniem do obsługi technicznej, regulacji, tankowania, czyszczenia lub przed przechowywaniem maszyny odczekaj aż ostygnie.

![]() |
Etykiety dotyczące bezpieczeństwa oraz instrukcje są wyraźnie widoczne dla operatora i znajdują się w pobliżu wszystkich miejsc potencjalnego zagrożenia. Uszkodzone i brakujące etykiety należy wymienić. |






















Zanim uruchomisz silnik i rozpoczniesz pracę z maszyną, zapoznaj się ze wszystkimi elementami sterowania.

Przełącznik kluczykowy, używany do uruchamiania i wyłączania silnika, ma trzy pozycje: WYłąCZENIE, PRACA i ROZRUCH. Patrz Uruchamianie silnika.
Wyłącznik świateł do WłąCZANIA lub WYłąCZANIA świateł (Rysunek 5).
Włącznik ssania służy do uruchomienia zimnego silnika.
Dźwignia przepustnicy służy do sterowania prędkością obrotową silnika. Dźwignię można ustawić w dowolnej pozycji między położeniem WOLNO a SZYBKO (Rysunek 5).
Przełącznik sterowania ostrzem, oznaczony symbolem wału odbioru mocy (WOM) służy do załączania i odłączania napędu ostrza kosiarki (Rysunek 5).
Licznik godzin rejestruje liczbę godzin pracy silnika. Licznik pracuje podczas pracy silnika. Korzystaj ze wskazań licznika do planowania regularnej konserwacji (Rysunek 6).

Na liczniku godzin znajdują się symbole, które wskazują (symbol czarnego trójkąta), że składnik blokujący jest poprawnie ustawiony (Rysunek 6).
Gdy włącznik kluczykowy zostanie na kilka sekund ustawiony w pozycji PRACA, w obszarze, gdzie normalnie są wyświetlane godziny wyświetlone zostanie napięcie akumulatora.
Kontrolka akumulatora włączy się, gdy wyłącznik kluczykowy zostanie włączony i gdy poziom naładowania będzie poniżej prawidłowego poziomu roboczego (Rysunek 6).
Dźwignie kierowania służą do kierowania ruchem maszyny do przodu, do tyłu oraz do skręcania w dowolnym kierunku (Rysunek 4).
Schodząc z maszyny, ustaw dźwignie sterowania na zewnątrz względem położenia środkowego, w położeniu NEUTRALNYM ZABLOKOWANYM (zob. Rysunek 26). Ustawiaj dźwignie sterowania w położeniu NEUTRALNYM-ZABLOKOWANYM zawsze, gdy zatrzymasz maszynę lub gdy pozostawiasz ją bez nadzoru.
Aby zapobiec niekontrolowanemu ruchowi kosiarki, po każdym wyłączeniu jej silnika zaciągnij hamulec postojowy.
Zamykaj zawór odcinający dopływ paliwa przed transportowaniem lub przechowywaniem maszyny; patrz Używanie zaworu odcięcia paliwa.
Note: Dane techniczne i konstrukcja mogą ulec zmianie bez uprzedzenia.
| Podwozie tnące o szer. 132 cm | Podwozie tnące o szer. 152 cm | |
|---|---|---|
| Bez podwozia tnącego | 137 cm | 140 cm |
| Deflektor trawy uniesiony | 150 cm | 166 cm |
| Deflektor trawy opuszczony | 171 cm | 191 cm |
| Deflektor zdemontowany | 141 cm | 156 cm |
| Opony 26-calowe | |
|---|---|
| Długość | 220 cm |
| Opony 26-calowe | |
|---|---|
| Pałąk bezpieczeństwa w górnej pozycji | 185 cm |
| Pałąk bezpieczeństwa w dolnej pozycji | 129 cm |
| Maszyny | Masa |
| Maszyny o szer. 132 cm | od 531 do 540 kg |
| Maszyny o szer. 152 cm | od 535 do 590 kg |
| Maksymalny nacisk pionowy na hak | Masa brutto holowanego zespołu* |
|---|---|
| 22 kg | 113 kg |
* Całkowita masa holowanego zespołu (np. przyczepa wraz z ładunkiem, holowany skaryfikator, aerator itp.)
Dostępna jest gama zatwierdzonego przez firmę Toro sprzętu i akcesoriów przeznaczonych do stosowania z maszyną, zwiększających jej możliwości. Skontaktuj się z autoryzowanym przedstawicielem serwisowym lub dystrybutorem lub odwiedź stronę www.Toro.com, aby uzyskać listę wszystkich zatwierdzonych akcesoriów i osprzętu.
Aby zapewnić maksymalną wydajność i zachować certyfikat bezpieczeństwa maszyny, używaj wyłącznie oryginalnych części zamiennych i akcesoriów firmy Toro. Części zamienne i akcesoria pochodzące od innych producentów mogą stwarzać zagrożenie dla bezpieczeństwa. Korzystanie z nich może spowodować utratę gwarancji maszyny.
Note: Określ lewą i prawą stronę maszyny ze standardowego stanowiska operatora.
Zabronione jest użytkowanie lub serwisowanie maszyny przez dzieci lub osoby nieprzeszkolone. Przepisy lokalne mogą ograniczać wiek operatora. Za szkolenie operatorów i mechaników odpowiada właściciel.
Sprawdź obszar, w którym zamierzasz używać maszyny, i usuń wszelkie obiekty, które mogłyby wpłynąć na pracę maszyny lub zostać podrzucone przez maszynę.
Należy zapoznać się z zasadami bezpiecznego użytkowania sprzętu, elementami sterującymi oraz symbolami bezpieczeństwa.
Sprawdź czujniki obecności operatora i właściwe działanie wyłączników bezpieczeństwa, a także osłony pod kątem prawidłowego zamocowania i działania. Nie używać maszyny, jeśli nie działa ona prawidłowo.
Przed opuszczeniem stanowiska operatora wyłącz silnik, wyjmij kluczyk zapłonu i odczekaj, aż wszystkie części ruchome zatrzymają się. Przed przystąpieniem do obsługi technicznej, regulacji, tankowania, czyszczenia lub przed przechowywaniem maszyny odczekaj aż ostygnie.
Przed rozpoczęciem koszenia sprawdź maszynę oraz czy jednostki tnące działają prawidłowo.
Oceń teren pod kątem konieczności zastosowania odpowiedniego wyposażenia oraz sprzętu i akcesoriów w celu właściwego i bezpiecznego operowania maszyną.
Noś odpowiednią odzież, w tym ochronę oczu, długie spodnie, pełne obuwie robocze z podeszwą antypoślizgową i ochronniki słuchu. Zwiąż włosy, jeżeli są długie, i nie noś luźnej odzieży ani zwisającej biżuterii.
W maszynie nie wolno przewozić pasażerów.
Nie pozwalaj osobom postronnym i zwierzętom przebywać w pobliżu maszyny podczas pracy. Jeśli ktokolwiek wejdzie w obszar pracy, wyłącz maszynę i jej osprzęt.
Zabronione jest używanie maszyny bez założonych i poprawnie działających wszystkich osłon oraz innych urządzeń ochronnych takich jak deflektory i wychwytywacze trawy. Zużyte lub zniszczone części należy wymieniać wedle potrzeby.
Paliwo jest niezwykle łatwopalne i wybuchowe. Pożar lub wybuch paliwa może skutkować poważnymi oparzeniami ciała oraz zniszczeniem mienia.
Aby zapobiec zapłonowi paliwa wskutek wyładowania elektrostatycznego, wyprowadź maszynę z samochodu ciężarowego lub przyczepy i tankuj ją na ziemi z dala od pojazdów. Jeżeli nie jest to możliwe, ustaw kanister na paliwo na ziemi, z dala od pojazdów i napełnij go; następnie napełnij zbiornik paliwa maszyny ze kanistra, a nie z pistoletu dystrybutora.
Napełniaj zbiornik paliwa na zewnątrz, na płaskim terenie, na otwartej przestrzeni, gdy silnik jest zimny. Wycieraj rozlane paliwo.
Nie zbliżaj się do paliwa, kiedy palisz. Paliwo nie może znajdować się w pobliżu otwartego płomienia ani iskier.
Nigdy nie zdejmuj korka zbiornika paliwa ani nie uzupełniaj paliwa w trakcie pracy silnika lub gdy jest on rozgrzany.
W przypadku rozlania paliwa nie próbuj włączać silnika. Unikaj możliwości spowodowania zapłonu do czasu rozproszenia oparów paliwa.
Przechowuj paliwo w atestowanym kanistrze, poza zasięgiem dzieci.
Połknięcie paliwa prowadzi do poważnych obrażeń lub śmierci. Długotrwałe wystawienie na działanie oparów może wywołać poważne obrażenia i choroby.
Unikaj długotrwałego wdychania oparów.
Nie zbliżaj rąk ani twarzy do pistoletu dystrybutora paliwa i otworu zbiornika paliwa.
Unikaj kontaktu paliwa z oczami i ze skórą.
Nie przechowuj maszyny ani kanistra na paliwo w miejscach występowania otwartego ognia, tam gdzie występuje iskrzenie lub stosowany jest płomień pilotowy, na przykład przy piecykach gazowych lub innych urządzeniach tego typu.
Nigdy nie używaj maszyny, gdy układ wydechowy jest niekompletny lub nie jest w dobrym stanie technicznym.
Utrzymuj dyszę dystrybutora tak, aby stykała się z obręczą zbiornika lub otworu pojemnika przez cały czas, aż do zakończenia tankowania. Nie stosować blokady zaworu pistoletu.
Ubranie oblane paliwem należy natychmiast zmienić.
Nie wlewaj nadmiernej ilości paliwa do zbiornika. Założyć korek paliwa i mocno go dokręcić.
Usuń trawę i pozostałości z zespołu tnącego, tłumika, napędów, wychwytywacza trawy i komory silnika, aby zmniejszyć ryzyko powstania pożaru. Pamiętaj, aby usunąć rozlany olej lub rozlane paliwo.
Aby uzyskać najlepsze rezultaty, używaj tylko czystej, świeżej (poniżej 30 dni) benzyny bezołowiowej o liczbie oktanowej 87 lub wyższej (metoda klasyfikacji (R+M)/2).
Etanol: można stosować benzynę zawierającą do 10% etanolu (gazohol) lub 15% MTBE (eteru tert-butylowo-metylowego). Etanol i MTBE to nie to samo. Benzyna o zawartości 15% etanolu (E15) nie może być stosowana. Nigdy nie należy stosować benzyny zawierającej w objętości ponad 10% etanolu, takiej jak E15 (zawiera 15% etanolu), E20 (zawiera 20% etanolu), czy E85 (zawiera do 85% etanolu). Zastosowanie nieprawidłowego rodzaju benzyny może skutkować problemami z wydajnością i/lub uszkodzeniem silnika, które mogą nie być objęte gwarancją.
Nie używaj benzyny zawierającej metanol.
Zabrania się przechowywania paliwa w zbiorniku lub kanistrach przez okres zimowy, jeżeli nie został użyty stabilizator paliwa.
Nie dolewaj oleju do benzyny.
Zastosowanie środka stabilizującego/dodatku uszlachetniającego paliwo może zapewnić następujące korzyści:
Wydłuża czas użytkowania paliwa, pod warunkiem przestrzegania zasad producenta środka stabilizującego.
Oczyszczanie silnika w trakcie pracy
Wyeliminowanie powstawania w układzie paliwowym gumowych osadów, które utrudniają rozruch silnika
Important: Nie stosuj dodatków uszlachetniających paliwo zawierających metanol lub etanol.
Dodaj do paliwa właściwą porcję środka stabilizującego/dodatku uszlachetniającego paliwo.
Note: Środek stabilizujący/dodatek uszlachetniający jest najskuteczniejszy, gdy zostanie wymieszany ze świeżym paliwem. Aby zmniejszyć do minimum możliwość powstania osadów w układzie paliwowym, należy stosować stabilizator do paliwa przez cały czas.
Zaparkuj maszynę na równym podłożu.
Załącz hamulec postojowy.
Wyłącz silnik i wyjmij kluczyk ze stacyjki.
Oczyść okolice korka zbiornika paliwa.
Napełniaj zbiornik paliwa do dolnego poziomu szyjki wlewu (Rysunek 7).
Note: Nie napełniaj całego zbiornika. Wolna przestrzeń pozostawiona w zbiorniku umożliwia rozszerzanie się paliwa.

Każdego dnia przed uruchomieniem maszyny wykonuj wymienione w rozdziale czynności kontrolne wykonywane codzienne lub przy każdym użyciu.
Osiągnięcie przez silnik pełnej mocy wymaga nieco czasu. Nowe jednostki tnące oraz układy napędowe kosiarek generują większe opory i powodują większe obciążenie silnika. Nowa maszyna wymaga około 40 do 50 godzin dotarcia, aby rozwinąć pełną moc i uzyskać najlepsze osiągi.
Aby uniknąć obrażeń lub śmierci spowodowanej przewróceniem, utrzymuj pałąk w całkowicie uniesionym i zablokowanym położeniu oraz zapnij pas bezpieczeństwa.
Sprawdź, czy fotel jest zamocowany do maszyny.
Kiedy pałąk jest opuszczony, ochrona przed przewróceniem nie jest zapewniona.
Pałąk można obniżyć, wyłącznie jeżeli jest to absolutnie niezbędne.
Nie należy zapinać pasa bezpieczeństwa, jeżeli pałąk jest opuszczony.
Jedź powoli i ostrożnie.
Gdy przestrzeń jest wystarczająca, podnieś pałąk.
Przed przejechaniem pod jakimikolwiek obiektami (np. konarami lub przewodami elektrycznymi) albo przez drzwi sprawdź dokładnie wolną przestrzeń nad maszyną, aby uniknąć zderzenia.
Important: Pałąk można obniżyć, wyłącznie jeżeli jest to absolutnie niezbędne.
Z obu stron pałąka wyjmij zawleczkę i sworzeń.
Opuść pałąk.
Note: Istnieją dwie pozycje dolne, zob. Rysunek 9.
Zamocuj 2 sworznie i zabezpiecz je zawleczkami.


Important: Zapnij pas bezpieczeństwa, jeżeli pałąk jest podniesiony.
Wyjmij zawleczki i usuń 2 sworznie.
Podnieś pałąk.
Zamocuj 2 sworznie i zabezpiecz je zawleczkami.

Jeśli wyłączniki blokad bezpieczeństwa są odłączone lub uszkodzone, pojazd może zostać nieoczekiwanie uruchomiony, powodując obrażenia ciała.
Nie manipuluj przy przełącznikach blokad.
Codziennie, przed przystąpieniem do obsługi maszyny, sprawdzaj działanie przełączników blokad i wymieniaj wszystkie uszkodzone przełączniki.
Układ blokad bezpieczeństwa został opracowany, aby zapobiegać uruchomieniu silnika, chyba że:
Hamulec postojowy jest załączony.
Przełącznik sterowania ostrzami (napęd PTO) jest odłączony.
Dźwignie sterowania są w położeniu NEUTRALNYM ZABLOKOWANYM.
Układ blokad bezpieczeństwa powoduje zatrzymanie silnika również wtedy, gdy dźwignie sterowania jazdą zostaną przestawione z położenia NEUTRALNEGO ZABLOKOWANEGO przy załączonym hamulcu postojowym lub jeśli wstaniesz z fotela, gdy załączony jest napęd PTO.
Na liczniku godzin znajdują się wskaźniki informujące użytkownika o prawidłowym położeniu danego komponentu blokady. Gdy komponent znajduje się w prawidłowym położeniu, wskaźnik zaświeci się.

| Częstotliwość serwisowania | Procedura konserwacji |
|---|---|
| Przed każdym użyciem lub codziennie |
|
Układ blokad bezpieczeństwa sprawdzaj przed każdym skorzystaniem z maszyny. Jeżeli układ bezpieczeństwa nie działa w sposób opisany poniżej, skontaktuj się z autoryzowanym przedstawicielem serwisowym w celu przeprowadzenia niezwłocznej naprawy.
Usiądź na fotelu, załącz hamulec postojowy i ustaw przełącznik sterowania ostrzami (napęd WOM) w położeniu WłąCZONYM. Spróbuj uruchomić silnik (nie powinien się uruchomić).
Usiądź na fotelu, załącz hamulec postojowy i ustaw przełącznik sterowania ostrzami (napęd WOM) w położeniu WYłąCZONYM. Przesuń jedną z dźwigni sterowania z położenia NEUTRALNEGO ZABLOKOWANEGO. Spróbuj uruchomić silnik (nie powinien się uruchomić). Powtórz czynność dla drugiej dźwigni kierowania.
Usiądź na fotelu, załącz hamulec postojowy, ustaw przełącznik sterowania ostrzami (napęd WOM) w położeniu WYłąCZONYM i ustaw dźwignie sterowania jazdą w położeniu NEUTRALNYM ZABLOKOWANYM. Teraz uruchom silnik. Gdy silnik pracuje, zwolnij hamulec postojowy, załącz przełącznik sterowania ostrzem (PTO) i lekko unieś się z fotela – silnik powinien się zatrzymać.
Usiądź na fotelu, załącz hamulec postojowy, ustaw przełącznik sterowania ostrzami (napęd WOM) w położeniu WYłąCZONYM i ustaw dźwignie sterowania jazdą w położeniu NEUTRALNYM ZABLOKOWANYM. Teraz uruchom silnik. Gdy silnik pracuje, ustaw dowolną dźwignię kierowania w środkowej pozycji i przesuń ją do przodu lub do tyłu – silnik powinien się zatrzymać. Powtórz czynność dla drugiej dźwigni kierowania.
Siedząc na fotelu, zwolnij hamulec postojowy, ustaw przełącznik sterowania ostrzami (napędu PTO) w położeniu WYłąCZONYM i ustaw dźwignie sterowania jazdą w położeniu NEUTRALNYM ZABLOKOWANYM. Spróbuj uruchomić silnik (nie powinien się uruchomić).
Fotel można przesuwać do przodu i do tyłu. Położenie fotela ustaw w miejscu, w którym masz najlepszą kontrolę nad maszyną i w którym czujesz się najwygodniej (Rysunek 12).

System zawieszenia MyRide™ dostosowuje się samoczynnie tak, aby zapewnić płynną i wygodną jazdę. Poprzez regulację 2 tylnych zespołów amortyzujących możesz szybko i łatwo zmienić system zawieszenia. Ustaw system zawieszenia w najwygodniejszym dla siebie położeniu.
Wycięcia w tylnych zespołach amortyzujących posiadają pozycje zapadek używane do określenia pozycji. Tylne zespoły amortyzujące można ustawić w dowolnej pozycji wycięcia, nie tylko w położeniach zapadek. Poniższy wykres przedstawia pozycje miękkiego lub twardego zawieszenia oraz poszczególne pozycje zapadek (Rysunek 13).

Note: Dopilnuj, aby lewy i prawy zespół amortyzujący były ustawione w tych samych pozycjach.
Wyreguluj tylne zespoły amortyzujące (Rysunek 14).


Właściciel/operator może zapobiegać wypadkom i jest odpowiedzialny za obrażenia ciała innych osób i uszkodzenia mienia wynikłe wskutek wypadków.
Podczas obsługi maszyny zachowaj pełne skupienie. Nie podejmuj żadnych rozpraszających czynności; w przeciwnym razie możesz spowodować obrażenia lub wyrządzić szkody w mieniu.
Nie używaj maszyny będąc chorym, zmęczonym lub pod wpływem alkoholu lub narkotyków.
Kontakt z ostrzem może doprowadzić do poważnych obrażeń ciała. Przed opuszczeniem stanowiska operatora wyłącz silnik, wyjmij kluczyk zapłonu i odczekaj, aż wszystkie części ruchome się zatrzymają. Po przekręceniu kluczyka do pozycji WYłąCZENIA silnik powinien się wyłączyć, a ostrze powinno się zatrzymać. Jeżeli tak się nie stanie, natychmiast przestań korzystać z maszyny i skontaktuj się z przedstawicielem autoryzowanego serwisu.
Korzystaj z urządzenia tylko przy dobrej widoczności i odpowiednich warunkach pogodowych. Nie używaj maszyny, jeżeli występuje ryzyko wystąpienia wyładowań atmosferycznych.
Nie zbliżaj dłoni ani stóp do zespołów tnących. Nie zbliżaj się do wylotu wyrzutnika.
Nie koś trawy, gdy deflektor jest podniesiony, zdjęty lub zmodyfikowany, chyba że kosiarka jest wyposażona w prawidłowo działający system zbierania trawy lub rozdrabniacz.
Nie koś na biegu wstecznym, chyba że jest to absolutnie konieczne. Przed i podczas wykonywania maszyną ruchu do tyłu patrz zawsze w dół i za siebie.
Zachowaj szczególną ostrożność, zbliżając się do zakrętów z ograniczoną widocznością, krzewów, drzew lub innych obiektów, które mogą ograniczać widoczność.
Zatrzymaj ostrza zawsze, gdy nie wykonujesz koszenia.
Jeśli maszyna uderzy w jakiś przedmiot lub wpadnie w wibracje, natychmiast wyłącz silnik, wyjmij kluczyk (jeżeli występuje) i odczekaj, aż wszystkie części ruchome zatrzymają się przed sprawdzeniem, czy maszyna nie jest uszkodzona. Przed kontynuowaniem pracy przeprowadź wszystkie niezbędne naprawy.
Zwolnij i zachowaj ostrożność podczas skręcania i przejeżdżania przez jezdnie i chodniki. Zawsze ustępujemy drogi takim pojazdom.
Przed opuszczeniem stanowiska operatora:
Zaparkuj maszynę na równym podłożu.
Odłącz wał odbioru mocy i opuść osprzęt.
Załącz hamulec postojowy.
Wyłącz silnik i wyjmij kluczyk ze stacyjki.
Zaczekaj, aż wszystkie ruchome części zatrzymają się.
Uruchamiaj silnik jedynie w dobrze wentylowanych miejscach. Spaliny zawierają tlenek węgla (czad), którego wdychanie prowadzi do śmierci.
Nie wolno pozostawiać uruchomionej maszyny bez nadzoru.
Holowany osprzęt zaczepiaj wyłącznie do punktu zaczepienia.
Zabronione jest używanie maszyny bez założonych i poprawnie działających wszystkich osłon oraz innych urządzeń ochronnych takich jak deflektory i wychwytywacze trawy. Zużyte lub zniszczone części należy wymieniać wedle potrzeby.
Używaj jedynie akcesoriów i osprzętu zatwierdzonych przez firmę Toro.
Poziom hałasu wytwarzany przez maszynę przekracza 85 dBA przy uchu operatora. Przy długotrwałym użytkowaniu może to doprowadzić do utraty słuchu.

Oczyść zespół tnący, napędy, tłumiki i silnik z trawy i innych pozostałości, aby zapobiec ewentualnym pożarom.
Uruchamiaj silnik ze stopami odsuniętymi od ostrzy.
Zwracaj uwagę na kierunek wyrzutu trawy i nie kieruj wyrzutu kosiarki w stronę innych osób. Nie wyrzucaj materiału na ściany lub przeszkody, gdyż może on odbić się od nich i uderzyć w operatora.
Zatrzymaj ostrza, zmniejsz prędkość maszyny i zachowaj ostrożność podczas przejeżdżania przez powierzchnie inne niż trawa lub podczas transportu maszyny do i z obszaru pracy.
Nie zmieniaj ustawień regulatora silnika ani nie ustawiaj nadmiernej prędkości obrotowej.
Operacje koszenia często przyciągają dzieci do maszyny. Nie wolno zakładać, że dzieci pozostaną tam, gdzie było je widać ostatnio.
Nie zezwalaj dzieciom na podchodzenie w pobliże odśnieżanego obszaru i zapewnij im opiekę osoby dorosłej innej niż operator.
Jeżeli dzieci wejdą w obszar pracy, zachowaj czujność i wyłącz maszynę.
Przed cofaniem lub zawracaniem maszyną rozejrzyj się w dół i dookoła za małymi dziećmi.
Nie wolno przewozić dzieci maszyną, nawet przy wyłączonych ostrzach. Dzieci mogą spaść z maszyny i doznać poważnych obrażeń lub przeszkadzać w bezpiecznej obsłudze maszyny. Dzieci, które wcześniej jeździły maszyną, mogą pojawić się w obszarze pracy bez ostrzeżenia i zostać przez nią potrącone lub przewrócone.
Układ ROPS stanowi integralne i efektywne zabezpieczenie. Zabrania się demontażu lub ingerencji w układ ROPS.
Kiedy pałąk jest opuszczony, ochrona przed przewróceniem nie jest zapewniona.
Pałąk bezpieczeństwa musi zawsze w znajdować się w pozycji całkowicie podniesionej i zablokowanej, a pas bezpieczeństwa należy zapinać zawsze, gdy pałąk jest podniesiony.
Upewnij się, że pas bezpieczeństwa może być szybko odpięty w sytuacji awaryjnej.
Pałąk można obniżyć, wyłącznie jeżeli jest to absolutnie niezbędne. Nie zapinaj pasa bezpieczeństwa, jeżeli pałąk jest opuszczony.
Gdy przestrzeń jest wystarczająca, podnieś pałąk.
Wypadnięcie kół poza ścieżkę wyznaczoną krawężnikiem, przejazd po pochyłości lub wjechanie w zagłębienie lub kałużę mogą spowodować przewrócenie się maszyny, co może prowadzić do poważnych obrażeń lub śmierci.
Dokładnie sprawdzić dostępną przestrzeń nad głową operatora przed wjazdem pod wszelkie obiekty; nie wolno ich dotykać.
W razie przewrócenia zabierz maszynę do autoryzowanego przedstawiciela serwisowego w celu sprawdzenia układu ROPS.
Uszkodzone części układu zabezpieczającego przed przewróceniem należy wymienić. Zabrania się ich naprawiania lub modyfikowania.
Na układzie ROPS używaj jedynie akcesoriów i osprzętu zatwierdzonych przez firmę Toro.
Zbocza są głównym czynnikiem powodującym utratę kontroli i przewracanie się maszyny, co może skutkować poważnymi obrażeniami ciała lub śmiercią. Operator odpowiada za bezpieczną pracę na zboczach. Użytkowanie maszyny na terenach pochyłych i zboczach wymaga dodatkowej uwagi. Przed rozpoczęciem pracy z maszyną na zboczu należy:
Zapoznać się z zaleceniami dotyczącymi pracy na zboczach zawartymi w instrukcji i na maszynie oraz zrozumieć je.
Przy pomocy wskaźnika nachylenia określić w przybliżeniu nachylenie zbocza na danym obszarze.
Nie wolno używać maszyny na terenach o nachyleniu większym niż 15°.
Ocenić warunki miejscowe w danym dniu, aby ocenić, czy praca maszyny na zboczu jest bezpieczna. Kierować się zdrowym rozsądkiem i umiejętnością oceny sytuacji podczas dokonywania oceny. Zmiany terenowe, takie jak zawilgocenie mogą szybko wpłynąć na pracę maszyny na zboczu.
Zidentyfikować zagrożenia przy podstawie zbocza. Nie używaj maszyny w pobliżu stromych zboczy, rowów, nasypów, wody i innych miejsc niebezpiecznych. Nagłe przejechanie kołem przez obrzeże lub osunięcie się obrzeża mogłoby spowodować wywrócenie się maszyny. Pomiędzy maszyną a potencjalnym niebezpieczeństwem zachowuj bezpieczną odległość (dwukrotność szerokości maszyny). Do koszenia trawy w tych miejscach użyj kosiarkę pchaną lub trymer ręczny.
Unikaj ruszania, zatrzymywania i skręcania na zboczach. Nie dokonuj nagłych zmian prędkości i kierunku jazdy; skręcaj powoli i stopniowo.
Nie używaj maszyny w warunkach, w których przyczepność, sterowanie lub stabilność są niepewne. Pamiętaj, że używanie maszyny na mokrej trawie, w poprzek lub w dół zbocza może skutkować utratą przyczepności przez maszynę. Utrata przyczepności przez koła napędowe może skutkować poślizgiem i utratą możliwości hamowania lub sterowania. Maszyna może ślizgać się nawet z zatrzymanymi kołami.
Usuń lub oznacz przeszkody takie jak rowy, dziury, koleiny, garby, kamienie lub inne ukryte zagrożenia. Wysoka trawa może zakrywać przeszkody. Na nierównym terenie istnieje ryzyko przewrócenia się maszyny.
Podczas pracy z akcesoriami lub osprzętem, takimi jak systemy zbierania trawy zachowuj szczególną ostrożność. Mogą one spowodować zmianę stabilności maszyny i utratę kontroli. Przestrzegaj zaleceń dotyczących przeciwwagi.
W miarę możliwości podczas pracy na zboczach podwozie tnące powinno być obniżone. Podniesienie podwozia tnącego podczas pracy na zboczu może powodować niestabilność maszyny.

Nie zaczepiaj holowanego osprzętu do miejsca innego niż punkt zaczepienia.
Nie używaj maszyny do holowania innych pojazdów, jeżeli nie posiada ona haka do holowania.
Nie wolno przekraczać dopuszczalnej masy brutto holowanego zespołu.
Nigdy nie pozwalaj dzieciom ani innym osobom zbliżać się do holowanego sprzętu.
Na pochyłościach masa holowanej maszyny może spowodować utratę przyczepności oraz może zwiększyć ryzyko przewrócenia się maszyny lub utraty kontroli nad nią. Należy zmniejszyć masę holowanego sprzętu oraz zwolnić.
Większa masa holowana może spowodować wydłużenie drogi hamowania. Jedź powoli i uwzględnij dodatkową odległość wymaganą do zatrzymania maszyny.
Wykonuj szerokie skręty, aby osprzęt nie zbliżył się do maszyny.
Aby zająć pozycję operatora (Rysunek 17) wejdź po podwoziu tnącym jak po stopniu.

Załączaj hamulec postojowy, zawsze po zatrzymaniu maszyny lub gdy pozostawiasz ją bez nadzoru.
Zaparkuj maszynę na równym podłożu.


Przełącznik sterowania ostrzem (PTO) służy do uruchamiania i zatrzymywania ostrza kosiarki i wszelkiego napędzanego osprzętu.
Note: Załączenie przełącznika sterowania ostrzem (PTO) przy przepustnicy w położeniu otwarcia do połowy lub mniej spowoduje nadmierne zużywanie się pasków napędowych.


Dźwignię przepustnicy można ustawić w położeniu pomiędzy położeniem SZYBKO i WOLNO (Rysunek 22).
Załączając PTO należy zawsze używać pozycji SZYBKO.

Note: Rozgrzany lub gorący silnik może nie wymagać ssania.
Important: Podczas rozruchu silnika nie kręć rozrusznikiem dłużej niż przez 5 sekund. Utrzymywanie rozrusznika pracującego przez ponad 5 sekund może spowodować uszkodzenie jego silnika. Jeśli silnik nie daje się uruchomić, odczekaj 10 sekund pomiędzy kolejnymi próbami.

Dzieci lub osoby postronne mogą odnieść obrażenia w przypadku przemieszczenia lub próby uruchomienia maszyny pozostawionej bez nadzoru.
Podczas pozostawienia maszyny bez nadzoru należy zawsze wyjmować kluczyk i załączać hamulec postojowy.


Koła napędowe są napędzane przez oddzielne silniki hydrauliczne i obracają się niezależnie. Jedna strona może kręcić się do tyłu podczas gdy druga może kręcić się do przodu, co spowoduje obrót maszyny w miejscu zamiast jazdy po łuku. Poprawia to znacząco zwrotność maszyny, ale może wymagać czasu do przystosowania się do jej sposobu poruszania się.
Przepustnica kontroluje prędkość obrotową silnika, wyrażoną w obr./min (obrotach na minutę). Aby osiągnąć najwyższą moc, ustaw moduł sterowania przepustnicą w pozycji SZYBKIEJ. Podczas koszenia przepustnica musi być całkowicie otwarta.
Maszyna może obracać się bardzo szybko. Operator może utracić kontrolę nad maszyną i doprowadzić do obrażeń ciała lub uszkodzenia maszyny.
Podczas skrętów należy zachować ostrożność.
Zwolnij przed ostrymi zakrętami.
Note: W przypadku przesunięcia dźwigni sterowania jazdą przy załączonym hamulcu postojowym silnik zgaśnie.
Aby zatrzymać maszynę, przesuń dźwignie sterowania do położenia NEUTRALNEGO.
Zwolnij hamulec postojowy.
Ustaw dźwignie sterowania jazdą w środkowym położeniu odblokowanym.
Aby jechać do przodu, powoli przesuń do przodu dźwignie kierowania (Rysunek 27).

Ustaw dźwignie sterowania jazdą w środkowym położeniu odblokowanym.
Aby jechać do tyłu, powoli przesuń dźwignie kierowania do tyłu (Rysunek 28).

Kosiarka wyposażona została w deflektor trawy zamocowany na zawiasie, rozrzucający ścinki na boki i w dół do darni.
Bez zamontowanego deflektora trawy, osłony wyrzutu lub kompletnego zespołu wychwytywacza trawy, użytkownik i inne osoby narażone są na kontakt z ostrzem i wyrzucanymi pozostałościami. Kontakt z obracającymi się ostrzami kosiarki i wyrzucanymi pozostałościami może spowodować obrażenia lub śmierć.
Deflektora trawy nie wolno zdejmować z podwozia tnącego, ponieważ kieruje on materiał w dół do darni. Jeśli deflektor trawy ulegnie uszkodzeniu, należy go wymienić.
Nie wkładaj dłoni ani stóp pod podwozie tnące.
Nie wolno czyścić obszaru wyrzutu lub ostrzy kosiarki, jeśli przełącznik sterowania ostrzami (WOM) nie jest ustawiony w położeniu ODłąCZENIA, a kluczyk należy ustawić w położeniu WYłąCZONYM, a następnie go wyjąć ze stacyjki.
Upewnij się, że deflektor trawy jest opuszczony.
Wciśnij pedał podnoszenia podwozia tnącego całkowicie do przodu, aby zablokować podwozie tnące kosiarki w pozycji TRANSPORTOWEJ (Rysunek 29).
Wciśnij pedał podnoszenia podwozia tnącego do przodu i wciśnij blokadę transportową do przodu, aby ODBLOKOWAć położenie, a następnie powoli opuść podwozie tnące (Rysunek 29).

Wysokość koszenia można regulować w zakresie od 38 do 140 mm co 6 mm, przekładając sworzeń wysokości koszenia w inny otwór.
Wciśnij pedał podnoszenia podwozia tnącego całkowicie do przodu i zablokuj podwozie tnące w pozycji TRANSPORTOWEJ (zwanej również położeniem wysokości koszenia 140 mm) w sposób pokazany na Rysunek 30.
Aby wyregulować, wyjmij sworzeń ze wspornika wysokości cięcia (Rysunek 30).
We wsporniku wysokości cięcia wybierz otwór odpowiadający żądanej wysokości koszenia i włóż w niego sworzeń (Rysunek 30).
Wciśnij pedał podnoszenia podwozia tnącego do przodu, wciśnij blokadę transportową do przodu i powoli opuść podwozie tnące.

Wciśnij przełącznik podnoszenia podwozia tnącego (Rysunek 31)

We wsporniku wysokości cięcia wybierz otwór odpowiadający żądanej wysokości koszenia i włóż w niego sworzeń (Rysunek 32).
Wciśnij przełącznik podnoszenia podwozia tnącego w dół, aby mechanizm wysokości cięcia delikatnie zetknął się ze sworzniem wysokości koszenia (Rysunek 32).
Note: Nadmierny styk mechanizmu wysokości cięcia i sworznia wysokości koszenia może mieć negatywny wpływ na wysokość koszenia i wypoziomowanie podwozia tnącego.

Po każdej zmianie wysokości koszenia należy wyregulować wysokość rolek zapobiegających zdzieraniu darni.
Note: Ustaw rolki zapobiegające zdzieraniu darni w taki sposób, aby nie dotykały podłoża podczas normalnej jazdy po płaskim trawniku.
Ustaw maszynę na poziomej nawierzchni, odłącz napęd ostrzy za pomocą przełącznika sterującego ostrzami i załącz hamulec postojowy.
Przed opuszczeniem stanowiska operatora wyłącz silnik, wyjmij kluczyk zapłonu i odczekaj, aż wszystkie części ruchome się zatrzymają.
Wyreguluj rolki zapobiegające zdzieraniu darni w sposób pokazany na Rysunek 33.

Aby zapewnić najlepsze koszenie i maksymalną cyrkulację powietrza, używaj silnika z przepustnicą ustawioną w położeniu SZYBKIM. Powietrze jest potrzebne do dokładnego rozdrobnienia ścinków trawy, nie należy więc ustawiać wysokości koszenia tak nisko, że podwozie tnące jest całkowicie otoczone nieściętą trawą. Należy jeden z boków podwozia tnącego trzymać na obszarze wolnym od nieściętej trawy, co pozwoli na zapewnienie dopływu powietrza do wnętrza podwozia tnącego.
Aby upewnić się, że wysokość koszenia podwozia tnącego nie powoduje zdzierania darni na nierównym terenie, koś trawę na nieco większą długość źdźbeł niż normalnie. Najlepsza jest jednak wcześniej używana wysokość cięcia. Podczas koszenia trawy dłuższej niż 15 cm konieczne może okazać się dwukrotne skoszenie trawnika w celu zapewnienia właściwej jakości cięcia.
Najlepiej ścinać jedynie około 1/3 długości źdźbła trawy. Ścinanie większej części źdźbła nie jest zalecane, chyba że trawa jest rzadka lub koszenie następuje późną jesienią, gdy trawa rośnie wolniej.
Aby trawa była prosta, należy zmieniać kierunek koszenia. Pomaga to również w rozrzuceniu ściętej trawy, co poprawia rozkład oraz nawożenie.
Trawa rośnie z różną szybkością, w zależności od pory roku. Aby zachować tę samą wysokość koszenia, wczesną wiosną należy kosić częściej. Ponieważ prędkość wzrostu trawy zmniejsza się w środku lata, należy wtedy kosić rzadziej. Jeśli nie możesz kosić trawy przez dłuższy czas, najpierw skoś ją z większą wysokością koszenia, a następnie skoś ponownie dwa dni później z mniejszą wysokością koszenia.
Aby poprawić jakość koszenia, jedź wolniej w pewnych warunkach.
Podczas koszenia nierównego trawnika należy, w celu uniknięcia zdzierania murawy, zwiększyć wysokość koszenia.
Jeśli konieczne jest zatrzymanie ruchu maszyny do przodu, na trawnik może spaść bryła sklejonych ścinków trawy. Aby tego uniknąć, po włączeniu ostrzy przejedź wcześniej skoszony obszar lub wyłącz napęd podwozia tnącego podczas jazdy do przodu.
Po każdym zastosowaniu należy usunąć skoszoną trawę i zabrudzenia ze spodu podwozia tnącego. Jeżeli wewnątrz podwozia tnącego nagromadzi się trawa i zabrudzenia, jakość koszenia stanie się niezadowalająca.
Ostrze przez cały sezon koszenia musi być ostre, ponieważ wtedy tnie czysto bez ciągnięcia ani urywania źdźbeł. Ciągnięcie i urywanie sprawia, że trawa staje się brązowa na krawędziach, co spowalnia jej wzrost i zwiększa ryzyko chorób. Po każdym użyciu sprawdzaj ostrza pod kątem ostrości oraz jakichkolwiek oznak zużycia lub uszkodzeń. Spiłuj wszelkie zadziory. W razie potrzeby naostrz ostrza. Jeśli ostrze jest uszkodzone lub zużyte, wymień je na oryginalne ostrze zamienne firmy Toro.
Przed opuszczeniem stanowiska operatora załącz hamulec postojowy, wyłącz silnik, wyjmij kluczyk zapłonu i odczekaj, aż wszystkie części ruchome się zatrzymają. Przed przystąpieniem do obsługi technicznej, regulacji, tankowania, czyszczenia lub przed przechowywaniem maszyny odczekaj aż ostygnie.
Usuń trawę i pozostałości z zespołu tnącego, tłumika, napędów, wychwytywacza trawy i komory silnika, aby zmniejszyć ryzyko powstania pożaru. Pamiętaj, aby usunąć rozlany olej lub rozlane paliwo.
Przed rozpoczęciem magazynowania lub transportowania urządzenia odetnij dopływ paliwa i wyjmij kluczyk.
Zamknij zawór odcięcia paliwa na czas transportu, konserwacji i przechowywania (Rysunek 34).
Upewnij się, że podczas uruchamiania silnika zawór odcięcia paliwa jest otwarty.


Ręce mogą zostać uwięzione przez obracające się elementy napędowe poniżej jednostki tnącej, co może doprowadzić do poważnych obrażeń.
Przed użyciem zaworów zwalniających napędy kół wyłącz silnik, wyjmij kluczyk i poczekaj na zatrzymanie wszystkich części ruchomych.
Silnik i hydrauliczne jednostki napędowe mogą nagrzać się do bardzo wysokiej temperatury. Dotknięcie gorącego silnika lub hydraulicznych jednostek napędowych może spowodować poważne poparzenia.
Przed użyciem zaworów zwalniających napęd kół odczekaj aż silnik i hydrauliczne jednostki napędowe całkowicie ostygną.
Zawory zwolnienia napędu kół znajdują się po lewej i prawej stronie pod silnikiem.
Ustaw maszynę na poziomej nawierzchni, odłącz napęd ostrzy za pomocą przełącznika sterującego ostrzami i załącz hamulec postojowy.
Przed opuszczeniem stanowiska operatora wyłącz silnik, wyjmij kluczyk zapłonu i odczekaj, aż wszystkie części ruchome się zatrzymają.
Aby móc pchać maszynę, przesuń obydwie dźwignie obejścia do przodu i zablokuj je w tym położeniu (Rysunek 35).
Zanim przystąpisz do pchania maszyny, zwolnij hamulec postojowy.
Aby używać maszyny, przesuń dźwignie obejścia do tyłu i zablokuj je w tym położeniu (Rysunek 35).

Ta maszyna może holować przyczepy i osprzęt. O dobór odpowiedniego haka holowniczego poproś autoryzowanego dystrybutora firmy Toro.
W celu korzystania z zaczepu holowniczego w maszynie musisz zamontować zespół obciążnika koła samonastawnego przy każdym kole samonastawnym z przodu maszyny.
Maszyna może holować przyczepy o maksymalnej masie brutto przyczepy (GTW) wynoszącej 113 kg.
Pionowy nacisk na hak holowniczy maszyny nie może przekraczać 22 kg.
Podczas przewożenia ładunku lub holowania przyczepy nie wolno przeciążać maszyny ani przyczepy. Przeciążenie może pogorszyć sprawność lub uszkodzić hydrauliczne jednostki napędowe, opony i ramę.
Ustaw maszynę na poziomej nawierzchni, odłącz napęd ostrzy za pomocą przełącznika sterującego ostrzami (WOM) i załącz hamulec postojowy.
Przed opuszczeniem stanowiska operatora wyłącz silnik, wyjmij kluczyk zapłonu i odczekaj, aż wszystkie części ruchome się zatrzymają.
Zamocuj obciążnik do ramienia koła samonastawnego za pomocą 2 śrub podsadzanych (3/8 x 1 cal) i 2 nakrętek kołnierzowych (3/8 cala).
Powtórz tę procedurę po przeciwnej stronie maszyny.

Wsuń mocowanie zaczepu kulowego do zaczepu znajdującego się z tyłu maszyny.
Wsuń kołek zaczepu przez otwór w zaczepie i mocowaniu zaczepu kulowego.
Zabezpiecz zaczep zawleczką.

Do transportu maszyny należy użyć przyczepy lub ciężarówki o dużej nośności. Stosuj najazd o pełnej szerokości. Upewnij się, że przyczepa lub ciężarówka wyposażone są w niezbędne hamulce, oświetlenie i oznaczenia wymagane przez prawo. Prosimy o uważne przeczytanie wszystkich instrukcji bezpieczeństwa. Pomoże to uniknąć obrażeń operatora lub osób postronnych. Przestrzegaj lokalnych rozporządzeń określających wymagania dotyczące przyczep i mocowań.
Jazda po ulicy lub drodze bez kierunkowskazów, oświetlenia, oznaczeń odblaskowych lub symbolu pojazdu wolnobieżnego jest niebezpieczna i może prowadzić do wypadków powodujących obrażenia ciała.
Maszyną nie wolno jechać po drogach publicznych.
Ładowanie maszyny na przyczepę lub ciężarówkę zwiększa prawdopodobieństwo przewrócenia maszyny, co może prowadzić do poważnych obrażeń lub śmierci (Rysunek 38).
Używaj tylko pochylni o pełnej szerokości. Nie używaj oddzielnych pochylni z każdej strony maszyny.
Nie przekraczaj kąta 15 stopni między pochylnią a podłożem lub między pochylnią a przyczepą lub ciężarówką.
Upewnij się, że pochylnia jest co najmniej 4 dłuższa niż wysokość skrzyni przyczepy lub ciężarówki nad podłożem. Dzięki temu kąt pochylni względem podłoża nie przekroczy 15 stopni.

Ładowanie maszyny na przyczepę lub ciężarówkę zwiększa prawdopodobieństwo przewrócenia maszyny, co może prowadzić do poważnych obrażeń lub śmierci.
Podczas obsługi maszyny na pochylni należy zachować szczególną ostrożność.
Wjeżdżaj maszyną na pochylnię tyłem i zjeżdżaj z pochylni przodem.
Podczas jazdy maszyną po pochylni unikaj nagłego przyspieszania lub hamowania, gdyż mogłoby to spowodować utratę kontroli lub przewrócenie się maszyny.
Przy używaniu przyczepy zamocuj ją do pojazdu holującego i podłącz łańcuchy zabezpieczające.
Podłącz przewody hamulców i oświetlenia przyczepy, jeśli są stosowane.
Obniż pochylnię i upewnij się, że kąt pomiędzy pochylnią, a podłożem nie przekracza 15 stopni (Rysunek 38).
Wjazd na pochylnię tyłem (Rysunek 39).

Zatrzymaj silnik, wyjmij kluczyk zapłonu i załącz hamulec postojowy.
Unieruchom maszynę w pobliżu przednich kółek samonastawnych oraz tylnej ramy, stosując pasy, łańcuchy, przewody lub liny (Rysunek 40). Przestrzegaj lokalnych wymagań dotyczących mocowań.

Jeśli pozostawisz kluczyk w stacyjce, silnik może zostać przypadkowo uruchomiony przez osobę postronną, co może grozić poważnymi obrażeniami ciała operatora lub innych osób. Przez przystąpieniem do wykonywania jakichkolwiek czynności konserwacyjnych wyciągnij kluczyk ze stacyjki.
Przed opuszczeniem stanowiska operatora:
Zatrzymaj maszynę na równym podłożu.
Odłącz wszystkie napędy.
Załącz hamulec postojowy.
Wyłącz silnik i wyjmij kluczyk ze stacyjki.
Przed wykonaniem czynności konserwacyjnych poczekaj, aż maszyna ostygnie.
Nie pozwalać nieprzeszkolonym osobom serwisować maszyny.
Ręce i nogi operatora muszą znajdować się w bezpiecznej odległości od części ruchomych lub gorących powierzchni. Jeśli to możliwe, nie przeprowadzaj żadnych regulacji, gdy silnik jest włączony.
Ostrożnie uwalniaj ciśnienie z podzespołów magazynujących energię.
Regularnie sprawdzaj działanie hamulca postojowego. Reguluj i serwisuj zgodnie z wymaganiami.
Nie manipuluj przy urządzeniach zabezpieczających. Regularnie sprawdzaj prawidłowość ich działania.
Usuń trawę i pozostałości z zespołu tnącego, tłumika, napędów, wychwytywacza trawy i komory silnika, aby zmniejszyć ryzyko powstania pożaru.
Usuwaj rozlany olej lub paliwo i nasączone paliwem odpady.
Nie polegaj na podparciu maszyny przez podnośniki hydrauliczne lub mechaniczne. Zawsze przy podnoszeniu maszyny opieraj ją na podporach.
Utrzymuj wszystkie części w nienagannym stanie, a wszystkie elementy montażowe dobrze dokręcone, w szczególności elementy mocujące ostrza. Wymień wszystkie zużyte lub uszkodzone etykiety.
Przed przystąpieniem do naprawy maszyny odłącz przewód od ujemnego zacisku akumulatora.
Dla zagwarantowania optymalnej wydajności, stosuj wyłącznie części zamienne oraz akcesoria zalecane przez firmę Toro. Części zamienne i akcesoria pochodzące od innych producentów mogą stwarzać zagrożenie dla bezpieczeństwa. Korzystanie z nich może spowodować utratę gwarancji maszyny.
| Częstotliwość serwisowania | Procedura konserwacji |
|---|---|
| Po pierwszych 100 godzinach |
|
| Przed każdym użyciem lub codziennie |
|
| Po każdym zastosowaniu |
|
| Co 50 godzin |
|
| Co 100 godzin |
|
| Co 200 godzin |
|
| Co 250 godzin |
|
| Co 400 godzin lub co roku, w zależności od tego, co nastąpi wcześniej |
|
| Co 500 godzin |
|
| Co miesiąc |
|
| Co rok |
|
| Co rok lub przed składowaniem |
|
Important: Dodatkowe procedury konserwacyjne zostały podane w instrukcji obsługi silnika.
Jeśli pozostawisz kluczyk w stacyjce, silnik może zostać przypadkowo uruchomiony przez osobę postronną, co może grozić poważnymi obrażeniami ciała operatora lub innych osób.
Przez przystąpieniem do wykonywania jakichkolwiek czynności konserwacyjnych wyłącz silnik i wyciągnij kluczyk z włącznika.
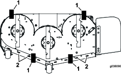
Wyjmij zawleczkę, aby zwolnić osłonę i uzyskać dostęp do górnej części podwozia tnącego. Po przeprowadzeniu konserwacji załóż osłonę, korzystając z wyjętej wcześniej zawleczki.
Poluzuj dwie przednie śruby, a następnie zdejmij osłonę blaszaną, aby uzyskać dostęp do pasków i wrzecion kosiarki (Rysunek 41). Po zakończeniu czynności konserwacyjnych załóż blaszaną osłonę i dokręć śruby.

Smaruj maszynę częściej w warunkach o znacznym zanieczyszczeniu lub zapyleniu.
Rodzaj smaru: litowy lub molibdenowy smar ogólnego zastosowania nr 2
Ustaw maszynę na poziomej nawierzchni, odłącz napęd ostrzy za pomocą przełącznika sterującego ostrzami i załącz hamulec postojowy.
Przed opuszczeniem stanowiska operatora wyłącz silnik, wyjmij kluczyk zapłonu i odczekaj, aż wszystkie części ruchome się zatrzymają.
Oczyść smarowniczki za pomocą szmatki.
Note: Usuń farbę z przodu smarowniczek.
Podłączyć smarownicę do smarowniczki.
Następnie pompuj smar do smarowniczek, aż zacznie wyciekać z łożysk.
Wytrzyj nadmiar smaru.
| Częstotliwość serwisowania | Procedura konserwacji |
|---|---|
| Co 100 godzin |
|
Nasmaruj osie podnoszenia podwozia lekkim olejem lub smarem w sprayu.

| Częstotliwość serwisowania | Procedura konserwacji |
|---|---|
| Co rok |
|
Ustaw maszynę na poziomej nawierzchni, odłącz napęd ostrzy za pomocą przełącznika sterującego ostrzami i załącz hamulec postojowy.
Przed opuszczeniem stanowiska operatora wyłącz silnik, wyjmij kluczyk zapłonu i odczekaj, aż wszystkie części ruchome się zatrzymają.
Zdejmij nakładkę przeciwpyłową i wyreguluj osie obrotu kółek samonastawnych, nie zakładaj nakładki przeciwpyłowej, dopóki nie zakończysz smarowania, patrz Smarowanie maszyny.
Usuń korek sześciokątny.
Wkręć smarowniczkę w otwór.
Pompuj smar do smarowniczki, aż zacznie on wypływać wokół łożyska górnego.
Wykręć smarowniczkę z otworu. Zamontuj korek sześciokątny i pokrywę.
| Częstotliwość serwisowania | Procedura konserwacji |
|---|---|
| Co rok |
|
Ustaw maszynę na poziomej nawierzchni, odłącz napęd ostrzy za pomocą przełącznika sterującego ostrzami i załącz hamulec postojowy.
Przed opuszczeniem stanowiska operatora wyłącz silnik, wyjmij kluczyk zapłonu i odczekaj, aż wszystkie części ruchome się zatrzymają.
Unieś kosiarkę, aby uzyskać dostęp.
Zdejmij koło samonastawne z widełek koła samonastawnego.
Zdejmij osłony uszczelek z piasty koła.

Usuń nakrętkę dystansową z zespołu osi koła samonastawnego.
Note: Pamiętaj, że zastosowany został środek do zabezpieczania gwintów, który blokuje nakrętki dystansowe na osi.
Usuń oś (z zamocowaną do niej drugą nakrętką dystansową) z zespołu koła.
Wypchnij uszczelki i sprawdź łożyska pod kątem zużycia lub uszkodzenia i wymień w razie potrzeby.
Nasmaruj łożyska smarem ogólnego przeznaczenia.
Wsuń do koła jedno łożysko i jedną nową uszczelkę.
Jeśli z zespołu osi zdjęte zostały obie nakrętki dystansowe, nałóż środek blokujący gwint na 1 nakrętkę dystansową i wkręć ją na oś ścięciami pod klucz skierowanymi na zewnątrz.
Note: Nie wkręcaj nakrętki dystansowej do końca osi. Pozostaw około 3 mm od zewnętrznej powierzchni nakrętki dystansowej do końca osi wewnątrz nakrętki.
Włóż zespół nakrętki z osią do koła z boku z nową uszczelką i nowym łożyskiem.
Mając otwarty koniec koła skierowany do góry, wypełnij obszar wewnątrz koła wokół osi smarem ogólnego przeznaczenia.
Załóż drugie łożysko i nową uszczelkę na koło.
Nałóż środek do zabezpieczania gwintów na drugą nakrętkę dystansową i wkręć ją na oś ścięciami pod klucz skierowanymi na zewnątrz.
Dokręć nakrętkę momentem od 8 do 9 N∙m, poluzuj ją, a następnie dokręć momentem od 2 do 3 N∙m.
Note: Upewnij się, że oś nie wystaje poza żadną nakrętkę.
Zamontuj osłony uszczelnień na piaście koła i załóż koło w widełki koła samonastawnego.
Włóż śrubę koła samonastawnego i dokręć nakrętkę do oporu.
Important: Aby zapobiec uszkodzeniu uszczelki i łożyska, często sprawdzaj regulację łożyska. Obróć oponę koła samonastawnego. Opona powinna się swobodnie obracać (więcej niż jeden lub dwa obroty) i nie powinna mieć luzu bocznego. Jeśli koło obraca się swobodnie, reguluj moment dokręcenia nakrętki dystansowej do chwili uzyskania niewielkiego oporu. Nałóż jeszcze jedną warstwę środka do zabezpieczania gwintów.
Trzymaj ręce, stopy, twarz, inne części ciała i odzież w bezpiecznej odległości od tłumika i innych gorących powierzchni. Przed wykonaniem czynności konserwacyjnych poczekaj, aż silnik ostygnie.
Nie zmieniaj ustawień regulatora silnika ani nie ustawiaj nadmiernej prędkości obrotowej.
| Częstotliwość serwisowania | Procedura konserwacji |
|---|---|
| Co 250 godzin |
|
| Co 500 godzin |
|
Note: Wymieniaj filtr powietrza częściej, jeśli praca odbywa się w warunkach bardzo silnego zapylenia lub zapiaszczenia.
Ustaw maszynę na poziomej nawierzchni, odłącz napęd ostrzy za pomocą przełącznika sterującego ostrzami (WOM) i załącz hamulec postojowy.
Przed opuszczeniem stanowiska operatora wyłącz silnik, wyjmij kluczyk zapłonu i odczekaj, aż wszystkie części ruchome się zatrzymają.
Zwolnij zatrzaski znajdujące się na filtrze powietrza i zdejmij pokrywę filtra powietrza z obudowy filtra (Rysunek 44).

Oczyść wnętrze pokrywy filtra powietrza za pomocą sprężonego powietrza.
Delikatnie wysuń główny filtr powietrza z obudowy (Rysunek 44).
Note: Nie pukaj filtrem o ścianki obudowy.
Wyjmuj filtr zabezpieczający tylko w celu jego wymiany.
Sprawdź filtr zabezpieczający. W razie zabrudzenia wymień zarówno filtr zabezpieczający jak i filtr główny.
Important: Nie wolno oczyszczać filtra zabezpieczającego. Zanieczyszczenie filtra zabezpieczającego jest równoznaczne z uszkodzeniem głównego filtra.
Sprawdź filtr główny pod kątem uszkodzeń, zaglądając do wnętrza filtra przy silnym oświetleniu z zewnątrz. Jeżeli filtr główny jest zabrudzony, zgięty lub zniszczony, należy go wymienić.
Note: Otwory w filtrze wyglądają jak jasne plamki. Nie próbuj czyścić filtra głównego.
Important: Aby zapobiec uszkodzeniu silnika, włączaj go tylko wtedy, gdy obydwa filtry powietrza i pokrywa znadują się na swoich miejscach.
Montując nowe filtry, sprawdź, czy nie zostały one uszkodzone w transporcie.
Note: Nie używaj uszkodzonych filtrów.
Gdy wymieniasz filtr wewnętrzny, ostrożnie wsuwaj go do obudowy (Rysunek 44).
Ostrożnie wsuń filtr główny na filtr zabezpieczający (Rysunek 44).
Note: Upewnij się, że filtr główny został prawidłowo osadzony, naciskając zewnętrzną krawędź filtra podczas montażu.
Important: Nie naciskaj miękkiej, wewnętrznej powierzchni filtra.
Załóż pokrywę filtra powietrza i zamocuj za pomocą zaczepów (Rysunek 44).
| Częstotliwość serwisowania | Procedura konserwacji |
|---|---|
| Przed każdym użyciem lub codziennie |
|
| Co 100 godzin |
|
| Co 200 godzin |
|
Rodzaj oleju: Olej zawierający detergenty (klasa serwisowa SF, SG, SH, SJ lub SL według API)
Pojemność skrzyni korbowej:
Silniki Kawasaki FX691 – 2,0 litry z wymianą filtra; 1,8 litra bez wymiany filtra
Silniki Kawasaki FX801 – 2,3 litra z wymianą filtra; 2,1 litra bez wymiany filtra
Lepkość: Patrz tabela poniżej.

Note: Chociaż w większości przypadków zaleca się olej silnikowy 10W-40, warunki atmosferyczne mogą wymusić stosowanie oleju o innej lepkości. Zastosowanie oleju silnikowego 20W-50 w warunkach wyższych temperatur może ograniczyć zużycie oleju.
Note: Sprawdź olej, kiedy silnik jest zimny.
Important: Napełnienie skrzyni korbowej zbyt małą lub zbyt dużą ilością oleju i uruchomienie silnika może spowodować jego uszkodzenie.
Ustaw maszynę na poziomej nawierzchni, odłącz napęd ostrzy za pomocą przełącznika sterującego ostrzami (WOM) i załącz hamulec postojowy.
Przed opuszczeniem stanowiska operatora wyłącz silnik, wyjmij kluczyk zapłonu i odczekaj, aż wszystkie części ruchome się zatrzymają.
Note: Upewnij się, że silnik zdążył ostygnąć, dzięki czemu olej miał czas spłynąć do miski olejowej.
Aby zapobiec dostaniu się zanieczyszczeń, ścinków trawy itp. do wnętrza silnika, oczyść obszar wokół korka wlewu oleju i wskaźnika poziomu oleju przed ich odkręceniem (Rysunek 46).


Note: Przekaż zużyty olej do odpowiedniego centrum recyklingu.
Uruchom silnik i pozostaw go w trybie pracy przez pięć minut.
Note: Dzięki temu olej będzie podgrzany i łatwiej spłynie.
Aby zapewnić całkowite spuszczenie oleju, zaparkuj maszynę tak, aby strona spustowa znajdowała się trochę niżej niż strona przeciwna.
Ustaw przełącznik sterowania ostrzem (PTO) w pozycji rozłączenia i załącz hamulec postojowy.
Przed opuszczeniem stanowiska operatora wyłącz silnik, wyjmij kluczyk zapłonu i odczekaj, aż wszystkie części ruchome się zatrzymają.
Spuść olej z silnika (Rysunek 47).


Powoli wlej około 80% oleju do kanału wlewowego, a następnie powoli wlewaj pozostałą porcję, aż olej osiągnie poziom znaku Full (Pełny) (Rysunek 48).

Uruchom silnik i przejedź na poziome podłoże.
Ponownie sprawdzić poziom oleju.
Spuść olej z silnika; patrz Wymiana oleju silnikowego.
Wymień filtr oleju silnikowego (Rysunek 49).


Note: Dokręcaj filtr do momentu, aż uszczelka filtra oleju będzie dotykać silnika, a następnie dokręć go o jeszcze 3/4 obrotu.
Napełnij skrzynię korbową odpowiednim rodzajem nowego oleju; patrz Specyfikacja oleju silnikowego.
| Częstotliwość serwisowania | Procedura konserwacji |
|---|---|
| Co 100 godzin |
|
Przed zainstalowaniem świecy zapłonowej upewnij się, że odstęp pomiędzy centralną i boczną elektrodą jest właściwy. Do demontażu i montażu świecy zapłonowej należy używać klucza do świec zapłonowych, a do sprawdzania i regulacji szczeliny powietrznej należy zastosować szczelinomierz. W razie potrzeby zamontuj nową świecę zapłonową.
Typ świecy zapłonowej:
Silniki Kawasaki FX691 i FX801 – NGK® BPR4ES lub zamiennik
Szczelina: 0,75 mm
Ustaw maszynę na poziomej nawierzchni, odłącz napęd ostrzy za pomocą przełącznika sterującego ostrzami (WOM) i załącz hamulec postojowy.
Przed opuszczeniem stanowiska operatora wyłącz silnik, wyjmij kluczyk zapłonu i odczekaj, aż wszystkie części ruchome się zatrzymają.
Oczyść obszar wokół podstawy świecy zapłonowej, aby zanieczyszczenia i brud nie dostały się do silnika.
Znajdź i wykręć świecę zapłonową w sposób pokazany na Rysunek 50.


Important: Nigdy nie czyść świec zapłonowych. Wymień świecę zapłonową, gdy pokryta jest czarnym nalotem, jej elektrody są zużyte, pokryte tłustym filmem lub gdy są popękane.
Jeżeli izolator jest lekko brązowy lub szary, silnik działa poprawnie. Czarny nalot na izolatorze zazwyczaj oznacza, że filtr powietrza jest brudny.
Ustaw szerokość szczeliny na 0,75 mm.


W określonych warunkach paliwo jest łatwopalne i silnie wybuchowe. Pożar lub wybuch paliwa może skutkować poważnymi oparzeniami ciała oraz zniszczeniem mienia.
Pełną listę ostrzeżeń dotyczących paliwa można znaleźć w Bezpieczeństwo związane z paliwem.
| Częstotliwość serwisowania | Procedura konserwacji |
|---|---|
| Co 500 godzin |
|
Important: Zamontuj przewody paliwowe i zamocuj opaskami z tworzywa dokładnie w taki sam sposób, w jaki zostały one poprowadzone fabrycznie, aby przewody paliwowe znajdowały się z dala od podzespołów, które mogłyby je uszkodzić.
Nie instaluj brudnego filtra paliwa po zdemontowaniu go z przewodu paliwowego.
Filtr paliwa znajduje się w pobliżu silnika, z przodu po jego lewej stronie.
Ustaw maszynę na poziomej nawierzchni, odłącz napęd ostrzy za pomocą przełącznika sterującego ostrzami (WOM) i załącz hamulec postojowy.
Przed opuszczeniem stanowiska operatora wyłącz silnik, wyjmij kluczyk zapłonu i odczekaj, aż wszystkie części ruchome się zatrzymają.
Poczekaj, aż maszyna się ochłodzi.
Wymień filtr paliwa (Rysunek 53).
Note: Upewnij się, że strzałka kierunku przepływu na nowym filtrze jest skierowana w stronę silnika.

Nie próbuj opróżniać zbiornika paliwa. Upewnij się, że autoryzowany przedstawiciel serwisowy opróżni zbiornik paliwa i przeprowadzi konserwację wszystkich komponentów układu paliwowego.
Przed przystąpieniem do naprawy maszyny odłącz przewód od ujemnego zacisku akumulatora.
Ładuj akumulator na otwartym, dobrze wentylowanym obszarze, z dala od źródeł iskier i ognia. Przed podłączeniem lub odłączeniem od akumulatora odłącz ładowarkę od źródła zasilania. Używaj odzieży ochronnej oraz narzędzi z izolacją.
| Częstotliwość serwisowania | Procedura konserwacji |
|---|---|
| Co miesiąc |
|
Zaciski akumulatora i metalowe narzędzia mogą powodować zwarcie z komponentami metalowymi, wywołując iskrzenie. Iskrzenie może spowodować wybuch gazów akumulatora, co grozi obrażeniami.
Podczas demontażu lub montażu akumulatora nie dopuść, aby doszło do zetknięcia się zacisków akumulatora z metalowymi częściami maszyny.
Nie dopuść, aby metalowe narzędzia spowodowały zwarcie między zaciskami akumulatora a metalowymi częściami maszyny.
Nieprawidłowo odpięcie przewodów od akumulatora może spowodować uszkodzenie maszyny i przewodów, powodując iskrzenie. Iskrzenie może spowodować wybuch gazów akumulatora, co będzie skutkowało obrażeniami ciała.
Przed odłączeniem dodatniego (czerwonego) przewodu należy zawsze odłączać ujemny (czarny) przewód akumulatora.
Przed podłączeniem ujemnego (czarnego) przewodu należy zawsze podłączyć dodatni (czerwony) przewód akumulatora.
Ustaw maszynę na poziomej nawierzchni, odłącz napęd ostrzy za pomocą przełącznika sterującego ostrzami (WOM) i załącz hamulec postojowy.
Przed opuszczeniem stanowiska operatora wyłącz silnik, wyjmij kluczyk zapłonu i odczekaj, aż wszystkie części ruchome się zatrzymają.
Wymontuj akumulator zgodnie z Rysunek 54.


Podczas ładowania akumulatora wytwarzają się gazy mogące tworzyć mieszaninę wybuchową.
Nigdy nie pal tytoniu w pobliżu akumulatora; trzymaj akumulator z dala od ognia i źródeł iskier.
Important: Dbaj o to, aby akumulator był w pełni naładowany (ciężar właściwy powinien wynosić 1,265). Jest to szczególnie istotne, aby zapobiec uszkodzeniu akumulatora, gdy temperatura spadnie poniżej 0°C.
Wyjmij akumulator z nadwozia; zobacz Wyjmowanie akumulatora.
Ładuj akumulator przez 10 do 15 minut prądem o natężeniu od 25 do 30 amperów lub przez 30 minut prądem 10 amperów.
Note: Nie dopuść do przeładowania akumulatora.
Gdy akumulator będzie w pełni naładowany, należy odłączyć ładowarkę od gniazdka elektrycznego, a następnie odłączyć przewody ładowarki od biegunów akumulatora (Rysunek 55).
Zamontuj akumulator w maszynie i podłącz przewody akumulatora; patrz Montaż akumulatora.
Note: Nie uruchamiaj maszyny z odłączonym akumulatorem, gdyż może dojść do uszkodzeń elektrycznych.

Ustaw akumulator na podstawce z biegunami zacisków znajdującymi się po przeciwnej stronie niż zbiornik hydrauliczny (Rysunek 54).
Podłącz dodatni (czerwony) przewód do dodatniego (+) zacisku akumulatora.
Podłącz ujemny (czarny) przewód oraz przewód uziemiający do ujemnego (-) zacisku akumulatora.
Note: W przypadku maszyn MyRide upewnij się, że przewód uziemiający nie ociera się o wahacz lub dolne mocowanie amortyzatora (Rysunek 57).

Zamocuj przewody za pomocą dwóch śrub, dwóch podkładek i dwóch nakrętek zabezpieczających (Rysunek 54).
Wsuń czerwoną nakładkę zacisku na dodatni (+) biegun akumulatora.
Zabezpiecz akumulator za pomocą gumowego paska (Rysunek 54).
Układ elektryczny chroniony jest przez bezpieczniki. Nie wymaga on konserwacji, ale jeśli przepali się bezpiecznik, sprawdź, czy element i obwód nie jest uszkodzony ani zwarty.
Bezpieczniki znajdują się w prawej konsoli obok fotela (Rysunek 57).
Aby wymienić bezpiecznik, wyciągnij go.
Włóż nowy bezpiecznik (Rysunek 57).

| Częstotliwość serwisowania | Procedura konserwacji |
|---|---|
| Przed każdym użyciem lub codziennie |
|
Sprawdź, czy pas bezpieczeństwa nie jest zużyty, ponacinany ani popękany oraz czy zwijacz oraz klamra pasa działają poprawnie. Uszkodzony pasek należy wymienić.
Odłącz napęd ostrzy (WOM) za pomocą przełącznika służącego do sterowania nimi.
Przejedź na otwarty, płaski obszar i przesuń dźwignie sterowania jazdą w położenie NEUTRALNE ZABLOKOWANE.
Ustaw dźwignię przepustnicy w połowie zakresu pomiędzy położeniami SZYBKO i WOLNO.
Przesuń obie dźwignie sterowania jazdą do przodu do samego końca, aż dotkną ograniczników w szczelinie w kształcie litery T.
Sprawdź, w którą stronę skręca maszyna.
Jeżeli maszyna zbacza na prawo, włóż klucz imbusowy 3/16 cala w otwór dostępowy w lewym przednim panelu pokrywy i przekręć śrubę zespołu jezdnego w prawo lub w lewo, aby wyregulować skok dźwigni (Rysunek 58).
Jeżeli maszyna zbacza na lewo, włóż klucz imbusowy 3/16 cala w otwór dostępowy w prawym przednim panelu pokrywy i przekręć śrubę zespołu jezdnego w prawo lub w lewo, aby wyregulować skok dźwigni (Rysunek 58).
Jedź maszyną i sprawdź, czy w pozycji jazdy do przodu z pełną prędkością zachowuje ona tor jazdy.
Powtórz czynności regulacyjne do chwili uzyskania pożądanego ustawienia układu jezdnego.

| Częstotliwość serwisowania | Procedura konserwacji |
|---|---|
| Co 50 godzin |
|
Utrzymuj w oponach kół samonastawnych i tylnych ciśnienie powietrza na poziomie 0,9 bar. Nierówne ciśnienie w oponach może powodować nierówne cięcie. Sprawdź ciśnienie w oponach, gdy są zimne. Pozwoli to na uzyskanie najdokładniejszego odczytu ciśnienia.

Sprawdź i dokręć nakrętki mocujące kół z momentem od 122 do 136 N∙m.
| Częstotliwość serwisowania | Procedura konserwacji |
|---|---|
| Po pierwszych 100 godzinach |
|
| Co 500 godzin |
|
Note: Sprawdź i upewnij się, że hamulec postojowy jest prawidłowo wyregulowany. Opisaną procedurę należy wykonać po pierwszych 100 godzinach pracy lub po wymianie lub demontażu jakiegokolwiek podzespołu w układzie hamulcowym.
Zaparkuj maszynę na równym podłożu.
Ustaw przełącznik sterowania ostrzami (napęd PTO) w położeniu odłączonym, ustaw dźwignie sterowania jazdą w położeniu NEUTRALNYM ZABLOKOWANYM i załącz hamulec postojowy.
Przed opuszczeniem stanowiska operatora wyłącz maszynę, wyjmij kluczyk ze stacyjki i odczekaj, aż wszystkie części ruchome się zatrzymają.
Przygotowanie maszyny do pchania Patrz Używanie zaworów zwalniających napęd kół.
Unieś tył maszyny i oprzyj ją na podporach.
Poleganie wyłącznie na mechanicznych lub hydraulicznych podnośnikach podtrzymujących maszynę podniesioną w celu serwisowania lub konserwacji może być niebezpieczne, ponieważ podnośniki mogą nie zapewniać wystarczającego podparcia lub mogą działać nieprawidłowo, co może skutkować upadkiem maszyny i potencjalnym spowodowaniem poważnych obrażeń.
Nie należy polegać wyłącznie na podnośnikach hydraulicznych ani mechanicznych jako podparciu urządzenia. Należy stosować odpowiednie podpórki lub kozły.
Załączaj i zwalniaj hamulec postojowy, sprawdzając, czy hamulce obu kół napędzanych są załączane i zwalniane.
Jeżeli wymagane jest dokonanie regulacji, zwolnij hamulec postojowy. Sprawdź wszystkie elementy mechanizmu hamulca postojowego pod kątem zużycia. Wymień ewentualne zużyte elementy (Rysunek 60) i powtórz krok 6.

Sprawdź długości obu sprężyn w sposób przedstawiony na Rysunek 61. Jeżeli konieczna jest regulacja, obróć nakrętkę przytrzymującą sprężynę w prawo, aby skrócić sprężynę, lub w lewo, aby ją wydłużyć. Powtórz krok 6.

Po zakończeniu regulacji wyjmij podpórki lub użyte podpory i opuść maszynę.
Przestaw maszynę do położenia ROBOCZEGO. Patrz Używanie zaworów zwalniających napęd kół.
Uruchamianie maszyny ze zdemontowaną płytą podłogową lub niecałkowite zdemontowanie tej płyty w celu przeprowadzenia konserwacji znajdujących się pod nią podzespołów grozi poważnymi obrażeniami.
Nie uruchamiaj maszyny ze zdemontowaną płytą podłogową. Zdemontuj całkowicie płytę podłogową przed przystąpieniem do serwisowania podzespołów znajdujących się pod tą płytą.
W celu zdemontowania płyty podłogowej należy ją unieść i wyciągnąć z otworów w ramie.
Note: W maszynach z zawieszeniem MyRide należy unieść matę podłogową, aby odsłonić płytę podłogową.

W celu zamontowania płyty podłogowej należy umieścić ją w otworach w ramie i opuścić na miejsce.

| Częstotliwość serwisowania | Procedura konserwacji |
|---|---|
| Co 50 godzin |
|
Należy wymienić zużyty pasek. Oznakami zużycia paska są: piski podczas ruchu paska, ślizganie się ostrzy podczas koszenia trawy, wystrzępione krawędzie, ślady przypalenia i pęknięcia na pasku.
Ustaw maszynę na poziomej nawierzchni, odłącz napęd ostrzy za pomocą przełącznika sterującego ostrzami (WOM) i załącz hamulec postojowy.
Przed opuszczeniem stanowiska operatora wyłącz silnik, wyjmij kluczyk zapłonu i odczekaj, aż wszystkie części ruchome się zatrzymają.
Opuść kosiarkę do położenia wysokości cięcia równego 76 mm.
Poluzuj śrubę na każdej osłonie paska.
Zwolnij osłonę podwozia tnącego poprzez wyjęcie zawleczki, patrz Zwalnianie osłony jednostki tnącej.
Zdejmij osłonę blaszaną, patrz Demontaż osłony blaszanej.
Usuń pokrywy paska (Rysunek 64).

Za pomocą zabieraka klucza grzechotkowego ⅜ cala włożonego w kwadratowy otwór w ramieniu jałowego koła pasowego odciąż sprężynę jałowego koła pasowego (Rysunek 65).
Zdejmij pasek z kół pasowych podwozia tnącego i koła pasowego sprzęgła.
Zdejmij prowadnicę paska z ramienia sprężynowego jałowego koła pasowego (Rysunek 65).
Zdejmij zamontowany pasek.
Załóż nowy pasek wokół kół pasowych kosiarki i koła pasowego sprzęgła pod silnikiem (Rysunek 65).

Zamontuj prowadnicę paska do ramienia jałowego koła pasowego (Rysunek 65).
Używając zabieraka klucza grzechotkowego ⅜ cala włożonego w kwadratowy otwór, zamontuj sprężynę do ramienia jałowego koła pasowego (Rysunek 65).
Note: Upewnij się, że końce sprężyny znajdują się w rowkach elementów mocujących.
Załóż pokrywy pasków (Rysunek 66).

Ustaw maszynę na poziomej nawierzchni, odłącz napęd ostrzy za pomocą przełącznika sterującego ostrzami (WOM) i załącz hamulec postojowy.
Przed opuszczeniem stanowiska operatora wyłącz silnik, wyjmij kluczyk zapłonu i odczekaj, aż wszystkie części ruchome się zatrzymają.
Zdejmij pasek kosiarki, patrz Wymiana paska kosiarki.
Unieś maszynę i oprzyj ją na podporach.
Przy pomocy zabieraka klucza grzechotkowego ½ cala lub poprzeczki włożonej w jeden z kwadratowych otworów w ramieniu jałowego koła pasowego usuń jego naprężenie (Rysunek 67).
Zdejmij dotychczasowy pasek z jałowego koła pasowego, 2 kół pasowych napędów pomp hydraulicznych i koła pasowego silnika (Rysunek 67).
Załóż nowy pasek wokół jałowego koła pasowego, koła pasowego silnika i dwóch kół pasowych pomp hydraulicznych (Rysunek 67).
Przy pomocy zabieraka klucza grzechotkowego ½ cala lub poprzeczki włożonej w jeden z kwadratowych otworów zamocuj sprężynę jałowego koła pasowego.
Note: Upewnij się, że końce sprężyny znajdują się w rowkach elementów mocujących.
Załóż pas kosiarki, patrz Wymiana paska kosiarki.

Jeżeli końce dźwigni uderzają o siebie, patrz Regulacja mechanizmu sterowania jazdą.
Dla lepszego komfortu dźwignie sterowania jazdą można ustawić niżej lub wyżej.
Ustaw maszynę na poziomej nawierzchni, odłącz napęd ostrzy za pomocą przełącznika sterującego ostrzami (WOM) i załącz hamulec postojowy.
Przed opuszczeniem stanowiska operatora wyłącz silnik, wyjmij kluczyk zapłonu i odczekaj, aż wszystkie części ruchome się zatrzymają.
Zdemontuj elementy mocujące dźwignię sterowania do trzpienia ramienia sterującego.

Ustaw dźwignię sterowania w następnym zestawie otworów. Zamocuj dźwignię za pomocą elementów mocujących.
Powtórz regulację dla drugiej dźwigni sterującej
Ustaw maszynę na poziomej nawierzchni, odłącz napęd ostrzy za pomocą przełącznika sterującego ostrzami (WOM) i załącz hamulec postojowy.
Przed opuszczeniem stanowiska operatora wyłącz silnik, wyjmij kluczyk zapłonu i odczekaj, aż wszystkie części ruchome się zatrzymają.
Poluzuj górną śrubę mocującą dźwignię sterującą do trzpienia ramienia sterującego.
Poluzuj dolną śrubę tylko na tyle, aby móc obracać dźwignię sterującą do przodu i do tyłu. Dokręć obydwie śruby, aby unieruchomić dźwignię w nowym położeniu.
Powtórz regulację dla drugiej dźwigni sterującej

Po obu stronach maszyny, pod fotelem znajdują się mechanizmy sterujące pomp. Precyzyjne regulacje w celu zapobieżenia poruszaniu się maszyny w położeniu neutralnym są dokonywane poprzez obrócenie nakrętek końcowych za pomocą głębokiego klucza nasadowego ½ cala. Wszelkie regulacje należy dokonywać wyłącznie w położeniu neutralnym.
Aby przeprowadzić regulację sterowania jazdą, silnik musi być włączony, a koła napędowe muszą się obracać. Dotknięcie ruchomych części lub gorących powierzchni może spowodować obrażenia.
Palce, ręce i odzież muszą znajdować się z dala od obracających się elementów i gorących powierzchni.
Ustaw maszynę na poziomej nawierzchni, odłącz napęd ostrzy za pomocą przełącznika sterującego ostrzami (WOM) i załącz hamulec postojowy.
Przed opuszczeniem stanowiska operatora wyłącz silnik, wyjmij kluczyk zapłonu i odczekaj, aż wszystkie części ruchome się zatrzymają.
Wciśnij pedał podnoszenia podwozia, wyjmij sworzeń wysokości koszenia i opuść podwozie kosiarki do podłoża.
Unieś tył maszyny i podeprzyj go podporami (lub innymi podpórkami) nie wyżej niż na takiej wysokości, aby koła napędowe mogły się swobodnie obracać.
Odłącz przewody od czujnika bezpieczeństwa fotela znajdującego się pod siedziskiem.
Note: Przełącznik wchodzi w skład zespołu fotela.
Zainstaluj tymczasowo przewód zwierający między wyprowadzeniami złącza głównej wiązki przewodów.
Uruchom silnik i ustaw przepustnicę w pozycji maksymalnych obrotów, a następnie zwolnij hamulec postojowy.
Note: Przed uruchomieniem silnika, upewnij się, że hamulec postojowy jest załączony, a dźwignie sterowania jazdą są w położeniu odłączonego napędu. Nie musisz siedzieć w fotelu.
Zostaw silnik pracujący przez co najmniej 5 minut z dźwigniami sterowania jazdą ustawionymi w położeniu pełnej szybkości jazdy do przodu, aby olej hydrauliczny osiągnął temperaturę roboczą.
Note: Podczas przeprowadzania regulacji dźwignie sterowania jazdą muszą znajdować się w położeniu neutralnym.
Ustaw dźwignie sterowania jazdą w położeniu NEUTRALNYM.
Sprawdź i upewnij się, że wypustki płyty sterującej dotykają płyt powrotu do położenia neutralnego na jednostkach hydraulicznych.
Wyreguluj długości prętów sterujących pompami, obracając nakrętkę w odpowiednim kierunku, aż koła zaczną powoli obracać się do tyłu (Rysunek 70 i Rysunek 71).


Ustaw dźwignie sterowania jazdą w położeniu JAZDY DO TYłU i naciskając lekko dźwignię, pozwól, aby sprężyny wskaźnika biegu wstecznego przesunęły dźwignie z powrotem do położenia neutralnego.
Note: Koło powinno przestać się obracać lub przestać lekko pełzać podczas jazdy do tyłu.
Note: W celu uzyskania dostępu konieczne może być zdjęcie pokrywy dźwigni sterowania jazdą.
Wyłącz maszynę.
Usuń przewód zwierający ze złącza wiązki przewodów i podłącz złącze do przełącznika fotela.
Usuń podpory.
Unieś podwozie tnące kosiarki i włóż sworzeń wysokości koszenia.
Sprawdź i upewnij się, że po zwolnieniu hamulca postojowego i ustawieniu dźwigni w położeniu neutralnym maszyna nie zaczyna powoli jechać.
Jeżeli płyn przedostanie się pod skórę, natychmiast wezwij pomoc medyczną. Olej wstrzyknięty pod skórę musi zostać usunięty chirurgicznie w ciągu kilku najbliższych godzin przez lekarza.
Przed podaniem ciśnienia na układ hydrauliczny upewnij się, że wszystkie jego przewody i węże są w dobrym stanie, a połączenia/złączki – szczelne.
Operator musi znajdować się w bezpiecznej odległości od wycieków z otworów sworzni lub dysz, które wyrzucają olej hydrauliczny pod dużym ciśnieniem.
Używaj kartonu lub papieru, aby sprawdzić wycieki hydrauliczne.
Przed przystąpieniem do jakichkolwiek czynności związanych z układem hydraulicznym w bezpieczny sposób uwolnij całe ciśnienie z układu.
Typ oleju hydraulicznego: olej hydrauliczny Toro® HYPR-OIL™ 500 lub Hydro-Gear Commercial Transaxle Oil
Important: Używaj zalecanego rodzaju oleju. Inne płyny mogą uszkodzić układ hydrauliczny.
Pojemność układu hydraulicznego (ze zdemontowanymi filtrami): 7,57 litra
| Częstotliwość serwisowania | Procedura konserwacji |
|---|---|
| Przed każdym użyciem lub codziennie |
|
Poczekaj, aż olej hydrauliczny ostygnie. Po ostygnięciu sprawdź poziom oleju.
Sprawdź zbiornik wyrównawczy, w razie potrzeby dolej oleju hydraulicznego Toro® HYPR-OIL™ 500 tak, aby osiągnął poziom znaku PEŁNY, ZIMNO (Rysunek 72).

| Częstotliwość serwisowania | Procedura konserwacji |
|---|---|
| Po pierwszych 100 godzinach |
|
W celu wymiany oleju hydraulicznego zdemontuj filtry. Wymieniaj oba filtry jednocześnie. Zapoznaj się ze specyfikacją oleju, którą można znaleźć w Specyfikacja oleju hydraulicznego.
Po zamontowaniu nowych filtrów i wlaniu nowego oleju odpowietrz układ. Patrz Odpowietrzaniem układu hydraulicznego. Powtarzaj proces odpowietrzania, aż po przepłukaniu olej pozostanie na poziomie znaku PEłNY ZIMNY zbiornika.
Important: Niewłaściwe wykonanie tej procedury może doprowadzić do nienaprawialnego uszkodzenia układu przekładni napędowej.
Ustaw maszynę na poziomej nawierzchni, odłącz napęd ostrzy za pomocą przełącznika sterującego ostrzami (WOM) i załącz hamulec postojowy.
Przed opuszczeniem stanowiska operatora wyłącz silnik, wyjmij kluczyk zapłonu i odczekaj, aż wszystkie części ruchome się zatrzymają.
Poczekaj, aż silnik ostygnie.
Korzystając z przedłużki i klucza nasadowego 7/16 cala, dostań się do korka odpowietrzającego na górze maszyny przez otwory w pobliżu mocowania pałąka bezpieczeństwa (Rysunek 73).
Note: Pilnuj korka odpowietrzającego po jego wyjęciu – łatwo go zgubić.

Ostrożnie oczyść obszar wokół filtra.
Important: Chroń układ hydrauliczny przed dostaniem się zanieczyszczeń, w przeciwnym wypadku zostanie on zabrudzony.
Umieść miskę spustową pod filtrem, aby zebrać olej spływający po wykręceniu filtra i korka odpowietrzającego.
Zdejmij pokrywę filtra oleju hydraulicznego z przekładni, aby spuścić olej (Rysunek 74).

Zdejmij pierścień uszczelniający z pokrywy filtra i wyrzuć pierścień uszczelniający.
Po spuszczeniu oleju hydraulicznego z przekładni zdemontuj filtr z obudowy przekładni.
Powtórz tę procedurę po przeciwnej stronie maszyny.
Zamontuj nowy filtr na przekładni i nowy pierścień uszczelniający w pokrywie filtra.
Załóż pokrywę filtra.
Dokręć pokrywę filtra z momentem od 22,6 do 33,8 N∙m.
Wyjmij korek ze zbiornika wyrównawczego i napełnij przekładnie określonym typem oleju w odpowiedniej ilości.
Note: Napełnianie przekładni może zająć więcej czasu, niż zakładasz.
Załóż wyjęte wcześniej korki odpowietrzające i dokręć je z momentem od 3,95 do 9,04 N∙m.
Przejdź do Odpowietrzaniem układu hydraulicznego.
Important: Niewykonanie procedury Odpowietrzanie układu hydraulicznego po wymianie oleju hydraulicznego i filtrów może doprowadzić do nienaprawialnego uszkodzenia układu przekładni napędowych.
Unieś tył maszyny i podeprzyj go podporami (lub innymi podpórkami) nie wyżej niż na takiej wysokości, aby koła napędowe mogły się swobodnie obracać.

Uruchom silnik, przesuń dźwignię przepustnicy do połowy skoku i zwolnij hamulec postojowy.
Przestaw dźwignie obejścia do pozycji pchania maszyny. Przy otwartych zaworach obejścia i pracującym silniku powoli przesuwaj dźwignie sterujące jazdą 5 do 6 razy w kierunku jazdy do przodu oraz do tyłu.
Przestaw dźwignie obejścia do pozycji używania maszyny.
Przy zamkniętych zaworach obejścia i pracującym silniku, powoli przesuwaj dźwignię sterującą 5 do 6 razy w kierunku jazdy do przodu oraz do tyłu.
Wyłącz silnik i sprawdź poziom oleju w zbiorniku wyrównawczym. Wlej olej zalecanego typu do momentu osiągnięcia poziomu znaku PEłNY ZIMNY na zbiorniku wyrównawczym.
Powtórz krok 2, aż całe powietrze zostanie całkowicie usunięte z układu.
Note: Prawidłowe odpowietrzenie można poznać po normalnym poziomie hałasu podczas pracy przekładni oraz płynnej jeździe do przodu i do tyłu z normalną prędkością.
Po raz ostatni sprawdź poziom oleju w zbiorniku wyrównawczym. Wlej olej zalecanego typu do momentu osiągnięcia poziomu znaku PEłNY ZIMNY na zbiorniku wyrównawczym.
Regularnie sprawdzaj ostrza pod kątem zużycia i uszkodzeń.
Podczas sprawdzania stanu ostrzy zachowaj szczególną ostrożność. Na czas wykonywania czynności serwisowych owiń ostrza lub załóż rękawice i zachowaj ostrożność. Ostrza należy wymienić lub naostrzyć, nie wolno ich prostować ani spawać.
Zachowaj szczególną ostrożność w przypadku maszyn wieloostrzowych, ponieważ obrót jednego ostrza może spowodować obracanie się innych.
Aby zachować równowagę zespołu tnącego, wymieniaj cały zestaw zużytych lub uszkodzonych ostrzy i śrub.
Aby zapewnić najwyższą jakość koszenia, ostrza powinny być zawsze naostrzone. Aby ułatwić sobie ostrzenie i wymianę, warto rozważyć zakup dodatkowych ostrzy.
Ustaw maszynę na poziomej nawierzchni, odłącz napęd ostrzy za pomocą przełącznika sterującego ostrzami (WOM) i załącz hamulec postojowy.
Wyłącz silnik, wyjmij kluczyk zapłonu i odłącz przewody od świec zapłonowych.
| Częstotliwość serwisowania | Procedura konserwacji |
|---|---|
| Przed każdym użyciem lub codziennie |
|
Sprawdź krawędzie tnące (Rysunek 76).
Jeżeli krawędzie nie są ostre lub mają wyszczerbienia, zdejmij i naostrz ostrze; patrz Ostrzenie ostrzy.
Sprawdź ostrza, a w szczególności ich wygięty obszar.
Jeżeli zauważysz jakiekolwiek pęknięcia, zużycie lub szczeliny powstające w tym obszarze, natychmiast zamontuj nowe ostrze (Rysunek 76).

Note: Poniższa procedura wymaga ustawienia maszyny na poziomym podłożu.
Unieś podwozie tnące na najwyższą wysokość koszenia.
Korzystając z grubych rękawic lub innej ochrony dłoni, powoli obracaj ostrzem i ustaw je w pozycji, w której będzie można zmierzyć odległość między krawędzią tnącą a poziomą powierzchnią, na której stoi maszyna (Rysunek 77).

Zmierz odległość od końcówki ostrza do płaskiej powierzchni (Rysunek 78).

Obróć to samo ostrze o 180 stopni tak, aby w pozycji mierzenia znalazła się przeciwległa krawędź tnąca (Rysunek 79).

Zmierz odległość od końcówki ostrza do płaskiej powierzchni (Rysunek 80).
Note: Różnica nie może być większa niż 3 mm.

Jeżeli różnica między A a B jest większa niż 3 mm, ostrze należy wymienić na nowe; patrz Demontaż ostrzy oraz Montaż ostrzy.
Note: Jeżeli po wymianie zgiętego ostrza na nowe uzyskiwana różnica wymiarów nadal będzie przekraczać 3 mm, prawdopodobnie zgięta jest oś wrzeciona ostrza. Skontaktuj się z przedstawicielem autoryzowanego serwisu, aby przeprowadzić przegląd.
Jeżeli różnica mieści się w granicach tolerancji, dokonaj pomiaru dla kolejnego ostrza.
Powtórz powyższe kroki dla każdego ostrza.
Wymień ostrza, jeżeli uderzą w twardy przedmiot, są niewyważone lub wygięte.
Umieść klucz na płaskiej części wału wrzeciona lub trzymaj koniec ostrza przez szmatkę lub grube wykładane rękawice.
Odkręć śrubę ostrza, tuleję i zdejmij ostrze z wału wrzeciona (Rysunek 81).

Użyj pilnika w celu naostrzenia krawędzi tnącej na obu końcach każdego ostrza (Rysunek 82).
Note: Zachowaj oryginalny kąt ostrza.
Note: Ostrze będzie wyważone, jeśli usuniesz tę samą ilość materiału z obu krawędzi tnących.

Sprawdź wyważenie ostrza, układając je na równoważniku ostrzy (Rysunek 83).
Note: Jeżeli ostrze pozostaje w położeniu poziomym, wówczas jest wyważone i można je stosować.
Note: Jeżeli ostrze nie jest wyważone, spiłuj nieco metalu z obszaru łopatki (Rysunek 82).

Powtarzaj tę procedurę do momentu wyważenia ostrza.
Zamontuj tuleję przez ostrze z kołnierzem tulei po stronie dolnej ostrza (od strony trawy) (Rysunek 84).

Zamontuj zespół tulei i ostrza na wale wrzeciona (Rysunek 85).

Nałóż smar na bazie miedzi lub smar do gwintów na śrubę ostrza, aby zapobiec zapiekaniu. Palcami dokręć śrubę ostrza.
Umieść klucz na płaskiej części wału wrzeciona i dokręć śrubę ostrza z momentem od 75 do 81 N∙m.
Zawsze po montażu kosiarki lub w razie zauważenia nierównomiernie skoszonych obszarów na trawniku upewnij się, że podwozie tnące jest ustawione poziomo.
Przed wypoziomowaniem podwozia tnącego należy sprawdzić, czy ostrza nie są wygięte. Przed kontynuowaniem należy zdemontować i wymienić wszystkie wygięte ostrza na nowe; patrz Sprawdzanie ostrzy po kątem zagięcia.
Wykonaj poziomowanie poprzeczne podwozia tnącego przed przystąpieniem do dostosowania przechyłu wzdłużnego.
Wymagania:
Maszyna musi stać na poziomej nawierzchni.
Wszystkie opony muszą być napompowane do prawidłowego ciśnienia; patrz Sprawdzanie ciśnienia w oponach.
Ustaw maszynę na poziomej nawierzchni, odłącz napęd ostrzy za pomocą przełącznika sterującego ostrzami (WOM) i załącz hamulec postojowy.
Przed opuszczeniem stanowiska operatora wyłącz silnik, wyjmij kluczyk zapłonu i odczekaj, aż wszystkie części ruchome się zatrzymają.
Sprawdź ciśnienie w oponach napędowych, patrz Sprawdzanie ciśnienia w oponach.
Ustaw podwozie tnące w pozycji blokady transportowej lub w najwyższej nastawie wysokości koszenia.
Ostrożnie przekręć ostrza tak, aby były ustawione poprzecznie.
Zmierz odległość między końcówką ostrza a poziomą powierzchnią (Rysunek 86). Jeżeli obydwa pomiary różnią się o więcej niż 5 mm, wymagane jest dokonanie regulacji wypoziomowania, którą należy wykonać zgodnie z poniższą procedurą.

Sprawdź wypoziomowanie wzdłużne ostrzy (Rysunek 87). Upewnij się, że przedni koniec ostrza znajduje się niżej niż tylny koniec ostrza, zgodnie z tabelą wysokości i podcięcia klocka. Jeżeli wymagana jest regulacja, wykonuj dalsze czynności tej procedury.

W celu wykonania tej regulacji ustaw rolki zapobiegające zdzieraniu darni w górnych otworach lub zdemontuj je.
Podnieś podwozie tnące do pozycji transportowej (140 mm).
Powoli poluzuj śrubę regulacyjną na sprężynie wspomagania podnoszenia, aż będzie można wyjąć śrubę (Rysunek 88).
Note: Zachowaj śrubę do montażu.

Umieść 2 klocki (zob. Tabela wysokości i podcięcia klocka) pod tylną krawędzią fartucha jednostki tnącej, po jednym na każdą stronę jednostki tnącej (Rysunek 89).
Ustaw dźwignię wysokości koszenia w pozycji 76 mm, patrz Regulacja wysokości cięcia..
Umieść dwa klocki po obu stronach przedniej krawędzi jednostki tnącej, ale nie pod rolkami zapobiegającymi zdzieraniu darni lub spoinami.

| Podwozie tnące Wielkość | Wysokość przedniego klocka | Podcięcie |
| Wszystkie podwozia kosiarek | 73 mm | 4,8 do 6,4 mm |
Ostrożnie ustaw ostrza poprzecznie (Rysunek 86).
Opuść podwozie tnące do położenia 76 mm, patrz Regulacja wysokości cięcia..
Poluzuj śruby (Rysunek 90) w każdym z 4 naroży i upewnij się, że podwozie tnące spoczywa bezpiecznie na każdym z 4 klocków.
Zlikwiduj luzy na wieszakach jednostki tnącej i upewnij się, że dźwignia pedału podnoszenia podwozia tnącego jest całkowicie dociśnięta do ogranicznika.
Dokręć 4 śruby.

Upewnij się, że klocki siedzą pewnie pod fartuchem podwozia tnącego i wszystkie śruby mocujące są mocno dokręcone
Kontynuuj poziomowanie podwozia tnącego poprzez sprawdzenie pochylenia wzdłużnego ostrza.
Sprawdź wypoziomowanie ostrzy, w razie potrzeby powtórz procedurę poziomowania jednostki tnącej.
Podnieś podwozie tnące do pozycji transportowej (140 mm).
Przykręć śrubę regulacyjną sprężyny wspomagania podnoszenia wykręconą w kroku 10.
Ustaw odstęp między sprężyną a wspornikiem na od 22 do 29 mm.
Przed serwisowaniem lub demontażem jednostki tnącej zablokuj sprężynowe ramiona jednostki tnącej.
Ustaw maszynę na poziomej nawierzchni, odłącz napęd ostrzy za pomocą przełącznika sterującego ostrzami (WOM) i załącz hamulec postojowy.
Przed opuszczeniem stanowiska operatora wyłącz silnik, wyjmij kluczyk zapłonu i odczekaj, aż wszystkie części ruchome się zatrzymają.
Włóż sworzeń wysokości koszenia w położenie odpowiadające wysokości koszenia 76 mm.
Usuń pokrywy paska.
Poluzuj jałowe koło pasowe podwozia tnącego i zdejmij pasek kosiarki, patrz Konserwacja pasków napędowych.
Wykręć śruby i nakrętki przy przedniej krawędzi płyty pod podnóżkiem.
Odkręć śruby i nakrętki po obu stronach maszyny i zachowaj je (Rysunek 91).
Wysuń jednostkę tnącą spod prawej strony maszyny.

Niezasłonięty otwór wyrzutowy może spowodować, że maszyna będzie wyrzucać przedmioty w kierunku operatora lub osób postronnych, powodując poważne urazy. Może również nastąpić kontakt z ostrzem.
Nie używaj maszyny bez zamocowanej płyty rozdrabniacza, deflektora wyrzutowego lub układu zbierania trawy.
Odkręć przeciwnakrętkę, śrubę, sprężynę i element dystansowy mocujące deflektor do wsporników osi obrotu (Rysunek 92).
Usuń uszkodzony lub zużyty deflektor trawy (Rysunek 92).

Umieść element dystansowy i sprężynę na deflektorze trawy.
Zahacz jeden z końców sprężyny w kształcie litery J za krawędź obudowy jednostki tnącej.
Note: Przed przykręceniem śruby upewnij się, że koniec sprężyny w kształcie literyJ jest zaczepiony za krawędź obudowy jednostki tnącej (zob. Rysunek 92).
Zamocuj śrubę i nakrętkę.
Umieść jeden z końców sprężyny z zaczepem w kształcie litery J wokół deflektora trawy (Rysunek 92).
Important: Deflektor trawy musi mieć możliwość obrotu. Unieś deflektor do pozycji pełnego otwarcia, aby sprawdzić, czy opuści się do samego końca.
| Częstotliwość serwisowania | Procedura konserwacji |
|---|---|
| Po każdym zastosowaniu |
|
Ustaw maszynę na poziomej nawierzchni, odłącz napęd ostrzy za pomocą przełącznika sterującego ostrzami (WOM) i załącz hamulec postojowy.
Przed opuszczeniem stanowiska operatora wyłącz silnik, wyjmij kluczyk zapłonu i odczekaj, aż wszystkie części ruchome się zatrzymają.
Unieś podwozie tnące kosiarki do położenia TRANSPORTOWEGO.
Wyczyść system zawieszenia przy pomocy sprężonego powietrza.
Note: Zespołów amortyzujących nie wolno myć wodą pod ciśnieniem (Rysunek 93).

Olej silnikowy, akumulatory, olej hydrauliczny oraz płyn chłodzący mogą zanieczyścić środowisko. Usuwaj je zgodnie z lokalnymi przepisami.
Zanim opuścisz stanowisko operatora, wyłącz silnik, wyjmij kluczyk i zaczekaj, aż wszystkie ruchome części zatrzymają się. Przed przystąpieniem do regulacji, obsługi technicznej, czyszczenia lub przed przechowywaniem maszyny odczekaj aż ostygnie.
Nie wolno przechowywać maszyny ani paliwa w pobliżu ognia ani spuszczać paliwa w pomieszczeniu ani w zamkniętej przyczepie.
Nie przechowuj maszyny ani kanistra na paliwo w miejscach występowania otwartego ognia, tam gdzie występuje iskrzenie lub stosowany jest płomień pilotowy, na przykład przy piecykach gazowych lub innych urządzeniach tego typu.
Ustaw przełącznik sterowania ostrzem (WOM) w pozycji rozłączenia i załącz hamulec postojowy.
Przed opuszczeniem stanowiska operatora wyłącz silnik, wyjmij kluczyk zapłonu i odczekaj, aż wszystkie części ruchome się zatrzymają.
Usuń pozostałości trawy, zanieczyszczenia i zabrudzenia z zewnętrznych elementów maszyny, zwłaszcza z silnika i układu hydraulicznego. Usuń zanieczyszczenia i plewy z zewnętrznej części żeberek głowicy cylindra silnika i obudowy dmuchawy.
Important: Maszynę można umyć za pomocą delikatnego środka czyszczącego i wody. Zabrania się mycia za pomocą urządzeń ciśnieniowych. Unikaj stosowania nadmiernej ilości wody, zwłaszcza w pobliżu panelu sterowania, silnika, pomp hydraulicznych i silników elektrycznych.
Sprawdź działanie hamulca postojowego, patrz Regulacja hamulca postojowego.
Oczyść filtr powietrza; patrz Konserwacja oczyszczacza powietrza.
Nasmaruj maszynę; patrz Smarowanie maszyny.
Wymień olej przekładniowy; patrz Wymiana oleju silnikowego.
Sprawdź ciśnienie w oponach; patrz Sprawdzanie ciśnienia w oponach.
Wymień filtry oleju hydraulicznego; patrz Wymiana oleju hydraulicznego i filtrów.
Naładuj akumulator; patrz Ładowanie akumulatora.
Usuń całą nagromadzoną trawę i zanieczyszczenia ze spodniej części kosiarki, a następnie umyj kosiarkę wężem ogrodowym.
Note: Po umyciu uruchom maszynę z załączonym przełącznikiem sterowania ostrzem (WOM) i pozostaw maszynę na 2 do 5 minut na wysokich obrotach biegu jałowego silnika.
Sprawdź stan ostrzy; patrz Konserwacja ostrzy tnących.
Jeśli maszyna ma być przechowywana przez ponad 30 dni, należy ją odpowiednio przygotować. Przygotuj maszynę do przechowywania w następujący sposób:
Do paliwa w zbiorniku dodaj środek stabilizujący/dodatek uszlachetniający na bazie ropy naftowej. Przestrzegaj instrukcji mieszania podanych przez producenta środka stabilizującego. Nie stosuj środka stabilizującego na bazie alkoholu (etanolu lub metanolu).
Note: Środek stabilizujący/kondycjonujący jest najskuteczniejszy, gdy zostanie wymieszany ze świeżym paliwem i będzie stosowany przez cały czas.
Uruchom silnik na 5 minut w celu rozprowadzenia paliwa z dodatkiem uszlachetniającym w układzie paliwowym.
Wyłącz silnik, poczekaj, aż ostygnie, i opróżnij zbiornik paliwa.
Uruchom silnik i zostaw uruchomiony, aż się zatrzyma.
Odpowiednio usuń paliwo. Utylizacji paliwa dokonaj zgodnie z lokalnymi przepisami kodeksów.
Important: Paliwa z dodatkiem środka stabilizującego/uszlachetniającego nie przechowuj dłużej niż okres zalecany przez producenta środka stabilizującego.
Zdemontuj i sprawdź stan iskier zapłonowych; patrz Konserwacja świecy zapłonowej. Po wykręceniu świec zapłonowych z silnika wlej dwie łyżki stołowe (30 ml) oleju silnikowego przez otwór po świecy zapłonowej. Następnie użyj rozrusznika, aby obracać wałem korbowym silnika i rozprowadzić olej wewnątrz cylindra. Zamontuj świece zapłonowe. Nie podłączaj przewodów do świec zapłonowych.
Sprawdzić i dokręcić wszystkie śruby, nakrętki i wkręty. Napraw lub wymień wszystkie części, które są uszkodzone.
Pomaluj miejsca, z których farba została usunięta. Farba jest dostępna w autoryzowanych serwisach.
Przechowywuj maszynę w czystym i suchym garażu lub innym miejscu tego typu. Wyjmij kluczyk ze stacyjki i umieść go w miejscu niedostępnym dla dzieci lub innych nieupoważnionych użytkowników. Przykryj maszynę w celu jej zabezpieczenia i utrzymania w czystości.
| Problem | Possible Cause | Corrective Action |
|---|---|---|
| Przegrzewanie się silnika. |
|
|
| Rozrusznik nie działa. |
|
|
| Silnik nie uruchamia się, dławi się lub po chwili gaśnie. |
|
|
| Silnik traci moc. |
|
|
| Kosiarka zbacza w lewo lub w prawo (przy dźwigniach wychylonych całkowicie do przodu) |
|
|
| Maszyna nie jedzie. |
|
|
| Maszyna zaczyna nieprawidłowo drgać. |
|
|
| Nierówna wysokość koszenia. |
|
|
| Ostrza się nie obracają. |
|
|
| Sprzęgło nie daje się załączyć. |
|
|


