
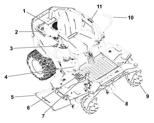
. Tragen Sie hier die Modell-
und Seriennummern des Geräts ein.| Wichtig |
| Modellnummer: |
Seriennummer: |

![]() |
Gefahr | |
![]() |
Warnung | |
![]() |
Vorsicht | |
























| 122-cm-Mähwerk |
137-cm-Mähwerk |
152-cm-Mähwerk |
|
|---|---|---|---|
| Breite
|
122 cm
|
137 cm
|
152 cm
|
| Länge
|
208 cm
|
208 cm
|
208 cm
|
| Höhe
|
124 cm
|
124 cm
|
124 cm
|
| Gewicht
|
358 kg
|
364 kg
|
371 kg
|
![]() |
Warnung | |
| Fassungsvermögen |
19 l |
| Typ
|
Bleifreies Benzin |
| Minimale Oktanzahl |
87 (US) oder 91 (Oktanzahl ermitteln;
außerhalb der USA)
|
| Ethanol
|
Nicht über 10% Volumenprozent |
| Methanol
|
Keine
|
| MTBE (Methyl-tertiär-Butylether) |
Weniger als 15% Volumenprozent |
| Öl
|
Vermischen Sie nie Kraftstoff
mit Öl |
| Wichtig |
| Wichtig |

![]() |
Warnung | |







.
.
und ziehen Sie das Handrad
fest.![]() |
Warnung | |




![]() |
Warnung | |





![]() |
Warnung | |






| Wichtig |


![]() |
Vorsicht | |
![]() |
Vorsicht | |


![]() |
Gefahr | |
![]() |
Gefahr | |


![]() |
Gefahr | |

mit dem Fuß, um das Mähwerk
anzuheben.
aus der Schnitthöheneinstellhalterung.
.
ganz nach vorne, um das Mähwerk
in der Transport-Stellung zu arretieren.
nach vorne in die nicht arretierte Stellung und senken Sie
das Mähwerk dann langsam in die gewünschte Schnitthöhe.
| Wichtig |
![]() |
Warnung | |
![]() |
Warnung | |

![]() |
Warnung | |



![]() |
Warnung | |
| Wartungs intervall |
Wartungsverfahren |
|---|---|
| Nach den ersten 8 Stunden
|
Wechseln Sie das Motoröl.
|
| Nach den ersten 50 Stunden
|
Prüfen Sie das Drehmoment der Radmuttern. |
| Nach den ersten 75 Stunden
|
Wechseln Sie das Hydrauliköl und den Hydraulikfilter. |
| Vor jeder Nutzung oder täglich |
Prüfen Sie die Sicherheitsschalter.
|
| Prüfen Sie den Luftfilter auf verschmutzte, lose oder beschädigte
Teile. |
|
| Prüfen Sie den Motorölstand.
|
|
| Reinigung des Luftansauggitters.
|
|
| Prüfen Sie die Messer.
|
|
| Prüfen Sie das Ablenkblech auf Defekte.
|
|
| Nach jeder Nutzung |
Entfernen Sie Gras und Schmutz von der Maschine. |
| Reinigen Sie das Mähwerkgehäuse.
|
|
| Alle 25 Stunden |
Fetten Sie die Lager der Laufräder (häufiger bei sandigen
Böden). |
| Prüfen Sie den Reifendruck.
|
|
| Untersuchen Sie die Treibriemen auf Verschleiß oder Risse. |
|
| Alle 100 Stunden |
Wechseln Sie das Motoröl (häufiger bei schmutzigen oder
staubigen Bedingungen).
|
| Tauschen oder reinigen Sie die Zündkerze und stellen den Abstand
an der Zündkerze ein.
|
|
| Wechseln Sie den Inline-Kraftstofffilter aus. |
|
| Alle 100 Stunden oder jährlich,
je nachdem, was zuerst eintritt |
Tauschen Sie den Papiereinsatz des Luftfilters aus (öfter in
schmutzigen oder staubigen Umgebungen).
|
| Alle 200 Stunden
|
Wechseln Sie den Motorölfilter (häufiger bei schmutzigen
oder staubigen Bedingungen).
|
| Alle 300 Stunden
|
Prüfen Sie den Ventilabstand und stellen ihn ein. Wenden Sie
sich an den Toro-Vertragshändler.
|
| Alle 400 Stunden
|
Wechseln Sie das Hydrauliköl und den Hydraulikfilter. |
| Jährlich |
Prüfen Sie das Drehmoment der Radmuttern. |
| Vor der Lagerung |
Laden Sie die Batterie auf und klemmen Sie die Batteriekabel ab. |
| Führen Sie vor einer Einlagerung alle oben aufgeführten
Wartungsschritte durch.
|
|
| Bessern Sie Lackschäden aus. |
|
| Wichtig |
am Rahmen.
.![]() |
Warnung | |
![]() |
Warnung | |
| Wichtig |
.| Wichtig |


sodass kein Schmutz in den Motor
fällt und Schäden verursacht.
und entfernen Sie das
Papierelement
.| Wichtig |

auf dem Luftfiltergehäuse.
an und ziehen Sie die Schlauchschelle
fest.| Ölsorte |
Waschaktives Öl (API-Service
SF, SG, SH, SJ oder SL)
|
| Kurbelgehäuse-Fassungsvermögen: |
1,8 l; ohne
Filter; 2,1 l mit Filter
|
| Viskosität |
Siehe nachstehende Tabelle |
![]() |
|

| Wichtig |





| Wichtig |


![]() |
Gefahr | |
| Wichtig |

![]() |
Warnung | |
![]() |
Warnung | |

![]() |
Warnung | |
| Wichtig |
| Wichtig |


![]() |
Warnung | |
![]() |
Gefahr | |
![]() |
Vorsicht | |
![]() |
Warnung | |




| Wichtig |
| Wichtig |

| Wichtig |
| Wichtig |

| Wichtig |




![]() |
Warnung | |








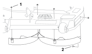
.
auf einer Ausgleichsmaschine
.![]() |
Warnung | |


und
von einer ebenen Oberfläche
bis zur Schnittkante der Messerspitzen
.
und
von einer ebenen Oberfläche
bis zur Schnittkante der Messerspitzen
.
mit einer Dicke von jeweils 6,6
cm unter jede Seite der vorderen Kanten des Mähwerks.| Wichtig |
mit einer Dicke von jeweils 7,3
cm unter jede Seite der Hinterkante des Mähwerks.

und nehmen Sie die Stange aus
der Mähwerkhalterung
.


an der Deckhalterung
mit dem Splint und der Unterlegscheibe.![]() |
Gefahr | |


| Wichtig |
| Wichtig |
| Wichtig |
| Mögliche Ursache |
Abhilfemaßnahmen |
|---|---|
| Der Papiereinsatz des Luftfilters
ist verstopft. |
|
| Mögliche Ursache |
Abhilfemaßnahmen |
|---|---|
| Der Motor wird zu stark
belastet. |
|
| Es befindet sich zu wenig
Öl im Kurbelgehäuse.
|
|
| Die Kühlrippen und
Luftwege unter dem Motorgebläsegehäuse sind verstopft. |
|
| Der Luftfilter ist verschmutzt. |
|
| Es befindet sich Schmutz,
Wasser oder zu alter Kraftstoff in der Kraftstoffanlage. |
|
| Mögliche Ursache |
Abhilfemaßnahmen |
|---|---|
| Der Zapfwellenantriebsschalter
ist eingekuppelt. |
|
| Die Fahrantriebshebel sind
nicht in der Park-Stellung. |
|
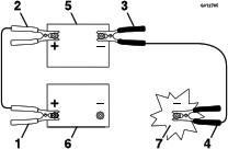
| Die Batterie ist leer. |
|
| Elektrische Anschlüsse
sind korrodiert oder locker. |
|
| Eine Sicherung ist durchgebrannt. |
|
| Ein Relais oder Schalter
ist defekt. |
|
| Mögliche Ursache |
Abhilfemaßnahmen |
|---|---|
| Der Kraftstofftank ist
leer. |
|
| Der Choke (falls vorhanden)
ist nicht aktiviert. |
|
| Der Luftfilter ist verschmutzt. |
|
| Die Zündkerzenstecker
sind locker oder von der Kerze abgezogen.
|
|
| Die Zündkerzen sind
korrodiert, verrußt oder haben den falschen Elektrodenabstand. |
|
| Der Kraftstofffilter ist
verschmutzt. |
|
| Es befindet sich Schmutz,
Wasser oder zu alter Kraftstoff in der Kraftstoffanlage. |
|
| Im Tank befindet sich der
falsche Kraftstoff. |
|
| Es befindet sich zu wenig
Öl im Kurbelgehäuse.
|
|
| Mögliche Ursache |
Abhilfemaßnahmen |
|---|---|
| Der Motor wird zu stark
belastet. |
|
| Der Luftfilter ist verschmutzt. |
|
| Es befindet sich zu wenig
Öl im Kurbelgehäuse.
|
|
| Die Kühlrippen und
Luftwege unter dem Gebläsegehäuse sind verstopft. |
|
| Die Zündkerze(n) ist/sind
korrodiert, verrußt oder hat/haben den falschen Elektrodenabstand. |
|
| Der Entlüftungsdeckel
am Kraftstofftank ist verstopft.
|
|
| Der Kraftstofffilter ist
verschmutzt. |
|
| Es befindet sich Schmutz,
Wasser oder zu alter Kraftstoff in der Kraftstoffanlage. |
|
| Im Tank befindet sich der
falsche Kraftstoff. |
|
| Mögliche Ursache |
Abhilfemaßnahmen |
|---|---|
| Die Sicherheitsventile
sind offen. |
|
| Die Fahrantriebsriemen
sind abgenutzt, locker oder gerissen.
|
|
| Die Fahrantriebsriemen
sind von den Riemenscheiben gerutscht.
|
|
| Das Getriebe ist ausgefallen. |
|
| Mögliche Ursache |
Abhilfemaßnahmen |
|---|---|
| Die Schnittmesser sind
verbogen oder nicht ausgewuchtet.
|
|
| Die Messerbefestigungsschraube
ist locker. |
|
| Die Motorbefestigungsschrauben
sind locker. |
|
| Die Motorriemenscheibe,
Spannscheibe oder Messerriemenscheibe ist locker.
|
|
| Die Motorriemenscheibe
ist beschädigt. |
|
| Die Messerspindel ist verbogen. |
|
| Die Motorbefestigung ist
lose oder abgenutzt. |
|
| Mögliche Ursache |
Abhilfemaßnahmen |
|---|---|
| Das/die Schnittmesser ist/sind
stumpf. |
|
| Das/die Schnittmesser ist/sind
verbogen. |
|
| Das Mähwerk ist nicht
nivelliert. |
|
| Eine Antiskalpierrolle
(falls vorhanden) ist falsch eingestellt.
|
|
| Die Unterseite des Mähwerks
ist schmutzig. |
|
| Falscher Reifendruck. |
|
| Die Messerspindel ist verbogen. |
|
| Mögliche Ursache |
Abhilfemaßnahmen |
|---|---|
| Der Treibriemen ist abgenutzt,
locker oder gerissen. |
|
| Der Treibriemen ist von
der Riemenscheibe gerutscht. |
|
| Der Zapfwellenschalter
oder die Zapfwellenkupplung sind defekt.
|
|
| Der Mähwerk-Treibriemen
ist abgenutzt, locker oder gerissen.
|
|
