Manutenzione
Sicurezza in fase di manutenzione
- Se lasciate la chiave nell'interruttore,
qualcuno potrebbe accidentalmente avviare il motore e ferire gravemente
voi od altre persone. Togliete la chiave
dall'interruttore prima di eseguire qualsiasi intervento di manutenzione.
- Prima di abbandonare la posizione
dell’operatore, seguite le seguenti
istruzioni:
- Parcheggiate la macchina su un
terreno pianeggiante.
- Disinnestate le trasmissioni.
- Inserite il freno di stazionamento.
- Spegnete il motore e togliete
la chiave.
- Lasciate raffreddare la macchina
prima di effettuare la manutenzione.
- Non lasciate che personale non
addestrato effettui interventi di manutenzione sulla macchina.
- Tenete mani e piedi a distanza
dalle parti in movimento o dalle superfici calde. Se possibile, non
eseguite regolazioni mentre il motore è
in funzione.
- Tenete tutte le protezioni, schermi
e tutti i dispositivi di sicurezza in posizione e in condizioni operative
sicure. Controllate di frequente che non
siano presenti componenti usurati o in deterioramento e sostituiteli
con i ricambi originali Toro, quando necessario.
- Scaricate con cautela la pressione
dai componenti che hanno accumulato energia.
 |
Avvertenza |
|
La rimozione o modifica di attrezzatura
originale, ricambi e/o accessori può alterare la garanzia, la
controllabilità e la sicurezza
della macchina. L’esecuzione di modifiche
non autorizzate all'attrezzatura originale o il mancato utilizzo di
ricambi originali Toro possono comportare gravi infortuni
o la morte.
- Verificate di frequente il funzionamento
del freno di stazionamento. Regolatelo ed effettuate la manutenzione
come prescritto.
- Non manomettete i dispositivi
di sicurezza. Controllatene il funzionamento ad intervalli regolari.
- Pulite erba, foglie, eccesso di
grasso e olio e altri detriti dagli apparati di taglio, marmitte,
trasmissioni, cesti di raccolta e vani
motore per prevenire gli incendi.
- Tergete l'olio o il carburante
versato e asportate i detriti imbevuti di carburante.
- Non utilizzate unicamente binde
meccaniche o idrauliche per supportare la macchina. Utilizzate cavalletti
metallici adeguati.
- Mantenete tutti i componenti in
buone condizioni operative e tutta la bulloneria serrata, soprattutto
i bulloni di fissaggio delle lame.
- Per garantire prestazioni ottimali,
utilizzate esclusivamente ricambi e accessori originali Toro. Le parti di ricambio
e gli accessori prodotti da altri costruttori possono essere pericolosi.
Programma di manutenzione raccomandato
| Dopo le prime 8 ore
|
Cambiate l'olio motore.
|
| Dopo le prime 50 ore
|
Controllate la coppia del dado ad alette.
|
| Dopo le prime 75 ore
|
Cambio del fluido idraulico e del filtro.
|
| Prima di ogni utilizzo o quotidianamente |
Controllate il sistema microinterruttori di sicurezza. |
| Verificate il filtro dell'aria per escludere componenti sporchi,
lenti o danneggiati. |
| Controllate il livello dell’olio motore. |
| Pulite la griglia di presa d'aria.
|
| Ispezionate la lame. |
| Controllate il deflettore dell'erba tagliata per verificare la presenza
di eventuali danni. |
| Dopo ogni utilizzo |
Pulite erba e detriti dalla macchina.
|
| Pulite l'alloggiamento della scocca del tosaerba. |
| Ogni 25 ore |
Ingrassate i cuscinetti delle ruote orientabili (con una maggiore
frequenza in condizioni di terreno sabbioso).
|
| Controllate la pressione dei pneumatici.
|
| Controllate crepe/usura delle cinghie.
|
| Ogni 100 ore |
Cambiate l’olio motore (più spesso in
condizioni di sporcizia o polvere).
|
| Sostituite o pulite e regolate la candela.
|
| Sostituite il filtro del carburante in linea. |
| Ogni 100 ore o annualmente, la
scadenza più vicina
|
Sostituite l'elemento di carta del filtro dell'aria (più spesso
in condizioni polverose e sporche).
|
| Ogni 200 ore
|
Cambiate il filtro dell’olio (più spesso in
condizioni di sporcizia o polvere).
|
| Ogni 300 ore
|
Controllate e regolate l'apertura delle valvole. Rivolgetevi a un
Centro Assistenza autorizzato.
|
| Ogni 400 ore
|
Cambio del fluido idraulico e del filtro.
|
| Annualmente |
Controllate la coppia del dado ad alette.
|
| Prima del rimessaggio |
Caricate la batteria e scollegate i cavi.
|
| Prima del rimessaggio eseguite gli interventi di manutenzione sopra
riportati |
| Verniciate le superfici scheggiate. |
| |
Per ulteriori interventi di manutenzione,
si rimanda al manuale d'uso del motore.
Procedure di pre-manutenzione
Spostamento di una macchina non
funzionante
-
Parcheggiate
la macchina su una superficie pianeggiante, disinnestate il comando
delle lame e spostate le leve di controllo
del movimento verso l'esterno, in posizione di parcheggio.
-
Spegnete
il motore e attendete l’arresto di tutte le parti
in movimento prima di lasciare la posizione di funzionamento.
-
Individuate
le leve di bypass
sul telaio su ambo i lati
del motore.
-
Spostate
entrambe le leve di bypass in avanti attraverso il foro asolato e
verso l’alto per bloccare in posizione
.
 |
Avvertenza |
|
Il
contatto con superfici calde può causare infortuni.
Tenete
mani, piedi, viso, abbigliamento e altre parti del corpo lontano dal
motore, dalla marmitta e altre superfici calde.
 |
Avvertenza |
|
La
macchina potrebbe spostarsi involontariamente mentre le leve di bypass
sono bloccate in avanti nella fessura, e provocare
lesioni a voi o agli astanti.
Bloccate le
leve di bypass verso dietro dopo aver spostato la macchina.
-
Disinserite
il freno di stazionamento spostando le leve di controllo del movimento
portandole in basso al centro, in posizione
sbloccata.
Nota: Non avviate la macchina.
-
Spostate
la macchina come necessario.
Spingete
sempre la macchina a mano. Non trainate la macchina, in quanto potreste
danneggiarla.
-
Mettete le
leve di controllo del movimento in posizione di parcheggio.
-
Spostate
entrambe le leve di bypass verso dietro e verso l’alto attraverso il foro asolato
per bloccare in posizione
.
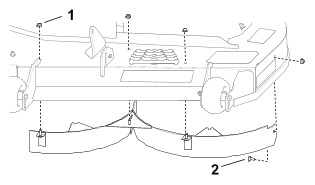
Rilascio della cortina del piatto
di taglio
-
Allentate
i 2 bulloni inferiori della cortina per accedere alla parte superiore
del piatto di taglio.
Serrate sempre
i bulloni per collegare la cortina dopo la manutenzione.
G453430
Manutenzione del motore
Sicurezza del motore
- Tenete mani, piedi, viso, altre
parti del corpo e abbigliamento lontano dalla marmitta e altre superfici
calde. Attendete che il motore si raffreddi
prima di effettuare la manutenzione.
- Non cambiate la velocità
del regolatore del motore e non fate girare il motore a una velocità
eccessiva.
Manutenzione del filtro dell'aria
Rimozione dell'elemento del filtro dell’aria
-
Parcheggiate
la macchina su una superficie pianeggiante, disinnestate il comando
delle lame e spostate le leve di controllo
del movimento verso l'esterno, in posizione di parcheggio.
-
Spegnete
il motore e attendete l’arresto di tutte le parti
in movimento prima di lasciare la posizione di funzionamento.
-
Pulite intorno
al filtro dell'aria
per evitare che la morchia
possa penetrare nel motore provocando gravi danni.
-
Allentate
la fascetta stringitubo
e rimuovete l'elemento
di carta
.
Revisione dell'elemento di carta del filtro dell'aria
-
Pulite l'elemento
di carta picchiettandolo delicatamente per rimuovere la polvere.
Nota: Se è molto sporco, sostituite l'elemento di carta con un elemento
nuovo.
-
Controllate
che l'elemento non sia strappato, che non vi siano strati untuosi,
e che la tenuta in gomma non sia danneggiata.
-
Sostituite
l’elemento di carta se è danneggiato.
Non
pulite il filtro primario di carta.
Manutenzione dell'olio motore
Specifiche dell'olio motore
| Tipo di olio |
Olio detergente (API service SF,
SG, SH, SJ o SL) |
| Capacità della coppa dell’olio
|
1,8 litri
senza filtro; 2,1 litri con filtro
|
| Viscosità |
Vedere la tabella seguente |
| |
Controllo del livello dell'olio motore
-
Parcheggiate
la macchina su una superficie pianeggiante, disinnestate il comando
delle lame e spostate le leve di controllo
del movimento verso l'esterno, in posizione di parcheggio.
-
Spegnete
il motore, rimuovete la chiave e attendete l’arresto di tutte le parti in movimento
prima di lasciare la posizione di funzionamento.
-
Attendete
che il motore sia freddo, in modo che l'olio abbia avuto il tempo
necessario per spurgare nel pozzetto.
-
Per evitare
morchia, residui d'erba, ecc. nel motore, pulite l'area attorno al
tappo e all'asta di livello dell'olio prima
della rimozione.
-
Controllate
il livello dell'olio motore come mostrato.
Se
riempite troppo o poco di olio il carter del motore e azionate il
motore, potreste danneggiare il motore.
Cambio dell'olio motore
-
Parcheggiate
la macchina in modo che il lato di spurgo sia leggermente più
basso rispetto al lato opposto, per garantire l'efflusso
completo dell'olio.
-
Disinnestate
il comando delle lame (PDF) e spostate le leve di controllo del movimento
verso l'esterno, in posizione di parcheggio.
-
Prima di
scendere dalla postazione di guida, spegnete il motore, togliete la
chiave di accensione e attendete l'arresto di
tutte le parti in movimento.
-
Spurgate
l'olio dal motore.
-
Versate lentamente
circa l'80% dell'olio indicato nel tubo di rifornimento e sempre con
cautela rabboccate l'olio necessario
per portarlo alla tacca di Pieno.
-
Smaltite
l’olio esausto secondo le norme
locali.
Cambio del filtro dell'olio motore
-
Spurgate
l'olio dal motore.
-
Cambiate
il filtro dell'olio motore come illustrato.
Nota: Assicuratevi che la guarnizione del filtro dell'olio tocchi il motore
e poi ruotatelo di altri ¾ di giro.
-
Versate lentamente
l’olio indicato nel tubo di rifornimento
per portare il livello dell’olio alla tacca di Pieno.
Manutenzione della candela
Prima di montare
la candela accertatevi che la distanza tra gli elettrodi centrali
e laterali sia corretta. Utilizzate una chiave
per candele per la rimozione e il montaggio della candela, ed un calibro
o uno spessimetro per il controllo e la regolazione
della distanza fra gli elettrodi. Se necessario, montate
una nuova candela.
Tipo: NGK® BPR4ES
Distanza tra gli elettrodi: 0,76 mm
Rimozione della candela
-
Parcheggiate
la macchina su una superficie pianeggiante, disinnestate il comando
delle lame e spostate le leve di controllo
del movimento verso l'esterno, in posizione di parcheggio.
-
Spegnete
il motore, togliete la chiave e attendete che tutte le parti in movimento
si arrestino prima di abbandonare la postazione
di guida.
-
Pulite l'area
attorno alla base della candela per tenere detriti e sporco lontano
dal motore.
-
Togliete
la candela.
Controllo della candela
Non pulite la/e candela/e. Sostituite
sempre la candela (o candele) in caso di patina nera sull'isolatore,
elettrodi usurati, pellicola d'olio
oppure crepe.
Se l'isolatore è marrone
chiaro o grigio, il motore funziona correttamente. Una patina nera
sull'isolatore significa in genere che
il filtro dell'aria è sporco.
-
Regolate
la distanza a 0,76 mm.
Installazione della candela
Pulizia dell’impianto di raffreddamento
-
Parcheggiate
la macchina su una superficie pianeggiante, disinnestate il comando
delle lame e spostate le leve di controllo
del movimento verso l'esterno, in posizione di parcheggio.
-
Spegnete
il motore, togliete la chiave e attendete che tutte le parti in movimento
si arrestino prima di abbandonare la postazione
di guida.
-
Rimuovete
il filtro dell'aria dal motore.
-
Togliete
il riparo del motore.
-
Per evitare
l'ingresso di detriti nella presa d'aria, montate il filtro dell'aria
sulla relativa base.
-
Rimuovete
sporcizia ed erba dagli elementi.
-
Rimuovete
il filtro dell'aria e montate il riparo del motore.
-
Montate il
filtro dell'aria.
Manutenzione del carburante
 |
Pericolo |
|
In determinate condizioni, il
carburante è estremamente infiammabile ed altamente esplosivo.
Un incendio o un’esplosione causati dal
carburante possono ustionare voi ed altre persone e provocare danni.
Sostituzione del filtro del carburante
-
Parcheggiate
la macchina su una superficie pianeggiante, disinnestate il comando
delle lame e spostate le leve di controllo
del movimento verso l'esterno, in posizione di parcheggio.
-
Spegnete
il motore, rimuovete la chiave e attendete l’arresto di tutte le parti in movimento
prima di lasciare la posizione di funzionamento.
-
Fissate le
linee del carburante su entrambi i lati del filtro del carburante.
-
Sostituite
il filtro.
Nota: Accertatevi che la freccia che indica la direzione del flusso sui
filtri sostitutivi punti verso il motore.
Non
montate mai un filtro sporco dopo averlo rimosso dal tubo del carburante.
-
Rimuovete
le fascette che bloccano il flusso del carburante.
Manutenzione dell'impianto elettrico
Sicurezza dell'impianto elettrico
- Scollegate il cavo dal terminale
negativo della batteria prima di riparare la macchina.
- Caricate la batteria in un'area
aperta e ben ventilata, lontano da fiamme e scintille. Togliete la
spina del caricabatterie prima di collegare
o scollegare la batteria. Indossate indumenti di protezione e adoperare
utensili isolati.
Manutenzione della batteria
Rimozione della batteria
 |
Avvertenza |
|
I morsetti della batteria e gli
attrezzi metallici possono creare cortocircuiti contro i componenti
metallici e provocare scintille. Queste
possono fare esplodere i gas delle batterie e provocare infortuni.
- Quando la batteria viene smontata
o montata, evitate che i morsetti entrino a contatto con le parti
metalliche della macchina.
- Evitate cortocircuiti fra i morsetti
della batteria e le parti metalliche della macchina causati da utensili
metallici.
-
Parcheggiate
la macchina su una superficie pianeggiante, disinnestate il comando
delle lame e spostate le leve di controllo
del movimento verso l'esterno, in posizione di parcheggio.
-
Spegnete
il motore, rimuovete la chiave e attendete l’arresto di tutte le parti in movimento
prima di lasciare la posizione di funzionamento.
-
Staccate
il cavo negativo (nero) di terra dal polo della batteria.
Nota: Conservate tutti i dispositivi di fermo.
 |
Avvertenza |
|
Una
rimozione non corretta dei cavi dalla batteria può causare danni
a macchina e cavi, causando scintille. Queste possono
fare esplodere i gas delle batterie e provocare
infortuni.
- Scollegate sempre il cavo negativo
(nero) della batteria prima di quello positivo (rosso).
- Collegate sempre il cavo positivo
(rosso) della batteria prima di quello negativo (nero).
-
Fate scorrere
il coperchio in gomma via dal cavo positivo (rosso).
-
Staccate
il cavo positivo (rosso) dal polo della batteria (+).
Nota: Conservate tutti i dispositivi di fermo.
-
Togliete
il dispositivo di fissaggio della batteria e togliete la batteria
dal vassoio.
G440221
-
Batteria
-
Guaina del morsetto
-
Polo negativo (-)
-
Dado ad alette, rondella e bullone
-
Dispositivo di fissaggio della
batteria
-
Bullone, rondella e dado
-
Polo positivo (+)
Carica della batteria
 |
Avvertenza |
|
Durante la ricarica della batteria
si sviluppano gas esplosivi.
Non fumate mai nelle adiacenze
della batteria e tenetela lontano da scintille e fiamme.
La batteria deve essere sempre
completamente carica. Ciò è particolarmente importante per
evitare danni alla batteria se la temperatura
scende al di sotto di 0 ℃.
-
Togliete
la batteria dalla macchina.
-
Caricate
la batteria in base alle istruzioni del produttore del caricabatteria.
Non
caricate eccessivamente la batteria; altrimenti, potreste danneggiarla.
G003792S
- Polo
positivo
- Polo
negativo
- Cavo
di ricarica rosso (+)
- Cavo
di ricarica nero (-)
-
Quando la
batteria è completamente carica, staccate il caricabatterie dalla
presa elettrica (se applicabile) e scollegate
i cavi di ricarica dai poli della batteria.
Pulizia della batteria
Nota: Mantenete puliti i morsetti e la scatola della batteria, poiché
le batterie sporche si scaricano lentamente.
-
Parcheggiate
la macchina su una superficie pianeggiante, disinnestate il comando
delle lame e spostate le leve di controllo
del movimento verso l'esterno, in posizione di parcheggio.
-
Spegnete
il motore e attendete l’arresto di tutte le parti
in movimento prima di lasciare la posizione di funzionamento.
-
Togliete
la batteria dalla macchina.
-
Lavate la
scatola completa con una soluzione di bicarbonato di sodio e acqua.
-
Risciacquate
la batteria con acqua pulita.
-
Per impedire
la corrosione, ricoprite i morsetti della batteria e i connettori
dei cavi con grasso Grafo 112X (rivestimento)
o vaselina.
-
Montaggio
della batteria.
Montaggio della batteria
-
Posizionate
la batteria nella cassetta.
-
Montate il
cavo positivo (rosso) della batteria con il morsetto positivo (+)
utilizzando i dispositivi di fermo precedentemente
rimossi.
-
Montate il
cavo negativo (nero) della batteria con il morsetto negativo (-) utilizzando
i dispositivi di fermo precedentemente
rimossi.
-
Infilate
la guaina rossa del morsetto sul polo positivo (rosso) della batteria.
-
Fissate la
batteria con l'apposito dispositivo.
G440221
-
Batteria
-
Guaina del morsetto
-
Polo negativo (-)
-
Dado ad alette, rondella e bullone
-
Dispositivo di fissaggio della
batteria
-
Bullone, rondella e dado
-
Polo positivo (+)
Avviamento della macchina con
cavetti
 |
Avvertenza |
|
L'avviamento della batteria con
cavetti può produrre gas esplosivi.
Non fumate nelle adiacenze
della batteria e tenete scintille e fiamme lontano dalla batteria.
 |
Pericolo |
|
L'avviamento con cavetti di una
batteria scarica incrinata o congelata o con livello di elettrolita
basso o di una cella della batteria aperta/cortocircuitata
può causare esplosione, con conseguenti gravi lesioni personali.
In
presenza di tali condizioni, non eseguite l'avviamento con ponte elettrico
di una batteria scarica.
-
Controllate
e rimuovete la corrosione dai morsetti della batteria prima di avviare
la macchina con ponte elettrico. Verificate
che i collegamenti siano serrati.
 |
Attenzione |
|
I
collegamenti allentati o corrosi possono causare picchi di tensione
elettrica indesiderati in qualsiasi momento durante
la procedura di avviamento con ponte elettrico.
Non tentate di avviare la macchina
con cavetti con i morsetti della batteria lenti o corrosi, oppure
potreste danneggiare il motore.
-
Accertate
che la batteria ausiliaria sia una batteria al piombo acido completamente
carica a 12,6 volt o superiore.
Nota: Utilizzate cavi del ponticello di dimensioni adeguate con lunghezze
inferiori per ridurre il calo di tensione tra i sistemi.
Accertate che i cavi seguano i codici colore
o siano etichettati per la polarità corretta.
 |
Avvertenza |
|
Le
batterie contengono acido e generano gas esplosivi.
- Schermate sempre occhi e viso
dalle batterie.
- Non sporgetevi sulle batterie.
Nota: Accertate che i coperchi di sfiato siano stagni e piatti. Posizionate
un panno umido, se disponibile, su ogni tappo di sfiato
su entrambe le batterie. Accertate inoltre
che le macchine non si tocchino e che entrambi gli impianti elettrici
siano spenti e alla stessa tensione
nominale del sistema. Le presenti istruzioni si riferiscono unicamente
a impianti a terra negativi.
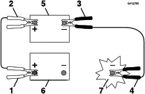
-
Collegate
il cavo positivo (+) al morsetto positivo (+) della batteria scarica
collegata allo starter o al solenoide come
illustrato:
g012785
- Cavo
positivo (+) su batteria scarica
- Cavo
positivo (+) su batteria ausiliaria
- Cavo
negativo (-) su batteria ausiliaria
- Cavo
negativo (-) su blocco motore
- Batteria
ausiliaria
- Batteria
scarica
- Blocco
motore
-
Collegate
l'altra estremità del cavo del ponticello positivo (+) al morsetto
positivo della batteria sull’altra macchina.
-
Collegate
un'estremità del cavo del ponticello negativo (-) al polo negativo
della batteria sull'altra macchina.
-
Collegate
l’altra estremità del cavo
del ponticello negativo (-) a un punto di messa a terra, come un bullone
non verniciato o un elemento dello chassis.
-
Avviate il
motore sull’altra macchina. Lasciatelo in
funzione per qualche minuto, poi avviate il vostro motore.
-
Rimuovete
i cavi in ordine di collegamento inverso.
-
Montate il
coperchio sul polo del ponticello.
Manutenzione dei fusibili
L'impianto elettrico è protetto
da fusibili. Non necessita di alcuna manutenzione; tuttavia, nel caso
in cui salti un fusibile dovete controllare
che non vi sia un cortocircuito e se i componenti funzionano correttamente.
-
Parcheggiate
la macchina su una superficie pianeggiante, disinnestate il comando
delle lame e spostate le leve di controllo
del movimento verso l'esterno, in posizione di parcheggio.
-
Spegnete
il motore, rimuovete la chiave e attendete l’arresto di tutte le parti in movimento
prima di lasciare la posizione di funzionamento.
-
Sostituite
il fusibile saltato con un fusibile nuovo.
G440132
- Circuito
di carica (15 A)
- Principale
(25 A)
Manutenzione dell’impianto di trasmissione
Controllo della pressione degli
pneumatici
Mantenete la pressione pneumatica
delle ruote anteriori e posteriori come riportato. La pressione irregolare
degli pneumatici può causare un taglio
irregolare. Per ottenere valori più accurati, controllate la
pressione in corrispondenza dello stelo della
valvola quando gli pneumatici sono freddi.
-
Gonfiate
le ruote orientabili anteriori a 1,03 bar (15 psi) o alla
pressione indicata sul fianco, al valore inferiore tra
i due.
-
Gonfiate
gli pneumatici delle ruote motrici posteriori a 0,90 bar.
Verifica dei dadi ad alette delle
ruote
-
Controllate
e serrate i dadi ad alette delle ruote a un valore di 129 N∙m.
Messa a punto dell'allineamento
Durante la guida in marcia avanti
a piena velocità su una superficie piana e uniforme, se la macchina
tende verso 1 lato, regolate l’allineamento.
Se la macchina
tende a sinistra, regolate la leva di comando del movimento destra;
se la macchina tende a destra, regolate la
leva di comando del movimento sinistra.
Nota: Potete regolare l’allineamento solo per la
marcia avanti.
-
Parcheggiate
la macchina su una superficie pianeggiante, disinnestate il comando
delle lame e spostate le leve di controllo
del movimento verso l'esterno, in posizione di parcheggio.
-
Spegnete
il motore, rimuovete la chiave e attendete l’arresto di tutte le parti in movimento
prima di lasciare la posizione di funzionamento.
-
Individuate
il bullone di regolazione dell’allineamento
vicino alla leva di comando del movimento sul lato specifico che richiede
la regolazione.
-
Ruotate il
bullone per ridurre la velocità per la ruota specifica.
Nota: Ruotate il bullone leggermente per effettuare regolazioni minime.
-
Avviate la
macchina e guidate in marcia avanti su una superficie piana e uniforme
con le leve di comando del movimento completamente
avanti, per verificare se la macchina procede diritta.
Ripetete la procedura, se necessario.
Manutenzione dell'impianto idraulico
Sicurezza dell'impianto idraulico
- Se il fluido idraulico viene iniettato
nella pelle, rivolgetevi immediatamente a un medico. Il fluido penetrato
accidentalmente nella pelle deve essere
asportato chirurgicamente entro poche ore da un medico che abbia dimestichezza
con questo tipo di infortunio; diversamente
può subentrare la cancrena.
- Prima di mettere l'impianto sotto
pressione, accertatevi che tutti i circuiti e i tubi del fluido idraulico
siano in buone condizioni e che tutte
le connessioni e i raccordi idraulici siano serrati saldamente.
- Tenete corpo e mani lontano da
perdite filiformi o da ugelli che emettono fluido idraulico pressurizzato.
- Usate cartone o carta, non le
mani, per cercare perdite di fluido idraulico.
- Rilasciate in maniera sicura la
pressione dall'impianto idraulico prima di eseguire qualunque intervento
sull'impianto.
Specifiche del fluido idraulico
Tipo di fluido idraulico: Toro Premium
Hydro Oil (consigliato) o Mobil 1™ 15W50
Capacità dell'impianto idraulico: 2,3 l per
lato
Usate Il fluido specificato. Altri
fluidi potrebbero danneggiare l'impianto.
Controllo del fluido idraulico
-
Parcheggiate
la macchina su una superficie pianeggiante, disinnestate il comando
delle lame e spostate le leve di controllo
del movimento verso l'esterno, in posizione di parcheggio.
-
Prima di
scendere dalla postazione di guida, spegnete il motore, togliete la
chiave di accensione e attendete l'arresto di
tutte le parti in movimento.
-
Lasciate
raffreddare la macchina.
Controllate
il fluido idraulico solo una volta che l'impianto è freddo (meno
di 38 °C). Rabboccare il fluido mentre il sistema
è caldo può causare il riempimento
eccessivo del transaxle e danneggiare il gruppo sfiatatoio.
-
Rimuovete
il tappo del foro di riempimento e controllate che il fluido raggiunga
il fondo del foro.
-
Se il livello
del fluido è basso, rabboccatelo con fluido specifico fino a
raggiungere il fondo del foro di riempimento.
-
Montate il
tappo e serratelo a 13,6 N∙m.
Cambio del fluido idraulico e
del filtro
Non sostituite il fluido idraulico
senza sostituire anche il filtro, a meno che il fluido non sia stato
contaminato o estremamente caldo. In caso
contrario, rischiate di contaminare il sistema e danneggiarlo.
-
Parcheggiate
la macchina su una superficie pianeggiante, disinnestate il comando
delle lame e spostate le leve di controllo
del movimento verso l'esterno, in posizione di parcheggio.
-
Prima di
scendere dalla postazione di guida, spegnete il motore, togliete la
chiave di accensione e attendete l'arresto di
tutte le parti in movimento.
-
Lasciate
raffreddare la macchina.
Sostituite
il fluido idraulico solo una volta che l'impianto è freddo (meno
di 38 °C). Sostituire il fluido mentre il sistema
è caldo può causare il riempimento
eccessivo del transaxle e danneggiare il gruppo sfiatatoio.
-
Rimuovete
la protezione del filtro dal transaxle.
-
Pulite attentamente
l’area attorno al filtro.
Non
fate entrare sporcizia nell'impianto idraulico poiché potrebbe
contaminarsi.
-
Posizionate
una bacinella di spurgo sotto il filtro.
-
Sostituite
il filtro.
-
Montate la
protezione del filtro. Serrate i bulloni a 7 N∙m.
-
Rimuovete
il tappo del foro di riempimento e rabboccate con fluido specifico
fino a raggiungere il fondo del foro di riempimento.
-
Montate il
tappo e serratelo a 13,6 N∙m.
-
Ripetete
la procedura per l'altro transaxle.
-
Spurgo dell'impianto idraulico
-
Parcheggiate
la macchina su una superficie pianeggiante, disinnestate il comando
delle lame e spostate le leve di controllo
del movimento verso l'esterno, in posizione di parcheggio.
-
Prima di
scendere dalla postazione di guida, spegnete il motore, togliete la
chiave di accensione e attendete l'arresto di
tutte le parti in movimento.
-
Sollevate
la parte posteriore della macchina su cavalletti metallici quanto
basta per staccare le ruote motrici dal suolo.
-
Avviate il
motore, spostate il controllo dell'acceleratore in avanti in posizione
intermedia, quindi disinnestate il freno
di stazionamento spostando verso il basso al centro entrambe le
leve di controllo del movimento, in posizione di sblocco.
-
Con le valvole
di bypass aperte e il motore in funzione, spostate lentamente le leve
di controllo del movimento avanti e indietro
5 o 6 volte.
-
Con le valvole
di bypass chiuse e il motore in funzione, spostate lentamente le leve
di controllo del movimento avanti e indietro
5 o 6 volte.
-
Spegnete
il motore e togliete la chiave.
-
Controllate
il livello del fluido idraulico e rabboccatelo se necessario.
-
Ripetete
la procedura tutte le volte necessarie a spurgare completamente l’aria dall’impianto.
Nota: L'aria sarà completamente spurgata una volta che il transaxle
funzionerà emettendo livelli di rumore standard e si sposterà
in modo fluido avanti e indietro
a velocità normali.
-
Togliete
i cavalletti.
Manutenzione della cinghia
Ispezione delle cinghie
-
Parcheggiate
la macchina su una superficie pianeggiante, disinnestate il comando
delle lame e spostate le leve di controllo
del movimento verso l'esterno, in posizione di parcheggio.
-
Spegnete
il motore e attendete l’arresto di tutte le parti
in movimento prima di lasciare la posizione di funzionamento.
-
Impostate
l’altezza di taglio sulla posizione
più bassa.
-
Controllate
la cinghia per accertare che non sia consumata. Se la cinghia è
consumata, sostituitela.
I segni di
una cinghia consumata includono stridio durante la rotazione della
cinghia, slittamento delle lame durante il taglio
dell’erba, bordi sfilacciati,
segni di bruciatura e spaccature sulla cinghia.
Sostituzione della cinghia del
tosaerba
I segni di una cinghia usurata
includono stridio durante la rotazione della cinghia, slittamento
delle lame durante il taglio dell’erba, bordi sfilacciati, segni
di bruciatura e spaccature sulla cinghia. Sostituite la cinghia del
tosaerba se notate uno qualsiasi dei segni
sopra riportati.
-
Parcheggiate
la macchina su una superficie pianeggiante, disinnestate il comando
delle lame e spostate le leve di controllo
del movimento verso l'esterno, in posizione di parcheggio.
-
Spegnete
il motore, rimuovete la chiave e attendete l’arresto di tutte le parti in movimento
prima di lasciare la posizione di funzionamento.
-
Impostate
l’altezza di taglio sulla posizione
più bassa.
-
Rilasciate
la cortina del piatto di taglio.
-
Togliete
i coperchi delle pulegge.
-
Allentate
il dado che fissa il filo sagomato alla puleggia tendicinghia.
-
Servendovi
di un attrezzo per la rimozione delle molle (n. cat. Toro 92-5771),
sganciate la molla di rinvio dal gancio del
piatto di taglio per eliminare la tensione dalla puleggia tendicinghia.
 |
Avvertenza |
|
La
molla viene montata sotto tensione, e può causare gravi ferite.
Prestate la massima attenzione
quando togliete la cinghia.
G453682
- Puleggia
del piatto di taglio
- Cinghia
del tosaerba
- Puleggia
del motore
- Puleggia
tendicinghia
- Molla
- Utensile
per rimozione molla
-
Fate scivolare
via la cinghia dalle pulegge.
-
Montate la
nuova cinghia attorno alla puleggia del motore e a quelle del tosaerba.
-
Utilizzate
l’attrezzo per la rimozione delle
molle per montare la molla di rinvio sul gancio del piatto di taglio
e mettere in tensione la puleggia tendicinghia
e la cinghia del tosaerba.
-
Posizionate
il filo sagomato contro il braccio del tendicinghia come mostrato
e serrate il dado.
-
Montate i
coperchi delle pulegge.
-
Serrate i
bulloni per la cortina del piatto di taglio.
Manutenzione del piatto di taglio
Sicurezza delle lame
- Controllate le lame ad intervalli
regolari, per accertare che non siano consumate o danneggiate.
- Prestate la massima attenzione
quando controllate le lame. Durante gli interventi di manutenzione
avvolgete la lama (o lame) o indossate
guanti adatti allo scopo, e fate attenzione. Sostituite soltanto le
lame danneggiate; non raddrizzatele e non
saldatele.
- Su macchine multilama, ricordate
che la rotazione di una lama può provocare la rotazione anche
di altre lame.
- Sostituite in serie lame e bulloni
usurati o danneggiati, per mantenere il bilanciamento.
Manutenzione della lama
Per garantire
una qualità del taglio superiore, mantenete le lame affilate.
Per agevolare l'affilatura e la sostituzione tenete
una scorta di lame di ricambio.
Sostituite le lame se colpiscono
un oggetto solido, se sono sbilanciate o piegate.
Prima di controllare o revisionare le lame
-
Parcheggiate
la macchina su una superficie pianeggiante, disinnestate il comando
delle lame e spostate le leve di controllo
del movimento verso l'esterno, in posizione di parcheggio.
-
Spegnete
il motore, rimuovete la chiave e attendete l’arresto di tutte le parti in movimento
prima di lasciare la posizione di funzionamento.
-
Scollegate
i cappellotti delle candele dalle candele.
Controllo delle lame curve
La macchina deve essere posizionata
su una superficie pianeggiante per questa procedura.
-
Sollevate
il piatto di taglio alla posizione superiore dell'altezza di taglio.
-
Indossando
guanti dalla spessa imbottitura o altre protezioni idonee per le mani,
ruotate lentamente la lama in una posizione
che consenta di misurare la distanza tra il bordo di taglio
e la superficie piana.
-
Prendete
la misura dalla punta della lama alla superficie piana.
G451422
- Lama
(in posizione per la misurazione)
- Superficie
piana
- Distanza
misurata tra la lama e la superficie (A)
-
Ruotate la
stessa lama di 180 gradi in modo che il tagliente della lama opposta
si trovi ora nella stessa posizione.
G451423
- Tagliente
della lama misurato in precedenza
- Tagliente
della lama opposta
-
Prendete
la misura dalla punta della lama alla superficie piana.
G451422
- Lama
(in posizione per la misurazione)
- Superficie
piana
- Distanza
misurata tra la lama e la superficie (B)
-
Se la differenza
tra A e B è superiore a 3 mm, sostituite la lama.
Nota: Se sostituite la lama e la differenza continua a superare 3 mm, il
fusello della lama potrebbe essere piegato. Rivolgetevi
a un Centro Assistenza autorizzato per avere
assistenza.
-
Ripetete
questa procedura su ogni lama.
Rimozione delle lame
-
Tenete l'estremità della
lama con un cencio o un guanto bene imbottito.
-
Rimuovete
la lama come mostrato.
Affilatura delle lame
-
Affilate
i taglienti da entrambe le estremità della lama con una lima.
Assicuratevi di mantenere l’angolo originale
.
Nota: Rimuovete la stessa quantità di materiale da entrambi i taglienti,
in modo tale che la lama mantenga il suo equilibrio.
-
Controllate
l’equilibrio della lama
posizionandola su un bilanciatore
.
Nota: Se la lama rimane in posizione orizzontale, è bilanciata e può
essere utilizzata.
Se la lama
non è bilanciata, limate del metallo soltanto dalla costa.
-
Ripetete
la procedura finché la lama non è perfettamente bilanciata.
Montaggio delle lame
 |
Avvertenza |
|
Utilizzare una macchina dopo aver
installato il gruppo lame in modo incorretto e/o senza utilizzare
le lame e la relativa bulloneria originali Toro potrebbe causare
il distacco e il lancio di una lama o di un componente delle lame
da sotto il piatto di taglio, causando
gravi ferite o la morte.
Installate sempre lame e bulloneria
lame originali Toro seguendo le istruzioni.
-
Montate la
lama come mostrato.
Nota: Perché tagli correttamente, il lato curvo della lama deve essere
rivolto in alto, verso l'interno del tosaerba.
-
Serrate il
bullone della lama tra 136
e 149 N∙m.
Livellamento del piatto di taglio
del tosaerba
Assicuratevi
che il piatto di taglio sia livellato ogni volta che mettete in opera
il tosaerba oppure quando il taglio è irregolare.
Operazioni preliminari al livellamento del piatto di taglio
-
Parcheggiate
la macchina su una superficie pianeggiante, disinnestate il comando
delle lame e spostate le leve di controllo
del movimento verso l'esterno, in posizione di parcheggio.
-
Spegnete
il motore, rimuovete la chiave e attendete l’arresto di tutte le parti in movimento
prima di lasciare la posizione di funzionamento.
-
Assicuratevi
che gli pneumatici siano gonfiati secondo le specifiche corrette e
che le ruote orientabili siano rivolte in
avanti.
-
Verificate
il piatto di taglio per escludere lame piegate; rimuovete e sostituite
eventuali lame piegate.
-
Sollevate
il piatto di taglio all’impostazione dell’altezza di taglio di 76 mm.
Controllo del livello del piatto di taglio
-
Disponete
le lame in posizione laterale rispetto alla macchina.
-
Misurate
nei punti
e
da una superficie piana fino
al tagliente della punta della lama
.
La differenza tra le misurazioni
non deve essere maggiore di 5 mm. Se la misurazione è maggiore,
regolate il livello in senso laterale.
-
Disponete
una lama in posizione longitudinale rispetto alla macchina.
-
Misurate
nei punti
e
da una superficie piana fino
al tagliente della punta della lama
.
La punta della lama anteriore
deve essere tra 1,6-7,9 mm inferiore alla punta della lama posteriore.
Se la misurazione non è corretta,
regolate il livello in senso longitudinale.
Livellamento del piatto di taglio del tosaerba
-
Impostate
i rulli anti-strappo sui fori superiori o rimuoveteli completamente
per questa procedura.
-
Regolate
la leva dell’altezza di taglio sulla posizione
di 76 mm.
-
Posizionate
2 blocchi
, ciascuno con uno spessore di
6,6 cm sotto ciascun lato del bordo anteriore del piatto di taglio.
Non
posizionate i blocchi sotto le staffe dei rulli anti-strappo.
-
Posizionate
2 blocchi
, ciascuno con uno spessore di
7,3 cm sotto ciascun lato del bordo posteriore del piatto di
taglio.
-
Allentate
i dispositivi di fissaggio inferiori che fissano le staffe a tutti
e 4 gli angoli del piatto e assicuratevi che
il piatto di taglio sia saldamente in sede su tutti e 4 i
blocchi.
-
Eliminate
l'eventuale imbando dalle staffe del piatto e accertate che la leva
a pedale di sollevamento del piatto sia spinta
contro il fermo.
-
Serrate i
dispositivi di fissaggio.
-
Controllate
che i blocchi si inseriscano perfettamente sotto il bordo del piatto
di taglio e che i bulloni di fissaggio siano
serrati.
-
Controllate
il livellamento in senso laterale e longitudinale; ripetete la procedura
finché le misurazioni non sono corrette.
Rimozione del piatto di taglio
-
Parcheggiate
la macchina su una superficie pianeggiante, disinnestate il comando
delle lame e spostate le leve di controllo
del movimento verso l'esterno, in posizione di parcheggio.
-
Spegnete
il motore, rimuovete la chiave e attendete l’arresto di tutte le parti in movimento
prima di lasciare la posizione di funzionamento.
-
Abbassate
la leva dell'altezza di taglio alla posizione inferiore.
-
Rilasciate
la cortina del piatto di taglio.
-
Rimuovete
la coppiglia e la rondella dall'asta di supporto frontale
e rimuovete l'asta dalla staffa
del piatto di taglio
.
Nota: Conservate tutte le parti per il successivo montaggio.
-
Rimuovete
gli elementi di fissaggio superiori che fissano le staffe su tutti
e 4 i bracci di sollevamento.
-
Spostate
indietro il tosaerba per rimuovere la relativa cinghia dalla puleggia
del motore.
-
Togliete
il tosaerba da sotto la macchina.
Installazione del piatto di taglio
-
Parcheggiate
la macchina su una superficie pianeggiante, disinnestate il comando
delle lame e spostate le leve di controllo
del movimento verso l'esterno, in posizione di parcheggio.
-
Spegnete
il motore, rimuovete la chiave e attendete l’arresto di tutte le parti in movimento
prima di lasciare la posizione di funzionamento.
-
Infilate
il piatto di taglio sotto la macchina.
-
Abbassate
la leva dell'altezza di taglio alla posizione inferiore.
-
Montate i
tiranti di sollevamento sui bracci di sollevamento del piatto di taglio
utilizzando gli elementi di fissaggio rimossi
in precedenza.
-
Fissate l’asta di supporto frontale
alla staffa del piatto di taglio
con la coppiglia e la rondella.
-
Montate la
cinghia del tosaerba sulla puleggia del motore.
-
Serrate i
bulloni per la cortina del piatto di taglio.
Sostituzione del deflettore di
sfalcio
 |
Pericolo |
|
Se lasciate scoperta l'apertura
di scarico è probabile che degli oggetti vengano lanciati verso
di voi o gli astanti. È inoltre possibile
venire a contatto con la lama. Gli oggetti scagliati o il contatto
con una lama possono causare gravi ferite o la
morte.
Non utilizzate mai il tosaerba
con il deflettore di scarico sollevato, rimosso o modificato, a meno
che non sia presente un sistema di raccolta
dell'erba o un kit di mulching correttamente funzionante.
-
Parcheggiate
la macchina su una superficie pianeggiante, disinnestate il comando
delle lame e spostate le leve di controllo
del movimento verso l'esterno, in posizione di parcheggio.
-
Spegnete
il motore, rimuovete la chiave e attendete l’arresto di tutte le parti in movimento
prima di lasciare la posizione di funzionamento.
-
Sganciate
la molla dalla tacca presente sulla staffa del deflettore e fate scorrere
l'asta per estrarla dalle staffe saldate
del piatto di taglio, dalla molla e dal deflettore di scarico.
G456086
- Asta
- Deflettore
dell'erba
- Molla
- Staffe
del piatto di taglio
- Coppiglia
- Molla
montata sull'asta
-
Togliete
il deflettore dell'erba tagliata se è danneggiato o consumato.
-
Posizionate
il nuovo gruppo deflettore di scarico con le estremità delle
staffe collocate tra le staffe saldate al piatto
come illustrato.
G456085
- Gruppo
asta e molla montato
- Estremità
lunga della molla inserita nella tacca della staffa del deflettore
- Estremità
corta dell'asta posta dietro la staffa del tosaerba
- Estremità
corta trattenuta dalla staffa del tosaerba
- Coppiglia
-
Fissate il
gruppo asta e molla torcendolo in modo tale che l'estremità corta
dell'asta si trovi dietro la staffa anteriore
saldata al piatto.
-
Montate la
coppiglia sull'estremità dell'asta.
Il
deflettore d'erba tagliata dev'essere caricato a molla e abbassato.
Sollevate il deflettore per verificare che torni con
uno scatto nella posizione completamente abbassata.
Pulizia
Smaltimento dei rifiuti
L'olio motore,
le batterie, il fluido idraulico e il refrigerante del motore inquinano
l'ambiente. Smaltiteli in totale conformità
ai regolamenti locali e nazionali.
Risoluzione dei problemi
Il serbatoio del carburante ha
segni di cedimento o la macchina indica spesso l'esaurimento del carburante.
| Possibile causa |
Azione correttiva |
| L’elemento di carta del filtro dell’aria è intasato. |
-
Pulite l’elemento di carta.
|
Il motore si surriscalda.
| Possibile causa |
Azione correttiva |
| Il motore è sotto
sforzo eccessivo. |
-
Rallentate.
|
| Il livello dell'olio nel
carter è scarso. |
-
Rabboccate
la coppa con olio adatto.
|
| Le alette di raffreddamento
e i passaggi per l'aria sotto il convogliatore sono intasati. |
-
Rimuovete
l'ostruzione da alette di raffreddamento e condotti dell'aria.
|
| Il filtro dell'aria è
sporco. |
-
Pulite o
sostituite l’elemento del filtro dell’aria.
|
| C'è morchia, acqua
o carburante stantio nel sistema di alimentazione.
|
-
Rivolgetevi
a un Centro Assistenza autorizzato.
|
Il motorino di avviamento non
si avvia.
| Possibile causa |
Azione correttiva |
| Il comando delle lame è
innestato. |
-
Disinnestate
il comando delle lame.
|
| Le leve di controllo del
movimento non sono in posizione di parcheggio.
|
-
Mettete le
leve di controllo del movimento in posizione di parcheggio.
|
| La batteria è scarica. |
-
Ricaricate
la batteria.
|
| I collegamenti elettrici
sono corrosi o allentati. |
-
Controllate
il contatto dei collegamenti elettrici.
|
| È bruciato un fusibile. |
-
Sostituite
il fusibile.
|
| Relè o interruttore
difettoso. |
-
Rivolgetevi
a un Centro Assistenza autorizzato.
|
Il motore non si avvia, ha difficoltà
di avviamento o perde potenza.
| Possibile causa |
Azione correttiva |
| Il serbatoio del carburante
è vuoto. |
-
Riempite
il serbatoio del carburante.
|
| Lo starter (se applicabile)
non è attivato. |
-
Spostate
la leva dello starter in posizione On.
|
| Il filtro dell'aria è
sporco. |
-
Pulite o
sostituite l’elemento del filtro dell’aria.
|
| Il cappellotto (o cappellotti)
è lento o scollegato. |
-
Montate il/
cappellotto/i sulla candela.
|
| La candela è sporca,
imbrattata o la distanza tra gli elettrodi è errata. |
-
Montate una
nuova candela (o candele), con gli elettrodi alla giusta distanza.
|
| Il filtro del carburante
è sporco. |
-
Sostituite
il filtro del carburante.
|
| C'è morchia, acqua
o carburante stantio nel sistema di alimentazione.
|
-
Rivolgetevi
a un Centro Assistenza autorizzato.
|
| Il carburante nel serbatoio
è inadatto. |
-
Svuotate
il serbatoio e riempitelo con carburante adatto.
|
| Il livello dell'olio nel
carter è scarso. |
-
Rabboccate
la coppa con olio adatto.
|
Il motore perde potenza.
| Possibile causa |
Azione correttiva |
| Il motore è sotto
sforzo eccessivo. |
-
Rallentate.
|
| Il filtro dell'aria è
sporco. |
-
Pulite l’elemento del filtro dell’aria.
|
| Il livello dell'olio nel
carter è scarso. |
-
Rabboccate
la coppa con olio adatto.
|
| Le alette di raffreddamento
e i passaggi per l'aria sotto il convogliatore sono intasati. |
-
Rimuovete
l'ostruzione da alette di raffreddamento e condotti dell'aria.
|
| La candela è sporca,
imbrattata o la distanza tra gli elettrodi è errata. |
-
Montate una
nuova candela (o candele), con gli elettrodi alla giusta distanza.
|
| Lo sfiato del serbatoio
del carburante è ostruito.
|
-
Rivolgetevi
a un Centro Assistenza autorizzato.
|
| Il filtro del carburante
è sporco. |
-
Sostituite
il filtro del carburante.
|
| C'è morchia, acqua
o carburante stantio nel sistema di alimentazione.
|
-
Rivolgetevi
a un Centro Assistenza autorizzato.
|
| Il carburante nel serbatoio
è inadatto. |
-
Rivolgetevi
a un Centro Assistenza autorizzato.
|
La trazione non funziona.
| Possibile causa |
Azione correttiva |
| Le valvole bypass sono
aperte. |
-
Chiudete
le valvole di traino.
|
| Le cinghie della trazione
sono usurate, allentate o rotte.
|
-
Rivolgetevi
a un Centro Assistenza autorizzato.
|
| Le cinghie della trazione
sono scivolate dalle pulegge.
|
-
Rivolgetevi
a un Centro Assistenza autorizzato.
|
| Panne della trasmissione. |
-
Rivolgetevi
a un Centro Assistenza autorizzato.
|
La macchina inizia a vibrare in
modo insolito.
| Possibile causa |
Azione correttiva |
| La lama (o lame) di taglio
è piegata o sbilanciata.
|
-
Montate una
nuova lama (o lame) di taglio.
|
| Il bullone del sopporto
della lama è allentato. |
-
Serrate il
bullone del supporto della lama.
|
| I bulloni del sopporto
del motore sono allentati. |
-
Serrate i
bulloni del supporto del motore.
|
| È allentata la puleggia
del motore, la puleggia tendicinghia o la puleggia della lama. |
-
Serrate la
puleggia interessata.
|
| La puleggia del motore
è danneggiata. |
-
Rivolgetevi
a un Centro Assistenza autorizzato.
|
| Un fusello della lama è
piegato. |
-
Rivolgetevi
a un Centro Assistenza autorizzato.
|
| Il supporto del motore
è allentato o consumato.
|
-
Rivolgetevi
a un Centro Assistenza autorizzato.
|
L'altezza di taglio è irregolare.
| Possibile causa |
Azione correttiva |
| La lama (o lame) non è
affilata. |
-
Affilate
la lama (o le lame).
|
| La lama (o lame) di taglio
è/sono piegata/e. |
-
Montate una
nuova lama (o lame) di taglio.
|
| Il tosaerba non è
a livello. |
-
Livellate
il tosaerba longitudinalmente e latitudinalmente.
|
| Un rullo antistrappo (se
presente) non è impostato correttamente.
|
-
Regolate
l'altezza della ruota antistrappo.
|
| Il sottoscocca del piatto
di taglio è sporco. |
-
Lavate la
parte inferiore del piatto di taglio
|
| La pressione degli pneumatici
è errata. |
-
Regolate
la pressione degli pneumatici.
|
| Un fusello della lama è
piegato. |
-
Rivolgetevi
a un Centro Assistenza autorizzato.
|
Le lame non girano.
| Possibile causa |
Azione correttiva |
| La cinghia di trasmissione
è usurata, allentata o rotta.
|
-
Montate una
nuova cinghia di trasmissione.
|
| La cinghia di trasmissione
è scivolata dalla puleggia.
|
-
Montate la
cinghia di trasmissione e controllate che i fuselli di regolazione
e le guide della cinghia siano in posizione
corretta.
|
| L'interruttore della presa
di forza (PDF) o la frizione della PDF sono guasti.
|
-
Rivolgetevi
a un Centro Assistenza autorizzato.
|
| La cinghia della puleggia
è usurata, allentata o rotta.
|
-
Montate una
nuova cinghia della puleggia.
|