Održavanje
Bezbednost pri održavanju
- Ako ostavite ključ u prekidaču,
neko bi mogao slučajno da pokrene motor i da ozbiljno povredi
vas ili nekog od posmatrača. Pre
bilo kakvog održavanja, uklonite ključ iz prekidača.
- Pre nego što napustite položaj
operatera, uradite sledeće:
- Parkirajte mašinu na ravnoj
površini.
- Deaktivirajte pogone.
- Aktivirajte parkirnu kočnicu.
- Isključite motor i uklonite
ključ.
- Pre izvođenja radova na
održavanju sačekajte da se mašina ohladi.
- Ne dozvolite neobučenom
osoblju da servisira mašinu.
- Držite šake i stopala
podalje od pokretnih delova ili vrućih površina. Ako je
moguće, nemojte vršiti podešavanja dok motor
radi.
- Proverite da li su svi štitnici,
zaštitni elementi, prekidači i bezbednosni uređaji
na mestu i u dobrom radnom stanju. Često
proveravajte da li postoje pohabane ili dotrajale komponente
i zamenite ih po potrebi originalnim Toro delovima.
- Pažljivo oslobodite pritisak
iz komponenti sa uskladištenom energijom.
 |
Упозорење |
|
Uklanjanje ili menjanje originalne
opreme, delova i/ili dodatne opreme može da izmeni garanciju,
mogućnost upravljanja i bezbednost
mašine. Neovlašćeno menjanje originalne opreme
ili korišćenje delova koji nisu originalni Toro delovi može dovesti
do teške povrede ili smrtnog ishoda.
- Često proveravajte ispravnost
parkirne kočnice. Podešavajte je i servisirajte po potrebi.
- Nemojte nikada vršiti neovlašćene
izmene na bezbednosnim uređajima. Redovno proveravajte njihovu
ispravnost.
- Očistite travu, lišće,
ostatke masti i ulja i druge otpatke iz jedinice za sečenje,
izduvnog lonca, pogona, sakupljača trave
i motornog prostora kako biste sprečili požar.
- Očistite prosuto ulje ili
gorivo i uklonite ostatke natopljene gorivom.
- Nemojte se oslanjati isključivo
na mehaničke ili hidraulične priključke za potporu
mašine. Koristite odgovarajuća postolja
dizalice.
- Sve delove održavajte u
dobrom radnom stanju i vodite računa da svi zavrtnji budu dobro
pritegnuti, naročito oni za pričvršćivanje
sečiva.
- Da biste obezbedili optimalne
performanse, koristite samo originalne rezervne delove i dodatnu opremu
kompanije Toro. Zamenski delovi i dodatna oprema
koje proizvode drugi proizvođači mogu da budu opasni.
Preporučeni raspored održavanja
| Након
првих 8 сати |
Zamenite ulje u motoru.
|
| Након
првих 50 сати |
Proverite obrtni moment navrtki.
|
| Након
првих 75 сати |
Zamenite hidrauličnu tečnost i filter. |
| Пре сваке
употребе
или свакодневно |
Proverite sistem bezbednosne blokade.
|
| Proverite ima li prljavih, nepričvršćenih ili oštećenih
delova u čistaču vazduha.
|
| Proverite nivo ulja u motoru.
|
| Očistite mrežicu ulaza za vazduh. |
| Pregledajte sečiva.
|
| Pregledajte usmerivač za travu u potrazi za oštećenjem. |
| Након сваке
употребе |
Očistite travu i otpatke sa mašine. |
| Očistite kućište kosilice.
|
| Сваких 25 сати |
Podmažite ležajeve točkova (češće
u peskovitim uslovima zemljišta).
|
| Proverite pritisak u pneumaticima.
|
| Proverite da li su kaiševi pohabani ili napukli. |
| Сваких 100 сати |
Zamenite ulje u motoru (češće u prljavim ili prašnjavim
uslovima). |
| Zamenite ili očistite i svećicu i podesite zazor. |
| Zamenite linijski filter za gorivo.
|
| Na
svakih 100 radnih sati ili godišnje, koji se uslov
pre ispuni |
Zamenite papirni element čistača vazduha (češće
u prljavim ili prašnjavim uslovima).
|
| Сваких 200 сати |
Zamenite filtera za motorno ulje (češće u prljavim
ili prašnjavim uslovima).
|
| Сваких 300 сати |
Proverite i podesite zazor ventila. Obratite se ovlašćenom
serviseru. |
| Сваких 400 сати |
Zamenite hidrauličnu tečnost i filter. |
| Годишње |
Proverite obrtni moment navrtki.
|
| Пре складиштења |
Napunite akumulator i odvojite kablove akumulatora. |
| Sve prethodno navedene postupke održavanja obavite pre skladištenja. |
| Ofarbajte sve površine sa
oštećenom bojom.
|
| |
Dodatne postupke održavanja
potražite u priručniku za vlasnike motora.
Procedure pre održavanja
Pomeranje mašine koja ne
funkcioniše
-
Parkirajte
mašinu na ravnoj površini, deaktivirajte prekidač
za kontrolu sečiva i pomerite ručice za kontrolu kretanja
prema spolja u položaj Parkiranja.
-
Pre nego
što napustite položaj operatera, isključite motor
i sačekajte da se svi pokretni delovi zaustave.
-
Locirajte
ručice za premošćavanje
na okviru sa obe strane motora.
-
Pomerite
obe ručice za premošćavanje unapred kroz otvor sa
prorezom i nadole kako biste ih zaključali na mestu
.
 |
Упозорење |
|
Kontakt
sa vrućim površinama može da izazove telesnu povredu.
Držite šake, stopala,
lice, odeću i druge delove tela podalje od motora, izduvnog
lonca i drugih vrućih površina.
 |
Упозорење |
|
Mašina
bi mogla slučajno da se pokrene dok su ručice za premošćavanje
zaključane napred u prorezu i da povredi vas ili posmatrače.
Zaključajte ručice
za premošćavanje unazad nakon pomeranja mašine.
-
Deaktivirajte
parkirnu kočnicu tako što ćete obe ručice
za kontrolu kretanja pomeriti nadole u srednji, otključani položaj.
Напомена: Nemojte pokretati mašinu.
-
Pomerite
mašinu prema potrebi.
Uvek
gurajte mašinu rukom. Nemojte vući mašinu jer je
vučom može oštetiti.
-
Pomerite
ručice za kontrolu kretanja prema spolja u položaj Parkiranja.
-
Pomerite
obe ručice za premošćavanje unazad i preko kroz
otvor sa prorezom kako biste ih zaključali na mestu
.
Otpuštanje pregrade kosilice
-
Otpustite
2 donja zavrtnja pregrade kako biste pristupili vrhu kućišta
kosilice.
Uvek zategnite
zavrtnje za povezivanje pregrade nakon održavanja.
G453430
Održavanje motora
Bezbednost motora
- Držite šake, stopala,
lice, druge delove tela i odeću podalje od izduvnog lonca i
drugih vrućih površina. Pre izvođenja radova
na održavanju sačekajte da
se motor ohladi.
- Nemojte menjati brzinu regulatora
motora i ne prekoračujte brzinu motora.
Servisiranje čistača
vazduha
Uklanjanje elementa prečišćivača vazduha
-
Parkirajte
mašinu na ravnoj površini, deaktivirajte prekidač
za kontrolu sečiva i pomerite ručice za kontrolu kretanja
prema spolja u položaj Parkiranja.
-
Pre nego
što napustite položaj operatera, isključite motor
i sačekajte da se svi pokretni delovi zaustave.
-
Očistite
oko poklopca čistača vazduha
kako biste sprečili da
prljavština uđe u motor i izazove oštećenje.
-
Otpustite
stezaljku za crevo
i uklonite papirni element
.
Servisiranje papirnog elementa čistača vazduha
-
Očistite
papirni element laganim kuckanjem da uklonite prašinu.
Напомена: Ako je jako prljav, zamenite
papirni element novim.
-
Pregledajte
element na znakove kidanja, masnog filma ili oštećenja
gumene zaptivke.
-
Zamenite
papirni element ako je oštećen.
Nemojte
čistiti papirni filter.
Servis motornog ulja
Specifikacije motornog ulja
| Tip ulja
|
Deterdžentsko ulje (API
kategorije SF, SG, SH, SJ ili SL)
|
| Kapacitet kućišta
motora |
1,8 l (61 fl
oz); bez filtera; 2,1 l (70 fl oz) sa filterom |
| Viskoznost |
Pogledajte donju tabelu |
| |
Provera nivoa motornog ulja
-
Parkirajte
mašinu na ravnoj površini, deaktivirajte prekidač
za kontrolu sečiva i pomerite ručice za kontrolu kretanja
prema spolja u položaj Parkiranja.
-
Pre nego
što napustite položaj operatera, isključite motor,
uklonite ključ i sačekajte da se svi pokretni delovi zaustave.
-
Sačekajte
da se motor ohladi, tako da ima vremena da ulje iscuri u karter.
-
Da biste
sačuvali motor od prljavštine, pokošene trave itd,
očistite područje oko poklopca za ulje i šipke za
merenje ulja pre nego što je izvučete.
-
Proverite
nivo motornog ulja kao što je prikazano.
Ako
sipate previše ili premalo ulja u kućište radilice
motora i pokrenete motor, time možete oštetiti motor.
Zamena motornog ulja
-
Parkirajte
mašinu tako da strana odvoda bude nešto niža od
suprotne strane da bi ulje sigurno u potpunosti iscurilo.
-
Deaktivirajte
prekidač za kontrolu sečiva (PTO) i pomerite ručice
za kontrolu kretanja prema spolja u položaj Parkiranja.
-
Pre nego
što napustite položaj operatera, isključite motor,
uklonite ključ i sačekajte da se svi pokretni delovi zaustave.
-
Ispustite
ulje iz motora.
-
Polako sipajte
oko 80% specifikovanog ulja u cev za punjenje i polako dodajte dodatno
ulje dok ne dođe do oznake Puno.
-
Odlažite
korišćeno ulje u skladu sa lokalnim propisima.
Zamena filtera za motorno ulje
-
Ispustite
ulje iz motora.
-
Zamenite
filter za motorno ulje kao što je prikazano.
Напомена: Proverite da li zaptivka
filtera za ulje dodiruje motor, a zatim okrenite filter za ulje za
dodatnih ¾ kruga.
-
Polako dolivajte
navedeno ulje u cev za punjenje sve dok nivo ulja ne dostigne oznaku Full (Puno).
Servisiranje svećice
Proverite da
li je vazdušni razmak između centralne i bočnih
elektroda ispravan pre postavljanja svećice. Koristite ključ
za svećice za uklanjanje i postavljanje
svećice i alat za razdvajanje ili merni list za proveru i podešavanje
vazdušnog razmaka. Postavite novu svećicu
ako je potrebno.
Tip: NGK® BPR4ES
Vazdušni razmak: 0,76 mm
Uklanjanje svećice
-
Parkirajte
mašinu na ravnoj površini, deaktivirajte prekidač
za kontrolu sečiva i pomerite ručice za kontrolu kretanja
prema spolja u položaj Parkiranja.
-
Pre nego
što napustite položaj operatera, isključite motor,
uklonite ključ i sačekajte da se svi pokretni delovi zaustave.
-
Očistite
područje oko dna utikača kako biste sprečili ulazak
prljavštine i ostataka u motor.
-
Uklonite
svećicu.
Provera svećice
Nemojte čistiti svećicu(e).
Uvek zamenite svećicu(e) ako ima crni premaz, istrošene
elektrode, uljni film ili pukotine.
Ako vidite
svetlobraon ili sivu boju na izolatoru, motor radi pravilno. Crni
premaz na izolatoru obično znači da je čistač
vazduha prljav.
-
Podesite
razmak na 0,76 mm.
Čišćenje rashladnog
sistema
-
Parkirajte
mašinu na ravnoj površini, deaktivirajte prekidač
za kontrolu sečiva i pomerite ručice za kontrolu kretanja
prema spolja u položaj Parkiranja.
-
Pre nego
što napustite položaj operatera, isključite motor,
uklonite ključ i sačekajte da se svi pokretni delovi zaustave.
-
Uklonite
filter za vazduh sa motora.
-
Uklonite
kućište motora.
-
Postavite
filter za vazduh na bazu filtera, kako biste sprečili da otpaci
dospeju u usis za vazduh.
-
Očistite
otpatke i travu sa delova.
-
Uklonite
filter za vazduh i montirajte kućište motora.
-
Postavite
filter za vazduh.
Održavanje goriva
 |
Опасност |
|
U određenim uslovima, gorivo
je lako zapaljivo i vrlo eksplozivno. Požar ili eksplozija goriva
može da izazove opekotine kod vas i
drugih osoba i može oštetiti imovinu.
Zamena filtera za gorivo
-
Parkirajte
mašinu na ravnoj površini, deaktivirajte prekidač
za kontrolu sečiva i pomerite ručice za kontrolu kretanja
prema spolja u položaj Parkiranja.
-
Pre nego
što napustite položaj operatera, isključite motor,
uklonite ključ i sačekajte da se svi pokretni delovi zaustave.
-
Postavite
stezaljku na cevi za gorivo sa obe strane filtera za gorivo.
-
Zamenite
filter.
Напомена: Postarajte se da strelica
za smer protoka na zamenskom filteru pokazuje ka motoru.
Nikada
ne postavljajte prljavi filter nakon njegovog uklanjanja iz voda za
gorivo.
-
Uklonite
stezaljke koje blokiraju protok goriva.
Održavanje električnog
sistema
Bezbednost električnog sistema
- Pre popravljanja mašine
odvojite kabl od negativnog terminala akumulatora.
- Akumulator punite na otvorenom,
dobro provetrenom prostoru, dalje od varnica i plamena. Pre priključivanja
ili isključivanja akumulatora,
iskopčajte punjač. Nosite zaštitnu odeću i
koristite izolovane alate.
Servisiranje akumulatora
Uklanjanje akumulatora
 |
Упозорење |
|
Može doći do kratkog
spoja terminala akumulatora ili metalnih alata sa metalnim komponentama
mašine i pojave varnica. Varnice
mogu dovesti do eksplozije gasova iz akumulatora, a time i do telesne
povrede.
- Pri uklanjanju ili postavljanju
akumulatora, vodite računa da terminali akumulatora ne dodirnu
metalne delove mašine.
- Vodite računa da ne dođe
do kratkog spoja između terminala akumulatora i metalnih delova
mašine.
-
Parkirajte
mašinu na ravnoj površini, deaktivirajte prekidač
za kontrolu sečiva i pomerite ručice za kontrolu kretanja
prema spolja u položaj Parkiranja.
-
Pre nego
što napustite položaj operatera, isključite motor,
uklonite ključ i sačekajte da se svi pokretni delovi zaustave.
-
Odvojite
negativni (crni) kabl za uzemljenje od stuba akumulatora.
Напомена: Zadržite sve zavrtnje
za pričvršćivanje.
 |
Упозорење |
|
Pogrešno
uklanjanje kabla iz akumulatora moglo bi da ošteti mašinu
i kablove, stvarajući varnice. Varnice mogu dovesti do
eksplozije gasova iz akumulatora, a
time i do telesne povrede.
- Uvek odspojite negativni (crni)
kabl akumulatora pre nego što odspojite pozitivni (crveni) kabl.
- Uvek spojite pozitivni (crveni)
kabl akumulatora pre nego što spojite negativni (crni) kabl.
-
Skinite gumeni
poklopac sa pozitivnog (crvenog) kabla.
-
Odvojite
pozitivni (crveni) kabl od stuba akumulatora (+).
Напомена: Zadržite sve zavrtnje
za pričvršćivanje.
-
Uklonite
držač akumulatora, a zatim podignite akumulator iz ležišta.
G440221
-
Akumulator
-
Priključna kapica terminala
-
Negativni stub (–) akumulatora
-
Navrtka sa krilcima, podloška
i zavrtanj
-
Držač akumulatora
-
Zavrtanj, podloška i navrtka
-
Pozitivni stub (+) akumulatora
Punjenje akumulatora
 |
Упозорење |
|
Punjenje akumulatora proizvodi
gasove koji mogu da eksplodiraju.
Nemojte nikada pušiti
u blizini akumulatora i držite ga dalje od varnica i plamena.
Uvek držite akumulator potpuno
napunjenim. To je naročito važno da bi se sprečilo
oštećenje akumulatora kada je temperatura
ispod 0 °C.
-
Uklonite
akumulator iz mašine.
-
Akumulator
punite u skladu sa uputstvom proizvođača akumulatora.
Nemojte
da prepunite akumulator; u suprotnom možete da ga oštetite.
G003792S
- Pozitivni
stubić akumulatora
- Negativni
stubić akumulatora
- Crveni
(+) vod punjača
- Crni
(–) vod punjača
-
Kada je akumulator
potpuno napunjen, isključite punjač iz električne
utičnice (ako postoji), a zatim odvojite vodove punjača
iz stubova akumulatora.
Čišćenje akumulatora
Напомена: Održavajte terminale
i celo kućište akumulatora čistim jer se prljav
akumulator sporo prazni.
-
Parkirajte
mašinu na ravnoj površini, deaktivirajte prekidač
za kontrolu sečiva i pomerite ručice za kontrolu kretanja
prema spolja u položaj Parkiranja.
-
Pre nego
što napustite položaj operatera, isključite motor
i sačekajte da se svi pokretni delovi zaustave.
-
Uklonite
akumulator iz mašine.
-
Očistite
celo kućište akumulatora rastvorom sode bikarbone i vode.
-
Isperite
akumulator čistom vodom.
-
Premažite
stubove akumulatora i konektore kabla mašću Grafo 112X
(skin-over) ili vazelinom kako biste sprečili koroziju.
-
Instalirajte
akumulator.
Postavljanje akumulatora
-
Postavite
akumulator u ležište.
-
Pomoću
prethodno uklonjenih zavrtnjeva za pričvršćivanje,
postavite pozitivni (crveni) kabl akumulatora na pozitivni (+) terminal
akumulatora.
-
Pomoću
prethodno uklonjenih zavrtnjeva za pričvršćivanje,
postavite negativni kabl akumulatora na negativni (-) terminal akumulatora.
-
Gurnite crvenu
priključnu kapicu terminala na pozitivni (crveni) stub akumulatora.
-
Pričvrstite
akumulator pomoću držača.
G440221
-
Akumulator
-
Priključna kapica terminala
-
Negativni stub (–) akumulatora
-
Navrtka sa krilcima, podloška
i zavrtanj
-
Držač akumulatora
-
Zavrtanj, podloška i navrtka
-
Pozitivni stub (+) akumulatora
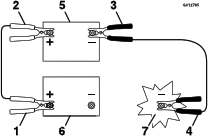
Pokretanje mašine pomoću
spojnog kabla
 |
Упозорење |
|
Pokretanje akumulatora pomoću
kabla startera proizvodi gasove koji mogu da eksplodiraju.
Nemojte pušiti
u blizini akumulatora i držite ga podalje od varnica i plamena.
 |
Опасност |
|
Ako je slab akumulator ispucao
ili zamrznut ili ima nizak nivo elektrolita ili otvorenu ćeliju
akumulatora/ćeliju sa kratkim spojem,
a pokrećete ga pomoću spojnog kabla, može nastati
eksplozija koja može izazvati tešku telesnu povredu.
Nemojte
pokretati slab akumulator pomoću spojnog kabla ako postoje navedeni
uslovi.
-
Pre pokretanja
mašine pomoću spojnog kabla proverite i očistite
koroziju sa terminala akumulatora. Proverite da su priključci
dobro pričvršćeni.
 |
Пажња |
|
Korozija
ili labavi priključci mogu da dovedu do neželjenog skoka
napona u bilo kom trenutku tokom postupka pokretanja pomoću
spojnog kabla.
Nemojte pokušavati
da pokrenete mašinu pomoću spojnog kabla ako su terminali
akumulatora labavi ili korodirani, jer se može
oštetiti motor.
-
Proverite
da je akumulator koji obezbeđuje napajanje dobar i potpuno napunjen
olovni akumulator sa 12,6 V ili više.
Напомена: Koristite spojne kablove
odgovarajuće veličine i kratkih dužina kako bi se
smanjio pad napona između sistema. Proverite da
su kablovi obeleženi bojama ili oznakama
koje ukazuju na odgovarajući polaritet.
 |
Упозорење |
|
Akumulatori
sadrže kiselinu i proizvode eksplozivne gasove.
- U svakom trenutku štitite
oči i lice od akumulatora.
- Nemojte se naginjati nad akumulatore.
Напомена: Proverite da su kapice
za ventilacione otvore dobro pričvršćene i ravne.
Ako je dostupna, stavite vlažnu krpu preko kapica
za ventilacione otvore na oba akumulatora.
Takođe pazite da se mašine ne dodiruju i da su oba električna
sistema isključena i istog
nazivnog napona sistema. Ova uputstva su samo za sisteme sa uzemljenjem
na negativnom kablu.
-
Spojite pozitivni
(+) kabl sa pozitivnim (+) terminalom ispražnjenog akumulatora
koji je žicom povezan za starter ili solenoid
kako je prikazano:
g012785
- Pozitivni
(+) kabl na ispražnjenom akumulatoru
- Pozitivni
(+) kabl na akumulatoru koji obezbeđuje napajanje
- Negativni
(-) kabl na akumulatoru koji obezbeđuje napajanje
- Negativni
(-) kabl na bloku motora
- Akumulator
koji obezbeđuje napajanje
- Ispražnjeni
akumulator
- Blok
motora
-
Povežite
drugi kraj pozitivnog (+) kabla startera na pozitivan priključak
na akumulatoru na drugoj mašini.
-
Povežite
na kraj negativnog (-) kabla startera na negativan priključak
na akumulatoru na drugoj mašini.
-
Povežite
drugi kraj negativnog (-) kabla startera na tačku uzemljenja,
kao što je nelakirani zavrtanj ili član šasije.
-
Pokrenite
motor u drugoj mašini. Neka radi nekoliko minuta, a zatim pokrenite
vaš motor.
-
Uklonite
kablove obrnutim redosledom u odnosu na povezivanje.
-
Skinite poklopac
sa spojnog stuba.
Servisiranje osigurača
Električni sistem je zaštićen
osiguračima. Ne zahteva održavanje; međutim, ako
osigurač pregori, proverite ispravnost odnosno
kratak spoj komponente / strujnog kola.
-
Parkirajte
mašinu na ravnoj površini, deaktivirajte prekidač
za kontrolu sečiva i pomerite ručice za kontrolu kretanja
prema spolja u položaj Parkiranja.
-
Pre nego
što napustite položaj operatera, isključite motor,
uklonite ključ i sačekajte da se svi pokretni delovi zaustave.
-
Zamenite
pregoreli osigurač novim.
G440132
- Strujno
kolo punjenja (15 A)
- Glavni
(25 A)
Održavanje pogonskog sistema
Provera pritiska u pneumaticima
Održavajte pritisak vazduha
u prednjim i zadnjim pneumaticima u skladu sa specifikacijama. Neujednačen
pritisak u pneumaticima može dovesti
do neravnomernog košenja. Za najtačnije očitavanje
pritiska, proveravajte pritisak na telu ventila kada su pneumatici
hladni.
-
Naduvajte
pneumatike prednjeg točka do 1,03 bara (15 psi) ili
do pritiska naznačenog na bočnom zidu, koji god da je
niži.
-
Naduvajte
pneumatike zadnjeg pogonskog točka do 90 kPa (13 psi).
Provera navrtki točka
-
Proverite
i pritegnite navrtke točkova momentom od 129 N·m.
Podešavanje razmaka točkova
Kada vozite mašinu punom
brzinom napred preko ravne, horizontalne površine, ako mašina
vuče u jednu stranu, podesite razmak
točkova.
Ako mašina vuče ulevo,
namestite desnu ručicu za kontrolu kretanja; ako mašina
vuče udesno, namestite levu ručicu za kontrolu
kretanja.
Напомена: Razmak točkova možete
da podesite samo za vožnju napred.
-
Parkirajte
mašinu na ravnoj površini, deaktivirajte prekidač
za kontrolu sečiva i pomerite ručice za kontrolu kretanja
prema spolja u položaj Parkiranja.
-
Pre nego
što napustite položaj operatera, isključite motor,
uklonite ključ i sačekajte da se svi pokretni delovi zaustave.
-
Locirajte
zavrtanj za podešavanje razmaka točkova u blizini ručice
za kontrolu kretanja na konkretnoj strani koju treba podesiti.
-
Okrenite
zavrtanj da smanjite brzinu za taj konkretni točak.
Напомена: Malo okrenite zavrtanj
da izvršite manja podešavanja.
-
Pokrenite
mašinu i vozite napred po ravnoj, horizontalnoj površini
sa ručicama za kontrolu kretanja do kraja napred kako biste
proverili da li se mašina kreće
pravo. Po potrebi ponovite postupak.
Održavanje hidrauličnog
sistema
Bezbednost hidrauličnog
sistema
- Ako hidraulična tečnost
prodre u kožu, odmah potražite medicinsku pomoć.
Tečnost koja prodre u kožu mora biti hirurški uklonjena
u roku od nekoliko sati od strane lekara
upoznatog sa ovim vidom povrede; u suprotnom, može doći
do gangrene.
- Proverite da su sva creva i vodovi
za hidrauličnu tečnost u dobrom stanju i da su svi hidraulički
spojevi i priključci zategnuti
pre nego što primenjujete pritisak na hidraulični sistem.
- Držite telo i šake
dalje od curenja u tankom mlazu ili mlaznica koje izbacuju hidrauličnu
tečnost pod visokim pritiskom.
- Da biste otkrili gde curi hidraulična
tečnost koristite karton ili papir, nikako ruke.
- Bezbedno oslobodite sav pritisak
iz hidrauličnog sistema pre nego što vršite bilo
kakve radove na hidrauličnom sistemu.
Specifikacije hidraulične tečnosti
Tip hidraulične tečnosti: Toro Premium
Hydro Oil (poželjno) ili Mobil 1™ 15W50
Kapacitet hidrauličnog sistema: 2,3 l po strani
Koristite specificiranu tečnost.
Druge tečnosti mogu oštetiti sistem.
Provera hidraulične tečnosti
-
Parkirajte
mašinu na ravnoj površini, deaktivirajte prekidač
za kontrolu sečiva i pomerite ručice za kontrolu kretanja
prema spolja u položaj Parkiranja.
-
Pre nego
što napustite položaj operatera, isključite motor,
uklonite ključ i sačekajte da se svi pokretni delovi zaustave.
-
Sačekajte
da se mašina ohladi.
Proveru
hidraulične tečnosti vršite samo kada je sistem
hladan (ispod 38 °C). Dolivanje tečnosti kada je sistem
zagrejan može dovesti do prepunjavanja
menjača-diferencijala i oštećenja sklopa oduška.
-
Uklonite
čep otvora za punjenje i proverite da li se tečnost vidi
na dnu otvora.
-
Ako je nivo
nizak, kroz otvor dolijte navedenu tečnost dok nivo ne dođe
do dna otvora.
-
Vratite čep
i pritegnite ga na 13,6 N∙m (120 in-lb).
Zamena hidraulične tečnosti
i filtera
Nemojte menjati hidrauličnu
tečnost bez zamene filtera, osim ako je tečnost bila zaprljana
ili izuzetno vruća. U suprotnom,
mogli biste da kontaminirate sistem i da ga oštetite.
-
Parkirajte
mašinu na ravnoj površini, deaktivirajte prekidač
za kontrolu sečiva i pomerite ručice za kontrolu kretanja
prema spolja u položaj Parkiranja.
-
Pre nego
što napustite položaj operatera, isključite motor,
uklonite ključ i sačekajte da se svi pokretni delovi zaustave.
-
Sačekajte
da se mašina ohladi.
Zamenu
hidraulične tečnosti vršite samo kada je sistem
hladan (ispod 38 °C). Zamena tečnosti kada je sistem
zagrejan može dovesti do prepunjavanja
menjača-diferencijala i oštećenja sklopa oduška.
-
Uklonite
štitnik filtera sa menjača-diferencijala.
-
Pažljivo
očistite prostor oko filtera.
Nemojte
dopustiti da prljavština prodre u hidraulični sistem,
jer može doći do zagađenja sistema.
-
Postavite
posudu za pražnjenje ispod filtera.
-
Zamenite
filter.
-
Montirajte
štitnik filtera. Zategnite zavrtnje na 7 N∙m (65 in-lb).
-
Uklonite
čep otvora za punjenje i kroz otvor dolijte navedenu tečnost
dok nivo ne dođe do dna otvora.
-
Vratite čep
i pritegnite ga na 13,6 N∙m (120 in-lb).
-
Ponovite
postupak za drugi menjač-diferencijal.
-
Odzračivanje hidrauličnog
sistema
-
Parkirajte
mašinu na ravnoj površini, deaktivirajte prekidač
za kontrolu sečiva i pomerite ručice za kontrolu kretanja
prema spolja u položaj Parkiranja.
-
Pre nego
što napustite položaj operatera, isključite motor,
uklonite ključ i sačekajte da se svi pokretni delovi zaustave.
-
Podignite
zadnji deo mašine na podupirače koji su dovoljno visoki
da podignu pogonske točkove sa zemlje.
-
Pokrenite
motor, pomerite komandu gasa unapred u položaj na ½ gasa
i deaktivirajte parkirnu kočnicu tako što ćete obe
ručice za kontrolu kretanja pomeriti
nadole u srednji, otključani položaj.
-
Sa otvorenim
bajpas ventilima i motorom koji radi, polako pomerite ručice
za kontrolu kretanja i unapred i unazad 5 ili 6
puta.
-
Sa zatvorenim
bajpas ventilima i motorom koji radi, polako pomerite ručice
za kontrolu kretanja i unapred i unazad 5 ili 6
puta.
-
Isključite
motor i uklonite ključ.
-
Proverite
nivo hidraulične tečnosti i dopunite tečnost po
potrebi.
-
Po potrebi
ponovite postupak dok vazduh ne bude potpuno izbačen iz sistema.
Напомена: Vazduh je potpuno izbačen
kada menjač-diferencijal radi pri normalnom nivou buke i glatko
se kreće unapred i unazad pri normalnim
brzinama.
-
Uklonite
podupirače.
Održavanje kaiša
Pregled kaiševa
-
Parkirajte
mašinu na ravnoj površini, deaktivirajte prekidač
za kontrolu sečiva i pomerite ručice za kontrolu kretanja
prema spolja u položaj Parkiranja.
-
Pre nego
što napustite položaj operatera, isključite motor
i sačekajte da se svi pokretni delovi zaustave.
-
Postavite
visinu košenja na najniži položaj košenja.
-
Pregledajte
kaiš na habanje. Zamenite kaiš ako je pohaban.
Znakovi
pohabanog kaiša uključuju škripanje dok se kaiš
okreće; klizanje sečiva tokom košenja trave; i izlizane
ivice, tragove gorenja i pukotine na
kaišu.
Zamena kaiša kosilice
Znakovi pohabanog kaiša
uključuju škripanje dok se kaiš okreće, klizanje
sečiva tokom košenja trave i izlizane ivice, tragove
gorenja i pukotine na kaišu. Zamenite
kaiš kosilice ako je evidentno neko od ovih stanja.
-
Parkirajte
mašinu na ravnoj površini, deaktivirajte prekidač
za kontrolu sečiva i pomerite ručice za kontrolu kretanja
prema spolja u položaj Parkiranja.
-
Pre nego
što napustite položaj operatera, isključite motor,
uklonite ključ i sačekajte da se svi pokretni delovi zaustave.
-
Postavite
visinu košenja na najniži položaj košenja.
-
Oslobodite
kućište kosilice.
-
Uklonite
poklopce remenice.
-
Otpustite
navrtku koja pričvršćuje žičanu strukturu
na remenicu prenosnika.
-
Pomoću
alata za uklanjanje opruge (Toro deo br. 92-5771), uklonite oprugu
prenosnika sa kuke kućišta kako biste uklonili zategnutost
na remenici prenosnika.
 |
Упозорење |
|
Opruga
je napeta kada se postavlja i može da izazove telesnu povredu.
Budite oprezni kada uklanjate
kaiš.
G453682
- Remenica
kućišta
- Kaiš
kosilice
- Remenica
motora
- Remenica
prenosnika
- Opruga
- Alat
za uklanjanje opruge
-
Skinite kaiš
sa remenica.
-
Provucite
novi kaiš oko remenice motora i remenica kosilice.
-
Pomoću
alata za uklanjanje opruge postavite oprugu prenosnika preko kuke
kućišta i zategnite remenicu prenosnika i kaiš kosilice.
-
Postavite
žičanu strukturu uz sponu prenosnika kao što je
prikazano i pritegnite navrtku.
-
Postavite
poklopce remenice.
-
Pritegnite
zavrtnje za pregradu kućišta kosilice.
Održavanje kućišta
kosilice
Bezbednost sečiva
- Periodično proveravajte
da li su sečiva istrošena ili oštećena.
- Budite pažljivi prilikom
provere sečiva. Sečiva umotajte ili nosite rukavice i
budite pažljivi kada ih servisirate. Oštećena
sečiva obavezno zamenite; nemojte
ih nikada ispravljati ni variti.
- Na mašinama sa više
sečiva, vodite računa jer rotiranje jednog sečiva
može dovesti do rotiranja ostalih.
- Zamenite istrošena ili oštećena
sečiva i zavrtnje zamenom čitavog kompleta, kako biste
očuvali ravnotežu.
Servisiranje sečiva
Da biste obezbedili
odličan kvalitet košenja, održavajte sečiva
oštrim. Za praktično oštrenje i zamenu, imajte uvek
pri ruci dodatna sečiva.
Sečiva
zamenite ako njima udarite u tvrd predmet ili ako je sečivo
van ravnoteže ili iskrivljeno.
Pre pregleda ili servisiranja sečiva
-
Parkirajte
mašinu na ravnoj površini, deaktivirajte prekidač
za kontrolu sečiva i pomerite ručice za kontrolu kretanja
prema spolja u položaj Parkiranja.
-
Pre nego
što napustite položaj operatera, isključite motor,
uklonite ključ i sačekajte da se svi pokretni delovi zaustave.
-
Skinite kablove
svećica sa svećica.
Provera da li su sečiva iskrivljena
Za ovaj postupak
mašina mora biti na ravnoj površini.
-
Podignite
kućište kosilice do najvišeg položaja za podešavanje
visine košenja.
-
Noseći
debelo postavljene rukavice ili drugu odgovarajuću zaštitu
za šake, polako rotirajte sečivo do položaja koji
vam omogućava da izmerite rastojanje
između oštrice i ravne površine.
-
Merite od
vrha sečiva do ravne površine.
G451422
- Sečivo
(u položaju za merenje)
- Ravna
površina
- Izmereno
rastojanje između sečiva i površine (A)
-
Isto sečivo
rotirajte za 180 stepeni, kako bi naspramna oštrica sada bila
u istom položaju.
G451423
- Prethodno
izmerena oštrica
- Naspramna
oštrica
-
Merite od
vrha sečiva do ravne površine.
G451422
- Sečivo
(u položaju za merenje)
- Ravna
površina
- Izmereno
rastojanje između sečiva i površine (B)
-
Ako je razlika
u merenjima A i B veća od 3 mm, zamenite sečivo.
Напомена: Ako nakon zamene sečiva
razlika i dalje prelazi 3 mm, vreteno sečiva je možda
savijeno. Za servis se obratite ovlašćenom serviseru.
-
Ponovite
ovaj postupak za svako sečivo.
Uklanjanje sečiva
-
Držite
kraj sečiva pomoću krpe ili debelo postavljene rukavice.
-
Uklonite
sečivo kao što je prikazano.
Oštrenje sečiva
-
Naoštrite
oštricu turpijom na oba kraja sečiva. Obavezno održavajte
originalni ugao
.
Напомена: Uklonite istu količinu
materijala sa obe oštrice kako bi sečivo zadržalo
ravnotežu.
-
Proverite
ravnotežu sečiva
tako što ćete ga
staviti na balanser sečiva
.
Напомена: Ako sečivo ostane
u horizontalnom položaju, sečivo je izbalansirano i može
da se koristi.
Ako sečivo
nije izbalansirano, skinite malo metala turpijanjem samo s kraja jedra.
-
Ponovite
ovaj postupak dok sečivo ne bude izbalansirano.
Montiranje sečiva
 |
Упозорење |
|
Rukovanje mašinom nakon
nepravilnog postavljanja sklopa sečiva i/ili ako ne koristite
originalno Toro sečivo i hardver sečiva
može da dovede do odbacivanja sečiva ili komponente sečiva
ispod kućišta, što za rezultat može da
ima ozbiljnu povredu ili smrt.
Uvek
instalirajte originalna Toro sečiva i hardver sečiva
u skladu sa uputstvima.
-
Postavite
sečivo kao što je prikazano.
Напомена: Kako bi se obezbedilo pravilno
košenje, zakrivljeni deo sečiva mora da pokazuje nagore
prema unutrašnjosti kosilice.
-
Pritegnite
zavrtanj sečiva na 136
do 149 N·m.
Nivelisanje kućišta
kosilice
Uverite se
da je ploča kućišta kosilice ravna svaki put kada
postavljate kućište kosilice ili kada vidite neravnomerno
košenje na svom travnjaku.
Priprema za nivelisanje kućišta kosilice
-
Parkirajte
mašinu na ravnoj površini, deaktivirajte prekidač
za kontrolu sečiva i pomerite ručice za kontrolu kretanja
prema spolja u položaj Parkiranja.
-
Pre nego
što napustite položaj operatera, isključite motor,
uklonite ključ i sačekajte da se svi pokretni delovi zaustave.
-
Proverite
da li su pneumatici napumpani u skladu sa odgovarajućim specifikacijama
i da li su točkovi okrenuti pravo napred.
-
Proverite
da na kućištu kosilice nema savijenih sečiva; uklonite
i zamenite sva savijena sečiva.
-
Podignite
kućište kosilice na visinu košenja od 76 mm.
Provera nivoa kućišta kosilice
-
Postavite
sečiva uporedo.
-
Izmerite
na lokacijama
i
od ravne površine do oštrica
na vrhovima sečiva
.
Razlika između merenja ne
bi trebalo da bude više od 5 mm. Ako je razlika veća,
podesite uporedni nivo.
-
Postavite
1 sečivo od prednjeg do zadnjeg kraja.
-
Izmerite
na lokacijama
i
od ravne površine do oštrica
na vrhovima sečiva
.
Prednji vrh sečiva trebalo
bi da bude 1,6 do 7,9 mm niže od zadnjeg vrha sečiva.
Ako merenje nije tačno, podesite nivo od
prednjeg do zadnjeg kraja.
Nivelisanje kućišta kosilice
-
Postavite
valjke protiv struganja na gornje otvore ili ih potpuno uklonite za
ovaj postupak.
-
Postavite
ručicu za podešavanje visine košenja u položaj
za 76 mm.
-
Stavite 2
bloka
, od kojih svaki ima debljinu
od 6,6 cm, ispod svake strane prednje ivice kućišta.
Nemojte
da stavljate blokove ispod nosača valjaka protiv struganja.
-
Stavite 2
bloka
, od kojih svaki ima debljinu
od 7,3 cm, ispod svake strane zadnje ivice kućišta.
-
Otpustite
donje pričvršćivače koji fiksiraju nosače
na sva 4 ugla kućišta i proverite da li kućište
kosilice dobro naleže na sva 4
bloka.
-
Uklonite
prazan hod iz nosača kućišta i proverite da li je
nožna poluga za podizanje kućišta pritisnuta do
graničnika.
-
Pritegnite
sve pričvršćivače.
-
Proverite
da li blokovi čvrsto stoje ispod ivice kućišta i
da li su svi zavrtnji za pričvršćivanje pritegnuti.
-
Proverite
nivelacije od jedne do druge strane i od napred do nazad; ponavljajte
proceduru dok merenja ne budu tačna.
Uklanjanje kućišta
kosilice
-
Parkirajte
mašinu na ravnoj površini, deaktivirajte prekidač
za kontrolu sečiva i pomerite ručice za kontrolu kretanja
prema spolja u položaj Parkiranja.
-
Pre nego
što napustite položaj operatera, isključite motor,
uklonite ključ i sačekajte da se svi pokretni delovi zaustave.
-
Spustite
ručicu za podešavanje visine košenja u najniži
položaj.
-
Oslobodite
kućište kosilice.
-
Uklonite
rascepku i podlošku sa prednje potporne šipke
i uklonite šipku sa nosača
kućišta
.
Напомена: Zadržite sve delove
za buduću montažu.
-
Uklonite
gornje pričvršćivače koji fiksiraju nosače
na sva 4 kraka za podizanje.
-
Gurnite kućište
kosilice unazad kako biste uklonili kaiš kosilice sa remenice
motora.
-
Izvucite
kućište kosilice ispod mašine.
Montaža kućišta
kosilice
-
Parkirajte
mašinu na ravnoj površini, deaktivirajte prekidač
za kontrolu sečiva i pomerite ručice za kontrolu kretanja
prema spolja u položaj Parkiranja.
-
Pre nego
što napustite položaj operatera, isključite motor,
uklonite ključ i sačekajte da se svi pokretni delovi zaustave.
-
Gurnite kućište
kosilice ispod mašine.
-
Spustite
ručicu za podešavanje visine košenja u najniži
položaj.
-
Postavite
spone za podizanje na krake za podizanje kućišta pomoću
prethodno uklonjenih pričvršćivača.
-
Postavite
prednju potpornu šipku
na nosač kućišta
pomoću rascepke i podloške.
-
Postavite
kaiš kosilice na remenicu motora.
-
Pritegnite
zavrtnje za pregradu kućišta kosilice.
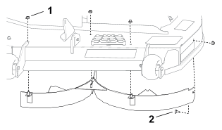
Zamena usmerivača za travu
 |
Опасност |
|
Nepokriveni otvor za pražnjenje
omogućava odbacivanje predmeta ka vama ili posmatračima.
Takođe, može doći do kontakta sa
sečivom. Odbačeni predmeti ili kontakt sa
sečivom dovešće do teške povrede ili smrtnog
ishoda.
Nemojte da rukujete kosilicom
sa podignutim, uklonjenim ili izmenjenim usmerivačem za pražnjenje,
osim ako je postavljen sistem za prikupljanje
trave ili komplet za malč koji pravilno radi.
-
Parkirajte
mašinu na ravnoj površini, deaktivirajte prekidač
za kontrolu sečiva i pomerite ručice za kontrolu kretanja
prema spolja u položaj Parkiranja.
-
Pre nego
što napustite položaj operatera, isključite motor,
uklonite ključ i sačekajte da se svi pokretni delovi zaustave.
-
Otkačite
oprugu iz ureza na nosaču usmerivača i izvucite šipku
iz zavarenih nosača kućišta, opruge i usmerivača
za pražnjenje.
G456086
- Šipka
- Usmerivač
za travu
- Opruga
- Nosači
kućišta
- Opružni
osigurač
- Opruga
montirana preko šipke
-
Uklonite
oštećeni ili pohabani usmerivač za travu.
-
Postavite
novi usmerivač za pražnjenje tako da krajevi nosača
budu između zavarenih nosača na kućištu, kao
što je prikazano.
G456085
- Montiran
sklop šipke i opruge
- Kraj
opruge u obliku omče postavljen u urez na nosaču usmerivača
- Šipka,
kratak kraj, pomerena iza nosača kosilice
- Kratak
kraj, zadržan nosačem kosilice
- Opružni
osigurač
-
Pričvrstite
sklop šipke i opruge uvrćući ga tako da kratak kraj
šipke bude iza prednjeg nosača zavarenog za kućište.
-
Postavite
opružni osigurač u kraj šipke.
Usmerivač
za travu mora biti sa oprugom u donjem položaju. Podignite usmerivač
nagore kako biste proverili da li je uglavljen
u donji položaj.
Čišćenje
Odlaganje otpada
Motorno ulje, akumulatori, hidraulična
tečnost i rashladno sredstvo za motor su materije koje zagađuju
životnu sredinu. Odlažite ih u
skladu sa državnim i lokalnim propisima.
Rešavanje problema
Rezervoar za gorivo pokazuje znakove
propadanja ili mašina često pokazuje znakove da je bez
goriva.
| Могући
узрок
|
Корективна
мера
|
| Papirni element čistača
vazduha je začepljen. |
-
Očistite
papirni element.
|
Motor se pregreva.
| Могући
узрок
|
Корективна
мера
|
| Opterećenje motora
je prekomerno. |
-
Smanjite
brzinu kretanja.
|
| Nivo ulja u kućištu
motora je nizak. |
-
Dodajte ulje
u kućište motora.
|
| Rashladna rebra i vazdušni
prolazi ispod kućišta ventilatora motora su začepljeni. |
-
Uklonite
prepreku iz rashladnih rebara i vazdušnih prolaza.
|
| Čistač vazduha
je prljav. |
-
Očistite
ili zamenite element čistača vazduha.
|
| Prljavština, voda
ili ustajalo gorivo je u sistemu goriva.
|
-
Obratite
se ovlašćenom serviseru.
|
Starter se ne pokreće.
| Могући
узрок
|
Корективна
мера
|
| Prekidač za kontrolu
sečiva je aktiviran. |
-
Deaktivirajte
prekidač za kontrolu sečiva.
|
| Ručice za kontrolu
kretanja nisu u položaju parkiranja.
|
-
Pomerite
ručice za kontrolu kretanja prema spolja u položaj parkiranja.
|
| Akumulator je prazan. |
-
Napunite
akumulator.
|
| Električni priključci
su korodirali ili labavi. |
-
Proverite
da li električni priključci imaju dobar kontakt.
|
| Osigurač je pregoreo. |
-
Zamenite
osigurač.
|
| Oštećen je
relej ili prekidač. |
-
Obratite
se ovlašćenom serviseru.
|
Motor se ne pokreće, teško
se pokreće ili ne radi.
| Могући
узрок
|
Корективна
мера
|
| Rezervoar za gorivo je
prazan. |
-
Napunite
rezervoar za gorivo.
|
| Čok (ako postoji)
nije uključen. |
-
Pomerite
ručicu čoka u položaj On (Uključeno).
|
| Čistač vazduha
je prljav. |
-
Očistite
ili zamenite element čistača vazduha.
|
| Kabl(ovi) svećice
je labav ili odvojen. |
-
Postavite
kabl(ove) na svećicu.
|
| Svećica(e) je udubljena,
zaprljana ili je razmak neodgovarajući.
|
-
Postavite
novu svećicu(e) sa odgovarajućim razmakom.
|
| U filteru za gorivo ima
prljavštine. |
-
Zamenite
filter za gorivo.
|
| Prljavština, voda
ili ustajalo gorivo je u sistemu goriva.
|
-
Obratite
se ovlašćenom serviseru.
|
| U rezervoaru za gorivo
se nalazi pogrešno gorivo.
|
-
Ispraznite
rezervoar i zamenite gorivo odgovarajućom vrstom.
|
| Nivo ulja u kućištu
motora je nizak. |
-
Dodajte ulje
u kućište motora.
|
Motor gubi snagu.
| Могући
узрок
|
Корективна
мера
|
| Opterećenje motora
je prekomerno. |
-
Smanjite
brzinu kretanja.
|
| Čistač vazduha
je prljav. |
-
Očistite
element čistača vazduha.
|
| Nivo ulja u kućištu
motora je nizak. |
-
Dodajte ulje
u kućište motora.
|
| Rashladna rebra i vazdušni
prolazi ispod kućišta ventilatora motora su začepljeni. |
-
Uklonite
prepreku iz rashladnih rebara i vazdušnih prolaza.
|
| Svećica(e) je udubljena,
zaprljana ili je razmak neodgovarajući.
|
-
Postavite
novu svećicu(e) sa odgovarajućim razmakom.
|
| Otvor rezervoara za gorivo
je blokiran. |
-
Obratite
se ovlašćenom serviseru.
|
| U filteru za gorivo ima
prljavštine. |
-
Zamenite
filter za gorivo.
|
| Prljavština, voda
ili ustajalo gorivo je u sistemu goriva.
|
-
Obratite
se ovlašćenom serviseru.
|
| U rezervoaru za gorivo
se nalazi pogrešno gorivo.
|
-
Obratite
se ovlašćenom serviseru.
|
Mašina neće da se
kreće.
| Могући
узрок
|
Корективна
мера
|
| Ventili za premošćavanje
su otvoreni. |
-
Zatvorite
ventile za vuču.
|
| Kaiševi za vuču
su pohabani, labavi ili pokidani.
|
-
Obratite
se ovlašćenom serviseru.
|
| Kaiševi za vuču
su van remenica. |
-
Obratite
se ovlašćenom serviseru.
|
| Prenos nije uspeo. |
-
Obratite
se ovlašćenom serviseru.
|
Mašina neuobičajeno
vibrira.
| Могући
узрок
|
Корективна
мера
|
| Sečivo(a) za košenje
je/su iskrivljeno(a) ili neizbalansirano(a).
|
-
Montirajte
novo(a) sečivo(a).
|
| Montažni zavrtanj
za sečivo je olabavljen.
|
-
Zategnite
montažni zavrtanj za sečivo.
|
| Montažni zavrtnjevi
za motor su olabavljeni. |
-
Zategnite
montažne zavrtnjeve za motor.
|
| Remenica motora, remenica
prenosnika ili remenica sečiva je labava.
|
-
Zategnite
odgovarajuću remenicu.
|
| Oštećena je
remenica motora. |
-
Obratite
se ovlašćenom serviseru.
|
| Vreteno sečiva je
iskrivljeno. |
-
Obratite
se ovlašćenom serviseru.
|
| Nosač motora je olabavljen
ili pohaban. |
-
Obratite
se ovlašćenom serviseru.
|
Visina košenja je nejednaka.
| Могући
узрок
|
Корективна
мера
|
| Sečivo(a) nije oštro. |
-
Naoštrite
sečivo(a).
|
| Sečivo(a) za košenje
je/su iskrivljeno(a). |
-
Montirajte
novo(a) sečivo(a).
|
| Kosilica nije nivelisana. |
-
Nivelišite
kosilicu od jedne do druge strane i od prednjeg do zadnjeg kraja.
|
| Valjak protiv struganja
(ako postoji) nije ispravno postavljen.
|
-
Podesite
visinu valjka protiv struganja.
|
| Donja strana kućišta
kosilice je prljava. |
-
Očistite
kućište kosilice sa donje strane.
|
| Pritisak u pneumaticima
je neodgovarajući. |
-
Podesite
pritisak u pneumaticima.
|
| Vreteno sečiva je
iskrivljeno. |
-
Obratite
se ovlašćenom serviseru.
|
Sečiva se ne okreću.
| Могући
узрок
|
Корективна
мера
|
| Pogonski kaiš je
pohaban, labav ili pokidan. |
-
Postavite
novi pogonski kaiš.
|
| Pogonski kaiš je
van remenice. |
-
Postavite
pogonski kaiš i proverite ispravnost položaja osovina
za podešavanje i vođica kaiša.
|
| Prekidač priključnog
vratila (PTO) ili kvačilo PTO-a je neispravno.
|
-
Obratite
se ovlašćenom serviseru.
|
| Kaiš kosilice je
pohaban, labav ili pokidan. |
-
Postavite
novi kaiš kosilice.
|