Apkope
Apkopes drošība
- Ja atslēga atrodas slēdzī,
kāds var nejauši iedarbināt dzinēju un nopietni
ievainot jūs vai citus blakus stāvētājus.
Izņemiet atslēgu no slēdža
pirms jebkāda apkopes darba veikšanas.
- Pirms operatora pozīcijas
atstāšanas, rīkojieties šādi:
- Novietojiet mašīnu
uz līdzenas virsmas.
- Atvienojiet piedziņu.
- Ieslēdziet stāvbremzi.
- Izslēdziet dzinēju
un izņemiet atslēgu.
- Pirms apkopes veikšanas
pagaidiet, līdz mašīna atdziest.
- Neļaujiet neapmācītam
personālam veikt mašīnas apkopi.
- Turiet rokas un pēdas atstatu
no kustīgām daļām vai karstām virsmām.
Ja iespējams, neveiciet regulēšanu, kamēr
dzinējs darbojas.
- Turiet visus aizsargus, vairogus,
slēdžus un visas drošības ierīces vietā
un pareizā darba stāvoklī. Regulāri pārbaudiet
nodilušos vai nolietojušos
elementus un, kad nepieciešams, nomainiet tos pret oriģinālajām Toro daļām.
- Uzmanīgi atbrīvojiet
spiedienu no komponentiem, kuriem ir uzkrāta enerģija.
 |
Brīdinājums |
|
Oriģinālā aprīkojuma,
daļu un/vai piederumu noņemšanas vai modificēšana
var izmainīt garantiju, kontrolējamību un mašīnas
drošību. Oriģinālā
aprīkojuma nepilnvarota modificēšana vai oriģinālo Toro daļu neizmantošana
var izraisīt nopietnus ievainojumus vai nāvi.
- Regulāri pārbaudiet
stāvbremzes darbību. Pēc nepieciešamības
regulējiet to vai veiciet apkopi.
- Nekad neizmainiet drošības
ierīces. Regulāri pārbaudiet to pareizu darbību.
- Lai novērstu aizdegšanos,
iztīriet zāli, lapas, smērvielas un eļļas
paliekas un citus netīrumus no griezējmezgla, slāpētāja,
zobratiem, zāles uztvērēja
un dzinēja nodalījuma.
- Notīriet izšļakstījušos
eļļu vai degvielu un ar degvielu piesūkušos
netīrumus.
- Mašīnas atbalstam
nepaļaujieties tikai uz mehāniskajiem vai hidrauliskajiem
domkratiem un mašīnas. Izmantojiet piemērotus
domkrata statīvus.
- Turiet visas daļas labā
stāvoklī un visu aparatūru cieši pievilktu,
it īpaši asmens bloka aparatūru.
- Lai nodrošinātu optimālu
veiktspēju, izmantojiet tikai oriģinālās Toro nomaiņas
daļas un piederumus. Citu ražotāju rezerves daļas
un piederumi var būt bīstami.
Ieteiktais apkopes grafiks
| Pēc pirmajām 8 stundām |
Nomainiet dzinēja eļļu.
|
| Pēc pirmajām 50 stundām |
Pārbaudiet balsta uzgriežņa griezes momentu. |
| Pēc pirmajām 75 stundām |
Nomainiet hidraulisko šķidrumu un filtru. |
| Pirms katras izmantošanas
reizes vai reizi dienā |
Pārbaudiet drošības bloķēšanas
sistēmu. |
| Pārbaudiet gaisa tīrītāja netīrās,
vaļīgās vai bojātās daļas. |
| Pārbaudiet dzinēja eļļas līmeni. |
| Iztīriet gaisa ieplūdes sietu.
|
| Pārbaudiet asmeņus.
|
| Pārbaudiet zāles novirzītāja bojājumus. |
| Pēc katras izmantošanas
reizes |
Notīriet zāli un netīrumus no mašīnas. |
| Tīriet pļāvēja korpusu. |
| Ik pēc 25 stundām |
Eļļojiet ritentiņu gultņus (biežāk
smilšainas augsnes apstākļos). |
| Pārbaudiet riepu spiedienu.
|
| Pārbaudiet siksnu nodilumu vai plaisas. |
| Ik pēc 100 stundām |
Nomainiet dzinēja eļļu (biežāk netīros
un putekļainos apstākļos).
|
| Nomainiet vai notīriet un atvienojiet kvēlsveci. |
| Nomainiet līnijas degvielas filtru.
|
| Ik pēc 100 stundām
vai reizi gadā, atkarībā
no tā, kurš nosacījums izpildās
ātrāk
|
Nomainiet gaisa tīrītāja papīra elementu
(biežāk netīros vai putekļainos apstākļos). |
| Ik pēc 200 stundām
|
Nomainiet dzinēja eļļas filtru (biežāk
netīros un putekļainos apstākļos). |
| Ik pēc 300 stundām
|
Pārbaudiet un regulējiet vārsta atstarpi. Sazinieties
ar pilnvaroto servisa izplatītāju. |
| Ik pēc 400 stundām
|
Nomainiet hidraulisko šķidrumu un filtru. |
| Reizi gadā
|
Pārbaudiet balsta uzgriežņa griezes momentu. |
| Pirms glabāšanas |
Uzlādējiet akumulatoru un atvienojiet akumulatora kabeļus. |
| Pirms glabāšanas izpildiet visas augstāk minētās
apkopes procedūras.
|
| Nokrāsojiet visas saskrāpētās
virsmas. |
| |
Plašākas tehniskās
apkopes procedūras skatiet savā dzinēja īpašnieka
rokasgrāmatā.
Procedūras pirms apkopes
Nefunkcionējošas mašīnas
pārvietošana
-
Novietojiet
mašīnu uz līdzenas virsmas, izslēdziet asmens
vadības slēdzi un virziet kustības vadības
sviras uz āru Novietošanas pozīcijā.
-
Izslēdziet
dzinēju un pagaidiet, kamēr visas kustīgās
daļas apstājas, pirms dodaties prom no darba pozīcijas.
-
Atrodiet
apiešanas sviras
uz rāmja abās
dzinēja pusēs.
-
Virziet abas
apiešanas sviras uz priekšu cauri rievotajam caurumam
un pāri, lai fiksētu tās vietā
.
 |
Brīdinājums |
|
Saskare
ar karstām virsmām var izraisīt personas ievainojumus.
Turiet savas rokas, pēdas,
seju, apģērbu un citas ķermeņa daļas
prom no dzinēja, slāpētāja un citām
karstām virsmām.
 |
Brīdinājums |
|
Mašīna
var nejauši izkustēties, kamēr apiešanas sviras
ir bloķētas atverē turpgaitā, un ievainot
jūs vai blakusstāvētājus.
Bloķējiet
apiešanas sviras atpakaļgaitā pēc mašīnas
pārvietošanas.
-
Atvienojiet
stāvbremzi, virzot abas kustības vadības sviras
uz leju centrā, atbloķētā pozīcijā.
Piezīme: Neiedarbiniet mašīnu.
-
Pārvietojiet
mašīnu pēc nepieciešamības.
Vienmēr
stumiet mašīnu ar rokām. Nevelciet mašīnu,
jo vilkšana var to bojāt.
-
Virziet kustības
vadības sviras uz āru līdz novietošanas pozīcijai.
-
Virziet apiešanas
sviras atpakaļ un pāri cauri rievotajai atverei, lai bloķētu
tās vietā
.
Pļāvēja korpusa
aizkara atlaišana
-
Atskrūvējiet
2 apakšējās aizkara bultskrūves, lai piekļūtu
pļāvēja korpusa augšdaļai.
Vienmēr
pievelciet bultskrūves, lai pēc tehniskās apkopes
pievienotu aizkaru.
G453430
Dzinēja apkope
Dzinēja drošība
- Turiet savas rokas, pēdas,
seju, citas ķermeņa daļas un apģērbu
prom no slāpētāja un citām karstām virsmām.
Pirms apkopes veikšanas pagaidiet,
līdz dzinējs atdziest.
- Nemainiet dzinēja regulatora
ātrumu vai pārāk ātri nedarbiniet dzinēju.
Gaisa tīrītāja
apkope
Gaisa tīrītāja elementa noņemšana
-
Novietojiet
mašīnu uz līdzenas virsmas, izslēdziet asmens
vadības slēdzi un virziet kustības vadības
sviras uz āru Novietošanas pozīcijā.
-
Izslēdziet
dzinēju un pagaidiet, kamēr visas kustīgās
daļas apstājas, pirms dodaties prom no darba pozīcijas.
-
Notīriet
ap gaisa tīrītāja pārsegu
, lai novērstu netīrumu
iekļūšanu dzinējā un bojājumu
rašanos.
-
Atskrūvējiet
šļūtenes skavu
un noņemiet papīra
elementu
.
Gaisa tīrītāja papīra elementa apkope
-
Tīriet
papīra elementu, maigi tam pieskaroties, lai notīrītu
putekļus.
Piezīme: Ja tas ir ļoti netīrs,
nomainiet papīra elementu pret jaunu.
-
Pārbaudiet
elementa plīsumus, eļļainu plēvi vai gumijas
blīves bojājumu.
-
Nomainiet
papīra elementu, ja tas ir bojāts.
Dzinēja eļļas
apkope
Dzinēja eļļas specifikācijas
| Eļļas tips |
Mazgāšanas eļļa
(API servisa SF, SG, SH, SJ vai SL)
|
| Kartera tilpums |
1,8 l; bez
filtra; 2,1 l ar filtru
|
| Viskozitāte |
Skatiet tabulu tālāk |
| |
Dzinēja eļļas līmeņa pārbaude
-
Novietojiet
mašīnu uz līdzenas virsmas, izslēdziet asmens
vadības slēdzi un virziet kustības vadības
sviras uz āru Novietošanas pozīcijā.
-
Izslēdziet
dzinēju, izņemiet atslēgu un pagaidiet, līdz
apstājas visas kustīgās daļas, pirms atstājat
ekspluatācijas pozīciju.
-
Pagaidiet,
kamēr dzinējs atdziest, lai eļļai būtu
laiks izlīt karterī.
-
Lai netīrumiem,
zāles atgriezumiem u.tml. neļautu iekļūt dzinējā,
notīriet ap eļļas uzpildes vāciņu un
mērstieni, pirms to noņemat.
-
Pārbaudiet
dzinēja eļļas līmeni, kā parādīts.
Ja
jūs pārpildāt vai nepietiekoši piepildāt
dzinēja karteri ar eļļu un darbināt dzinēju,
jūs varat sabojāt dzinēju.
Dzinēja eļļas nomaiņa
-
Novietojiet
mašīnu tā, lai izliešanas puse būtu
nedaudz zemāka par pretējo pusi, lai nodrošinātu,
ka eļļa pilnībā izlīst.
-
Izslēdziet
asmens vadības slēdzi (PTO) un virziet kustības
vadības sviras uz āru Novietošanas pozīcijā.
-
Izslēdziet
dzinēju, izņemiet atslēgu un pagaidiet, līdz
apstājas visas kustīgās daļas, pirms atstājat
ekspluatācijas pozīciju.
-
Izlejiet
eļļu no dzinēja.
-
Lēnām
lejiet apmēram 80 % no norādītās eļļas
uzpildes caurulē un lēnām pievienojiet vēl
eļļu, lai tā būtu līdz atzīmei Pilns.
-
Atbrīvojieties
no izmantotās eļļas saskaņā ar vietējiem
noteikumiem.
Dzinēja eļļas filtra nomaiņa
-
Izlejiet
eļļu no dzinēja.
-
Nomainiet
dzinēja eļļas filtru, kā parādīts.
Piezīme: Pārliecinieties, ka eļļas
filtra blīve pieskaras dzinējam, un pēc tam pagrieziet
eļļas filtru vēl par ¾ apgrieziena.
-
Lēnām
pievienojiet norādīto eļļu uzpildes caurulē,
lai eļļas līmenis būtu pie atzīmes Pilns.
Kvēlsveces apkope
Pārliecinieties,
ka gaisa atstarpe pirms kvēlsveces uzstādīšanas
starp elektrodu centru un sāniem ir pareiza. Izmantojiet
kvēlsveces uzgriežņu atslēgu,
lai noņemtu un uzstādītu kvēlsveci, un atstarpes
instrumentu vai sensoru, lai pārbaudītu un
regulētu gaisa atstarpi. Ja nepieciešams,
uzstādiet jaunu kvēlsveci.
Tips: NGK® BPR4ES
Gaisa atstarpe: 0,76 mm
Kvēlsveces noņemšana
-
Novietojiet
mašīnu uz līdzenas virsmas, izslēdziet asmens
vadības slēdzi un virziet kustības vadības
sviras uz āru Novietošanas pozīcijā.
-
Izslēdziet
dzinēju, izņemiet atslēgu un pagaidiet, līdz
apstājas visas kustīgās daļas, pirms atstājat
ekspluatācijas pozīciju.
-
Notīriet
ap spraudņa pamatni, lai dzinējā neiekļūtu
netīrumi un gruži.
-
Noņemiet
kvēlsveci.
Kvēlsveces pārbaude
Netīriet kvēlsveci(-es).
Vienmēr nomainiet kvēlsveci(-es), kad tai(-ām) ir
melns apvalks, nolietoti elektrodi, eļļaina plēve
vai plaisas.
Ja redzat gaiši
brūnu vai pelēku krāsu uz izolatora, dzinējs
darbojas pareizi. Melns apvalks uz izolatora parasti nozīmē,
ka gaisa tīrītājs ir
netīrs.
-
Iestatiet
atstarpi uz 0,76 mm.
Dzesēšanas sistēmas
tīrīšana
-
Novietojiet
mašīnu uz līdzenas virsmas, izslēdziet asmens
vadības slēdzi un virziet kustības vadības
sviras uz āru Novietošanas pozīcijā.
-
Izslēdziet
dzinēju, izņemiet atslēgu un pagaidiet, līdz
apstājas visas kustīgās daļas, pirms atstājat
ekspluatācijas pozīciju.
-
Noņemiet
gaisa filtru no dzinēja.
-
Noņemiet
dzinēja apvalku.
-
Lai novērstu
netīrumu iekļūšanu gaisa ieejā, uzstādiet
gaisa filtru uz filtra pamatnes.
-
Notīriet
netīrumus un zāli no detaļām.
-
Noņemiet
gaisa filtru un uzstādiet dzinēja apvalku.
-
Uzstādiet
gaisa filtru.
Degvielas apkope
 |
Bīstami |
|
Noteiktos apstākļos
degviela ir ļoti uzliesmojoša un ļoti sprādzienbīstama.
Degvielas izraisīta uguns vai sprādziens var apdedzināt
jūs un citus un sabojāt īpašumu.
Skatiet Degvielas drošība pilnu sarakstu
par ar degvielu saistītajiem piesardzības pasākumiem.
Degviela filtra nomaiņa
-
Novietojiet
mašīnu uz līdzenas virsmas, izslēdziet asmens
vadības slēdzi un virziet kustības vadības
sviras uz āru Novietošanas pozīcijā.
-
Izslēdziet
dzinēju, izņemiet atslēgu un pagaidiet, līdz
apstājas visas kustīgās daļas, pirms atstājat
ekspluatācijas pozīciju.
-
Satveriet
degvielas līnijas abās degvielas filtra pusēs.
-
Nomainiet
filtru.
Piezīme: Pārliecinieties, ka plūsmas
virziena bultiņa uz nomaiņas filtra ir vērsta pret
dzinēju.
Nekad
neuzstādiet netīru filtru pēc tā izņemšanas
no degvielas līnijas.
-
Noņemiet
skavas, kas bloķē degvielas plūsmu.
Elektriskās sistēmas
apkope
Elektriskās sistēmas
drošība
- Pirms mašīnas remonta
atvienojiet kabeli no akumulatora negatīvās spailes.
- Lādējiet akumulatoru
atvērtā, labi vēdinātā vietā,
prom no dzirkstelēm un liesmām. Atvienojiet lādētāju
pirms akumulatora savienošanas
vai atvienošanas. Valkājiet aizsargapģērbu
un izmantojiet izolācijas instrumentus.
Akumulatora apkope
Akumulatora izņemšana
 |
Brīdinājums |
|
Akumulatora spailes vai metāla
instrumenti var radīt īssavienojumu pret mašīnas
metāla elementiem, radot dzirksteles. Dzirksteles
var izraisīt akumulatora gāzu sprādzienu,
radot personas ievainojumus.
- Noņemot vai uzstādot
akumulatoru, neļaujiet akumulatora spailēm pieskarties
nevienai mašīnas metāla daļai.
- Neļaujiet metāla instrumentiem
radīt īssavienojumu pret akumulatora spailēm un
mašīnas metāla daļām.
-
Novietojiet
mašīnu uz līdzenas virsmas, izslēdziet asmens
vadības slēdzi un virziet kustības vadības
sviras uz āru Novietošanas pozīcijā.
-
Izslēdziet
dzinēju, izņemiet atslēgu un pagaidiet, līdz
apstājas visas kustīgās daļas, pirms atstājat
ekspluatācijas pozīciju.
-
Atvienojiet
negatīvo (melno) zemes kabeli no akumulatora statīva.
Piezīme: Saglabājiet visus stiprinājumus.
 |
Brīdinājums |
|
Nepareizi
noņemot kabeļus no akumulatora, var sabojāt mašīnu
un kabeļus, radot dzirksteles. Dzirksteles var izraisīt
akumulatora gāzu sprādzienu,
radot personas ievainojumus.
- Vienmēr atvienojiet negatīvo
(melno) akumulatora kabeli pirms pozitīvā (sarkanā)
kabeļa atvienošanas.
- Vienmēr savienojiet pozitīvo
(sarkano) akumulatora kabeli pirms savienojat negatīvo (melno)
kabeli.
-
Virziet gumijas
pārsegu nost pa pozitīvo (sarkano) kabeli.
-
Atvienojiet
pozitīvo (sarkano) kabeli no akumulatora statīva (+).
Piezīme: Saglabājiet visus stiprinājumus.
-
Noņemiet
akumulatora fiksatoru un izceliet akumulatoru no akumulatora paliktņa.
G440221
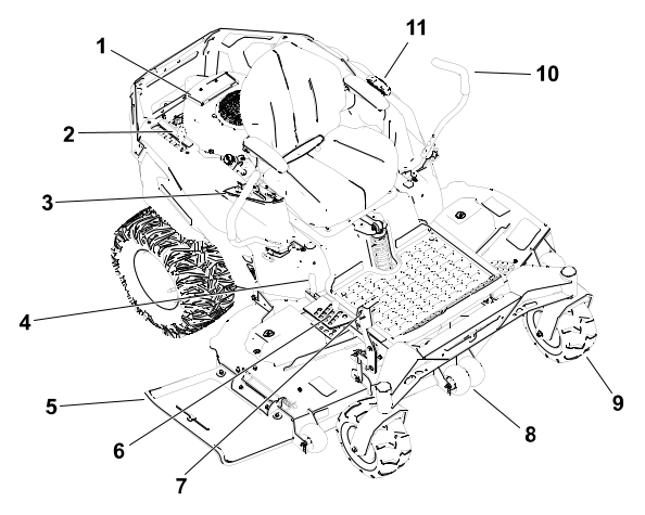
-
Akumulators
-
Spailes apvalks
-
Negatīvais (–) akumulatora statīvs
-
Spārnu uzgrieznis, paplāksnis
un bultskrūve
-
Akumulatora fiksators
-
Bultskrūve, paplāksnis
un uzgrieznis
-
Pozitīvais (+) akumulatora
statīvs
Akumulatora uzlāde
 |
Brīdinājums |
|
Lādējot akumulatoru,
rodas sprādzienbīstamas gāzes.
Nekad nesmēķējiet
akumulatora tuvumā un netuviniet akumulatoru dzirkstelēm
un liesmām.
Vienmēr turiet akumulatoru
pilnībā uzlādētu. Tas ir īpaši
svarīgi, lai novērstu akumulatora bojājumu, kad
temperatūra ir zem 0 °C.
-
Izņemiet
akumulatora komplektu no mašīnas.
-
Uzlādējiet
akumulatoru atbilstoši akumulatora lādētāja
ražotāja instrukcijām.
Nepārlādējiet
akumulatoru; pretējā gadījumā varat to sabojāt.
G003792S
- Pozitīvais
akumulatora statīvs
- Negatīvais
akumulatora statīvs
- Sarkanais
(+) lādētāja vads
- Melnais
(–) lādētāja vads
-
Kad akumulators
ir pilnībā uzlādēts, atvienojiet lādētāju
no kontaktligzdas (ja piemērojams), pēc tam atvienojiet
lādētāja vadus no
akumulatora statīviem.
Akumulatoru tīrīšana
Piezīme: Turiet spailes un visu akumulatora
korpusu tīru, jo netīrs akumulators lēnām
izlādējas.
-
Novietojiet
mašīnu uz līdzenas virsmas, izslēdziet asmens
vadības slēdzi un virziet kustības vadības
sviras uz āru Novietošanas pozīcijā.
-
Izslēdziet
dzinēju un pagaidiet, kamēr visas kustīgās
daļas apstājas, pirms dodaties prom no darba pozīcijas.
-
Izņemiet
akumulatora komplektu no mašīnas.
-
Nomazgājiet
visu korpusu ar cepamās sodas un ūdens maisījumu.
-
Noskalojiet
akumulatoru ar tīru ūdeni.
-
Noklājiet
akumulatora statīvus un kabeļu savienojumus ar Grafo 112X
(pārklājuma) smērvielu vai petrolejas želeju,
lai novērstu sarūsēšanu.
-
Uzstādiet
akumulatoru.
Akumulatora uzstādīšana
-
Novietojiet
akumulatoru uz paliktņa.
-
Izmantojot
iepriekš noņemtos stiprinājumus, uzstādiet
pozitīvo (sarkano) akumulatora kabeli pie pozitīvās
(+) akumulatora spailes.
-
Izmantojot
iepriekš noņemtos stiprinājumus, uzstādiet
negatīvo akumulatora kabeli pie negatīvās (–) akumulatora spailes.
-
Virziet sarkano
spailes apvalku uz pozitīvā (sarkanā) akumulatora
statīva.
-
Fiksējiet
akumulatoru ar fiksatoru.
G440221
-
Akumulators
-
Spailes apvalks
-
Negatīvais (–) akumulatora statīvs
-
Spārnu uzgrieznis, paplāksnis
un bultskrūve
-
Akumulatora fiksators
-
Bultskrūve, paplāksnis
un uzgrieznis
-
Pozitīvais (+) akumulatora
statīvs
Mašīnas iedarbināšana
 |
Brīdinājums |
|
Akumulatora iedarbināšana
var radīt sprādzienbīstamas gāzes.
Nesmēķējiet
akumulatora tuvumā un netuviniet akumulatoru dzirkstelēm
un liesmām.
 |
Bīstami |
|
Vāja akumulatora iedarbināšana,
kas ir saplaisājis vai sasalis, vai ar zemu elektrolītu
līmeni vai atvērtu/īssavienojuma skartu
akumulatora šūnu, var izraisīt
sprādzienu, izraisot nopietnas personas traumas.
Neiedarbiniet
vāju akumulatoru, ja pastāv šie apstākļi.
-
Pirms iedarbināšanas
pārbaudiet un notīriet koroziju no akumulatora spailēm.
Pārliecinieties, vai savienojumi ir cieši.
 |
Uzmanību |
|
Korozija
vai vaļīgi savienojumi var izraisīt nevēlamus
elektriskā sprieguma lēcienus jebkurā iedarbināšanas
procedūras laikā.
Nemēģiniet
iedarbināt mašīnu, ja akumulatora spailes ir vaļīgas
vai sarūsējušas, pretējā gadījumā
var rasties dzinēja bojājums.
-
Pārliecinieties,
vai papildu akumulators ir vesels un pilnībā uzlādēts
svina-skābes akumulators ar 12,6 V vai lielāku spriegumu.
Piezīme: Lai samazinātu sprieguma
kritumu starp sistēmām, izmantojiet atbilstoša izmēra
iedarbināšanas kabeļus ar īsu garumu. Pārliecinieties,
ka kabeļi ir kodēti ar
krāsām vai tiem ir atzīmēta pareizā
polaritāte.
 |
Brīdinājums |
|
Akumulatori
satur skābes un rada sprādzienbīstamas gāzes.
- Vienmēr pasargājiet
acis un seju no akumulatoriem.
- Neliecieties pāri akumulatoriem.
Piezīme: Pārliecinieties, ka ventilācijas
vāciņi ir cieši aizvērti un līmenī.
Ja ir pieejama, uzlieciet mitru lupatiņu pāri visiem
ventilācijas vāciņiem
uz abiem akumulatoriem. Pārliecinieties arī, lai mašīnas
nesaskartos un abas elektrosistēmas ir izslēgtas
un ar vienādu nominālo sistēmas
spriegumu. Šīs instrukcijas attiecas tikai uz negatīvām
zemējuma sistēmām.
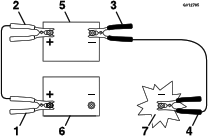
-
Pievienojiet
pozitīvo (+) kabeli pie pozitīvās (+) izlādētā
akumulatora spailes, kas ir savienota ar starteri vai solenoīdu,
kā parādīts attēlā:
g012785
- Pozitīvais
(+) izlādētā akumulatora kabelis
- Pozitīvais
(+) papildu akumulatora kabelis
- Negatīvais
(–) papildu akumulatora kabelis
- Negatīvais
(–) dzinēja bloka kabelis
- Papildu
akumulators
- Izlādētais
akumulators
- Dzinēja
bloks
-
Pievienojiet
otru pozitīvā (+) iedarbināšanas kabeļa
galu pie otrās mašīnas akumulatora pozitīvās
spailes.
-
Pievienojiet
otru negatīvā (–) iedarbināšanas
kabeļa galu pie otrās mašīnas akumulatora
negatīvā statīva.
-
Pievienojiet
otru negatīvā (–) iedarbināšanas
kabeļa galu pie zemējuma punkta, piemēram, pie nekrāsotas
bultskrūves vai šasijas daļas.
-
Iedarbiniet
otras mašīnas dzinēju. Ļaujiet tam dažas
minūtes darboties, pēc tam iedarbiniet savu dzinēju.
-
Noņemiet
kabeļus savienošanai apgrieztā secībā.
-
Uzstādiet
pārsegu uz iedarbināšanas statīva.
Drošinātāja
apkope
Elektrisko sistēmu aizsargā
drošinātāji. Tiem nav nepieciešama apkope,
tomēr, ja drošinātāju izsit, pārbaudiet
elementa/ķēdes atteici vai īssavienojumu.
-
Novietojiet
mašīnu uz līdzenas virsmas, izslēdziet asmens
vadības slēdzi un virziet kustības vadības
sviras uz āru Novietošanas pozīcijā.
-
Izslēdziet
dzinēju, izņemiet atslēgu un pagaidiet, līdz
apstājas visas kustīgās daļas, pirms atstājat
ekspluatācijas pozīciju.
-
Nomainiet
izsisto drošinātāju pret jaunu drošinātāju.
G440132
- Uzlādes
ķēde (15 A)
- Galvenais
(25 A)
Piedziņas sistēmas
apkope
Riepu spiediena pārbaude
Saglabājiet gaisa spiedienu
priekšējās un aizmugures riepās, kā
norādīts. Nevienmērīgs riepu spiediens var
radīt nevienmērīgu griezumu.
Pārbaudiet spiedienu pie vārsta kātiņa, kad
riepas ir aukstas, lai iegūtu visprecīzāko spiediena
lasījumu.
-
Uzpildiet
priekšējās ritentiņu riepas līdz 103 kPa
vai līdz spiedienam, kas norādīts uz sānu
sieniņas (līdz tam, kas ir zemāks).
-
Uzpildiet
aizmugures piedziņas riteņu riepas līdz 0,9 bar
(90 kPa).
Riteņu balsta uzgriežņu
pārbaude
-
Pārbaudiet
un pievelciet riteņa balsta uzgriežņus līdz 129 Nm.
Sekošanas regulēšana
Braucot ar mašīnu
turpgaitā pilnā ātrumā pa gludu, līdzenu
virsmu, ja mašīnu velk uz vienu pusi, regulējiet
sekošanu.
Ja mašīnu velk pa
kreisi, regulējiet labās puses kustības vadības
sviru; ja mašīnu velk pa labi, regulējiet kreisās
puses kustības vadības sviru.
Piezīme: Jūs varat regulēt
sekošanu tikai, braucot turpgaitā.
-
Novietojiet
mašīnu uz līdzenas virsmas, izslēdziet asmens
vadības slēdzi un virziet kustības vadības
sviras uz āru Novietošanas pozīcijā.
-
Izslēdziet
dzinēju, izņemiet atslēgu un pagaidiet, līdz
apstājas visas kustīgās daļas, pirms atstājat
ekspluatācijas pozīciju.
-
Atrodiet
sekošanas regulēšanas bultskrūvi pie kustības
vadības sviras konkrētajā pusē, kuru nepieciešams
regulēt.
-
Pagrieziet
bultskrūvi, lai samazinātu konkrētā riteņa
ātrumu.
Piezīme: Nedaudz pagrieziet bultskrūvi,
lai veiktu nelielu regulēšanu.
-
Iedarbiniet
mašīnu un brauciet turpgaitā pa gludu, līdzenu
virsmu, kad kustības vadības sviras ir pilnībā
turpgaitā, lai pārbaudītu,
vai mašīna brauc taisni. Pēc nepieciešamības
atkārtojiet šo procedūru.
Hidrauliskās sistēmas
apkope
Hidrauliskās sistēmas
drošība
- Ja hidrauliskais šķidrums
iekļūst ādā, nekavējoties vērsieties
pēc medicīniskas palīdzības. Iekļuvušais
šķidrums ir jāizņem
ķirurģiski dažu stundu laikā ārstam,
kurš pārzina šāda veida ievainojumus; pretējā
gadījumā var rasties gangrēna.
- Pārliecinieties, ka visas
hidrauliskā šķidruma šļūtenes
un līnijas ir labā stāvoklī un visi hidrauliskie
savienojumi un fitingi ir cieši
pirms spiediena izmantošanas hidrauliskajā sistēmā.
- Turiet savu ķermeni un rokas
atstatu no noplūdēm no caurumiem vai sprauslām,
kas izšļāc hidraulisko šķidrumu lielā
spiedienā.
- Izmantojiet kartonu vai papīru,
nevis savas rokas, lai atrastu hidrauliskās noplūdes.
- Droši atbrīvojiet
visu spiedienu hidrauliskajā sistēmā pirms jebkādu
darbu veikšanas hidrauliskajā sistēmā.
Hidrauliskā šķidruma specifikācijas
Hidrauliskā šķidruma
tips: Toro Premium Hydro Oil (vēlams)
vai Mobil 1™ 15W50
Hidrauliskās sistēmas
tilpums: 2,3 l
katrā pusē
Izmantojiet norādīto
šķidrumu. Citi šķidrumi var bojāt sistēmu.
Pārbauda hidraulisko šķidrumu
-
Novietojiet
mašīnu uz līdzenas virsmas, izslēdziet asmens
vadības slēdzi un virziet kustības vadības
sviras uz āru Novietošanas pozīcijā.
-
Izslēdziet
dzinēju, izņemiet atslēgu un pagaidiet, līdz
apstājas visas kustīgās daļas, pirms atstājat
ekspluatācijas pozīciju.
-
Ļaujiet
mašīnai atdzist.
Hidraulisko
šķidrumu pārbaudiet tikai tad, kad sistēma
ir vēsā stāvoklī (zem 38 °C). Šķidruma
pievienošana, kad sistēma ir
silta, var pārpildīt transmisijas tiltu un sabojāt
ventilācijas mezglu.
-
Noņemiet
uzpildes atveres aizbāzni un pārliecinieties, ka atveres
apakšā parādās šķidrums.
-
Ja līmenis
ir zems, caur atveri pievienojiet norādīto šķidrumu,
lai to paceltu līdz atveres apakšai.
-
Uzstādiet
spraudni un pievelciet to līdz 13,6 N∙m.
Hidrauliskā šķidruma
un filtra nomaiņa
Nemainiet hidraulisko šķidrumu
bez filtra nomaiņas, ja vien šķidrums nav bijis
piesārņots vai ļoti karsts. Pretējā
gadījumā varat piesārņot
sistēmu un to sabojāt.
-
Novietojiet
mašīnu uz līdzenas virsmas, izslēdziet asmens
vadības slēdzi un virziet kustības vadības
sviras uz āru Novietošanas pozīcijā.
-
Izslēdziet
dzinēju, izņemiet atslēgu un pagaidiet, līdz
apstājas visas kustīgās daļas, pirms atstājat
ekspluatācijas pozīciju.
-
Ļaujiet
mašīnai atdzist.
Hidraulisko
šķidrumu nomainiet tikai tad, kad sistēma ir vēsā
stāvoklī (zem 38 °C). Mainot šķidrumu,
kad sistēma ir silta, var pārpildīt
transmisijas tiltu un sabojāt ventilācijas mezglu.
-
Noņemiet
filtra aizsargu no transmisijas tilta.
-
Rūpīgi
notīriet vietu ap filtru.
Nepieļaujiet
netīrumu iekļūšanu hidrauliskajā sistēmā,
citādi var rasties piesārņojums.
-
Novietojiet
iztukšošanas tvertni zem filtra.
-
Nomainiet
filtru.
-
Uzstādiet
filtra aizsargu. Pievelciet bultskrūves līdz 7 N∙m.
-
Noņemiet
uzpildes atveres aizbāzni un caur atveri pievienojiet norādīto
šķidrumu, lai to paceltu līdz atveres apakšai.
-
Uzstādiet
spraudni un pievelciet to līdz 13,6 N∙m.
-
Atkārtojiet
procedūru otram transmisijas tiltam.
-
Hidrauliskās sistēmas
atgaisošana
-
Novietojiet
mašīnu uz līdzenas virsmas, izslēdziet asmens
vadības slēdzi un virziet kustības vadības
sviras uz āru Novietošanas pozīcijā.
-
Izslēdziet
dzinēju, izņemiet atslēgu un pagaidiet, līdz
apstājas visas kustīgās daļas, pirms atstājat
ekspluatācijas pozīciju.
-
Paceliet
mašīnas aizmuguri uz domkrata statņiem pietiekami
augstu, lai paceltu piedziņas riteņus no zemes.
-
Palaidiet
dzinēju, pārvietojiet droseles vadības ierīci
uz priekšu uz ½ droseles pozīcijas un atvienojiet
stāvbremzi, pārvietojot abas
kustības vadības sviras uz leju centrālā,
atbloķētā pozīcijā.
-
Kad apvadvārsti
ir atvērti un dzinējs darbojas, lēnām pārvietojiet
kustības vadības sviras gan uz priekšu, gan uz aizmuguri
5 vai 6 reizes.
-
Kad apvadvārsti
ir aizvērti un dzinējs darbojas, lēnām pārvietojiet
kustības vadības sviras gan uz priekšu, gan uz aizmuguri
5 vai 6 reizes.
-
Izslēdziet
dzinēju un izņemiet atslēgu.
-
Pārbaudiet
hidrauliskā šķidruma līmeni un pēc nepieciešamības
pievienojiet šķidrumu.
-
Atkārtojiet
procedūru pēc vajadzības, līdz gaiss no sistēmas
ir pilnībā izvadīts.
Piezīme: Gaiss ir pilnībā izplūdis,
kad transmisijas tilts darbojas ar normālu trokšņa
līmeni un ar normālu ātrumu vienmērīgi
pārvietojas uz priekšu
un atpakaļgaitā.
-
Noņemiet
domkrata statīvus.
Siksnas apkope
Siksnu pārbaude
-
Novietojiet
mašīnu uz līdzenas virsmas, izslēdziet asmens
vadības slēdzi un virziet kustības vadības
sviras uz āru Novietošanas pozīcijā.
-
Izslēdziet
dzinēju un pagaidiet, kamēr visas kustīgās
daļas apstājas, pirms dodaties prom no darba pozīcijas.
-
Iestatiet
griezšanas augstumu zemākajā griezšanas pozīcijā.
-
Pārbaudiet
siksnas nodilumu. Nomainiet siksnu, ja tā ir nodilusi.
Nodilušas
siksnas pazīmes ietver čīkstēšanu siksnas
rotēšanas laikā, asmeņu slīdēšanu
zāles pļaušanas laikā un nobružātas
malas, apdeguma pazīmes, un plaisas
siksnā.
Pļāvēja siksnas
nomaiņa
Nodilušas siksnas pazīmes
ietver čīkstēšanu siksnas rotēšanas
laikā, asmeņu slīdēšanu zāles
pļaušanas laikā un nobružātas
malas, apdeguma pazīmes, un plaisas siksnā.
Nomainiet pļāvēja siksnu, ja pastāv kāds
no šiem apstākļiem.
-
Novietojiet
mašīnu uz līdzenas virsmas, izslēdziet asmens
vadības slēdzi un virziet kustības vadības
sviras uz āru Novietošanas pozīcijā.
-
Izslēdziet
dzinēju, izņemiet atslēgu un pagaidiet, līdz
apstājas visas kustīgās daļas, pirms atstājat
ekspluatācijas pozīciju.
-
Iestatiet
griezšanas augstumu zemākajā griezšanas pozīcijā.
-
Atlaidiet
pļāvēja korpusa aizkaru.
-
Noņemiet
skriemeļa pārsegus.
-
Atskrūvējiet
uzgriezni, kas fiksē režģi pie dzenrata skriemeļa.
-
Izmantojot
atsperes noņemšanas rīku (Toro daļas Nr. 92-5771),
noņemiet dzenrata atsperi no korpusa Āķis, lai noņemtu
spriegumu no dzenrata skriemeļa.
 |
Brīdinājums |
|
Atspere
ir nospriegota, kad tā ir uzstādīta, un tā
var radīt personas ievainojumu.
Esiet uzmanīgs,
noņemot siksnu.
G453682
- Korpusa
skriemelis
- Plāvēja
siksna
- Dzinēja
skriemelis
- Dzenrata
skriemelis
- Atspere
- Atsperes
noņemšanas rīks
-
Noritiniet
siksnu no skriemeļiem.
-
Virziet jauno
siksnu ar dzinēja skriemeli un pļāvēja skriemeļiem.
-
Izmantojiet
atsperes noņemšanas rīku, lai uzstādītu
dzenrata atsperi uz korpusa āķa, piemērojot spriegumu
dzenrata skriemelim un pļāvēja
siksnai.
-
Novietojiet
režģi pret dzenrata kātu, kā parādīts,
un pievelciet uzgriezni.
-
Uzstādiet
skriemeļa pārsegus.
-
Pievelciet
pļāvēja korpusa aizkara bultskrūves.
Pļāvēja korpusa
apkope
Asmens drošība
- Regulāri pārbaudiet
asmeņu nodilumu vai bojājumus.
- Piesargieties, pārbaudot
asmeņus. Aptiniet asmeni(-ņus) vai valkājiet cimdus
un piesargieties, veicot to apkopi. Tikai nomainiet
bojātus asmeņus; nekad tos netaisnojiet
vai nemetiniet.
- Esiet piesardzīgi mašīnām
ar vairākiem asmeņiem, jo viena asmens pagriešana
var likt griezties citiem asmeņiem.
- Nomainiet nodilušus vai
bojātus asmeņus un bultskrūves komplektos, lai saglabātu
līdzsvaru.
Asmens apkope
Lai nodrošinātu nepārspējamu
griezuma kvalitāti, turiet asmeņus asus. Ērtai asināšanai
un nomaiņai glabājiet pieejamus papildus
asmeņus.
Nomainiet asmeņus, ja tie
saduras ar cietu objektu vai asmens nav līdzsvarā, vai
ir saliekts.
Pirms asmeņu pārbaudes vai apkopes
-
Novietojiet
mašīnu uz līdzenas virsmas, izslēdziet asmens
vadības slēdzi un virziet kustības vadības
sviras uz āru Novietošanas pozīcijā.
-
Izslēdziet
dzinēju, izņemiet atslēgu un pagaidiet, līdz
apstājas visas kustīgās daļas, pirms atstājat
ekspluatācijas pozīciju.
-
Atvienojiet
kvēlsveces vadus no kvēlsvecēm.
Saliektu asmeņu pārbaude
Šīs
procedūras veikšanai mašīnai ir jābūt
uz līdzenas virsmas.
-
Paceliet
pļāvēja korpusu augstākajā griezšanas
augstuma pozīcijā.
-
Valkājot
biezi polsterētus cimdus vai citus piemērotus roku aizsarglīdzekļus,
lēnām pagrieziet asmeni pozīcijā, kas ļauj
jums izmērīt attālumu
starp griezšanas malu un līdzenu virsmu.
-
Mēriet
no asmens uzgaļa līdz līdzenai virsmai.
G451422
- Asmens
(mērīšanas pozīcijā)
- Līdzena
virsma
- Izmērītais
attālums starp asmeni un virsmu (A)
-
Pagrieziet
to pašu asmeni par 180 grādiem, lai pretējā
asmens mala tagad būtu tajā pašā pozīcijā.
G451423
- Iepriekš
mērītā asmens mala
- Pretējā
asmens mala
-
Mēriet
no asmens uzgaļa līdz līdzenai virsmai.
G451422
- Asmens
(mērīšanas pozīcijā)
- Līdzena
virsma
- Izmērītais
attālums starp asmeni un virsmu (B)
-
Ja atšķirība
starp A un B ir lielāka par 3 mm, nomainiet asmeni.
Piezīme: Ja nomaināt asmeni un atšķirība
turpina pārsniegt 3 mm, iespējams, ka ir saliekta
asmens vārpsta. Sazinieties ar pilnvaroto
servisa izplatītāju, lai veiktu apkopi.
-
Atkārtojiet
šo procedūru katram asmenim.
Asmeņu noņemšana
-
Turiet asmens
galu, izmantojot lupatu vai polsterētu cimdu.
-
Noņemiet
asmeni, kā parādīts.
Asmeņu asināšana
-
Izmantojiet
vīli, lai asinātu griezšanas malu abos asmens galos.
Raugieties saglabāt oriģinālo leņķi
.
Piezīme: Izņemiet vienādu materiāla
daudzumu no abām griezšanas malām, lai asmens saglabātu
līdzsvaru.
-
Pārbaudiet
asmens līdzsvaru
, novietojot to uz asmens
līmeņotāja
.
Piezīme: Ja asmens paliek horizontālā
pozīcijā, asmens ir līdzsvarots un to var izmantot.
Ja asmens nav
līdzsvarots, novīlējiet nedaudz metāla tikai
no buras zonas.
-
Atkārtojiet
šo procedūru, līdz asmens ir līdzsvarots.
Asmeņu uzstādīšana
 |
Brīdinājums |
|
Mašīnas darbināšana
pēc nepareizi uzstādīta asmeņu bloka un/vai
neizmantojot oriģinālo Toro asmeni un asmens aparatūru,
var atļaut asmens vai asmens elementa izmešanu no korpusa
apakšas, izraisot nopietnas traumas
vai nāvi.
Vienmēr uzstādiet
oriģinālos Toro asmeņus un asmens aparatūru
saskaņā ar instrukcijām.
-
Uzstādiet
asmeni, kā parādīts.
Piezīme: Izliektajai asmens daļai
ir jābūt vērstai uz augšu pret pļāvēja
iekšpusi, lai nodrošinātu pareizu griezšanu.
-
Pievelciet
asmens bultskrūvi no 136
līdz 149 Nm.
Pļāvēja korpusa
atstāšana
Pārliecināties, ka
pļāvēja korpuss ir līmenī ikreiz, kad
uzstādāt pļāvēja korpusu vai kad redzat
nelīdzenu zāliena pļāvumu.
Pļāvēja korpusa līmeņošanas sagatavošana
-
Novietojiet
mašīnu uz līdzenas virsmas, izslēdziet asmens
vadības slēdzi un virziet kustības vadības
sviras uz āru Novietošanas pozīcijā.
-
Izslēdziet
dzinēju, izņemiet atslēgu un pagaidiet, līdz
apstājas visas kustīgās daļas, pirms atstājat
ekspluatācijas pozīciju.
-
Pārliecinieties,
ka riepas ir piepumpētas līdz pareizajai specifikācijai
un ritentiņi ir vērsti taisni uz priekšu.
-
Pārbaudiet
saliektus pļāvēja korpusa asmeņus; ja asmeņi
ir saliekti, noņemiet un nomainiet tos.
-
Paceliet
pļāvēju korpusu līdz 76 mm augstumā
no griezšanas iestatījuma.
Pļāvēja korpusa līmeņa pārbaude
-
Novietojiet
asmeņus blakus vienu otram.
-
Mēriet
vietās
un
no līdzenas virsmas līdz
asmens galu griezšanas malai
.
Atšķirība starp
mērījumiem nedrīkst būt lielāka par
5 mm. Ir mērījums ir lielāks, regulējiet blakus
līmeni.
-
Novietojiet
1. asmeni no priekšpuses uz aizmuguri.
-
Mēriet
vietās
un
no līdzenas virsmas līdz
asmens galu griezšanas malai
.
Priekšējā asmens
galam jābūt 1,6 līdz 7,9 mm zemāk nekā
aizmugures asmens galam. Ir mērījums nav pareizs, regulējiet
no priekšpuses uz aizmuguri
līmeni.
Pļāvēja korpusa atstāšana
-
Iestatiet
pretskrāpēšanas veltņus augšējos
caurumos vai pilnībā izņemiet tos no šīs
procedūras.
-
Iestatiet
griezšanas augstuma sviru 76 mm pozīcijā.
-
Novietojiet
2 blokus
(katru 6,6 cm biezu) zem
katras korpusa priekšējās malas puses.
Nenovietojiet
ķīļus zem pretskrāpēšanas veltņa
kronšteiniem.
-
Novietojiet
2 blokus
(katru 73 mm biezu) zem
katras korpusa aizmugures malas puses.
-
Atskrūvējiet
apakšējos stiprinājumus, kas fiksē kronšteinus
pie visiem 4 korpusa stūriem, un pārliecinieties, ka pļāvēja
korpuss droši sēž
uz visiem 4 blokiem.
-
Likvidējiet
korpusa kronšteinu vaļīgumu un pārliecinieties,
ka korpusa pacelšanas kājas svira ir nospiesta atpakaļ
pret atduri.
-
Pievelciet
stiprinājumus.
-
Pārliecinieties,
ka bloki cieši pieguļ zem korpusa un visu agregātu
bultskrūves ir cieši pievilktas.
-
Pārbaudiet
līmeni no vienas puses uz otru un no priekšpuses uz aizmuguri;
atkārtojiet šo procedūru, līdz mēri
ir pareizi.
Pļāvēja korpusa
noņemšana
-
Novietojiet
mašīnu uz līdzenas virsmas, izslēdziet asmens
vadības slēdzi un virziet kustības vadības
sviras uz āru Novietošanas pozīcijā.
-
Izslēdziet
dzinēju, izņemiet atslēgu un pagaidiet, līdz
apstājas visas kustīgās daļas, pirms atstājat
ekspluatācijas pozīciju.
-
Samaziniet
griezšanas augstumu līdz zemākajai pozīcijai.
-
Atlaidiet
pļāvēja korpusa aizkaru.
-
Izņemiet
cilpveida tapu un paplāksni no priekšējā balsta
stieņa
un izņemiet stieni no korpusa
kronšteina
.
Piezīme: Saglabājiet visas detaļas
vēlākai uzstādīšanai.
-
Noņemiet
augšējos stiprinājumus, fiksējot kronšteinus
pie visām 4 pacelšanas svirām.
-
Virziet pļāvēja
korpusu atpakaļ, lai noņemtu pļāvēja
siksnu no dzinēja skriemeļa.
-
Virziet pļāvēja
korpusu ārā no mašīnas apakšas.
Pļāvēja korpusa
uzstādīšana
-
Novietojiet
mašīnu uz līdzenas virsmas, izslēdziet asmens
vadības slēdzi un virziet kustības vadības
sviras uz āru Novietošanas pozīcijā.
-
Izslēdziet
dzinēju, izņemiet atslēgu un pagaidiet, līdz
apstājas visas kustīgās daļas, pirms atstājat
ekspluatācijas pozīciju.
-
Virziet pļāvēja
korpusu zem mašīnas.
-
Samaziniet
griezšanas augstumu līdz zemākajai pozīcijai.
-
Uzstādiet
pacelšanas savienojumus pie korpusa pacelšanas svirām,
izmantojot iepriekš noņemtos stiprinājumus.
-
Pievienojiet
priekšējo balsta stieni
pie korpusa kronšteina
ar cilpveida tapu un starpliku.
-
Uzstādiet
pļāvēja siksnu uz dzinēja skriemeļa.
-
Pievelciet
pļāvēja korpusa aizkara bultskrūves.
Zāles novirzītāja
nomaiņa
 |
Bīstami |
|
Atvērta izmetes atvere ļauj
objektiem lidot pret jums vai blakusstāvētājiem.
Kā arī var rasties saskare ar asmeni. Lidojoši
objekti vai saskare ar asmeni izraisīs
nopietnas traumas vai nāvi.
Nedarbiniet pļāvēju
ar paceltu, noņemtu vai mainītu izmetes novirzītāju,
ja vien nav uzstādīta un pareizi darbojas zāles
savākšanas sistēma vai
mulčēšanas komplekts.
-
Novietojiet
mašīnu uz līdzenas virsmas, izslēdziet asmens
vadības slēdzi un virziet kustības vadības
sviras uz āru Novietošanas pozīcijā.
-
Izslēdziet
dzinēju, izņemiet atslēgu un pagaidiet, līdz
apstājas visas kustīgās daļas, pirms atstājat
ekspluatācijas pozīciju.
-
Atvienojiet
atsperi no ieroba novirzītāja kronšteinā un
virziet stieni ārā no metinātā korpusa kronšteiniem,
atsperes un izmešanas novirzītāja.
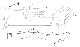
G456086
- Stienis
- Zāles
novirzītājs
- Atspere
- Korpusa
kronšteini
- Cilpveida
tapa
- Virs
stieņa uzstādītā atspere
-
Noņemiet
bojāto vai nodilušo zāles novirzītāju.
-
Novietojiet
jauno izmešanas novirzītāju ar kronšteina
galiem starp metinātajiem kronšteiniem uz korpusa, kā
parādīts.
G456085
- Uzstādīts
stienis un atsperes bloks
- Atsperes
cilpveida gals uzstādīts novirzītāka kronšteina
ierobā
- Īsais
stieņa gals pārvietots aiz pļāvēja kronšteina
- Īso
galu fiksē pļāvēja kronšteins
- Cilpveida
tapa
-
Fiksējiet
stieni un atsperes bloku, pagriežot to, lai stieņa īsais
gals ir aiz priekšējā kronšteina, kas piemetināts
pie korpusa.
-
Uzstādiet
cilpveida tapu stieņa galā.
Zāles
novirzītāja atsperei ir jābūt nospriegotai
zemākajā pozīcijā. Paceliet novirzītāju,
lai pārbaudītu, ka tas fiksējas
pilnībā nolaistā pozīcijā.
Tīrīšana
Atkritumu iznīcināšana
Dzinēja
eļļa, akumulatori, hidrauliskais šķidrums
un dzinēja dzesēšanas šķidrums ir vides
piesārņotāji. Iznīciniet tos saskaņā
ar jūsu valsts vai vietējiem noteikumiem.
Traucējummeklēšana
Degvielas tvertnei ir saplīšanas
pazīmes vai mašīna bieži parāda pazīmes,
ka beigsies degviela.
| Iespējamais
cēlonis |
Korektīvais
pasākums |
| Gaisa tīrītāja
papīra elements ir aizsērējis.
|
-
Iztīriet
papīra elementu.
|
Dzinējs pārkarst.
| Iespējamais
cēlonis |
Korektīvais
pasākums |
| Ir pārāk liela
dzinēja slodze. |
-
Samaziniet
pamata ātrumu.
|
| Karterī ir zems eļļas
līmenis. |
-
Pievienojiet
karterī eļļu.
|
| Dzesēšanas
spuras un gaisa atveres zem dzinēja pūtēja korpusa
ir aizsērējušas.
|
-
Iztīriet
aizsērējumu no dzesēšanas spurām un
gaisa atverēm.
|
| Gaisa tīrītājs
ir netīrs. |
-
Iztīriet
vai nomainiet gaisa tīrītāja elementu.
|
| Degvielas sistēmā
ir netīrumi, ūdens vai sastāvējusies degviela. |
-
Sazinieties
ar pilnvaroto servisa izplatītāju.
|
Starteris neiedarbojas.
| Iespējamais
cēlonis |
Korektīvais
pasākums |
| Asmens vadības slēdzis
ir ieslēgts. |
-
Atvienojiet
asmens vadības slēdzi.
|
| Kustības vadības
sviras nav novietošanas pozīcijā. |
-
Virziet kustības
vadības sviras uz āru līdz novietošanas pozīcijai.
|
| Akumulators ir beigts. |
-
Uzlādējiet
akumulatoru.
|
| Elektriskie savienojumi
ir sarūsējuši vai vaļīgi. |
-
Pārbaudiet,
vai elektriskajiem savienojumiem ir labs kontakts.
|
| Ir izsists drošinātājs. |
-
Nomainiet
drošinātāju.
|
| Ir bojāts relejs
vai slēdzis. |
-
Sazinieties
ar pilnvaroto servisa izplatītāju.
|
Dzinējs neiedarbojas, iedarbojas
ar grūtībām vai neturpina darboties.
| Iespējamais
cēlonis |
Korektīvais
pasākums |
| Degvielas tvertne ir tukša. |
-
Uzpildiet
degvielas tvertni.
|
| Slāpētājs
(ja piemērojams) nav ieslēgts.
|
-
Pārvietojiet
slāpētāja sviru pozīcijā Iesl.
|
| Gaisa tīrītājs
ir netīrs. |
-
Iztīriet
vai nomainiet gaisa tīrītāja elementu.
|
| Kvēlsveces vads(-i)
ir vaļīgs(-i) vai atvienots(-i).
|
-
Uzstādiet
vadu(-s) uz kvēlsveces.
|
| Kvēlsvece(-s) ir
iebīdīta(-s), netīra(-s), vai atstarpe nav pareiza. |
-
Uzstādiet
jaunu(-as) kvēlsveci(-es) ar pareizu atstarpi.
|
| Degvielas filtrā
ir netīrumi. |
-
Nomainiet
degvielas filtru.
|
| Degvielas sistēmā
ir netīrumi, ūdens vai sastāvējusies degviela. |
-
Sazinieties
ar pilnvaroto servisa izplatītāju.
|
| Degvielas tvertnē
ir nepareiza degviela. |
-
Iztukšojiet
tvertni un nomainiet degvielu ar pareiza tipa degvielu.
|
| Karterī ir zems eļļas
līmenis. |
-
Pievienojiet
karterī eļļu.
|
Dzinējs zaudē jaudu.
| Iespējamais
cēlonis |
Korektīvais
pasākums |
| Ir pārāk liela
dzinēja slodze. |
-
Samaziniet
pamata ātrumu.
|
| Gaisa tīrītājs
ir netīrs. |
-
Iztīriet
gaisa tīrītāja elementu.
|
| Karterī ir zems eļļas
līmenis. |
-
Pievienojiet
karterī eļļu.
|
| Dzesēšanas
spuras un gaisa atveres zem dzinēja pūtēja korpusa
ir aizsērējušas.
|
-
Iztīriet
aizsērējumu no dzesēšanas spurām un
gaisa atverēm.
|
| Kvēlsvece(-s) ir
iebīdīta(-s), netīra(-s), vai atstarpe nav pareiza. |
-
Uzstādiet
jaunu(-as) kvēlsveci(-es) ar pareizu atstarpi.
|
| Degvielas tvertnes atvere
ir bloķēta. |
-
Sazinieties
ar pilnvaroto servisa izplatītāju.
|
| Degvielas filtrā
ir netīrumi. |
-
Nomainiet
degvielas filtru.
|
| Degvielas sistēmā
ir netīrumi, ūdens vai sastāvējusies degviela. |
-
Sazinieties
ar pilnvaroto servisa izplatītāju.
|
| Degvielas tvertnē
ir nepareiza degviela. |
-
Sazinieties
ar pilnvaroto servisa izplatītāju.
|
Mašīna nebrauc.
| Iespējamais
cēlonis |
Korektīvais
pasākums |
| Apiešanas vārsti
ir atvērti. |
-
Aizveriet
vilkšanas vārstus.
|
| Vilkšanas siksnas
ir nodilušas, vaļīgas vai saplīsušas. |
-
Sazinieties
ar pilnvaroto servisa izplatītāju.
|
| Vilkšanas siksnas
ir nost no skriemeļiem.
|
-
Sazinieties
ar pilnvaroto servisa izplatītāju.
|
| Ir radusies transmisijas
atteice. |
-
Sazinieties
ar pilnvaroto servisa izplatītāju.
|
Mašīna pārāk
spēcīgi vibrē.
| Iespējamais
cēlonis |
Korektīvais
pasākums |
| Griezšanas asmens(-ņi)
ir saliekts(-i) vai nav līdzsvarā.
|
-
Uzstādiet
jaunu(-s) asmeni(-ņus).
|
| Asmens montāžas
bultskrūve ir vaļīga.
|
-
Pievelciet
asmens montāžas bultskrūvi.
|
| Dzinēja montāžas
bultskrūves ir vaļīgas.
|
-
Pievelciet
dzinēja montāžas bultskrūves.
|
| Dzinēja skriemelis,
dzenrata skriemelis vai asmens skriemelis ir vaļīgs. |
-
Pievelciet
atbilstošo skriemeli.
|
| Dzinēja skriemelis
ir bojāts. |
-
Sazinieties
ar pilnvaroto servisa izplatītāju.
|
| Asmens vārpsta ir
saliekta. |
-
Sazinieties
ar pilnvaroto servisa izplatītāju.
|
| Motora montāža
ir vaļīga vai nodilusi.
|
-
Sazinieties
ar pilnvaroto servisa izplatītāju.
|
Griezšanas augstums ir nevienmērīgs.
| Iespējamais
cēlonis |
Korektīvais
pasākums |
| Asmens(-ņi) ir neass(-i). |
-
Uzasiniet
asmeni(-ņus).
|
| Griezšanas asmens(-ņi)
ir saliekts(-i). |
-
Uzstādiet
jaunu(-s) asmeni(-ņus).
|
| Pļāvējs
nav līmenī. |
-
Līmeņojiet
pļāvēju no vienas puses uz otru un no priekšpuses
uz aizmuguri.
|
| Pretskrāpēšanas
veltnis (ja piemērojams) nav iestatīts pareizi. |
-
Regulējiet
pretskrāpēšanas veltņa riteņu augstumu.
|
| Pļāvēja
korpusa apakša ir netīra.
|
-
Notīriet
pļāvēja korpusa apakšu.
|
| Ir nepareizs riepu spiediens. |
-
Regulējiet
riepu spiedienu.
|
| Asmens vārpsta ir
saliekta. |
-
Sazinieties
ar pilnvaroto servisa izplatītāju.
|
Asmeņi nerotē.
| Iespējamais
cēlonis |
Korektīvais
pasākums |
| Piedziņas siksna
ir nodilusi, vaļīga vai saplīsusi.
|
-
Uzstādiet
jaunu piedziņas siksnu.
|
| Piedziņas siksna
ir nost no skriemeļa. |
-
Uzstādiet
piedziņas siksnu un pārbaudiet regulēšanas
vārpstu un siksnas vadotņu pareizu pozīciju.
|
| Jaudas noņēmēja
(PTO) slēdzis vai PTO sajūgs ir bojāts. |
-
Sazinieties
ar pilnvaroto servisa izplatītāju.
|
| Pļāvējs
siksna ir nodilusi, vaļīga vai saplīsusi. |
-
Uzstādiet
jaunu pļāvēja siksnu.
|