Hooldus
Hoolduse ohutusteave
- Kui jätate süütevõtme
süütelukku, võib keegi kogemata mootori käivitada
ja teile või kõrvalistele isikutele raskeid vigastusi
tekitada. Enne hoolduse tegemist eemaldage
võti süütelülitist.
- Enne juhikohalt lahkumist tehke
järgmist.
- Parkige masin tasasele pinnasele.
- Vabastage hoovad.
- Rakendage seisupidur.
- Lülitage mootor välja
ja eemaldage võti.
- Enne hooldustööde tegemist
oodake, et masin täielikult maha jahtuks.
- Ärge lubage väljaõppeta
isikul masinat hooldada.
- Hoidke käed ja jalad liikuvatest
osadest ja kuumadest pindadest eemale. Võimalusel ärge teostage
reguleerimisi töötava mootoriga.
- Hoidke kõik kaitsmed, kaitsepiirded,
lülitid ja kõik ohutusvahendid paigas ja töökorras.
Kontrollige tihti komponente ja vajadusel
asendage kulunud või kahjustatud osad Toro originaalosadega.
- Vabastage pingestatud komponendid
ettevaatlikult pinge alt.
 |
Hoiatus |
|
Originaalosade ja/või -tarvikute
eemaldamine või muutmine võib muuta garantii kehtetuks ning
muuta masina juhitavust ja turvalisust.
Heakskiitmata muudatused originaalosadele või muude kui Toro originaalosade
kasutamine võib põhjustada tõsiseid vigastusi või
surma.
- Kontrollige regulaarselt seisupidur
toimimist. Vajaduse korral reguleerige ja hooldage.
- Ärge kunagi tehke muudatusi
ohutusseadmetele. Kontrollige nende nõuetekohast toimimist regulaarselt.
- Puhastage lõikeseade, summuti,
juhthoovad, murukoguja ja mootoriruum murust, lehtedest, liigsest
määrdeainest ja õlist ning
muust prahist, et vältida võimaliku tulekahju tekkimise
ohtu.
- Puhastage õli- ja kütuselekked
ning eemaldage kütusega määrdunud praht.
- Ärge kasutage masina toestamiseks
ainult mehaanilisi või hüdraulilisi tungraudu. Kasutage
sobivat tungrauaalust.
- Hoidke kõik osad, eelkõige
terade kinnitused, heas töökorras ja korralikult kinnitatud.
- Optimaalse jõudluse tagamiseks
kasutage ainult Toro originaalvaruosi ja lisaseadmeid.
Teiste tootjate varuosad ja lisaseadmed võivad olla ohtlikud.
Soovituslik hooldusgraafik
| Pärast esimest 8 tundi
|
Vahetage mootoriõli.
|
| Pärast esimest 50 tundi
|
Kontrollige rattapoltide pingutusmomenti.
|
| Pärast esimest 75 tundi
|
Vahetage hüdraulikavedelik ja filter.
|
| Enne
iga kasutamist või iga päev |
Kontrollige turvalukustuse süsteemi. |
| Kontrollige, et õhufilter poleks must, lahtine ega kahjustada
saanud. |
| Kontrollige mootoriõli taset.
|
| Puhastage õhu sisselaskesõel.
|
| Kontrollige terasid. |
| Kontrollige, kas väljaviskedeflektor on kahjustada saanud. |
| Pärast iga kasutamist |
Eemaldage masinalt muru ja praht.
|
| Puhastage niiduki korpus.
|
| Iga 25 tunni järel |
Määrige rullikratta laagreid (liivastes tingimustes tihedamini). |
| Kontrollige rehvirõhku.
|
| Kontrollige, kas rihmad on kulunud või katki. |
| Iga 100 tunni järel |
Vahetage mootoriõli (saastunud või tolmustes tingimustes
sagedamini). |
| Vahetage või puhastage süüteküünal ja reguleerige
õhuvahet. |
| Vahetage jadamisi paiknev kütusefilter välja. |
| Iga 100 tunni järel või
iga aasta, olenevalt sellest, kumb on varasem |
Vahetage õhufiltri paberelement välja (räpastes või
tolmustes tingimustes tihedamini).
|
| Iga 200 tunni järel
|
Vahetage mootoriõli filter (saastunud või tolmustes tingimustes
sagedamini). |
| Iga 300 tunni järel
|
Kontrollige ja reguleerige klapi kliirensit. Võtke ühendust
volitatud teenindusega.
|
| Iga 400 tunni järel
|
Vahetage hüdraulikavedelik ja filter.
|
| Iga aasta |
Kontrollige rattapoltide pingutusmomenti.
|
| Enne hoiustamist |
Laadige aku täis ja eemaldage akukaablid. |
| Enne hoiulepanemist teostage kõik eespool loetletud hooldustoimingud. |
| Värvige üle kõik kriibitud või katteta metallpinnad. |
| |
Hoolduse kohta teabe saamiseks
vt mootori kasutusjuhendit.
Hooldusele eelnevad toimingud
Mittetöötava masina
teisaldamine
-
Parkige masin
tasasele maale, lülitage terade juhtlüliti välja ja
liigutage juhthoovad väljapoole seisuasendisse.
-
Lülitage
mootor välja ja oodake kõigi liikuvate osade peatumist,
enne kui töötamiskohast lahkute.
-
Leidke mootori
mõlemalt küljelt möödaviigu hoovad
.
-
Suruge mõlemad
möödaviigu hoovad läbi pilude ja üle, et need
oma kohale lukustada (
).
 |
Hoiatus |
|
Kokkupuude
kuumade pindadega võib põhjustada kehavigastusi.
Hoidke
käed, jalad, nägu, riided ja muud kehaosad mootorist, summutist
ning teistest kuumadest pindadest eemal.
 |
Hoiatus |
|
Kui
möödaviigu hoovad on lukustatud edasikäigu asendisse,
võib masin tahtmatult liikuda ja vigastada teid või kõrvalseisjaid.
Pärast masinaga liikumist
lukustage möödaviigu hoovad tagasikäigu asendisse.
-
Lülitage
seisupidur välja, viies mõlemad juhthoovad keskmisesse,
lukustamata asendisse.
Märkus: Ärge masinat käivitage.
-
Liigutage
masinat.
Lükake
masinat alati käsitsi. Ärge pukseerige masinat, sest pukseerimine
võib seda kahjustada.
-
Liigutage
liikumisregulaatori kange suunaga väljapoole asendisse parkimine.
-
Tõmmake
mõlemad möödaviigu hoovad läbi pilude ja üle,
et need oma kohale lukustada
.
Niiduki korpuse kardina vabastamine
-
Keerake kardina
kaks alumist polti lõdvaks, et korpuse ülemisele osale ligi
pääseda.
Pärast
hooldust keerake kardina poldid alati kinni.
G453430
Mootori hooldus
Mootori ohutus
- Hoidke käed, jalad, nägu,
riided ja muud kehaosad summutist ning teistest kuumadest pindadest
eemal. Enne hooldustööde tegemist
oodake, et mootor täielikult maha jahtuks.
- Ärge muutke mootori regulaatori
kiirust ega ületage mootori lubatud pöörlemissagedust.
Õhupuhasti hooldus
Õhupuhastuselemendi eemaldamine
-
Parkige masin
tasasele maale, lülitage terade juhtlüliti välja ja
liigutage juhthoovad väljapoole seisuasendisse.
-
Lülitage
mootor välja ja oodake kõigi liikuvate osade peatumist,
enne kui töötamiskohast lahkute.
-
Puhastage
õhufiltri katte
ümbrus, et mustus
mootorisse ei satuks.
-
Vabastage
voolikuklamber
ja eemaldage paberelement
.
Paberist õhufiltri elemendi hooldus
-
Koputage
elementi õrnalt, et tolm eemaldada.
Märkus: Kui element on väga must,
vahetage paberelement välja.
-
Kontrollige,
et element ei oleks rebenenud või õline ning et kummist
tihend oleks terve.
-
Kui paberelement
on kahjustada saanud, vahetage see välja.
Ärge
puhastage paberelementi.
Mootoriõli asendamine
Mootoriõli spetsifikatsioonid
| Õli tüüp |
Detergentõli (API hooldus
SF, SG, SH, SJ või SL)
|
| Karteri mahutavus |
1,8 l ilma
filtrita; 2,1 l filtriga
|
| Viskoossus |
Vt allolevast tabelist. |
| |
Mootoriõli taseme kontrollimine
-
Parkige masin
tasasele maale, lülitage terade juhtlüliti välja ja
liigutage juhthoovad väljapoole seisuasendisse.
-
Lülitage
mootor välja, eemaldage süütevõti ja oodake kõigi
liikuvate osade peatumist, enne kui töötamiskohast lahkute.
-
Oodake, kuni
mootor jahtub, et õlil oleks aega karteripõhja voolata.
-
Et mustus,
rohulibled ja muu mootorisse ei satuks, puhastage õlivahetuskorgi
ümbrus ja mõõtevarras enne selle eemaldamist.
-
Kontrollige
mootoriõli taset, nagu näidatud.
Kui
karteris on liiga vähe või liiga palju õli, võib
masina käivitamine mootorit kahjustada.
Mootoriõli vahetamine
-
Parkige masin
nii, et väljalaske pool on veidi madalamal kui vastaspool tagamaks,
et õli voolab täielikult välja.
-
Lülitage
terade juhtlüliti (PTO) välja ja liigutage juhthoovad väljapoole seisuasendisse.
-
Lülitage
mootor välja, eemaldage süütevõti ja oodake kõigi
liikuvate osade peatumist, enne kui töötamiskohast lahkute.
-
Tühjendage
mootor õlist.
-
Valage aeglaselt
umbes 80 % ettenähtud õlist täitetorusse ja lisage
aeglaselt ülejäänud õli, kuni õlitase saavutab
märgi Full (Täis).
-
Kõrvaldage
kasutatud õli kasutuselt vastavalt kohalikele eeskirjadele.
Mootori õlifiltri vahetamine
-
Tühjendage
mootor õlist.
-
Vahetage
mootori õlifilter nagu näidatud.
Märkus: Veenduge, et õlifiltri tihend
puudutaks mootorit, ja pöörake siis filtrit veel kolmveerand
pööret.
-
Lisage aeglaselt
ettenähtud õli täitetorusse, kuni õlitase saavutab
märgi Full (Täis).
Süüteküünla
hooldamine
Enne süüteküünla
paigaldamist veenduge, et õhuvahe keskmise ja kõrvalelektroodide
vahel oleks õige. Kasutage süüteküünla eemaldamiseks
ja paigaldamiseks süüteküünla
võtit ning tühimike tööriista või sondi õhuvahe
kontrollimiseks ja reguleerimiseks. Vajaduse
korral paigaldage uus süüteküünal.
Tüüp: NGK® BPR4ES
Õhuvahe: 0,76 mm
Süüteküünla eemaldamine
-
Parkige masin
tasasele maale, lülitage terade juhtlüliti välja ja
liigutage juhthoovad väljapoole seisuasendisse.
-
Lülitage
mootor välja, eemaldage süütevõti ja oodake kõigi
liikuvate osade peatumist, enne kui töötamiskohast lahkute.
-
Puhastage
küünla aluse ümbrus, et mustus või praht mootorisse
ei satuks.
-
Keerake süüteküünal
välja.
Süüteküünla kontrollimine
Ärge puhastage süüteküünlaid.
Kui süüteküünal on pealt must, õline, mõradega
või elektroodid on kulunud, siis vahetage süüteküünal
välja.
Kui isolaator
on kergelt pruunikas või hall, siis töötab mootor normaalselt.
Must kiht isolaatoril tähendab, et õhupuhasti
on must.
-
Jätke
õhuvaheks 0,76 mm.
Jahutussüsteemi puhastamine
-
Parkige masin
tasasele maale, lülitage terade juhtlüliti välja ja
liigutage juhthoovad väljapoole seisuasendisse.
-
Lülitage
mootor välja, eemaldage süütevõti ja oodake kõigi
liikuvate osade peatumist, enne kui töötamiskohast lahkute.
-
Eemaldage
õhufilter mootorilt.
-
Eemaldage
mootorilt kate.
-
Paigaldage
õhufilter filtri alusele, et praht õhu sisselasketorusse
ei satuks.
-
Puhastage
osad prahist ja murust.
-
Eemaldage
õhufilter ja paigaldage mootorile kate.
-
Paigaldage
õhufilter.
Kütusega seotud ohutus
 |
Hädaoht |
|
Teatud tingimustes on kütus
äärmiselt kergesti süttiv ja väga plahvatusohtlik.
Kütusest põhjustatud tulekahju või plahvatus
võib põletada teid ja teisi ning kahjustada
vara.
Kik Kütuse ohutus ktusega seotud ettevaatusabinud
leiate jaotisest.
Kütusefiltri vahetamine
-
Parkige masin
tasasele maale, lülitage terade juhtlüliti välja ja
liigutage juhthoovad väljapoole seisuasendisse.
-
Lülitage
mootor välja, eemaldage süütevõti ja oodake kõigi
liikuvate osade peatumist, enne kui töötamiskohast lahkute.
-
Fikseerige
kütusetorud mõlemal pool kütusefiltrit klambritega.
-
Asendage
filter.
Märkus: Veenduge, et asendusfiltri voolusuuna
nool oleks suunatud mootori poole.
Ärge
kunagi pange musta filtrit tagasi kütusetorusse.
-
Eemaldage
kütusevoolu blokeerivad klambrid.
Elektrisüsteemi hooldus
Elektrisüsteemi ohutusteave
- Enne masina parandamist ühendage
kaabel aku negatiivse klemmi küljest lahti.
- Laadige akut avatud ja hea ventilatsiooniga
kohas, kus ei esine sädeme- või leegiohtu. Eemaldage laadija
enne aku ühendamist või lahtiühendamist
vooluvõrgust. Kandke kaitseriietust ja kasutage isoleeritud tööriistu.
Aku hooldus
Aku eemaldamine
 |
Hoiatus |
|
Aku klemmid või metallist tööriistad võivad masina metallist osadega
kokku puutudes lühise tekitada ja sädemete teket põhjustada. Sädemed võivad põhjustada akugaaside plahvatamise,
tuues kaasa kehavigastuse.
- Aku eemaldamisel või paigaldamisel
ärge laske klemmidel puutuda kokku masina ühegi metallosaga.
- Ärge laske metallist tööriistadel aku klemmide ja masina
metallist osade vahel lühist tekitada.
-
Parkige masin
tasasele maale, lülitage terade juhtlüliti välja ja
liigutage juhthoovad väljapoole seisuasendisse.
-
Lülitage
mootor välja, eemaldage süütevõti ja oodake kõigi
liikuvate osade peatumist, enne kui töötamiskohast lahkute.
-
Eemaldage
negatiivne (must) kaabel akuklemmi küljest.
Märkus: Hoidke kõik kinnitused alles.
 |
Hoiatus |
|
Viga
kaablite aku küljest eemaldamisel võib kahjustada masinat
ja kaableid, põhjustades sädemeid. Sädemed võivad põhjustada akugaaside plahvatamise,
tuues kaasa kehavigastuse.
- Eemaldage esimesena negatiivne
(must) akukaabel ja alles seejärel positiivne (punane) kaabel.
- Ühendage esimesena positiivne
(punane) akukaabel ja alles seejärel negatiivne (must) kaabel.
-
Libistage
kummist kate positiivselt (punast) kaablilt maha.
-
Eemaldage
positiivne (punane) akukaabel akuklemmi küljest.
Märkus: Hoidke kõik kinnitused alles.
-
Eemaldage
aku kinnitus ja tõstke aku akuhoidikust välja.
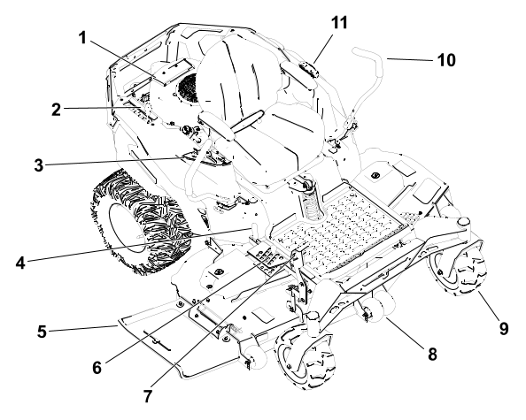
G440221
-
Aku
-
Akuklemmi kate
-
Negatiivne (–) akuklemm
-
Mutter, seib ja polt
-
Aku kinnitus
-
Polt, seib ja mutter
-
Positiivne (+) akuklemm
Aku laadimine
 |
Hoiatus |
|
Aku laadimisprotsess tekitab gaase,
mis võivad plahvatada.
Ärge kunagi suitsetage aku
läheduses ning hoidke aku sädemetest
ja leekidest eemal.
Aku peab olema alati täielikult
laetud. See on eriti oluline vältimaks aku kahjustumist, kui
temperatuur on alla 0 °C.
-
Võtke
aku masinast välja.
-
Laadige akut
vastavalt akulaadija tootja juhistele.
Aku
kahjustamise vältimiseks ärge laadige seda üle.
G003792S
- Positiivne
akuklemm
- Negatiivne
akuklemm
- Punane
(+) laadija juhe
- Must
(-) laadija juhe
-
Kui aku on
täis laetud, võtke laadija pistikupesast välja (kui
kohaldub) ja seejärel eemaldage akulaadija juhtmed akuklemmide
küljest.
Aku puhastamine
Märkus: Hoidke klemmid ja kogu aku korpus
puhas, sest saastunud aku tühjeneb aeglaselt.
-
Parkige masin
tasasele maale, lülitage terade juhtlüliti välja ja
liigutage juhthoovad väljapoole seisuasendisse.
-
Lülitage
mootor välja ja oodake kõigi liikuvate osade peatumist,
enne kui töötamiskohast lahkute.
-
Võtke
aku masinast välja.
-
Peske kogu
korpus söögisooda ja vee lahusega.
-
Loputage
aku puhta veega.
-
Korrosiooni
vältimiseks määrige akuklemmid ja kaabliühendused
Grafo 112X (skin-over) määrdeaine või vaseliiniga.
-
Paigaldage
aku.
Aku paigaldamine
-
Asetage aku
hoidikusse.
-
Kinnitage
varem eemaldatud kinnituste abil positiivne (punane) akukaabel positiivse
(+) akuklemmi külge.
-
Kinnitage
varem eemaldatud kinnituste abil negatiivne akukaabel negatiivse (–) akuklemmi külge.
-
Libistage
punane akuklemmi kate positiivse (punane) akuklemmi peale.
-
Kinnitage
aku kinnituse abil.
G440221
-
Aku
-
Akuklemmi kate
-
Negatiivne (–) akuklemm
-
Mutter, seib ja polt
-
Aku kinnitus
-
Polt, seib ja mutter
-
Positiivne (+) akuklemm
Masina käivitamine kaablitega
 |
Hoiatus |
|
Aku käivitamisel kaablitega
võivad tekkida plahvatusohtlikud gaasid.
Ärge suitsetage
aku läheduses ning hoidke aku sädemetest ja leekidest eemal.
 |
Hädaoht |
|
Nõrga aku, mis on pragunenud
või külmunud või mille elektrolüüdi tase
on madal või mille akuelement on lahti või lühises,
käivitamine kaablitega võib põhjustada
plahvatuse, mille tagajärjeks võivad olla tõsised kehavigastused.
Sellisel
juhul ärge käivitage kaablitega nõrka akut.
-
Enne käivitamist
kaablitega kontrollige ja puhastage aku klemmid korrosioonist. Veenduge,
et ühendused oleksid tugevad.
 |
Ettevaatust |
|
Korrosioon
või lahtised ühendused võivad käivitamise ajal
kaablitega põhjustada soovimatuid pingepiike.
Ärge
püüdke käivitada kaablitega masinat, mille akuklemmid
on lahti või korrodeerunud, sest vastasel juhul võib mootor
kahjustuda.
-
Käivitusaku
peab olema heas korras ja täielikult laetud pliiaku, mille pinge
on 12,6 V või rohkem.
Märkus: Süsteemide vahelise pingelanguse
vältimiseks kasutage õige suurusega ja lühikesi käivitamise
kaableid. Veenduge, et kaablid on
värvikoodiga või tähistatud õige polaarsusega.
 |
Hoiatus |
|
Akud
sisaldavad hapet ja tekitavad plahvatusohtlikke gaase.
- Kaitske silmi ja nägu aku
kahjuliku mõju eest.
- Ärge kummarduge akude kohale.
Märkus: Veenduge, et õhutuskorgid
oleksid tihedalt kinni ja tasa. Võimalusel pange niiske lapp
mõlema aku õhutuskorgi peale. Samuti
veenduge, et masinad ei puutu kokku ja et mõlemad
elektrisüsteemid on välja lülitatud ja et nendel on
sama nimipinge. Need juhised on mõeldud
ainult negatiivse maandusega süsteemide jaoks.
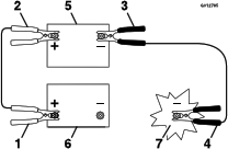
-
Ühendage
positiivne (+) kaabel tühja aku positiivse (+) klemmi külge,
mis on ühendatud starteri või solenoidiga, nagu näidatud:
g012785
- Tühja
aku positiivne (+) kaabel
- Käivitusaku
positiivne (+) kaabel
- Käivitusaku
negatiivne (–) kaabel
- Mootoriploki
negatiivne (–) kaabel
- Käivitusaku
- Tühi
aku
- Mootoriplokk
-
Ühendage
positiivse (+) käivitamise kaabli teine ots teise masina aku
positiivse klemmi külge.
-
Ühendage
negatiivse (-) käivitamise kaabli teine ots teise masina aku
negatiivse klemmi külge.
-
Ühendage
negatiivse (-) käivitamise kaabli teine ots maanduspunkti, näiteks
värvikihiga katmata poldi või šassii osa külge.
-
Käivitage
teise masina mootor. Laske sellel paar minutit töötada,
seejärel käivitage oma mootor.
-
Eemaldage
kaablid vastupidises järjekorras.
-
Pange klemmile
kate peale.
Kaitsmete vahetamine
Elektrisüsteemil
on kaitsmed. Need ei vaja hooldust, aga kui kaitse läbi põleb,
kontrollige, kas komponendil/vooluringis on
tõrkeid või lühis.
-
Parkige masin
tasasele maale, lülitage terade juhtlüliti välja ja
liigutage juhthoovad väljapoole seisuasendisse.
-
Lülitage
mootor välja, eemaldage süütevõti ja oodake kõigi
liikuvate osade peatumist, enne kui töötamiskohast lahkute.
-
Asendage
läbipõlenud kaitse uuega.
G440132
- Laadimisahela
kaitse (15 A)
- Peakaitse
(25 A)
Ajamisüsteemi hooldus
Rehvirõhu kontrollimine
Hoidke eesmiste ja tagumiste rehvide
rõhk ettenähtud tasemel. Ebaühtlane rehvirõhk võib põhjustada ebaühtlast niitmist. Kontrollige rehvirõhku ventiilist. Rõhu kõige täpsema näidu saamiseks kontrollige rehve
külmalt.
-
Täitke
eesmine rullikratas rõhuni 1,03 bar (15 psi) või
ratta küljel näidatud rõhuni; valige neist kahest madalam
rõhk.
-
Täitke
tagumised rehvid rõhuni 0,9 baari.
Rattamutrite kontrollimine
-
Kontrollige
ja pingutage rattapolte pingutusmomendiga 129 Nm.
Suuna reguleerimine
Kui sõidate
masinaga täiskiirusel üle tasase pinna ja masin kisub ühele
poole, tuleb suunda reguleerida.
Kui masin kisub vasakule, reguleerige
paremat juhthooba; kui masin kisub paremale, reguleerige vasakut juhthooba.
Märkus: Suunda saab reguleerida vaid edasi
sõitmiseks.
-
Parkige masin
tasasele maale, lülitage terade juhtlüliti välja ja
liigutage juhthoovad väljapoole seisuasendisse.
-
Lülitage
mootor välja, eemaldage süütevõti ja oodake kõigi
liikuvate osade peatumist, enne kui töötamiskohast lahkute.
-
Leidke suunareguleerimise
polt reguleerimist vajava juhthoova lähedalt.
-
Keerake polti,
et konkreetse ratta kiirust alandada.
Märkus: Väikeste muudatuste puhul
keerake polti vähesel määral.
-
Käivitage
masin ja sõitke otse mööda tasast pinda nii, et juhthoovad
on täielikult edasikäigu asendis ja kontrollige, kas
masin sõidab otse. Vajaduse korral korrake
protseduuri.
Hüdraulikasüsteemi hooldus
Hüdraulikasüsteemi ohutusteave
- Kui hüdraulikavedelik peaks
sattuma naha alla, pöörduge kohe arsti poole. Naha alla
sattuv hüdraulikavedelik tuleb lasta selliste
vigastuste osas pädeval arstil mõne tunni
jooksul kirurgiliselt eemaldada, muidu võib tekkida gangreen.
- Enne hüdraulikasüsteemi
rõhu alla seadmist veenduge, et kõik hüdraulikavoolikud
ja -liinid oleksid heas seisukorras ning kõik
hüdraulikasüsteemi ühendused ja liitmikud
oleksid korralikult kinnitatud.
- Hoidke oma keha ja käed eemale
avadest või düüsidest, kust pritsib suure survega hüdraulikavedelikku.
- Kasutage hüdraulikavedeliku
lekete avastamiseks kartongi või paberit, mitte käsi.
- Enne hüdraulikasüsteemiga
seotud tööde tegemist vabastage süsteem ohutult rõhu
alt.
Hüdraulikavedeliku spetsifikatsioonid
Hüdraulikavedeliku
tüüp: Toro Premium Hydro Oil (eelistatud)
või Mobil 1™ 15W50
Hüdraulikasüsteemi maht: 2,3 l külje
kohta
Kasutage ettenähtud vedelikku.
Muud vedelikud võivad süsteemi kahjustada.
Hüdraulikavedeliku kontrollimine
-
Parkige masin
tasasele maale, lülitage terade juhtlüliti välja ja
liigutage juhthoovad väljapoole seisuasendisse.
-
Lülitage
mootor välja, eemaldage süütevõti ja oodake kõigi
liikuvate osade peatumist, enne kui töötamiskohast lahkute.
-
Laske masinal
maha jahtuda.
Kontrollige
hüdraulikavedelikku ainult siis, kui süsteem on jahe (alla
38 °C). Vedeliku lisamine, kui süsteem on soe, võib
põhjustada peaülekande
ületäitmist ja kahjustada õhutusklappi.
-
Eemaldage
täiteava kork ja veenduge, et augu põhja ilmub vedelikku.
-
Kui tase
on madal, lisage ettenähtud vedelikku läbi ava, et tõsta
see augu põhja.
-
Paigaldage
süüteküünal ja keerake see kinni pingutusmomendiga 13,6 N∙m.
Hüdraulikavedeliku ja filtri
vahetamine
Ärge vahetage hüdraulikavedelikku
ilma filtrit vahetamata, välja arvatud juhul, kui vedelik on
saastunud või on olnud väga kuum.
Vastasel juhul võite süsteemi saastada ja seda kahjustada.
-
Parkige masin
tasasele maale, lülitage terade juhtlüliti välja ja
liigutage juhthoovad väljapoole seisuasendisse.
-
Lülitage
mootor välja, eemaldage süütevõti ja oodake kõigi
liikuvate osade peatumist, enne kui töötamiskohast lahkute.
-
Laske masinal
maha jahtuda.
Vahetage
hüdraulikavedelikku ainult siis, kui süsteem on jahe (alla
38 °C). Vedeliku vahetamine, kui süsteem on soe, võib
põhjustada peaülekande
ületäitmist ja kahjustada õhutusklappi.
-
Eemaldage
peaülekandelt filtrikate.
-
Puhastage
hoolikalt filtrite ümbrus.
Ärge
laske mustusel hüdraulikasüsteemi sattuda, vastasel juhul
võib tekkida saastumine.
-
Asetage filtri
alla õlivann.
-
Asendage
filter.
-
Paigaldage
filtrikate. Keerake poldid kinni pingutusmomendiga 7 N·m.
-
Eemaldage
täiteava kork ja lisage ettenähtud vedelikku läbi ava,
et see tõuseks augu põhja.
-
Paigaldage
süüteküünal ja keerake see kinni pingutusmomendiga 13,6 N∙m.
-
Korrake seda
teise peaülekandega.
-
Hüdraulikasüsteemi tühjendamine
-
Parkige masin
tasasele maale, lülitage terade juhtlüliti välja ja
liigutage juhthoovad väljapoole seisuasendisse.
-
Lülitage
mootor välja, eemaldage süütevõti ja oodake kõigi
liikuvate osade peatumist, enne kui töötamiskohast lahkute.
-
Tõstke
masina tagumine osa tõstukile, mis on piisavalt kõrge, et
tõsta veorattad maast lahti.
-
Käivitage
mootor, lükake gaasihoob poole peale ja vabastage seisupidur,
liigutades mõlemad juhthoovad alla keskmisse, lukustamata
asendisse.
-
Kui möödaviigu
ventiilid on avatud ja mootor töötab, liigutage aeglaselt
juhthoobasid 5 või 6 korda ette ja taha.
-
Kui möödaviigu
ventiilid on suletud ja mootor töötab, liigutage aeglaselt
juhthoobasid 5 või 6 korda ette ja taha.
-
Lülitage
mootor välja ja eemaldage võti.
-
Kontrollige
hüdraulikavedeliku taset ja vajaduse korral lisage õli.
-
Vajadusel
korrake protseduuri, kuni õhk on süsteemist täielikult
välja lastud.
Märkus: Õhk on täielikult välja
lastud, kui peaülekanne töötab normaalse müratasemega,
liigub sujuvalt edasi ja tagasi normaalsel
kiirusel.
-
Eemaldage
tungraua alused.
Rihma hooldus
Rihmade kontrollimine
-
Parkige masin
tasasele maale, lülitage terade juhtlüliti välja ja
liigutage juhthoovad väljapoole seisuasendisse.
-
Lülitage
mootor välja ja oodake kõigi liikuvate osade peatumist,
enne kui töötamiskohast lahkute.
-
Seadistage
niiduk kõige madalamale lõikekõrgusele.
-
Veenduge,
et rihm ei oleks kulunud. Kui rihm on kulunud, asendage see.
Kulunud rihmast
annab märku vinguv heli, libisevad terad niitmise ajal ning narmendavad
otsad, põletusmärgid ja praod rihmal.
Niiduki rihma asendamine
Kulunud rihmast annab märku
vinguv heli, libisevad terad niitmise ajal ning narmendavad otsad,
põletusmärgid ja praod rihmal. Kui
märkate üht neist märkidest, vahetage niiduki rihm
välja.
-
Parkige masin
tasasele maale, lülitage terade juhtlüliti välja ja
liigutage juhthoovad väljapoole seisuasendisse.
-
Lülitage
mootor välja, eemaldage süütevõti ja oodake kõigi
liikuvate osade peatumist, enne kui töötamiskohast lahkute.
-
Seadistage
niiduk kõige madalamale lõikekõrgusele.
-
Vabastage
niiduki korpuse kardin.
-
Eemaldage
rihmaratta kate.
-
Keerake traati
tühikäigu rihmaratta küljes hoidev mutter lahti.
-
Eemaldage
vedru eemaldamise tööriistaga (Toro osa nr 92-5771) tühikäigu
vedru korpuse konksult, et tühikäigu rihmaratas pinge
alt vabastada.
 |
Hoiatus |
|
Vedru
on pinge all ja võib põhjustada kehavigastusi.
Olge
rihma eemaldades ettevaatlik.
G453682
- Korpuse
rihmaratas
- Niiduki
rihm
- Mootori
rihmaratas
- Tühikäigu
rihmaratas
- Vedru
- Vedru
eemaldamise tööriist
-
Rullige rihm
rihmaratastelt maha.
-
Sättige
uus rihm ümber mootori ja niiduki rihmarataste.
-
Paigaldage
vedru eemaldamise tööriistaga tühikäigu vedru
korpuse konksule nii, et tühikäigu rihmaratas ja niiduki
rihm oleksid pinge all.
-
Asetage traat
vastu pendelhooba, nagu näidatud, ja pingutage mutter.
-
Paigaldage
rihmaratta katted.
-
Pingutage
niiduki korpuse kardina poldid.
Niiduki korpuse hooldus
Terade ohutusteave
- Kontrollige terasid regulaarselt
kulumise ja kahjustuste suhtes.
- Olge terasid kontrollides tähelepanelik. Mähkige midagi ümber terade või kandke kindaid; olge neid hooldades
ettevaatlik. Kahjustatud terasid võib ainult
asendada. Ärge neid kunagi sirgendage või keevitage.
- Mitmeteraliste masinate puhul
olge ettevaatlik, kuna ühe tera pöörlemine võib põhjustada ka teiste terade pöörlemist.
- Asendage kulunud või vigastatud lõiketerad ja poldid tasakaalu säilitamiseks tervikkomplektina.
Tera hooldus
Niitmise kõrge kvaliteedi tagamiseks hoidke
terad teravana. Mugava teritamise ja vahetamise tagamiseks hoidke
varuterad käepärast.
Vahetage terad välja siis, kui need tabavad kõva eset või kui tera on tasakaalust väljas või kõver.
Enne terade kontrollimist või hooldamist
-
Parkige masin
tasasele maale, lülitage terade juhtlüliti välja ja
liigutage juhthoovad väljapoole seisuasendisse.
-
Lülitage
mootor välja, eemaldage süütevõti ja oodake kõigi
liikuvate osade peatumist, enne kui töötamiskohast lahkute.
-
Lahutage
süüteküünla juhtmed süüteküünla
küljest.
Terade sirguse kontrollimine
Selle toimingu jaoks peab masin
tasasel pinnal olema.
-
Tõstke niiduki korpus lõikekõrguse kõrgeimasse asendisse.
-
Kandke kindlasti
paksema polstriga kindaid või muid asjakohaseid kätekaitsevahendeid.
Pöörake tera aeglaselt asendisse, mis
võimaldab teil mõõta lõikeserva ja
tasase pinna vahelist kaugust.
-
Mõõtke
tera otsast kuni tasase pinnani.
G451422
- Tera
(mõõtmise asendis)
- Tasane
pind
- Mõõdetud
kaugus tera ja pinna vahel (A)
-
Pöörake
sama tera 180 kraadi nii, et tera vastasserv on nüüd
samas asendis.
G451423
- Eelnevalt
mõõdetud tera vastasserv
- Tera
vastasserv
-
Mõõtke
tera otsast kuni tasase pinnani.
G451422
- Tera
(mõõtmise asendis)
- Tasane
pind
- Mõõdetud
kaugus tera ja pinna vahel (B)
-
Juhul kui
A ja B vaheline erinevus on suurem kui 3 mm, asendage tera.
Märkus: Kui te asendate tera ja erinevus
on endiselt suurem kui 3 mm, võib tera võll olla väändunud.
Hoolduse jaoks võtke ühendust volitatud teenindusega.
-
Korrake seda
toimingut iga teraga.
Terade eemaldamine
-
Hoidke tera
selle otsast kinni kaltsu või paksema polstriga kindaga.
-
Eemaldage
tera, nagu näidatud.
Terade teritamine
-
Kasutage
tera mõlema otsa lõikeserva teritamiseks viili. Säilitage
algne nurk
.
Märkus: Tera tasakaalu säilitamiseks
eemaldage mõlemalt lõikeservalt ühe palju materjali.
-
Kontrollige
tera
tasakaalu tera tasakaalustaja
abil
.
Märkus: Kui tera jääb horisontaalasendisse, on see
tasakaalus ja seda võib kasutada.
Kui tera pole
tasakaalus, viilige maha veidi metalli, kuid seda ainult laba piirkonnast.
-
Korrake seda
toimingut, kuni tera on tasakaalustatud.
Terade paigaldamine
 |
Hoiatus |
|
Kui te kasutate masinat, mille
terakomplekt on valesti paigaldatud ja/või kui te ei kasuta Toro originaaltera ja
tera kinnitustarvikuid, võib tera või tera osa paiskuda
korpusse alt välja, mille tagajärjeks võib olla
raske vigastuse või surmaga lõppev
õnnetus.
Paigaldage alati Toro originaalterad ja terade
kinnitustarvikud vastavalt juhistele.
-
Paigaldage
tera nagu on näidatud.
Märkus: Õige niitmise tagamiseks
peab tera kaarjas osa olema suunatud niiduki sisemuse poole.
-
Keerake tera
kinnituspolt kinni pingutusmomendiga 136 kuni 149 Nm.
Niiduki korpuse loodimine
Iga kord, kui
paigaldate midagi niidukile või kui märkate murul ebatasast
lõiget, veenduge, et niiduki korpus oleks loodis.
Niiduki korpuse loodimise ettevalmistamine
-
Parkige masin
tasasele maale, lülitage terade juhtlüliti välja ja
liigutage juhthoovad väljapoole seisuasendisse.
-
Lülitage
mootor välja, eemaldage süütevõti ja oodake kõigi
liikuvate osade peatumist, enne kui töötamiskohast lahkute.
-
Veenduge,
et rehvirõhk vastab spetsifikatsioonile ja et rullikrattad on
suunatud otse ette.
-
Veenduge,
et niiduki korpuse terad ei ole kõverad; kõverad terad tuleb
eemaldada ja asendada.
-
Seadistage
niiduki korpus lõikekõrgusele 76 mm.
Niiduki korpuse loodimise kontrollimine
-
Terade küljelt-küljele
joondamine.
-
Mõõtke
kohtades
ja
tasasest pinnast kuni tera tippude
lõikeservani. Mõõtude erinevus ei
tohiks olla suurem kui 5 mm. Kui erinevus on suurem, reguleerige
küljelt-küljele joondust.
-
1 tera eest-taha
joondamine.
-
Mõõtke
kohtades
ja
tasasest pinnast kuni tera tippude
lõikeservani. Eesmise tera tipp peab olema tagumise
tera tipust 1,6 kuni 7,9 mm madalamal. Kui mõõt ei
ole õige, reguleerige eest-taha joondust.
Niiduki korpuse loodimine
-
Seadke lõikekorpuse
tugirattad ülemistesse aukudesse või eemaldage need täielikult.
-
Seadke lõikekõrguse
hoob 76 mm peale.
-
Asetage kaks
6,6 cm paksust plokki
korpuse eesmise serva
külgede alla.
Ärge
pange plokke lõikekorpuse tugirataste kronsteinide alla.
-
Asetage kaks
7,3 cm paksust plokki
korpuse tagumise serva
külgede alla.
-
Lõdvendage
alumised kinnitused, mis kinnitavad kronsteinid korpuse kõigi
nelja nurga külge, ja veenduge, et niiduki korpus
on stabiilselt kõigil neljal plokil.
-
Eemaldage
korpuse kronsteinidest lõtk ja veenduge, et korpuse tõstmise
hoob on vastu piirikut tagasi lükatud.
-
Tõmmake
kinnitused pingule.
-
Veenduge,
et plokid istuksid kenasti korpuse serva alla ja et kõik kinnituspoldid
oleksid kinni keeratud
-
Kontrollige
uuesti küljelt-küljele ja eest-taha asetust; korrake protseduuri
kuniks mõõtetulemused on sobivad.
Niiduki korpuse eemaldamine
-
Parkige masin
tasasele maale, lülitage terade juhtlüliti välja ja
liigutage juhthoovad väljapoole seisuasendisse.
-
Lülitage
mootor välja, eemaldage süütevõti ja oodake kõigi
liikuvate osade peatumist, enne kui töötamiskohast lahkute.
-
Seadke lõikekõrguse
hoob kõige madalamasse asendisse.
-
Vabastage
niiduki korpuse kardin.
-
Eemaldage
splint ja seib eesmiselt toetuskangilt
ja eemaldage kang korpuse kronsteinilt
(
).
Märkus: Hoidke kõik masinaosad alles.
-
Eemaldage
ülemised kinnitused, millega kinnitatakse kronsteinid kõigi
4 tõstmise hoova külge.
-
Libistage
niiduki korpus tahapoole, et niiduki rihm mootori rihmarattalt eemaldada.
-
Libistage
niiduki korpus masina alt välja.
Niiduki korpuse paigaldamine
-
Parkige masin
tasasele maale, lülitage terade juhtlüliti välja ja
liigutage juhthoovad väljapoole seisuasendisse.
-
Lülitage
mootor välja, eemaldage süütevõti ja oodake kõigi
liikuvate osade peatumist, enne kui töötamiskohast lahkute.
-
Libistage
niiduki korpus masina alla.
-
Seadke lõikekõrguse
hoob kõige madalamasse asendisse.
-
Kasutage
eelnevalt eemaldatud kinniteid ja paigaldage tõstelülid
korpuse tõstmise hoobadele.
-
Kasutage
splinti ja seibi ning paigaldage toetuskangi esiosa
korpuse kronsteinile
.
-
Paigaldage
niiduki rihm mootori rihmarattale.
-
Pingutage
niiduki korpuse kardina poldid.
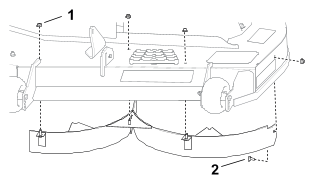
Väljaviskedeflektori vahetamine
 |
Hädaoht |
|
Kui väljalaskeava on katmata,
on oht, et õhku paiskuda võivad objektid tabavad teid või
kõrvalseisjaid. Samuti võib toimuda
kokkupuude teraga. Õhku paiskuda võivad objektid
või kokkupuude teradega põhjustab raskete vigastuste või
surmaga lõppeva õnnetuse.
Ärge
kasutage niidukit ülestõstetud, eemaldatud või muudetud
väljaviskedeflektoriga, välja arvatud juhul, kui muru kogumissüsteem
või multšimiskomplekt on paigas
ja töötab nõuetekohaselt.
-
Parkige masin
tasasele maale, lülitage terade juhtlüliti välja ja
liigutage juhthoovad väljapoole seisuasendisse.
-
Lülitage
mootor välja, eemaldage süütevõti ja oodake kõigi
liikuvate osade peatumist, enne kui töötamiskohast lahkute.
-
Vabastage
vedru deflektori kronsteinis olevast sälgust ja libistage varras
korpuse keevitatud kronsteinidest, vedrust ja väljaviske
deflektorist välja.
G456086
- Varras
- Väljaviskedeflektor
- Vedru
- Korpuse
kronsteinid
- Splint
- Vardale
paigaldatud vedru
-
Eemaldage
kahjustatud või kulunud väljaviskedeflektor.
-
Asetage uus
väljaviske deflektor nii, et kronsteinid on korpuse keevitatud
kronsteinide vahel, nagu on näidatud.
G456085
- Varras
ja vedru paigaldatud kujul
- Vedru
silmusega ots on kinnitatud deflektori kronsteini sälgu külge
- Varda
lühem ots on viidud niiduki kronsteini taha
- Lühem
ots on kinnitatud niiduki kronsteini taha.
- Splint
-
Keerake varrast
ja vedru nii, et varda lühem ots jääb korpuse külge
keevitatud kronsteini serva taha.
-
Paigutage
splint varda otsa.
Väljaviskedeflektori
vedru peab olema alumises asendis. Tõstke deflektorit ja kontrollige,
et see kinnituks alumisse asendisse.
Koristamine
Jäätmete kõrvaldamine
Mootoriõli, akud, hüdrauliline vedelik ja mootori
jahutusvedelik saastavad keskkonda. Kõrvaldage need riiklike ja kohalike
eeskirjade kohaselt.
Rikete kõrvaldamine
Kütusepaagil on kokkuvarisemise
märgid või masin näitab tihti, et kütus on otsakorral.
| Võimalik põhjus |
Parandusmeede |
| Õhufiltri paberelement
on ummistunud. |
-
Puhastage
paberelement.
|
Mootor kuumeneb üle.
| Võimalik põhjus |
Parandusmeede |
| Mootor on üle koormatud. |
-
Alandage
teekonnakiirust.
|
| Õli tase karteris
on madal. |
-
Lisage karterisse
mootoriõli.
|
| Jahutusribid ja õhutustorud
mootori korpuse all on ummistunud.
|
-
Eemaldage
takistus jahutusribidest ja õhutustorudest.
|
| Õhufilter on must. |
-
Puhastage
või vahetage õhufilter välja.
|
| Kütusesüsteemis
on mustus, vesi või liisunud kütus.
|
-
Võtke
ühendust volitatud teenindusega.
|
Starter ei käivitu.
| Võimalik põhjus |
Parandusmeede |
| Terade juhtlüliti
on sisse lülitatud. |
-
Lülitage
tera reguleerija välja.
|
| Juhthoovad ei ole seisuasendis.
|
-
Liigutage
liikumisregulaatori kange suunaga väljapoole asendisse parkimine.
|
| Aku on tühi. |
-
Laadige aku.
|
| Elektriühendused on
roostetanud või lahti. |
-
Kontrollige
elektriühendusi.
|
| Kaitse on läbi põlenud. |
-
Asendage
kaitse.
|
| Relee või lüliti
on kahjustada saanud. |
-
Võtke
ühendust volitatud teenindusega.
|
Mootor ei käivitu, käivitub
vaevaliselt või sureb välja.
| Võimalik põhjus |
Parandusmeede |
| Kütusepaak on tühi. |
-
Täitke
kütusepaak.
|
| Õhuklapp (kui saadaval)
pole sees. |
-
Seadke seguklapi
hoob asendisse Sees.
|
| Õhufilter on must. |
-
Puhastage
või vahetage õhufilter välja.
|
| Süüteküünla
juhtmed on lahtised või lahti ühendatud.
|
-
Paigaldage
juhtmed süüteküünla külge.
|
| Süüteküünal
on mõlkis, määrdunud või sädevahe on vale. |
-
Paigaldage
uus õige sädevahega süüteküünal.
|
| Kütusefiltris on mustus. |
-
Vahetage
kütusefilter välja.
|
| Kütusesüsteemis
on mustus, vesi või liisunud kütus.
|
-
Võtke
ühendust volitatud teenindusega.
|
| Kütusepaagis on vale
kütus. |
-
Tühjendage
paak ja täitke see õige kütusega.
|
| Õli tase karteris
on madal. |
-
Lisage karterisse
mootoriõli.
|
Mootor kaotab võimsust.
| Võimalik põhjus |
Parandusmeede |
| Mootor on üle koormatud. |
-
Alandage
teekonnakiirust.
|
| Õhufilter on must. |
-
Puhastage
õhufiltri element.
|
| Õli tase karteris
on madal. |
-
Lisage karterisse
mootoriõli.
|
| Jahutusribid ja õhutustorud
mootori korpuse all on ummistunud.
|
-
Eemaldage
takistus jahutusribidest ja õhutustorudest.
|
| Süüteküünal
on mõlkis, määrdunud või sädevahe on vale. |
-
Paigaldage
uus õige sädevahega süüteküünal.
|
| Kütusepaagi ventilaator
on ummistunud. |
-
Võtke
ühendust volitatud teenindusega.
|
| Kütusefiltris on mustus. |
-
Vahetage
kütusefilter välja.
|
| Kütusesüsteemis
on mustus, vesi või liisunud kütus.
|
-
Võtke
ühendust volitatud teenindusega.
|
| Kütusepaagis on vale
kütus. |
-
Võtke
ühendust volitatud teenindusega.
|
Masin ei sõida.
| Võimalik põhjus |
Parandusmeede |
| Möödaviiguklapid
on lahti. |
-
Sulgege pukseerimisventiilid.
|
| Veorihmad on kulunud, lõdvad
või katki. |
-
Võtke
ühendust volitatud teenindusega.
|
| Veorihmad on rihmaratastelt
maha tulnud. |
-
Võtke
ühendust volitatud teenindusega.
|
| Käigukast ei tööta. |
-
Võtke
ühendust volitatud teenindusega.
|
Masin vibreerib ebaloomulikult.
| Võimalik põhjus |
Parandusmeede |
| Lõiketera(d) on kõver(ad) või tasakaalustamata. |
-
Paigaldage
uus lõiketera / uued lõiketerad.
|
| Tera kinnituspolt on lahti. |
-
Pingutage
tera kinnituspolti.
|
| Mootori kinnitusmutrid
logisevad. |
-
Pingutage
mootori kinnitusmutreid.
|
| Mootori rihmaratas, tühikäigu
rihmaratas või tera rihmaratas on lõtv.
|
-
Pingutage
vastavat rihma.
|
| Mootori rihmaratas on kahjustada
saanud. |
-
Võtke
ühendust volitatud teenindusega.
|
| Teravõll on kõver.
|
-
Võtke
ühendust volitatud teenindusega.
|
| Mootori kinnitus on lahti
või kulunud.
|
-
Võtke
ühendust volitatud teenindusega.
|
Lõikekõrgus on ebaühtlane.
| Võimalik põhjus |
Parandusmeede |
| Tera on nüri. |
-
Teritage
tera(sid).
|
| Lõiketera(d) on kõver(ad).
|
-
Paigaldage
uus lõiketera / uued lõiketerad.
|
| Niiduk ei ole loodis. |
-
Loodige niiduk
küljelt küljele ja eest taha.
|
| Lõikekorpuse ratas
(kui saadaval) paikneb valesti.
|
-
Reguleerige
lõikekorpuse ratta kõrgust.
|
| Niiduki korpuse alumine
külg on määrdunud.
|
-
Puhastage
niiduki korpuse alumine külg.
|
| Rehvirõhk on vale.
|
-
Reguleerige
rehvirõhku.
|
| Teravõll on kõver.
|
-
Võtke
ühendust volitatud teenindusega.
|
Terad ei pöörle.
| Võimalik põhjus |
Parandusmeede |
| Veorihm on kulunud, lõtv
või katki. |
-
Paigaldage
uus veorihm.
|
| Veorihm on rihmarattalt
maha tulnud. |
-
Paigaldage
veorihm; õige asendi jaoks jälgige reguleerimisvardaid ja
rihmajuhte.
|
| Terade juhtlüliti
(PTO) või -sidur on vigane.
|
-
Võtke
ühendust volitatud teenindusega.
|
| Niiduki rihm on kulunud,
lõtv või katki. |
-
Paigaldage
uus niiduki rihm.
|