Underhåll
Säkerhet vid underhåll
- Om du lämnar nyckeln i tändningslåset
kan någon råka starta motorn av misstag och skada dig eller
någon annan person allvarligt. Ta
ut nyckeln ur tändningslåset innan du utför något
underhåll.
- Innan du kliver ur förarsätet
ska du göra följande:
- Ställ maskinen på ett
plant underlag.
- Koppla bort drivenheterna.
- Koppla in parkeringsbromsen.
- Stäng av motorn och ta ut
nyckeln.
- Vänta tills maskinen svalnat
innan underhåll utförs.
- Låt inte obehöriga personer
underhålla maskinen.
- Håll händer och fötter
borta från rörliga delar och heta ytor. Gör helst inga
justeringar när motorn är igång.
- Se till att alla skydd, sköldar,
strömbrytare och alla säkerhetsanordningar är på
plats och i gott skick. Undersök komponenterna
ofta med avseende på slitage eller försämring
och byt ut dem mot originaldelar från Toro vid behov.
- Lätta försiktigt på
trycket i komponenter med lagrad energi.
 |
Varning |
|
Borttagning eller modifiering
av originalutrustning, -delar och/eller -redskap kan påverka
maskinens garanti, styrbarhet och säkerhet.
Att göra otillåtna modifieringar av originalutrustning eller
underlåtenhet att använda originaldelar från Toro kan leda till allvarliga
personskador eller dödsfall.
- Kontrollera parkeringsbromsens
funktion ofta. Justera och utför underhåll om så erfordras.
- Mixtra aldrig med säkerhetsbrytarna.
Kontrollera regelbundet att säkerhetsbrytarna fungerar som de
ska.
- Ta bort gräs, löv, överflödigt
fett och olja och annat skräp från klippenheten, ljuddämparen,
drivhjulen, gräsuppsamlaren och motorrummet
för att förhindra bränder.
- Torka upp olja eller bränsle
som har spillts ut och ta bort skräp som har dränkts in
i bränsle.
- Stötta inte maskinen enbart
med mekaniska eller hydrauliska domkrafter. Använd lämpliga
domkrafter.
- Håll alla delar i gott bruksskick
och samtliga fästelement åtdragna, i synnerhet knivens fästelement.
- Använd endast originalreservdelar
och tillbehör från Toro för att säkerställa
optimal prestanda. Det kan medföra fara att använda reservdelar
och tillbehör från andra tillverkare.
Rekommenderat underhållsschema
| Efter de första åtta timmarna |
Byt ut motoroljan. |
| Efter de första 50 timmarna
|
Kontrollera att muttern är åtdragen. |
| Efter de första 75 timmarna
|
Byt ut hydraulvätskan och hydraulfiltret. |
| Före varje användningstillfälle
eller dagligen |
Kontrollera säkerhetssystemet.
|
| Kontrollera om det finns några smutsiga, lösa eller skadade
delar i luftrenaren. |
| Kontrollera oljenivån i motorn.
|
| Rengör luftintagsgallret.
|
| Kontrollera knivarna.
|
| Kontrollera att gräsriktaren inte är skadad. |
| Efter varje användning |
Ta bort gräs och skräp från maskinen. |
| Rengör klippdäckskåpan.
|
| Var 25:e timme |
Smörj svänghjulslagren (oftare vid förhållanden
med sandig mark). |
| Kontrollera däcktrycket.
|
| Kontrollera att remmarna inte är slitna eller spruckna. |
| Var 100:e timme |
Byt motoroljan (oftare vid dammiga och smutsiga förhållanden). |
| Byt ut eller rengör tändstiftet och ställ in luftgapet. |
| Byt ut det inbyggda bränslefiltret.
|
| Var 100:e timme eller årligen
beroende på vilket som
inträffar först
|
Byt ut luftrenarens pappersinsats (oftare vid dammiga eller smutsiga
förhållanden).
|
| Var 200:e timme
|
Byt motoroljefiltret (oftare vid dammiga och smutsiga förhållanden). |
| Var 300:e timme
|
Kontrollera och justera ventilspelet. Kontakta en auktoriserad återförsäljare. |
| Var 400:e timme
|
Byt ut hydraulvätskan och hydraulfiltret. |
| En gång per år
|
Kontrollera att muttern är åtdragen. |
| Innan förvaring |
Ladda batteriet och lossa batterikablarna.
|
| Utför alla underhållsprocedurer i listan ovan före
förvaring. |
| Måla i eventuella lackskador. |
| |
Ytterligare information om underhållsrutiner
finns i bruksanvisningen till motorn.
Procedurer för förunderhåll
Flytta en maskin som inte fungerar
-
Parkera maskinen
på en plan yta, koppla ur knivreglagebrytaren och för rörelsereglagespakarna
utåt till parkeringsläget.
-
Stäng
av motorn och vänta tills alla rörliga delar har stannat
innan du lämnar förarplatsen.
-
Hitta förbikopplingsspakarna
på ramen på bägge
sidor av motorn.
-
För
båda förbikopplingsspakarna framåt genom det avlånga
hålet och över för att låsa dem på plats
.
 |
Varning |
|
Vid
kontakt med heta ytor kan personskador uppstå.
Håll
händer, fötter, ansikte och andra kroppsdelar samt kläder
på avstånd från motorn, ljuddämparen och andra
heta ytor.
 |
Varning |
|
Maskinen
kan oavsiktligt röra sig om förbikopplingsspakarna är
låsta framåt i hålet och skada dig eller kringstående.
Lås förbikopplingsspakarna
bakåt när du har flyttat maskinen.
-
Koppla ur
parkeringsbromsen genom att flytta båda rörelsereglagespakarna
nedåt till mittläget, olåst läge.
Obs! Starta inte maskinen.
-
Flytta maskinen
efter behov.
Skjut
alltid maskinen för hand. Bogsera inte maskinen då bogsering
kan leda till att den skadas.
-
För
rörelsereglagespakarna utåt till parkeringsläget.
-
För
båda förbikopplingsspakarna bakåt och över genom
det avlånga hålet för att låsa dem på plats
.
Lossa klippdäckets kjol
-
Lossa de
två nedre skruvarna på kjolen för att få åtkomst
till klippdäckets ovansida.
Dra alltid
åt bultarna igen för att montera kjolen efter underhåll.
G453430
Motorunderhåll
Motorsäkerhet
- Håll händer, fötter,
ansikte och andra kroppsdelar samt kläder på avstånd
från ljuddämparen och övriga heta ytor. Vänta
tills motorn svalnat innan underhåll
utförs.
- Ändra inte motorns varvtalshållare
och övervarva inte motorn.
Luftrenarunderhåll
Ta bort luftrenarinsatsen
-
Parkera maskinen
på en plan yta, koppla ur knivreglagebrytaren och för rörelsereglagespakarna
utåt till parkeringsläget.
-
Stäng
av motorn och vänta tills alla rörliga delar har stannat
innan du lämnar förarplatsen.
-
Gör
rent omkring luftrenarhöljet
så att inte smuts faller
ned i motorn och orsakar skador.
-
Lossa slangklämman
och ta bort pappersinsatsen
.
Serva luftrenarens pappersinsats
-
Rengör
pappersinsatsen genom att knacka försiktigt på den för
att få bort damm.
Obs! Om pappersinsatsen är mycket smutsig bör den bytas ut mot
en ny.
-
Inspektera
och leta efter sprickor, oljebeläggning eller skador på
gummitätningen.
-
Byt ut pappersinsatsen
om den är skadad.
Rengör
inte pappersfiltret.
Motoroljeunderhåll
Specifikationer för motoroljan
| Oljetyp
|
Renad olja (API service SF, SG,
SH, SJ eller SL) |
| Vevhusvolym |
1,8 liter
utan filter, 2,1 liter med filter
|
| Viskositet |
Se tabellen nedan |
| |
Kontrollera oljenivån i motorn
-
Parkera maskinen
på en plan yta, koppla ur knivreglagebrytaren och för rörelsereglagespakarna
utåt till parkeringsläget.
-
Stäng
av motorn, ta ut nyckeln och vänta tills alla rörliga delar
har stannat innan du kliver ur förarsätet.
-
Vänta
tills motorn har svalnat så att oljan har hunnit rinna ned i
sumpen.
-
Rengör
området runt oljepåfyllningslocket/oljestickan innan du
tar bort stickan så att smuts och gräsklipp inte hamnar
i motorn.
-
Kontrollera
oljenivån enligt bilden.
Om
du fyller på för mycket eller för lite olja i motorns
vevhus och startar motorn kan den skadas.
Byta ut motoroljan
-
Parkera maskinen
så att tömningssidan är något lägre än
den motsatta sidan, så att all olja tappas ut.
-
Koppla ur
knivreglagebrytaren (kraftuttaget) och för rörelsereglagespakarna
utåt till parkeringsläget.
-
Stäng
av motorn, ta ut nyckeln och vänta tills alla rörliga delar
har stannat innan du kliver ur förarsätet.
-
Töm
motorn på olja.
-
Häll
långsamt ca 80 % av den angivna oljan i påfyllningsröret
och tillsätt långsamt ytterligare olja tills den når
markeringen Full.
-
Kassera använd
olja enligt lokala föreskrifter.
Byta ut motoroljefiltret
-
Töm
motorn på olja.
-
Byt motoroljefiltret
enligt anvisningarna.
Obs! Kontrollera att oljefilterpackningen ligger mot motorn och vrid sedan
oljefiltret ytterligare ¾ varv.
-
Fyll långsamt
på angiven olja i påfyllningsröret så att oljenivån
når upp till markeringen Full.
Utför service på tändstiftet
Se till att
mellanrummet mellan mitt- och sidoelektroderna är korrekt innan
tändstiftet monteras. Använd en tändstiftsnyckel
vid demontering och montering av tändstiftet
och ett bladmått för kontroll och justering av mellanrummet.
Montera vid behov ett nytt tändstift.
Typ: NGK® BPR4ES
Luftgap: 0,76 mm
Ta bort tändstiftet
-
Parkera maskinen
på en plan yta, koppla ur knivreglagebrytaren och för rörelsereglagespakarna
utåt till parkeringsläget.
-
Stäng
av motorn, ta ut nyckeln och vänta tills alla rörliga delar
har stannat innan du kliver ur förarsätet.
-
Rengör
området runt stiftets bas så att smuts och skräp inte
hamnar i motorn.
-
Ta bort tändstiftet.
Kontrollera tändstiftet
Rengör inte tändstiftet/-stiften.
Byt alltid ut tändstiftet om det har en svart beläggning,
slitna elektroder, en oljefilm eller
sprickor.
Om
isolatorn är ljust brun eller grå fungerar motorn korrekt.
En svart beläggning på isolatorn betyder vanligen att luftrenaren
är smutsig.
-
Ställ
in gapet till 0,76 mm.
Rengöra kylsystemet
-
Parkera maskinen
på en plan yta, koppla ur knivreglagebrytaren och för rörelsereglagespakarna
utåt till parkeringsläget.
-
Stäng
av motorn, ta ut nyckeln och vänta tills alla rörliga delar
har stannat innan du kliver ur förarsätet.
-
Ta bort luftfiltret
från motorn.
-
Ta bort motorhöljet.
-
Montera luftfiltret
på filterbasen för att förhindra att skräp kommer
in i luftintaget.
-
Avlägsna
skräp och gräs från delarna.
-
Ta bort luftfiltret
och montera motorhöljet.
-
Montera luftfiltret.
Bränsleunderhåll
 |
Fara |
|
Under vissa förhållanden
är bränsle extremt brandfarligt och mycket explosivt. Brand
eller explosion i bränsle kan orsaka
brännskador och materiella skador.
SeBränslesäkerhet fr en komplett
lista ver brnslerelaterade frsiktighetstgrder.
Byta ut bränslefiltret
-
Parkera maskinen
på en plan yta, koppla ur knivreglagebrytaren och för rörelsereglagespakarna
utåt till parkeringsläget.
-
Stäng
av motorn, ta ut nyckeln och vänta tills alla rörliga delar
har stannat innan du kliver ur förarsätet.
-
Kläm
fast bränsleslinjerna på båda sidor av bränslefiltret.
-
Byt ut filtret.
Obs! Säkerställ att pilen för flödesriktningen på
ersättningsfiltret pekar mot motorn.
Montera
aldrig ett smutsigt filter efter att ha tagit bort det från bränsleslangen.
-
Ta bort klämmorna
som blockerar bränsleflödet.
Underhålla elsystemet
Säkerhet för elsystemet
- Koppla bort kabeln från batteriets
minuspol innan du reparerar maskinen.
- Ladda batteriet i ett öppet
och välventilerat utrymme, på avstånd från gnistor
och öppna lågor. Koppla ur laddaren innan batteriet
ansluts eller kopplas bort. Använd
skyddskläder och isolerade verktyg.
Batteriunderhåll
Demontering av batteri
 |
Varning |
|
Batteripolerna eller verktyg av
metall kan kortslutas mot maskinkomponenter i metall och orsaka gnistor.
Gnistor kan få batterigaserna att
explodera, vilket kan leda till personskador.
- Vid avlägsnande eller installation
av batteriet får du inte låta batterianslutningarna komma
i kontakt med några av maskinens
metalldelar.
- Låt inte metallverktyg kortslutas
mellan batterianslutningarna och maskinens metalldelar.
-
Parkera maskinen
på en plan yta, koppla ur knivreglagebrytaren och för rörelsereglagespakarna
utåt till parkeringsläget.
-
Stäng
av motorn, ta ut nyckeln och vänta tills alla rörliga delar
har stannat innan du kliver ur förarsätet.
-
Lossa minuskabeln
(svart) från batteripolen.
Obs! Spara alla fästelement.
 |
Varning |
|
Felaktig
borttagning av kablar från batteriet kan orsaka gnistor, vilket
kan skada maskinen och kablarna. Gnistor kan få batterigaserna
att explodera, vilket kan leda
till personskador.
- Lossa alltid batteriets minuskabel
(svart) innan du lossar pluskabeln (röd).
- Anslut alltid pluskabeln (röd)
innan du ansluter minuskabeln (svart).
-
Dra av gummihöljet
från pluskabeln (röd).
-
Lossa pluskabeln
(röd) från batteripolen (+).
Obs! Spara alla fästelement.
-
Ta bort batteriets
låsfäste och lyft ut batteriet ur batterilådan.
G440221
-
Batteri
-
Anslutningssko
-
Batteriets minuspol (-)
-
Vingmutter, bricka och skruv
-
Batterilåsfäste
-
Skruv, bricka och mutter
-
Batteriets pluspol (+)
Ladda batteriet
 |
Varning |
|
När batteriet laddas bildas
explosiva gaser.
Rök aldrig nära batteriet
och håll det borta från gnistor och lågor.
Håll alltid batteriet fulladdat.
Detta är särskilt viktigt för att batteriet inte ska
skadas när temperaturen understiger
0 grader.
-
Ta bort batteriet
från maskinen.
-
Ladda batteriet
enligt anvisningarna från batteriladdarens tillverkare.
Överladda
inte batteriet, det kan annars skadas.
G003792S
- Batteriets
pluspol
- Batteriets
minuspol
- Röd
(+) laddningskabel
- Svart
(–) laddningskabel
-
När
batteriet är fulladdat ska laddaren kopplas bort från eluttaget
(i förekommande fall) först, och sedan ska laddningskablarna
lossas från batteripolerna.
Rengöra batteriet
Obs! Se till att hålla kabelanslutningarna och hela batterilådan
rena, eftersom ett smutsigt batteri långsamt laddas ur.
-
Parkera maskinen
på en plan yta, koppla ur knivreglagebrytaren och för rörelsereglagespakarna
utåt till parkeringsläget.
-
Stäng
av motorn och vänta tills alla rörliga delar har stannat
innan du lämnar förarplatsen.
-
Ta bort batteriet
från maskinen.
-
Tvätta
hela lådan med en lösning bestående av natriumbikarbonat
och vatten.
-
Skölj
av batteriet med rent vatten.
-
Fetta in
batteripoler och kabelanslutningar med smörjfett av typen Grafo
112X (skin-over) eller vaselin för att förhindra
korrosion.
-
Montera batteriet.
Montera batteriet
-
Placera batteriet
i lådan.
-
Anslut pluskabeln
(röd) till batteriets pluspol (+) med de fästelement som
togs bort tidigare.
-
Anslut minuskabeln
till batteriets minuspol (-) med de fästelement som du tog bort
tidigare.
-
Trä
på den röda anslutningsskon på batteriets pluspol (röd).
-
Fäst
batteriet med låsfästet.
G440221
-
Batteri
-
Anslutningssko
-
Batteriets minuspol (-)
-
Vingmutter, bricka och skruv
-
Batterilåsfäste
-
Skruv, bricka och mutter
-
Batteriets pluspol (+)
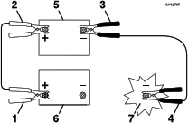
Starta maskinen med startkablar
 |
Varning |
|
Explosiva gaser kan bildas om
batteriet startas med startkablar.
Rök inte nära batteriet
och håll det borta från gnistor och lågor.
 |
Fara |
|
Att starta ett svagt batteri som
är sprucket eller fryst, har en låg elektrolytnivå
eller en öppen/kortsluten battericell
med startkablar kan orsaka en explosion som leder till allvarliga
personskador.
Starta inte ett svagt batteri
med startkablar under sådana förhållanden.
-
Kontrollera
batteripolerna och avlägsna rost innan du använder startkablar.
Kontrollera att anslutningarna är sammankopplade.
 |
Var försiktig |
|
Rost
eller lösa anslutningar kan när som helst leda till oönskade
elektriska spänningstoppar om du startar maskinen med startkablar.
Försök inte att starta
maskinen med startkablar om batteripolerna är lösa eller
rostiga, eftersom det kan leda till skador
på motorn.
-
Se till att
tillsatsbatteriet är ett fungerande fulladdat blybatteri på
12,6 V eller mer.
Obs! Använd startkablar av rätt dimension som är korta
så att spänningsfallet mellan systemen reduceras. Använd
färgkodade eller märkta
kablar för korrekt polaritet.
 |
Varning |
|
Batterier
innehåller syra och bildar explosiva gaser.
- Skydda alltid ögonen och
ansiktet från batterierna.
- Luta dig inte över batterierna.
Obs! Kontrollera att luftarlocken sluter åt och är plana. Lägg
om möjligt en fuktig duk över alla luftarlock på båda
batterierna. Kontrollera även
att maskinerna inte är i kontakt med varandra och att båda
de elektriska systemen är avstängda och har samma
märkspänning. Anvisningarna gäller
endast system med negativ jord.
-
Anslut pluskabeln
(+) till pluspolen (+) på det urladdade batteriet som är
anslutet till startmotorn eller elektromagneten
enligt bilden:
g012785
- Det urladdade
batteriets pluskabel (+)
- Tillsatsbatteriets
pluskabel (+)
- Tillsatsbatteriets
minuskabel (–)
- Motorblockets
minuskabel (–)
- Tillsatsbatteri
- Urladdat
batteri
- Motorblock
-
Anslut den
andra änden av plusstartkabeln (+) till batteriets pluspol på
den andra maskinen.
-
Anslut en
ände av kabelns minuspol (-) till minuspolen på batteriet
i den andra maskinen.
-
Anslut den
andra änden av kabelns minuspol (-) till en jordpunkt, t.ex.
en olackerad skruv eller chassidel.
-
Starta motorn
i den andra maskinen. Låt den gå några minuter och
starta sedan motorn.
-
Ta bort kablarna
i omvänd anslutningsföljd.
-
Montera kåpan
på startpolen.
Serva säkringarna
Elsystemet
skyddas av säkringar. Den kräver inget underhåll, men
om en säkring går bör du dock undersöka komponenten/kretsen
för funktionsfel eller kortslutning.
-
Parkera maskinen
på en plan yta, koppla ur knivreglagebrytaren och för rörelsereglagespakarna
utåt till parkeringsläget.
-
Stäng
av motorn, ta ut nyckeln och vänta tills alla rörliga delar
har stannat innan du kliver ur förarsätet.
-
Byt ut den
trasiga säkringen mot en ny säkring.
G440132
- Laddningskrets
(15 A)
- Huvudsäkring
(25 A)
Underhålla drivsystemet
Kontrollera däcktrycket
Håll lufttrycket i fram-
och bakdäcken enligt specifikationerna. Ojämnt lufttryck
i däcken kan orsaka ojämn klippning. Kontrollera
trycket vid ventilskaftet när däcken är
kalla för att få den mest exakta tryckavläsningen.
-
Pumpa upp
det främre svänghjulets däck till 1,03 bar eller
det tryck som anges på sidoväggen – välj det tryck som är
lägst.
-
Pumpa upp
de bakre drivhjulen till 0,9 bar.
Kontrollera hjulmuttrarna
-
Kontrollera
och dra åt hjulmuttrarna till till 129 Nm.
Justera spårningen
Om maskinen drar åt ena sidan
när du kör framåt med full hastighet över en plan,
jämn yta ska du justera spårningen.
Om maskinen
drar åt vänster justerar du höger rörelsereglage.
Om maskinen drar åt höger justerar du vänster rörelsereglage.
Obs! Du kan endast justera spårningen för körning framåt.
-
Parkera maskinen
på en plan yta, koppla ur knivreglagebrytaren och för rörelsereglagespakarna
utåt till parkeringsläget.
-
Stäng
av motorn, ta ut nyckeln och vänta tills alla rörliga delar
har stannat innan du kliver ur förarsätet.
-
Hitta skruven
för spårningsjustering i närheten av rörelsereglagespaken
på den sida som behöver justeras.
-
Rotera skruven
för att minska hastigheten för hjulet.
Obs! Vrid skruven lite grann för att göra mindre justeringar.
-
Starta maskinen
och kör framåt över en plan, jämn yta med rörelsereglagespakarna
framåt så långt det går för att kontrollera
om maskinen spårar rakt. Upprepa proceduren
efter behov.
Underhålla hydraulsystemet
Säkerhet för hydraulsystemet
- Sök omedelbar medicinsk hjälp
om hydraulvätska injiceras i huden. Den injicerade vätskan
måste tas bort inom några timmar
på kirurgisk väg av en läkare som känner
till denna typ av skada; annars kan det uppstå kallbrand.
- Se till att alla hydrauloljeslangar
och -ledningar är i gott skick och att alla hydraulanslutningar
och -kopplingar är ordentligt åtdragna
innan hydraulsystemet trycksätts.
- Håll kropp och händer
borta från småläckor eller munstycken som sprutar ut
hydraulvätska under högtryck.
- Använd en kartong- eller
pappersbit, inte dina händer, för att hitta hydraulvätskeläckage.
- Lätta på allt tryck
i hydraulsystemet på ett säkert sätt innan något
arbete utförs i hydraulsystemet.
Specifikationer för hydraulvätskan
Typ av hydraulvätska: Toro Premium
Hydro Oil (föredras) eller Mobil 1™ 15W50
Hydraulisk systemkapacitet: 2,3 liter
per sida
Använd angiven vätska.
Andra vätskor kan skada systemet.
Kontrollera hydraulvätskan
-
Parkera maskinen
på en plan yta, koppla ur knivreglagebrytaren och för rörelsereglagespakarna
utåt till parkeringsläget.
-
Stäng
av motorn, ta ut nyckeln och vänta tills alla rörliga delar
har stannat innan du kliver ur förarsätet.
-
Låt
maskinen svalna.
Kontrollera
hydraulvätskan endast när systemet är kallt (under
38 °C). Att tillsätta vätska när systemet
är varmt kan leda till överfyllning
av transaxeln och skada ventilatorenheten.
-
Ta bort påfyllningsöppningspluggen
och se till att vätska visas i botten av hålet.
-
Om nivån
är låg, tillsätt den angivna vätskan genom öppningen
för att höja den till botten av hålet.
-
Sätt
i pluggen och dra åt den till 13,6 Nm.
Byta ut hydraulvätskan och
hydraulfiltret
Byt inte hydraulvätskan utan
att byta filter såvida inte vätskan har blivit kontaminerad
eller varit extremt varm. Annars kan du
kontaminera systemet och skada det.
-
Parkera maskinen
på en plan yta, koppla ur knivreglagebrytaren och för rörelsereglagespakarna
utåt till parkeringsläget.
-
Stäng
av motorn, ta ut nyckeln och vänta tills alla rörliga delar
har stannat innan du kliver ur förarsätet.
-
Låt
maskinen svalna.
Byt
hydraulvätskan endast när systemet är kallt (under
38 °C). Att byta vätskan när systemet är
varmt kan leda till överfyllning
av transaxeln och skada ventilatorenheten.
-
Ta bort filterskyddet
från transaxeln.
-
Gör
försiktigt rent området runt filtret.
Låt
inte smuts komma in i hydraulsystemet eftersom det kan orsaka föroreningar.
-
Placera ett
avtappningskärl under filtret.
-
Byt ut filtret.
-
Montera filterskyddet.
Dra åt bultarna till 7 Nm.
-
Ta bort påfyllnadsöppningspluggen
och tillsätt den angivna vätskan genom öppningen för
att höja den till botten av hålet.
-
Sätt
i pluggen och dra åt den till 13,6 Nm.
-
Upprepa proceduren
för den andra transaxeln.
-
Lufta hydraulsystemet
-
Parkera maskinen
på en plan yta, koppla ur knivreglagebrytaren och för rörelsereglagespakarna
utåt till parkeringsläget.
-
Stäng
av motorn, ta ut nyckeln och vänta tills alla rörliga delar
har stannat innan du kliver ur förarsätet.
-
Hissa upp
maskinens bakre del med pallbockar så pass högt att drivhjulen
höjs från marken.
-
Starta motorn,
flytta gasreglaget framåt till halvgasläget och koppla ur
parkeringsbromsen genom att flytta båda rörelsereglagespakarna
ner till det centrala, olåsta läget.
-
Ha överströmningsventilerna
öppna, låt motorn gå och för båda rörelsereglagespakarna
sakta framåt och bakåt fem eller sex
gånger.
-
Ha överströmningsventilerna
stängda, låt motorn gå och för båda rörelsereglagespakarna
sakta framåt och bakåt fem eller sex
gånger.
-
Stäng
av motorn och ta ut nyckeln.
-
Kontrollera
hydraulvätskenivån och fyll på vätska vid behov.
-
Upprepa proceduren
efter behov tills all luft har tömts ut helt ur systemet.
Obs! Transaxeln är helt tömd på luft när ljudet från
den är normalt och den går jämnt framåt och bakåt
vid normal hastighet.
-
Ta bort pallbockarna.
Underhåll av remmar
Kontrollera remmarna
-
Parkera maskinen
på en plan yta, koppla ur knivreglagebrytaren och för rörelsereglagespakarna
utåt till parkeringsläget.
-
Stäng
av motorn och vänta tills alla rörliga delar har stannat
innan du lämnar förarplatsen.
-
Ställ
in klipphöjden på det lägsta klippläget.
-
Kontrollera
om remmen är sliten. Byt ut remmen om den är sliten.
Gnisslande
ljud när remmen roterar, slirande knivar vid gräsklippning,
fransiga remkanter, brännmärken och sprickor är tecken
på en sliten klipparrem.
Byta ut klipparremmen
Gnisslande
ljud när remmen roterar, slirande knivar vid gräsklippning,
fransiga remkanter, brännmärken och sprickor är tecken
på en sliten klipparrem. Byt ut klipparremmen
om något av dessa tillstånd förekommer.
-
Parkera maskinen
på en plan yta, koppla ur knivreglagebrytaren och för rörelsereglagespakarna
utåt till parkeringsläget.
-
Stäng
av motorn, ta ut nyckeln och vänta tills alla rörliga delar
har stannat innan du kliver ur förarsätet.
-
Ställ
in klipphöjden på det lägsta klippläget.
-
Lossa klippdäckets
kjol.
-
Ta bort remskivekåporna.
-
Lossa muttern
som fäster kabelslangen på mellanremskivan.
-
Använd
ett fjäderborttagningsverktyg (Toro-artikelnr 92-5771) och ta
bort mellanremskivans fjäder från däckkroken så
att spänningen på mellanremskivan
minskas.
 |
Varning |
|
Fjädern
är spänd när den är monterad och kan orsaka personskador.
Var försiktig när du
tar loss remmen.
G453682
- Remskiva
för klippdäck
- Klipparrem
- Motorremskiva
- Mellanremskiva
- Fjäder
- Fjäderborttagningsverktyg
-
Rulla av
remmen från remskivorna.
-
Dra den nya
remmen runt motorremskivan och klipparremskivorna.
-
Använd
ett fjäderborttagningsverktyg för att montera mellanremskivans
fjäder på däckkroken så att mellanremskivans och
klipparremmens spänning ökar.
-
Positionera
kabelslangen mot mellandrevsarmen enligt bilden och dra åt muttern.
-
Montera remskivekåporna.
-
Dra åt
skruvarna som fäster klippdäckets kjol.
Underhåll av klippdäck
Knivsäkerhet
- Kontrollera om knivarna är
slitna eller skadade med jämna mellanrum.
- Var försiktig när du
kontrollerar knivarna. Svep något omkring kniven/knivarna eller
bär handskar, och var försiktig vid underhåll.
Skadade knivar får endast bytas ut – de får aldrig rätas
ut eller svetsas.
- Var försiktig vid hantering
av maskiner med flera knivar, eftersom en roterande kniv kan få
andra knivar att rotera.
- Byt ut slitna eller skadade knivar
och skruvar i satser så att balanseringen bibehålls.
Knivunderhåll
För bästa klippresultat
ska knivarna hållas vassa. Ha extraknivar till hands för
att lätt kunna slipa och byta ut dem.
Byt ut knivarna om de slår
i ett hårt föremål eller om kniven är obalanserad
eller böjd.
Gör följande innan du kontrollerar eller servar knivarna
-
Parkera maskinen
på en plan yta, koppla ur knivreglagebrytaren och för rörelsereglagespakarna
utåt till parkeringsläget.
-
Stäng
av motorn, ta ut nyckeln och vänta tills alla rörliga delar
har stannat innan du kliver ur förarsätet.
-
Lossa tändkablarna
från tändstiften.
Kontrollera om knivarna är böjda
Maskinen måste
stå på en plan yta när denna procedur utförs.
-
Höj
klippdäcket till det högsta klippläget.
-
Bär
tjocka vadderade handskar eller annat lämpligt handskydd och
rotera långsamt kniven till ett läge så att du kan
mäta avståndet mellan knivseggen
och det plana underlaget.
-
Mät
från knivens spets till den plana ytan.
G451422
- Kniv
(i mätposition)
- Plan
yta
- Uppmätt
avstånd mellan kniv och yta (A)
-
Rotera samma
kniv 180 grader så att den motsatta knivseggen nu är
i samma läge.
G451423
- Tidigare
uppmätt knivkant
- Motsatt
knivkant
-
Mät
från knivens spets till den plana ytan.
G451422
- Kniv
(i mätposition)
- Plan
yta
- Uppmätt
avstånd mellan kniv och yta (B)
-
Om skillnaden
mellan A och B är större än 3 mm ska kniven bytas
ut.
Obs! Om du byter ut kniven och skillnaden fortsätter att överstiga
3 mm kan knivspindeln vara böjd. Kontakta en auktoriserad
återförsäljare
för service.
-
Upprepa denna
procedur på samtliga knivar.
Avlägsna knivarna
-
Håll
knivänden med en trasa eller en tjockt vadderad handske.
-
Ta bort kniven
enligt bilden.
Slipa knivarna
-
Slipa eggarna
i båda ändarna av kniven med en fil. Se till att behålla
den ursprungliga vinkeln
.
Obs! Ta bort samma mängd material från båda skäreggarna
så att kniven förblir balanserad.
-
Kontrollera
knivens balans
med hjälp av en knivbalanserare
.
Obs! Om kniven stannar kvar i ett horisontellt läge är den i
balans och kan användas.
Om kniven inte
är balanserad kan du fila bort lite metall från knivens
segeldel.
-
Upprepa proceduren
tills kniven är balanserad.
Montera knivarna
 |
Varning |
|
Om du använder maskinen efter
felaktig montering av knivsatsen och/eller om du inte använder
originalknivar och -fästelement
från Toro kan en kniv eller en knivkomponent
slungas ut från däcket, vilket kan leda till allvarliga
personskador eller dödsfall.
Montera alltid originellaToroknivar och -fästelement
enligt instruktionerna.
-
Installera
kniven enligt bilden.
Obs! Knivens böjda del måste alltid peka uppåt, mot gräsklipparens
insida, för att klippningen ska bli rätt.
-
Dra åt
knivskruven till 136–149 Nm.
Balansera klippdäcket
Kontrollera
att klippdäcket är i våg när du monterar det eller
om du märker att gräsmattan blir ojämnt klippt.
Förbereda för att balansera klippdäcket
-
Parkera maskinen
på en plan yta, koppla ur knivreglagebrytaren och för rörelsereglagespakarna
utåt till parkeringsläget.
-
Stäng
av motorn, ta ut nyckeln och vänta tills alla rörliga delar
har stannat innan du kliver ur förarsätet.
-
Se till att
däcken är uppumpade till rätt specifikationer och att
länkhjulen är vända rakt fram.
-
Kontrollera
att klippdäckets knivar inte är böjda. Ta bort och
byt ut alla böjda knivar.
-
Höj
klippdäcket till en klipphöjd på 76 mm.
Kontrollera att klippdäcket är balanserat
-
Ställ
in knivarnas lutning i sidled.
-
Mät
på platserna
och
från en plan yta, till knivspetsarnas
egg
.
Skillnaden mellan måtten
bör vara högst 5 mm. Om måttet är större
justerar du nivån sidledes.
-
Placera en
kniv framåt-bakåt.
-
Mät
på platser
och
från en plan yta till knivspetsens
skärkant
.
Den främre knivens spets
bör vara 1,6–7,9 mm lägre
än den bakre knivens spets. Om mätningen inte är korrekt
justerar du den främre-bakre lutningen.
Balansera klippdäcket
-
Ställ
in antiskalpvalsarna i de översta hålen eller ta bort dem
helt när du utför den här proceduren.
-
Ställ
in klipphöjdsreglaget på läget 76 mm.
-
Placera två
klossar
, var och en med en tjocklek på
6,6 cm, under var sida av klippdäckets framkant.
Placera
inte klossarna under antiskalpvalsfästena.
-
Placera två
klossar
, var och en med en tjocklek på
7,3 cm, under var sida av klippdäckets bakkant.
-
Lossa de
nedre fästelementen som håller fast fästena i klippdäckets
alla fyra hörn och se till att klippdäcket sitter säkert
på alla fyra klossarna.
-
Se till att
däcksfästena inte är slaka och att däcklyftsfotspaken
är tryckt så långt tillbaka det går.
-
Dra åt
fästelementen.
-
Kontrollera
att klossarna sitter säkert fast under däckets kant och
att alla skruvarna är åtdragna.
-
Kontrollera
den sidledes och främre-bakre lutningen. Upprepa proceduren tills
måtten är korrekta.
Demontera klippdäcket
-
Parkera maskinen
på en plan yta, koppla ur knivreglagebrytaren och för rörelsereglagespakarna
utåt till parkeringsläget.
-
Stäng
av motorn, ta ut nyckeln och vänta tills alla rörliga delar
har stannat innan du kliver ur förarsätet.
-
Sänk
ner klipphöjdsreglaget till lägsta klipphöjd.
-
Lossa klippdäckets
kjol.
-
Ta bort hårnålssprinten
och bricka från den främre stödstången
och ta bort stången från
däckfästet
.
Obs! Spara alla delar för framtida montering.
-
Ta bort de
övre fästena som håller fast fästena på alla
fyra lyftarmarna.
-
Skjut klipparen
bakåt för att avlägsna klipparremmen från motorremskivan.
-
Dra ut klipparen
från maskinens undersida.
Montera klippdäcket
-
Parkera maskinen
på en plan yta, koppla ur knivreglagebrytaren och för rörelsereglagespakarna
utåt till parkeringsläget.
-
Stäng
av motorn, ta ut nyckeln och vänta tills alla rörliga delar
har stannat innan du kliver ur förarsätet.
-
Skjut in
klippardäcket under maskinen.
-
Sänk
ner klipphöjdsreglaget till lägsta klipphöjd.
-
Montera lyftlänkarna
på däckets lyftarmar med de fästelement som du tog
bort tidigare.
-
Fäst
den främre stödstången
på klippdäcksfästet
med hårnålssprinten
och brickan.
-
Montera klipparremmen
på motorremskivan.
-
Dra åt
skruvarna som fäster klippdäckets kjol.
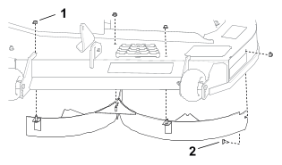
Byta ut gräsriktaren
 |
Fara |
|
Om utkastaröppningen är
öppen kan föremål slungas iväg mot dig eller kringstående.
Det skulle också kunna medföra kontakt
med knivarna. Utslungade föremål eller kontakt
med knivarna orsakar allvarliga personskador eller dödsfall.
Kör
inte gräsklipparen med gräsriktaren uppfälld eller
om denna har tagits bort eller modifierats, såvida inte ett gräsuppsamlingssystem
eller en fungerande mullningssats är
monterad.
-
Parkera maskinen
på en plan yta, koppla ur knivreglagebrytaren och för rörelsereglagespakarna
utåt till parkeringsläget.
-
Stäng
av motorn, ta ut nyckeln och vänta tills alla rörliga delar
har stannat innan du kliver ur förarsätet.
-
Lossa fjädern
från spåret i riktarfästet och skjut ut stången
ur de svetsade däckfästena, fjädern och utkastarriktaren.
G456086
- Stång
- Gräsriktare
- Fjäder
- Däckfästen
- Saxpinne
- Fjäder
som monterats på stången
-
Ta bort den
skadade eller slitna gräsriktaren.
-
Placera den
nya utkastarriktaren med fästenas ändar mellan de svetsade
fästena på däcket enligt bilden.
G456085
- Stången
och fjädern har monterats
- Fjäderns
ögleände har placerats i utkastarfästets spår
- Stångens
korta ände har förts bakom klipparfästet
- Den korta
änden hålls fast av klipparfästet
- Saxpinne
-
Fäst
stång- och fjäderenheten genom att vrida den så att
stångens korta ände placeras bakom det främre fästet
som svetsats fast på däcket.
-
Montera saxpinnen
på stångens ände.
Gräsriktaren
måste vara fjäderupphängd i nedåtriktat läge.
Lyft upp riktaren för att kontrollera att den snäpper på
plats i det nedåtriktade läget.
Rengöra
Avfallshantering
Motorolja, batterier, hydraulvätska
och kylarvätska förorenar miljön. Kassera dessa produkter
i enlighet med gällande statliga och
lokala föreskrifter.
Felsökning
Bränsletanken uppvisar tecken
på kollaps eller maskinen uppvisar ofta tecken på att den
håller på att få bränslestopp.
| Möjliga orsaker |
Åtgärd |
| Luftrenarens pappersinsats
är igensatt. |
-
Rengör
pappersinsatsen.
|
Motorn överhettas.
| Möjliga orsaker |
Åtgärd |
| Motorn belastas för
hårt. |
-
Sänk
hastigheten.
|
| Oljenivån i vevhuset
är låg. |
-
Fyll på
olja i vevhuset.
|
| Kylflänsarna och luftkanalerna
under motorns fläkthus är igensatta.
|
-
Ta bort hindret
från kylflänsarna och luftkanalerna.
|
| Luftrenaren är smutsig. |
-
Rengör
eller byt ut luftrenarinsatsen.
|
| Det finns smuts, vatten
eller gammalt bränsle i bränslesystemet.
|
-
Kontakta
en auktoriserad återförsäljare.
|
Startmotorn startar inte.
| Möjliga orsaker |
Åtgärd |
| Knivreglaget står
i inkopplat läge. |
-
Koppla ur
knivreglagebrytaren.
|
| Rörelsereglagespakarna
är inte i parkeringsläget.
|
-
För
rörelsereglagespakarna utåt till parkeringsläget.
|
| Batteriet är urladdat. |
-
Ladda batteriet.
|
| De elektriska anslutningarna
har korroderat eller lossnat.
|
-
Kontrollera
att de elektriska anslutningarna har god kontakt.
|
| En säkring har gått. |
-
Byt ut säkringen.
|
| Ett relä eller en
brytare är defekt. |
-
Kontakta
en auktoriserad återförsäljare.
|
Motorn startar inte, är trögstartad
eller stannar efter en stund.
| Möjliga orsaker |
Åtgärd |
| Bränsletanken är
tom. |
-
Fyll bränsletanken.
|
| Choken (i förekommande
fall) är inte igång.
|
-
För
chokereglaget till läget På.
|
| Luftrenaren är smutsig. |
-
Rengör
eller byt ut luftrenarinsatsen.
|
| Tändkabeln/-kablarna
är lös(a) eller urkopplad(e).
|
-
Sätt
på tändkabeln/-kablarna på tändstiftet.
|
| Tändstiftet/-stiften
är anfrätt(a), skadat(skadade) eller avståndet är
felaktigt inställt. |
-
Montera ett
nytt tändstift (nya tändstift) med korrekt avstånd.
|
| Det finns smuts i bränslefiltret. |
-
Byt ut bränslefiltret.
|
| Det finns smuts, vatten
eller gammalt bränsle i bränslesystemet.
|
-
Kontakta
en auktoriserad återförsäljare.
|
| Bränslesystemet innehåller
felaktigt bränsle. |
-
Töm
tanken och byt ut bränslet mot rätt typ.
|
| Oljenivån i vevhuset
är låg. |
-
Fyll på
olja i vevhuset.
|
Motorn tappar kraft.
| Möjliga orsaker |
Åtgärd |
| Motorn belastas för
hårt. |
-
Sänk
hastigheten.
|
| Luftrenaren är smutsig. |
-
Rengör
luftrenarinsatsen.
|
| Oljenivån i vevhuset
är låg. |
-
Fyll på
olja i vevhuset.
|
| Kylflänsarna och luftkanalerna
under motorns fläkthus är igensatta.
|
-
Ta bort hindret
från kylflänsarna och luftkanalerna.
|
| Tändstiftet/-stiften
är anfrätt(a), skadat(skadade) eller avståndet är
felaktigt inställt. |
-
Montera ett
nytt tändstift (nya tändstift) med korrekt avstånd.
|
| Bränsletankens ventil
är blockerad. |
-
Kontakta
en auktoriserad återförsäljare.
|
| Det finns smuts i bränslefiltret. |
-
Byt ut bränslefiltret.
|
| Det finns smuts, vatten
eller gammalt bränsle i bränslesystemet.
|
-
Kontakta
en auktoriserad återförsäljare.
|
| Bränslesystemet innehåller
felaktigt bränsle. |
-
Kontakta
en auktoriserad återförsäljare.
|
Maskinen driver inte.
| Möjliga orsaker |
Åtgärd |
| Överströmningsventilerna
är öppna. |
-
Stäng
bogserventilerna.
|
| Drivremmarna är slitna,
lösa eller trasiga. |
-
Kontakta
en auktoriserad återförsäljare.
|
| Drivremmarna har lossnat
från remskivorna. |
-
Kontakta
en auktoriserad återförsäljare.
|
| Misslyckad transmission. |
-
Kontakta
en auktoriserad återförsäljare.
|
Maskinen vibrerar på ett
onormalt sätt.
| Möjliga orsaker |
Åtgärd |
| Kniven/knivarna är
böjd(a) eller obalanserad(e).
|
-
Montera ny(a)
kniv(ar).
|
| Knivens fästbult är
lös. |
-
Dra åt
knivens fästskruv.
|
| Motorns fästskruvar
är lösa. |
-
Dra åt
motorns fästskruvar.
|
| Det finns en lös motorremskiva,
mellanremskiva eller knivremskiva.
|
-
Dra åt
aktuell remskiva.
|
| Motorremskivan är
skadad. |
-
Kontakta
en auktoriserad återförsäljare.
|
| En knivspindel är
böjd. |
-
Kontakta
en auktoriserad återförsäljare.
|
| Motorfästet är
löst eller slitet. |
-
Kontakta
en auktoriserad återförsäljare.
|
Klipphöjden är ojämn.
| Möjliga orsaker |
Åtgärd |
| Kniven/knivarna är
inte skarp/skarpa. |
-
Slipa kniven/knivarna.
|
| Kniven/knivarna är
böjd(a). |
-
Montera nya
knivar.
|
| Klipparen är inte
balanserad. |
-
Balansera
klipparens lutning i sidled och den främre-bakre lutningen.
|
| En antiskalpvals (i förekommande
fall) är felaktigt inställd.
|
-
Justera antiskalphjulets
höjd.
|
| Klippdäckets undersida
är smutsig. |
-
Rengör
klipparens undersida.
|
| Däcktrycket är
felaktigt. |
-
Justera däcktrycket.
|
| En knivspindel är
böjd. |
-
Kontakta
en auktoriserad återförsäljare.
|
Knivarna roterar inte.
| Möjliga orsaker |
Åtgärd |
| Drivremmen är sliten,
lös eller skadad. |
-
Montera en
ny drivrem.
|
| Drivremmen har lossnat
från remskivan. |
-
Montera drivremmen
och kontrollera justeringsaxlarna och remstyrningarna för rätt
position.
|
| Kraftuttagsbrytaren eller
kraftuttagskopplingen är trasig.
|
-
Kontakta
en auktoriserad återförsäljare.
|
| Klipparremmen är sliten,
lös, eller trasig. |
-
Montera en
ny klipparrem.
|