
. Scrieți numerele în
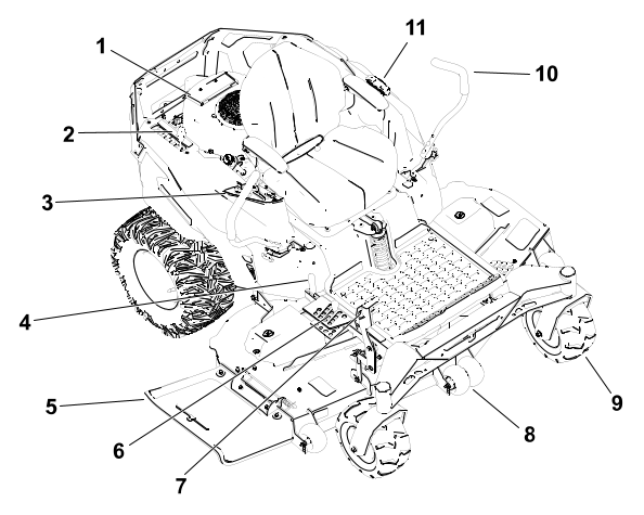
spațiul furnizat.| Informații importante |
| Număr model: |
Număr de serie: |

![]() |
Pericol | |
![]() |
Avertisment | |
![]() |
Atenţie | |
























| Puntea mașinii de tuns iarba
de 122 cm |
Puntea mașinii de tuns iarba
de 137 cm |
Puntea mașinii de tuns iarba
de 152 cm |
|
|---|---|---|---|
| Lățime |
122 cm
|
137 cm
|
152 cm
|
| Lungime
|
208 cm
|
208 cm
|
208 cm
|
| Înălțime |
124 cm
|
124 cm
|
124 cm
|
| Greutate
|
358 kg
|
364 kg
|
371 kg
|
![]() |
Avertisment | |
| Capacitate
|
19 L |
| Tip
|
Benzină fără
plumb |
| Cifră octanică minimă |
87 (US) sau 91 (cifră octanică
în cercetare; în afara S.U.A.)
|
| Etanol
|
Maxim 10% în funcţie
de volum |
| Metanol
|
Fără
|
| MTBE (terț butil metil eter) |
Sub 15% în funcţie
de volum |
| Ulei
|
Nu adăugaţi în
combustibil |
| Informații importante |
| Informații importante |

![]() |
Avertisment | |







.
.
și strângeți
rozeta
.![]() |
Avertisment | |




![]() |
Avertisment | |





![]() |
Avertisment | |






| Informații importante |


![]() |
Atenţie | |
![]() |
Atenţie | |


![]() |
Pericol | |
![]() |
Pericol | |


![]() |
Pericol | |

cu piciorul, pentru a ridica
puntea mașinii de tuns iarba.
din consola pentru înălțimea
de tăiere.
.
pentru a bloca puntea mașinii
de tuns iarba în poziția de Transport.
în poziția Deblocare, apoi coborâți
ușor puntea mașinii de tuns iarba la înălțimea
de tăiere dorită.
| Informații importante |
![]() |
Avertisment | |
![]() |
Avertisment | |

![]() |
Avertisment | |



![]() |
Avertisment | |
| Întreținere Interval de service |
Procedură de întreţinere |
|---|---|
| După primele 8 ore
|
Schimbați uleiul de motor.
|
| După primele 50 ore
|
Verificați cuplul de strângere a prizoanelor. |
| După primele 75 ore
|
Schimbați uleiul hidraulic și filtrul. |
| Înainte
de fiecare folosinţă sau zilnic |
Verificați sistemul de blocare de siguranță. |
| Verificați dacă filtrul de aer prezintă piese murdare,
slăbite sau deteriorate.
|
|
| Verificați nivelul uleiului de motor.
|
|
| Curățați ecranul de admisie a aerului. |
|
| Inspectarea lamelor. |
|
| Verificați dacă deflectorul pentru iarbă este deteriorat. |
|
| După fiecare utilizare |
Curățați iarba și reziduurile de pe mașină. |
| Curățați carcasa punții mașinii de
tuns iarba. |
|
| La intervale de 25 de ore |
Lubrifiați rulmenții roților pivotante (mai frecvent
în condiţii de soluri nisipoase).
|
| Verificați presiunea din anvelope.
|
|
| Verificați dacă există urme de uzură sau
fisuri ale curelelor. |
|
| La intervale de 100 de ore |
Schimbați uleiul de motor (mai des în cazul condițiilor
de operare cu murdărie sau praf).
|
| Înlocuiți sau curățați și distanțați
bujia. |
|
| Înlocuiți filtrul de combustibil în linie. |
|
| La fiecare 100 de ore sau anual,
în funcție de care situație apare
prima
|
Înlocuiți elementul din hârtie al filtrului de aer
(mai frecvent în condiţii de mediu cu murdărie sau
praf). |
| La intervale de 200 de ore
|
Schimbați filtrul de ulei de motor (mai frecvent în condiții
de mediu cu praf sau murdărie).
|
| La intervale de 300 de ore
|
Verificați şi reglați jocul supapelor. Contactaţi
un centru de service autorizat.
|
| La intervale de 400 de ore
|
Schimbați uleiul hidraulic și filtrul. |
| Anual |
Verificați cuplul de strângere a prizoanelor. |
| Înainte de depozitare |
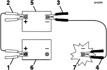
Încărcați bateria și deconectați cablurile
acesteia. |
| Efectuați toate procedurile de întreţinere enumerate
mai sus înainte de depozitare.
|
|
| Vopsiți toate suprafețele
zgâriate. |
|
| Informații importante |
de pe cadru, pe ambele
părți ale motorului.
.![]() |
Avertisment | |
![]() |
Avertisment | |
| Informații importante |
.| Informații importante |


pentru a preveni pătrunderea
murdăriei în motor și a evita deteriorarea.
și îndepărtați
elementul din hârtie
.| Informații importante |

pe baza filtrului de aer.
și strângeți
clema pentru furtun
.| Tip de ulei |
Ulei detergent (service API, SF,
SG, SH, SJ, sau SL) |
| Capacitate carter |
1,8 l; fără
filtru; 2,1 l cu filtru
|
| Vâscozitate |
Consultați tabelul de mai
jos |
![]() |
|

| Informații importante |





| Informații importante |


![]() |
Pericol | |
| Informații importante |

![]() |
Avertisment | |
![]() |
Avertisment | |

![]() |
Avertisment | |
| Informații importante |
| Informații importante |


![]() |
Avertisment | |
![]() |
Pericol | |
![]() |
Atenţie | |
![]() |
Avertisment | |




| Informații importante |
| Informații importante |

| Informații importante |
| Informații importante |

| Informații importante |




![]() |
Avertisment | |








.
așezând-o pe
un dispozitiv de echilibrare a lamei
.![]() |
Avertisment | |


și
la marginea de tăiere a
vârfurilor lamelor
.
și
la marginea de tăiere a
vârfurilor lamelor
.
, fiecare având o grosime
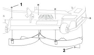
de 6,6 cm, sub fiecare parte a marginii frontale a punții.| Informații importante |
, fiecare având o grosime
de 7,3 cm, sub fiecare parte a marginii posterioare a punții.

și scoateți tija
din suportul pentru punte
.


la suportul punții
cu știftul în formă
de agrafă și piulița.![]() |
Pericol | |


| Informații importante |
| Informații importante |
| Informații importante |
| Cauze posibile |
Acţiuni corective |
|---|---|
| Elementul din hârtie
al filtrului de aer este colmatat.
|
|
| Cauze posibile |
Acţiuni corective |
|---|---|
| Sarcina motorului este
excesivă. |
|
| Nivelul de ulei din carter
este scăzut. |
|
| Nervurile de răcire
și canalele de aer de sub carcasa suflantei motorului sunt obturate. |
|
| Filtrul de aer este murdar. |
|
| În sistemul de combustibil
există murdărie, apă sau combustibil expirat. |
|
| Cauze posibile |
Acţiuni corective |
|---|---|
| Comutatorul de comandă
pentru lamă este cuplat.
|
|
| Manetele de control al
mișcării nu sunt în poziția parcare.
|
|
| Bateria este inactivă. |
|
| Conexiunile electrice sunt
corodate sau slăbite. |
|
| Este arsă o siguranță. |
|
| Un releu sau comutator
este deteriorat. |
|
| Cauze posibile |
Acţiuni corective |
|---|---|
| Rezervorul de combustibil
este gol. |
|
| Șocul (dacă
este disponibil) nu este activat.
|
|
| Filtrul de aer este murdar. |
|
| Cablul (cablurile) bujiei
este/sunt slăbit/e sau deconectat/e.
|
|
| Bujia (bujiile) este (sunt)
corodată (corodate), murdară (murdare) sau jocul este
incorect. |
|
| Filtrul de combustibil
conține impurități.
|
|
| În sistemul de combustibil
există murdărie sau combustibil expirat.
|
|
| Rezervorul conține
combustibil de tip necorespunzător.
|
|
| Nivelul de ulei din carter
este scăzut. |
|
| Cauze posibile |
Acţiuni corective |
|---|---|
| Sarcina motorului este
excesivă. |
|
| Filtrul de aer este murdar. |
|
| Nivelul de ulei din carter
este scăzut. |
|
| Nervurile de răcire
și canalele de aer de sub carcasa suflantei motorului sunt obturate. |
|
| Bujia (bujiile) este (sunt)
corodată (corodate), murdară (murdare) sau jocul este
incorect. |
|
| Orificiul de aerisire al
rezervorului de combustibil este blocat.
|
|
| Filtrul de combustibil
conține impurități.
|
|
| În sistemul de combustibil
există murdărie, apă sau combustibil expirat. |
|
| Rezervorul conține
combustibil de tip necorespunzător.
|
|
| Cauze posibile |
Acţiuni corective |
|---|---|
| Supapele de bypass sunt
deschise. |
|
| Curelele de tracțiune
sunt uzate, slăbite sau rupte.
|
|
| Curelele de tracțiune
sunt îndepărtate de pe fulii.
|
|
| Defecțiune a transmisiei. |
|
| Cauze posibile |
Acţiuni corective |
|---|---|
| Lamele de tăiere
sunt îndoite sau nu sunt echilibrate.
|
|
| Șurubul pentru montarea
lamei este slăbit. |
|
| Șuruburile pentru
montarea motorului sunt slăbite.
|
|
| Fulia motorului, fulia
rolei de ghidare sau fulia lamei sunt slăbite.
|
|
| Fulia motorului este deteriorată. |
|
| Axul lamei este îndoit. |
|
| Suportul motorul este slăbit
sau uzat. |
|
| Cauze posibile |
Acţiuni corective |
|---|---|
| Lama (lamele) de tăiere
nu este (sunt) ascuțită (ascuțite). |
|
| Lamele de tăiere
sunt îndoite. |
|
| Planeitatea mașinii
de tuns iarba nu este corectă.
|
|
| O rolă anti-scalp
(dacă este aplicabil) nu este setată corect. |
|
| Partea inferioară
a punții mașinii de tuns iarba este murdară. |
|
| Presiunea din anvelope
este incorectă. |
|
| Un ax al lamei este îndoit. |
|
| Cauze posibile |
Acţiuni corective |
|---|---|
| Cureaua de transmisie a
este uzată, slăbită sau ruptă. |
|
| Cureaua de transmisie este
scoasă din fulie. |
|
| Comutatorul prizei de putere
sau ambreiajul prizei de putere este defect.
|
|
| Cureaua mașinii de
tuns iarba este uzată, slăbită sau ruptă. |
|
