Manutenção
Segurança da manutenção
- Se deixar a chave na ignição,
alguém pode ligar acidentalmente o motor e feri-lo a si ou às
pessoas que se encontrarem próximo
da máquina. Retire a chave da ignição antes de fazer
qualquer revisão.
- Antes de sair da posição
de operador, faça o seguinte:
- Estacione a máquina numa
superfície plana.
- Desengate as transmissões.
- Engate o travão de estacionamento.
- Desligue o motor e retire a chave.
- Espere até que a máquina
arrefeça antes de realizar a manutenção.
- Não permita que funcionários
não qualificados efetuem a manutenção da máquina.
- Mantenha as mãos e os pés
longe de peças em movimento ou superfícies quentes. Se possível,
não efetue qualquer ajuste quando
o motor se encontrar em funcionamento.
- Mantenha todos os resguardos,
proteções, interruptores e todos os dispositivos de segurança
no local e em boas condições de
funcionamento. Verifique frequentemente se os componentes estão
gastos ou deteriorados e substitua-os por peças genuínas Toro, quando necessário.
- Cuidadosamente, liberte a pressão
dos componentes com energia acumulada.
 |
Aviso |
|
A remoção ou modificação
do equipamento, peças e/ou acessórios originais pode alterar
a garantia, a capacidade de controlo
e a segurança da máquina. Realizar modificações
não autorizadas ao equipamento original ou a não utilização
de peças originais Toro podem levar a ferimentos
graves ou morte.
- Verifique frequentemente o funcionamento
do travão de estacionamento. Efetue os ajustes e manutenções
adequados sempre que necessário.
- Nunca altere os dispositivos de
segurança. Verifique regularmente se o funcionamento é o
adequado.
- Limpe relva, folhas, lubrificante
e óleo em excesso e outros detritos da unidade de corte, panela
de escape, transmissões, depósito
de relva e compartimento do motor, de modo a evitar qualquer risco
de incêndio.
- Limpe os salpicos de óleo
ou combustível e retire detritos encharcados em combustível.
- Não confie apenas num sistema
mecânico ou macacos hidráulicos para suportar a máquina.
Utilize bases de macaco adequadas.
- Mantenha todas as peças da
máquina em boas condições de trabalho e as partes corretamente
apertadas, especialmente as partes do engate
da lâmina.
- Para assegurar máximo desempenho,
utilize apenas peças sobressalentes e acessórios genuínos
da Toro Toro. A utilização
de peças sobressalentes e acessórios produzidos por outros
fabricantes pode ser perigosa.
Plano de manutenção
recomendado
| Após as primeiras 8 horas
|
Mudança do óleo do motor.
|
| Após as primeiras 50 horas
|
Verificar o aperto das porcas.
|
| Após as primeiras 75 horas
|
Mudança do fluido hidráulico e do filtro. |
| Antes de cada utilização
ou diariamente |
Verificar o sistema de segurança.
|
| Verifique o filtro de ar para ver se há peças sujas, soltas
ou danificadas. |
| Verificação do nível de óleo do motor. |
| Limpe o painel de admissão de ar.
|
| Inspecionar as lâminas.
|
| Verificar se há danos no defletor de relva. |
| Após cada utilização |
Limpar detritos e relva da máquina.
|
| Limpar a caixa da plataforma do cortador.
|
| A cada 25 horas |
Lubrificar os rolamentos das rodas giratórias (com mais frequência
em condições de solo arenoso).
|
| Verificar a pressão dos pneus.
|
| Verificar se existe desgaste/rachas nas correias. |
| A cada 100 horas |
Substituir o óleo do motor (mais frequentemente em condições
de sujidade ou pó).
|
| Substitua ou limpe e ajuste a folga da vela de ignição. |
| Substitua o filtro do interior da tubagem.
|
| A cada 100 horas ou anualmente,
o que ocorrer primeiro |
Limpe o elemento de papel do filtro de ar (com mais frequência
em condições de sujidade ou pó). |
| A cada 200 horas
|
Substituir o filtro do óleo do motor (mais frequentemente em
condições de sujidade ou pó).
|
| A cada 300 horas
|
Verifique e ajuste a folga das válvulas. Contacte um representante
de assistência autorizado.
|
| A cada 400 horas
|
Mudança do fluido hidráulico e do filtro. |
| Anualmente |
Verificar o aperto das porcas.
|
| Antes do armazenamento |
Carregar a bateria e desligar os respetivos cabos. |
| Efetuar todos os procedimentos de manutenção acima referidos
antes do armazenamento.
|
| Pintar as superfícies lascadas. |
| |
Para informações detalhadas
sobre os procedimentos de manutenção adicionais; consulte
o manual de proprietário do motor.
Procedimentos pré-manutenção
Mover uma máquina que não
funciona
-
Estacione
a máquina numa superfície nivelada, desengate o interruptor
de controlo das lâminas e mova as alavancas de controlo
de movimento para fora para a posição Park (estacionar).
-
Desligue
o motor e espere até que todas as peças em movimento parem
antes de sair da posição de operação.
-
Localize
as alavancas de derivação
na estrutura de ambos os lados
do motor.
-
Mova ambas
as alavancas de derivação para a frente através do
orifício ranhurado e para cima para as trancar no lugar
.
 |
Aviso |
|
Tocar
em peças quentes pode provocar ferimentos graves.
Mantenha
as mãos, pés, rosto, roupa e outras partes do corpo afastadas
do motor, da panela de escape e de outras superfícies
quentes.
 |
Aviso |
|
A
máquina poderia acidentalmente mover-se enquanto as alavancas
de derivação estão bloqueadas na ranhura e feri-lo
a si ou a outras pessoas.
Bloqueie
as alavancas de derivação para trás depois de mover
a máquina.
-
Desengate
o travão de estacionamento movendo ambas as alavancas de controlo
de movimento para baixo, para a posição central,
desbloqueada.
Nota: Não ligue a máquina.
-
Mova a máquina
conforme necessário.
Empurre
sempre a máquina à mão. Não reboque a máquina,
pois rebocar pode danificá-la.
-
Empurre as
alavancas de controlo de movimento para fora para a posição Park (estacionar).
-
Mova ambas
as alavancas de derivação para trás e para cima através
do orifício ranhurado para as trancar no lugar
.
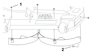
Libertação da cortina
da plataforma do cortador
-
Desaperte
os dois parafusos inferiores da cortina para aceder à parte superior
da plataforma do cortador.
Aperte sempre
os parafusos para colocar a cortina depois da manutenção.
G453430
Manutenção do motor
Segurança do motor
- Mantenha as mãos, pés,
cara, outras partes do corpo e roupa afastadas da panela de escape
e de outras superfícies quentes.
Espere até que o motor arrefeça antes de realizar a manutenção.
- Não altere os valores do
acelerador do motor nem acelere o motor excessivamente.
Manutenção do filtro
de ar
Remoção do elemento do filtro de ar
-
Estacione
a máquina numa superfície nivelada, desengate o interruptor
de controlo das lâminas e mova as alavancas de controlo
de movimento para fora para a posição Park (estacionar).
-
Desligue
o motor e espere até que todas as peças em movimento parem
antes de sair da posição de operação.
-
Limpe a área
da cobertura do filtro de ar
para prevenir que sujidade entre
no motor e cause danos.
-
Solte o dispositivo
de abraçadeira de tubos
e retire o elemento de papel
.
Manutenção do filtro de ar de papel
-
Limpe o elemento
de papel batendo suavemente para remover a sujidade.
Nota: Se estiver muito sujo, substitua o elemento de papel por um novo.
-
Verifique
se o filtro tem rasgões, película de óleo ou o vedante
de borracha danificado.
-
Substitua
o filtro de papel se estiver danificado.
Não
limpe o filtro de papel.
Serviço de óleo do motor
Especificações do óleo do motor
| Tipo de óleo |
Óleo detergente (API, classificação
SF, SG, SH, SJ ou SL) |
| Capacidade do cárter |
1,8 L sem filtro;
2,1 L com filtro
|
| Viscosidade |
Veja a tabela abaixo |
| |
Verificação do nível de óleo do motor
-
Estacione
a máquina numa superfície nivelada, desengate o interruptor
de controlo das lâminas e mova as alavancas de controlo
de movimento para fora para a posição Park (estacionar).
-
Desligue
o motor, retire a chave, espere até todas as peça móveis
pararem e só depois saia da posição de operação.
-
Espere até
que o motor arrefeça para que o óleo tenha tempo para drenar
para o reservatório.
-
Para manter
a sujidade, as aparas de relva, etc., fora do motor, limpe a área
em torno da tampa de enchimento e vareta antes
de a remover.
-
Verifique
o nível de óleo do motor, como mostrado.
Não
encha demasiado o cárter com óleo e ligue o motor; pode
causar danos no motor.
Mudança do óleo do motor
-
Estacione
a máquina de forma a que o lado de drenagem fique ligeiramente
abaixo ao lado oposto para assegurar que o óleo é
completamente drenado.
-
Desengate
o interruptor de controlo das lâminas (PTO) e mova as alavancas
de controlo de movimento para fora para a posição
de estacionamento.
-
Desligue
o motor, retire a chave e espere até todas as partes em movimento
pararem antes de sair da posição de funcionamento.
-
Purgue o
óleo do motor.
-
Deite cerca
de 80% do óleo especificado no tubo de enchimento e adicione
lentamente o óleo adicional até chegar à marca Full (cheio).
-
Elimine o
óleo utilizado corretamente de acordo com os regulamentos locais.
Substituição do filtro de óleo do motor
-
Purgue o
óleo do motor.
-
Mude o filtro
do óleo do motor, conforme mostrado.
Nota: Certifique-se de que a junta do filtro de óleo está em
contacto com o motor e, em seguida, rode o filtro de óleo uma
volta adicional de ¾.
-
Deite o óleo
especificado no tubo de enchimento até o óleo chegar à
marca Full (cheio).
Manutenção da vela de
ignição
Antes
de montar as velas de ignição, certifique-se de que foi
aplicada a folga correta entre os elétrodos central e lateral.
Utilize uma chave de velas para retirar e
montar a vela de ignição e um calibre de lâminas ou
apalpa-folgas para verificar e ajustar as
folgas. Instale uma vela de ignição nova se necessário.
Tipo: NGK® BPR4ES
Folga de ar: 0,76 mm
Desmontagem das velas de ignição
-
Estacione
a máquina numa superfície nivelada, desengate o interruptor
de controlo das lâminas e mova as alavancas de controlo
de movimento para fora para a posição Park (estacionar).
-
Desligue
o motor, retire a chave, espere até todas as peça móveis
pararem e só depois saia da posição de operação.
-
Limpe a área
em redor da base da vela para que não entre sujidade e detritos
no motor.
-
Retire a
vela de ignição.
Verificação da vela de ignição
Não limpe a(s) vela(s) de
ignição. Substitua sempre as velas que tiverem uma cobertura
preta, os elétrodos gastos, uma película
de óleo ou apresentarem fissuras.
Se verificar
uma cobertura castanha ou cinzenta no isolante, o motor está
a funcionar corretamente. Uma cobertura preta no
isolante indica que o filtro de ar está sujo.
-
Ajuste a
folga para 0,76 mm.
Limpeza do sistema de arrefecimento
-
Estacione
a máquina numa superfície nivelada, desengate o interruptor
de controlo das lâminas e mova as alavancas de controlo
de movimento para fora para a posição Park (estacionar).
-
Desligue
o motor, retire a chave, espere até todas as peça móveis
pararem e só depois saia da posição de operação.
-
Retire o
filtro de ar do motor.
-
Retire o
resguardo do motor.
-
Para evitar
a entrada de detritos na admissão de ar, instale o filtro de
ar na base do filtro.
-
Limpe os
detritos e relva das peças.
-
Retire o
filtro de ar e instale o resguardo do motor.
-
Instale o
filtro do ar.
Manutenção do combustível
 |
Perigo |
|
Em determinadas circunstâncias,
o combustível é extremamente inflamável e altamente
explosivo. Um incêndio ou explosão de
combustível pode resultar em queimaduras e danos materiais.
Substituição do filtro
de combustível
-
Estacione
a máquina numa superfície nivelada, desengate o interruptor
de controlo das lâminas e mova as alavancas de controlo
de movimento para fora para a posição Park (estacionar).
-
Desligue
o motor, retire a chave, espere até todas as peça móveis
pararem e só depois saia da posição de operação.
-
Coloque uma
abraçadeira nas tubagens de combustível em ambos os lados
do filtro de combustível.
-
Substitua
o filtro.
Nota: Certifique-se de que a seta de direção de fluxo no filtro
de substituição aponta para o motor.
Nunca
instale um filtro sujo depois de o retirar do tubo de combustível.
-
Remova as
braçadeiras de tubos que bloqueiam o fluxo de combustível.
Manutenção do sistema
elétrico
Segurança do sistema elétrico
- Desligue o cabo do terminal negativo
da bateria antes de reparar a máquina.
- Carregue a bateria num espaço
aberto e bem ventilado, longe de faíscas e chamas. Retire a ficha
do carregador da tomada antes de o ligar
ou desligar da bateria. Utilize roupas adequadas e ferramentas com
isolamento.
Serviço da bateria
Remoção da bateria
 |
Aviso |
|
Os terminais da bateria e as ferramentas
de metal podem provocar curtos-circuitos noutros componentes da máquina,
produzindo faíscas. As faíscas
podem provocar uma explosão dos gases da bateria, resultando
em ferimentos pessoais.
- Quando retirar ou montar a bateria,
não toque com os terminais da bateria noutras peças metálicas
da máquina.
- Não deixe as ferramentas
de metal entrar em curto-circuito com os terminais da bateria e peças
metálicas da máquina.
-
Estacione
a máquina numa superfície nivelada, desengate o interruptor
de controlo das lâminas e mova as alavancas de controlo
de movimento para fora para a posição Park (estacionar).
-
Desligue
o motor, retire a chave, espere até todas as peça móveis
pararem e só depois saia da posição de operação.
-
Desligue
o cabo negativo (preto) do terminal negativo do polo da bateria.
Nota: Guarde todos os parafusos e porcas.
 |
Aviso |
|
Retirar
incorretamente os cabos da bateria pode danificar a máquina e
os cabos, produzindo faíscas. As faíscas podem provocar
uma explosão dos gases da
bateria, resultando em ferimentos pessoais.
- Desligue sempre o cabo negativo
(preto) da bateria antes de desligar o cabo positivo (vermelho).
- Ligue sempre o cabo positivo (vermelho)
da bateria antes de ligar o cabo negativo (preto).
-
Deslize a
cobertura de borracha do cabo positivo (vermelho).
-
Desligue
o cabo positivo (vermelho) do polo da bateria.
Nota: Guarde todos os parafusos e porcas.
-
Retire o
suporte da bateria e levante a bateria para a retirar da respetiva
plataforma.
G440221
-
Bateria
-
Proteção do terminal
-
Pólo negativo (-) da bateria
-
Porca de orelhas, anilha e parafuso
-
Suporte da bateria
-
Parafuso, anilha e porca
-
Polo positivo (+) da bateria
Carregamento da bateria
 |
Aviso |
|
O carregamento da bateria gera
gases que podem explodir.
Nunca fume perto da bateria e
mantenha-a afastada de faíscas e chamas.
Mantenha sempre a bateria carregada.
Esta indicação é especialmente importante para evitar
danos na bateria quando a temperatura
desce abaixo dos 0 °C.
-
Retire a
bateria da máquina.
-
Carregue
a bateria de acordo com as instruções do fabricante.
Não
sobrecarregue a bateria; caso contrário, pode danificá-la.
G003792S
- Borne
positivo da bateria
- Borne
negativo da bateria
- Cabo
vermelho do carregador (+)
- Cabo
preto do carregador (-)
-
Quando a
bateria estiver totalmente carregada, desligue o carregador da tomada
elétrica (se for o caso), e em seguida desligue
os cabos do carregador dos polos da bateria.
Limpeza da bateria
Nota: Mantenha os terminais e toda a caixa da bateria em perfeitas condições
de limpeza já que uma bateria suja descarrega mais
lentamente.
-
Estacione
a máquina numa superfície nivelada, desengate o interruptor
de controlo das lâminas e mova as alavancas de controlo
de movimento para fora para a posição Park (estacionar).
-
Desligue
o motor e espere até que todas as peças em movimento parem
antes de sair da posição de operação.
-
Retire a
bateria da máquina.
-
Lave toda
a caixa com uma solução de bicarbonato de sódio e água.
-
Enxague a
bateria com água limpa.
-
Cubra os
polos da bateria e os conectores da cablagem com lubrificante Grafo
112X ou vaselina para prevenir corrosão.
-
Instalação
da bateria.
Montagem da bateria
-
Posicione
a bateria no tabuleiro.
-
Ligue o cabo
positivo (vermelho) ao terminal positivo (+) da bateria utilizando
os fixadores previamente removidos.
-
Ligue o cabo
negativo ao terminal negativo (-) da bateria utilizando os fixadores
previamente removidos.
-
Deslize a
proteção do terminal vermelho para o terminal positivo (vermelho)
da bateria.
-
Prenda a
bateria com o suporte.
G440221
-
Bateria
-
Proteção do terminal
-
Pólo negativo (-) da bateria
-
Porca de orelhas, anilha e parafuso
-
Suporte da bateria
-
Parafuso, anilha e porca
-
Polo positivo (+) da bateria
Arranque da máquina
 |
Aviso |
|
O arranque da bateria gera gases
que podem provocar explosões.
Não fume perto da bateria
e evite fazer faíscas ou chamas perto da mesma.
 |
Perigo |
|
Arrancar com uma bateria fraca
que está partida ou congelada, ou que tem um nível de eletrólito
baixo ou uma célula de bateria aberta/em
curto circuito pode causar uma explosão podendo causar ferimentos
graves.
Não arranque com uma bateria
fraca se estas condições existirem.
-
Verifique
e limpe a corrosão dos terminais da bateria antes de arrancar.
Certifique-se de que as ligações estão bem apertadas.
 |
Cuidado |
|
A
corrosão ou ligações soltas podem causar picos elétricos
indesejáveis a qualquer altura durante o procedimento de arranque.
Não tente arrancar a máquina
com os terminais da bateria soltos ou corroídos; pode provocar
danos no motor ou EFI.
-
Certifique-se
que a bateria impulsionadora é uma bateria ácido-chumbo
boa e completamente carregada a 12,6 V ou superior.
Nota: Utilize cabos de arranque com o tamanho apropriado com comprimento
curto para reduzir a queda de voltagem entre sistemas.
Certifique-se que os cabos estão codificados
por cor ou etiquetados para a polaridade correta.
 |
Aviso |
|
As
baterias contém ácido e produzem gases explosivos.
- Proteja os olhos e a cara das
baterias, sempre.
- Não se incline sobre as baterias.
Nota: Certifique-se de que as tampas de ventilação estão
apertadas e niveladas. Coloque um pano húmido, se disponível,
sob qualquer tampa de ventilação
em ambas as baterias. Certifique-se de que as máquinas não
se tocam e de que ambos os sistemas elétricos
estão desligados e no mesmo nível de sistema
de voltagem. Estas instruções são para sistemas de
solo negativos apenas.
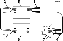
-
Ligue o cabo
positivo (+) ao terminal positivo (+) da bateria descarregada que
está ligada ao arrancador ou solenóide como
se mostrado:
g012785
- Cabo
positivo (+) na bateria descarregada
- Cabo
positivo (+) na bateria impulsionadora
- Cabo
negativo (-) na bateria impulsionadora
- Cabo
negativo (-) no bloco de motor
- Bateria
impulsionadora
- Bateria
descarregada
- Bloco
do motor
-
Ligue a outra
extremidade do cabo positivo (+) do jumper ao terminal positivo da
bateria da outra máquina.
-
Ligue uma
extremidade do cabo negativo (-) do jumper ao polo negativo da bateria
da outra máquina.
-
Ligue a outra
extremidade do cabo negativo (-) do jumper a um ponto de ligação
à terra, como um parafuso sem pintura ou uma
travessa do chassis.
-
Ligue o motor
da outra máquina. Deixe-o funcionar durante uns minutos, e depois
ligue o seu motor.
-
Retire a
cablagem na ordem inversa à da ligação.
-
Instale a
cobertura na coluna.
Manutenção dos fusíveis
O sistema elétrico está
protegido por fusíveis. Não é necessária qualquer
manutenção; no entanto, se um fusível queimar, verifique
se há alguma avaria ou curto-circuito
no componente/circuito.
-
Estacione
a máquina numa superfície nivelada, desengate o interruptor
de controlo das lâminas e mova as alavancas de controlo
de movimento para fora para a posição Park (estacionar).
-
Desligue
o motor, retire a chave, espere até todas as peça móveis
pararem e só depois saia da posição de operação.
-
Substitua
o fusível queimado por um fusível novo.
G440132
- Circuito
de carga (15 A)
- Principal
(25 A)
Manutenção dos sistemas
de transmissão
Verificação da pressão
dos pneus
Mantenha a pressão do ar
dos pneus dianteiro e traseiros como especificado. Se a pressão
não for igual em todos os pneus o corte
pode ficar irregular. Verifique a pressão na haste da válvula
quando os pneus estiverem frios para obter a leitura de
pressão mais precisa.
-
Encha as
rodas giratórias dianteiras com 1,3 bar (15 psi) ou
a pressão indicada na parede lateral, a que for inferior.
-
Encha os
pneus traseiros com 90 kPa (13 psi).
Verificação das porcas
das rodas
-
Verifique
e aperte as porcas das rodas até 129 N∙m.
Ajuste do alinhamento
Ao conduzir
a máquina a toda a velocidade através de uma superfície
nivelada e plana, se a máquina desviar para um lado, ajuste
o alinhamento.
Se a máquina desviar
para a esquerda, ajuste a alavanca de controlo de movimento direita;
se a máquina desviar para a direita,
ajuste a alavanca de controlo de movimento esquerda.
Nota: Pode ajustar o alinhamento apenas para conduzir para a frente.
-
Estacione
a máquina numa superfície nivelada, desengate o interruptor
de controlo das lâminas e mova as alavancas de controlo
de movimento para fora para a posição Park (estacionar).
-
Desligue
o motor, retire a chave, espere até todas as peça móveis
pararem e só depois saia da posição de operação.
-
Localize
o parafuso de ajuste do alinhamento perto da alavanca de controlo
de movimento no lado específico que necessita de
ajuste.
-
Rode o parafuso
para diminuir a velocidade dessa roda particular.
Nota: Rode o parafuso ligeiramente para fazer ajustes pequenos.
-
Ligue a máquina
e conduza para a frente através de uma superfície nivelada
e plana com as alavancas de controlo de movimento
totalmente para a frente para verificar se o alinhamento
da máquina está direito. Repita o procedimento, conforme
necessário.
Manutenção do sistema
hidráulico
Segurança do sistema hidráulico
- Em caso de injeção de
fluido hidráulico na pele, consulte imediatamente um médico.
O fluido injetado na pele deverá ser retirado
cirurgicamente por um especialista no espaço de
algumas horas ou poderá correr o risco de a ferida gangrenar.
- Certifique-se de que todas as
tubagens e mangueiras do fluido hidráulico se encontram bem apertadas
e em bom estado de conservação
antes de colocar o sistema sob pressão.
- Mantenha os seus corpo e mãos
longe de fugas ou bicos que projetem fluido hidráulico sob pressão.
- Utilize um pedaço de cartão
ou papel, não as mãos, para detetar fugas do fluido hidráulico.
- Alivie com segurança toda
a pressão do sistema hidráulico antes de executar qualquer
trabalho neste sistema.
Especificações do fluido hidráulico
Tipo de fluido hidráulico: Toro Premium
Hydro Oil (preferencial) ou Mobil 1™ 15W50
Capacidade do sistema hidráulico: 2,3 L por lado
Utilize o fluido especificado.
Outros fluidos podem danificar o sistema.
Verificação do fluido
hidráulico
-
Estacione
a máquina numa superfície nivelada, desengate o interruptor
de controlo das lâminas e mova as alavancas de controlo
de movimento para fora para a posição Park (estacionar).
-
Desligue
o motor, retire a chave, espere até todas as peça móveis
pararem e só depois saia da posição de operação.
-
Deixe que
a máquina arrefeça.
Verifique
o fluido hidráulico apenas quando o sistema estiver frio (menos
de 38°C ou 100°F). Adicionar fluido quando o sistema
está quente pode resultar em enchimento
excessivo e danificar o conjunto do respirador.
-
Remova a
tampa de enchimento e certifique-se de que o fluido aparece no fundo
do buraco.
-
Se o nível
estiver baixo, adicione o fluido indicado para aumentar a quantidade
de fluido no fundo do buraco.
-
Instale a
tampa e aperte com uma força de 13,6 N∙m.
Mudança do fluido hidráulico
e do filtro
Não mude o fluido do sistema
hidráulico sem mudar o filtro, exceto se lhe parecer que foi
contaminado ou esteve demasiado quente.
Caso contrário, poderá contaminar e danificar o sistema.
-
Estacione
a máquina numa superfície nivelada, desengate o interruptor
de controlo das lâminas e mova as alavancas de controlo
de movimento para fora para a posição Park (estacionar).
-
Desligue
o motor, retire a chave, espere até todas as peça móveis
pararem e só depois saia da posição de operação.
-
Deixe que
a máquina arrefeça.
Mude
o fluido hidráulico apenas quando o sistema estiver frio (menos
de 38°C ou 100°F). Trocar o fluido quando o sistema está
quente pode resultar em enchimento
excessivo e danificar o conjunto do respirador.
-
Remova a
proteção do filtro do transeixo.
-
Limpe cuidadosamente
a área em redor do filtro.
Não
permita que entre sujidade no sistema hidráulico nem que ocorra
contaminação.
-
Coloque o
recipiente de drenagem por baixo do filtro.
-
Substitua
o filtro.
-
Instale a
proteção do filtro. Aperte os parafusos com uma força
de 7 N∙m.
-
Remova a
tampa de enchimento e adicione o fluido indicado para aumentar a quantidade
de fluido no fundo do buraco.
-
Instale a
tampa e aperte com uma força de 13,6 N∙m.
-
Repita o
procedimento para o outro transeixo.
-
Purga do sistema hidráulico
-
Estacione
a máquina numa superfície nivelada, desengate o interruptor
de controlo das lâminas e mova as alavancas de controlo
de movimento para fora para a posição Park (estacionar).
-
Desligue
o motor, retire a chave, espere até todas as peça móveis
pararem e só depois saia da posição de operação.
-
Eleve a parte
posterior da máquina para cima de macacos a uma altura suficiente
para levantar as rodas motrizes do solo.
-
Ligue o motor,
mova o controlo do acelerador para a frente para a posição
1/2 e desengate o travão de estacionamento deslocando
ambas as alavancas de controlo de movimento para
o centro, na posição destravada.
-
Com as válvulas
de derivação abertas e o motor a funcionar, mova lentamente
as alavancas de controlo de movimento para a frente
e para trás 5 ou 6 vezes.
-
Com as válvulas
de derivação fechadas e o motor a funcionar, mova lentamente
as alavancas de controlo de movimento para a
frente e para trás 5 ou 6 vezes.
-
Desligue
o motor e retire a chave.
-
Verifique
o nível de fluido hidráulico e adicione fluido conforme
necessário.
-
Repita o
procedimento as vezes que forem necessárias até o ar ser
completamente purgado do sistema.
Nota: O ar está completamente purgado quando o transeixo funciona
a níveis de ruido normais e é capaz de deslocar-se suavemente
para a frente e para trás a
velocidades normais.
-
Retire as
preguiças da máquina.
Manutenção das correias
Inspeção das correias
-
Estacione
a máquina numa superfície nivelada, desengate o interruptor
de controlo das lâminas e mova as alavancas de controlo
de movimento para fora para a posição Park (estacionar).
-
Desligue
o motor e espere até que todas as peças em movimento parem
antes de sair da posição de operação.
-
Regule a
altura de corte na posição de corte mais baixa.
-
Inspecione
se a correia apresenta sinais de desgaste. Substitua a correia se
estiver gasta.
Os sinais apresentados
por uma correia gasta são: ruído durante a rotação
da correia, perda de eficácia das lâminas quando
cortam, extremidades desfiadas, marcas de queimaduras
e rachas na correia.
Substituição da correia
do cortador
Os sinais apresentados por uma
correia desgastada são os seguintes: chiado durante a rotação
da correia, deslocamento das lâminas
durante o corte, extremidades puídas, marcas de queimadura e
fissuras na correia. Substitua a correia do cortador
assim que notar algum destes sinais.
-
Estacione
a máquina numa superfície nivelada, desengate o interruptor
de controlo das lâminas e mova as alavancas de controlo
de movimento para fora para a posição Park (estacionar).
-
Desligue
o motor, retire a chave, espere até todas as peça móveis
pararem e só depois saia da posição de operação.
-
Regule a
altura de corte na posição de corte mais baixa.
-
Liberte a
cortina da plataforma do cortador.
-
Retire as
coberturas da polia.
-
Desaperte
a porca que fixa a forma de arame à polia intermédia.
-
Utilize um
removedor de molas (Peça Toro n.º 92-5771) para remover
a mola intermédia do gancho da plataforma para retirar
tensão da polia intermédia.
 |
Aviso |
|
A
mola está sob tensão quando está instalada e pode causar
ferimentos pessoais.
Cuidado quando remover a correia.
G453682
- Polia
da plataforma
- Correia
do cortador
- Polia
do motor
- Polia
intermédia
- Mola
- Removedor
de molas
-
Rode a correia
para fora das polias.
-
Coloque a
nova correia em redor da polia do motor e nas polias do cortador.
-
Utilize um
removedor de molas para instalar a mola intermédia por cima do
gancho da plataforma para colocar tensão na polia
intermédia e na correia do cortador.
-
Posicione
a forma de arame contra o braço intermédio como se mostra
e aperte a porca.
-
Coloque as
coberturas da polia.
-
Aperte os
parafusos da cortina da plataforma do cortador.
Manutenção da plataforma
do cortador
Segurança da lâmina
- Inspecione periodicamente se as
lâminas apresentam sinais de desgaste ou danos.
- Tome todas as precauções
necessárias quando efetuar a verificação das lâminas.
Envolva a(s) lâmina(s) ou utilize luvas e tome
todas as precauções necessárias quando
efetuar a sua manutenção. Substitua apenas as lâminas
danificadas, não as endireite ou
solde.
- Em máquinas multilâminas,
preste atenção ao facto de a rotação de uma lâmina
poder provocar a rotação das restantes.
- Substitua as lâminas e os
parafusos gastos ou danificados em grupos para manter o equilíbrio.
Manutenção das lâminas
Para assegurar
uma qualidade de corte superior, mantenha as lâminas afiadas.
Para retificação e substituição convenientes,
tenha lâminas extra.
Substitua as
lâminas se estas atingirem um objeto sólido ou se se encontrarem
desequilibradas ou deformadas.
Antes de inspecionar ou efetuar a manutenção das lâminas
-
Estacione
a máquina numa superfície nivelada, desengate o interruptor
de controlo das lâminas e mova as alavancas de controlo
de movimento para fora para a posição Park (estacionar).
-
Desligue
o motor, retire a chave, espere até todas as peça móveis
pararem e só depois saia da posição de operação.
-
Desligue
os cabos da vela das velas.
Deteção de lâminas dobradas
A máquina
tem de estar numa superfície nivelada para este procedimento.
-
Eleve a plataforma
do cortador para a posição de altura de corte mais elevada.
-
Usando luvas
almofadadas ou outra proteção adequada para as mãos,
rode lentamente lâmina para uma posição que lhe permita
uma medição da distância
entre a extremidade de corte e a superfície nivelada.
-
Meça
da ponta da lâmina até à superfície nivelada.
G451422
- Lâmina
(em posição para medição)
- Superfície
nivelada
- Distância
medida entre a lâmina e a superfície (A)
-
Rode a mesma
lâmina 180 graus para que a extremidade de corte oposta fique
na mesma posição.
G451423
- Extremidade
da lâmina medida anteriormente
- Extremidade
oposta da lâmina
-
Meça
da ponta da lâmina até à superfície nivelada.
G451422
- Lâmina
(em posição para medição)
- Superfície
nivelada
- Distância
medida entre a lâmina e a superfície (B)
-
Se a diferença
entre A e B for superior a 3 mm, substitua a lâmina.
Nota: Se substituir a lâmina e a diferença continuar a exceder
os 3 mm, o eixo da lâmina poderá estar dobrado. Contacte
o Representante de assistência
autorizado Toro para obter assistência.
-
Repita este
procedimento em cada lâmina.
Remoção das lâminas
-
Segure na
extremidade da lâmina, utilizando um trapo ou uma luva grossa.
-
Remova a
lâmina, como mostrado.
Afiação das lâminas
-
Utilize uma
lima para afiar a aresta de corte em ambas as extremidades da lâmina
(). Certifique-se de que mantém o ângulo
de corte original
.
Nota: Retire a mesma quantidade de material de ambas as extremidades de
corte para que a lâmina mantenha o equilíbrio.
-
Verifique
o equilíbrio da lâmina
colocando-a num equilibrador
de lâminas
.
Nota: Se a lâmina ficar na horizontal é porque está equilibrada
e pode ser utilizada.
Se a lâmina
não estiver equilibrada, lime algum metal da extremidade da aba
apenas.
-
Repita este
procedimento até a lâmina estar equilibrada.
Instalação das lâminas
 |
Aviso |
|
O funcionamento de uma máquina
após a instalação incorreta do conjunto de lâminas
e/ou a não utilização de lâminas e ferragens
de lâminas Toro genuínas pode permitir que
uma lâmina ou componente de lâmina seja atirado para fora
do convés, resultando em ferimentos
graves ou morte.
Instale sempre lâminas Toro e ferragens de
lâminas genuínas de acordo com as instruções.
-
Instale a
lâmina conforme mostrado.
Nota: A parte curva da lâmina tem que estar virada para cima para
o interior do cortador para se assegurar uma capacidade de corte
adequada.
-
Aperte o
parafuso da lâmina com 136
a 149 N·m.
Nivelação da plataforma
do cortador
Certifique-se
de que a plataforma de corte se encontre nivelada antes de instalar
o cortador ou quando verificar um corte não
uniforme na relva.
Preparação para nivelar a plataforma do cortador
-
Estacione
a máquina numa superfície nivelada, desengate o interruptor
de controlo das lâminas e mova as alavancas de controlo
de movimento para fora para a posição Park (estacionar).
-
Desligue
o motor, retire a chave, espere até todas as peça móveis
pararem e só depois saia da posição de operação.
-
Certifique-se
de que os pneus estão cheios de acordo com as especificações
corretas e que as rodas giratórias estão viradas
para a frente.
-
Verifique
a plataforma do cortador para ver se existem lâminas dobradas;
remova e substitua todas as lâminas que estiverem
dobradas.
-
Eleve a plataforma
do cortador para a definição de altura de corte de 76 mm.
Verificar o nível da plataforma do cortador
-
Posicione
as lâminas lado a lado.
-
Medir nos
locais
e
a partir de uma superfície
plana até à extremidade de corte das pontas das lâminas
.
A diferença entre as medidas
obtidas não deve ultrapassar os 5 mm. Se as medidas forem maiores,
ajuste o nível lateral.
-
Posicione
uma lâmina da parte dianteira para a traseira.
-
Medir nos
locais
e
a partir de uma superfície
plana até à extremidade de corte das pontas das lâminas
.
A ponta da lâmina frontal
deve estar entre 1,6 e 7,9 mm mais baixa do que a ponta da lâmina
traseira. Se as medidas não estiverem
corretas, ajuste o nível da dianteira para a traseira.
Nivelação da plataforma do cortador
-
Regule os
rolos antidanos para os furos superiores ou retire-os completamente
para este ajuste.
-
Coloque a
alavanca da altura de corte na posição de 76 mm.
-
Coloque dois
calços
, cada um com uma espessura de
6,6 cm, debaixo de cada lado da extremidade frontal da plataforma.
Não
coloque os calços debaixo dos suportes dos rolos antidanos.
-
Coloque dois
calços
, cada um com uma espessura de
7,3 cm, debaixo de cada lado da extremidade traseira da plataforma.
-
Desaperte
as fixações inferiores que prendem os suportes aos 4 cantos
da plataforma e certifique-se de que a plataforma do
cortador assenta firmemente nos 4 calços.
-
Retire qualquer
folga dos suportes de elevação da plataforma e certifique-se
de que a alavanca de pé de elevação da plataforma
está empurrada para trás contra
o batente.
-
Aperte os
fixadores.
-
Certifique-se
de que os calços encaixam firmemente sob a aba da plataforma
e que os parafusos estão bem apertados.
-
Verifique
o nível de lado a lado e o nível da frente para trás;
repita o procedimento até as medições estarem corretas.
Remoção da plataforma
do cortador
-
Estacione
a máquina numa superfície nivelada, desengate o interruptor
de controlo das lâminas e mova as alavancas de controlo
de movimento para fora para a posição Park (estacionar).
-
Desligue
o motor, retire a chave, espere até todas as peça móveis
pararem e só depois saia da posição de operação.
-
Baixe a alavanca
da altura de corte até à posição mais baixa.
-
Liberte a
cortina da plataforma do cortador
-
Remova o
perno de gancho e anilha da da barra de suporte da frente
e remova a barra do suporte da
plataforma
.
Nota: Guarde todas as peças para instalar futuramente.
-
Retire os
fixadores superiores que prendem os suportes aos 4 braços de
elevação.
-
Faça
deslizar a plataforma do cortador para trás para remover a correia
do cortador da polia do motor.
-
Deslize a
plataforma de corte para a frente e para fora da parte da baixo da
máquina.
Instalação da plataforma
do cortador
-
Estacione
a máquina numa superfície nivelada, desengate o interruptor
de controlo das lâminas e mova as alavancas de controlo
de movimento para fora para a posição Park (estacionar).
-
Desligue
o motor, retire a chave, espere até todas as peça móveis
pararem e só depois saia da posição de operação.
-
Deslize a
plataforma do cortador sob a máquina.
-
Baixe a alavanca
da altura de corte até à posição mais baixa.
-
Instale os
braços de elevação nos braços de elevação
da plataforma utilizando os fixadores removidos anteriormente.
-
Coloque a
barra de suporte frontal
no suporte da plataforma
com o pino de segurança
e perno de gancho.
-
Instale a
correia do cortador na polia do motor.
-
Aperte os
parafusos da cortina da plataforma do cortador.
Substituição do defletor
de relva
 |
Perigo |
|
Uma abertura de descarga descoberta
permite a projeção de objetos para si ou para pessoas na
área. Além disso, as pessoas
estão em risco porque podem ser atingidas pela lâmina. Os
objetos projetados ou o contacto com uma lâmina provocam ferimentos
graves ou morte.
Não opere
o cortador com o defletor de descarga elevado, removido ou alterado,
exceto se tiver um sistema de recolha de relva
ou kit de cobertura (mulch) instalado e a funcionar corretamente.
-
Estacione
a máquina numa superfície nivelada, desengate o interruptor
de controlo das lâminas e mova as alavancas de controlo
de movimento para fora para a posição Park (estacionar).
-
Desligue
o motor, retire a chave, espere até todas as peça móveis
pararem e só depois saia da posição de operação.
-
Desengate
a mola da ranhura no suporte do defletor e deslize a barra para fora
dos suportes soldados da plataforma, mola e
defletor de descarga ().
G456086
- Barra
- Defletor
de relva
- Mola
- Suportes
da plataforma
- Contrapino
- Mola
instalada sobre a barra
-
Se o defletor
de relva estiver danificado ou gasto, retire-o.
-
Posicione
o novo defletor de descarga com as extremidades do suporte entre os
postes soldados na plataforma como se mostra.
G456085
- Conjunto
de barra e mola instalado
- Extremidade
com volta instalada no entalhe do suporte do defletor
- Extremidade
vermelha, pequena movida para trás do suporte do cortador
- Extremidade
pequena, retida pelo suporte do cortador
- Contrapino
-
Prenda o
conjunto da barra e mola rodando-o de forma a que a extremidade curta
da barra esteja por detrás do suporte frontal
soldado à plataforma.
-
Instale o
contrapino na extremidade da vareta.
O
defletor de relva tem de ficar na posição para baixo sob
pressão da mola. Suba o defletor para o testar e verificar se
volta totalmente para baixo.
Limpeza
Eliminação dos resíduos
O óleo
do motor, as baterias, o fluido hidráulico e o líquido de
arrefecimento do motor são substâncias que poluem o ambiente.
Elimine estes produtos de acordo com os regulamentos
estaduais e locais.
Resolução de problemas
O depósito de combustível
apresenta sinais de colapso ou a máquina apresenta frequentemente
sinais de estar sem combustível.
| Causa possível |
Ação corretiva |
| O elemento de papel do
filtro está entupido. |
-
Limpe o elemento
de papel.
|
Sobreaquecimento do motor.
| Causa possível |
Ação corretiva |
| A carga no motor é
excessiva. |
-
Reduza a
velocidade no solo.
|
| O nível de óleo
no cárter está baixo.
|
-
Junte óleo
ao cárter.
|
| As aletas de refrigeração
e as passagens de ar na parte inferior do revestimento da turbina
do motor estão obstruídas.
|
-
Retire a
obstrução das aletas de refrigeração e das passagens
de ar.
|
| O filtro de ar está
sujo. |
-
Limpe ou
substitua o filtro de ar.
|
| O sistema de combustível
tem sujidade, água ou combustível muito antigo. |
-
Contacte
um representante de assistência autorizado.
|
O arrancador elétrico não
dá sinal.
| Causa possível |
Ação corretiva |
| O interruptor de controlo
das lâminas está engatado.
|
-
Desengate
o interruptor de controlo das lâminas.
|
| As alavancas de controlo
de movimento não estão na posição park (estacionar).
|
-
Mova as alavancas
de controlo de movimento para fora para a posição park (estacionar).
|
| A bateria não tem
carga. |
-
Carregue
a bateria.
|
| As ligações elétricas
estão corroídas ou soltas.
|
-
Verifique
se as ligações elétricas estão a fazer bom contacto.
|
| Está um fusível
queimado. |
-
Substitua
o fusível.
|
| Um interruptor ou um relé
está danificado. |
-
Contacte
um serviço de assistência autorizado
|
O motor não arranca, arranca
com dificuldade ou não permanece em funcionamento.
| Causa possível |
Ação corretiva |
| O depósito de combustível
está vazio. |
-
Encher o
depósito de combustível.
|
| O ar (se aplicável)
não está ligado. |
-
Deslocar
a alavanca do ar para a posição On (ligar).
|
| O filtro de ar está
sujo. |
-
Limpar ou
substituir o elemento do filtro de ar.
|
| O(s) cabo(s) da(s) vela(s)
de ignição está(estão) solto(s) ou desligado(s). |
-
Instalar
o(s) cabo(s) na vela de ignição.
|
| As velas estão picadas,
sujas ou a folga está incorreta.
|
-
Instalar
uma vela de ignição nova, com as devidas folgas.
|
| Há sujidade no filtro
de combustível. |
-
Substituir
o filtro de combustível.
|
| O sistema de combustível
tem sujidade, água ou combustível muito antigo. |
-
Contactar
um representante de assistência autorizado.
|
| Há combustível
incompatível no depósito de combustível. |
-
Esvaziar
o depósito e substitua o combustível com o tipo correto.
|
| O nível de óleo
no cárter está baixo.
|
-
Adicionar
óleo ao cárter.
|
O motor perde potência.
| Causa possível |
Ação corretiva |
| A carga no motor é
excessiva. |
-
Reduzir a
velocidade no solo.
|
| O filtro de ar está
sujo. |
-
Limpar o
elemento do filtro de ar.
|
| O nível de óleo
no cárter está baixo.
|
-
Adicionar
óleo ao cárter.
|
| As aletas de refrigeração
e as passagens de ar na parte inferior do revestimento da turbina
do motor estão obstruídas.
|
-
Retirar a
obstrução das aletas de refrigeração e das passagens
de ar.
|
| As velas estão picadas,
reparadas ou a folga está incorreta.
|
-
Instalar
uma vela de ignição nova, com as devidas folgas.
|
| A ventilação
do depósito de combustível está bloqueada. |
-
Contactar
um representante de assistência autorizado
|
| Há sujidade no filtro
de combustível. |
-
Substituir
o filtro de combustível.
|
| O sistema de combustível
tem sujidade, água ou combustível muito antigo. |
-
Contactar
um representante de assistência autorizado
|
| Há combustível
errado no depósito de combustível.
|
-
Contactar
um representante de assistência autorizado
|
A máquina não anda.
| Causa possível |
Ação corretiva |
| As válvulas de distribuição
estão abertas. |
-
Feche as
válvulas de reboque.
|
| As correias de tração
estão gastas, soltas ou partidas.
|
-
Contacte
um serviço de assistência autorizado
|
| As correias de tração
estão fora das polias. |
-
Contacte
um serviço de assistência autorizado
|
| A transmissão não
responde. |
-
Contactar
um representante de assistência autorizado.
|
A máquina vibra de forma
anormal.
| Causa possível |
Ação corretiva |
| A(s) lâmina(s) de
corte está/estão dobrada(s) ou desequilibrada(s). |
-
Instalar
lâmina(s) de corte nova(s).
|
| O parafuso de montagem
da lâmina está solto.
|
-
Apertar o
parafuso de montagem da lâmina.
|
| Os parafusos de montagem
do motor estão soltos. |
-
Aperte os
parafusos de montagem do motor.
|
| A polia do motor, a polia
intermédia ou a polia das lâminas está solta. |
-
Apertar a
polia adequada.
|
| A polia do motor está
danificada. |
-
Contactar
um representante de assistência autorizado
|
| O eixo da lâmina está
dobrado. |
-
Contactar
um representante de assistência autorizado
|
| O apoio do motor está
solto ou gasto. |
-
Contactar
um representante de assistência autorizado
|
A altura de corte não é
uniforme.
| Causa possível |
Ação corretiva |
| Lâmina(s) não
está/estão afiada(s).
|
-
Afie a(s)
lâmina(s).
|
| Lâmina(s) de corte
está/estão empenada(s).
|
-
Instale lâmina(s)
de corte nova(s).
|
| O cortador não está
nivelado. |
-
Nivele o
cortador na horizontal e de trás para a frente.
|
| Um rolo antidano (se aplicável)
não está corretamente ajustado.
|
-
Ajuste a
altura da roda antidano.
|
| A parte de baixo da plataforma
do cortador está suja. |
-
Limpe a parte
de baixo da plataforma do cortador.
|
| A pressão dos pneus
é incorreta. |
-
Ajuste da
pressão dos pneus.
|
| O eixo da lâmina está
empenado. |
-
Contacte
um representante de assistência autorizado.
|
As lâminas não rodam.
| Causa possível |
Ação corretiva |
| A correia de transmissão
está gasta, larga ou partida.
|
-
Instalar
uma nova correia da transmissão.
|
| A correia da transmissão
está fora da polia. |
-
Montar a
correia de acionamento e verificar se os veios de ajuste e as guias
da correia estão na posição correta.
|
| O interruptor da tomada
de força (PTO) ou a embraiagem da tomada de força está
com problemas. |
-
Contactar
um representante de assistência autorizado.
|
| A correia do cortador está
gasta, larga ou partida. |
-
Instalar
uma nova correia do cortador.
|