| Maintenance Service Interval | Maintenance Procedure |
|---|---|
| Before each use or daily |
|
This rotary-blade, riding lawn mower is intended to be used by residential homeowners or professional, hired operators. It is designed primarily for cutting grass on well-maintained lawns on residential or commercial properties. It is not designed for cutting brush or for agricultural uses.
Read this information carefully to learn how to operate and maintain your product properly and to avoid injury and product damage. You are responsible for operating the product properly and safely.
You may contact Toro directly at www.Toro.com for product safety and operation training materials, accessory information, help finding a dealer, or to register your product.
Whenever you need service, genuine Toro parts, or additional information, contact an Authorized Service Dealer or Toro Customer Service and have the model and serial numbers of your product ready. Figure 1 identifies the location of the model and serial numbers on the product. Write the numbers in the space provided.
Important: With your mobile device, you can scan the QR code (if equipped) on the serial number decal to access warranty, parts, and other product information.

This manual identifies potential hazards and has safety messages identified by the safety-alert symbol (Figure 2), which signals a hazard that may cause serious injury or death if you do not follow the recommended precautions.

This manual uses 2 words to highlight information. Important calls attention to special mechanical information and Note emphasizes general information worthy of special attention.
It is a violation of California Public Resource Code Section 4442 or 4443 to use or operate the engine on any forest-covered, brush-covered, or grass-covered land unless the engine is equipped with a spark arrester, as defined in Section 4442, maintained in effective working order or the engine is constructed, equipped, and maintained for the prevention of fire.
Gross or Net Torque:
This product complies with all relevant European directives; for details, please see the separate product specific Declaration of Conformity (DOC) sheet. The gross or net torque of this engine was laboratory rated by the engine manufacturer in accordance with the Society of Automotive Engineers (SAE) J1940 or J2723. As configured to meet safety, emission, and operating requirements, the actual engine torque on this class of mower will be significantly lower. Please refer to the engine manufacturer’s information included with the machine.
Please refer to the engine manufacturer’s information included with the machine.
CALIFORNIA
Proposition 65 Warning
Diesel engine exhaust and some of its constituents are known to the State of California to cause cancer, birth defects, and other reproductive harm.
Battery posts, terminals, and related accessories contain lead and lead compounds, chemicals known to the State of California to cause cancer and reproductive harm. Wash hands after handling.
Use of this product may cause exposure to chemicals known to the State of California to cause cancer, birth defects, or other reproductive harm.
This product is capable of amputating hands and feet and of throwing objects. Always follow all safety instructions to avoid serious personal injury.
Using this product for purposes other than its intended use could prove dangerous to you and bystanders.
Always keep the roll bar in the fully raised and locked position and use the seat belt.
Use your full attention while operating the machine. Do not engage in any activity that causes distractions; otherwise, injury or property damage may occur.
Do not operate the machine near drop-offs, ditches, embankments, water, or other hazards, or on slopes greater than 15 degrees.
Read and understand the contents of this Operator’s Manual before starting the engine.
Do not put your hands or feet near moving components of the machine.
Do not operate the machine without all guards and other safety protective devices in place and working on the machine.
Keep children and bystanders out of the operating area. Never allow children to operate the machine.
Stop the machine, shut off the engine, and remove the key before servicing, fueling, or unclogging the machine.
Improperly using or maintaining this machine can result in injury. To reduce the potential for injury, comply with these safety instructions and always pay attention to the safety-alert symbol, which means Caution, Warning, or Danger—personal safety instruction. Failure to comply with these instructions may result in personal injury or death.
You can find additional safety information where needed throughout this manual.

![]() |
Safety decals and instructions are easily visible to the operator and are located near any area of potential danger. Replace any decal that is damaged or missing. |


























Become familiar with all the controls before you start the engine and operate the machine.

Refer to the Software Guide for detailed information explaining the operator interface that allows you to access information, reset counters, modify system settings, and troubleshoot the equipment.

The information screen displays information relative to machine operation; refer to the Software Guide for more information.
The multi-functional buttons are located at the bottom of the panel. The icons displayed on the information screen above the buttons indicate the current function. The buttons allow you to select the engine speed and navigate through system menus.
Refer to the Software Guide for more information.
The LED status light is multi-colored to indicate the system status and is located on the right side of the panel. During startup, the LED illuminates red to orange to green to verify functionality.
Solid green—indicates normal operating activity
Blinking red—indicates an active fault
Blinking green and orange— indicates that a clutch reset is required
Refer to the Software Guide for more information.
If an error occurs, an error message displays, the LED turns red, and the alarm sounds audibly as follows:
A fast chirp sound indicates critical errors.
A slow chirping sound indicates less critical errors, such as required maintenance or service intervals.
Note: During startup, the alarm sounds briefly to verify functionality.
Refer to the Software Guide for more information.
The hour meter records the number of hours the engine has operated. It operates when the engine is running. Use these times for scheduling regular maintenance (Figure 5).
Hours are displayed in Engine-Off screen or in the Engine Hour Counter menu.
Refer to the Software Guide for more information.
The throttle controls the engine speed, and there are 3 speeds: Maximum, Efficient, and Low.
Refer to the Software Guide for more information.
Press the switch rearward to raise the center deck and to fold the wing decks.
Press the switch forward to lower the center deck and to unfold the wing decks.
The blade-control switch (PTO) engages and disengages power to the mower blades (Figure 5).
The LCD indicator appears on the information screen when the PTO switch is disengaged.
Note: Machines equipped with the Horizon Display Monitor have a clutch saver, which allows the throttle to automatically reduce the engine speed when you disengage the PTO switch. Engaging and disengaging the PTO switch changes the engine throttle between MOW and TRANSPORT mode.
Note: The system allows you to start the machine with the PTO switch engaged, but does not engage the blades. Engaging the PTO requires you to reset the PTO switch by disengaging, then engaging it.
Important: You must unfold the wing decks before you can engage the PTO.
Use the NEUTRAL-LOCK position with the safety-interlock system to engage and to determine the NEUTRAL position.
Use this switch to start the engine. It has 3 positions: START, RUN, and OFF.
Note: The LCD indicators appear when each control meets the “safe to start” mode (e.g., the indicator turns on when you are in the seat.)
Note: The engine ECU controls the glow plugs during cold starts. If the coolant temperature is too low, the glow symbol displays on the monitor and the starter does not crank when you turn the engine to the START position. The glow plugs activate in the ON or START position. Once the glow has been on long enough for the current temperature, the glow symbol on the monitor disappears and the engine cranks when turned to the START position.
Note: The system allows you to start the machine the with the PTO switch engaged, but does not engage the blades. You must reset the PTO to engage the PTO.
A selection of Toro approved attachments and accessories is available for use with the machine to enhance and expand its capabilities. Contact your Authorized Service Dealer or authorized Toro distributor or go to www.Toro.com for a list of all approved attachments and accessories.
To ensure optimum performance and continued safety certification of the machine, use only genuine Toro replacement parts and accessories. Replacement parts and accessories made by other manufacturers could be dangerous, and such use could void the product warranty.
| Cutting width | 243.8 cm (96 inches) |
| Overall width | Working width—257.3 cm (101-5/16 inches) |
| Transport width set at the 3-inches height of cut—184.2 cm (72-1/2 inches) | |
| Overall length | 247.1 cm (97-1/4 inches) |
| Overall height | Roll bar up—182.4 cm (71-13/16 inches) |
| Roll bar down—129.5 cm (51 inches) | |
| Tread width (center-to-center of tires, widthwise) | Drive wheels—117 cm (46-1/16 inches) |
| Caster wheels—120.7 cm (47-1/2 inches) | |
| Wheel base (center of the caster tire to the center of the drive tire) | 143 cm (56-5/16 inches) |
| Overall weight | 1172 kg (2,584 lb) |
Note: Determine the left and right sides of the machine from the normal operating position.
Never allow children or untrained people to operate or service the machine. Local regulations may restrict the age of the operator. The owner is responsible for training all operators and mechanics.
Become familiar with the safe operation of the equipment, operator controls, and safety signs.
Know how to stop the machine and shut off the engine quickly.
Check that operator-presence controls, safety switches, and shields are attached and functioning properly. Do not operate the machine unless they are functioning properly.
Before mowing, always inspect the machine to ensure that the blades, blade bolts, and cutting assemblies are in good working condition. Replace worn or damaged blades and bolts in sets to preserve balance.
Inspect the area where you will use the machine and remove all objects that the machine could throw.
Evaluate the terrain to determine the appropriate equipment and any attachments or accessories required to operate the machine properly and safely.
To avoid personal injury or property damage, use extreme care in handling fuel. Fuel vapors are flammable and explosive.
Extinguish all cigarettes, cigars, pipes, and other sources of ignition.
Use only an approved fuel container.
Do not remove the fuel cap or add fuel to the fuel tank while the engine is running or while hot.
Do not refuel the machine indoors.
Do not store the machine or fuel container where there is an open flame, spark, or pilot light, such as on a water heater or on other appliances.
Do not fill containers inside a vehicle or on a truck or trailer bed with a plastic liner. Always place containers on the ground, away from your vehicle before filling.
Remove the equipment from the truck or trailer and refuel it while it is on the ground. If this is not possible, then refuel from a portable container rather than a fuel-dispenser nozzle.
Do not operate the machine without the entire exhaust system in place and in proper working condition.
Keep the fuel-dispenser nozzle in contact with the rim of the fuel tank or container opening at all times until fueling is complete. Do not use a nozzle lock-open device.
If you spill fuel on your clothing, change your clothing immediately. Wipe up any fuel that spills.
Never overfill the fuel tank. Replace the fuel cap and tighten it securely.
Store fuel in an approved container and keep it out of the reach of children. Never buy more than a 30-day supply of fuel.
Do not fill the fuel tank completely full. Add fuel to the fuel tank until the level is 6 to 13 mm (1/4 to 1/2 inch) below the bottom of the filler neck. This empty space in the tank allows fuel to expand.
Avoid prolonged breathing of vapors.
Keep your face away from the nozzle and fuel tank opening.
Avoid contact with skin; wash off spills with soap and water.
The engine runs on clean, fresh diesel fuel with a minimum cetane rating of 40. Purchase fuel in quantities that can be used within 30 days to ensure fuel freshness.
Use summer-grade diesel fuel (No. 2-D) at temperatures above -7°C (20°F) and winter-grade diesel fuel (No. 1-D or No. 1-D/2-D blend) below -7°C (20°F). Use of winter-grade diesel fuel at lower temperatures provides lower flash point and pour point characteristics, therefore easing startability and lessening chances of chemical separation of the fuel due to lower temperatures (wax appearance, which may plug filters).
Using summer-grade diesel fuel above -7°C (20°F) contributes toward longer life of the pump components.
Important: Do not use kerosene or gasoline instead of diesel fuel. Failure to observe this caution will damage the engine.
This machine can also use a biodiesel blended fuel of up to B20 (20% biodiesel, 80% petrodiesel). The petrodiesel portion should be ultra low sulfur.
Observe the following precautions:
The biodiesel portion of the fuel meet specification ASTM D6751 or EN14214.
The blended fuel composition should meet ASTM D975 or EN590.
Painted surfaces may be damaged by biodiesel blends.
Use B5 (biodiesel content of 5%) or lesser blend in cold weather.
Monitor seals, hoses, gaskets in contact with fuel as they may degrade over time.
Fuel filter plugging may be expected for a time after converting to biodiesel blends.
Contact your distributor for more information on biodiesel.
Park the machine on a level surface.
Engage the parking brake.
Shut off the engine and remove the key.
Clean around the fuel-tank cap.
Fill the fuel tank to the bottom of the filler neck (Figure 7).
Note: Do not fill the fuel tank completely full. The empty space in the tank allows the fuel to expand.

Before starting the machine each day, perform the Each Use/Daily procedures listed in .
New engines take time to develop full power. Mower decks and drive systems have higher friction when new, placing additional load on the engine. Allow 40 to 50 hours of break-in time for new machines to develop full power and best performance.
To avoid injury or death from rollover, keep the roll bar in the fully raised, locked position and use the seat belt.
Ensure that the seat is secured to the machine.
There is no rollover protection when the roll bar is in the down position.
Lower the roll bar only when absolutely necessary.
Do not wear the seat belt when the roll bar is in the down position.
Drive slowly and carefully.
Raise the roll bar as soon as clearance permits.
Check carefully for overhead clearances (i.e., branches, doorways, electrical wires) before driving under any objects and do not contact them.
Important: Always use the seat belt with the roll bar in the raised position.
Raise the roll bar to the operating position and rotate the knobs until they move partially into the grooves (Figure 9).
Raise the roll bar to the full upright position while pushing on the upper roll bar so that the pins snap into position when the holes align with the pins (Figure 9).
Push on the roll bar and ensure that both pins are engaged (Figure 9).

If the safety-interlock switches are disconnected or damaged, the machine could operate unexpectedly, causing personal injury.
Do not tamper with the interlock switches.
Check the operation of the interlock switches daily and replace any damaged switches before operating the machine.
The safety-interlock system is designed to prevent the engine from starting unless:
The parking brake is engaged.
The blade-control switch (PTO) is disengaged.
The motion-control levers are in the NEUTRAL-LOCK position.
The safety-interlock system also is designed to shut off the engine when the motion-control levers are moved from the NEUTRAL-LOCK position with the parking brake engaged or if you rise from the seat when the PTO is engaged.
The Horizon Display Monitor has symbols to notify the user when the interlock component is in the correct position. When the component is in the correct position, the corresponding symbol displays on the monitor.

| Maintenance Service Interval | Maintenance Procedure |
|---|---|
| Before each use or daily |
|
Test the safety-interlock system before you use the machine each time. If the safety system does not operate as described below, have an Authorized Service Dealer repair the safety system immediately.
Sit on the seat, engage the parking brake, and move the blade-control switch (PTO) to the ON position. Try starting the engine; the engine should not start.
Sit on the seat, engage the parking brake, and move the blade-control switch (PTO) to the OFF position. Move either motion-control lever out of the NEUTRAL-LOCK position. Try starting the engine; the engine should not start. Repeat for the other control lever.
Sit on the seat, engage the parking brake, move the blade-control switch (PTO) to the OFF position, and move the motion-control levers to the NEUTRAL-LOCK position. Now start the engine. While the engine is running, disengage the parking brake, engage the blade-control switch (PTO), and rise slightly from the seat; the engine should shut off.
Sit on the seat, engage the parking brake, move the blade-control switch (PTO) to the OFF position, and move the motion-control levers to the NEUTRAL-LOCK position. Now start the engine. While the engine is running, center either motion control and move (forward or reverse); the engine should shut off. Repeat for other motion control.
Sit on the seat, disengage the parking brake, move the blade-control switch (PTO) to the OFF position, and move the motion-control levers to the NEUTRAL-LOCK position. Try starting the engine; the engine should not start.
The seat moves forward and backward. Position the seat where you have the best control of the machine and are most comfortable.
To adjust, move the lever sideways to unlock the seat (Figure 11).


The seat is adjustable to provide a smooth and comfortable ride. Position the seat where you are most comfortable.
To adjust it, turn the knob in front either direction to provide the best comfort (Figure 13).

The owner/operator can prevent and is responsible for accidents that may cause personal injury or property damage.
Wear appropriate clothing, including eye protection; long pants; slip-resistant, substantial footwear; and hearing protection. Tie back long hair and do not wear loose jewelry.
Do not operate the machine while ill, tired, or under the influence of alcohol or drugs.
Never carry passengers on the machine and keep bystanders and pets away from the machine during operation.
Operate the machine only in good visibility to avoid holes or hidden hazards.
Avoid mowing on wet grass. Reduced traction could cause the machine to slide.
Ensure that all drives are in neutral, the parking brake is engaged, and you are in the operating position before you start the engine.
Keep your hands and feet away from the cutting units. Keep clear of the discharge opening at all times.
Look behind and down before backing up to be sure of a clear path.
Use care when approaching blind corners, shrubs, trees, or other objects that may obscure your vision.
Do not mow near drop-offs, ditches, or embankments. The machine could suddenly roll over if a wheel goes over the edge or if the edge gives way.
Stop the blades whenever you are not mowing.
Stop the machine, shut off the engine, remove the key, and inspect the blades after striking an object or if there is an abnormal vibration in the machine. Make all necessary repairs before resuming operation.
Slow down and use caution when making turns and crossing roads and sidewalks with the machine. Always yield the right-of-way.
Disengage the drive to the cutting unit, shut off the engine, and remove the key before adjusting the height of cut (unless you can adjust it from the operating position).
Never run an engine in an area where exhaust gases are enclosed.
Never leave a running machine unattended.
Before leaving the operating position (including to empty the catchers or to unclog the chute), do the following:
Stop the machine on level ground.
Disengage the power takeoff and lower the attachments.
Engage the parking brake.
Shut off the engine and remove the key.
Wait for all moving parts to stop.
Do not operate the machine when there is the risk of lightning.
Do not use the machine as a towing vehicle unless it has a hitch installed.
Do not change the governor speed or overspeed the engine.
Use only accessories and attachments approved by Toro.
This machine produces sound levels in excess of 85 dBA at the operator’s ear and can cause hearing loss through extended periods of exposure.

Do not remove the roll bar from the machine.
Ensure that the seat belt is attached and that you can release it quickly in an emergency.
Always wear your seat belt when the roll bar is up.
Check carefully for overhead obstructions and do not contact them.
Keep the roll bar in safe operating condition by thoroughly inspecting it periodically for damage and keeping all the mounting fasteners tight.
Replace a damaged roll bar. Do not repair or alter it.
Slopes are a major factor related to loss of control and rollover accidents, which can result in severe injury or death. The operator is responsible for safe slope operation. Operating the machine on any slope requires extra caution. Before using the machine on a slope, do the following:
Review and understand the slope instructions in the manual and on the machine.
Use an angle indicator to determine the approximate slope angle of the area.
Never operate on slopes greater than 15 degrees.
Evaluate the site conditions of the day to determine if the slope is safe for machine operation. Use common sense and good judgment when performing this evaluation. Changes in the terrain, such as moisture, can quickly affect the operation of the machine on a slope.
Identify hazards at the base of the slope. Do not operate the machine near drop-offs, ditches, embankments, water, or other hazards. The machine could suddenly roll over if a wheel goes over the edge or the edge collapses. Keep a safe distance (twice the width of the machine) between the machine and any hazard. Use a walk-behind machine or a hand trimmer to mow the grass in these areas.
Avoid starting, stopping, or turning the machine on slopes. Avoid making sudden changes in speed or direction; turn slowly and gradually.
Do not operate a machine under any conditions where traction, steering, or stability is in question. Be aware that operating the machine on wet grass, across slopes, or downhill may cause the machine to lose traction. Loss of traction to the drive wheels may result in sliding and a loss of braking and steering. The machine can slide even if the drive wheels are stopped.
Remove or mark obstacles such as ditches, holes, ruts, bumps, rocks, or other hidden hazards. Tall grass can hide obstacles. Uneven terrain could overturn the machine.
Use extra care while operating with accessories or attachments, such as grass-collection systems. These can change the stability of the machine and cause a loss of control. Follow directions for counterweights.
If possible, keep the deck lowered to the ground while operating on slopes. Raising the deck while operating on slopes can cause the machine to become unstable.

Always engage the parking brake when you stop the machine or leave it unattended.
Park the machine on a level surface.


Important: You must unfold the wing decks before you can engage the PTO.
Remove the clevis pin and hairpin cotter that secures each wing in the upright position and place them in the storage position (Figure 18).

Ensure that all persons are clear of the deck wings.
Press and hold the bottom of the deck-lift switch; the center deck lowers first, then the outer wings.
The blade-control switch (PTO) starts and stops the mower blades and any powered attachments.
Note: Engaging the blade-control switch (PTO) with the throttle position at half or less causes excessive wear to the drive belts.


Important: Do not engage the starter for more than 5 seconds at a time. If the engine fails to start, wait 15 seconds between attempts. Failure to follow these instructions can burn out the starter motor.
Note: You may need multiple attempts to start the engine the first time after adding fuel to an empty fuel system.

Children or bystanders may be injured if they move or attempt to operate the machine while it is unattended.
Always remove the key and engage the parking brake when leaving the machine unattended.

Ensure that all persons are clear of the deck wings.
Press and hold the bottom of the deck-lift switch; the center deck lowers first, then the outer wings.
Park the machine on a level surface, disengage the blade-control switch, and engage the parking brake.
Shut off the engine, remove the key, and wait for all moving parts to stop before leaving the operating position.
Remove the clevis pin and hairpin cotter from the storage location and secure each wing in the upright position (Figure 23).


The drive wheels turn independently, powered by hydraulic motors on each axle. You can turn 1 side in reverse while you turn the other forward, causing the machine to spin rather than turn. This greatly improves the machine maneuverability but may require some time for you to adapt to how it moves.
The throttle control regulates the engine speed as measured in rpm (revolutions per minute). Place the throttle control in the FAST position for best performance. Always operate in the full throttle position when mowing.
The machine can spin very rapidly. You may lose control of the machine and cause personal injury or damage to the machine.
Use caution when making turns.
Slow the machine down before making sharp turns.
Note: The engine shuts off when you move the traction-control with the parking brake engaged.
To stop the machine, pull the motion-control levers to the NEUTRAL position.
Disengage the parking brake; refer to Disengaging the Parking Brake.
Move the levers to the center, unlocked position.
To go forward, slowly push the motion-control levers forward (Figure 25).

Move the levers to the center, unlocked position.
To go backward, slowly pull the motion-control levers rearward (Figure 26).

The cutting height of the mower deck can be adjusted from 2.54 cm to 14 cm (1 to 5-1/2 inches) in 6.4 mm (1/4 inch) increments.
Park the machine on a level surface, disengage the blade-control switch, and engage the parking brake.
Press the top of deck-lift switch to raise the center deck and wing decks.
Shut off the engine, remove the key, and wait for all moving parts to stop before leaving the operating position.
Adjust the center deck by performing the following procedure:
Remove the height-of-cut pin from the deck-lift plate on the right side of the center deck.
Insert the height-of-cut pin into the hole corresponding to the desired cutting height.
See the decal on the side of the deck-lift plate for the cutting heights.
Adjust the side wing decks by performing the following procedure:
Ensure that the wing decks are locked in place.
Unlock the cam locks located on the height-of-cut channel on the wing deck (Figure 27).

Remove the lynch pin from the height-of-cut pin on both the front and rear channels.
Move the wing deck to the appropriate height and install the height-of-cut pins and lynch pins (Figure 27).
Lock the cam lock.
Repeat for the other wing deck.
If you desire additional height-of-cut range, adjust the front and rear gauge wheels on the wing deck as follows:
Remove the mounting hardware from the gauge wheel.
Adjust the front and rear gauge wheels to the appropriate hole location (see the chart below and Figure 28) and install the mounting hardware.
| Hole Location | Height-of-Cut Range |
| Top hole (-1 on the decal) | 25 to 89 mm (1 to 3-1/2 inches) |
| Middle hole (0 on the decal) | 51 to 114 mm (2 to 4-1/2 inches) |
| Bottom hole (+1 on the decal) | 76 to 140 mm (3 to 5-1/2 inches) |

Repeat for the other wing deck.
For maximum deck flotation, install the rollers 1 hole position lower. Rollers should maintain a 6 mm (1/4 inch) clearance to the ground. Do not adjust the rollers to support the deck.
Park the machine on a level surface.
Disengage the blade-control switch (PTO), move the motion-control levers to the NEUTRAL-LOCK position, and engage the parking brake.
Shut off the engine, remove the key, and wait for all moving parts to stop before leaving the operating position.
After adjusting the height of cut, adjust the anti-scalp rollers by removing the mounting hardware.
Place the rollers in 1 of the positions shown in Figure 29.
The rollers will maintain 19 mm (3/4 inch) clearance to the ground to minimize gouging and roller wear or damage.

Torque the nyloc nut (3/8 inch) to 41 to 47 N∙m (30 to 35 ft-lb) as shown in Figure 30.

The 96-inch deck has 13 anti-scalp roller locations. For adjustment, refer to Figure 31.

Mount the skids in the lower position when operating at heights of cut greater than 51 mm (2 inches) and in a higher position when operating at heights of cut lower than 51 mm (2 inches).
Adjust the skids as shown in Figure 32.

The PTO disengages, an alarm sounds, and a bar graph displays the engine temperature when it reaches an overheat condition. The PTO does not engage until the engine has cooled and you manually shut off the PTO and engage it.
Note: If the engine-coolant level is below the indicator line on the overflow bottle when the engine is cold, the coolant temperature gauge may not register correctly during operation and/or the audible alarm may not sound if the engine overheats.
For best mowing and maximum air circulation, operate the engine at the FAST position. Air is required to thoroughly cut grass clippings, so do not set the height-of-cut so low as to totally surround the mower deck in uncut grass. Always try to have 1 side of the mower deck free from uncut grass, which allows air to be drawn into the mower deck.
Cut grass slightly longer than normal to ensure that the cutting height of the mower deck does not scalp any uneven ground. However, the cutting height used in the past is generally the best one to use. When cutting grass longer than 15 cm (6 inches) tall, you may want to cut the lawn twice to ensure an acceptable quality of cut.
It is best to cut only about a third of the grass blade. Cutting more than that is not recommended unless grass is sparse, or it is late fall when grass grows more slowly.
Alternate the mowing direction to keep the grass standing straight. This also helps disperse clippings, which enhances decomposition and fertilization.
Grass grows at different rates at different times of the year. To maintain the same cutting height, mow more often in early spring. As the grass growth rate slows in mid summer, mow less frequently. If you cannot mow for an extended period, first mow at a high cutting height, then mow again 2 days later at a lower height setting.
To improve cut quality, use a slower ground speed in certain conditions.
When mowing uneven turf, raise the cutting height to avoid scalping the turf.
If you must stop the forward motion of the machine while mowing, a clump of grass clippings may drop onto your lawn. To avoid this, move onto a previously cut area with the blades engaged or you can disengage the mower deck while moving forward.
Clean clippings and dirt from the underside of the mower deck after each use. If grass and dirt build up inside the mower deck, cutting quality will eventually become unsatisfactory.
Maintain a sharp blade throughout the cutting season because a sharp blade cuts cleanly without tearing or shredding the grass blades. Tearing and shredding turns grass brown at the edges, which slows growth and increases the chance of disease. Check the mower blades after each use for sharpness, and for any wear or damage. File down any nicks and sharpen the blades as necessary. If a blade is damaged or worn, replace it immediately with a genuine Toro replacement blade.
Clean grass and debris from the cutting units, mufflers, and engine compartment to help prevent fires. Clean up oil or fuel spills.
Shut off the fuel and remove the key before storing or transporting the machine.
Disengage the drive to the attachment whenever you are transporting or not using the machine.
Allow the engine to cool before storing the machine in any enclosure.
Never store the machine or fuel container where there is an open flame, spark, or pilot light, such as on a water heater or on other appliances.
Use a heavy-duty trailer or truck to transport the machine. Use a full-width ramp. Ensure that the trailer or truck has all the necessary brakes, lighting, and marking as required by law. Please carefully read all the safety instructions. Knowing this information could help you or bystanders avoid injury. Refer to your local ordinances for trailer and tie-down requirements.
Driving on the street or roadway without turn signals, lights, reflective markings, or a slow-moving-vehicle emblem is dangerous and can lead to accidents, causing personal injury.
Do not drive the machine on a public street or roadway.
Loading a machine onto a trailer or truck increases the possibility of tip-over and could cause serious injury or death (Figure 33).
Use only a full-width ramp; do not use individual ramps for each side of the machine.
Do not exceed a 15-degree angle between the ramp and the ground or between the ramp and the trailer or truck.
Ensure that the length of the ramp is at least 4 times as long as the height of the trailer or truck bed to the ground. This ensures that the ramp angle does not exceed 15 degrees on flat ground.

Loading a machine onto a trailer or truck increases the possibility of tip-over and could cause serious injury or death.
Use extreme caution when operating a machine on a ramp.
Back the machine up the ramp and drive it forward down the ramp.
Avoid sudden acceleration or deceleration while driving the machine on a ramp as this could cause a loss of control or a tip-over situation.
If using a trailer, connect it to the towing vehicle and connect the safety chains.
If applicable, connect the trailer brakes and lights.
Lower the ramp, ensuring that the angle between the ramp and the ground does not exceed 15 degrees (Figure 33).
Back the machine up the ramp (Figure 34).

Shut off the engine, remove the key, and engage the parking brake.
Tie down the machine near the front caster wheels and the rear bumper with straps, chains, cable, or ropes (Figure 35). Refer to local regulations for tie-down requirements.

| Maintenance Service Interval | Maintenance Procedure |
|---|---|
| After the first 100 hours |
|
| After the first 200 hours |
|
| Before each use or daily |
|
| Every 50 hours |
|
| Every 100 hours |
|
| Every 200 hours |
|
| Every 400 hours |
|
| Every 500 hours |
|
| Every 800 hours |
|
| Every 2,000 hours |
|
| Monthly |
|
| Yearly |
|
Important: Refer to your engine owner's manual for additional maintenance procedures.
If you leave the key in the switch, someone could accidently start the engine and seriously injure you or other bystanders.
Remove the key from the switch before you perform any maintenance.
Before repairing the machine do the following:
Disengage the drives.
Engage the parking brake.
Shut off the engine and remove the key.
Disconnect the spark-plug wire.
Park the machine on a level surface.
Clean grass and debris from the cutting unit, drives, mufflers, and engine to help prevent fires.
Clean up oil or fuel spills.
Do not allow untrained personnel to service the machine.
Use jack stands to support the machine and/or components when required.
Carefully release pressure from components with stored energy.
Disconnect the battery or remove the spark-plug wire before making any repairs. Disconnect the negative terminal first and the positive terminal last. Connect the positive terminal first and negative last.
Use care when checking the blades. Wrap the blade(s) or wear thickly padded gloves, and use caution when servicing them. Only replace blades; do not straighten or weld them.
Keep your hands and feet away from moving parts. If possible, do not make adjustments with the engine running.
Keep all parts in good working condition and all hardware tightened, especially the blade-attachment bolts. Replace all worn or damaged decals.
Never interfere with the intended function of a safety device or reduce the protection provided by a safety device. Check their proper operation regularly.
Use only genuine Toro replacement parts.
Check the parking brake operation frequently. Adjust and service as required.
Grease more frequently when operating conditions are extremely dusty or sandy.
Grease Type: No. 2 lithium or molybdenum grease
Park the machine on a level surface, disengage the blade-control switch, and engage the parking brake.
Shut off the engine, remove the key, and wait for all moving parts to stop before leaving the operating position.
Clean the grease fittings with a rag.
Note: Make sure that you scrape any paint off the front of the fitting(s).
Connect a grease gun to the fitting.
Pump grease into the fittings until grease begins to ooze out of the bearings.
Wipe up any excess grease.
| Maintenance Service Interval | Maintenance Procedure |
|---|---|
| Every 100 hours |
|
Use light oil spray to lubricate the deck-lift pivots.

| Maintenance Service Interval | Maintenance Procedure |
|---|---|
| Every 400 hours |
|
| Yearly |
|
Note: See chart for service intervals.
Refer to the following chart for fitting locations and lubrication schedule.
| Fitting Locations | Initial Pumps | Number of Places | Service Interval |
|---|---|---|---|
| Deck drive PTO | 1 | 3 | Every 50 hours |
| Deck-idler pivot | 1 | 3 | Every 400 hours or yearly |
| Caster-wheel bearings | *0 | 4 | *Yearly |
| Caster pivots | *0 | 5 | Every 400 hours or yearly |
* Use the special lubrication instructions on the front caster pivots and the Lubricating the Caster-Wheel Hubs section for special lubrication instructions on the front casters wheel hubs.
Lubricate the front caster pivots once a year. Remove hex plug and cap. Thread the grease fitting in the hole and pump it with grease until it oozes out around the top of the bearing. Remove the grease fitting and thread the plug back in. Install the cap.

| Maintenance Service Interval | Maintenance Procedure |
|---|---|
| Every 50 hours |
|
Note: For easier access to the drive U-joints and splined slip joint, remove the floor pan and fully lower the mower deck.
Park the machine on a level surface, disengage the blade-control switch, and engage the parking brake.
Shut off the engine, remove the key, and wait for all moving parts to stop before leaving the operating position.
Clean the grease fittings with a rag.
Connect a grease gun to the fitting.
Pump grease into the fittings until grease begins to ooze out of the bearings.
Wipe up any excess grease.

| Maintenance Service Interval | Maintenance Procedure |
|---|---|
| Yearly |
|
Park the machine on a level surface, disengage the blade-control switch, and engage the parking brake.
Shut off the engine, remove the key, and wait for all moving parts to stop before leaving the operating position.

Raise the mower for access.
Remove the caster wheel from the caster forks.
Remove the seal guards from the wheel hub.
Remove a spacer nut from the axle assembly in the caster wheel.
Note: Thread-locking adhesive has been applied to lock the spacer nuts to the axle.
Remove the axle (with the other spacer nut still assembled to it) from the wheel assembly.
Pry out seals and inspect bearings for wear or damage and replace if necessary.
Pack the bearings with a general-purpose grease.
Insert 1 bearing and 1 new seal into the wheel.
Note: Replace the seals.
If the axle assembly is missing both spacer nuts, apply a thread-locking adhesive to 1 spacer nut and thread it onto the axle with the wrench flats facing outward.
Note: Do not thread the spacer nut all of the way onto the end of the axle. Leave approximately 3 mm (1/8 inch) from the outer surface of the spacer nut to the end of the axle inside the nut.
Insert the assembled nut and axle into the wheel on the side of the wheel with the new seal and bearing.
With the open end of the wheel facing up, fill the area inside the wheel around the axle full of general-purpose grease.
Insert the second bearing and new seal into the wheel.
Apply a thread-locking adhesive to the second spacer nut, and thread it onto the axle with the wrench flats facing outward.
Torque the nut to 8 to 9 N∙m (75 to 80 in-lb), loosen, then torque to 2 to 3 N∙m (20 to 25 in-lb).
Note: Make sure that the axle does not extend beyond either nut.
Install the seal guards over the wheel hub, and insert the wheel into the caster fork.
Install the caster bolt and tighten the nut fully.
Important: To prevent seal and bearing damage, check the bearing adjustment often. Spin the caster tire. The tire should not spin freely (more than 1 or 2 revolutions) or have any side play. If the wheel spins freely, adjust the torque on the spacer nut until there is a slight amount of drag. Apply another layer of thread-locking adhesive.
Shut off the engine before checking the oil or adding oil to the crankcase.
Keep your hands, feet, face, clothing, and other body parts away the muffler and other hot surfaces.
Check the air-cleaner body for damage, which could possibly cause an air leak.
Replace a damaged air-cleaner body.
Check the air-intake system for leaks, damage, or loose hose clamps.
Service the air-cleaner filter when the air-cleaner indicator shows red (Figure 40).
Important: Do not over-service the air filter.

Ensure that the cover seats correctly and seals with the air-cleaner body.
| Maintenance Service Interval | Maintenance Procedure |
|---|---|
| Every 400 hours |
|
Note: If the foam gasket in the cover is damaged, replace it.
Important: Avoid using high-pressure air, which could force dirt through the filter into the intake tract.
Important: Do not clean the used filter to avoid damaging the filter media.
Important: Do not use a damaged filter.
Important: Do not apply pressure to the flexible center of the filter.

The engine ships with oil in the crankcase; however, check the oil level before and after you first start the engine. Check the oil level before operating the machine each day or each time you use the machine.
Crankcase capacity: 6.6 L (7 US qt) with the filter
Preferred engine oil: Toro Premium Engine Oil
If using an alternate oil, use high-quality, low-ash engine oil that meets or exceeds the following specifications:
API service category CJ-4 or higher
ACEA service category E6
JASO service category DH-2
Important: Using engine oil other than API classification CJ-4 or higher, ACEA E6, or JASO DH-2 may cause the diesel particulate filter to plug or cause engine damage.
Use the following engine oil viscosity grade:
SAE 10W-30 or 5W-30 (all temperatures)
SAE 15W-40 (above 0° F)
Note: Toro Premium Engine oil is available from your distributor. See the Parts Catalog or contact an authorized Toro distributor for part numbers.
| Maintenance Service Interval | Maintenance Procedure |
|---|---|
| Before each use or daily |
|
Park the machine on a level surface, lower the mower deck, move the throttle lever to the SLOW position, shut off the engine, and remove the key.
Open the hood.
Check the engine-oil level as shown in Figure 42.

| Maintenance Service Interval | Maintenance Procedure |
|---|---|
| After the first 200 hours |
|
| Every 200 hours |
|
| Every 400 hours |
|
| Yearly |
|
If possible, run the engine just before changing the oil because warm oil flows better and carries more contaminants than cold oil.
Park machine on a level surface.
Engage the parking brake.
Shut of the engine and remove the key.
Open the hood.
Change the engine oil as shown in Figure 43.

Replace the engine-oil filter as shown in Figure 44.

Fill the crankcase with oil; refer to Engine-Oil Specifications.
Fuel-system components are under high pressure. The use of improper components can result in system failure, fuel leakage, and possible explosion.
Use only approved fuel lines and fuel filters.
| Maintenance Service Interval | Maintenance Procedure |
|---|---|
| Every 50 hours |
|
Park the machine on a level surface, disengage the blade-control switch, and engage the parking brake.
Shut off the engine, remove the key, and wait for all moving parts to stop before leaving the operating position.
Place a drain pan under the fuel filter and loosen the drain plug approximately 1 turn (Figure 45).

After the water drains and fuel begins to flow from the filter, tighten the drain plug.
Important: Water or other contaminants in fuel can damage the fuel pump and/or other engine components.
| Maintenance Service Interval | Maintenance Procedure |
|---|---|
| Every 400 hours |
|

| Maintenance Service Interval | Maintenance Procedure |
|---|---|
| Every 800 hours |
|
Inspect the engine-valve clearance. Refer to the engine owner’s manual.
| Maintenance Service Interval | Maintenance Procedure |
|---|---|
| Every 400 hours |
|
Inspect the fuel lines for deterioration, damage, chaffing, or loose connections.
Disconnect the battery before repairing the machine. Disconnect the negative terminal first and the positive last. Connect the positive terminal first and the negative last.
Charge the battery in an open, well-ventilated area, away from sparks and flames. Unplug the charger before connecting or disconnecting the battery. Wear protective clothing and use insulated tools.
Battery electrolyte contains sulfuric acid, which is fatal if consumed and causes severe burns.
Do not drink electrolyte and avoid contact with skin, eyes or clothing. Wear safety glasses to shield your eyes and rubber gloves to protect your hands.
| Maintenance Service Interval | Maintenance Procedure |
|---|---|
| Monthly |
|
Allowing the battery to stand for an extended period of time without charging it results in reduced performance and service life. To preserve optimum battery performance and life, charge the battery in storage when the open circuit voltage drops to 12.4 V.
Note: To prevent damage due to freezing, fully charge the battery before putting it away for winter storage.
Check the voltage of the battery with a digital voltmeter. Locate the voltage reading of the battery in the table below and charge the battery for the recommended time interval to bring the charge up to a full charge of 12.6 V or greater.
Important: Ensure that the negative (–) battery cable is disconnected and the battery charger used for charging the battery has an output of 16 V and 7 A or less to avoid damaging the battery (see the chart for the recommended charger settings).
| Voltage Reading | Percent Charge | Maximum Charger Settings | Charging Interval |
|---|---|---|---|
| 12.6 V or greater | 100% | 16 V/7 A | No charging required |
| 12.4 V to 12.6 V | 75% to 100% | 16 V/7 A | 30 minutes |
| 12.2 V to 12.4 V | 50% to 75% | 16 V/7 A | 1 hour |
| 12.0 V to 12.2 V | 25% to 50% | 14.4 V/4 A | 2 hours |
| 11.7 V to 12.0 V | 0% to 25% | 14.4 V/4 A | 3 hours |
| 11.7 V or less | 0% | 14.4 V/2 A | 6 hours or more |
Charging the battery produces gasses that can explode.
Never smoke near the battery and keep sparks and flames away from battery.
Important: Always keep the battery fully charged (1.265 specific gravity). This is especially important to prevent battery damage when the temperature is below 0°C (32°F).
Make sure that the filler caps are installed in battery. Charge battery for 10 to 15 minutes at 25 to 30 A or 30 minutes at 10 A.
When the battery is fully charged, unplug the charger from the electrical outlet, then disconnect the charger leads from the battery posts (Figure 47).
Install the battery in the machine and connect the battery cables.
Note: Do not run the machine with the battery disconnected, electrical damage may occur.

Check the weak battery for terminal corrosion (white, green, or blue “snow”).
You must clean it off prior to jump-starting. Clean and tighten connections as necessary.
Corrosion or loose connections can cause unwanted electrical voltage spikes at anytime during the jump-starting procedure.
Do not attempt to jump-start with loose or corroded battery terminals; otherwise, damage may occur to the engine.
Jump-starting a weak battery that is cracked, frozen, has low electrolyte level, or an open/shorted battery cell, can cause an explosion, resulting in serious injury.
Do not jump-start a weak battery if these conditions exist.
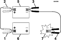
Ensure that the booster is a good and fully-charged lead acid battery at 12.6 V or greater. Use properly sized jumper cables (4 to 6 AWG) with short lengths to reduce voltage drop between systems. Ensure that the cables are color-coded or labeled for the correct polarity.
Connecting the jumper cables incorrectly (wrong polarity) can immediately damage the electrical system.
Be certain of battery-terminal polarity and jumper-cable polarity when connecting batteries.
Note: The following instructions are adapted from the SAE J1494 Rev. Dec. 2001 – Battery Booster Cables – Surface Vehicle Recommended Practice (SAE – Society of Automotive Engineers).
Important: Ensure that the vent caps are tight and level. Place a damp cloth, if available, over any vent caps on both batteries. Ensure that the machines do not touch and that both electrical systems are shut off and at the same rated system voltage. These instructions are for negative ground systems only.
Connect the positive (+) cable to the positive (+) terminal of the discharged battery that is wired to the starter or solenoid (Figure 48).

Connect the other end of the positive cable to the positive terminal of the booster battery.
Connect the black negative (–) cable to the other terminal (negative) of the booster battery.
Make the final connection on the engine block of the stalled machine (not to the negative post) away from the battery. Stand away from the machine.
Start the vehicle and remove the cables in the reverse order of connection (the engine block (black) connection is the first to disconnect).
The electrical system is protected by fuses. It requires no maintenance, however, if a fuse blows check component/circuit for malfunction or short.
Unlatch the engine hood and raise the engine hood to gain access to the fuse block.
To replace the fuses, pull out on the fuse to remove it.
Install a new fuse (Figure 49).

Use the drive wheel release valves to release the hydrostatic drive system, which allows you to push the machine without the running the engine.
Rotate each bypass valve counterclockwise 1 turn to release; rotate each bypass valve clockwise to reset system (Figure 50).
Important: Do not overtighten. Do not tow the machine.

Park the machine on a level surface, disengage the blade-control switch, and engage the parking brake.
Shut off the engine, remove the key, and wait for all moving parts to stop before leaving the operating position.
Move the throttle midway between FAST and Slow.
Move both motion-control levers all the way forward until they both hit the stops in the T-slot.
Check which way the machine tracks.
If it tracks to the right, loosen the bolts and adjust the left stop plate rearward on the left T-slot until the machine tracks straight (Figure 51).
If it tracks to the left, loosen the bolts and adjust the right stop plate rearward on the right T-slot until the machine tracks straight (Figure 51).
Tighten the stop plate (Figure 51).

Align the levers in the front-to-rear position by bringing the levers together to the NEUTRAL position, and slide them until they are aligned, then tighten the bolts (Figure 52).

If alignment is needed, loosen the 2 motion-control lever mounting bolts on the misaligned side (Figure 53).

Move motion-control lever to meet the opposite side.
Tighten the 2 motion-control lever mounting bolts (Figure 53).
| Maintenance Service Interval | Maintenance Procedure |
|---|---|
| Every 50 hours |
|
Rear tire air pressure specification: 124 kPa (18 psi).
Note: The caster tires are semi-pneumatic tires and do not require air pressure maintenance.
Low tire pressure decreases machine side-hill stability. This could cause a rollover, which may result in personal injury or death.
Do not under-inflate the tires.
Check the air pressure in the rear tires. Add or remove air as needed to set the air pressure in the tires to the tire air pressure specification.
Important: Maintain pressure in all tires to ensure a good quality of cut and proper machine performance.Check the air pressure in all the tires before operating the machine.

| Maintenance Service Interval | Maintenance Procedure |
|---|---|
| After the first 100 hours |
|
Torque the wheel lug nuts to 115 to 142 N∙m (85 to 105 ft-lb).
| Maintenance Service Interval | Maintenance Procedure |
|---|---|
| Every 500 hours |
|
Park the machine on a level surface, disengage the blade-control switch, and engage the parking brake.
Shut off the engine, remove the key, and wait for all moving parts to stop before leaving the operating position.
Remove the dust cap from the caster and tighten the locknut (Figure 55).
Tighten the locknut until the spring washers are flat, and then back off a 1/4 turn to properly set the preload on the bearings (Figure 55).
Important: Make sure that the spring washers are installed correctly as shown in Figure 55.
Install the dust cap (Figure 55).

| Maintenance Service Interval | Maintenance Procedure |
|---|---|
| Every 50 hours |
|
Use SAE 75W-90 synthetic gear lube.
Park the machine on a level surface and engage the parking brake.
Lower the mower deck to the 25 mm (1 inch) height of cut.
Disengage the blade-control switch, shut off the engine, remove the key, and wait for all moving parts to stop before leaving the operating position.
Lift the footrest to expose the top of the mower deck.
Remove the dipstick/fill plug from the top of the gearbox and ensure that the lubricant is between the marks on the dipstick (Figure 56).

If the oil level is low, add enough lubricant until the level is between the marks on the dipstick.
Important: Do not overfill the gearbox; overfilling the gearbox may damage it.
| Maintenance Service Interval | Maintenance Procedure |
|---|---|
| After the first 200 hours |
|
| Every 400 hours |
|
If the oil becomes contaminated, contact your Toro Distributor because the system must be flushed. Contaminated oil looks milky or black when compared to clean oil.
Park the machine on a level surface and engage the parking brake.
Lower the mower deck to the 25 mm (1 inch) height of cut.
Disengage the blade-control switch, shut off the engine, remove the key, and wait for all moving parts to stop before leaving the operating position.
Lift the footrest to expose the top of the mower deck.
Remove the dipstick/fill plug from the top of the gearbox and ensure that the lubricant is between the marks on the dipstick (Figure 56).
Extract the oil through the fill port using a vacuum device or remove the gearbox from the deck and pour out the oil into a drain pan.
Install the gearbox (if it was removed to drain).
Add approximately 420 ml (14 fl oz), until the level is between the marks on the dipstick
Important: Do not overfill the gearbox; overfilling the gearbox may damage it.
Swallowing engine coolant can cause poisoning; keep out of reach from children and pets.
Discharge of hot, pressurized coolant or touching a hot radiator and surrounding parts can cause severe burns.
Always allow the engine to cool at least 15 minutes before removing the radiator cap.
Use a rag when opening the radiator cap, and open the cap slowly to allow steam to escape.
| Maintenance Service Interval | Maintenance Procedure |
|---|---|
| Before each use or daily |
|
Coolant specification: 50/50 solution of water and permanent ethylene-glycol antifreeze
Cooling-system capacity: 7.6 L (8 US qt)
Open the hood.
Check the level of the coolant in the expansion tank (Figure 57).
Note: The coolant level should be between the marks on the side of the tank.

If coolant level is low, remove the expansion-tank cap, and add the specified coolant (Figure 57).
Important: Do not overfill.
Install the expansion-tank cap.
Close the hood.
| Maintenance Service Interval | Maintenance Procedure |
|---|---|
| Every 50 hours |
|
Clean the radiator to prevent the engine from overheating.
Note: If the mower deck or engine shuts off due to overheating, check the radiator for excessive buildup of debris.
Park the machine on a level surface, disengage the blade-control switch, and engage the parking brake.
Shut off the engine, remove the key, and wait for all moving parts to stop before leaving the operating position.
Rotate the hood forward.
Using compressed air, blow out debris stuck between the fins of the entire radiator, both from the top down and bottom up.
If debris remains, it may be necessary to use water from a low-pressure hose.
If the radiator is clean, proceed to step 7.
Cover the engine with a piece of cardboard or a plastic sheet. Squirt water through the fins. Blow through with low-pressure air from both directions.
Note: If debris remains, repeat until clean.
Lower the hood.
Start the engine to ensure that the fan functions properly.
| Maintenance Service Interval | Maintenance Procedure |
|---|---|
| Every 2,000 hours |
|
Park the machine on a level surface, disengage the blade-control switch, and engage the parking brake.
Shut off the engine, remove the key, and wait for all moving parts to stop before leaving the operating position.
Rotate the hood forward.
Drain the coolant when the engine is cool.
Remove the radiator cap, place a pan under the radiator, and remove the drain plug at the bottom of the radiator.
Remove the coolant hose from the oil cooler and drain the coolant from the engine block (Figure 58).

Install the drain plugs and hoses.
Fill radiator with a 50/50 mix of water and ethylene glycol.
Note: The use of Havoline® Xtended Life coolant is recommended.
Allow some room (approximately 12.7 mm (1/2 inch)) for expansion. Add 50/50 coolant mix to the overflow bottle on the left side of the engine as required to bring the level up to the indicator line on the bottle.
Operate engine until the engine thermostat opens and the coolant is circulating through the radiator core.
As air purges from the engine block and the coolant level drops, add additional coolant to the radiator.
When the radiator is completely full and no additional coolant can be added, continue running and install the radiator cap.
Ensure that the cap is completely seated by pressing down firmly while turning, until the cap stops. Once the cap is installed, shut off the engine.
| Maintenance Service Interval | Maintenance Procedure |
|---|---|
| After the first 100 hours |
|
| Every 400 hours |
|
Check to ensure that parking brake is adjusted properly. Follow this procedure also whenever you have removed or replaced a brake component.
Park the machine on a level surface, disengage the blade-control switch, and engage the parking brake.
Shut off the engine, remove the key, and wait for all moving parts to stop before leaving the operating position.
Raise the rear of the machine up and support the machine with jack stands.
Remove the rear tires from the machine.
Remove any debris from the brake area.
Release the drive wheels; refer to Releasing the Drive Wheel Release Valves.
Measure the length of the link assembly (Figure 59).
Note: If the link assembly is attached in the front position, the length should be 219 mm (8-5/8 inches); if it is attached in the rear position, the length should be 232 mm (9-1/8 inches).

Measure the length of the spring (Figure 59).
Note: The measurement should be 95 mm (3-3/4 inches).
When you achieve the correct spring length, check to see if there is a visible gap between the trunion and the shoulder.
Disengage the parking brake and turn the wheel hub by hand in both directions.
Note: The wheel hub should move freely.
If a gap is needed or the wheel hub does move freely, do the following:
Disengage the parking brake.
Disconnect and fine-tune the rear linkage assembly.
Shorten the link to create a gap.
Lengthen the link to allow wheel hub movement.
Connect the rear linkage assembly.
Engage the parking brake and check the gap.
Repeat steps 10 through 12 until a visible gap is achieved and the wheel hub rotates freely. Repeat this procedure for the other side.
Note: The brake should fully disengage when the brake is in the released position.
Rotate the drive wheel release handle to the operating position; refer to Releasing the Drive Wheel Release Valves.
Install the rear tires and torque the lug nuts to 115 to 142 N∙m (85 to 105 ft-lb).
Remove the jack stands.
You can be seriously injured if you operate the machine with the floor pan removed, or if you do not completely remove the floor pan to perform maintenance on components beneath it.
Do not operate the machine with the floor pan removed. Completely remove the floor pan before you perform maintenance underneath it.
To remove the floor pan, lift the floor pan and pull it out of the openings in the frame.

To install the floor pan, place the floor pan in the openings in the frame and lower it into place.

| Maintenance Service Interval | Maintenance Procedure |
|---|---|
| Every 50 hours |
|
Check the belts whenever they squeal while rotating, the blades slip while cutting grass, or if the belts have frayed edges, burn marks, or cracks. If any of these conditions occur, replace the belts.
Squealing when the belt is rotating, blades slipping when cutting grass, frayed belt edges, burn marks and cracks are signs of a worn mower belt. Replace the belt if any of these conditions are evident.
Park the machine on a level surface, disengage the blade-control switch, and engage the parking brake.
Shut off the engine, remove the key, and wait for all moving parts to stop before leaving the operating position.
Lower the mower to the 76 mm (3 inches) height of cut.
Remove the 2 lynch pins from the outer belt cover and remove the outer cover (Figure 62).
Rotate the inside belt cover upward (Figure 62).

Remove the floorboard.
Using a ratchet in the square hole in the idler arm, rotate the idler arm rearward to remove tension on the idler spring (Figure 63).
Remove the belt from the mower deck pulleys (Figure 63).

Install the new belt around the mower deck pulleys.
Install the belt covers and floorboard.
Repeat this procedure for the other wing deck belt.
Squealing when the belt is rotating, blades slipping when cutting grass, frayed belt edges, burn marks and cracks are signs of a worn mower belt. Replace the belt if any of these conditions are evident.
Park the machine on a level surface, disengage the blade-control switch, and engage the parking brake.
Shut off the engine, remove the key, and wait for all moving parts to stop before leaving the operating position.
Lower the mower to the 76 mm (3 inches) height of cut.
Remove the 2 wing deck belts; refer to Replacing the Wing Deck Belts.
Use a ratchet in the square hole in the idler arm to remove tension on the idler spring (Figure 64).
Remove the belt from the mower deck pulleys (Figure 64).
Note: The belt comes off at the bottom of the gearbox pulley.

Install the new belt around the mower deck pulleys.
Install the 2 wing decks belts; refer to Replacing the Wing Deck Belts.
Install the belt covers and floorboard.
| Maintenance Service Interval | Maintenance Procedure |
|---|---|
| Every 100 hours |
|
Apply 44 N (10 lb) of force to the alternator belt, midway between the pulleys.
If the deflection is not 10 mm (3/8 inch), loosen the alternator mounting bolts (Figure 65).

Increase or decrease the alternator-belt tension.
Tighten the mounting bolts.
Check the deflection of the belt again to ensure that the tension is correct.
There are 2 height positions for the control levers—high and low. Remove the bolts to adjust the height for the operator.
Park the machine on a level surface, disengage the blade-control switch, and engage the parking brake.
Shut off the engine, remove the key, and wait for all moving parts to stop before leaving the operating position.
Loosen the bolts and flange nuts installed in the levers (Figure 66).
Align the levers in the front-to-rear position by bringing the levers together to the NEUTRAL position, and slide them until they are aligned, then tighten the bolts (Figure 67).


If the ends of the levers hit against each other, repeat this procedure.
Located on either side of the fuel tank, below the seat are the pump-control linkages. Rotating the pump linkage with a wrench (1/2 inch) allows fine tuning adjustments so that the machine does not move in neutral. Any adjustments should be made for neutral positioning only.
To adjust the motion control, you must run the engine and turn the drive wheels. Contact with moving parts or hot surfaces may cause personal injury.
Keep your fingers, hands, and clothing clear of rotating components and hot surfaces.
Prior to starting the engine, push the deck-lift pedal, and remove the height-of-cut pin.
Lower deck to the ground.
Raise the rear of machine up and support it with jack stands (or equivalent support).
Note: Raise the machine just high enough to allow the drive wheels to turn freely.
Remove the electrical connection from the seat safety switch, located under the bottom cushion of the seat.
Note: The switch is a part of the seat assembly.
Temporarily install a jumper wire across the terminals in the connector of the main wire harness.
Start the engine and run it at full throttle and disengage the brake.
Note: You do not need to be in the seat because the jumper wire is being used.
Run the unit for at least 5 minutes with the drive levers at full forward speed to bring the hydraulic fluid up to the operating temperature.
Note: The motion-control levers needs to be in neutral while making any necessary adjustments.
Bring the motion-control levers into the NEUTRAL position.
Adjust the pump control rod lengths by rotating the double nuts on the rod in the appropriate direction until the wheels slightly creep in reverse (Figure 68).

Move the motion-control levers to the reverse position and while applying slight pressure to the lever, allow the reverse-indicator springs to bring the levers back to neutral.
Note: The wheels must stop turning or slightly creep in reverse.
Shut off the machine, remove the jumper wire from the wire harness, and plug the connector into the seat switch.
Remove the jack stands.
Raise the deck and install the height-of-cut pin.
Check that the machine does not creep in neutral with the park brakes disengaged.
You can adjust the top damper-mounting bolt to obtain the desired motion-control lever resistance. Refer to Figure 69 for mounting options.

Seek immediate medical attention if fluid is injected into skin. Injected fluid must be surgically removed within a few hours by a doctor.
Ensure that all hydraulic-fluid hoses and lines are in good condition and all hydraulic connections and fittings are tight before applying pressure to the hydraulic system.
Keep your body and hands away from pinhole leaks or nozzles that eject high-pressure hydraulic fluid.
Use cardboard or paper to find hydraulic leaks.
Safely relieve all pressure in the hydraulic system before performing any work on the hydraulic system.
Hydraulic-tank capacity: 15.1 L (16 US qt)
Recommended fluid: Toro Premium Transmission/Hydraulic Tractor Fluid (available in 5-gallon pails or 55-gallon drums. See the Parts Catalog or contact an authorized Toro distributor for part numbers.)
Alternate fluids: If the Toro fluid is not available, Mobil® 424 hydraulic fluid may be used.
Note: Toro does not assume responsibility for damage caused by improper substitutions.
Note: Many hydraulic fluids are almost colorless, making it difficult to spot leaks. A red dye additive for the hydraulic-system fluid is available in 20 ml (2/3 fl oz) bottles. 1 bottle is sufficient for 15 to 22 L (4 to 6 gallons) of hydraulic fluid. Order Part Number 44-2500 from your authorized Toro distributor.
| Maintenance Service Interval | Maintenance Procedure |
|---|---|
| Before each use or daily |
|
Check the hydraulic-fluid level before you first start the engine and daily thereafter.
Park the machine on a level surface, disengage the blade-control switch, and engage the parking brake.
Move the motion-control levers to the NEUTRAL-LOCK position and start the engine.
Note: Run the engine at the lowest possible rpm to purge any air in the system.
Important: Do not engage the PTO.
Raise the deck to extend the lift cylinders, shut off the engine, and remove the key.
Raise the seat to access the hydraulic-fluid tank.
Remove the hydraulic-tank cap (Figure 70).

Remove the dipstick and wipe it with a clean rag (Figure 70).
Place the dipstick into the filler neck, remove it, and check the fluid level (Figure 71).
Note: If the level is not within the notched area of the dipstick, add enough high-quality hydraulic fluid to raise the level to within the notched area.
Important: Do not overfill.

Replace the dipstick and thread the fill cap finger-tight onto the filler neck.
Check all hoses and fittings for leaks.
| Maintenance Service Interval | Maintenance Procedure |
|---|---|
| After the first 200 hours |
|
| Every 400 hours |
|
| Every 800 hours |
|
Disengage the PTO, move the motion-control levers to the NEUTRAL-LOCK position, and engage the parking brake.
Move the throttle lever to the SLOW position, shut off the engine, remove the key, and wait for all moving parts to stop before leaving the operating position.
Raise the seat.
Place a large drain pan under the hydraulic reservoir, transmission case, and the left and right wheel motors (Figure 72).

Remove the drain plugs from each area and allow the hydraulic fluid to drain (Figure 72).
Clean the area around the hydraulic-fluid filter and remove the filter (Figure 72).
Install a new hydraulic-fluid filter and turn the filter clockwise until the rubber seal contacts the filter adapter, then tighten the filter an additional 2/3 to 3/4 turn.
Install the 4 drain plugs.
Note: The wheel motor drain plugs are magnetic; wipe them clean before installing.
Remove the fill-port plug on the top of each wheel motor (Figure 73).
Fill each wheel motor with approximately 1.4 L (1.5 US qt) of Toro Ruby Transmission Fluid.
Install the fill-port plugs.

Remove the reservoir cap and dipstick from the hydraulic-fluid tank.
Add 7.6 L (8 US qt) of fluid to the reservoir.
Raise the rear of machine up and support it with jack stands (or equivalent support) just high enough to allow the drive wheels to turn freely.
Start the engine and check for fluid leaks.
Allow the engine to run for about 5 minutes, then shut it off.
After 2 minutes, check the level of the hydraulic fluid; refer to Checking the Hydraulic-Fluid Level.
Note: Ensure that the mower deck is level before matching the height of cut (HOC).
Park the machine on a level surface, disengage the blade-control switch, and engage the parking brake.
Shut off the engine, remove the key, and wait for all moving parts to stop before leaving the operating position.
Check tire pressure of the drive tires.
If needed, adjust to 124 kPa (18 psi).
Position the mower to the 102 mm (4 inches) height-of-cut position.
Raise the center deck and fold the wings by pressing down at the rear of the deck-lift switch. Hold the switch down until both wings are completely folded.
Position the mower to the 102 mm (4 inches) height-of-cut position.
Unlock the left and right wing deck cam locks (Figure 74).
Remove and retain the wing deck height-of-cut lanyard (Figure 74).

Insert the height-of-cut pin into the 102 mm (4 inches) location and install the lanyard.
Lock the each wing deck cam lock.
Start the engine.
Note: The parking brake must be engaged and the motion-control levers must be out to start the engine. The operator does not have to be in the seat. Ensure that all persons are clear of the deck wings.
Press and hold the front of the deck-lift switch until the center deck lowers and both wings are completely unfolded to the cutting height.
Shut off the engine, remove the key, and wait for all moving parts to stop before leaving the operating position.
Measure from the level surface to the front tip of the left and right center deck blades (Figure 75).
The measurement should read 102 mm (4 inches).

To increase the cutting height, turn the adjuster screw clockwise; to decrease, turn it counterclockwise.
Loosen the jam nuts on the top of each deck adjuster. Fine-tune the adjuster on the front deck-lift assembly by turning it to get the correct height for the left and right, front blade tips on the center deck (Figure 76).
Measure the rear tip height.
Fine-tune the rear adjusters as required. You can adjust the single-point adjustment to gain more adjustment.
Measure until all 4 sides are at the correct height.
Tighten all the nuts on the deck-lift arm assemblies.
If the 4 deck adjusters (Figure 76) do not have enough adjustment to achieve the accurate height of cut with the desired rake, you can utilize the single-point adjustment to gain more adjustment.
To adjust the single-point system, first loosen the front and rear height-of-cut plate mounting bolts (Figure 76)
Fine-tune the rear adjusters as required. You can adjust the single-point adjustment to gain more adjustment.

If the deck is too low, tighten the single-point adjustment bolt by rotating it clockwise (Figure 77).
If the deck is too high, loosen the single-point adjustment bolt by rotating it counterclockwise. Loosen the front and rear height-of-cut plate mounting bolts. Fine-tune the rear adjusters as required. You can adjust the single-point adjustment to gain more adjustment.
Note: Loosen or tighten the single-point adjustment bolt enough to move the height-of-cut plate mounting bolts at least 1/3 the length of the available travel in their slots. This will attain some up and down adjustment on each of the 4 deck links.

Torque the front and rear height-of-cut plate mounting bolts to 37 to 45 N∙m (27 to 33 ft-lb).
Measure from the level surface to the front tip of the left wing deck blade.
Note: The measurement should read 102 mm (4 inches).
Measure from the level surface to the front tip of the right wing deck blade.
Note: The measurement should read 102 mm (4 inches).
Note: As with the center deck, in most conditions, you should adjust the rear tips on the wing blades 6.4 mm (1/4 inch) higher than the front.
The left and right wing decks have blade height adjustments with front and rear adjustment points. To adjust the wing-blade height, first loosen the front and rear height-of-cut hanger mounting nuts. There are 4 locations (2 on each side of the channel) as shown in Figure 78.

If the deck is too low, tighten the front height-adjustment bolt (Figure 78) by rotating the bottom nut clockwise.
If the deck is too high, loosen the front height-adjustment bolt (Figure 78) by rotating the bottom nut counterclockwise. Fine-tune the rear adjusters as required.
Adjust the rear wheel height (Figure 78) so that the rear wheel lightly touches the ground with minimal pressure.
Measure the back of the wing blades. If either has less than 1.5 mm (1/16 inch) rake, raise the rear of the deck by tightening the left and right rear adjustments (Figure 78) until all 4 blades have a minimum of 1.5 mm (1/16 inch) rake. Adjust the rear wing wheels so that they lightly touch the ground with minimal pressure. Tighten all 4 rear hanger-mount locations (Figure 78).
Tighten the front and rear height-of-cut hanger jam nuts.
To ensure a superior quality of cut, keep the blades sharp. For convenient sharpening and replacement, keep extra blades on hand.
A worn or damaged blade can break, and a piece of the blade could be thrown toward you or bystanders, resulting in serious personal injury or death. Trying to repair a damaged blade may result in discontinued safety certification of the product.
Inspect the blades periodically for wear or damage.
Use care when checking the blades. Wrap the blades or wear gloves, and use caution when servicing the blades. Only replace or sharpen the blades; never straighten or weld them.
On multi-bladed machines, take care as rotating 1 blade can cause other blades to rotate.
Park the machine on a level surface, disengage the blade-control switch, and engage the parking brake.
Shut off the engine, remove the key, and wait for all moving parts to stop before leaving the operating position.
| Maintenance Service Interval | Maintenance Procedure |
|---|---|
| Before each use or daily |
|
Inspect the cutting edges (Figure 79).
If the edges are not sharp or have nicks, remove and sharpen the blade; refer to Servicing the Cutting Blades.
Inspect the blades, especially in the curved area.
If you notice any cracks, wear, or a slot forming in this area, immediately install a new blade (Figure 79).

Disengage the blade-control switch (PTO), move the motion-control levers to the NEUTRAL-LOCK position, and engage the parking brake.
Shut off the engine, remove the key, and wait for all moving parts to stop before leaving the operating position.
Rotate the blades until the ends face forward and backward (Figure 80).
Measure from a level surface to the cutting edge, position A, of the blades (Figure 80).

Rotate the opposite ends of the blades forward.
Measure from a level surface to the cutting edge of the blades at the same position as in step 4.
Note: The difference between the dimensions obtained in steps 4 and 5 must not exceed 3 mm (1/8 inch).
Note: If this dimension exceeds 3 mm (1/8 inch), the blade is bent and must be replaced.
A blade that is bent or damaged could break apart and could seriously injure or kill you or bystanders.
Always replace bent or damaged blade with a new blade.
Never file or create sharp notches in the edges or surfaces of blade.
Replace a blade if it hits an object, if the blade is out of balance, or if the blade is bent. To ensure optimum performance and continued safety conformance of the machine, use genuine Toro replacement blades. Replacement blades made by other manufacturers may result in nonconformance with safety standards.
Hold the blade end using a rag or a thickly padded glove.
Remove the blade bolt, curved washer, and blade from the spindle shaft (Figure 81).

Use a file to sharpen the cutting edge at both ends of the blade (Figure 82).
Note: Maintain the original angle.
Note: The blade retains its balance if the same amount of material is removed from both cutting edges.

Check the balance of the blade by putting it on a blade balancer (Figure 83).
Note: If the blade stays in a horizontal position, the blade is balanced and can be used.
Note: If the blade is not balanced, file some metal off the end of the sail area only (Figure 82).

Repeat this procedure until the blade is balanced.
Install the blade onto the spindle shaft (Figure 81).
Important: The curved part of the blade must point upward toward the inside of the mower to ensure proper cutting.
Install the curved washer and blade bolt (Figure 81).
Note: Install the curved-washer cone toward the bolt head.
Torque the blade bolt to 115 to 150 N∙m (85 to 110 ft-lb).
| Maintenance Service Interval | Maintenance Procedure |
|---|---|
| Before each use or daily |
|
Important: Do not use water to clean the engine. Use low-pressure compressed air. See the engine owner's manual.
Park the machine on a level surface, disengage the blade-control switch (PTO), and engage the parking brake.
Shut off the engine, remove the key, and wait for all moving parts to stop before leaving the operating position.
Clean around the flywheel, cylinder head, injectors, and injector pump.
Clean all debris from the exhaust system area.
Wipe up any excessive grease or oil around the engine and exhaust area.
| Maintenance Service Interval | Maintenance Procedure |
|---|---|
| Before each use or daily |
|
Park the machine on a level surface, disengage the blade-control switch (PTO), and engage the parking brake.
Shut off the engine, remove the key, and wait for all moving parts to stop before leaving the operating position.
Clean off any oil, debris, or grass build-up on the machine and mower deck, especially under the deck-belt shields, around the fuel tank, and around the engine and exhaust area.
Raise the center deck and wing decks. Lock each wing deck in the upright position.
Clean out any grass build-up from the underside of deck and in the discharge deflector.
Engine oil, batteries, hydraulic fluid, and engine coolant are pollutants to the environment. Dispose of these according to your state and local regulations.
Let the engine cool before storing the machine.
Do not store the machine or fuel near flames or drain the fuel indoors.
Disengage the blade-control switch (PTO), engage the parking brake, turn the ignition key to the OFF position, and remove the key.
Remove grass clippings, dirt, and grime from the external parts of the entire machine, especially the engine and hydraulic system. Clean dirt and chaff from the outside of the engine cylinder head fins and blower housing.
Important: You can wash the machine with mild detergent and water. Do not pressure wash the machine. Avoid excessive use of water, especially near the control panel, engine, hydraulic pumps, and motors.
Check the brake; refer to Brake Maintenance.
Service the air cleaner; refer to Servicing the Air Cleaner.
Grease the machine; refer to Lubrication.
Change the engine oil and filter; refer to Changing the Engine Oil and Filter.
Check the tire pressure; refer to Checking the Tire Pressure.
Change the hydraulic fluid and filter; refer to Changing the Hydraulic Fluid and Filter.
Charge the battery; refer to Charging the Battery.
Scrape any heavy buildup of grass and dirt from the underside of the mower, then wash the mower with a garden hose.
Note: Run the machine with the blade-control switch (PTO) engaged and the engine at high idle for 2 to 5 minutes after washing.
Check the condition of the blades; refer to Servicing the Cutting Blades.
Prepare the machine for storage when non-use occurs over 30 days. Prepare the machine for storage as follows:
Run the engine to distribute conditioned fuel through the fuel system for 5 minutes.
Shut off the engine, allow it to cool, and drain the fuel tank.
Note: Start the engine and run it until it shuts off.
Dispose of fuel properly. Recycle as per local codes.
Important: Do not store stabilizer/conditioned fuel longer than the duration recommended by the fuel-stabilizer manufacturer.
Check and tighten all bolts, nuts, and screws. Repair or replace any part that is damaged.
Paint all scratched or bare metal surfaces. Paint is available from your Authorized Service Dealer.
Store the machine in a clean, dry garage or storage area. Remove the key from the ignition switch and keep it out of reach of children or other unauthorized users. Cover the machine to protect it and keep it clean.
| Problem | Possible Cause | Corrective Action |
|---|---|---|
| The starter does not crank. |
|
|
| The engine does not start, starts hard, or fails to keep running. |
|
|
| The engine loses power. |
|
|
| The engine overheats. |
|
|
| The machine does not drive. |
|
|
| The machine pulls left or right (with the motion-control levers fully forward). |
|
|
| There is abnormal vibration. |
|
|
| Mowing is resulting in uneven cutting height. |
|
|
| The blades do not rotate. |
|
|
| The clutch does not engage. |
|
|


