| Maintenance Service Interval | Maintenance Procedure |
|---|---|
| Before each use or daily |
|
This rotary-blade, riding lawn mower is intended to be used by professional, hired operators. It is designed primarily for cutting grass on well-maintained lawns on residential or commercial properties.
Read this information carefully to learn how to operate and maintain your product properly and to avoid injury and product damage. You are responsible for operating the product properly and safely.
Visit www.Toro.com for product safety and operation training materials, accessory information, help finding a dealer, or to register your product.
Whenever you need service, genuine Toro parts, or additional information, contact an Authorized Service Dealer or Toro Customer Service and have the model and serial numbers of your product ready. Figure 1 identifies the location of the model and serial numbers on the product. Write the numbers in the space provided.
Important: With your mobile device, you can scan the QR code (if equipped) on the serial number decal to access warranty, parts, and other product information.

This manual uses 2 words to highlight information. Important calls attention to special mechanical information and Note emphasizes general information worthy of special attention.
It is a violation of California Public Resource Code Section 4442 or 4443 to use or operate the engine on any forest-covered, brush-covered, or grass-covered land unless the engine is equipped with a spark arrester, as defined in Section 4442, maintained in effective working order or the engine is constructed, equipped, and maintained for the prevention of fire.
The enclosed engine owner's manual is supplied for information regarding the US Environmental Protection Agency (EPA) and the California Emission Control Regulation of emission systems, maintenance, and warranty. Replacements may be ordered through the engine manufacturer.
Gross or Net Torque: The gross or net torque of this engine was laboratory rated by the engine manufacturer in accordance with the Society of Automotive Engineers (SAE) J1940 or J2723. As configured to meet safety, emission, and operating requirements, the actual engine torque on this class of mower will be significantly lower. Please refer to the engine manufacturer’s information included with the machine.
This product complies with all relevant European directives; for details, please see the separate product specific Declaration of Conformity (DOC) sheet. The gross or net torque of this engine was laboratory rated by the engine manufacturer in accordance with the Society of Automotive Engineers (SAE) J1940 or J2723. As configured to meet safety, emission, and operating requirements, the actual engine torque on this class of mower will be significantly lower. Please refer to the engine manufacturer’s information included with the machine.
Please refer to the engine manufacturer’s information included with the machine.
CALIFORNIA
Proposition 65 Warning
Diesel engine exhaust and some of its constituents are known to the State of California to cause cancer, birth defects, and other reproductive harm.
Battery posts, terminals, and related accessories contain lead and lead compounds, chemicals known to the State of California to cause cancer and reproductive harm. Wash hands after handling.
Use of this product may cause exposure to chemicals known to the State of California to cause cancer, birth defects, or other reproductive harm.
This Safety Alert Symbol (Figure 2) is used both in this manual and on the machine to identify important safety messages which must be followed to avoid accidents.
This symbol means: ATTENTION! BECOME ALERT! YOUR SAFETY IS INVOLVED!

The safety alert symbol appears above information which alerts you to unsafe actions or situations and will be followed by the word DANGER, WARNING, or CAUTION.
DANGER: Indicates an imminently hazardous situation which, if not avoided, Will result in death or serious injury.
WARNING: Indicates a potentially hazardous situation which, if not avoided, Could result in death or serious injury.
CAUTION: Indicates a potentially hazardous situation which, if not avoided, May result in minor or moderate injury.
This manual uses two other words to highlight information. Important calls attention to special mechanical information and Note emphasizes general information worthy of special attention.
This machine is capable of amputating hands and feet and of throwing objects. Toro designed and tested this lawn mower to offer reasonably safe service; however, failure to comply with safety instructions may result in injury or death.
Read, understand, and follow all instructions and warnings in the Operator’s Manual and other training material, on the machine, engine, and attachments. All operators and mechanics should be trained. If the operator(s) or mechanic(s) can not read this manual, it is the owner’s responsibility to explain this material to them; other languages may be available on our website.
Only allow trained, responsible, and physically capable operators that are familiar with the safe operation, operator controls, and safety signs and instructions to operate the machine. Never let children or untrained people operate or service the equipment. Local regulations may restrict the age of the operator.
Always keep the roll bar in the fully raised and locked position and use the seat belt.
Do not operate the machine near drop-offs, ditches, embankments, water, or other hazards, or on slopes greater than 15 degrees.
Do not put your hands or feet near moving components of the machine.
Never operate the machine with damaged guards, shields, or covers. Always have safety shields, guards, switches and other devices in place and in proper working condition.
Stop the machine, shut off the engine, and remove the key before servicing, fueling, or unclogging the machine.

![]() |
Safety decals and instructions are easily visible to the operator and are located near any area of potential danger. Replace any decal that is damaged or missing. |


























Become familiar with all the controls before you start the engine and operate the machine.

Refer to the Software Guide for detailed information explaining the operator interface that allows you to access information, reset counters, modify system settings, and troubleshoot the equipment.

The information screen displays information relative to machine operation; refer to the Software Guide for more information.
The multi-functional buttons are located at the bottom of the panel. The icons displayed on the information screen above the buttons indicate the current function. The buttons allow you to select the engine speed and navigate through system menus.
Refer to the Software Guide for more information.
The LED status light is multi-colored to indicate the system status and is located on the right side of the panel. During startup, the LED illuminates red to orange to green to verify functionality.
Solid green—indicates normal operating activity
Blinking red—indicates an active fault
Blinking green and orange— indicates that a clutch reset is required
Refer to the Software Guide for more information.
If an error occurs, an error message displays, the LED turns red, and the alarm sounds audibly as follows:
A fast chirp sound indicates critical errors.
A slow chirping sound indicates less critical errors, such as required maintenance or service intervals.
Note: During startup, the alarm sounds briefly to verify functionality.
Refer to the Software Guide for more information.
The hour meter records the number of hours the engine has operated. It operates when the engine is running. Use these times for scheduling regular maintenance (Figure 5).
Hours are displayed in Engine-Off screen or in the Engine Hour Counter menu.
Refer to the Software Guide for more information.
The throttle controls the engine speed, and there are 3 speeds: Maximum, Efficient, and Low.
Refer to the Software Guide for more information.
Press the switch rearward to raise the center deck and to fold the wing decks.
Press the switch forward to lower the center deck and to unfold the wing decks.
The blade-control switch (PTO) engages and disengages power to the mower blades (Figure 5).
The LCD indicator appears on the information screen when the PTO switch is disengaged.
Note: Machines equipped with the Horizon Display Monitor have a clutch saver, which allows the throttle to automatically reduce the engine speed when you disengage the PTO switch. Engaging and disengaging the PTO switch changes the engine throttle between MOW and TRANSPORT mode.
Note: The system allows you to start the machine with the PTO switch engaged, but does not engage the blades. Engaging the PTO requires you to reset the PTO switch by disengaging, then engaging it.
Important: You must unfold the wing decks before you can engage the PTO.
Use the NEUTRAL-LOCK position with the safety-interlock system to engage and to determine the NEUTRAL position.
Use this switch to start the engine. It has 3 positions: START, RUN, and OFF.
Note: The LCD indicators appear when each control meets the “safe to start” mode (e.g., the indicator turns on when you are in the seat.)
Note: The engine ECU controls the glow plugs during cold starts. If the coolant temperature is too low, the glow symbol displays on the monitor and the starter does not crank when you turn the engine to the START position. The glow plugs activate in the ON or START position. Once the glow has been on long enough for the current temperature, the glow symbol on the monitor disappears and the engine cranks when turned to the START position.
Note: The system allows you to start the machine the with the PTO switch engaged, but does not engage the blades. You must reset the PTO to engage the PTO.
A selection of Toro approved attachments and accessories is available for use with the machine to enhance and expand its capabilities. Contact your Authorized Service Dealer or authorized Toro distributor or go to www.Toro.com for a list of all approved attachments and accessories.
To ensure optimum performance and continued safety certification of the machine, use only genuine Toro replacement parts and accessories. Replacement parts and accessories made by other manufacturers could be dangerous, and such use could void the product warranty.
| Cutting width | 243.8 cm (96 inches) |
| Overall width | Working width—257.3 cm (101-5/16 inches) |
| Transport width set at the 3-inches height of cut—184.2 cm (72-1/2 inches) | |
| Overall length | 247.1 cm (97-1/4 inches) |
| Overall height | Roll bar up—182.4 cm (71-13/16 inches) |
| Roll bar down—129.5 cm (51 inches) | |
| Tread width (center-to-center of tires, widthwise) | Drive wheels—117 cm (46-1/16 inches) |
| Caster wheels—120.7 cm (47-1/2 inches) | |
| Wheel base (center of the caster tire to the center of the drive tire) | 143 cm (56-5/16 inches) |
| Overall weight | 1172 kg (2,584 lb) |
Note: Determine the left and right sides of the machine from the normal operating position.
Evaluate the terrain to determine what accessories and attachments are needed to properly and safely perform the job. Only use accessories and attachments approved by Toro.
Inspect the area where the equipment is to be used and remove all rocks, toys, sticks, wires, bones, and other foreign objects. These can be thrown or interfere with the operation of the machine and may cause personal injury to the operator or bystanders.
Wear appropriate personal protective equipment such as safety glasses, substantial slip-resistant footwear, and hearing protection. Tie back long hair and avoid loose clothing and loose jewelry which may get tangled in moving parts.
This machine produces sound levels in excess of 85 dBA at the operator’s ear and can cause hearing loss through extended periods of exposure.
Wear hearing protection when operating this machine.
Check that the operator presence controls, safety switches, and shields are attached and functioning properly. Do not operate unless they are functioning properly.
Do not operate the mower when people, especially children, or pets are in the area. Stop the machine and attachment(s) if anyone enters the area.
Do not operate the machine without the entire grass collection system, discharge deflector, or other safety devices in place and in proper working condition. Grass catcher components are subject to wear, damage and deterioration, which could expose moving parts or allow objects to be thrown. Frequently check for worn or deteriorating components and replace them with the manufacturer’s recommended parts when necessary.
Use extreme care when handling fuel.
In certain conditions fuel is extremely flammable and vapors are explosive.
A fire or explosion from fuel can burn you, others, and cause property damage.
Fill the fuel tank outdoors on level ground, in an open area, when the engine is cold. Wipe up any fuel that spills.
Never refill the fuel tank or drain the machine indoors or inside an enclosed trailer.
Do Not fill the fuel tank completely full. Fill the fuel tank to the bottom of the filler neck. The empty space in the tank allows fuel to expand. Overfilling may result in fuel leakage or damage to the engine or emission system.
Never smoke when handling fuel, and stay away from an open flame or where fuel fumes may be ignited by spark.
Store fuel in an approved container and keep it out of the reach of children.
Add fuel before starting the engine. Never remove the cap of the fuel tank or add fuel when engine is running or when the engine is hot.
If fuel is spilled, Do Not attempt to start the engine. Move away from the area of the spill and avoid creating any source of ignition until fuel vapors have dissipated.
Do Not operate without entire exhaust system in place and in proper working condition.
In certain conditions during fueling, static electricity can be released causing a spark which can ignite fuel vapors. A fire or explosion from fuel can burn you and others and cause property damage.
Always place fuel containers on the ground away from your vehicle before filling.
Do Not fill fuel containers inside a vehicle or on a truck or trailer bed because interior carpets or plastic truck bed liners may insulate the container and slow the loss of any static charge.
When practical, remove gas-powered equipment from the truck or trailer and refuel the equipment with its wheels on the ground.
If this is not possible, then refuel such equipment on a truck or trailer from a portable container, rather than from a fuel dispenser nozzle.
If a fuel dispenser nozzle must be used, keep the nozzle in contact with the rim of the fuel tank or container opening at all times until fueling is complete. Do Not use a nozzle lock open device.
Fuel is harmful or fatal if swallowed. Long-term exposure to vapors has caused cancer in laboratory animals. Failure to use caution may cause serious injury or illness.
Avoid prolonged breathing of vapors.
Keep face away from nozzle and gas tank/container opening.
Keep away from eyes and skin.
Never siphon by mouth.
Fuel tank vent is located inside the roll bar tube. Removing or modifying the roll bar could result in fuel leakage and violate emissions regulations.
Do Not remove roll bar.
Do Not weld, drill, or modify roll bar in any way.
To help prevent fires:
Keep engine and engine area free from accumulation of grass, leaves, excessive grease or oil, and other debris which can accumulate in these areas.
Clean up oil and fuel spills and remove fuel soaked debris.
Allow the machine to cool before storing the machine in any enclosure. Do Not store near flame or any enclosed area where open pilot lights or heat appliances are present.
The engine runs on clean, fresh diesel fuel with a minimum cetane rating of 40. Purchase fuel in quantities that can be used within 30 days to ensure fuel freshness.
Use summer-grade diesel fuel (No. 2-D) at temperatures above -7°C (20°F) and winter-grade diesel fuel (No. 1-D or No. 1-D/2-D blend) below -7°C (20°F). Use of winter-grade diesel fuel at lower temperatures provides lower flash point and pour point characteristics, therefore easing startability and lessening chances of chemical separation of the fuel due to lower temperatures (wax appearance, which may plug filters).
Using summer-grade diesel fuel above -7°C (20°F) contributes toward longer life of the pump components.
Important: Do not use kerosene or gasoline instead of diesel fuel. Failure to observe this caution will damage the engine.
This machine can also use a biodiesel blended fuel of up to B20 (20% biodiesel, 80% petrodiesel). The petrodiesel portion should be ultra low sulfur.
Observe the following precautions:
The biodiesel portion of the fuel meet specification ASTM D6751 or EN14214.
The blended fuel composition should meet ASTM D975 or EN590.
Painted surfaces may be damaged by biodiesel blends.
Use B5 (biodiesel content of 5%) or lesser blend in cold weather.
Monitor seals, hoses, gaskets in contact with fuel as they may degrade over time.
Fuel filter plugging may be expected for a time after converting to biodiesel blends.
Contact your distributor for more information on biodiesel.
Park the machine on a level surface.
Engage the parking brake.
Shut off the engine and remove the key.
Clean around the fuel-tank cap.
Fill the fuel tank to the bottom of the filler neck (Figure 7).
Note: Do not fill the fuel tank completely full. The empty space in the tank allows the fuel to expand.

Before starting the machine each day, perform the Each Use/Daily procedures listed in .
New engines take time to develop full power. Mower decks and drive systems have higher friction when new, placing additional load on the engine. Allow 40 to 50 hours of break-in time for new machines to develop full power and best performance.
To avoid injury or death from rollover, keep the roll bar in the fully raised, locked position and use the seat belt.
Ensure that the seat is secured to the machine.
There is no rollover protection when the roll bar is in the down position.
Lower the roll bar only when absolutely necessary.
Do not wear the seat belt when the roll bar is in the down position.
Drive slowly and carefully.
Raise the roll bar as soon as clearance permits.
Check carefully for overhead clearances (i.e., branches, doorways, electrical wires) before driving under any objects and do not contact them.
Important: Always use the seat belt with the roll bar in the raised position.
Raise the roll bar to the operating position and rotate the knobs until they move partially into the grooves (Figure 9).
Raise the roll bar to the full upright position while pushing on the upper roll bar so that the pins snap into position when the holes align with the pins (Figure 9).
Push on the roll bar and ensure that both pins are engaged (Figure 9).

If the safety-interlock switches are disconnected or damaged, the machine could operate unexpectedly, causing personal injury.
Do not tamper with the interlock switches.
Check the operation of the interlock switches daily and replace any damaged switches before operating the machine.
The safety-interlock system is designed to prevent the engine from starting unless:
The parking brake is engaged.
The blade-control switch (PTO) is disengaged.
The motion-control levers are in the NEUTRAL-LOCK position.
The safety-interlock system also is designed to shut off the engine when the motion-control levers are moved from the NEUTRAL-LOCK position with the parking brake engaged or if you rise from the seat when the PTO is engaged.
The Horizon Display Monitor has symbols to notify the user when the interlock component is in the correct position. When the component is in the correct position, the corresponding symbol displays on the monitor.

| Maintenance Service Interval | Maintenance Procedure |
|---|---|
| Before each use or daily |
|
Test the safety-interlock system before you use the machine each time. If the safety system does not operate as described below, have an Authorized Service Dealer repair the safety system immediately.
Sit on the seat, engage the parking brake, and move the blade-control switch (PTO) to the ON position. Try starting the engine; the engine should not start.
Sit on the seat, engage the parking brake, and move the blade-control switch (PTO) to the OFF position. Move either motion-control lever out of the NEUTRAL-LOCK position. Try starting the engine; the engine should not start. Repeat for the other control lever.
Sit on the seat, engage the parking brake, move the blade-control switch (PTO) to the OFF position, and move the motion-control levers to the NEUTRAL-LOCK position. Now start the engine. While the engine is running, disengage the parking brake, engage the blade-control switch (PTO), and rise slightly from the seat; the engine should shut off.
Sit on the seat, engage the parking brake, move the blade-control switch (PTO) to the OFF position, and move the motion-control levers to the NEUTRAL-LOCK position. Now start the engine. While the engine is running, center either motion control and move (forward or reverse); the engine should shut off. Repeat for other motion control.
Sit on the seat, disengage the parking brake, move the blade-control switch (PTO) to the OFF position, and move the motion-control levers to the NEUTRAL-LOCK position. Try starting the engine; the engine should not start.
The seat moves forward and backward. Position the seat where you have the best control of the machine and are most comfortable.
To adjust, move the lever sideways to unlock the seat (Figure 11).


The seat is adjustable to provide a smooth and comfortable ride. Position the seat where you are most comfortable.
To adjust it, turn the knob in front either direction to provide the best comfort (Figure 13).

The operator must use their full attention when operating the machine. Do Not engage in any activity that causes distractions; otherwise, injury or property damage may occur.
Operating engine parts, especially the muffler, become extremely hot. Severe burns can occur on contact and debris, such as leaves, grass, brush, etc. can catch fire.
Allow engine parts, especially the muffler, to cool before touching.
Remove accumulated debris from muffler and engine area.
Engine exhaust contains carbon monoxide, which is an odorless deadly poison that can kill you.
Do Not run engine indoors or in a small confined area where dangerous carbon monoxide fumes can collect.
The owner/user can prevent and is responsible for accidents or injuries occurring to himself or herself, other people or property.
This mower was designed for one operator only. Do not carry passengers and keep all others away from machine during operation.
Do Not operate the machine under the influence of alcohol or drugs.
Operate only in daylight or good artificial light.
Lightning can cause severe injury or death. If lightning is seen or thunder is heard in the area, Do Not operate the machine; seek shelter.
Use extra care while operating with accessories or attachments, such as grass collection systems. These can change the stability of the machine and cause a loss of control. Follow directions for counter weights if required.
Keep away from holes, ruts, bumps, rocks, and other hidden hazards. Use care when approaching blind corners, shrubs, trees, tall grass or other objects that may hide obstacles or obscure vision. Uneven terrain could overturn the machine or cause the operator to lose their balance or footing.
Be sure all drives are in neutral and parking brake is engaged before starting engine. Use seat belts with the roll bar in the raised and locked position.
Start the engine carefully according to instructions with feet well away from the blades.
Never operate the mower with damaged guards, shields, or covers. Always have safety shields, guards, switches and other devices in place and in proper working condition.
Keep clear of the discharge opening at all times. Never mow with the discharge door raised, removed or altered unless there is a grass collection system or mulch kit in place and working properly.
Keep hands and feet away from moving parts. If possible, Do Not make adjustments with the engine running.
Hands, feet, hair, clothing, or accessories can become entangled in rotating parts. Contact with the rotating parts can cause traumatic amputation or severe lacerations.
Do Not operate the machine without guards, shields, and safety devices in place and working properly.
Keep hands, feet, hair, jewelry, or clothing away from rotating parts.
Never raise the deck with blades running.
Be aware of the mower discharge path and direct discharge away from others. Avoid discharging material against a wall or obstruction as the material may ricochet back toward the operator. Stop the blades, slow down, and use caution when crossing surfaces other than grass and when transporting the mower to and from the area to be mowed.
Be alert, slow down and use caution when making turns. Look behind and to the side before changing directions. Do Not mow in reverse unless absolutely necessary.
Do Not change the engine governor setting or overspeed the engine.
Park the machine on level ground. Shut off the engine and wait for all moving parts to stop.
Before checking, cleaning or working on the mower.
After striking a foreign object or abnormal vibration occurs (inspect the mower for damage and make repairs before restarting and operating the mower).
Before clearing blockages.
Whenever you leave the mower. Do Not leave a running machine unattended.
Stop engine, wait for all moving parts to stop:
Before refueling.
Before dumping the grass catcher.
Before making height adjustments.
Tragic accidents can occur if the operator is not alert to the presence of children. Children are often attracted to the machine and the mowing activity. Never assume that children will remain where you last saw them.
Keep children out of the mowing area and under the watchful care of another responsible adult, not the operator.
Be alert and turn the machine off if children enter the area.
Before and while backing or changing direction, look behind, down, and side-to-side for small children.
Never allow children to operate the machine.
Do Not carry children, even with the blades shut off. Children could fall off and be seriously injured or interfere with the safe operation of the machine. Children that have been given rides in the past could suddenly appear in the working area for another ride and be run over or backed over by the machine.
Slopes are a major factor related to loss of control and rollover accidents, which can result in severe injury or death. The operator is responsible for safe slope operation. Operating the machine on any slope requires extra caution. Before using the machine on a slope, the operator must:
Review and understand the slope instructions in the manual and on the machine.
Use an angle indicator to determine the approximate slope angle of the area.
Never operate on slopes greater than 15 degrees.
Evaluate the site conditions of the day to determine if the slope is safe for machine operation. Use common sense and good judgment when performing this evaluation. Changes in the terrain, such as moisture, can quickly affect the operation of the machine on a slope.
Identify hazards at the base of the slope. Do Not operate the machine near drop offs, ditches, embankments, water or other hazards. The machine could suddenly roll over if a wheel goes over the edge or the edge collapses. Keep a safe distance (twice the width of the machine) between the machine and any hazard. Use a walk behind machine or a hand trimmer to mow the grass in these areas.

Avoid starting, stopping or turning the machine on slopes. Avoid making sudden changes in speed or direction; turn slowly and gradually.
Do Not operate a machine under any conditions where traction, steering or stability is in question. Be aware that operating the machine on wet grass, across slopes or downhill may cause the machine to lose traction. Loss of traction to the drive wheels may result in sliding and a loss of braking and steering. The machine can slide even if the drive wheels are stopped.
Remove or mark obstacles such as ditches, holes, ruts, bumps, rocks or other hidden hazards. Tall grass can hide obstacles. Uneven terrain could overturn the machine.
Use extra care while operating with accessories or attachments, such as grass collection systems. These can change the stability of the machine and cause a loss of control. Follow directions for counter weights.
If possible, keep the deck lowered to the ground while operating on slopes. Raising the deck while operating on slopes can cause the machine to become unstable.
A Rollover Protection System (roll bar) is installed on the machine.
There is no rollover protection when the roll bar is down. Wheels dropping over edges, ditches, steep banks, or water can cause rollovers, which may result in serious injury, death or drowning.
Do Not remove the ROPS.
Keep the roll bar in the raised and locked position and use seat belt.
Lower the roll bar only when absolutely necessary.
Do Not wear seat belt when the roll bar is down.
Drive slowly and carefully.
Raise the roll bar as soon as clearance permits.
Be certain that the seat belt can be released quickly in the event of an emergency.
Check carefully for overhead clearances (i.e. branches, doorways, and electrical wires) before driving under any objects and Do Not contact them.
In the event of a rollover, take the unit to an Authorized Service Dealer to have the ROPS inspected.
Replace a damaged ROPS. Do Not repair or revise.
Any accessories, alterations, or attachments added to the ROPS must be approved by Toro.
Always engage the parking brake when you stop the machine or leave it unattended.
Park the machine on a level surface.


Important: You must unfold the wing decks before you can engage the PTO.
Remove the clevis pin and hairpin cotter that secures each wing in the upright position and place them in the storage position (Figure 17).

Ensure that all persons are clear of the deck wings.
Press and hold the bottom of the deck-lift switch; the center deck lowers first, then the outer wings.
The blade-control switch (PTO) starts and stops the mower blades and any powered attachments.
Note: Engaging the blade-control switch (PTO) with the throttle position at half or less causes excessive wear to the drive belts.


Important: Do not engage the starter for more than 5 seconds at a time. If the engine fails to start, wait 15 seconds between attempts. Failure to follow these instructions can burn out the starter motor.
Note: You may need multiple attempts to start the engine the first time after adding fuel to an empty fuel system.

Children or bystanders may be injured if they move or attempt to operate the machine while it is unattended.
Always remove the key and engage the parking brake when leaving the machine unattended.

Ensure that all persons are clear of the deck wings.
Press and hold the bottom of the deck-lift switch; the center deck lowers first, then the outer wings.
Park the machine on a level surface, disengage the blade-control switch, and engage the parking brake.
Shut off the engine, remove the key, and wait for all moving parts to stop before leaving the operating position.
Remove the clevis pin and hairpin cotter from the storage location and secure each wing in the upright position (Figure 22).


The drive wheels turn independently, powered by hydraulic motors on each axle. You can turn 1 side in reverse while you turn the other forward, causing the machine to spin rather than turn. This greatly improves the machine maneuverability but may require some time for you to adapt to how it moves.
The throttle control regulates the engine speed as measured in rpm (revolutions per minute). Place the throttle control in the FAST position for best performance. Always operate in the full throttle position when mowing.
The machine can spin very rapidly. You may lose control of the machine and cause personal injury or damage to the machine.
Use caution when making turns.
Slow the machine down before making sharp turns.
Note: The engine shuts off when you move the traction-control with the parking brake engaged.
To stop the machine, pull the motion-control levers to the NEUTRAL position.
Disengage the parking brake; refer to Disengaging the Parking Brake.
Move the levers to the center, unlocked position.
To go forward, slowly push the motion-control levers forward (Figure 24).

Move the levers to the center, unlocked position.
To go backward, slowly pull the motion-control levers rearward (Figure 25).

The cutting height of the mower deck can be adjusted from 2.54 cm to 14 cm (1 to 5-1/2 inches) in 6.4 mm (1/4 inch) increments.
Park the machine on a level surface, disengage the blade-control switch, and engage the parking brake.
Press the top of deck-lift switch to raise the center deck and wing decks.
Shut off the engine, remove the key, and wait for all moving parts to stop before leaving the operating position.
Adjust the center deck by performing the following procedure:
Remove the height-of-cut pin from the deck-lift plate on the right side of the center deck.
Insert the height-of-cut pin into the hole corresponding to the desired cutting height.
See the decal on the side of the deck-lift plate for the cutting heights.
Adjust the side wing decks by performing the following procedure:
Ensure that the wing decks are locked in place.
Unlock the cam locks located on the height-of-cut channel on the wing deck (Figure 26).

Remove the lynch pin from the height-of-cut pin on both the front and rear channels.
Move the wing deck to the appropriate height and install the height-of-cut pins and lynch pins (Figure 26).
Lock the cam lock.
Repeat for the other wing deck.
If you desire additional height-of-cut range, adjust the front and rear gauge wheels on the wing deck as follows:
Remove the mounting hardware from the gauge wheel.
Adjust the front and rear gauge wheels to the appropriate hole location (see the chart below and Figure 27) and install the mounting hardware.
| Hole Location | Height-of-Cut Range |
| Top hole (-1 on the decal) | 25 to 89 mm (1 to 3-1/2 inches) |
| Middle hole (0 on the decal) | 51 to 114 mm (2 to 4-1/2 inches) |
| Bottom hole (+1 on the decal) | 76 to 140 mm (3 to 5-1/2 inches) |

Repeat for the other wing deck.
For maximum deck flotation, install the rollers 1 hole position lower. Rollers should maintain a 6 mm (1/4 inch) clearance to the ground. Do not adjust the rollers to support the deck.
Park the machine on a level surface.
Disengage the blade-control switch (PTO), move the motion-control levers to the NEUTRAL-LOCK position, and engage the parking brake.
Shut off the engine, remove the key, and wait for all moving parts to stop before leaving the operating position.
After adjusting the height of cut, adjust the anti-scalp rollers by removing the mounting hardware.
Place the rollers in 1 of the positions shown in Figure 28.
The rollers will maintain 19 mm (3/4 inch) clearance to the ground to minimize gouging and roller wear or damage.

Torque the nyloc nut (3/8 inch) to 41 to 47 N∙m (30 to 35 ft-lb) as shown in Figure 29.

The 96-inch deck has 13 anti-scalp roller locations. For adjustment, refer to Figure 30.

Mount the skids in the lower position when operating at heights of cut greater than 51 mm (2 inches) and in a higher position when operating at heights of cut lower than 51 mm (2 inches).
Adjust the skids as shown in Figure 31.

The PTO disengages, an alarm sounds, and a bar graph displays the engine temperature when it reaches an overheat condition. The PTO does not engage until the engine has cooled and you manually shut off the PTO and engage it.
Note: If the engine-coolant level is below the indicator line on the overflow bottle when the engine is cold, the coolant temperature gauge may not register correctly during operation and/or the audible alarm may not sound if the engine overheats.
For best mowing and maximum air circulation, operate the engine at the FAST position. Air is required to thoroughly cut grass clippings, so do not set the height-of-cut so low as to totally surround the mower deck in uncut grass. Always try to have 1 side of the mower deck free from uncut grass, which allows air to be drawn into the mower deck.
Cut grass slightly longer than normal to ensure that the cutting height of the mower deck does not scalp any uneven ground. However, the cutting height used in the past is generally the best one to use. When cutting grass longer than 15 cm (6 inches) tall, you may want to cut the lawn twice to ensure an acceptable quality of cut.
It is best to cut only about a third of the grass blade. Cutting more than that is not recommended unless grass is sparse, or it is late fall when grass grows more slowly.
Alternate the mowing direction to keep the grass standing straight. This also helps disperse clippings, which enhances decomposition and fertilization.
Grass grows at different rates at different times of the year. To maintain the same cutting height, mow more often in early spring. As the grass growth rate slows in mid summer, mow less frequently. If you cannot mow for an extended period, first mow at a high cutting height, then mow again 2 days later at a lower height setting.
To improve cut quality, use a slower ground speed in certain conditions.
When mowing uneven turf, raise the cutting height to avoid scalping the turf.
If you must stop the forward motion of the machine while mowing, a clump of grass clippings may drop onto your lawn. To avoid this, move onto a previously cut area with the blades engaged or you can disengage the mower deck while moving forward.
Clean clippings and dirt from the underside of the mower deck after each use. If grass and dirt build up inside the mower deck, cutting quality will eventually become unsatisfactory.
Maintain a sharp blade throughout the cutting season because a sharp blade cuts cleanly without tearing or shredding the grass blades. Tearing and shredding turns grass brown at the edges, which slows growth and increases the chance of disease. Check the mower blades after each use for sharpness, and for any wear or damage. File down any nicks and sharpen the blades as necessary. If a blade is damaged or worn, replace it immediately with a genuine Toro replacement blade.
Park machine on level ground, disengage drives, set parking brake, stop engine, and remove key. Wait for all movement to stop and allow the machine to cool before adjusting, cleaning, repairing, or storing. Never allow untrained personnel to service machine.
Clean the machine as stated in the Maintenance section. Keep engine and engine area free from accumulation of grass, leaves, excessive grease or oil, and other debris which can accumulate in these areas. These materials can become combustible and may result in a fire.
Frequently check for worn or deteriorating components that could create a hazard. Tighten loose hardware.
Use a heavy-duty trailer or truck to transport the machine. Use a full-width ramp. Ensure that the trailer or truck has all the necessary brakes, lighting, and marking as required by law. Please carefully read all the safety instructions. Knowing this information could help you or bystanders avoid injury. Refer to your local ordinances for trailer and tie-down requirements.
Driving on the street or roadway without turn signals, lights, reflective markings, or a slow-moving-vehicle emblem is dangerous and can lead to accidents, causing personal injury.
Do not drive the machine on a public street or roadway.
Loading a machine onto a trailer or truck increases the possibility of tip-over and could cause serious injury or death (Figure 32).
Use only a full-width ramp; do not use individual ramps for each side of the machine.
Do not exceed a 15-degree angle between the ramp and the ground or between the ramp and the trailer or truck.
Ensure that the length of the ramp is at least 4 times as long as the height of the trailer or truck bed to the ground. This ensures that the ramp angle does not exceed 15 degrees on flat ground.

Loading a machine onto a trailer or truck increases the possibility of tip-over and could cause serious injury or death.
Use extreme caution when operating a machine on a ramp.
Back the machine up the ramp and drive it forward down the ramp.
Avoid sudden acceleration or deceleration while driving the machine on a ramp as this could cause a loss of control or a tip-over situation.
If using a trailer, connect it to the towing vehicle and connect the safety chains.
If applicable, connect the trailer brakes and lights.
Lower the ramp, ensuring that the angle between the ramp and the ground does not exceed 15 degrees (Figure 32).
Back the machine up the ramp (Figure 33).

Shut off the engine, remove the key, and engage the parking brake.
Tie down the machine near the front caster wheels and the rear bumper with straps, chains, cable, or ropes (Figure 34). Refer to local regulations for tie-down requirements.

While maintenance or adjustments are being made, someone could start the engine. Accidental starting of the engine could seriously injure you or other bystanders.
Remove the key from the ignition switch and engage parking brake before you do any maintenance.
The engine can become very hot. Touching a hot engine can cause severe burns.
Allow the engine to cool completely before service or making repairs around the engine area.
Park machine on level ground, disengage drives, set parking brake, stop engine, and remove key. Wait for all movement to stop and allow the machine to cool before adjusting, cleaning or repairing. Never allow untrained personnel to service machine.
Disconnect battery before making any repairs. Disconnect the negative terminal first and the positive last. Reconnect positive first and negative last.
Keep the machine, guards, shields and all safety devices in place and in safe working condition. Frequently check for worn or deteriorating components and replace them with the manufacturer’s recommended parts when necessary.
Removal or modification of original equipment, parts and/or accessories may alter the warranty, controllability, and safety of the machine. Unauthorized modifications to the original equipment or failure to use original Toro parts could lead to serious injury or death. Unauthorized changes to the machine, engine, fuel or venting system, may violate applicable safety standards such as: ANSI, OSHA and NFPA and/or government regulations such as EPA and CARB.
Hydraulic fluid escaping under pressure can penetrate skin and cause injury. Fluid accidentally injected into the skin must be surgically removed within a few hours by a doctor familiar with this form of injury or gangrene may result.
If equipped, make sure all hydraulic fluid hoses and lines are in good condition and all hydraulic connections and fittings are tight before applying pressure to hydraulic system.
Keep body and hands away from pinhole leaks or nozzles that eject high pressure hydraulic fluid.
Use cardboard or paper, not your hands, to find hydraulic leaks.
Safely relieve all pressure in the hydraulic system by placing the motion control levers in neutral and shutting off the engine before performing any work on the hydraulic system.
Fuel system components are under high pressure. The use of improper components can result in system failure, fuel leakage and possible explosion.
Use only approved fuel lines and fuel filters for high pressure systems.
Use care when checking blades. Wrap the blade(s) or wear gloves, and use caution when servicing them. Only replace damaged blades. Never straighten or weld them.
Use jack stands to support the machine and/or components when required.
Raising the machine for service or maintenance relying solely on mechanical or hydraulic jacks could be dangerous. The mechanical or hydraulic jacks may not be enough support or may malfunction allowing the machine to fall, which could cause injury.
Do not rely solely on mechanical or hydraulic jacks for support. Use adequate jack stands or equivalent support.
Carefully release pressure from components with stored energy.
Keep hands and feet away from moving parts. If possible, Do Not make adjustments with the engine running. If the maintenance or adjustment procedure require the engine to be running and components moving, use extreme caution.
Contact with moving parts or hot surfaces may cause personal injury.
Keep your fingers, hands, and clothing clear of rotating components and hot surfaces.
Check all bolts frequently to maintain proper tightness.
| Maintenance Service Interval | Maintenance Procedure |
|---|---|
| After the first 100 hours |
|
| After the first 200 hours |
|
| Before each use or daily |
|
| Every 50 hours |
|
| Every 100 hours |
|
| Every 200 hours |
|
| Every 400 hours |
|
| Every 500 hours |
|
| Every 800 hours |
|
| Every 2,000 hours |
|
| Monthly |
|
| Yearly |
|
Important: Refer to your engine owner's manual for additional maintenance procedures.
If you leave the key in the switch, someone could accidently start the engine and seriously injure you or other bystanders.
Shut off the engine and remove the key from the switch before you perform any maintenance.
Grease more frequently when operating conditions are extremely dusty or sandy.
Grease Type: No. 2 lithium or molybdenum grease
Park the machine on a level surface, disengage the blade-control switch, and engage the parking brake.
Shut off the engine, remove the key, and wait for all moving parts to stop before leaving the operating position.
Clean the grease fittings with a rag.
Note: Make sure that you scrape any paint off the front of the fitting(s).
Connect a grease gun to the fitting.
Pump grease into the fittings until grease begins to ooze out of the bearings.
Wipe up any excess grease.
| Maintenance Service Interval | Maintenance Procedure |
|---|---|
| Every 100 hours |
|
Use light oil spray to lubricate the deck-lift pivots.

| Maintenance Service Interval | Maintenance Procedure |
|---|---|
| Every 400 hours |
|
| Yearly |
|
Note: See chart for service intervals.
Refer to the following chart for fitting locations and lubrication schedule.
| Fitting Locations | Initial Pumps | Number of Places | Service Interval |
|---|---|---|---|
| Deck drive PTO | 1 | 3 | Every 50 hours |
| Deck-idler pivot | 1 | 3 | Every 400 hours or yearly |
| Caster-wheel bearings | *0 | 4 | *Yearly |
| Caster-wheel spindles | *0 | 5 | Every 400 hours or yearly |
* Use the special lubrication instructions on the front caster pivots and the Lubricating the Caster-Wheel Hubs section for special lubrication instructions on the front casters wheel hubs.
Lubricate the front caster pivots once a year. Remove hex plug and cap. Thread the grease fitting in the hole and pump it with grease until it oozes out around the top of the bearing. Remove the grease fitting and thread the plug back in. Install the cap.

| Maintenance Service Interval | Maintenance Procedure |
|---|---|
| Every 50 hours |
|
Note: For easier access to the drive U-joints and splined slip joint, remove the floor pan and fully lower the mower deck.
Park the machine on a level surface, disengage the blade-control switch, and engage the parking brake.
Shut off the engine, remove the key, and wait for all moving parts to stop before leaving the operating position.
Clean the grease fittings with a rag.
Connect a grease gun to the fitting.
Pump grease into the fittings until grease begins to ooze out of the bearings.
Wipe up any excess grease.

| Maintenance Service Interval | Maintenance Procedure |
|---|---|
| Yearly |
|
Park the machine on a level surface, disengage the blade-control switch, and engage the parking brake.
Shut off the engine, remove the key, and wait for all moving parts to stop before leaving the operating position.

Raise the mower for access.
Remove the caster wheel from the caster forks.
Remove the seal guards from the wheel hub.
Remove a spacer nut from the axle assembly in the caster wheel.
Note: Thread-locking adhesive has been applied to lock the spacer nuts to the axle.
Remove the axle (with the other spacer nut still assembled to it) from the wheel assembly.
Pry out seals and inspect bearings for wear or damage and replace if necessary.
Pack the bearings with a general-purpose grease.
Insert 1 bearing and 1 new seal into the wheel.
Note: Replace the seals.
If the axle assembly is missing both spacer nuts, apply a thread-locking adhesive to 1 spacer nut and thread it onto the axle with the wrench flats facing outward.
Note: Do not thread the spacer nut all of the way onto the end of the axle. Leave approximately 3 mm (1/8 inch) from the outer surface of the spacer nut to the end of the axle inside the nut.
Insert the assembled nut and axle into the wheel on the side of the wheel with the new seal and bearing.
With the open end of the wheel facing up, fill the area inside the wheel around the axle full of general-purpose grease.
Insert the second bearing and new seal into the wheel.
Apply a thread-locking adhesive to the second spacer nut, and thread it onto the axle with the wrench flats facing outward.
Torque the nut to 8 to 9 N∙m (75 to 80 in-lb), loosen, then torque to 2 to 3 N∙m (20 to 25 in-lb).
Note: Make sure that the axle does not extend beyond either nut.
Install the seal guards over the wheel hub, and insert the wheel into the caster fork.
Install the caster bolt and tighten the nut fully.
Important: To prevent seal and bearing damage, check the bearing adjustment often. Spin the caster tire. The tire should not spin freely (more than 1 or 2 revolutions) or have any side play. If the wheel spins freely, adjust the torque on the spacer nut until there is a slight amount of drag. Apply another layer of thread-locking adhesive.
Shut off the engine before checking the oil or adding oil to the crankcase.
Keep your hands, feet, face, clothing, and other body parts away the muffler and other hot surfaces.
Check the air-cleaner body for damage, which could possibly cause an air leak.
Replace a damaged air-cleaner body.
Check the air-intake system for leaks, damage, or loose hose clamps.
Service the air-cleaner filter and safety element when the air-cleaner indicator shows red (Figure 39).
Important: Do not over-service the air filter.

Ensure that the cover seats correctly and seals with the air-cleaner body.
| Maintenance Service Interval | Maintenance Procedure |
|---|---|
| Every 400 hours |
|
Note: If the foam gasket in the cover is damaged, replace it.
Important: Avoid using high-pressure air, which could force dirt through the filter into the intake tract.
Important: Do not clean the used filter to avoid damaging the filter media.
Important: Do not use a damaged filter.
Important: Do not apply pressure to the flexible center of the filter.

The engine ships with oil in the crankcase; however, check the oil level before and after you first start the engine. Check the oil level before operating the machine each day or each time you use the machine.
Crankcase capacity: 6.6 L (7 US qt) with the filter
Preferred engine oil: Toro Premium Engine Oil
If using an alternate oil, use high-quality, low-ash engine oil that meets or exceeds the following specifications:
API service category CJ-4 or higher
ACEA service category E6
JASO service category DH-2
Important: Using engine oil other than API classification CJ-4 or higher, ACEA E6, or JASO DH-2 may cause the diesel particulate filter to plug or cause engine damage.
Use the following engine oil viscosity grade:
SAE 10W-30 or 5W-30 (all temperatures)
SAE 15W-40 (above 0° F)
Note: Toro Premium Engine oil is available from your distributor. See the Parts Catalog or contact an authorized Toro distributor for part numbers.
| Maintenance Service Interval | Maintenance Procedure |
|---|---|
| Before each use or daily |
|
Park the machine on a level surface, lower the mower deck, move the throttle lever to the SLOW position, shut off the engine, and remove the key.
Open the hood.
Check the engine-oil level as shown in Figure 41.

| Maintenance Service Interval | Maintenance Procedure |
|---|---|
| After the first 200 hours |
|
| Every 200 hours |
|
| Every 400 hours |
|
| Yearly |
|
If possible, run the engine just before changing the oil because warm oil flows better and carries more contaminants than cold oil.
Park machine on a level surface.
Engage the parking brake.
Shut of the engine and remove the key.
Open the hood.
Change the engine oil as shown in Figure 42.

Replace the engine-oil filter as shown in Figure 43.

Fill the crankcase with oil; refer to Engine-Oil Specifications.
Fuel-system components are under high pressure. The use of improper components can result in system failure, fuel leakage, and possible explosion.
Use only approved fuel lines and fuel filters.
| Maintenance Service Interval | Maintenance Procedure |
|---|---|
| Every 50 hours |
|
Park the machine on a level surface, disengage the blade-control switch, and engage the parking brake.
Shut off the engine, remove the key, and wait for all moving parts to stop before leaving the operating position.
Place a drain pan under the fuel filter and loosen the drain plug approximately 1 turn (Figure 44).

After the water drains and fuel begins to flow from the filter, tighten the drain plug.
Important: Water or other contaminants in fuel can damage the fuel pump and/or other engine components.
| Maintenance Service Interval | Maintenance Procedure |
|---|---|
| Every 400 hours |
|

| Maintenance Service Interval | Maintenance Procedure |
|---|---|
| Every 800 hours |
|
Inspect the engine-valve clearance. Refer to the engine owner’s manual.
| Maintenance Service Interval | Maintenance Procedure |
|---|---|
| Every 400 hours |
|
Inspect the fuel lines for deterioration, damage, chaffing, or loose connections.
Disconnect the battery before repairing the machine. Disconnect the negative terminal first and the positive last. Connect the positive terminal first and the negative last.
Charge the battery in an open, well-ventilated area, away from sparks and flames. Unplug the charger before connecting or disconnecting the battery. Wear protective clothing and use insulated tools.
Battery electrolyte contains sulfuric acid, which is fatal if consumed and causes severe burns.
Do not drink electrolyte and avoid contact with skin, eyes or clothing. Wear safety glasses to shield your eyes and rubber gloves to protect your hands.
| Maintenance Service Interval | Maintenance Procedure |
|---|---|
| Monthly |
|
Allowing the battery to stand for an extended period of time without charging it results in reduced performance and service life. To preserve optimum battery performance and life, charge the battery in storage when the open circuit voltage drops to 12.4 V.
Note: To prevent damage due to freezing, fully charge the battery before putting it away for winter storage.
Check the voltage of the battery with a digital voltmeter. Locate the voltage reading of the battery in the table below and charge the battery for the recommended time interval to bring the charge up to a full charge of 12.6 V or greater.
Important: Ensure that the negative (–) battery cable is disconnected and the battery charger used for charging the battery has an output of 16 V and 7 A or less to avoid damaging the battery (see the chart for the recommended charger settings).
| Voltage Reading | Percent Charge | Maximum Charger Settings | Charging Interval |
|---|---|---|---|
| 12.6 V or greater | 100% | 16 V/7 A | No charging required |
| 12.4 V to 12.6 V | 75% to 100% | 16 V/7 A | 30 minutes |
| 12.2 V to 12.4 V | 50% to 75% | 16 V/7 A | 1 hour |
| 12.0 V to 12.2 V | 25% to 50% | 14.4 V/4 A | 2 hours |
| 11.7 V to 12.0 V | 0% to 25% | 14.4 V/4 A | 3 hours |
| 11.7 V or less | 0% | 14.4 V/2 A | 6 hours or more |
Charging the battery produces gasses that can explode.
Never smoke near the battery and keep sparks and flames away from battery.
Important: Always keep the battery fully charged (1.265 specific gravity). This is especially important to prevent battery damage when the temperature is below 0°C (32°F).
Make sure that the filler caps are installed in battery. Charge battery for 10 to 15 minutes at 25 to 30 A or 30 minutes at 10 A.
When the battery is fully charged, unplug the charger from the electrical outlet, then disconnect the charger leads from the battery posts (Figure 46).
Install the battery in the machine and connect the battery cables.
Note: Do not run the machine with the battery disconnected, electrical damage may occur.

Check the weak battery for terminal corrosion (white, green, or blue “snow”).
You must clean it off prior to jump-starting. Clean and tighten connections as necessary.
Corrosion or loose connections can cause unwanted electrical voltage spikes at anytime during the jump-starting procedure.
Do not attempt to jump-start with loose or corroded battery terminals; otherwise, damage may occur to the engine.
Jump-starting a weak battery that is cracked, frozen, has low electrolyte level, or an open/shorted battery cell, can cause an explosion, resulting in serious injury.
Do not jump-start a weak battery if these conditions exist.
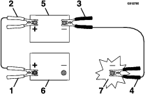
Ensure that the booster is a good and fully-charged lead acid battery at 12.6 V or greater. Use properly sized jumper cables (4 to 6 AWG) with short lengths to reduce voltage drop between systems. Ensure that the cables are color-coded or labeled for the correct polarity.
Connecting the jumper cables incorrectly (wrong polarity) can immediately damage the electrical system.
Be certain of battery-terminal polarity and jumper-cable polarity when connecting batteries.
Note: The following instructions are adapted from the SAE J1494 Rev. Dec. 2001 – Battery Booster Cables – Surface Vehicle Recommended Practice (SAE – Society of Automotive Engineers).
Important: Ensure that the vent caps are tight and level. Place a damp cloth, if available, over any vent caps on both batteries. Ensure that the machines do not touch and that both electrical systems are shut off and at the same rated system voltage. These instructions are for negative ground systems only.
Connect the positive (+) cable to the positive (+) terminal of the discharged battery that is wired to the starter or solenoid (Figure 47).

Connect the other end of the positive cable to the positive terminal of the booster battery.
Connect the black negative (–) cable to the other terminal (negative) of the booster battery.
Make the final connection on the engine block of the stalled machine (not to the negative post) away from the battery. Stand away from the machine.
Start the vehicle and remove the cables in the reverse order of connection (the engine block (black) connection is the first to disconnect).
The electrical system is protected by fuses. It requires no maintenance, however, if a fuse blows check component/circuit for malfunction or short.
Unlatch the engine hood and raise the engine hood to gain access to the fuse block.
To replace the fuses, pull out on the fuse to remove it.
Install a new fuse (Figure 48).

Use the drive wheel release valves to release the hydrostatic drive system, which allows you to push the machine without the running the engine.
Rotate each bypass valve counterclockwise 1 turn to release; rotate each bypass valve clockwise to reset system (Figure 49).
Important: Do not overtighten. Do not tow the machine.

Park the machine on a level surface, disengage the blade-control switch, and engage the parking brake.
Shut off the engine, remove the key, and wait for all moving parts to stop before leaving the operating position.
Move the throttle midway between FAST and Slow.
Move both motion-control levers all the way forward until they both hit the stops in the T-slot.
Check which way the machine tracks.
If it tracks to the right, loosen the bolts and adjust the left stop plate rearward on the left T-slot until the machine tracks straight (Figure 50).
If it tracks to the left, loosen the bolts and adjust the right stop plate rearward on the right T-slot until the machine tracks straight (Figure 50).
Tighten the stop plate (Figure 50).

Align the levers in the front-to-rear position by bringing the levers together to the NEUTRAL position, and slide them until they are aligned, then tighten the bolts (Figure 51).

If alignment is needed, loosen the 2 motion-control lever mounting bolts on the misaligned side (Figure 52).

Move motion-control lever to meet the opposite side.
Tighten the 2 motion-control lever mounting bolts (Figure 52).
| Maintenance Service Interval | Maintenance Procedure |
|---|---|
| Every 50 hours |
|
Rear tire air pressure specification: 124 kPa (18 psi).
Note: The caster tires are semi-pneumatic tires and do not require air pressure maintenance.
Low tire pressure decreases machine side-hill stability. This could cause a rollover, which may result in personal injury or death.
Do not under-inflate the tires.
Check the air pressure in the rear tires. Add or remove air as needed to set the air pressure in the tires to the tire air pressure specification.
Important: Maintain pressure in all tires to ensure a good quality of cut and proper machine performance.Check the air pressure in all the tires before operating the machine.

| Maintenance Service Interval | Maintenance Procedure |
|---|---|
| After the first 100 hours |
|
Torque the wheel lug nuts to 115 to 142 N∙m (85 to 105 ft-lb).
| Maintenance Service Interval | Maintenance Procedure |
|---|---|
| Every 500 hours |
|
Park the machine on a level surface, disengage the blade-control switch, and engage the parking brake.
Shut off the engine, remove the key, and wait for all moving parts to stop before leaving the operating position.
Remove the dust cap from the caster and tighten the locknut (Figure 54).
Tighten the locknut until the spring washers are flat, and then back off a 1/4 turn to properly set the preload on the bearings (Figure 54).
Important: Make sure that the spring washers are installed correctly as shown in Figure 54.
Install the dust cap (Figure 54).

| Maintenance Service Interval | Maintenance Procedure |
|---|---|
| Every 50 hours |
|
Use SAE 75W-90 synthetic gear lube.
Park the machine on a level surface and engage the parking brake.
Lower the mower deck to the 25 mm (1 inch) height of cut.
Disengage the blade-control switch, shut off the engine, remove the key, and wait for all moving parts to stop before leaving the operating position.
Lift the footrest to expose the top of the mower deck.
Remove the dipstick/fill plug from the top of the gearbox and ensure that the lubricant is between the marks on the dipstick (Figure 55).

If the oil level is low, add enough lubricant until the level is between the marks on the dipstick.
Important: Do not overfill the gearbox; overfilling the gearbox may damage it.
| Maintenance Service Interval | Maintenance Procedure |
|---|---|
| After the first 200 hours |
|
| Every 400 hours |
|
If the oil becomes contaminated, contact your Toro Distributor because the system must be flushed. Contaminated oil looks milky or black when compared to clean oil.
Park the machine on a level surface and engage the parking brake.
Lower the mower deck to the 25 mm (1 inch) height of cut.
Disengage the blade-control switch, shut off the engine, remove the key, and wait for all moving parts to stop before leaving the operating position.
Lift the footrest to expose the top of the mower deck.
Remove the dipstick/fill plug from the top of the gearbox and ensure that the lubricant is between the marks on the dipstick (Figure 55).
Extract the oil through the fill port using a vacuum device or remove the gearbox from the deck and pour out the oil into a drain pan.
Install the gearbox (if it was removed to drain).
Add approximately 420 ml (14 fl oz), until the level is between the marks on the dipstick
Important: Do not overfill the gearbox; overfilling the gearbox may damage it.
Swallowing engine coolant can cause poisoning; keep out of reach from children and pets.
Discharge of hot, pressurized coolant or touching a hot radiator and surrounding parts can cause severe burns.
Always allow the engine to cool at least 15 minutes before removing the radiator cap.
Use a rag when opening the radiator cap, and open the cap slowly to allow steam to escape.
| Maintenance Service Interval | Maintenance Procedure |
|---|---|
| Before each use or daily |
|
Coolant specification: 50/50 solution of water and permanent ethylene-glycol antifreeze
Cooling-system capacity: 7.6 L (8 US qt)
Open the hood.
Check the level of the coolant in the expansion tank (Figure 56).
Note: The coolant level should be between the marks on the side of the tank.

If coolant level is low, remove the expansion-tank cap, and add the specified coolant (Figure 56).
Important: Do not overfill.
Install the expansion-tank cap.
Close the hood.
| Maintenance Service Interval | Maintenance Procedure |
|---|---|
| Every 50 hours |
|
Clean the radiator to prevent the engine from overheating.
Note: If the mower deck or engine shuts off due to overheating, check the radiator for excessive buildup of debris.
Park the machine on a level surface, disengage the blade-control switch, and engage the parking brake.
Shut off the engine, remove the key, and wait for all moving parts to stop before leaving the operating position.
Rotate the hood forward.
Using compressed air, blow out debris stuck between the fins of the entire radiator, both from the top down and bottom up.
If debris remains, it may be necessary to use water from a low-pressure hose.
If the radiator is clean, proceed to step 7.
Cover the engine with a piece of cardboard or a plastic sheet. Squirt water through the fins. Blow through with low-pressure air from both directions.
Note: If debris remains, repeat until clean.
Lower the hood.
Start the engine to ensure that the fan functions properly.
| Maintenance Service Interval | Maintenance Procedure |
|---|---|
| Every 2,000 hours |
|
Park the machine on a level surface, disengage the blade-control switch, and engage the parking brake.
Shut off the engine, remove the key, and wait for all moving parts to stop before leaving the operating position.
Rotate the hood forward.
Drain the coolant when the engine is cool.
Remove the radiator cap, place a pan under the radiator, and remove the drain plug at the bottom of the radiator.
Remove the coolant hose from the oil cooler and drain the coolant from the engine block (Figure 57).

Install the drain plugs and hoses.
Fill radiator with a 50/50 mix of water and ethylene glycol.
Note: The use of Havoline® Xtended Life coolant is recommended.
Allow some room (approximately 12.7 mm (1/2 inch)) for expansion. Add 50/50 coolant mix to the overflow bottle on the left side of the engine as required to bring the level up to the indicator line on the bottle.
Operate engine until the engine thermostat opens and the coolant is circulating through the radiator core.
As air purges from the engine block and the coolant level drops, add additional coolant to the radiator.
When the radiator is completely full and no additional coolant can be added, continue running and install the radiator cap.
Ensure that the cap is completely seated by pressing down firmly while turning, until the cap stops. Once the cap is installed, shut off the engine.
| Maintenance Service Interval | Maintenance Procedure |
|---|---|
| After the first 100 hours |
|
| Every 400 hours |
|
Check to ensure that parking brake is adjusted properly. Follow this procedure also whenever you have removed or replaced a brake component.
Park the machine on a level surface, disengage the blade-control switch, and engage the parking brake.
Shut off the engine, remove the key, and wait for all moving parts to stop before leaving the operating position.
Raise the rear of the machine up and support the machine with jack stands.
Remove the rear tires from the machine.
Remove any debris from the brake area.
Release the drive wheels; refer to Releasing the Drive Wheel Release Valves.
Measure the length of the link assembly (Figure 58).
Note: If the link assembly is attached in the front position, the length should be 219 mm (8-5/8 inches); if it is attached in the rear position, the length should be 232 mm (9-1/8 inches).

Measure the length of the spring (Figure 58).
Note: The measurement should be 95 mm (3-3/4 inches).
When you achieve the correct spring length, check to see if there is a visible gap between the trunion and the shoulder.
Disengage the parking brake and turn the wheel hub by hand in both directions.
Note: The wheel hub should move freely.
If a gap is needed or the wheel hub does move freely, do the following:
Disengage the parking brake.
Disconnect and fine-tune the rear linkage assembly.
Shorten the link to create a gap.
Lengthen the link to allow wheel hub movement.
Connect the rear linkage assembly.
Engage the parking brake and check the gap.
Repeat steps 10 through 12 until a visible gap is achieved and the wheel hub rotates freely. Repeat this procedure for the other side.
Note: The brake should fully disengage when the brake is in the released position.
Rotate the drive wheel release handle to the operating position; refer to Releasing the Drive Wheel Release Valves.
Install the rear tires and torque the lug nuts to 115 to 142 N∙m (85 to 105 ft-lb).
Remove the jack stands.
You can be seriously injured if you operate the machine with the floor pan removed, or if you do not completely remove the floor pan to perform maintenance on components beneath it.
Do not operate the machine with the floor pan removed. Completely remove the floor pan before you perform maintenance underneath it.
To remove the floor pan, lift the floor pan and pull it out of the openings in the frame.

To install the floor pan, place the floor pan in the openings in the frame and lower it into place.

| Maintenance Service Interval | Maintenance Procedure |
|---|---|
| Every 50 hours |
|
Check the belts whenever they squeal while rotating, the blades slip while cutting grass, or if the belts have frayed edges, burn marks, or cracks. If any of these conditions occur, replace the belts.
Squealing when the belt is rotating, blades slipping when cutting grass, frayed belt edges, burn marks and cracks are signs of a worn mower belt. Replace the belt if any of these conditions are evident.
Park the machine on a level surface, disengage the blade-control switch, and engage the parking brake.
Shut off the engine, remove the key, and wait for all moving parts to stop before leaving the operating position.
Lower the mower to the 76 mm (3 inches) height of cut.
Remove the 2 lynch pins from the outer belt cover and remove the outer cover (Figure 61).
Rotate the inside belt cover upward (Figure 61).

Remove the floorboard.
Using a ratchet in the square hole in the idler arm, rotate the idler arm rearward to remove tension on the idler spring (Figure 62).
Remove the belt from the mower deck pulleys (Figure 62).

Install the new belt around the mower deck pulleys.
Install the belt covers and floorboard.
Repeat this procedure for the other wing deck belt.
Squealing when the belt is rotating, blades slipping when cutting grass, frayed belt edges, burn marks and cracks are signs of a worn mower belt. Replace the belt if any of these conditions are evident.
Park the machine on a level surface, disengage the blade-control switch, and engage the parking brake.
Shut off the engine, remove the key, and wait for all moving parts to stop before leaving the operating position.
Lower the mower to the 76 mm (3 inches) height of cut.
Remove the 2 wing deck belts; refer to Replacing the Wing Deck Belts.
Use a ratchet in the square hole in the idler arm to remove tension on the idler spring (Figure 63).
Remove the belt from the mower deck pulleys (Figure 63).
Note: The belt comes off at the bottom of the gearbox pulley.

Install the new belt around the mower deck pulleys.
Install the 2 wing decks belts; refer to Replacing the Wing Deck Belts.
Install the belt covers and floorboard.
| Maintenance Service Interval | Maintenance Procedure |
|---|---|
| Every 100 hours |
|
Apply 44 N (10 lb) of force to the alternator belt, midway between the pulleys.
If the deflection is not 10 mm (3/8 inch), loosen the alternator mounting bolts (Figure 64).

Increase or decrease the alternator-belt tension.
Tighten the mounting bolts.
Check the deflection of the belt again to ensure that the tension is correct.
There are 2 height positions for the control levers—high and low. Remove the bolts to adjust the height for the operator.
Park the machine on a level surface, disengage the blade-control switch, and engage the parking brake.
Shut off the engine, remove the key, and wait for all moving parts to stop before leaving the operating position.
Loosen the bolts and flange nuts installed in the levers (Figure 65).
Align the levers in the front-to-rear position by bringing the levers together to the NEUTRAL position, and slide them until they are aligned, then tighten the bolts (Figure 66).


If the ends of the levers hit against each other, repeat this procedure.
Located on either side of the fuel tank, below the seat are the pump-control linkages. Rotating the pump linkage with a wrench (1/2 inch) allows fine tuning adjustments so that the machine does not move in neutral. Any adjustments should be made for neutral positioning only.
To adjust the motion control, you must run the engine and turn the drive wheels. Contact with moving parts or hot surfaces may cause personal injury.
Keep your fingers, hands, and clothing clear of rotating components and hot surfaces.
Prior to starting the engine, push the deck-lift pedal, and remove the height-of-cut pin.
Lower deck to the ground.
Raise the rear of machine up and support it with jack stands (or equivalent support).
Note: Raise the machine just high enough to allow the drive wheels to turn freely.
Remove the electrical connection from the seat safety switch, located under the bottom cushion of the seat.
Note: The switch is a part of the seat assembly.
Temporarily install a jumper wire across the terminals in the connector of the main wire harness.
Start the engine and run it at full throttle and disengage the brake.
Note: You do not need to be in the seat because the jumper wire is being used.
Run the unit for at least 5 minutes with the drive levers at full forward speed to bring the hydraulic fluid up to the operating temperature.
Note: The motion-control levers needs to be in neutral while making any necessary adjustments.
Bring the motion-control levers into the NEUTRAL position.
Adjust the pump control rod lengths by rotating the double nuts on the rod in the appropriate direction until the wheels slightly creep in reverse (Figure 67).

Move the motion-control levers to the reverse position and while applying slight pressure to the lever, allow the reverse-indicator springs to bring the levers back to neutral.
Note: The wheels must stop turning or slightly creep in reverse.
Shut off the machine, remove the jumper wire from the wire harness, and plug the connector into the seat switch.
Remove the jack stands.
Raise the deck and install the height-of-cut pin.
Check that the machine does not creep in neutral with the park brakes disengaged.
You can adjust the top damper-mounting bolt to obtain the desired motion-control lever resistance. Refer to Figure 68 for mounting options.

Seek immediate medical attention if fluid is injected into skin. Injected fluid must be surgically removed within a few hours by a doctor.
Ensure that all hydraulic-fluid hoses and lines are in good condition and all hydraulic connections and fittings are tight before applying pressure to the hydraulic system.
Keep your body and hands away from pinhole leaks or nozzles that eject high-pressure hydraulic fluid.
Use cardboard or paper to find hydraulic leaks.
Safely relieve all pressure in the hydraulic system before performing any work on the hydraulic system.
Hydraulic system capacity: 15.1 L (16 US qt)
Recommended fluid: Toro Premium Transmission/Hydraulic Tractor Fluid (available in 5-gallon pails or 55-gallon drums. See the Parts Catalog or contact an authorized Toro distributor for part numbers.)
Alternate fluids: If the Toro fluid is not available, Mobil® 424 hydraulic fluid may be used.
Note: Toro does not assume responsibility for damage caused by improper substitutions.
Note: Many hydraulic fluids are almost colorless, making it difficult to spot leaks. A red dye additive for the hydraulic-system fluid is available in 20 ml (2/3 fl oz) bottles. 1 bottle is sufficient for 15 to 22 L (4 to 6 gallons) of hydraulic fluid. Order Part Number 44-2500 from your authorized Toro distributor.
| Maintenance Service Interval | Maintenance Procedure |
|---|---|
| Before each use or daily |
|
Check the hydraulic-fluid level before you first start the engine and daily thereafter.
Park the machine on a level surface, disengage the blade-control switch, and engage the parking brake.
Move the motion-control levers to the NEUTRAL-LOCK position and start the engine.
Note: Run the engine at the lowest possible rpm to purge any air in the system.
Important: Do not engage the PTO.
Raise the deck to extend the lift cylinders, shut off the engine, and remove the key.
Raise the seat to access the hydraulic-fluid tank.
Remove the hydraulic-tank cap (Figure 69).

Remove the dipstick and wipe it with a clean rag (Figure 69).
Place the dipstick into the filler neck, remove it, and check the fluid level (Figure 70).
Note: If the level is not within the notched area of the dipstick, add enough high-quality hydraulic fluid to raise the level to within the notched area.
Important: Do not overfill.

Replace the dipstick and thread the fill cap finger-tight onto the filler neck.
Check all hoses and fittings for leaks.
| Maintenance Service Interval | Maintenance Procedure |
|---|---|
| After the first 200 hours |
|
| Every 400 hours |
|
| Every 800 hours |
|
Disengage the PTO, move the motion-control levers to the NEUTRAL-LOCK position, and engage the parking brake.
Move the throttle lever to the SLOW position, shut off the engine, remove the key, and wait for all moving parts to stop before leaving the operating position.
Raise the seat.
Place a large drain pan under the hydraulic reservoir, transmission case, and the left and right wheel motors (Figure 71).

Remove the drain plugs from each area and allow the hydraulic fluid to drain (Figure 71).
Clean the area around the hydraulic-fluid filter and remove the filter (Figure 71).
Install a new hydraulic-fluid filter and turn the filter clockwise until the rubber seal contacts the filter adapter, then tighten the filter an additional 2/3 to 3/4 turn.
Install the 4 drain plugs.
Note: The wheel motor drain plugs are magnetic; wipe them clean before installing.
Remove the fill-port plug on the top of each wheel motor (Figure 72).
Fill each wheel motor with approximately 1.4 L (1.5 US qt) of Toro Premium Transmission/Hydraulic Tractor Fluid.
Install the fill-port plugs.

Remove the reservoir cap and dipstick from the hydraulic-fluid tank.
Add 7.6 L (8 US qt) of fluid to the reservoir.
Raise the rear of machine up and support it with jack stands (or equivalent support) just high enough to allow the drive wheels to turn freely.
Start the engine and check for fluid leaks.
Allow the engine to run for about 5 minutes, then shut it off.
After 2 minutes, check the level of the hydraulic fluid; refer to Checking the Hydraulic-Fluid Level.
Note: Ensure that the mower deck is level before matching the height of cut (HOC).
Park the machine on a level surface, disengage the blade-control switch, and engage the parking brake.
Shut off the engine, remove the key, and wait for all moving parts to stop before leaving the operating position.
Check tire pressure of the drive tires.
If needed, adjust to 124 kPa (18 psi).
Position the mower to the 102 mm (4 inches) height-of-cut position.
Raise the center deck and fold the wings by pressing down at the rear of the deck-lift switch. Hold the switch down until both wings are completely folded.
Position the mower to the 102 mm (4 inches) height-of-cut position.
Unlock the left and right wing deck cam locks (Figure 73).
Remove and retain the wing deck height-of-cut lanyard (Figure 73).

Insert the height-of-cut pin into the 102 mm (4 inches) location and install the lanyard.
Lock the each wing deck cam lock.
Start the engine.
Note: The parking brake must be engaged and the motion-control levers must be out to start the engine. The operator does not have to be in the seat. Ensure that all persons are clear of the deck wings.
Press and hold the front of the deck-lift switch until the center deck lowers and both wings are completely unfolded to the cutting height.
Shut off the engine, remove the key, and wait for all moving parts to stop before leaving the operating position.
Measure from the level surface to the front tip of the left and right center deck blades (Figure 74).
The measurement should read 102 mm (4 inches).

To increase the cutting height, turn the adjuster screw clockwise; to decrease, turn it counterclockwise.
Loosen the jam nuts on the top of each deck adjuster. Fine-tune the adjuster on the front deck-lift assembly by turning it to get the correct height for the left and right, front blade tips on the center deck (Figure 75).
Measure the rear tip height.
Fine-tune the rear adjusters as required. You can adjust the single-point adjustment to gain more adjustment.
Measure until all 4 sides are at the correct height.
Tighten all the nuts on the deck-lift arm assemblies.
If the 4 deck adjusters (Figure 75) do not have enough adjustment to achieve the accurate height of cut with the desired rake, you can utilize the single-point adjustment to gain more adjustment.
To adjust the single-point system, first loosen the front and rear height-of-cut plate mounting bolts (Figure 75)
Fine-tune the rear adjusters as required. You can adjust the single-point adjustment to gain more adjustment.

If the deck is too low, tighten the single-point adjustment bolt by rotating it clockwise (Figure 76).
If the deck is too high, loosen the single-point adjustment bolt by rotating it counterclockwise. Loosen the front and rear height-of-cut plate mounting bolts. Fine-tune the rear adjusters as required. You can adjust the single-point adjustment to gain more adjustment.
Note: Loosen or tighten the single-point adjustment bolt enough to move the height-of-cut plate mounting bolts at least 1/3 the length of the available travel in their slots. This will attain some up and down adjustment on each of the 4 deck links.

Torque the front and rear height-of-cut plate mounting bolts to 37 to 45 N∙m (27 to 33 ft-lb).
Measure from the level surface to the front tip of the left wing deck blade.
Note: The measurement should read 102 mm (4 inches).
Measure from the level surface to the front tip of the right wing deck blade.
Note: The measurement should read 102 mm (4 inches).
Note: As with the center deck, in most conditions, you should adjust the rear tips on the wing blades 6.4 mm (1/4 inch) higher than the front.
The left and right wing decks have blade height adjustments with front and rear adjustment points. To adjust the wing-blade height, first loosen the front and rear height-of-cut hanger mounting nuts. There are 4 locations (2 on each side of the channel) as shown in Figure 77.

If the deck is too low, tighten the front height-adjustment bolt (Figure 77) by rotating the bottom nut clockwise.
If the deck is too high, loosen the front height-adjustment bolt (Figure 77) by rotating the bottom nut counterclockwise. Fine-tune the rear adjusters as required.
Adjust the rear wheel height (Figure 77) so that the rear wheel lightly touches the ground with minimal pressure.
Measure the back of the wing blades. If either has less than 1.5 mm (1/16 inch) rake, raise the rear of the deck by tightening the left and right rear adjustments (Figure 77) until all 4 blades have a minimum of 1.5 mm (1/16 inch) rake. Adjust the rear wing wheels so that they lightly touch the ground with minimal pressure. Tighten all 4 rear hanger-mount locations (Figure 77).
Tighten the front and rear height-of-cut hanger jam nuts.
To ensure a superior quality of cut, keep the blades sharp. For convenient sharpening and replacement, keep extra blades on hand.
A worn or damaged blade can break, and a piece of the blade could be thrown toward you or bystanders, resulting in serious personal injury or death. Trying to repair a damaged blade may result in discontinued safety certification of the product.
Inspect the blades periodically for wear or damage.
Use care when checking the blades. Wrap the blades or wear gloves, and use caution when servicing the blades. Only replace or sharpen the blades; never straighten or weld them.
On multi-bladed machines, take care as rotating 1 blade can cause other blades to rotate.
Park the machine on a level surface, disengage the blade-control switch, and engage the parking brake.
Shut off the engine, remove the key, and wait for all moving parts to stop before leaving the operating position.
| Maintenance Service Interval | Maintenance Procedure |
|---|---|
| Before each use or daily |
|
Inspect the cutting edges (Figure 78).
If the edges are not sharp or have nicks, remove and sharpen the blade; refer to Servicing the Cutting Blades.
Inspect the blades, especially in the curved area.
If you notice any cracks, wear, or a slot forming in this area, immediately install a new blade (Figure 78).

Disengage the blade-control switch (PTO), move the motion-control levers to the NEUTRAL-LOCK position, and engage the parking brake.
Shut off the engine, remove the key, and wait for all moving parts to stop before leaving the operating position.
Rotate the blades until the ends face forward and backward (Figure 79).
Measure from a level surface to the cutting edge, position A, of the blades (Figure 79).

Rotate the opposite ends of the blades forward.
Measure from a level surface to the cutting edge of the blades at the same position as in step 4.
Note: The difference between the dimensions obtained in steps 4 and 5 must not exceed 3 mm (1/8 inch).
Note: If this dimension exceeds 3 mm (1/8 inch), the blade is bent and must be replaced.
A blade that is bent or damaged could break apart and could seriously injure or kill you or bystanders.
Always replace bent or damaged blade with a new blade.
Never file or create sharp notches in the edges or surfaces of blade.
Replace a blade if it hits an object, if the blade is out of balance, or if the blade is bent. To ensure optimum performance and continued safety conformance of the machine, use genuine Toro replacement blades. Replacement blades made by other manufacturers may result in nonconformance with safety standards.
Hold the blade end using a rag or a thickly padded glove.
Remove the blade bolt, curved washer, and blade from the spindle shaft (Figure 80).

Use a file to sharpen the cutting edge at both ends of the blade (Figure 81).
Note: Maintain the original angle.
Note: The blade retains its balance if the same amount of material is removed from both cutting edges.

Check the balance of the blade by putting it on a blade balancer (Figure 82).
Note: If the blade stays in a horizontal position, the blade is balanced and can be used.
Note: If the blade is not balanced, file some metal off the end of the sail area only (Figure 81).

Repeat this procedure until the blade is balanced.
Install the blade onto the spindle shaft (Figure 80).
Important: The curved part of the blade must point upward toward the inside of the mower to ensure proper cutting.
Install the curved washer and blade bolt (Figure 80).
Note: Install the curved-washer cone toward the bolt head.
Torque the blade bolt to 115 to 150 N∙m (85 to 110 ft-lb).
| Maintenance Service Interval | Maintenance Procedure |
|---|---|
| Before each use or daily |
|
Important: Do not use water to clean the engine. Use low-pressure compressed air. See the engine owner's manual.
Park the machine on a level surface, disengage the blade-control switch (PTO), and engage the parking brake.
Shut off the engine, remove the key, and wait for all moving parts to stop before leaving the operating position.
Clean around the flywheel, cylinder head, injectors, and injector pump.
Clean all debris from the exhaust system area.
Wipe up any excessive grease or oil around the engine and exhaust area.
| Maintenance Service Interval | Maintenance Procedure |
|---|---|
| Before each use or daily |
|
Park the machine on a level surface, disengage the blade-control switch (PTO), and engage the parking brake.
Shut off the engine, remove the key, and wait for all moving parts to stop before leaving the operating position.
Clean off any oil, debris, or grass build-up on the machine and mower deck, especially under the deck-belt shields, around the fuel tank, and around the engine and exhaust area.
Raise the center deck and wing decks. Lock each wing deck in the upright position.
Clean out any grass build-up from the underside of deck and in the discharge deflector.
Engine oil, batteries, hydraulic fluid, and engine coolant are pollutants to the environment. Dispose of these according to your state and local regulations.
Always shut off the engine, remove the key, wait for all moving parts to stop, and allow the machine to cool before adjusting, cleaning, storing, or repairing it.
Let the engine cool before storing the machine.
Do not store the machine or fuel near flames or drain the fuel indoors.
Disengage the blade-control switch (PTO), engage the parking brake, turn the ignition key to the OFF position, and remove the key.
Remove grass clippings, dirt, and grime from the external parts of the entire machine, especially the engine and hydraulic system. Clean dirt and chaff from the outside of the engine cylinder head fins and blower housing.
Important: You can wash the machine with mild detergent and water. Do not pressure wash the machine. Avoid excessive use of water, especially near the control panel, engine, hydraulic pumps, and motors.
Check the brake; refer to Brake Maintenance.
Service the air cleaner; refer to Servicing the Air Cleaner.
Grease the machine; refer to Lubrication.
Change the engine oil and filter; refer to Changing the Engine Oil and Filter.
Check the tire pressure; refer to Checking the Tire Pressure.
Change the hydraulic fluid and filter; refer to Servicing the Hydraulic System.
Charge the battery; refer to Charging the Battery.
Scrape any heavy buildup of grass and dirt from the underside of the mower, then wash the mower with a garden hose.
Note: Run the machine with the blade-control switch (PTO) engaged and the engine at high idle for 2 to 5 minutes after washing.
Check the condition of the blades; refer to Servicing the Cutting Blades.
Prepare the machine for storage when non-use occurs over 30 days. Prepare the machine for storage as follows:
Run the engine to distribute conditioned fuel through the fuel system for 5 minutes.
Shut off the engine, allow it to cool, and drain the fuel tank.
Note: Start the engine and run it until it shuts off.
Dispose of fuel properly. Recycle as per local codes.
Important: Do not store stabilizer/conditioned fuel longer than the duration recommended by the fuel-stabilizer manufacturer.
Check and tighten all bolts, nuts, and screws. Repair or replace any part that is damaged.
Paint all scratched or bare metal surfaces. Paint is available from your Authorized Service Dealer.
Store the machine in a clean, dry garage or storage area. Remove the key from the ignition switch and keep it out of reach of children or other unauthorized users. Cover the machine to protect it and keep it clean.
| Problem | Possible Cause | Corrective Action |
|---|---|---|
| The starter does not crank. |
|
|
| The engine does not start, starts hard, or fails to keep running. |
|
|
| The engine loses power. |
|
|
| The engine overheats. |
|
|
| The machine does not drive. |
|
|
| The machine pulls left or right (with the motion-control levers fully forward). |
|
|
| There is abnormal vibration. |
|
|
| Mowing is resulting in uneven cutting height. |
|
|
| The blades do not rotate. |
|
|
| The clutch does not engage. |
|
|


