
. Write the numbers in the space
provided.| Important |
| Model Number: |
Serial Number: |

![]() |
Danger | |
![]() |
Warning | |
![]() |
Caution | |
![]() |
Warning | |
| Procedure
|
Description
|
Qty.
|
Use
|
|---|---|---|---|
| 1
|
No parts required |
—
|
Prepare the machine. |
| 2
|
Hose—73.7 cm (29 inches) |
1
|
Prepare the rinse tank. |
| Rinse tank
|
1
|
||
| 90° fitting
|
1
|
||
| Hose clamp
|
1
|
||
| Retaining fork
|
1
|
||
| 3
|
Hold down (rinse tank) |
2
|
Install the rinse tank. |
| Bolt (3/8 x 1-1/2 inches) |
2
|
||
| Large washer
|
4
|
||
| Flange locknut (3/8 inch) |
2
|
||
| 4
|
No parts required |
—
|
Drill the spray tank. |
| 5
|
Rinse nozzle assembly |
2
|
Install the rinse nozzles. |
| Bulkhead fitting assembly |
2
|
||
| 90° fitting
|
2
|
||
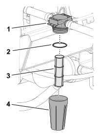
| 6
|
Rinse tank pump
|
1
|
Install the pump and filter. |
| Bolt (1/4 x 1-3/4 inches) |
4
|
||
| Small washer
|
4
|
||
| Serrated flange nut |
4
|
||
| Straight-barb fitting |
2
|
||
| Hose clamp
|
3
|
||
| Filter assembly
|
1
|
||
| Hose protector
|
1
|
||
| Cable ties
|
2
|
||
| Pump cover
|
1
|
||
| 7
|
Hose—61 cm (24 inches) |
2
|
Install the rinse tank
hoses. |
| Hose clamp
|
6
|
||
| T-fitting
|
1
|
||
| Hose—180 cm (71 inches) |
1
|
||
| 8
|
Fuse (40 A)
|
2
|
Install the relay, fuse,
and dash switch. |
| Power relay
|
6
|
||
| Self-tapping bolt (#10) (S/N 420000000
and Up) |
1
|
||
| Bolt (#10) (419999999 and Before) |
2
|
||
| Locknut (#10) (S/N 315000000 through
419999999) |
2
|
||
| R-Clamp (S/N 315000000 through
315999999) |
1
|
||
| Relay (5-pin) (S/N 315000000 through
315999999) |
1
|
||
| 3-position switch with light (315000000
and before) |
1
|
||
| 3-position switch |
1
|
![]() |
Caution | |



| 1
|
Hose—73.7 cm (29 inches) |
| 1
|
Rinse tank
|
| 1
|
90° fitting
|
| 1
|
Hose clamp
|
| 1
|
Retaining fork
|



| 2
|
Hold down (rinse tank) |
| 2
|
Bolt (3/8 x 1-1/2 inches) |
| 4
|
Large washer
|
| 2
|
Flange locknut (3/8 inch) |


| Important |



| Important |
| 2
|
Rinse nozzle assembly |
| 2
|
Bulkhead fitting assembly |
| 2
|
90° fitting
|




| 1
|
Rinse tank pump
|
| 4
|
Bolt (1/4 x 1-3/4 inches) |
| 4
|
Small washer
|
| 4
|
Serrated flange nut |
| 2
|
Straight-barb fitting |

onto the saddle plate
with 4 bolts (1/4 x 1-3/4 inches)
, 4 small washers
, and 4 serrated flange nuts (1/4
inch)
.

| 3
|
Hose clamp
|
| 1
|
Hose—20.3 cm (8 inches)—previously cut
|
| 1
|
Filter assembly
|
| 1
|
Hose protector
|
| 2
|
Cable ties
|



| 1
|
Pump cover
|

| 2
|
Hose—61 cm (24 inches) |
| 6
|
Hose clamp
|
| 1
|
T-fitting
|
| 1
|
Hose—180 cm (71 inches) |



| 1
|
Fuse (40 A)
|
| 1
|
Power relay
|
| 1
|
Self-tapping bolt (#10) |
to the open slot in the fuse
block (if needed).
next to the other relays
of the same style on the electrical panel using a bolt (#10)
.
on the machine wire harness
and connect it to power relay (4-pin).| Machines with Serial Number 315000000 through 419999999 | |
| 1
|
Power relay (4-pin) |
| 2
|
Flange-head bolt (#10-24 x 1/2
inch) |
| 2
|
Locknut (#10)
|
| Machines with Serial Number 315000000 through 315999999 only | |
| 1
|
Delay timer
|
| 1
|
R-Clamp
|
| 1
|
Relay (5-pin)
|
with the R-Clamp
and hardware from the electrical
panel.

| 1
|
3-position switch (with indicator
light—Multi Pro machines with Serial
Number 315000000 and before)
|
| 1
|
3-position switch (without indicator
light—Multi Pro machines with Serial
Number 316000000 and after)
|

| Important |


| Important |


| Important |