| Maintenance Service Interval | Maintenance Procedure |
|---|---|
| Before each use or daily |
|
This utility vehicle is intended to be primarily used off-highway to transport people and material loads. Using this product for purposes other than its intended use could prove dangerous to you and bystanders.
Read this information carefully to learn how to operate and maintain your product properly and to avoid injury and product damage. You are responsible for operating the product properly and safely.
Visit www.Toro.com for product safety and operation training materials, accessory information, help finding a dealer, or to register your product.
Whenever you need service, genuine Toro parts, or additional information, contact an Authorized Service Distributor or Toro Customer Service and have the model and serial numbers of your product ready. Figure 1 identifies the location of the model and serial numbers on the product. Write the numbers in the space provided.
Important: With your mobile device, you can scan the QR code on the serial number decal (if equipped) to access warranty, parts, and other product information.

This manual uses 2 words to highlight information. Important calls attention to special mechanical information and Note emphasizes general information worthy of special attention.
The safety-alert symbol (Figure 2) appears both in this manual and on the machine to identify important safety messages that you must follow to avoid accidents. This symbol will appear with the word Danger, Warning, or Caution.
Danger indicates an imminently hazardous situation which, if not avoided, will result in death or serious injury.
Warning indicates a potentially hazardous situation which, if not avoided, could result in death or serious injury.
Caution indicates a potentially hazardous situation which, if not avoided, may result in minor or moderate injury.

This product complies with all relevant European directives; for details, please see the separate product specific Declaration of Conformity (DOC) sheet.
It is a violation of California Public Resource Code Section 4442 or 4443 to use or operate the engine on any forest-covered, brush-covered, or grass-covered land unless the engine is equipped with a spark arrester, as defined in Section 4442, maintained in effective working order or the engine is constructed, equipped, and maintained for the prevention of fire.
The enclosed engine owner's manual is supplied for information regarding the US Environmental Protection Agency (EPA) and the California Emission Control Regulation of emission systems, maintenance, and warranty. Replacements may be ordered through the engine manufacturer.
If this machine is equipped with a telematics device, refer to your authorized Toro distributor for instructions to activate the device.
CALIFORNIA
Proposition 65 Warning
Diesel engine exhaust and some of its constituents are known to the State of California to cause cancer, birth defects, and other reproductive harm.
Battery posts, terminals, and related accessories contain lead and lead compounds, chemicals known to the State of California to cause cancer and reproductive harm. Wash hands after handling.
This product is capable of causing personal injury. Always follow all safety instructions to avoid serious personal injury.
Read and understand the contents of this Operator’s Manual before you start the machine. Ensure that everyone using this product knows how to use it and understands the warnings.
Use your full attention while operating the machine. Do not engage in any activity that causes distractions; otherwise, injury or property damage may occur.
Do not put your hands or feet near moving components of the machine.
Do not operate the machine without all guards and other safety protective devices in place and working on the machine.
Keep bystanders and children out of the operating area. Never allow children to operate the machine.
Stop and shut off the machine and remove the key before servicing or fueling.
Improperly using or maintaining this machine can result in injury.
To reduce the potential for injury, comply with these safety instructions
and always pay attention to the safety-alert symbol
, which means Caution, Warning,
or Danger—personal safety instruction. Failure to comply with
these instructions may result in personal injury or death.
![]() |
Safety decals and instructions are easily visible to the operator and are located near any area of potential danger. Replace any decal that is damaged or missing. |


























Note: Determine the left and right side of the machine from the normal operating position.
Parts needed for this procedure:
| Steering wheel | 1 |
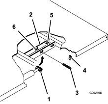
Release the tabs on the back of the steering wheel that hold the center cover in place, and remove the cover from the hub of the steering wheel.
Remove the locknut and washer from the steering shaft.
Slide the steering wheel and washer onto the shaft.
Note: Align the steering wheel on the shaft so that the cross beam is horizontal when the tires are pointed straight ahead and the thicker spoke of the steering wheel is downward.
Note: The dust cover is positioned onto the steering shaft at the factory.
Secure the steering wheel to the shaft with the locknut and torque the locknut to 24 to 29 N∙m (18 to 22 ft-lb) as shown in Figure 3.
Align the tabs of the cover with the slots in the steering wheel and snap the cover onto the steering wheel hub (Figure 3).

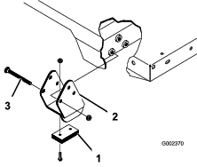
Parts needed for this procedure:
| Roll bar | 1 |
| Flange-head bolt (1/2 x 1-1/4 inches) | 6 |
Apply medium-grade (service-removable) thread-locking compound to the threads of the 6 flange-head bolts (1/2 x 1-1/4 inches).
Align each side of the roll bar with the mounting holes on each side of the machine frame (Figure 4).

Secure the roll bar mounting bracket to the machine frame using 3 flange-head bolts (1/2 x 1-1/4 inches) on each side (Figure 4).
Torque the flange-head bolts (1/2 x 1-1/4 inches) to 115 N∙m (85 ft-lb).
Check the engine-oil level before and after you first start the engine; refer to Checking the Engine-Oil Level.
Check the transaxle/hydraulic-fluid level before you first start the engine; refer to Checking the Transaxle/Hydraulic-Fluid Level.
Check the brake-fluid level before you first start the engine; refer to Checking the Brake-Fluid Level.
Check the air pressure in the tires; refer to Checking the Tire Pressure.
To ensure optimum performance of the brake system, burnish the brakes before use.
Bring the machine up to full speed, apply the brakes to rapidly stop the machine without locking up the tires.
Repeat this procedure 10 times, waiting 1 minute between stops, to avoid overheating the brakes.
Important: This procedure is most effective if the machine is loaded with 454 kg (1,000 lb).
Become familiar with all the controls before you start the engine and operate the machine.


Use the accelerator pedal (Figure 7) to vary the ground speed of the machine when the transmission is in gear. Pressing down the accelerator pedal increases the engine speed and ground speed. Releasing the pedal decreases the engine speed and ground speed.

You must fully press the clutch pedal (Figure 7) to disengage the clutch when starting the engine or shifting transmission gears. Release the pedal smoothly when the transmission is in gear to prevent unnecessary wear on the transmission and other related parts.
Important: Do not ride the clutch pedal during operation. The clutch pedal must be fully out or the clutch slips, causing heat and wear. Never hold the machine stopped on a hill using the clutch pedal. Damage to the clutch may occur.
Use the brake pedal to stop or slow the machine (Figure 7).
Operating a machine with worn or incorrectly adjusted brakes can may result in personal injury.
If the brake pedal travels to within 25 mm (1 inch) of the machine floor board, adjust or repair the brakes.
Fully press the clutch pedal and move the shift lever (Figure 8) into the desired gear selection. A diagram of the shift pattern is shown below.

Important: Do not shift the transaxle to the REVERSE or FORWARD gear unless the machine is motionless; otherwise, you could damage the transaxle.
Down-shifting from too high a speed can cause the rear wheels to skid, resulting in loss of machine control as well as clutch and/or transmission damage.
Shift smoothly to avoid grinding the gears.
The differential lock (Figure 9) allows the rear axle to lock for increased traction. You can engage the differential lock when the machine is in motion.
Move the lever forward and to the right to engage the lock.
Note: Machine motion plus a slight turn is required to engage or disengage the differential lock.
Turning with the differential lock on can result in the loss of machine control.
Do not operate the machine with the differential lock on when making sharp turns or at high speeds; refer to Adjusting Differential-Lock Cable.

Whenever you shut off the engine, engage the parking brake (Figure 9) to prevent the machine from accidentally moving.
To engage the parking brake, pull back on the parking-brake lever.
To disengage the parking brake, push the parking-brake lever forward.
Note: Disengage the parking brake before moving the machine.
If you park the machine on a steep grade, engage the parking brake, shift the transmission into FIRST gear on a uphill grade or REVERSE gear on a downhill grade, and place chocks at the downhill side of the wheels.
The hydraulic lift raises and lowers the bed. Move it rearward to raise the bed, and forward to lower it (Figure 9).
Important: When lowering the bed, hold the lever in the forward position for 1 to 2 seconds after the bed contacts the frame to secure it in the lowered position. Do not hold the hydraulic lift in the raise or lower position for more than 5 seconds, once the cylinders reach the end of their travel.
The hydraulic-lift lock secures the lift lever, so that the hydraulic cylinders do not operate when the machine is not equipped with a bed (Figure 9). It also locks the lift lever in the ON position when using the hydraulics for attachments.
The high-low range shifter adds 3 additional speeds for precise speed control (Figure 9):
You must stop the machine completely before shifting between the HIGH and LOW range.
Shift on level ground only.
Press the clutch pedal fully.
Move the lever fully forward for HIGH and fully rearward for LOW.
HIGH range—For higher speed driving on level, dry surfaces with light loads.
LOW range—For low-speed driving. Use this range when greater than normal power or control is necessary. For example, steep grades, difficult terrain, heavy loads, slow speed but high-engine speed (spraying).
Important: There is a location between HIGH and LOW in which the transaxle is in neither range. Do not use this position as a NEUTRAL position, because the machine could move unexpectedly if the High-Low shifter is bumped and the gear-shift lever is in gear.
To engage the 4-wheel drive manually, press and hold the 4WD button (Figure 9) on the center console while the vehicle is in motion and the 4-wheel drive engages.
Use the key switch (Figure 5) to start and shut off the engine.
The key switch has 3 positions: OFF, ON, and START. Rotate the key switch clockwise to the START position to engage the starter motor. Release the key switch when the engine starts. The key switch moves automatically to the ON position.
To shut the engine off, rotate the key switch counterclockwise to the OFF position.
Move the supervisor switch (Figure 5) to the SLOW position and remove the key. The supervisor switch limits the engine speed to 2,200 rpm when the machine is in third gear in the HIGH range, which limits the top speed to 21 km/h (13 mph).
The hour meter (Figure 6) indicates the total hours of machine operation.
The hour meter starts to function whenever you rotate the key switch to the ON position and the engine speed (rpm) is over 500 rpm every 6 minutes.
Move the third-high-lockout switch (Figure 5) to the SLOW position and remove the key to prevent the use of third gear when in the HIGH range. The engine shuts off if the shift lever moves to third gear when in HIGH range.
Note: The key is removable in either position.
Push the light switch (Figure 5) to toggle the headlights on or off.
The oil-pressure-warning light (Figure 6) illuminates if the engine-oil pressure drops below a safe level while the engine is running.
Important: If the light flickers or remains on, stop the machine, shut off the engine, and check the oil level. If the oil level is low, but adding oil does not cause the light to go out when the engine is started, shut off the engine immediately, and contact your Authorized Service Dealer for assistance.
Check the operation of the warning lights as follows:
Engage the parking brake.
Turn the key switch to the ON/PREHEAT position, but do not start the engine.
Note: The oil-pressure light should glow red. If the light does not function, either a bulb is burned out or there is a malfunction in the system that you must repair.
Note: If engine was just shut off, it may take 1 to 2 minutes for the light to come on.
The glow-plug indicator light (Figure 6) illuminates red when the glow plugs are activated.
Important: The glow-plug indicator light turns on for an additional 15 seconds when the switch returns to the START position.
The coolant-temperature gauge and light registers the coolant temperature in the engine and operates only when the key switch is in ON position (Figure 6).
The 5 coolant bars blink if the engine overheats.
The charge indicator illuminates when the battery discharges. If the light illuminates during operation, stop the machine, shut off the engine, and check for possible causes, such as the alternator belt (Figure 6).
Important: If the alternator belt is loose or broken, do not operate the machine until the adjustment or repair is complete. Failure to observe this precaution may damage the engine.
Check the operation of the warning lights as follows:
Engage the parking brake.
Turn the key switch to the ON/PREHEAT position, but do not start the engine. The coolant temperature, charge indicator, and oil-pressure lights should glow. If any light does not function, either a bulb is burned out or there is a malfunction in the system that you must repair.
The fuel gauge shows the amount of fuel in the tank. It displays only when key switch is in the ON position (Figure 6).
A single bar indicates a low fuel level and 1 flashing bar indicates that the fuel tank is nearly empty.
When the 4WD switch (Figure 5) is on, the machine automatically engages the 4-wheel drive if the sensor detects the back wheels spinning freely. When the 4-wheel drive is engaged, the 4WD switch light turns on.
4WD works only in the forward direction in AUTO mode. If you want it in REVERSE, press the 4WD button.
Turn on the switch to activate the high-flow hydraulics (Figure 5).
The horn switch is located on the control panel (Figure 5). Press the horn switch to sound the horn.
The tachometer displays the speed of the engine (Figure 6).
Note: 3,300 rpm is the desired engine speed for 540 rpm PTO operation.
The speedometer registers the ground speed of the machine (Figure 6).
Use the power point (Figure 5) to power optional 12 V electrical accessories.
The passenger handhold is located on the dashboard (Figure 10).

You can adjust the seat forward and rearward for your comfort (Figure 11).

Note: Specifications and design are subject to change without notice.
| Overall width | 160 cm (63 inches) |
| Overall length | Without bed: 326 cm (128 inches) |
| With full bed: 331 cm (130 inches) | |
| With 2/3 bed in rear-mounting location: 346 cm (136 inches) | |
| Base weight (dry) | Model 07385: 887 kg (1,956 lb) |
| Model 07385TC: 924 kg (2,037 lb) | |
| Model 07387: 914 kg (2,015 lb) | |
| Model 07387TC: 951 kg (2,096 lb) | |
| Rated capacity (includes 91 kg (200 lb) operator, 91 kg (200 lb) passenger, and loaded attachment) | Model 07385: 1471 kg (3,244 lb) |
| Model 07385TC: 1435 kg (3,163 lb) | |
| Model 07387: 1445 kg (3,185 lb) | |
| Model 07387TC: 1408 kg (3,104 lb) | |
| Maximum gross vehicle weight (GVW) | 2359 kg (5,200 lb) |
| Tow capacity | Tongue weight: 272 kg (600 lb) |
| Maximum trailer weight: 1587 kg (3,500 lb) | |
| Ground clearance | 18 cm (7 inches) with no load |
| Wheel base | 118 cm (70 inches) |
| Wheel tread (center line to center line) | Front: 117 cm (46 inches) |
| Rear: 121 cm (48 inches) | |
| Height | 191 cm (75 inches) to the top of the roll bar |
A selection of Toro approved attachments and accessories is available for use with the machine to enhance and expand its capabilities. Contact your Authorized Service Dealer or Distributor or go to www.Toro.com for a list of all approved attachments and accessories.
To ensure optimum performance and continued safety certification of the machine, use only genuine Toro replacement parts and accessories. Replacement parts and accessories made by other manufacturers could be dangerous, and such use could void the product warranty.
Never allow children or people who are not trained or physically capable to safely operate or service the machine. Local regulations may restrict the age of the operator. The owner is responsible for training all operators and mechanics.
Become familiar with the safe operation of the equipment, operator controls, and safety signs.
Shut off the machine, remove the key, and wait for all movement to stop before you leave the operator’s position. Allow the machine to cool before adjusting, servicing, cleaning, or storing it.
Know how to stop and shut off the machine quickly.
Ensure that there are not more occupants (you and your passenger(s)) than the number of handholds equipped on the machine.
Check that all safety devices and decals are in place. Repair or replace all safety devices and replace all illegible or missing decals. Do not operate the machine unless they are present and functioning properly.
Use extreme care in handling fuel. It is flammable and its vapors are explosive.
Extinguish all cigarettes, cigars, pipes, and other sources of ignition.
Use only an approved fuel container.
Do not remove the fuel cap or fill the fuel tank while the engine is running or hot.
Do not add or drain fuel in an enclosed space.
Do not store the machine or fuel container where there is an open flame, spark, or pilot light, such as on a water heater or other appliance.
If you spill fuel, do not attempt to start the engine; avoid creating any source of ignition until the fuel vapors have dissipated.
| Maintenance Service Interval | Maintenance Procedure |
|---|---|
| Before each use or daily |
|
Before starting the machine each day, perform the Each Use/Daily procedures listed in .
| Maintenance Service Interval | Maintenance Procedure |
|---|---|
| Before each use or daily |
|
Front tires air pressure specification: 220 kPa (32 psi)
Rear tires air pressure specification: 124 kPa (18 psi)
Important: Check the tire pressure frequently to ensure proper inflation. If the tires are not inflated to the correct pressure, the tires will wear prematurely and may cause the 4-wheel drive to bind.
Figure 12 shows an example of tire wear caused by under-inflation.

Figure 13 shows an example of tire wear caused by over-inflation.

Use only clean, fresh diesel fuel or biodiesel fuels with low (<500 ppm) or ultra-low (<15 ppm) sulfur content. The minimum cetane rating should be 40. Purchase fuel in quantities that can be used within 180 days to ensure fuel freshness.
Use summer grade diesel fuel (No. 2-D) at temperatures above -7°C (20°F) and winter grade (No. 1-D or No. 1-D/2-D blend) below that temperature.
Using winter-grade fuel at lower temperatures provides lower flash point and cold-flow characteristics, which eases starting and reduces fuel-filter plugging.
Note: Using of summer-grade fuel above -7°C (20°F) contributes toward longer fuel pump life and increased power compared to winter-grade fuel.
Important: Do not use kerosene or gasoline instead of diesel fuel. Failure to observe this caution will damage the engine.
This machine can also use a biodiesel blended fuel of up to B20 (20% biodiesel, 80% petrodiesel). The petrodiesel portion should be low or ultra-low sulfur. Observe the following precautions:
The biodiesel portion of the fuel must meet specification ASTM D6751 or EN14214.
The blended fuel composition should meet ASTM D975 or EN590.
Painted surfaces may be damaged by biodiesel blends.
Use B5 (biodiesel content of 5%) or lesser blends in cold weather.
Monitor seals, hoses, gaskets in contact with fuel as they may degrade over time.
Fuel filter plugging may be expected for a time after converting to biodiesel blends.
Contact your distributor for more information on biodiesel.
Fuel-tank capacity: 22 L (5.85 US gallons).
Clean the area around the fuel-tank cap.
Remove the fuel-tank cap (Figure 14).

Fill the tank slightly below the top of the tank, (bottom of the filler neck), then install the cap.
Note: Do not overfill the fuel tank with fuel.
Wipe up any spilled fuel to prevent a fire hazard.
| Maintenance Service Interval | Maintenance Procedure |
|---|---|
| After the first 100 hours |
|
Perform the following to provide proper performance for the machine:
Ensure that the brakes are burnished; refer to Burnishing the Brakes.
Check the fluid and engine-oil levels regularly. Remain alert for signs that the machine or its components are overheating.
After starting a cold engine, let it warm up for about 15 seconds before using the machine.
Note: Allow more time for the engine to warm up when operating in cold temperatures.
Vary the machine speed during operation. Avoid fast starts and quick stops.
A break-in oil for the engine is not required. Original engine oil is the same type specified for regular oil changes.
Refer to for any special, low-hour checks.
| Maintenance Service Interval | Maintenance Procedure |
|---|---|
| Before each use or daily |
|
The purpose of the safety-interlock system is to prevent the engine from cranking or starting, unless you press the clutch pedal.
If the safety-interlock switches are disconnected or damaged, the machine could operate unexpectedly, causing personal injury.
Do not tamper with the safety-interlock switches.
Check the operation of the safety-interlock switches daily, and replace any damaged switches before operating the machine.
Note: Refer to the attachment Operator’s Manual for procedures on checking the attachment interlock system.
Sit on the operator’s seat and engage the parking brake.
Move the shift lever to the NEUTRAL position.
Note: The engine does not start if the hydraulic-lift lever is locked in the forward position.
Without pressing the clutch pedal, rotate the key switch clockwise to the START position.
Note: If the engine cranks or starts, there is a malfunction in the interlock system that you must repair before operating the machine.
Sit on the operator’s seat and engage the parking brake.
Move the shift lever to the NEUTRAL position and ensure that the hydraulic-lift lever is in the center position.
Press the clutch pedal.
Move the hydraulic-lift lever forward and rotate the key switch to the START position.
Note: If the engine cranks or starts, there is a malfunction in the interlock system that you must repair before operating the machine.
The owner/operator can prevent and is responsible for accidents that may cause personal injury or property damage.
Passengers should sit in the designated seating positions only. Do not carry passengers in the cargo bed. Keep bystanders and children out of the operating area.
Wear appropriate clothing, including eye protection; long pants; substantial, slip-resistant footwear; and hearing protection. Tie back long hair and do not wear loose clothing or loose jewelry.
Use your full attention while operating the machine. Do not engage in any activity that causes distractions; otherwise, injury or property damage may occur.
Do not operate the machine while ill, tired, or under the influence of alcohol or drugs.
Operate the machine outdoors or in a well-ventilated area only.
Do not exceed the maximum gross vehicle weight (GVW) of the machine.
Use extra caution when operating, braking, or turning the machine with a heavy load in the cargo bed.
Carrying oversized loads in the cargo bed reduces the stability of the machine. Do not exceed the carrying capacity of the bed.
Carrying material that cannot be bound to the machine adversely affects the steering, braking, and stability of the machine. When you carry material that cannot be bound to the machine, use caution when steering or braking.
Carry a reduced load and reduce the ground speed of the machine when operating on rough, uneven terrain, and near curbs, holes, and other sudden changes in terrain. Loads may shift, causing the machine to become unstable.
Before you start the machine, ensure that the transmission is in neutral, the parking brake is engaged, and you are in the operating position.
You and your passengers should remain seated whenever the machine is moving. Keep your hands on the steering wheel; your passengers should use the handholds provided. Keep arms and legs within the machine body at all times.
Operate the machine only in good visibility. Watch for holes, ruts, bumps, rocks, or other hidden objects. Uneven terrain could overturn the machine. Tall grass can hide obstacles. Use care when approaching blind corners, shrubs, trees, or other objects that may obscure your vision.
Do not drive the machine near drop-offs, ditches, or embankments. The machine could suddenly roll over if a wheel goes over the edge or if the edge gives way.
Always watch out for and avoid low overhangs such as tree limbs, door jambs, overhead walkways, etc.
Look behind and down before reversing the machine to be sure of a clear path.
When using the machine on public roads, follow all traffic regulations and use any additional accessories that may be required by law, such as lights, turn signals, slow-moving vehicle (SMV) signs, and others as required.
If the machine ever vibrates abnormally, stop and shut off the machine immediately, wait for all movement to stop, and inspect for damage. Repair all damage to the machine before resuming operation.
It can take longer to stop the machine on wet surfaces than on dry surfaces. To dry out wet brakes, drive slowly on a level surface while putting light pressure on the brake pedal.
Operating the machine at high speed and then quickly stopping may cause the rear wheels to lock up, which impairs your control of the machine.
Do not touch the engine, transmission, muffler, or muffler manifold while the engine is running, or soon after you shut off the engine, because these areas may be hot enough to cause burns.
Do not leave a running machine unattended.
Before you leave the operating position, do the following:
Park the machine on a level surface.
Shift the transmission to the NEUTRAL position.
Engage the parking brake.
Lower the cargo bed.
Shut off the machine and remove the key.
Wait for all movement to stop.
Do not operate the machine when there is the risk of lightning.
Use accessories and attachments approved by The Toro® Company only.
The ROPS is an integral safety device.
Do not remove the ROPS from the machine.
Always wear your seat belt; ensure that it is attached and that you can release it quickly in an emergency.
Check carefully for overhead obstructions and do not contact them.
Keep the ROPS in safe operating condition by thoroughly inspecting it periodically for damage and keeping all the mounting fasteners tight.
Replace damaged ROPS components. Do not repair or alter them.
Slopes are a major factor related to loss-of-control and tip-over accidents, which can result in severe injury or death.
Survey the site to determine which slopes are safe for operating the machine and establish your own procedures and rules for operating on those slopes. Always use common sense and good judgment when performing this survey.
If you feel uneasy operating the machine on a slope, do not do it.
Keep all movement on slopes slow and gradual. Do not suddenly change the speed or direction of the machine.
Avoid operating the machine on wet terrain. Tires may lose traction. A rollover can occur before the tires lose traction.
Travel straight up and down a slope.
If you begin to lose momentum while climbing a slope, gradually engage the brakes and slowly reverse the machine straight down the slope.
Turning while going up or down a slope can be dangerous. If you must turn on a slope, do it slowly and cautiously.
Heavy loads affect stability on a slope. Carry a reduced load and reduce your ground speed when operating on a slope or if the load has a high center of gravity. Secure the load to the cargo bed of the machine to prevent the load from shifting. Take extra care when hauling loads that shift easily (e.g., liquids, rock, sand, etc.).
Avoid starting, stopping, or turning the machine on a slope, especially with a load. Stopping while going down a slope takes longer than stopping on level ground. If you must stop the machine, avoid sudden speed changes, which can cause the machine to tip or roll over. Do not engage the brakes suddenly when rolling rearward, as this may cause the machine to overturn.
Do not exceed the gross vehicle weight (GVW) of the machine when operating it with a load in the cargo bed and/or towing a trailer; refer to Specifications.
Distribute the load in the cargo bed evenly to improve the stability and control of the machine.
Before dumping, ensure that there is no one behind the machine.
Do not dump a loaded cargo bed while the machine is sideways on a slope. The change in weight distribution may cause the machine to overturn.
A raised bed could fall and injure persons that are working beneath it.
Always use the prop rod to hold the bed up before working under the bed.
Remove any load material from the bed before raising it.
Driving the machine with the cargo bed raised could cause the machine to tip or roll easier. You could damage the structure of the cargo bed if you operate the machine with the bed raised.
Operate the machine when the cargo bed is down.
After emptying the cargo bed, lower it.
If a load is concentrated near the back of the cargo bed when you release the latches, the bed may unexpectedly tip open, injuring you or bystanders.
Center loads in the cargo bed, if possible.
Hold the cargo bed down and ensure that no one is leaning over the bed or standing behind it when releasing the latches.
Remove all cargo from the bed before lifting the bed up to service the machine.
Move the lever rearward to raise the cargo bed (Figure 15).

The weight of the bed may be heavy. Hands or other body parts could be crushed.
Keep your hands and other body parts away when lowering the bed.
Move the lever forward to lower the cargo bed (Figure 15).
Ensure that the cargo bed is down and latched.
Open the latches on the left and right side of the cargo bed and lower the tailgate (Figure 16).

Sit on the operator’s seat and engage the parking brake.
Disengage the PTO and high-flow hydraulics (if equipped) and move the hand-throttle lever to the OFF position (if equipped).
Move the shift lever to the NEUTRAL position and press the clutch pedal.
Ensure that the hydraulic-lift lever is in the center position.
Keep your foot off the accelerator pedal.
Rotate the key switch to the ON position.
Note: When the glow-plug-indicator light turns on, the engine is ready to start.
Rotate the key switch to the START position.
Note: Release the key immediately when the engine starts and allow it to return to the RUN position.
Note: The glow-plug indicator turns on for an additional 15 seconds when the switch returns to the RUN position.
Note: Do not run the starter motor more than 10 seconds at a time or premature starter failure may result. If engine fails to start after 10 seconds, turn the key to the OFF position. Check the controls and starting procedure, wait 10 additional seconds, and repeat the starting operation.
To enable automatic 4-Wheel Drive, press the top of the rocker switch into the 4X4 AUTO position (Figure 17).

When the 4WD switch is on, the machine automatically engages the 4-wheel drive if the sensor detects the back wheels spinning freely. When the 4-wheel drive is engaged, the 4WD switch light turns on.
Important: When in reverse, the machine does not automatically engage the 4-wheel drive. In reverse, you must manually engage the 4-wheel drive using the 4WD button.
To engage the 4-wheel drive manually, press and hold the 4WD button on the center console while the vehicle is in motion and the 4-wheel drive engages.
Note: The 4-wheel drive remains engaged only as long as you hold the button; the 4WD switch does not need to be in the AUTO position to manually engage the 4-wheel drive.
Disengage the parking brake.
Fully press the clutch pedal.
Move the gear-shift lever to first gear.
Release the clutch pedal smoothly while pressing the accelerator pedal.
When the machine gains enough speed, remove your foot from the accelerator pedal, fully press the clutch pedal, move the gear-shift lever to the next gear, and release the clutch pedal while pressing the accelerator pedal.
Repeat the procedure until the desired speed is attained.
Important: Always stop the machine before shifting to reverse from a forward gear or to a forward gear from reverse.
Note: Avoid long periods of engine idling.
Use the chart below to determine the ground speed of the machine at 3,600 rpm.
| Gear | Range | Ratio | Speed (kmh) | Speed (mph) |
|---|---|---|---|---|
| 1 | L | 82.83 : 1 | 4.7 | 2.9 |
| 2 | L | 54.52 : 1 | 7.2 | 4.5 |
| 3 | L | 31.56 : 1 | 12.5 | 7.7 |
| 1 | H | 32.31 : 1 | 12.2 | 7.6 |
| 2 | H | 21.27 : 1 | 18.5 | 11.5 |
| 3 | H | 12.31 : 1 | 31.9 | 19.8 |
| R | L | 86.94 : 1 | 4.5 | 2.8 |
| R | H | 33.91 : 1 | 11.6 | 7.1 |
Important: Do not attempt to push or tow the machine to get it started. Damage to the drive train could result.
To stop the machine, remove your foot from the accelerator pedal, then press the brake pedal.
Park the machine on a level surface.
Engage the parking brake.
Rotate the key switch to the OFF position and remove the key.
Tipping or rolling the machine on a hill will cause serious injury.
The extra traction available with the differential lock can be enough to get you into dangerous situations, such as climbing slopes that are too steep to turn around. Be careful when operating with the differential lock on, especially on steeper slopes.
If the differential lock is on when making a sharp turn at a higher speed and the inside rear wheel lifts off the ground, there may be a loss of control, which could cause the machine to skid. Use the differential lock only at slower speeds.
Turning with the differential lock on can result in loss of machine control. Do not operate with differential lock on when making sharp turns or at high speeds.
The differential lock increases the machine traction by locking the rear wheels so that a wheel does not spin out. This can help when you have heavy loads to haul on wet turf or slippery areas, going up hills, or on sandy surfaces. It is important to remember, however, that this extra traction is for temporary limited use only. Its use does not replace the safe operation.
The differential lock causes the rear wheels to spin at the same speed. When using the differential lock, your ability to make sharp turns is somewhat restricted, and may scuff the turf. Use the differential lock only when necessary, at slower speeds, and only in first or second gear.
The hydraulic control supplies hydraulic power from the machine pump whenever the engine runs. You can use the power through the quick couplers at the rear of the machine.
Hydraulic fluid escaping under pressure can have sufficient force to penetrate skin and can cause serious injury.
Use care when connecting or disconnecting hydraulic quick couplers. Shut off the engine, engage the parking brake, lower the attachment, and place the remote hydraulic valve in the float detent position to relieve the hydraulic pressure before connecting or disconnecting the quick couplers.
Important: If multiple machines use the same attachment, cross-contamination of the transmission fluid may occur. Change the transmission fluid more frequently.
OFF Position
This is the normal position for the control valve when it is not in use. In this position, the work ports of the control valve are blocked and any load is held by the check valves in both directions.
RAISE (Quick Coupler A) Position
This position lifts the bed and rear hitch attachment, or applies pressure to quick coupler A. This position also allows hydraulic fluid to return from quick coupler B to flow back into the valve and then out to the reservoir. This is a momentary position, and when you release the lever, it spring-returns to the center, OFF position.

LOWER (Quick Coupler B) Position
This position lowers the bed, rear hitch attachment, or applies pressure to quick coupler B. This also allows hydraulic fluid to return from quick coupler A to flow back into the valve and then out to the reservoir. This is a momentary position, and when you release the lever, it spring-returns to the center, OFF position. Momentarily holding and then releasing the control lever in this position provides hydraulic-fluid flow to quick coupler B, which provides power down on the rear hitch. When you release it, it holds the down-pressure on the hitch.
Important: If you use it with a hydraulic cylinder, holding the control lever in the lower position causes the hydraulic-fluid flow to go over a relief valve, which can damage the hydraulic system.
ON Position
This position is similar to the LOWER (QUICK COUPLER B POSITION). It also directs hydraulic fluid to quick coupler B, except that the lever is held in this position by a detent lever in the control panel. This allows hydraulic fluid to flow continuously to equipment that use a hydraulic motor.
Use this position only on attachments with a hydraulic motor attached.
Important: If you use it with a hydraulic cylinder or no attachment, the ON position causes the hydraulic-fluid flow to go over a relief valve, which can damage the hydraulic system. Use this position only momentarily or with a motor attached.
Important: Check the hydraulic-fluid level after installation of an attachment. Check the operation of the attachment by cycling the attachment several times to purge air from the system, then check hydraulic-fluid level again. The attachment cylinder slightly affects the fluid level in the transaxle. Operating the machine with a low hydraulic-fluid level can damage the pump, remote hydraulics, power steering, and machine transaxle.
Important: Clean dirt from the quick couplers before connecting them. Dirty couplers can introduce contamination into the hydraulic system.
Pull back the locking ring on the coupler.
Insert the hose nipple into the coupler until it snaps into position.
Note: When attaching remote equipment to the quick couplers, determine which side requires pressure, then attach that hose to quick coupler B, which has pressure when you push the control lever forward or locked in the ON position.
Note: With both the machine and attachment shut off, move the lift lever back and forth to remove the system pressure and ease the disconnection of the quick couplers.
Pull back the locking ring on the coupler.
Pull the hose firmly from the coupler.
Important: Clean and install the dust plug and dust covers to the quick coupler ends when not in use.
Difficulty in connecting or disconnecting quick couplers.
The pressure is not relieved (the quick coupler is under pressure).
The power steering is turning with great difficulty or it is not turning at all.
The hydraulic-fluid level is low.
The hydraulic-fluid temperature is too hot.
The pump is not operating.
There are hydraulic leaks.
The fittings are loose.
The fitting is missing the O-ring.
An attachment does not function.
The quick couplers are not fully engaged.
The quick couplers are interchanged.
There is a squealing noise.
Remove the valve left in the ON position detent, causing hydraulic fluid to flow over the relief valve.
The belt is loose.
The engine does not start.
The hydraulic lever is locked in the FORWARD position.
Before you leave the operating position, do the following:
Park the machine on a level surface.
Shift the transmission to the NEUTRAL position.
Engage the parking brake.
Lower the cargo bed.
Shut off the machine and remove the key.
Wait for all movement to stop
Allow the machine to cool before adjusting, servicing, cleaning, or storing it.
Do not store the machine where there is an open flame, spark, or pilot light, such as on a water heater or other appliance.
Keep all parts of the machine in good working condition and all hardware tightened.
Maintain and clean the seat belt(s) as necessary.
Replace all worn, damaged, or missing decals.
Use care when loading or unloading the machine into a trailer or a truck.
Use full-width ramps for loading the machine into a trailer or a truck.
Tie the machine down securely.
Refer to Figure 19 and Figure 20 for the tie-down locations on the machine.
Note: Load the machine on the trailer with the front of the machine facing forward. If that is not possible, secure the machine hood to the frame with a strap, or remove the hood and transport and secure it separately; otherwise, the hood may blow off during transport.


In case of an emergency, you can tow the machine for a short distance; however, this is not the standard operating procedure.
Towing at excessive speeds could cause a loss of steering control, resulting in personal injury.
Never tow the machine at faster than 8 km/h (5 mph).
Note: The power steering does not function, making it difficult to steer.
Towing the machine is a 2-person job. If you must move the machine a considerable distance, transport it on a truck or trailer.
Affix a tow line to the tongue at the front of the frame of the machine (Figure 19).
Move the transmission to the NEUTRAL position and disengage the parking brake.
The machine is capable of pulling trailers and attachments of greater weight than the machine itself. Several types of tow hitches are available for the machine, depending on your application. Contact your Authorized Service Dealer for details.
When equipped with a tow hitch bolted onto the rear axle tube, your machine can tow trailers or attachments with a maximum gross trailer weight (GTW) up to 1587 kg (3,500 lb).
Always load a trailer with 60% of the cargo weight in the front of the trailer. This places approximately 10% (272 kg (600 lb) maximum) of the gross trailer weight (GTW) on the tow hitch of the machine.
When hauling cargo or towing a trailer (attachment), do not overload the machine or trailer. Overloading can cause poor performance or damage to the brakes, axle, engine, transaxle, steering, suspension, body structure, or tires.
Important: To reduce potential for drive line damage, use low range.
When towing fifth-wheel attachments, like a fairway aerator, always install the wheel bar (included with the fifth wheel kit) to prevent the front wheels from lifting off the ground if the towed attachments movement is suddenly impaired.
Do not allow untrained personnel to service the machine.
Before you leave the operating position, do the following:
Park the machine on a level surface.
Shift the transmission to the NEUTRAL position.
Engage the parking brake.
Lower the cargo bed.
Shut off the machine and remove the key.
Wait for all movement to stop.
Allow the machine to cool before adjusting, servicing, cleaning, or storing it.
Support the machine with jack stands whenever you work under the machine.
Do not work under a raised bed without the proper bed safety support in place.
Ensure that all hydraulic-line connectors are tight and that all the hydraulic hoses and lines are in good condition before applying pressure to the system.
Before disconnecting or performing any work on the hydraulic system, relieve all pressure in the system by shutting off the motor, cycling the dump valve from raise to lower, and/or lowering the cargo bed and attachments. Place the remote hydraulics lever in the float position. If the bed must be in raised position, secure it with the safety support.
Carefully release pressure from components with stored energy.
Do not charge the batteries while servicing the machine.
To ensure that the entire machine is in good condition, keep all hardware properly tightened.
To reduce the potential fire hazard, keep the machine area free of excessive grease, grass, leaves, and accumulation of dirt.
If possible, do not perform maintenance while the machine is running. Keep away from moving parts.
If you must run the machine to perform a maintenance adjustment, keep your hands, feet, clothing, and any parts of the body away from any moving parts. Keep bystanders away from the machine.
Clean up oil and fuel spills.
Check the parking brake operation as recommended in the maintenance schedule and adjust and service it as required.
Keep all parts of the machine in good working condition and all the hardware properly tightened. Replace all worn or damaged decals.
Never interfere with the intended function of a safety device or reduce the protection provided by a safety device.
Do not overspeed the engine by changing the governor settings. To ensure safety and accuracy, have an Authorized Service Dealer check the maximum engine speed with a tachometer.
If major repairs are ever necessary or assistance is required, contact an authorized Toro distributor.
Altering this machine in any manner may affect the operation of the machine, performance, durability, or its use may result in injury or death. Such use could void the product warranty of The Toro® Company.
| Maintenance Service Interval | Maintenance Procedure |
|---|---|
| After the first 2 hours |
|
| After the first 10 hours |
|
| After the first 50 hours |
|
| After the first 100 hours |
|
| Before each use or daily |
|
| Every 25 hours |
|
| Every 50 hours |
|
| Every 100 hours |
|
| Every 200 hours |
|
| Every 400 hours |
|
| Every 600 hours |
|
| Every 800 hours |
|
| Every 1,000 hours |
|
| Every 2,000 hours |
|
Note: Download a copy of the electrical schematic by visiting www.Toro.com and searching for your machine from the Manuals link on the home page.
Important: Refer to your engine owner’s manual for additional maintenance procedures.
Only qualified and authorized personnel should maintain, repair, adjust, or inspect the machine.
Avoid fire hazards and have fire-protection equipment present in the work area. Do not use an open flame to check fluid levels or leakage of fuel, battery electrolyte, or coolant.
Do not use open pans of fuel or flammable cleaning fluids for cleaning parts.
Failure to properly maintain the machine could result in premature failure of machine systems, causing possible harm to you or bystanders.
Keep the machine well maintained and in good working order as indicated in these instructions.
If you leave the key in the switch, someone could accidently start the engine and seriously injure you or other bystanders.
Shut off the engine and remove the key from the switch before you perform any maintenance.
Important: If the machine is subjected to any of the conditions listed below, perform maintenance twice as frequently:
Desert operation
Cold climate operation—below 10°C (50°F)
Trailer towing
Frequent operation in dusty conditions
Construction work
After extended operation in mud, sand, water, or similar dirty conditions, do the following:
Have your brakes inspected and cleaned as soon as possible. This prevents any abrasive material from causing excessive wear.
Wash the machine using water alone or with a mild detergent.
Important: Do not use brackish or reclaimed water to clean the machine.
Many of the subjects covered in this maintenance section require raising and lowering the bed. To prevent serious injury or death, take the following precautions.
Park the machine on a level surface.
Engage the parking brake.
Empty and raise the cargo bed; refer to Raising the Cargo Bed.
Shut off the engine and remove the key.
Allow the machine to cool before performing maintenance.
Important: Always install or remove the bed support from the outside of the bed.
Raise the bed until the lift cylinders are fully extended.
Remove the bed support from the storage brackets on the back of the ROPS panel (Figure 21).

Push the bed support onto the cylinder rod, and ensure that the support-end tabs rest on the end of the cylinder barrel and cylinder-rod end (Figure 22).

Remove the bed support from the cylinder, and insert it into the brackets on the back of the ROPS panel.
Important: Do not try to lower the bed with the bed-safety support on the cylinder.
Start the engine, engage the hydraulic-lift lever, and lower the bed until the cylinders are loose in the slots.
Release the lift lever and shut off the engine.
Remove the lynch pins from the outer ends of the cylinder rod clevis pins (Figure 23).

Remove the clevis pins securing the cylinder rod ends to the bed-mounting plates by pushing the pins toward the inside (Figure 23).
Remove the lynch pins and clevis pins securing the pivot brackets to the frame channels (Figure 23).
Lift the bed off the machine.
The full bed weighs approximately 148 kg (325 lb), so do not try to install or remove it by yourself.
Use an overhead hoist or get the help of 2 or 3 other people.
Store the cylinders in the storage clips.
Engage the hydraulic lift-lock lever on the machine to prevent accidental extension of the lift cylinders.
Note: If you are installing the bed sides on the flat bed, it is easier to install them before installing the bed on the machine.
Ensure that the rear pivot plates are bolted to the bed frame/channel so that the lower end angles to the rear (Figure 24).

The full bed weighs approximately 148 kg (325 lb), so do not try to install or remove it by yourself.
Use an overhead hoist or get the help of 2 or 3 other people.
Ensure that the spacer brackets and wear blocks (Figure 25) are installed with the carriage-bolt heads positioned inside the machine.

Ensure that the lift cylinders are fully retracted.
Carefully set the bed onto the machine frame, aligning the rear bed pivot-plate holes with the holes in the rear frame channel, and install the 2 clevis pins and lynch pins (Figure 25).
With the bed lowered, secure each cylinder rod end to the appropriate slots in the bed-mounting plates with a clevis pin and lynch pin.
Insert the clevis pin from outside of the bed with the lynch pin oriented toward the outside (Figure 25).
Note: The rear slots are for a full bed installation; the front slots are for a 2/3-full bed installation.
Note: You may need to start the engine to extend or retract the cylinders for alignment with the holes.
Note: You can plug the unused slot with a bolt and nut to prevent assembly errors.
Start the engine and engage the hydraulic-lift lever to raise the bed.
Release the lift lever and shut off the engine.
Install the bed-safety support to prevent accidentally lowering the bed; refer to Using the Bed Support.
Install the lynch pins to the inside ends of the clevis pins.
Note: If the automatic tailgate release is installed on the bed, ensure that the front dump link rod is placed on the inside of the left clevis pin before you install the lynch pin.
A machine on a jack may be unstable and slip off the jack, injuring anyone beneath it.
Do not start the machine while the machine is on a jack, as the engine vibration or wheel movement could cause the machine to slip off the jack.
Always remove the key from the key switch before getting off the machine.
Block the tires when the machine is on a jack.
When jacking up the front of the machine, always place a wooden block (or similar material) between the jack and the machine frame.
The jacking point at the front of the machine is located under the front, center frame support (Figure 26).

The jacking point at the rear of the machine is located under the axle (Figure 27).

While grasping the hood in the headlight openings, lift up the hood to release the lower mounting tabs from the frame slots (Figure 28).

Pivot the bottom of the hood upward until you can pull the top mounting tabs from the frame slots (Figure 28).
Pivot the top of the hood forward and unplug the wire connectors from the headlights (Figure 28).
Remove the hood.
| Maintenance Service Interval | Maintenance Procedure |
|---|---|
| Every 100 hours |
|
Grease Type: No. 2 lithium grease
Use a rag to wipe the grease fitting clean so that foreign matter cannot be forced into the bearing or bushing.
With a grease gun, apply grease into the grease fittings on the machine.
Wipe any excess grease off the machine.
Important: When greasing the drive shaft universal shaft bearing crosses, pump grease until it comes out of all 4 cups at each cross.
The grease fitting locations and quantities are as follows:
Ball joints (4); refer to Figure 29
Tie rods (2); refer to Figure 29
Pivot mounts (2); refer to Figure 29
Steering cylinder (2); refer to Figure 29

Spring tower (2); refer to Figure 30

Clutch (1); refer to Figure 31
Accelerator (1); refer to Figure 31
Brake (1); refer to Figure 31

U-joint (18); refer to Figure 32
4-wheel drive shaft (3); refer to Figure 32

Shut off the engine, remove the key, and wait for all moving parts to stop before checking the oil or adding oil to the crankcase.
Keep your hands, feet, face, clothing, and other body parts away from the muffler and other hot surfaces.
| Maintenance Service Interval | Maintenance Procedure |
|---|---|
| Every 25 hours |
|
| Every 100 hours |
|
Inspect the air cleaner and hoses periodically to maintain maximum engine protection and to ensure maximum service life. Check the air-cleaner body for damage that could possibly cause an air leak. Replace a damaged air-cleaner body.
Release the latches on the air cleaner and pull the air-cleaner cover off the air-cleaner body (Figure 33).

Squeeze the dust cap sides to open it and knock the dust out.
Gently slide the filter out of the air-cleaner body (Figure 33).
Note: Avoid knocking the filter into the side of the body.
Note: Do not attempt to clean the filter.
Inspect the new filter for damage by looking into the filter while shining a bright light on the outside of the filter.
Note: Holes in the filter appear as bright spots. Inspect the element for tears, an oily film, or damage to the rubber seal. If the filter is damaged, do not use it.
Note: To prevent engine damage, always operate the engine with the air filter and cover installed.
Carefully slide the filter over the body tube (Figure 33).
Note: Ensure that it is fully seated by pushing on the outer rim of the filter while installing it.
Install the air-cleaner cover with the side facing up, and secure the latches (Figure 33).
Note: Change the oil more frequently when operating conditions are extremely dusty or sandy.
Note: Dispose of the used engine oil and oil filter at a certified recycling center.
Oil Type: Detergent engine oil (API SJ or higher)
Crankcase Capacity: 3.2 L (3.4 US qt) when the filter is changed
Viscosity: See the table below.

| Maintenance Service Interval | Maintenance Procedure |
|---|---|
| Before each use or daily |
|
Note: The best time to check the engine oil is when the engine is cool before it has been started for the day. If it has already ran, allow the oil to drain back down to the sump for at least 10 minutes before checking. If the oil level is at or below the Add mark on the dipstick, add oil to bring the oil level to the Full mark. Do not overfill the engine with oil. If the oil level is between the Full and Add marks, no additional oil is required.
Park the machine on a level surface.
Engage the parking brake.
Shut off the engine and remove the key.
Remove the dipstick and wipe it with a clean rag (Figure 35).

Insert the dipstick into the tube and ensure that it seats fully (Figure 35).
Remove dipstick and check the oil level (Figure 35).
If the oil level is low, remove the filler cap (Figure 35), and add enough oil to raise the level to the Full mark on the dipstick.
Note: When adding oil, remove dipstick to allow proper venting. Pour the oil slowly and check the level often during this process. Do not overfill the engine with oil.
Important: When adding engine oil or filling oil, there must be clearance between the oil fill device and the oil fill hole in the valve cover as shown in Figure 36. This clearance is necessary to permit venting when filling, which prevents oil from overrunning into the breather.

Install the dipstick firmly in place (Figure 35).
| Maintenance Service Interval | Maintenance Procedure |
|---|---|
| After the first 50 hours |
|
| Every 200 hours |
|
Raise the bed and place the safety support on the extended lift cylinder to hold up the bed.
Remove the drain plug and let the oil flow into a drain pan (Figure 37).

When the oil stops, install the drain plug.
Remove the oil filter (Figure 37).
Apply a light coat of clean oil to the new filter seal before screwing it on.
Screw the filter on until the gasket contacts the mounting plate. Then tighten the filter 1/2 to 2/3 of a turn.
Note: Do not overtighten.
Add the specified oil to the crankcase.
Note: Engine-fault code information can be accessed by your Toro commercial products service staff only.
Park the machine on a level surface.
Engage the parking brake.
Shut off the engine and remove the key.
Contact your Authorized Service Dealer.
| Maintenance Service Interval | Maintenance Procedure |
|---|---|
| Before each use or daily |
|
Place a clean container under the fuel filter (Figure 38).
Loosen the drain plug on the bottom of the filter canister.

Tighten the drain plug on the bottom of the filter canister.
| Maintenance Service Interval | Maintenance Procedure |
|---|---|
| Every 400 hours |
|
Drain the water from the water separator; refer to Draining the Fuel Filter/Water Separator.
Clean the area where the filter mounts (Figure 38).
Remove the filter and clean the mounting surface.
Lubricate the gasket on the filter with clean oil.
Install the filter by hand until the gasket contacts mounting surface, then rotate it an additional 1/2 turn.
Tighten the drain plug on the bottom of the filter canister.
| Maintenance Service Interval | Maintenance Procedure |
|---|---|
| Every 400 hours |
|
Inspect the fuel lines, fittings, and clamps for signs of leaking, deterioration, damage, or loose connections.
Note: Repair any damaged or leaking fuel system component before using the machine.
Disconnect the battery before repairing the machine. Disconnect the negative terminal first and the positive last. Connect the positive terminal first and the negative last.
Charge the battery in an open, well-ventilated area, away from sparks and flames. Unplug the charger before connecting or disconnecting the battery. Wear protective clothing and use insulated tools.
Jump-starting can be dangerous. To avoid personal injury or damage to electrical components in machine, observe the following warnings:
Never jump-start with a voltage source greater than 15 V DC; this damages the electrical system.
Never attempt to jump-start a discharged battery that is frozen. It could rupture or explode during jump-starting.
Observe all battery warnings while jump-starting your machine.
Be sure your machine is not touching the jump-start machine.
Connecting cables to the wrong post could result in personal injury and/or damage to the electrical system.
Squeeze the battery cover to release the tabs from the battery base and remove the battery cover from the battery base (Figure 41).

Connect a jumper cable between the positive posts of the 2 batteries (Figure 42).
Note: The positive post may be identified by a + sign on top of the battery cover.
Connect 1 end of the other jumper cable to the negative terminal of the battery in the other machine.
Note: The negative terminal has “NEG” on the battery cover.
Note: Do not connect the other end of the jumper cable to the negative post of the discharged battery. Connect the jumper cable to the engine or frame. Do not connect the jumper cable to the fuel system.

Start the engine in the machine providing the jump-start.
Note: Let it run for a few minutes, then start your engine.
Remove the negative jumper cable first from your engine, then the battery in the other machine.
Install the battery cover to the battery base.
| Maintenance Service Interval | Maintenance Procedure |
|---|---|
| Every 50 hours |
|
Battery electrolyte contains sulfuric acid, which is fatal if consumed and causes severe burns.
Do not drink electrolyte or allow it to contact your skin, eyes or clothing. Wear safety glasses to shield your eyes and rubber gloves to protect your hands.
Fill the battery where clean water is always available for flushing the skin.
Always keep the battery clean and fully charged.
If the battery terminals are corroded, clean them with a solution of 4 parts water and 1 part baking soda.
Apply a light coating of grease to the battery terminals to prevent corrosion.
Maintain the battery electrolyte level.
Keep the top of the battery clean by washing it periodically with a brush dipped in ammonia or bicarbonate of soda solution. Flush the top surface with water after cleaning. Do not remove the fill cap while cleaning.
Ensure that the battery cables are kept tight on the terminals to provide good electrical contact.
Maintain the cell electrolyte level with distilled or demineralized water. Do not fill the cells above the bottom of the fill ring inside each cell.
If you store the machine in a location where temperatures are extremely high, the battery runs down more rapidly than if the machine is stored in a location where temperatures are cool.
| Maintenance Service Interval | Maintenance Procedure |
|---|---|
| Every 100 hours |
|
Park the machine on a level surface.
Engage the parking brake.
Shut off the engine and remove the key.
Clean the area around the fill/check plug on side of the differential (Figure 43).

Remove the fill/check plug and check the level of the oil.
Note: The oil should be up to hole.
If the oil is low, add specified oil.
Install the fill/check plug.
| Maintenance Service Interval | Maintenance Procedure |
|---|---|
| Every 800 hours |
|
Differential oil specification: Mobil 424 hydraulic fluid
Park the machine on a level surface.
Engage the parking brake.
Shut off the engine and remove the key.
Clean the area around the drain plug on the side of the differential (Figure 43).
Place a drain pan under the drain plug.
Remove the drain plug and let the oil flow into the drain pan.
Install and tighten the plug when the oil stops draining.
Clean the area around the fill/check plug on the bottom of the differential.
Remove the fill/check plug and add specified oil until the oil level is up to the hole.
Install the fill/check plug.
| Maintenance Service Interval | Maintenance Procedure |
|---|---|
| Every 200 hours |
|
Inspect the constant-velocity boot for cracks, holes, or a loose clamp. Contact your Authorized Service Dealer for repair if you find any damage.
| Maintenance Service Interval | Maintenance Procedure |
|---|---|
| After the first 10 hours |
|
| Every 200 hours |
|
Move the shift lever to the NEUTRAL position.
Remove the clevis pins securing the shift cables to the transaxle-shift arms (Figure 44).

Loosen the clevis jam nuts and adjust each clevis, so that the cable free play is equal forward and backward relative to the hole in the transaxle-shift arm (with the transaxle lever free play taken up in the same direction).
Install the clevis pins and tighten the jam nuts when finished.
| Maintenance Service Interval | Maintenance Procedure |
|---|---|
| Every 200 hours |
|
Remove the clevis pin securing the high-low cable to the transaxle (Figure 44).
Loosen the clevis jam nut and adjust the clevis so that the clevis hole aligns with the hole in the transaxle bracket.
Install the clevis pin and tighten the jam nut when finished.
| Maintenance Service Interval | Maintenance Procedure |
|---|---|
| Every 200 hours |
|
Move the differential-lock lever to the OFF position.
Loosen the jam nuts securing the differential-lock cable to the bracket on the transaxle (Figure 45).

Adjust the jam nuts to obtain a 0.25 to 1.5 mm (0.01 to 0.06 inch) gap between the spring hook and the OD of the hole in the transaxle lever.
Tighten the jam nuts when finished.
| Maintenance Service Interval | Maintenance Procedure |
|---|---|
| Every 100 hours |
|
Front tires air pressure specification: 220 kPa (32 psi)
Rear tires air pressure specification: 124 kPa (18 psi)
Operating accidents, such as hitting curbs, can damage a tire or rim and also disrupt wheel alignment, so inspect the tire condition after an accident.
Important: Check the tire pressure frequently to ensure proper inflation. If the tires are not inflated to the correct pressure, the tires will wear prematurely and may cause 4-wheel drive to bind.
Figure 46 is an example of tire wear caused by under-inflation.

Figure 47 is an example of tire wear caused by over-inflation.

| Maintenance Service Interval | Maintenance Procedure |
|---|---|
| Every 400 hours |
|
Ensure that the tire pressures are correct before checking the front wheel alignment; refer to Checking the Tire Pressure.
Either have an operator in the operator’s seat or add weight to the driver’s seat equal to the average operator of the vehicle.
The operator or weight must remain on the seat for the duration of the front wheel alignment procedure.
On a level surface, roll the machine straight back 2 to 3 m (6 to 10 ft) and then straight forward to the original starting position.
This allows the machine suspension to settle into the normal operating position.
Ensure that the tires are facing straight ahead.
Measure the distance between the front tires at axle height at both the front and rear of the tires (Figure 48).
The front wheel toe-in should be 0 ± 6 mm (0 ± 1/4 inch).
Important: Check the measurements at consistent locations on the tire. The machine should be on a flat surface with the tires facing straight ahead.

If the front wheel toe-in is incorrect, adjust as follows:
Loosen the jam nut at the center of the tie rod (Figure 49).

Rotate both tie rods equally to move the front of the tires inward or outward.
Tighten the tie rod jam nuts when the toe-in adjustment is correct.
Torque the tie rod jam nuts to 62 to 74 N∙m (45 to 55 ft-lb).
After completing the toe-in adjustment, ensure that there is full steering travel in both directions.
There should be no contact between any machine components as you move the wheels from lock to lock. Adjust, if necessary.
| Maintenance Service Interval | Maintenance Procedure |
|---|---|
| After the first 2 hours |
|
| After the first 10 hours |
|
| Every 200 hours |
|
Wheel lug nut torque specification: 109 to 122 N∙m (80 to 90 ft-lb)
Torque the lug nuts at the front and rear wheels in a crossing pattern as shown in Figure 50 to the specified torque.

Swallowing engine coolant can cause poisoning; keep out of reach from children and pets.
Discharge of hot, pressurized coolant or touching a hot radiator and surrounding parts can cause severe burns.
Always allow the engine to cool at least 15 minutes before removing the radiator cap.
Use a rag when opening the radiator cap, and open the cap slowly to allow steam to escape.
Do not operate the machine without the covers in place.
Keep your fingers, hands and clothing clear of rotating fan and drive belt.
Shut off the engine and remove the key before performing maintenance.
| Maintenance Service Interval | Maintenance Procedure |
|---|---|
| Before each use or daily |
|
Cooling-system capacity: 3.7 L (4 US qt)
Coolant type: a 50/50 solution of water and permanent ethylene-glycol antifreeze
If the engine has been running, the pressurized, hot coolant can escape and cause burns.
Do not open or add coolant to the radiator; doing so introduces air into the system and results in engine damage. Add only engine coolant to the reservoir.
Do not open the radiator cap when the engine is running.
Use a rag when opening the radiator cap, and open the cap slowly to allow steam to escape.
Park the machine on a level surface.
Shift the transmission lever to the P (PARK) position.
Shut off the engine and remove the key.
Check the coolant level inside the reserve tank.

Note: The coolant should be up to the bottom of the filler neck when the engine is cold.
If coolant is low, remove the coolant-tank cap and add a 50% ethylene-glycol with organic additive technology (OAT) 50% distiller water antifreeze.
Do not overfill.
Hand-tighten the reserve-tank cap.
| Maintenance Service Interval | Maintenance Procedure |
|---|---|
| Before each use or daily |
|
Park the machine on a level surface.
Engage the parking brake.
Shut off the engine and remove the key.
Clean the engine area thoroughly of all debris.
Unlatch and remove the radiator screen from the front of the radiator (Figure 52).

If equipped, rotate the latches and pivot the oil cooler away from the radiator (Figure 53).

Clean the radiator, oil cooler, and screen with compressed air.
Note: Blow debris away from the radiator.
Install the cooler and screen to the radiator.
| Maintenance Service Interval | Maintenance Procedure |
|---|---|
| Every 1,000 hours |
|
Cooling-system capacity: 3.7 L (4 US qt)
Coolant type: a 50/50 solution of water and permanent ethylene-glycol antifreeze
Contact your authorized Toro distributor.
| Maintenance Service Interval | Maintenance Procedure |
|---|---|
| Before each use or daily |
|
| Every 1,000 hours |
|
Brake-fluid type: DOT 3
Park the machine on a level surface.
Engage the parking brake.
Shut off the engine and remove the key.
Raise the hood to access to the master brake cylinder and reservoir (Figure 54).

Ensure that the fluid level is up to the Full line on the reservoir (Figure 55).

If the fluid level is low, clean the area around the cap, remove the reservoir cap, and fill the reservoir to the proper level with the specified brake fluid (Figure 55).
Note: Do not overfill the reservoir with brake fluid.
| Maintenance Service Interval | Maintenance Procedure |
|---|---|
| After the first 10 hours |
|
| Every 200 hours |
|
Remove the rubber grip from the parking-brake lever (Figure 56).

Loosen the set screw securing the knob to the parking-brake lever (Figure 57).

Rotate the knob (Figure 57) until a force of 20 to 22 kg (45 to 50 lb) is required to actuate the lever.
Tighten the set screw when finished (Figure 57).
Note: If you can no longer make a parking-brake adjustment by adjusting the parking-brake lever, loosen the handle to the middle of the adjustment and adjust the cable at the rear, then repeat step 3.
Install the rubber grip onto the parking-brake lever (Figure 56).
| Maintenance Service Interval | Maintenance Procedure |
|---|---|
| Every 200 hours |
|
Note: Remove the font hood to ease the adjustment procedure.
Remove the cotter pin and clevis pin securing the master cylinder yoke to the brake-pedal pivot (Figure 58).

Lift up on the brake pedal (Figure 59) until it contacts the frame.
Loosen the jam nuts securing the yoke to the master cylinder shaft (Figure 59).
Adjust the yoke until its holes align with the hole in the brake-pedal pivot.
Secure the yoke to the pedal pivot with the clevis pin and cotter pin.
Tighten the jam nuts securing the yoke to the master cylinder shaft.
Note: The brake master cylinder must relieve pressure when properly adjusted.

| Maintenance Service Interval | Maintenance Procedure |
|---|---|
| After the first 10 hours |
|
| Every 200 hours |
|
Raise the bed and position the safety support on the extended lift cylinder to secure the bed.
Check the tension by pressing the belt at mid span between the crankshaft and alternator pulleys with 10 kg (22 lb) of force (Figure 60).
Note: A new belt should deflect 8 to 12 mm (0.3 to 0.5 inch).
Note: A used belt should deflect 10 to 14 mm (0.4 to 0.55 inch). If the deflection is incorrect, proceed to the next step. If correct, continue operation.
To adjust belt tension, perform the following:
| Maintenance Service Interval | Maintenance Procedure |
|---|---|
| Every 200 hours |
|
Note: You can adjust the clutch-pedal cable at the bell housing or at the clutch-pedal pivot. You can remove the front hood to easily access to the pedal pivot.
Loosen the jam nuts securing the clutch cable to the bracket on the bell housing (Figure 61).
Note: You may remove and rotate the ball joint, if additional adjustment is required.

Disconnect the return spring from the clutch lever.
Adjust the jam nuts or ball joint until the rear edge of the clutch pedal is 9.2 to 9.8 cm (3-5/8 to 3-7/8 inches) from the top of the floor plate diamond pattern, when you apply 1.8 kg (4 lb) of force to the pedal (Figure 62).

Note: Force is applied so that the clutch-release bearing lightly contacts the pressure-plate fingers.
Tighten the jam nuts after you attain the proper adjustment.
Check the 9.2 to 9.8 cm (3-5/8 to 3-7/8 inches) dimension after the jam nuts have been tightened to ensure proper adjustment.
Note: Adjust again, if necessary.
Connect the return spring to the clutch lever.
Important: Ensure that the rod end is positioned squarely on the ball, not twisted, and remains parallel to the clutch pedal after the jam nut is tightened (Figure 63).
Note: The clutch free play should never be less than 19 mm (3/4 inch).

Park the machine on a level surface, engage the parking brake, shut off the engine, and remove the key.
Adjust the ball joint on the accelerator cable (Figure 64) to allow 2.54 to 6.35 mm (0.100 to 0.250 inch) of clearance between the accelerator pedal arm and the top of the diamond tread floor plate (Figure 65), when you apply 11.3 kg (25 lb) of force to the center of the pedal.
Note: The engine must not be running and the return spring must be attached.
Tighten the locknut (Figure 64).


Important: The maximum high-idle speed is 3,650 rpm. Do not adjust the high-idle stop.
Seek immediate medical attention if fluid is injected into skin. Injected fluid must be surgically removed within a few hours by a doctor.
Before disconnecting or performing any work on the hydraulic system, relieve all pressure in the system by shutting off the engine, cycling the dump valve from raise to lower, and/or lowering the cargo bed and attachments. Place the remote hydraulics lever in the float position. Do not work under a raised bed without the proper bed safety support in place.
Ensure that all hydraulic-fluid hoses and lines are in good condition and that all hydraulic connections and fittings are tight before applying pressure to the hydraulic system.
Keep your hands and body away from pinhole leaks or nozzles that eject high-pressure hydraulic fluid.
Use cardboard or paper to find hydraulic leaks.
Transaxle-fluid type: Dexron III ATF
| Maintenance Service Interval | Maintenance Procedure |
|---|---|
| Before each use or daily |
|
Park the machine on a level surface.
Engage the parking brake.
Shut off the engine and remove the key.
Clean the area around the dipstick (Figure 66).

Unscrew the dipstick from the top of the transaxle and wipe it with a clean rag.
Screw the dipstick into the transaxle and ensure that it is fully seated.
Unscrew the dipstick and check the fluid level.
Note: The fluid should be up to top of the flat portion of the dipstick.
If the level is low, add enough of the specified fluid to achieve the proper level; refer to Transaxle/Hydraulic Fluid Specifications.
| Maintenance Service Interval | Maintenance Procedure |
|---|---|
| Every 800 hours |
|
Hydraulic-fluid capacity: 7 L (7.5 US qt)
Park the machine on a level surface.
Engage the parking brake.
Shut off the engine and remove the key.
Remove the drain plug from the side of the reservoir, and let the hydraulic fluid flow into a drain pan (Figure 67).

Note the orientation of the hydraulic hose and 90° fitting connected to the strainer on the side of the reservoir (Figure 68).
Remove the hydraulic hose and 90° fitting.
Remove the strainer and clean it by back flushing it with a clean de-greaser.
Note: Allow it to air dry before installing.

Install the strainer.
Install the hydraulic hose and 90° fitting to the strainer in the same orientation.
Install and tighten the drain plug.
Fill the reservoir with approximately 7 L (7.5 US qt) of the specified hydraulic fluid; refer to Checking the Transaxle/Hydraulic-Fluid Level.
Start the engine and operate the machine to fill the hydraulic system.
Check the hydraulic-fluid level and replenish it, if required.
Important: Use only the hydraulic fluid specified. Other fluids could damage the system.
| Maintenance Service Interval | Maintenance Procedure |
|---|---|
| After the first 10 hours |
|
| Every 800 hours |
|
Important: Use of any other filter may void the warranty on some components.
Park the machine on a level surface.
Engage the parking brake.
Shut off the engine and remove the key.
Clean the area around the filter-mounting area.
Place a drain pan under the filter and remove the filter (Figure 69).

Lubricate the gasket on the new filter.
Ensure that the filter mounting area is clean.
Screw the filter on until the gasket contacts the mounting plate, and tighten the filter 1/2 turn.
Start the engine and let it run for about 2 minutes to purge air from the system.
Shut off the engine and check the hydraulic-fluid level and for leaks.
The reservoir is filled at the factory with high-quality hydraulic fluid. Check the level of the hydraulic fluid before you first start the engine and daily thereafter; refer to Checking the High-Flow Hydraulic-Fluid Level.
Recommended replacement fluid: Toro PX Extended Life Hydraulic Fluid; available in 19 L (5 US gallon) pails or 208 L (55 US gallon) drums.
Note: A machine using the recommended replacement fluid requires less frequent fluid and filter changes.
Alternative fluids: If Toro PX Extended Life Hydraulic Fluid is not available, you may use another conventional, petroleum-based hydraulic fluid having specifications that fall within the listed range for all the following material properties and that it meets industry standards. Do not use synthetic fluid. Consult with your lubricant distributor to identify a satisfactory product.
Note: Toro does not assume responsibility for damage caused by improper substitutions, so use products only from reputable manufacturers who will stand behind their recommendation.
| Material Properties: | ||
| Viscosity, ASTM D445 | cSt @ 40°C (104°F) 44 to 48 | |
| Viscosity Index ASTM D2270 | 140 or higher | |
| Pour Point, ASTM D97 | -37°C to -45°C (-34°F to -49°F) | |
| Industry Specifications: | Eaton Vickers 694 (I-286-S, M-2950-S/35VQ25 or M-2952-S) | |
Note: Many hydraulic fluids are almost colorless, making it difficult to spot leaks. A red dye additive for the hydraulic fluid is available in 20 ml (0.67 fl oz) bottles. A bottle is sufficient for 15 to 22 L (4 to 6 US gallons) of hydraulic fluid. Order Part No. 44-2500 from your authorized Toro distributor.
| Maintenance Service Interval | Maintenance Procedure |
|---|---|
| Before each use or daily |
|
Park the machine on a level surface.
Engage the parking brake.
Shut off the engine and remove the key.
Clean the area around the filler neck and the cap of the hydraulic tank (Figure 70).
Remove the cap from the filler neck.

Remove the dipstick (Figure 70) from the filler neck and wipe it with a clean rag.
Insert the dipstick into the filler neck, then remove it and check the fluid level.
Note: The fluid level should be between the 2 marks on the dipstick.
If the level is low, add the appropriate fluid to raise the level to the upper mark; refer to Changing the High-Flow Hydraulic Fluid and Filter.
Install the dipstick and cap onto the filler neck.
Start the engine and turn on the attachment.
Note: Let them run for about 2 minutes to purge air from the system.
Important: The machine must be running before starting the high-flow hydraulics.
Shut off the engine and attachment and check for leaks.
| Maintenance Service Interval | Maintenance Procedure |
|---|---|
| Every 800 hours |
|
| Every 1,000 hours |
|
| Every 2,000 hours |
|
Hydraulic fluid capacity: approximately 15 L (4 US gallons)
Park the machine on a level surface.
Engage the parking brake.
Shut off the engine and remove the key.
Clean the area around the high-flow-filter mounting area (Figure 69).
Place a drain pan under the filter and remove the filter.
Note: If the fluid is not going to be drained, disconnect and plug the hydraulic line going to the filter.
Lubricate the new filter-sealing gasket and hand turn the filter onto the filter head until the gasket contacts the filter head. Then tighten it 3/4 turn further. The filter should now be sealed.
Fill the hydraulic reservoir with approximately 15 L (4 US gallons) of hydraulic fluid.
Start the machine and run it at idle for about 2 minutes to circulate the fluid and remove any air trapped in the system.
Stop the machine and check the fluid level.
Verify the fluid level.
Dispose of the fluid properly.
The cargo bed can be raised in an emergency without starting the engine by cranking starter or by jumping the hydraulic system.
Crank the starter while holding the lift lever in the Raise position. Run the starter for 10 seconds, then wait 60 seconds before engaging the starter again. If the engine does not crank, you must remove the load and bed (attachment) to service the engine or transaxle.
A raised bed full of material without the proper safety support rod may lower unexpectedly. Working under an unsupported raised bed may cause injury to you or others.
Before servicing or making adjustments to the machine, park the machine on a level surface, engage the parking brake, shut off the engine, and remove the key.
Remove any load material from the bed or other attachment and insert the safety support on a fully extended cylinder rod before working under a raised bed.
You will need 2 hydraulic hoses, each with a male and female quick coupler, that fit the machine couplers, to perform this operation.
Back another machine up to the rear of the disabled machine.
Important: The machine hydraulic system uses Dexron III ATF. To avoid system contamination, make sure that the machine used to jump the hydraulic system uses an equivalent fluid.
On both machine, disconnect the 2 quick-coupler hoses from the hoses secured to the coupler bracket (Figure 71).

On the disabled machine, connect the 2 jumper hoses to the hoses that were disconnected (Figure 72).
Cap the unused fittings.

On the other machine, connect the 2 hoses to the coupler still in the coupler bracket (connect the top hose to the top coupler and the bottom hose to the bottom coupler) (Figure 73).
Cap the unused fittings.

Keep all bystanders away from the machines.
Start the second machine and move the lift lever to the raise position, which raises the disabled cargo bed.
Move the hydraulic-lift lever to the NEUTRAL position, and engage the lift-lever lock.
Install the bed support onto the extended lift cylinder; refer to Using the Bed Support.
Note: With both the machine turned off, move the lift lever back and forth to remove the system pressure and ease the disconnection of the quick couplers.
After completing the operation, remove the jumper hoses and connect the hydraulic hoses to both machines.
Important: Check the hydraulic fluid levels, in both machines, before resuming operation.
Wash the machine as needed using water alone or with a mild detergent. You may use a rag when washing the machine.
Important: Do not use brackish or reclaimed water to clean the machine.
Important: Do not use power-washing equipment to wash the machine. Power-washing equipment may damage the electrical system, loosen important decals, or wash away necessary grease at friction points. Avoid excessive use of water near the control panel, engine, and battery.
Important: Do not wash the machine with the engine running. Washing the machine with the engine running may result in internal engine damage.
Shut off the machine, remove the key, and wait for all movement to stop before you leave the operator’s position. Allow the machine to cool before adjusting, servicing, cleaning, or storing it.
Do not store the machine or fuel container where there is an open flame, spark, or pilot light, such as on a water heater or other appliance.
| Maintenance Service Interval | Maintenance Procedure |
|---|---|
| After the first 50 hours |
|
| Every 200 hours |
|
| Every 400 hours |
|
| Every 600 hours |
|
Park the machine on a level surface, engage the parking brake, shut off the engine, and remove the key.
Clean dirt and grime from the entire machine, including the outside of the engine cylinder head fins and blower housing.
Inspect the brakes; refer to Checking the Brake-Fluid Level.
Service the air cleaner; refer to Servicing the Air Cleaner.
Seal the air cleaner inlet and the exhaust outlet with weatherproof tape.
Grease the machine; refer to Greasing the Bearings and Bushings.
Change the engine oil and filter; refer to Changing the Engine Oil and Filter.
Flush the fuel tank with fresh, clean diesel fuel.
Secure all fuel system fittings.
Check the tire pressure; refer to Checking the Tire Pressure.
Check anti freeze protection and add a 50/50 solution of water and anti freeze as needed for expected minimum temperature in your area.
Remove the battery from the chassis, check the electrolyte level, and charge it fully; refer to Servicing the Battery.
Note: Do not connect the battery cables to the battery posts during storage.
Important: The battery must be fully charged to prevent it from freezing and being damaged at temperatures below 0°C (32°F). A fully charged battery maintains its charge for about 50 days at temperatures lower than 4°C (40°F). If the temperatures will be above 4°C (40°F), check the water level in the battery and charge it every 30 days.
Check and tighten all bolts, nuts, and screws. Repair or replace any part that is damaged.
Paint all scratched or bare metal surfaces.
Paint is available from your Authorized Service Dealer.
Store the machine in a clean, dry garage or storage area.
Cover the machine to protect it and keep it clean.
| Problem | Possible Cause | Corrective Action |
|---|---|---|
| The quick couplers are difficult to connector disconnect. |
|
|
| The power steering moves hard. |
|
|
| The hydraulic fitting leaks. |
|
|
| An attachment does not function. |
|
|
| The engine does not start. |
|
|