Wartung
Note: Bestimmen Sie die linke und rechte Seite der Maschine anhand der üblichen Einsatzposition.
Abstützen der Schneideinheit
Wenn Sie die Schneideinheit kippen müssen, um das Untermesser bzw. die Spindel zugänglich zu machen, stützen Sie das Heck der Schneideinheit ab, um sicherzustellen, dass die Muttern hinten an den Einstellschrauben des Untermesserträgers nicht auf der Arbeitsfläche aufliegen (Bild 12).

Technische Daten für das Untermesser
Warten des Untermessers
Nur ein richtig geschulter Mechaniker sollte den Untermesserträger und das Untermesser warten, um eine Beschädigung der Spindel, des Untermesserträgers und des Untermessers zu vermeiden. Am besten sollten Sie die Schneideinheit von einem offiziellen Toro-Vertragshändler warten lassen. Ausführliche Anweisungen, Spezialwerkzeuge und Tabellen für das Warten des Untermessers finden Sie in der Wartungsanleitung der Zugmaschine. Sollten Sie den Untermesserträger abnehmen oder montieren müssen, finden Sie unten Anweisungen sowie technische Daten für das Warten des Untermessers.
Important: Halten Sie sich immer an die Schritte für das Untermesser, die in der Wartungsanleitung aufgeführt sind, wenn Sie das Untermesser warten. Ein falsches Einbauen und Schleifen des Untermessers kann zu einer Beschädigung der Spindel, des Untermesserträgers oder Untermessers führen.
Abnehmen der Untermesserträger/Untermesser-Baugruppe
-
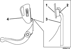
Drehen Sie die Einstellschraube des Untermesserträgers nach links, um den Abstand zwischen Untermesser und Spindel zu vergrößern (Bild 13).

-
Drehen Sie die Federspannungsmutter so weit hinaus, bis die Scheibe nicht mehr gegen den Untermesserträger angespannt ist (Bild 13).
-
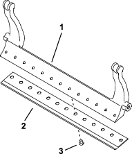
Lösen Sie an jeder Seite der Maschine die Sicherungsmutter, mit der die Schraube des Untermesserträgers befestigt ist (Bild 14).

-
Nehmen Sie jede Schraube des Untermesserträgers ab, damit der Untermesserträger nach unten gezogen und von der Schneideinheit entfernt werden kann (Bild 14).
Bewahren Sie die zwei Nylonscheiben und die Stahlscheibe an jedem Ende des Untermesserträgers auf (Bild 15).

-
Entfernen Sie sämtliche Schrauben mit denen das Untermesser am Untermesserträger befestigt ist. Verwenden Sie einen Steckschlüssel mit dem Untermesser-Schraubwerkzeug (Bestell-Nr. TOR510880).
Note: Sie können einen mechanischen oder pneumatischen Schlagschrauber verwenden, um die Schrauben des Untermessers zu lösen.
Note: Entsorgen Sie das Untermesser und die Schrauben.
Einbau des neuen Untermessers
-
Wählen Sie ein neues Untermesser gemäß Auswahltabellen für Schnitthöhe und Untermesser aus.
-
Entfernen Sie Rost, Kalk oder Korrosion von der Oberseite des Untermesserträgers und tragen Sie einen dünnen Ölfilm auf die Oberfläche des Untermesserträgers auf.
Important: Entfernen Sie kein Gussmaterial vom Untermesserträger. Der Untermesserträger ist in der Mitte konkav und darf nicht geschliffen werden!
-
Reinigen Sie die Schraubengewinde im Untermesserträger.
-
Tragen Sie Gewindeschmiermittel auf die neuen Schrauben des Untermessers auf und befestigen Sie das Untermesser am Untermesserträger.
Important: Verwenden Sie nur neue Schrauben am Untermesser.
Note: Die Anzahl der Schrauben variiert je nach Untermesserträger.

-
Ziehen Sie die zwei äußeren Schrauben mit 1 N∙m an.
-
Arbeiten Sie von der Mitte des Untermessers aus und ziehen Sie die Schrauben auf ein Anzugsmoment von 25,9 +/- 1,4 N∙m an.
Important: Ziehen Sie die Schrauben des Untermessers nicht mit einem mechanischen oder pneumatischen Schlagschrauber an.

-
Schleifen Sie das neue Untermesser, siehe Technische Daten für das Schleifen des Untermessers.
Technische Daten für das Schleifen des Untermessers

| Entlastungswinkel des Untermessers (oben) | Siehe Auswahltabellen für Schnitthöhe und Untermesser. |
| Winkelbereich vorne | 13° bis 17° |
| Frontwinkel bei Fairway-Untermesser | 10° |
Prüfen der oberen Schleifneigung
Die Neigung, den Sie zum Schleifen der Untermesser verwenden, spielt eine große Rolle.
Prüfen Sie mit dem Neigungsmesser (Toro Bestellnummer 131-6828) und der Neigungsmesserbefestigung (Toro Bestellnummer 131-6829) die von der Schleifmaschine erstellte Neigung und korrigieren Sie dann mögliche Ungenauigkeiten der Schleifmaschine.
-
Positionieren Sie den Neigungsmesser an der Unterseite des Untermessers, wie in Bild 19 abgebildet.

-
Drücken Sie die Taste Alt Zero auf dem Neigungsmesser.
-
Legen Sie die Neigungsmesserbefestigung an die Kante des Untermessers, sodass die Kante des Magnets bündig mit der Kante des Untermessers ist (Bild 20).
Note: Die digitale Anzeige sollte in diesem Schritt von der gleichen Seite wie in Schritt 1 sichtbar sein.

-
Legen Sie den Neigungsmesser auf die Befestigung, wie in Bild 20 abgebildet.
Note: Dies ist die Neigung, die die Schleifmaschine erstellt; sie sollte innerhalb von 2 Grad der empfohlenen oberen Schleifneigung sein.
Einbau der Untermesserträger/Untermesser-Baugruppe
-
Montieren Sie die Untermesserträger/Untermesser-Baugruppe. Positionieren Sie die Befestigungslaschen zwischen den Scheiben und der Untermesserträger-Stellschraube (Bild 13).
Important: Zentrieren Sie die DPA-Einsteller in die Ösen der Untermesserträger, wie in Bild 21 dargestellt.Wenn die DPA-Einsteller an den Ösen der Untermesserträger angebracht werden, kann dies den Kontakt zwischen Untermesser und Spindel beeinträchtigen.

-
Befestigen Sie den Untermesserträger mit den Untermesserträgerschrauben (Muttern an den Schrauben) und den drei Scheiben (6 insgesamt) an jeder Seitenplatte.
-
Legen Sie eine Nylonscheibe auf jede Seite des Seitenplattenansatzes. Legen Sie eine Stahlscheibe außen auf jede Nylonscheibe (Bild 15).
-
Ziehen Sie die Schrauben des Untermesserträgers auf ein Anzugsmoment von 27 bis 36 N∙m an.
-
Ziehen Sie die Sicherungsmuttern an, bis die Stahlmuttern kein Spiel mehr haben, jedoch mit der Hand gedreht werden können. Die Scheiben innen können einen Abstand aufweisen.
Important: Ziehen Sie die Sicherungsmuttern nicht zu fest an, da sich sonst die Seitenplatten verformen können.
-
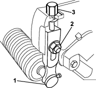
Ziehen Sie die Federspannungsmutter an, bis die Feder zusammengedrückt ist, drehen Sie sie dann eine 1/2 Umdrehung heraus (Bild 22).

-
Stellen Sie das Untermesser zur Spindel ein, siehe Einstellen des Untermessers auf die Spindel.
Technische Daten der Spindel
Vorbereiten der Spindel für das Schleifen
-
Stellen Sie sicher, dass alle Teile der Schneideinheit in gutem Zustand sind und beheben Sie alle Probleme vor dem Schleifen.
-
Halten Sie sich an die Anweisungen des Herstellers der Schleifmaschine und schleifen Sie die Mähspindel, bis sie die folgenden technischen Daten erfüllt.
Technische Daten für das Schleifen der Spindel Neuer Spindeldurchmesser 128,5 mm Spindeldurchmesser, Wartungslimit 114,3 mm Messer-Einzugswinkel 30° ± 5° Breitenbereich der Messerkante 0,8 bis 1,2 mm Spindeldurchmesserabschrägung, Wartungslimit 0,25 mm
Hinterschleifen der Spindel
Die neue Spindel hat eine Stegbreite von 0,8 bis 1,2 mm und einen Hinterschliff von 30°.
Wenn die Stegbreite größer als 3 mm ist, führen Sie folgende Schritte aus:
-
Tragen Sie einen Nachschliff von 30° auf alle Messerspindeln auf, bis die Kante 0,8 mm breit ist (Bild 23).

-
Fräsen Sie die Spindeln, um einen Spindelauslauf von <0,025 mm zu erzielen.
Note: Dies verursacht eine geringe Zunahme der Kante.
-
Stellen Sie die Schneideinheit ein, siehe Bedienungsanleitung der Schneideinheit.
Note: Um die Kante der Spindel und des Untermessers länger scharf zu halten, prüfen Sie nach dem Schleifen der Spindel und/oder des Untermessers nach dem Mähen von sechs Grüns den Kontakt zwischen Spindel und Untermesser erneut, da alle Grate entfernt sind. Grate können zu einem falschen Abstand zwischen Spindel und Untermesser führen; dies beschleunigt die Abnutzung.
Läppen des Mähwerks
Gefahr
Kontakt mit den Spindeln oder anderen beweglichen Teilen kann zu Verletzungen führen.
Berühren Sie Spindeln und andere bewegliche Teile nicht mit den Fingern, Händen und Bekleidung.
-
Halten Sie beim Läppen der Spindel einen Abstand.
-
Läppen Sie nie mit einer Bürste mit einem kurzen Handgriff. Langstielige Bürsten erhalten Sie bei Ihrem örtlichen Toro-Vertragshändler.
-
Stellen Sie die Maschine auf eine saubere, ebene Fläche, senken Sie die Schneideinheiten ab, stellen Sie den Motor ab, aktivieren Sie die Feststellbremse und ziehen Sie den Zündschlüssel ab.
-
Bauen Sie die Spindelmotoren aus den Schneideinheiten aus; trennen und entfernen Sie die Schneideinheiten von den Hubarmen.
-
Stecken Sie eine rechteckige Stange (9,5 mm) in das keilförmige Verbindungsstück am Ende der Schneideinheit und schließen Sie so die Läppmaschine an der Schneideinheit an.
Note: Weitere Anleitungen und Schritte für das Läppen finden Sie in der Bedienungsanleitung und der Toro Anleitung zum Läppen von Spindel und Sichelmähern, Form No. 80-300PT.
Note: Um eine noch bessere Schnittkante zu erzielen, feilen Sie nach dem Läppen die Vorderseite des Untermessers und der Spindel. Auf diese Weise werden Grate oder raue Kanten beseitigt, die sich möglicherweise an der Schnittkante gebildet haben.
Warten der Rolle
Für das Warten der Rolle ist ein Kit zum Überholen der Rolle, Bestellnummer 140-5552 und ein Werkzeugkasten, Bestellnummer 140-5553 (Bild 24) erhältlich. Das Kit zum Überholen der Rolle enthält alle Lager, Lagermuttern, inneren und äußeren Dichtungen, die für eine Überholung der Rolle benötigt werden. Der Werkzeugkasten zum Überholen der Rolle enthält alle Werkzeuge und die Installationsanweisungen, die für eine Überholung der Rollen mit dem Kit zum Überholen der Rollen benötigt werden. Weitere Informationen finden Sie im Ersatzteilkatalog oder wenden Sie sich an den Vertragshändler.



, es bedeutet Vorsicht,
Warnung oder Gefahr – Sicherheitshinweis. Wenn diese Hinweise
nicht beachtet werden, kann es zu schweren bis tödlichen Verletzungen
kommen.









