| Intervalo de mantenimiento y servicio | Procedimiento de mantenimiento |
|---|---|
| Cada vez que se utilice o diariamente |
|
Esta máquina es un cortacésped de asiento de cuchillas rotativas, diseñada para ser usada por operadores profesionales contratados en aplicaciones comerciales. Está diseñada principalmente para cortar césped bien mantenido en parques, campos deportivos y zonas verdes comerciales. El uso de este producto para otros propósitos que los previstos podría ser peligroso para usted y para otras personas.
Lea este manual detenidamente para aprender a utilizar y mantener correctamente su producto, y para evitar lesiones y daños al producto. Usted es responsable de utilizar el producto de forma correcta y segura.
Visite www.Toro.com para buscar materiales de formación y seguridad o información sobre accesorios, para localizar un distribuidor o para registrar su producto.
Cuando necesite asistencia técnica, piezas genuinas Toro o información adicional, póngase en contacto con un Distribuidor de Servicio Autorizado o con Asistencia al Cliente Toro, y tenga a mano los números de modelo y serie de su producto. Figura 1 identifica la ubicación de los números de modelo y serie en el bastidor derecho delantero del producto. Escriba los números en el espacio provisto.
Important: Con su dispositivo móvil, puede escanear el código QR de la calcomanía del número de serie (en su caso) para acceder a información sobre la garantía, las piezas, y otra información sobre el producto.

El símbolo de alerta de seguridad (Figura 2) que aparece en este manual y en la máquina identifica mensajes de seguridad importantes que usted debe observar para evitar accidentes.

El símbolo de alerta de seguridad aparece encima de información que le alerta ante acciones o situaciones inseguras, y va seguido de la palabra PELIGRO, ADVERTENCIA, o CUIDADO.
PELIGRO: Indica una situación peligrosa inminente, que si no se evita, causará la muerte o lesiones graves.
ADVERTENCIA indica una situación potencialmente peligrosa que si no se evita, podría causar la muerte o lesiones graves.
CUIDADO: Indica una situación potencialmente peligrosa que si no se evita, podría causar lesiones menores o moderadas.
Este manual utiliza dos palabras más para resaltar información. Importante llama la atención sobre información mecánica especial, y Nota resalta información general que merece una atención especial.
Consulte la información del fabricante del motor incluida con la máquina.
Si la máquina está equipada con un dispositivo telemático, consulte a su distribuidor autorizado Toro para obtener más información.
Este producto es capaz de amputar manos y pies y de lanzar objetos al aire. Siga siempre todas las instrucciones de seguridad con el fin de evitar lesiones personales graves.
Lea y comprenda el contenido de este Manual del operador antes de arrancar el motor.
Dedique toda su atención al manejo de la máquina. No realice ninguna actividad que pudiera distraerle; de lo contrario, pueden producirse lesiones o daños materiales.
No haga funcionar la máquina si no están colocados y funcionando todos los protectores y dispositivos de seguridad de la máquina.
Mantenga las manos y los pies alejados de las piezas en movimiento. Manténgase alejado del orificio de descarga.
Mantenga a transeúntes y niños alejados de la zona de trabajo. Nunca permita a los niños utilizar la máquina.
Apague el motor, retire la llave y espere a que se detenga todo movimiento antes de abandonar el puesto del operador. Deje que se enfríe la máquina antes de hacer trabajos de ajuste, mantenimiento, limpieza o almacenamiento.
El uso o mantenimiento incorrecto de esta máquina puede
causar lesiones. Para reducir el peligro de lesiones, cumpla estas
instrucciones de seguridad y preste atención siempre al símbolo
de alerta de seguridad
, que significa: Cuidado, Advertencia o Peligro
— instrucción relativa a la seguridad personal. El incumplimiento
de estas instrucciones puede dar lugar a lesiones personales e incluso
la muerte.
![]() |
Las calcomanías de seguridad e instrucciones están a la vista del operador y están ubicadas cerca de cualquier zona de peligro potencial. Sustituya cualquier calcomanía que esté dañada o que falte. |



















Note: Los lados derecho e izquierdo de la máquina se determinan desde la posición normal del operador.
El rascador opcional del rodillo trasero funciona mejor con un espacio uniforme de 0.5 a 1 mm (0.02 a 0.04") entre el rascador y el rodillo.
Afloje el engrasador y el tornillo de montaje (Figura 3).

Deslice el rascador hacia arriba o hacia abajo hasta obtener un espacio de 0.5 a 1 mm (0.02 a 0.04") entre la varilla y el rodillo.
Apriete el engrasador y el tornillo a 41 N∙m (30 pies-libra) en una secuencia alterna.
Póngase en contacto con su distribuidor autorizado Toro para obtener el deflector de mulching correcto.
Limpie muy bien los residuos de los orificios de montaje situados en las paredes trasera e izquierda de la cámara.
Instale el deflector de mulching en la abertura trasera y sujételo con 5 pernos con arandela prensada (Figura 4).

Compruebe que el deflector de mulching no interfiere con la punta de la cuchilla y que no sobresale de la superficie de la pared trasera de la cámara.
Si utiliza la cuchilla de elevación alta con el deflector de mulching, la cuchilla podría romperse, lo que podría provocar lesiones o la muerte.
No utilice la cuchilla de alta elevación con el deflector.
Piezas necesarias en este paso:
| Dispositivo telemático | 1 |
| Soporte del dispositivo | 1 |
| Arnés de cables de la telemática | 1 |
| Perno de cabeza hexagonal (N.º 10 × 1") | 4 |
| Contratuerca (N.º 10) | 4 |
| Perno en U | 1 |
| Tuerca con arandela prensada (⅜") | 2 |
Utilice 4 pernos de cabeza hexagonal (N.º 10 × 1") y 4 contratuercas (N.º 10) para sujetar el dispositivo telemático al soporte del dispositivo (Figura 5).

Utilice un perno en U y 2 tuercas con arandela prensada (⅜") para sujetar el soporte del dispositivo encima del tubo del manual de la barra antivuelco (Figura 6).

Instale el conector marcado P02 del arnés de cables de la telemática en el dispositivo telemático (Figura 7).

Enrute el arnés de cables hacia abajo por la barra antivuelco y conecte el conector del arnés de cables marcado P01 al conector del arnés de cables de la máquina marcado P71 debajo del reposabrazos derecho.
Aparque la máquina en una superficie nivelada.
En máquinas Groundsmaster 4500 y 4700, desconecte los cables de las unidades de corte Nº 4 y Nº 5 (Figura 32).
En máquinas Groundsmaster 4700, abra los cierres de las unidades de corte Nº 6 y Nº 7 (Figura 35).
Bajar las unidades de corte.
Ponga el freno de estacionamiento.
Apague el motor y retire la llave.
Compruebe la presión de los neumáticos antes de usar la máquina; consulte Comprobación de la presión de los neumáticos.
Important: Mantenga la presión correcta en todos los neumáticos para asegurar una buena calidad de corte y un rendimiento correcto de la máquina. No use los neumáticos con presiones menores que las recomendadas.
Compruebe el nivel del lubricante del eje trasero antes de arrancar el motor por primera vez; consulte Comprobación del lubricante del eje trasero.
Compruebe el nivel de aceite del motor antes de arrancar el motor; consulte Comprobación del nivel de aceite del motor.
Compruebe el nivel de fluido hidráulico antes de arrancar el motor; consulte Comprobación del nivel de fluido hidráulico.
Compruebe el sistema de refrigeración antes de arrancar el motor; consulte Comprobación del sistema de refrigeración.
Engrase la máquina antes del uso; consulte Engrasado de cojinetes y casquillos.
Important: Si la máquina no es engrasada correctamente habrá fallos prematuros de piezas críticas.

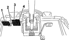
El pedal de tracción (Figura 8) controla la operación hacia delante y hacia atrás. Pise la parte superior del pedal para desplazarse hacia delante y la parte inferior para desplazarse hacia atrás. Cuando las unidades de corte están totalmente elevadas, el pedal controla la velocidad del motor y de la tracción, como en un coche.
Note: En situaciones de frenado de emergencia, levante el pie del pedal de tracción y pise los pedales de freno. Esta es la manera más rápida de detener la máquina.
Hay 2 pedales de freno que accionan frenos de rueda individuales para ayudar en los giros y en el aparcamiento, y para mejorar la tracción en pendientes de través. Un enganche conecta los pedales para el transporte y para su uso como freno de estacionamiento (Figura 8).
El enganche de bloqueo de los pedales conecta los pedales para poner el freno de estacionamiento (Figura 8).
Para inclinar el volante hacia usted, pise el pedal y tire de la columna de dirección hacia usted a la posición más cómoda; luego suelte el pedal (Figura 8). Para alejar el volante, pise el pedal y suéltelo cuando el volante llegue a la posición de uso deseada.
Para poner el freno de estacionamiento (Figura 8), conecte los pedales con el enganche de bloqueo, y presione el pedal derecho mientras presiona el pedal supletorio. Para quitar el freno de estacionamiento, pise uno de los pedales de freno hasta que el enganche del freno de estacionamiento se desconecte.
El interruptor de encendido (Figura 9) tiene tres posiciones: DESCONECTADO, CONECTADO/PRECALENTAMIENTO y ARRANQUE.

El mando de la TDF tiene dos posiciones: HACIA FUERA (ENGRANAR) y HACIA DENTRO (DESENGRANAR). Tire hacia fuera del mando de la TDF para engranar las cuchillas de la unidad de corte. Empuje el mando hacia adentro para desengranar las cuchillas de la unidad de corte (Figura 9).
Este interruptor (Figura 9) controla las 2 gamas de velocidad de la máquina, Alta y Baja.
Seleccione la posición H/L AUTO para permitir que la máquina seleccione automáticamente la velocidad alta o baja.
Seleccione la posición BAJA para seleccionar manualmente solo la velocidad baja.
Puede cambiar la posición del interruptor en cualquier momento, pero la máquina sólo cambiará entre gamas de velocidad si el pedal de tracción está en punto muerto y la máquina está detenida.
Note: Para pasar a velocidad alta en la posición H/L AUTO, desengrane la TDF y eleve totalmente las unidades de corte.
Note: Si el interruptor está en la posición H/L AUTO, no puede bajar las carcasas de la posición totalmente elevada a menos que el pedal de tracción esté en punto muerto y la máquina esté detenida.
El interruptor de control de crucero activa el control de crucero para mantener la velocidad de avance deseada (Figura 10). Presione la parte trasera del mando para desactivar el control de crucero, la parte intermedia para activar el control de crucero y la parte delantera para establecer la velocidad de avance deseada.
Una vez ajustado el control de crucero, puede cambiar la velocidad con el InfoCenter (Figura 30).

Los interruptores de elevación elevan y bajan las unidades de corte (Figura 9). Presione los interruptores hacia adelante para bajar las unidades de corte y hacia atrás para elevar las unidades de corte. Al arrancar la máquina, con las unidades de corte bajadas, presione hacia abajo el interruptor de elevación para dejar que las unidades de corte floten y sieguen.
Note: Las unidades de corte no pueden bajarse en la gama de velocidad alta, y no pueden elevarse o bajarse si el operador no está en el asiento. Las unidades de corte también pueden bajarse con la llave en la posición de CONECTADO y el operador en el asiento.
Mueva el interruptor de las luces hacia arriba para cambiar las luces a la posición de CONECTADO (Figura 9).
Mueva el interruptor de las luces hacia abajo para cambiar las luces a la posición de DESCONECTADO.
El enchufe eléctrico (Figura 11) se utiliza para alimentar accesorios eléctricos opcionales de 12V.

El portabolsas se utiliza para guardar objetos (Figura 11).
Mueva la palanca de ajuste del asiento, situada el lado del asiento, hacia fuera, deslice el asiento hasta la posición deseada y suelte la palanca para fijar el asiento en esa posición (Figura 12).

Gire el pomo para ajustar el ángulo del reposabrazos (Figura 12).
Mueva la palanca para ajustar el ángulo del respaldo (Figura 12).
El indicador de peso indica si el asiento está ajustado para el peso del operador (Figura 12). Ajuste la altura situando la suspensión dentro de la zona verde.
Utilice esta palanca para ajustar el asiento según su peso (Figura 12). Tire de la palanca hacia arriba para aumentar la presión del aire, o empújela hacia abajo para reducir la presión del aire. El ajuste es correcto cuando el indicador de peso está en la zona verde.
La pantalla LCD del InfoCenter (Figura 9) muestra información sobre la máquina, como por ejemplo el estado operativo, diferentes diagnósticos y otra información sobre la máquina.
Las pantallas mostradas dependen de los botones seleccionados. El propósito de cada botón puede variar dependiendo de lo que se necesite en cada momento.

| Descripción | 4500-D | Referencia en la Figura 13 | 4700-D | Referencia en la Figura 13 | |
|---|---|---|---|---|---|
| Anchura de corte | 280 cm (110") | D | 380 cm (150") | F | |
| Anchura total | |||||
| Unidades de corte bajadas | 286 cm (113") | E | 391 cm (154") | G | |
| Unidades de corte elevadas (transporte) | 224 cm (88") | A | 224 cm (88") | A | |
| Distancia entre ruedas | |||||
| Delante | 224 cm (88") | B | 224 cm (88") | B | |
| Detrás | 141 cm (56") | M | 141 cm (56") | M | |
| Altura con ROPS | 226 cm (88.8") | C | 226 cm (88.8") | C | |
| Longitud total | |||||
| Unidades de corte bajadas | 370 cm (146") | H | 370 cm (146") | H | |
| Unidades de corte elevadas (transporte) | 370 cm (146") | l | 370 cm (146") | l | |
| Separación del suelo | 15 cm (6") | 15 cm (6") | |||
| Distancia entre ejes | 171 cm (68") | K | 171 cm (68") | K | |
| Peso neto | 1937 kg (4,270 libras) | 2277 kg (5,020 libras) | |||
| (con unidades de corte, sin combustible) | |||||
Note: Las especificaciones y diseños están sujetos a modificación sin previo aviso.
| Longitud | 86.4 cm (34") |
| Anchura | 86.4 cm (34") |
| Altura | 24.4 cm (9.6") hasta el soporte del bastidor |
| 26.7 cm (10½") con altura de corte de ¾" | |
| 34.9 cm (13¾") con altura de corte de 4" | |
| Peso | 88 kg (195 libras) |
Está disponible una selección de aperos y accesorios homologados por Toro que pueden utilizarse con la máquina a fin de potenciar y aumentar sus prestaciones. Póngase en contacto con su Servicio Técnico Autorizado o con su distribuidor autorizado Toro, o visite www.Toro.com para obtener una lista de todos los aperos y accesorios homologados.
Utilice solamente piezas de repuesto y accesorios genuinos de Toro. Las piezas de repuesto y accesorios de otros fabricantes podrían ser peligrosos, y su uso podría invalidar la garantía del producto.
Note: Los lados derecho e izquierdo de la máquina se determinan desde la posición normal del operador.
No deje nunca que la máquina sea utilizada o reparada por niños o por personas que no hayan recibido la formación adecuada al respecto. La normativa local puede imponer límites sobre la edad del operador. El propietario es responsable de proporcionar formación a todos los operadores y mecánicos.
Familiarícese con la operación segura del equipo, los controles del operador y las señales de seguridad.
Apague el motor, retire la llave y espere a que se detenga todo movimiento antes de abandonar el puesto del operador. Deje que la máquina se enfríe antes de hacer trabajos de ajuste, mantenimiento, limpieza o almacenamiento.
Sepa cómo parar rápidamente la máquina y el motor.
Compruebe que los controles de presencia del operador, los interruptores de seguridad y los protectores están instalados y que funcionan correctamente. No utilice la máquina si no funcionan correctamente.
Antes de segar, inspeccione siempre la máquina para asegurarse de que las cuchillas, los pernos de las cuchillas y los conjuntos de corte están en buenas condiciones de uso. Sustituya cuchillas o pernos gastados o dañados en conjuntos completos para no desequilibrar la máquina.
Inspeccione el área donde se va a utilizar la máquina y retire cualquier objeto que la máquina podría lanzar al aire.
Este producto genera un campo electromagnético. Si usted lleva un dispositivo médico electrónico implantable, consulte a su profesional sanitario antes de utilizar este producto.
Extreme las precauciones al manejar el combustible. Es inflamable y sus vapores son explosivos.
Apague todo cigarrillo, cigarro, pipa u otra fuente de ignición.
Utilice solamente un recipiente de combustible homologado.
No retire el tapón de combustible ni llene el depósito de combustible si el motor está en marcha o está caliente.
No añada ni drene combustible en un lugar cerrado.
No guarde la máquina o un recipiente de combustible en un lugar donde pudiera haber una llama desnuda, chispas o una llama piloto, por ejemplo en un calentador de agua u otro electrodoméstico.
Si derrama combustible, no intente arrancar el motor; evite crear fuentes de ignición hasta que los vapores del combustible se hayan disipado.
Antes de arrancar el motor y utilizar la máquina, compruebe el nivel de aceite de motor en el cárter; consulte Comprobación del nivel de aceite del motor.
Antes de arrancar el motor y utilizar la máquina, compruebe el sistema de refrigeración; consulte Comprobación del sistema de refrigeración.
Antes de arrancar el motor y utilizar la máquina, compruebe el sistema hidráulico; consulte Comprobación del nivel de fluido hidráulico.
Drene el agua u otros contaminantes del separador de agua; consulte Drenaje del agua del separador de combustible/agua.
Compruebe que el eje trasero y la caja de engranajes del eje trasero no tienen fugas; consulte Comprobación de fugas en el eje trasero y la caja de engranajes del eje trasero.
Capacidad del depósito de combustible: 83 l (22 galones US)
Important: Utilice combustible diésel bajo en azufre.El incumplimiento de las siguientes precauciones podría dañar el motor.
Nunca utilice queroseno o gasolina en lugar de combustible diésel.
Nunca mezcle queroseno o aceite de motor usado con combustible diésel.
Nunca guarde el combustible en recipientes con recubrimiento de zinc en el interior.
No utilice aditivos de combustible.
Índice de cetano: 45 o superior
Contenido de azufre: bajo en azufre (<500 ppm)
| Especificación de combustible diésel | Ubicación |
| ASTM D975 | EUA |
| N.º 1-D S15 | |
| N.º 2-D S15 | |
| EN 590 | Unión Europea |
| ISO 8217 DMX | Internacional |
| JIS K2204 grado n.º 2 | Japón |
| KSM-2610 | Corea |
Utilice únicamente combustible diésel o combustible biodiésel limpio y nuevo.
Compre el combustible en cantidades que puedan ser consumidas en 180 días para asegurarse de que el combustible es nuevo.
Utilice combustible diésel tipo verano (n.º 2-D) a temperaturas superiores a -7 °C (20 °F), y combustible diésel tipo invierno (n.º 1-D o mezcla de n.º 1-D/2-D) a temperaturas inferiores a -7 °C (20 °F).
Note: El uso de combustible tipo invierno a más bajas temperaturas proporciona un punto de inflamación menor y características de flujo en frío que facilitan el arranque y reducen la obturación del filtro de combustible.El uso de combustible tipo verano a temperaturas por encima de los -7 °C (20 °F) contribuye a que la vida útil de la bomba de combustible sea mayor y a incrementar la potencia en comparación con el combustible tipo invierno.
Esta máquina también puede utilizar una mezcla de combustible biodiésel de hasta B20 (20 % biodiésel, 80 % petrodiésel).
Contenido sulfúrico: ultrabajo (<15 ppm)
Especificación de combustible biodiésel: ASTM D6751 o EN14214
Especificación de mezcla de combustible: ASTM D975, EN590 o JIS K2204
Important: El contenido sulfúrico de la parte de petrodiésel debe ser ultrabajo.
Tome las siguientes precauciones:
Las mezclas de biodiésel pueden dañar las superficies pintadas.
Utilice B5 (contenido de biodiésel del 5 %) o mezclas menores cuando hace frío.
Vigile los retenes, las mangueras y las juntas que estén en contacto con el combustible porque pueden degradarse con el tiempo.
El filtro de combustible puede obstruirse durante cierto tiempo después de la conversión a una mezcla de biodiésel.
Si desea más información sobre el biodiésel, póngase en contacto con su distribuidor autorizado Toro.


Llene el depósito hasta una distancia de 6 a 13 mm (¼" a ½") por debajo del borde superior del depósito, no del cuello de llenado, con combustible diésel nº 2-D.
Note: Si es posible, llene el depósito de combustible después de cada uso; de esta manera se minimiza la acumulación de condensación dentro del depósito de combustible.
| Intervalo de mantenimiento y servicio | Procedimiento de mantenimiento |
|---|---|
| Cada vez que se utilice o diariamente |
|
La presión correcta de los neumáticos es de 1.38 bar (20 psi).
Important: Mantenga la presión recomendada de todos los neumáticos para asegurar una buena calidad de corte y un rendimiento correcto de la máquina. No use los neumáticos con presiones menores que las recomendadas.Compruebe la presión de todos los neumáticos antes de utilizar la máquina.

| Intervalo de mantenimiento y servicio | Procedimiento de mantenimiento |
|---|---|
| Después de la primera hora |
|
| Después de las primeras 10 horas |
|
| Cada 200 horas |
|
Apriete las tuercas de las ruedas a 115–136 N·m (85 – 100 pies-libra) en el orden indicado en la Figura 16 y la Figura 17.


Si no se mantienen correctamente apretadas las tuercas de las ruedas podrían producirse lesiones personales.
Apriete las tuercas de las ruedas al par de torsión correcto.
Important: Las unidades de corte rotativas a menudo cortan aproximadamente 6 mm (¼") más bajo que una unidad de corte de molinete con el mismo ajuste de taller. Puede ser necesario ajustar la altura de taller de las unidades de corte rotativas 6 mm (¼") más alto que la de las unidades de corte de molinete que siegan en la misma zona.
Important: Se podrá acceder con más facilidad a las unidades de corte traseras si se retira la unidad de corte de la máquina.
Aparque la máquina en una superficie nivelada, ponga el freno de estacionamiento, baje la unidad de corte al suelo, apague el motor y retire la llave.
Afloje el perno que sujeta cada soporte de altura de corte a la pletina de altura de corte (delante y en cada lado), según se muestra en la Figura 18.
Comenzando con el ajuste delantero, retire el perno.

Sostenga la cámara y retire el espaciador (Figura 18).
Mueva la cámara a la altura deseada e instale un espaciador en el orificio y la ranura de altura de corte deseados (Figura 19)

Posicione la pletina con orificio roscado en línea con el espaciador.
Instale el perno apretando con los dedos solamente.
Repita los pasos 4 a 7 para cada ajuste lateral.
Apriete los 3 pernos a 41 N∙m (30 pies-libra). Siempre apriete el perno delantero en primer lugar.
Note: Si se modifica la altura de corte en más de 3.8 cm (1½"), puede ser necesario realizar un ajuste intermedio de altura para evitar que se atasque la cámara (por ejemplo, cambiar de una altura de corte de 3.1 cm a 7 cm (1¼" a 2¾")).
| Intervalo de mantenimiento y servicio | Procedimiento de mantenimiento |
|---|---|
| Cada vez que se utilice o diariamente |
|
Si los interruptores de seguridad están desconectados o dañados, la máquina podría ponerse en marcha inesperadamente, causando lesiones personales.
No manipule los interruptores de seguridad.
Compruebe la operación de los interruptores de seguridad cada día, y sustituya cualquier interruptor dañado antes de operar la máquina.
Los interruptores de seguridad están diseñados para apagar la máquina si usted se levanta del asiento con el pedal de tracción presionado. No obstante, puede levantarse del asiento con el motor en marcha si el pedal de tracción está en la posición de PUNTO MUERTO. Aunque el motor sigue funcionando cuando se desengrana el mando de la TDF y se suelta el pedal de tracción, apague el motor antes de levantarse del asiento.
Aparque la máquina en una superficie nivelada, ponga el freno de estacionamiento, baje las unidades de corte y gire la llave a la posición de DESCONECTADO.
Pise el pedal de tracción y gire la llave a la posición de CONECTADO.
Note: Si el motor gira, hay un problema con el sistema de seguridad. Corrija este problema antes de usar la máquina.
Gire la llave a la posición de ENCENDIDO, levántese del asiento y ponga el interruptor de la TDF en ENGRANADO.
Note: La TDF no debe engranarse. Si la TDF se engrana, hay un problema con el sistema de seguridad. Corrija este problema antes de usar la máquina.
Ponga el freno de estacionamiento, gire la llave a la posición de CONECTADO, y saque el pedal de tracción de PUNTO MUERTO.
Note: El InfoCenter mostrará "tracción no permitida", y la máquina no debe moverse. Si la máquina se mueve, hay un problema con el sistema de interruptores de seguridad. Corrija este problema antes de usar la máquina.
| Intervalo de mantenimiento y servicio | Procedimiento de mantenimiento |
|---|---|
| Cada vez que se utilice o diariamente |
|
Note: Baje las unidades de corte sobre una zona limpia de césped o una superficie dura para evitar que se arrojen polvo y residuos.
Para verificar este tiempo de parada, siéntese en el asiento y desengrane la TDF. Esté atento a las cuchillas en rotación y registre el tiempo necesario para que las cuchillas se detengan por completo. Si tardan más de 7 segundos, ajuste la válvula de frenado. Solicite ayuda a un distribuidor autorizado Toro para realizar este ajuste.
Esta cuchilla se diseñó para producir una elevación y dispersión excelentes en prácticamente cualquier condición. Si se necesita mayor o menor elevación y velocidad de descarga, utilice otra cuchilla.
Atributos: Elevación y dispersión excelentes en la mayoría de las condiciones
En general, esta cuchilla ofrece un mejor rendimiento a alturas de corte menores de 1.9 cm a 6.4 cm (¾" a 2½").
Atributos:
La descarga es más uniforme a alturas de corte menores.
La descarga tiene menos tendencia a desviarse hacia la izquierda y, por tanto, se obtiene un aspecto mejor alrededor de trampas de arena y calles.
Se necesita menos potencia a alturas menores con césped denso.
En general, la cuchilla ofrece mejores resultados a alturas de corte mayores, de 7 cm a 10 cm (2" a 4").
Atributos:
Más elevación y mayor velocidad de descarga
La hierba escasa o caída se recoge mejor a alturas de corte mayores
Los recortes mojados o pegajosos se descargan más eficazmente, reduciendo la congestión dentro de la unidad de corte.
Requiere más potencia
Tiende a descargar más hacia la izquierda, y a quedar dispuesta en hileras a alturas de corte menores
Si se utiliza una cuchilla de elevación alta con el deflector de mulching, la cuchilla podría romperse, lo que podría provocar lesiones o la muerte.
No utilice la cuchilla de alta elevación con el deflector de mulching.
Esta cuchilla se diseñó para proporcionar un excelente mulching de hojas.
Atributo: Excelente mulching (picado) de hojas
| Cuchilla de vela angular | Cuchilla de vela paralela de alta elevación(No utilizar con deflector de mulching) | Deflector de mulching | Rascador de rodillo | |
| Siega de césped: Altura de corte de 1.9 a 4.4 cm (¾ a 1¾") | Recomendada para la mayoría de las aplicaciones | Puede ofrecer un buen rendimiento en césped ligero o escaso. | Se ha demostrado que mejora la dispersión y el rendimiento después del corte, en hierbas norteñas cortadas, al menos, tres veces por semana, cortando menos de un tercio de la hoja de hierba. No utilizar con la cuchilla de vela paralela de alta elevación | Utilícelo cada vez que se acumulen recortes en los rodillos o cuando se vean grandes montículos planos de recortes de hierba. Los rascadores pueden aumentar la acumulación de recortes en determinadas aplicaciones. |
| Siega de césped: Altura de corte de 5 a 6.4 cm (2 a 2½") | Recomendada para césped espeso o abundante | Recomendada para césped ligero o escaso | ||
| Siega de césped: Altura de corte de 7 a 10 cm (2¾ a 4") | Puede ofrecer un buen rendimiento en césped abundante | Recomendada para la mayoría de las aplicaciones | ||
| Mulching de hojas | Recomendada para su uso con el deflector de mulching | No se permite | Utilizar únicamente con la cuchilla de vela combinada, atómica o de vela de ángulo | |
| Ventajas | Descarga uniforme una altura de corte baja; mejor aspecto alrededor de trampas de arena y calles; menor potencia requerida | Más elevación y mayor velocidad de descarga; la hierba escasa o caída se recoge una altura de corte elevada; los recortes mojados o pegajosos se descargan de forma eficaz | Puede mejorar la dispersión y el aspecto en determinadas aplicaciones de siega; muy bueno para el mulching de hojas | Reduce las acumulaciones en el rodillo en determinadas aplicaciones. |
| Desventajas | No levanta bien la hierba en aplicaciones de alta altura de corte; la hierba mojada o pegajosa tiende a acumularse en la cámara, por lo cual se obtiene una pobre calidad de corte y se requiere un consumo mayor de energía. | Se necesita más energía para funcionar en algunas aplicaciones; tiende quedar dispuesta en hileras a una altura de corte menor en el caso de hierba frondosa; no utilizar con el deflector de mulching | Se acumulará hierba en la cámara si se intenta retirar demasiada hierba con el deflector instalado. |
La pantalla muestra información sobre la máquina, como por ejemplo el estado operativo, diferentes diagnósticos y otra información sobre la máquina. Hay varias pantallas diferentes. Puede cambiar entre las pantallas en cualquier momento pulsando cualquiera de los botones de la pantalla y luego seleccionando la tecla de flecha correspondiente.

Note: El propósito de cada botón puede variar dependiendo de lo que se necesite en cada momento. El icono de cada botón indica su función en cada momento.
![]() | Horímetro |
![]() | Ajustes del tope virtual del pedal |
![]() | El operador debe sentarse en el asiento. |
![]() | El freno de estacionamiento está puesto. |
![]() | Temperatura del refrigerante del motor (°C o °F) |
![]() | Tracción o Pedal de tracción |
![]() | El control de crucero está activado. |
![]() | La toma de fuerza está deshabilitada. |
![]() | La TDF está engranada. |
![]() | Batería |
![]() | Advertencia |
![]() | Activo |
![]() | Inactivo |
![]() | Anterior |
![]() | Siguiente |
![]() | Aumentar |
![]() | Reducir |
![]() | Pantalla anterior |
![]() | Pantalla siguiente |
![]() | Aumentar valor |
![]() | Reducir valor |
![]() | Menú |
![]() | Desplazamiento hacia arriba/hacia abajo |
![]() | Desplazamiento hacia la izquierda/hacia la derecha |
![]() | Temperatura del fluido hidráulico (°C o °F) |
![]() | Intervalo rápido o alto (transporte) |
![]() | Intervalo lento o bajo (siega) |
![]() | Ventilador (inversión del ventilador) |
![]() | Todas las unidades de corte elevadas |
![]() | Todas las unidades de corte bajadas |
![]() | Unidades de corte centrales elevadas |
![]() | Unidades de corte centrales bajadas |
![]() | Unidades de corte izquierdas elevadas |
![]() | Unidades de corte izquierdas bajadas |
![]() | Unidades de corte derechas elevadas |
![]() | Unidades de corte derechas bajadas |
![]() | Bloqueado |
Accesible
solo mediante introducción del PIN
Para entrar en el sistema de menús del InfoCenter, pulse el botón de acceso a los menús en la pantalla principal. Aparecerá el menú principal. Las tablas siguientes contienen un resumen de las opciones disponibles en cada menú:
| Menú principal - Elemento del menú | Descripción |
| Fallos | El menú Fallos contiene una lista de los fallos recientes de la máquina. Consulte el Manual de mantenimiento o póngase en contacto con su distribuidor Toro autorizado si desea más información sobre el menú Fallos y la información que contiene. |
| Mantenimiento | El menú Mantenimiento contiene información sobre la máquina, como por ejemplo contadores de horas de uso y otros datos similares. |
| Diagnósticos | El menú Diagnósticos muestra el estado de cada interruptor y sensor de la máquina y de la salida de cada control. Puede utilizar esta información para identificar y resolver algunos problemas, puesto que indica rápidamente qué controles de la máquina están ACTIVADOS O ENCENDIDOS, y cuáles están DESACTIVADOS O APAGADOS. |
| Settings (Ajustes) | El menú Settings (Ajustes) permite personalizar y modificar las variables de configuración de la pantalla. |
| Ajustes de la máquina | El menú Ajustes de la máquina permite ajustar la aceleración, la velocidad y los umbrales de contrapeso. |
| Acerca de | El menú Acerca de muestra el número de modelo, el número de serie y la versión del software de su máquina. |
| Menú de mantenimiento – Elemento del menú | Descripción |
| Hours | Muestra el número total de horas de operación de la máquina, el motor y la TDF, así como el número de horas de transporte y el mantenimiento previsto. |
| Counts | Muestra los diferentes contadores de la máquina. |
Pedal de tracción![]() | |
Bomba de tracción![]() | |
| Ventilador | Indica si el ventilador está activado en los siguientes casos: Alta temperatura del motor, alta temperatura del aceite, alta temperatura del motor o del sistema hidráulico, y ventilador encendido |
| Régimen de combustible | Muestra el consumo de combustible actual. |
| Regeneración DPF | La opción de regeneración del filtro de partículas diésel y los submenús del DPF |
| Diagnósticos - Elemento del menú | Descripción |
| Unidad de corte izquierda | Consulte el Manual de mantenimiento o a su distribuidor autorizado Toro si desea más información sobre el menú Motor – marcha y la información que contiene. |
| Unidad de corte central | |
| Unidad de corte derecha | |
| Tracción | |
| Gama alta/baja | |
| TDF | |
| Motor | |
Estadísticas CAN![]() |
| Ajustes - Elemento de Menú | Descripción |
| Introducir PIN | Permite que una persona (superintendente/mecánico) autorizada por su compañía acceda a los menús protegidos con código PIN. |
| Retroiluminación | Controla el brillo de la pantalla LCD. |
| Idioma | Controla el idioma utilizado en el InfoCenter*. |
| Font Size (Tamaño de fuente) | Controla el tamaño de la fuente en la pantalla. |
| Unidades | Controla las unidades utilizadas en el InfoCenter (inglés o métrico). |
Menús protegidos![]() | Permite que una persona con código PIN autorizada por su compañía acceda a los menús protegidos |
Ajustes de protección![]() | Permite modificar los ajustes de los menús protegidos. |
Note: El menú Ajustes de la máquina sólo aparece cuando se introduce el PIN.
Ajustes de la máquina - Elemento del menú![]() | Descripción |
Velocidad de siega ![]() | Controla la velocidad máxima en modo de siega (gama baja) |
Velocidad de transporte ![]() | Controla la velocidad máxima en modo de transporte (gama alta) |
Smart Power![]() | Activa y desactiva el Smart Power |
Contrapeso ![]() | Controla el contrapeso aplicado por las unidades de corte |
Modo de giro ![]() | Activa y apaga el Modo de giro |
Aceleración ![]() | Los ajustes Baja, Media y Alta controlan la rapidez con la que reacciona la velocidad de tracción al mover el pedal de tracción. |
Protegido
en menús protegidos – accesible solo al introducir el
PIN
| Acerca de – Elemento del menú | Descripción |
| Modelo | Muestra el número de modelo de la máquina. |
| NS | Muestra el número de serie de la máquina. |
| Revisión del controlador de la máquina | Indica la revisión de software del controlador maestro. |
| Revisión S/W | Indica la revisión de software del controlador principal. |
Versión del InfoCenter![]() | Indica la revisión de software del InfoCenter |
Software secundario![]() | Muestra el número de pieza y la revisión del controlador de la unidad de corte del modelo Groundsmaster 4700. |
| Fase V | Muestra Yes o No (sí/no), dependiendo del motor. |
Algunas opciones de configuración operativa pueden modificarse en el menú SETTINGS (Ajustes) del InfoCenter. Para bloquear estos ajustes, utilice el PROTECTED MENU (Menú Protegido).
Note: Su distribuidor programa la contraseña inicial en el momento de la entrega de la máquina.
Note: El código PIN predeterminado de fábrica para su máquina es 0000 o 1234.Si cambió su código PIN y olvidó el código, póngase en contacto con su distribuidor autorizado Toro para obtener ayuda.
En MAIN MENU (menú principal), vaya al menú SETTINGS (Ajustes) y pulse el botón Seleccionar (Figura 21).

En el menú SETTINGS (Ajustes), vaya a ENTER PIN (Introducir PIN) y pulse el botón Seleccionar (Figura 22A).

Para introducir el código PIN, presione los botones de navegación Arriba/Abajo hasta que aparezca el primer dígito correcto y, a continuación, pulse el botón de navegación Derecha para desplazarse al dígito siguiente (Figura 22B y Figura 22C). Repita este paso hasta que haya introducido el último dígito.
Pulse el botón Seleccionar.
Note: Si la pantalla acepta el código PIN y el menú protegido está desbloqueado, se muestra la palabra "PIN" en la esquina superior derecha de la pantalla.
Para bloquear el menú Protegido, gire el interruptor de encendido a la posición OFF (Desconectado) y luego a la posición ON (Conectado).
En AJUSTES, vaya a PROTEGER AJUSTES.
Para ver y modificar los ajustes sin introducir un
código PIN, utilice el botón Seleccionar para cambiar PROTEGER AJUSTES a
(Desactivado).
Para ver y modificar los ajustes con un código
PIN, utilice el botón Seleccionar para cambiar PROTECT SETTINGS (Proteger configuración) a
(Activado), introduzca
el código PIN y gire la llave del interruptor de encendido
a la posición de OFF (Desconectado)
y luego a la posición de ON (Conectado).
El temporizador de mantenimiento programado reinicia a cero las horas restantes para el siguiente mantenimiento después de realizar un procedimiento de mantenimiento programado.
En SETTINGS (Ajustes), vaya a ENTER PIN (Introducir PIN) y pulse el botón Seleccionar.
Introduzca el PIN; consulte Acceso a los Menús protegidos.
En SERVICE (Mantenimiento), vaya a HOURS (Horas) y pulse el botón Seleccionar.
Desplácese hacia abajo a SERVICE DUE (Mantenimiento pendiente).
Note: Si hay mantenimiento pendiente, aparece NOW (Ahora) junto a SERVICE DUE (Mantenimiento pendiente).
Resalte el intervalo de mantenimiento y pulse el botón Seleccionar.
Note: El intervalo de mantenimiento (250 horas, 500 horas, etc.) está situado junto al SERVICE DUE (Mantenimiento pendiente). Service interval (intervalo de mantenimiento) es un elemento de menú protegido.
Cuando aparezca la pantalla RESET SERVICE TIMER? (¿Resetear temporizador de mantenimiento?), pulse el botón Seleccionar para contestar SÍ o el botón Atrás para contestar NO.
Después de seleccionar YES (Sí) la pantalla de intervalos se borra, y vuelve luego a las selecciones Service Hours (Horas de mantenimiento).
El ajuste seleccionado se muestra como X en el gráfico de barras de control de la velocidad de tracción, junto con los ajustes de control de crucero y tope del pedal. Una X en una barra indica que la velocidad máxima está limitada por el supervisor (Figura 27).
Note: Este ajuste se guarda en la memoria y se aplica a la velocidad de tracción hasta que lo cambie.
En MACHINE SETTINGS (Ajustes de la máquina), vaya a MOW SPEED (Velocidad de siega).
Utilice los botones de navegación derecho e izquierdo para aumentar la velocidad máxima de siega en incrementos del 5% en la pantalla principal y en incrementos del 10% en el menú MACHINE SETTINGS (Ajustes de la máquina). El intervalo permitido en la pantalla principal es del 10 % al 100 %, y el de MACHINE SETTINGS (Ajustes de la máquina) es del 30 % al 100 %.
El ajuste seleccionado se muestra como X en el gráfico de barras de control de la velocidad de tracción, junto con los ajustes de control de crucero y tope del pedal. Una X en una barra indica que la velocidad máxima está limitada por el supervisor (Figura 27).
Note: Este ajuste se guarda en la memoria y se aplica a la velocidad de tracción hasta que lo cambie.
En MACHINE SETTINGS (Ajustes de la máquina), vaya a TRANSPORT SPEED (Velocidad de transporte).
Utilice los botones de navegación derecho e izquierdo para aumentar la velocidad máxima de siega en incrementos del 5% en la pantalla principal y en incrementos del 10% en el menú MACHINE SETTINGS (Ajustes de la máquina). El intervalo permitido en la pantalla principal es del 10 % al 100 %, y el de MACHINE SETTINGS (Ajustes de la máquina) es del 30 % al 100 %.
En SETTINGS (Ajustes), vaya a SMART POWER.
Pulse el botón de navegación Derecha para cambiar entre ON (Activado) y OFF (Desactivado).
En MACHINE SETTINGS (Ajustes de la máquina), vaya a COUNTERBALANCE (Contrapeso).
Pulse el botón de navegación Derecha para seleccionar Contrapeso y para cambiar entre los valores LOW (Bajo), MEDIUM (Medio) y HIGH (Alto).
En MACHINE SETTINGS (Ajustes de la máquina), vaya a ACCELERATION (Aceleración).
Pulse el botón de navegación Derecha para cambiar entre LOW (Baja), MEDIUM (Media) y HIGH (Alta).
En el menú SETTINGS MENU (Configuración), vaya a TURNAROUND (Modo de Giro).
Pulse el botón derecho para cambiar entre ON (Activado) y OFF (Desactivado).
Note: Para mayor comodidad, puede decidir realizar una regeneración estacionaria antes de que el nivel de hollín llegue al 100%, siempre que el motor haya funcionado durante más de 50 horas desde la última regeneración de reinicio, estacionaria o de recuperación.
Utilice el menú Technician (Técnico) para ver el estado actual del control de regeneración del motor y el nivel de hollín actual.
En SETTINGS (Ajustes), vaya a DPF REGENERATION (Regeneración del DPF) y pulse el botón Seleccionar.
En DPF REGENERATION (regeneración del DPF), vaya a TECHNICIAN (Técnico) y pulse el botón Seleccionar.


Rojo intermitente — fallo activo
Rojo fijo — aviso activo
Azul fijo — mensajes de calibración/diálogo
Verde fijo — operación normal
Esta máquina muestra velocidades de tracción estimadas, en forma de porcentaje.
La velocidad se muestra entre el 10 % y el 100 % en las pantallas de crucero y tope virtual del pedal, y entre el 30 % y el 100 % en el menú MACHINE SETTINGS (Ajustes de la máquina).
Al arrancar la máquina en temperaturas bajas, el modo de precalentamiento limita la velocidad del motor a ralentí bajo durante un breve periodo después de arrancar el motor para evitar posibles daños a los componentes debido al uso de la máquina con aceite frío.
Un icono en forma de copo de nieve
en la pantalla del InfoCenter
indica que el modo de precalentamiento está activado. No haga
funcionar la máquina hasta después del periodo de precalentamiento.
El propietario/operador puede prevenir, y es responsable de cualquier accidente que pueda provocar lesiones personales o daños materiales.
Lleve ropa adecuada, incluyendo guantes, protección ocular, pantalón largo, calzado resistente y antideslizante y protección auricular. Si tiene el pelo largo, recójaselo, y no lleve joyas o prendas sueltas. Lleve una mascarilla en condiciones de trabajo de mucho polvo.
No utilice la máquina si está enfermo, cansado, o bajo la influencia de alcohol o drogas.
Dedique toda su atención al manejo de la máquina. No realice ninguna actividad que pudiera distraerle; de lo contrario, pueden producirse lesiones o daños materiales.
Antes de arrancar el motor, asegúrese de que todas las transmisiones están en punto muerto, que el freno de estacionamiento está puesto y que usted se encuentra en el puesto del operador.
No lleve pasajeros en la máquina y mantenga a otras personas y niños fuera de la zona de trabajo.
Utilice la máquina únicamente con buena visibilidad para evitar agujeros o peligros ocultos.
Evite segar hierba mojada. Una tracción reducida podría hacer que la máquina se deslice.
Mantenga las manos y los pies alejados de las piezas en movimiento. Manténgase alejado del orificio de descarga.
Mire hacia atrás y hacia abajo antes de poner marcha atrás para asegurarse de que el camino está despejado.
Tenga cuidado al acercarse a esquinas ciegas, arbustos, árboles u otros objetos que puedan dificultar su visión.
Pare las cuchillas siempre que no esté segando.
Pare la máquina, retire la llave y espere a que se detengan todas las piezas en movimiento antes de inspeccionar el accesorio después de golpear un objeto o si se produce una vibración anormal en la máquina. Haga todas las reparaciones necesarias antes de volver a utilizar la máquina.
Vaya más despacio y tenga cuidado al girar y al cruzar calles y aceras con la máquina. Ceda el paso siempre.
Desengrane la transmisión de la unidad de corte, apague el motor, retire la llave y espere a que se detenga todo movimiento antes de ajustar la altura de corte (a menos que pueda ajustarla desde la posición del operador).
Haga funcionar el motor únicamente en zonas bien ventiladas. Los gases de escape contienen monóxido de carbono, que es letal si se inhala.
No deje nunca desatendida la máquina si está funcionando.
Antes de abandonar el puesto del operador, haga lo siguiente:
Aparque la máquina en una superficie nivelada.
Desengrane la TDF y baje los accesorios.
Ponga el freno de estacionamiento.
Apague el motor y retire la llave.
Espere a que se detenga todo movimiento.
Utilice la máquina únicamente con buena visibilidad. No haga funcionar la máquina cuando hay riesgo de tormentas eléctricas.
No use la máquina como un vehículo de remolque.
Utilice solamente accesorios, aperos y piezas de repuesto homologados por Toro.
Utilice el control de crucero (si está instalado) únicamente cuando pueda utilizar la máquina en una zona abierta, llana y libre de obstáculos, y donde la máquina pueda desplazarse a una velocidad constante sin interrupción.
El ROPS es un dispositivo de seguridad integrado y eficaz.
No retire ninguno de los componentes del ROPS de la máquina.
Asegúrese de que el cinturón de seguridad está sujeto a la máquina.
Tire del cinturón sobre el regazo y conéctelo a la hebilla en el otro lado del asiento.
Para desabrochar el cinturón de seguridad, sujete el cinturón, pulse el botón de la hebilla para soltar el cinturón y guié el cinturón hasta el orificio de recogida automática. Asegúrese de que puede desabrochar rápidamente el cinturón de seguridad en caso de emergencia.
Verifique con atención si hay obstrucciones en alto y evite el contacto con ellas.
Mantenga el ROPS en condiciones seguras de funcionamiento, inspeccionándolo periódicamente en busca de daños y manteniendo bien apretados todos los herrajes de montaje.
Si algún componente del ROPS está dañado, sustitúyalo. No lo repare ni lo cambie.
Una cabina instalada por Toro es una barra antivuelco.
Lleve puesto siempre el cinturón de seguridad.
Mantenga una barra antivuelco plegable en posición elevada y bloqueada, y lleve puesto el cinturón de seguridad cuando utilice la máquina con la barra antivuelco en posición elevada.
Baje una barra antivuelco plegable temporalmente solo cuando sea necesario. No lleve el cinturón de seguridad cuando la barra antivuelco está plegada hacia abajo.
Sepa que no hay protección contra vuelcos cuando una barra antivuelco plegada está en posición de bajada.
Compruebe la zona que segará y nunca pliegue hacia abajo una barra antivuelco plegable en zonas de pendientes, taludes o agua.
Las pendientes son una de las principales causas de accidentes por pérdida de control y vuelcos, que pueden causar lesiones graves o la muerte. Usted es responsable de la seguridad cuando trabaja en pendientes. El uso de la máquina en cualquier pendiente exige un cuidado especial.
Evalúe las condiciones del lugar de trabajo para determinar si es seguro trabajar en la pendiente con la máquina; puede ser necesario realizar un estudio detallado de la zona. Utilice siempre el sentido común y el buen juicio al realizar este estudio.
Revise las instrucciones que aparecen a continuación sobre la operación de la máquina en pendientes y sobre la manera de determinar si la máquina puede utilizarse en las condiciones reinantes en ese día y lugar de trabajo en concreto. Los cambios de terreno pueden necesitar un cambio en el modo de operación de la máquina en pendientes.
Evite arrancar, parar o girar la máquina en cuestas o pendientes. Evite hacer cambios bruscos de velocidad o de dirección. Haga los giros lentamente y poco a poco.
No utilice la máquina en condiciones que puedan comprometer la tracción, la dirección o la estabilidad de la máquina.
Retire o señale obstrucciones como terraplenes, baches, surcos, montículos, rocas u otros peligros ocultos. La hierba alta puede ocultar las obstrucciones. Un terreno irregular puede hacer que la máquina vuelque.
Tenga en cuenta que conducir en hierba mojada, atravesar pendientes empinadas, o bajar cuestas puede hacer que la máquina pierda tracción. La transferencia de peso a las ruedas delanteras puede hacer que patine la máquina, con pérdida de frenado y de control de dirección.
Extreme las precauciones cuando utilice la máquina cerca de terraplenes, fosas, taludes, obstáculos de agua u otros obstáculos. La máquina podría volcar repentinamente si una rueda pasa por el borde de un terraplén o fosa, o si se socava un talud. Establezca una zona de seguridad entre la máquina y cualquier obstáculo.
Identifique cualquier obstáculo situado en la base de la pendiente. Si hay obstáculos, siegue la pendiente con una máquina manual de empuje.
Si es posible, mantenga la(s) unidad(es) de corte bajada(s) al suelo mientras trabaje en pendientes. Elevar la(s) unidad(es) de corte mientras se trabaja en pendientes puede hacer que la máquina pierda estabilidad.
Extreme las precauciones cuando utilice sistemas de recogida de hierba u otros accesorios. Éstos pueden afectar a la estabilidad de la máquina y causar pérdidas de control.
Esta máquina tiene un acelerador tipo automóvil, controlado por el pedal de tracción.
Esta máquina no tiene ningún otro mando o palanca del acelerador.
Cuando usted retira el pie del pedal de tracción, la máquina frena dinámicamente y se detiene.
Los pedales están optimizados para ofrecer una respuesta reactiva pero estable, lo que le permite mantener un control uniforme sobre terrenos irregulares, y al mismo tiempo frenar de manera rápida y suave.
Durante el transporte, el pedal de tracción funciona de forma similar a un automóvil, variando la velocidad del motor y la de tracción dependiendo de la posición del pedal de tracción.
Durante la siega, la velocidad del motor aumenta automáticamente a ralentí alto.
Si el motor está a ralentí bajo, al realizar funciones como elevar las unidades de corte o pisar el pedal de tracción, se aumenta la velocidad del motor hasta una velocidad de trabajo mínima, a fin de obtener la potencia suficiente para realizar la función de forma eficiente.
Limite el tiempo de ralentí de la máquina según lo recomendado para la regeneración del filtro de partículas diésel (DPF). Apague la máquina para evitar un tiempo de ralentí prolongado.
Las velocidades máximas configuradas en el menú protegido por PIN son establecidas por el supervisor para limitar la velocidad de tracción máxima de la máquina.
Las velocidades de tracción obtenibles por el uso del pedal de tracción, el control de crucero y el tope del pedal no pueden superar las velocidades máximas establecidas en el menú protegido por PIN.
Cuando se arranca el motor y la temperatura del fluido hidráulico es baja, la velocidad del motor aumenta automáticamente para optimizar la operación y calentar la máquina. La velocidad del motor vuelve automáticamente a ralentí bajo cuando el fluido hidráulico alcanza la temperatura de operación normal.
En condiciones de uso normales, esta máquina está diseñada para funcionar en la posición H/L AUTO del interruptor de gamas de velocidad (Figura 25). Esta posición permite que la máquina cambie automáticamente entre las gamas de velocidad alta y baja, dependiendo de si se utiliza la máquina para segar o para el transporte.
Cuando se selecciona la posición BAJA del interruptor de gamas de velocidad (Figura 25), la máquina funciona siempre en la gama de velocidad baja. Este ajuste es preferible para desplazamientos dentro de un taller, para cargar o descargar la máquina de un remolque, para subir cuestas empinadas o en cualquier otra situación en la que no se desee utilizar las altas velocidades de tracción de la gama de velocidad alta.
Si hay un obstáculo en su camino, eleve las unidades de corte para segar alrededor del mismo.
Para transportar la máquina entre diferentes áreas de trabajo, seleccione la gama AUTO HI/LOW, desengrane la TDF y eleve totalmente las unidades de corte. Esto permite que el pedal de tracción funcione como en un automóvil.
Siempre conduzca lentamente en terrenos irregulares.
Para familiarizarse con las características de la máquina, practique su manejo.
Eleve las unidades de corte, quite el freno de estacionamiento, pise el pedal de tracción hacia adelante y conduzca con cuidado a un espacio abierto.
Practique la conducción de la máquina, porque tiene una transmisión hidrostática y sus características pueden ser distintas a las de otras máquinas de mantenimiento de césped.
Practique la conducción hacia adelante y hacia atrás, y el arranque y la parada de la máquina. Para detener la máquina, quite el pie del pedal de tracción y déjelo volver a PUNTO MUERTO.
Note: Al bajar una pendiente, posiblemente tenga que pisar el pedal de marcha atrás para parar.
Quite el pie del pedal de tracción y pise los pedales de freno para detenerse rápidamente.
Practique la conducción alrededor de obstáculos con las unidades de corte elevadas y bajadas. Tenga cuidado al conducir entre objetos para no dañar la máquina ni las unidades de corte.
Esta máquina está equipada con 2 gamas de velocidad de tracción: baja y alta. El interruptor de gamas de velocidad le permite seleccionar las posiciones siguientes (Figura 25):
Gama alta/baja automática:
Si selecciona la posición H/L AUTO, la máquina puede seleccionar automáticamente entre las gamas de velocidad alta y baja. La posición H/L AUTO es comparable a seleccionar D (marcha) en un automóvil con transmisión automática.
Note: Para evitar posibles daños al césped, la máquina sólo cambiará entre las gamas baja y alta cuando el pedal de tracción esté en la posición de PUNTO MUERTO y las ruedas se hayan detenido.
Note: Las unidades de corte no pueden ser bajadas desde la posición de transporte mientras se conduce la máquina en la gama de velocidad alta.
Cuando está seleccionada la posición H/L AUTO y las unidades de corte están bajadas para la siega, la velocidad está limitada a la gama de velocidad baja.
Para cambiar a la gama de velocidad alta, seleccione la posición H/L AUTO en el interruptor de gamas de velocidad, desengrane la TDF y eleve totalmente las unidades de corte.
Cuando está seleccionada la posición H/L AUTO, la máquina cambiará automáticamente entre las gamas de tracción alta y baja, dependiendo de la posición de las unidades de corte y/o de la posición del interruptor de la TDF.
Gama baja:
La selección de la posición BAJA del interruptor limita la máquina a la gama de velocidad baja en todo momento. La posición BAJO es comparable a seleccionar 2, 1 O L en un automóvil con transmisión automática.
Cuando está seleccionada la posición BAJA, la máquina funciona solamente en la gama baja.
Utilice la posición BAJA para cargar la máquina en un remolque o para desplazarse en espacios reducidos como un taller.

Este pedal controla la velocidad hacia adelante y hacia atrás de la máquina, y el frenado dinámico cuando vuelve a punto muerto.
El pedal de tracción es un acelerador tipo automóvil; la velocidad del motor y la velocidad de la máquina responden al movimiento del pedal.
Durante el transporte, el pedal de tracción funciona de forma similar a un automóvil, variando la velocidad del motor y la de tracción dependiendo de la posición del pedal de tracción.
Durante la siega, el motor aumenta la velocidad automáticamente a ralentí alto para optimizar el rendimiento de siega, y el pedal de tracción controla solamente la velocidad de tracción.
Cuanto más se presiona el pedal hacia adelante o hacia atrás, más rápidamente se desplaza la máquina.
Para detener la máquina suavemente y de forma controlada durante el transporte o la siega, utilice el pie para mover el pedal de tracción a punto muerto a la velocidad deseada.
Para accionar el frenado máximo, retire el pie del pedal de tracción y deje que vuelva a punto muerto. La máquina frena dinámicamente y se detiene.
Este sistema de tracción le permite personalizar los ajustes de aceleración para su comodidad y para adaptarse a las condiciones del campo. Consulte Modo de aceleración para cambiar los ajustes.

La función de tope virtual del pedal (TVP) permite establecer los límites máximos temporales de la velocidad de tracción para los intervalos de siega y transporte.
Para acceder a esta función, seleccione el botón de navegación arriba o abajo del InfoCenter en el menú principal (Figura 27).
Utilice el TVP para ajustar la velocidad máxima de tracción según sus preferencias, o para cada aplicación.
No es posible ajustar el límite de velocidad del TVP a una velocidad mayor que la velocidad de tracción máxima protegida por el supervisor.
TVP es un ajuste temporal. Esta función vuelve a los ajustes de velocidad máxima establecidos por el supervisor cuando la llave se gira a la posición de DESCONECTADO.
Cuando el supervisor cambia la velocidad máxima de tracción en los ajustes del menú protegido, o la cambia usted con el TVP, el pedal de tracción se reprograma automáticamente para usar el recorrido completo del pedal entre punto muerto y la nueva velocidad máxima.
La reducción en la velocidad máxima de tracción permite controlar con precisión el sistema de tracción.

Cuando utilice el VPS, reduzca temporalmente la velocidad máxima para las tareas siguientes:
Segar la pasada de limpieza en la calle.
Trabajar en o cerca del taller de mantenimiento.
Cargar la máquina en un remolque.
Note: Una velocidad máxima más baja permite un mayor control durante la realización de estas tareas.
Important: En situaciones de frenado de emergencia, levante el pie del pedal de tracción y pise los pedales de freno.
En la gama de velocidad baja solamente, puede usar los frenos de forma individual para girar o para mejorar la tracción. Realice lo siguiente al utilizar los frenos individualmente:
Desconecte el enganche de bloqueo de los pedales (Figura 28).
Para hacer un giro asistido, pise el pedal de freno correspondiente al lado hacia el cual desea girar. Esto permite realizar giros más cerrados.
Note: Utilice los frenos individuales con cuidado, sobre todo en hierba blanda o húmeda, porque el césped se puede desgarrar de forma accidental.
Para tracción asistida, aplique una ligera presión al pedal de freno correspondiente al neumático delantero que patina. Por ejemplo, en ciertas condiciones de pendiente, la rueda que está ‘cuesta arriba’ resbala y pierde la tracción. Si esto ocurre, pise el pedal de freno de esa rueda de forma gradual e intermitente hasta que la rueda que está ‘cuesta arriba’ deje de resbalar. Esto aumenta la tracción en la rueda que está 'cuesta abajo'.

El interruptor de control de crucero activa el control de crucero para mantener la velocidad de avance deseada. Presione la parte trasera del mando para desactivar el control de crucero, la parte intermedia para activar el control de crucero y la parte delantera para establecer la velocidad de avance deseada.
Después de activar el interruptor del control de crucero y establecer la velocidad (Figura 29), utilice el InfoCenter para ajustar la velocidad del control de crucero (Figura 9 y Figura 30).
Para desactivar el control de crucero, utilice lo siguiente:
Si está en la gama de velocidad alta, pise el pedal de tracción hacia atrás, pise los frenos de servicio, o bien presione el interruptor del control de crucero hasta la posición de DESACTIVADO.
Si está en la gama de velocidad baja, pise el pedal de tracción hacia atrás, pise los frenos de servicio, desengrane el mando de la TDF o presione el interruptor de control de crucero hasta la posición de DESACTIVADO.

Establezca una velocidad de crucero para grandes distancias sin muchos obstáculos.
En terrenos irregulares, utilice el InfoCenter para controlar la velocidad.
Utilice el control de crucero en los giros como se indica a continuación:
Ajuste el control de crucero para una velocidad más lenta con la que se encuentre cómodo y seguro durante los giros.
Pise el pedal de tracción para aumentar la velocidad durante la pasada de siega.
Quite el pie del pedal al girar para iniciar la siguiente pasada de siega.
La máquina se ralentiza hasta la velocidad baja del control de crucero, lo que le permite hacer un giro eficiente a una velocidad constante.
Después de girar, utilice el pedal de tracción para aumentar la velocidad de la máquina de nuevo para la siguiente pasada de siega.
Este ajuste determina la rapidez con la que la máquina cambia la velocidad de tracción y lleva a cabo la desaceleración de la máquina en la gama de velocidad baja. Entre en los menús protegidos del InfoCenter para cambiar el modo de aceleración. El modo de aceleración tiene las 3 posiciones siguientes:
Bajo – ritmo bajo de aceleración y deceleración
Medio – ritmo medio de aceleración y deceleración
Alto – máxima aceleración y deceleración
El modo de giro consta de un mando cómodo de un solo toque que eleva las unidades de corte por encima del césped y detiene temporalmente las cuchillas, lo que le permite centrarse en conducir la máquina al final de una pasada de siega, o mientras navega por otros obstáculos.
Note: La función de modo de giro se encuentra en los ajustes protegidos.
Con el modo de giro ACTIVADO, presione momentáneamente el interruptor de elevación hacia atrás (Figura 9) para elevar automáticamente todas las unidades de corte desde la posición de flotación a la altura preestablecida, lo que desengrana automáticamente la TDF. Para reanudar la siega, presione el interruptor de elevación hacia adelante. Todas las unidades de corte bajan, y la TDF vuelve a engranarse.
Cuando el modo de giro está en DESACTIVADO, puede elevar las unidades de corte manualmente desde la posición de flotación presionando todos los interruptores de elevación hacia atrás hasta que las unidades de corte alcancen la altura deseada. En máquinas Groundsmaster 4700, pulse los 3 interruptores de elevación para elevar las 7 unidades de corte (Figura 9). La TDF no se desengrana hasta que las unidades de corte se elevan a la misma altura preestablecida a la que se elevan las unidades de corte cuando el modo de giro está ACTIVADO.
Note: De forma predeterminada, el modo de giro está ACTIVADO.
El sistema de contrapeso mantiene una contrapresión hidráulica en los cilindros de elevación de la unidad de corte. El sistema de contrapeso monitoriza la presión de tracción en tiempo real, cambiando dinámicamente la presión de retorno del cilindro de elevación para optimizar la capacidad de tracción y el aspecto después del corte. La presión de contrapeso se ajusta en fábrica para proporcionar un equilibrio óptimo entre aspecto después del corte y tracción en la mayoría de las condiciones de césped. Una reducción de la presión de contrapeso puede producir una mayor estabilidad en la unidad de corte, pero puede reducir la tracción. Un aumento de la presión de contrapeso puede aumentar la tracción, pero puede dar lugar a un peor aspecto después del corte; consulte Ajuste del contrapeso.
Los ajustes de contrapeso modificables son los siguientes:
Bajo – la mayor cantidad de peso en las unidades de corte y el peso más bajo en las ruedas motrices
Medio – peso medio en las unidades de corte y las ruedas motrices
Alto – la menor cantidad de peso en las unidades de corte y el peso más alto en las ruedas motrices de la máquina
Con Smart Power, el operador no tiene que escuchar la velocidad del motor en condiciones de mucha carga. El sistema Smart Power evita que el motor se ahogue en condiciones de siega difíciles, al controlar automáticamente la velocidad de la máquina y optimizar el rendimiento de corte.
Note: De forma predeterminada, la función Smart Power está ACTIVADA.
Important: Purgue el sistema de combustible si se ha producido alguna de las situaciones siguientes:
El motor se ha apagado por falta de combustible.
Después de que se haya realizado cualquier operación de mantenimiento en los componentes del sistema de combustible.
Retire el pie del pedal de tracción y asegúrese de que el pedal está en la posición de PUNTO MUERTO. Asegúrese de que el freno de estacionamiento está puesto.
Gire la llave a la posición de MARCHA. El indicador de la bujía debe encenderse.
Cuando se atenúe el indicador de la bujía, gire la llave a la posición de ARRANQUE.
Important: No haga funcionar el motor de arranque durante más de 15 segundos cada vez, o puede producirse un fallo prematuro en el motor de arranque. Si el motor no arranca en 15 segundos, ponga la llave en la posición de DESCONECTADO, compruebe los controles y los procedimientos, espere 15 segundos más y repita el procedimiento de arranque.
Suelte la llave inmediatamente cuando el motor arranque y deje que vuelva a la posición de MARCHA.
Cuando la temperatura está por debajo de los -7 °C (20 °F), el motor de arranque puede utilizarse un máximo de dos veces durante 30 segundos, con 60 segundos de espera entre intentos.
Important: Apague el motor y espere a que se enfríe el motor antes de comprobar que no hay fugas de aceite, piezas sueltas u otros desperfectos.
Important: Deje que el motor funcione en ralentí durante 5 minutos antes de pararlo después de funcionar a carga máxima. Esto permite que se enfríe el turboalimentador antes de que se apague el motor. El no hacer esto puede causar un fallo prematuro del turbo.
Note: Siempre baje las unidades de corte al suelo después de aparcar la máquina. Esto alivia la carga hidráulica del sistema, evita desgastar las piezas del sistema y también impide que se bajen accidentalmente las unidades de corte.
Mueva el interruptor de la TDF a la posición de DESENGRANADO.
Ponga el freno de estacionamiento.
Gire la llave de encendido a la posición de DESCONECTADO.
Retire la llave para evitar un arranque accidental.
Note: Corte de hierba a una velocidad que le permite a la carga del motor promover la regeneración del FPD.
Quite el freno, desengrane la TDF y eleve las unidades de corte.
Seleccione la posición H/L AUTO o BAJA con el interruptor de gamas de velocidad. Consulte Uso del interruptor de gamas de velocidad Alta y Baja.
Note: Cuando está seleccionada la posición H/L AUTO y las unidades de corte están elevadas, la máquina selecciona automáticamente la gama de velocidad alta.
Usando el pedal de tracción como si fuera el pedal del acelerador de un automóvil, conduzca hasta el lugar de trabajo.
Sitúe la máquina por fuera de la zona de corte para la primera pasada de siega.
Baje las unidades de corte con el o los interruptor(es) basculante(s).
Pulse brevemente la parte trasera del interruptor de elevación (GM4500) o del interruptor de elevación central (GM4700) para elevar las unidades de corte a la posición de giro.
Note: La posición de giro sólo está disponible si está activada en los menús protegidos del InfoCenter. Una breve pulsación del interruptor basculante, sin mantenerlo presionado, eleva las unidades de corte a la posición de giro y detiene la rotación de las cuchillas hasta que se bajan las unidades de corte.
Tire del mando de la TDF para engranar las unidades de corte.
Note: La velocidad del motor aumenta automáticamente a ralentí alto cuando se bajan las unidades de corte y se activa el mando de la TDF.
Usando el pedal de tracción, acérquese lentamente a la zona de siega, y baje las unidades de corte con el interruptor basculante cuando las unidades de corte delanteras estén encima de la zona de siega.
Note: Practique para evitar que las unidades de corte bajen demasiado pronto o sieguen una zona no deseada.
Empiece a segar la zona.
Cuando termine la pasada de siega, pulse brevemente la parte trasera del interruptor de elevación (GM4500) o del interruptor de elevación central (GM4700) para elevar las unidades de corte a la posición de giro.
Realice un giro en forma de lágrima para alinearse rápidamente para la próximo pasada.
Presione hacia abajo el interruptor de elevación (GM4500) o el interruptor de elevación central (GM4700) para bajar automáticamente las unidades de corte desde la posición de giro y continuar segando.
El ventilador de refrigeración del motor está normalmente bajo el control de la máquina. La máquina puede invertir el sentido de giro del ventilador para eliminar los residuos de la rejilla trasera. En condiciones de operación normales, la máquina controla la velocidad y el sentido de giro del ventilador dependiendo de la temperatura del refrigerante y del fluido hidráulico, y el ventilador invierte automáticamente el sentido de giro para eliminar residuos de la rejilla trasera.
Puede invertir manualmente el ventilador pulsando los 2 botones interiores (izquierda y derecha) del InfoCenter (Figura 31) durante 2 segundos - el ventilador completa un ciclo de marcha invertida con iniciación manual. Invierta el sentido de giro del ventilador si la rejilla trasera está obstruida o antes de trasladar la máquina a un taller o un almacén.

Cambie los patrones de siega a menudo para minimizar los problemas de acabado causados por la siega repetitiva en un solo sentido.
Consulte la Guía de solución de problemas con el aspecto después del corte (Aftercut Appearance Troubleshooting Guide), disponible en www.toro.com.
Para empezar a cortar, engrane las unidades de corte, y acérquese lentamente a la zona de siega. Cuando las unidades de corte delanteras entren en la zona de siega, baje las unidades de corte.
Para lograr un corte en línea recta y un rayado profesional, deseable para algunas aplicaciones, busque un árbol u otro objeto distante y conduzca directamente hacia él.
En cuanto las unidades de corte delanteras lleguen al borde de la zona de siega, eleve las unidades de corte y gire en forma de lágrima para alinearse rápidamente para la siguiente pasada.
Es posible equipar las unidades de corte con deflectores de mulching. Los deflectores funcionan bien cuando el césped es segado regularmente, evitando cortar más de 25 mm (1") de hierba en cada sesión de corte. Cuando se corta una cantidad excesiva de hierba con los deflectores de mulching instalados, el aspecto después del corte puede deteriorarse y se necesita más potencia para cortar la hierba. Los deflectores de mulching también funcionan bien cuando se trata de picar hojas en el otoño.
No corte más de 25 mm (1") aproximadamente, o 1/3 de la hoja de hierba. Si la hierba es excepcionalmente densa y frondosa, es posible que tenga que elevar la altura de corte.
Una cuchilla afilada corta limpiamente sin desgarrar o picar las hojas de hierba, que es lo que haría una cuchilla sin filo. Si se rasgan o se deshilachan, los bordes de las hojas se secarán, lo que retardará su crecimiento y favorecerá la aparición de enfermedades. Asegúrese de que la cuchilla está en buen estado y de que la vela está completa; consulte Inspección y afilado de la(s) cuchilla(s) de las unidades de corte.
Asegúrese de que las cámaras de corte están en buenas condiciones. Enderece cualquier componente de la cámara que esté doblado para asegurar un espacio correcto entre las puntas de la cuchilla y la cámara. Asegúrese de que todos los rodillos y articulaciones pivotantes están libres de holgura para evitar daños al césped o un aspecto después del corte de baja calidad.
Después de segar, lave a fondo la máquina con una manguera de jardín sin boquilla para evitar una presión excesiva de agua que podría contaminar y dañar juntas y cojinetes. Asegúrese de mantener el radiador y el enfriador de aceite libres de suciedad y recortes de hierba. Después de su limpieza, inspeccione la máquina en busca de posibles fugas de fluido hidráulico, o daños o desgaste en los componentes mecánicos e hidráulicos, y compruebe asimismo que las cuchillas de la unidad de corte estén afiladas.
Apague el motor, retire la llave y espere a que se detenga todo movimiento antes de abandonar el puesto del operador. Deje que se enfríe la máquina antes de hacer trabajos de ajuste, mantenimiento, limpieza o almacenamiento.
Limpie la hierba y los residuos de las unidades de corte, los silenciadores y el compartimento del motor para ayudar a prevenir incendios. Limpie cualquier aceite o combustible derramado.
Si las unidades de corte están en la posición de transporte, use el bloqueo mecánico positivo (si está disponible) antes de dejar la máquina desatendida.
Espere a que se enfríe el motor antes de guardar la máquina en un recinto cerrado.
Retire la llave y cierre el combustible (en su caso) antes de almacenar o transportar la máquina.
No guarde nunca la máquina o un recipiente de combustible en un lugar donde pudiera haber una llama desnuda, chispas o una llama piloto, por ejemplo en un calentador de agua u otro electrodoméstico.
Realice el mantenimiento de los cinturones de seguridad y límpielos cuando sea necesario.
Apague el motor, retire la llave y espere a que se detenga todo movimiento antes de abandonar el puesto del operador. Deje que se enfríe la máquina antes de hacer trabajos de ajuste, mantenimiento, limpieza o almacenamiento.
Para ayudar a prevenir incendios, asegúrese de que las unidades de corte, las transmisiones, los silenciadores, las rejillas de refrigeración y el compartimento del motor están libres de acumulaciones de hierba y residuos. Limpie cualquier aceite o combustible derramado.
Si las unidades de corte están en la posición de transporte, use el bloqueo mecánico positivo (si está disponible) antes de dejar la máquina desatendida.
Espere a que se enfríe el motor antes de guardar la máquina en un recinto cerrado.
Retire la llave y cierre el combustible (en su caso) antes de almacenar o transportar la máquina.
No guarde nunca la máquina o un recipiente de combustible en un lugar donde pudiera haber una llama desnuda, chispas o una llama piloto, por ejemplo en un calentador de agua u otro electrodoméstico.
Realice el mantenimiento de los cinturones de seguridad y límpielos cuando sea necesario.
Utilice los cordones de almacenamiento de las unidades de corte para evitar que las unidades de corte exteriores delanteras se asienten cuando la máquina está aparcada durante la noche o si se almacena durante un periodo prolongado. También puede utilizar los cordones de almacenamiento de las unidades de corte para evitar que las unidades de corte desciendan mientras se transporta la máquina entre diferentes lugares de siega.

Asegúrese de que la TDF está desengranada.
Estacione la máquina en una superficie nivelada.
Ponga el freno de estacionamiento.
Eleve del todo las unidades de corte.
Alinee el cordón con el eje portador del brazo de elevación de la unidad de corte delantera exterior (Figura 33).

Coloque el bucle del cordón sobre el eje portador hasta que el cordón quede correctamente asentado en la ranura del eje (Figura 33).
Repita los pasos 5 y 6 con la unidad de corte exterior delantera del otro lado de la máquina.
Important: Retire los cordones de los ejes portadores antes de bajar las unidades de corte
Note: Recoja los cordones cuando no se están utilizando.
Asegúrese de que la TDF está desengranada.
Estacione la máquina en una superficie nivelada.
Ponga el freno de estacionamiento.
Con las unidades de corte bajadas, introduzca el bucle del cordón en la ranura de la placa de refuerzo del soporte del rodillo (Figura 34).

Utilice los 2 cierres de transporte traseros de las unidades de corte Nº 6 y Nº 7 (Figura 13) para evitar que se asienten durante la noche mientras la máquina está estacionada, si se va a desplazar la máquina una gran distancia o sobre terreno irregular, o si se va a transportar o almacenar la máquina.

Retire la llave y cierre el combustible (en su caso) antes de almacenar o transportar la máquina.
Extreme las precauciones al cargar o descargar la máquina en/desde un remolque o un camión.
Utilice rampas de ancho completo para cargar la máquina en un remolque o un camión.
Amarre la máquina firmemente.
En una emergencia, la máquina puede desplazarse hacia adelante accionando la función de desvío de la bomba hidráulica de desplazamiento variable y empujando o remolcando la máquina.
Important: No empuje ni remolque la máquina a más de 3–4.8 km/h (2–3 mph). Si se empuja o remolca a una velocidad mayor, pueden producirse daños internos en la transmisión.Las válvulas de alivio debe estar abiertas antes de empujar o remolcar la máquina.
Levante el cofre y localice las válvulas de alivio (Figura 36) en la parte superior de la bomba, detrás de la batería/cajas de almacenamiento.
Gire cada válvula 3 vueltas en sentido antihorario para abrirla y dejar pasar el fluido internamente.
Note: No abra la válvula más de 3 vueltas. Puesto que el fluido se desvía, la máquina puede ser movida lentamente sin dañar la transmisión.


Empuje o remolque la máquina hacia adelante.
Important: Si necesita empujar o remolcar la máquina hacia atrás, vea el Kit de remolcado en marcha atrás (Pieza N.º 136-3620).
Termine de empujar o remolcar la máquina y cierre las válvulas de alivio. Apriete la válvula a 70 N∙m (52 pies-libra).
Note: Los lados derecho e izquierdo de la máquina se determinan desde la posición normal del operador.
Important: Consulte los procedimientos adicionales de mantenimiento del manual del propietario del motor.
Note: Descargue una copia gratuita del esquema eléctrico o hidráulico en www.Toro.com y busque su máquina en el enlace Manuales de la página de inicio.
Antes de abandonar el puesto del operador, haga lo siguiente:
Aparque la máquina en una superficie nivelada.
Desengrane la TDF y baje los accesorios.
Ponga el freno de estacionamiento.
Apague el motor y retire la llave.
Espere a que se detenga todo movimiento.
Lleve ropa adecuada, incluyendo protección ocular, pantalón largo y calzado resistente y antideslizante. Mantenga las manos, los pies, las joyas y el pelo largo alejados de las piezas en movimiento.
Si deja la llave en el interruptor, alguien podría arrancar el motor accidentalmente y causar lesiones graves a usted o a otras personas. Retire la llave del interruptor de encendido antes de realizar cualquier operación de mantenimiento.
Deje que los componentes de la máquina se enfríen antes de realizar tareas de mantenimiento.
Si las unidades de corte están en la posición de transporte, utilice el bloqueo mecánico positivo (en su caso) antes de dejar la máquina desatendida.
Si es posible, no realice tareas de mantenimiento con el motor en marcha. Manténgase alejado de las piezas en movimiento.
Haga funcionar el motor únicamente en zonas bien ventiladas. Los gases de escape contienen monóxido de carbono, que es letal si se inhala.
Apoye la máquina sobre caballetes cada vez que trabaje debajo de la máquina.
Alivie con cuidado la tensión de aquellos componentes que tengan energía almacenada.
Mantenga todas las piezas de la máquina en buenas condiciones de funcionamiento y todos los herrajes bien apretados, especialmente los de los accesorios de las cuchillas.
Sustituya cualquier pegatina que esté desgastada o deteriorada.
Para asegurar un rendimiento óptimo y seguro de la máquina, utilice solamente piezas genuinas Toro. Las piezas de repuesto de otros fabricantes podrían ser peligrosas, y su uso podría invalidar la garantía del producto.
| Intervalo de mantenimiento y servicio | Procedimiento de mantenimiento |
|---|---|
| Después de la primera hora |
|
| Después de las primeras 10 horas |
|
| Después de las primeras 50 horas |
|
| Después de las primeras 200 horas |
|
| Cada vez que se utilice o diariamente |
|
| Cada 50 horas |
|
| Cada 100 horas |
|
| Cada 200 horas |
|
| Cada 250 horas |
|
| Cada 400 horas |
|
| Cada 800 horas |
|
| Cada 1000 horas |
|
| Cada 2000 horas |
|
| Antes del almacenamiento |
|
| Cada 2 años |
|
Duplique esta página para su uso rutinario.
| Elemento a comprobar | Para la semana de: | ||||||
|---|---|---|---|---|---|---|---|
| lunes | martes | miércoles | jueves | viernes | sábado | domingo | |
| Compruebe el funcionamiento de los interruptores de seguridad. | |||||||
| Compruebe el funcionamiento de los frenos. | |||||||
| Compruebe el nivel de aceite del motor. | |||||||
| Compruebe el nivel de fluido del sistema de refrigeración. | |||||||
| Drene el separador de agua/combustible. | |||||||
| Compruebe el filtro de aire, la tapa del filtro y la válvula de alivio | |||||||
| Compruebe que no hay ruidos extraños en el motor.1 | |||||||
| Compruebe que el radiador y la rejilla están libres de residuos | |||||||
| Compruebe que no hay ruidos extraños de operación. | |||||||
| Compruebe el nivel de fluido hidráulico. | |||||||
| Compruebe que las mangueras hidráulicas no están dañadas. | |||||||
| Compruebe que no hay fugas de fluidos. | |||||||
| Compruebe el nivel de combustible. | |||||||
| Comprobación de la presión de los neumáticos. | |||||||
| Compruebe el funcionamiento de los instrumentos. | |||||||
| Compruebe el ajuste de altura de corte. | |||||||
| Lubrique todos los puntos de engrase.2 | |||||||
| Limpie la máquina. | |||||||
| Retoque cualquier pintura dañada. | |||||||
|
1Compruebe la bujía y las boquillas de los inyectores en caso de dificultad para arrancar, exceso de humo o funcionamiento irregular. 2Inmediatamente después de cada lavado, aunque no corresponda a los intervalos citados. |
|||||||
Important: Consulte en el Manual del operador del motor procedimientos adicionales de mantenimiento.
| Inspección realizada por: | ||
| Elemento | Fecha | Información |
Utilice los siguientes puntos para elevar la máquina:
Parte delantera de la máquina – en el bastidor de la máquina, por delante de los motores de tracción de las ruedas (Figura 39)
Important: No apoye la máquina en los motores de la transmisión de las ruedas. Mantenga el equipo de izado lejos de las líneas y mangueras hidráulicas.

Parte trasera de la máquina: en el centro del eje (Figura 40)
Coloque gatos fijos de la capacidad especificada en ambos lados de la caja de engranajes y debajo del eje.
Important: No apoye la máquina en la biela.

Incline el cofre para tener acceso al chasis, como se muestra en la Figura 41.

Incline el asiento para tener acceso al compartimento de elevación hidráulica, como se muestra en la Figura 42.

| Intervalo de mantenimiento y servicio | Procedimiento de mantenimiento |
|---|---|
| Cada 50 horas |
|
Especificación de la grasa: Grasa de litio Nº 2
La ubicación de los puntos de engrase y las cantidades requeridas son:
Cojinetes del pivote del eje de freno (5), como se muestra en la Figura 43

Casquillos de pivote del eje trasero (2), como se muestra en la Figura 44

Rótulas del cilindro de dirección (2), como se muestra en la Figura 45

Rótulas de las bielas (2), como se muestra en la Figura 45
Casquillos del pivote de dirección (2), como se muestra en la Figura 45
Important: No lubrique el punto de engrase superior del pivote de dirección más de una vez al año (2 aplicaciones).
Casquillos de los brazos de elevación (1 por unidad de corte), como se muestra en la Figura 46

Casquillos de los cilindros de elevación (2 por unidad de corte), como se muestra en la Figura 46
Cojinetes de los ejes de las unidades de corte (2 por unidad de corte), como se muestra en la Figura 47
Note: Puede utilizar cualquier engrasador, el que se encuentre más accesible. Bombee grasa en el engrasador hasta que aparezca una pequeña cantidad en la parte inferior del alojamiento del eje (debajo de la unidad de corte).

Casquillos de los brazos de las unidades de corte (1 por unidad de corte), como se muestra en la Figura 47
Cojinetes de los rodillos traseros (2 por unidad de corte), como se muestra en la Figura 48.

Important: Asegúrese de que la ranura de grasa de cada rodillo esté alineada con el orificio de grasa de cada extremo del eje del rodillo. Para alinear la ranura, existe una marca de alineación en un extremo del eje del rodillo.
Apague el motor y retire la llave antes de comprobar el aceite o añadir aceite al cárter.
No cambie la velocidad del regulador ni haga funcionar el motor a una velocidad excesiva.
| Intervalo de mantenimiento y servicio | Procedimiento de mantenimiento |
|---|---|
| Cada 400 horas |
|
Inspeccione la carcasa del limpiador de aire en busca de daños que pudieran causar una fuga de aire. Cámbielo si está dañado. Compruebe todo el sistema de admisión en busca de fugas, daños o abrazaderas sueltas.
Revise el filtro del limpiador de aire únicamente cuando el indicador de mantenimiento (Figura 49) lo requiera. El cambiar el filtro antes de que sea necesario sólo aumenta la posibilidad de que entre suciedad en el motor al retirar el filtro.

Important: Asegúrese de que la tapa está bien asentada y que hace un buen sello con la carcasa del limpiador de aire.
Cambie el limpiador de aire (Figura 50).


Note: No limpie el elemento usado porque puede dañarse el medio filtrante.
Important: No intente nunca limpiar el filtro de seguridad (Figura 51). Sustituya el filtro de seguridad después de cada tres revisiones del filtro primario.

Reinicie el indicador (Figura 49) si se ve rojo.
Utilice aceite de motor de alta calidad y con bajo contenido de cenizas que cumpla o supere las siguientes especificaciones:
Categoría de servicio API: CJ-4 o superior
Categoría de servicio ACEA: E6
Categoría de servicio JASO: DH-2
Important: El uso de aceite de motor que no sea API CJ-4 o superior, ACEA E6 o JASO DH-2 puede hacer que el filtro de partículas diésel se tape o puede provocar daños al motor.
Use el siguiente grado de viscosidad del aceite del motor:
Aceite preferido: SAE 15W-40 (más de -18 °C/0 ° F)
Aceite alternativo: SAE 10W-30 o 5W-30 (todas las temperaturas)
Su distribuidor autorizado Toro dispone de aceite para motores Toro Premium, de viscosidad 15W-40 o 10W-30. Consulte los números de pieza en el Catálogo de piezas.
| Intervalo de mantenimiento y servicio | Procedimiento de mantenimiento |
|---|---|
| Cada vez que se utilice o diariamente |
|
El motor se suministra con aceite en el cárter; no obstante, debe comprobarse el nivel de aceite antes y después de arrancar el motor por primera vez.
Important: Compruebe el aceite del motor todos los días. Si el nivel de aceite del motor está por encima de la marca Lleno de la varilla, el aceite puede diluirse con combustible.Si el nivel de aceite del motor está por encima de la marca Lleno cambie el aceite.
El mejor momento para comprobar el aceite del motor es cuando el motor está frío, antes de arrancarlo al principio de la jornada. Si ya se ha arrancado, deje que el aceite se drene al cárter durante al menos 10 minutos antes de comprobar el nivel. Si el nivel del aceite está en o por debajo de la marca Añadir de la varilla, añada aceite hasta que el nivel llegue a la marca Lleno.No llene el motor demasiado de aceite.
Important: Mantenga el nivel de aceite del motor entre los límites superior e inferior de la varilla; el motor puede fallar si lo hace funcionar con demasiado o demasiado poco aceite.
Compruebe el nivel de aceite del motor; consulte la Figura 52.


Note: Cuando cambie a un aceite diferente, drene todo el aceite antiguo del cárter antes de añadir aceite nuevo.
Aproximadamente 5.7 litros (6 cuartos de galón US) con el filtro.
| Intervalo de mantenimiento y servicio | Procedimiento de mantenimiento |
|---|---|
| Cada 250 horas |
|
Note: Para reiniciar el indicador de mantenimiento previsto del Infocenter; consulte Ajuste del temporizador de mantenimiento programado.
Arranque el motor y déjelo funcionar durante 5 minutos para que el aceite se caliente.
Aparque la máquina en una superficie nivelada, ponga el freno de estacionamiento, apague el motor y retire la llave.
Cambie el aceite del motor y el filtro (Figura 53).


Añada aceite al cárter; consulte Capacidad de aceite del cárter y Comprobación del nivel de aceite del motor.
Bajo ciertas condiciones el combustible diésel y los vapores del combustible son extremadamente inflamables y explosivos. Un incendio o explosión de combustible puede quemarle a usted y a otras personas y causar daños materiales.
Utilice un embudo para llenar el depósito de combustible al aire libre, en una zona despejada, con el motor parado y frío. Limpie cualquier combustible derramado.
No llene completamente el depósito de combustible. Añada combustible al depósito de combustible hasta que el nivel alcance de 6 a 13 mm (¼" a ½") por debajo de la parte inferior del cuello de llenado. Este espacio vacío en el depósito permite la dilatación del combustible.
No fume nunca mientras maneja el combustible, y aléjese de llamas desnudas o lugares donde los vapores del combustible pueden incendiarse con una chispa.
Almacene el combustible en un recipiente limpio homologado y mantenga el tapón colocado.
| Intervalo de mantenimiento y servicio | Procedimiento de mantenimiento |
|---|---|
| Cada 800 horas |
|
| Antes del almacenamiento |
|
Además de los intervalos de mantenimiento citados, vacíe y limpie el depósito si se contamina el sistema de combustible o antes de almacenar la máquina durante un periodo de tiempo prolongado. Utilice combustible limpio para enjuagar el depósito.
| Intervalo de mantenimiento y servicio | Procedimiento de mantenimiento |
|---|---|
| Cada 400 horas |
|
Compruebe que los tubos de combustible no están deteriorados o dañados y que las conexiones no están sueltas.

| Intervalo de mantenimiento y servicio | Procedimiento de mantenimiento |
|---|---|
| Cada vez que se utilice o diariamente |
|
Drene el agua del separador de combustible/agua, como se muestra en la Figura 55.
Cebe el filtro y las tuberías de la bomba de alta presión después de drenar el agua; consulte Cebado del sistema de combustible.

| Intervalo de mantenimiento y servicio | Procedimiento de mantenimiento |
|---|---|
| Cada 400 horas |
|
Cambie el cartucho del filtro de combustible como se muestra en la Figura 56.
Cebe el filtro y las tuberías de la bomba de alta presión después de cambiar el filtro; consulte Cebado del sistema de combustible.

| Intervalo de mantenimiento y servicio | Procedimiento de mantenimiento |
|---|---|
| Cada 400 horas |
|
Limpie la zona alrededor de la cabeza del filtro de combustible (Figura 57).

Retire el filtro y limpie la superficie de montaje de la cabeza del filtro (Figura 57).
Lubrique la junta del filtro con aceite de motor limpio; consulte el Manual del propietario del motor si necesita más información.
Instale el cartucho filtrante seco, a mano, hasta que la junta entre en contacto con el cabezal del filtro, luego gírelo media vuelta más.
Cebe el filtro y las tuberías de la bomba de alta presión; consulte Cebado del sistema de combustible.
Arranque el motor y compruebe de nuevo que no hay fugas alrededor del cabezal del filtro.
El tubo de aspiración de combustible, situado dentro del depósito de combustible, lleva un filtro para evitar que entren residuos en el sistema de combustible. Retire el tubo de aspiración de combustible y limpie el filtro según sea necesario.
Retire la abrazadera que fija la manguera de suministro de combustible al acoplamiento del tubo de aspiración de combustible (Figura 58).

Retire la manguera del acoplamiento (Figura 58).
Retire el tubo de aspiración de combustible del depósito de combustible (Figura 58).
Note: Levante el tubo en línea recta del casquillo del depósito.
Limpie cualquier residuo de la rejilla del extremo del tubo de aspiración de combustible (Figura 58).
Introduzca el tubo de aspiración de combustible a través del casquillo de goma e introdúzcalo en el depósito (Figura 58).
Note: Asegúrese de que el tubo de aspiración de combustible está bien asentado en el casquillo de goma.
Instale la manguera de alimentación en el acoplamiento del tubo de aspiración de combustible, y sujete la manguera con la abrazadera que retiró en el paso 1.
Cebe el sistema de combustible antes de arrancar el motor por primera vez, después de haberse quedado sin combustible o tras realizar tareas de mantenimiento en el sistema de combustible (por ejemplo, drenaje del filtro/separador de agua, sustitución de una manguera de combustible).
Para cebar el sistema de combustible, siga estos pasos:
Asegúrese de que hay combustible en el depósito de combustible.
Realice los pasos siguientes para cebar el filtro y las líneas que van a la bomba de alta presión para evitar desgaste o daños en la bomba:
Gire la llave a la posición de CONECTADO durante 15 a 20 segundos.
Gire la llave a la posición de DESCONECTADO durante 30 a 40 segundos.
Note: Esto permite que la UCE se apague.
Gire la llave a la posición de CONECTADO durante 15 a 20 segundos.
Compruebe que no hay fugas alrededor del filtro y las mangueras.
Important: No utilice el sistema de arranque del motor para hacer girar el motor con el fin de cebar el sistema de combustible.
Desconecte la batería antes de reparar la máquina. Desconecte primero el terminal negativo y por último el positivo. Conecte primero el terminal positivo y por último el negativo.
Cargue la batería en una zona abierta y bien ventilada, lejos de chispas y llamas. Desenchufe el cargador antes de conectar o desconectar la batería. Lleve ropa protectora y utilice herramientas aisladas.
| Intervalo de mantenimiento y servicio | Procedimiento de mantenimiento |
|---|---|
| Cada 50 horas |
|
Important: Antes de efectuar soldaduras en la máquina, desconecte el cable negativo de la batería para evitar daños al sistema eléctrico. Además, debe desconectar el motor, InfoCenter y los controladores de la máquina antes de efectuar soldaduras en la máquina.
Note: Mantenga limpios los bornes y toda la carcasa de la batería, porque una batería sucia se descargará lentamente. Para limpiar la batería, lave toda la carcasa con una solución de bicarbonato y agua. Enjuague con agua clara. Aplique una capa de grasa Grafo 112X (N.º de Pieza Toro 505-47) o de vaselina a los conectores de los cables y a los bornes de la batería para evitar la corrosión.
Afloje el cierre de la tapa de la caja de almacenamiento derecha, y levante la tapa (Figura 61).
El electrolito de la batería contiene ácido sulfúrico, que es mortal si es ingerido y causa quemaduras graves.
No beba electrolito y evite el contacto con la piel, los ojos y la ropa. Lleve lentes de seguridad para proteger sus ojos, y guantes de goma para proteger sus manos.
Llene la batería en un lugar que tenga disponible agua limpia para enjuagar la piel.
Retire la cubierta de goma del borne positivo e inspeccione la batería.
Desconecte el cable negativo (negro) del borne negativo (-) y el cable positivo (rojo) del borne positivo (+) de la batería (Figura 59).
Un enrutado incorrecto de los cables de la batería podría dañar la máquina y los cables y causar chispas. Las chispas podrían hacer explotar los gases de la batería, causando lesiones personales.
Desconecte siempre el cable negativo (negro) de la batería antes de desconectar el cable positivo (rojo).
Conecte siempre el cable positivo (rojo) de la batería antes de conectar el cable negativo (negro).
Los bornes de la batería o las herramientas metálicas podrían hacer cortocircuito si entran en contacto con componentes metálicos y causar chispas. Las chispas podrían hacer explotar los gases de la batería y causar lesiones personales.
Al retirar o colocar la batería, no deje que los bornes toquen ninguna parte metálica de la máquina.
No deje que las herramientas metálicas hagan cortocircuito entre los bornes de la batería y las partes metálicas de la máquina.

Conecte un cargador de batería de 3 a 4 amperios a los bornes de la batería. Cargue la batería a un ritmo de 3 a 4 amperios durante 4 a 8 horas.
El proceso de carga de la batería produce gases que pueden explotar.
No fume nunca cerca de la batería, y mantenga alejados de la batería chispas y llamas.
Cuando la batería esté cargada, desconecte el cargador de la toma de electricidad, luego de los bornes de la batería.
Conecte el cable positivo (rojo) al borne positivo (+) y el cable negativo (negro) al borne negativo (-) de la batería (Figura 59).
Sujete los cables a los bornes con pernos y tuercas.
Note: Asegúrese de que el terminal positivo (+) está colocado a tope en el borne, y que el cable está colocado junto a la batería. El cable no debe entrar en contacto con la tapa de la batería.
Aplique una capa de grasa Grafo 112X (N.º de Pieza 505-47), de vaselina o de grasa ligera a ambas conexiones de la batería para evitar la corrosión.
Deslice la cubierta de goma sobre el borne positivo.
Cierre el panel de la consola y sujete el cierre.
El bloque de fusibles de la máquina está situado en la caja de almacenamiento derecha

Abra el cierre de la tapa de la caja de almacenamiento derecha y levante la tapa (Figura 61) para tener acceso al bloque de fusibles (Figura 62).

Cambie el/los fusibles fundidos según sea necesario (Figura 62).

Cierre la tapa de la caja de almacenamiento derecha y sujete la tapa con el cierre (Figura 61).

| Intervalo de mantenimiento y servicio | Procedimiento de mantenimiento |
|---|---|
| Cada 400 horas |
|
No debe haber holgura entre las transmisiones planetarias/ruedas de tracción (es decir, las ruedas no deben desplazarse al empujarlas o tirar de ellas en sentido paralelo al eje).
Aparque la máquina en una superficie nivelada, ponga el freno de estacionamiento, baje las unidades de corte, apague el motor y retire la llave.
Calce las ruedas traseras y eleve la parte delantera de la máquina, apoyando el eje delantero/bastidor sobre gatos fijos.
Una máquina colocada sobre un gato es inestable y podría caerse, hiriendo a cualquier persona que se encuentre debajo.
No arranque el motor mientras la máquina está elevado con un gato.
Retire siempre la llave del interruptor antes de bajarse de la máquina.
Bloquee las ruedas antes de elevar la máquina con un gato.
Apoye la máquina sobre gatos fijos.
Agarre una de las ruedas motrices delanteras con las manos y empuje/tire de ella en sentido paralelo al eje, observando cualquier movimiento.

Repita el paso 3 con la otra rueda motriz.
Si se mueve cualquiera de las ruedas, póngase en contacto con su distribuidor autorizado Toro para que reacondicione la transmisión planetaria.
| Intervalo de mantenimiento y servicio | Procedimiento de mantenimiento |
|---|---|
| Cada 400 horas |
|
Especificación del lubricante: lubricante para engranajes SAE 85W-140 de alta calidad
Aparque la máquina en una superficie nivelada y coloque la rueda con el tapón de llenado en la posición de las 12, el tapón de verificación en la posición de las 3 y el tapón de vaciado en la posición de las 6 (Figura 65).

Retire el tapón de verificación de la posición de las 3 (Figura 65).
El aceite debe llegar a la parte inferior del orificio del tapón de verificación.

Si el nivel de aceite es bajo, retire el tapón de llenado de la posición de las 12 y añada aceite hasta que empiece a salir del orificio en la posición de las 3.
Compruebe que las juntas tóricas de los tapones no están desgastadas ni dañadas.
Note: Cambie la(s) junta(s) tórica(s) si es necesario.
Instale la(s) bujía(s).
Repita los pasos 1 a 5 con el engranaje planetario del otro lado de la máquina.
| Intervalo de mantenimiento y servicio | Procedimiento de mantenimiento |
|---|---|
| Después de las primeras 50 horas |
|
| Cada 800 horas |
|
Especificación del lubricante: lubricante para engranajes SAE 85W-140 de alta calidad
Capacidad de lubricante del alojamiento de freno y planetario: 0.65 litros (22 onzas fluidas)
Aparque la máquina en una superficie nivelada y coloque la rueda con el tapón de llenado en la posición de las 12, el tapón de verificación en la posición de las 3 y el tapón de vaciado en la posición de las 6; consulte la Figura 65 en Comprobación del lubricante de la caja de engranajes planetarios.
Retire el tapón de llenado en la posición de las 12 y el tapón de verificación en la posición de las 3 (Figura 67).

Coloque un recipiente debajo del cubo planetario, retire el tapón de vaciado en la posición de las 6 y deje que el aceite se drene por completo (Figura 67).
Compruebe que las juntas tóricas de los tapones de llenado, verificación y drenaje no están desgastadas ni dañadas.
Note: Cambie la(s) junta(s) tórica(s) si es necesario.
Instale el tapón de vaciado en el orificio de vaciado del engranaje planetario (Figura 67).
Coloque un recipiente debajo del alojamiento del freno, retire el tapón y deje que se drene por completo el aceite (Figura 68).

Compruebe que la junta tórica no está desgastada o dañada, e instale el tapón de vaciado en el alojamiento del freno.
Note: Cambie la junta tórica si es necesario.
Por el orificio del tapón de llenado, llene lentamente la transmisión planetaria con 0.65 litros (22 onzas fluidas) de lubricante para engranajes SAE 85W-140 de alta calidad.
Important: Si se llena la transmisión planetaria antes de haber agregado 0.65 litros (22 onzas) de aceite, espere 1 hora o instale el tapón y desplace la máquina unos tres metros para distribuir el aceite por la sistema de frenado. Luego, retire el tapón y añada el aceite restante.

Instale el tapón de llenado y el tapón de verificación.
Limpie con un trapo los alojamientos del planetario y del freno (Figura 70).

Repita los pasos 1 a 7 de Vaciado del engranaje planetario y los pasos 1 a 3 de este procedimiento con el conjunto de planetario/freno del otro lado de la máquina.
| Intervalo de mantenimiento y servicio | Procedimiento de mantenimiento |
|---|---|
| Cada vez que se utilice o diariamente |
|
Inspeccione visualmente el eje trasero y la caja de engranajes del eje trasero en busca de fugas.

| Intervalo de mantenimiento y servicio | Procedimiento de mantenimiento |
|---|---|
| Cada 400 horas |
|
El eje trasero está lleno de lubricante para engranajes SAE 85W-140. La capacidad es de 2.4 litros (80 onzas fluidas). Compruebe diariamente que no existen fugas.
Aparque la máquina en una superficie nivelada, ponga el freno de estacionamiento, baje las unidades de corte, apague el motor y retire la llave.
Retire un tapón de verificación de un extremo del eje y asegúrese de que el lubricante llega al borde inferior del orificio (Figura 72).
Note: Si el nivel es bajo, retire el tapón de llenado y añada suficiente lubricante para que el nivel llegue al borde inferior de los orificios de los tapones de verificación.

| Intervalo de mantenimiento y servicio | Procedimiento de mantenimiento |
|---|---|
| Después de las primeras 200 horas |
|
| Cada 800 horas |
|
Especificación del lubricante: lubricante para engranajes SAE 85W-140 de alta calidad
Capacidad del eje: 2.4 litros (80 onzas fluidas)
Aparque la máquina en una superficie nivelada, ponga el freno de estacionamiento, baje las unidades de corte, apague el motor y retire la llave.
Limpie la zona alrededor de los tres tapones de vaciado, uno en cada extremo y uno en el centro (Figura 73).

Retire los tapones de verificación del nivel de aceite y el tapón de alivio del eje principal para facilitar el vaciado del lubricante de engranajes.
Retire el tapón de vaciado y deje fluir el lubricante de engranajes a los recipientes.
Coloque los tapones.
Retire un tapón de verificación y llene el eje con aproximadamente 2,4 litros de lubricante para engranajes 85W-140, o hasta que el lubricante llegue al borde inferior del orificio.
Instale el tapón de verificación.
| Intervalo de mantenimiento y servicio | Procedimiento de mantenimiento |
|---|---|
| Cada 400 horas |
|
La caja de engranajes está llena de lubricante para engranajes SAE 85W-140. La capacidad es de 0.5 litros (16 onzas fluidas). Compruebe diariamente que no existen fugas.
Aparque la máquina en una superficie nivelada, ponga el freno de estacionamiento, baje las unidades de corte, apague el motor y retire la llave.
Retire el tapón de verificación/llenado del lado izquierdo de la caja de engranajes y asegúrese de que el lubricante llega al borde inferior del orificio (Figura 74).
Note: Si el nivel es bajo, añada suficiente lubricante para que el nivel llegue al borde inferior del orificio.

| Intervalo de mantenimiento y servicio | Procedimiento de mantenimiento |
|---|---|
| Cada 800 horas |
|
Aparque la máquina en una superficie nivelada, ponga el freno de estacionamiento, baje las unidades de corte, apague el motor y retire la llave.
Mida la distancia entre centros (a la altura del eje) en la parte delantera y trasera de los neumáticos de dirección (Figura 75).
Note: La distancia delantera debe ser de 3 mm (⅛") menos que la trasera.

Para ajustar, retire la chaveta y la tuerca de cualquiera de las articulaciones esféricas de la biela (Figura 76). Retire la articulación esférica de la biela del soporte del cojinete del eje.

Afloje las abrazaderas en ambos extremos de las bielas (Figura 76).
Gire la rótula desconectada una revolución completa hacia dentro o hacia fuera, y apriete la abrazadera en el extremo libre de la biela.
Gire el conjunto completo de la biela una revolución completa en el mismo sentido (hacia dentro o hacia fuera) y apriete la abrazadera del extremo conectado de la biela.
Instale la rótula en el soporte del eje, apriete la tuerca con la presión de los dedos simplemente y mida la convergencia.
Repita el procedimiento si es necesario.
Apriete la tuerca e instale una chaveta nueva cuando el ajuste sea correcto.
Compruebe la otra biela y repita el procedimiento si es necesario.
La ingesta de refrigerante de motor puede provocar envenenamiento; manténgalo fuera del alcance de niños y animales domésticos.
Una descarga de refrigerante caliente bajo presión, o cualquier contacto con el radiador caliente y los componentes que lo rodean, pueden causar quemaduras graves.
Siempre deje que el motor se enfríe durante al menos 15 minutos antes de retirar el tapón del radiador.
Utilice un trapo al abrir el tapón del radiador, y ábralo lentamente para permitir la salida del vapor.
No haga funcionar la máquina sin que las cubiertas estén colocadas.
Mantenga alejados del ventilador y del eje de transmisión en movimiento los dedos, las manos y la ropa suelta.
El depósito de refrigerante se llena en fábrica con una solución al 50 % de agua y refrigerante de etilenglicol de larga duración.
Important: Utilice solamente refrigerantes comerciales que cumplan las especificaciones relacionadas en la Tabla de estándares de refrigerantes de larga vida.No utilice refrigerante IAT (tecnología de ácido inorgánico) convencional (verde) en su máquina. No mezcle refrigerante convencional con refrigerante de larga duración.
|
Tipo de refrigerante de etilenglicol |
Tipo de inhibidor de corrosión |
|
Anticongelante de larga duración |
Tecnología de ácido orgánico (OAT) |
|
Important: No confíe en el color del refrigerante para identificar la diferencia entre refrigerante IAT (tecnología de ácido inorgánico) convencional (verde) y refrigerante de larga duración.Los fabricantes de refrigerante pueden teñir los refrigerantes de larga duración con uno de los siguientes colores: rojo, rosa, naranja, amarillo, azul, verde azulado, violeta o verde. Utilice refrigerante que cumpla las especificaciones de la Tabla de estándares de refrigerantes de larga duración. |
|
|
ATSM International |
SAE International |
|
D3306 y D4985 |
J1034, J814, y 1941 |
Important: La concentración del refrigerante debe ser una mezcla al 50 % de refrigerante y agua.
Preferencia: Al hacer la mezcla a partir de un refrigerante concentrado, mézclelo con agua destilada.
Alternativa a la preferencia: Si no se dispone de agua destilada, utilice un refrigerante premezclado en lugar de un concentrado.
Requisito mínimo: Si no dispone de agua destilada ni tampoco de refrigerante premezclado, mezcle refrigerante concentrado con agua potable limpia.
| Intervalo de mantenimiento y servicio | Procedimiento de mantenimiento |
|---|---|
| Cada vez que se utilice o diariamente |
|
Especificación del refrigerante: mezcla al 50% de agua y anticongelante de etilenglicol
Capacidad del sistema de refrigeración:8.5 litros (9 cuartos US)
Los ventiladores y las correas de transmisión, al girar, pueden causar lesiones personales.
No utilice la máquina sin tener colocados los protectores.
Mantenga alejados del ventilador y del eje de transmisión en movimiento los dedos, las manos y la ropa suelta.
Apague el motor y retire la llave antes de realizar cualquier tarea de mantenimiento.
Aparque la máquina en una superficie nivelada, ponga el freno de estacionamiento, baje las unidades de corte, apague el motor y retire la llave.
Retire con cuidado el tapón del radiador.

Compruebe el nivel de refrigerante del radiador. El radiador debe llenarse hasta la parte superior del cuello de llenado, y el depósito de expansión debe llenarse hasta la marca LLENO (Figura 77).
Si el nivel de refrigerante es bajo, añada una solución al 50 % de agua y anticongelante de etilenglicol. No use agua sola o refrigerantes a base de alcohol/metanol.
Instale el tapón del radiador y el tapón del depósito de expansión.
| Intervalo de mantenimiento y servicio | Procedimiento de mantenimiento |
|---|---|
| Cada vez que se utilice o diariamente |
|
La máquina está equipada con un sistema de ventilador hidráulico que invierte su dirección de forma automática (o manual) para reducir la acumulación de residuos en el enfriador de aceite/radiador y la rejilla. Aunque este sistema puede reducir el tiempo necesario para limpiar el enfriador de aceite/radiador, no elimina la necesidad de limpieza rutinaria. Sigue siendo necesario limpiar e inspeccionar periódicamente el radiador y el enfriador de aceite.
Aparque la máquina en una superficie nivelada, ponga el freno de estacionamiento, baje las unidades de corte, apague el motor y retire la llave.
Deje que la máquina se enfríe; consulte Seguridad en el mantenimiento y Seguridad del sistema de refrigeración.
Desenganche y abra la rejilla trasera (Figura 78).
Note: Para retirar la rejilla, levántela de los goznes de las bisagras.
Limpie a fondo cualquier residuo de la rejilla.

Limpie a fondo ambos lados del enfriador de aceite y del radiador con aire comprimido (Figura 79).
Note: Empezando en la parte delantera, sople los residuos hacia la parte trasera. Luego, limpie desde atrás, soplando los residuos hacia adelante. Repita este procedimiento varias veces hasta eliminar toda la broza y los residuos.

Important: Si se limpia el enfriador de aceite o el radiador con agua, pueden producirse daños prematuros en los componentes por corrosión y compactación de los residuos.
Cierre la rejilla trasera y sujétela con el enganche.
Ajuste los frenos de servicio si el pedal de freno tiene más de 25 mm (1") de holgura, o si los frenos no funcionan eficazmente. La holgura es la distancia que recorre el pedal de freno antes de notarse una resistencia de frenado.
Aparque la máquina en una superficie nivelada, ponga el freno de estacionamiento, baje las unidades de corte, apague el motor y retire la llave.
Desenganche el bloqueo de los pedales de freno para que ambos pedales funcionen de forma independiente.
Para reducir la holgura de los pedales de freno, apriete los frenos como se indica a continuación:
Afloje la tuerca delantera del extremo roscado del cable de freno (Figura 80).

Apriete la tuerca trasera para mover el cable hacia atrás hasta que los pedales de freno tengan una holgura de 13 mm – 25 mm (½" – 1").
Apriete las tuercas delanteras una vez que los frenos estén ajustados correctamente.
| Intervalo de mantenimiento y servicio | Procedimiento de mantenimiento |
|---|---|
| Cada 100 horas |
|
Una tensión correcta de la correa permite una desviación de 10 mm (⅜") al aplicar una fuerza de 4.5 kg (10 libras) a la correa, en el punto intermedio entre las poleas.
Si la desviación no es de 10 mm (⅜"), afloje los pernos de montaje del alternador (Figura 73).
Note: Aumente o reduzca la tensión de la correa del alternador y apriete los pernos. Verifique de nuevo la desviación de la correa para asegurarse de que la tensión es la correcta.

Busque atención médica inmediatamente si el fluido hidráulico penetra en la piel. Cualquier fluido inyectado debe ser extraído quirúrgicamente por un médico en el espacio de pocas horas.
Asegúrese de que todas las mangueras y líneas de fluido hidráulico están en buenas condiciones de uso y que todos los acoplamientos y conexiones hidráulicos están apretados antes de aplicar presión al sistema hidráulico.
Mantenga el cuerpo y las manos alejados de fugas pequeñas o boquillas que expulsan fluido hidráulico a alta presión.
Utilice un cartón o un papel para buscar fugas hidráulicas.
Alivie de manera segura toda presión en el sistema hidráulico antes de realizar trabajo alguno en el sistema hidráulico.
El depósito se llena en fábrica con fluido hidráulico de alta calidad. Compruebe el nivel del fluido hidráulico antes de arrancar el motor por primera vez y luego a diario; consulte Comprobación del nivel de fluido hidráulico.
Fluido hidráulico recomendado: Fluido hidráulico Toro PX Extended Life; disponible en recipientes de 19 litros (5 galones US) o en bidones de 208 litros (55 galones US).
Note: Una máquina que utiliza el fluido de recambio recomendado requiere cambios menos frecuentes de fluido y filtro.
Fluidos hidráulicos alternativos: Si no está disponible el fluido hidráulico Toro PX Extended Life, puede utilizar otro fluido hidráulico convencional a base de petróleo cuyas especificaciones estén dentro de los intervalos citados para todas las propiedades de materiales siguientes y que cumpla las normas industriales vigentes. No utilice fluido sintético. Consulte a su distribuidor de lubricantes para identificar un producto satisfactorio.
Note: Toro no asume ninguna responsabilidad por los daños producidos por las sustituciones indebidas, por lo que debe utilizar únicamente productos de fabricantes reputados que respalden sus recomendaciones.
| Propiedades de materiales: | ||
| Viscosidad, ASTM D445 | cSt a 40 °C (104 °F) 44 a 48 | |
| Índice de viscosidad ASTM D2270 | 140 o más | |
| Punto de descongelación, ASTM D97 | -37 °C a -45 °C (-34 °F a -49 °F) | |
| Especificaciones industriales: | Eaton Vickers 694 (I-286-S, M-2950-S/35VQ25 o M-2952-S) | |
Note: La mayoría de los fluidos hidráulicos son casi incoloros, por lo que es difícil detectar fugas. Está disponible un aditivo de tinte rojo para el fluido hidráulico, en botellas de 20 ml (0.67 onzas fluidas). Una botella es suficiente para 15–22 litros (4–6 galones US) de fluido hidráulico. Solicite la pieza N.º 44-2500 a su distribuidor autorizado Toro.
Important: El fluido hidráulico biodegradable sintético Toro Premium es el único fluido biodegradable sintético homologado por Toro. Este fluido es compatible con los elastómeros usados en los sistemas hidráulicos de Toro, y es apropiado para un amplio intervalo de temperaturas. Este fluido es compatible con fluidos minerales convencionales, pero para obtener la máxima biodegradabilidad y rendimiento es necesario purgar el sistema hidráulico completamente de fluido convencional. Su distribuidor autorizado Toro dispone de este aceite en recipientes de 19 litros (5 galones US) o en bidones de 208 litros (55 galones US).
| Intervalo de mantenimiento y servicio | Procedimiento de mantenimiento |
|---|---|
| Cada vez que se utilice o diariamente |
|
Aparque la máquina en una superficie nivelada, ponga el freno de estacionamiento, baje las unidades de corte, apague el motor y retire la llave.
Compruebe el nivel de fluido hidráulico (Figura 82).


| Intervalo de mantenimiento y servicio | Procedimiento de mantenimiento |
|---|---|
| Cada 800 horas |
|
| Cada 2000 horas |
|
| Cada 2 años |
|
Capacidad de fluido hidráulico: 28.4 litros (7.50 galones US)
Si el fluido se contamina, póngase en contacto con su distribuidor autorizado Toro, porque el sistema debe ser purgado. El fluido contaminado tiene un aspecto lechoso o negro en comparación con el fluido limpio.
Aparque la máquina en una superficie nivelada, ponga el freno de estacionamiento, baje las unidades de corte, apague el motor y retire la llave.
Levante el cofre.
Desconecte la manguera de retorno de la parte inferior del depósito y deje fluir el fluido hidráulico a un recipiente grande.
Vuelva a conectar la manguera cuando el fluido hidráulico se haya drenado.
Llene el depósito con fluido hidráulico; consulte Comprobación del nivel de fluido hidráulico.
Important: Utilice solamente los fluidos hidráulicos especificados. Otros fluidos podrían causar daños en el sistema.
Coloque el tapón del depósito.
Gire la llave del interruptor de encendido a la posición de CONECTADO para arrancar el motor. Accione todos los controles hidráulicos para distribuir el fluido hidráulico por todo el sistema, y compruebe que no hay fugas.
Gire la llave del interruptor de encendido a la posición de DESCONECTADO.
Verifique el nivel de fluido y añada suficiente para que el nivel llegue a la marca LLENO de la varilla. No llene demasiado.
| Intervalo de mantenimiento y servicio | Procedimiento de mantenimiento |
|---|---|
| Cada 800 horas |
|
| Cada 1000 horas |
|
Utilice filtros de recambio Toro Pieza N.º 94-2621 para la parte trasera (unidades de corte) de la máquina y Pieza N.º 75-1310 para la parte delantera (carga) de la máquina.
Important: El uso de otro filtro puede anular la garantía de algunos componentes.
Incline el asiento del operador para acceder al filtro de presión del cortacésped; consulte Acceso al compartimento de elevación hidráulica.

Cambie el filtro hidráulico de carga en el compartimento de elevación hidráulica, como se muestra en la Figura 84.


Baje y fije el asiento del operador.
Cambie el filtro de retorno en el lado derecho de la máquina (Figura 84).
Arranque el motor y déjelo funcionar durante unos 2 minutos para purgar el aire del sistema. Pare el motor y compruebe que no hay fugas.
| Intervalo de mantenimiento y servicio | Procedimiento de mantenimiento |
|---|---|
| Cada vez que se utilice o diariamente |
|
| Cada 2 años |
|
Inspeccione a diario las líneas y mangueras hidráulicas para comprobar que no tienen fugas, que no están torcidas, que los soportes no están sueltos, y que no hay desgaste, elementos sueltos, o deterioro causado por agentes ambientales o químicos. Haga todas las reparaciones necesarias antes de operar la máquina.
Las fugas de fluido hidráulico bajo presión pueden penetrar en la piel y causar lesiones.
Busque atención médica inmediatamente si el fluido hidráulico penetra en la piel.
Asegúrese de que todas las mangueras y líneas de fluido hidráulico están en buenas condiciones de uso, y que todos los acoplamientos y conexiones hidráulicos están apretados, antes de aplicar presión al sistema hidráulico.
Mantenga el cuerpo y las manos alejados de fugas pequeñas o boquillas que expulsan fluido hidráulico a alta presión.
Utilice un cartón o un papel para buscar fugas hidráulicas.
Alivie de manera segura toda presión en el sistema hidráulico antes de realizar trabajo alguno en el sistema hidráulico.
Aparque la máquina en una superficie nivelada, ponga el freno de estacionamiento, baje las unidades de corte, apague el motor y retire la llave.
Desconecte y retire el motor hidráulico de la unidad de corte (Figura 85). Tape la parte superior del eje para evitar la contaminación.

Retire el pasador de seguridad (máquinas Groundsmaster 4500) o la tuerca de retención (máquinas Groundsmaster 4700) que sujeta el bastidor de tiro de la unidad de corte al pivote del brazo de elevación (Figura 86).

Aleje la unidad de corte de la máquina.
Coloque la unidad de corte delante de la máquina.
Deslice el bastidor de tiro de la unidad de corte sobre el pivote del brazo de elevación (Figura 86). Sujete la unidad de corte al pivote con el pasador de seguridad (máquinas Groundsmaster 4500) o la tuerca de retención (máquinas Groundsmaster 4700).
Instale el motor hidráulico en la unidad de corte (Figura 85). Asegúrese de que la junta tórica está correctamente colocada y que no está dañada.
Engrase el eje.
Inspeccione el rodillo delantero; no debe estar desgastado, tener holgura excesiva ni atascarse. Ajuste o cambie el rodillo o sus componentes si se presenta cualquiera de estas condiciones.
Retire el perno de montaje del rodillo (Figura 87).
Introduzca un punzón por el extremo del alojamiento del rodillo y haga salir el cojinete opuesto dando golpecitos alternados en cada lado del anillo de rodadura interior del cojinete. Debe quedar expuesto un reborde de 1.5 mm (0.060") del anillo de rodadura interior.

En una prensa, retire el otro cojinete haciendo presión.
Inspeccione el alojamiento del rodillo, los cojinetes, y el espaciador del cojinete (Figura 87). Sustituya cualquier componente dañado y ensámblelos.
Introduzca a presión el primer cojinete en el alojamiento del rodillo (Figura 87). Haga presión solamente sobre el anillo de rodadura exterior, o de forma igual sobre el anillo exterior y el interior.
Introduzca el espaciador (Figura 87).
Introduzca a presión el segundo cojinete en el alojamiento del rodillo (Figura 87). Presione uniformemente sobre los anillos de rodadura interior y exterior hasta que el anillo interior entre en contacto con el espaciador.
Instale el conjunto del rodillo en el bastidor de la unidad de corte.
Compruebe que el espacio entre el conjunto del rodillo y los soportes de montaje del rodillo del bastidor de la unidad de corte no supera los 1.5 mm (0.060"). Si el espacio es de más de 1.5 mm (0.060"), instale suficientes arandelas de ⅝" de diámetro para eliminar la holgura.
Important: Si fija el conjunto del rodillo con un espacio mayor de 1.5 mm (0.060"), creará una carga lateral sobre el cojinete que puede causar una falla prematura del cojinete.
Apriete el perno de montaje a 108 N·m (80 pies-libra).
Inspeccione periódicamente las cuchillas, para asegurarse de que no están desgastadas ni dañadas.
Tenga cuidado al comprobar las cuchillas. Envuelva las cuchillas o lleve guantes, y extreme las precauciones al realizar el mantenimiento de las cuchillas. Solo reemplace o afile las cuchillas; no las enderece ni las suelde nunca.
En máquinas con múltiples cuchillas, tenga cuidado puesto que girar una cuchilla puede hacer que giren otras cuchillas.
La unidad de corte viene de fábrica preajustada para una altura de corte de 5 cm (2") y con una inclinación de cuchilla de 7.9 mm (0.310"). Las alturas de la derecha y la izquierda también están preajustadas para que la diferencia entre las dos sea de ± 0.7 mm (0.030").
La unidad de corte está diseñada para soportar impactos de cuchilla sin deformación de la cámara. Si la cuchilla golpea un objeto sólido, compruebe que la cuchilla no está dañada y verifique la precisión del plano de la cuchilla.
Retire el motor hidráulico de la unidad de corte y retire la unidad de corte de la máquina.
Utilice un polipasto (o 2 personas como mínimo) y coloque la unidad de corte sobre una mesa plana.
Marque un extremo de la cuchilla con pintura, un rotulador o similar. Utilice este extremo de la cuchilla para comprobar todas las alturas.
Coloque el filo de corte del extremo marcado de la cuchilla en la posición de las 12 (hacia adelante, en el sentido de la siega) (Figura 88) y mida la altura desde la mesa hasta el filo de corte de la cuchilla.

Gire el extremo marcado de la cuchilla a las posiciones de las 3 y de las 9 (Figura 88) y mida las alturas.
Compare la altura medida en la posición de las 12 con el ajuste de altura de corte. Debe estar a una distancia de no más de 0.7 mm (0.030"). Las alturas en la posición de las 3 y de las 9 deben ser de 1.6 mm – 6.0 mm (0.060" – 0.240") mayores que en la posición de las 12 y con una distancia entre sí de no más de 2.2 mm (0.090").
Si alguna de estas medidas no es la correcta, prosiga con Ajuste del plano de la cuchilla.
Empiece con el ajuste delantero (cambie un soporte a la vez).
Retire el soporte de altura de corte (delantero, izquierdo o derecho) del bastidor de la unidad de corte (Figura 89).
Inserte suplementos de 1.5 mm (0.060") y/o 0.7 mm (0.030") entre el bastidor de la unidad de corte y el soporte para obtener el ajuste de altura deseado (Figura 89).

Instale el soporte de altura de corte en el bastidor de la unidad de corte con los suplementos restantes colocados debajo del soporte de altura de corte.
Apriete el perno de cabeza allen/espaciador y la tuerca con arandela prensada.
Note: El perno de cabeza allen y el espaciador están fijados con un adhesivo sellador de roscas para evitar que el espaciador caiga dentro del bastidor de la unidad de corte.
Verifique la altura de la posición de las 12 y ajústela si es necesario.
Determine si es necesario ajustar sólo uno de los soportes de ajuste de la altura de corte, o los dos (izquierdo y derecho).
Note: Si el lado de las 3 o de las 9 está 1.6 mm – 6.0 mm (0.060" – 0.240") más alto que la nueva altura delantera, no se necesita ningún ajuste más en ese lado. Ajuste el otro lado igual que el lado correcto, con una tolerancia de ±2.2 mm (0.090").
Ajuste los soportes de altura de corte de la derecha y/o de la izquierda repitiendo los pasos 1 a 4.
Apriete los pernos de cuello cuadrado y las tuercas con arandela prensada.
Verifique la altura a las posiciones de las 12, 3, y 9.
Cambie la cuchilla si ha golpeado un objeto sólido, si está desequilibrada o si está doblada. Utilice siempre piezas de repuesto genuinas de Toro para garantizar la seguridad y un rendimiento óptimo.
Estacione la máquina en una superficie nivelada, eleve la unidad de corte a la posición de transporte, ponga el freno de estacionamiento, apague el motor y retire la llave.
Note: Apoye o inmovilice la unidad de corte para evitar que se caiga accidentalmente.
Sujete el extremo de la cuchilla usando un paño o un guante grueso.
Retire del eje de la cuchilla el perno de la cuchilla, el protector de césped y la cuchilla (Figura 90).

Instale la cuchilla, el protector de césped y el perno de la cuchilla, y apriete el perno a 115–149 N∙m (85–110 pies-libra).
Important: La parte curva de la cuchilla debe apuntar hacia el interior de la unidad de corte para asegurar un corte correcto.
Note: Después de golpear un objeto extraño, apriete todas las tuercas de las poleas de los ejes de las cuchillas a 115–149 N∙m (85–110 pies-libra).
Tanto el filo de corte como la vela –la parte inclinada hacia arriba frente al filo de corte– contribuyen a una buena calidad de corte. La vela es importante porque levanta y endereza la hoja de hierba, así produciendo un corte homogéneo. No obstante, la vela se desgasta gradualmente durante el uso. A medida que la vela se desgasta, la calidad de corte disminuye, aunque los filos de corte estén afilados. El filo de corte de la cuchilla debe estar afilado para que la hierba sea cortada en vez de desgarrada. Cuando las puntas de las hojas de hierba tienen un aspecto marrón y desgarrado, es señal de que el filo no está afilado. Afile la cuchilla para corregir esta condición.
Aparque la máquina en una superficie nivelada, eleve la unidad de corte, accione el freno de estacionamiento, ponga el pedal de tracción en PUNTO MUERTO, ponga el mando de la TDF en la posición de DESENGRANADO, apague el motor y retire la llave del interruptor de encendido.
Examine cuidadosamente los extremos de corte de la cuchilla, sobre todo en el punto de reunión entre la parte plana y la parte curva de la cuchilla (Figura 91).
Note: Puesto que la arena y cualquier material abrasivo pueden desgastar el metal que conecta las partes curva y plana de la cuchilla, compruebe la cuchilla antes de utilizar el cortacésped. Si la cuchilla está desgastada (Figura 91), cámbiela.

Inspeccione los filos de corte de todas las cuchillas, y afílelos si están romos o tienen mellas (Figura 92).
Note: Afile únicamente la parte superior del filo y mantenga el ángulo de corte original para asegurar un filo correcto (Figura 92). La cuchilla permanece equilibrada si se retira la misma cantidad de metal de ambos filos de corte.

Note: Retire las cuchillas y afílelas con una muela. Después de afilar los filos de corte, instale la cuchilla con el protector de césped y el perno de la cuchilla; consulte Retirada e instalación de las cuchillas de la unidad de corte.
Asegúrese de que la cuchilla está recta y paralela; coloque la cuchilla sobre una superficie nivelada y compruebe sus extremos. Los extremos de la cuchilla deben estar ligeramente más bajos que el centro, y el filo de corte debe estar más bajo que el borde trasero.
Apague el motor, retire la llave y espere a que se detenga todo movimiento antes de abandonar el puesto del operador. Deje que se enfríe la máquina antes de hacer trabajos de ajuste, mantenimiento, limpieza o almacenamiento.
No guarde la máquina o un recipiente de combustible en un lugar donde pudiera haber una llama desnuda, chispas o una llama piloto, por ejemplo en un calentador de agua u otro electrodoméstico.
Important: No utilice agua salobre o reciclada para limpiar la máquina.
Limpie a fondo la unidad de tracción, las unidades de corte y el motor.
Compruebe la presión de los neumáticos. Infle todos los neumáticos de la unidad de tracción a 0.83–1.03 bar (12–15 psi).
Compruebe que todos los herrajes están bien apretados; apriételos si es necesario.
Engrase todos los puntos de engrase y de pivote. Limpie cualquier exceso de lubricante.
Lije suavemente y aplique pintura de retoque a cualquier zona pintada que esté rayada, desbastada u oxidada. Repare cualquier desperfecto de la carrocería.
Preparación de la batería y los cables:
Retire los terminales de los bornes de la batería.
Note: Desconecte siempre primero el terminal negativo y por último el positivo. Conecte primero el terminal positivo y luego el negativo.
Limpie la batería, los terminales y los bornes con un cepillo de alambre y una solución de bicarbonato.
Aplique una capa de grasa Grafo 112X (Pieza Nº 505-47) o de vaselina a los terminales de los cables y a los bornes de la batería para evitar la corrosión.
Recargue la batería lentamente durante 24 horas cada 60 días para evitar el sulfatado de plomo de la batería.
Vacíe el aceite de motor del cárter y vuelva a colocar el tapón de vaciado.
Retire y deseche el filtro de aceite. Instale un filtro de aceite nuevo.
Vuelva a llenar el cárter con la cantidad estipulada de aceite de motor.
Gire la llave en el interruptor a la posición CONECTADO, arranque el motor y déjelo funcionar a velocidad de ralentí durante aproximadamente 2 minutos.
Gire la llave a la posición DESCONECTADO.
Vacíe completamente todo el combustible del depósito, de los tubos y del filtro de combustible/separador de agua.
Enjuague el depósito de combustible con combustible diésel limpio y nuevo.
Apriete todos los elementos del sistema de combustible.
Realice una limpieza y un mantenimiento completos del conjunto del limpiador de aire.
Selle la entrada del limpiador de aire y la salida del tubo de escape con cinta impermeabilizante.
Compruebe la protección anticongelante y rellene en caso de necesidad según la temperatura mínima prevista en su región.
Si las unidades de corte van a estar separadas de la unidad de tracción durante un periodo prolongado, instale un tapón de eje en la parte superior de los ejes para protegerlos del polvo y del agua.
