| Onderhoudsinterval | Onderhoudsprocedure |
|---|---|
| Bij elk gebruik of dagelijks |
|
Deze machine is een zitmaaier met messenkooien bedoeld voor gebruik door professionele bestuurders in commerciële toepassingen. De machine is voornamelijk ontworpen voor het maaien van gras op goed onderhouden gazons. Dit product gebruiken voor andere doeleinden dan het bedoelde gebruik kan gevaarlijk zijn voor u of voor omstanders.
Lees deze informatie zorgvuldig door, zodat u weet hoe u de machine op de juiste wijze moet gebruiken en onderhouden en om schade aan de machine en letsel te voorkomen. U bent verantwoordelijk voor het juiste en veilige gebruik van de machine.
Ga naar www.toro.com voor meer informatie, inclusief veiligheidstips, instructiemateriaal, informatie over accessoires, hulp bij het vinden van een dealer of om uw product te registreren.
Als u service, originele Toro-onderdelen of aanvullende informatie nodig hebt, kunt u contact opnemen met een erkende Toro dealer. U dient hierbij altijd het modelnummer en het serienummer van het product te vermelden. De locatie van het plaatje met het modelnummer en het serienummer van het product is aangegeven op Figuur 1. U kunt de nummers noteren in de ruimte hieronder.
Important: U kunt met uw mobiel apparaat de QR-code op het plaatje met het serienummer (indien aanwezig) scannen om toegang te krijgen tot de garantie, onderdelen en andere productinformatie.

Deze handleiding wijst u op mogelijke gevaren en bevat veiligheidswaarschuwingen die u kunt herkennen aan het waarschuwingspictogram (Figuur 2), dat wijst op een gevaar dat ernstig letsel of de dood kan veroorzaken indien u nalaat de voorgeschreven maatregelen te treffen.

Er worden in deze handleiding twee woorden gebruikt om uw aandacht op bijzondere informatie te vestigen. Belangrijk attendeert u op bijzondere technische, elektrische of diagnostische informatie en Opmerking duidt algemene informatie aan die bijzondere aandacht verdient.
Dit product voldoet aan alle relevante Europese richtlijnen; zie voor details de aparte productspecifieke conformiteitsverklaring.
Als de machine zonder goed werkende vonkenvanger of goed onderhouden brandveilige motor wordt gebruikt in een bosgebied of op een met dicht struikgewas of gras begroeid terrein, handelt de bestuurder in strijd met de bepalingen van sectie 4442 of 4443 van de Wet op de Openbare Hulpbronnen (Public Resources Code) van de Staat Californië.
De bijgevoegde gebruikershandleiding van de motor biedt informatie over het Amerikaanse Environmental Protection Agency (EPA) en het Californische controlesysteem voor emissies, onderhoud en garantie. U kunt vervangingsonderdelen bestellen via de fabrikant van de motor.
Als u deze machine gebruikt op een hoogte boven 1000 meter boven de zeespiegel, moet u de sproeier voor grote hoogte aanschaffen. Raadpleeg de gebruikershandleiding van uw Kawasaki motor voor meer informatie.
Als deze machine is uitgerust met een telematica-apparaat, neem dan contact op met uw erkende Toro distributeur voor instructies over hoe u het apparaat moet activeren.
|
Certificaat elektromagnetische compatibiliteit |
|
Nationaal: Dit hulpmiddel voldoet aan de FCC-regelgeving Part 15. Het gebruik is onderworpen aan de volgende voorwaarden: (1) De machine mag geen schadelijke interferentie veroorzaken en (2) deze machine moet elke interferentie accepteren die kan worden ontvangen, waaronder interferentie die ongewenste werking van de machine kan veroorzaken. |
|
FCC ID: APV-3640LB IC: 5843C-3640LB |
|
Dit apparaat is getest en voldoet aan de limieten voor een digitaal apparaat van klasse B volgens Part 15 van de FCC-regelgeving. Deze limieten zijn bedoeld om redelijke bescherming te bieden tegen schadelijke interferentie bij montage in een woonwijk. Dit apparaat genereert, gebruikt en kan radio-frequentie-energie uitstralen en, als het niet geïnstalleerd en gebruikt wordt volgens de instructies, schadelijke interferentie veroorzaken aan radiocommunicatie. Er is echter geen garantie dat in een specifieke installatie geen interferentie op zal treden. Als dit apparaat schadelijke interferentie veroorzaakt in de ontvangst van radio en televisie, hetgeen kan worden bepaald door het apparaat aan en uit te zetten, wordt de gebruiker aangemoedigd om de interferentie te corrigeren door het nemen van een van de volgende maatregelen:
|
|
Argentinië |
![]() |
|
Australië |
![]() |
|
Marokko |
|
|---|---|
|
AGREE PAR L’ANRT MAROC |
|
|
Numéro d’agrément: |
MR00004789ANRT20024 |
|
Date d’agrément: |
4 november 2024 |
|
Nieuw-Zeeland |
|
|
|
Zuid-Korea |
![]() |
CALIFORNIË
Proposition 65 Waarschuwing
De uitlaatgassen van de motor van dit product bevatten chemische stoffen waarvan bekend is dat ze kanker, geboorteafwijkingen of andere schade aan de voortplantingsorganen kunnen veroorzaken.
Accuklemmen, accupolen en dergelijke onderdelen bevatten lood en loodverbindingen. Van deze stoffen is bekend dat ze kanker en schade aan de voortplantingsorganen veroorzaken. Was altijd uw handen nadat u met deze onderdelen in aanraking bent geweest.
Gebruik van dit product kan leiden tot blootstelling aan chemische stoffen waarvan de Staat Californië weet dat ze kanker, geboorteafwijkingen en andere schade aan het voortplantingssysteem veroorzaken.
Dit product kan handen of voeten afsnijden en voorwerpen uitwerpen.
Lees deze Gebruikershandleiding en zorg ervoor dat u deze begrijpt voordat u de motor start.
Geef uw volledige aandacht als u de machine gebruikt. Zorg ervoor dat u met niets anders bezig bent waardoor u kunt worden afgeleid, anders kunt u verwondingen oplopen of kan eigendom worden beschadigd.
Houd handen en voeten uit de buurt van de bewegende onderdelen van de machine.
Gebruik de machine niet als er schermen of andere beveiligingsmiddelen ontbreken of als deze niet naar behoren werken.
Houd omstanders en kinderen uit de buurt van het werkgebied. Hou omstanders en kinderen uit de buurt van het werkgebied. Laat kinderen nooit de machine bedienen.
Zet de machine af, verwijder het contactsleuteltje en wacht totdat alle bewegende onderdelen tot stilstand zijn gekomen voordat u de bestuurderspositie verlaat. Laat de machine afkoelen voordat u deze afstelt, reinigt, stalt of er onderhoudswerkzaamheden aan verricht.
Onjuist gebruik of onderhoud van deze machine kan letsel tot
gevolg hebben. Om het risico op letsel te verkleinen, dient u zich
aan de volgende veiligheidsinstructies te houden en altijd op het
veiligheidssymbool
te letten, dat betekent Voorzichtig,
Waarschuwing of Gevaar – instructie voor persoonlijke veiligheid.
Niet-naleving van deze instructies kan leiden tot lichamelijk of dodelijk
letsel.
![]() |
Veiligheidsstickers en veiligheidsinstructies zijn gemakkelijk zichtbaar voor de bestuurder en bevinden zich bij plaatsen waar gevaar kan ontstaan. Vervang alle beschadigde of verdwenen stickers. |










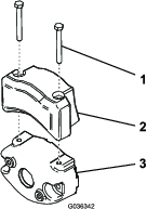
Benodigde onderdelen voor deze stap:
| Rolbeugelconstructie | 1 |
| Zeskantbout (⅜" x 1½") | 8 |
| Moer (⅜") | 8 |
Verwijder de bovenste steun uit de transportverpakking.
Verwijder de rolbeugel uit de transportverpakking.
Gebruik 8 zeskantbouten (⅜" x 1½") en 8 moeren (⅜") om de rolbeugel te bevestigen aan de beugels van de rolbeugel aan elke kant van de machine (Figuur 3).
Note: Laat iemand u helpen om de rolbeugel te plaatsen en te bevestigen aan de machine.

Draai het bevestigingsmateriaal vast met een torsie van 51 tot 65 N·m.
Benodigde onderdelen voor deze stap:
| Set met stoel (afzonderlijk bestellen; neem contact op met uw erkende Toro-distributeur) | 1 |
Koop de set met stoel aan (neem contact op met uw erkende Toro-distributeur) en raadpleeg de Montage-instructies van de set om de stoel te monteren.
Benodigde onderdelen voor deze stap:
| Stuur | 1 |
| Dop | 1 |
| Sluitring | 1 |
| Borgmoer | 1 |
Benodigde onderdelen voor deze stap:
| Schroef (M5) | 2 |
| Moer (M5) | 2 |
Als de accukabels verkeerd worden verbonden, kan dit schade aan de machine en de kabels tot gevolg hebben en vonken veroorzaken. Hierdoor kunnen accugassen tot ontploffing komen en lichamelijk letsel veroorzaken.
Sluit altijd de pluskabel (rood) van de accu aan voordat u de minkabel (zwart) aansluit.
De 12V accu bevindt zich onder de bestuurdersstoel aan de rechterkant van de machine (Figuur 7).

De rechterkap verwijderen
Verwijder het accudeksel om bij de accu te kunnen komen.
Gebruik een M5 schroef en moer om de pluskabel (rood) van de accu aan te sluiten op de pluspool (+).
Gebruik een M5 schroef en moer om de minkabel (zwart) van de accu aan te sluiten op de minpool (-).
Draai de schroeven en moeren op de polen vast met een torsie van 3 tot 4 N·m.
Breng beschermspray (Toro onderdeelnr. 107-0392) of een licht laagje vet aan op de accupolen en de kabelconnectoren om corrosie te verminderen.
Plaats het deksel over de accu.
Plaats de rechterkap.
Benodigde onderdelen voor deze stap:
| Haken van grasvanger | 6 |
| Flensbouten | 12 |
Gebruik 12 flensbouten om 6 haken van de grasvanger te monteren op de uiteinden van de stangen van de ophangarm (Figuur 8).

Benodigde onderdelen voor deze stap:
| Maai-eenheid (afzonderlijk bestellen; neem contact op met uw erkende Toro-distributeur) | 3 |
| Grasvanger | 3 |
| Elektrisch contragewicht | 3 |
| Inbusbout | 6 |
| O-ring | 3 |
Bereid de maai-eenheden voor op installatie; zie de Gebruikershandleiding van de maai-eenheden.
Breng smeer aan op de binnensleuf van de aandrijfkoppeling.
Monteer een O-ring op elke messenkooimotor zoals getoond in Figuur 9.

Bevestig het elektrische contragewicht aan het bestaande contragewicht; gebruik hierbij 2 inbusbouten zoals getoond in Figuur 10.

Monteer de maai-eenheden; zie De maai-eenheden monteren.
Monteer elke grasmand op de haken van de grasvanger.
Benodigde onderdelen voor deze stap:
| Telematica-apparaat | 1 |
| Beugel van apparaat | 1 |
| Telematicakabelboom | 1 |
| Zeskantbout (nr. 10 x 1") | 4 |
| Borgmoer (nr. 10) | 4 |
| U-bout | 1 |
| Flensmoer (⅜") | 2 |
| Kabelbinder | 4 |
Gebruik 4 zeskantbouten (nr. 10 x 1") en 4 borgmoeren (nr. 10) om het telematica-apparaat aan de beugel van het apparaat te bevestigen (Figuur 11).

Gebruik een U-bout en 2 flensmoeren (⅜") om de beugel van het apparaat boven de hendel op de buis op de rolbeugel te bevestigen (Figuur 12).

Sluit de connector met de aanduiding P02 op de telematicakabelboom aan op het telematica-apparaat (Figuur 13).

Leid de kabelboom naar beneden langs de rolbeugel en sluit de kabelboomconnector met de aanduiding P01 aan op de connector op de machinekabelboom met de aanduiding P71 (Figuur 14).

Bevestig deze aansluiting op de hoofdkabelboom met een kabelbinder
Bevestig de kabelboom met kabelbinders aan de rolbeugel zoals wordt getoond.

Sluit de hoofdstroomaansluitingen aan; zie Hoofdstroomaansluitingen.
Gebruik InfoCenter om de machine-instellingen aan te passen; zie Het InfoCenter gebruiken om de machine-instellingen aan te passen.
Benodigde onderdelen voor deze stap:
| Sticker productiejaar | 1 |
| CE-waarschuwingssticker (onderdeelnummer 139-8321) | 1 |
| CE/UKCA-sticker (onderdeelnummer 138-9470) | 1 |
Als u deze machine gebruikt in een land dat de CE/UKCA-normen naleeft, moet u de volgende stickers aanbrengen:
Sticker productiejaar en sticker CE/UKCA-markering: breng de stickers aan op de framebuis onder de stoel en het plaatje met het serienummer; zie Figuur 16.

CE-waarschuwingssticker: Breng de CE-waarschuwingssticker (onderdeelnummer 139-8321) aan over de aanwezige waarschuwingssticker (onderdeelnummer 139-8320) op de kap van het stuur; zie Figuur 17.

De banden worden in de fabriek t.b.v. de verzending opzettelijk te hard opgepompt. Verklein de druk in de banden volgens de aanbevelingen alvorens de machine te starten; zie De bandenspanning controleren.


De contactschakelaar heeft 3 standen: UIT, AAN en START (Figuur 20).
Gebruik de contactschakelaar om de motor te starten, de motor uit te schakelen of met de machine te rijden zonder motorvermogen; zie Starten van de motor, De motor afzetten en Met de machine rijden zonder motorvermogen.

Om een koude motor te starten, sluit u de choke van de carburator door de chokehendel (Figuur 19) naar voren te bewegen naar de GESLOTEN stand. Nadat de motor loopt stelt u de chokehendel zo in dat de motor regelmatig loopt. Zet de choke zo snel mogelijk open door de hendel naar achteren te bewegen (Figuur 19) naar OPEN. Als de motor warm is, hoeft de choke niet of nauwelijks te worden gebruikt.

De functiebedieningsschakelaar (Figuur 19) heeft 2 tractiestanden plus een NEUTRAALSTAND.
NEUTRAALSTAND – neutraal en wetten
MAAISTAND – maaien
TRANSPORTSTAND – transport
U kunt van MAAIEN naar TRANSPORT en van TRANSPORT naar MAAIEN schakelen (niet naar de NEUTRAALSTAND) als de machine in beweging is; hierdoor wordt de machine niet beschadigd.
U kunt schakelen van TRANSPORT of MAAIEN naar de NEUTRAALSTAND en de machine zal tot stilstand komen. Als u probeert te schakelen van de NEUTRAALSTAND naar MAAIEN of TRANSPORT terwijl het pedaal niet in de NEUTRAALSTAND staat, verschijnt er een melding.
Met de joystick voor omhoog-/omlaagbrengen(Figuur 19) kunt u de maai-eenheden omhoog- en omlaagbrengen. De joystick kan de messenkooien van de maai-eenheid in- of uitschakelen afhankelijk van de positie van de functiebedieningsschakelaar:
Functiebedieningsschakelaar in de NEUTRAALSTAND: de maai-eenheden zullen omhoog of omlaag worden gebracht zo lang u de joystick naar voren of naar achteren beweegt, maar de messenkooien zullen niet worden ingeschakeld tenzij de machine in wetmodus staat.
Functiebedieningsschakelaar in de stand MAAIEN: beweeg de joystick naar voren tijdens het maaien om de maai-eenheden te laten zakken en de messenkooien te starten. Om de messenkooien tot stilstand te brengen en de maai-eenheden omhoog te brengen, moet u de joystick naar achteren trekken.
Om de messenkooien tot stilstand te brengen zonder de maai-eenheden omhoog te brengen, moet u de joystick eventjes naar achteren trekken en dan loslaten. Als u de joystick opnieuw naar voren beweegt, starten de messenkooien. Als u hem opnieuw naar achteren trekt, worden de maai-eenheden omhooggebracht. U moet deze functie inschakelen in InfoCenter; zie De tap-offvertraging instellen.
Functiebedieningsschakelaar in de stand TRANSPORT: de maai-eenheden kunnen omhoog worden gebracht, maar de messenkooien zullen niet worden ingeschakeld. Er verschijnt een melding in InfoCenter als u de maai-eenheden probeert omlaag te brengen.
Het tractiepedaal (Figuur 22) heeft 3 functies: de machine vooruit en achteruit laten rijden en tot stilstand brengen. U moet de bovenkant van het pedaal intrappen om vooruit te rijden en de onderkant van het pedaal om achteruit te rijden of bij het stoppen als u vooruitrijdt.
Stoppen van de machine: laat het pedaal naar de NEUTRAALSTAND bewegen. Laat uw hiel niet op het tractiepedaal in de ACHTERUITSTAND rusten als u vooruitrijdt (Figuur 23).


U kunt de maximale rijsnelheid als volgt instellen:
Maaisnelheid vooruit: 3,2 tot 8 km/u
Transportsnelheid: 8 tot 16 km/u
Snelheid achteruit: 3,2 tot 4,8 km/u
Druk het pedaal in (Figuur 22) en breng de stuurarm omhoog of omlaag tot een comfortabele positie en laat het pedaal los om de arm te vergrendelen.
Trap het rempedaal in (Figuur 24) om de machine te stoppen.

Gebruik de parkeerrem (Figuur 24) om te voorkomen dat de machine beweegt. Om de parkeerrem in werking te stellen, moet u het rempedaal intrappen en de bovenkant naar voren drukken om dit vast te zetten. Om de parkeerrem uit te schakelen, trapt u het rempedaal in totdat de vergrendeling van de parkeerrem wordt ingetrokken.
Het InfoCenter display (Figuur 25) toont informatie zoals de bedrijfsmodus en diverse diagnostieken en andere informatie over de machine.

Note: De knoppen kunnen verschillende functies vervullen afhankelijk van wat op dat moment nodig is. Voor elke knop is er een pictogram dat de huidige functie weergeeft.
Gebruik de navigatieknoppen om te navigeren tussen verschillende schermen en menu-items:
Welkomscherm: toont de huidige informatie over de machine gedurende een aantal seconden nadat u het sleuteltje op AAN hebt gezet.
Hoofdscherm (Figuur 26): toont huidige informatie over de machine terwijl het sleuteltje op AAN staat.

Scherm over de eReel motor (Figuur 27): toont de snelheid en stroom van elke motor van de maai-eenheid.

Tractiemotorscherm Figuur 28: toont de huidige stuurhoek en de stroomsterkte toegewezen aan elke tractiemotor.

Hoofdmenu: zie De menu-opties van het InfoCenter.
![]() | Urenteller |
![]() | Functiebedieningsschakelaar is in de NEUTRAALSTAND. |
![]() | Functiebedieningsschakelaar is in de stand TRANSPORT. |
![]() | Functiebedieningsschakelaar is in de stand MAAIEN. |
![]() | De bestuurder moet op de stoel zitten. |
![]() | De parkeerrem is in werking gesteld. |
![]() | De elektrische parkeerrem is in werking gesteld. |
![]() | Start de motor. |
![]() | Motor |
![]() | De aftakas is ingeschakeld. |
![]() | De aftakas is uitgeschakeld. |
![]() | Accu |
![]() | De maai-eenheden worden omhoog gebracht. |
![]() | De maai-eenheden worden omlaag gebracht. |
![]() | Actief |
![]() | Inactief |
![]() | Vorige |
![]() | Volgende |
![]() | Verhogen |
![]() | Verlagen |
![]() | Vorig scherm |
![]() | Volgend scherm |
![]() | Waarde verhogen |
![]() | Waarde verlagen |
![]() | Menu |
![]() | Omhoog/omlaag scrollen |
![]() | Naar links/rechts scrollen |
Om naar het hoofdmenu te gaan, drukt u op de knop terug/afsluiten terwijl u in één van de informatieschermen bent.
Raadpleeg de volgende tabellen voor een omschrijving van de opties die u hebt in de menu's:
| Menuoptie | Beschrijving |
| STORINGEN | Het menu STORINGEN bevat een lijst met de recente machinestoringen. Raadpleeg de Onderhoudshandleiding of een erkende Toro-distributeur voor meer informatie over het menu STORINGEN. |
| ONDERHOUD | Het menu ONDERHOUD bevat informatie over de machine, zoals bedrijfsuren, tellers en kalibratie. U kunt ook de wetprocedure van de maai-eenheid inschakelen. Raadpleeg de tabel Onderhoud. |
| DIAGNOSTIEK | Het menu DIAGNOSTIEK geeft de verschillende huidige statussen en gegevens van de machine weer. U kunt deze informatie gebruiken om bepaalde problemen op te lossen, omdat het menu snel laat zien welke bedieningsorganen van de machine aan/uit zijn en controleniveaus weergeeft (bv. sensorwaarden). |
| INSTELLINGEN | In het menu INSTELLINGEN kunt u de instellingen voor het InfoCenter display wijzigen. Raadpleeg de tabel Instellingen. |
| MACHINE-INSTELLINGEN - MACHINE SETTINGS | In het menu MACHINE-INSTELLINGEN kunt u de machine-instellingen aanpassen, zoals het messenkooitoerental, de maximale maaisnelheid en de maximale transportsnelheid. Raadpleeg de tabel Machine-instellingen. |
| MACHINE | In het menu MACHINE ziet u het modelnummer, het serienummer en de versie van de software op uw machine. Raadpleeg de tabel Machine. |
| Menuoptie | Beschrijving |
| UREN | Geeft het totaal aantal uren weer dat het sleuteltje op aan stond en de motor, de messenkooien en wetten ingeschakeld waren, alsook het volgende noodzakelijke onderhoud. |
| COUNTS | Geeft het aantal starts, maaibeurten, tap-offs, wetbeurten en aantal keren weer dat de motor voor langer dan 30 seconden werd gestart. |
| WETTEN | Schakelt de wetprocedure van de maai-eenheid in of uit (als u deze procedure inschakelt, kunt u de modus uitschakelen met deze instelling of door het sleuteltje op UIT te draaien). |
KALIBRATIE ![]() | Hiermee kunt u het besturingssysteem, het tractiesysteem en de hefactuatoren kalibreren. Raadpleeg de Onderhoudshandleiding voor meer informatie over kalibratie. |
| Menuoptie | Beschrijving |
| PINCODE INVOEREN | Geeft een door uw bedrijf geautoriseerde persoon (toezichthouder/mecanicien) toegang tot de beveiligde menu's met een pincode. |
| ACHTERGRONDVERLICHTING | De helderheid van het lcd. |
| TAAL | Bepaalt de taal die gebruikt wordt in het InfoCenter. |
| LETTERGROOTTE | Bepaalt de lettergrootte op het InfoCenter. |
| EENHEDEN | Bepaalt de eenheden die gebruikt worden in het InfoCenter. De opties zijn Engels of metrisch. |
BEVEILIGDE INSTELLINGEN ![]() | Configureert de beveiligde menu's. |
STANDAARDWAARDEN HERSTELLEN![]() | Herstelt de standaardwaarden van het InfoCenter. |
| Menuoptie | Beschrijving |
TAP-OFFTIJD ![]() | Bepaalt de tap-offvertraging. |
TOERENTAL MESSENKOOI ![]() | Regelt de maaimessnelheid op de maaidekken. |
ZAKSNELHEID![]() | Stelt de snelheid in waarmee de maai-eenheden worden omlaaggebracht naar de grond om te maaien. |
BACKLAPSNELHEID ![]() | Regelt het toerental voor het wetten. |
CLIP-CONTROL ![]() | Schakelt de automatische Clip-Control functie aan of uit. |
AANTAL MESSEN ![]() | Instellen van het aantal messen van elke kooi. Deze instelling is alleen nodig indien CLIP-CONTROL is ingesteld op AAN. |
MAAIHOOGTE![]() | Stelt de gewenste maaihoogte in. Deze instelling is alleen nodig indien CLIP-CONTROL is ingesteld op AAN. |
MAX. MAAIEN ![]() | Stelt de maximumsnelheid van de machine in tijdens het maaien. |
MAX. TRANSPORT ![]() | Stelt de maximumsnelheid van de machine in tijdens het transport. |
MAX. ACHTERUIT ![]() | Stelt de maximumsnelheid in waarmee de machine achteruitrijdt. |
VERTRAGEN & BOCHTEN NEMEN ![]() | Schakelt de functie Vertragen in bochten in of uit. |
DRIEWIELAANDRIJVING ![]() | Schakelt de driewielaandrijving in of uit. |
| Menuoptie | Beschrijving |
| MODEL | Het modelnummer van de machine. |
| Serienummer | Het serienummer van de machine. |
| SOFTWARE REVISIE | De softwareversie van de hoofdbedieningseenheid. |
XDM-2700 ![]() | De softwareversie van het InfoCenter. |
MAAI-EENHEID 1![]() | De softwareversie van de motor van de middelste maai-eenheid. |
MAAI-EENHEID 2![]() | De softwareversie van de motor van de voorste maai-eenheid links. |
MAAI-EENHEID 3![]() | De softwareversie van de motor van de voorste maai-eenheid rechts. |
GENERATOR![]() | Het serienummer van de generator. |
OMHOOG OMLAAG 1![]() | Het onderdeelnummer van de software en de revisieversie voor de middelste maai-eenheid. |
OMHOOG OMLAAG 2![]() | Het onderdeelnummer van de software en de revisieversie voor de voorste maai-eenheid links. |
OMHOOG OMLAAG 3![]() | Het onderdeelnummer van de software en de revisieversie voor de voorste maai-eenheid rechts. |
TRACTION1![]() | Het onderdeelnummer van de software en de revisieversie voor de tractiemotor vooraan rechts. |
TRACTION2![]() | Het onderdeelnummer van de software en de revisieversie voor de tractiemotor vooraan links. |
TRACTION3![]() | Het onderdeelnummer van de software en de revisieversie voor de driewielaandrijving (indien aanwezig). |
STUURSYSTEEM![]() | Het onderdeelnummer van de software en de revisieversie voor de achterste stuurmotor. |
Note:
Beveiligd
menu – enkel toegankelijk met de pincode; zie Toegang tot de beveiligde menu's.
Note: De standaard pincode van de machine is 0000 of 1234.Als u de pincode heeft gewijzigd en vergeten bent, neem dan contact op met uw erkende Toro distributeur voor hulp.
Scrol in het HOOFDMENU naar beneden tot het menu INSTELLINGEN en druk op de selectieknop (Figuur 29).

Scrol in het menu INSTELLINGEN naar PINCODE INVOEREN en druk op de selectieknop (Figuur 30A).

Om de pincode in te voeren, drukt u op de navigatieknoppen omhoog/omlaag tot het eerste gewenste cijfer verschijnt. Druk dan op de rechter navigatieknop om naar het volgende cijfer te gaan (Figuur 30B en Figuur 30C). Herhaal deze stap tot het laatste cijfer ingevoerd is.
Druk op de selectieknop (Figuur 30D).
Note: Als het display de pincode accepteert en het beveiligde menu
opent, dan verschijnt
in de rechter bovenhoek van het scherm.
Om het beveiligd menu weer te vergrendelen, draait u de contactschakelaar naar UIT-stand en dan naar de AAN-stand.
Scrol in INSTELLINGEN naar beneden naar INSTELLINGEN BEVEILIGEN.
Om de instellingen te bekijken en te veranderen zonder
een pincode in te voeren, zet u met de selectieknop INSTELLINGEN
BEVEILIGEN op
(Uit).
Om de instellingen te bekijken en te veranderen met
een pincode, stelt u met de selectieknop INSTELLINGEN
BEVEILIGEN in op
(Aan). Stel vervolgens de pincode in, en draai
het contactsleuteltje UIT en daarna weer AAN.

Knipperend rood - actieve fout
Ononderbroken rood - actieve melding
Ononderbroken blauw - kalibratie-/dialoogberichten
Ononderbroken groen - normale werking
Voordat u werkt aan de machine of voor het plaatsen van, verwijderen van of werken aan de maai-eenheden, moet u altijd de machine loskoppelen van de voedingsbron door de hoofdstroomaansluitingen los te maken (Figuur 32). Deze vindt u onderaan de rolbeugel aan de linkerkant van de tractie-eenheid. Sluit de snelkoppelingen weer aan voordat u de machine gaat bedienen.

Als u de voeding naar de machine niet onderbreekt, bestaat de kans dat iemand de machine per ongeluk start. Hierdoor kan ernstig lichamelijk letsel worden veroorzaakt.
Koppel altijd de aansluitingen los voordat u werkzaamheden aan de machine gaat verrichten.
Zie Figuur 34 en Specificatietabel voor de afmetingen en het gewicht.
Note: Specificaties en ontwerp kunnen zonder voorafgaande kennisgeving worden gewijzigd.

| Maaibreedte | 151 cm |
| Spoorbreedte | 126 cm |
| Wielbasis | 127 cm |
| Totale lengte (met grasvangers) | 249 cm |
| Totale breedte | 180 cm |
| Totale hoogte | 205 cm |
| Gewicht* | 737 kg |
| *Tractie-eenheid uitgerust met maai-eenheden met 11 messen, zonder brandstof, zonder bestuurder en met de standaard stoel. | |
Een selectie van door Toro goedgekeurde werktuigen en accessoires is verkrijgbaar voor gebruik met de machine om de mogelijkheden daarvan te verbeteren en uit te breiden. Neem contact op met een erkende servicedealer of Toro-distributeur of ga naar www.Toro.com voor een lijst van alle goedgekeurde werktuigen en accessoires.
Om de beste prestaties te verkrijgen en er zeker van te zijn dat de machine altijd veilig kan worden gebruikt, moet u ter vervanging uitsluitend originele Toro-onderdelen en accessoires gebruiken. Gebruik ter vervanging nooit onderdelen en accessoires van andere fabrikanten, omdat dit gevaarlijk kan zijn. Dit kan ertoe leiden dat de garantie op het product komt te vervallen.
Laat kinderen of personen die geen instructie hebben ontvangen, de machine nooit gebruiken of onderhoudswerkzaamheden daaraan verrichten. Plaatselijke voorschriften kunnen nadere eisen stellen aan de leeftijd van degene die met de machine werkt. Plaatselijke voorschriften kunnen nadere eisen stellen aan de leeftijd van degene die met de machine werkt. De eigenaar is verantwoordelijk voor de instructie van alle bestuurders en technici.
Zorg ervoor dat u vertrouwd raakt met de bedieningsorganen en de veiligheidssymbolen, en weet hoe u de machine veilig kunt gebruiken.
Schakel de parkeerrem in, schakel de machine uit, verwijder het contactsleuteltje, en wacht totdat alle bewegende onderdelen tot stilstand zijn gekomen voordat u de bestuurderspositie verlaat. Laat de machine afkoelen voordat u deze afstelt, reinigt, stalt of er onderhoudswerkzaamheden aan verricht.
Zorg ervoor dat u weet hoe u de machine snel kunt stoppen.
Controleer de aanwezigheid en goede werking van de dodemansinrichtingen, veiligheidsschakelaars en beveiligingsmiddelen. Gebruik de machine uitsluitend als deze naar behoren werkt.
Controleer voordat u begint te maaien altijd de machine om zeker te zijn dat de maai-eenheden in goede staat zijn.
Inspecteer het terrein waarop u de machine gaat gebruiken en verwijder voorwerpen die de machine kan uitwerpen.
Wees uiterst voorzichtig bij het omgaan met brandstof. Brandstof is ontvlambaar en de dampen kunnen tot ontploffing komen.
Doof alle sigaretten, sigaren, pijpen en andere ontstekingsbronnen.
Gebruik uitsluitend een goedgekeurd vat of blik voor de brandstof.
Wanneer de motor loopt of heet is, mag u de brandstofdop niet verwijderen of geen brandstof toevoegen.
Geen brandstof bijvullen of aftappen in een afgesloten ruimte.
Bewaar de machine en het brandstofvat niet op plaatsen waar open vlammen, vonken of waakvlammen (bv. van een boiler of een ander toestel) aanwezig kunnen zijn.
Probeer de motor niet te starten als u brandstof hebt gemorst; voorkom elke vorm van open vuur of vonken totdat de brandstofdampen volledig zijn verdwenen.
Inhoud brandstoftank: 18,5 liter
Aanbevolen brandstof: loodvrije benzine met een octaangetal van 87 of hoger (indelingsmethode (R+M)/2)
Ethanol: benzine met maximaal 10 vol.% ethanol of 15 vol.% MTBE (methyl tertiaire butylether) is geschikt. Ethanol en MTBE zijn verschillende stoffen. Benzine met 15% ethanol (E15) per volume is niet goedgekeurd voor gebruik.
Gebruik nooit benzine met meer dan 10 vol.% ethanol, zoals E15 (bevat 15% ethanol), E20 (bevat 20% ethanol), of E85 (bevat tot 85% ethanol).
Geen brandstof gebruiken die methanol bevat.
Tijdens de winter geen brandstof bewaren in de brandstoftank of in vaten, tenzij u een brandstofstabilisator gebruikt.
Meng nooit olie door benzine.
Gebruik voor de beste resultaten uitsluitend schone, verse brandstof (minder dan 30 dagen oud).
Ongeschikte benzine gebruiken kan leiden tot verminderde prestaties en/of motorschade die mogelijk niet gedekt wordt door de garantie.
Important: Gebruik nooit andere brandstofadditieven dan een brandstofstabilisator/conditioner. Gebruik geen stabilizers op basis van alcohol zoals ethanol, methanol, of isopropanol.
Stel de parkeerrem in werking, zet de motor uit, verwijder het contactsleuteltje en wacht totdat alle bewegende onderdelen tot stilstand zijn gekomen.
Reinig de omgeving van de dop van de brandstoftank en verwijder de dop (Figuur 35).

Giet de aanbevolen brandstof in de brandstoftank tot 25 mm vanaf de onderkant van de vulbuis. Dit geeft de brandstof in de tank ruimte om uit te zetten.
Important: Vul de brandstoftank niet helemaal.
Plaats daarna de dop terug.
Note: U hoort een klik als de dop goed bevestigd is.
Neem eventueel gemorste brandstof op.
U kunt het InfoCenter gebruiken om de volgende machine-instellingen aan te passen:
Tap-offvertraging; zie De tap-offvertraging instellen.
Messenkooitoerental terwijl u maait; zie Het messenkooitoerental voor het maaien instellen.
Messenkooitoerental terwijl u de maai-eenheden wet; zie Het messenkooitoerental voor het wetten instellen.
Clip-Control; zie De Clip-Control functie instellen.
Maaihoogte; zie De maaihoogte instellen.
Aantal messen van de maai-eenheid; zie Het aantal messen van de maai-eenheid instellen.
Maximale maaisnelheid; zie De maximale maaisnelheid instellen.
Zaksnelheid maai-eenheid; zie De zaksnelheid van de maai-eenheid instellen.
Maximale transportsnelheid; zie De maximale transportsnelheid instellen.
Maximale snelheid achteruit; zie De maximale snelheid achteruit instellen.
Vertragen in bochten; zie De functie Vertragen in bochten instellen.
Een uitgeruste set met driewielaandrijving uitschakelen; zie Een uitgeruste set met driewielaandrijving uitschakelen.
Note: Elke instelling is beveiligd met een code. U moet misschien een code invoeren om de instellingen te bewerken.
Ga naar de optie TAP-OFFTIJD om de tap-offvertraging aan te passen. Met de functie tap-offvertraging kunt u de maai-eenheden uitschakelen zonder ze omhoog te brengen. De vertragingsinstelling is de maximale tijd gedurende dewelke de joystick voor omhoog-/omlaagbrengen in de achterste stand mag blijven om deze functie te activeren.
Raadpleeg de volgende tabel voor de vertragingsopties en hun overeenkomstige stappen:
| Stap | Vertragingstijd (seconden) |
| 1 | Uit |
| 2 | 0,050 |
| 3 | 0,100 |
| 4 | 0,150 |
| 5 | 0,200 |
| 6 | 0,250 |
| 7 | 0,300 |
| 8 | 0,350 |
| 9 | 0,400 |
| 10 | 0,450 |
Note: De standaardwaarde is 1 (de functie is niet geactiveerd).
Ga naar de optie MESSENKOOITOERENTAL om het messenkooitoerental tijdens het maaien in te stellen. Deze instelling kan worden aangepast als de Clip-Control instelling UIT staat; zie De Clip-Control functie instellen.
Raadpleeg de volgende tabel voor de opties van het messenkooitoerental en hun overeenkomstige stappen:
| Stap | Messenkooitoerental (tpm) |
| 1 | 800 |
| 2 | 950 |
| 3 | 1100 |
| 4 | 1250 |
| 5 | 1400 |
| 6 | 1550 |
| 7 | 1700 |
| 8 | 1850 |
| 9 | 2000 |
Note: De standaardwaarde is 2000 tpm (stap nummer 9).
Ga naar de optie ZAKSNELHEID om de snelheid in te stellen waarmee de maai-eenheden worden omlaaggebracht naar de grond om te maaien. U kunt schakelen tussen 1 (laagste snelheid)en 9 (hoogste snelheid).
Test de zaksnelheid voordat u gaat maaien. Stel de snelheid af naar wens.
Note: De standaardinstelling is 5.
Ga naar de optie TOERENTAL VOOR WETTEN om het messenkooitoerental tijdens het wetten af te stellen.
Raadpleeg de volgende tabel voor de opties van het messenkooitoerental en hun overeenkomstige stappen:
| Stap | Messenkooitoerental (tpm) |
| 1 | 200 |
| 2 | 240 |
| 3 | 280 |
| 4 | 320 |
| 5 | 360 |
| 6 | 400 |
| 7 | 440 |
| 8 | 480 |
| 9 | 520 |
Note: De standaardwaarde is 200 tpm (stap nummer 1).
Om een consistente, hoge maaikwaliteit en een uniform maairesultaat te verkrijgen, is de machine uitgerust met het Radius Dependent Speed™ (RDS) systeem, waarvoor een patent in aanvraag is. Het RDS-systeem is een Clip-Control functie die onafhankelijk is van de wielsnelheid en die de snelheid van elke messenkooimotor en tractiemotor aanpast om een constante maaibewerking te verkrijgen en om afschaven van het gazon tijdens het maaien in bochten tegen te gaan.
Wanneer de machine een bocht maakt tijdens het maaien (bv. tijdens de schoonmaakwerkgang), zal de messenkooi aan de binnenkant van de bocht met een trager toerental draaien dan de messenkooi aan de buitenkant van de bocht. De middelste messenkooi draait met het gemiddelde toerental van de buitenste en binnenste messenkooi zodat de drie maai-eenheden dezelfde maaifrequentie hebben. Hoe scherper de bocht, hoe groter het verschil tussen het toerental van de messenkooien. Bovendien zal het RDS-systeem het messenkooitoerental afstellen voor een constante maaifrequentie als de snelheid van de machine verandert terwijl u aan het maaien bent. Deze functie beperkt verdunning van de grasmat aan de binnenste messenkooi (in vergelijking met andere zitmaaiers), wat 'triplex ring’ zo goed als elimineert.
Het RDS-systeem past ook het toerental van de wielmotoren aan tijdens een bocht, gelijkaardig met het toerental van de messenkooimotoren die veranderen tijdens een bocht. De binnenste wielmotor zal met een lager toerental draaien dan de buitenste wielmotor. Dit beperkt het afschaven van het wiel in de bocht tot een minimum en kan 'triplex ring' tegengaan.
Ga naar de optie CLIP-CONTROL om de functie RDS-systeem in te stellen.
Clip-Control ingesteld op AAN: De machine gebruikt uw instellingen van de opties MAAIHOOGTE en AANTAL MESSEN en de snelheden van het linker- en rechterwiel om de snelheid van elke messenkooi te bepalen.
Clip-Control ingesteld op UIT: De machine gebruikt uw instelling van de optie MESSENKOOITOERENTAL.
Note: De standaardinstelling is AAN.
Ga naar de optie MAAIHOOGTE om de maaihoogte in te stellen. De functie Clip-Control moet ingesteld zijn op AAN om deze functie te gebruiken; zie De Clip-Control functie instellen.
Note: De standaardinstelling is 3,2 mm.
Ga naar de optie AANTAL MESSEN om het aantal messen van de maai-eenheid in te stellen. Bepaal het aantal messen in uw uitgeruste maai-eenheden en selecteer de gepaste waarde (5, 8, 11, of 14).
Note: De standaardinstelling is 11.
Ga naar de optie MAX. MAAIEN om de maximale maaisnelheid in te stellen. U kunt de snelheid instellen van 4,5 km/u tot 8 km/u in stappen van 0,3 km/u.
Note: De standaardinstelling is 6,1 km/u.
Ga naar de optie MAX. TRANSPORT om de maximale transportsnelheid in te stellen. U kunt de snelheid instellen van 8 km/u tot 16 km/u in stappen van 0,8 km/u.
Note: De standaardinstelling is 16 km/u.
Ga naar de optie MAX. ACHTERUIT om de maximale snelheid achteruit in te stellen. U kunt de snelheid instellen van 3,2 km/u tot 8,0 km/u in stappen van 0,8 km/u.
Note: De standaardinstelling is 4 km/u.
Note: Voor machinesoftwareversies A tot en met D is de maximale snelheid 4,8 km/u. Werk de machinesoftware bij voor de mogelijkheid om de maximale snelheid in te stellen tot 8,0 km/u.
Ga naar de optie VERTRAGEN & BOCHTEN NEMEN om de functie Vertragen in bochten in te stellen. De functie Vertragen in bochten vertraagt de machine terwijl u een bocht neemt voor een nieuwe werkgang op de green.
Note: De standaardinstelling is UIT.
Ga naar de optie DRIEWIELAANDRIJVING om een uitgeruste set met driewielaandrijving uit te schakelen.
Note: Wanneer u de set met driewielaandrijving monteert, is de set automatisch geactiveerd.
Wanneer de machine wordt gekalibreerd, verschijnen dialoogberichten in het InfoCenter. Deze berichten zijn bedoeld om u instructies te geven tijdens het kalibratieproces.
Raadpleeg de volgende tabel voor een lijst met alle dialoogberichten:
| Berichtnummer | Tekst van het bericht in InfoCenter |
| 1 | Beweeg pedaal terug naar neutraal |
| 4 | Houd pedaal maximaal voorwaarts |
| 5 | Kalibratie maximaal voorwaarts voltooid |
| 9 | Kalibratie maximaal voorwaarts mislukt. Spanning buiten aanbevolen bereik |
| 13 | Houd pedaal maximaal achteruit |
| 14 | Kalibratie maximaal achteruit voltooid |
| 16 | Kalibratie maximaal achteruit mislukt. Spanning buiten aanbevolen bereik |
| 17 | Kalibratie mislukt. Pedaalstand onbekend |
| 18 | Beweeg pedaal terug naar neutraal. Verdergaan? |
| 100 | Kalibratie geactiveerd |
| 101 | Kalibratie voltooid |
| 102 | Draai het contactsleuteltje één keer op aan en uit |
| 110 | Kalibratie voorkomen. Component reageert niet |
| 111 | Kalibratie voorkomen. Component niet klaar |
| 112 | Kalibratie voorkomen. Fout actief |
| 113 | Kalibratie voorkomen. Niet op stoel |
| 114 | Kalibratie voorkomen. Niet in neutraal |
| 115 | Kalibratie voorkomen. In neutraal |
| 116 | Kalibratie voorkomen. Parkeerrem ingeschakeld |
| 300 | Beweeg pedaal terug naar neutraal |
| 301 | Stuurwiel centreren. Verdergaan? |
| 302 | Stuurwiel handmatig centreren. Verdergaan? |
| 303 | Stuur achterwiel uiterst links. Verdergaan? |
| 304 | Stuur achterwiel uiterst rechts. Verdergaan? |
| 305 | Midden achterwiel buiten bereik |
| 306 | Hoek achterwiel buiten bereik |
| 400 | Opgelet: machine moet op kriksteunen staan. Verdergaan? |
| 401 | Kalibratie voorkomen. Schakelaar open |
| 402 | Kalibratie voorkomen. Pedaal in neutraal |
| 403 | Beweeg pedaal terug naar neutraal |
| 404 | Wacht tot wielen tot stilstand zijn gekomen |
| 405 | Houd pedaal maximaal voorwaarts |
| 406 | Kalibratie actief. Pedaal inhouden |
| 500 | Omhoog/omlaag uitgaande slag actief |
| 501 | Omhoog/omlaag ingaande slag actief |
| 502 | Beweeg joystick naar stand omlaag |
| 503 | Beweeg joystick naar stand omhoog |
| 504 | Is de maai-eenheid gemonteerd? Verdergaan? |
| 1100 | Diagnostische berichten over de tractie actief |
| 1101 | Diagnostische berichten over de besturing actief |
| Onderhoudsinterval | Onderhoudsprocedure |
|---|---|
| Bij elk gebruik of dagelijks |
|
Ga elke dag als volgt te werk voordat u de machine start:
Controleer het oliepeil in de motor; zie Motoroliepeil controleren..
Controleer de afstelling van het contact tussen ondermes en messenkooi; zie Afstelling van contact tussen ondermes en messenkooi controleren.
Controleer de bandenspanning; zie De bandenspanning controleren.
Controleer het veiligheidssysteem; zie Werking van het veiligheidssysteem.
Controleer het brandstofpeil en vul bij met brandstof indien nodig; zie Brandstoftank vullen.
Controleer de werking van de parkeerrem door de parkeerrem te activeren en te controleren of deze ingeschakeld wordt; zie Parkeerrem.
De eigenaar/gebruiker is verantwoordelijk voor ongelukken die persoonlijk letsel of materiële schade kunnen veroorzaken, en hij dient zulke ongelukken te voorkomen.
Draag geschikte kleding en uitrusting, zoals oogbescherming, een lange broek, stevige schoenen met een gripvaste zool en gehoorbescherming. Draag lang haar niet los en draag geen losse kleding of juwelen.
Gebruik de machine niet als u ziek, moe of onder de invloed van alcohol of drugs bent.
Geef uw volledige aandacht als u de machine gebruikt. Zorg ervoor dat u met niets anders bezig bent waardoor u kunt worden afgeleid, anders kunnen er letsels ontstaan of kan eigendom worden beschadigd.
Voordat u de motor start: zorg dat alle aandrijvingen in de neutraalstand staan, de parkeerrem in werking is gesteld en u zich in de bestuurderspositie bevindt.
Vervoer geen passagiers op de machine.
Hou omstanders en kinderen uit de buurt van het werkgebied. Als er collega's aanwezig moeten zijn, moet u voorzichtig zijn en controleren of de grasmanden op de machine gemonteerd zijn.
Gebruik de machine uitsluitend bij een goede zichtbaarheid zodat u kuilen en verborgen gevaren kunt vermijden.
Gebruik de machine niet op nat gras. Als de wielen hun grip verliezen, kan de machine gaan glijden.
Houd uw handen en voeten uit de buurt van de maai-eenheden.
Kijk achterom en omlaag voordat u achteruitrijdt om er zeker van te zijn dat de weg vrij is.
Wees voorzichtig bij het naderen van blinde hoeken, struiken, bomen, en andere objecten die uw zicht kunnen belemmeren.
Schakel de maai-eenheden uit wanneer u niet maait.
Verminder uw snelheid en wees voorzichtig als u een bocht maakt of wegen en voetpaden oversteekt met de machine. Verleen altijd voorrang.
Laat de motor enkel draaien in goed verluchte omgevingen. Uitlaatgassen bevatten koolstofmonoxide, dat dodelijk is bij inademing.
Laat een machine met draaiende motor niet onbeheerd achter.
Doe het volgende voordat u de bestuurdersstoel verlaat:
Parkeer de machine op een horizontaal oppervlak.
Laat de maai-eenheden neer op de grond en zorg ervoor dat ze uitgeschakeld zijn.
Haal de parkeerrem aan.
Zet de motor af en verwijder het sleuteltje.
Wacht totdat alle bewegende onderdelen tot stilstand zijn gekomen.
Gebruik de machine uitsluitend als het zicht goed is en bij geschikte weersomstandigheden. Gebruik de machine niet als er kans op bliksem is.
Verwijder geen onderdelen van de rolbeugel van de machine.
Zorg dat u de veiligheidsgordel draagt en deze in een noodgeval snel kunt losmaken.
Doe altijd de veiligheidsgordel om.
Controleer aandachtig of er obstakels zijn waar u onderdoor moet rijden, en zorg dat u ze niet raakt.
Houd de rolbeugel in deugdelijke staat door deze regelmatig grondig te controleren op beschadiging, en zorg dat alle bevestigingsmateriaal stevig is vastgedraaid.
Vervang alle beschadigde onderdelen van de rolbeugel. U mag deze niet repareren of aanpassen.
Het maaien op hellingen is een belangrijke factor bij ongelukken waarbij de controle over de machine wordt verloren of deze omkantelt. Dit kan ernstig of dodelijk letsel veroorzaken. U bent verantwoordelijk voor een veilig gebruik van de machine op hellingen. Gebruik van de machine op hellingen vereist altijd extra voorzichtigheid.
Onderzoek de toestand van het werkgebied om te bepalen of de machine veilig kan worden gebruikt op de helling. Gebruik altijd uw gezond verstand en uw beoordelingsvermogen wanneer u dit onderzoek uitvoert.
Neem de onderstaande instructies door voor gebruik van de machine op hellingen. Beoordeel de omstandigheden van het terrein alvorens de machine te gebruiken om na te gaan of u de machine op een bepaalde dag op dit terrein kunt gebruiken. Veranderingen in het terrein kunnen tot gevolg hebben dat de machine anders reageert op hellingen.
Vermijd starten, stoppen of bochten maken op hellingen. Vermijd plotse veranderingen van snelheid of richting. Draai langzaam en geleidelijk.
Gebruik een machine nooit in omstandigheden waarbij u twijfelt over tractie, sturen of stabiliteit.
Verwijder of markeer obstakels zoals greppels, putten, geulen, hobbels, stenen en andere verborgen gevaren. In hoog gras zijn obstakels niet altijd zichtbaar. De machine kan omslaan op oneffenheden in het terrein.
Denk eraan dat de machine tractie kan verliezen doordat u bergafwaarts, op nat gras of dwars op een helling maait. Als de aandrijfwielen tractie verliezen, kunnen ze gaan slippen en kunt u niet meer remmen of sturen.
Rij zeer voorzichtig als u de machine gebruikt in de buurt van steile hellingen, greppels, dijken, waterpartijen en andere gevaarlijke punten. De machine kan plotseling omslaan als een wiel over de rand komt, of als de rand instort. Zorg voor een veilige afstand tussen de machine en een gevarenzone.
Spoor gevaren onderaan de helling op. Indien er gevaren zijn, maait u de helling met een loopmaaimachine.
Laat de maai-eenheden indien mogelijk neer op de grond wanneer u werkt op hellingen. Als u de maai-eenheden omhoog brengt op hellingen, kan de machine onstabiel worden.
Wees uiterst voorzichtig met grasopvangsystemen of andere werktuigen. Deze kunnen de machine minder stabiel maken, waardoor u de controle over de machine kunt verliezen.
Raadpleeg de bijgeleverde Gebruikershandleiding van de motor voor informatie over olieverversingsbeurten en aanbevolen onderhoudsprocedures tijdens de inrijperiode.
Voor de inrijperiode is 8 uur genoeg.
Aangezien de eerste bedrijfsuren van cruciaal belang zijn voor de betrouwbaarheid van de machine in de toekomst, moet u de werking en de prestaties van de machine scherp in het oog houden zodat kleine gebreken die later grote problemen kunnen veroorzaken, worden opgemerkt en verholpen. Controleer de machine tijdens de inrijperiode veelvuldig op olielekken, losse bevestigingen of andere gebreken.
Note: Kijk onder de maai-eenheden om te controleren of deze schoon zijn.
Als u een koude motor start, zet de chokeschakelaar dan in de stand GESLOTEN.
Steek het sleuteltje in het contact en draai het op de stand AAN.
Wacht tot het welkomscherm verschijnt op het InfoCenter en draai dan het sleuteltje naar de stand START tot de motor start.
Zodra de motor start, laat u het sleuteltje los; het zal automatisch naar de stand AAN bewegen.
Stel de choke af om de motor vlot te laten draaien. Zodra dit mogelijk is, opent u de choke door de chokehendel naar achteren te trekken en op OPEN te zetten.
Note: Als de motor warm is, hoeft de choke niet of nauwelijks te worden gebruikt.
Note: Er doet zich een fout voor als de motor langer dan 30 seconden wordt gestart.
Ga op de bestuurdersstoel zitten en bevestig uw veiligheidsgordel.
Zet de functiebedieningsschakelaar naar de stand MAAIEN.
Zet de parkeerrem vrij.
Beweeg de joystick voor omhoog-/omlaagbrengen kort naar voren.
De maai-eenheden moeten zakken en alle messenkooien moeten draaien.
Beweeg de joystick voor omhoog-/omlaagbrengen naar achteren.
De messenkooien moeten stoppen met draaien en de maai-eenheden moeten omhoogkomen in de volledige transportstand.
Rijd de machine naar een horizontaal oppervlak.
Zet de functiebedieningsschakelaar naar de NEUTRAALSTAND.
Stel de parkeerrem in werking.
Draai het sleuteltje op UIT om de motor af te zetten.
Verwijder het sleuteltje.
| Onderhoudsinterval | Onderhoudsprocedure |
|---|---|
| Bij elk gebruik of dagelijks |
|
Niet-aangesloten of beschadigde interlockschakelaars kunnen onverwachte gevolgen hebben op de werking van de machine. Dit kan lichamelijk letsel veroorzaken.
Laat de interlockschakelaars ongemoeid.
Controleer elke dag de werking van de interlockschakelaars en vervang beschadigde schakelaars voordat u de machine weer in gebruik neemt.
De interlockschakelaars dienen voor de beveiliging en zorgen dat de machine niet in werking kan treden als dit u zou kunnen verwonden of de machine beschadigen.
Het veiligheidssysteem zorgt ervoor dat de motor uitsluitend in beweging komt wanneer:
de parkeerrem is uitgeschakeld;
u op de bestuurdersstoel zit;
De functiebedieningsschakelaar in de stand MAAIEN ofTRANSPORT staat.
Bovendien verhindert het veiligheidssysteem dat de messenkooien worden gebruikt tenzij de functiebedieningsschakelaar in de stand MAAIEN staat (behalve wanneer de machine zich in Wetmodus bevindt).
Voer volgende stappen uit om het veiligheidssysteem te controleren:
Ga van de stoel af, start de motor, schakel de parkeerrem uit, zet de functiebedieningsschakelaar in de stand MAAIEN of TRANSPORT, en stel het tractiepedaal in werking.
De machine mag niet bewegen aangezien u niet in de stoel zit. Dit geeft aan dat het veiligheidssysteem naar behoren functioneert. Verhelp het probleem als het systeem niet naar behoren werkt.
Ga zitten in de stoel, start de motor, schakel de parkeerrem in, zet de functiebedieningsschakelaar in de stand MAAIEN of TRANSPORT, en stel het tractiepedaal in werking.
De machine mag niet bewegen, aangezien de parkeerrem ingeschakeld is. Dit geeft aan dat het veiligheidssysteem naar behoren functioneert. Verhelp het probleem als het systeem niet naar behoren werkt.
Ga zitten in de stoel, start de motor, schakel de parkeerrem uit, zet de functiebedieningsschakelaar in de NEUTRAALSTAND, en stel het tractiepedaal in werking.
De machine mag niet bewegen, aangezien de functiebedieningsschakelaar in de NEUTRAALSTAND staat. Dit geeft aan dat het veiligheidssysteem naar behoren functioneert. Verhelp het probleem als het systeem niet naar behoren werkt.
Ga zitten op de stoel, zet het tractiepedaal in de NEUTRAALSTAND, beweeg de functiebedieningsschakelaar naar de NEUTRAALSTAND, stel de parkeerrem in werking, start de motor en beweeg de joystick voor omhoog-/omlaagbrengen naar voren om de maai-eenheden omlaag te brengen.
De maai-eenheden moeten omlaag bewegen, maar mogen niet gaan draaien. Als ze beginnen te draaien werkt het veiligheidssysteem niet naar behoren; verhelp het probleem voordat u de machine gebruikt.
Verzeker dat de maai-eenheden volledig omhooggebracht zijn.
Ga zitten in de stoel, schakel de parkeerrem uit en zet de functiebedieningsschakelaar in de stand TRANSPORT om met de machine te rijden zonder te maaien.
Verminder altijd uw snelheid als u oneffen terrein nadert en rij voorzichtig in sterk glooiend gebied.
Zorg ervoor dat u vertrouwd raakt met de breedte van het voertuig. Probeer niet tussen objecten te rijden die dicht bij elkaar staan, teneinde dure schade en uitvaltijd te voorkomen.
Voordat u greens gaat maaien, moet u een open ruimte zoeken om de basisbediening van de machine onder de knie te krijgen (bv. de machine starten en stoppen, de maai-eenheden omhoog en omlaag brengen en bochten nemen).
Controleer of er vuil op de green ligt, verwijder alles dat de maai-eenheden tijdens het maaien kan beschadigen, verwijder de vlag van de cup en bepaal in welke richting u het beste kunt maaien. Ga hierbij uit van de voorgaande maairichting. Maai altijd in een ander maaipatroon dan de vorige maaibeurt zodat de grassprieten minder snel plat gaan liggen en dus meer kans maken om te worden gemaaid.
Begin aan 1 rand van de green zodat u kunt maaien in banen.
Note: Dit beperkt de verdichting tot een minimum en zorgt voor een verzorgd en aantrekkelijk maaipatroon op de greens.
Zet de functiebedieningsschakelaar in de stand MAAIEN.
Druk de bedieningshendel van de hefinrichting naar voren op het moment dat de voorste randen van de grasmanden over de buitenrand van de green komen.
Note: Hiermee laat u de maai-eenheden neer op de grasmat en start u de messenkooien.
Important: De middelste maai-eenheid komt iets later omhoog en omlaag dan de voorste maai-eenheden; daarom moet u zich de timing eigen maken die nodig is om het maaien van overgebleven gras tot een minimum te beperken en om het scalperen van de boord tegen te gaan.Het omhoog- en omlaagbrengen van de middelste maai-eenheid is gebaseerd op de rijsnelheid. Een lagere rijsnelheid vergroot de vertraging van het omhoog- of omlaagbrengen, terwijl een hogere rijsnelheid de vertraging vermindert. De machine controleert de rijsnelheid en werkt deze vertraging bij zodat de 3 maai-eenheden in één lijn worden omlaaggebracht.
Zorg ervoor dat een nieuwe maaibaan de vorige maaibaan zo weinig mogelijk overlapt.
Note: Om ervoor te zorgen dat u de green in een rechte lijn maait en de machine op een gelijke afstand van de rand van de vorige maaibaan blijft, moet u uitgaan van een denkbeeldige zichtlijn, ongeveer 1,8 tot 3 m vóór de machine tot de rand van het ongemaaide deel van de green (Figuur 39). Laat de buitenrand van het stuurwiel deel uitmaken van de zichtlijn; d.w.z. houd de rand van het stuurwiel in een rechte lijn ten opzichte van een punt dat altijd op dezelfde afstand van de voorkant van de machine blijft.
Als de voorste randen van de grasmanden over de rand van de green komen, moet u de joystick voor omhoog-/omlaagbrengen naar achteren houden tot alle maai-eenheden opgetild zijn. Hiermee brengt u de messenkooien tot stilstand en brengt u de maai-eenheden omhoog.
Important: Doe deze stap op het juiste moment zodat u de boord niet maait maar wel zo veel mogelijk gazon maait. Zo moet u later minder gras rond de buitenste rand maaien.
U kunt de werktijd bekorten en de machine eenvoudiger voor de volgende maaibaan opstellen door de machine een ogenblik in de tegenovergestelde richting te draaien en daarna in de richting van het ongemaaide deel. Met zo'n druppelvormige bocht (Figuur 38) kunt u de machine snel in positie brengen voor uw volgende maaibaan.
Note: Als de functie Vertragen in bochten ingeschakeld is, vertraagt de machine tijdens de bocht zonder dat u minder druk moet uitoefenen op het tractiepedaal.

Note: Probeer zo kort mogelijk te draaien, behalve bij warmer weer. Dan minimaliseert een bredere bocht de beschadiging van het gazon.

Important: U mag de machine nooit tot stilstand brengen op een green, vooral niet terwijl de maai-eenheden ingeschakeld zijn omdat hierdoor het gras kan worden beschadigd. Laat de machine ook niet stoppen op een green omdat de wielen van de machine dan sporen of afdrukken kunnen achterlaten.
Maak het werk af door de buitenste rand van de green te maaien. Maai in een andere richting dan de voorgaande keer.
Zie Het Radius-Dependent-Speed (RDS) systeem om het maairesultaat te verbeteren en ‘triplex ring’ tegen te gaan.
Note: Let altijd op het weer en de gazonomstandigheden en zorg ervoor dat u in een andere richting maait dan de voorgaande keer.
Als u klaar bent met het maaien van de buitenste rand, moet u de joystick voor omhoog-/omlaagbrengen naar achteren zetten om de messenkooien te stoppen (als de functie tap-offvertraging is ingeschakeld) en dan van de green rijden. Wanneer alle maai-eenheden van de green zijn, zet u de joystick voor omhoog-/omlaagbrengen naar achteren om de maai-eenheden omhoog te brengen.
Note: Zo worden graskluiten op de green tot een minimum beperkt.
Plaats de vlag terug.
Verwijder al het maaisel uit de grasmanden voordat u de machine naar een volgende green rijdt.
Note: Zwaar, nat maaisel belast de manden, ophangingen en actuatoren. Dit voegt onnodig gewicht toe aan de machine, wat de energie-efficiëntie vermindert.
Schakel de parkeerrem in, schakel de motor uit, verwijder het contactsleuteltje, en wacht totdat alle bewegende onderdelen tot stilstand zijn gekomen voordat u de bestuurderspositie verlaat. Laat de machine afkoelen voordat u deze afstelt, reinigt, stalt of er onderhoudswerkzaamheden aan verricht.
Verwijder gras en vuil van de maai-eenheden en de aandrijvingen, om brand te voorkomen. Veeg gemorste olie en brandstof op.
Zorg ervoor dat de brandstofafsluitklep is gesloten als u de machine stalt of sleept.
Schakel de aandrijving van het werktuig uit als u de machine sleept of niet gebruikt.
Laat de machine afkoelen voordat u de machine binnen stalt.
Onderhoud en reinig de veiligheidsgordel(s) indien nodig.
Sla de machine en de brandstofhouder niet op plaatsen waar open vlammen, vonken of waakvlammen (bv. van een boiler of andere toestellen) aanwezig kunnen zijn.
Sleep uitsluitend met een machine die is voorzien van een trekhaak. Bevestig materiaal dat wordt gesleept, uitsluitend aan het sleeppunt.
Volg de aanwijzing van de fabrikant op met betrekking tot de gewichtslimiet voor sleepwerktuigen en slepen op hellingen. Op een helling kan het gewicht van een gesleept werktuig ertoe leiden dat de wielen hun grip verliezen en de bestuurder de controle over de machine verliest.
Laat kinderen of andere personen nooit plaatsnemen in of op gesleepte werktuigen.
Rij langzaam en zorg voor voldoende afstand om te stoppen wanneer u de machine sleept.
| Onderhoudsinterval | Onderhoudsprocedure |
|---|---|
| Bij elk gebruik of dagelijks |
|
Reinig de machine na het maaien grondig met een tuinslang zonder spuitmond zodat bij een te hoge waterdruk de afdichtingen, lagers en elektronica niet worden beschadigd of verontreinigd raken. Was een hete motor of elektrische aansluitingen niet met water.
Important: Gebruik geen brak of teruggewonnen water om de machine schoon te maken.
Important: Gebruik nooit een hogedrukreiniger om de machine schoon te maken. Hogedrukreinigers kunnen het elektrische systeem beschadigen, belangrijke stickers losweken en noodzakelijk vet op wrijvingspunten wegspoelen. Er kan water terechtkomen onder afdichtingen, waardoor behuizingen die olie of smeer bevatten verontreinigd kunnen raken. Gebruik niet te veel water in de buurt van het bedieningspaneel, de motor en de accu.
Important: Reinig de machine niet terwijl de motor loopt. De machine reinigen terwijl de motor loopt kan interne motorschade veroorzaken.
Important: Zorg ervoor dat er geen water in de geluidsdemper terechtkomt. Water in de geluidsdemper kan leiden tot interne schade aan de motor of verminderde prestaties van de motor.
Controleer of de maai-eenheden scherp genoeg zijn nadat u de machine hebt gereinigd.
Wees voorzichtig als u de machine inlaadt op een aanhanger of een vrachtwagen of uitlaadt.
Gebruik een oprijplaat van volledige breedte bij het laden van de machine op een aanhanger of vrachtwagen.
Zet de machine goed vast met spanbanden, kettingen, kabels of touwen. Zowel de voorste als de achterste spanband moet naar beneden en naar de buitenkant van de machine lopen (Figuur 40).

Sluit de brandstofafsluitklep nadat de machine is bevestigd voor transport.
Note: Raadpleeg Figuur 41 voor deze procedure.

Om de machine te slepen, moet u de volgende procedure uitvoeren om de remactuator vrij te zetten:
Stel de parkeerrem in werking.
Verwijder het sleuteltje en koppel de hoofdstroomaansluitingen los.
Important: Als de hoofdstroomaansluitingen aangesloten zijn terwijl de machine wordt gesleept, kan dit elektrische schade veroorzaken.
Sluit de brandstofklep.
Blokkeer beide zijden van de voorwielen.
Verwijder spanning op de veer door de moer los te draaien waarmee de oogbout is bevestigd aan de veerbeugel.
Verwijder de veer.
Steek een momentsleutel (⅜") door de opening van de armbeugel en duw de actuatoras naar binnen.
Wanneer de actuator van de rem wordt gehaald, kan de machine in vrijloop staan. Een machine in vrijloop kan ernstig letsel veroorzaken aan omstanders.
Als de machine niet wordt gesleept, moet u de parkeerrem in werking stellen.
Stel de parkeerrem in werking.
Verwijder de blokken onder de wielen.
Als de set met driewielaandrijving is gemonteerd, moet u de aansluitingen van de kabelboom van de set loskoppelen van de hoofdkabelboom.
Important: Als de kabelboom van de set en de machinekabelboom aangesloten zijn terwijl de machine wordt gesleept, kan dit elektrische schade tot gevolg hebben.
Wanneer de machine klaar is om te worden gesleept, schakelt u de parkeerrem uit.
Laat iemand anders in de stoel zitten, de veiligheidsgordel bevestigen en de rem gebruiken terwijl u de machine sleept.
Note: Dit zorgt ervoor dat de machine onder controle is wanneer u de machine sleept over glooiend terrein en hellingen.
Gebruik de achterste zwenkwielvork om de machine te slepen (Figuur 42).
Important: Ga niet sneller dan 5 km/u terwijl u de machine sleept. Elektrische onderdelen kunnen worden beschadigd.

Voer de volgende stappen uit nadat u de machine hebt gesleept naar uw bestemming:
Stel de parkeerrem in werking.
Verwijder de sleepband van de zwenkwielvork.
Maak de machine klaar voor gebruik door de moer van de oogbout vast te draaien zodat de veerlengte 11,4 cm is wanneer deze gemonteerd is (Figuur 41).
U kunt met de machine rijden door het vermogen van de accu van de machine te gebruiken. Deze functie kan worden gebruikt voor de volgende scenario's:
De machine naar de werkplaats rijden.
De machine van de green rijden als de motor afslaat.
De machine kan enkel worden getransporteerd; u kunt de maai-eenheden niet inschakelen. Deze functie kunt u gedurende 1 minuut gebruiken, en u kunt het contactsleuteltje op aan en uit draaien om de minuut transporttijd te resetten.
Ga op de bestuurdersstoel zitten en bevestig uw veiligheidsgordel.
Zet het contactsleuteltje op AAN.
Zet de functiebedieningsschakelaar naar de stand MAAIEN of TRANSPORT.
Zet de parkeerrem vrij.
Gebruik het tractiepedaal om de machine te transporteren.
Note: De rijsnelheid vooruit is beperkt tot 4,8 km/u en de rijsnelheid achteruit tot 4 km/u.
Important: Overmatig of langdurig gebruik van deze functie kan de levensduur van de accu's verminderen.
Doe het volgende voordat u de bestuurdersstoel verlaat:
Parkeer de machine op een horizontaal oppervlak.
Schakel de maai-eenheid/maai-eenheden uit.
Haal de parkeerrem aan.
Zet de motor af en verwijder het sleuteltje.
Wacht totdat alle bewegende onderdelen tot stilstand zijn gekomen.
Laat de onderdelen van de machine afkoelen voordat u onderhoudswerkzaamheden uitvoert.
Voer indien mogelijk geen onderhoudswerkzaamheden uit als de motor draait. Blijf uit de buurt van bewegende onderdelen.
Ondersteun de machine met assteunen als u onder de machine werkt.
Haal voorzichtig de druk van onderdelen met opgeslagen energie.
Zorg ervoor dat alle onderdelen van de machine in goede staat verkeren en al het bevestigingsmateriaal stevig vastzit.
Vervang versleten of beschadigde stickers.
Om veilige en optimale prestaties van de machine te verkrijgen, moet u ter vervanging alleen originele Toro onderdelen gebruiken. Gebruik ter vervanging nooit onderdelen van andere fabrikanten, omdat dit gevaarlijk kan zijn en de productgarantie hierdoor kan vervallen.
| Onderhoudsinterval | Onderhoudsprocedure |
|---|---|
| Na de eerste 8 bedrijfsuren |
|
| Na de eerste 50 bedrijfsuren |
|
| Bij elk gebruik of dagelijks |
|
| Om de 25 bedrijfsuren |
|
| Om de 50 bedrijfsuren |
|
| Om de 100 bedrijfsuren |
|
| Om de 200 bedrijfsuren |
|
| Om de 800 bedrijfsuren |
|
| Om de 1000 bedrijfsuren |
|
| Om de 2 jaar |
|
Gelieve deze pagina te kopiëren ten behoeve van gebruik bij routinecontroles.
| Gecontroleerd item | Voor week van: | ||||||
|---|---|---|---|---|---|---|---|
| Ma. | Di. | Wo. | Do. | Vr. | Za. | Zo. | |
| Werking van interlockschakelaars controleren. | |||||||
| Werking van instrumenten controleren. | |||||||
| Werking van de remmen controleren. | |||||||
| Motoroliepeil controleren. | |||||||
| Brandstofpeil controleren. | |||||||
| Reinig de luchtkoelvinnen van de motor. | |||||||
| Controleer het voorfilter. | |||||||
| Controleren of motor ongewone geluiden maakt. | |||||||
| De bandenspanning controleren. | |||||||
| Afstelling van contact tussen ondermes en messenkooi controleren. | |||||||
| Maaihoogte-instelling controleren. | |||||||
| Beschadigde lak bijwerken. | |||||||
| Was de machine. | |||||||
| Aantekening voor speciale aandachtsgebieden | ||
| Controle uitgevoerd door: | ||
| Item | Datum | Informatie |
Een mechanische of hydraulische krik kan een machine niet altijd dragen. Als de machine dan valt, kan dit ernstig letsel veroorzaken.
Ondersteun de opgekrikte machine met assteunen.
Gebruik enkel mechanische of hydraulische assteunen om de machine op te krikken.
Plaats een assteun onder het gewenste opkrikpunt (Figuur 43):
Voettrede aan de linkerkant van de machine
Assteunbeugel aan de rechterkant van de machine
Zwenkwielvork aan de achterkant van de machine

Wanneer u de machine opgekrikt hebt, plaatst u een geschikte assteun onder de volgende zones om de machine te ondersteunen (Figuur 44):
Accubakken aan de achterkant van de machine
Draaibeugels van de maai-eenheid aan de voorkant van de machine

U moet de motor afzetten voordat u het oliepeil controleert of het carter bijvult met olie.
Verander de snelheid van de toerenregelaar niet en laat de motor het maximale toerental niet overschrijden.
| Onderhoudsinterval | Onderhoudsprocedure |
|---|---|
| Om de 25 bedrijfsuren |
|
| Om de 100 bedrijfsuren |
|
| Om de 200 bedrijfsuren |
|
Controleer beide elementen en vervang ze indien ze schade hebben opgelopen of buitengewoon vuil zijn.
Important: Geen olie op het schuimelement smeren.
Plaats de machine op een horizontaal vlak, laat de maai-eenheden neer en stel de parkeerrem in werking.
Zet de motor af en verwijder het sleuteltje.
Maak de omgeving van het luchtfilter schoon om te voorkomen dat vuil in de motor komt en schade veroorzaakt (Figuur 46).
Maak de dekselknoppen los en verwijder het luchtfilterdeksel (Figuur 46).
Maak de slangklem los en verwijder het luchtfilter (Figuur 46).
Trek het schuimelement voorzichtig van het papierelement af (Figuur 46).

Was het schuimfilter in warm water met vloeibare zeep. Als het element schoon is, moet u het grondig uitspoelen.
Schuimfilter in een schone doek wikkelen en droogknijpen.
Important: Wring het schuimelement niet uit, want het kan scheuren.Vervang het schuimelement als het gescheurd of versleten is.
Reinig het papierelement door er voorzichtig op te kloppen en het stof te verwijderen. Als het papierelement zeer vuil is, vervang het dan (Figuur 46).
Controleer het filter op scheuren, een vettig oppervlak of beschadiging van de rubberen afdichting.
Vervang het papierelement als het is beschadigd.
Important: U mag het papierfilter niet reinigen.
Important: Motor nooit laten lopen zonder dat het complete luchtfilter gemonteerd is, daar anders de motor kan worden beschadigd.
Het carter van de motor is in de fabriek gevuld met olie; u moet het oliepeil echter controleren voor- en nadat u de motor voor de eerste keer start.
API olieclassificatie: SJ of hoger
Olieviscositeit: SAE 30
Note: Gebruik een hoogwaardige reinigingsolie.
| Onderhoudsinterval | Onderhoudsprocedure |
|---|---|
| Bij elk gebruik of dagelijks |
|
Motoren kunnen extreem heet worden tijdens normaal gebruik.
Laat de motor afkoelen voordat u de olie controleert of onderhoudswerkzaamheden aan de motor uitvoert.
Raadpleeg Figuur 47 voor deze procedure.
Plaats de machine op een horizontaal oppervlak, laat de maai-eenheden zakken, stel de parkeerrem in werking, zet de motor af en verwijder het sleuteltje.
Schroef de peilstok los, neem hem eruit en veeg hem af met een schone doek.
Steek de peilstok in de peilstokbuis.
Haal de peilstok uit de buis en controleer het oliepeil.
Als het oliepeil te laag is, vul dan olie bij langs de peilstokbuis in de motor tot de olie de VOL-markering op de peilstok bereikt.
Vul de olie langzaam bij en controleer daarbij veelvuldig het peil.
Important: Giet niet te veel olie in de motor.
Plaats de peilstok.


| Onderhoudsinterval | Onderhoudsprocedure |
|---|---|
| Na de eerste 8 bedrijfsuren |
|
| Om de 100 bedrijfsuren |
|
Motoren kunnen extreem heet worden tijdens normaal gebruik.
Laat de motor afkoelen voordat u de olie ververst of het oliefilter vervangt of onderhoudswerkzaamheden aan de motor uitvoert.
Hoeveelheid olie in de motor: 1,7 liter met filter
Verwijder de aftapplug (Figuur 48) en laat de olie in een opvangbak lopen.

Maak de schroefdraad van de aftapplug schoon en monteer de aftapplug (Figuur 48).
Verwijder het oliefilter (Figuur 49).


Smeer een dun laagje schone olie op de pakking van het filter.
Draai het filter met de hand vast totdat de pakking contact maakt met het filtertussenstuk. Draai het filter vervolgens nog eens een ¾ tot 1 slag. Niet te vast draaien.
Vul het carter met olie; zie Motoroliepeil controleren..
U moet het oliefilter en de gebruikte olie op de juiste wijze afvoeren.
| Onderhoudsinterval | Onderhoudsprocedure |
|---|---|
| Om de 100 bedrijfsuren |
|
Motoren kunnen extreem heet worden tijdens normaal gebruik.
Laat de motor afkoelen voordat u onderhoud uitvoert aan de bougie of onderhoudswerkzaamheden aan de motor uitvoert.
Controleer of de elektrodenafstand tussen de centrale elektrode- en de massa-elektrode correct is voordat u de bougie monteert. Gebruik een bougiesleutel voor het (de)monteren van de bougie(s) en een voelermaat voor het meten en afstellen van de elektrodenafstand. Monteer indien nodig nieuwe bougies.
Type bougie: NGK® BPR4ES of gelijkwaardig
Elektrodenafstand: 0,75 mm
Plaats de machine op een horizontaal vlak, laat de maai-eenheden neer en stel de parkeerrem in werking.
Zet de motor af en verwijder het sleuteltje.
Zoek de doppen van de bougies.
Maak de omgeving van de doppen van de bougies schoon zodat er geen vuil in de cilinder kan terechtkomen.
Maak de doppen van de bougies los van de bougies (Figuur 50).

Verwijder de bougies van de motor.
Important: Verwijder een bougie altijd als deze een zwarte laag heeft, als de elektroden versleten zijn, als er een vettige laag op ligt of als de bougie scheuren vertoont.
Reinig de bougie met een staalborstel om koolstofaanslag te verwijderen.
Gebruik caburateurreiniger om de bougie schoon te maken en zorg ervoor dat al het vuil is verwijderd.
Controleer de bougies op scheuren, versleten elektrodes, een zwarte laag, een vettige laag of andere slijtage of beschadiging.
Vervang de bougie indien nodig. Vervang alle bougies als er slechts één moet worden vervangen.
Meet de elektrodenafstand en stel deze opnieuw in indien nodig. Om de afstand te veranderen, mag u enkel de massa-elektrode verbuigen met bougiegereedschap.
Stel de afstand in op 0,75 mm.

Als de isolator lichtbruin of grijs is, werkt de motor naar behoren. Een zwarte laag op de isolator duidt meestal op een vuil luchtfilter.
Raadpleeg Figuur 52 voor deze procedure.
Monteer de bougie op de motor.
Draai de bougie aan met 22 N∙m.
Sluit de doppen van de bougies terug aan.

| Onderhoudsinterval | Onderhoudsprocedure |
|---|---|
| Om de 1000 bedrijfsuren |
|
Het brandstofleidingfilter bevindt zich tussen de brandstofafsluitklep en de motor.
In bepaalde omstandigheden is brandstof uiterst ontvlambaar en zeer explosief. Brand of explosie van brandstof kan brandwonden bij u of anderen en materiële schade veroorzaken.
Tap de brandstof af uit de brandstoftank wanneer de motor koud is. Doe dit buiten op een open terrein. Eventueel gemorste brandstof opnemen.
Rook nooit als u brandstof aftapt en blijf uit de buurt van open vuur of als de kans bestaat dat benzinedampen door een vonk kunnen ontbranden.
Sluit de brandstofklep (Figuur 53).

Zet een opvangbak onder het filter, maak de slangklem op het filter aan de kant van de carburateur los en verwijder de brandstofslang van het filter (Figuur 53).
Zet de andere slangklem los en verwijder het filter.
Controleer de brandstofleidingen op barsten, slijtage of schade en vervang deze indien nodig.
Monteer het nieuwe filter. Let erop dat de pijl op de filterbehuizing van de brandstoftank af wijst.
Zorg ervoor dat de slangen en slangklemmen stevig vastzitten op het filter.
Open de brandstofafsluitklep en vul de tank. Inspecteer de brandstofleidingen op lekken of loszittende verbindingen.
| Onderhoudsinterval | Onderhoudsprocedure |
|---|---|
| Om de 2 jaar |
|
Inspecteer de brandstofleidingen op slijtage, beschadigingen of loszittende verbindingen.
Koppel de hoofdstroomaansluitingen los voordat u de machine repareert.
Laad de accu op in een open, goed geventileerde ruimte, uit de buurt van vonken en open vuur. Haal de oplader uit het stopcontact voordat u de accu aan- of loskoppelt. Draag beschermende kleding en gebruik geïsoleerd gereedschap.
De hoofdstroomaansluitingen leveren stroom van de accu's naar de machine. Onderbreek de stroomtoevoer door de aansluitingen los te koppelen; voorzie de machine van stroom door de aansluitingen aaneen te koppelen. Zie Hoofdstroomaansluitingen.
Als de accukabels verkeerd worden verbonden, kan dit schade aan de machine en de kabels tot gevolg hebben en vonken veroorzaken. Hierdoor kunnen accugassen tot ontploffing komen en lichamelijk letsel veroorzaken.
Maak altijd de minkabel (zwart) van de accu los voordat u de pluskabel (rood) losmaakt.
Sluit altijd de pluskabel (rood) van de accu aan voordat u de minkabel (zwart) aansluit.
De 12V AGM (absorbed glass mat of geabsorbeerde glasmat) accu Figuur 54 voorziet het InfoCenter, de remactuator, de machinecontroller en de CAN-isolatiemodule van stroom.

Verwijder de rechterkap.
Verwijder het accudeksel.
Koppel de accukabels los van de accu's.
Sluit de acculader aan op de accupolen en laad de accu op.
Hou rekening met de volgende informatie over uw acculader:
Zorg ervoor dat de aansluitingen van de acculader elkaar of het machineframe niet raken. Het is aan bevolen om kleinere aansluitingen te gebruiken.
Gebruik bij voorkeur een acculader met een AGM-laadinstelling.
Maximale laadstroom: 2,4 A
Maximale laadspanning: 14,3 V
Sluit de accukabels aan op de accu wanneer de accu opgeladen is.
Plaats het accudeksel over de accu.
Plaats de rechterkap.
Important: Het is niet aanbevolen om het 48V accusysteem op te laden.
Het 48 V accusysteem bestaat uit 4 accu’s (12V, AGM [absorbed glass mat of geabsorbeerde glasmat]). De accu’s bevinden zich onder deksels aan elke kant van de machine; zie Figuur 55. Het systeem levert stroom aan de tractiewielen, de motoren van de maai-eenheden, de stuurmotor en de hefactuatoren.

De zekeringen van het 48 V elektrische systeem bevinden zich onder de bestuurdersstoel (Figuur 56).

De zekeringen van het circuit voor de messenkooiaandrijving bevinden zich onder de kap aan de linkerzijde van de machine. Verkrijg toegang tot de zekeringhouder door de linkerkap en het deksel van de zekeringhouder te verwijderen (Figuur 59).

Zie Figuur 60 voor een beschrijving van de zekeringen op de sticker van de zekeringhouder:

De zekeringen voor de generator (100 A) en de rechter wielmotor (60 A) bevinden zich onder de stoel (Figuur 61).

De zekering voor de linker wielmotor (60 A) bevindt zich onder de kap aan de linkerkant van de machine, dicht bij de zekeringen van het circuit voor de messenkooiaandrijving (Figuur 62).

De zekering voor het elektrische systeem bevindt zich onder de hoofdstroomaansluitingen (Figuur 63).

| Onderhoudsinterval | Onderhoudsprocedure |
|---|---|
| Bij elk gebruik of dagelijks |
|
Afhankelijk van de gazonomstandigheden moeten alle drie de wielen een spanning van minimaal 0,83 tot maximaal 1,10 bar hebben.
Important: Zorg ervoor dat de bandenspanning van alle banden gelijk is. Als de bandenspanning niet overal identiek is, heeft dat een nadelige invloed op de prestaties van de machine.
| Onderhoudsinterval | Onderhoudsprocedure |
|---|---|
| Na de eerste 8 bedrijfsuren |
|
| Om de 200 bedrijfsuren |
|
Als de wielmoeren niet steeds de juiste torsie hebben, kan dit leiden tot lichamelijk letsel.
Haal de wielmoeren volgens de aanbevolen onderhoudsintervallen aan met de aanbevolen torsie.
Aantrekkoppel van de wielmoeren: 108 tot 122 N·m
Om een gelijke verdeling te verkrijgen, dient u de wielmoeren aan te halen in het patroon getoond in Figuur 64.

| Onderhoudsinterval | Onderhoudsprocedure |
|---|---|
| Na de eerste 8 bedrijfsuren |
|
| Om de 800 bedrijfsuren |
|
Vloeistofspecificatie: SAE 80W90
Hoeveelheid olie tandwielkast: ongeveer 384 ml
Krik de machine op; zie De machine opkrikken.
Important: De machine moet horizontaal staan zodat de juiste hoeveelheid vloeistof kan worden toegevoegd aan de tandwielkast.Zorg ervoor dat de machine horizontaal staat op de assteunen.
Voer de volgende stappen uit om de linker- en rechterbanden te verwijderen:
Maak de wielmoeren los en verwijder ze (Figuur 65).

Verwijder de linker- en rechterbanden.
Plaats een opvangbak onder de wielmotor (Figuur 66).

Haal de plug uit de aftapopening (Figuur 66).
Note: De aftapopening bevindt zich aan de onderkant van de tandwielkast.
Note: Laat al de olie uit de tandwielkast lopen.
Maak de plug schoon.
Monteer de aftapplug in de aftapopening (Figuur 66).
Verwijder de ontluchtingsslang en fitting van de bovenkant van de tandwielkast (Figuur 67).

Vul de tandwielkast langs de vulopening met 384 ml van de aanbevolen vloeistof.
Monteer de ontluchtingsslang en fitting in de vulopening (Figuur 67).
Voer de volgende stappen uit om de banden te plaatsen:
Schuif de linker- en rechterbanden op de wielnaven.
Monteer de wielmoeren (Figuur 65).
Draai de wielmoeren vast met de in Torsie van wielmoeren controlerengespecificeerde torsie.
Als de rem de machine niet kan houden als deze geparkeerd staat, kunt u de remmen afstellen; neem contact op met een erkende Toro distributeur of raadpleeg de Onderhoudshandleiding voor meer informatie.
Versleten of beschadigde messen of ondermessen kunnen breken en een stuk ervan kan naar u of naar omstanders worden uitgeworpen en zo ernstig lichamelijk of dodelijk letsel toebrengen.
Controleer op gezette tijden de maaimessen en ondermessen op overmatige slijtage en beschadigingen.
Wees voorzichtig als u de messen controleert. Draag handschoenen en wees voorzichtig als u onderhoudswerkzaamheden uitvoert aan de messenkooien. De maaimessen en ondermessen mogen alleen worden vervangen of gewet; probeer ze nooit te rechten of eraan te lassen.
Let op bij machines met meerdere maai-eenheden: als u één maai-eenheid draait, kunnen de messenkooien in de andere maai-eenheden ook in beweging komen.
Note: Wanneer de maai-eenheden niet aan de machine zijn bevestigd, moet u de motoren van de messenkooien van de maai-eenheid in de opbergruimte op de voorkant van de ophangarmen plaatsen om beschadiging te voorkomen.
Important: Breng de ophanging niet omhoog in de transportstand als de messenkooimotoren zich in de houders in het frame van de machine bevinden. Dit kan schade aan de motoren of slangen tot gevolg hebben.
Important: Als u de maai-eenheid moet kantelen, ondersteun de achterkant van de maai-eenheid dan om te verzekeren dat de moeren van de instelschroeven van de snijbalk niet op het werkvlak rusten (Figuur 68).

Als u een hete motor of geluidsdemper aanraakt, kan dit ernstige brandwonden veroorzaken.
Wacht totdat de hete motor of geluidsdemper is afgekoeld voordat u de maai-eenheden monteert.
De ophanging moet omlaag worden gebracht om de maai-eenheden te kunnen monteren. Voer de volgende stappen uit om de ophanging omlaag te brengen:
Parkeer de machine op een schoon, horizontaal oppervlak.
Zet de functiebedieningsschakelaar naar de NEUTRAALSTAND.
Start de motor of draai het sleuteltje naar de stand AAN.
Breng de ophanging omlaag met de joystick voor omhoog-/omlaagbrengen.
Stel de parkeerrem in werking, zet de motor af en verwijder het sleuteltje.
Voer de volgende stappen uit om de maai-eenheden te monteren:
Koppel de hoofdstroomaansluitingen los; zie Hoofdstroomaansluitingen.
Als u de voeding naar de machine niet onderbreekt, bestaat de kans dat iemand de maai-eenheden per ongeluk start. Hierdoor kan ernstig letsel aan handen en voeten ontstaan.
Koppel altijd de hoofdstroomaansluitingen los voordat u werkzaamheden aan de maai-eenheden gaat uitvoeren.
Klap de voetsteun omhoog zodat u bij het middelste maai-eenheid kunt (Figuur 69).
Uw vingers kunnen bekneld raken als de voetsteun dichtklapt.
Houd uw vingers uit de buurt van het gebied waar de voetsteun terug kan klappen terwijl deze open staat.

Plaats de maai-eenheid onder de middelste ophangarm.
Open de vergrendelingen op de stang van de ophangarm (Figuur 70) en duw de ophangarm naar beneden zodat de stang over beide bevestigingsarmen op de maai-eenheid past en zorg ervoor dat de vergrendelingen onder de dwarsstang van de maai-eenheid gaan (Figuur 71).


Sluit de vergrendelingen rond de stang van de maai-eenheid en vergrendel ze (Figuur 70).
Note: U zult een klik horen en voelen wanneer de vergrendelingen goed gesloten zijn.
Smeer schoon vet op de sleufas van de motor van de maai-eenheid (Figuur 72).
Steek de motor in de linkerkant van de maai-eenheid (gezien vanuit de bestuurdersstoel) en trek de motorbevestigingsstang op de maai-eenheid in de richting van de motor totdat u aan beide kanten een klik hoort (Figuur 72).

Monteer een grasvanger op de haken aan de ophangarm.
Herhaal deze procedure bij de andere maai-eenheden.
Sluit de hoofdstroomaansluitingen aan; zie Hoofdstroomaansluitingen.
Als u een hete motor of geluidsdemper aanraakt, kan dit ernstige brandwonden veroorzaken.
Wacht totdat de hete motor of geluidsdemper is afgekoeld voordat u de maai-eenheden monteert.
Parkeer de machine op een schoon, horizontaal oppervlak, zet de functiebedieningsschakelaar naar de NEUTRAALSTAND en gebruik de joystick voor omhoog-/omlaagbrengen om de maai-eenheden omlaag te brengen.
Stel de parkeerrem in werking, zet de motor af en verwijder het sleuteltje.
Koppel de hoofdstroomaansluitingen los; zie Hoofdstroomaansluitingen.
Als u de voeding naar de machine niet onderbreekt, bestaat de kans dat iemand de maai-eenheden per ongeluk start. Hierdoor kan ernstig letsel aan handen en voeten ontstaan.
Koppel altijd de hoofdstroomaansluitingen los voordat u werkzaamheden aan de maai-eenheden gaat uitvoeren.
Duw de motorbevestigingsstang uit de sleuven op de motor in de richting van de maai-eenheid en verwijder de motor uit de maai-eenheid.

Zet de motor in de opbergruimte op de voorkant van de ophangarm (Figuur 74).

Note: Als u de maaimessen slijpt, de maaihoogte instelt of onderhoudswerkzaamheden aan een maai-eenheid verricht, moet u de motoren van de messenkooien van de maai-eenheid in de opbergruimte op de voorkant van de ophangarmen plaatsen om beschadiging te voorkomen.
Important: Breng de ophanging niet omhoog in de transportstand als de messenkooimotoren zich in de houders in het frame van de machine bevinden. Dit kan schade aan de motoren of slangen tot gevolg hebben. Als u de tractie-eenheid moet verplaatsen terwijl de maai-eenheden niet gemonteerd zijn, bevestig deze dan met kabelklembanden aan de ophangarmen.
Open de vergrendelingen op de stang van de ophangarm van de maai-eenheid dat u wilt verwijderen (Figuur 70).
Maak de vergrendelingen van de stang van de maai-eenheid los.
Rol de maai-eenheid onder de ophangarm vandaan.
Herhaal indien nodig stap 4 tot en met 8 voor de andere maai-eenheden.
Sluit de hoofdstroomaansluitingen aan; zie Hoofdstroomaansluitingen.
| Onderhoudsinterval | Onderhoudsprocedure |
|---|---|
| Bij elk gebruik of dagelijks |
|
Elke dag voordat u gaat maaien moet u het contact tussen het ondermes en de messenkooi controleren, ongeacht of de maaikwaliteit bij een eerdere maaibeurt aanvaardbaar was. Er moet een licht contact zijn over de volledige lengte van de messenkooi en het ondermes; zie de Gebruikershandleiding van de maai-eenheid.
Koppel de hoofdstroomaansluitingen los voordat u de messenkooien controleert; zie Hoofdstroomaansluitingen. Sluit deze weer aan nadat u klaar bent met de werkzaamheden.
Contact met de ondermessen, de messen van de messenkooi of andere bewegende onderdelen kan lichamelijk letsel veroorzaken.
Houd vingers, handen en kleding uit de buurt van de ondermessen, messen van de messenkooi of andere bewegende onderdelen.
Probeer de messenkooien nooit met uw handen of voeten te draaien of aan te raken terwijl de motor draait.
Parkeer de machine op een horizontaal oppervlak, laat de maai-eenheden neer, zet de functiebedieningsschakelaar naar de NEUTRAALSTAND, stel de parkeerrem in werking, zet de motor af en verwijder het sleuteltje.
Doe de aanvankelijke instelling van het ondermes en messenkooi voor het wetten op alle maai-eenheden die moeten worden gewet. Zie de Gebruikershandleiding van de maai-eenheid.
Steek het sleuteltje in het contact en start de motor.
Met het InfoCenter, in het menu ONDERHOUD, kiest u WETTEN.
Zet WETTEN op AAN.
Ga naar het Hoofdmenu en dan naar beneden tot Instellingen.
IN HET MENU INSTELLINGEN gaat u naar beneden tot WETTEN-TOERENTAL en kiest u het toerental voor het wetten met de ± knop.
Zet de functiebedieningsschakelaar in de NEUTRAALSTAND en zet dan de joystick voor omhoog-/omlaagbrengen naar voren om het wetten van de gekozen messenkooien te beginnen.
Breng de wetpasta aan met een borstel met een lange steel. Gebruik nooit een borstel met een korte steel.
Als de messenkooien vast komen te zitten of onregelmatig worden tijdens het wetten, verhoogt u het toerental tot dit gestabiliseerd wordt.
Als u de maai-eenheden tijdens het wetten wilt afstellen, schakelt u de messenkooien uit door de joystick voor omhoog-/omlaagbrengen naar achteren te bewegen en de motor af te zetten. Na de afstelling herhaalt u stappen3 tot en met 9.
Herhaal de procedure bij alle maai-eenheden die u wilt wetten.
Na voltooiing van het wetten: ga naar het InfoCenter, WETTEN, stel dit in op UIT, of draai het contactsleuteltje op UIT om de machine terug te schakelen naar maaien in de vooruitstand.
Spoel alle wetpasta van de maai-eenheden. Stel indien nodig het contact tussen de messenkooi en het ondermes af. Zet de instelling van de messenkooisnelheid op de gewenste maaistand.
Important: Gebruik geen hogedrukreiniger om de maai-eenheden schoon te maken. De lagers en afdichtingen kunnen beschadigd worden.
Als u de machine voor een lange tijd wilt stallen, moet u de stappen in Voorbereidingen voor stalling uitvoeren.
Zet de machine af, verwijder het contactsleuteltje en wacht totdat alle bewegende onderdelen tot stilstand zijn gekomen voordat u de bestuurderspositie verlaat. Laat de machine afkoelen voordat u deze afstelt, reinigt, stalt of er onderhoudswerkzaamheden aan verricht.
Bewaar de machine en het brandstofvat niet op plaatsen waar open vlammen, vonken of waakvlammen (bv. van een boiler of een ander toestel) aanwezig kunnen zijn.
Indien mogelijk moet u de accu opslaan op een warme, droge plaats.
De accu's - of ze nu gemonteerd zijn of verwijderd uit de machine - moeten worden opgeslagen in de juiste omgeving.
De aanbevolen opslagtemperatuur moet zich tussen 10 °C tot 25 °C bevinden.
Opslag in extreme temperaturen zal leiden tot een versnelde zelfontladingssnelheid.
Als wordt voorspeld dat de temperaturen voor een langere periode tot onder het vriespunt zullen dalen, moet u de accu's verwijderen uit de machine en opslaan in een warmere omgeving.
Koppel de hoofdstroomaansluitingen los; zie Hoofdstroomaansluitingen.
Aangekoekt vuil en achtergebleven maaisel verwijderen. Indien nodig: slijp de kooien en snijplaten, zie de Gebruikershandleiding van de maai-eenheid. Breng een roestwerend middel aan op de ondermessen en messenkooien.
Alle brandstof aftappen uit de brandstoftank. Laat de motor draaien totdat deze afslaat. Brandstoffilterbus vervangen Brandstoffilter vervangen.
Tap de olie uit het carter af terwijl de motor nog warm is. Bijvullen met verse olie; zie Motorolie verversen en filter vervangen.
Verwijder de bougies, giet ongeveer 30 ml SAE 30 olie in de cilinders en laat de motor draaien om de olie over de cilinderwand te verspreiden. Bougies vervangen, zie Onderhoud van de bougie.
Vuil en maaisel verwijderen van de cilinder, de koelribben van de cilinderkop en de ventilatorbehuizing.
Koppel de accukabels los van de 12V accu.
Zorg ervoor dat de 12V en 48V accu’s volledig opgeladen zijn; raadpleeg de Onderhoudshandleiding van de tractie-eenheid voor oplaadinstructies.
Elke 6 maanden dat de accu is opgeslagen, moet u het laadniveau van de accu controleren en de accu opladen.
Til de machine op en ondersteun ze zodat de wielen onbelast zijn.