
Inscrivez les numéros dans
l'espace réservé à cet effet.| Important |
| Numéro de modèle : |
Numéro de série : |

![]() |
Danger | |
![]() |
Attention | |
![]() |
Prudence | |
![]() |
Attention | |
| Procédure
|
Description
|
Qté
|
Utilisation
|
|---|---|---|---|
| 1
|
Aucune pièce nécessaire |
—
|
Préparation de la machine. |
| 2
|
Flexible (74 cm) |
1
|
Préparation du réservoir
de rinçage. |
| Réservoir de rinçage |
1
|
||
| Raccord à 90° |
1
|
||
| Collier
|
1
|
||
| Étrier de fixation |
1
|
||
| 3
|
Dispositif de maintien (réservoir
de rinçage) |
2
|
Montage du réservoir
de rinçage. |
| Boulon (⅜" x 1½") |
2
|
||
| Grande rondelle
|
4
|
||
| Contre-écrou à embase
(⅜")
|
2
|
||
| 4
|
Aucune pièce nécessaire |
—
|
Perçage de la cuve du pulvérisateur. |
| 5
|
Buse de rinçage |
2
|
Montage des buses de rinçage. |
| Raccord de traversée |
2
|
||
| Raccord à 90° |
2
|
||
| 6
|
Pompe du réservoir de rinçage |
1
|
Montage de la pompe et
du filtre. |
| Boulon (¼" x 1¾") |
4
|
||
| Petite rondelle
|
4
|
||
| Écrous à embase crantée |
4
|
||
| Raccords droit cannelé |
2
|
||
| Collier
|
3
|
||
| Ensemble filtre
|
1
|
||
| Gaine
|
1
|
||
| Attache-câbles |
2
|
||
| Couvercle de pompe |
1
|
||
| 7
|
Flexible (61 cm) |
2
|
Montage des flexibles du
réservoir de rinçage.
|
| Collier
|
6
|
||
| Raccord en T |
1
|
||
| Flexible (180 cm) |
1
|
||
| 8
|
Fusible (40 A) |
2
|
Montage du relais, du fusible
et du commutateur de la planche de bord.
|
| Relais d'alimentation |
6
|
||
| Boulon autotaraudeur (n° 10)
(N) de série et suivants)
|
1
|
||
| Boulon (n° 10) (n° de
série 419999999 et précédents)
|
2
|
||
| Contre-écrou (n° 10)
(n° de série 315000000 à 419999999) |
2
|
||
| Collier en R (n° de
série 315000000 à 315999999)
|
1
|
||
| Relais (5 broches) (n° de
série 315000000 à 315999999)
|
1
|
||
| Commande à 3 positions (avec
témoin) (n° de série 315000000 et précédents) |
1
|
||
| Commutateur à 3 positions |
1
|
![]() |
Prudence | |



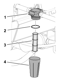
| 1
|
Flexible (74 cm) |
| 1
|
Réservoir de rinçage |
| 1
|
Raccord à 90° |
| 1
|
Collier
|
| 1
|
Étrier de fixation |



| 2
|
Dispositif de maintien (réservoir
de rinçage) |
| 2
|
Boulon (⅜" x 1½") |
| 4
|
Grande rondelle
|
| 2
|
Contre-écrou à embase
(⅜")
|


| Important |



| Important |
| 2
|
Buse de rinçage |
| 2
|
Raccord de traversée |
| 2
|
Raccord à 90° |




| 1
|
Pompe du réservoir de rinçage |
| 4
|
Boulon (¼" x 1¾") |
| 4
|
Petite rondelle
|
| 4
|
Écrous à embase crantée |
| 2
|
Raccords droit cannelé |

sur la plaque de montage
à l'aide de 4 boulons (¼" x 1¾")
, 4 petites rondelles
et 4 écrous à embase
crantée (¼")
.

| 3
|
Collier
|
| 1
|
Flexible (20 cm) – coupé précédemment |
| 1
|
Ensemble filtre
|
| 1
|
Protection de flexible |
| 2
|
Attache-câbles |



| 1
|
Couvercle de pompe |

| 2
|
Flexible (61 cm) |
| 6
|
Collier
|
| 1
|
Raccord en T |
| 1
|
Flexible (180 cm) |



| 1
|
Fusible (40 A) |
| 1
|
Relais d'alimentation |
| 1
|
Boulon autotaraudeur (n° 10) |
dans l'emplacement libre
du porte-fusibles (si nécessaire).
près des autres relais du
même type sur le panneau électrique à l'aide d'un boulon
(n° 10)
.
du faisceau de la machine et
connectez-le au relais d'alimentation (4 broches).| Modèles numéros de série 315000000 à 419999999 | |
| 1
|
Relais d'alimentation (4 broches) |
| 2
|
Boulon à embase (nº 10-24 x ½") |
| 2
|
Contre-écrou (nº 10) |
| Modèles numéros de série de 315000000 à 315999999 seulement | |
| 1
|
Temporisateur
|
| 1
|
Collier en R
|
| 1
|
Relais (5 broches) |
au moyen du collier en R
et des fixations du panneau électrique.

| 1
|
Commutateur à 3 positions
(avec témoin) – Multi Pro numéro de
série 315000000 et précédents)
|
| 1
|
Commutateur à 3 positions
(sans témoin) – Multi Pro numéro de
série 316000000 et suivants)
|

| Important |


| Important |


| Important |