| Wartungsintervall | Wartungsmaßnahmen |
|---|---|
| Nach jeder Verwendung |
|
Dieser handgeführte Rasenmäher mit Sichelmessern sollte von geschulten Lohnarbeitern verwendet werden. Er ist hauptsächlich für das Mähen von Gras auf gepflegten Grünflächen in privaten oder öffentlichen Anlagen gedacht. Er ist für die Verwendung von Flex-Force Power System® 60V Lithium-Ionen-Akkus ausgelegt. Diese Akkupacks sind so ausgelegt, dass sie nur mit dem Flex-Force™ 60V Lithium-Ionen-Akkuladegeräte geladen werden können. Der zweckfremde Einsatz dieser Produkte kann für Sie und Unbeteiligte gefährlich sein.
Lesen Sie diese Informationen sorgfältig durch, um sich mit dem ordnungsgemäßen Einsatz und der Wartung des Geräts vertraut zu machen und Verletzungen und eine Beschädigung des Geräts zu vermeiden. Sie tragen die Verantwortung für einen ordnungsgemäßen und sicheren Einsatz des Geräts.
Besuchen Sie www.toro.com hinsichtlich Sicherheitstipps, Schulungsunterlagen, Zubehörinformationen, Standort eines Händlers oder Registrierung des Produkts.
Wenden Sie sich grundsätzlich an den Toro Vertragshändler oder Kundendienst, wenn Sie eine Serviceleistung, Toro Originalersatzteile oder weitere Informationen benötigen. Haben Sie dafür die Modell- und Seriennummern der Maschine griffbereit. In Bild 1 ist angegeben, wo an dem Produkt die Modell- und die Seriennummer angebracht sind. Tragen Sie hier die Modell- und Seriennummern des Geräts ein.

Tragen Sie die Modell- und Seriennummern des Produkts unten ein:
Dieses Sicherheitswarnsymbol (Bild 2) in diesem Handbuch und an der Maschine weißt auf wichtige Sicherheitshinweise hin, die Sie beachten müssen, um Unfälle zu vermeiden.

Das Sicherheitswarnsymbol wird über Information dargestellt, die Sie vor unsicheren Handlungen oder Situationen warnen, gefolgt von dem Wort GEFAHR, WARNUNG oder VORSICHT.
GEFAHR bezeichnet eine unmittelbar drohende Gefahr. Wenn sie nicht gemieden wird, sind Tod oder schwerste Verletzungen die Folge.
WARNUNG bezeichnet eine möglicherweise drohende Gefahr. Wenn sie nicht gemieden wird, können Tod oder schwerste Verletzungen die Folge sein.
VORSICHT bezeichnet eine möglicherweise drohende Gefahr. Wenn sie nicht gemieden wird, können leichte oder geringfügige Verletzungen die Folge sein.
In dieser Anleitung werden zwei weitere Begriffe zur Hervorhebung von Informationen verwendet. Wichtig weist auf spezielle mechanische Informationen hin, und Hinweis hebt allgemeine Informationen hervor, die Ihre besondere Beachtung verdienen.
Manipulieren oder deaktivieren Sie keine Sicherheitsvorrichtungen an der Maschine und prüfen Sie die einwandfreie Funktion in regelmäßigen Abständen. Modifizieren oder manipulieren Sie nicht die Bedienelemente für die Motordrehzahl, da dies zu unsicheren Einsatzbedingungen und Verletzungen führen kann.
Dieses Produkt erfüllt alle relevanten europäischen Richtlinien; weitere Details finden Sie in der produktspezifischen Konformitätserklärung (DOC).
KALIFORNIEN
Warnung zu Proposition 65
Das Stromkabel dieses Produkts enthält Blei, eine Chemikalie, die laut den Behörden des Staates Kalifornien Geburtsschäden oder andere Defekte des Reproduktionssystems verursacht. Waschen Sie sich nach dem Umgang mit diesen Materialien die Hände.
Bei Verwendung dieses Produkts sind Sie ggf. Chemikalien ausgesetzt, die laut den Behörden des Staates Kalifornien krebserregend wirken, Geburtsschäden oder andere Defekte des Reproduktionssystems verursachen.
Lesen Sie alle diesem Elektrowerkzeug beiliegenden Sicherheitshinweise, Anweisungen, Abbildungen und technischen Daten. Die Nichtbeachtung aller unten aufgeführten Anweisungen kann zu einem Stromschlag, Brand und/oder schweren Verletzungen führen.
Bewahren Sie alle Sicherheitshinweise und Anweisungen zum späteren Nachschlagen auf.
Der Begriff Elektrowerkzeug“ in den Sicherheitshinweisen bezieht sich auf Ihr über einen Stromanschluss (mit Stromkabel) oder mit einem Akku (kabellos) betriebenes Werkzeug.
Sicherheit im Arbeitsbereich
Der Arbeitsbereich muss sauber und gut beleuchtet sein. Unordentliche oder dunkle Bereiche erhöhen die Unfallgefahr.
Arbeiten Sie mit dem Elektrowerkzeug nicht in explosionsgefährdeter Umgebung, z. B. in der Nähe von brennbaren Flüssigkeiten, Gasen oder Staub. Elektrowerkzeuge erzeugen Funken, die den Staub oder die Dämpfe entzünden können.
Halten Sie Kinder und andere Personen während der Benutzung des Elektrowerkzeugs fern. Ablenkungen können zu einem Verlust der Kontrolle führen.
Elektrische Sicherheit
Der Anschlussstecker des Elektrowerkzeuges muss in die Steckdose passen. Der Stecker darf in keiner Weise verändert werden. Verwenden Sie keine Adapterstecker gemeinsam mit schutzgeerdeten Elektrowerkzeugen. Unveränderte Stecker und passende Steckdosen reduzieren das Risiko eines Stromschlags.
Vermeiden Sie Körperkontakt mit geerdeten Oberflächen wie von Rohren, Heizungen, Herden und Kühlschränken. Es besteht ein erhöhtes Risiko eines Stromschlags, wenn Ihr Körper geerdet ist.
Halten Sie Elektrowerkzeuge von Regen oder Nässe fern. Das Eindringen von Wasser in ein Elektrowerkzeug erhöht das Risiko eines elektrischen Schlages.
Ein Fehlgebrauch des Netzkabels für andere Zwecke ist untersagt. Das Kabel niemals zum Tragen, Ziehen oder Ausstecken des Elektrowerkzeugs verwenden. Halten Sie das Kabel von Hitze, Öl, scharfen Kanten oder beweglichen Teilen fern. Beschädigte oder verwickelte Kabel erhöhen das Risiko eines Stromschlags.
Verwenden Sie beim Betrieb des Elektrowerkzeugs im Freien ein für den Außenbereich geeignetes Verlängerungskabel. Die Verwendung eines für den Außenbereich geeigneten Kabels verringert die Gefahr eines Stromschlags.
Wenn der Betrieb des Elektrowerkzeugs in feuchter Umgebung unvermeidlich ist, verwenden Sie eine durch einen Fehlerstromschutzschalter (RCD) geschützte Stromversorgung. Die Verwendung eines Fehlerstromschutzschalters reduziert die Gefahr eines Stromschlags.
Persönliche Sicherheit
Seien Sie wachsam, achten Sie auf das, was Sie tun und lassen Sie bei der Benutzung des Elektrowerkzeugs gesunden Menschenverstand walten. Verwenden Sie das Elektrowerkzeug nicht, wenn Sie müde sind oder unter dem Einfluss von Drogen, Alkohol oder Medikamenten stehen. Ein Moment der Unachtsamkeit bei der Bedienung von Elektrowerkzeugen kann zu schweren Körperverletzungen führen.
Benutzen Sie persönliche Schutzausrüstung. Tragen Sie immer eine Schutzbrille. Das Tragen von Schutzausrüstung wie Staubmaske, rutschfesten Sicherheitsschuhen, Schutzhelm oder Gehörschutz unter entsprechenden Bedingungen reduziert die Gefahr von Körperverletzungen.
Vermeiden Sie eine unbeabsichtigte Inbetriebnahme. Vergewissern Sie sich, dass das Werkzeug ausgeschaltet ist, bevor Sie es an die Stromquelle und/oder den Akku anschließen oder es in die Hand nehmen oder tragen. Das Tragen von Elektrowerkzeugen mit Ihrem Finger am Schalter bzw. von an die Stromversorgung angeschlossenen Elektrowerkzeugen bei eingeschaltetem Schalter erhöht die Unfallgefahr.
Ziehen Sie vor dem Einschalten des Elektrowerkzeugs alle Einstellwerkzeuge oder Schraubenschlüssel ab. Ein an einem rotierenden Teil des Elektrowerkzeugs zurückgelassener Schlüssel kann zu Verletzungen führen.
Strecken Sie sich nicht zu stark. Verlieren Sie nicht den Halt und behalten Sie zu jeder Zeit das Gleichgewicht. Sie haben dann in unerwarteten Situationen eine bessere Kontrolle über das Elektrowerkzeug.
Tragen Sie geeignete Kleidung. Tragen Sie keine weiten Kleidungsstücke oder Schmuck. Halten Sie Ihr Haar und Ihre Kleidung von beweglichen Teilen fern. Lockere Kleidung, Schmuck oder lange Haare können sich in beweglichen Teilen verfangen.
Wenn Vorrichtungen für den Anschluss von Staubabsaug- und -auffangsystemen vorhanden sind, vergewissern Sie sich, dass diese angeschlossen sind und ordnungsgemäß verwendet werden. Die Verwendung einer Staubabsaugung kann staubbedingte Gefahren verringern.
Lassen Sie nicht zu, dass Sie aufgrund der Gewohnheit, die Sie durch den häufigen Gebrauch von Werkzeugen erlangt haben, selbstgefällig werden und die Grundsätze der Werkzeugsicherheit ignorieren. Eine unvorsichtige Handlung kann im Bruchteil einer Sekunde zu schweren Verletzungen führen.
Verwendung und Pflege des Elektrowerkzeugs
Üben Sie keine Gewalt auf das Elektrowerkzeug aus. Verwenden Sie das richtige Elektrowerkzeug für Ihre Anwendung. Mit dem passenden Elektrowerkzeug arbeiten Sie besser und sicherer im angegebenen Leistungsbereich.
Verwenden Sie das Elektrowerkzeug nicht, wenn der Ein- und Ausschalter nicht funktioniert. Ein Elektrowerkzeug, das sich nicht mehr ein- oder ausschalten lässt, ist gefährlich und muss repariert werden.
Ziehen Sie den Stecker aus der Steckdose und/oder entfernen Sie ggf. den Akku aus dem Elektrowerkzeug, bevor Sie Einstellungen vornehmen, Zubehörteile wechseln oder das Elektrowerkzeug lagern. Solche vorbeugenden Sicherheitsmaßnahmen verringern das Risiko einer unbeabsichtigten Inbetriebnahme des Elektrowerkzeugs.
Unbenutzte Elektrowerkzeuge außerhalb der Reichweite von Kindern aufbewahren und nicht von Personen bedienen lassen, die mit dem Elektrowerkzeug oder dieser Anleitung nicht vertraut sind. Elektrowerkzeuge sind in den Händen von ungeschulten Benutzern gefährlich.
Halten Sie Elektrowerkzeuge und Zubehör instand. Prüfen Sie, ob bewegliche Teile falsch ausgerichtet sind oder klemmen, ob Teile gebrochen sind oder ob andere Bedingungen vorliegen, die den Betrieb des Elektrowerkzeugs beeinträchtigen könnten. Bei Beschädigungen muss das Elektrowerkzeug vor der Verwendung repariert werden. Viele Unfälle haben ihre Ursache in schlecht gewarteten Elektrowerkzeugen.
Halten Sie Schneidwerkzeuge scharf und sauber. Ordnungsgemäß gewartete Schneidwerkzeuge mit scharfen Schneidkanten verklemmen sich seltener und sind leichter zu kontrollieren.
Verwenden Sie das Elektrowerkzeug, das Zubehör, die Werkzeugaufsätze usw. gemäß dieser Anleitung und unter Berücksichtigung der Arbeitsbedingungen und der auszuführenden Arbeiten. Die Verwendung des Elektrowerkzeugs für andere als die vorgesehenen Arbeiten kann zu einer gefährlichen Situation führen.
Halten Sie Griffe und Griffflächen trocken, sauber und öl- und fettfrei. Rutschige Griffe und Griffflächen verhindern eine sichere Handhabung und Kontrolle des Werkzeugs in unerwarteten Situationen.
Verwendung und Pflege des Akku-Werkzeugs
Zum Aufladen nur das vom Hersteller angegebene Ladegerät verwenden. Ein für einen Akkutyp geeignetes Ladegerät kann bei Verwendung eines anderen Akkutyps eine Brandgefahr darstellen.
Verwenden Sie Elektrowerkzeuge nur mit den speziell dafür vorgesehenen Akkus. Bei der Verwendung anderer Akkus besteht Verletzungs- und Brandgefahr.
Halten Sie den Akku bei Nichtgebrauch von anderen Metallgegenständen wie Büroklammern, Münzen, Schlüsseln, Nägeln, Schrauben oder anderen kleinen Metallgegenständen fern, die eine Verbindung von einem Anschluss zum anderen herstellen können. Ein Kurzschluss zwischen den Akkukontakten kann Verbrennungen oder Feuer zur Folge haben.
Unter ungünstigen Bedingungen kann Flüssigkeit aus der Batterie austreten; vermeiden Sie den Kontakt. Bei versehentlichem Kontakt mit Wasser abspülen. Wenn Flüssigkeit in die Augen gelangt, suchen Sie zusätzlich einen Arzt auf. Die aus dem Akku austretende Flüssigkeit kann zu Reizungen oder Verbrennungen führen.
Verwenden Sie keine beschädigten oder modifizierten Akkus oder Werkzeuge. Beschädigte oder modifizierte Akkus können ein unvorhersehbares Verhalten zeigen, das zu Feuer, Explosion oder Verletzungsgefahr führen kann.
Setzen Sie einen Akku oder ein Werkzeug keinem Feuer oder übermäßigen Temperaturen aus. Die Exposition gegenüber Feuer oder Temperaturen über 130°C (265°F) kann zu einer Explosion führen.
Befolgen Sie alle Anweisungen zum Aufladen und laden Sie den Akku oder das Werkzeug nicht außerhalb des in den Anweisungen angegebenen Temperaturbereichs. Unsachgemäßes Aufladen oder Laden bei Temperaturen außerhalb des angegebenen Bereichs kann den Akku beschädigen und die Brandgefahr erhöhen.
Wartung
Lassen Sie Ihr Elektrowerkzeug nur von qualifiziertem Fachpersonal warten, das nur original Ersatzteile verwendet. Damit wird gewährleistet, dass die Sicherheit des Elektrowerkzeugs erhalten bleibt.
Warten Sie niemals beschädigte Akkus. Sämtliche Wartung von Akkus sollte nur vom Hersteller oder von autorisierten Dienstleistern durchgeführt werden.
Den Rasenmäher nicht bei Regen oder Nässe betreiben. Dies kann das Risiko eines Stromschlags erhöhen.
Den Rasenmäher nicht bei schlechtem Wetter benutzen, insbesondere dann nicht, wenn die Gefahr eines Gewitters besteht. Dadurch wird das Risiko eines Blitzschlags reduziert.
Untersuchen Sie den Bereich, in dem der Rasenmäher eingesetzt werden soll, gründlich auf Wildtiere. Wildtiere können durch den arbeitenden Rasenmäher verletzt werden.
Inspizieren Sie den Bereich, in dem der Rasenmäher eingesetzt werden soll, gründlich und entfernen Sie Steine, Stöcke, Drähte, Knochen und andere Fremdkörper. Herumgeschleuderte Objekte können zu Verletzungen führen.
Führen Sie vor dem Einsatz des Rasenmähers immer eine Sichtprüfung durch, um sicherzustellen, dass das Messer und die Messerbaugruppe nicht abgenutzt oder beschädigt sind. Abgenutzte oder beschädigte Teile erhöhen das Risiko von Verletzungen.
Prüfen Sie den Fangkorb regelmäßig auf Verschleiß und Abnutzung. Ein abgenutzter oder beschädigter Fangkorb kann die Verletzungsgefahr erhöhen.
Halten Sie die Schutzvorrichtungen in Position. Die Schutzvorrichtungen müssen einwandfrei funktionieren und ordnungsgemäß angebracht sein. Eine lose, beschädigte oder nicht richtig funktionierende Schutzvorrichtung kann zu Verletzungen führen.
Halten Sie alle Kühllufteinlässe frei von Verunreinigungen. Blockierte Lufteinlässe und Verunreinigungen können zu Überhitzung oder Brandgefahr führen.
Tragen Sie beim Betrieb des Rasenmähers stets rutschfestes und schützendes Schuhwerk. Bedienen Sie den Rasenmäher niemals barfuß oder mit offenen Sandalen. Auf diese Weise wird die Gefahr von Fußverletzungen durch Kontakt mit dem sich bewegenden Messer verringert.
Tragen Sie bei der Bedienung des Rasenmähers immer lange Hosen. Freiliegende Haut erhöht die Wahrscheinlichkeit von Verletzungen durch aufgeschleuderte Objekte.
Den Rasenmäher nicht in feuchtem Gras betreiben. Gehen Sie immer; rennen Sie nie. Dadurch wird die Gefahr des Ausrutschens und Fallens und damit des Verletzens verringert.
Betreiben Sie den Rasenmäher nicht an übermäßig steilen Hängen. Dadurch wird die Gefahr des Kontrollverlusts, des Ausrutschens und des Fallens und damit des Verletzens verringert.
Achten Sie bei Arbeiten an Hängen immer auf einen sicheren Stand, arbeiten Sie immer quer zum Hang, niemals bergauf oder bergab, und seien Sie bei Richtungswechseln äußerst vorsichtig. Dadurch wird die Gefahr des Kontrollverlusts, des Ausrutschens und des Fallens und damit des Verletzens verringert.
Gehen Sie mit größter Vorsicht vor, wenn Sie rückwärts gehen oder den Rasenmäher in Ihre Richtung ziehen. Achten Sie immer auf Ihre Umgebung. Dies verringert das Risiko, während des Betriebs zu stolpern.
Greifen Sie nicht in die Messer und andere gefährliche, sich bewegende Teile, während diese noch in Bewegung sind. Dadurch wird die Verletzungsgefahr durch bewegliche Teile verringert.
Stellen Sie vor dem Beseitigen von eingeklemmtem Material oder dem Reinigen des Rasenmähers sicher, dass alle Stromschalter ausgeschaltet sind und der Akku abgeklemmt wurde. Eine unerwartete Inbetriebnahme des Rasenmähers kann zu schweren Verletzungen führen.
Schulung
Der Bediener der Maschine ist für alle Unfälle oder Gefahren für Dritte und deren Eigentum verantwortlich.
Lassen Sie Kinder nicht mit der Maschine, dem Akkupack oder dem Akkuladegerät spielen; das Mindestalter von Benutzern ist möglicherweise von örtlichen Vorschriften vorgegeben.
Lassen Sie keine Personen mit eingeschränkten physischen, sensorischen oder mentalen Fähigkeiten oder Personen ohne Erfahrung und Kenntnisse die Maschine, den Akkupack oder das Akkuladegerät verwenden, außer sie wurden ausreichend in Bezug auf die sichere Verwendung und die mit der Verwendung zusammenhängenden Gefahren unterwiesen und arbeiten unter Aufsicht.
Vor der Verwendung des Akkupacks und des Akkuladegeräts alle Anweisungen und Warnaufkleber auf diesen Produkten lesen.
Vorbereitung
Ersetzen Sie alle beschädigten oder unleserlichen Aufkleber.
Verwenden Sie nur einen von Toro angegebenen Akkupack. Die Verwendung von anderem Zubehör oder Anbaugeräten kann ein Verletzungs- oder Brandrisiko bergen.
Das Einstecken des Akkuladegeräts in eine Steckdose, die nicht die richtige Spannung aufweist, kann zu einem Brand oder Stromschlag führen. Bei einem anderen Anschlussdesign müssen Sie bei Bedarf einen Adapter für den Anbaugerätstecker verwenden, der richtig für die entsprechende Steckdose konfiguriert ist.
Verwenden Sie keine beschädigten oder veränderten Akkupacks oder Akkuladegeräte, da sie sich unerwartet verhalten und Brand, Explosion oder Verletzungen verursachen können.
Wenn das Stromkabel des Akkuladegeräts beschädigt ist, treten Sie für Ersatz mit einem Vertragshändler in Kontakt.
Verwenden Sie keine nicht aufladbaren Akkus.
Laden Sie den Akkupack nur mit einem von Toro angegebenen Akkuladegerät. Ein für einen Akkutyp geeignetes Ladegerät kann bei Verwendung eines anderen Akkutyps eine Brandgefahr darstellen.
Laden Sie den Akkupack nur in einem gut belüfteten Bereich auf.
Setzen Sie einem Akkupack oder ein Akkuladegerät keinem Feuer oder Temperaturen von über 68 °C aus.
Befolgen Sie alle Anweisungen zum Aufladen und laden Sie den Akkupack nicht außerhalb des in der Anweisung angegeben Temperaturbereichs. Andernfalls kann der Akku beschädigt werden und die Brandgefahr steigen.
Betrieb
Bleiben Sie immer von den Auswurföffnungen fern.
Kuppeln Sie den Selbstantrieb aus (falls vorhanden), bevor Sie die Maschine einschalten.
Verhindern Sie unbeabsichtigtes Starten: Stellen Sie sicher, dass der Elektrostarttaster aus der Zündung entfernt ist, bevor Sie den Akkupack einsetzen und die Maschine benutzen.
Halten Sie die Maschine an, entfernen Sie den Elektrostarttaster, entfernen Sie den Akkupack aus der Maschine und warten Sie, bis alle beweglichen Teile zum Stillstand gekommen sind, bevor Sie die Maschine warten oder reinigen.
Entfernen Sie den Akkupack und den Elektrostarttaster aus der Maschine, wenn Sie sie unbeaufsichtigt lassen oder bevor Sie Zubehör wechseln.
Werfen Sie das Schnittgut nicht gegen Personen aus. Vermeiden Sie, Material gegen eine Wand oder ein Hindernis auszuwerfen, da das Material auf Sie zurückprallen kann. Stellen Sie das/die Messer ab, wenn Sie eine Kiesoberflächen überqueren.
Achten Sie auf Löcher, Rillen, Bodenwellen, Steine oder andere verborgene Objekte. Unebenes Gelände kann dazu führen, dass Sie das Gleichgewicht oder den Halt verlieren.
Wenn die Maschine einen Gegenstand trifft oder anfängt zu vibrieren, stellen Sie sofort die Maschine ab, entfernen Sie den Elektrostarttaster, entfernen Sie den Akkupack und warten Sie, bis alle beweglichen Teile zum Stillstand gekommen sind, bevor Sie die Maschine auf Schäden untersuchen. Führen Sie alle erforderlichen Reparaturen durch, ehe Sie die Maschine wieder in Gebrauch nehmen.
Halten Sie die Maschine an und entfernen Sie den Elektrostarttaster, bevor Sie die Maschine zum Transport aufladen.
Unter missbräuchlichen Bedingungen kann Flüssigkeit aus dem Akkupack austreten. Vermeiden Sie Kontakt. Wenn Sie die Flüssigkeit versehentlich berühren, mit Wasser spülen. Wenn die Flüssigkeit in Ihre Augen gelangt, suchen Sie einen Arzt auf. Vom Akku ausgestoßene Flüssigkeit kann zu Hautreizungen oder Verbrennungen führen.
Wartung und Lagerung
Halten Sie die Maschine an, entfernen Sie den Elektrostarttaster, entfernen Sie den Akkupack aus der Maschine und warten Sie, bis alle beweglichen Teile zum Stillstand gekommen sind, bevor Sie die Maschine warten oder reinigen.
Versuchen Sie nicht, die Maschine zu reparieren, außer in dem in den Anweisungen angegebenen Maße. Lassen Sie die Maschine durch einen Vertragshändler mit identischen Ersatzteilen instand setzen.
Schärfen Sie ein stumpfes Messer von beiden Seiten, um das Gleichgewicht zu erhalten. Reinigen Sie das Messer und stellen Sie sicher, dass es in Balance ist.
Beim Warten des Messers darauf achten, dass sich das Messer auch bei getrennter Stromversorgung noch bewegen kann.
Um eine bestmögliche Leistung sicherzustellen, verwenden Sie nur Originalersatzteile und -zubehörteile von Toro. Andere Ersatz- und Zubehörteile können gefährlich sein und eine Verwendung könnte die Garantie ungültig machen.
Warten Sie die Maschine: Halten Sie die Schnittkanten scharf und sauber, um eine bestmögliche und sichere Leistung zu gewährleisten. Halten Sie die Holme trocken, sauber und öl- und fettfrei. Lassen Sie die Schutzvorrichtungen in funktionierendem Zustand dort, wo sie hingehören. Halten Sie die Messer scharf. Verwenden Sie nur identische Messer.
Solange in den Anweisungen nicht anders angegeben, lassen Sie beschädigte Schutzvorrichtungen und Teile nur von einem autorisierten Vertragshändler reparieren bzw. austauschen.
Halten Sie den Akku bei Nichtgebrauch von Metallobjekten fern, z. B. Briefklammern, Münzen, Schlüssel, Nägel, Schrauben, die eine Verbindung von einem Pol zu einem anderen herstellen können. Ein Kurzschließen der Akkupole kann zu Verbrennungen oder einem Brand führen.
Prüfen Sie das Messer und die Motorbefestigungsschrauben regelmäßig auf Festigkeit.
ACHTUNG: ein falsch gehandhabtes Akkupack kann ein Brandrisiko darstellen oder Verätzungen verursachen. Demontieren Sie den Akkupack nicht. Erwärmen Sie den Akkupack nicht über 68 °C und verbrennen Sie ihn nicht. Ersetzen Sie den Akkupack nur durch ein Originalakkupack von Toro. Die Verwendung eines anderen Akkupacktyps kann zu einem Brand oder einer Explosion führen. Halten Sie Akkupacks von Kindern fern und bewahren sie in der Originalverpackung auf, bis Sie sie verwenden.
Entsorgen Sie den Akku nicht durch Verbrennen. Die Zellen können explodieren. Prüfen Sie vor Ort geltende Gesetze in Bezug auf mögliche spezielle Anweisungen zur Entsorgung.
![]() |
Die Sicherheits- und Anweisungsaufkleber sind gut sichtbar; sie befinden sich in der Nähe der möglichen Gefahrenbereiche. Tauschen Sie beschädigte oder verloren gegangene Aufkleber aus. |








Important: Entfernen Sie die Plastikschutzfolie, die den Motor abdeckt, und entsorgen Sie diese.
Für diesen Arbeitsschritt erforderliche Teile:
| Akkufachdeckel | 1 |
Richten Sie die Verschluss des Deckels an den Schlitzen aus und drücken Sie den Deckel nach unten, um ihn zu verriegeln.

Für diesen Arbeitsschritt erforderliche Teile:
| Unterer Führungsholm | 2 |
| Klemmenplatte | 2 |
| Strebenholm | 2 |
| Kurze Schraube | 2 |
| Beilagscheibe | 4 |
| Sicherungsmutter | 8 |
| Oberer Bügel | 1 |
| Tellerscheibe | 6 |
| Lange Schraube | 4 |
| Hutmutter | 6 |
Wenn Sie den Holm falsch zusammenbauen, können Sie die Kabel beschädigen und den sicheren Geräteeinsatz gefährden.
Beschädigen Sie beim Zusammenbau des Holms nicht die Kabel.
Stellen Sie sicher, dass die Kabel im Holm verlegt sind und sich nicht am hinteren Ablenkblech verhaken.
Wenden Sie sich bei einem beschädigten Kabel an Ihren offiziellen Toro-Vertragshändler.
Entfernen Sie die Sicherungsmuttern von den beiden freiliegenden Schrauben oben am Mähwerk.
Bauen Sie den unteren Führungsholm mit einer Klemmenplatte und den im vorherigen Schritt aus dem Mähwerk entfernten Sicherungsmuttern auf jeder Seite oben auf dem Mähwerk ein (1).
Note: Die unteren Führungsholmrohre sind in der Mitte gebogen; stellen Sie sicher, dass die Rohre so eingebaut sind, dass der gebogene Bereich zum Boden zeigt.

Bauen Sie das Unterteil der Strebenholme auf jeder Seite des Mähwerks mit einer kurzen Schraube, Unterlegscheiben innen und außen auf dem Mähwerk und einer Sicherungsmutter ein (Bild 5).

Bauen Sie den oberen Führungsholm und das Oberteil der Strebenholme mit drei Tellerscheiben, zwei langen Schrauben und zwei Sicherungsmuttern auf jeder Seite an den unteren Führungsholmen an (Bild 6).

Setzen Sie Hutmuttern auf alle freiliegenden Holmmuttern.
Für diesen Arbeitsschritt erforderliche Teile:
| Fangkorb | 1 |
| Fangkorbrahmen | 1 |



Die Fahrgeschwindigkeit der Maschine wird durch das MatchDrive® System gesteuert und hat drei feste Einstellungen sowie eine variable Geschwindigkeitsoption. Die Einstellung der Geschwindigkeit des Selbstantriebs der Maschine ermöglicht es dem Bediener, bei mehreren Maschinen eine gleichbleibende Schnittqualität und Leistung zu erzielen.
Betätigen Sie die Geschwindigkeitswahltaste auf dem Bedienfeld des Antriebskopfes, um zwischen den voreingestellten Geschwindigkeitseinstellungen zu wechseln. Unter der gewählten Geschwindigkeitseinstellung leuchtet eine Leuchte auf:
I - Langsam: 3,0 km/h
II - Mittel: 4,0 km/h
III - Schnell: 5,2 km/h

Die Einstellung IV (Bild 11) auf der Geschwindigkeitswahltaste ermöglicht es Ihnen, die Geschwindigkeit der Maschine mit dem Stellrad auf dem Elektrostarttaster zu steuern. Drehen Sie das Stellrad nach rechts, um die Geschwindigkeit zu erhöhen, und nach links, um sie zu verringern - von einer niedrigen Geschwindigkeit von 1,6 km/h bis zu einer hohen Geschwindigkeit von 5,6 km/h.

Diese Maschine verfügt über zwei Messerdrehzahleinstellungen: STANDARD und ECO.
In der STANDARD-Einstellung ist die Messerdrehzahl immer auf eine feste Drehzahl eingestellt.
In der ECO-Einstellung bleibt die Messerdrehzahl immer auf der niedrigsten Stufe (außer bei starker Belastung). Diese Drehzahl eignet sich ideal zum Mulchen von Grasschnitt nach dem Mähen und ist die effizienteste Nutzung der Akkuleistung.
| Messerdrehzahleinstellung | Drehzahl (U/min) |
| STANDARD | 2800 |
| ECO | 2400 |
Die Maschine startet automatisch in der STANDARD-Einstellung. Betätigen Sie die Messerdrehzahltaste auf dem Bedienfeld des Antriebskopfes, um die Messerdrehzahleinstellung zu ändern (Bild 13).

Das Bedienfeld des Antriebskopfes verfügt über verschiedene Warnleuchten und zeigt den aktuellen Akkustatus an.
Bei einer Störung des Getriebes blinken vier (4) Warnleuchten (A in Bild 14), siehe .
Die Akkustatusanzeige zeigt anhand von Leuchten den Ladestand der Akkus an und weist auf Probleme oder Störungen mit den Akkus hin (B in Bild 14). Wenn der Ladezustand der Akkus niedrig ist (<10%), blinkt die untere der vier Ladestandsanzeigen.
Liegt an einem Akku eine Störung vor, blinken die Störungsleuchten am unteren Rand der Akkustatusanzeige (B in Bild 14). Die linke Störungsleuchte entspricht dem linken Akku (von der Betriebsposition aus gesehen), die rechte Störungsleuchte entspricht dem rechten Akku.

|
Modell |
Schnittbreite |
Länge |
Breite |
Höhe |
Gewicht |
|---|---|---|---|---|---|
|
02660T | 56 cm | 175,5 cm | 61 cm | 103 cm | 52,7 kg |
| 103 cm | (116 lb) |
|
Laden oder Speichern des Akkupacks |
Verwendung des Akkupacks |
Verwendung der Maschine |
|---|---|---|
|
5 °C bis 40 °C* |
-30 °C bis 49 °C |
0 °C bis 49 °C* |
*Die Ladezeit kann sich verlängern, wenn Sie den/die Akku(s) nicht in dem angegebenen Temperaturbereich aufladen.
Lagern Sie die Maschine, den/die Akku(s) und das/die Akkuladegerät(e) an einem geschlossenen, sauberen und trockenen Ort.
Ein Sortiment an Originalanbaugeräten und -zubehör von Toro wird für diese Maschine angeboten, um den Funktionsumfang des Geräts zu erhöhen und zu erweitern. Wenden Sie sich an einen autorisierten Servicehändler oder einen autorisierten Toro-Vertragshändler oder navigieren Sie zu www.Toro.com für eine Liste der zugelassenen Anbaugeräte und des Zubehörs.
Verwenden Sie, um die optimale Leistung und Sicherheit zu gewährleisten, nur Originalersatzteile und -zubehörteile von Toro. Verwenden Sie nie Ersatzteile und Zubehör anderer Hersteller; diese könnten sich eventuell als gefährlich erweisen.
Important: Verwenden Sie den/die Akku(s) nur bei Temperaturen im angemessenen Bereich, siehe Technische Daten.
Stellen Sie sicher, dass der Elektrostarttaster nicht an der Maschine eingesetzt ist.
Stellen Sie sicher, dass die Belüftungsöffnungen und die Ladeanschlüssen des/der Akkus frei von Staub und Schmutz sind.
Öffnen Sie den Deckel des Akkukastens (A in Bild 15).
Richten Sie die Vertiefung des/der Akkus mit der Nase an der Maschine aus und schieben Sie den/die Akku(s) in den Kasten, bis er in seiner Position einrastet (B in Bild 15).
Schließen Sie den Deckel des Akkukastens (C in Bild 15).
Note: Wenn sich der Akkufachdeckel nicht vollständig schließt, ist/sind der/die Akku(s) nicht vollständig eingesetzt.Die Maschine kann mit einem oder zwei installierten Akkus betrieben werden.

Der Elektrostarttaster ist im Akkufach für einen sicheren Transport untergebracht. Entfernen Sie sie aus dem Akkufach und bewahren Sie sie vor dem Zusammenbau an einem sicheren Ort auf.
Beim Einstellen der Schnitthöhe können Ihre Hände mit einem sich drehenden Mähmesser in Kontakt geraten, was schwere Verletzungen zur Folge haben kann.
Schalten Sie vor dem Einstellen der Schnitthöhe den Motor ab, entfernen Sie den/die Akku(s) und warten Sie, bis alle beweglichen Teile zum Stillstand gekommen sind.
Führen Sie Ihre Finger beim Einstellen der Schnitthöhe nie unter das Mähwerk.
Fassen Sie den Schnitthöhen-Hebel an und ziehen ihn seitlich, um ihn aus der Arretierungskerbe zu lösen (Bild 16).

Betätigen Sie den Hebel zum Verringern der Schnitthöhe nach vorne oder ziehen ihn zum Anheben der Schnitthöhe nach hinten (Bild 16).
Lassen Sie den Hebel in der gewünschten Stellung los und stellen Sie sicher, dass er in einer der sieben Einstellkerben einrastet (Bild 16).
| Höheneinstellung | Schnitthöhe |
| 1 | 13.0 mm |
| 2 | 20.8 mm |
| 3 | 28.7 mm |
| 4 | 36.5 mm |
| 5 | 44.3 mm |
| 6 | 52.2 mm |
| 7 | 60.0 mm |
Mit der MatchCut-Höheneinstellung sind sechs (6) weitere Höheneinstellungen möglich. Mit dieser Funktion kann die Auswahlplatte für die Schnitthöhe um eine halbe Einstellung eingestellt werden.
Lösen Sie die Halteschraube der Auswahlplatte mit einem Innensechskantschlüssel (Bild 17).

Drehen Sie den MatchCut-Einsteller um 180° (Bild 17 und Bild 18).
Note: Unten auf der Auswahlplatte erscheint eine Markierung, die angibt, wenn MatchCut eingestellt ist.

Ziehen Sie die Befestigungsschraube der Auswahlplatte an, um die Auswahlplatte der Schnitthöhe zu fixieren.
| Höheneinstellung (mit MatchCut) | Schnitthöhe |
| 1,5 | 16.9 mm(11/16") |
| 2,5 | 24,8 mm |
| 3,5 | 32,6 mm |
| 4,5 | 40.4 mm(1-9/16") |
| 5,5 | 48,3 mm |
| 6,5 | 56.1 mm(2-3/16") |
Vergewissern Sie sich, dass der/die Akku(s) in der Maschine eingesetzt ist/sind; siehe Einsetzen des Akkus.
Stecken Sie den Elektrostarttaster [siehe Lage des Elektrostarttasters] in den Elektrostartschalter (A in Bild 19).
Drücken Sie den Schaltbügel und halten Sie ihn gegen den Holm (B in Bild 19).
Halten Sie den Elektrostarttaster gedrückt, bis der Motor startet und das Messer sich zu drehen beginnt (C in Bild 19).

Verwenden Sie den Selbstantrieb wir folgt:
So aktivieren Sie den Selbstantrieb:
Aktivieren Sie bei laufendem Mähwerk den Selbstantriebsbügel (Bild 20).
Drücken Sie bei gestoppten Mähwerk den Elektrostartknopf zweimal und lassen Sie ihn wieder los, und betätigen Sie dann innerhalb von 15 Sekunden den Selbstantriebsbügel.
Lassen Sie den Selbstantriebsbügel los, um den Selbstantrieb auszukuppeln.
Note: Lassen Sie dem Getriebe zwei Sekunden Zeit, um den Auskupplungszyklus zu beenden, bevor Sie den Selbstantriebsbügel nach dem Loslassen wieder betätigen. Andernfalls können Warnleuchten am Antriebskopf aufleuchten und der Antrieb kann sich auskuppeln.
Note: Wenn der Selbstantriebsbügel losgelassen wird, können Sie den Selbstantrieb wieder einschalten, ohne den Elektrostarttaster betätigen zu müssen, wenn der Bügel innerhalb von 15 Sekunden eingekuppelt wird.
Die Fahrgeschwindigkeit der Maschine kann durch Bedienung der stufenlosen Geschwindigkeitssteuerung angepasst werden, siehe Auswählen der Geschwindigkeit des Selbstantriebs.
Note: Wenn der Selbstantriebsbügel nicht betätigt ist, können Sie den Rasenmäher schieben. Dies ist beim Mähen in beengten Bereichen nützlich.

Lassen Sie den Schaltbügel los (A in Bild 21).
Important: Wenn Sie den Schaltbügel loslassen, sollte das Messer innerhalb von 3 Sekunden abstellen. Wenn dies nicht der Fall ist, setzen Sie die Maschine nicht mehr ein und wenden Sie sich sofort an einen offiziellen Vertragshändler.
Entfernen Sie den Elektrostarttaster aus dem Elektrostartschalter (B in Bild 21).

Note: Wenn Sie die Maschine längere Zeit nicht benutzen, entfernen Sie den Elektrostarttaster und den/die Akku(s), siehe Vor der Einlagerung.
Öffnen Sie den Deckel des Akkukastens.
Betätigen Sie die Verriegelungen des Akkus, um den/die Akku(s) zu lösen und ziehen Sie den/die Akku(s) heraus.
Schließen Sie den Deckel des Akkukastens.
Verwenden Sie den Fangkorb, wenn Sie Schnittgut und Laub im Fangkorb sammeln möchten.
Ein verschlissener Fangkorb kann das Ausschleudern kleiner Steine und ähnlicher Gegenstände in Richtung des Benutzers und Unbeteiligter zulassen. Das kann schwere oder tödliche Verletzungen für den Bediener und Unbeteiligte bedeuten.
Kontrollieren Sie den Fangkorb regelmäßig. Tauschen Sie ihn, wenn er beschädigt ist, gegen einen neuen Ersatzkorb von Toro aus.
Schalten Sie die Maschine ab und warten Sie, bis alle beweglichen Teile zum Stillstand gekommen sind.
Entfernen Sie den Elektrostarttaster und den/die Akku(s).
Heben Sie das hintere Ablenkblech an und halten Sie es hoch.
Bringen Sie den Fangkorb an (Bild 22).

Lassen Sie das hintere Ablenkblech auf dem Fangkorb aufliegen.
Die Maschine kann Schnittgut und andere Gegenstände durch eine Öffnung im Maschinengehäuse herausschleudern. Gegenstände, die mit ausreichender Wucht herausgeschleudert werden, können sie und Unbeteiligte schwer oder sogar tödlich verletzen.
Öffnen Sie das Heckablenkblech der Maschine nie bei laufender Maschine.
Important: Der Rasenmäher muss mit angebrachtem Grasfangkorb oder dem hinterem Ablenkblech in geschlossener Position verwendet werden.
Schalten Sie die Maschine ab und warten Sie, bis alle beweglichen Teile zum Stillstand gekommen sind.
Entfernen Sie den Elektrostarttaster und den/die Akku(s).
Heben Sie das hintere Ablenkblech an und halten Sie es hoch.
Haken Sie den Grasfangkorb aus.
Lassen Sie das hintere Ablenkblech auf dem Mähwerk aufliegen.
Vermeiden Sie, dass das Messer auf Fremdkörper aufprallt. Mähen Sie nie absichtlich über irgendwelchen Gegenständen.
Montieren Sie für die optimale Leistung vor dem Saisonbeginn ein neues Messer.
Tauschen Sie die Messer bei Bedarf durch ein Toro Originalersatzmesser aus.
Gras wächst zu verschiedenen Jahreszeiten unterschiedlich schnell. In heißen Sommern ist es am besten, den Rasen auf der höchsten Schnitthöhe zu mähen. Schneiden Sie immer nur ein Drittel des Grashalms in einem Durchgang. Mähen Sie nicht in der niedrigsten Schnitthöheneinstellung, es sei denn, das Gras wächst sehr fein, oder es ist Spätherbst und das Graswachstum lässt nach. Die Laufzeit wird verbessert, wenn Sie das Gras mit einer größeren Schnitthöhe mähen.
Für eine optimale Leistung, insbesondere bei schwierigen Bedingungen, verwenden Sie die STANDARD-Messerdrehzahleinstellung und mähen Sie langsamer.
Stellen Sie, wenn Sie hohes Gras mähen, beim ersten Durchgang die Schnitthöhe auf die höchste Einstellung und mähen Sie mit langsamer Geschwindigkeit, dann noch einmal mit einer niedrigeren Schnitthöhe, um dem Rasen das gewünschte Erscheinungsbild zu verleihen. Wenn das Gras zu hoch ist und Laub auf dem Rasen verklumpt, kann der Rasenmäher verstopfen, und der Motor wird ggf. überlastet und stoppt.
Nasses Gras und Laub neigen zum Verklumpen im Garten und können ein Verstopfen der Maschine und ein Abdrosseln des Motors verursachen. Vermeiden Sie Mäharbeiten bei nassen Umgebungsbedingungen.
In sehr trockenen Bedingungen besteht eine Brandgefahr. Halten Sie alle lokalen Brandgefahrwarnungen ein und entfernen Sie trockenes Gras und Laub von der Maschine.
Wechseln Sie häufig die Mährichtung. Dadurch verteilt sich das Schnittgut besser auf der Rasenfläche und bewirkt ein effektiveres Düngen.
Probieren Sie bei einem unbefriedigenden Schnittbild des Rasens eine der folgenden Abhilfen aus:
Schärfen Sie das Messer.
Langsamer mähen.
Heben Sie die Schnitthöhe der Maschine an.
Mähen Sie häufiger.
Lassen Sie die Bahnen überlappen, anstelle bei jedem Gang eine neue Bahn zu mähen.
Stellen Sie nach dem Mähen sicher, dass die Hälfte des Rasens durch die Schnittgutdecke sichtbar ist. Dabei müssen Sie unter Umständen mehrmals über das Laub mähen.
Wenn eine Laubdecke von mehr als 13 cm auf dem Rasen liegt, mähen Sie mit einer höheren Schnitthöhe und dann mit der gewünschten Schnitthöhe.
Mähen Sie langsamer, wenn die Maschine das Laub nicht fein genug häckselt.
Important: Der Akkupack ist beim Kauf nicht vollständig aufgeladen. Bevor Sie die Maschine zum ersten Mal verwenden, setzen Sie den Akkupack in das Ladegerät ein und laden es auf, bis die LED-Anzeige angibt, dass der Akkupack ganz aufgeladen ist. Lesen Sie alle Sicherheitsanweisungen.
Important: Laden Sie den Akkupack nur bei Temperaturen im angemessenen Bereich, siehe Technische Daten.
Note: Sie können jederzeit die Taste für die Akkuladeanzeige auf dem Akku betätigen, um die aktuelle Ladung (LED-Anzeigen) anzuzeigen.
Stellen Sie sicher, dass die Belüftungsöffnungen und die Ladeanschlüssen am Akku und am Ladegerät frei von Staub und Schmutz sind.

Fluchten Sie das Loch im Akkupack (Bild 23) mit der Zunge am Ladegerät aus.
Schieben Sie den Akkupack in das Ladegerät, bis es einrastet (Bild 23).
Schieben Sie zum Herausnehmen des Akkupacks den Akkupack nach hinten aus dem Ladegerät.
In der folgenden Tabelle finden Sie eine Beschreibung der LED-Anzeigeleuchten auf dem Akkuladegerät.
| Anzeigeleuchte | Anzeige |
| Aus | Kein Akkupack eingeführt |
| Grün blinkend | Akkupack wird aufgeladen |
| Grün | Akkupack ist aufgeladen |
| Rot | Der Akkupack und/oder Akkuladegerät ist nicht im geeigneten Temperaturbereich |
| Rot blinkend | Akkupack Ladefehler* |
* Weitere Informationen finden Sie unter .
Important: Der Akku kann zwischen den Einsätzen für kurze Zeiträume auf dem Ladegerät belassen werden.Wenn der Akku für längere Zeit nicht benutzt wird, nehmen Sie den/die Akku(s) aus dem Ladegerät; siehe Vor der Einlagerung.
| Wartungsintervall | Wartungsmaßnahmen |
|---|---|
| Nach jeder Verwendung |
|
Die Maschine kann Ablagerungen unter der Maschine lockern.
Tragen Sie eine Schutzbrille.
Bleiben Sie in der Einsatzstellung (hinter dem Holm) wenn der Maschine läuft.
Halten Sie Unbeteiligte vom Bereich fern.
Die besten Ergebnisse erzielen Sie, wenn Sie den Rasenmäher kurz nach dem Mähen über den Quick-Wash-Anschluss reinigen.
Important: Reinigen Sie das Mähwerk sofort nach dem Einsatz auf behandelten Grünflächen.
Schalten Sie die Maschine ab und warten Sie, bis alle beweglichen Teile zum Stillstand gekommen sind.
Entfernen Sie den Elektrostarttaster und den/die Akku(s).
Senken Sie die Maschine auf die niedrigste Schnitthöhe ab, siehe Einstellen der Schnitthöhe.
Befestigen Sie einen Gartenschlauch, der an einen Wasserhahn mit Frischwasser angeschlossen ist, am Quick-Wash-Anschluss (Bild 24).

Drehen Sie den Wasserhahn auf.
Setzen Sie den Elektrostarttaster und den/die Akku(s) ein, starten Sie den Rasenmäher, kuppeln Sie das Messer ein und lassen Sie es laufen, bis kein Schnittgut mehr unter dem Rasenmäher herauskommt.
Important: Richten Sie keinen Wasserstrahl auf das Getriebe.
Schalten Sie die Maschine ab, stellen Sie die Wasserzufuhr ab und trennen Sie den Gartenschlauch von der Maschine.
Starten Sie die Maschine und lassen Sie sie für ein paar Minuten laufen, um die Unterseite der Maschine zu trocknen, damit sie nicht rostet.
Schalten Sie die Maschine ab und lassen Sie sie abkühlen, bevor Sie die Maschine in einem geschlossenen Raum abstellen.
Note: Bestimmen Sie die linke und rechte Seite der Maschine anhand der üblichen Einsatzposition.
| Wartungsintervall | Wartungsmaßnahmen |
|---|---|
| Bei jeder Verwendung oder täglich |
|
| Nach jeder Verwendung |
|
| Alle 25 Betriebsstunden |
|
| Jährlich |
|
Stellen Sie die Maschine auf einer ebenen Fläche ab.
Schalten Sie die Maschine ab, ziehen Sie den Elektrostarttaster ab und entfernen Sie den/die Akku(s) aus der Maschine.
| Wartungsintervall | Wartungsmaßnahmen |
|---|---|
| Alle 25 Betriebsstunden |
|
Important: Lassen Sie den Motor niemals ohne Luftfilter laufen, sonst entstehen schwere Motorschäden.
Führen Sie die wartungsvorbereitenden Arbeiten aus, siehe Vorbereiten für die Wartung.
Lösen Sie die Abdeckung und den Schaumstofffilter und nehmen Sie sie ab. Reinigen Sie Beide gründlich (Bild 25).

Setzen Sie den Schaumstofffilter in die hintere Abdeckung ein und bauen Sie ihn in den Antriebskopf ein.
| Wartungsintervall | Wartungsmaßnahmen |
|---|---|
| Alle 25 Betriebsstunden |
|
Führen Sie die wartungsvorbereitenden Arbeiten aus, siehe Vorbereiten für die Wartung.
Entfernen Sie die vier Schrauben (M6) und eine Druckniete, um die obere Abdeckung zu entfernen (Bild 26).

Entfernen Sie alle Verschmutzungen vom Getriebe mit einer Bürste, insbesondere vom Getriebelüfter und den Entlüftungsöffnungen (Bild 26).
Important: Versuchen Sie nicht, das Getriebe mit Wasser oder Druckluft zu reinigen.
Bringen Sie die Abdeckung mit den zuvor entfernten Befestigungselementen wieder an.
| Wartungsintervall | Wartungsmaßnahmen |
|---|---|
| Alle 25 Betriebsstunden |
|
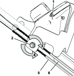
Bei jeder Installation eines neuen Kabels oder wenn das Selbstantriebs- oder das Zapfwellenantriebskabel nicht richtig eingestellt ist, müssen die Kabel angepasst werden.
Drehen Sie die Einstellmutter nach links, um die Seileinstellung zu lösen (Bild 27).

Stellen Sie die Spannung der Züge (Bild 27) ein, indem Sie sie zurückziehen oder nach vorne drücken und dann in dieser Stellung arretieren.
Drehen Sie die Mutter nach rechts, um die Seileinstellung anzuziehen.
Note: Ziehen Sie die Mutter mit einem Steckschlüssel oder Schraubenschlüssel fest an.
Important: Die Kabel dürfen nicht zu stark gespannt werden, da sonst die elektrischen Steuerschalter beschädigt werden können.
| Wartungsintervall | Wartungsmaßnahmen |
|---|---|
| Bei jeder Verwendung oder täglich |
|
| Jährlich |
|
Important: Sie benötigen für den richtigen Einbau des Messers einen Drehmomentschlüssel. Wenn Sie keinen Drehmomentschlüssel haben oder diese Arbeit nicht ausführen möchten, wenden Sie sich an einen offiziellen Vertragshändler.
Wechseln Sie das Messer sofort aus, wenn es beschädigt oder gerissen ist. Schärfen Sie die Messerkante, wenn sie stumpf ist oder Einkerbungen aufweist. Wechseln Sie ggf. das Messer aus.
Das Messer ist scharf; ein Kontakt kann zu schweren Verletzungen führen.
Tragen Sie Handschuhe, wenn Sie das Messer warten.
Kippen Sie die Maschine auf die Seite, sodass der Schnitthöhenhebel nach oben zeigt.
Stabilisieren Sie das Messer mit einem Holzblock (Bild 28).

Nehmen Sie das Messer ab und bewahren Sie alle Befestigungsschrauben auf (Bild 28).
Setzen Sie das neue Messer und alle Schrauben auf (Bild 29).

Important: Das gebogene Ende des Messers sollte zum Mähwerkgehäuse zeigen.
Ziehen Sie die Messerschraube mit einem Drehmomentschlüssel auf ein Drehmoment von 75 N∙m an.
| Wartungsintervall | Wartungsmaßnahmen |
|---|---|
| Bei jeder Verwendung oder täglich |
|
| Alle 25 Betriebsstunden |
|
Ein etwas abgenutztes Messer kann geschärft werden. Beide Messerkanten müssen gleich geschärft werden, damit es ausgewuchtet ist.
Nehmen Sie das Messer von der Maschine ab, siehe Auswechseln des Messers.
Reinigen Sie das Messer mit einer Bürste und Wasser; prüfen Sie das Messer dann auf Beschädigungen.
Schärfen Sie beide Messerkanten mit einer flachen Feile.

Stecken Sie einen Schraubenzieher durch das mittlere Loch und halten Sie das Messer horizontal.
Note: Ein ausgewuchtetes Messer bleibt horizontal.

Schärfen Sie das schwere Ende, bis das Messer richtig ausgewuchtet ist.
Note: Wenn das Messer nicht ausgewuchtet ist, dreht sich das schwere Ende nach unten.

Important: Decken Sie die Pole des Akkupacks nach dem Ausbau mit extra starkem Klebeband ab. Versuchen Sie nicht, den Akkupack zu zerstören oder auseinanderzubauen oder Teile zu entfernen.
Informationen zum verantwortungsvollen Recyceln des Akkus erhalten Sie bei Ihrer örtlichen Verwaltung oder Ihrem Toro-Vertragshändler.
Important: Lagern Sie die Maschine, den Akkupack und das Ladegerät nur bei Temperaturen im angemessenen Bereich, siehe Technische Daten.
Important: Wenn Sie den Akkupack für die Nebensaison aufbewahren, laden Sie ihn soweit auf, bis 1 oder 2 LED-Anzeigebalken auf dem Akku grün leuchten. Lagern Sie ein ganz aufgeladenes oder ganz leeres Akku nicht ein. Wenn Sie die Maschine wieder verwenden möchten, laden Sie den Akkupack auf, bis die linke Anzeigeleuchte am Ladegerät grün leuchtet oder alle vier LED-Anzeigen am Akku grün leuchten.
Trennen Sie die Maschine von der Stromversorgung (d. h. entfernen Sie den/die Akku(s) und den Elektrostarttaster) und kontrollieren Sie die Maschine nach der Verwendung auf Schäden.
Bewahren Sie die Maschine oder das Ladegerät nicht mit einem eingesetzten Akku auf.
Entfernen Sie alle Fremdkörper vom Produkt.
Lagern Sie die Maschine, den Elektrostarttaster, den/die Akku(s) und das/die Ladegerät(e) außerhalb der Reichweite von Kindern, wenn Sie diese nicht verwenden.
Bewahren Sie die Maschine, den/die Akku(s) und das/die Akkuladegerät(e) nicht zusammen mit ätzenden Mitteln auf, wie z. B. Gartenchemikalien und Enteisungssalzen.
Lagern Sie den/die Akku(s) nicht im Freien oder in Fahrzeugen, um die Gefahr möglicher schwerer Verletzungen zu verringern.
Lagern Sie die Maschine, den/die Akku(s) und das/die Akkuladegerät(e) an einem geschlossenen, sauberen und trockenen Ort.
Führen Sie nur die in dieser Anleitung beschriebenen Schritte aus. Alle weiteren Prüfungen, Wartungsarbeiten und Reparaturen müssen von einem offiziellen Toro-Vertragshändler oder einem ähnlich qualifizierten Fachmann ausgeführt werden, wenn Sie das Problem nicht selbst beheben können.
| Problem | Possible Cause | Corrective Action |
|---|---|---|
| Die Maschine startet nicht. |
|
|
| Die Maschine läuft nicht oder nicht durchgehend. |
|
|
| Die Maschine erreicht seine Höchstleistung nicht. |
|
|
| Der/die Akku(s) verliert(en) schnell die Ladung. |
|
|
| Das Ladegerät funktioniert nicht. |
|
|
| Die LED-Anzeigeleuchte am Ladegerät leuchtet rot. |
|
|
| Die LED-Anzeigeleuchte am Ladegerät blinkt rot. |
|
|
| Die Maschine gibt einen Signalton aus. |
|
|
| Der Selbstantrieb der Maschine funktioniert nicht. |
|
|
| Die Maschine hat ihre Fahrgeschwindigkeit reduziert. |
|
|
| Das Getriebe erzeugt ein ungewöhnliches Geräusch. |
|
|
| Die Maschine oder der Messermotor erzeugt übermäßige Vibrationen oder Geräusche. |
|
|
| Die Schnittqualität ist schlechter bzw. nicht zufriedenstellend. |
|
|
| Das Grassammelvermögen hat sich verschlechtert bzw. ist nicht zufriedenstellend. |
|
|
| Die Maschine schneidet ungleichmäßig. |
|
|