| Onderhoudsinterval | Onderhoudsprocedure |
|---|---|
| Na elk gebruik |
|
Deze loopmaaier met draaiende messen is bedoeld voor professioneel gebruik. De machine is voornamelijk ontworpen voor het maaien van gras op goed onderhouden particuliere of commerciële gazons. Ze is ontworpen om Flex-Force Power System® 60 V lithiumionaccupacks te gebruiken. Deze accupacks mogen alleen worden opgeladen met Flex-Force™ 60 V lithiumionacculaders. Deze producten gebruiken voor andere doeleinden dan het bedoelde gebruik kan voor u of voor omstanders gevaarlijk zijn.
Lees deze informatie zorgvuldig door, zodat u weet hoe u de machine op de juiste wijze moet gebruiken en onderhouden en om letsel en schade aan de machine te voorkomen. U bent verantwoordelijk voor het juiste en veilige gebruik van de machine.
Ga naar www.toro.com voor meer informatie, inclusief veiligheidstips, instructiemateriaal, informatie over accessoires, hulp bij het vinden van een dealer of om uw product te registreren.
Als u service, originele Toro onderdelen of aanvullende informatie nodig hebt, kunt u contact opnemen met een erkende Toro distributeur of met de klantenservice van Toro. U dient hierbij altijd het modelnummer en het serienummer van het product te vermelden. De locatie van het plaatje met het modelnummer en het serienummer van het product is aangegeven op Figuur 1. U kunt de nummers noteren in de ruimte hieronder.

U kunt het modelnummer en het serienummer noteren in de ruimte hieronder:
Het waarschuwingssymbool (Figuur 2) in deze handleiding en op de machine geeft belangrijke veiligheidsinformatie aan die u moet opvolgen om ongelukken te voorkomen.

Het waarschuwingssymbool staat boven informatie die u waarschuwt voor onveilige acties of situaties en wordt gevolgd door het woord GEVAAR, WAARSCHUWING, of VOORZICHTIG.
GEVAAR: een direct gevaarlijke situatie die, als deze niet wordt voorkomen, altijd zal leiden tot de dood of ernstig letsel.
WAARSCHUWING: een mogelijk gevaarlijke situatie die, als deze niet wordt voorkomen, kan leiden tot de dood of ernstig letsel.
VOORZICHTIG: een mogelijk gevaarlijke situatie die, als deze niet wordt voorkomen, kan leiden tot licht of middelmatig letsel.
Er worden in deze handleiding nog twee woorden gebruikt om uw aandacht op bijzondere informatie te vestigen. Belangrijk attendeert u op bijzondere technische informatie en Opmerking duidt algemene informatie aan die bijzondere aandacht verdient.
Gelieve niet te knoeien met de veiligheidsvoorzieningen of deze uit te schakelen. Controleer ook regelmatig dat deze nog werken. Probeer het afgesteld motortoerental niet te veranderen, anders kan er een onveilige situatie ontstaan waardoor u letsel kunt oplopen.
Dit product voldoet aan alle relevante Europese richtlijnen; zie voor details de aparte productspecifieke conformiteitsverklaring.
CALIFORNIË
Proposition 65 Waarschuwing
Het netsnoer van dit product bevat lood, een stof waarvan bekend is dat deze kanker, geboorteafwijkingen of andere schade aan de voortplantingsorganen kan veroorzaken. Was altijd uw handen nadat u met deze onderdelen in aanraking bent geweest.
Gebruik van dit product kan leiden tot blootstelling aan chemische stoffen waarvan de Staat Californië weet dat ze kanker, geboorteafwijkingen en andere schade aan het voortplantingssysteem veroorzaken.
Lees alle veiligheidswaarschuwingen, instructies, afbeeldingen en specificaties die werden meegeleverd met dit elektrisch gereedschap. Als u nalaat om alle hieronder genoemde instructies op te volgen, kan dit leiden tot elektrische schokken, brand en/of ernstig letsel.
Bewaar alle waarschuwingen en voorschriften zodat u deze later nog kunt raadplegen.
De term 'elektrisch gereedschap' in de waarschuwingen verwijst naar uw elektrisch apparaat met elektriciteitskabel of met accu (draadloos).
Veiligheid van het werkgebied
Zorg ervoor dat het werkgebied schoon en goed verlicht is. Rommelige of donkere omgevingen lokken ongevallen uit.
Gebruik geen elektrisch gereedschap in omgevingen waar ontploffingsgevaar heerst, bijvoorbeeld in de buurt van ontvlambare vloeistoffen, gassen of stof. Elektrisch gereedschap produceert vonken die het stof of de dampen kunnen doen ontvlammen.
Hou kinderen en omstanders uit de buurt wanneer u elektrisch gereedschap gebruikt. Afleiding kan ervoor zorgen dat u de controle verliest.
Elektrische veiligheid
Stekkers van elektrisch gereedschap moeten passen in het stopcontact. Pas de stekker nooit aan. Gebruik geen verloopstekkers in combinatie met geaard elektrisch gereedschap. Onbewerkte stekkers en passende stopcontacten verkleinen het risico op elektrische schokken.
Vermijd contact tussen uw lichaam en geaarde oppervlakken zoals buizen, radiatoren, fornuizen en koelkasten. Er is meer kans op elektrische schokken als uw lichaam geaard is.
Stel elektrisch gereedschap niet bloot aan regen of natte omgevingen. Water dat elektrisch gereedschap binnendringt, verhoogt het risico op elektrische schokken.
Wees voorzichtig met het snoer. Gebruik het snoer nooit om het elektrisch gereedschap te dragen, trekken of uit het stopcontact te halen. Hou het snoer uit de buurt van hitte, olie, scherpe randen en bewegende onderdelen. Beschadigde of verwarde snoeren verhogen het risico op elektrische schokken.
Als u elektrisch gereedschap buiten gebruikt, gebruik dan een verlengsnoer dat geschikt is voor buitengebruik. Een snoer gebruiken dat geschikt is voor buitengebruik verkleint de kans op elektrische schokken.
Als gebruik van elektrisch gereedschap in een vochtige omgeving noodzakelijk is, gebruik dan een stroomvoorziening die beveiligd is met een aardlekschakelaar. Gebruik van een aardlekschakelaar verkleint het risico op elektrische schokken.
Persoonlijke veiligheid
Blijf alert, let op wat u doet en gebruik uw gezond verstand wanneer u de machine gebruikt. Gebruik geen elektrisch gereedschap als u moe bent of onder de invloed van drugs, alcohol of medicijnen verkeert. Een moment van onoplettendheid tijdens het gebruik van elektrisch gereedschap kan ernstig lichamelijk letsel tot gevolg hebben.
Gebruik persoonlijke beschermingsmiddelen. Draag altijd oogbescherming. Beschermingsmiddelen zoals een stofmasker, veiligheidsschoenen met antislipzool, veiligheidshelm of gehoorbescherming zullen bij juist gebruik het risico op lichamelijk letsel verkleinen.
Voorkom dat u het gereedschap ongewild inschakelt. Zorg ervoor dat de schakelaar in de UIT-stand staat voordat u het gereedschap aansluit op het elektriciteitsnet en/of het accupack, of voordat u het gereedschap vastneemt of draagt.Elektrisch gereedschap dragen met uw vinger op de schakelaar, of elektrisch gereedschap in werking stellen terwijl de schakelaar aan staat, lokt ongevallen uit.
Verwijder stelsleutels en moersleutels voordat u het elektrische gereedschap inschakelt. Een moer- of stelsleutel laten zitten op een draaiend deel van het elektrisch gereedschap kan tot lichamelijk letsel leiden.
Reik niet te ver. Zorg dat u te allen tijde stevig en evenwichtig staat. Zo hebt u meer controle over het elektrisch gereedschap als zich onverwachte situaties voordoen.
Draag geschikte kleding. Draag geen losse kleding of juwelen. Hou uw haar en kleren uit de buurt van bewegende onderdelen. Losse kleding, juwelen en lang haar kunnen gegrepen worden door bewegende onderdelen.
Als er toestellen voorzien worden voor de aansluiting van stofafzuiging- en stofopvangvoorzieningen, zorg dan dat deze aangesloten zijn en correct worden gebruikt. Gebruik van stofopvang kan risico's veroorzaakt door stof verkleinen.
Als u vaak met hetzelfde gereedschap werkt en ermee vertrouwd raakt, bestaat het gevaar dat u er minder oplettend mee omgaat en de veiligheidsrichtlijnen niet meer naleeft. Let hiervoor op! Een nonchalante actie kan binnen een fractie van een seconde ernstig letsel veroorzaken.
Gebruik van en zorg voor elektrisch gereedschap
Belast het elektrisch gereedschap niet te zwaar. Gebruik het juiste elektrisch gereedschap voor het werk dat u wilt verrichten. Het juiste elektrische gereedschap doet het werk beter, veiliger en in het tempo waarvoor het bedoeld is.
Gebruik het elektrisch gereedschap niet als u het niet aan en uit kunt schakelen met de schakelaar. Elektrisch gereedschap dat niet kan worden bediend met de schakelaar is gevaarlijk en moet worden hersteld.
Koppel de stekker los van de stroomvoorziening en/of verwijder het accupack van het elektrisch gereedschap, indien dit verwijderbaar is, voordat u aanpassingen maakt, accessoires verandert of het elektrisch gereedschap stalt. Zulke preventieve veiligheidsmaatregelen verkleinen de kans dat u het elektrisch gereedschap per ongeluk inschakelt.
Bewaar elektrisch gereedschap dat niet wordt gebruikt buiten het bereik van kinderen, en voorkom dat personen die het elektrisch gereedschap of deze voorschriften niet kennen het elektrisch gereedschap gebruiken. Elektrisch gereedschap is gevaarlijk in de handen van gebruikers die niet de nodige training hebben genoten.
Onderhoud elektrisch gereedschap en accessoires. Controleer op slechte uitlijning of vastlopen van bewegende onderdelen, defecte onderdelen en andere omstandigheden die de werking van het elektrisch gereedschap nadelig kunnen beïnvloeden. In geval van schade dient u het elektrisch gereedschap te laten herstellen voordat u het weer in gebruik neemt. Veel ongelukken zijn te wijten aan slecht onderhoud van elektrisch gereedschap.
Hou maaimachines scherp en schoon. Goed onderhouden maaimachines met scherpe snijranden lopen minder gemakkelijk vast en zijn eenvoudiger te bedienen.
Gebruik elektrisch gereedschap, accessoires, opzetwerktuigen enz. in overeenstemming met deze instructies, rekening houdend met de werkomstandigheden en het uit te voeren werk. Gebruik van het elektrisch gereedschap voor andere doeleinden dan die waarvoor het bedoeld is, kan aanleiding geven tot een gevaarlijke situatie.
Hou de handgrepen en aanraakoppervlakken droog, schoon en vrij van olie en vet. Als de handgrepen en aanraakoppervlakken glibberig zijn, kunt u niet veilig omgaan met het gereedschap en kunt u het niet beheersen in onverwachte omstandigheden.
Gebruik van en zorg voor gereedschap met accu
Alleen herladen met de door de fabrikant aanbevolen lader. Een lader die geschikt is voor het ene type accupack kan in combinatie met een ander accupack voor brandgevaar zorgen.
Gebruik elektrisch gereedschap alleen met specifiek daartoe bestemde accu’s. Gebruik van andere accupacks kan lichamelijk letsel en brand veroorzaken.
Als het accupack niet wordt gebruikt, hou het dan uit de buurt van metalen voorwerpen zoals paperclips, muntjes, sleutels, nagels, schroeven en andere kleine metalen objecten die een brug kunnen vormen tussen de polen. Kortsluiting tussen de accupolen kan brandwonden en brand veroorzaken.
Bij verkeerd gebruik kan vloeistof uit de accu lekken; vermijd contact hiermee. Als u er per ongeluk toch in aanraking mee komt, spoel dan met water. Als de vloeistof in uw ogen terechtkomt, vraag dan bijkomend om medische bijstand. Vloeistof die uit de accu wordt geworpen, kan irritatie van de huid of brandwonden veroorzaken.
Gebruik geen accupack of gereedschap dat beschadigd of aangepast is. Beschadigde of aangepaste accu’s kunnen onverwacht gedrag vertonen, wat kan leiden tot brand, explosie of lichamelijk letsel.
Stel een accupack of gereedschap niet bloot aan brand of een buitensporige temperatuur. Blootstelling aan brand of een temperatuur boven 130 °C kan een explosie veroorzaken.
Volg alle instructies aangaande het laden en laad het accupack of het gereedschap niet op buiten het temperatuurbereik dat wordt gespecificeerd in de instructies. Als u het accupack of het gereedschap niet juist oplaadt of met temperaturen buiten het gespecificeerde bereik, dan kan dit de accu beschadigen en het risico op brand verhogen.
Onderhoud
Laat uw elektrisch gereedschap nazien door een erkende hersteller die alleen identieke vervangonderdelen gebruikt. Dit waarborgt veilig gebruik van het elektrisch gereedschap.
Voer nooit onderhoudswerkzaamheden uit aan beschadigde accupacks. Onderhoud van de accupacks mag enkel worden uitgevoerd door de fabrikant of erkende dienstverleners.
Gebruik de gazonmaaier niet in regen of in natte omgevingen. Als u dit toch doet, vergroot u het risico op elektrische schokken.
Gebruik de gazonmaaier niet in slechte weersomstandigheden, vooral wanneer er een kans is op bliksem. Dit verhoogt de kans dat u getroffen wordt door bliksem.
Ga zorgvuldig na of er dieren aanwezig zijn op de plek waar u de gazonmaaier gaat gebruiken. Wilde dieren kunnen gewond raken door de gazonmaaier tijdens het werk.
Inspecteer eerst grondig het terrein waar u de gazonmaaier wilt gebruiken, en verwijder alle stenen, takken, draden, botten of andere vreemde voorwerpen. Uitgeworpen objecten kunnen ernstig lichamelijk letsel veroorzaken.
Voordat u de gazonmaaier gebruikt, moet u altijd de messen en de meseenheid controleren op sporen van slijtage of beschadiging. Versleten of beschadigde onderdelen vergroten het risico op letsel.
Controleer de grasvanger regelmatig op slijtage en mankementen. Een versleten of beschadigde grasvanger kan het risico op lichamelijk letsel vergroten.
Zorg ervoor dat alle schermen op hun plaats zitten. De schermen moeten in goede staat verkeren en goed gemonteerd zijn. Een scherm dat los zit, beschadigd is of niet juist werkt, kan lichamelijk letsel tot gevolg hebben.
Houd de inlaat voor de koellucht vrij van vuil. Geblokkeerde luchtinlaten en vuil kunnen leiden tot brand of oververhitting.
Draag tijdens het werken met de gazonmaaier altijd beschermende antislipschoenen. Draag geen schoenen met open tenen en loop niet op blote voeten wanneer u de gazonmaaier gebruikt. Dit vermindert de kans op letsel aan de voeten door aanraking met het bewegende maaimes.
Draag altijd een lange broek wanneer u de gazonmaaier gebruikt. Onbedekte huid vergroot de kans op letsel door uitgeworpen voorwerpen.
Gebruik de gazonmaaier niet in nat gras. Wandelen, nooit rennen. Dit verkleint het risico op slippen en vallen, wat kan leiden tot lichamelijk letsel.
Gebruik de gazonmaaier niet op extreem steile hellingen. Dit verkleint het risico op verlies van controle, slippen en vallen, wat kan leiden tot lichamelijk letsel.
Zorg er bij het werken op hellingen altijd voor dat u stevig staat, maai altijd dwars op de helling, nooit omhoog en omlaag en ga zeer zorgvuldig te werk als u van richting verandert. Dit verkleint het risico op verlies van controle, slippen en vallen, wat kan leiden tot lichamelijk letsel.
Ga zeer voorzichtig te werk als u de maaier omkeert of naar u toetrekt. Let altijd op uw omgeving. Dit vermindert het risico op struikelen tijdens het werk.
Raak messen en andere gevaarlijke bewegende onderdelen niet aan terwijl deze nog bewegen. Dit verkleint het risico op letsel door bewegende onderdelen.
Zorg ervoor dat alle voedingsschakelaars uitgezet zijn en dat het accupack is losgekoppeld wanneer u vastgelopen materiaal verwijdert of de gazonmaaier schoonmaakt. Onverwacht gebruik van de gazonmaaier kan leiden tot ernstig lichamelijk letsel.
Training
De bestuurder van de machine is verantwoordelijk voor ongevallen of schade aan andere personen of hun eigendommen.
Laat kinderen niet spelen met de machine, het accupack of de acculader of laat hen deze niet gebruiken; plaatselijke voorschriften kunnen nadere eisen stellen aan de leeftijd van degene die met het toestel werkt.
Laat mensen met beperkte fysieke, sensorische of geestelijke capaciteiten of zonder ervaring en kennis de machine, het accupack of de acculader niet gebruiken tenzij er toezicht wordt gehouden of aanwijzingen worden gegeven over hoe deze veilig kunnen worden gebruikt en ze de gevaren begrijpen die inherent zijn aan het gebruik ervan.
Lees alle instructies en waarschuwingen op deze producten voordat u het accupack en de acculader gebruikt.
Vóór ingebruikname
Vervang beschadigde of onleesbare labels.
Gebruik enkel het accupack dat door Toro wordt gespecificeerd. Indien u andere accessoires en werktuigen gebruikt, kan dit het risico op letsel en brand verhogen.
Het aansluiten van de acculader op een stopcontact met een ongeschikte spanning kan leiden tot brand of een elektrische schok. Gebruik bij een afwijkend stopcontact indien nodig een adapterstekker van het juiste type.
Gebruik geen beschadigd of aangepast accupack of beschadigde of aangepaste acculader. Deze kunnen onverwacht gedrag vertonen, wat kan leiden tot brand, explosie of lichamelijk letsel.
Als het stroomsnoer van de acculader beschadigd is, neem dan contact op met een erkende servicedealer om het te vervangen.
Gebruik geen niet-oplaadbare batterijen.
Laad het accupack enkel op met de acculader die door Toro is gespecificeerd. Een lader die geschikt is voor het ene type accupack kan in combinatie met een ander accupack voor brandgevaar zorgen.
Laad het accupack alleen op in een goed verluchte ruimte.
Stel het accupack of de acculader niet bloot aan een brand of aan temperaturen hoger dan 68 °C.
Volg alle instructies aangaande het laden en laad het accupack niet op buiten het temperatuurbereik dat wordt gespecificeerd in de instructies. Anders kunt u het accupack beschadigen en het risico op brand verhogen.
Bediening
Blijf altijd uit de buurt van afvoeropeningen.
Schakel de zelfaandrijving uit (indien aanwezig) voordat u de machine start.
Voorkom dat u de machine ongewild start – Zorg ervoor dat de elektrische startknop is verwijderd van de ontsteking voordat u het accupack aansluit en de machine hanteert.
Stop de machine, verwijder de elektrische startknop, verwijder het accupack van de machine en wacht totdat alle bewegende onderdelen tot stilstand zijn gekomen voordat u de machine schoonmaakt of er servicewerkzaamheden aan verricht.
Verwijder het accupack en de elektrische startknop uit de machine wanneer u deze onbeheerd achterlaat of voordat u de accessoires wisselt.
Het materiaal dat afgevoerd wordt niet naar iemand richten. Voorkom het afvoeren van materiaal tegen een muur of afscherming; het materiaal kan naar u terugketsen. Zet het mes/de messen stil bij het oversteken van grindoppervlakken.
Kijk uit voor gaten, geulen, hobbels, stenen of andere verborgen objecten. Op oneffen terrein kunt u uw evenwicht verliezen of wegglijden.
Als de machine een voorwerp raakt of begint te trillen, schakel de machine dan onmiddellijk uit, verwijder de elektrische startknop, verwijder het accupack en wacht totdat alle bewegende onderdelen tot stilstand zijn gekomen voordat u de machine controleert op beschadiging. Voer alle noodzakelijke reparaties uit voordat u de machine weer in gebruik neemt.
Stop de machine en verwijder de elektrische startknop voordat u de machine laadt voor transport.
Bij verkeerd gebruik kan vloeistof uit het accupack lekken; vermijd contact hiermee. Als u per ongeluk in contact komt met de vloeistof, moet u spoelen met water. Als de vloeistof in uw ogen terechtkomt, moet u naar een arts gaan. Vloeistof die uit de accu ontsnapt, kan irritatie van de huid of brandwonden veroorzaken.
Onderhoud en opslag
Stop de machine, verwijder de elektrische startknop, verwijder het accupack van de machine en wacht totdat alle bewegende onderdelen tot stilstand zijn gekomen voordat u de machine schoonmaakt of er servicewerkzaamheden aan verricht.
Probeer de machine niet te herstellen behalve als dit aangegeven is in de instructies. Laat een erkende servicedealer servicewerkzaamheden uitvoeren aan de machine en zorg ervoor dat hij/zij identieke vervangingsonderdelen gebruikt.
Slijp een bot mes aan beide zijden om de balans te behouden. Maak het mes schoon en controleer of het uitgebalanceerd is.
Wanneer u servicewerkzaamheden uitvoert aan het mes, moet u zich ervan bewust zijn dat het mes nog kan worden bewogen zelfs wanneer de stroomaansluiting is losgekoppeld.
Gebruik alleen originele vervangingsonderdelen en accessoires van Toro voor de beste prestaties. Gebruik nooit andere vervangingsonderdelen en accessoires, omdat dit gevaarlijk kan zijn. Dit kan ertoe leiden dat de garantie op het product komt te vervallen.
Onderhoud de machine – Houd snijranden scherp en schoon voor de beste en veiligste prestaties. Houd handgrepen droog, schoon en vrij van olie en smeervet. Laat de beveiligingen zitten en zorg dat ze naar behoren werken. Houd de messen scherp. Gebruik enkel identieke vervangingsmessen.
Tenzij anders aangegeven in de instructies moet u een erkende servicedealer een beschadigde beschermkap of beschadigd onderdeel laten herstellen of vervangen.
Als het accupack niet wordt gebruikt, hou het dan uit de buurt van metalen voorwerpen zoals paperclips, muntjes, sleutels, nagels en schroeven die een brug kunnen vormen tussen de polen. Kortsluiting tussen de accupolen kan brandwonden en brand veroorzaken.
Controleer regelmatig of het mes en de montagebouten van de motor stevig vastzitten.
OPGELET – Een verkeerd behandeld accupack kan brand of chemische brandwonden veroorzaken. Demonteer het accupack niet. Verhit het accupack niet boven 68 °C en verbrand deze niet. Vervang het accupack alleen door een origineel Toro accupack, het gebruik van een ander accupack kan leiden tot brand of een explosie. Hou accupacks buiten het bereik van kinderen en in de originele verpakking totdat u ze gaat gebruiken.
De accu niet verbranden. De cel kan ontploffen. Controleer of er plaatselijke voorschriften gelden om de accu af te voeren.
![]() |
Veiligheidsstickers en veiligheidsinstructies zijn gemakkelijk zichtbaar voor de bestuurder en bevinden zich bij plaatsen waar gevaar kan ontstaan. Vervang alle beschadigde of ontbrekende stickers. |








Important: Verwijder de beschermfolie van de motor en gooi deze weg.
Benodigde onderdelen voor deze stap:
| Deksel van accucompartiment | 1 |
Lijn de vergrendelingen op het deksel uit met de sleuven en druk naar beneden om het deksel vast te zetten.

Benodigde onderdelen voor deze stap:
| Onderste duwboom | 2 |
| Klemplaat | 2 |
| Steunduwboom | 2 |
| Korte bout | 2 |
| Platte ring | 4 |
| Borgmoer | 8 |
| Bovenste duwboom | 1 |
| Veerring | 6 |
| Lange bout | 4 |
| Dopmoer | 6 |
Bij verkeerde montage van de handgreep kunnen de kabels beschadigd worden, wat een onveilige situatie veroorzaakt.
Zorg ervoor dat u de kabels niet beschadigt als u de handgreep monteert.
Zorg dat de kabels langs de binnenkant van de handgreep lopen en niet gegrepen worden door de afvoergeleider aan de achterzijde.
Indien een kabel is beschadigd, moet u contact opnemen met uw erkende Toro distributeur.
Verwijder de borgmoeren van de 2 uitstekende bouten bovenaan het maaidek.
Monteer aan weerszijden bovenaan het maaidek een onderste duwboom; gebruik hierbij een klemplaat en de borgmoeren die u in de vorige stap (1) hebt verwijderd van het maaidek .
Note: De onderste duwboombuizen zijn in het midden gebogen; breng de buizen aan met het gebogen gedeelte van de buis naar beneden gericht.

Monteer het onderste deel van de steunduwbomen aan weerszijden van het maaidek; gebruik hierbij een korte bout, platte ringen aan de binnen- en buitenkant van het maaidek, en een borgmoer (Figuur 5).

Monteer de bovenste duwboom en het bovenste deel van de steunduwbomen op de onderste duwbomen; gebruik hierbij aan beide kanten 3 veerringen, 2 lange bouten en 2 borgmoeren (Figuur 6).

Breng dopmoeren aan op alle blootliggende moeren van de duwbomen.
Benodigde onderdelen voor deze stap:
| Grasvanger | 1 |
| Frame van de grasvanger | 1 |



De snelheid vooruit van de machine wordt geregeld door het MatchDrive® systeem en heeft drie vaste instellingen en een optie variabele snelheid. Door de snelheid van zelfaandrijving in te stellen, kunnen bestuurders op meerdere machines een consistente maaikwaliteit en prestatieniveau bereiken.
Druk op de knop voor de snelheidsregeling op het bedieningspaneel van de aandrijfunit om te schakelen tussen de vaste snelheidsinstellingen. Er zal een lampje gaan branden onder de geselecteerde snelheidsinstelling:
I – Traag – 3,0 km/h
II – Medium – 4,0 km/h
III – Snel – 5,2 km/h

Met de instelling IV (Figuur 11) op de snelheidsknop kunt u de snelheid van de machine regelen met het regelwiel op de elektrische startknop. Draai het wiel naar rechts om te versnellen en naar links om te vertragen, van een lage snelheid van 1,6 km/h naar een hoge snelheid van 5,6 km/h.

Deze machine heeft 2 instellingen voor het mestoerental: STANDAARD en ECO.
Wanneer het mestoerental is ingesteld op STANDAARD, blijft het mestoerental altijd op een vast toerental.
Wanneer het mestoerental is ingesteld op ECO, blijft het mestoerental altijd op het laagste toerental (tenzij de machine zwaar wordt belast). Deze snelheid is ideaal voor het mulchen van gras na het maaien en hierbij wordt de accu het efficiëntst gebruikt.
| Instelling voor mestoerental | Toerental (tpm) |
| STANDAARD | 2800 |
| ECO | 2400 |
De machine start automatisch in de instelling STANDAARD. Druk op de knop voor het mestoerental op het bedieningspaneel van de aandrijfunit om de instelling voor het mestoerental te wijzigen (Figuur 13).

Het bedieningspaneel van de aandrijfunit heeft verschillende waarschuwingslampjes en geeft de huidige accustatus weer.
Als er een storing is aan de tandwielkast, gaan er 4 waarschuwingslampjes knipperen (A van Figuur 14); zie .
Het accustatuspaneel geeft met lampjes de laadtoestand van de accupacks weer en geeft ook aan of er problemen of fouten zijn met de accupacks (B van Figuur 14). Als de accupacks bijna leeg zijn (<10%), knippert het onderste van de 4 laadniveaulampjes.
Als er een fout is met een accupack, knipperen er foutlampjes aan de onderkant van het accustatuspaneel (B van Figuur 14). Het linker foutlampje stemt overeen met het linker accupack (gezien vanuit de bestuurderspositie), en het rechter foutlampje stemt overeen met het rechter accupack.

|
Model |
Maaibreedte |
Lengte |
Breedte |
Hoogte |
Gewicht |
|---|---|---|---|---|---|
|
02660T | 56 cm | 175,5 cm | 61 cm | 103 cm | 52,7 kg |
|
Laden of opslaan van de accu |
Gebruiken van de accu |
Gebruiken van de machine |
|---|---|---|
|
5 °C tot 40 °C* |
-30 °C tot 49 °C* |
0 °C tot 49 °C* |
* De oplaadtijd zal langer zijn als u het/de accupack(s) niet binnen dit temperatuurbereik oplaadt.
Sla de machine, het/de accupack(s) en de acculader(s) op in een afgesloten schone, droge ruimte.
Een selectie van door Toro goedgekeurde werktuigen en accessoires is verkrijgbaar voor gebruik met de machine om de mogelijkheden daarvan te verbeteren en uit te breiden. Neem contact op met een erkende servicedealer of een erkende Toro distributeur of bezoek www.Toro.com voor een lijst van alle goedgekeurde werktuigen en accessoires.
Om de beste prestaties te verkrijgen en ervoor te zorgen dat de veiligheidscertificaten van de machine blijven gelden, moet u ter vervanging altijd originele onderdelen en accessoires van Toro aanschaffen. Vervangende onderdelen en accessoires van andere fabrikanten kunnen tot gevaar leiden.
Important: Gebruik het/de accupack(s) alleen bij temperaturen die binnen het gepaste temperatuurbereik liggen; zie Specificaties.
Zorg ervoor dat de elektrische startknop niet op de machine is gemonteerd.
Zorg ervoor dat er geen stof of vuil ligt op de openingen en oplaadterminals in het/de accupack(s).
Til het deksel van het accucompartiment op (A van Figuur 15).
Lijn de holte in het/de accupack(s) uit met de koppelingen op de machine en schuif het/de accupack(s) in het compartiment tot het vastklikt (B van Figuur 15).
Sluit het deksel van het accucompartiment (C van Figuur 15).
Note: Als het deksel van het accucompartiment niet volledig sluit, zijn het/de accupack(s) niet goed geplaatst.De machine kan worden gebruikt met 1 of twee accupacks geplaatst.

De elektrische startknop is opgeborgen in het accucompartiment voor een veilige levering. Verwijder hem uit het compartiment en bewaar hem op een veilig plek voordat u hem monteert.
Bij het instellen van de maaihoogte kunnen uw handen een bewegend mes raken. Dit kan ernstig lichamelijk letsel veroorzaken.
Zet de motor af, verwijder het/de accupack(s) en wacht totdat alle bewegende onderdelen tot stilstand zijn gekomen voordat u de maaihoogte afstelt.
Plaats uw vingers niet onder de maaikast als u de maaihoogte instelt.
Trek de maaihoogtehendel opzij uit de inkeping (Figuur 16).

Druk de hendel naar voren om de maaihoogte te verkleinen of naar achteren om deze te verhogen (Figuur 16).
Laat de hendel los als de gewenste instelling bereikt is en controleer of de hendel in 1 van de 7 inkepingen geborgd wordt (Figuur 16).
| Hoogte-instelling | Maaihoogte |
| 1 | 13,0 mm |
| 2 | 20,8 mm |
| 3 | 28,7 mm |
| 4 | 36,5 mm |
| 5 | 44,3 mm |
| 6 | 52,2 mm |
| 7 | 60,0 mm |
De MatchCut hoogte-instelling geeft u 6 bijkomende hoogte-instellingen. Met deze functie kunt u het keuzeplaatje van de maaihoogte per halve stand aanpassen.
Zet de bevestigingsbout van het keuzeplaatje los met een inbussleutel (Figuur 17).

Draai het MatchCut afstelmechanisme 180° (Figuur 17 en Figuur 18).
Note: Er verschijnt een indicator onderaan het keuzeplaatje ten teken dat MatchCut is ingesteld.

Draai de bevestigingsbout van het keuzeplaatje aan om het keuzeplaatje van de maaihoogte te borgen.
| Hoogte-instelling (met MatchCut) | Maaihoogte |
| 1,5 | 16,9 mm (11/16") |
| 2,5 | 24,8 mm (1") |
| 3,5 | 32,6 mm (1¼") |
| 4,5 | 40,4 mm (1-9/16") |
| 5,5 | 48,3 mm (1⅞") |
| 6,5 | 56,1 mm (2-3/16") |
Zorg ervoor dat het/de accupack(s) in de machine zijn geplaatst; zie Een accupack monteren.
Plaats de elektrische startknop [zie De elektrische startknop zoeken] in de elektrische startschakelaar (A van Figuur 19).
Knijp de bedieningsstang in en houd deze tegen de handgreep (B van Figuur 19).
Druk op de elektrische startknop tot de machine start en de het mes begint te draaien (C van Figuur 19).

U bedient de zelfaandrijving als volgt:
De zelfaandrijving inschakelen:
Terwijl het maaimes ingeschakeld is, drukt u de stang van de zelfaandrijving in (Figuur 20).
Als het maaimes niet ingeschakeld is, moet u de elektrische startknop twee keer indrukken en loslaten en vervolgens binnen 15 seconden de stang van de zelfaandrijving indrukken.
Om de zelfaandrijving uit te schakelen, laat u de stang los.
Note: Na uitschakeling moet u 2 seconden wachten alvorens de stang van de zelfaandrijving opnieuw in te drukken: dit stelt de transmissie in staat de koppeling vrij te stellen. Doet u dit niet, dan kunnen er waarschuwingslampjes gaan branden op de aandrijfunit en wordt de aandrijving mogelijk uitgeschakeld.
Note: Als de stang voor zelfaandrijving wordt losgelaten, kunt u de zelfaandrijving opnieuw inschakelen zonder dat u op de elektrische startknop hoeft te drukken als u de stang binnen 15 seconden indrukt.
De rijsnelheid van de machine kan worden aangepast door de toerentalregelaar te bedienen; zie De snelheid van zelfaandrijving selecteren.
Note: Als de stang van de zelfaandrijving uitgeschakeld is, kunt u de maaier duwen. Dit is handig als u een klein oppervlak moet maaien.

Laat de bedieningsstang van het maaimes los (A van Figuur 21).
Important: Als u de bedieningsstang loslaat, moet het mes binnen 3 seconden tot stilstand komen. Als dit niet gebeurt, mag u de machine niet verder gebruiken en moet u contact opnemen met een erkende Toro distributeur.
Verwijder de elektrische startknop uit de elektrische startschakelaar (B van Figuur 21).

Note: Wanneer u de machine voor een langere periode niet gebruikt, moet u de elektrische startknop en het/de accupack(s) verwijderen; zie Vóór de stalling.
Til het deksel van het accucompartiment op.
Druk op de accupackvergrendelingen om het/de accupack(s) los te maken en verwijder het/de accupack(s).
Sluit het deksel van het accucompartiment.
Gebruik de grasvanger als u maaisel en bladafval wilt verzamelen.
Een versleten grasvanger kan rommel uitwerpen, waardoor de gebruiker of omstanders ernstig lichamelijk of dodelijk letsel kunnen oplopen.
Controleer de grasvanger regelmatig. Plaats een nieuwe Toro grasvanger als de oude is beschadigd.
Schakel de machine uit en wacht totdat alle bewegende onderdelen tot stilstand gekomen zijn.
Verwijder de elektrische startknop en het/de accupack(s).
Zet de achteruitworpgeleider omhoog en houd hem in deze stand.
Monteer de grasvanger op zijn plaats (Figuur 22).

Laat de achtergeleider zakken zodat deze komt te rusten op de grasvanger.
De machine kan maaisel en andere voorwerpen uitwerpen door een opening in de behuizing van de machine. Voorwerpen die met genoeg kracht worden weggeslingerd kunnen ernstig of zelfs dodelijk letsel toebrengen aan u of aan omstanders.
Open nooit de afvoergeleider aan de achterzijde van de machine terwijl de machine nog draait.
Important: Gebruik de maaier enkel als de grasvanger op zijn plaats zit of de grasgeleider achteraan gesloten is.
Schakel de machine uit en wacht totdat alle bewegende onderdelen tot stilstand gekomen zijn.
Verwijder de elektrische startknop en het/de accupack(s).
Zet de achteruitworpgeleider omhoog en houd hem in deze stand.
Maak de grasvanger los.
Laat de achtergeleider zakken zodat deze komt te rusten op het maaidek.
Zorg ervoor dat het mes geen vaste voorwerpen raakt. Maai nooit met opzet over voorwerpen.
De beste resultaten krijgt u door een nieuw mes te monteren voordat het maaiseizoen begint.
Vervang indien nodig het maaimes door een Toro mes.
Houd er rekening mee dat gras niet het hele jaar door even snel groeit. In de zomerhitte kunt u het gras het beste op de hoogste maaihoogte maaien. U moet telkens niet meer dan een derde van de lengte van het gras afmaaien. Maai niet met de laagste maaihoogte-instelling tenzij de grasmat dun is, of als het laat in het najaar is wanneer het gras langzamer begint te groeien. Maai het gras met een hogere maaihoogte voor een betere gangtijd.
Gebruik voor optimale prestaties, vooral in uitdagende omstandigheden, de STANDAARD instelling voor het mestoerental en maai in een langzamer tempo.
Als u lang gras wilt maaien, moet u eerst maaien bij de maximale maaihoogte en een langzamere snelheid. Vervolgens gaat u maaien bij een lagere maaihoogte om het gazon een zo fraai mogelijk uiterlijk te geven. Als het gras te lang is en in hoopjes achterblijft op het gazon, kan de maaimachine geblokkeerd raken, waardoor de aandrijfunit afslaat.
Nat gras en natte bladeren gaan aankoeken, waardoor de machine verstopt kan raken of de motor kan vastlopen. Gebruik de machine niet in vochtige omstandigheden.
Wees bedacht op het risico van brand in zeer droge omstandigheden; neem alle plaatselijke brandwaarschuwingen in acht en houd de machine vrij van droog gras en bladafval.
Maai steeds in wisselende richtingen. Hierdoor wordt het maaisel beter over het gazon verstrooid, zodat het gazon gelijkmatig wordt bemest.
Als u met het uiterlijk van het voltooide gazon niet tevreden bent, probeer dan een of meer van de volgende stappen:
Slijp het mes.
Maai met lagere snelheid.
Stel de maaimachine in op een hogere maaihoogte.
Maai het gras vaker.
Laat de maaibanen overlappen in plaats van steeds een volledig nieuwe baan te maaien.
Na het maaien moet altijd 50% van het gazon zichtbaar blijven door de bladerlaag. Dit kan een of meerdere rondgangen over de bladeren vereisen.
Als er een laag bladeren van meer dan 13 cm op het gazon ligt, moet u eerst met een hogere maaihoogte werken en vervolgens nogmaals maaien op de gewenste hoogte.
Als de maaimachine de bladeren niet fijn genoeg maakt, is het beter om wat langzamer te maaien.
Important: Het accupack is niet volledig opgeladen bij aankoop. Voordat u het gereedschap voor het eerst gebruikt, plaatst u het accupack in de lader en laat u het opladen tot het leddisplay aangeeft dat het accupack volledig opgeladen is. Lees alle veiligheidsrichtlijnen.
Important: Laad het accupack alleen op bij temperaturen die binnen het gepaste temperatuurbereik liggen; zie Specificaties.
Note: U kunt altijd drukken op de knop van de indicator van de accuspanning op het accupack om de huidige lading weer te geven (ledindicators).
Zorg ervoor dat er geen stof of vuil ligt op de openingen en oplaadterminals in het/de accupack(s) en oplader.

Lijn de holte in het accupack (Figuur 23) uit met de koppeling op de lader.
Schuif het accupack in de lader tot het volledig op zijn plaats zit (Figuur 23).
Om het accupack te verwijderen, schuift u de accu naar achteren uit de lader.
De volgende tabel geeft aan wat de toestand van het ledlampje op de acculader betekent.
| Indicatielampje | Betekenis |
| Uit | Geen accupack ingebracht |
| Groen, knipperend | Accu wordt geladen |
| Groen | Accu is geladen |
| Rood | Het accupack en/of de acculader zijn/is boven of onder het geschikte temperatuurbereik |
| Rood, knipperend | Laadstoring van accupack* |
*Raadpleeg voor meer informatie.
Important: Gaat u een machine met korte tussenperiodes verschillende keren gebruiken, dan kunt u het accupack in de lader laten zitten.Als u het accupack lange tijd niet gaat gebruiken, haal het accupack dan uit de lader; zie Vóór de stalling.
| Onderhoudsinterval | Onderhoudsprocedure |
|---|---|
| Na elk gebruik |
|
Er kan materiaal losraken dat zit vastgekoekt aan de onderkant van de maaimachine.
Draag oogbescherming.
Blijf in de bedieningspositie (achter de handgreep) als de motor loopt.
Houd omstanders uit de buurt.
Gebruik voor de beste resultaten de snelwasaansluiting om de machine schoon te maken kort nadat u klaar bent met maaien.
Important: Maak het maaidek onmiddellijk grondig schoon na gebruik op behandeld gras.
Schakel de machine uit en wacht totdat alle bewegende onderdelen tot stilstand gekomen zijn.
Verwijder de elektrische startknop en het/de accupack(s).
Zet de machine in de laagste maaistand; zie De maaihoogte instellen.
Bevestig een tuinslang die aangesloten is op een kraan aan de snelwasaansluiting (Figuur 24).

Draai de kraan open.
Plaats de elektrische startknop en het/de accupack(s), start de machine, schakel het maaimes in en laat het draaien tot er geen maaisel meer van onder de machine komt.
Important: Richt geen water op de transmissie.
Schakel de machine uit, draai de kraan dicht en maak de tuinslang los van de machine.
Start de motor en laat deze een paar minuten lopen om de onderzijde van de machine te drogen zodat deze niet gaat roesten.
Schakel de machine uit en laat deze afkoelen voordat u ze in een afgesloten ruimte opslaat.
Note: Bepaal vanuit de normale bestuurderspositie de linker- en rechterzijde van de machine.
| Onderhoudsinterval | Onderhoudsprocedure |
|---|---|
| Bij elk gebruik of dagelijks |
|
| Na elk gebruik |
|
| Om de 25 bedrijfsuren |
|
| Jaarlijks |
|
Plaats de machine op een horizontaal oppervlak.
Schakel de machine uit, verwijder de elektrische startknop, en verwijder alle accupacks van de machine.
| Onderhoudsinterval | Onderhoudsprocedure |
|---|---|
| Om de 25 bedrijfsuren |
|
Important: Laat de motor nooit zonder luchtfilter draaien; anders wordt de motor ernstig beschadigd.
Voer de voorbereidingen voor het onderhoud uit, zie Voorbereidingen voor onderhoudswerkzaamheden.
Maak het deksel en het schuimfilter los en verwijder ze. Reinig beide grondig (Figuur 25).

Monteer het schuimfilter in de achterste kap en monteer het in de aandrijfunit.
| Onderhoudsinterval | Onderhoudsprocedure |
|---|---|
| Om de 25 bedrijfsuren |
|
Voer de voorbereidingen voor het onderhoud uit, zie Voorbereidingen voor onderhoudswerkzaamheden.
Verwijder de bovenste kap door de 4 bouten (M6) en een drukklinknagel te verwijderen (Figuur 26).

Verwijder met een borstel al het vuil van de transmissie, vooral van de ventilator en ventilatieopeningen van de transmissie (Figuur 26).
Important: Probeer de transmissie niet schoon te maken met water of perslucht.
Monteer de kap met de eerder verwijderde bevestigingen.
| Onderhoudsinterval | Onderhoudsprocedure |
|---|---|
| Om de 25 bedrijfsuren |
|
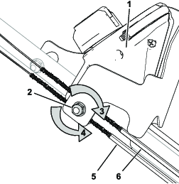
Wanneer u een nieuwe kabel monteert, of als de kabel van de zelfaandrijving of de maaikoppelingskabel niet goed is afgesteld, moet u de kabels afstellen.
Draai de stelmoer linksom om het afstelmechanisme van de kabel los te zetten (Figuur 27).

Stel de kabelspanning af (Figuur 27) door de kabels naar achteren of naar voren te bewegen en ze in deze positie te houden.
Draai de stelmoer rechtsom om de afstelling van de kabel te borgen.
Note: Draai de moer stevig vast met een dopsleutel of een moersleutel.
Important: Span de kabels niet te hard aan, anders kunnen de elektrische bedieningsschakelaars worden beschadigd.
| Onderhoudsinterval | Onderhoudsprocedure |
|---|---|
| Bij elk gebruik of dagelijks |
|
| Jaarlijks |
|
Important: U hebt een momentsleutel nodig om het mes op correcte wijze te monteren. Als u geen momentsleutel hebt of niet goed weet hoe u de montage moet uitvoeren, kunt u contact opnemen met een erkende servicedealer.
Een beschadigd of gescheurd mes moet direct worden vervangen. Als de snijrand bot is of bramen vertoont, moet u het mes laten slijpen en balanceren of het mes vervangen.
Het maaimes is scherp, contact met het maaimes kan ernstig lichamelijk letsel veroorzaken.
Gebruik handschoenen als u het mes monteert.
Kantel de maaimachine op zijn zij met de maaihoogtehendel naar boven.
Gebruik een blok hout om het mes stil te houden (Figuur 28).

Verwijder het mes en bewaar alle bevestigingselementen (Figuur 28).
Monteer het nieuwe mes en alle bevestigingselementen (Figuur 29).

Important: De gebogen uiteinden van het mes moeten naar de machine wijzen.
Gebruik een momentsleutel om de mesbout vast te draaien met 75 N·m.
| Onderhoudsinterval | Onderhoudsprocedure |
|---|---|
| Bij elk gebruik of dagelijks |
|
| Om de 25 bedrijfsuren |
|
Een licht versleten mes kan geslepen worden. Slijp de beide randen van het mes in gelijke mate opdat het mes uitgebalanceerd blijft.
Verwijder het mes van de machine; raadpleeg Het maaimes vervangen.
Maak het mes schoon met een borstel en water, en controleer het mes op sporen van slijtage.
Scherp de beide snijranden met een platte vijl.

Schuif een schroevendraaier door het middelste gat en hou het mes horizontaal.
Note: Een uitgebalanceerd mes zal horizontaal blijven staan.

Slijp de zware kant tot het mes de juiste balans heeft.
Note: Als het mes niet in balans is, draait de zwaarste kant naar beneden.

Important: Neem het accupack van het gereedschap en bedek de contacten met stevig plakband. Probeer niet om het accupack te vernietigen of te demonteren, of onderdelen ervan te verwijderen.
Neem contact op met uw plaatselijke gemeente of uw erkende Toro distributeur voor meer informatie over hoe u de accu op een verantwoorde manier kunt recyclen.
Important: Sla de machine, het accupack en de lader alleen op bij temperaturen die binnen het gepaste temperatuurbereik liggen; zie Specificaties.
Important: Als u het accupack opslaat na het sneeuwseizoen, laad het dan op tot er 1 of 2 led-lampjes op de accu groen worden. Berg een volledig opgeladen of volledige lege accu niet op. Wanneer u de machine weer nodig hebt, laadt u het accupack op totdat het ledlampje links op de lader groen oplicht of alle 4 de ledlampjes op de accu groen oplichten.
Koppel het product los van de voedingsbron (d.w.z. verwijder het/de accupack(s) en de elektrische startknop) en controleer op beschadiging na gebruik.
Sla de machine of de lader niet op terwijl het accupack gemonteerd is.
Verwijder al het vuil van het product.
Wanneer de machine niet wordt gebruikt, moet u de machine, de elektrische startknop, het/de accupack(s) en de acculader(s) opbergen buiten het bereik van kinderen.
Houd de machine, het/de accupack(s) en de acculader(s) uit de buurt van bijtende producten, zoals tuinchemicaliën en strooizout.
Om het risico op ernstig lichamelijk letsel te verkleinen, mag u het/de accupack(s) niet buiten of in een voertuig stallen.
Sla de machine, het/de accupack(s) en de acculader(s) op in een afgesloten schone, droge ruimte.
Voer alleen de stappen uit die zijn omschreven in deze instructies. Indien u het probleem zelf niet kunt oplossen moeten de verdere inspectie, onderhoud en reparaties moeten worden uitgevoerd door een erkende Toro distributeur of een vergelijkbare specialist.
| Problem | Possible Cause | Corrective Action |
|---|---|---|
| De machine start niet. |
|
|
| De machine loopt niet of niet continu. |
|
|
| De machine kan niet op volle kracht draaien. |
|
|
| De accupacks verliezen snel de lading. |
|
|
| De acculader werkt niet. |
|
|
| Het ledindicatielampje op de acculader is rood. |
|
|
| Het ledlampje op de acculader knippert rood. |
|
|
| De machine maakt een piepend geluid. |
|
|
| De zelfaandrijving van de maaimachine werkt niet. |
|
|
| De machine heeft een lagere snelheid vooruit. |
|
|
| De tandwielkast produceert een ander geluid/andere toon. |
|
|
| De machine of maaimesmotor trilt overmatig of maakt overmatig veel lawaai. |
|
|
| De maaikwaliteit neemt af of is onbevredigend. |
|
|
| Het opvangen van het maaisel neemt af of is onbevredigend. |
|
|
| De machine maait ongelijkmatig. |
|
|