| Cadenza di manutenzione | Procedura di manutenzione |
|---|---|
| Dopo ogni utilizzo |
|
Questo tosaerba con operatore a terra per tappeti erbosi a lama rotante è destinato all'utilizzo da parte di operatori professionisti a contratto. Il suo scopo è quello di tagliare l'erba di prati ben tenuti di complessi residenziali o proprietà commerciali. È progettato per utilizzare pacchi batteria Flex-Force Power System® agli ioni di litio da 60 V. Questi pacchi batteria sono progettati per essere caricati esclusivamente con caricabatterie Flex-Force™ per batterie agli ioni di litio da 60 V. L'utilizzo di questi prodotti per scopi non conformi alle funzioni per cui sono stati concepiti può essere pericoloso per voi e gli astanti.
Leggete attentamente queste informazioni al fine di utilizzare e mantenere correttamente il prodotto e di evitare infortuni e danni. Voi siete responsabili del corretto utilizzo del prodotto, all'insegna della sicurezza.
Visitate il sito www.Toro.com per maggiori informazioni, compresi suggerimenti sulla sicurezza, materiali di formazione, informazioni sugli accessori, assistenza nella localizzazione di un rivenditore o per registrare il vostro prodotto.
Per assistenza, ricambi originali Toro o ulteriori informazioni, rivolgetevi a un Distributore Toro autorizzato o a un Centro Assistenza Toro, e abbiate sempre a portata di mano il numero del modello e il numero di serie del prodotto. Figura 1 indica la posizione del numero di modello e di serie sul prodotto. Scrivete i numeri nell'apposito spazio.

Scrivete il numero del modello e il numero di serie nello spazio seguente:
Il simbolo di avviso di sicurezza (Figura 2) mostrato in questo manuale e sulla macchina richiama la vostra attenzione su importanti messaggi di sicurezza di cui dovrete seguire le indicazioni per evitare incidenti.

Il simbolo di avviso di sicurezza compare sopra l'informazione che vi avverte di azioni o situazioni non sicure ed è seguito dalla parola PERICOLO, AVVERTENZA o ATTENZIONE.
PERICOLO indica una situazione di pericolo imminente che, se non evitata, determina la morte o gravi infortuni.
AVVERTENZA indica una situazione di pericolo potenziale che, se non evitata, potrebbe determinare la morte o gravi infortuni.
ATTENZIONE indica una situazione di pericolo potenziale che, se non evitata, potrebbe determinare infortuni lievi o moderati.
Per evidenziare le informazioni vengono utilizzate anche altre due parole. Importante indica informazioni meccaniche di particolare importanza, e Nota evidenzia informazioni generali di particolare rilevanza.
Non manomettete o disattivate i dispositivi di sicurezza sulla macchina e verificatene il corretto funzionamento regolarmente. Non tentate di regolare o manomettere il comando di velocità del motore: così facendo potreste creare condizioni operative non sicure e determinare infortuni personali.
Questo prodotto è conforme a tutte le direttive europee pertinenti; vedere i dettagli nella Dichiarazione di conformità specifica del prodotto, fornita a parte.
CALIFORNIA
Avvertenza norma "Proposition 65"
Il cavo di alimentazione di questo prodotto contiene piombo, sostanza chimica che nello Stato della California è considerata causa di anomalie e di altre problematiche della riproduzione. Lavate le mani dopo averlo maneggiato.
L'utilizzo del presente prodotto potrebbe esporre a sostanze chimiche che nello Stato della California sono considerate cancerogene e causa di anomalie congenite o di altre problematiche della riproduzione.
Leggete tutte le avvertenze di sicurezza, le istruzioni, le illustrazioni e le specifiche fornite con questo utensile elettrico. Il mancato rispetto di tutte le istruzioni elencate di seguito può causare scosse elettriche, incendi e/o gravi lesioni personali.
Conservate tutte le avvertenze e le istruzioni per riferimento futuro.
Il termine “utensile elettrico” nelle avvertenze si riferisce all'utensile alimentato tramite rete elettrica (cablato) o a batteria (cordless).
Sicurezza dell'area di lavoro
Mantenete l'area di lavoro pulita e ben illuminata. Le aree in disordine o buie aumentano il rischio di incidenti.
Non utilizzate gli utensili elettrici in atmosfere esplosive, ad esempio in presenza di liquidi, gas o polveri infiammabili. Gli utensili elettrici generano scintille che possono infiammare la polvere o i vapori.
Quando utilizzate un utensile elettrico, tenete a distanza i bambini e i presenti. Le disattenzioni possono causare la perdita di controllo.
Sicurezza elettrica
Le spine degli utensili elettrici devono corrispondere alla presa. Non modificate mai in alcun modo la spina. Non utilizzate adattatori con utensili elettrici dotati di messa a terra. Le spine non modificate con prese corrispondenti ridurranno il rischio di scosse elettriche.
Evitate il contatto del corpo con superfici dotate di messa a terra, ad esempio tubi, radiatori, fornelli o refrigeratori. Il rischio di folgorazione è maggiore se il vostro corpo è collegato a terra.
Non esponete gli utensili elettrici a pioggia o condizioni di umidità. L'acqua che penetra in un utensile elettrico aumenterà il rischio di scosse elettriche.
Non maltrattate il cavo. Non utilizzate mai il cavo per trasportare, tirare o scollegare l'utensile elettrico. Tenete il cavo lontano da calore, olio, bordi affilati o parti mobili. Cavi danneggiati o attorcigliati aumentano il rischio di folgorazione.
Durante l'utilizzo di un utensile elettrico all'esterno, adoperate una prolunga adatta all'uso all'aperto. L'uso di un cavo adatto all'uso all'aperto riduce il rischio di folgorazione.
Se l'uso di un utensile elettrico in un'area umida è inevitabile, utilizzate un'alimentazione protetta da un interruttore differenziale. L'uso di un interruttore differenziale riduce il rischio di folgorazione.
Sicurezza personale
L'uso di un utensile elettrico richiede attenzione, cautela e buon senso. Non utilizzate un utensile elettrico se siete stanchi o sotto l'influsso di droghe, alcol o farmaci. Un momento di disattenzione durante l'utilizzo di un utensile elettrico può causare gravi lesioni personali.
Utilizzate dispositivi di protezione personale. Usate sempre occhiali di sicurezza. Dispositivi di protezione come maschera antipolvere, scarpe di sicurezza antiscivolo, casco o protezioni per l'udito utilizzati nelle condizioni opportune riducono le lesioni personali.
Prevenite avviamenti accidentali. Accertatevi che l'interruttore sia in posizione di spegnimento prima di effettuare il collegamento a una presa di corrente e/o al pacco batteria e prima di afferrare o trasportare l'utensile. Trasportare utensili elettrici con un dito sull'interruttore o mettere sotto carica utensili elettrici con l'interruttore in posizione di accensione favorisce gli incidenti.
Rimuovete eventuali chiavi o attrezzi di regolazione prima di accendere l'utensile elettrico. Un attrezzo o una chiave lasciata applicata a una parte rotante dell'utensile elettrico può causare lesioni personali.
Non sporgetevi. Mantenete una posizione salda sui piedi e un buon equilibrio in ogni momento. Ciò consente un migliore controllo dell'utensile elettrico in situazioni impreviste.
Indossate abiti adeguati. Non indossate abiti larghi o gioielli. Tenete lontani i capelli e i capi di abbigliamento dalle parti in movimento. Abiti larghi, gioielli o capelli lunghi sciolti potrebbero rimanere intrappolati nelle parti in movimento.
Se i dispositivi prevedono il collegamento di mezzi per la raccolta e l'estrazione della polvere, accertatevi che siano collegati e utilizzati in maniera appropriata. L'utilizzo di mezzi per la raccolta della polvere può ridurre i pericoli associati alla polvere.
Non lasciate che la familiarità ottenuta dall'uso frequente degli utensili vi porti a un eccesso di sicurezza, facendovi ignorare i principi di sicurezza dell'utensile. Una piccola disattenzione può causare gravi infortuni in una frazione di secondo.
Utilizzo e cura dell'utensile elettrico
Non forzate l'utensile elettrico. Utilizzate l'utensile elettrico corretto per la vostra applicazione. L'utensile elettrico corretto eseguirà il lavoro in maniera migliore e più sicura, alla velocità per la quale è stato progettato.
Non usate l'utensile elettrico se l'interruttore non lo accende e spegne. Qualsiasi utensile elettrico che non possa essere controllato con l'interruttore è pericoloso e deve essere riparato.
Scollegate la spina dall'alimentazione e/o rimuovete il pacco batteria, se possibile, dall'utensile elettrico prima di effettuare eventuali regolazioni, sostituire gli accessori o riporre gli utensili elettrici. Tali misure preventive riducono il rischio di avviamento accidentale dell'utensile elettrico.
Riponete gli utensili elettrici inutilizzati fuori dalla portata dei bambini e non consentite a persone che non hanno familiarità con l'utensile o le istruzioni di metterlo in funzione. Gli utensili elettrici sono pericolosi nelle mani di utilizzatori non addestrati.
Manutenete utensili elettrici e accessori. Controllate eventuali disallineamenti o grippaggio delle parti mobili, rottura dei componenti e altre condizioni che possono influire sul funzionamento dell'utensile elettrico. In caso di danni, fate riparare l'utensile elettrico prima dell'uso. Molti incidenti sono causati da utensili elettrici con scarsa manutenzione.
Gli utensili da taglio devono essere tenuti affilati e puliti. Utensili da taglio con una manutenzione adeguata e bordi affilati hanno meno probabilità di incepparsi e sono più facili da controllare.
Utilizzate l'utensile elettrico, gli accessori e le punte dell'utensile ecc. in conformità a queste istruzioni, tenendo in considerazione le condizioni operative e l'attività da eseguire. L'uso dell'utensile elettrico per operazioni diverse da quelle a cui è destinato può provocare situazioni pericolose.
Mantenete le impugnature e le superfici di presa asciutte, pulite e prive di olio e grassi. Impugnature e superfici di contatto scivolose non consentono la manipolazione sicura e il controllo dell'utensile in situazioni impreviste.
Utilizzo e cura dell'utensile a batteria
Ricaricate solo con il caricabatterie specificato dal produttore. Un caricabatterie adatto a un tipo di pacco batteria potrebbe causare rischi di incendio se utilizzato con un altro pacco batteria.
Utilizzate utensili elettrici solo con pacchi batteria appositamente progettati. L'utilizzo di altri pacchi batteria può creare un rischio di lesioni e incendio.
Quando il pacco batteria non è in uso, tenetelo lontano da altri oggetti metallici come graffette per la carta, monete, chiavi, chiodi, viti o oggetti metallici di altro tipo e di piccole dimensioni, che potrebbero stabilire un collegamento tra i morsetti. Un cortocircuito dei morsetti della batteria può causare ustioni o incendi.
In caso di utilizzo improprio, il liquido potrebbe venire espulso dalla batteria; evitate il contatto. Se avviene un contatto accidentale, sciacquate con acqua. Se il liquido entra a contatto con gli occhi, consultate un medico. Il liquido emesso dalla batteria può provocare irritazioni o ustioni.
Non utilizzate un pacco batteria o un utensile danneggiato o modificato. Batterie danneggiate o modificate possono determinare un comportamento imprevisto e causare incendi, esplosione o rischio di infortuni.
Non esponete un pacco batteria o un utensile a fiamme o temperature eccessive. L'esposizione alle fiamme o a una temperatura superiore a 130 °C (265 °F) potrebbe causare un'esplosione.
Seguite tutte le istruzioni di ricarica e non caricate il pacco batteria o l'utensile al di fuori dell'intervallo di temperatura specificato nelle istruzioni. Una ricarica non corretta o a temperature al di fuori dell'intervallo specificato può danneggiare la batteria e aumentare il rischio di incendio.
Manutenzione
Fate effettuare la manutenzione del vostro utensile elettrico a un addetto alle riparazioni qualificato, utilizzando solo parti sostitutive identiche. Ciò garantirà che la sicurezza dell'utensile elettrico venga mantenuta.
Non intervenite mai sui pacchi batteria danneggiati. La manutenzione dei pacchi batteria deve essere effettuata solo dal produttore o dai centri assistenza autorizzati.
Non utilizzate il tosaerba sotto la pioggia o sul bagnato. Queste condizioni possono aumentare il rischio di scosse elettriche.
Non utilizzate il tosaerba in condizioni di meteo avverso, soprattutto quando c'è rischio di fulmini. In questo modo si ridurrà il rischio di venire colpiti da un fulmine.
Esaminate attentamente l'area in cui deve essere utilizzato il tosaerba per individuare eventuali esemplari di fauna selvatica. La fauna selvatica potrebbe essere ferita dal tosaerba in funzione.
Ispezionate attentamente l'area in cui deve essere utilizzato il tosaerba e togliete tutte le pietre, i rametti, i fili metallici, gli ossi ed altri corpi estranei. Gli oggetti scagliati possono causare lesioni.
Prima dell'utilizzo del tosaerba controllate sempre a vista che le lame e il gruppo lame non siano usurati o danneggiati. I componenti usurati o danneggiati aumentano il rischio di lesioni.
Controllate frequentemente che il cesto di raccolta non presenti segni di usura o deterioramento. Un sistema di raccolta usurato o danneggiato potrebbe aumentare il rischio di lesioni personali.
Non rimuovete le protezioni. Le protezioni devono essere funzionanti e correttamente montate. Una protezione allentata, danneggiata o non correttamente funzionante potrebbe causare un infortunio.
Mantenete le prese d'aria libere da detriti. Le prese d'aria bloccate e i detriti possono provocare surriscaldamento o rischio di incendio.
Durante l'utilizzo del tosaerba indossate sempre calzature antiscivolo e di protezione. Non usate la macchina a piedi nudi o indossando sandali. In tal modo si riduce la probabilità di lesioni ai piedi nel caso in cui vengano a contatto con la lama in movimento.
Indossate sempre pantaloni lunghi durante l'utilizzo del tosaerba. La pelle esposta aumenta il rischio di lesioni procurate da oggetti scagliati.
Non utilizzate il tosaerba sull'erba bagnata. Camminate, non correte. In tal modo riducete il rischio di scivolamento e caduta, con conseguenti lesioni.
Non utilizzate il tosaerba su pendenze eccessivamente ripide. In tal modo riducete il rischio di perdita di controllo, scivolamento e caduta, con il conseguente rischio di infortuni.
Quando lavorate su pendenze, assicuratevi di mantenere sempre un buon appoggio dei piedi, di lavorare in senso trasversale alla pendenza, mai in salita o in discesa, e di prestare estrema attenzione durante i cambi di direzione. In tal modo riducete il rischio di perdita di controllo, scivolamento e caduta, con il conseguente rischio di infortuni.
Prestate la massima attenzione quando fate marcia indietro o tirate il tosaerba verso di voi. Fate sempre attenzione all'ambiente circostante. In tal modo riducete il rischio di inciampo durante l'utilizzo della macchina.
Non toccate le lame e altre parti mobili pericolose mentre sono ancora in movimento. Ciò riduce il rischio di lesioni provocate da parti mobili.
Quando rimuovete materiale bloccato o pulite il tosaerba, accertatevi che tutti gli interruttori di alimentazione siano disattivati e che il pacco batteria sia scollegato. L'avviamento improvviso del tosaerba potrebbe causare gravi lesioni personali.
Addestramento
L'operatore della macchina è responsabile di eventuali incidenti o pericoli per le persone o i beni.
Non consentite ai bambini di utilizzare o giocare con la macchina, con il pacco batteria o con il caricabatteria; le normative locali possono limitare l'età dell'operatore.
Non consentite a persone con ridotte capacità fisiche, sensoriali o mentali o prive di esperienza e conoscenze di utilizzare la macchina, il pacco batteria o il caricabatteria, a meno che non siano sorvegliati o non abbiano ricevuto istruzioni sul relativo utilizzo sicuro e comprendano i pericoli correlati all'utilizzo.
Prima di utilizzare il pacco batteria e il caricabatterie, leggete tutte le istruzioni e le indicazioni di precauzione su questi prodotti.
Preparazione
Sostituite eventuali adesivi danneggiati o illeggibili.
Utilizzate solo il pacco batteria specificato da Toro. L'utilizzo di altri accessori e attrezzi può aumentare il rischio di infortuni e incendi.
Il collegamento del caricabatterie a una presa di corrente non adeguata può causare un incendio o una scossa elettrica. Per un diverso tipo di collegamento, se necessario usate un adattatore adeguato alla configurazione della presa elettrica.
Non utilizzate un pacco batteria o un caricabatteria danneggiato o modificato, che potrebbe comportarsi in modo imprevedibile e causare incendi, esplosioni o rischio di infortuni.
Se il cavo di alimentazione del caricabatteria è danneggiato, contattate un Centro assistenza autorizzato per sostituirlo.
Non utilizzate batterie non ricaricabili.
Caricate il pacco batteria solo con il caricabatteria specificato da Toro. Un caricabatterie adatto a un tipo di pacco batteria può creare un rischio di incendio se utilizzato con un altro pacco batteria.
Caricate il pacco batteria solo in un'area ben ventilata.
Non esponete un pacco batteria o un caricabatteria a fiamme o temperature superiori a 68 °C.
Seguite tutte le istruzioni di ricarica e non caricate il pacco batteria al di fuori del range di temperatura specificato nelle istruzioni. Altrimenti, potreste danneggiare il pacco batteria e aumentare il rischio di incendio.
Funzionamento
Restate sempre lontani dall'apertura di scarico.
Disinnestate la trazione automatica (se in dotazione) prima di avviare la macchina.
Evitate avviamenti accidentali: accertatevi che il pulsante di avviamento elettrico sia rimosso dall'ignizione prima di effettuare il collegamento al pacco batteria e prima di maneggiare la macchina.
Arrestate la macchina, rimuovete il pulsante di avviamento elettrico, togliete il pacco batteria dalla macchina e attendete che tutte le parti in movimento si arrestino prima di effettuare interventi di manutenzione o pulizia della macchina.
Togliete il pacco batteria e il pulsante di avviamento elettrico dalla macchina ogni qualvolta la lasciate incustodita o prima di cambiare gli accessori.
Non dirigete il materiale di scarico verso le persone. Evitate di scaricare il materiale contro un muro o un'ostruzione poiché potrebbe rimbalzare contro di voi. Fermate la/le lama/lame quando attraversate superfici in ghiaia.
Fate attenzione a buche, solchi, gobbe, rocce o altre insidie del terreno. Il terreno accidentato può far sì che perdiate l'equilibrio o la presa.
Se la macchina colpisce un oggetto o inizia a vibrare, spegnete immediatamente la macchina, rimuovete il pulsante di avviamento elettrico, togliete il pacco batteria e attendete l'arresto di tutte le parti in movimento prima di esaminare la macchina per escludere danni. Effettuate le riparazioni necessarie prima di riprendere a utilizzare la macchina.
Arrestate la macchina e togliete il pulsante di avviamento elettrico prima di caricare la macchina per il trasporto.
In condizioni di uso scorretto, il pacco batteria può espellere del liquido: evitate il contatto. Se doveste venire accidentalmente a contatto con il liquido, lavatevi con acqua. Se il liquido dovesse venire a contatto con gli occhi, consultate un medico. Il liquido fuoriuscito dal pacco batteria può causare irritazioni o ustioni.
Manutenzione e rimessaggio
Arrestate la macchina, rimuovete il pulsante di avviamento elettrico, togliete il pacco batteria dalla macchina e attendete che tutte le parti in movimento si arrestino prima di effettuare interventi di manutenzione o pulizia della macchina.
Non tentate di riparare la macchina, ad eccezione di quanto indicato nelle istruzioni. Fate eseguire gli interventi di assistenza sulla macchina a un Centro assistenza autorizzato, utilizzando ricambi identici.
Affilate una lama smussata su entrambi i lati per mantenere l'equilibrio. Pulite la lama e assicuratevi che sia equilibrata.
Durante la manutenzione della lama, siate consapevoli del fatto che la lama può ancora muoversi anche se l'alimentazione è scollegata.
Per prestazioni ottimali, utilizzate solo ricambi e accessori originali Toro. Altri ricambi e accessori possono essere pericolosi e tale utilizzo potrebbe rendere nulla la garanzia del prodotto.
Effettuate la manutenzione della macchina – mantenete affilati e puliti i taglienti per prestazioni migliori e più sicure. Mantenete le stegole asciutte, pulite e prive di olio e grasso. Tenete le protezioni in posizione e in buone condizioni operative. Mantenete le lame affilate. Utilizzate solo lame di ricambio identiche.
Se non indicato nelle istruzioni, fate riparare o sostituire le protezioni o i componenti danneggiati da un Centro assistenza autorizzato.
Quando un pacco batteria non è in uso, tenetelo lontano da oggetti metallici, come graffette, monete, chiavi, chiodi e viti che possano creare un collegamento da un terminale a un altro. Mandare in cortocircuito i morsetti della batteria può causare bruciature o un incendio.
Controllate frequentemente i bulloni di montaggio della lama e del motore per verificare che siano serrati.
ATTENZIONE: se maneggiato impropriamente, il pacco batteria potrebbe causare incendi o ustioni chimiche. Non smontate il pacco batteria. Non riscaldate il pacco batteria a una temperatura superiore a 68 °C e non inceneritelo. Sostituite il pacco batteria solo con un pacco batteria originale Toro; l'utilizzo di un altro tipo di pacco batteria può causare un incendio o un'esplosione. Tenete i pacchi batteria fuori dalla portata dei bambini e nella confezione originale fino a quando non sarete pronti a utilizzarli.
Non smaltite la batteria nel fuoco. La cella potrebbe esplodere. Verificate le normative locali per possibili istruzioni speciali di smaltimento.
![]() |
Adesivi e istruzioni di sicurezza sono chiaramente visibili all'operatore e ubicati vicino a qualsiasi area di potenziale pericolo. Sostituite eventuali adesivi se danneggiati o mancanti. |








Important: Rimuovete ed eliminate il foglio in plastica protettivo che copre il motore.
Parti necessarie per questa operazione:
| Coperchio del vano batteria | 1 |
Allineate i fermi del coperchio con le fessure e spingete il coperchio verso il basso per fissarlo.

Parti necessarie per questa operazione:
| Stegola inferiore | 2 |
| Piastra di fissaggio | 2 |
| Stegola di ancoraggio | 2 |
| Bullone corto | 2 |
| Rondella piana | 4 |
| Dado di bloccaggio | 8 |
| Stegola superiore | 1 |
| Rondella a coppa | 6 |
| Bullone lungo | 4 |
| Tappo per dado | 6 |
Il montaggio errato della stegola può danneggiare i cavi e creare condizioni di utilizzo pericolose.
Fate attenzione a non danneggiare i cavi quando montate la stegola.
Accertatevi che i cavi siano disposti all'interno della stegola e che non si impiglino nel deflettore posteriore.
Se un cavo è danneggiato, rivolgetevi al vostro distributore Toro autorizzato.
Rimuovete i dadi di bloccaggio dai 2 bulloni esposti sulla parte superiore del piatto di taglio.
Montate una stegola inferiore su ciascun lato della parte superiore del piatto di taglio con una piastra di fissaggio e i dadi di bloccaggio rimossi dal piatto di taglio al passaggio precedente (1).
Note: I tubi della stegola inferiore presentano una piega lungo la sezione centrale; assicuratevi che i tubi siano montati in modo tale che la sezione piegata del tubo sia rivolta verso il terreno.

Montate la parte inferiore delle stegole di ancoraggio su ogni lato del piatto di taglio utilizzando un bullone corto, rondelle piane all'interno e all'esterno del piatto di taglio e un dado di bloccaggio (Figura 5).

Montate la stegola superiore e la parte superiore delle stegole di ancoraggio sulle stegole inferiori con 3 rondelle a coppa, 2 bulloni lunghi e 2 dadi di bloccaggio su ciascun lato (Figura 6).

Montate i tappi per dadi su tutti i dadi esposti delle stegole.
Parti necessarie per questa operazione:
| Cesto di raccolta | 1 |
| Telaio del cesto di raccolta | 1 |



La velocità di avanzamento della macchina è controllata dal sistema MatchDrive® e dispone di 3 impostazioni fisse e un'opzione di velocità variabile. Impostare la velocità di avanzamento automatico della macchina consente agli operatori di più macchine di ottenere una qualità di taglio e un livello di prestazioni costanti.
Premete il tasto di controllo della selezione della velocità sul pannello di controllo della testata per passare da un'impostazione di velocità predefinita all'altra. Si accenderà una spia sotto all'impostazione di velocità selezionata:
I – Lenta – 3,0 km/h
II – Media – 4,0 km/h
III – Veloce – 5,2 km/h

La IV impostazione (Figura 11) del tasto per la selezione della velocità vi consente di controllare la velocità della macchina utilizzando la manopola di controllo sul pulsante di avviamento elettrico. Ruotate la manopola verso destra per aumentare la velocità e verso sinistra per ridurla, da una velocità minima di 1,6 km/h a una velocità massima di 5,6 km/h.

La macchina presenta 2 impostazioni di velocità delle lame: STANDARD ed ECO.
Quando è selezionata l'impostazione STANDARD, la velocità delle lame è impostata sempre a una velocità fissa.
Quando è selezionata l'impostazione ECO, la velocità delle lame resta sempre al valore minimo (a meno che la macchina non debba gestire un carico pesante). Questa velocità è l'ideale per il mulching dello sfalcio a seguito della tosatura, e rappresenta l'utilizzo più efficiente dell'alimentazione a batteria.
| Impostazione di velocità delle lame | Velocità (giri/min) |
| STANDARD | 2800 |
| ECO | 2400 |
La macchina si avvia automaticamente con l'impostazione STANDARD selezionata. Premete il tasto per la selezione della velocità delle lame sul pannello di controllo della testata per modificare l'impostazione di velocità delle lame (Figura 13).

Il pannello di controllo della testata presenta diverse spie di emergenza e indica lo stato attuale della batteria.
In caso di guasto alla scatola trasmissione, lampeggeranno 4 spie di emergenza (A della Figura 14); fate riferimento a .
Il pannello di stato della batteria utilizza delle spie per indicare il livello di carica dei pacchi batteria ed eventuali problemi o errori relativi ai pacchi batteria (B della Figura 14). Se i pacchi batteria presentano un livello di carica basso (<10%), la spia inferiore delle 4 spie che indicano il livello di carica lampeggerà.
Se un pacco batteria presenta un guasto, le spie di errore nella parte inferiore del pannello di stato della batteria lampeggeranno (B della Figura 14). La spia di errore sulla sinistra corrisponde al pacco batteria di sinistra (visto dalla posizione dell'operatore), e la spia di errore sulla destra corrisponde al pacco batteria di destra.

|
Modello |
Larghezza di taglio |
Lunghezza |
Larghezza |
Altezza |
Peso |
|---|---|---|---|---|---|
|
02660T | 56 cm | 175,5 cm | 61 cm | 103 cm | 52,7 kg |
|
Ricarica o stoccaggio del pacco batteria |
Utilizzo del pacco batteria |
Utilizzo della macchina |
|---|---|---|
|
5 °C - 40 °C* |
-30 °C - 49 °C* |
0 °C - 49 °C* |
*I tempi di ricarica possono aumentare se la ricarica dei pacchi batteria non avviene all'interno dello specifico intervallo di temperatura.
Stoccate la macchina, i pacchi batteria e i caricabatterie in un luogo chiuso, ben pulito e asciutto.
È disponibile una gamma di attrezzi ed accessori approvati da Toro per l'impiego con la macchina, per ottimizzare ed ampliare le sue applicazioni. Richiedete un elenco di tutti gli attrezzi ed accessori approvati a un Centro Assistenza Toro o a un Distributore Toro autorizzati oppure visitate il sito www.Toro.com.
Per ottenere prestazioni ottimali e mantenere la certificazione di sicurezza della macchina, utilizzate solo ricambi e accessori originali Toro. Componenti e accessori sostitutivi realizzati da altri produttori potrebbero essere pericolosi.
Important: Utilizzate i pacchi batteria solo a temperature comprese all'interno dell'intervallo corretto; fate riferimento a Specifiche.
Assicuratevi che il pulsante di avviamento elettrico non sia montato sulla macchina.
Assicuratevi che gli sfiati e i terminali dei pacchi batteria siano privi di polvere e detriti.
Sollevate il coperchio del vano batteria (A della Figura 15).
Allineate la cavità nei pacchi batteria con le linguette sulla macchina e fate scorrere i pacchi batteria nel vano fino a quando non si bloccano in posizione (B della Figura 15).
Chiudete il coperchio del vano batteria (C della Figura 15).
Note: Se il coperchio del vano batteria non si chiude completamente, i pacchi batteria non sono completamente installati.La macchina può essere utilizzata sia con 1 che con 2 pacchi batteria installati.

Il pulsante di avviamento elettrico viene conservato nel vano batteria per la consegna della macchina. Rimuovetelo dal vano e stoccatelo in un luogo sicuro prima dell'assemblaggio.
Regolando l'altezza di taglio potreste toccare con le mani una lama in movimento, e infortunarvi gravemente.
Spegnete il motore, togliete i pacchi batteria e attendete che tutte le parti in movimento si arrestino prima di regolare l'altezza di taglio.
Non inserite le dita sotto la scocca mentre regolate l'altezza di taglio.
Afferrate la leva dell'altezza di taglio e tirate lateralmente per disinserirla dalla tacca di bloccaggio (Figura 16).

Spingete in avanti la leva per abbassare l'altezza di taglio o tiratela indietro per alzarla (Figura 16).
Rilasciate la leva nel punto desiderato e assicuratevi che si blocchi saldamente in 1 delle 7 tacche di regolazione (Figura 16).
| Impostazione dell'altezza | Altezza di taglio |
| 1 | 13 mm |
| 2 | 20,8 mm |
| 3 | 28,7 mm |
| 4 | 36,5 mm |
| 5 | 44,3 mm |
| 6 | 52,2 mm |
| 7 | 60 mm |
È possibile ottenere 6 altezze di regolazione aggiuntive utilizzando l'impostazione dell'altezza MatchCut. Questa funzionalità consente la regolazione di mezza impostazione della piastra del selettore dell'altezza di taglio.
Allentate il bullone di fissaggio della piastra del selettore con una chiave Allen (Figura 17).

Ruotate il regolatore MatchCut di 180° (Figura 17 e Figura 18).
Note: Nella parte inferiore della piastra del selettore viene visualizzato un indicatore che evidenzia quando è impostato MatchCut.

Serrate il bullone di fissaggio della piastra del selettore per fissare la piastra del selettore dell'altezza di taglio in posizione.
| Impostazione dell'altezza (con MatchCut) | Altezza di taglio |
| 1,5 | 16,9 mm |
| 2,5 | 24,8 mm |
| 3,5 | 32,6 mm |
| 4,5 | 40,4 mm |
| 5,5 | 48,3 mm |
| 6,5 | 56,1 mm |
Assicuratevi che i pacchi batteria siano installati nella macchina; fate riferimento a Montaggio di un pacco batteria.
Inserite il pulsante di avviamento elettrico [fate riferimento alla Individuazione del pulsante di avviamento elettrico] nell'interruttore dell'avviatore elettrico (A della Figura 19).
Premete la barra di comando della lama e tenetela ferma sulla stegola (B della Figura 19).
Premete il pulsante di avviamento elettrico fino a che la macchina non si avvia e la lama non inizia a ruotare (C della Figura 19).

Utilizzate la trazione automatica come segue:
Per innestare la trazione automatica:
Mentre la lama del tosaerba è in moto, innestate la barra della trazione automatica (Figura 20).
Se la lama del tosaerba non è in moto, premete e rilasciate due volte il pulsante di avviamento elettrico, quindi innestate la barra della trazione automatica entro 15 secondi.
Per disinnestare la trazione automatica lasciate andare la barra della trazione automatica.
Note: Attendete 2 secondi che la trasmissione termini il ciclo di rilascio della frizione prima di innestare nuovamente la barra della trazione automatica dopo averla disinnestata. In caso contrario le spie di emergenza della testata possono attivarsi e la trazione può disinnestarsi.
Note: Se la barra della trazione automatica viene rilasciata, è possibile innestare nuovamente la trazione automatica senza dover premere il pulsante di avviamento elettrico nel caso in cui la barra venga innestata entro 15 secondi.
La velocità di avanzamento della macchina può essere regolata operando sul comando della velocità variabile; fate riferimento a Selezione della velocità di avanzamento automatico.
Note: Quando la barra della trazione automatica è disinnestata, è possibile spingere il tosaerba. Questa funzionalità è utile per la tosatura in aree poco spaziose.

Rilasciate la barra di comando della lama (A della Figura 21).
Important: Quando rilasciate la barra di comando della lama, quest'ultima deve fermarsi entro tre secondi. Se non si dovesse fermare perfettamente, smettete immediatamente di usare la macchina e rivolgetevi a un distributore Toro autorizzato.
Rimuovete il pulsante di avviamento elettrico dall'interruttore dell'avviatore elettrico (B della Figura 21).

Note: Quando non utilizzate la macchina per un lungo periodo, rimuovete il pulsante di avviamento elettrico e i pacchi batteria; fate riferimento a Prima del rimessaggio.
Sollevate il coperchio del vano batteria.
Premete i fermi del pacco batteria per rilasciare il pacco batteria e rimuovete il pacco batteria.
Chiudete il coperchio del vano batteria.
Utilizzate il cesto di raccolta quando desiderate raccogliere lo sfalcio e le foglie dal tappeto erboso.
Non utilizzate il cesto di raccolta se è consumato, in quanto corpi estranei possono essere scagliati verso l'operatore o gli astanti, e causare gravi ferite o anche la morte.
Esaminate spesso le condizioni del cesto di raccolta. Se è danneggiato, montate un nuovo raccoglitore Toro di ricambio.
Spegnete la macchina e attendete che si arrestino tutte le parti in movimento.
Rimuovete il pulsante di avviamento elettrico e i pacchi batteria dalla macchina.
Sollevate il deflettore posteriore e tenetelo sollevato.
Montate il cesto di raccolta nella relativa sede (Figura 22).

Appoggiate il deflettore posteriore sul cesto.
La macchina può scagliare sfalcio ed altri oggetti attraverso la scocca della macchina aperta. Gli oggetti scagliati con forza possono causare lesioni gravi o morte a voi o agli astanti.
Non aprite mai il deflettore posteriore sulla macchina se la macchina è accesa.
Important: Il tosaerba deve essere utilizzato con il cesto di raccolta installato o il deflettore posteriore in posizione chiusa.
Spegnete la macchina e attendete che si arrestino tutte le parti in movimento.
Rimuovete il pulsante di avviamento elettrico e i pacchi batteria dalla macchina.
Sollevate il deflettore posteriore e tenetelo sollevato.
Sganciate il cesto di raccolta.
Appoggiate il deflettore posteriore sul piatto di taglio.
Evitate di colpire oggetti solidi con la lama. Non tosate deliberatamente sopra un oggetto.
Per ottenere prestazioni ottimali montate una nuova lama prima dell'inizio della stagione della tosatura.
All'occorrenza sostituite la lama con una lama di ricambio Toro.
L'erba cresce a velocità differenti nel corso dell'anno. Con il caldo estivo, è consigliabile falciare l'erba all'altezza di taglio superiore. Falciate soltanto un terzo del filo d'erba per volta. Non falciate alle impostazioni di taglio minime, a meno che l'erba non sia rada o nel tardo autunno, quando l'erba inizia a rallentare la crescita. Per ottimizzare i tempi di funzionamento, tagliate l'erba a un'altezza di taglio superiore.
Per prestazioni ottimali, specialmente in condizioni difficili, utilizzate l'impostazione di velocità delle lame STANDARD e tosate a un ritmo più lento.
Per falciare erba alta, tosate prima all'altezza di taglio superiore e a velocità ridotta, quindi tosate di nuovo ad un'altezza inferiore per ottenere un tappeto erboso più attraente. Se l'erba è troppo alta e le foglie si ammucchiano sul tappeto erboso, il tosaerba può intasarsi e arrestare la testata.
Erba e foglie bagnate tendono ad ammucchiarsi sul tappeto erboso e possono intasare il tosaerba o arrestare il motore. Evitate di tosare in condizioni di bagnato.
In condizioni di particolare siccità prestate attenzione al rischio di incendio, seguite le relative avvertenze locali e mantenete la macchina libera da erba secca e scarti di foglie.
Alternate la direzione di tosatura, per contribuire a disperdere lo sfalcio sul tappeto erboso ed ottenere una fertilizzazione uniforme.
Se l'aspetto del tappeto erboso tosato non è soddisfacente, provate 1 dei seguenti:
Affilatura della lama.
Tosate a un ritmo più lento.
Alzate l'altezza di taglio del tosaerba.
Tosate l'erba più di frequente.
Sovrapponete le passate, anziché falciare un'intera andana ad ogni passata.
Dopo la tosatura del tappeto erboso, almeno metà di esso deve essere visibile attraverso le foglie. All'occorrenza, effettuate più di una sola passata sulle foglie.
Se le foglie sul prato superano i 13 cm, tagliate a un'altezza di taglio maggiore, quindi all'altezza di taglio desiderata.
Se il tosaerba non sminuzza finemente le foglie, rallentate la velocità di tosatura.
Important: Il pacco batteria non è completamente carico al momento dell'acquisto. Prima di utilizzare l'utensile per la prima volta, posizionate il pacco batteria nel caricabatteria e ricaricatelo fino a quando il display LED non indica una ricarica completa del pacco batteria. Leggete tutte le precauzioni di sicurezza.
Important: Caricate il pacco batteria solo a temperature comprese all'interno dell'intervallo corretto; fate riferimento a Specifiche.
Note: In qualsiasi momento, premete il pulsante dell'indicatore di carica della batteria sul pacco batteria per visualizzare l'attuale stato di carica (indicatori LED).
Assicuratevi che gli sfiati e i terminali dei pacchi batteria e del caricabatterie siano privi di polvere e detriti.

Allineate la cavità nel pacco batteria (Figura 23) con la linguetta sul caricabatterie.
Fate scorrere il pacco batteria nel caricabatteria fino a quando non è completamente in sede (Figura 23).
Per rimuovere il pacco batteria, fate scorrere la batteria all'indietro, fuori dal caricabatterie.
Fate riferimento alla seguente tabella per interpretare la spia di indicazione LED sul caricabatterie.
| Spia di indicazione | Indica |
| Spegnimento (Off) | Nessun pacco batteria inserito |
| Verde lampeggiante | Il pacco batteria è in carica |
| Verde | Il pacco batteria è carico |
| Rosso | Il pacco batteria e/o il caricabatterie si trova al di sopra o al di sotto del corretto intervallo di temperature |
| Rosso lampeggiante | Guasto di carica del pacco batteria* |
*Fate riferimento a per maggiori informazioni.
Important: Il pacco batteria può essere lasciato sul caricabatterie per brevi periodi tra ogni uso.Se il pacco batteria non viene utilizzato per periodi di tempo più lunghi, rimuovete il pacco batteria dal caricabatterie; fate riferimento a Prima del rimessaggio.
| Cadenza di manutenzione | Procedura di manutenzione |
|---|---|
| Dopo ogni utilizzo |
|
La macchina può spostare del materiale dal sottoscocca.
Usate occhiali di sicurezza.
Quando il motore è acceso, rimanete in posizione di servizio (dietro la stegola).
Non consentite ad alcuno di avvicinarsi alla zona di lavoro.
Per ottenere i risultati migliori, usate il foro di lavaggio rapido per pulire la macchina non appena avete terminato la tosatura.
Important: Pulite accuratamente l'apparato di taglio della macchina subito dopo l'uso su erba trattata.
Spegnete la macchina e attendete che si arrestino tutte le parti in movimento.
Rimuovete il pulsante di avviamento elettrico e i pacchi batteria dalla macchina.
Abbassate la macchina all'altezza di taglio minima; vedere Regolazione dell'altezza di taglio.
Collegate una canna da giardino al rubinetto dell'acqua dolce e al foro di lavaggio rapido (Figura 24).

Aprite il rubinetto.
Inserite il pulsante di avviamento elettrico e i pacchi batteria, avviate la macchina, innestate la lama e lasciate in funzione fino a quando lo sfalcio non fuoriesce più da sotto la macchina.
Important: Non puntate l'acqua sulla trasmissione.
Spegnete la macchina, chiudete l'acqua e scollegate il flessibile da giardino dalla macchina.
Avviate la macchina per alcuni minuti per asciugare il sottoscocca e impedire che arrugginisca.
Spegnete la macchina e lasciate che si raffreddi prima di rimessarla in un ambiente chiuso.
Note: Stabilite i lati sinistro e destro della macchina dalla normale posizione di guida.
| Cadenza di manutenzione | Procedura di manutenzione |
|---|---|
| Prima di ogni utilizzo o quotidianamente |
|
| Dopo ogni utilizzo |
|
| Ogni 25 ore |
|
| Ogni anno |
|
Portate la macchina su una superficie pianeggiante.
Spegnete la macchina e rimuovete il pulsante di avviamento elettrico e tutti i pacchi batteria dalla macchina.
| Cadenza di manutenzione | Procedura di manutenzione |
|---|---|
| Ogni 25 ore |
|
Important: Non azionate il motore senza il filtro dell'aria completo in posizione, per evitare di danneggiare seriamente il motore.
Eseguite le procedure di preparazione alla manutenzione; vedere Preparazione per la manutenzione.
Sganciate e rimuovete il coperchio e il filtro in schiuma sintetica. Pulite entrambi accuratamente (Figura 25).

Installate il filtro in schiuma sintetica sul coperchio posteriore e montatelo sulla testata.
| Cadenza di manutenzione | Procedura di manutenzione |
|---|---|
| Ogni 25 ore |
|
Eseguite le procedure di preparazione alla manutenzione; vedere Preparazione per la manutenzione.
Rimuovete il coperchio superiore rimuovendo 4 bulloni (M6) e un rivetto a scatto (Figura 26).

Con una spazzola, rimuovete eventuali detriti dalla trasmissione, in particolare dalla ventola e dagli sfiati della trasmissione (Figura 26).
Important: Non pulite la trasmissione utilizzando acqua o aria compressa.
Montate il coperchio utilizzando i dispositivi di fissaggio rimossi in precedenza.
| Cadenza di manutenzione | Procedura di manutenzione |
|---|---|
| Ogni 25 ore |
|
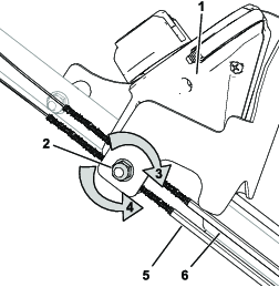
Quando installate un nuovo cavo, oppure se i cavi dell'unità a trazione automatica o della lama non sono regolati, regolate i cavi.
Girate il dado di regolazione in senso antiorario per allentare la regolazione del cavo (Figura 27).

Regolate la tensione dei cavi (Figura 27) tirandoli indietro o spingendoli in avanti e poi mantenendoli in tale posizione.
Ruotate il dado di regolazione in senso orario per stringere la regolazione del cavo.
Note: Serrate saldamente il dado con una bussola o una chiave.
Important: Non tendete eccessivamente i cavi per evitare di danneggiare gli interruttori di comando elettrico.
| Cadenza di manutenzione | Procedura di manutenzione |
|---|---|
| Prima di ogni utilizzo o quotidianamente |
|
| Ogni anno |
|
Important: Per il corretto montaggio della lama dovete usare una chiave torsiometrica. Se non disponete di una chiave torsiometrica o avete dubbi sull'esecuzione di questa operazione, contattate un Centro Assistenza autorizzato.
Se la lama è danneggiata, sostituitela immediatamente. Se il tagliente è smussato o scheggiato, fatelo affilare e livellare, oppure sostituite la lama.
La lama è affilata, e può causare gravi ferite.
Indossate i guanti per eseguire la manutenzione della lama.
Inclinate la macchina sul fianco, con la leva dell'altezza di taglio rivolta verso l'alto.
Usate un blocco di legno per tenere ferma la lama (Figura 28).

Togliete la lama e conservate la bulloneria di montaggio (Figura 28).
Montate la nuova lama usando la bulloneria di montaggio (Figura 29).

Important: Le estremità curve della lama devono essere rivolte verso la scocca del tosaerba.
Utilizzate una chiave torsiometrica per serrare il bullone della lama a 75 N∙m.
| Cadenza di manutenzione | Procedura di manutenzione |
|---|---|
| Prima di ogni utilizzo o quotidianamente |
|
| Ogni 25 ore |
|
Una lama leggermente usurata può essere affilata di nuovo. Entrambi i bordi della lama devono essere affilati in uguale misura per garantire il bilanciamento della lama medesima.
Rimuovete la lama dalla macchina; vedere Sostituzione della lama.
Pulite la lama con una spazzola e dell'acqua, quindi ispezionate la lama per rilevare l'eventuale presenza di danni.
Affilate entrambi i taglienti con una lima piatta.

Infilate un cacciavite nel foro centrale e mettete la lama in posizione orizzontale.
Note: Una lama correttamente bilanciata mantiene la posizione orizzontale.

Affilate l'estremità pesante fino a quando la lama non è correttamente bilanciata.
Note: Se la lama non è bilanciata correttamente, l'estremità più pesante ruota verso il basso.

Important: Al momento della rimozione, coprite i terminali del pacco batteria con nastro adesivo per servizio pesante. Non tentate di distruggere o smontare il pacco batteria o di rimuovere alcuno dei suoi componenti.
Contattate la vostra sede municipale o il vostro distributore Toro autorizzato per ulteriori informazioni su come riciclare responsabilmente la batteria.
Important: Stoccate la macchina, il pacco batteria e il caricabatterie solo a temperature comprese all'interno dell'intervallo opportuno; fate riferimento a Specifiche.
Important: Se state stoccando il pacco batterie per la bassa stagione, ricaricatelo fino a quando 1 o 2 indicatori LED non diventano verdi sulla batteria. Non stoccate una batteria completamente carica o completamente scarica. Quando dovete utilizzare di nuovo la macchina, caricate il pacco batteria fino a quando la spia di indicazione sinistra non diventa verde sul caricabatterie o quando tutti e 4 gli indicatori LED non diventano verdi sulla batteria.
Scollegate il prodotto dall'alimentazione (ovvero, rimuovete i pacchi batteria e il pulsante di avviamento elettrico) e controllate per escludere eventuali danni dopo l'uso.
Non stoccate la macchina o il caricabatterie con un pacco batteria installato.
Pulite tutto il materiale estraneo dal prodotto.
Quando non in uso, rimessate la macchina, il pulsante di avviamento elettrico, i pacchi batteria e il caricabatterie fuori dalla portata dei bambini.
Tenete macchina, pacchi batteria e caricabatterie lontano da agenti corrosivi, come sostanze chimiche per il giardino e sali di sbrinamento.
Per ridurre il rischio di gravi lesioni personali, non stoccate i pacchi batteria all'aperto o all'interno di veicoli.
Stoccate la macchina, i pacchi batteria e il caricabatterie in un luogo chiuso, ben pulito e asciutto.
Effettuate solo i passaggi descritti in queste istruzioni. Tutti i successivi interventi di ispezione, manutenzione e riparazione devono essere effettuati da un distributore Toro autorizzato o da uno specialista analogamente qualificato se non siete in grado di risolvere il problema da soli.
| Problem | Possible Cause | Corrective Action |
|---|---|---|
| La macchina non si avvia. |
|
|
| La macchina non funziona o non funziona in maniera continua. |
|
|
| La macchina non raggiunge la massima potenza. |
|
|
| I pacchi batteria perdono rapidamente la carica. |
|
|
| Il caricabatterie non funziona. |
|
|
| La spia di indicazione LED sul caricabatterie è rossa. |
|
|
| La spia di indicazione LED sul caricabatterie è rossa lampeggiante. |
|
|
| La macchina produce un segnale acustico. |
|
|
| La trazione automatica del tosaerba non funziona. |
|
|
| La macchina presenta una velocità di avanzamento ridotta. |
|
|
| La scatola trasmissione produce un suono diverso da quello ordinario. |
|
|
| La macchina o il motore della lama producono una vibrazione o un rumore eccessivi. |
|
|
| La qualità del taglio è diminuita o insoddisfacente. |
|
|
| La funzione di insaccamento è peggiorata o insoddisfacente. |
|
|
| La macchina produce un taglio disomogeneo. |
|
|