| Périodicité d'entretien | Procédure d'entretien |
|---|---|
| Après chaque utilisation |
|
Cette tondeuse autotractée à lame rotative est destinée aux professionnels et aux utilisateurs temporaires. Elle est principalement conçue pour tondre les pelouses régulièrement entretenues des terrains privés et commerciaux. Elle est conçue pour fonctionner avec des batteries lithium-ion Flex-Force Power System® de 60 V. Ces batteries sont conçues pour être chargées uniquement avec les chargeurs de batteries lithium-ion Flex-Force™ de 60 V. L'utilisation de ces produits à d'autres fins que celle prévue peut être dangereuse pour vous-même et toute personne à proximité.
Lisez attentivement cette notice pour apprendre comment utiliser et entretenir correctement votre produit, et éviter ainsi de l'endommager ou de vous blesser. Vous êtes responsable de l'utilisation sûre et correcte du produit.
Pour plus d’informations, y compris des conseils de sécurité, des documents de formation, des renseignements concernant un accessoire, pour obtenir l'adresse d'un concessionnaire ou pour enregistrer votre produit, rendez-vous sur www.Toro.com.
Pour obtenir des prestations de service, des pièces d'origine Toro ou des renseignements complémentaires, munissez-vous des numéros de modèle et de série du produit et contactez un concessionnaire-réparateur agréé ou le service client de Toro. La Figure 1 indique l'emplacement des numéros de modèle et de série du produit. Inscrivez les numéros dans l'espace réservé à cet effet.

Notez les numéros de modèle et de série du produit dans l'espace ci-dessous :
Le symbole de sécurité (Figure 2) utilisé dans ce manuel et sur la machine identifie d'importants messages de sécurité dont vous devez tenir compte pour éviter des accidents.

Le symbole de sécurité apparaît au-dessus de toute information signalant des actions ou des situations dangereuses. Il est suivi de la mention DANGER, ATTENTION ou PRUDENCE.
DANGER signale un danger immédiat qui, s'il n'est pas évité, entraînera obligatoirement des blessures graves ou mortelles.
ATTENTION signale un danger potentiel qui, s'il n'est pas évité, risque d'entraîner des blessures graves ou mortelles.
PRUDENCE signale un danger potentiel qui, s'il n'est pas évité, peut éventuellement entraîner des blessures légères ou modérées.
Ce manuel utilise également deux autres termes pour faire passer des informations essentielles : Important pour attirer l'attention sur des informations d'ordre mécanique spécifiques et Remarque pour souligner des informations d'ordre général méritant une attention particulière.
Ne modifiez pas ou ne désactivez pas les systèmes de sécurité de machine, et vérifiez régulièrement qu'ils fonctionnent correctement. N'essayez pas de régler ou de modifier la commande de régime moteur, au risque de compromettre le fonctionnement sûr de la machine et de causer des blessures.
Ce produit est conforme à toutes les directives européennes pertinentes. Pour plus de renseignements, reportez-vous à la Déclaration de conformité spécifique du produit fournie séparément.
CALIFORNIE
Proposition 65 - Avertissement
Le cordon d'alimentation de cette machine contient du plomb, une substance chimique considérée par l'état de Californie comme susceptible de provoquer des malformations congénitales et autres troubles de la reproduction. Lavez-vous les mains après avoir manipulé la batterie.
L'utilisation de ce produit peut entraîner une exposition à des substances chimiques considérées pas l'état de Californie comme capables de provoquer des cancers, des anomalies congénitales ou d'autres troubles de la reproduction.
Prenez connaissance de toutes les consignes de sécurité, instructions, illustrations et spécifications qui accompagnent cet outil électrique. Le non respect de toutes les consignes indiquées ci-après peut entraîner des chocs électriques, un incendie et/ou des blessures graves.
Conservez toutes les mises en garde et instructions à titre de référence.
Le terme « outil électrique » utilisé dans les mises en garde renvoie à tout outil électrique branché sur le secteur (câblé) ou alimenté par batterie (sans fil).
Consignes de sécurité pour la zone de travail
La zone de travail doit être propre et bien éclairée. Les endroits sombres ou encombrés sont propices aux accidents.
N'utilisez jamais d'outils électriques dans des atmosphères explosives, par exemple en présence de liquides, gaz ou poussières inflammables. Les outils électriques produisent des étincelles qui peuvent enflammer la poussière ou les vapeurs/émanations.
Gardez les enfants et adultes à bonne distance quand vous utilisez un outil électrique. Les distractions peuvent vous faire perdre le contrôle de l’outil.
Sécurité électrique
Les fiches des outils électriques doivent correspondre au type de prise. Ne modifiez jamais la fiche électrique de quelque façon que ce soit. N'utilisez pas d'adaptateurs avec des outils électriques reliés à la terre (à la masse). Les fiches non modifiées et les prises correspondantes réduisent le risque de choc électrique.
Évitez tout contact du corps avec des surfaces mises à la terre ou à la masse, telles que tuyaux, radiateurs, cuisinières et réfrigérateurs. Le risque de choc électrique est accru si votre corps est relié à la terre ou à la masse.
N'exposez pas les outils électriques à la pluie ou à l'humidité. Toute infiltration d'eau dans un outil électrique augmente le risque de choc électrique.
N’abîmez pas le cordon d'alimentation. Ne vous servez jamais du cordon pour transporter, tirer ou débrancher l'outil électrique. Tenez le cordon électrique éloigné de la chaleur, de l'huile, des arêtes vives et des pièces mobiles. Les cordons endommagés ou emmêlés augmentent le risque de choc électrique.
Lorsque vous utilisez un outil électrique à l’extérieur, utilisez une rallonge adaptée à l'usage extérieur. L’utilisation d’une rallonge pour usage extérieur réduit le risque de choc électrique.
Si l'utilisation d'un outil électrique dans un endroit humide ne peut être évitée, utilisez une alimentation protégée par un disjoncteur différentiel (RCD). L'utilisation d'un RCD réduit le risque de choc électrique.
Sécurité personnelle
Restez vigilant-e, concentrez-vous sur votre tâche et faites preuve de bon sens lorsque vous utilisez un outil électrique. N'utilisez jamais un outil électrique si vous êtes fatigué-e ou sous l'emprise de l'alcool, de drogues ou de médicaments. Un simple moment d’inattention pendant l’utilisation d’outils électriques peut entraîner des blessures graves.
Utilisez un équipement de protection individuelle. Portez toujours une protection oculaire. Les équipements de protection comme les masques antipoussière, les chaussures de sécurité à semelle antidérapante, les casques et les protections antibruit utilisés de manière pertinente réduisent les dommages corporels.
Évitez les démarrages accidentels. Assurez-vous que l'interrupteur d'alimentation est en position Arrêt avant de brancher l'outil sur une source d'alimentation et/ou à la batterie, de le prendre en main ou de le transporter. Des accidents peuvent se produire si vous transportez un outil électrique en gardant le doigt sur l'interrupteur d'alimentation ou si vous le mettez sous tension sans avoir placé l'interrupteur en position arrêt.
Retirez toute clé de réglage ou autre avant de mettre l'outil en marche. Toute clé oubliée sur une pièce rotative de l’outil risque d’entraîner des blessures corporelles.
Ne vous penchez pas trop en avant en travaillant avec l'outil. Tenez-vous toujours bien d'aplomb et maintenez votre équilibre. Vous pourrez ainsi mieux maîtriser l’outil si un événement inattendu se produit.
Portez des vêtements adéquats. Ne portez pas de vêtements amples ni de bijoux pendants. N'approchez pas les cheveux ni les vêtements des pièces en mouvement. Les vêtements amples, les bijoux pendants ou les cheveux longs peuvent se prendre dans les pièces mobiles.
Si des dispositifs sont fournis pour le raccordement d'équipements de dépoussiérage et de ramassage, assurez-vous qu'ils sont branchés et utilisés correctement. L'utilisation d'un dispositif de dépoussiérage peut réduire les risques associés aux poussières.
Même si vous avez l'habitude d'utiliser les outils, ne relâchez pas votre attention et n'ignorez pas les principes de sécurité des outils. Toute imprudence peut entraîner des blessures graves en une fraction de seconde.
Utilisation et entretien des outils électriques
Ne faites pas forcer l'outil électrique. Utilisez l'outil électrique correct pour la tâche à accomplir. L'outil électrique correct donnera de meilleurs résultats et sera plus sûr s'il est utilisé dans les limites prévues.
N'utilisez pas l'outil électrique si l'interrupteur d'alimentation ne permet pas de le mettre en marche et de l'arrêter correctement. Un outil qui ne peut pas être commandé par l’interrupteur d'alimentation est dangereux et doit être réparé.
Débranchez l'outil de la source d'alimentation et/ou retirez la batterie, si elle est amovible, avant d'effectuer des réglages, de changer d'accessoire ou de ranger l'outil. Ces mesures de prévention réduisent le risque de démarrage accidentel de l’outil électrique.
Lorsqu'ils ne servent pas, rangez les outils électriques hors de la portée des enfants, et ne confiez leur utilisation qu'à des personnes en connaissant parfaitement le maniement et ayant lu ces instructions. Les outils électriques sont dangereux entre les mains d’utilisateurs inexpérimentés.
Effectuez l'entretien des outils électriques et des accessoires. Assurez-vous qu'aucune pièce n'est mal alignée, grippée, cassée ou présente tout autre défaut susceptible d'affecter le bon fonctionnement de l'outil électrique. S'il est endommagé, faites réparer l'outil électrique avant de l'utiliser. De nombreux accidents sont dus à des outils électriques en mauvais état.
Gardez les outils de coupe propres et bien affûtés. Les outils de coupe entretenus correctement et bien affûtés sont moins susceptibles de se bloquer et sont plus faciles à contrôler.
Utilisez l'outil électrique, les accessoires, les outils rapportés, etc., en conformité avec ces instructions, en tenant compte des conditions de travail et de la tâche à réaliser. L'utilisation de l'outil électrique pour des opérations autres que celles prévues peut engendrer une situation dangereuse.
Gardez les poignées et les surfaces de préhension propres, sèches et exemptes d'huile et de graisse. Les poignées et les surfaces de préhension glissantes ne permettent pas de maîtriser et de contrôler l’outil de manière sûre si une situations imprévues se présente.
Utilisation et entretien des outils à batterie
Ne les rechargez qu'avec le chargeur spécifié par le fabricant. Un chargeur convenant à un type de batterie spécifique peut créer un risque d'incendie s'il est utilisé avec un autre type de batterie.
Utilisez les outils électriques uniquement avec des batteries spécifiquement prévues. L'utilisation d'autres batteries peut créer un risque de blessure et d'incendie.
Lorsque la batterie ne sert pas, rangez-la à distance d'objets métalliques tels que trombones, pièces de monnaie, clés, clous, vis ou autres petits objets métalliques qui pourraient relier les bornes entre elles. Un court-circuit aux bornes de la batterie peut causer des brûlures ou un incendie.
Une utilisation abusive peut faire rejaillir du liquide hors de la batterie ; évitez tout contact. En cas de contact accidentel, rincez à l'eau. En cas de contact du liquide avec les yeux, consultez également un médecin. Le liquide éjecté hors de la batterie peut causer des irritations ou des brûlures.
N'utilisez pas de batteries ou d'outils endommagé(e)s ou modifié(e)s. Les batteries endommagées ou modifiées peuvent se comporter de manière imprévisible et provoquer un incendie, une explosion ou un risque de blessure.
N'exposez pas la batterie ou l'outil au feu ou à une température excessive. L'exposition au feu ou à une température supérieure à 130 °C peut provoquer une explosion.
Respectez toutes les instructions de charge et ne chargez pas la batterie ou l’outil en dehors de la plage de température spécifiée dans les instructions. Une charge mal effectuée ou en dehors de la plage température spécifiée, peut endommager la batterie et augmenter le risque d’incendie.
Entretien
Confiez l'entretien de votre outil électrique à un réparateur qualifié utilisant exclusivement des pièces de rechange identiques. La sécurité de votre outil électrique sera ainsi maintenue.
N’effectuez jamais l’entretien de batteries endommagées. L’entretien des batteries ne doit être effectué que par le fabricant ou des prestataires de services agréés.
N’utilisez pas la tondeuse sous la pluie ou dans des conditions humides. Cela pourrait augmenter le risque de choc électrique.
N'utilisez pas la tondeuse par mauvais temps, surtout s'il existe un risque d'orage. Cela réduit le risque d’être frappé-e par la foudre.
Vérifiez soigneusement si des animaux sont présents dans la zone où la tondeuse doit être utilisée. Les animaux peuvent être blessés par la tondeuse en marche.
Inspectez soigneusement la zone de travail et enlevez tous les objets susceptibles d'être projetés par la tondeuse (pierres, branches, câbles, os, etc.). Les objets projetés peuvent infliger des blessures.
Avant d'utiliser la tondeuse, vérifiez toujours que les lames et l'ensemble de coupe ne sont pas usés ou endommagés. Les pièces usées ou endommagées augmentent le risque de blessure.
Vérifiez fréquemment l'état et l'usure du bac à herbe. Un bac à herbe usé ou endommagé peut augmenter le risque de blessure.
Laissez toutes les protections en place. Les protections doivent être en bon état et correctement montées. Une protection desserrée, endommagée ou qui ne fonctionne pas correctement peut entraîner des blessures.
Gardez toutes les prises d'air dégagées. Les prises d’air obstruées et les débris peuvent entraîner une surchauffe ou un risque d’incendie.
Portez toujours des chaussures de sécurité à semelle antidérapante quand vous utilisez la tondeuse. Ne tondez pas pieds nus ou en sandales. Cela réduit le risque de blessures aux pieds en cas de contact avec la lame en mouvement.
Portez toujours un pantalon quand vous utilisez la tondeuse. Si la peau est exposée, cela augmente le risque de blessure en cas de projection d’objets.
N’utilisez pas la tondeuse sur de l’herbe humide. Avancez à une allure normale, ne courez jamais. Ainsi, vous risquerez moins de glisser et de chuter, et donc de vous blesser.
N'utilisez pas la tondeuse sur des pentes très raides. Ainsi, vous risquez moins de perdre le contrôle de la machine, de glisser et de tomber, et donc de vous blesser.
Lorsque vous travaillez sur des pentes, veillez toujours à ne pas perdre l'équilibre, travaillez toujours transversalement à la pente, jamais dans le sens de la pente, et faites preuve de la plus grande prudence quand vous changez de direction. Ainsi, vous risquez moins de perdre le contrôle de la machine, de glisser et de tomber, et donc de vous blesser.
Faites preuve d'une extrême prudence lorsque vous faites marche arrière ou que vous tirez la tondeuse vers vous. Tenez toujours compte de votre environnement. Ainsi, vous risquerez moins de trébucher pendant l'utilisation.
Ne touchez pas les lames ni aucune autre pièce mobile dangereuse pendant qu’elles sont en mouvement. Cela réduit le risque de blessure infligé par les pièces mobiles.
Lorsque vous enlevez des matériaux coincés ou que vous nettoyez la tondeuse, assurez-vous que tous les interrupteurs d'alimentation sont en position hors tension et que la batterie est débranchée. La mise en marche accidentelle de la tondeuse peut entraîner des blessures graves.
Apprendre à se servir de la machine
L'utilisateur de la machine est responsable des accidents et dommages causés aux autres personnes et à leurs possessions.
N'autorisez pas les enfants à jouer avec la machine, la batterie ou le chargeur de batterie ; la réglementation locale peut imposer un âge minimum pour les utilisateurs.
N'autorisez aucune personne présentant des aptitudes physiques, sensorielles ou mentales réduites, ou encore manquant d'expérience ou de connaissances, à utiliser la machine, la batterie ou le chargeur de batterie, à moins qu'elles soient supervisées et formées à l'utilisation sécuritaire de la machine et qu'elles comprennent les risques associés à son utilisation.
Avant d'utiliser la batterie et le chargeur de batterie, lisez toutes les instructions et mises en garde qui figurent sur ces produits.
Avant l'utilisation
Remplacez les étiquettes endommagées ou illisibles.
Utilisez uniquement la batterie spécifiée par Toro. L'utilisation d'autres accessoires et outils peut accroître le risque de blessure et d'incendie.
Vous pouvez causer un incendie ou un choc électrique si vous branchez le chargeur de batterie sur une prise qui n'est pas de la bonne tension. Pour un type de connexion différent, utilisez un adaptateur de la configuration correcte pour la prise d'alimentation si nécessaire.
N'utilisez pas la batterie ou le chargeur s'ils sont endommagés ou modifiés, car leur comportement peut alors être imprévisible et causer un incendie, une explosion ou des blessures.
Si le cordon d'alimentation du chargeur est endommagé, adressez-vous à un concessionnaire-réparateur agréé pour le faire remplacer.
N’utilisez pas de batteries non rechargeables.
Chargez la batterie uniquement avec le chargeur spécifié par Toro. Un chargeur convenant à un certain type de batterie peut créer un risque d'incendie s'il est utilisé avec un autre type de batterie.
Ne chargez la batterie que dans un endroit bien ventilé.
N'exposez pas la batterie ou le chargeur au feu ou à des températures supérieures à 68 °C.
Respectez toutes les instructions de charge et ne chargez pas la batterie hors de la plage de température spécifiée dans les instructions. Vous risquez sinon d'endommager la batterie et d'accroître le risque d'incendie.
Utilisation
Ne vous tenez pas devant l'ouverture d'éjection.
Désengagez l'autopropulsion (selon l'équipement) avant de démarrer la machine.
Évitez les démarrages accidentels – assurez-vous que le bouton de démarrage électrique est retiré du démarreur électrique avant de brancher la batterie et de manipuler la machine.
Arrêtez la machine, enlevez le bouton de démarrage électrique, enlevez la batterie de la machine et attendez l'arrêt de tout mouvement avant d’effectuer l’entretien de la machine ou de la nettoyer.
Enlevez la batterie et le bouton de démarrage électrique de la machine chaque fois que vous la laissez sans surveillance ou avant de changer d'accessoires.
Ne dirigez pas l'éjection vers qui que ce soit. N'éjectez pas l'herbe coupée contre un mur ou un obstacle, car elle pourrait ricocher dans votre direction. Arrêtez la ou les lames quand vous passez sur du gravier.
Méfiez-vous des trous, ornières, bosses, rochers ou autres obstacles cachés. Vous pouvez glisser ou perdre l'équilibre si le terrain est irrégulier.
Si la machine heurte un objet ou se met à vibrer, arrêtez-la immédiatement, enlevez le bouton de démarrage électrique, enlevez la batterie et attendez l'arrêt complet tout mouvement avant de vérifier l'état de la machine. Effectuez toutes les réparations nécessaires avant de réutiliser la machine.
Arrêtez la machine et enlevez le bouton de démarrage électrique avant de charger la machine pour le transport.
Dans des conditions d'utilisation abusive, du liquide peut jaillir hors de la batterie ; évitez tout contact. En cas de contact accidentel avec le liquide, rincez à l'eau. En cas de contact du liquide avec les yeux, consultez un médecin. Le liquide éjecté hors de la batterie peut causer des irritations ou des brûlures.
Entretien et remisage
Arrêtez la machine, enlevez le bouton de démarrage électrique, enlevez la batterie de la machine et attendez l'arrêt de tout mouvement avant d’effectuer l’entretien de la machine ou de la nettoyer.
N'essayez pas de réparer la machine sauf comme expliqué dans les instructions. Confiez l'entretien de la machine à un concessionnaire-réparateur agréé qui utilise des pièces de rechange identiques.
Aiguisez les lames émoussées des deux côtés pour les maintenir équilibrées. Nettoyez la lame et vérifiez qu'elle est équilibrée.
Quand vous faites l'entretien de la lame, n'oubliez pas qu'elle peut encore bouger même si l'alimentation électrique est coupée.
Pour obtenir des résultats optimaux, utilisez uniquement des pièces de rechange et des accessoires d'origine Toro. Tous autres accessoires ou pièces de rechange peuvent être dangereux, et leur utilisation risque d'annuler la garantie produit.
Maintenez la machine en bon état – Pour obtenir des performances optimales et sûres, conservez le tranchant des lames propre et bien affûté. Gardez les poignées propres et sèches, et exemptes d'huile et de graisse. Gardez toujours les protections en place et en bon état. Maintenez les lames bien aiguisées. Utilisez uniquement des lames de rechange identiques.
Sauf indication contraire dans les instructions, faites réparer ou remplacer les protections ou les pièces endommagées par un concessionnaire-réparateur agréé.
Lorsque la batterie ne sert pas, rangez-la à l'écart d'objets métalliques tels que trombones, pièces de monnaie, clés, clous ou vis qui pourraient relier les bornes entre elles. Un court-circuit aux bornes de la batterie peut causer des brûlures ou un incendie.
Vérifiez fréquemment le serrage des boulons de montage de la lame et du moteur.
PRUDENCE – La batterie peut présenter un risque d'incendie ou de brûlure chimique en cas de mauvais traitement. Ne démontez pas la batterie. N'exposez pas la batterie à une température supérieure à 68 °C et ne l'incinérez pas. Remplacez toujours la batterie par une batterie Toro d'origine ; l'utilisation de tout autre type de batterie peut entraîner un incendie ou une explosion. Conservez les batteries hors de la portée des enfants et dans leur emballage d'origine jusqu'au moment de les utiliser.
Ne jetez pas la batterie au feu. L'élément pourrait exploser. Vérifiez si la réglementation locale stipule des procédures de mise au rebut spéciales.
![]() |
Des autocollants de sécurité et des instructions bien visibles par l'utilisateur sont placés près de tous les endroits potentiellement dangereux. Remplacez tout autocollant endommagé ou manquant. |








Important: Retirez et mettez au rebut la feuille de plastique qui protège le moteur.
Pièces nécessaires pour cette opération:
| Couvercle du compartiment de la batterie | 1 |
Placez les fermetures du couvercle en face des fentes et appuyez pour bloquer le couvercle en place.

Pièces nécessaires pour cette opération:
| Partie inférieure du guidon | 2 |
| Plaque de serrage | 2 |
| Barre de renfort | 2 |
| Boulon court | 2 |
| Rondelle plate | 4 |
| Contre-écrou | 8 |
| Partie supérieure du guidon | 1 |
| Rondelle cuvette | 6 |
| Long boulon | 4 |
| Écrou borgne | 6 |
Vous risquez d'endommager les câbles et de rendre l'utilisation de la machine dangereuse si vous n'assemblez pas le guidon correctement.
Veillez à ne pas endommager les câbles en assemblant le guidon.
Vérifiez que les câbles passent bien à l'intérieur du guidon et ne s'accrochent pas au déflecteur arrière.
Si un câble est endommagé, contactez votre concessionnaire Toro agréé.
Retirez les contre-écrous des 2 boulons exposés sur le plateau.
Fixez la partie inférieure du guidon de chaque côté du haut du plateau de coupe avec une plaque de serrage et les contre-écrous que vous avez retirés du plateau à l'opération précédente (1).
Note: Les tubes de la partie inférieure du guidon sont coudés au centre ; veillez à les monter en orientant la partie coudée vers le sol.

Fixez la base des barres de renfort de chaque côté du plateau de coupe en plaçant l'aide d'un boulon court, de rondelles plates à placées l'intérieur et l'extérieur du plateau, et d'un contre-écrou (Figure 5).

Fixez la partie supérieure du guidon et le haut des barres de renfort de chaque côté de la partie inférieure du guidon à l'aide de 3 rondelles bombées, 2 boulons et 2 contre-écrous (Figure 6).

Placez des écrous borgnes sur tous les écrous exposés du guidon.
Pièces nécessaires pour cette opération:
| Bac à herbe | 1 |
| Armature du bac à herbe | 1 |



La vitesse en marche avant de la machine est régulée par le système MatchDrive® et comporte 3 réglages fixes, ainsi qu'une option de vitesse variable. Le réglage de la vitesse d'autopropulsion de la machine permet aux opérateurs travaillant avec plusieurs machines d'obtenir une qualité de coupe et un niveau de performance constants.
Appuyez sur le bouton sélecteur de vitesse sur le panneau de commande de la tête motrice pour parcourir les différents réglages de vitesse fixes. Un voyant s'allume sous le réglage de vitesse sélectionné :
I – Vitesse lente – 3 km/h
II – Vitesse intermédiaire – 4 km/h
III – Vitesse rapide – 5,2 km/h

Le réglage IV (Figure 11) sur le bouton sélecteur permet de réguler la vitesse de la machine avec le disque de commande sur le bouton de démarrage électrique. Tournez le disque vers la droite pour augmenter la vitesse et vers la gauche pour la réduire, de la vitesse minimale de 1,6 km/h à la vitesse maximale de 5,6 km/h.

La machine dispose de 2 réglages de vitesse de la lame : STANDARD et ECO.
Lorsqu'elle est réglée sur STANDARD, la vitesse de la lame est fixée de manière permanente.
Lorsqu'elle est réglée sur ECO, la vitesse de la lame reste à la vitesse la plus basse en permanence (sauf si la machine est fortement sollicitée). Cette vitesse est idéale pour le mulching après la tonte, et permet l'utilisation la plus efficace de la puissance de la batterie.
| Réglage de vitesse de la lame | Vitesse (tr/min) |
| STANDARD | 2 800 |
| ECO | 2400 |
La machine démarre automatiquement en réglage STANDARD. Appuyez sur le bouton de vitesse de la lame sur le panneau de commande de la tête motrice pour changer le réglage de la vitesse (Figure 13).

Le panneau de commande de la tête motrice comprend plusieurs voyants et affiche l'état actuel des batteries.
En cas de défaillance du boîtier d'engrenages, 4 voyants clignotent (A de Figure 14) ; voir .
Le panneau d'état des batteries utilise des voyants pour indiquer le niveau de charge des batteries et les problèmes ou erreurs éventuels des batteries (B de Figure 14). Si les batteries sont presque déchargées (<10 %), le bas des 4 voyants de charge clignote.
En cas de défaillance d'une batterie, les voyants d'erreur clignotent au bas du panneau d'état des batteries (B de Figure 14). Le voyant d'erreur gauche correspond à la batterie gauche (vu depuis la position d'utilisation) et le voyant d'erreur droit correspond à la batterie droite.

|
Modèle |
Largeur de coupe |
Longueur |
Largeur |
Hauteur |
Poids |
|---|---|---|---|---|---|
|
02660T | 56 cm | 175,5 cm | 61 cm | 103 cm | 52,7 kg |
|
Charge ou stockage de la batterie |
Utilisation de la batterie |
Utilisation de la machine |
|---|---|---|
|
5 °C et 40 °C* |
-30 °C et 49 °C* |
0 °C et 49 °C* |
*Le temps de charge peut augmenter en dehors de cette plage de température.
Rangez la machine, les batteries et les chargeurs de batteries dans un local fermé, propre et sec.
Une sélection d'outils et d'accessoires agréés par Toro est disponible pour augmenter et améliorer les capacités de la machine. Pour obtenir la liste de tous les accessoires et outils agréés, contactez votre concessionnaire-réparateur ou votre distributeur Toro agréé, ou rendez-vous sur www.Toro.com.
Pour garantir un rendement optimal et conserver la certification de sécurité de la machine, utilisez uniquement des pièces de rechange et accessoires d'origine Toro. Les pièces de rechange et accessoires d’autres constructeurs peuvent être dangereux.
Important: Utilisez les batteries uniquement à des températures comprises dans la plage adéquate ; voir Caractéristiques techniques.
Vérifiez que le bouton de démarrage électrique n'est pas installé sur la machine.
Vérifiez que les prises d'air et les bornes de charge des batteries sont exemptes de poussière et de débris.
Soulevez le couvercle du compartiment de la batterie (A de la Figure 15).
Placez le creux des batteries en face des languettes sur la machine, et glissez les batteries dans le compartiment jusqu'à ce qu'elles s'enclenchent en position (B de Figure 15).
Refermez le couvercle du compartiment de la batterie (C de la Figure 15).
Note: Si le couvercle du compartiment des batteries ne se ferme pas complètement, cela signifie que les batteries ne sont pas parfaitement installées.La machine peut fonctionner avec 1 ou 2 batteries installées.

Le bouton de démarrage électrique est rangé dans le compartiment des batteries pour la livraison. Sortez-le du compartiment et rangez-le en lieu sûr avant le montage.
Lors du réglage de la hauteur de coupe, vous pouvez vous blesser gravement si vos mains touchent une lame en mouvement.
Coupez le moteur, retirez les batteries et attendez l'arrêt complet de toutes les pièces mobiles avant de régler la hauteur de coupe.
Ne mettez pas les doigts sous le carter de la tondeuse quand vous réglez la hauteur de coupe.
Tirez le levier de hauteur de coupe sur le côté pour le désengager du cran de verrouillage (Figure 16).

Poussez le levier en avant pour réduire la hauteur de coupe ou tirez-le en arrière pour augmenter la hauteur de coupe (Figure 16).
Relâchez le levier à la position voulue et vérifiez qu'il s'enclenche fermement dans l'un des 7 crans de réglage (Figure 16).
| Réglage de hauteur | Hauteur de coupe |
| 1 | 13.0 mm |
| 2 | 20.8 mm |
| 3 | 28.7 mm |
| 4 | 36.5 mm |
| 5 | 44.3 mm |
| 6 | 52.2 mm |
| 7 | 60.0 mm |
Vous pouvez obtenir 6 réglages de hauteur supplémentaires en utilisant le système de réglage MatchCut. Cette fonction permet d'ajuster la plaque de sélection de hauteur de coupe d'un demi réglage.
Desserrez le boulon de fixation de la plaque de sélection avec une clé Allen (Figure 17).

Tournez le système de réglage MatchCut de 180° (Figure 17 et Figure 18).
Note: Un indicateur apparaît au bas de la plaque de sélection qui signale quand le système MatchCut est activé.

Serrez le boulon de la plaque de sélection de hauteur de coupe pour fixer la plaque en position.
| Réglage de hauteur (avec Matchcut) | Hauteur de coupe |
| 1,5 | 16,9 mm |
| 2,5 | 24,8 mm |
| 3,5 | 32,6 mm |
| 4,5 | 40,4 mm |
| 5,5 | 48,3 mm |
| 6,5 | 56,1 mm |
Vérifiez que les batteries sont installées dans la machine ; voir Installation d'une batterie.
Insérez le bouton de démarrage électrique (voir Emplacement du bouton de démarrage électrique) dans l'interrupteur de démarrage électrique (A de Figure 19).
Serrez la barre de commande de la lame contre le guidon (B de la Figure 19).
Appuyez sur le bouton de démarrage électrique jusqu'à ce que la machine démarre et que la lame se mette à tourner (C de Figure 19).

Utilisez l'autopropulsion comme suit :
Pour engager l'autopropulsion :
Pendant que la lame de la tondeuse est en marche, engagez la barre de commande d’autopropulsion (Figure 20).
La lame étant arrêtée, appuyez deux fois brièvement sur le bouton de démarrage électrique, puis engagez la barre de commande d’autopropulsion dans un délai de 15 secondes.
Pour désengager l'autopropulsion, relâchez la barre de commande d'autopropulsion.
Note: Attendez 2 secondes que le cycle de débrayage se termine avant d'engager de nouveau la barre de commande d’autopropulsion après l'avoir désengagée. Si vous ne le faites pas, des témoins peuvent s'allumer sur la tête motrice et entraîner le désengagement de la transmission.
Note: Si vous relâchez la barre de commande d'autopropulsion, vous pouvez engager à nouveau l'autopropulsion sans avoir à appuyer sur le bouton de démarrage électrique à condition d'engager la barre dans les 15 secondes.
La vitesse de déplacement de la machine peut être ajustée en utilisant la commande de vitesse variable ; voir Sélection de la vitesse d'autopropulsion.
Note: Lorsque la barre de commande d’autopropulsion est désengagée, la tondeuse peut être poussée. Cette fonction est utile lorsque vous tondez dans des espaces confinés.

Relâchez la barre de commande de la lame (A de la Figure 21).
Important: Lorsque vous relâchez la barre de commande, la lame doit s'arrêter en moins de 3 secondes. Si ce n'est pas le cas, cessez immédiatement d'utiliser la machine et contactez un concessionnaire Toro agréé.
Retirez le bouton de démarrage électrique de l'interrupteur de démarrage électrique (B de Figure 21).

Note: Lorsque vous n'utilisez pas la machine pendant une période prolongée, retirez le bouton de démarrage électrique et les batteries ; voir Avant le remisage.
Soulevez le couvercle du compartiment des batteries.
Appuyez sur les verrous des batteries pour débloquer et enlever les batteries.
Refermez le couvercle du compartiment de la batterie.
Utilisez le bac à herbe pour recueillir les débris d'herbe et de feuilles déposés sur la pelouse.
Si le bac à herbe est usé, des débris risquent d'être projetés vers l'utilisateur ou des personnes à proximité, et de causer des blessures graves ou mortelles.
Contrôlez fréquemment le bac à herbe. S'il est endommagé, remplacez-le par un bac Toro neuf d'origine.
Arrêtez la machine et attendez l'arrêt complet de toutes les pièces mobiles.
Retirez le bouton de démarrage électrique et les batteries.
Soulevez le déflecteur arrière et gardez-le dans cette position.
Accrochez le bac à herbe en place (Figure 22).

Appuyez le déflecteur arrière sur le bac.
De l'herbe ou autres débris peuvent être projetés par l'ouverture dans le carter de la machine si elle n'est pas fermée. Ces débris peuvent être projetés avec une force suffisante pour infliger des blessures graves, voire mortelles, à l'utilisateur ou aux personnes à proximité.
N'ouvrez jamais le déflecteur arrière de la machine quand elle est en marche.
Important: La tondeuse doit être utilisée avec le bac à herbe en place ou avec le déflecteur arrière en position fermée.
Arrêtez la machine et attendez l'arrêt complet de toutes les pièces mobiles.
Retirez le bouton de démarrage électrique et les batteries.
Soulevez le déflecteur arrière et gardez-le dans cette position.
Décrochez le bac à herbe.
Appuyez le déflecteur arrière sur le plateau.
Évitez de heurter des obstacles avec la lame. Ne passez jamais intentionnellement sur un objet quel qu'il soit.
Pour obtenir des résultats optimaux, remplacez la lame au début de la saison de tonte.
Remplacez la lame dès que nécessaire par une lame Toro d'origine.
L'herbe pousse plus ou moins vite selon l'époque de l'année. Pendant les grosses chaleurs, il est préférable de tondre à la hauteur de coupe la plus haute. Ne tondez l'herbe que sur un tiers de sa hauteur à chaque fois. N'utilisez pas la hauteur de coupe minimale, sauf si l'herbe est clairsemée ou à la fin de l'automne quand la pousse commence à ralentir. Pour améliorer la durée de fonctionnement, utilisez une hauteur de coupe plus élevée.
Pour obtenir des performances optimales, en particulier dans des conditions difficiles, utilisez le réglage de vitesse des lames STANDARD et tondez plus lentement.
Si l'herbe est haute, effectuez un premier passage à vitesse réduite à la hauteur de coupe maximale ; repassez ensuite à une hauteur de coupe inférieure pour obtenir une coupe plus esthétique. L'herbe trop longue se dépose en paquets sur la pelouse et risque d'obstruer la machine et de faire caler la tête motrice.
L'herbe et les feuilles humides ont tendance à s'agglomérer sur la pelouse et peuvent obstruer la machine et faire caler le moteur. Évitez de tondre quand l'herbe est humide.
Soyez conscient des risques d'incendie par temps très sec, respectez tous les avertissements locaux relatifs aux incendies, et ne laissez pas l'herbe et les feuilles sèches s'accumuler sur la machine.
Alternez la direction de la tonte. Cela permet de disperser les déchets plus uniformément et d'obtenir une fertilisation plus homogène.
Si l'aspect de la pelouse tondue n'est pas satisfaisant, essayez une ou plusieurs des solutions suivantes :
Aiguisez la lame.
Tondez plus lentement.
Augmentez la hauteur de coupe.
Tondez plus souvent.
Empiétez sur les passages précédents pour tondre une largeur de bande réduite.
Après la tonte, 50 % de la pelouse doit être visible sous la couche de feuilles hachées. Vous devrez peut-être repasser plusieurs fois sur les feuilles.
Si la couche de feuilles sur la pelouse fait plus de 13 cm d'épaisseur, utilisez une hauteur de coupe plus élevée, puis faites un second passage à la hauteur de coupe désirée.
Ralentissez la vitesse de tonte si les feuilles ne sont pas hachées assez menues.
Important: La batterie n'est pas complètement chargée à l'achat. Avant d'utiliser l'outil pour la première fois, placez la batterie dans le chargeur et chargez-la jusqu'à ce que les diodes indiquent qu'elle est complètement chargée. Lisez toutes les consignes de sécurité.
Important: Chargez la batterie uniquement à une température comprise dans la plage adéquate ; voir Caractéristiques techniques.
Note: À tout moment, appuyez sur le bouton indicateur de charge de la batterie pour afficher la charge actuelle (LED).
Vérifiez que les prises d'air et les bornes de charge de la batterie et du chargeur sont exemptes de poussière et de débris.

Placez le creux de la batterie (Figure 23) devant la languette du chargeur.
Insérez la batterie dans le chargeur jusqu'à ce qu'elle soit complètement enclenchée (Figure 23).
Pour retirer la batterie du chargeur, faites-la glisser vers l'arrière.
Reportez-vous au tableau ci-dessous pour interpréter les indications de la LED du chargeur de batterie.
| LED | Indication |
| Éteinte | Pas de batterie présente |
| Clignotement vert | Batterie en charge |
| Verte | Batterie chargée |
| Rouge | La température de la batterie et/ou du chargeur est supérieure ou inférieure à la plage appropriée. |
| Clignotement rouge | Anomalie de charge de la batterie* |
*Voir pour plus d'informations.
Important: Vous pouvez laisser la batterie dans le chargeur pendant une courte période entre deux utilisations.Si la batterie ne doit pas servir pendant une période prolongée, retirez-la du chargeur ; voir Avant le remisage.
| Périodicité d'entretien | Procédure d'entretien |
|---|---|
| Après chaque utilisation |
|
Des débris peuvent être délogés et éjectés de sous la machine.
Portez une protection oculaire.
Restez à la position d'utilisation (derrière le guidon) quand le moteur est en marche.
N'autorisez personne à pénétrer dans la zone de travail.
Pour obtenir des résultats optimaux, utilisez le raccord de lavage rapide pour nettoyez la machine le plus rapidement possible après la tonte.
Important: Nettoyez soigneusement le plateau de coupe directement après chaque utilisation sur de l'herbe traitée.
Arrêtez la machine et attendez l'arrêt complet de toutes les pièces mobiles.
Retirez le bouton de démarrage électrique et les batteries.
Abaissez la machine à la hauteur de coupe la plus basse ; voir Réglage de la hauteur de coupe.
Branchez un tuyau d'arrosage, relié à une arrivée d'eau, au raccord de lavage rapide (Figure 24).

Ouvrez l'arrivée d'eau.
Insérez le bouton de démarrage électrique et les batteries, démarrez le moteur de la machine, engagez la lame et faites-la tourner jusqu'à ce que plus aucun déchet d'herbe ne soit éjecté de sous la machine.
Important: Ne dirigez pas l'eau sur la transmission.
Coupez le moteur de la machine., coupez l'arrivée d'eau et débranchez le tuyau d'arrosage de la machine.
Mettez le moteur en marche et laissez-le tourner quelques minutes pour sécher le dessous de la machine et l'empêcher de rouiller.
Coupez le moteur et laissez-le refroidir avant de remiser la machine dans un local fermé.
Note: Les côtés gauche et droit de la machine sont déterminés d'après la position d'utilisation normale.
| Périodicité d'entretien | Procédure d'entretien |
|---|---|
| À chaque utilisation ou une fois par jour |
|
| Après chaque utilisation |
|
| Toutes les 25 heures |
|
| Une fois par an |
|
Amenez la machine sur une surface plane et horizontale.
Coupez le moteur de la machine, retirez le bouton de démarrage électrique et retirez toutes les batteries.
| Périodicité d'entretien | Procédure d'entretien |
|---|---|
| Toutes les 25 heures |
|
Important: Ne faites pas tourner le moteur sans le filtre à air au complet, sous peine d'endommager gravement le moteur.
Effectuez les préparatifs d'entretien recommandés ; voir Préparation à l'entretien.
Déclipsez et retirez le couvercle et le filtre en mousse. Nettoyez chacun soigneusement (Figure 25).

Placez le filtre en mousse dans le couvercle arrière et placez-le dans la tête motrice.
| Périodicité d'entretien | Procédure d'entretien |
|---|---|
| Toutes les 25 heures |
|
Effectuez les préparatifs d'entretien recommandés ; voir Préparation à l'entretien.
Déposez le couvercle supérieur en retirant 4 boulons (M6) et un rivet poussoir (Figure 26).

Avec une brosse, éliminez le débris sur la transmission, en particulier sur le ventilateur et les évents (Figure 26).
Important: N'essayez pas de nettoyer la transmission avec de l'eau ou de l'air comprimé.
Reposez le couvercle à l'aide des fixations retirées précédemment.
| Périodicité d'entretien | Procédure d'entretien |
|---|---|
| Toutes les 25 heures |
|
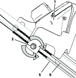
Lorsque vous remplacez le câble, ou si le câble d'autopropulsion ou de commande de la lame est mal ajusté, réglez les câbles.
Tournez l'écrou de réglage dans le sens antihoraire pour desserrer le réglage du câble (Figure 27).

Ajustez la tension des câbles (Figure 27) en les tirant en arrière ou en les poussant en avant, puis en les maintenant à cette position.
Tournez l'écrou de réglage dans le sens horaire pour serrer le réglage du câble.
Note: Serrez l'écrou solidement avec une clé à douille ou à molette.
Important: Ne tendez pas les câbles de manière excessive, au risque d'endommager les commandes électriques.
| Périodicité d'entretien | Procédure d'entretien |
|---|---|
| À chaque utilisation ou une fois par jour |
|
| Une fois par an |
|
Important: Vous aurez besoin d'une clé dynamométrique pour monter la lame correctement. Si vous n'en possédez pas ou si vous ne vous sentez pas capable d'effectuer cette procédure, adressez-vous à un concessionnaire-réparateur agréé.
Si la lame est endommagée ou fêlée, remplacez-la immédiatement. Si la lame est émoussée ou ébréchée, faites-la aiguiser et équilibrer ou remplacez-la.
La lame est tranchante et vous pouvez vous blesser gravement à son contact.
Portez des gants pour effectuer l'entretien de la lame.
Basculez la machine sur le côté, levier de sélection de hauteur de coupe en haut.
Immobilisez la lame avec un morceau de bois (Figure 28).

Déposez la lame et conservez les fixations (Figure 28).
Montez la nouvelle lame et toutes les fixations (Figure 29).

Important: Dirigez les ailettes de la lame vers le carter de la machine.
À l'aide d'une clé dynamométrique, serrez le boulon de lame à 75 N·m.
| Périodicité d'entretien | Procédure d'entretien |
|---|---|
| À chaque utilisation ou une fois par jour |
|
| Toutes les 25 heures |
|
Une lame légèrement émoussée peut être aiguisée. Les deux tranchants de la lame doivent être affûtés également pour assurer un bon équilibrage.
Retirez la batterie de la machine ; voir Remplacement de la lame.
Nettoyez la lame avec une brosse et de l'eau, puis vérifiez si elle est endommagée.
Aiguisez les deux tranchants avec une lime plate.

Insérez un tournevis dans le trou central et tenez la lame à l'horizontale.
Note: Une lame équilibrée restera à horizontale.

Aiguisez l'extrémité la plus lourde jusqu'à ce que la lame soit correctement équilibrée.
Note: Si la lame n'est pas équilibrée, l'extrémité la plus lourde penchera vers le bas.

Important: Après avoir retiré la batterie, recouvrez les bornes de ruban adhésif épais. N'essayez pas de détruire ou de démonter la batterie ni de déposer aucun de ses composants.
Contactez votre municipalité ou votre distributeur Toro autorisé pour plus d'informations sur le recyclage responsable de la batterie.
Important: Remisez la machine, la batterie et le chargeur uniquement à des températures comprises dans la plage adéquate ; voir Caractéristiques techniques.
Important: Si vous remisez la batterie à la fin de la saison, chargez-la jusqu'à ce que 1 ou 2 de ses diodes soient vertes. Ne remisez pas une batterie complètement chargée ou complètement déchargée. Avant de remettre la machine en service, chargez la batterie jusqu'à ce que la LED gauche du chargeur devienne vert ou que les 4 LED de la batterie deviennent vertes.
Débranchez le produit de l'alimentation (autrement dit, retirez les batteries et le bouton de démarrage électrique) et recherchez tout dommage éventuel après utilisation.
Ne remisez pas la machine ou le chargeur en laissant une batterie dessus.
Débarrassez le produit de tout corps étranger.
Lorsque la machine ne sert pas, rangez-la ainsi que le bouton de démarrage électrique, les batteries et les chargeurs de batteries hors de portée des enfants.
Tenez la machine, les batteries et les chargeurs à l'écart des agents corrosifs, tels que produits chimiques de jardinage et sels de déglaçage.
Pour réduire les risques de blessures graves, ne rangez pas les batteries à l'extérieur ou dans un véhicule.
Rangez la machine, les batteries et les chargeurs dans un local fermé, propre et sec.
Effectuez uniquement les opérations décrites dans ces instructions. Tout autre contrôle, entretien ou réparation doit être réalisé par un distributeur Toro agréé ou un spécialiste qualifié si vous n'arrivez pas à résoudre le problème vous-même.
| Problem | Possible Cause | Corrective Action |
|---|---|---|
| La machine ne démarre pas. |
|
|
| La machine ne fonctionne pas ou fonctionne par intermittence. |
|
|
| La machine n'atteint pas sa pleine puissance. |
|
|
| Les batteries se déchargent rapidement. |
|
|
| Le chargeur de batterie ne fonctionne pas. |
|
|
| La LED du chargeur de batterie est rouge. |
|
|
| La LED du chargeur de batterie clignote en rouge. |
|
|
| La machine émet un bip sonore. |
|
|
| La machine n'avance pas automatiquement. |
|
|
| La vitesse de marche avant de la machine est réduite. |
|
|
| Le boîtier d'engrenages produit un son différent. |
|
|
| La machine ou le moteur de la lame produit des vibrations ou des bruits excessifs. |
|
|
| La qualité de la coupe a diminué ou n'est pas satisfaisante. |
|
|
| Le ramassage est réduit ou insatisfaisant. |
|
|
| La tonte n'est pas régulière. |
|
|