切勿从机器上卸下 ROPS。
确保安全带已连接,且在紧急状况下可以迅速解开。
仔细检查是否有头顶障碍物,且不要触碰到它们。
定期全面检查 ROPS 是否受损,并保持所有安装紧固件都处于拧紧状态,使 ROPS 始终处于安全操作状态之下。
更换受损的 ROPS。切勿修理或修改 ROPS。
ROPS 是一种一体式安全设备。
应始终佩戴安全带。
![]() |
任何潜在危险区附近均贴有操作员清晰可见的安全标贴和说明。更换受损或丢失的标贴。 |

将机器停在水平地面上。
接合驻车刹车。
关闭机器并拔下钥匙。

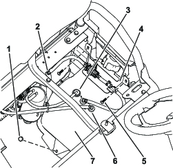
从油箱上断开燃油泵管线、通气管和燃油管线(图 8)。
在特定条件下,燃油极为易燃易爆。燃油起火或爆炸会灼伤您和他人,而且还会造成财产损失。
发动机冷却下来后,将燃油排出油箱。请在室外开阔区域排油。擦干净溢出的燃油。
处理燃油时切勿吸烟,而且要远离明火或燃油烟气容易被火花点燃的场所。
使用 T30 套筒扳手,卸下将压紧装置固定至左侧板的 2 个梅花头螺丝(M6 x 22mm),然后取下压紧装置(图 8)。
卸下将油箱固定至油箱托盘的凸缘螺栓 (5/16 x 3/4 英寸),并卸下油箱(图 8)。

使用 T30 套筒扳手,从左侧板上卸下 6 个梅花头螺丝(M6 x 22mm),然后取下左侧板(图 9)。

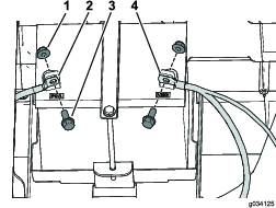
如图 10所示,先后从电池上断开负极 (–) 接线和正极 (+) 接线。

卸下将电池托盘固定到机架上的 2 个凸缘头螺栓(5/16 x 3/4 英寸),并使用 T30 套筒扳手卸下固定右侧板的 4 个梅花头螺丝(M6 x 22mm),然后取下右侧板(图 11)。
Note: 如图 11所示,电池与右侧板一块脱离。

卸下各个橡胶盖上的 10 个塑料铆钉和扎带,然后取下橡胶盖(图 12)。

使用如图 15所示的测量值修剪侧面板。

此程序中需要的物件:
| 翻车保护杆 | 1 |
| 凸缘头螺栓(½ x 3½ 英寸) | 4 |
| 锁紧螺母(½ 英寸) | 4 |
Note: 使用辅助工具,帮助您把翻车保护杆提升到位。
如图 17所示,用 2 个凸缘头螺栓(½ x 3½ 英寸)和 2 个锁紧螺母(½ 英寸)将翻车保护杆的一侧固定到 ROPS 支架上。

上紧 2 个凸缘头螺栓(½ x 3½ 英寸)扭矩至 94~108N∙m。
在另一侧重复此步骤。
此程序中需要的物件:
| 安全带 | 2 |
| 座椅闩锁 | 2 |
| 六角头螺栓(7/16 x 1 英寸) | 4 |
| 扁平垫圈(7/16 英寸) | 8 |
| 锁紧螺母 (7/16 英寸) | 4 |
将座椅组件滑到销上,放下座椅组件(图 20)。

此程序中需要的物件:
| 左风挡支撑 | 1 |
| 右风挡支撑 | 1 |
| 前支架 | 1 |
| 后顶篷支架 | 1 |
| 左前安装支架 | 1 |
| 右前底座支架 | 1 |
| 左后底座支架 | 1 |
| 右后底座支架 | 1 |
| 左后角撑板 | 1 |
| 右后角撑板 | 1 |
| 左前角撑板 | 1 |
| 右前角撑板 | 1 |
| 前交联 | 1 |
| 交联管 | 2 |
| 凸缘螺母(5/16 英寸) | 28 |
| 螺母(¼ 英寸) | 2 |
| 六角头凸缘螺栓(¼ x 1½ 英寸) | 2 |
| 托架螺栓(5/16 x 1¾ 英寸) | 16 |
| 六角凸缘螺栓(5/16 x 1 英寸) | 2 |
| 托架螺栓(5/16 x 2¾ 英寸) | 6 |
| 托架螺栓 (5/16 x 1 英寸) | 4 |
Note: 除非有特别说明,否则不要上紧任何紧固件。
使用图 21中所示的尺寸,在机器左右侧的底板外侧钻 2 个孔(5/16 英寸)。

使用图 22中所示的尺寸,在机器左右侧的脚踏板外侧钻 1 个孔(5/16 英寸)。

用 2 个六角凸缘螺栓(5/16 x 1 英寸)和 2 个螺母(5/16 英寸)将左、右风挡支撑的中间支架固定到机器上钻出的孔内(图 23)。

用 4 个托架螺栓(5/16 x 1 英寸)和 4 个凸缘螺母(5/16 英寸)将左、右风挡支撑的下支架固定到您在步骤 1中钻出的孔内(图 24)。

使用 2 个托架螺栓(5/16 x 2¾ 英寸)和 2 个凸缘螺母(5/16 英寸),将后顶篷支架和后滤网固定到翻车保护杆上(图 25)。

使用 4 个托架螺栓(5/16 x 2¾ 英寸)和 4 个螺母(5/16 英寸),将后安装支架和后角撑板固定到翻车保护杆上(图 26)。

如图 27所示,用 4 个托架螺栓(5/16 x 1¾ 英寸)和 4 个凸缘螺母(5/16 英寸)将交联管松松地安装到后安装支架和后角撑板上。

如图 27所示,用 8 个托架螺栓(5/16 x 1¾ 英寸)和 8 个凸缘螺母(5/16 英寸)将前安装支架和前角撑板松松地安装到交联管和风挡支撑上。
如图 28所示,用 4 个托架螺栓(5/16 x 1¾ 英寸)和 4 个凸缘螺母(5/16 英寸)将前交联松松地安装到前安装支架和角撑板上。

用 2 个六角头凸缘螺栓(¼ x 1½ 英寸)和 2 个螺母(¼英寸),将前支架固定到前交联上(图 29)。

上紧所有松的紧固件。
此程序中需要的物件:
| 遮阳篷 | 1 |
| 夹子 | 2 |
| 密封垫圈 | 4 |
| 六角凸缘螺栓(¼ x 1 英寸) | 4 |
| 摩擦垫圈 | 2 |
| 塑料垫圈 | 4 |
| 凸缘轴套 | 2 |