Manutenzione
Note: Stabilite i lati sinistro e destro della macchina rispetto alla normale posizione di guida.
Disassemblaggio del gruppo lama dell’elemento anti-feltro
Disassemblate il gruppo lama dell’elemento anti-feltro ogni qualvolta sia necessario cambiare una lama o sostituire i cuscinetti.
-
Fissate il controdado sull’estremità del gruppo, che contiene la rondella, in una morsa.
Note: Non rimuovete la rondella o il dado sulla parte laterale del gruppo.
-
Rimuovete il bullone esagonale, il cuscinetto e la guarnizione floccata.
-
Sull’altra estremità dell’albero, rimuovete l’inserto scanalato filettato a sinistra.
Attenzione
Le lame sono molto affilate ed eventuali bave presenti sulle stesse potrebbero procurarvi tagli alle mani.
Indossate guanti e prestate attenzione durante la rimozione delle lame dall'albero.
-
Rimuovete il cuscinetto, la guarnizione floccata e i distanziali. Pulite e lubrificate l’albero con uno strato sottile di grasso per agevolare l’assemblaggio.

-
Applicate un composto frenafiletti a media resistenza (per esempio, Blue Loctite 243) ai filetti dell’inserto scanalato, del bullone esagonale e del controdado durante l’assemblaggio del gruppo lama dell’elemento anti-feltro.
Important: L’ordine di disassemblaggio è estremamente importante. Non invertite le lame durante il disassemblaggio, né l'ordine in fase di assemblaggio. Prendete nota del foro di riferimento su ciascuna lama. Il foro di riferimento serve ai fini dell’assemblaggio, per dare la conformazione elicoidale appropriata. Ruotate la lama facendo ruotare di 1 giro in senso antiorario la rondella elicoidale attorno al foro di riferimento per ogni successiva lama, per un assemblaggio elicoidale appropriato della lama dell’elemento anti-feltro.

-
Serrate l’inserto scanalato filettato, il dado esagonale e il controdado a 108–135 N∙m.
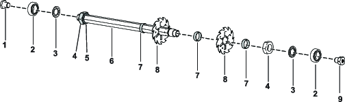
Disassemblaggio del gruppo lama dell’elemento anti-feltro
Disassemblate il gruppo lama dell’elemento anti-feltro ogni qualvolta sia necessario cambiare una lama o sostituire i cuscinetti.
-
Fissate il controdado sull’estremità del gruppo, che contiene la rondella, in una morsa.
Note: Non rimuovete la rondella o il dado sulla parte laterale del gruppo.
-
Rimuovete il bullone esagonale, il cuscinetto e la guarnizione floccata.
-
Sull’altra estremità dell’albero, rimuovete l’inserto scanalato filettato a sinistra.
Attenzione
Le lame sono molto affilate ed eventuali bave presenti sulle stesse potrebbero procurarvi tagli alle mani.
Indossate guanti e prestate attenzione durante la rimozione delle lame dall'albero.
-
Rimuovete il cuscinetto, la guarnizione floccata e i distanziali. Pulite e lubrificate l’albero con uno strato sottile di grasso per agevolare l’assemblaggio.
Note: Il set di lame in acciaio armonico è dotato di una rondella grande e un'ulteriore lama installata prima del primo distanziale, come illustrato di seguito.

-
Applicate un composto frenafiletti a media resistenza (per esempio, Blue Loctite 243) ai filetti dell’inserto scanalato, del bullone esagonale e del controdado durante l’assemblaggio del gruppo lama dell’elemento anti-feltro.
-
Serrate l’inserto scanalato filettato, il dado esagonale e il controdado a 108–135 N∙m.
Manutenzione del rullo
Per la manutenzione del rullo sono disponibili un Kit per ricostruzione rullo per green (n. cat. 140-5552) e un Kit utensili per ricostruzione rullo per green (n. cat. 140-5553) (Figura 9). Il Kit per ricostruzione rullo include tutti i cuscinetti, i dadi dei cuscinetti e le guarnizioni necessari per ricostruire un rullo.
Il Kit utensili per ricostruzione rullo include tutti gli utensili e le istruzioni d’installazione necessari per ricostruire un rullo con il kit per ricostruzione rullo. Consultate il catalogo ricambi o il vostro distributore Toro autorizzato per ricevere assistenza.



che riporta l’indicazione di Attenzione,
Avvertenza o Pericolo – norme di sicurezza personali. Il mancato
rispetto di queste istruzioni può provocare infortuni o la
morte.



