유지보수
Note: 정상 운전 위치에서 장비의 좌측과 우측을 판단하십시오.
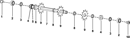
대취 제거기 블레이드 어셈블리 분해
블레이드를 변경하고 릴 베어링을 교체하려면 대취 제거기 블레이드 어셈블리를 분해하십시오.
-
와셔를 포함하는 어셈블리 단부의 잼 너트를 바이스로 고정합니다.
Note: 어셈블리의 이 측면에서 와셔나 너트를 제거하지 마십시오.
-
6각 볼트, 베어링, 플록 씰을 분리합니다.
-
샤프트의 다른 쪽 끝에서 좌회전 나사산 스플라인 인서트를 제거합니다.
주의
블레이드는 아주 날카로우며 깔쭉깔쭉한 부분에 손이 베일 수 있습니다.
샤프트에서 블레이드를 분리할 때에는 장갑을 끼고 주의를 기울이십시오.
-
베어링, 플록 씰, 블레이드, 스페이서를 제거합니다. 샤프트를 닦은 다음 조립하기 쉽도록 그리스를 얇게 발라 윤활합니다.

-
대취 제거기 블레이드 어셈블리를 조립할 때 중급 강도의 나사산 고정제(예: Blue Loctite 243)를 스플라인 인서터, 6각 볼트, 잼 너트의 나사산에 바릅니다.
Important: 분해 순서는 매우 중요합니다. 분해 시 블레이드의 방향이 반대로 되지 않도록 하십시오. 조립할 때는 분해의 역순으로 조립하십시오. 각 레이드에 있는 인덱스 구멍에 유의하십시오. 인덱스 구멍은 조립시 나선형으로 정렬할 수 있도록 뚫려 있습니다. 적절한 대취 제거기 블레이드 어셈블리 나선에 해당하는 각각의 연속적인 블레이드에 대해 인덱스 구멍 1 나선형 플랫을 사용하여 블레이드를 반시계 방향으로 돌립니다.

-
나사산 스플라인 인서트, 6각 볼트, 잼 너트를 108~135 N∙m의 토크로 조입니다.
대취 제거기 블레이드 어셈블리 분해
블레이드를 변경하고 릴 베어링을 교체하려면 대취 제거기 블레이드 어셈블리를 분해하십시오.
-
와셔를 포함하는 어셈블리 단부의 잼 너트를 바이스로 고정합니다.
Note: 어셈블리의 이 측면에서 와셔나 너트를 제거하지 마십시오.
-
6각 볼트, 베어링, 플록 씰을 분리합니다.
-
샤프트의 다른 쪽 끝에서 좌회전 나사산 스플라인 인서트를 제거합니다.
주의
블레이드는 아주 날카로우며 깔쭉깔쭉한 부분에 손이 베일 수 있습니다.
샤프트에서 블레이드를 분리할 때에는 장갑을 끼고 주의를 기울이십시오.
-
베어링, 플록 씰, 블레이드, 스페이서를 제거합니다. 샤프트를 닦은 다음 조립하기 쉽도록 그리스를 얇게 발라 윤활합니다.
Note: 스프링 강 블레이드 세트는 하기에 표시된 첫 번째 스페이서 이전에 설치된 대형 와셔 및 추가 블레이드를 구비합니다.

-
대취 제거기 블레이드 어셈블리를 조립할 때 중급 강도의 나사산 고정제(예: Blue Loctite 243)를 스플라인 인서터, 6각 볼트, 잼 너트의 나사산에 바릅니다.
-
나사산 스플라인 인서트, 6각 볼트, 잼 너트를 108~135 N∙m의 토크로 조입니다.
롤러 정비
Greens 롤러 정비에 롤러 수리 키트(부품 번호: 140–5552)와 Greens 롤러 수리 도구 키트(부품 번호: 140–5553)(그림 9)를 사용할 수 있습니다. 롤러 수리 키트에는 롤러 수리를 위한 모든 베어링, 베어링 너트, 씰이 들어 있습니다.
롤러 수리 도구 키트에는 롤러 수리 키트로 롤러를 수리하는 데 필요한 모든 도구와 설치 지침이 들어 있습니다. 도움이 필요하면 부품 카탈로그를 참조하거나 Toro 지정 판매 대리점에 문의하십시오.



에 항상 주의를 기울이십시오. 이 지침을 따르지
않을 경우 사람이 다치거나 사망하는 사고가 발생할 수 있습니다.



