| Karbantartási időköz | Karbantartási intézkedés |
|---|---|
| Minden egyes használat előtt, vagy naponta |
|
Ez a forgókéses fűnyíró traktor professzionális kezelők számára, kereskedelmi alkalmazásra készült. Elsősorban házikerti vagy közterületi füves területek jól karbantartott gyepén végzett fűnyírásra tervezték. A termék nem rendeltetésszerű használata Önre és a közelben tartózkodókra nézve egyaránt veszélyes lehet.
Gondosan olvassa el ezt a tájékoztatót, hogy a termék megfelelő üzemeltetését és karbantartását elsajátítva elkerülje a sérüléseket, valamint a termék károsodását. Ön felelős a termék megfelelő és biztonságos üzemeltetéséért.
A www.Toro.com webhelyen további információk is találhatók, például munkavédelmi tanácsok, oktatóanyagok, tartozékokról szóló információk, segítség márkakereskedés kereséséhez, valamint a termékregisztráció is itt végezhető el.
Ha szervizre, eredeti Toro-alkatrészekre vagy további információkra van szüksége, forduljon hivatalos márkaszervizhez vagy a Toro-ügyfélszolgálathoz, és tartsa kéznél terméke típusszámát és gyári számát. Az Ábra 1 jelzi a típusszám és gyári szám helyét a terméken. Írja a számokat a megfelelő helyre.
Important: Mobileszköze segítségével a gyári számot tartalmazó címkén található QR-kódot (ha van) beolvasva elérheti a garanciális tudnivalókat, az alkatrészekre vonatkozó adatokat és az egyéb termékinformációkat.

Ez a kézikönyv 2 szót használ az információ kiemelésére. A Fontos szó speciális műszaki információkra hívja fel a figyelmet, a Megjegyzés szó pedig külön figyelemre érdemes általános információkat emel ki.
Ez a kézikönyvben és a gépen is megtalálható biztonsági figyelmeztető jelzés (Ábra 2) fontos biztonsági üzenetet jelöl, amelyet a balesetek elkerülése érdekében követni kell. Ezt a jelzést a Veszély, a Figyelmeztetés vagy a Figyelem kifejezés követi.
Veszély: olyan közvetlenül veszélyes helyzetet jelöl, amely halált vagy súlyos személyi sérülést eredményez, ha nem sikerül elkerülni.
Figyelmeztetés: olyan potenciálisan veszélyes helyzetet jelöl, amely halált vagy súlyos személyi sérülést eredményezhet, ha nem sikerül elkerülni.
Figyelem: olyan potenciálisan veszélyes helyzetet jelöl, amely enyhébb vagy mérsékelt személyi sérülést okozhat, ha nem sikerül elkerülni.

A termék megfelel minden vonatkozó európai irányelvnek; a részletekért kérjük, olvassa el a különálló termékspecifikus megfelelőségi nyilatkozatot (DOC).
Lásd a motorgyártó által a géphez mellékelt információkat.
Bruttó vagy nettó nyomaték: A motor bruttó vagy nettó forgatónyomatékát laboratóriumban állapította meg a gyártó az SAE J1940 vagy J2723 szabvány szerint. A biztonsági, károsanyag-kibocsátási és üzemeltetési követelmények teljesítése érdekében a motor tényleges nyomatéka ebben a fűnyíróosztályban jelentősen kisebb. Lásd a motorgyártó által a géphez mellékelt információkat.
KALIFORNIA
65-ös számú figyelmeztetés
A motor kipufogógáza olyan kémiai anyagokat tartalmaz, melyek Kalifornia államban rákkeltő hatásúnak, születési rendellenességeket és egyéb reproduktív károsodást okozónak minősülnek.
Az akkumulátor sarkai, telepkapcsai és alkatrészei ólmot és ólomvegyületeket tartalmaznak, melyek Kalifornia állam hatóságainak ismeretei szerint olyan vegyi anyagok, amelyek rákot és reproduktív károsodást okoznak. Az anyagokkal való érintkezést követően mosson kezet.
A termék használata Kalifornia állam jogszabályai által rákkeltőnek, születési, illetve reprodukciós rendellenességet okozónak nyilvánított vegyi anyag vagy vegyi anyagok hatásának való kitettséget eredményezhet.
Ez a termék levághatja a kezét és a lábát, továbbá tárgyakat dobhat ki. A súlyos, akár halálos sérülések elkerülése érdekében mindig kövesse a biztonsági.
A motor beindítása előtt olvassa el és értelmezze a kezelői kézikönyv tartalmát.
Gondoskodjon arról, hogy a gépet gyermek vagy közelben tartózkodó ne közelíthesse meg.
Ne engedje, hogy gyermekek vagy oktatásban nem részesült személyek üzemeltessék vagy szervizeljék a gépet. Csak olyan személyek dolgozhatnak vele, akik felelősek, képzettek, ismerik az utasításokat, és fizikailag is képesek működtetni vagy szervizelni a gépet.
Tartsa mindig teljesen felhajtott és reteszelt helyzetben a bukócsövet, és használja a biztonsági övet.
Ne használja a gépet szakadékok, árkok, töltések, vizek és egyéb veszélyek közelében, illetve 15°-nál meredekebb lejtőkön.
Tartsa távol kezét és lábát a gép mozgó alkatrészeitől.
Ne használja a gépet, ha a védőburkolatok, a biztonsági kapcsolók és az egyéb védőelemek nincsenek a helyükön, és nem működnek.
Állítsa le a motort, vegye ki az indítókulcsot, és várja meg, amíg az összes mozgó alkatrész leáll, csak ezután hagyja el a kezelőülést. Hagyja lehűlni a gépet, mielőtt szervizelési, beállítási, tankolási, tisztítási vagy tárolási munkába kezd rajta.

![]() |
A biztonságra figyelmeztető matricák és utasítások a kezelő által jól láthatóan, a potenciálisan veszélyes helyek mellett találhatók. A sérült vagy hiányzó feliratot (matricát) cserélje, illetve pótolja. |





















A motor beindítása és a gép működtetése előtt ismerkedjen meg az összes kezelőszervvel.

A motor beindítására és leállítására szolgáló gyújtáskapcsoló 3 helyzetbe állítható: KI, ÜZEM és INDíTáS. Lásd: A motor beindítása.
A világításkapcsoló segítségével kapcsolható BE vagy KI a világítás (Ábra 5).
A hidegindító gomb a hideg motor beindítására szolgál.
A gázkar a motor fordulatszámának szabályozására szolgál, és fokozatmentesen állítható a LASSú és a GYORS helyzet között (Ábra 5).
A mellékhajtás (erőleadó tengely) jelzéssel rendelkező késkapcsolóval kapcsolható be és ki a fűnyírókések meghajtása (Ábra 5).
Az üzemóra-számláló a motor üzemidejét rögzíti. Akkor működik, amikor a motor jár. A rajta megjelenő érték alapján kell ütemezni a rendszeres karbantartást (Ábra 6).

Az üzemóra-számlálón szimbólumok láthatók, amelyek fekete háromszöggel jelzik, ha a reteszelő részegység megfelelő helyzetben áll (Ábra 6).
A gyújtáskapcsolót BE helyzetbe fordítva a kijelzett akkumulátorfeszültség pár másodpercre megjelenik ott, ahol normál esetben az üzemóraszám látható.
Az akkumulátor-visszajelző a gyújtást ráadva világítani kezd, majd elalszik, amint a motor beindul, és a töltés beáll a megfelelő szintre (Ábra 6).
A menetvezérlő karok segítségével vezethető a gép előre, hátra, illetve ezekkel lehet elfordulni valamelyik irányba (Ábra 4).
Mielőtt elhagyja a gépet, állítsa a menetvezérlő karokat középhelyzetből kifelé, a SEMLEGES-RETESZELT helyzetbe (Ábra 25). Ha megáll a géppel vagy őrizetlenül hagyja azt, a menetvezérlő karokat állítsa mindig SEMLEGES-RETESZELT helyzetbe.
Amikor leállítja a motort, mindig húzza be a rögzítőféket, hogy a gép ne mozdulhasson el.
Zárja el az üzemanyag-elzáró szelepet, ha a gépet szállítja vagy eltárolja, lásd: Az üzemanyag-elzáró szelep használata.
Note: A műszaki adatok és a kialakítások külön értesítés nélkül változhatnak.
| 122 cm széles nyíróasztal | 132 cm széles nyíróasztal | 152 cm széles nyíróasztal | |
|---|---|---|---|
| Nyíróasztal nélkül | 129 cm | 137 cm | 140 cm |
| Terelőlap felhajtva | 141 cm | 150 cm | 166 cm |
| Terelőlap lehajtva | 160 cm | 171 cm | 191 cm |
| Terelőlap eltávolítva | 132 cm | 141 cm | 156 cm |
| 24"-os gumiabroncsok | 26"-os gumiabroncsok | |
|---|---|---|
| Hossz | 219 cm | 220 cm |
| 24"-os gumiabroncsok | 26"-os gumiabroncsok | |
|---|---|---|
| Bukócső felhajtva | 182 cm | 185 cm |
| Bukócső lehajtva | 126 cm | 129 cm |
| Gépek | Tömeg |
| 122 cm-es nyíróasztallal szerelt gépek | 512 kg |
| 132 cm-es nyíróasztallal szerelt gépek | 531–540 kg |
| 152 cm-es nyíróasztallal szerelt gépek | 535–590 kg |
A géphez a Toro által jóváhagyott munkagépek és tartozékok széles választéka kapható, amelyek javítják és bővítik a gép képességeit. A jóváhagyott tartozékok és adapterek listájáért forduljon hivatalos márkaszervizhez, hivatalos Toro-forgalmazóhoz, vagy látogasson el a www.Toro.com webhelyre.
Az optimális teljesítmény és a gép biztonsági tanúsítványának fenntartása érdekében csak eredeti Toro-pótalkatrészeket és -tartozékokat használjon. A más által gyártott pótalkatrészek és tartozékok használata veszélyes lehet, és emellett a jótállást is érvénytelenítheti.
Note: A gép jobb és bal oldalát normál üzemeltetési helyzetben határozza meg.
Ne engedje, hogy gyermekek vagy oktatásban nem részesült személyek üzemeltessék vagy szervizeljék a gépet. A helyi szabályozás korlátozhatja a kezelő életkorát. Az összes kezelő és szerelő képzéséért a tulajdonos tartozik felelősséggel.
Vizsgálja át a területet, ahol a gépet használni fogja, és távolítson el onnan minden olyan tárgyat, amely zavarhatja a munkát, vagy amelyet a gép eldobhat.
Ismerkedjen meg a berendezés biztonságos üzemeltetésével, a kezelőszervekkel és a biztonsági jelzésekkel.
Győződjön meg arról, hogy a kezelőijelenlét-kapcsolókat, a biztonsági kapcsolókat és a védőelemeket felszerelték, és megfelelően működnek. Ne üzemeltesse a gépet, csak ha ezek megfelelően működnek.
Állítsa le a motort, vegye ki az indítókulcsot, és várja meg, amíg az összes mozgó alkatrész leáll, csak ezután hagyja el a kezelőülést. Hagyja lehűlni a gépet, mielőtt szervizelési, beállítási, tankolási, tisztítási vagy tárolási munkába kezd rajta.
A fűnyírás megkezdése előtt győződjön meg arról, hogy a nyíróegységek megfelelően működnek.
Nézze át a terepet a megfelelő felszerelés, valamint a gép megfelelő és biztonságos üzemeltetéséhez szükséges tartozékok és adapterek meghatározásához.
Viseljen megfelelő öltözéket, beleértve a védőszemüveget, a hosszú szárú nadrágot, a megfelelő, csúszásgátló lábbelit és a hallásvédelmi eszközt is. Ha hosszú a haja, kösse hátra, és ne viseljen bő ruházatot vagy ékszert.
Ne szállítson utast a gépen.
Tartsa a közelben tartózkodókat és a háziállatokat a működő géptől távol. Ha valaki a területre lép, állítsa le a gépet és munkaeszközeit.
Csak akkor működtesse a gépet, ha a védőburkolatok és az egyéb védőelemek, például a terelőlemezek, valamint a teljes fűgyűjtő rendszer a helyükön vannak, és megfelelően működnek. Szükség esetén cserélje le a kopott vagy sérült alkatrészeket.
Az üzemanyag rendkívül gyúlékony és robbanásveszélyes. Az üzemanyag okozta tűz vagy robbanás megégetheti Önt vagy másokat, és anyagi károkat okozhat.
Annak megakadályozása érdekében, hogy a statikus feltöltődés begyújtsa az üzemanyagot, tankolás előtt a tartályt és/vagy a gépet közvetlenül a földre helyezze, ne egy járműre vagy tárgyra.
A tankolást kültéren, vízszintes talajon, nyílt területen végezze, amikor a motor hideg. Törölje fel a kiömlött üzemanyagot.
Ne kezeljen üzemanyagot dohányzás közben vagy nyílt láng és szikrák közelében.
Járó vagy meleg motornál ne vegye le a tanksapkát, és ne tankoljon.
Ha az üzemanyag kiömlött, ne kísérelje meg beindítani a motort. Kerülje gyújtóforrás létrehozását, amíg az üzemanyag teljesen el nem párolgott.
Üzemanyagot csak jóváhagyott üzemanyagtartályban tároljon, gyerekek számára nem hozzáférhető helyen.
Az üzemanyag lenyelése sérülést vagy halált okozhat. A gőzök belégzése hosszabb távon súlyos sérülést és megbetegedést okozhat.
Kerülje az üzemanyag gőzeinek tartós belégzését.
Tartsa távol arcát és kezeit a fúvókától és az üzemanyag-betöltő nyílástól.
Az üzemanyag szemtől és bőrtől távol tartandó.
Ne tárolja a gépet vagy az üzemanyagtartályt olyan helyen, ahol nyílt láng, szikra vagy őrláng fordul elő, mint például vízmelegítőkön vagy más eszközökön.
Ne töltsön tartályokat járművön belül, műanyag betétes tehergépkocsin vagy utánfutó-gépágyon. Tankolás előtt mindig helyezze a tartályokat a földre, messze a járművétől.
A berendezést vegye le a gépkocsiról vagy a pótkocsiról, és a földön végezze a tankolását. Ha ez nem lehetséges, akkor a tankolást hordozható tartályból végezze, ne töltőpisztolyból.
Csak akkor működtesse a gépet, ha a teljes kipufogórendszer a helyén van, és teljesen üzemképes.
Tartsa a töltőpisztolyt a benzintank vagy -tartály széléhez érintve mindaddig, míg a tankolás befejeződik. Ne használjon töltőpisztolyzáró-nyitó eszközt.
Ha üzemanyag került a ruhájára, azonnal öltözzön át.
Ne töltse túl az üzemanyagtartályt. Helyezze vissza a tanksapkát, és biztonságosan húzza meg.
Tisztítsa le a füvet és a törmeléket a nyíróegységről, valamint a tűzveszély megelőzése érdekében a hangtompítóról, a hajtásokról, a fűgyűjtőről és a motortérből. Takarítsa fel a kiömlött olajat vagy üzemanyagot.
A legjobb eredmény elérése érdekében csak tiszta, friss (maximum 30 napos), ((R+M)/2 besorolási módszer szerint) legalább 87-es oktánszámú ólommentes benzint használjon.
Etanol: maximum 10% (V/V) etanol (benzin-alkohol keverék) vagy 15% (V/V) MTBE-t (metil-tercier-butil-éter) tartalmazó benzin használható. Az etanol és az MTBE nem azonos. 15% (V/V) etanolt tartalmazó üzemanyag (E15) nem használható. Ne használjon 10% (V/V)-nál több etanolt tartalmazó üzemanyagot, amilyen például az E15 (15% etanolt tartalmaz), az E20 (20% etanolt tartalmaz) vagy az E85 (legfeljebb 85% etanolt tartalmaz). A nem engedélyezett üzemanyag használata teljesítményproblémákat és/vagy olyan motorkárosodást okozhat, amelyekre a garancia nem terjed ki.
Ne használjon metanolt tartalmazó benzint.
Ne tároljon télen üzemanyagot sem az üzemanyagtartályban, sem más tartályban, kivéve, ha üzemanyag-stabilizátort használ.
Ne adjon olajat a benzinhez.
Töltsön a gépbe üzemanyag-stabilizáló vagy -kondicionáló anyagot az alábbi előnyök érdekében:
Az üzemanyag-stabilizáló a gyártója utasításait követve az üzemanyagot tovább frissen tartja
Tisztítja a motort üzem közben
Kiküszöböli a gumiszerű lakk nehéz indítást okozó felhalmozódását az üzemanyagrendszerben
Important: Ne használjon metanolt vagy etanolt tartalmazó üzemanyag-adalékot.
Az üzemanyag-stabilizálót vagy -kondicionálót megfelelő mennyiségben adagolja az üzemanyaghoz.
Note: Az üzemanyag-stabilizáló vagy -kondicionáló friss üzemanyaggal keverve a leghatékonyabb. Az üzemanyagrendszerben mindig használjon üzemanyag-stabilizálót a lakklerakódás minimalizálása érdekében.
Parkolja le a gépet sík talajon.
Húzza be a rögzítőféket.
Állítsa le a motort, és vegye ki az indítókulcsot.
Tisztítsa meg a tanksapka körüli területet.
Tankoljon a betöltőnyak alsó pereméig (Ábra 7).
Note: Ne töltse teljesen tele az üzemanyagtartályt. Az üres rész teszi lehetővé az üzemanyag tágulását a tartályban.

Mielőtt elkezdené a napi munkát a géppel, végezze el a minden használat előtti/napi ellenőrzéseket, amelyek felsorolásáért lásd: .
Az új motor bizonyos idő elteltével éri el a teljes teljesítményét. A nyíróasztalok és hajtásrendszerek belső súrlódása új állapotukban nagyobb, ami többletterhelést ró a motorra. Hagyjon 40–50 óra bejáratási időt az új gépnek, hogy aztán csúcsteljesítményen tudjon működni.
A felborulás okozta, akár halálos sérülés elkerülése érdekében tartsa a bukócsövet teljesen felhajtott, reteszelt helyzetben, és használja a biztonsági övet.
Győződjön meg arról, hogy az ülés a géphez rögzül.
A bukócső lehajtott helyzetében nincs borulásvédelem.
Csak akkor hajtsa le a bukócsövet, ha ez elengedhetetlen.
A bukócső lehajtott helyzetében ne használja a biztonsági övet.
Vezessen lassan és óvatosan.
Hajtsa fel a bukócsövet, mihelyt a gép így is elfér.
Körültekintően haladjon el a különféle tárgyak alatt, ügyelve arra, hogy ne ütközzön akadályba (pl. ágakba, ajtókeretbe, villanyvezetékbe).
Important: Csak akkor hajtsa le a bukócsövet, ha ez elengedhetetlen.
A biztonsági reteszelőkapcsolók lekötése vagy károsodása esetén a gép váratlanul működni kezdhet, amivel személyi sérülést okozhat.
Ne bolygassa a reteszelő kapcsolókat.
Ellenőrizze naponta a reteszelőkapcsolók működését, cserélje ki a károsodott kapcsolókat, mielőtt működtetni kezdené a gépet.
A biztonsági reteszelőrendszer az alábbi feltételek mellett engedi meg a motor beindítását:
A rögzítőfék be van húzva.
A késkapcsoló (erőleadó tengely) ki van kapcsolva.
A menetvezérlő karok SEMLEGES-RETESZELT helyzetben vannak.
A biztonsági reteszelőrendszer emellett leállítja a motort, ha a menetvezérlő karokat a kezelő behúzott rögzítőfék mellett mozdítja ki SEMLEGES-RETESZELT helyzetből, vagy bekapcsolt erőleadó tengely mellett hagyja el a kezelőülést.
Az üzemóra-számláló visszajelzőkkel is rendelkezik, amelyek értesítik a kezelőt, ha az adott reteszelőelem nem a megfelelő helyzetben van. Ha az elem a megfelelő helyzetbe került, visszajelző jelenik meg a képernyőn.

| Karbantartási időköz | Karbantartási intézkedés |
|---|---|
| Minden egyes használat előtt, vagy naponta |
|
A gép minden használata előtt ellenőrizze a biztonsági reteszelőrendszer működését. Ha a biztonsági reteszelőrendszer nem az alább ismertetett módon működik, azonnal javíttassa meg hivatalos márkaszervizben.
Üljön be az ülésbe, húzza be a rögzítőféket és állítsa a késkapcsolót (erőleadó tengely) BEKAPCSOLT helyzetbe. Próbálja meg beindítani a motort. Nem szabad beindulnia.
Üljön be az ülésbe, húzza be a rögzítőféket és állítsa a késkapcsolót (erőleadó tengely) KIKAPCSOLT helyzetbe. Állítsa valamelyik menetvezérlő kart SEMLEGES-RETESZELT helyzetbe. Próbálja meg beindítani a motort. Nem szabad beindulnia. Ismételje meg az ellenőrzést a másik karral is.
Üljön be az ülésbe, húzza be a rögzítőféket, állítsa a késkapcsolót (erőleadó tengely) KIKAPCSOLT helyzetbe, majd állítsa SEMLEGES-RETESZELT helyzetbe a menetvezérlő karokat. Most indítsa be a motort. Járó motor mellett engedje ki a rögzítőféket, kapcsolja be a késkapcsolót (erőleadó tengely), majd emelkedjen el kissé az ülésből. A motornak le kell állnia.
Üljön be az ülésbe, húzza be a rögzítőféket, állítsa a késkapcsolót (erőleadó tengely) KIKAPCSOLT helyzetbe, majd állítsa SEMLEGES-RETESZELT helyzetbe a menetvezérlő karokat. Most indítsa be a motort. Járó motor mellett húzza középre az egyik menetvezérlő kart, és tolja előre vagy húzza hátra. A motornak le kell állnia. Ismételje meg az ellenőrzést a másik karral is.
Üljön be az ülésbe, engedje ki a rögzítőféket, állítsa a késkapcsolót (erőleadó tengely) KIKAPCSOLT helyzetbe, majd állítsa SEMLEGES-RETESZELT helyzetbe a menetvezérlő karokat. Próbálja meg beindítani a motort. Nem szabad beindulnia.
Az ülés előre és hátra eltolható. Állítsa be az ülést úgy, hogy a leghatékonyabban végezhesse a gép irányítását, és a legkényelmesebb legyen a testhelyzete (Ábra 11).

A MyRide™ felfüggesztési rendszer zökkenőmentes, kényelmes haladást biztosít. A hátsó két lengéscsillapító egység beállításával a felfüggesztőrendszer gyorsan és könnyen módosítható. Állítsa abba a helyzetbe a felfüggesztőrendszert, ahol a legkényelmesebb a testhelyzete.
A hátsó lengéscsillapító egységek viszonyításként reteszelő helyzetekkel rendelkeznek. A hátsó lengéscsillapító egységek bárhová beállíthatók a résben, nem csak a reteszelő helyzetekbe. Az alábbi ábrán a lágy és a merev rugózási véghelyzet és a különböző reteszelő helyzetek láthatók (Ábra 12).

Note: Ügyeljen arra, hogy a bal és a jobb oldali lengéscsillapító egység mindig azonos helyzetben legyen.
A hátsó lengéscsillapító egységek beállítása (Ábra 13).


A személyi sérüléssel vagy anyagi kárral járó baleseteket a tulajdonos/üzemeltető akadályozhatja meg, és ő viseli értük a felelősséget.
A gép használatát teljes odafigyeléssel végezze. Ne végezzen olyan tevékenységet, amely elvonhatja a figyelmét, különben személyi sérülés vagy anyagi kár lehet a következmény.
Ne üzemeltesse a gépet, ha fáradt, vagy amíg alkohol vagy gyógyszer befolyása alatt áll.
A késhez hozzáérve súlyosan megsérülhet. Állítsa le a motort, vegye ki az indítókulcsot, és várja meg, amíg az összes mozgó alkatrész leáll, csak ezután hagyja el a kezelőülést. Ha az indítókulcsot KI helyzetbe fordítja, a motornak le kell állnia, és a késnek is meg kell állnia. Ha nem így történik, azonnal hagyja abba a gép használatát, és lépjen kapcsolatba egy hivatalos márkaszervizzel.
A gépet csak megfelelő időjárás és jó látási körülmények között használja. Ne használja a gépet, ha villámcsapás lehetősége áll fenn.
Tartsa távol kezét és lábát a vágóegységektől. Ne tartózkodjon a kimeneti nyílás előtt.
Ne végezzen fűnyírást a terelőlemez felhajtott, eltávolított vagy módosított állapotában, kivéve, ha fűgyűjtő- vagy talajtakarító készlet van a helyén, amely megfelelően működik.
Ne végezzen fűnyírást hátrafelé, csak ha feltétlenül szükséges. Mindig nézzen lefelé és maga mögé, mielőtt hátrafelé kezdene haladni a géppel.
Különösen ügyeljen, amikor be nem látható kanyarokhoz, cserjékhez, fákhoz vagy más olyan tárgyakhoz közelít, amelyek eltakarhatják a kilátást.
Állítsa le a késeket, ha nem végez fűnyírást.
Ha a gép valamilyen tárgyba ütközik vagy rázkódni kezd, azonnal állítsa le a motort, vegye ki az indítókulcsot (ha van), és várja meg, amíg minden mozgó alkatrész megáll, csak ezután vizsgálja át a gépet, nem sérült-e meg. Végezzen el minden szükséges javítást, mielőtt folytatná a munkát.
Amikor kanyarodik, illetve utakat vagy járdákat keresztez a géppel, lassítson le, és járjon el körültekintően. Mindig adja meg az elsőbbséget.
A kezelőállás elhagyása előtt végezze el az alábbiakat:
Parkolja le a gépet sík talajon.
Kapcsolja ki a mellékhajtást, és engedje le a tartozékokat.
Húzza be a rögzítőféket.
Állítsa le a motort, és vegye ki az indítókulcsot.
Várja meg, amíg minden mozgó alkatrész megáll.
A motort csak jól szellőző helyen járassa. A kipufogógázok szén-monoxidot tartalmaznak, amely belélegezve halált okoz.
Soha ne hagyjon járó gépet felügyelet nélkül.
Vontatható berendezést csak a vontatási pontra csatlakoztasson.
Csak akkor működtesse a gépet, ha a védőburkolatok és az egyéb védőelemek, például a terelőlemezek, valamint a teljes fűgyűjtő rendszer a helyükön vannak, és megfelelően működnek. Szükség esetén cserélje le a kopott vagy sérült alkatrészeket.
Csak a Toro által jóváhagyott tartozékokat vagy adaptereket alkalmazzon.
A gép 85 dBA-t meghaladó zajszintet produkál a kezelő fülénél, ami hosszan tartó kitettség esetén halláskárosodást okozhat.

Tisztítsa le a füvet és törmeléket a nyíróegységről, a hajtásokról, valamint a tűzveszély megelőzése érdekében a hangtompítóról és a motorról.
A motor beindításakor tartsa távol a lábát a késektől.
Ügyeljen a fűnyíró kidobási útvonalára és arra, hogy az ne irányuljon mások felé. Kerülje az anyag falra vagy akadályokra ürítését, mivel az visszaverődhet Önre.
Állítsa le a késeket, lassítson le és járjon el körültekintően, ha nem füves területet keresztez, vagy a gépet azon keresztül szállítja a kaszálandó területre, illetve onnan el.
Ne változtassa meg a motor szabályozási beállításait, és ne pörgesse túl a motort.
A gyerekek gyakran vonzódnak a gépekhez és a kaszálási tevékenységhez. Soha ne feltételezze, hogy a gyerekek ugyanott maradnak, ahol utoljára látta őket.
Tartsa a gyerekeket a munkaterületen kívül egy felelős felnőtt figyelmes felügyelete alatt, aki nem a gépkezelő.
Legyen készenlétben, és amennyiben gyerek lép a területre, állítsa le a gépet.
Tolatás vagy fordulás előtt nézzen le és körbe, nincsenek-e ott kisgyerekek.
Ne szállítson gyerekeket a gépen még kikapcsolt késekkel sem. A gyerekek leeshetnek a gépről, és súlyosan megsérülhetnek, vagy akadályozhatják a gép biztonságos működtetését. A gépen utaztatott gyermekek később váratlanul feltűnhetnek a munkaterületen egy újabb kör reményében, a gép pedig előre- vagy hátramenetben véletlenül elgázolhatja őket.
A borulásvédelmi rendszer egy integrált biztonsági berendezés. A borulásvédelmi rendszer egyetlen elemét se távolítsa el a gépről.
Győződjön meg a biztonsági öv bekapcsolt állapotáról és arról, hogy vészhelyzet esetén a lehető leggyorsabban ki tudja oldani.
Tartsa teljesen felhajtott és reteszelt helyzetben a bukócsövet, és ilyenkor mindig használja a biztonsági övet.
Ellenőrizze körültekintően a fej feletti objektumokat, mielőtt alájuk hajt, és ne érjen hozzájuk.
A borulásvédelmi rendszer sérült elemeit cserélje le. Ne végezzen rajtuk javítást vagy átalakítást.
A bukócső lehajtott helyzetében nincs borulásvédelem.
A szélek, meredek partok fölé vagy vízbe kerülő kerekek boruláshoz vezethetnek, amely súlyos sérüléseket, akár halált is okozhat.
A bukócső lehajtott helyzetében ne használja a biztonsági övet.
Csak akkor hajtsa le a bukócsövet, ha ez elengedhetetlen; hajtsa fel, amint a körülmények megengedik.
Ha a gép felborult, vigye hivatalos márkaszervizbe a borulásvédelmi rendszer átvizsgálása érdekében.
A borulásvédelmi rendszerhez kizárólag a Toro által jóváhagyott tartozékot és kiegészítőt használjon.
A lejtők a megcsúszásos és borulásos balesetek fő tényezői, amelyek súlyos sérülésekhez vezethetnek. A kezelő a felelős a lejtőn történő biztonságos munkavégzésért. A gép üzemeltetése bármilyen lejtőn különös óvatosságot igényel. Mielőtt a géppel lejtős területre hajtana, végezze el az alábbiakat:
Tekintse át és értelmezze a kézikönyvben és a gépen található, lejtőre vonatkozó utasításokat.
Határozza meg a terület hozzávetőleges lejtését szögmérő segítségével.
Ne használja a gépet 15°-nál meredekebb lejtőn.
Értékelje ki a napi helyszíni körülményeket, hogy meghatározza, a lejtő biztonságos-e a gép üzemeltetésére. Használja a józan eszét és ítélőképességét ezen értékelés során. A területen bekövetkező változások, például a nedvesség gyorsan befolyásolhatja a gép lejtőn történő használatát.
Mérje fel a veszélyt az emelkedő aljánál. Ne használja a gépet szakadékok, árkok, töltések, vizek és más veszélyek közelében. A gép hirtelen felborulhat, ha egy kereke túllóg azok peremén, vagy a perem beszakad. Tartson biztonságos távolságot (a gép szélességének kétszeresét) a gép és a veszély között. Az ilyen területeken használjon tolókaros fűnyírót vagy kézi szegélynyírót a gyep karbantartására.
Kerülje a lejtőn való elindulást, megállást vagy kanyarodást. Se a sebességén, se a haladási irányán ne változtasson hirtelen; kanyarodjon lassan és fokozatosan.
Ne működtesse a gépet, ha a tapadása, a kormányzása vagy a stabilitása kérdéses lehet. Ne felejtse el, hogy nedves fűben, rézsűn vagy lejtőn haladva a gép elveszítheti a tapadását. Ha a hajtókerekek elveszítik a tapadásukat, a gép megcsúszhat, és megszűnhet a fékhatás és a kormányozhatóság. A gép megcsúszhat akkor is, ha a hajtókerekei megálltak.
Távolítsa el vagy jelölje meg az akadályokat, például árkot, lyukakat, keréknyomot, kiemelkedéseket, köveket és egyéb rejtett veszélyeket. A magas fű akadályokat rejthet. Egyenetlen terepen a gép fel is borulhat.
Járjon el fokozott körültekintéssel, ha munkaeszközzel vagy tartozékkal, például fűgyűjtő rendszerekkel használja. Ezek ronthatják a gép stabilitását, és az irányítás elvesztését okozhatják. Kövesse az ellensúlyokra vonatkozó utasításokat.
Lejtőn való munkavégzéskor tartsa a nyíróasztalt lehetőség szerint a talajra leengedett helyzetben. Lejtőn a gép instabillá válhat a nyíróasztal felemelt helyzetében.

Használja fellépőként a nyíróasztalt a kezelői hely elfoglalásához (Ábra 16).

Mindig húzza be a rögzítőféket, ha megáll a géppel, vagy őrizetlenül hagyja azt.
Parkolja le a gépet sík talajon.


A késkapcsoló (TLT) segítségével indíthatók el és állíthatók le a fűnyíró kései és bármely meghajtott munkaeszköz.
Note: A késkapcsoló (erőleadó tengely) félgáznál vagy kisebb gáznál történő bekapcsolása az ékszíjak fokozott kopását eredményezi.


A gázkar a GYORS és a LASSú helyzet között állítható (Ábra 21).
A TLT bekapcsolásakor mindig a GYORS helyzetet használja.

Note: Meleg vagy forró motornál nem kell használnia a hidegindítót.
Important: Ne indítózzon egyszerre 5 másodpercnél hosszabban. 5 másodpercnél hosszabban indítózás esetén az indítómotor károsodhat. Ha a motor nem indul be, az újabb indítózás előtt várjon 10 másodpercet.

Ha a felügyelet nélkül hagyott gépet gyermekek vagy nézelődők megkísérlik működtetni, az személyi sérüléshez vezethet.
Ha a gépet felügyelet nélkül hagyja, mindig vegye ki a kulcsot, és húzza be a rögzítőféket.


Az egyes tengelyeken levő hidraulikus motorok egymástól függetlenül forgatják a hajtókerekeket. Az egyik oldali kereket hátramenetbe, míg a másikat előremenetbe kapcsolva a gép fordulás helyett megpördül. Ez nagymértékben javítja a gép kormányozhatóságát, de némi időbe telik, amíg hozzászokik, hogyan mozgathatja a gépet.
A gázkar a motorfordulatszámot (fordulat/perc) szabályozza. A legjobb teljesítmény érdekében állítsa a gázkart GYORS helyzetbe. Fűnyírást mindig teljes gázzal végezzen.
A gép nagyon gyorsan megpördülhet. Elveszítheti uralmát a gép felett, ami személyi sérüléssel vagy a gép károsodásával járhat.
Kanyarodjon óvatosan.
Éles kanyar előtt lassítson le.
Note: Ha behúzott rögzítőfék mellett mozdítja meg a menetvezérlő kezelőszerveket, a motor leáll.
Megálláshoz húzza a menetvezérlő karokat SEMLEGES helyzetbe.
Engedje ki a rögzítőféket, lásd: A rögzítőfék kiengedése.
Állítsa a karokat középső, kioldott helyzetbe.
Előremenethez tolja lassan előre a haladásvezérlő karokat (Ábra 26).

Állítsa a karokat középső, kioldott helyzetbe.
Hátramenethez húzza lassan hátra a menetvezérlő karokat (Ábra 27).

A fűnyírót csuklópántos terelőlemezzel szerelték fel, amely oldalra és lefelé, a gyep felé tereli a fűkaszálékot.
A fűterelő lemez, a kidobónyílás-fedél vagy a fűgyűjtő rendszer nélkül Ön és a közelben levők ki lehetnek téve a késekkel és a kirepülő hulladékkal való érintkezésnek. A forgó fűnyírókések és a kirepülő törmelék személyi sérülést okozhatnak, akár végzeteset is.
Ne távolítsa el a fűterelő lemezt a nyíróasztalról, mert a fűterelő lemez irányítja lefelé az anyagot a gyep felé. Ha a terelőlemez bármikor megsérül, azonnal cserélje le.
Ne nyúljon kezével vagy lábával a nyíróasztal alá.
Ne kísérelje meg a kidobási terület vagy a kések környékének tisztítását, csak ha a késkapcsolót (TLT) KI helyzetbe kapcsolta, a gyújtáskapcsolót KI helyzetbe fordította, és kivette a kulcsot a kapcsolóból.
Ügyeljen arra, hogy a terelőlemez lehajtott helyzetben legyen.
A vágásmagasság 38 és 140 mm között állítható 6 mm-es lépésekben, az ütközőcsapot a megfelelő furatba helyezve.
A nyíróasztal-emelő pedált ütközésig előrenyomva emelje a nyíróasztalt a lábával VONULáSI helyzetbe (mely egyben a 140 mm-es vágásmagasság) a Ábra 29 szerint.
A beállításhoz távolítsa el a csapot a vágásmagasság-konzolból (Ábra 29).
Válassza ki a vágásmagasság-konzol furatai közül a kívánt vágásmagasságnak megfelelőt, és helyezze be a csapot (Ábra 29).
Nyomja előre a nyíróasztal-emelő pedált, tolja előre a vonulási reteszt, majd engedje lassan le a nyíróasztalt.

Amikor állít a vágásmagasságon, mindig állítson a lenyesés elleni védelemre szolgáló görgőkön is.
Note: Állítsa be úgy a lenyesés elleni védelemre szolgáló görgőket, hogy a görgők a normál, sík fűnyírási területeken ne érjenek a talajhoz.
Parkolja le a gépet sík talajon, kapcsolja ki a késkapcsolót, és húzza be a rögzítőféket.
Állítsa le a motort, vegye ki az indítókulcsot, és várja meg, amíg az összes mozgó alkatrész leáll, csak ezután hagyja el a kezelőülést.
Állítsa be a lenyesés elleni védelemre szolgáló görgőket a Ábra 32 alapján.

A legjobb fűnyírási teljesítmény és maximális levegőkeringés érdekében a motort a gázkar GYORS helyzetében működtesse. Mivel a fűkaszálék alapos lenyírásához levegőre van szükség, ne állítsa annyira alacsonyra a vágásmagasságot, hogy a nyíróasztalt teljesen körülvegye a nyíratlan fű. Igyekezzen elérni, hogy a nyíróasztal egyik oldalánál ne legyen nyíratlan fű, így a gép beszívhatja a levegőt a nyíróasztal alá.
Nyírja a füvet a normálnál valamivel nagyobb vágásmagassággal, hogy a nyíróasztal ne vágjon bele az esetleg egyenetlen talajba. Ugyanakkor általában a korábban használt vágásmagasság a legjobb választás. 15 cm-nél magasabb fű lenyírásakor előfordulhat, hogy két menetben kell elvégeznie a fűnyírást az elfogadható vágásminőség érdekében.
A legjobb, ha a fűszálnak nagyjából csak a harmadát vágja le. Nem ajánlott ennél többet levágni belőle, kivéve, ha a fű ritka, vagy késő ősszel, amikor a fű már lassabban nő.
Váltogassa a fűnyírás irányát, hogy a fű mindig egyenesen álljon. Ez egyben a fűkaszálékot is segít jobban szétszórni, ami elősegíti a lebomlást és a trágyázó hatást.
A fű eltérő sebességgel nő az év különböző szakaszaiban. Az azonos vágásmagasság megtartása érdekében kora tavasszal végezze gyakrabban a fűnyírást. Ahogy a fű növekedése nyár közepére lelassul, a fűnyírás is ritkulhat. Ha hosszabb ideig nem került sor fűnyírásra, először végezze azt nagy vágásmagasságon, majd 2 nappal később alacsonyabb beállítás mellett.
A vágás minőségének javítása érdekében bizonyos körülmények mellett használjon kisebb menetsebességet.
Egyenetlen gyepen növelje a vágásmagasságot, hogy elkerülje a gyep lenyesését.
Ha fűnyírás közben előremenetben meg kell állnia, egy halom fűkaszálék hullhat a gyepre. Ennek megelőzése érdekében vezesse a gépet egy már lenyírt részre bekapcsolt késhajtással, vagy még haladás közben állítsa le a nyíróasztal meghajtását.
Minden használat után tisztítsa ki a nyesedéket és szennyeződést a nyíróasztal alsó részéről. Ha fű és kosz gyűlik fel a nyíróasztal belsejében, a vágás minősége romlani fog.
Gondoskodjon arról, hogy a fűnyírási szezonban mindig éles legyen a kés, mivel az éles kés a fűszálakat egyenesen metszi el anélkül, hogy tépné vagy szaggatná azokat. Az eltépett, leszakított fűszál vége megbarnul, ami lassítja a növekedését, és növeli a megbetegedés esélyét. Ellenőrizze a fűnyírókéseket minden használat után élesség, illetve kopás vagy sérülés szempontjából. Szükség szerint reszelje le a csorbulást, és élezze meg a kést. Ha a kés megsérült vagy elkopott, cserélje ki azonnal, eredeti Toro-cserekést használva.
Állítsa le a motort, vegye ki az indítókulcsot, és várja meg, amíg az összes mozgó alkatrész leáll, csak ezután hagyja el a kezelőülést. Hagyja lehűlni a gépet, mielőtt szervizelési, beállítási, tankolási, tisztítási vagy tárolási munkába kezd rajta.
Tisztítsa le a füvet és a törmeléket a nyíróegységről, valamint a tűzveszély megelőzése érdekében a hangtompítóról, a hajtásokról, a fűgyűjtőről és a motortérből. Takarítsa fel a kiömlött olajat vagy üzemanyagot.
Zárja el az üzemanyagot és vegye ki az indítókulcsot, mielőtt eltárolja vagy szállítani kezdi a gépet.
Zárja el az üzemanyag-elzáró szelepet szállítás, karbantartás és tárolás előtt (Ábra 33).
A motor beindítása előtt győződjön meg arról, hogy az üzemanyag-elzáró szelep nyitott.


A kezét elkaphatják a motorháztető alatt forgó motoralkatrészek, ami súlyos sérüléssel járhat.
Állítsa le a motort, vegye ki az indítókulcsot és várja meg, amíg az összes mozgó alkatrész leáll, csak ezután nyúljon hozzá a hajtókerék-kioldó szelepekhez.
A motor és a hidraulikus hajtás nagyon felforrósodhat. A forró motor és hidraulikus hajtás megérintése súlyos égési sérüléseket okozhat.
Várja meg, amíg a motor és a hidraulikus hajtóegységek teljesen lehűlnek, csak azután nyúljon hozzá a hajtókerék-kioldó szelepekhez.
A hajtókerék-kioldó szelepek a motorházfedél alatt bal és jobb oldalt találhatók.
Parkolja le a gépet sík talajon, kapcsolja ki a késkapcsolót, és húzza be a rögzítőféket.
Állítsa le a motort, vegye ki az indítókulcsot, és várja meg, amíg az összes mozgó alkatrész leáll, csak ezután hagyja el a kezelőülést.
Ahhoz, hogy a gépet tolni lehessen, állítsa első helyzetbe a megkerülő szelepek karjait, és rögzítse azokat ott (Ábra 34).
A gép tolásához engedje ki a rögzítőféket.
Ahhoz, hogy a géppel haladni lehessen, állítsa hátsó helyzetbe a megkerülő szelepek karjait, és rögzítse azokat ott (Ábra 34).

A gép szállításához használjon nagy teherbírású pótkocsit vagy tehergépkocsit. Használjon teljes szélességű rámpát. Ügyeljen arra, hogy az utánfutó vagy tehergépkocsi rendelkezzen a jogszabályban előírt fékekkel, világítással és jelzésekkel. Olvassa el figyelmesen a biztonsági előírásokat. Ezen információk ismerete segít elkerülni a személyi sérüléseket. Az utánfutóra és a lekötésre vonatkozó követelmények tekintetében tanulmányozza a helyi jogszabályokat.
Az irányjelzők, lámpák, fényvisszaverő jelzések vagy lassú jármű embléma nélküli közúti közlekedés veszélyes, és olyan balesetekhez vezethet, amelyek személyi sérüléseket is okozhatnak.
Ne parkoljon a géppel közúton.
A gép utánfutóra vagy tehergépkocsira való felrakodása megnöveli a felborulás kockázatát, és súlyos, akár végzetes sérüléssel is járhat (Ábra 35).
Csak teljes szélességű rámpát használjon, ne a gép két oldalán elhelyezett külön rámpákat.
Ne legyen 15°-nál meredekebb a rámpa lejtése a talajhoz, valamint a pótkocsi vagy a tehergépkocsi platójához képest.
A rámpa hossza legyen legalább négyszerese a plató és a talaj közti távolságnak. Ezzel biztosítható, hogy sík talajon a rámpa szöge ne haladja meg a 15°-ot.

A gép utánfutóra vagy tehergépkocsira való felrakodása megnöveli a felborulás kockázatát, és súlyos, akár végzetes sérüléssel is járhat.
Amikor a géppel rámpán halad, legyen rendkívül óvatos.
A rámpára tolatva hajtson fel, és előremenetben hajtson le róla.
Amikor rámpán halad a géppel, kerülje a hirtelen gyorsítást és lassítást, mert elveszítheti az uralmát a gép felett, és az felborulhat.
Utánfutó használata esetén kapcsolja azt fel a gépjárműre, és akassza be a biztonsági láncokat is.
Adott esetben kösse be az utánfutó fékrendszerét és világítását is.
Hajtsa le a rámpát, ügyelve arra, hogy a rámpa és a talaj közti szög ne legyen több mint 15° (Ábra 35).
Tolasson fel a géppel a rámpán (Ábra 36).

Állítsa le a motort, vegye ki a kulcsot, és húzza be a rögzítőféket.
Kötözze le a gépet az első önbeálló kerekeknél és a hátsó vázkeretnél hevederekkel, láncokkal, sodronnyal vagy kötelekkel (Ábra 37). A lekötésre vonatkozó követelmények tekintetében tanulmányozza a helyi jogszabályokat.

Ha a kulcsot a gyújtáskapcsolóban hagyja, mások véletlenül beindíthatják a motort, ami a közelben állók súlyos sérülését okozhatja. Karbantartási munkák előtt vegye ki a kulcsot a gyújtáskapcsolóból.
A kezelőállás elhagyása előtt végezze el az alábbiakat:
Parkolja le a gépet sík talajon.
Kapcsolja le a hajtásokat.
Húzza be a rögzítőféket.
Állítsa le a motort, és vegye ki az indítókulcsot.
A karbantartás megkezdése előtt hagyja a gép elemeit lehűlni.
Ne engedje, hogy a gépet oktatásban nem részesült személyzet üzemeltesse.
Tartsa távol kezét és lábát a mozgó vagy forró alkatrészektől. Ha lehetséges, járó gépen ne végezzen beállításokat.
Az energiát tároló alkatrészekből óvatosan engedje ki a nyomást.
Ellenőrizze rendszeresen a rögzítőfék működését. Végezze el beállítását és szervizelését szükség szerint.
Soha ne módosítsa illetéktelenül a biztonsági berendezéseket. Rendszeresen ellenőrizze megfelelő működésüket.
Tisztítsa le a füvet és a törmeléket a nyíróegységről, valamint a tűzveszély megelőzése érdekében a hangtompítóról, a hajtásokról, a fűgyűjtőről és a motortérből.
Takarítsa fel a kiömlött olajat vagy üzemanyagot, és távolítson el minden üzemanyaggal átitatott törmeléket.
Ne hagyatkozzon mechanikus vagy hidraulikus emelőre alátámasztásként; ha megemeli a gépet, támassza alá emelőállványokkal.
A gép minden alkatrészét tartsa megfelelő üzemállapotban. Az összes csavart húzza meg, különösen a késeket rögzítő kötőelemeket. Cseréljen ki minden kopott vagy sérült matricát.
A gép javítása előtt kösse le az akkumulátort. Először a negatív sarut kösse le, és utána a pozitívot. Először a pozitív sarut kösse vissza, és utána a negatívot.
Az optimális teljesítmény érdekében csak eredeti Toro-pótalkatrészeket és -tartozékokat használjon. A más által gyártott pótalkatrészek és tartozékok használata veszélyes lehet, és emellett a jótállást is érvénytelenítheti.
| Karbantartási időköz | Karbantartási intézkedés |
|---|---|
| Az első 100 óra után |
|
| Minden egyes használat előtt, vagy naponta |
|
| Minden használat után |
|
| Minden 50 órában |
|
| Minden 100 órában |
|
| Minden 200 órában |
|
| Minden 250 órában |
|
| Minden 400 órában |
|
| Minden 400. üzemóra után vagy évente, amelyik korábban esedékessé válik |
|
| Minden 500 órában |
|
| Havonta |
|
| Évente |
|
| Évente, vagy tárolás előtt |
|
Important: A további karbantartási eljárásokra vonatkozóan lásd a motor kezelői kézikönyvét.
Ha a kulcsot a gyújtáskapcsolóban hagyja, mások véletlenül beindíthatják a motort, ami a közelben állók súlyos sérülését okozhatja.
Karbantartási munkák előtt állítsa le a motort, és vegye ki az indítókulcsot a gyújtáskapcsolóból.
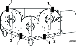
A nyíróasztal függönyének leoldásához távolítsa el a sasszeget, így hozzáfér a nyíróasztal felső részéhez. Ha elvégezte a karbantartást, szerelje vissza a függönyt a korábban eltávolított sasszeggel.
Hajtsa ki a 2 első csavart, és távolítsa el a védőlemezt, hogy hozzáférjen a nyíróasztalékszíjakhoz és a tengelyekhez (Ábra 38). A karbantartás befejeztével szerelje vissza a védőlemezt, és húzza meg a csavarokat.

Koszos vagy poros körülmények között gyakrabban kenje meg a gépet.
Kenőzsír típusa: 2. sz. lítiumos vagy molibdénes kenőzsír
Parkolja le a gépet sík talajon, kapcsolja ki a késkapcsolót, és húzza be a rögzítőféket.
Állítsa le a motort, vegye ki az indítókulcsot, és várja meg, amíg az összes mozgó alkatrész leáll, csak ezután hagyja el a kezelőülést.
Tisztítsa le ronggyal a zsírzógombokat.
Note: Kaparja le a festéket a zsírzógomb elejéről, ha van rajta.
Csatlakoztasson zsírzóprést a zsírzógombra.
Pumpálja addig a zsírt a zsírzógombokba, amíg a csapágyakból ki nem türemkedik.
Törölje le a felesleges zsírt.
| Karbantartási időköz | Karbantartási intézkedés |
|---|---|
| Minden 100 órában |
|
Kenje meg a fűnyíróasztal-emelő forgáspontjait könnyűolajjal vagy olajpermettel.

| Karbantartási időköz | Karbantartási intézkedés |
|---|---|
| Minden 400 órában |
|
| Évente |
|
Parkolja le a gépet sík talajon, kapcsolja ki a késkapcsolót, és húzza be a rögzítőféket.
Állítsa le a motort, vegye ki az indítókulcsot, és várja meg, amíg az összes mozgó alkatrész leáll, csak ezután hagyja el a kezelőülést.
Távolítsa el a porvédő sapkát, állítsa be az önbeálló kerekek forgócsapjait, és ne tegye vissza a porvédő sapkát, amíg a zsírzást el nem végezte, lásd: A gép kenése.
Távolítsa el a hatlapú zárócsavart.
Hajtson be egy zsírzógombot a furatba.
Pumpáljon zsírt a zsírzógombba, amíg ki nem türemkedik a felső csapágy körül.
Szerelje ki a zsírzógombot a furatból. Szerelje vissza a zárócsavart és a sapkát.
| Karbantartási időköz | Karbantartási intézkedés |
|---|---|
| Évente |
|
Parkolja le a gépet sík talajon, kapcsolja ki a késkapcsolót, és húzza be a rögzítőféket.
Állítsa le a motort, vegye ki az indítókulcsot, és várja meg, amíg az összes mozgó alkatrész leáll, csak ezután hagyja el a kezelőülést.
Emelje meg a nyíróasztalt a hozzáféréshez.
Távolítsa el az önbeálló kereket az önbeálló villából.
Távolítsa el a tömítésvédő kupakot a kerékagyról.

Távolítsa el a távtartóanyát az önbeálló kerék tengelyegységéről.
Note: A távtartóanyát menetrögzítő pasztával szerelték fel a tengelyre.
Távolítsa el a tengelyt a kerékegységből (a másik távtartóanya még maradjon a helyén).
Feszegesse ki a tömítőgyűrűket, vizsgálja meg a csapágyakat kopás, károsodás szempontjából, szükség szerint cserélje le őket.
Töltse fel a csapágyakat általános kenőzsírral.
Szereljen be 1 csapágyat és 1 új tömítőgyűrűt a kerékbe.
Ha a tengelyre egyik távtartóanya sincs felszerelve, kenje meg az egyik távtartóanya meneteit menetrögzítő pasztával, és hajtsa rá a tengelyre úgy, hogy a lapítás a csavarkulcs számára kifelé álljon.
Note: Ne hajtsa rá a távtartóanyát a tengely végére a menet végéig. A távtartóanya külső felületéhez képest kb. 3 mm-rel legyen beljebb a tengely vége.
Szerelje be az összeszerelt anyát és tengelyt a kerékbe az új tömítőgyűrű és csapágy felől.
Fordítsa a kereket a nyitott részével felfelé, és töltse fel teljesen a tengely körüli részt általános kenőzsírral.
Szerelje be a másik csapágyat és az új tömítőgyűrűt a kerékbe.
Kenje meg a másik távtartóanya meneteit is menetrögzítő pasztával, és hajtsa rá a tengelyre úgy, hogy a lapítás a csavarkulcs számára kifelé álljon.
Húzza meg az anyát 8–9 Nm nyomatékkal, lazítsa vissza, majd húzza meg újra 2–3 Nm nyomatékkal.
Note: Ügyeljen arra, hogy a tengely egyik oldalon se lógjon túl az anyán.
Szerelje fel a tömítésvédő kupakokat a kerékagyra, majd szerelje be a kereket az önbeálló villába.
Szerelje be az önbeálló kerék csavarját, és húzza meg teljesen az anyát.
Important: Ellenőrizze gyakran a csapágyat és a beállítást, hogy megelőzhető legyen a tömítés és a csapágy károsodása. Pörgesse meg az önbeálló kereket. Nem szabad, hogy sokáig pörögjön (1 vagy 2 fordulatot tehet meg), és oldalirányú játéka sem lehet. Ha a kerék akadálytalanul pörög, állítson a távtartóanyán, hogy legyen a keréknek némi ellenállása. Hordjon fel újabb réteg menetrögzítő pasztát.
Tartsa távol kezét, lábát, arcát, ruházatát és más testrészeit a kipufogótól és egyéb forró felületektől. A karbantartás megkezdése előtt hagyja a motor elemeit lehűlni.
Ne változtassa meg a motor szabályozási beállításait, és ne pörgesse túl a motort.
| Karbantartási időköz | Karbantartási intézkedés |
|---|---|
| Minden 250 órában |
|
| Minden 500 órában |
|
Note: Szervizelje gyakrabban a légszűrőt, ha az üzemeltetési környezet rendkívül poros vagy homokos.
Parkolja le a gépet sík talajon, kapcsolja ki a késkapcsolót (TLT), és húzza be a rögzítőféket.
Állítsa le a motort, vegye ki az indítókulcsot, és várja meg, amíg az összes mozgó alkatrész leáll, csak ezután hagyja el a kezelőülést.
Oldja a légszűrő reteszeit, és húzza le a légszűrőfedelet a légszűrőházról (Ábra 41).

Fúvassa tisztára sűrített levegővel a légszűrőfedél belsejét.
Csúsztassa ki óvatosan az elsődleges szűrőt a légszűrőházból (Ábra 41).
Note: Ügyeljen arra, hogy a szűrőbetét ne ütődjön a szűrőháznak.
A biztonsági légszűrőbetétet csak akkor távolítsa el, ha cseréli.
Vizsgálja meg a biztonsági légszűrőbetétet. Ha szennyezett, akkor a biztonsági és az elsődleges szűrőbetétet is cserélje ki.
Important: Ne kísérelje meg a biztonsági légszűrőbetét tisztítását. Ha a biztonsági légszűrőbetét szennyezett, akkor az elsődleges szűrőbetét sérült.
Vizsgálja meg az elsődleges szűrőbetétet sérülés szempontjából úgy, hogy a szűrőbetét külső részét a fény felé tartva belenéz a szűrőbetétbe. Ha az elsődleges szűrőbetét szennyezett, meghajlott vagy sérült, cserélje ki.
Note: Az esetleges lyukak a szűrőbetét anyagán világos foltként jelennek meg. Az elsődleges légszűrőbetétet ne tisztítsa.
Important: A motor károsodásának megelőzése érdekében csak úgy indítsa be a motort, ha mindkét légszűrőbetét és a légszűrőfedél is a helyén van.
Új légszűrőbetétek beszerelése esetén ellenőrizze, hogy a szűrők a szállítás során nem sérültek-e meg.
Note: Ne használjon sérült szűrőbetétet.
A belső szűrő cseréje esetén óvatosan csúsztassa be azt a szűrőházba (Ábra 41).
Óvatosan csúsztassa rá az elsődleges szűrőbetétet a biztonsági szűrőbetétre (Ábra 41).
Note: A beszerelés során az elsődleges szűrőbetét külső peremét nyomva gondoskodjon arról, hogy a szűrőbetét teljesen beüljön a helyére.
Important: Ne a szűrőbetét puha belső részét nyomja.
Szerelje fel a légszűrőfedelet, és rögzítse a kapcsokkal (Ábra 41).
| Karbantartási időköz | Karbantartási intézkedés |
|---|---|
| Minden egyes használat előtt, vagy naponta |
|
| Minden 100 órában |
|
| Minden 200 órában |
|
Olaj típusa: detergenstartalmú kenőolaj (API-specifikáció: SF, SG, SH, SJ vagy SL)
A forgattyúház űrtartalma:
Kawasaki FX691 motorok – 2,0 l szűrőcsere esetén; 1,8 l szűrőcsere nélkül
Kawasaki FX801 motorok – 2,3 l szűrőcsere esetén; 2,1 l szűrőcsere nélkül
Viszkozitás: lásd az alábbi táblázatot.

Note: Bár a legtöbb esetben 10W-40 motorolaj ajánlott, a légköri viszonyoknak megfelelően előfordulhat, hogy más viszkozitású olajat kell használnia. Magasabb környezeti hőmérsékleten a 20W-50 motorolaj használata csökkentheti az olajfogyasztást.
Note: Az olajszintet hideg motornál ellenőrizze.
Important: Ha a motort túl sok vagy kevés motorolajjal járatja, a motor egyaránt károsodhat.
Parkolja le a gépet sík talajon, kapcsolja ki a késkapcsolót (TLT), és húzza be a rögzítőféket.
Állítsa le a motort, vegye ki az indítókulcsot, és várja meg, amíg az összes mozgó alkatrész leáll, csak ezután hagyja el a kezelőülést.
Note: Ellenőrizze, hogy a motor lehűlt, így az olajnak volt ideje, hogy lecsorogjon az olajteknőbe.
Tisztítsa meg az olajbetöltő sapka és a nívópálca környékét, mielőtt eltávolítja, hogy ne kerülhessen szennyeződés, fűkaszálék stb. a motorba (Ábra 43).


Note: A fáradt olaj ártalmatlanítását végezze újrahasznosító központban.
Indítsa be a motort, és járassa 5 percig.
Note: Így az olaj felmelegszik, és könnyebben leürül.
Parkoljon le a géppel úgy, hogy a leeresztő oldal az ellentétes oldalhoz képest kissé lejjebb kerüljön, így biztosítva az olaj teljes leeresztését.
Kapcsolja ki a késkapcsolót (erőleadó tengely), és húzza be a rögzítőféket.
Állítsa le a motort, vegye ki az indítókulcsot, és várja meg, amíg az összes mozgó alkatrész leáll, csak ezután hagyja el a kezelőülést.
Engedje le az olajat a motorból (Ábra 44).


Öntse be lassan a megadott olaj kb. 80%-át a betöltőcsőbe, majd töltsön utána annyit, hogy az olajszint elérje a FULL (tele) jelzést (Ábra 45).

Indítsa be a motort, és menjen sík felületre.
Ellenőrizze ismét az olajszintet.
Ürítse le az olajat a motorból, lásd: A motorolaj cseréje.
A motorolajszűrő cseréje (Ábra 46).


Note: Csavarja fel a helyére az olajszűrőt annyira, hogy a tömítése felüljön, majd húzzon rá még ¾ fordulatot.
Töltse fel az olajteknőt megfelelő típusú új olajjal, lásd: A motorolajra vonatkozó előírások.
| Karbantartási időköz | Karbantartási intézkedés |
|---|---|
| Minden 100 órában |
|
A gyújtógyertya beszerelése előtt ellenőrizze a középső és a szélső elektróda közti gyertyahézagot. A gyújtógyertya ki- és beszereléséhez használjon gyertyakulcsot, a gyertyahézag ellenőrzéséhez és beállításához pedig hézagmérőt. Szükség esetén szereljen be új gyújtógyertyát.
Gyújtógyertya típusa:
Kawasaki FX691 és FX801 motor – NGK® BPR4ES vagy ennek megfelelő
Légrés: 0,75 mm
Parkolja le a gépet sík talajon, kapcsolja ki a késkapcsolót (TLT), és húzza be a rögzítőféket.
Állítsa le a motort, vegye ki az indítókulcsot, és várja meg, amíg az összes mozgó alkatrész leáll, csak ezután hagyja el a kezelőülést.
Tisztítsa meg a gyújtógyertya alapja körüli területet, hogy ne juthasson szennyeződés a motorba.
Keresse meg és távolítsa el a gyújtógyertyá(ka)t a Ábra 47 szerint.


Important: Ne tisztítsa meg a gyújtógyertyát. A gyújtógyertyát cserélje ki, ha fekete bevonatot lát rajta, elhasználódtak az elektródái, olajos réteg vagy repedések láthatóak rajta.
Ha a szigetelőn világosbarna vagy szürke réteg látható, a motor megfelelően üzemel. A fekete réteg a szigetelőn rendszerint elszennyeződött légszűrőre utal.
Állítsa be a gyertyahézagot 0,75 mm-re.


Az üzemanyag bizonyos körülmények között rendkívül gyúlékony és robbanásveszélyes. Az üzemanyag okozta tűz vagy robbanás megégetheti Önt vagy másokat, és anyagi károkat okozhat.
Az üzemanyagra vonatkozó óvintézkedések teljes listája tekintetében lásd: Az üzemanyaggal kapcsolatos óvintézkedések.
| Karbantartási időköz | Karbantartási intézkedés |
|---|---|
| Minden 500 órában |
|
Important: Szerelje fel az üzemanyagtömlőket, és rögzítse azokat műanyag kötegelőkkel úgy, ahogy eredetileg voltak, hogy ne érjenek olyan alkatrészekhez, amelyek károsíthatják az üzemanyag-szállító rendszert.
Ne szerelje vissza az elszennyeződött szűrőt, ha eltávolította az üzemanyag-vezetékről.
Az üzemanyagszűrő a motor elejénél bal oldalt, a motor közelében található.
Parkolja le a gépet sík talajon, kapcsolja ki a késkapcsolót (TLT), és húzza be a rögzítőféket.
Állítsa le a motort, vegye ki az indítókulcsot, és várja meg, amíg az összes mozgó alkatrész leáll, csak ezután hagyja el a kezelőülést.
Hagyja a gépet lehűlni.
Cserélje ki az üzemanyagszűrőt (Ábra 50).
Note: Az új szűrőn az áramlási irányt jelző nyíl mutasson a motor felé.

Ne kísérelje meg az üzemanyagtartály leürítését. Bízza hivatalos márkaszervizre az üzemanyagtartály leürítését és az üzemanyagrendszer elemeinek szervizelését.
A gép javítása előtt kösse le az akkumulátort. Először a negatív sarut kösse le, és utána a pozitívot. Először a pozitív sarut kösse vissza, és utána a negatívot.
Az akkumulátor töltését nyitott, jól szellőző helyen végezze, szikráktól és nyílt lángtól távol. A töltőt az akkumulátorra való csatlakoztatása vagy leválasztása előtt húzza ki a fali aljzatból. Viseljen védőruházatot, és használjon szigetelt szerszámokat.
| Karbantartási időköz | Karbantartási intézkedés |
|---|---|
| Havonta |
|
Az akkumulátor pólusai vagy a fém szerszámok a gép fém alkatrészeihez érve szikrázást keltő rövidzárlatot okozhatnak. A szikrák hatására az akkumulátor gázai berobbanhatnak, ami személyi sérüléshez vezethet.
Az akkumulátor ki- vagy beszerelése során ügyeljen arra, hogy annak pólusai ne érjenek a gép fém alkatrészeihez.
Ügyeljen arra, hogy a fém szerszámok ne okozzanak rövidzárlatot az akkumulátor pólusai és a gép fém alkatrészei között.
Az akkumulátor kábeleinek helytelen lekötése szikrákat okozva károsíthatja a gépet és a kábeleket. A szikrák hatására az akkumulátor gázai berobbanhatnak, ami személyi sérüléshez vezethet.
Először mindig a negatív (fekete) akkumulátorkábelt kösse le, és csak azután a pozitív (piros) kábelt.
Először mindig a pozitív (piros) akkumulátorkábelt kösse vissza, és csak azután a negatív (fekete) kábelt.
Parkolja le a gépet sík talajon, kapcsolja ki a késkapcsolót (TLT), és húzza be a rögzítőféket.
Állítsa le a motort, vegye ki az indítókulcsot, és várja meg, amíg az összes mozgó alkatrész leáll, csak ezután hagyja el a kezelőülést.
Szerelje ki az akkumulátort az Ábra 51 alapján.


Az akkumulátor töltése során robbanásveszélyes gázok keletkeznek.
Ne dohányozzon és ne használjon szikraképző eszközt vagy nyílt lángot az akkumulátor közelében.
Important: Az akkumulátort tartsa mindig teljesen feltöltve (1,265-ös fajsúly). Különösen fontos az akkumulátort megvédeni a károsodástól 0 °C alatti hőmérsékleten.
Szerelje ki az akkumulátort a vázból, lásd Az akkumulátor eltávolítása.
Töltse az akkumulátort 10–15 percig 25–30 A vagy 30 percig 10 A áramerősséggel.
Note: Ne töltse túl az akkumulátort.
Ha az akkumulátor teljesen feltöltődött, húzza ki a töltőt a konnektorból, majd kösse le az akkumulátor pólusairól (Ábra 52).
Szerelje be az akkumulátort a gépbe, és kösse rá a kábeleit, lásd: Az akkumulátor beszerelése.
Note: Ne járassa a gépet lekötött akkumulátorral. Károsodások léphetnek fel a villamos rendszerben.

Helyezze el úgy az akkumulátort a tálcájában, hogy a pólusai a hidraulikatartállyal ellenkező oldalon legyenek (Ábra 51).
Szerelje fel a pozitív (piros) akkumulátorkábelt a pozitív (+) akkumulátorpólusra.
Szerelje fel a negatív (fekete) akkumulátorkábelt a negatív (–) akkumulátorpólusra.
Note: MyRide gépeknél ügyeljen arra, hogy a testkábel ne dörzsölődjön a lengőkarhoz vagy a lengéscsillapító alsó bekötéséhez (Ábra 54).

Rögzítse a kábeleket 2 csavar, 2 alátét és 2 önbiztosító anya segítségével (Ábra 51).
Csúsztassa rá a piros gumisapkát a pozitív (+) akkumulátorpólusra.
Rögzítse az akkumulátort a gumipánttal (Ábra 51).
A villamos rendszert biztosítékok védik. A biztosítékok nem igényelnek karbantartást, de ha valamelyik kiég, ellenőrizni kell az általa védett részegységet és áramkört, rövidzárlat vagy egyéb hiba jeleit keresve.
A biztosítékok az ülés mellett a jobb oldali konzolon találhatók (Ábra 54).
Biztosítékcsere esetén húzza ki a biztosítékot az eltávolításához.
Helyezze be az új biztosítékot (Ábra 54).

| Karbantartási időköz | Karbantartási intézkedés |
|---|---|
| Minden egyes használat előtt, vagy naponta |
|
Vizsgálja meg a biztonsági övet kopás, vágások, valamint a visszahúzó szerkezet és a csat megfelelő működése tekintetében. Cserélje ki a biztonsági övet, ha károsodott.
Kapcsolja ki a késkapcsolót (TLT).
Haladjon a géppel nyílt, sík területre, és állítsa a haladásvezérlő karokat SEMLEGES-RETESZELT helyzetbe.
A gázkart állítsa középre a GYORS és a LASSú helyzet közé.
Tolja előre mindkét haladásvezérlő kart a T-nyílásban ütközésig.
Ellenőrizze, melyik irányba halad a gép.
Ha a gép jobbra tart, dugjon be egy 3/16"-os imbuszkulcsot a bal oldali burkolatpanel szerviznyílásán, és forgassa el jobbra vagy balra a kar elmozdulását határoló csavart (Ábra 55).
Ha a gép balra tart, dugjon be egy 3/16"-os imbuszkulcsot a jobb oldali burkolatpanel szerviznyílásán, és forgassa el jobbra vagy balra a kar elmozdulását határoló csavart (Ábra 55).
Induljon el a géppel, és ellenőrizze az egyenesfutását teljesen előretolt karokkal.
Ismételje meg a beállítást, amíg el nem éri a kívánt egyenesfutást.

| Karbantartási időköz | Karbantartási intézkedés |
|---|---|
| Minden 50 órában |
|
Tartsa a légnyomást az önbeálló kerekeken lévő és a hátsó gumiabroncsokban 0,9 bar értéken. A nem egyforma gumiabroncsnyomás egyenetlen vágást eredményez. A legpontosabb nyomásérték hideg gumiabroncsoknál mérhető.

Ellenőrizze és húzza meg a kerékanyákat 122–136 Nm nyomatékkal.
| Karbantartási időköz | Karbantartási intézkedés |
|---|---|
| Az első 100 óra után |
|
| Minden 500 órában |
|
Note: Ellenőrizze, hogy a rögzítőfék megfelelően van-e beállítva. Ezt az eljárást az első 100 üzemóra után el kell végezni, valamint fékalkatrész eltávolítását vagy cseréjét követően.
Parkolja le a gépet sík talajon.
Kapcsolja ki a késkapcsolót (TLT), állítsa SEMLEGES-RETESZELT helyzetbe a haladásvezérlő karokat, és húzza be a rögzítőféket.
Állítsa le a gépet, vegye ki az indítókulcsot, és várja meg, amíg az összes mozgó alkatrész megáll, csak ezután hagyja el a kezelőülést.
Készítse elő a gépet, hogy kézzel tolható legyen. Lásd: A hajtókerék-kioldó szelepek használata.
Emelje fel a gép hátulját és támassza alá emelőállványokkal.
Kizárólag a mechanikus vagy hidraulikus emelőre hagyatkozni alátámasztásként szervizelés vagy karbantartás céljából veszélyes lehet, mert ezek gyengének bizonyulhatnak a megtámasztáshoz vagy meghibásodhatnak, így a gép leeshet, és súlyos sérülést okozhat.
Ne hagyatkozzon kizárólag a mechanikus vagy hidraulikus emelőre alátámasztásként. Használjon megfelelő emelőállványt vagy ennek megfelelő alátámasztást.
Húzza be és engedje ki a rögzítőféket, ellenőrizve mindegyik hajtókeréknél, hogy a fék működésbe lép és kiold-e.
Ha beállításra van szükség, engedje ki a rögzítőféket. Ellenőrizze a rögzítőféket működtető rudazat összes alkatrészét kopás szempontjából. A kopott alkatrészeket cserélje ki (Ábra 57), majd ismételje meg a 6. lépést.

Ellenőrizze a két rugó hosszát a Ábra 58 alapján. Ha beállítás szükséges, a rugóhossz csökkentéséhez forgassa el a rugófeszítő anyát az óra járása szerint, a növeléséhez pedig ellenkező irányba. Ismételje meg a 6. lépést.

Ha a beállítást befejezte, távolítsa el az emelőállványt vagy hasonló eszközt, és engedje le a gépet.
Állítsa vissza a gépet az ÜZEMI helyzetébe. Lásd: A hajtókerék-kioldó szelepek használata.
| Karbantartási időköz | Karbantartási intézkedés |
|---|---|
| Minden 50 órában |
|
Cserélje ki az ékszíjat, ha kopott. A kopott ékszíj üzem közben nyikorog; a kések fűnyírás közben csúsznak; az ékszíj szélei rojtosak, égésnyomok és repedések láthatók rajta.
Parkolja le a gépet sík talajon, kapcsolja ki a késkapcsolót (TLT), és húzza be a rögzítőféket.
Állítsa le a motort, vegye ki az indítókulcsot, és várja meg, amíg az összes mozgó alkatrész leáll, csak ezután hagyja el a kezelőülést.
Engedje le a fűnyírót 76 mm vágásmagasságra.
Hajtsa ki az ékszíjburkolatok csavarjait.
A nyíróasztal függönyének leoldása érdekében távolítsa el a sasszeget; lásd: A nyíróasztal függönyének leoldása.
Távolítsa el a védőlemezt; lásd: A védőlemez eltávolítása.
Távolítsa el a szíjburkolatokat (Ábra 59).

A feszítőkar négyzet alakú nyílásába helyezett ⅜"-os racsnis hajtókar segítségével szüntesse meg a feszítőgörgőt terhelő rugóerőt (Ábra 60).
Távolítsa el az ékszíjat a nyíróasztal-ékszíjtárcsákról és a tengelykapcsoló szíjtárcsáról.
Távolítsa el az ékszíjvezetőt a rugós feszítőkarról (Ábra 60).
Távolítsa el a meglévő ékszíjat.
Tegye fel az új ékszíjat a nyíróasztal-ékszíjtárcsákra és a motor alatti tengelykapcsoló szíjtárcsára (Ábra 60).

Szerelje vissza az ékszíjvezetőt a feszítőkarra (Ábra 60).
A négyzet alakú nyílásába helyezett ⅜"-os racsnis hajtókar segítségével szerelje fel a feszítőrugót (Ábra 60).
Note: A rugóvégek üljenek be a csapok hornyaiba.
Szerelje fel a szíjburkolatokat (Ábra 61).

Parkolja le a gépet sík talajon, kapcsolja ki a késkapcsolót (TLT), és húzza be a rögzítőféket.
Állítsa le a motort, vegye ki az indítókulcsot, és várja meg, amíg az összes mozgó alkatrész leáll, csak ezután hagyja el a kezelőülést.
Távolítsa el a nyíróasztalékszíjat; lásd: A nyíróasztal ékszíjcseréje.
Emelje meg a gépet, és támassza alá emelőállványokkal.
Feszítővas vagy a feszítőkar négyzet alakú nyílásába helyezett ½"-os racsnis hajtókar segítségével szüntesse meg a feszítőgörgőt terhelő rugóerőt (Ábra 62).
Távolítsa el az ékszíjat a feszítőtárcsáról, a 2 hidraulikaszivattyú-hajtótárcsáról és a motorszíjtárcsáról (Ábra 62).
Szerelje fel az új ékszíjat a feszítőtárcsára, a motorszíjtárcsára és a 2 hidraulikaszivattyú-hajtótárcsára (Ábra 62).
Feszítővas vagy a négyzet alakú nyílások egyikébe helyezett ½"-os racsnis hajtókar segítségével szerelje fel a feszítőrugót.
Note: A rugóvégek üljenek be a csapok hornyaiba.
Szerelje fel a nyíróasztalékszíjat; lásd: A nyíróasztal ékszíjcseréje.

Ha a karok végei egymáshoz ütköznek, lásd: A haladásvezérlő rudazat beállítása.
A haladásvezérlő karok magasságban állíthatók a maximális kényelem érdekében.
Parkolja le a gépet sík talajon, kapcsolja ki a késkapcsolót (TLT), és húzza be a rögzítőféket.
Állítsa le a motort, vegye ki az indítókulcsot, és várja meg, amíg az összes mozgó alkatrész leáll, csak ezután hagyja el a kezelőülést.
Távolítsa el a kötőelemeket, amelyek a vezérlőkarokat a tengelyükhöz rögzítik.

Helyezze át a vezérlőkart a következő furatokhoz. Rögzítse a vezérlőkart a kötőelemekkel.
Ismételje meg a beállítást a másik karnál.
Parkolja le a gépet sík talajon, kapcsolja ki a késkapcsolót (TLT), és húzza be a rögzítőféket.
Állítsa le a motort, vegye ki az indítókulcsot, és várja meg, amíg az összes mozgó alkatrész leáll, csak ezután hagyja el a kezelőülést.
Lazítsa meg a vezérlőkart a tengelyéhez rögzítő felső csavart.
Lazítsa meg az alsó csavart annyira, hogy a vezérlőkart előre-hátra billenthesse. A csavarokat meghúzva rögzítse a vezérlőkart az új helyzetében.
Ismételje meg a beállítást a másik karnál.

A gép két oldalán az ülés alatt található a szivattyúkat vezérlő rudazat. A rudazat végén található anyát ½"-es, mély dugókulccsal elforgatva finomhangolható a beállítás, hogy a gép a karok semleges helyzetében ne mozduljon el. Minden beállítás csak a semleges helyzet pozícióját érintheti.
A beállítás elvégzéséhez a motornak járnia, a hajtókerekeknek pedig forogniuk kell. A mozgó alkatrészek vagy forró felületek érintése személyi sérüléssel járhat.
Tartsa távol ujjait, kezét és ruházatát a forgó alkatrészektől és forró felületektől.
Parkolja le a gépet sík talajon, kapcsolja ki a késkapcsolót (TLT), és húzza be a rögzítőféket.
Állítsa le a motort, vegye ki az indítókulcsot, és várja meg, amíg az összes mozgó alkatrész leáll, csak ezután hagyja el a kezelőülést.
Nyomja le a nyíróasztal-emelő pedált, vegye ki a vágásmagasság-beállító csapot, és engedje le a talajra a nyíróasztalt
Emelje fel a gép hátulját, és támassza alá emelőbakokkal (vagy annak megfelelő eszközzel) olyan magasságban, hogy a hajtókerekek szabadon foroghassanak.
Húzza le a villamos csatlakozót az ülés biztonsági kapcsolójáról, amelyet az üléspárna alatt talál.
Note: A kapcsoló az ülésegység része.
Zárja átmenetileg rövidre a fő vezetékköteg csatlakozójának érintkezőit.
Indítsa be a motort, járassa teljes gázon, és engedje ki a rögzítőféket.
Note: A motor beindítása előtt győződjön meg arról, hogy a rögzítőféket behúzta, és a menetvezérlő karok külső helyzetben állnak. Nem kell beülnie az ülésbe.
Járassa a motort legalább 5 percig a menetvezérlő karok teljes előremeneti sebesség helyzetében, hogy a hidraulikafolyadék üzemi hőmérsékletre melegedjen.
Note: A menetvezérlő karoknak semleges helyzetben kell lenniük, amikor a beállítást végzi.
Állítsa SEMLEGES helyzetbe a haladásvezérlő karokat.
Ellenőrizze, hogy a vezérlőlemez fülei hozzáérnek-e a visszatérítő lemezekhez a hidraulikus egységeken.
A szivattyúvezérlő rudak hosszán az anyát megfelelő irányba hajtva állítson annyit, hogy a kerekek kissé meginduljanak hátramenetben (Ábra 65 és Ábra 66).


Állítsa a haladásvezérlő karokat HáTRAMENET helyzetbe, majd a karra enyhe nyomást kifejtve hagyja, hogy a hátramenetjelző rugók visszatérítsék a kart semleges helyzetbe.
Note: A kerekeknek meg kell állniuk, vagy kissé el kell indulniuk hátramenetben.
Note: Előfordulhat, hogy a megfelelő hozzáférés érdekében el kell távolítania a haladásvezérlő burkolatot.
Állítsa le a motort.
Távolítsa el az áthidaló vezetéket a vezetékkötegből, és kösse vissza a csatlakozót az üléskapcsolóba.
Távolítsa el az emelőbakokat.
Emelje fel a nyíróasztalt, és helyezze be a vágásmagasság-beállító csapot.
Ügyeljen, hogy a gép ne induljon el hátramenetben, amikor kiengedi a rögzítőféket.
Ha hidraulikafolyadék került a bőre alá, azonnal kérjen orvosi segítséget. A bejutott folyadékot pár órán belül orvossal, sebészi úton el kell távolíttatni.
Mielőtt nyomás alá helyezi a hidraulika-rendszert, győződjön meg arról, hogy minden hidraulikacső és -tömlő megfelelő állapotban van, valamint az összes hidraulikus csatlakozó és szerelvény jól zár.
Egyetlen testrészével se kerüljön közel olyan szivárgó furatokhoz vagy fúvókákhoz, ahonnan nagynyomású hidraulikafolyadék távozhat.
A hidraulikafolyadék esetleges szivárgását ellenőrizze kartonlap vagy papírlap segítségével.
Szüntesse meg biztonságosan a nyomást a hidraulika-rendszerben, mielőtt bármilyen munkába kezd rajta.
Hidraulikafolyadék típusa: Toro® HYPR-OIL™ 500 hidraulikafolyadék
Important: Használja az előírt folyadékot. A többi folyadék károsíthatja a hidraulika-rendszert.
A hidraulikarendszer kapacitása (szűrők eltávolítva): 7,57 liter
| Karbantartási időköz | Karbantartási intézkedés |
|---|---|
| Minden egyes használat előtt, vagy naponta |
|
Hagyja a hidraulikafolyadékot lehűlni. A szintet akkor ellenőrizze, amikor hideg a folyadék.
Ellenőrizze a tágulási tartályt, szükség esetén töltsön utána Toro® HYPR-OIL™ 500 hidraulikafolyadékot a FULL COLD (hidegen tele) szintig (Ábra 67).

| Karbantartási időköz | Karbantartási intézkedés |
|---|---|
| Az első 100 óra után |
|
A hidraulikafolyadék cseréje esetén a szűrőket el kell távolítani. A kettőt egyszerre cserélje; a folyadékkal kapcsolatos előírásokért lásd: A hidraulikafolyadékra vonatkozó előírások.
Az új szűrők felszerelése és a folyadék betöltése után légtelenítse a rendszert. Lásd: A hidraulika-rendszer légtelenítése. A légtelenítést akkor hagyja abba, amikor a folyadék a légtelenítési eljárást követően a tágulási tartály FULL COLD (hidegen tele) szintjénél marad.
Important: Az eljárás nem megfelelő elvégzése a közlőmű-hajtásrendszer javíthatatlan károsodását okozhatja.
Parkolja le a gépet sík talajon, kapcsolja ki a késkapcsolót (TLT), és húzza be a rögzítőféket.
Állítsa le a motort, vegye ki az indítókulcsot, és várja meg, amíg az összes mozgó alkatrész leáll, csak ezután hagyja el a kezelőülést.
Hagyja lehűlni a motort.
A légtelenítő csavarok hosszabbító és 7/16"-os dugókulcs segítségével érhetők el a gép tetején levő bukócső-rögzítési pont melletti furatokon át (Ábra 68).
Note: Jegyezze meg, hová teszi le a légtelenítő csavart, miután kiszerelte, mert könnyen elveszhet.

Tisztítsa meg alaposan a szűrő környezetét.
Important: Ügyeljen rá, hogy ne kerülhessen por a hidraulikarendszerbe, mert az szennyeződést eredményezhet.
Helyezzen egy megfelelő edényt a szűrő alá a szűrő és a légtelenítő csavar eltávolításakor leürülő folyadék felfogásához.
A folyadék leürítéséhez távolítsa el a hidraulikafolyadék-szűrő fedelét a közlőműről (Ábra 69).

Távolítsa el az O-gyűrűt a szűrőfedélről, és selejtezze az O-gyűrűt.
Miután a hidraulikafolyadék leürült a közlőműből, szerelje le a szűrőt a közlőműházról.
Ismételje meg az eljárást a gép másik oldalán is.
Szerelje fel az új szűrőt a közlőműre, az új O-gyűrűt pedig a szűrőfedélre.
Szerelje fel a szűrőfedelet.
Húzza meg a szűrőfedelet 22,6–33,8 Nm nyomatékkal.
Távolítsa el a tágulási tartály sapkáját, és töltse fel a közlőművet az előírt folyadékból a megfelelő mennyiséggel.
Note: A közlőművek feltöltése tovább tarthat a vártnál.
Szerelje vissza a korábban eltávolított légtelenítő csavarokat, és húzza meg őket 3,95–9,04 N m nyomatékkal.
Folytassa itt: A hidraulika-rendszer légtelenítése.
Important: Ha a hidraulika-rendszer szűrőinek és folyadékának cseréje után nem kerül sor a hidraulika-rendszer légtelenítési eljárására, az a közlőmű-hajtásrendszer javíthatatlan károsodását okozhatja.
Emelje fel a gép hátulját, és támassza alá emelőállványokkal (vagy annak megfelelő eszközzel) olyan magasságba, hogy a hajtókerekek szabadon foroghassanak.

Indítsa be a motort, állítsa a gázkart ½-gáz helyzetbe, és engedje ki a rögzítőféket.
Állítsa át a megkerülő szelepek karját a gép tolását lehetővé tevő helyzetbe. A megkerülő szelepek nyitott helyzetében, járó motor mellett döntse lassan előre és hátra 5 vagy 6 alkalommal a haladásvezérlő karokat.
Állítsa át a megkerülő szelepek karját a gép használatát lehetővé tevő helyzetbe.
A megkerülő szelepek zárt helyzetében, járó motor mellett döntse lassan előre és hátra 5 vagy 6 alkalommal a haladásvezérlő karokat.
Állítsa le a motort, és ellenőrizze a folyadékszintet a tágulási tartályban. Töltsön be az előírt folyadékból, amíg a kiegyenlítő tartályban el nem éri a szintje a FULL COLD (hidegen tele) jelzést.
Ismételje a 2. lépést, amíg minden levegő el nem távozik a rendszerből.
Note: Ha a közlőmű normál zajszinttel működik, zökkenőmentesen viszi a gépet előre- és hátramenetben normál sebességgel, a légtelenítés megtörtént.
Ellenőrizze még egyszer utoljára a folyadékszintet a kiegyenlítő tartályban. Töltsön be az előírt folyadékból, amíg a kiegyenlítő tartályban el nem éri a szintje a FULL COLD (hidegen tele) jelzést.
Ellenőrizze rendszeresen a késeket kopás és sérülés szempontjából.
Óvatosan járjon el a kések ellenőrzésekor. Burkolja be a késeket, vagy viseljen védőkesztyűt, és legyen óvatos a szervizelésükkor. A késeket csak cserélni vagy fenni szabad; tilos azokat kiegyenesíteni vagy hegeszteni.
Többkéses gépeknél figyelembe kell venni, hogy az egyik kés forgatásakor a többi kés is forogni kezd.
Mindig együtt, teljes készletben cserélje a kopott vagy sérült késeket és csavarokat, hogy megőrizze az egyensúlyt.
A kiváló minőségű vágás érdekében tartsa a késeket élesen. A kényelmes élezés és csere érdekében érdemes pótkésekről gondoskodni.
Parkolja le a gépet sík talajon, kapcsolja ki a késkapcsolót (TLT), és húzza be a rögzítőféket.
Állítsa le a motort, vegye ki a kulcsot, és húzza le a gyertyapipát a gyújtógyertyákról.
| Karbantartási időköz | Karbantartási intézkedés |
|---|---|
| Minden egyes használat előtt, vagy naponta |
|
Ellenőrizze a vágóéleket (Ábra 71).
Ha a vágóél tompa, vagy sérülések láthatók rajta, szerelje le és fenje meg a kést, lásd: A kések élezése.
Vizsgálja meg a késeket, különösen az ívelt részen.
Ha ezen a területen bármilyen repedést, kopást vagy alakuló bevágást lát, azonnal cserélje ki a kést (Ábra 71).

Note: A következő eljáráshoz a gépnek sík talajon kell állnia.
Emelje fel a nyíróasztalt a legfelső vágásmagasságba.
Vastagon párnázott kesztyűben vagy más megfelelő kézvédelemmel ellátva fordítsa lassan a kést olyan helyzetbe, hogy megmérhesse a távolságot a vágóél és a vízszintes felület között, amelyen a gép áll (Ábra 72).

Mérje meg a kés hegye és a vízszintes felület közti távolságot (Ábra 73).

Forgassa el a kést 180°-kal, hogy az ellentétes vágóéle kerüljön mérési helyzetbe (Ábra 74).

Mérje meg a kés hegye és a vízszintes felület közti távolságot (Ábra 75).
Note: Az eltérés nem lehet több mint 3 mm.

Ha az A és a B közti eltérés több mint 3 mm, cserélje le a kést, lásd: A kések leszerelése és A kések felszerelése.
Note: Ha a görbének talált kés lecserélése után megismételt mérés továbbra is 3 mm-t meghaladó eltérést mutat, a kés tengelye görbülhetett el. Vegye fel a kapcsolatot a hivatalos márkakereskedővel a javítás miatt.
Ha az eltérés nem lépi túl a határértéket, folytassa a következő késsel.
Ismételje meg az eljárást minden késnél.
Cserélje le a kést, ha kemény tárgynak ütközött, kiegyensúlyozatlanná vált vagy elgörbült.
Tegyen villáskulcsot a tengely lapított részére, vagy tartsa meg a kés végét egy ronggyal vagy vastagon párnázott kesztyűvel.
Hajtsa ki a késtengelyből a késcsavart, és távolítsa el a perselyt és a kést (Ábra 76).

Reszelő segítségével fenje meg a kés mindkét vágóélét (Ábra 77).
Note: Őrizze meg az eredeti letörési szöget.
Note: A kés megtartja az egyensúlyát, ha mindkét vágóéléről ugyanannyi anyagot távolít el.

Ellenőrizze a kés egyensúlyát késegyensúlyozóra téve (Ábra 78).
Note: Ha a kés vízszintes helyzetben marad, akkor kiegyensúlyozott, használható.
Note: Ha a kés nincs egyensúlyban, reszeljen le némi anyagot a nehéz végéből, csak a terelőlemeznél (Ábra 77).

Ismételje az eljárást, amíg a kés egyensúlyba nem kerül.
Dugja át a perselyt a késen úgy, hogy a karimája a kés alján (a fű felől) legyen (Ábra 79).

Szerelje fel a persely-kés egységet a tengelyre (Ábra 80).

Kenjen szükség szerint rézpasztát vagy kenőzsírt a késcsavar meneteire, hogy az ne ragadjon meg. Szerelje be a késcsavart kézzel meghúzva.
Tegyen villáskulcsot az ellapított részre a tengelyen, és húzza meg a késcsavart 75–81 Nm nyomatékkal.
Ellenőrizze a nyíróasztal vízszintes helyzetét minden alkalommal, amikor felszereli azt, valamint ha ferde nyomot hagy a fűnyíró.
A szintezés előtt ellenőrizze, hogy nincs-e elgörbülve valamelyik kés, és cserélje le a görbe kést; a továbblépés előtt lásd: A vágókések szervizelése.
Először oldalirányban szintezze a nyíróasztalt; utána állítsa be a hosszirányú lejtését.
Követelmények:
A gépnek sík talajon kell állnia.
Az összes gumiabroncs legyen megfelelően felfújva; lásd: A gumiabroncsok nyomásának ellenőrzése.
Parkolja le a gépet sík talajon, kapcsolja ki a késkapcsolót (TLT), és húzza be a rögzítőféket.
Állítsa le a motort, vegye ki az indítókulcsot, és várja meg, amíg az összes mozgó alkatrész leáll, csak ezután hagyja el a kezelőülést.
Ellenőrizze a légnyomást a hajtókerekek gumiabroncsaiban; lásd: A gumiabroncsok nyomásának ellenőrzése.
Állítsa a nyíróasztalt vonulási reteszelt helyzetbe.
Forgassa el óvatosan keresztbe a késeket.
Mérje meg a szélső késhegyek és a vízszintes felület közti távolságot (Ábra 81). Ha az értékek közti eltérés több mint 5 mm, végezze el a szintezést; folytassa ezzel az eljárással.

Ellenőrizze a lejtést a késeknél (Ábra 82). Ellenőrizze, hogy az első késhegy alacsonyabban van-e, mint a hátsó késhegy, ahogy a Blokkmagasság és ferdeség táblázatban látható. Ha beállítás szükséges, folytassa ezzel az eljárással.

Állítsa be a lenyesés elleni védelem görgőit a felső furatokba, vagy szerelje le őket, amíg tart a beállítás.
Emelje fel a nyíróasztalt vonulási helyzetbe (140 mm-re).
Lazítsa addig az emelést segítő rugó állítócsavarját, amíg a csavart már el tudja távolítani (Ábra 83).
Note: Tegye el a csavart, mert vissza fogja szerelni.

Helyezzen két blokkot (lásd a blokkmagasság és ferdeség táblázatot) a nyíróasztal szoknyájának hátsó széle alá; egyet-egyet a nyíróasztal két oldalához (Ábra 84).
A vágásmagasságkart állítsa 76 mm-es helyzetbe.
Helyezzen 2 blokkot a nyíróasztal első széle alá két oldalt, de ne a lenyesés elleni védelem görgőkonzolja vagy a hegesztési varrat alá.

| Nyíróasztal mérete | Első blokk magassága | Ferdeség |
| Minden nyíróasztal | 73 mm | 4,8–6,4 mm |
Forgassa el óvatosan keresztbe a késeket (Ábra 81).
Lazítsa meg az önbiztosító anyákat (Ábra 85) mind a 4 sarokban, és gondoskodjon arról, hogy a nyíróasztal biztonságosan üljön a 4 blokkon.
Húzza feszesre a nyíróasztal-függesztőket, és ellenőrizze, hogy a fűnyíróasztal-emelő kar nekinyomódik-e az ütközőnek.
Húzza meg a 4 önbiztosító anyát.

Ellenőrizze, hogy a blokkok szorosan állnak-e a nyíróasztal szoknyája alatt, és minden rögzítőcsavart meghúzott-e
Folytassa a nyíróasztal szintezését a kések hosszirányú lejtésének ellenőrzésével.
Ellenőrizze a kések egyenességét, és szükség esetén ismételje meg a nyíróasztal szintezési eljárását.
Emelje fel a nyíróasztalt vonulási helyzetbe (140 mm-re).
Szerelje be az emelést segítő rugó korábban, a 10. lépésben eltávolított csavarját.
Állítsa be a rugó és a konzol közti légrést 22–29 mm-re.
A nyíróasztal szervizelése vagy eltávolítása előtt biztosítsa elmozdulás ellen a nyíróasztal-emelő rugós karokat.
Parkolja le a gépet sík talajon, kapcsolja ki a késkapcsolót (TLT), és húzza be a rögzítőféket.
Állítsa le a motort, vegye ki az indítókulcsot, és várja meg, amíg az összes mozgó alkatrész leáll, csak ezután hagyja el a kezelőülést.
Engedje le a fűnyírót 76 mm vágásmagasságra.
A nyíróasztal függönyének leoldása érdekében távolítsa el a sasszeget; lásd: A nyíróasztal függönyének leoldása.
Távolítsa el a szíjburkolatokat.
Lazítsa meg a nyíróasztal feszítőgörgőjét, és vegye le a nyíróasztalékszíjat; lásd: Ékszíjak karbantartása.
Távolítsa el a csavarokat és anyákat a lábtámasz alatti lemez elejéből.
Távolítsa el és őrizze meg a gép két oldalából származó csavarokat és anyákat (Ábra 86).

Csúsztassa el jobbra a nyíróasztalt a géptől.
A fedetlen kidobónyíláson át a gép tárgyakat hajíthat a közelben tartózkodók felé, súlyos személyi sérülést okozva ezzel. Emellett így a késekhez is hozzá lehet érni.
Ne használja a gépet felszerelt szecskázólemez, fűterelő lemez vagy fűgyűjtő rendszer nélkül.
Távolítsa el a terelőlemezt a csuklópántkonzolokhoz rögzítő önbiztosító anyát, csavart, rugót és távtartót (Ábra 87).
Távolítsa el a sérült vagy elhasználódott fűterelő lemezt (Ábra 87).

Szerelje rá a távtartót és a rugót a fűterelő lemezre.
A rugó J-kampós végét akassza be a nyíróasztal szélébe.
Note: Ellenőrizze, hogy a rugó J-kampós vége beakadt-e a nyíróasztal szélébe, mielőtt beszereli a csavart a Ábra 87 szerint.
Szerelje be a csavart, és szerelje fel az anyát.
A rugó J-kampós végét helyezze el a fűterelő lemez körül (Ábra 87).
Important: A fűterelő lemeznek el kell tudnia fordulni. Hajtsa fel teljesen a terelőlemezt annak ellenőrzése céljából, hogy teljesen lehajlik-e az alsó helyzetbe.
| Karbantartási időköz | Karbantartási intézkedés |
|---|---|
| Minden használat után |
|
Parkolja le a gépet sík talajon, kapcsolja ki a késkapcsolót (TLT), és húzza be a rögzítőféket.
Állítsa le a motort, vegye ki az indítókulcsot, és várja meg, amíg az összes mozgó alkatrész leáll, csak ezután hagyja el a kezelőülést.
Emelje a nyíróasztalt VONULáSI helyzetbe.
A felfüggesztési rendszer tisztításához használjon sűrített levegőt.
Note: Ne tisztítsa a lengéscsillapító egységeket nagy nyomású vízzel (Ábra 88).

A motorolaj, az akkumulátor, a hidraulikafolyadék és a hűtőfolyadék a környezetet szennyező anyagok. Ezeket az állami és a helyi előírásoknak megfelelően ártalmatlanítsa.
Állítsa le a motort, vegye ki az indítókulcsot, és várja meg, amíg az összes mozgó alkatrész leáll, csak ezután hagyja el a kezelői pozíciót. Hagyja lehűlni a gépet, mielőtt beállítási, szervizelési, tisztítási vagy tárolási munkába kezd rajta.
Ne tárolja a gépet vagy az üzemanyagot nyílt láng közelében, és ne zárt térben vagy zárt utánfutón ürítse le az üzemanyagot.
Ne tárolja a gépet vagy az üzemanyagtartályt olyan helyen, ahol nyílt láng, szikra vagy őrláng fordul elő, mint például vízmelegítőkön vagy más eszközökön.
Kapcsolja ki a késkapcsolót (erőleadó tengely), és húzza be a rögzítőféket.
Állítsa le a motort, vegye ki az indítókulcsot, és várja meg, amíg az összes mozgó alkatrész leáll, csak ezután hagyja el a kezelőülést.
Távolítsa el a fűkaszálékot, a koszt és a szennyeződést a teljes gép külső felületeiről, különösen a motorról és a hidraulika-rendszerről. Tisztítsa le a koszt és a kaszálékot a hengerfej bordái közül és a ventilátorházból.
Important: A gépet kímélő mosószerrel és vízzel is lemoshatja. Ne használjon a lemosásához nagynyomású mosót. Kerülje a bő víz használatát, különösen a vezérlőpanel, a motor, a hidraulikaszivattyúk és a hidromotorok környékén.
Ellenőrizze a rögzítőfék működését, lásd: A rögzítőfék beállítása.
Végezze el a légszűrő szervizelését, lásd: A légszűrő szervizelése.
Zsírozza meg a gépet, lásd: A gép kenése.
Cserélje le a motorolajat, lásd: A motorolaj szervizelése.
Ellenőrizze a gumiabroncsok nyomását, lásd: A gumiabroncsok nyomásának ellenőrzése.
Cserélje le a hidraulikaszűrőket, lásd: A hidraulikafolyadék és a szűrők cseréje.
Töltse fel az akkumulátort, lásd: Az akkumulátor töltése.
Kaparjon le minden rátapadt füvet és koszt a fűnyíró aljáról, majd mossa le a fűnyírót kerti locsolótömlővel.
Note: Járassa a gépet bekapcsolt késsel (erőleadó tengely) magas alapjáraton a lemosás után 2–5 percig.
Ellenőrizze a kések állapotát, lásd: A vágókések szervizelése.
Készítse elő a gépet tárolásra, ha 30 napot meghaladó ideig nem használja. Készítse elő a gépet tárolásra az alábbi módon:
Töltsön a tartályban lévő üzemanyagba kőolaj alapú üzemanyag-stabilizáló/-kondicionálót. Kövesse az üzemanyag-stabilizáló gyártójának keverési utasításait. Ne használjon alkoholalapú üzemanyag-stabilizálót (etanolt vagy metanolt).
Note: Az üzemanyag-stabilizáló/-kondicionáló friss üzemanyaggal keverve és folyamatosan használva a leghatékonyabb.
Járassa a motort 5 percig, hogy átjárja az üzemanyagrendszert a kondicionált üzemanyag.
Állítsa le a motort, hagyja lehűlni, majd ürítse le az üzemanyagtartályt.
Indítsa be és hagyja a motort járni, míg le nem áll.
Helyezze el az üzemanyagot környezetbarát módon. Végezze el újrahasznosítását a helyi rendelkezések alapján.
Important: Ne tárolja az üzemanyag-stabilizáló/-kondicionálót hosszabban, mint ahogy a gyártója javasolja.
Szerelje ki és ellenőrizze a gyújtógyertyákat, lásd: A gyújtógyertya szervizelése. A kiszerelt gyújtógyertya nyílásán át töltsön 30 ml (2 evőkanál) motorolajat a hengerekbe. Az indítómotorral forgassa meg a motort, hogy eloszlassa az olajat a hengerben. Szerelje be a gyújtógyertyákat. Ne tegye rájuk a gyertyapipát.
Ellenőrizzen és húzzon meg minden csavart és anyát. Javítsa meg vagy cserélje le a károsodott alkatrészeket.
Fesse be az összes karcos vagy csupasz fémfelületet. A festék a márkaszerviztől beszerezhető.
Tárolja a gépet tiszta, száraz garázsban vagy tárolóhelyiségben. Vegye ki a kulcsot, és tegye el úgy, hogy gyerekek vagy illetéktelenek ne férhessenek hozzá. A védelme érdekében takarja le, és tartsa tisztán a gépet.
| Problem | Possible Cause | Corrective Action |
|---|---|---|
| A motor túlmelegszik. |
|
|
| Az indítómotor nem forgatja a motort. |
|
|
| A motor nem indul be, nehezen indul be, vagy leáll. |
|
|
| A motor gyenge. |
|
|
| A gép balra vagy jobbra húz (a haladásvezérlő karokat ütközésig előrenyomva). |
|
|
| A gép nem indul el sem előre-, sem hátramenetben. |
|
|
| A gép rendellenes rezgésbe kezdett. |
|
|
| A vágásmagasság egyenetlen. |
|
|
| A kések nem forognak. |
|
|
| A tengelykapcsoló nem kapcsol. |
|
|

