| Périodicité d'entretien | Procédure d'entretien |
|---|---|
| À chaque utilisation ou une fois par jour |
|
Cette tondeuse autoportée à lame rotative est destinée aux professionnels et aux utilisateurs temporaires. Elle est principalement conçue pour tondre les pelouses régulièrement entretenues des terrains privés et commerciaux. L'utilisation de ce produit à d'autres fins que celle prévue peut être dangereuse pour vous-même et toute personne à proximité.
Lisez attentivement cette notice pour apprendre comment utiliser et entretenir correctement votre produit, et éviter ainsi de l'endommager ou de vous blesser. Vous êtes responsable de l'utilisation sûre et correcte du produit.
Rendez-vous sur www.Toro.com pour tout document de formation à la sécurité et à l'utilisation des produits, pour tout renseignement concernant un produit ou un accessoire, pour obtenir l'adresse des concessionnaires ou pour enregistrer votre produit.
Pour obtenir des prestations de service, des pièces d'origine Toro ou des renseignements complémentaires, munissez-vous des numéros de modèle et de série du produit et contactez un concessionnaire-réparateur agréé ou le service client Toro. La Figure 1 indique l'emplacement des numéros de modèle et de série sur le produit. Inscrivez les numéros dans l'espace réservé à cet effet.
Important: Avec votre appareil mobile, vous pouvez scanner le QR code sur l'autocollant du numéro de série (le cas échéant) pour accéder aux informations sur la garantie, les pièces détachées et autres renseignements concernant le produit.

Ce manuel utilise deux termes pour faire passer des renseignements essentiels. Important pour attirer l'attention sur des informations d'ordre mécanique spécifiques et Remarque pour souligner des informations d'ordre général méritant une attention particulière.
Le symbole de sécurité (Figure 2) qui figure à la fois dans ce manuel et sur la machine sert à identifier d'importantes consignes de sécurité que vous devez respecter pour éviter les accidents. Ce symbole s'accompagne des mentions Danger, Attention, ou Prudence.
Danger signale un danger immédiat qui, s'il n'est pas évité, entraînera obligatoirement des blessures graves ou mortelles.
Attention signale un danger potentiel qui, s'il n'est pas évité, risque d'entraîner des blessures graves ou mortelles.
Prudence signale un danger potentiel qui, s'il n'est pas évité, peut éventuellement entraîner des blessures légères ou modérées.

Ce produit est conforme à toutes les directives européennes pertinentes. Pour plus de renseignements, reportez-vous à la Déclaration de conformité spécifique du produit fournie séparément.
Reportez-vous aux informations du constructeur du moteur qui accompagnent la machine.
Couple brut ou net : le couple brut ou net de ce moteur a été calculé en laboratoire par le constructeur du moteur selon la norme SAE J1940 ou J2723 de la Society of Automotive Engineers (SAE). Étant configuré pour satisfaire aux normes de sécurité, antipollution et d'exploitation, le moteur monté sur cette classe de tondeuse aura un couple effectif nettement inférieur. Reportez-vous aux informations du constructeur du moteur qui accompagnent la machine.
CALIFORNIE
Proposition 65 - Avertissement
Les gaz d'échappement de ce produit contiennent des substances chimiques considérées par l'état de Californie comme susceptibles de provoquer des cancers, des malformations congénitales et autres troubles de la reproduction.
Les bornes de la batterie et accessoires connexes contiennent du plomb et des composés de plomb. L'état de Californie considère ces substances chimiques comme susceptibles de provoquer des cancers et des troubles de la reproduction. Lavez-vous les mains après avoir manipulé la batterie.
L'utilisation de ce produit peut entraîner une exposition à des substances chimiques considérées pas l'état de Californie comme capables de provoquer des cancers, des anomalies congénitales ou d'autres troubles de la reproduction.
Ce produit peut sectionner les mains ou les pieds et projeter des objets. Respectez toujours toutes les consignes de sécurité pour éviter des blessures graves ou mortelles.
Vous devez lire et comprendre le contenu de ce Manuel de l'utilisateur avant de démarrer le moteur.
Tenez tout le monde, notamment les enfants, à bonne distance.
Ne confiez pas l'utilisation ou l'entretien de la machine à des enfants ou à des personnes non qualifiées. Seules les personnes responsables, formées à l'utilisation et l'entretien de la machine, ayant lu et compris les instructions et physiquement aptes sont autorisées à utiliser ou entretenir la machine.
Gardez toujours l'arceau de sécurité complètement relevé et bloqué en position, et attachez la ceinture de sécurité.
N'utilisez pas la machine près de fortes dénivellations, fossés, berges, étendues d'eau ou tout autre danger, ni sur des pentes de plus de 15°.
N'approchez pas les mains ou les pieds des composants mobiles de la machine.
N'utilisez pas la machine s'il manque des capots, des contacteurs de sécurité ou d'autres dispositifs de protection, ou s'ils sont défectueux.
Avant de quitter la position d'utilisation, coupez le moteur, enlevez la clé et attendez l'arrêt complet de toutes les pièces mobiles. Laissez refroidir la machine avant d'en faire l'entretien, de la régler, de faire le plein de carburant, de la nettoyer ou de la remiser.

![]() |
Des autocollants de sécurité et des instructions bien visibles par l'utilisateur sont placés près de tous les endroits potentiellement dangereux. Remplacez tout autocollant endommagé ou manquant. |





















Avant de mettre le moteur en marche et d'utiliser la machine, familiarisez-vous avec toutes les commandes.

Le commutateur d'allumage sert à démarrer et arrêter le moteur, et comporte 3 positions : ARRêT, CONTACT et DéMARRAGE. Voir Démarrage du moteur.
Utilisez cet interrupteur pour ALLUMER ou éTEINDRE les phares (Figure 5).
Utilisez le starter pour démarrer quand le moteur est froid.
L'accélérateur commande le régime moteur et peut se régler à l'infini entre les positions BAS RéGIME et HAUT RéGIME (Figure 5).
La commande des lames, représentée par le symbole de la prise de force (PDF), engage et désengage l'entraînement des lames (Figure 5).
Le compteur horaire totalise les heures de fonctionnement du moteur. Il se déclenche quand le moteur tourne. Programmez les entretiens en fonction du nombre d'heures indiqué (Figure 6).

Ce sont des symboles sur le compteur-horaire qui indiquent par un triangle noir que le verrou de sécurité est à la position correcte (Figure 6).
Si vous tournez le commutateur d'allumage en position CONTACT pendant quelques secondes, la tension de batterie s'affiche dans la zone normalement réservée aux heures de fonctionnement.
Le témoin de charge de la batterie s'allume quand vous mettez le contact et que la charge est inférieure au niveau de fonctionnement correct (Figure 6).
Les leviers de commande de déplacement permettent de conduire la machine en marche avant, en marche arrière et de tourner à droite ou à gauche (Figure 4).
Quand vous descendez de la machine, écartez les leviers de commande vers l'extérieur, du centre à la position de BLOCAGE DU POINT MORT (Figure 25). Placez toujours les leviers de commande en position de BLOCAGE DU POINT MORT avant d'arrêter la machine ou de la laisser sans surveillance.
Chaque fois que vous arrêtez le moteur, serrez le frein de stationnement pour éviter que la machine ne se déplace accidentellement.
Fermez le robinet d'arrivée de carburant avant de transporter ou de remiser la machine ; voir Utilisation du robinet d'arrivée de carburant.
Note: Les spécifications et la conception peuvent faire l'objet de modifications sans préavis.
| Plateau de 122 cm | Plateau de 132 cm | Plateau de 152 cm | |
|---|---|---|---|
| Sans plateau de coupe | 129 cm | 137 cm | 140 cm |
| Déflecteur relevé | 141 cm | 150 cm | 166 cm |
| Déflecteur abaissé | 160 cm | 171 cm | 191 cm |
| Déflecteur déposé | 132 cm | 141 cm | 156 cm |
| Pneus de 61 cm | Pneus de 66 cm | |
|---|---|---|
| Longueur | 219 cm | 220 cm |
| Pneus de 61 cm | Pneus de 66 cm | |
|---|---|---|
| Arceau de sécurité relevé | 182 cm | 185 cm |
| Arceau de sécurité abaissé | 126 cm | 129 cm |
| Machines | Poids |
| Modèles de 122 cm | 512 kg |
| Modèles de 132 cm | 531 à 540 kg |
| Modèles de 152 cm | 535 à 590 kg |
Une sélection d'outils et d'accessoires agréés par Toro est disponible pour augmenter et améliorer les capacités de la machine. Pour obtenir la liste de tous les outils et accessoires agréés, contactez votre concessionnaire-réparateur ou votre distributeur Toro agréé, ou rendez-vous sur www.Toro.com.
Pour garantir un rendement optimal et conserver la certification de sécurité de la machine, utilisez uniquement des pièces de rechange et accessoires d'origine Toro. Les pièces de rechange et accessoires provenant d'autres constructeurs peuvent être dangereux, et leur utilisation risque d'annuler la garantie de la machine.
Note: Les côtés gauche et droit de la machine sont déterminés d'après la position d'utilisation normale.
Ne confiez pas l'utilisation ou l'entretien de la machine à des enfants ou à des personnes non qualifiées. La réglementation locale peut imposer un âge minimum pour les utilisateurs. Le propriétaire de la machine doit assurer la formation de tous les utilisateurs et mécaniciens.
Inspectez la zone de travail et débarrassez-la de tout objet pouvant gêner le fonctionnement de la machine ou être projeté pendant son utilisation.
Familiarisez-vous avec le maniement correct du matériel, les commandes et les symboles de sécurité.
Vérifiez toujours que les commandes de présence de l'utilisateur, les contacteurs de sécurité et les capots de protection sont en place et fonctionnent correctement. N'utilisez pas la machine s'ils ne fonctionnent pas correctement.
Avant de quitter la position d'utilisation, coupez le moteur, enlevez la clé et attendez l'arrêt complet de toutes les pièces mobiles. Laissez refroidir la machine avant d'en faire l'entretien, de la régler, de faire le plein de carburant, de la nettoyer ou de la remiser.
Avant de tondre, vérifiez que les unités de coupe sont en bon état de marche.
Examinez la zone de travail pour déterminer quels accessoires et équipements vous permettront d'exécuter votre tâche correctement et sans risque.
Portez une tenue adéquate, y compris une protection oculaire, un pantalon, des chaussures solides à semelle antidérapante et des protecteurs d'oreilles. Si vos cheveux sont longs, attachez-les et ne portez pas de vêtements amples ni de bijoux pendants.
Ne transportez jamais personne sur la machine.
Tenez tout le monde, y compris les animaux, à l'écart de la machine en marche. Arrêtez la machine et le(s) accessoire(s) si quelqu'un entre dans la zone de travail.
N'utilisez pas la machine si tous les capots de protection et les dispositifs de sécurité, comme les déflecteurs et le bac à herbe au complet, ne sont pas en place ou ne fonctionnent pas correctement. Remplacez les pièces usées ou abîmées au besoin.
Le carburant est extrêmement inflammable et hautement explosif. Un incendie ou une explosion causé(e) par du carburant peut vous brûler, ainsi que les personnes se tenant à proximité, et causer des dommages matériels.
Pour éviter que l'électricité statique n'enflamme le carburant, descendez la machine du camion ou de la remorque et faites-le plein quand elle est au sol, à l'écart de tout autre véhicule. Si cela est impossible, placez un récipient de carburant portatif sur le sol, à l'écart de tout véhicule, et remplissez-le ; faites ensuite le plein de la machine avec le récipient portatif plutôt que directement à la pompe.
Faites le plein du réservoir de carburant à l'extérieur sur un sol plat et horizontal, dans un endroit bien dégagé et lorsque le moteur est froid. Essuyez tout carburant répandu.
Ne fumez jamais quand vous manipulez du carburant et tenez-vous à l'écart des flammes nues ou des sources d'étincelles.
Ne retirez pas le bouchon du réservoir de carburant et n'ajoutez pas de carburant dans le réservoir lorsque le moteur tourne ou est chaud.
Ne tentez pas de démarrer le moteur si du carburant a été répandu. Évitez de créer des sources d'inflammation jusqu'à dissipation complète des vapeurs de carburant.
Conservez le carburant dans un récipient homologué et hors de la portée des enfants.
Le carburant est toxique et même mortel en cas d'ingestion. L'exposition prolongée aux vapeurs de carburant peut causer des blessures et des maladies graves.
Évitez de respirer les vapeurs de carburant de façon prolongée.
N'approchez pas les mains ni le visage du pistolet ou de l'ouverture du réservoir de carburant.
N'approchez pas le carburant des yeux et de la peau.
Ne rangez pas la machine ni les bidons de carburant à proximité d'une flamme nue, d'une source d'étincelles ou d'une veilleuse, telle celle d'un chauffe-eau ou d'autres appareils.
N'utilisez pas la machine si elle n'est pas équipée du système d'échappement complet et en bon état de marche.
Maintenez le pistolet en contact avec le bord du réservoir ou du bidon jusqu'à la fin du remplissage. N'utilisez pas de dispositif de verrouillage du pistolet en position ouverte.
Si du carburant s'est répandu sur vos vêtements, changez-vous immédiatement.
Ne remplissez pas excessivement le réservoir de carburant. Remettez en place le bouchon du réservoir et serrez-le fermement.
Pour éviter les risques d'incendie, enlevez les débris d'herbe et autres agglomérés sur l'unité de coupe, le silencieux, les entraînements, le bac à herbe et le moteur. Nettoyez les coulées éventuelles d'huile ou de carburant.
Pour assurer le fonctionnement optimal de la machine, utilisez uniquement de l'essence sans plomb propre et fraîche (stockée depuis moins d'un mois) ayant un indice d'octane de 87 ou plus (méthode de calcul [R+M]/2).
Éthanol : De l'essence contenant jusqu'à 10 % d'éthanol (essence-alcool) ou 15 % de MTBE (éther méthyltertiobutylique) par volume peut être utilisée. L'éthanol et le MTBE sont deux produits différents. L'utilisation d'essence contenant 15 % d'éthanol (E15) par volume n'est pas agréée. N'utilisez jamais d'essence contenant plus de 10 % d'éthanol par volume, comme E15 (qui contient 15 % d'éthanol), E20 (qui contient 20 % d'éthanol) ou E85 (qui contient jusqu'à 85 % d'éthanol). L'utilisation d'essence non agréée peut entraîner des problèmes de performances et/ou des dommages au moteur qui peuvent ne pas être couverts par la garantie.
N'utilisez pas d'essence contenant du méthanol.
Ne stockez pas le carburant dans le réservoir ou dans des bidons de carburant pendant l'hiver, à moins d'utiliser un stabilisateur de carburant.
N'ajoutez pas d'huile à l'essence.
Utilisez un additif stabilisateur/conditionneur dans la machine pour :
Que le carburant reste frais plus longtemps quand il est utilisé conformément aux indications du fabricant du stabilisateur.
Nettoyer le moteur lorsqu'il tourne.
Éviter la formation d'un dépôt gommeux dans le circuit d'alimentation, qui pourrait entraîner des problèmes de démarrage.
Important: N'utilisez pas d'additifs contenant du méthanol ou de l'éthanol.
Ajoutez au carburant la quantité appropriée de stabilisateur/conditionneur.
Note: L'efficacité des stabilisateurs/conditionneurs est optimale lorsqu'ils sont mélangés à du carburant frais. Pour réduire les risques de formation de dépôts visqueux dans le circuit d'alimentation, utilisez toujours un stabilisateur dans l'essence.
Garez la machine sur une surface plane et horizontale.
Serrez le frein de stationnement.
Coupez le moteur et retirez la clé.
Nettoyez la surface autour du bouchon du réservoir de carburant.
Remplissez le réservoir de carburant jusqu'à la base du goulot de remplissage (Figure 7).
Note: Ne remplissez pas complètement le réservoir de carburant. L'espace au-dessus doit rester vide pour permettre au carburant de se dilater.

Avant de démarrer la machine chaque jour, effectuez les procédures décrites à la section .
Les moteurs neufs demandent un certain temps pour développer toute leur puissance. Les plateaux de coupe et les systèmes d'entraînement neufs présentent plus de friction, ce qui augmente la charge sur le moteur. Prévoyez 40 à 50 heures de rodage pour les machines neuves afin de leur permettre de développer toute leur puissance et d'offrir des performances optimales.
Pour éviter de vous blesser, parfois mortellement, en cas de retournement de la machine, gardez l'arceau de sécurité complètement relevé et bloqué dans cette position, et attachez la ceinture de sécurité.
Le siège doit être bien fixé sur la machine.
La protection antiretournement est inexistante lorsque l'arceau de sécurité est abaissé.
N'abaissez l'arceau de sécurité qu'en cas d'absolue nécessité.
N'attachez pas la ceinture de sécurité lorsque l'arceau de sécurité est abaissé.
Conduisez lentement et prudemment.
Déployez l'arceau de sécurité dès que possible.
Vérifiez précisément la hauteur libre avant de passer sous un obstacle (par ex. branches, portes, câbles électriques, etc.) et évitez de le toucher.
Important: N'abaissez l'arceau de sécurité qu'en cas d'absolue nécessité.
Si les contacteurs de sécurité sont déconnectés ou endommagés, la machine peut se mettre en marche inopinément et causer des blessures.
Ne modifiez pas abusivement les contacteurs de sécurité.
Vérifiez chaque jour le fonctionnement des contacteurs de sécurité et remplacez ceux qui sont endommagés avant d'utiliser la machine.
Le système de sécurité est conçu pour empêcher le démarrage du moteur, sauf dans les cas suivants :
Le frein de stationnement est serré.
La commande des lames (PDF) est désengagée.
Les leviers de commande de déplacement sont en position de BLOCAGE DU POINT MORT.
Le système de sécurité est également conçu pour couper le moteur si vous sortez les leviers de commande de déplacement de la position de BLOCAGE DU POINT MORT alors que le frein de stationnement est serré, ou si vous quittez le siège alors que la PDF est engagée.
Le compteur horaire comporte des indicateurs qui avertissent l'utilisateur quand le composant de sécurité est à la position correcte. Lorsque le composant est à la position correcte, un indicateur s'affiche à l'écran.

| Périodicité d'entretien | Procédure d'entretien |
|---|---|
| À chaque utilisation ou une fois par jour |
|
Contrôlez le système de sécurité avant chaque utilisation de la machine. Si le système de sécurité ne fonctionne pas comme spécifié ci-dessous, faites-le immédiatement réviser par un concessionnaire-réparateur agréé.
Asseyez-vous sur le siège, serrez le frein de stationnement et placez la commande des lames (PDF) en position ENGAGéE. Essayez de démarrer le moteur ; il ne doit pas démarrer.
Asseyez-vous sur le siège, serrez le frein de stationnement et placez la commande des lames (PDF) en position DéSENGAGéE. Sortez un des leviers de commande de déplacement de la position de BLOCAGE DU POINT MORT. Essayez de démarrer le moteur ; il ne doit pas démarrer. Répétez l'opération pour l'autre levier de commande.
Asseyez-vous sur le siège, serrez le frein de stationnement, placez la commande des lames (PDF) en position DéSENGAGéE et amenez les leviers de commande de déplacement en position de BLOCAGE DU POINT MORT. Mettez alors le moteur en marche. Lorsque le moteur tourne, desserrez le frein de stationnement, engagez la commande des lames (PDF) et soulevez-vous légèrement du siège ; le moteur doit s'arrêter.
Asseyez-vous sur le siège, serrez le frein de stationnement, placez la commande des lames (PDF) en position DéSENGAGéE et amenez les leviers de commande de déplacement en position de BLOCAGE DU POINT MORT. Mettez alors le moteur en marche. Lorsque le moteur est en marche, centrez l'un des leviers de commande déplacement et déplacez la machine (en marche avant ou arrière) ; le moteur doit s'arrêter. Répétez l'opération pour l'autre levier de commande.
Asseyez-vous sur le siège, desserrez le frein de stationnement, placez la commande des lames (PDF) en position DéSENGAGéE et amenez les leviers de commande de déplacement en position de BLOCAGE DU POINT MORT. Essayez de démarrer le moteur ; il ne doit pas démarrer.
Vous pouvez avancer ou reculer le siège. Amenez le siège à la position la plus confortable pour vous, et offrant le meilleur contrôle de pour la conduite (Figure 11).

La suspension MyRide™ est réglable pour offrir un confort optimal. Vous pouvez régler les 2 amortisseurs arrière pour modifier le réglage de la suspension facilement et rapidement. Positionnez la suspension de manière la plus confortable pour vous.
Les fentes prévues pour les amortisseurs arrière sont dotées de crans de référence. Vous pouvez placer les amortisseurs arrière n'importe où dans la fente, pas seulement dans les crans. Le schéma suivant montre la position des amortisseurs pour une suspension souple ou ferme et les différentes positions des crans (Figure 12).

Note: Réglez toujours les amortisseurs arrière gauche et droit à la même position.
Réglez les amortisseurs arrière (Figure 13).


Le propriétaire/l'utilisateur est responsable des accidents pouvant entraîner des dommages corporels ou matériels et peut les prévenir.
Accordez toute votre attention à l'utilisation de la machine. Ne faites rien d'autre qui puisse vous distraire, au risque de causer des dommages corporels ou matériels.
N'utilisez pas la machine si vous êtes fatigué(e), malade ou sous l'emprise de l'alcool, de médicaments ou de drogues.
Le contact avec la lame peut entraîner des blessures graves. Avant de quitter la position d'utilisation, coupez le moteur, retirez la clé et attendez l'arrêt complet de toutes les pièces mobiles. Quand vous tournez la clé de contact en position ARRÊT, le moteur ainsi que la lame devraient s'arrêter. Si ce n'est pas le cas, cessez immédiatement d'utiliser la machine et adressez-vous à un concessionnaire-réparateur agréé.
N'utilisez la machine que si la visibilité est suffisante et les conditions météorologiques favorables. N'utilisez pas la machine s'il y a risque d'orage.
N'approchez pas les pieds ni les mains des unités de coupe. Ne vous tenez pas devant l'ouverture d'éjection.
Ne tondez pas avec le volet d'éjection relevé, déposé ou modifié à moins qu'un système de ramassage ou de mulching soit en place et fonctionne correctement.
Ne tondez jamais en marche arrière, sauf en cas d'absolue nécessité. Vérifiez toujours que la voie est libre juste derrière la machine et sur sa trajectoire avant de faire marche arrière.
Faites preuve de la plus grande prudence à l'approche de tournants sans visibilité, de buissons, d'arbres ou d'autres objets susceptibles de masquer la vue.
Arrêtez les lames quand vous ne tondez pas.
Si la machine a heurté un obstacle ou commence à vibrer, coupez immédiatement le moteur, retirez la clé (selon l'équipement) et attendez l'arrêt complet de toutes les pièces mobiles avant de vérifier si la machine n'est pas endommagée. Effectuez toutes les réparations nécessaires avant de réutiliser la machine.
Ralentissez et faites preuve de prudence quand vous changez de direction, ainsi que pour traverser des routes et des trottoirs avec la machine. Cédez toujours le passage.
Avant de quitter la position d'utilisation :
Garez la machine sur une surface plane et horizontale.
Désengagez la prise de force et abaissez les outils.
Serrez le frein de stationnement.
Coupez le moteur et retirez la clé.
Attendez l'arrêt complet de toutes les pièces mobiles.
Ne faites tourner le moteur que dans des lieux bien aérés. Les gaz d'échappement contiennent du monoxyde de carbone, qui est mortel en cas d'inhalation.
Ne laissez jamais la machine en marche sans surveillance.
Servez-vous uniquement du point d'attelage pour arrimer l'équipement tracté à la machine.
N'utilisez pas la machine si tous les capots de protection et les dispositifs de sécurité, comme les déflecteurs et le bac à herbe au complet, ne sont pas en place ou ne fonctionnent pas correctement. Remplacez les pièces usées ou abîmées au besoin.
Utilisez uniquement les accessoires et équipements agréés par Toro
Cette machine produit au niveau de l'oreille de l'utilisateur un niveau sonore de plus de 85 dBA qui peut entraîner des déficiences auditives en cas d'exposition prolongée.

Pour éviter les risques d'incendie, enlevez les débris d'herbe et autres agglomérés sur l'unité de coupe, les entraînements, le silencieux et le moteur.
Gardez les pieds à bonne distance des lames quand vous mettez le moteur en marche.
Sachez dans quel sens s'effectue l'éjection et faites en sorte qu'elle ne soit dirigée vers personne. N'éjectez pas l'herbe coupée contre un mur ou un obstacle, car elle pourrait ricocher dans votre direction.
Arrêtez les lames, ralentissez et faites preuve de prudence avant de traverser des surfaces autres que du gazon, ou quand vous déplacez la machine entre les surfaces de travail.
Ne modifiez pas le réglage du régulateur et ne faites pas tourner le moteur à un régime excessif.
Les enfants sont souvent attirés par la machine et l'activité de tonte. Ne partez jamais du principe que les enfants se trouvent encore à l'endroit où vous les avez vus pour la dernière fois.
Veillez à ce que les enfants restent hors de la zone de travail, sous la garde d'un adulte responsable autre que l'utilisateur.
Faites preuve de vigilance et arrêtez la machine si des enfants pénètrent dans la zone de travail.
Avant de reculer ou de prendre un virage, vérifiez qu'aucun enfant ne se trouve dans les environs.
Ne transportez pas d'enfants sur la machine, même si les lames ne sont pas en rotation. Les enfants pourraient tomber et se blesser gravement ou vous empêcher d'utiliser la machine de manière sécuritaire. Les enfants qui ont été autorisés à monter sur la machine en marche par le passé peuvent apparaître subitement dans la zone de travail et risquent alors d'être renversés ou écrasés par la machine.
Le système ROPS est un dispositif de sécurité intégré. Ne retirez aucun des composants du système ROPS de la machine.
Attachez bien la ceinture de sécurité et apprenez à la détacher rapidement en cas d'urgence.
Gardez l'arceau de sécurité complètement relevé et bloqué en position, et attachez toujours la ceinture de sécurité quand l'arceau est relevé.
Avant de passer sous un obstacle, vérifiez soigneusement la hauteur libre et ne les touchez pas.
Remplacez les composants endommagés du système ROPS. Ne les réparez pas et ne les modifiez pas.
La protection antiretournement est inexistante lorsque l'arceau de sécurité est abaissé.
Le dépassement des roues au-dessus d'une dénivellation, d'une berge escarpée ou d'une étendue d'eau peut provoquer le retournement de la machine et causer des blessures graves ou mortelles.
N'attachez pas la ceinture de sécurité lorsque l'arceau de sécurité est abaissé.
N'abaissez l'arceau de sécurité qu'en cas d'absolue nécessité et relevez-le dès que possible.
En cas de retournement de la machine, portez-la chez un concessionnaire-réparateur agréé pour faire réviser le système ROPS.
Utilisez uniquement les accessoires et outils agréés par Toro pour le système ROPS.
Les pentes augmentent significativement les risques de perte de contrôle et de retournement de la machine pouvant entraîner des accidents graves, voire mortels. L'utilisateur est responsable de la sécurité d'utilisation de la machine sur les pentes. L'utilisation de la machine sur une pente, quelle qu'elle soit, demande une attention particulière. Avant d'utiliser la machine sur une pente, vous devez :
Lire et comprendre les instructions relatives à l'utilisation sur les pentes qui figurent dans le manuel et sur la machine.
Utiliser l'indicateur d'angle pour déterminer l'angle approximatif de la pente sur laquelle vous devez travailler.
Ne travaillez jamais sur des pentes de plus de 15°.
Évaluer chaque jour l'état du terrain pour déterminer si la pente permet d'utiliser la machine sans risque. Faire preuve de bon sens et de discernement lors de cette évaluation. Les conditions changeantes du terrain, telle l'humidité, peuvent rapidement modifier le fonctionnement de la machine sur les pentes.
Identifiez les dangers potentiels depuis le bas de la pente. N'utilisez pas la machine près de fortes dénivellations, fossés, berges, étendues d'eau ou autres dangers. La machine pourrait se retourner brusquement si une roue passe par-dessus une dénivellation quelconque et se retrouve dans le vide, ou si un bord s'effondre. Maintenez une distance de sécurité (deux fois la largeur de la machine) entre la machine et tout danger potentiel. Utilisez une tondeuse autotractée ou une débroussailleuse manuelle pour tondre dans ce type de terrain.
Évitez de démarrer, de vous arrêter ou de tourner sur les pentes. Ne changez pas soudainement de vitesse ou de direction ; tournez lentement et graduellement.
N'utilisez pas la machine si l'adhérence, la direction ou la stabilité peuvent être compromises. Tenez compte du fait qu'une perte de l'adhérence peut se produire sur l'herbe humide, en travers des pentes ou dans les descentes. La perte d'adhérence des roues motrices peut faire patiner la machine et entraîner la perte du freinage et de la direction. La machine peut glisser même si les roues motrices ne tournent plus.
Enlevez ou balisez les obstacles tels que fossés, trous, ornières, bosses, rochers ou autres dangers cachés. L'herbe haute peut masquer les accidents du terrain. Les irrégularités du terrain risquent de provoquer le retournement de la machine.
Redoublez de prudence lorsque vous utilisez la machine équipée d'outils ou d'accessoires, tels des systèmes de ramassage. Ils peuvent modifier la stabilité et entraîner la perte du contrôle de la machine. Suivez les instructions d'utilisation des contrepoids.
Dans la mesure du possible, gardez le plateau de coupe abaissé au sol quand vous utilisez la machine sur des pentes. La machine peut devenir instable si vous levez le plateau de coupe pendant l'utilisation sur une pente.

Utilisez le plateau de coupe comme marchepied pour accéder au poste d'utilisation (Figure 16).

Serrez toujours le frein de stationnement lorsque vous arrêtez la machine ou que vous la laissez sans surveillance.
Garez la machine sur une surface plane et horizontale.


La commande des lames (PDF) permet de démarrer et d'arrêter la rotation des lames et des autres accessoires qu'elle entraîne.
Note: Les courroies d'entraînement subiront une usure excessive si la commande des lames (PDF) est engagée alors que la commande d'accélérateur est à mi-course ou moins.


Placez la commande d'accélérateur à mi-course entre les positions HAUT RéGIME et BAS RéGIME (Figure 21).
Sélectionnez toujours la position HAUT RéGIME quand vous engagez la PDF.

Note: L'usage du starter n'est généralement pas nécessaire si le moteur est chaud.
Important: N'actionnez pas le démarreur plus de 5 secondes de suite. N'actionnez pas le démarreur pendant plus de 5 secondes de suite au risque de l'endommager. Si le moteur refuse de démarrer, patientez 10 secondes avant de faire une nouvelle tentative de démarrage.

Les enfants ou les personnes à proximité risquent de se blesser s'ils déplacent ou essayent d'utiliser la machine, lorsque celle-ci est laissée sans surveillance.
Enlevez toujours la clé et serrez le frein de stationnement si vous laissez la machine sans surveillance.


Les roues motrices tournent indépendamment et sont entraînées par des moteurs hydrauliques sur chaque essieu. Vous pouvez faire tourner un côté en marche arrière et l'autre en marche avant, ce qui fait pivoter la machine au lieu de la faire changer de direction. La maniabilité de la machine en est grandement améliorée, mais il vous faudra peut-être un peu de temps pour vous adapter à cette manière de conduire.
La commande d'accélérateur agit sur le régime moteur qui se mesure en tours/minute (tr/min). Placez la commande d'accélérateur en position HAUT RéGIME pour obtenir des performances optimales. Travaillez toujours à plein régime.
La machine peut tourner très rapidement. Vous pouvez perdre le contrôle de la machine et vous blesser gravement ou endommager la machine.
Soyez extrêmement prudent dans les virages.
Ralentissez avant de prendre des virages serrés.
Note: Le moteur s'arrête si vous actionnez les leviers de commande de déplacement alors que le frein de stationnement est serré.
Pour arrêter la machine, tirez les leviers de commande de vitesse en position POINT MORT.
Desserrez le frein de stationnement.
Amenez les leviers de commande de déplacement au centre, en position déverrouillée.
Pour vous déplacer en marche avant, poussez lentement les leviers de commande de déplacement vers l'avant (Figure 26).

Amenez les leviers de commande de déplacement au centre, en position déverrouillée.
Pour vous déplacer en marche arrière, tirez lentement les leviers en arrière (Figure 27).

La tondeuse est équipée d'un déflecteur d'herbe pivotant qui permet de disperser les déchets de tonte sur le côté et à la surface de la pelouse.
Si le déflecteur d'herbe, l'obturateur d'éjection ou le bac à herbe complet ne sont pas en place sur la machine, vous-même ou d'autres personnes peuvent être touchés par une lame ou des débris projetés. Le contact avec les lames en rotation et la projection de débris peuvent occasionner des blessures graves ou mortelles.
N'enlevez jamais le déflecteur d'herbe du plateau de coupe, sa présence est nécessaire pour diriger l'herbe tondue sur le gazon. Si le déflecteur d'herbe est endommagé, remplacez-le immédiatement.
Ne mettez jamais les mains ou les pieds sous le plateau de coupe.
N'essayez jamais de dégager l'ouverture d'éjection ou les lames sans avoir au préalable amené la commande des lames (PDF) en position DéSENGAGéE, tourné la clé de contact sur ARRêT et enlevé la clé.
Vérifiez que le déflecteur d'herbe est abaissé.
Poussez la pédale de levage du plateau de coupe complètement en avant pour bloquer le plateau en position de TRANSPORT (Figure 28).
Poussez la pédale de levage du plateau de coupe complètement en avant et tirez le verrou de transport en avant à la position de DéVERROUILLAGE, puis abaissez lentement le plateau (Figure 28).

Vous pouvez régler la hauteur de coupe de 38 à 140 mm par paliers de 6 mm suivant le trou dans lequel vous placez l'axe de chape.
Poussez la pédale de levage du plateau complètement en avant pour bloquer le plateau en position de TRANSPORT (qui est aussi la position de hauteur de coupe de 140 mm), comme montré à la Figure 29.
Pour changer de hauteur de coupe, retirez l'axe du support de hauteur de coupe (Figure 29).
Placez l'axe de chape dans le trou du support correspondant à la hauteur de coupe voulue (Figure 29).
Poussez la pédale de levage du plateau de coupe complètement en avant, poussez le verrou de transport en avant et abaissez lentement le plateau.

Appuyez sur le haut de l'interrupteur de commande du plateau (Figure 30).

Placez l'axe de chape dans le trou du support correspondant à la hauteur de coupe voulue (Figure 31).
Appuyez sur le bas de l'interrupteur de commande du plateau jusqu'à ce la tringlerie de hauteur touche légèrement la goupille de hauteur de coupe (Figure 31).
Note: Un contact trop prononcé entre la tringlerie et la goupille de hauteur de coupe peut avoir un effet négatif sur la hauteur de coupe et la mise de niveau du plateau.

Ajustez la hauteur des galets anti-scalp chaque fois que vous modifiez la hauteur de coupe.
Note: Réglez les galets anti-scalp de sorte qu'ils ne touchent pas le sol sur les surfaces de tonte planes normales.
Garez la machine sur une surface plane et horizontale, désengagez la commande des lames et serrez le frein de stationnement.
Avant de quitter la position d'utilisation, coupez le moteur, retirez la clé et attendez l'arrêt complet de toutes les pièces mobiles.
Réglez les galets anti-scalp comme montré à la Figure 32.

Pour obtenir une circulation d'air maximale et de meilleurs résultats, faites tourner le moteur à HAUT RéGIME. L'air doit pouvoir circuler pour bien couper l'herbe. Pour cette raison, ne sélectionnez pas une hauteur de coupe trop basse car le plateau de coupe serait alors complètement entouré d'herbe haute. Placez-vous toujours de sorte qu'un côté de la tondeuse se trouve à l'extérieur de la zone non-coupée. L'air pourra ainsi circuler librement dans le plateau de coupe.
Tondez l'herbe légèrement plus haut que d'habitude pour éviter de scalper les inégalités du terrain. La hauteur de coupe habituelle est cependant celle qui convient le mieux en général. Si la hauteur de l'herbe dépasse 15 cm, vous devrez peut-être vous y reprendre à deux fois pour obtenir un résultat acceptable.
L'idéal est de ne raccourcir l'herbe que du tiers de sa hauteur. Une coupe plus courte est déconseillée, à moins que l'herbe ne soit clairsemée, ou en automne lorsque la pousse commence à ralentir.
Alternez le sens des passages pour ne pas coucher l'herbe. L'alternance permet aussi de mieux disperser l'herbe coupée, ce qui améliore la décomposition et la fertilisation.
L'herbe pousse à une vitesse différente selon les saisons. Pour conserver une hauteur de coupe uniforme, tondez plus souvent au début du printemps. Réduisez la fréquence de la tonte au milieu de l'été, lorsque l'herbe pousse moins vite. Si vous n'avez pas tondu depuis un certain temps, effectuez un premier passage à une hauteur de coupe élevée, puis repassez 2 jours plus tard en abaissant la hauteur de coupe.
Ralentissez pour améliorer la qualité de la coupe dans certaines conditions.
Si la surface est irrégulière, élevez la hauteur de coupe pour éviter de scalper l'herbe.
Si vous devez immobiliser la machine en cours de tonte, un paquet d'herbe coupée peut tomber sur la pelouse. Pour éviter cela, rendez-vous sur une surface déjà tondue en laissant les lames embrayées ou bien désengagez le plateau de coupe tout en vous déplaçant en marche avant.
Nettoyez le dessous du plateau de coupe après chaque utilisation. Ne laissez pas l'herbe et la terre s'accumuler à l'intérieur, car la qualité de la tonte finira par en souffrir.
Utilisez une lame bien aiguisée durant toute la saison de coupe, pour obtenir une coupe nette sans arracher ni déchiqueter les brins d'herbe. L'herbe arrachée ou déchiquetée brunit sur les bords, sa croissance ralentit et elle devient plus sensible aux maladies. Après chaque utilisation, vérifiez l'état, l'usure et l'affûtage des lames. Limez les entailles éventuelles et aiguisez les lames selon les besoins. Remplacez immédiatement les lames endommagées ou usées par des lames d'origine Toro.
Avant de quitter la position d'utilisation, serrez le frein de stationnement, coupez le moteur, enlevez la clé de contact et attendez l'arrêt de toutes les pièces mobiles. Laissez refroidir la machine avant d'en faire l'entretien, de la régler, de faire le plein de carburant, de la nettoyer ou de la remiser.
Pour éviter les risques d'incendie, enlevez les débris d'herbe et autres agglomérés sur l'unité de coupe, le silencieux, les entraînements, le bac à herbe et le moteur. Nettoyez les coulées éventuelles d'huile ou de carburant.
Coupez l'arrivée de carburant et enlevez la clé avant de remiser ou de transporter la machine.
Fermez le robinet d'arrivée de carburant pour transporter, réviser ou remiser la machine (Figure 33).
Vérifiez que le robinet d'arrivée de carburant est ouvert avant de démarrer le moteur.


Les mains peuvent se coincer dans les composants d'entraînement en rotation situés sous le plancher moteur, et subir des blessures graves.
Coupez le moteur, enlevez la clé et attendez l'arrêt de toutes les pièces mobiles avant d'accéder aux valves de déblocage des roues motrices.
Le moteur et les entraînements hydrauliques peuvent devenir très chauds. Vous pouvez vous brûler gravement si vous touchez le moteur ou les entraînements hydrauliques quand ils sont chauds.
Laissez refroidir complètement le moteur et les entraînements hydrauliques avant d'accéder aux valves de déblocage des roues motrices.
Les valves de déblocage des roues motrices sont situées à gauche et à droite sous le plancher moteur.
Garez la machine sur une surface plane et horizontale, désengagez la commande des lames et serrez le frein de stationnement.
Avant de quitter la position d'utilisation, coupez le moteur, retirez la clé et attendez l'arrêt complet de toutes les pièces mobiles.
Pour pousser la machine, déplacez les deux leviers de dérivation en avant et bloquez-les en position (Figure 34).
Desserrez le frein de stationnement avant de pousser la machine.
Pour utiliser la machine, déplacez les leviers de dérivation en arrière et bloquez-les en position (Figure 34).

Transportez la machine sur une remorque de poids-lourd ou un camion. Utilisez une rampe d'une seule pièce. Le camion ou la remorque doit être équipé(e) des freins, des éclairages et de la signalisation exigés par la loi. Lisez attentivement toutes les consignes de sécurité. Tenez-en compte pour éviter de vous blesser ou de blesser des personnes à proximité. Reportez-vous aux ordonnances locales concernant les exigences d'arrimage et de remorquage.
Il est dangereux de conduire sur la voie publique sans clignotants, éclairages, réflecteurs ou panneau « véhicule lent ». Vous risquez de provoquer un accident et de vous blesser.
Ne conduisez pas la machine sur la voie publique.
Le chargement d'une machine sur une remorque ou un camion augmente les risques de renversement et peut provoquer des blessures graves voire mortelles (Figure 35).
Utilisez uniquement une rampe d'une seule pièce ; n'utilisez pas de rampes individuelles de chaque côté de la machine.
Ne dépassez pas un angle de 15 degrés entre la rampe et le sol ou entre la rampe et la remorque ou le camion.
La rampe doit être au moins 4 fois plus longue que la hauteur de la remorque ou du plateau du camion par rapport au sol. Ainsi, l'angle de la rampe ne dépassera pas 15 degrés par rapport au sol plat.

Le chargement de la machine sur une remorque ou un camion augmente le risque de basculement, et donc de blessures graves ou mortelles.
Procédez avec la plus grande prudence lorsque vous manœuvrez la machine sur une rampe.
Faites monter la machine sur la rampe en marche arrière et descendez en marche avant.
Évitez d'accélérer ou de décélérer brutalement lorsque vous conduisez la machine sur une rampe car vous pourriez en perdre le contrôle ou la renverser.
Si vous utilisez une remorque, attelez-la au véhicule tracteur et attachez les chaînes de sécurité.
Le cas échéant, raccordez les freins et connectez l'éclairage de la remorque.
Abaissez la rampe pour que l'angle avec le sol ne dépasse pas 15 degrés (Figure 35).
Montez la rampe en marche arrière (Figure 36).

Coupez le moteur, enlevez la clé et serrez le frein de stationnement.
Arrimez la machine près des roues pivotantes avant et du cadre arrière à l'aide de sangles, chaînes, câbles ou cordes (Figure 37). Voir la réglementation locale concernant les exigences en matière d'arrimage.

Si vous laissez la clé dans le commutateur d'allumage, quelqu'un pourrait mettre le moteur en marche accidentellement et vous blesser gravement, ainsi que toute personne à proximité. Retirez la clé du commutateur d'allumage avant tout entretien.
Avant de quitter la position d'utilisation, effectuez la procédure suivante :
Garez la machine sur une surface plane et horizontale.
Débrayez les systèmes d'entraînement.
Serrez le frein de stationnement.
Coupez le moteur et retirez la clé.
Laissez refroidir les composants de la machine avant d'effectuer toute opération d'entretien.
Ne confiez pas l'entretien de la machine à des personnes non qualifiées.
N'approchez jamais les mains ou les pieds des pièces en mouvement et des surfaces chaudes. Dans la mesure du possible, évitez de procéder à des réglages sur la machine quand le moteur tourne.
Libérez la pression emmagasinée dans les composants avec précaution.
Vérifiez fréquemment le fonctionnement du frein de stationnement. Effectuez les réglages et l'entretien éventuellement requis.
N'enlevez pas et ne modifiez pas les dispositifs de sécurité. Vérifiez régulièrement qu'ils fonctionnent correctement.
Pour éviter les risques d'incendie, enlevez les débris d'herbe et autres agglomérés sur l'unité de coupe, le silencieux, les entraînements, le bac à herbe et le moteur.
Nettoyez les coulées éventuelles d'huile ou de carburant et éliminez les déchets imbibés de carburant.
Ne vous fiez pas uniquement aux crics hydrauliques ou mécaniques pour soutenir la machine ; soutenez-la avec des chandelles quand vous la soulevez.
Maintenez toutes les pièces en bon état de marche et toutes les fixations bien serrées, en particulier celles des lames. Remplacez tous les autocollants usés ou endommagés.
Débranchez le câble de la borne négative de la batterie avant de réparer la machine.
Pour obtenir des résultats optimaux, utilisez exclusivement des pièces de rechange et des outils d'origine Toro. Les pièces de rechange et accessoires provenant d'autres constructeurs peuvent être dangereux, et leur utilisation risque d'annuler la garantie de la machine.
| Périodicité d'entretien | Procédure d'entretien |
|---|---|
| Après les 100 premières heures de fonctionnement |
|
| À chaque utilisation ou une fois par jour |
|
| Après chaque utilisation |
|
| Toutes les 50 heures |
|
| Toutes les 100 heures |
|
| Toutes les 200 heures |
|
| Toutes les 250 heures |
|
| Toutes les 400 heures |
|
| Toutes les 400 heures ou tous les ans, la première échéance prévalant |
|
| Toutes les 500 heures |
|
| Chaque mois |
|
| Une fois par an |
|
| Une fois par an ou avant le remisage |
|
Important: Reportez-vous au manuel du propriétaire du moteur pour toutes procédures d'entretien supplémentaires.
Si vous laissez la clé dans le commutateur d'allumage, quelqu'un pourrait mettre le moteur en marche accidentellement et vous blesser gravement, ainsi que toute personne à proximité.
Coupez le moteur et enlevez la clé du commutateur avant d'effectuer des entretiens.
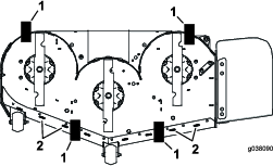
Retirez la goupille fendue pour débloquer le panneau de protection et accéder au sommet du plateau de coupe. Après avoir terminé l'entretien, reposez le panneau de protection au moyen de la goupille fendue retirée précédemment.
Desserrez les 2 boulons avant et déposez la tôle de protection pour accéder aux courroies et aux axes du plateau de coupe (Figure 38). Une fois l'entretien terminé, reposez la tôle de protection et serrez les boulons.

Graissez la machine plus fréquemment si l'atmosphère est très sale ou poussiéreuse.
Type de graisse : graisse nº 2 au lithium ou au molybdène.
Garez la machine sur une surface plane et horizontale, désengagez la commande des lames et serrez le frein de stationnement.
Avant de quitter la position d'utilisation, coupez le moteur, retirez la clé et attendez l'arrêt complet de toutes les pièces mobiles.
Nettoyez les graisseurs avec un chiffon.
Note: Grattez la peinture qui pourrait se trouver sur l'avant des graisseurs.
Raccordez une pompe à graisse au graisseur.
Injectez de la graisse dans les graisseurs jusqu'à ce qu'elle commence à sortir des roulements.
Essuyez tout excès de graisse.
| Périodicité d'entretien | Procédure d'entretien |
|---|---|
| Toutes les 100 heures |
|
Graissez les pivots de levage du plateau avec une huile légère ou lubrifiant en aérosol.

| Périodicité d'entretien | Procédure d'entretien |
|---|---|
| Toutes les 400 heures |
|
| Une fois par an |
|
Garez la machine sur une surface plane et horizontale, désengagez la commande des lames et serrez le frein de stationnement.
Avant de quitter la position d'utilisation, coupez le moteur, retirez la clé et attendez l'arrêt complet de toutes les pièces mobiles.
Retirez les capuchons protecteurs et réglez les pivots des roues pivotantes. Ne remettez pas les capuchons protecteurs avant d'avoir terminé le graissage ; voir Graissage de la machine.
Retirez le bouchon hexagonal.
Vissez un graisseur dans l'orifice.
Injectez de la graisse dans le graisseur jusqu'à ce qu'elle ressorte autour du roulement supérieur.
Sortez le graisseur de l'orifice. Remettez le bouchon hexagonal et le capuchon en place.
| Périodicité d'entretien | Procédure d'entretien |
|---|---|
| Une fois par an |
|
Garez la machine sur une surface plane et horizontale, désengagez la commande des lames et serrez le frein de stationnement.
Avant de quitter la position d'utilisation, coupez le moteur, retirez la clé et attendez l'arrêt complet de toutes les pièces mobiles.
Soulever la tondeuse pour permettre l'accès.
Déposez la roue pivotante de la fourche.
Déposez les protège-joints du moyeu de roue.

Retirez un écrou d'écartement de l'arbre de la roue pivotante.
Note: Du frein-filet a été appliqué pour bloquer les écrous d'écartement sur l'arbre de roue.
Déposez l'arbre de la roue (en laissant l'autre écrou d'écartement en place).
Faites levier pour déposer les joints, et vérifiez l'état et l'usure des roulements ; remplacez-les au besoin.
Garnissez les roulements de graisse universelle.
Insérez 1 roulement et 1 joint neuf, dans la roue.
Si les deux écrous d'écartement sont absents de l'arbre de roue, appliquez du frein-filet sur l'un d'entre eux et vissez-le sur l'arbre de roue, méplats tournés vers l'extérieur.
Note: Ne vissez pas complètement l'écrou d'écartement au bout de l'arbre de roue. Laissez environ 3 mm entre la surface extérieure de l'écrou d'écartement et l'extrémité de l'arbre de roue dans l'écrou.
Insérez l'ensemble écrou et arbre de roue dans la roue, du côté roulement et joint neuf.
Le côté ouvert de la roue étant dirigé vers le haut, remplissez l'intérieur de la roue autour de l'arbre de graisse universelle.
Insérez le second roulement, assorti d'un joint neuf, dans la roue.
Appliquez du frein-filet sur le filetage du second écrou d'écartement et vissez-le sur l'arbre de roue, les méplats tournés vers l'extérieur.
Serrez l'écrou à un couple de 8 à 9 N·m, desserrez-le, puis resserrez-le à un couple de 2 à 3 N·m.
Note: Attention à ne pas faire dépasser l'arbre de roue de l'écrou.
Posez les protège-joints sur le moyeu, puis insérez la roue dans la fourche pivotante.
Reposez le boulon de roue et serrez l'écrou à fond.
Important: Pour ne pas endommager le joint et le roulement, vérifiez fréquemment le réglage du roulement. Faites tourner la roue pivotante. Elle ne doit pas tourner librement (plus de 1 ou 2 tours) ni présenter de jeu latéral. Si la roue tourne librement, ajustez l'écrou d'écartement jusqu'à ce que vous sentiez une légère résistance. Appliquez une autre couche de frein-filet.
Gardez les mains, les pieds, le visage et toute autre partie du corps, ainsi que les vêtements à l'écart du silencieux et autres surfaces brûlantes. Laissez refroidir les composants du moteur avant d'effectuer toute opération d'entretien.
Ne modifiez pas le réglage du régulateur et ne faites pas tourner le moteur à un régime excessif.
| Périodicité d'entretien | Procédure d'entretien |
|---|---|
| Toutes les 250 heures |
|
| Toutes les 500 heures |
|
Note: Nettoyez le filtre à air plus fréquemment si vous travaillez dans des conditions très poussiéreuses ou sableuses.
Garez la machine sur une surface plane et horizontale, désengagez la commande des lames (PDF) et serrez le frein de stationnement.
Avant de quitter la position d'utilisation, coupez le moteur, retirez la clé et attendez l'arrêt complet de toutes les pièces mobiles.
Déverrouillez le filtre à air et détachez le couvercle du boîtier du filtre (Figure 41).

Nettoyez l'intérieur du couvercle du filtre à air à l'air comprimé.
Sortez le préfiltre du boîtier du filtre avec précaution (Figure 41).
Note: Évitez de cogner l'élément à l'intérieur du boîtier.
Ne déposez l'élément de sécurité que pour le remplacer.
Examinez l'élément de sécurité. S'il est encrassé, remplacez le filtre de sécurité et le préfiltre.
Important: N'essayez pas de nettoyer l'élément filtrant de sécurité. Si l'élément de sécurité est encrassé, cela signifie que le préfiltre est endommagé.
Vérifiez l'état du préfiltre en le plaçant devant une lumière forte. Remplacez le préfiltre s'il est encrassé, plié ou endommagé.
Note: Les trous éventuels apparaîtront sous forme de points brillants. Ne nettoyez pas le préfiltre.
Important: Pour ne pas endommager le moteur, ne le faites jamais tourner sans installer les deux éléments filtrants et le couvercle du filtre à air.
Si vous montez des éléments filtrants neufs, vérifiez qu'ils n'ont pas souffert pendant le transport.
Note: N'utilisez pas les éléments filtrants s'ils sont endommagés.
Si vous remplacez l'élément interne, insérez-le avec précaution dans le boîtier du filtre (Figure 41).
Glissez ensuite le préfiltre sur l'élément de sécurité avec précaution (Figure 41).
Note: Vérifiez que le préfiltre est complètement engagé en appuyant sur le bord extérieur lors de la pose.
Important: N'appuyez pas sur la partie intérieure souple du filtre.
Remettez en place et verrouillez le couvercle du filtre à air (Figure 41).
| Périodicité d'entretien | Procédure d'entretien |
|---|---|
| À chaque utilisation ou une fois par jour |
|
| Toutes les 100 heures |
|
| Toutes les 200 heures |
|
Type d'huile : huile détergente (classe de service API SF, SG, SH, SJ ou SL)
Capacité du carter :
Moteurs Kawasaki FX691 – 2 l avec filtre neuf ; 1,8 l avec filtre existant
Moteurs Kawasaki FX801 – 2,3 l avec filtre neuf ; 2,1 l avec filtre existant
Viscosité : voir le tableau ci-dessous.

Note: Bien que l'huile moteur 10W-40 soit recommandée pour la plupart des conditions, vous devrez adapter la viscosité de l'huile en fonction des conditions atmosphériques. L'utilisation d'huile moteur 20W-50 dans des températures ambiantes élevées peut réduire la consommation d'huile.
Note: Contrôlez le niveau d'huile quand le moteur est froid.
Important: Ne faites pas tourner le moteur avec un carter d'huile trop ou pas assez rempli, sous peine d'endommager le moteur.
Garez la machine sur une surface plane et horizontale, désengagez la commande des lames (PDF) et serrez le frein de stationnement.
Avant de quitter la position d'utilisation, coupez le moteur, retirez la clé et attendez l'arrêt complet de toutes les pièces mobiles.
Note: Laissez refroidir le moteur pour donner le temps à l'huile de s'écouler dans le carter.
Pour éviter de faire tomber des déchets d'herbe, des saletés, etc., dans le moteur, nettoyez la surface autour du bouchon de remplissage-jauge d'huile avant de le retirer (Figure 43).


Note: Débarrassez-vous de l'huile usagée dans un centre de recyclage.
Démarrez le moteur et laissez-le tourner pendant 5 minutes.
Note: Cela permet de réchauffer l'huile qui s'écoule alors plus facilement.
Garez la machine avec le côté de la vidange légèrement plus bas que l'autre côté, pour pouvoir évacuer toute l'huile.
Désengagez la commande des lames (PDF) et serrez le frein de stationnement.
Avant de quitter la position d'utilisation, coupez le moteur, retirez la clé et attendez l'arrêt complet de toutes les pièces mobiles.
Vidangez l'huile moteur (Figure 44).


Versez lentement environ 80 % de l'huile spécifiée dans le tube de remplissage, puis faites l'appoint lentement jusqu'à ce que le niveau atteigne le repère maximum (Full) (Figure 45).

Démarrez le moteur et conduisez la machine jusqu'à une surface plane et horizontale.
Vérifiez à nouveau le niveau d'huile.
Vidangez l'huile moteur ; voir Vidange de l'huile moteur.
Remplacez le filtre à huile moteur (Figure 46).


Note: Assurez-vous que le joint du filtre à huile touche le moteur, puis vissez-le encore de 3/4 de tour.
Remplissez le carter moteur d'une huile neuve du type voulu ; voir Spécifications de l'huile moteur.
| Périodicité d'entretien | Procédure d'entretien |
|---|---|
| Toutes les 100 heures |
|
Avant de poser une bougie, assurez-vous que l'écartement entre l'électrode centrale et l'électrode latérale est correct. Utilisez une clé à bougies pour déposer et reposer les bougies, et une jauge d'épaisseur pour contrôler et régler l'écartement des électrodes. Remplacez la bougie au besoin.
Type de bougie :
Moteurs Kawasaki FX691 et FX801 – NGK® BPR4ES ou type équivalent
Écartement des électrodes : 0,75 mm
Garez la machine sur une surface plane et horizontale, désengagez la commande des lames (PDF) et serrez le frein de stationnement.
Avant de quitter la position d'utilisation, coupez le moteur, retirez la clé et attendez l'arrêt complet de toutes les pièces mobiles.
Nettoyez la surface autour de la base de la bougie pour empêcher la poussière et les débris de pénétrer dans le moteur.
Localisez et déposez la ou les bougies, comme montré à la Figure 47.


Important: Ne nettoyez pas la ou les bougies. Remplacez toujours les bougies si elles sont recouvertes d'un dépôt noir ou d'une couche grasse, si elles sont fissurées ou si les électrodes sont usées.
Si l'isolateur est recouvert d'un léger dépôt gris ou brun, le moteur fonctionne correctement. S'il est couvert d'un dépôt noir, c'est généralement signe que le filtre à air est encrassé.
Réglez l'écartement des électrodes à 0,76 mm.


Dans certaines circonstances, le carburant est extrêmement inflammable et hautement explosif. Un incendie ou une explosion causé(e) par du carburant peut vous brûler, ainsi que les personnes se tenant à proximité, et causer des dommages matériels.
Vous trouverez une liste complète des consignes de sécurité liées au carburant sous Consignes de sécurité concernant le carburant.
| Périodicité d'entretien | Procédure d'entretien |
|---|---|
| Toutes les 500 heures |
|
Important: Rebranchez les flexibles de carburant et fixez-les aux emplacements d'origine avec les attaches en plastique pour maintenir la tuyauterie d'alimentation à l'écart des composants susceptibles de l'endommager.
Ne remontez jamais un filtre encrassé après l'avoir enlevé de la conduite d'alimentation.
Le filtre à carburant est situé près du moteur, sur le côté avant gauche.
Garez la machine sur une surface plane et horizontale, désengagez la commande des lames (PDF) et serrez le frein de stationnement.
Avant de quitter la position d'utilisation, coupez le moteur, retirez la clé et attendez l'arrêt complet de toutes les pièces mobiles.
Laissez refroidir la machine.
Remplacez le filtre à carburant (Figure 50).
Note: Vérifiez que la flèche indiquant le sens d'écoulement est dirigée vers le moteur.

N'essayez pas de vidanger le réservoir de carburant. Demandez à un concessionnaire-réparateur agréé de vidanger le réservoir de carburant et d'effectuer l'entretien de tous les composants associés au circuit d'alimentation.
Débranchez le câble de la borne négative de la batterie avant de réparer la machine.
Chargez la batterie dans un endroit dégagé et bien aéré, à l'écart des flammes ou sources d'étincelles. Débranchez le chargeur du secteur avant de brancher ou de débrancher la batterie. Portez des vêtements de protection et utilisez des outils isolés.
| Périodicité d'entretien | Procédure d'entretien |
|---|---|
| Chaque mois |
|
Les bornes de la batterie ou les outils en métal peuvent causer des courts-circuits au contact des pièces métalliques de la machine et produire des étincelles. Les étincelles peuvent provoquer l'explosion des gaz de la batterie et vous blesser.
Lors du retrait ou de la mise en place de la batterie, les bornes ne doivent toucher aucune partie métallique de la machine.
Évitez de créer des courts-circuits entre les bornes de la batterie et les parties métalliques de la machine avec des outils en métal.
Si les câbles de la batterie ne sont pas débranchés correctement, la machine et les câbles peuvent être endommagés et produire des étincelles. Les étincelles peuvent provoquer l'explosion des gaz de la batterie et vous blesser.
Débranchez toujours le câble négatif (noir) de la batterie avant le câble positif (rouge).
Connectez toujours le câble positif (rouge) de la batterie avant le câble négatif (noir).
Garez la machine sur une surface plane et horizontale, désengagez la commande des lames (PDF) et serrez le frein de stationnement.
Avant de quitter la position d'utilisation, coupez le moteur, retirez la clé et attendez l'arrêt complet de toutes les pièces mobiles.
Retirez la batterie, comme montré à la Figure 51.


La batterie en charge produit des gaz qui peuvent exploser.
Ne fumez jamais et gardez la batterie éloignée des flammes et sources d'étincelles.
Important: Gardez toujours la batterie chargée au maximum (densité 1,265). Cela est particulièrement important pour prévenir la dégradation de la batterie si la température tombe en dessous de 0 °C.
Retirez la batterie du châssis ; voir Retrait de la batterie.
Chargez la batterie pendant 10 à 15 minutes entre 25 et 30 A, ou pendant 30 minutes à 10 A.
Note: Ne chargez pas la batterie excessivement.
Quand la batterie est chargée au maximum, débranchez le chargeur de la prise, puis débranchez les fils du chargeur des bornes de la batterie (Figure 52).
Placez la batterie dans la machine et raccordez les câbles de la batterie ; voir Mise en place de la batterie.
Note: N'utilisez pas la machine si la batterie est débranchée, au risque d'endommager le circuit électrique.

Placez la batterie dans son support en tournant les bornes à l'opposé du réservoir hydraulique (Figure 51).
Branchez le câble positif (rouge) de la batterie à la borne positive (+).
Branchez le câble négatif (noir) et le câble de masse à la borne négative (-) de la batterie.
Note: Sur les machines MyRide, assurez-vous que le câble de masse ne frotte pas contre le bras tiré ou le support d'amortisseur inférieur (Figure 53).

Fixez les câbles avec 2 boulons, 2 rondelles et 2 contre-écrous (Figure 51).
Placez le capuchon rouge sur la borne positive (+) de la batterie.
Fixez la batterie en place à l'aide de la sangle en caoutchouc (Figure 51).
Le système électrique est protégé par des fusibles. Il ne nécessite donc aucun entretien. Toutefois, si un fusible grille, vérifiez l'état de la pièce et du circuit et assurez-vous qu'il n'y a pas de court-circuit.
Les fusibles sont situés sur la console droite, près du siège (Figure 54).
Pour remplacer un fusible, tirez dessus pour l'enlever.
Remplacez le fusible (Figure 54).

| Périodicité d'entretien | Procédure d'entretien |
|---|---|
| À chaque utilisation ou une fois par jour |
|
Vérifiez que la ceinture de sécurité n'est pas usée ni entaillée, et que l'enrouleur et la boucle fonctionnent correctement. Remplacez la ceinture de sécurité si elle est endommagée.
Désengagez la commande de la lame (PDF).
Conduisez la machine jusqu'à une surface plane et dégagée, et amenez les leviers de commande de déplacement en position de BLOCAGE DU POINT MORT.
Placez la commande d'accélérateur à mi-course entre les positions HAUT RéGIME et BAS RéGIME.
Poussez les leviers de commande de déplacement en avant jusqu'à la butée dans la fente en T.
Vérifiez de quel côté la machine se déporte.
Si la machine se déporte à droite, insérez une clé hexagonale de 3/16 pouce dans le trou d'accès du couvercle avant gauche et tournez la vis de réglage du parallélisme dans le sens horaire ou antihoraire pour ajuster la course du levier (Figure 55).
Si la machine se déporte à gauche, insérez une clé hexagonale de 3/16 pouce dans le trou d'accès du couvercle avant droit et tournez la vis de réglage du parallélisme dans le sens horaire ou antihoraire pour ajuster la course du levier (Figure 55).
Conduisez la machine et contrôlez le parallélisme des roues en position avant maximale.
Répétez la procédure de réglage jusqu'à ce que le parallélisme soit correct.

| Périodicité d'entretien | Procédure d'entretien |
|---|---|
| Toutes les 50 heures |
|
Les pneus des roues pivotantes et les pneus arrière doivent être gonflés à 0,9 bar. Les pneus mal gonflés peuvent compromettre la qualité et l'uniformité de la coupe. Contrôlez la pression lorsque les pneus sont froids pour obtenir un résultat plus précis.

Contrôlez et serrez les écrous de roue à un couple de 122 à 136 N·m.
| Périodicité d'entretien | Procédure d'entretien |
|---|---|
| Après les 100 premières heures de fonctionnement |
|
| Toutes les 500 heures |
|
Note: Vérifiez que le frein de stationnement est réglé correctement. Cette procédure doit être effectuée après les 100 premières heures ou si un composant du frein a été déposé ou remplacé.
Garez la machine sur une surface plane et horizontale.
Désengagez la commande des lames (PDF), amenez les leviers de commande de déplacement en position de BLOCAGE DU POINT MORT et serrez le frein de stationnement.
Avant de quitter la position d'utilisation, coupez le moteur de la machine, retirez la clé de contact et attendez l'arrêt complet de toutes les pièces mobiles.
Préparez la machine pour la pousser manuellement. Voir Utilisation des valves de déblocage des roues motrices.
Soulevez l'arrière de la machine et soutenez-le avec des chandelles.
Ne vous fiez pas uniquement à des crics mécaniques ou hydrauliques pour soutenir la machine soulevée aux fins d'entretien ou de révision, cela pourrait être dangereux. En effet, les crics peuvent ne pas assurer un soutien suffisant ou peuvent lâcher et laisser retomber la machine, ce qui peut entraîner de graves blessures.
Ne vous fiez pas uniquement à des crics mécaniques ou hydrauliques comme soutien. Utilisez des chandelles adéquates ou un support équivalent.
Serrez et desserrez le frein de stationnement et vérifiez que le frein se serre et se desserre sur chaque roue.
Si un réglage est nécessaire, desserrez le frein de stationnement. Vérifiez l'usure de tous les composants de la timonerie du frein de stationnement. Remplacez tout composant usé (Figure 57) et répétez l'opération 6.

Contrôlez les deux longueurs de ressort comme montré à la Figure 58. Si un réglage est nécessaire, tournez l'écrou de maintien du ressort dans le sens horaire pour raccourcir le ressort, et dans le sens antihoraire pour l'allonger. Répétez l'opération 6.

Lorsque le réglage est terminé, retirez les chandelles ou le support équivalent utilisé, et abaissez la machine.
Placez la machine en position d'UTILISATION. Voir Utilisation des valves de déblocage des roues motrices.
| Périodicité d'entretien | Procédure d'entretien |
|---|---|
| Toutes les 50 heures |
|
Remplacez les courroies si elles sont usées. Les courroies peuvent montrer les signes d'usure suivants : grincement pendant la rotation, glissement des lames pendant la coupe, bords effilochés, traces de brûlures et fissures.
Garez la machine sur une surface plane et horizontale, désengagez la commande des lames (PDF) et serrez le frein de stationnement.
Avant de quitter la position d'utilisation, coupez le moteur, retirez la clé et attendez l'arrêt complet de toutes les pièces mobiles.
Abaissez le plateau de coupe à la hauteur de 76 mm.
Desserrez le boulon sur chaque protège-courroie.
Libérez le panneau de protection du plateau de coupe en retirant la goupille fendue ; voir Relâchement du panneau de protection du plateau de coupe.
Déposez la tôle de protection ; voir Dépose de la tôle de protection.
Déposez les protège-courroies (Figure 59).

Insérez un rochet de 3/8 pouce dans le trou carré du bras de la poulie de tension pour détendre le ressort de la poulie de tension (Figure 60).
Retirez la courroie des poulies du plateau de coupe et de la poulie d'embrayage.
Enlevez le guide-courroie situé sur le bras de la poulie de tension rappelé par ressort (Figure 60).
Retirez la courroie existante.
Acheminez la courroie neuve autour des poulies du plateau de coupe et de la poulie d'embrayage, sous le moteur (Figure 60).

Montez le guide-courroie sur le bras de la poulie de tension (Figure 60).
Insérez le rochet de 3/8 pouce dans le trou carré et installez le ressort de la poulie de tension (Figure 60).
Note: Les extrémités du ressort doivent être engagées dans les rainures d'ancrage.
Reposez les protège-courroies (Figure 61).

Garez la machine sur une surface plane et horizontale, désengagez la commande des lames (PDF) et serrez le frein de stationnement.
Avant de quitter la position d'utilisation, coupez le moteur, retirez la clé et attendez l'arrêt complet de toutes les pièces mobiles.
Déposez la courroie du plateau de coupe ; voir Remplacement de la courroie du plateau de coupe.
Soulevez la machine sur des chandelles.
Insérez un rochet de 1/2 pouce ou une barre de levier dans l'un des trous carrés du bras de la poulie de tension pour détendre le ressort de la poulie de tension (Figure 62).
Retirez la courroie existante de la poulie de tension, des 2 poulies d'entraînement de pompe hydraulique et de la poulie du moteur (Figure 62).
Chaussez la courroie neuve sur la poulie de tension, la poulie du moteur et les 2 poulies de la pompe hydraulique (Figure 62).
Insérez le rochet de 1/2 pouce ou la barre de levier dans l'un des trous carrés et installez le ressort de la poulie de tension.
Note: Les extrémités du ressort doivent être engagées dans les rainures d'ancrage.
Reposez la courroie du plateau de coupe ; voir Remplacement de la courroie du plateau de coupe.

Si les extrémités des leviers se rencontrent, voir Réglage de la timonerie de commande de déplacement.
Vous pouvez régler la hauteur des leviers de commande de déplacement de manière à assurer un confort maximum.
Garez la machine sur une surface plane et horizontale, désengagez la commande des lames (PDF) et serrez le frein de stationnement.
Avant de quitter la position d'utilisation, coupez le moteur, retirez la clé et attendez l'arrêt complet de toutes les pièces mobiles.
Retirez les boulons qui fixent le levier de commande à l'arbre du bras de commande.

Placez le levier de commande dans les trous suivants. Fixez le levier avec les boulons.
Répétez la procédure pour le levier de commande opposé.
Garez la machine sur une surface plane et horizontale, désengagez la commande des lames (PDF) et serrez le frein de stationnement.
Avant de quitter la position d'utilisation, coupez le moteur, retirez la clé et attendez l'arrêt complet de toutes les pièces mobiles.
Desserrez le boulon supérieur qui fixe le levier de commande à l'arbre du bras de commande.
Desserrez le boulon inférieur jusqu'à ce qu'il soit possible de pivoter le levier de commande en avant ou en arrière. Serrez les deux boulons pour fixer la commande à sa nouvelle position.
Répétez la procédure pour le levier de commande opposé.

Les tringleries de commande de la pompe sont situées de chaque côté de la machine, sous le siège. Tournez l'écrou d'extrémité avec une clé à douille de 1/2 pouce pour effectuer des réglages extrêmement précis afin d'empêcher ainsi la machine de bouger quand elle est au point mort. Les réglages doivent seulement être effectués pour le positionnement du point mort.
Le moteur doit tourner et les roues motrices doivent tourner pour pouvoir effectuer les réglages. Les pièces mobiles et les surfaces brûlantes peuvent causer des blessures.
N'approchez pas les doigts, les mains ou les vêtements des pièces rotatives et des surfaces chaudes.
Garez la machine sur une surface plane et horizontale, désengagez la commande des lames (PDF) et serrez le frein de stationnement.
Avant de quitter la position d'utilisation, coupez le moteur, retirez la clé et attendez l'arrêt complet de toutes les pièces mobiles.
Appuyez sur la pédale de levage du plateau de coupe, enlevez la goupille de hauteur de coupe et abaissez le plateau au sol.
Soulevez l'arrière de la machine juste assez pour permettre aux roues motrices de tourner librement et placez des chandelles (ou des supports équivalents) sous la machine.
Débranchez les connexions électriques du contacteur de sécurité du siège situé sous le coussin d'assise du siège.
Note: Le contacteur est intégré au siège.
Reliez temporairement un fil volant aux bornes du connecteur du faisceau de câblage principal.
Démarrez le moteur, faites-le tourner à plein régime et desserrez le frein de stationnement.
Note: Avant de démarrer le moteur, serrez le frein de stationnement et poussez les leviers de commande de déplacement vers l'extérieur. Il n'est pas nécessaire d'être assis sur le siège.
Laissez tourner le moteur 5 minutes au moins avec les leviers de commande en position de vitesse maximale en marche avant pour amener l'huile hydraulique à la température de service.
Note: Les leviers de commande de déplacement doivent être au point mort quand vous effectuez les réglages.
Amenez les leviers de commande de déplacement au POINT MORT.
Les languettes de la plaque de commande doivent toucher les plaques de retour au point mort sur les unités hydrauliques.
Réglez la longueur des tiges de pompes en tournant l'écrou dans le sens voulu jusqu'à ce que les roues tournent légèrement en marche arrière (Figure 65 et Figure 66).


Amenez les leviers de commande de déplacement en position MARCHE ARRIèRE et, tout en appuyant légèrement sur les leviers, laissez les ressorts d'indicateur de marche arrière ramener les leviers au point mort.
Note: Les roues doivent s'arrêter de tourner ou tourner légèrement en arrière.
Note: Vous devrez peut-être déposer le couvercle de la commande de déplacement pour y accéder.
Coupez le moteur.
Débranchez le fil volant du faisceau de câblage et branchez le connecteur au contacteur du siège.
Retirez les chandelles.
Élevez le plateau de coupe et remettez la goupille de hauteur de coupe en place.
Assurez-vous que la machine ne se déplace pas au point mort quand le frein de stationnement est desserré.
Consultez immédiatement un médecin si du liquide est injecté sous la peau. Toute injection de liquide hydraulique sous la peau doit être éliminée dans les quelques heures qui suivent par une intervention chirurgicale réalisée par un médecin.
Vérifiez l'état de tous les flexibles et conduits de liquide hydraulique, ainsi que le serrage de tous les branchements et raccords avant de mettre le système hydraulique sous pression.
N'approchez pas les mains ni aucune autre partie du corps des fuites en trou d'épingle ou des gicleurs d'où sort du liquide hydraulique sous haute pression.
Utilisez un morceau de papier ou de carton pour détecter les fuites.
Évacuez avec précaution toute la pression du système hydraulique avant toute intervention sur le système.
Type de liquide hydraulique : Toro® HYPR-OIL™ 500
Important: Utilisez le liquide spécifié. Tout autre liquide risque d'endommager le système hydraulique.
Capacité du système hydraulique (sans les filtres) : 7,57 l
| Périodicité d'entretien | Procédure d'entretien |
|---|---|
| À chaque utilisation ou une fois par jour |
|
Laissez refroidir le liquide hydraulique. Vérifiez le niveau d'huile à froid.
Vérifiez le niveau dans le vase d'expansion et faites l'appoint d'huile Toro® HYPR-OIL™ 500 au besoin pour faire monter le niveau jusqu'au repère maximum à froid (FULL COLD) (Figure 67).

| Périodicité d'entretien | Procédure d'entretien |
|---|---|
| Après les 100 premières heures de fonctionnement |
|
Vous devez déposer les filtres pour effectuer la vidange du liquide hydraulique. Remplacez les deux en même temps ; voir Spécifications du liquide hydraulique pour connaître le liquide spécifié.
Purgez l'air du système après avoir remplacé les filtres et fait l'appoint de liquide. Voir Purge du système hydraulique. Répétez la procédure de purge jusqu'à ce que le liquide reste au niveau du repère MAXIMUM à FROID dans le vase d'expansion après la purge.
Important: Si cette procédure n'est pas effectuée correctement, la transmission à boîte-pont peut être endommagée irrémédiablement.
Garez la machine sur une surface plane et horizontale, désengagez la commande des lames (PDF) et serrez le frein de stationnement.
Avant de quitter la position d'utilisation, coupez le moteur, retirez la clé et attendez l'arrêt complet de toutes les pièces mobiles.
Laissez refroidir le moteur.
Utilisez une rallonge et une douille de 7/16 pouce pour accéder au bouchon d'aération par le haut de la machine, en passant par les trous près des supports de l'arceau de sécurité (Figure 68).
Note: Gardez l'œil sur le bouchon après l'avoir retiré, car il peut être facilement égaré.

Nettoyez soigneusement la surface autour du filtre.
Important: Veillez à ne pas faire tomber d'impuretés dans le système hydraulique pour éviter de le contaminer.
Placez un bac de vidange sous le filtre pour récupérer le liquide qui s'écoule quand vous retirez le filtre et les bouchons d'aération.
Déposez le couvercle du filtre à huile hydraulique de la boîte-pont pour vidanger le liquide (Figure 69).

Retirez le joint torique du couvercle du filtre et mettez-le au rebut.
Après avoir vidangé la boîte-pont, déposez le filtre du carter de la boîte-pont.
Répétez cette procédure de l'autre côté de la machine.
Posez un filtre neuf dans la boîte-pont et un joint torique neuf sur le couvercle du filtre.
Reposez le couvercle du filtre.
Serrez le couvercle du filtre à un couple de 22,6 à 33,8 N·m.
Retirez le bouchon du vase d'expansion et remplissez les boîtes-ponts avec le liquide spécifié jusqu'au niveau correct.
Note: Le remplissage des boîtes-ponts peut prendre plus longtemps que prévu.
Reposez les bouchons d'aération et serrez-les à un couple de 3,95 à 9,04 N·m.
Passez à Purge du système hydraulique.
Important: La transmission de la boîte-pont risque d'être irrémédiablement endommagée si vous n'effectuez pas la purge du système hydraulique après avoir remplacé les filtres hydrauliques et vidangé le liquide.
Soulevez l'arrière de la machine juste assez pour permettre aux roues motrices de tourner librement et placez des chandelles (ou des supports équivalents) sous la machine.

Mettez le moteur en marche et placez la commande d'accélérateur à mi-course, puis desserrez le frein de stationnement.
Amenez les leviers de dérivation à la position voulue pour pousser la machine. Les vannes de dérivation étant ouvertes et le moteur en marche, actionnez lentement les leviers de commande de déplacement vers l'avant et l'arrière à 5 ou 6 reprises.
Placez les leviers de dérivation à la position voulue pour utiliser la machine.
Les vannes de dérivation étant fermées et le moteur en marche, actionnez lentement les leviers de commande de déplacement vers l'avant et l'arrière à 5 ou 6 reprises.
Coupez le moteur et vérifiez le niveau de liquide dans le vase d'expansion. Faites l'appoint de liquide spécifié jusqu'à ce que le niveau atteigne le repère MAXIMUM à FROID (FULL COLD) sur le vase d'expansion.
Répétez l'opération 2 jusqu'à ce que le système soit entièrement purgé d'air.
Note: La boîte-pont est purgée correctement lorsqu'elle fonctionne à un niveau sonore normal et en douceur aux vitesses normales en marche avant et en marche arrière.
Contrôlez une dernière fois le niveau de liquide dans le vase d'expansion. Faites l'appoint de liquide spécifié jusqu'à ce que le niveau atteigne le repère MAXIMUM à FROID sur le vase d'expansion.
Contrôlez l'état et l'usure des lames régulièrement.
Examinez toujours les lames avec prudence. Manipulez les lames avec des gants ou en les enveloppant dans un chiffon, et toujours avec prudence. Limitez-vous à remplacer ou aiguiser les lames ; n'essayez jamais de les redresser ou de les souder.
Attention, sur les machines à plusieurs lames, la rotation d'une lame peut entraîner celle des autres.
Remplacez les boulons et les lames usés ou endommagés par paires pour ne pas modifier l'équilibre.
Pour garantir une excellente qualité de coupe, les lames doivent toujours être bien affûtées. Il est utile de prévoir une ou plusieurs lames de réserve pour le remplacement et l'affûtage.
Garez la machine sur une surface plane et horizontale, désengagez la commande des lames (PDF) et serrez le frein de stationnement.
Coupez le moteur, retirez la clé et débranchez le fil des bougies.
| Périodicité d'entretien | Procédure d'entretien |
|---|---|
| À chaque utilisation ou une fois par jour |
|
Examinez le tranchant des lames (Figure 71).
Si les lames ne sont pas tranchantes ou présentent des indentations, déposez-les et aiguisez-les ; voir Affûtage des lames.
Inspectez les lames, en particulier l'ailette.
Remplacez immédiatement toute lame fendue, usée ou qui présente une entaille (Figure 71).

Note: Placez la machine sur une surface plane horizontale pour effectuer la procédure suivante.
Élevez le plateau à la hauteur de coupe maximale.
Enfilez des gants épais ou utilisez une autre protection adéquate pour les mains, et faites tourner la lame lentement jusqu'à une position permettant de mesurer correctement la distance entre le tranchant et la surface plane sur laquelle se trouve la machine (Figure 72).

Mesurez la distance entre la pointe de la lame et la surface plane (Figure 73).

Tournez la même lame de 180 degrés pour amener l'autre tranchant à la même position (Figure 74).

Mesurez la distance entre la pointe de la lame et la surface plane (Figure 75).
Note: L'écart ne doit pas excéder 3 mm.

Si la différence entre A et B est supérieure à 3 mm, remplacez la lame par une neuve ; voir la Dépose des lames et la Montage des lames.
Note: Si, après le remplacement d'une lame faussée par une neuve, la différence est toujours supérieure à 3 mm, l'axe de lame est peut-être faussé. Contactez un concessionnaire-réparateur Toro agréé pour faire réviser la machine.
Si la différence reste dans les limites tolérées, passez à la lame suivante.
Répétez cette procédure pour chaque lame.
Remplacez les lames si elles heurtent un obstacle, ou si elles sont déséquilibrées ou faussées.
Placez une clé sur le méplat de l'axe de pivot ou retenez l'extrémité de la lame à l'aide d'un chiffon ou d'un gant épais.
Retirez le boulon, la douille et la lame de l'axe de pivot (Figure 76).

Au moyen d'une lime, aiguisez les tranchants aux deux extrémités de la lame (Figure 77).
Note: Veillez à conserver l'angle de coupe d'origine.
Note: Limez la même quantité de métal sur chacun des deux tranchants pour ne pas déséquilibrer la lame.

Vérifiez l'équilibre de la lame en la plaçant sur un équilibreur (Figure 78).
Note: Si la lame reste horizontale, elle est équilibrée et peut être utilisée.
Note: Si la lame est déséquilibrée, limez un peu l'extrémité de l'ailette seulement (Figure 77).

Répétez la procédure jusqu'à ce que la lame soit équilibrée.
Insérez la douille dans la lame en plaçant l'embase sur le côté inférieur (côté herbe) de la lame (Figure 79).

Installez l'ensemble douille/lame sur l'axe de pivot (Figure 80).

Appliquez du lubrifiant à base de cuivre ou de la graisse sur le filetage du boulon de lame pour prévenir le grippage au besoin. Posez le boulon de lame et serrez-le à la main.
Placez une clé sur le méplat de l'axe de pivot et serrez l'écrou de lame à un couple de 75 à 81 N·m.
Vérifiez que le plateau de coupe est de niveau chaque fois que vous l'installez ou si la tonte de la pelouse semble irrégulière.
Vérifiez si des lames sont faussées avant de mettre le plateau de coupe de niveau. Déposez et remplacez les lames faussées ; voir Entretien des lames avant de continuer.
Mettez le plateau de coupe de niveau transversalement avant de le faire longitudinalement.
Assurez-vous que :
La machine est placée sur une surface plane et horizontale.
Tous les pneus sont gonflés à la pression correcte ; voir Contrôle de la pression des pneus.
Garez la machine sur une surface plane et horizontale, désengagez la commande des lames (PDF) et serrez le frein de stationnement.
Avant de quitter la position d'utilisation, coupez le moteur, retirez la clé et attendez l'arrêt complet de toutes les pièces mobiles.
Contrôlez la pression des pneus des roues motrices ; voir Contrôle de la pression des pneus.
Placez le plateau de coupe en position de transport-verrouillage ou à la position de hauteur de coupe la plus élevée.
Avec précaution, tournez les lames pour qu'elles soient parallèles dans le sens transversal.
Mesurez la distance entre la pointe des lames et la surface plane (Figure 81). Si les deux mesures diffèrent de plus de 5 mm, réglez les lames, ajustez l'horizontalité des lames ; poursuivez cette procédure.

Vérifiez l'inclinaison avant/arrière des lames (Figure 82). Vérifiez que la pointe avant de la lame est plus basse que la pointe arrière, comme montré dans le tableau de hauteur de cale et d'inclinaison. Si un réglage est nécessaire, poursuivez cette procédure.

Placez les galets de protection dans les trous supérieurs ou enlevez-les complètement pour effectuer ce réglage.
Élevez le plateau de coupe en position de transport (140 mm).
Desserrez lentement la vis de réglage sur le ressort d'aide au levage jusqu'à ce que vous puissiez enlever la vis (Figure 83).
Note: Conservez la vis pour la repose.

Placez une cale (voir le Tableau de hauteur de cale et d'inclinaison) sous le bord arrière de la jupe du plateau de coupe de chaque côté du plateau de coupe (Figure 84).
Réglez le levier de hauteur de coupe à la position 76 mm ; voir Réglage de la hauteur de coupe.
Placez 2 cales sous chaque côté du bord avant du plateau de coupe, mais pas sous les supports ou les soudures des galets anti-scalp.

| Taille duplateau | Hauteur de cale avant | Inclinaison |
| Tous les plateaux de coupe | 73 mm | 4,8 à 6,4 mm |
Tournez les lames avec précaution pour qu'elles soient parallèles dans le sens transversal (Figure 81).
Abaissez le plateau de coupe à la hauteur de coupe de 76 mm ; voir Réglage de la hauteur de coupe.
Desserrez les contre-écrous (Figure 85) aux quatre coins de sorte que le plateau repose solidement sur les 4 cales.
Supprimez le jeu des pattes de support du plateau et vérifiez que la pédale de levage du plateau est repoussée contre la butée.
Serrez les 4 contre-écrous.

Vérifiez que les cales sont parfaitement ajustées sous la jupe du plateau de coupe et que tous les boulons sont bien serrés
Poursuivez la procédure de mise à niveau du plateau en contrôlant l'inclinaison avant/arrière des lames.
Vérifiez si les lames sont de niveau et répétez la procédure de réglage au besoin.
Élevez le plateau de coupe en position de transport (140 mm).
Remettez la vis de réglage du ressort d'aide au levage que vous avez retirée à l'opération 10.
Réglez l'écartement entre le ressort et le support entre 22 et 29 mm.
Avant de réviser ou de retirer le plateau de coupe, verrouillez les bras rappelés par ressort.
Garez la machine sur une surface plane et horizontale, désengagez la commande des lames (PDF) et serrez le frein de stationnement.
Avant de quitter la position d'utilisation, coupez le moteur, retirez la clé et attendez l'arrêt complet de toutes les pièces mobiles.
Abaissez le plateau de coupe à la hauteur de 76 mm.
Libérez le panneau de protection du plateau de coupe en retirant la goupille fendue ; voir Relâchement du panneau de protection du plateau de coupe.
Déposez les protège-courroies.
Desserrez la poulie de tension et déposez la courroie du plateau de coupe ; voir Entretien des courroies.
Retirez les boulons et les écrous à l'avant de la plaque, sous le repose-pied.
Enlevez et conservez les boulons et écrous de chaque côté de la machine (Figure 86).

Sortez le plateau par le côté droit de la machine.
Si l'ouverture d'éjection n'est pas fermée, la machine peut projeter des objets dans votre direction ou celles de personnes à proximité et causer des blessures graves. Un contact avec la lame est également possible.
N'utilisez jamais la machine sans avoir installé un déflecteur de mulching, un déflecteur d'éjection ou un système de ramassage.
Retirez le contre-écrou, le boulon, le ressort et l'entretoise qui fixent le déflecteur aux supports de pivot (Figure 87).
Déposez le déflecteur d'herbe s'il est endommagé ou usé (Figure 87).

Placez une entretoise et un ressort sur le déflecteur d'herbe.
Placez une extrémité en J du ressort derrière le bord du plateau.
Note: Prenez soin de placer une extrémité en J du ressort derrière le bord du plateau avant de mettre le boulon en place, comme montré à la Figure 87.
Remettez le boulon et l'écrou en place.
Accrochez 1 extrémité en J du ressort au déflecteur d'herbe (Figure 87).
Important: Le déflecteur d'herbe doit pouvoir pivoter. Ouvrez complètement le déflecteur d'herbe et vérifiez qu'il peut s'abaisser complètement.
| Périodicité d'entretien | Procédure d'entretien |
|---|---|
| Après chaque utilisation |
|
Garez la machine sur une surface plane et horizontale, désengagez la commande des lames (PDF) et serrez le frein de stationnement.
Avant de quitter la position d'utilisation, coupez le moteur, retirez la clé et attendez l'arrêt complet de toutes les pièces mobiles.
Levez le plateau de coupe en position de TRANSPORT.
Ne nettoyez pas la suspension à l'air comprimé.
Note: Ne nettoyez pas les amortisseurs au jet d'eau (Figure 88).

L'huile moteur, les batteries, le liquide hydraulique et le liquide de refroidissement sont polluants pour l'environnement. Débarrassez-vous en conformément à la réglementation nationale et locale en matière d'environnement.
Avant de quitter la position d'utilisation, coupez le moteur, enlevez la clé et attendez l'arrêt complet de toutes les pièces mobiles. Laissez refroidir la machine avant de la régler, d'en faire l'entretien, de la nettoyer ou de la remiser.
Ne remisez pas la machine et ne faites pas le plein près d'une flamme ; ne vidangez pas le réservoir de carburant à l'intérieur d'un local ou d'une remorque fermée.
Ne rangez pas la machine ni les bidons de carburant à proximité d'une flamme nue, d'une source d'étincelles ou d'une veilleuse, telle celle d'un chauffe-eau ou d'autres appareils.
Désengagez la commande des lames (PDF) et serrez le frein de stationnement.
Avant de quitter la position d'utilisation, coupez le moteur, retirez la clé et attendez l'arrêt complet de toutes les pièces mobiles.
Débarrassez entièrement l'extérieur de la machine, en particulier le moteur et le système hydraulique, des déchets d'herbe coupée, des saletés et de la crasse. Éliminez les saletés et les débris d'herbe sèche pouvant se trouver sur les ailettes de la culasse et le carter du ventilateur.
Important: Vous pouvez laver la machine avec de l'eau et un détergent doux. N'utilisez pas de nettoyeur haute pression. N'utilisez pas trop d'eau, surtout près du panneau de commande, du moteur, des pompes hydrauliques et des moteurs électriques.
Vérifier le fonctionnement du frein de stationnement ; voir Réglage du frein de stationnement.
Faites l'entretien du filtre à air ; voir Entretien du filtre à air.
Graissez la machine ; voir Graissage de la machine.
Vidangez l'huile moteur ; voir Contrôle du niveau, vidange de l'huile moteur et remplacement du filtre à huile.
Contrôlez la pression des pneus ; voir Contrôle de la pression des pneus.
Remplacez les filtres hydrauliques ; voir Vidange du liquide hydraulique et remplacement des filtres.
Chargez la batterie ; voir Charge de la batterie.
Grattez l'herbe et les saletés éventuellement accumulées sur le dessous de la tondeuse, puis lavez cette dernière au tuyau d'arrosage.
Note: Conduisez la machine, commande des lames (PDF) engagée et moteur au régime de ralenti accéléré, pendant 2 à 5 minutes après l'avoir lavée.
Vérifiez l'état des lames ; voir Entretien des lames.
Si vous ne comptez pas utiliser la machine avant plus d'un mois, préparez-la comme suit :
Ajoutez un additif stabilisateur/conditionneur à base de pétrole dans le réservoir de carburant. Respectez les proportions spécifiées par le fabricant du stabilisateur. N'utilisez pas de stabilisateur à base d'alcool (éthanol ou méthanol).
Note: L'efficacité des stabilisateurs/conditionneurs est optimale lorsqu'ils sont mélangés à du carburant frais et sont utilisés de manière systématique.
Faites tourner le moteur pendant 5 minutes pour faire circuler le carburant traité dans tout le circuit d'alimentation.
Coupez le moteur, laissez-le refroidir puis vidangez le réservoir de carburant.
Remettez le moteur en marche et laissez-le tourner jusqu'à ce qu'il s'arrête.
Débarrassez-vous du carburant correctement. Recyclez le carburant conformément à la réglementation locale en matière d'environnement.
Important: Ne conservez pas le carburant additionné de stabilisateur/conditionneur plus longtemps que recommandé par le fabricant du stabilisateur de carburant.
Déposez la ou les bougies et vérifiez leur état ; voir Entretien des bougies. Versez 30 ml (2 cuillerées à soupe) d'huile moteur dans l'ouverture laissée par la bougie. Actionnez le démarreur pour faire tourner le moteur et bien répartir l'huile dans le cylindre. Posez la ou les bougies. Ne rebranchez pas le fil de la ou des bougies.
Contrôlez et resserrez tous les boulons, écrous et vis. Réparez ou remplacez toute pièce endommagée.
Peignez toutes les surfaces métalliques éraflées ou mises à nu. Une peinture pour retouches est disponible chez les concessionnaires-réparateurs agréés.
Rangez la machine dans un endroit propre et sec, comme un garage ou une remise. Retirez la clé du commutateur d'allumage et rangez-la hors de la portée des enfants ou des personnes non autorisées. Couvrez la machine pour la protéger et la garder propre.
| Problem | Possible Cause | Corrective Action |
|---|---|---|
| Le moteur surchauffe. |
|
|
| Le démarreur ne fonctionne pas. |
|
|
| Le moteur ne démarre pas, démarre difficilement ou cale. |
|
|
| Le moteur perd de la puissance. |
|
|
| La machine tire à gauche ou à droite (quand les leviers sont complètement en avant). |
|
|
| La machine ne se déplace pas. |
|
|
| La machine vibre de manière anormale. |
|
|
| La hauteur de coupe est inégale. |
|
|
| Les lames ne tournent pas. |
|
|
| L'embrayage ne s'engage pas. |
|
|

